UNITED STATES
SECURITIES AND EXCHANGE COMMISSION
WASHINGTON, D.C. 20549
Form
| (Mark One) |
| | ANNUAL REPORT PURSUANT TO SECTION 13 OR 15(d) OF THE SECURITIES EXCHANGE ACT OF 1934 FOR THE FISCAL YEAR ENDED |
| OR |
| | TRANSITION REPORT PURSUANT TO SECTION 13 OR 15(d) OF THE SECURITIES EXCHANGE ACT OF 1934 |
| Commission | Exact name of registrant as specified in its charter, | State of | I.R.S. employer | |||
| |
| | | |||
| |
| | |
Securities registered pursuant to Section 12(b) of the Exchange Act:
| Registrant |
| Title of each class |
| Trading symbol | Name of each exchange on which registered | |
| Huntsman Corporation |
| |
| | | |
| Huntsman International LLC |
| NONE |
| NONE | NONE |
Securities registered pursuant to Section 12(g) of the Exchange Act:
| Registrant | Title of each class | |
| Huntsman Corporation/Huntsman International LLC | None |
Indicate by check mark if the registrant is a well-known seasoned issuer, as defined in Rule 405 of the Securities Act.
| Huntsman Corporation/Huntsman International LLC | | No ☐ |
Indicate by check mark if the registrant is not required to file reports pursuant to Section 13 or Section 15(d) of the Exchange Act.
| Huntsman Corporation/Huntsman International LLC | Yes ☐ | |
Indicate by check mark whether the registrant: (1) has filed all reports required to be filed by Section 13 or 15(d) of the Exchange Act during the preceding 12 months (or for such shorter period that the registrant was required to file such reports) and (2) has been subject to such filing requirements for the past 90 days.
| Huntsman Corporation/Huntsman International LLC | | No ☐ |
Indicate by check mark whether the registrant has submitted electronically every Interactive Data File required to be submitted pursuant to Rule 405 of Regulation S-T during the preceding 12 months (or for such shorter period that the registrant was required to submit such files).
| Huntsman Corporation/Huntsman International LLC | | No ☐ |
Indicate by check mark whether the registrant is a large accelerated filer, an accelerated filer, a non-accelerated filer, a smaller reporting company, or an emerging growth company. See the definitions of “large accelerated filer,” “accelerated filer” “smaller reporting company,” and “emerging growth company” in Rule 12b-2 of the Exchange Act. Huntsman Corporation
| Huntsman Corporation | | Accelerated filer ☐ | Non-accelerated filer ☐ | Smaller reporting company | Emerging growth company |
| Huntsman International LLC | Large accelerated filer ☐ | Accelerated filer ☐ | | Smaller reporting company | Emerging growth company |
Indicate by check mark whether the registrant has filed a report on and attestation to its management’s assessment of the effectiveness of its internal control over financial reporting under Section 404(b) of the Sarbanes-Oxley Act (15 U.S.C.7262(b)) by the registered public accounting firm that prepared or issued.
| Huntsman Corporation | Yes | No ☐ |
| Huntsman International LLC | Yes | No ☒ |
If an emerging growth company, indicate by check mark if the registrant has elected not to use the extended transition period for complying with any new or revised financial accounting standards provided pursuant to Section 7(a)(2)(B) of the Securities Act.
| Huntsman Corporation/Huntsman International LLC | Yes | No ☐ |
If securities are registered pursuant to Section 12(b) of the Act, indicate by check mark whether the financial statements of the registrant included in the filing reflect the correction of an error to previously issued financial statements. ☐
Indicate by check mark whether any of those error corrections are restatements that required a recovery analysis of incentive-based compensation received by any of the registrant’s executive officers during the relevant recovery period pursuant to Section 240.10D-1(b). ☐
Indicate by check mark whether the registrant is a shell company (as defined in Rule 12b-2 of the Exchange Act).
| Huntsman Corporation/Huntsman International LLC | Yes | No ☒ |
On June 30, 2025, the last business day of the registrants’ most recently completed second fiscal quarter, the aggregate market value of voting and non-voting common equity held by non-affiliates was as follows:
| Registrant | Common equity | Market value held by nonaffiliates | ||
| Huntsman Corporation | Common Stock | $ | ||
| Huntsman International LLC | Units of Membership Interest | NA(2) |
| (1) | Based on the closing price of $10.42 per share of common stock as quoted on the New York Stock Exchange. |
| (2) | All units of membership interest are held by Huntsman Corporation, an affiliate. |
On February 4, 2026, the number of shares outstanding of each of the registrant’s classes of common equity were as follows:
| Registrant | Common equity | Outstanding | ||
| Huntsman Corporation | Common Stock | | ||
| Huntsman International LLC | Units of Membership Interest | 2,728 |
This Annual Report on Form 10-K presents information for two registrants: Huntsman Corporation and Huntsman International LLC. Huntsman International LLC is a wholly owned subsidiary of Huntsman Corporation and is the principal operating company of Huntsman Corporation. The information reflected in this Annual Report on Form 10-K is equally applicable to both Huntsman Corporation and Huntsman International LLC, except where otherwise indicated.
Huntsman International LLC meets the conditions set forth in General Instructions (I)(1)(a) and (b) of Form 10-K and, to the extent applicable, is therefore filing this form with a reduced disclosure format.
Documents Incorporated by Reference:
Part III: Proxy Statement for the 2025 Annual Meeting of Stockholders to be filed within 120 days of Huntsman Corporation’s fiscal year ended December 31, 2025.
HUNTSMAN CORPORATION AND SUBSIDIARIES
HUNTSMAN INTERNATIONAL LLC AND SUBSIDIARIES
2025 ANNUAL REPORT ON FORM 10-K
TABLE OF CONTENTS
HUNTSMAN CORPORATION AND SUBSIDIARIES
HUNTSMAN INTERNATIONAL LLC AND SUBSIDIARIES
2025 ANNUAL REPORT ON FORM 10-K
This report includes information with respect to market share, industry conditions and forecasts that we obtained from internal industry research, publicly available information (including industry publications and surveys), and surveys and market research provided by consultants. The publicly available information and the reports, forecasts and other research provided by consultants generally state that the information contained therein has been obtained from sources believed to be reliable. We have not independently verified any of the data from third-party sources, nor have we ascertained the underlying economic assumptions relied upon therein. Similarly, our internal research and forecasts are based upon our management’s understanding of industry conditions, and such information has not been verified by any independent sources.
For convenience in this report, the terms “Company,” “our,” “us” or “we” may be used to refer to Huntsman Corporation and, unless the context otherwise requires, its subsidiaries and predecessors. In this report, “Huntsman International” refers to Huntsman International LLC (our wholly-owned subsidiary) and, unless the context otherwise requires, its subsidiaries.
In this report, we may use, without definition, the common names of competitors or other industry participants. We may also use the common names or abbreviations for certain chemicals or products. Many of these terms are defined in the Glossary of Chemical Terms found at the conclusion of “Part I. Item 1. Business” below.
Forward-Looking Statements
With respect to Huntsman Corporation, certain information set forth in this report contains “forward-looking statements” within the meaning the Private Securities Litigation Reform Act of 1995, Section 27A of the Securities Act of 1933 and Section 21E of the Securities Exchange Act of 1934 (the “Exchange Act)”. All statements other than historical factual information are forward-looking statements, including without limitation statements regarding: projections of revenue, expenses, profit, profit margins, tax rates, tax provisions, cash flows, pension and benefit obligations and funding requirements, our liquidity position or other projected financial measures; management’s plans and strategies for future operations, including statements relating to anticipated operating performance, cost reductions, restructuring activities, new product and service developments, competitive strengths or market position, acquisitions, divestitures, spin-offs or other distributions, strategic opportunities, securities offerings, stock repurchases, dividends and executive compensation; growth, declines and other trends in markets we sell into; new or modified laws, regulations and accounting standards; outstanding claims, legal proceedings, tax audits and assessments and other contingent liabilities; foreign currency exchange rates and fluctuations in those rates; general economic and capital markets conditions; the timing of any of the foregoing; assumptions underlying any of the foregoing; and any other statements that address events or developments that we intend or believe will or may occur in the future. In some cases, forward-looking statements can be identified by terminology such as “believes,” “expects,” “may,” “will,” “should,” “anticipates” or “intends” or the negative of such terms or other comparable terminology, or by discussions of strategy. We may also make additional forward-looking statements from time to time. All such subsequent forward-looking statements, whether written or oral, by us or on our behalf, are also expressly qualified by these cautionary statements.
All forward-looking statements, including without limitation management’s examination of historical operating trends, are based upon our current expectations and various assumptions. Our expectations, beliefs and projections are expressed in good faith and we believe there is a reasonable basis for them, but there can be no assurance that management’s expectations, beliefs and projections will result or be achieved. All forward-looking statements apply only as of the date made. We undertake no obligation to publicly update or revise forward-looking statements whether because of new information, future events or otherwise, except as required by securities and other applicable law.
There are a number of risks and uncertainties that could cause our actual results to differ materially from the forward-looking statements contained in or contemplated by this report. Any forward-looking statements should be considered in light of the risks set forth in “Part I. Item 1A. Risk Factors” and elsewhere in this report.
Overview
We are a global manufacturer of diversified organic chemical products. We operate in three segments: Polyurethanes, Performance Products and Advanced Materials. Our products comprise many different chemicals and chemical formulations, which we market globally to a wide range of consumers that consist primarily of industrial and building product manufacturers. Our products are used in a broad range of applications, including those in the adhesives, aerospace, automotive, coatings and construction, construction products, durable and non-durable consumer products, electronics, insulation, power generation and refining. Many of our products offer effects such as premium insulation in homes and buildings and the lightweighting of airplanes and automobiles that help conserve energy. We are a leading global producer in many of our key product lines, including MDI, amines, maleic anhydride and epoxy-based polymer formulations. Our revenues for the years ended December 31, 2025, 2024 and 2023 were $5,683 million, $6,036 million and $6,111 million, respectively.
Our company, a Delaware corporation, was formed in 2004 to hold the Huntsman businesses, which were founded by Jon M. Huntsman. Mr. Huntsman founded the predecessor to our Company in 1970 as a small packaging materials company. Since then, we have transformed through a series of acquisitions and divestitures and now own a global portfolio of businesses with a primary focus on improving energy efficiency. On February 28, 2023, we completed the sale of our textile chemicals and dyes business (“Textile Effects Business”) to Archroma, a portfolio company of SK Capital Partners (“Archroma”). For more information, see “Note 4. Discontinued Operations—Sale of Textile Effects Business” to our consolidated financial statements. We operate all of our businesses through Huntsman International, our wholly-owned subsidiary. Huntsman International is a Delaware limited liability company and was formed in 1999.
Our principal executive offices are located at 10003 Woodloch Forest Drive, The Woodlands, Texas 77380, and our telephone number at that location is (281) 719-6000.
Our Business Segments
| (1) |
For a reconciliation of total reportable segments’ adjusted EBITDA to (loss) income from continuing operations before income taxes, see “Note 27. Operating Segment Information” to our consolidated financial statements. Percentage allocations in this chart do not give effect to Corporate and other unallocated items and eliminations. |
The following table identifies the key product lines, principal end markets and applications, representative customers, raw materials and representative competitors of each of our business segments:
| Product lines |
End markets / applications |
Representative customers |
Raw materials |
Representative competitors |
|
|
MDI |
Polyurethane chemicals are used to produce rigid and flexible foams, as well as coatings, adhesives, sealants and elastomers. Major end markets include: building insulation, construction products, automotive, including electric vehicles, and footwear. They are also used in cold chain, furniture and specialized engineering applications. |
|
|
Benzene, chlorine and industrial gases |
||||||||||
| Polyols |
Polyols are combined with MDI and other isocyanates to create a broad spectrum of polyurethane products, such as rigid and flexible foams and other non-foam applications. |
Autoneum, Carpenter, GAF, Johns Manville, Amrize, Lear, Louisiana Pacific, Magna, Schmitz Cargobull, TopBuild and West Fraser | PO, polyester polyols and EO |
BASF, Carlisle Construction Materials, Coim, Covestro, Dow, Lubrizol and Wanhua Chemical Group |
|||||||||||
| TPU |
TPU is a high-quality, fully-formulated thermal plastic that can be tailored with unique qualities. It can be used in injection molding and small components for automotive and footwear. It is also extruded into films, wires and cables for use in the coatings, adhesives, sealants and elastomers markets. |
Isocyanate (such as MDI) and a polyol |
|||||||||||||
| Performance Products |
Amines |
Amines are a family of intermediate chemicals that are valued for their properties as a reactive agent, emulsifier, dispersant, detergent, solvent or corrosion inhibitor. Amines are used in polyurethane foam, fuel and lubricant additives, paints and coatings, composites, gas treatment, construction materials and semiconductor cleaning solutions. |
Afton, Bayer, Chevron, DuPont, Evonik, Hipower, Infineum, Lubrizol, Quadra Chemicals and Univar | EO, PO, glycols, ethylene dichloride, caustic soda, ammonia, hydrogen, methylamines and acrylonitrile |
BASF, Chenhua, Delamine, Dow, Evonik, Longhua, Nouryon, Tosoh and Zhengda |
||||||||||
| Maleic anhydride |
Maleic anhydride is an intermediate chemical used primarily to produce unsaturated polyester resins (UPRs). UPRs are mainly used in the production of fiberglass reinforced resins for construction, automotive, marine and recreation products. Maleic anhydride is also used in components or additives for lubricants, copolymers, food acidulants and water and paper chemicals. |
Afton, AOC, BASF, Chevron, Ineos, Infineum, Polynt-Reichhold, Primient, Reacciones Quimicas and Solenis |
Normal butane |
AOC, Bartek, Ineos and Lanxess |
|||||||||||
| Advanced Materials |
Technologically- advanced epoxy, phenoxy, acrylic, polyurethane and acrylonitrile-butadiene-based polymer formulations |
Aerospace and industrial adhesives; composites for aerospace, automotive, sport equipment and infrastructures; electrical power transmission and electric vehicles; automotive industrial and consumer electronics. | ABB, BMW, Bodo Moeller, Boeing, Bosch, GMZ, Isola, Motic (Xiamen), Schneider, Siemens, Speed Fair and TTM | BLR, epichlorohydrin, amines, polyols, isocyanates, acrylic materials, hardeners, fillers, butadiene and acrylonitrile | 3M, Henkel, Westlake and Xiongrun | |||||||||||
| High performance thermoset resins, curing and toughening agents and carbon nanotubes additives |
High performance chemical building blocks sold to formulators who develop formulations for aerospace, automotive, oil and gas, coatings, construction, electronics and electrical insulation applications. |
3M, Azelis, Azko, Henkel, Hexcel, Hilti, Omya, Parker Hannifin, Sherwin-Williams, Syensqo and Syngenta | Epichlorohydrin, amines, phenols, aminophenols, fatty acids, butadiene, acrylonitrile and carbon nanotubes | Aditya Birla, Evonik, Kaneka, Sumitomo and Westlake | ||||||||||||
Polyurethanes
General
We are a leading global manufacturer and marketer of a broad range of polyurethane chemicals, including MDI products, polyols and TPU (each discussed in more detail below under “Products and Markets”). Polyurethane chemicals are used to produce rigid and flexible foams, composite wood products, and a wide range of coatings, adhesives, sealants and elastomers. We focus on differentiated MDI-based polyurethane systems and polyurethane component molecules. Volume growth in our Polyurethanes segment has been driven primarily by global economic activity and the continued substitution of MDI-based products for other materials across a broad range of applications. We operate three major polyurethane manufacturing facilities in the United States (“U.S.”), Europe and China. We also operate 21 strategically located downstream facilities, of which 14 are polyurethane formulation facilities, commonly referred to in the chemical industry as “systems houses”. Our systems houses are located in close proximity to our customers worldwide, which enables us to focus on customer support, technical service and a differentiated product offering. We also operate two specialty polyester polyol manufacturing facilities focused on the insulation market, three downstream TPU manufacturing facilities in the U.S., Europe and China and two spray polyurethane foam (“SPF”) manufacturing sites located in the U.S. and Canada.
Our customers produce polyurethane-based products through the combination of an isocyanate, such as MDI, with polyols, which are derived largely from PO. We are able to produce over 2,200 distinct MDI-based polyurethane products by modifying the MDI molecule through varying the proportion and type of polyol used and by introducing other chemical additives to our MDI formulations. As a result, polyurethane products, especially those derived from MDI, are continuing to replace traditional products in a wide range of end-use markets, including insulation in construction and cold chain, cushioning for automotive and furniture, coatings, adhesives, wood binders for construction and furniture, footwear and other specialized engineering applications.
We operate a world-scale integrated polyurethane formulations facility and a world-scale research and development campus in China to service our customers in the critical Chinese market, the largest MDI market in the world, and we will support the long-term demand growth that we believe this region will continue to experience. Additionally, we formed a joint venture with Sinopec to build and operate a world-scale PO/MTBE plant in Nanjing, China utilizing proprietary PO/MTBE manufacturing technology. PO is used in the manufacturing of polyurethane systems and MTBE is an oxygenate used in gasoline. We own a 49% interest in the joint venture and account for our interest in the joint venture as an equity method investment.
Huntsman Building Solutions (“HBS”) is a leading North American manufacturer and distributor of SPF insulation systems for residential and commercial applications. Our SPF products offer significant environmental benefits, as our proprietary manufacturing process transforms raw material from low quality PET plastic bottles into highly effective energy-saving polyurethane insulation. HBS offers attractive growth potential as energy efficiency standards and requirements increase globally.
Products and Markets
MDI is used primarily in rigid foam applications and in a wide variety of customized, higher-value flexible foam as well as coatings, adhesives, sealants and elastomers. Polyols, including polyether and polyester polyols, are used in conjunction with MDI in rigid foam, flexible foam and other non-foam applications. Polyurethane chemicals produce a range of product types and end uses. We produce MDI, polyols and TPU products and do not produce TDI products.
Polyurethane chemicals are sold to customers who combine the chemicals to produce polyurethane-based products. Customers will use either polyurethane component molecules produced for mass sales or polyurethane systems tailored to specific requirements. By varying the blend, additives and specifications of the polyurethane chemicals, manufacturers are able to develop and produce a breadth and variety of polyurethane-based products.
MDI. MDI is an aromatic diisocyanate molecule used in the manufacture of polyurethane-based products. MDI can be used to make polyurethanes with a broad range of properties and can therefore be used in a wide range of applications. We believe that MDI and formulated MDI systems, which combine MDI and polyols, will continue to grow above global GDP driven by the megatrends of energy management, food preservation, demographics and urbanization/transportation. MDI offers key products benefits of energy efficiency, comfort and durability aligned with these megatrends. We believe that MDI and formulated MDI systems will continue to substitute for alternative materials, such as fiberglass in insulation, phenol formaldehyde in wood binders and TDI in automotive and furniture. Specialty cushioning and insulation applications, thermoplastic polyurethanes and adhesives and coatings will further contribute to the continued growth of MDI. MDI experiences some seasonality in its sales reflecting its exposure to seasonal construction-related end markets, such as insulation and composite wood products. Sales generally peak during the spring and summer months in the northern hemisphere, resulting in greater sales volumes during the second and third quarters of the year.
Polyols. Polyols are combined with MDI and other isocyanates to create a broad spectrum of formulated polyurethane systems. Demand for specialty polyols has been growing at approximately the same rate at which MDI consumption has grown.
TPU. TPU is a high-quality, fully formulated thermal plastic derived from the reaction of MDI or an aliphatic isocyanate with polyols to produce unique qualities such as durability, flexibility, strength, abrasion-resistance, shock absorbency and chemical resistance. We can tailor the performance characteristics of TPU to help meet the specific requirements of our customers. TPU is used in injection molding and small components for the automotive and footwear industries. It is also extruded into films for apparel, wires and cables for industrial use and in a wide variety of applications in the coatings, adhesives, sealants and elastomers markets.
Other. Other sales consist primarily of aniline, benzene, nitrobenzene and other co-products, which all are used primarily to manufacture MDI. The majority of our aniline is consumed internally with some sold to third parties. We believe that the lack of a significant spot market for aniline means that in order to remain competitive, MDI manufacturers must either be integrated with an aniline manufacturing facility or have long-term, cost-competitive aniline supply contracts.
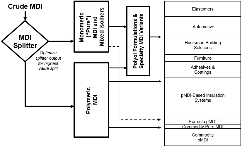
Our strategy is focused on growing our differentiated product offering (differentiated MDI and polyols, formulated MDI-based systems and TPU), which requires a greater emphasis on formulating capability and technical solutions to help our downstream customers meet the desired effect required in their applications. The diagram below provides an overview of how we leverage our technology and experience with the MDI splitter by transforming crude MDI into differentiated higher value systems and markets.

Sales and Marketing
We market our polyurethane chemicals to over 6,500 customers in more than 90 countries. Our sales, marketing and technical resources are organized to support major regional markets and key end-use markets, some of which require a coordinated global approach, such as key accounts across the automotive and elastomers markets. These regional key end-use markets include our insulation businesses, footwear, furniture and other construction and industrial markets. We sell both directly and indirectly to customers, the latter via a network of distributors and agents who in turn sell our products to customers who cannot be served as cost effectively by our internal sales groups.
We provide a wide variety of polyurethane solutions as components (i.e., the isocyanate or the polyol) or in the form of “systems”, in which we provide the total isocyanate and polyol formulation to our customers. Our ability to deliver a range of polyurethane solutions and technical support, which can be tailored for the needs of our customers, is critical to our long-term success. We have strategically located our downstream polyurethane systems houses close to our customers, enabling us to focus on customer support and technical service. We believe this customer support and technical service system contributes to customer retention and also provides opportunities for identifying further product and service needs of customers.
We believe that the extensive market knowledge and industry experience of our sales teams and technical experts, in combination with our strong emphasis on customer relationships, have facilitated our ability to establish and maintain long-term customer supply positions. Our sales strategy is to continue to increase sales to existing customers and to attract new customers by providing innovative solutions, quality products, reliable supply, competitive prices and superior customer service.
Manufacturing and Operations
Our world-scale MDI production facilities are located in Geismar, Louisiana; Rotterdam, the Netherlands; and Caojing, China. These facilities receive aniline, which is a primary material used in the production of MDI, from our facilities and third-party suppliers. We believe that this relative scale and product integration of our large facilities is necessary to provide cost competitiveness in MDI production. At our Geismar, Rotterdam and Caojing facilities we utilize sophisticated proprietary technology to produce MDI. This technology contributes to our position as a global MDI producer. Our global production capacity of MDI, polyols and TPU is approximately 2.9 billion pounds, 0.6 billion pounds and 0.1 billion pounds, respectively.
Key Joint Ventures
Rubicon Joint Venture. Lanxess AG (“Lanxess”) is our joint venture partner in Rubicon LLC (“Rubicon”), which owns aniline, nitrobenzene and DPA manufacturing facilities in Geismar, Louisiana. We are entitled to approximately 78% of the nitrobenzene and aniline production capacity of Rubicon, and Lanxess is entitled to 100% of the DPA production. In addition to operating the joint venture’s aniline, nitrobenzene and DPA facilities, Rubicon operates our wholly-owned MDI, polyol and maleic anhydride facilities at Geismar and is responsible for providing other auxiliary services to the entire Geismar complex. As a result of this joint venture, we are able to achieve greater scale and lower costs for our products than we would otherwise have been able to obtain. Rubicon is consolidated in our financial statements.
Chinese MDI Joint Venture. Huntsman Polyurethanes Shanghai Ltd. (“HPS”) is our splitting joint venture with Shanghai Chlor-Alkali Chemical Company, Ltd that manufactures pure MDI, polymeric MDI, MDI variants and formulated MDI systems. We own 70% of HPS and it is consolidated in our financial statements. On January 31, 2024, we completed the planned separation and acquisition of assets of Shanghai Lianheng Isocyanate Company Ltd. (“SLIC”), our former manufacturing joint venture with BASF and three Chinese chemical companies. Following the separation, we now operate an independent manufacturing facility producing crude MDI. This facility is part of our existing HPS site in Caojing, China. For more information, see “Note 3. Business Combinations and Acquisitions—Separation and Acquisition of Assets of SLIC Joint Venture” to our consolidated financial statements.
Chinese PO/MTBE Joint Venture. In November 2012, we entered into an agreement to form a joint venture with Sinopec, which operates a world-scale PO/MTBE facility in China. Under the joint venture agreement, we hold a 49% interest in the joint venture and Sinopec holds a 51% interest. We account for this investment under the equity method.
Raw Materials
The primary raw materials for MDI-based polyurethane chemicals are benzene, chlorine, caustic, carbon monoxide, nitric acid and formaldehyde. Benzene is a widely available commodity that we purchase from third parties to manufacture nitrobenzene and aniline, almost all of which we then use to produce MDI. Historically, benzene has been the largest component of our raw material costs. In recent years, the costs of natural gas-related raw materials in Europe have been volatile.
The primary raw material used in the production of polyols is PO, which we purchase in North America and Europe. The Chinese PO/MTBE joint venture supplies PO into our downstream China business. The strategic supply of PO gives us access to competitively priced PO and the opportunity to develop polyols that enhance our range of MDI products.
For additional information about our risks of raw material supply chain disruptions, see “Part I. Item 1A. Risk Factors.”
Competition
Our major competitors in the polyurethane chemicals market include BASF, Covestro, Dow, Lubrizol and Wanhua Chemical Group. While these competitors and others produce various types and quantities of polyurethane chemicals, we focus on MDI and MDI-based formulated polyurethane systems. Our downstream business is fragmented with different competitors in various markets and regions. Our competitors in downstream markets include Carlisle Construction Materials, Coim and Lubrizol. Our polyurethane chemicals business competes in two basic ways: (1) where price is the dominant element of competition, our polyurethane chemicals business differentiates itself by its high level of customer support, including cooperation on technical and safety matters; and (2) elsewhere, we compete on the basis of product performance, our ability to react quickly to changing customer needs and providing customers with innovative solutions to their needs.
Performance Products
General
Our Performance Products segment has leading positions in the regions we manufacture and sell amines and maleic anhydride and serves a wide variety of consumer and industrial end markets. Our Performance Products segment is organized by region and product family: amines (both performance amines and ethyleneamines) as well as maleic anhydride.
We produce a wide range of amines in seven manufacturing facilities in North America, Europe, the Middle East and Asia. We believe we are the largest global producer of polyetheramines, the largest producer of 2-(2-amino ethoxy) ethanol (sold under our DGA® brand), the largest global producer of the full range of ethyleneamines and a leading global producer of low emission polyurethane catalysts. We are the only producer and largest supplier of propylene carbonate and ethylene carbonate in North America. We believe we are the largest producer of maleic anhydride outside of China and the second largest globally with two production facilities in North America.

Products and Markets
Amines. Amines are a family of intermediate chemicals that are produced by reacting ammonia, or an alkylamine, with various ethylene and propylene derivatives. Generally, amines are valued for their properties as a reactive agent, emulsifier, dispersant, solvent or corrosion inhibitor. Growth in demand for amines is highly correlated with GDP growth. However, certain segments of the amines market, such as polyetheramines, have historically grown at rates in excess of GDP growth due to new product development, technical innovation and end-use substitution. As amines are generally sold based upon the performance characteristics that they provide to customer-specific end-use applications, pricing does not generally fluctuate directly with movements in underlying raw materials. Our amines business is organized around the following product groups:
| Product group |
|
Applications |
| Polyetheramines |
Epoxy composites, construction and flooring, paints and coatings, adhesives, fuel additives, agrochemicals, oilfield chemicals and pigment dispersion | |
| Ethyleneamines |
Chemical building block used in lubricant additives, epoxy hardeners, wet strength resins, oilfield chemicals, water treatment and fungicides | |
| Diversified and specialty amines, including DGA® Agent, JEFFCAT® catalysts and E-GRADE® specialty amines and carbonates | Gas treating, agrochemicals, polyurethane insulation and flexible foams, E-GRADE® specialty amines for semiconductor manufacturing and electrolytes for electric vehicle batteries |
Polyetheramines are produced by reacting polyol with ammonia. They provide sophisticated performance characteristics as an additive in the manufacture of highly customized epoxy formulations, enabling customers to penetrate new markets and substitute for traditional curing materials.
Our ethyleneamines are manufactured by reacting EDC and caustic soda with ammonia to produce a range of various ethyleneamines homologues having different molecular weights. Most other producers utilize a reductive amination process, which yields a light slate of ethyleneamines. We believe our heavier slate of homologues allows access to a greater range of markets.
Our amines are used in a wide variety of mainly industrial applications, including composites, paints and coatings, fuel and lubricant additives, agrochemicals, gas treating, oilfield chemicals, polyurethane insulation and flexible foams, semiconductor manufacturing and solvents. Our amines customers include Afton, Bayer, Chevron, DuPont, Evonik, Hipower, Infineum, Lubrizol, Quadra Chemicals and Univar.
Maleic Anhydride. Maleic anhydride is a highly versatile chemical intermediate used for products sold into construction, infrastructure, industrial and marine applications. Notably, maleic anhydride is used to produce unsaturated polyester resins (UPRs), which are mainly used in the production of fiberglass reinforced resins for construction, automotive, marine and recreation products. Maleic anhydride is also used in components or additives for lubricants, copolymers, food acidulants and water and paper chemicals.
| Product group |
|
Applications |
| Maleic anhydride |
Construction, lubricant additives, marine, automotive, recreation, agrochemicals, paper, water and food additives |
Maleic anhydride is produced by oxidizing either benzene or normal butane using a catalyst. Our maleic anhydride technology is a proprietary fixed bed butane-based process with a solvent recovery and refining system. We believe that our process is superior in the areas of feedstock and energy efficiency and solvent recovery. Generally, changes in price have resulted from a combination of changes in industry capacity utilization and underlying raw material costs. Our maleic anhydride customers include Afton, AOC, BASF, Chevron, Ineos, Infineum, Polynt-Reichhold, Primient, Reacciones Quimicas and Solenis.
Sales and Marketing
We sell approximately 200 products to over 800 customers globally through our regional sales and marketing organizations, which have extensive market knowledge, considerable chemical industry experience and well-established customer relationships.
In more specialty products for certain markets (e.g., coatings, fuel additives, epoxy-based composites, construction, automotive, polymer modification, energy and semiconductor manufacturing), our marketing efforts are focused on how our product offerings perform in customer applications. We believe that this approach enhances the value of our product offerings and creates opportunities for ongoing differentiation in our development activities with our customers.
We provide extensive pre- and post-sales technical service support to our customers. Our research and development function creates solutions to meet our customers unique and changing requirements. These technical professionals interact closely with our marketing managers and business leadership teams to help guide future offerings and market approach strategies. In addition to our focused direct sales efforts, we maintain an extensive global network of distributors and agents that also sell our products. These distributors and agents typically promote our products to smaller end-use customers who cannot be served as cost effectively by our direct sales forces.
Manufacturing and Operations
Our Performance Products segment has the capacity to produce a variety of products at 9 manufacturing locations in North America, EAME and APAC. Our global production capacity of amines is approximately 0.9 billion pounds and our North America production capacity of maleic anhydride is approximately 0.4 billion pounds.
Our amines facilities are located globally. These facilities have a competitive cost base and use modern manufacturing units that allow for flexibility in production capabilities and technical innovation.
Several of our facilities are located within large integrated petrochemical manufacturing complexes. We believe this results in greater scale and lower costs for our products than we would be able to obtain if these facilities were standalone operations. These include our maleic anhydride facilities in Pensacola, Florida and Geismar, Louisiana; our amines facilities in Freeport, Texas and Port Neches, Texas; and the amines facility of Arabian Amines Company (“AAC”), our consolidated manufacturing joint venture with the Zamil Group in Jubail, Saudi Arabia. In the second quarter of 2025, we completed the closure of our European maleic anhydride manufacturing facility in Moers, Germany.
Joint Venture
We consolidate the results of AAC, our 50%-owned manufacturing joint venture with the Zamil Group. AAC operates an ethyleneamines manufacturing plant in Jubail, Saudi Arabia. The plant has an approximate annual capacity of 70 million pounds. We purchase and then market all the production from this joint venture.
Raw Materials
The main raw materials used in the production of our amines are EO, PO, glycols, EDC, caustic soda, ammonia, hydrogen, methylamines, and acrylonitrile. Most of these raw materials are available from multiple sources in the merchant market at competitive prices.
Maleic anhydride is produced by the reaction of normal butane with oxygen. The principal raw material is normal butane, which is purchased pursuant to long-term contracts and delivered to our Pensacola, Florida site by barge and to our facility in Geismar, Louisiana via pipeline.
For additional information about our risks of raw material supply chain disruptions, see “Part I. Item 1A. Risk Factors.”
Competition
There are a small number of competitors for many of our amines due to the considerable customization of product formulations, the proprietary nature of many of our product applications and manufacturing processes and the relatively high research and development and technical costs involved. Our global competitors include BASF, Delamine, Dow, Evonik, Nouryon, Tosoh and Zhengda. We compete primarily based on product performance, new product innovation and price.
In our maleic anhydride market, we compete primarily based on price, customer service, reliability of supply and logistics management. Our competitors include AOC, Bartek, Ineos and Lanxess.
Advanced Materials
General
Our Advanced Materials segment is a leading global manufacturer and marketer of technologically-advanced epoxy, phenoxy, acrylic, polyurethane, mercaptan and acrylonitrile butadiene-based polymer products as well as carbon nanomaterials. We focus on chemical compounds and formulations that are used to address customer-specific needs in a wide variety of industrial and consumer applications. Our products are used either as replacements for traditional materials or in applications where traditional materials do not meet demanding engineering specifications. For example, structural adhesives are used to replace metal rivets and advanced composites are used to replace traditional aluminum panels and other steel materials to lighten structures in aerospace, automotive and other transportation. Our Advanced Materials segment is characterized by the breadth of our product offering, our expertise in complex chemistry, our long-standing relationships with our customers, our ability to develop and adapt our technology and our applications expertise for new markets and new applications.
We operate synthesis, formulating and production facilities in North America, Europe, Asia and South America. We sell to over 1,700 customers in the following end markets: aerospace, automotive, oil and gas, liquid natural gas transport, coatings and construction, printed circuit boards, consumer, industrial and automotive electronics, consumer and industrial appliances, electrical power transmission and distribution, recreational sports equipment, medical appliances and food and beverage packaging.
Products and Markets
Aerospace. Our Advanced Materials segment is a leading global supplier of advanced, high-performance materials for the fabrication and repair of aircraft components. We supply leading aerospace companies with innovations in composites, adhesives, laminating and repair systems, alongside innovative carbon nanotube technologies.
We offer a wide range of materials to the aerospace market under the ARALDITE®, EPIBOND®, EPOCAST®, URALANE® and MIRALON® brands. Many of these products are qualified under the specification of major aerospace original equipment manufacturers (“OEMs”), complying with appropriate regulations governing large civil aircraft.
Automotive. We offer to the automotive market, including leading automotive OEMs and Tier 1 suppliers, high-end composite and adhesive formulations, specialty resins and toughening agents. Lightweight, strength, flexibility, shorter cycle time and fatigue resistance are key requirements of our industrial partners.
Our Advanced Materials segment has a long history of delivering a wide range of solutions meeting stringent requirements for automotive electronics applications, such as high temperature and chemical resistance, flame-retardancy and excellent mechanical and dielectric properties. The strong global push for electric vehicles opens new opportunities in electric motor thermal management, hydrogen storage systems and battery performance enhancement with our innovative encapsulants, composite systems, toughening agents and carbon nanomaterials.
Electrical Infrastructure. We are a leading global supplier of insulating materials for motors, generators, switchgears, distribution and instrument transformers, and insulators and bushings for electrical power applications. The products formulated by our Advanced Materials segment are designed to provide the electrical equipment with an extended service life and meet specific industry requirements for electrical insulation in indoor and outdoor environments.
Coatings Infrastructure. We offer expertise in curing and toughening technologies and a portfolio of specialized resins and additives to the manufacturers of paints and construction materials. Our product technologies, including epoxy hardeners, phenoxy and acrylonitrile-butadiene reactive liquid polymers and high solid or water-based components, enable customers to address challenging industry requirements, such as resistance to aggressive chemicals and high temperature, adhesion to difficult substrates, excellent mechanical properties, high drying speed and easy re-coatability, low temperature and sub-zero cure and low VOC and environmental impact.
General Industry. We offer high-performance adhesives and composite formulations, specialty resins, toughening agents and rubber polymers to a large variety of industrial applications, such as sport equipment, leisure and shipping boats, engineering machineries, consumer electronics, rubber consumables and the do-it-yourself market.
ARALDITE® is an important brand in high-performance adhesive technologies. We offer formulation expertise in various chemistries, including epoxies, polyurethanes, methacrylates, phenolics, mercaptan and acrylonitrile-butadiene-based polymer products. Our materials address requirements such as long open times for large area applications, fast-curing adhesives for early removal and rapid through-put, resistance to high temperature, water and chemicals, thixotropy for gap-filling or vertical applications, and toughness, impact-resistance and elasticity to cope with different thermal expansions when bonding larger structures. Our adhesives are used in a large variety of industrial applications.
Sales and Marketing
We maintain multiple routes to market to service our diverse and fragmented customer base throughout the world. These routes to market range from using our own direct sales force, distribution to mass distribution. Our direct sales force focuses on engineering solutions for our major customers who purchase significant amount of product. We use specialist distributors to augment our sales effort in niche markets and applications where we do not believe it is appropriate to develop direct sales resources. We use mass general distribution channels to sell our products into a wide range of general applications where technical expertise is less important, which reduces our overall selling expenses. We believe our use of multiple routes to market enables us to reach a broader customer base at an efficient cost.
We conduct sales activities through dedicated regional sales teams in Europe and India, Asia and the Americas. Our global customers are covered by key account managers who are familiar with the specific requirements of these customers. The management of long-standing customer relationships is critical to the sales and marketing process.
Manufacturing and Operations
We are a global business serving customers in three principal geographic regions: Europe and India, Asia and the Americas. In order to service our customers efficiently, we maintain both synthesis and formulations manufacturing plants around the world with a strategy of global, regional and local manufacturing employed to optimize the level of service and minimize the cost to our customers.
We have commissioned a pilot plant in San Antonio, Texas, specifically designed to convert methane into high-value MIRALON® carbon nanomaterials, as well as clean hydrogen for sale into the energy, materials and chemicals markets. The pilot plant operations are being optimized to demonstrate improved production capability for MIRALON® carbon nanomaterials at significantly higher volumes than have historically been produced at our Merrimack, New Hampshire research and development site. This reactor design will form the basis of a larger kiloton scale commercial reactor, which will address the needs of markets such as thermoplastics and battery additives as well as providing a commercial scale source of hydrogen for applications in markets such as chemicals, steel, energy and transportation.
Raw Materials
The principal raw materials we purchase for the manufacture of basic and advanced epoxy resins are epichlorohydrin, bisphenol A, MDA, phenol and aminophenols. We also purchase amines, polyols, isocyanates, acrylic materials, hardeners and fillers for the production of our formulated polymer systems and complex chemicals and additives. In our specialty nitrile latexes and carboxyl terminated acrylonitrile-butadiene copolymer product lines, acrylonitrile and butadiene are the main raw materials purchased. For production of mercaptan curatives, we purchase polyols, epichlorohydrin and hydrogen sulfide. Raw material costs constitute a sizeable percentage of the costs for certain applications. We have supply contracts with a number of suppliers. The terms of our supply contracts vary, but in general, these contracts contain provisions that set forth the quantities of product to be supplied and purchased. Formula pricing is sometimes used if advantageous for the business.
Additionally, in our European operations, we produce some of our most important raw materials, such as BLR and its basic derivatives, which are the basic building blocks of many of our products. In the Americas and Asia, we procure BLR on the open market from a number of suppliers.
We consume certain amines produced by our Performance Products segment and isocyanates produced by our Polyurethanes segment, which we use to formulate our Advanced Materials products.
For additional information about our risks of raw material supply chain disruptions, see “Part I. Item 1A. Risk Factors.”
Competition
The markets in which our Advanced Materials segment competes are diverse and require an appropriate human capital and asset footprint to compete effectively. The competitive intensity, capital investment and development of proprietary technology and maintenance of product research and development are all market specific. We operate dedicated technology centers in Basel, Switzerland; The Woodlands, Texas; Merrimack, New Hampshire, and Shanghai, China in support of our product and technology development. Among our competitors are some of the world’s largest chemical companies with integrated raw material value chains to formulation companies that leverage intellectual and highly proprietary technology for problem solving.
Aerospace. Our leading market position is driven by our specialty resins, curing and toughening agents and formulations offerings backed by customer-specific certifications, quality and consistency. These products are value-added, and differentiated, backed by many years of reliable global supply and service. Our major competitors include 3M, Henkel and Sumitomo.
Automotive. Our automotive market is driven by light weight, cost effective production and assembling and durability of electrical devices and high-speed electronics, and is serviced by our leading positions in systems formulations, curing and toughening technologies, backed by application and process manufacturing knowledge. Our product offering allows for reliable and competitive solutions, with a strong ARALDITE® and PROBIMER® brand reputation, a robust supply chain and a specialized distribution channel to fulfill customers’ expectant demand for service and quality. Our major competitors include Kaneka, Taiyo and Westlake.
Electrical Infrastructure. Our leading position in these markets is primarily based on formulations expertise, product reliability and performance, process expertise and technical support. Our competitive strengths result from our focus on defined market segment needs, our long-standing customer relationships, product reliability and technical performance, and reputation and recognition as a quality supplier. Our major competitors include Aditya Birla, Nagase, Westlake and Xiongrun.
Coatings Infrastructure. Our long-standing position in these markets is served by our specialty resins and additives. Our additives and specialty resins offerings, including epoxy hardeners, phenoxy and acrylonitrile-butadiene reactive liquid polymers and high solid or water-based components, are value-added products that allow our customers to differentiate their own products. Our major competitors include Aditya Birla, Allnex, Evonik, Kukdo and Westlake.
General Industry. Our adhesive markets are being driven by cost effective production and assembling and are serviced by our leading positions in systems formulations, curing and toughening technologies backed by application and process manufacturing knowledge. Our adhesive offering allows for reliable and competitive solutions with a strong ARALDITE® brand reputation, a robust supply chain and a specialized distribution channel to fulfill customers’ expectant demand for service and quality. Our major competitors include 3M, Henkel, ITW and Parker Hannifin.
Research and Development
We support our businesses with a major commitment to research and development, technical services and process engineering improvement. Our research and development centers are located in The Woodlands, Texas; Tienen, Belgium; Basel, Switzerland; Merrimack, New Hampshire; and Shanghai, China. Other process development/technical service centers are located in Deggendorf, Germany, Auburn Hills, Michigan and Derry, New Hampshire (Polyurethanes); and Monthey, Switzerland, MacIntosh, Alabama, Akron, Ohio and Panyu, China (Advanced Materials).
Intellectual Property Rights
Proprietary protection of our processes, apparatuses and other technology and inventions is important to our businesses. We own approximately 2,140 unexpired patents and have approximately 950 patent applications (including provisionals) currently pending. While a presumption of validity exists with respect to issued U.S. patents, we cannot assure that any of our patents will not be challenged, invalidated, circumvented or rendered unenforceable. Furthermore, we cannot assure the issuance of any pending patent application, or that if patents do issue, that these patents will provide meaningful protection against competitors or against competitive technologies. Additionally, our competitors or other third parties may obtain patents that restrict or preclude our ability to lawfully produce or sell our products in a competitive manner.
We also rely upon unpatented proprietary know-how and continuing technological innovation and other trade secrets to develop and maintain our competitive position. There can be no assurance, however, that confidentiality and other agreements into which we enter and have entered will not be breached, that they will provide meaningful protection for our trade secrets or proprietary know-how, or that adequate remedies will be available in the event of an unauthorized use or disclosure of such trade secrets and know-how. In addition, there can be no assurance that others will not obtain knowledge of these trade secrets through independent development or other access by legal means.
In addition to our own patents and patent applications and proprietary trade secrets and know-how, we are a party to certain licensing arrangements and other agreements authorizing us to use trade secrets, know-how and related technology and/or operate within the scope of certain patents owned by other entities. We also have licensed or sub-licensed intellectual property rights to third parties.
We have associated brand names with a number of our products, and we have approximately 2,970 trademark registrations and 95 pending trademark applications globally. These registrations and applications include extensions of protection under the Madrid system for the international registration of marks. However, there can be no assurance that the trademark registrations will provide meaningful protection against the use of similar trademarks by competitors or that the value of our trademarks will not be diluted.
Because of the breadth and nature of our intellectual property rights and our business, we do not believe that any single intellectual property right (other than certain trademarks, for which we intend to maintain the applicable registrations) is material to our business. Moreover, we do not believe that the termination of intellectual property rights expected to occur over the next several years, either individually or in the aggregate, will materially adversely affect our business, financial condition or results of operations.
Human Capital Management
As of December 31, 2025, we employed approximately 6,000 associates in our operations around the world. Approximately 2,000 of these employees are located in the U.S., while approximately 4,000 are located in other countries.
We believe our employees are the foundation of our success. Our overall talent acquisition and retention strategy is designed to attract and retain diverse and qualified candidates to meet our performance goals on an ongoing basis and enable the success of our Company. Our key areas of focus include:
Health and Safety: Our global health and safety programs are designed around dedicated environmental, health and safety (“EHS”) Standards and Procedures specifically tailored at the facility level to address the different jurisdictions and regulations, specific operating hazards and unique working environments. The Company’s objectives focus on protection of people, regulatory compliance and protection of the environment. Compliance with the EHS Standards and Procedures are evaluated through various assurance processes including site-led and Corporate-led audits. In addition, other management systems applicable to many of our sites include third party verification of Responsible Care® and ISO 14001. A key metric used to assess the safety performance of our operations is the OSHA Lost Time rate, which follows a regulatory method for recording occupational injuries and illnesses. For the years ended December 31, 2025 and 2024, we had incident rates of 0.15 and 0.13, respectively.
Ethics and Compliance: At Huntsman, our commitment to our values of honesty, integrity, respect and responsibility unite us globally and fosters high ethical standards in our relationships with each other, with our customers and with all those we do business. Our Business Conduct Guidelines, along with the policies and procedures referenced within the guidelines, provide guidance for all employees on topics such as anti-corruption and bribery, anti-trust and competition law, discrimination including our policy on harassment and retaliation, privacy, appropriate use of company assets, protecting confidential information and reporting concerns and violations. The guidelines are used to reinforce our commitment to operating in a fair, honest, responsible and ethical manner and to emphasize the importance of having an open and welcoming environment in which all employees feel empowered to do what is right. Should potential violations of the guidelines, policies, procedures or the law occur, employees are encouraged to voice concerns promptly and are reminded that we do not tolerate retaliation against anyone who reports a potential violation in good faith. All employees are required to complete the training on the Business Conduct Guidelines annually, and our Chief Compliance Officer reports matters related to the Business Conduct Guidelines to the Audit Committee of our Board of Directors on a quarterly basis.
Compensation and Benefits: Our policy is to competitively compensate our associates and to appropriately motivate associates to provide value to our shareholders. Our compensation philosophy is to align both short-term and long-term incentives with our strategic objectives and to take into account market forces, best practices, and the performance of our Company and the employee. We offer employees benefits that vary by country and are designed to meet or exceed local laws and to be competitive in the marketplace. Examples of benefits offered in the U.S. include a 401(k) plan with employer contributions, health benefits, business travel and life/disability insurance, supplemental voluntary insurance and paid time off.
Training and Talent Development: We are committed to the continued development of our workforce. We provide technical and leadership training to our associates, customers and suppliers who work for or with our products and services. Training is provided in a number of formats to accommodate the learner’s style, pace, location, technological knowledge and access.
Environmental, Health and Safety Matters
General
We are subject to extensive federal, state, local and international laws, regulations, rules and ordinances relating to occupational health and safety, process safety, pollution, protection of the environment and natural resources, product management and distribution, and the generation, storage, handling, transportation, treatment, disposal and remediation of hazardous substances and waste materials. In the ordinary course of business, we are subject to frequent environmental inspections and monitoring and occasional investigations by governmental enforcement authorities. In addition, our production facilities require operating permits that are subject to renewal, modification and, in certain circumstances, revocation. Actual or alleged violations of safety laws, environmental laws or permit requirements could result in restrictions or prohibitions on plant operations or product distribution, substantial civil or criminal sanctions, or injunctions limiting or prohibiting our operations altogether. In addition, some environmental laws may impose liability on a strict or joint and several basis. Moreover, changes in environmental regulations could inhibit or interrupt our operations, or require us to modify our facilities or operations and make significant environmental compliance expenditures. Accordingly, environmental or regulatory matters may cause us to incur significant unanticipated losses, costs or liabilities. Information related to EHS matters may also be found in other areas of this report including “—Item 1A. Risk Factors” and “Note 2. Summary of Significant Accounting Policies—Environmental Expenditures” and “Note 22. Environmental Health and Safety Matters” to our consolidated financial statements.
Environmental, Health and Safety Systems
We are committed to achieving and maintaining compliance with all applicable EHS legal requirements, and we have developed policies and management systems that are designed to identify the myriad EHS legal requirements applicable to our operations, enhance compliance with applicable legal requirements, improve the safety of our employees, contractors, community neighbors and customers and minimize the production and emission of wastes and other pollutants. We cannot guarantee, however, that these policies and systems will always be effective or that we will be able to manage EHS legal requirements without incurring substantial costs. Although EHS legal requirements are constantly changing and, for that reason, are frequently difficult to comply with, these EHS management systems are designed to assist us in our compliance goals while also fostering efficiency and improvement and reducing overall risk to us. For the years ended December 31, 2025, 2024 and 2023, our capital expenditures for EHS matters totaled $37 million, $27 million and $30 million, respectively, and our estimated capital expenditures for EHS matters for 2026 is expected to be approximately $47 million.
Environmental Remediation
We have incurred, and we may in the future incur, liabilities to investigate and clean up waste or contamination at our current or former facilities or facilities operated by third parties at which we may have disposed of waste or other materials. Similarly, we may incur costs for the cleanup of waste that was disposed of prior to the purchase of our businesses. Under some circumstances, the scope of our liabilities may extend to damages to natural resources.
In cases where our potential liabilities arise from historical contamination based on operations and other events occurring prior to our ownership of a business or specific facility, we frequently obtain an indemnity agreement from the prior owner addressing remediation liabilities arising from pre-closing conditions. We have successfully exercised our rights under these contractual covenants for a number of sites and, where applicable, mitigated our ultimate remediation liabilities. We cannot assure, however, that the liabilities for all such matters subject to indemnity will be honored by prior owners or that our existing indemnities will be sufficient to cover our liabilities for such matters.
Based on available information and the indemnification rights we believe are likely to be available, we believe that the costs to investigate and remediate known contamination will not have a material effect on our financial statements. However, if such indemnities are not honored or do not fully cover the costs of investigation and remediation or we are required to contribute to such costs, then such expenditures may have a material effect on our financial statements. At the current time, we are unable to estimate the total cost, exclusive of indemnification benefits, to remediate contaminated sites.
Regulatory Matters
Greenhouse Gas Regulation and Climate Change
Globally, our operations are increasingly subject to regulations that seek to reduce emissions of greenhouse gases (“GHGs”), such as carbon dioxide (“CO2”) and methane. At the Durban negotiations of the Conference of the Parties to the Kyoto Protocol in 2012, a limited group of nations, including the European Union (the “EU”), agreed to a second commitment period for the Kyoto Protocol, an international treaty that provides for reductions in GHG emissions. More significantly, the EU GHG Emissions Trading System (“ETS”), established pursuant to the Kyoto Protocol to reduce GHG emissions in the EU, continues in its fourth phase. The European Commission (the “EC”) established a market stability reserve that started operating in 2019 and addresses a surplus of allowances and improves the system’s resilience to major shocks by adjusting the supply of allowances to be auctioned. In addition, the EU has set a binding target to reduce domestic GHG emissions by at least 40% below 1990 levels by 2030 and a binding target to increase the share of renewable energy to at least 32% of the EU’s energy consumption by 2030. In July 2021, the EC proposed legislation to increase its GHG emission reduction target to at least 55% and the renewable energy target to 40%. In January 2024, the EC communicated support for a 90% reduction in GHG emissions by 2040. In December 2025, the EU agreed to set a legally binding target to reduce GHG emissions by 90% from 1990 levels by 2040 and to buy foreign carbon credits to cover 5% of the emissions cuts.
Moreover, beginning in 2028 for the 2027 financial year, the EU’s Corporate Sustainability Reporting Directive may require us to report on a wide-range of detailed environmental, social, and governance related matters. The topics may range from pollution to biodiversity, business conduct, and climate change. Failure to meet the reporting requirements could result in financial liabilities, civil or criminal penalties, and reputational risks.
In addition, at the 2015 United Nations Framework Convention on Climate Change in Paris, the U.S. and nearly 200 other nations entered into an international climate agreement, which went into effect in November 2016 (the “Paris Agreement”). Although the Paris Agreement does not create any binding obligations for nations to limit their GHG emissions, it does include pledges to voluntarily limit or reduce future emissions. The U.S. rejoined the Paris Agreement on February 19, 2021. In addition, in September 2021, former U.S. President Biden publicly announced the Global Methane Pledge, a pact that aims to reduce global methane emissions at least 30% below 2020 levels by 2030. Since its formal launch at the United Nations Climate Change Conference (“COP26”), over 100 countries have joined the Global Methane Pledge. On January 20, 2025, the new U.S. presidential administration under U.S. President Trump (the “Trump Administration”) directed the U.S. Ambassador to the United Nations to immediately submit formal written notification of the U.S.’s withdrawal from the Paris Agreement. Until new policy directives are fully implemented, however, the full scope and effect of such changes remain uncertain.
In 2023, the EU adopted the Carbon Border Adjustment Mechanism (“CBAM”), which subjects certain imported materials to a carbon levy linked to the carbon price payable on domestic goods under the ETS. Following a transitional phase beginning in October 2023, the definitive EU CBAM regime entered into force on January 1, 2026. The EU CBAM could increase our costs of importing materials beginning in 2026 and/or limit our ability to import lower cost materials from non-EU countries. Additionally, the recently proposed United Kingdom (“U.K.”) CBAM, if implemented, could further increase our costs.
Domestic efforts to curb GHG emissions are being driven by the U.S. Environmental Protection Agency’s (“EPA”) GHG regulations and similar programs of certain states. To the extent that our domestic operations are subject to EPA’s GHG regulations, we may face increased capital and operating costs associated with new or expanded facilities. Significant expansions of our existing facilities or construction of new facilities may be subject to the federal Clean Air Act’s (the “CAA”) requirements for pollutants regulated under the Prevention of Significant Deterioration and Title V programs. Some of our facilities are also subject to EPA’s Mandatory Reporting of Greenhouse Gases Rule, and any further regulation may increase our operational costs. Of note, in September 2025, EPA published a proposed rule to amend the Greenhouse Gas Reporting Program to remove program obligations for most source categories and suspend program obligations until reporting year 2034.
On March 6, 2024, the U.S. Securities and Exchange Commission (“SEC”) adopted final rules requiring, among other things, disclosure of material climate-related risks and related governance practices, Scope 1 and 2 GHG emissions reports and financial impacts of severe weather events and other natural conditions (the “Climate Rule”). Several lawsuits have been filed challenging the Climate Rule. The U.S. Court of Appeals for the Eighth Circuit was selected to consolidate the lawsuits, and on April 4, 2024, the SEC voluntarily stayed the rules pending the outcome of the litigation. In March 2025, the SEC voted to end its defense of the 2024 climate disclosure rules.
Furthermore, in October 2023, the state of California enacted significant corporate climate disclosure legislation (S.B. 253) that will require annual reporting of GHG emissions (Scope 1, 2 and 3 in accordance with the Greenhouse Gas Protocol) for public and private companies with over $1 billion in gross annual revenue that are doing business in California. Phased-in disclosure requirements (and assurance) begin in 2026, covering emissions during 2025.
In addition, separate California legislation (S.B. 261) requires biennial climate risk reporting, in accordance with the Task Force on Climate-Related Financial Disclosures recommendations, by public and private companies with over $500 million in annual revenues that are doing business in California. First reports were set to be published on or before January 1, 2026.
However, the climate-related laws in California are currently under legal challenge in the U.S. District Court for the Central District of California and S.B. 261 is currently stayed. The District Court initially denied a preliminary injunction against California’s enforcement of the laws, which was subsequently appealed to the U.S. Court of Appeals for the Ninth Circuit. A three-judge panel heard oral arguments related to the challenges of S.B. 253 and S.B. 261 on January 9 but has yet to issue a decision. The Ninth Circuit previously stayed enforcement of S.B. 261 pending appeal, leaving S.B. 253 in place for now, but the California Air Resources Board has yet to set regulations on the timing of reporting the scope 1, 2, and 3 GHG emissions required by S.B. 253. The litigation is ongoing, and the ultimate outcome remains uncertain. If the laws are upheld, they could result in additional costs associated with regulatory reporting requirements and potential liability.
Further, in April 2024, EPA updated the Hazardous Organic National Emission Standards for Hazardous Air Pollutants under the CAA, also known as the HON rule, imposing more stringent emissions regulations and additional air monitoring requirements for approximately 200 chemical plants across the U.S., including three of our facilities. In March 2025, EPA announced that it would reconsider the HON rule and indicated that changes to the rule would be forthcoming, and in July 2025, the Trump Administration provided an exemption for our three facilities for two years beyond the original compliance dates. In December 2024, EPA also issued a proposed rule for the Polyether Polyols production industry that, similar to the HON revisions, would impose strengthened hazardous air pollutant controls on major sources within this sector. If implemented, we anticipate that these regulations may result in material changes to Huntsman.
We are already managing and reporting GHG emissions, to varying degrees, as required by law for our sites in locations subject to U.S. federal and state requirements, Kyoto Protocol obligations and/or ETS requirements. Although these sites are subject to existing GHG legislation, few have experienced or anticipate significant cost increases because of these programs, although it is possible that GHG emission restrictions may increase over time. Potential consequences of such restrictions include capital requirements to modify assets to meet GHG emission restrictions and/or increases in energy costs above the level of general inflation, as well as direct compliance costs. Currently, however, it is not possible to estimate the likely financial impact of potential future regulation on any of our sites.
Finally, most scientists have concluded that increasing concentrations of GHGs in the earth’s atmosphere may produce climate changes that have significant physical effects, such as increased frequency and severity of storms, droughts, floods and other climatic events. If any of those effects were to occur, they could have an adverse effect on our assets and operations.
Available Information
We maintain an internet website at http://www.huntsman.com. Our annual reports on Form 10-K, quarterly reports on Form 10-Q, current reports on Form 8-K and amendments to these reports are available free of charge through our website as soon as reasonably practicable after we file these materials with the SEC. We also provide electronic or paper copies of our SEC filings free of charge upon request.
Glossary of Chemical Terms
BDO—butane diol
BLR—base liquid resin
DGA® Agent—DIGLYCOLAMINE® agent
DPA—diphenylamine
EDC—ethylene dichloride
EO—ethylene oxide
MDA—methylene dioxy amphetamine
MDI—methyl diphenyl diisocyanate
MTBE—methyl tertiary-butyl ether
PO—propylene oxide
Polyols—a substance containing several hydroxyl groups. A diol, triol and tetrol contain two, three and four hydroxyl groups, respectively.
TDI—toluene diisocyanate
TPU—thermoplastic polyurethane
UPR—unsaturated polyester resin
Any of the following risks could materially and adversely affect our business, results of operations, financial condition and liquidity.
RISKS RELATED TO OUR BUSINESS AND OPERATIONS
Our industry is affected by global economic factors, including risks associated with volatile economic conditions, and the economic environment, inflation, elevated interest rates and recessions. Prolonged periods of slow economic growth and global instability have had, and may continue to have, significant effects on our customers and suppliers and have had, and may in the future continue to have, a material adverse effect on our business, operating results, financial condition and/or stock price.
Our financial results are substantially dependent on overall economic conditions in the U.S., Europe and Asia. Declining economic conditions, including adverse factors such as inflation, rising and elevated interest rates, supply chain disruptions and geopolitical conflicts, or negative perceptions about future economic conditions, have resulted in, and in the future could result in, a substantial decrease in demand for our products and could adversely affect our business. The timing and extent of any changes to currently prevailing market conditions is uncertain, and supply and demand may be unbalanced at any time. The effects of global economic conditions in certain markets include, among other things, significant reductions in available capital and liquidity from credit markets, supply or demand driven inflationary pressures, and substantial fluctuations in currency values worldwide. Uncertain economic conditions and market instability make it particularly difficult for us to forecast demand trends. As a consequence, we may not be able to accurately predict future economic conditions or the effect of such conditions on our financial condition or results of operations. In addition, a prolonged or substantial economic downturn could have material unforeseen consequences, and may result in increased indebtedness or substantially lower adjusted EBITDA, any of which could have a material adverse effect on our business and our ability to comply with the financial covenants in our debt agreements. We can give no assurances as to the timing, extent or duration of the current or future economic cycles impacting the industries in which we operate.
The industries in which we compete are highly competitive, and we may not be able to compete effectively with our competitors, including those that have greater financial resources and sovereign and other state-owned or affiliated entities, which could have a material adverse effect on our business, results of operations and financial condition.
The industries in which we operate are highly competitive. Among our competitors are some of the world’s largest chemical companies. Changes in the competitive landscape could make it difficult for us to retain our competitive position in various products and markets throughout the world. Some of the companies with whom we compete may be able to produce products more economically than we can. Furthermore, some of our competitors have greater financial resources, which may enable them to invest significant capital into their businesses, including expenditures for research and development.
While we are engaged in a range of research and development programs to develop new products and processes, to improve and refine existing products and processes, and to develop new applications or alternative uses for existing products, the failure to develop new products, processes or applications or the failure to keep pace with evolving technological innovations in our end-use markets, could make us less competitive and have an adverse impact on our financial results. Moreover, if any of our current or future competitors develops proprietary technology that enables them to produce products at a significantly lower cost, our technology could be rendered uneconomical or obsolete. We cannot predict whether technological innovations will, in the future, result in a lower demand for our products or affect the competitiveness of our business.
Further, it is possible that we could abandon certain products, processes, or applications due to potential infringement of third party intellectual property rights or that we could be named in future litigation for the infringement or misappropriation of a competitor’s or other third party’s intellectual property rights, which could include a claim for injunctive relief and damages, and, if so, such adverse results could have a material adverse effect on our business, results of operations and financial position.
In addition, certain of our competitors in various countries in which we do business, including China, may be sovereign and other state-owned or affiliated entities. These competitors may get special treatment with respect to regulatory compliance and product registration, while certain of our products, including those based on new technologies, may be delayed or even prevented from entering into the local market.
Certain of our businesses use technology that is widely available. Accordingly, barriers to entry, apart from capital availability, may be low in certain product segments of our business. The entrance of new competitors into any of our businesses may reduce our ability to maintain margins or capture improving margins in circumstances where capacity utilization in the industry is increasing. Finally, we may face increased competition due to the rapid development of digital, artificial intelligence and machine learning technologies. Failure to early adopt and incorporate such technologies to improve productivity and manufacturing technology may put us at a long-term competitive disadvantage. Increased competition in any of our businesses could compel us to reduce the prices of our products, which could result in reduced margins and loss of market share and have a material adverse effect on our business, results of operations, financial condition and liquidity.
Disruptions in production at our manufacturing facilities may have a material adverse impact on our business, results of operations and/or financial condition.
Manufacturing facilities in our industry are subject to planned and unplanned production shutdowns, turnarounds, outages and other disruptions. Any serious disruption at any of our facilities could impair our ability to use our facilities and have a material adverse impact on our revenues and increase our costs and expenses. Alternative facilities with sufficient capacity may not be available, may cost substantially more or may take a significant time to increase production or qualify with our customers, any of which could negatively impact our business, results of operations and/or financial condition. Long-term production disruptions may cause our customers to seek alternative supply which could further adversely affect our profitability.
Unplanned production disruptions may occur for external reasons including natural disasters, weather, disease, strikes, transportation interruption, government regulation, political unrest or terrorism, or internal reasons, such as fire, unplanned maintenance or other manufacturing problems. Any significant production disruption could have a material impact on our operations, operating results and financial condition.
In addition, we rely on a number of vendors, suppliers, and in some cases sole-source suppliers, service providers, toll manufacturers and collaborations with other industry participants to provide us with chemicals, feedstocks and other raw materials, along with energy sources and, in certain cases, facilities that we need to operate our business. If the business of these third parties is disrupted, some of these companies could be forced to reduce their output, shut down their operations or file for bankruptcy protection. If this were to occur, it could adversely affect their ability to provide us with the raw materials, energy sources or facilities that we need, which could materially disrupt our operations, including the production of certain of our products. Moreover, it could be difficult to find replacements for certain of our business partners without incurring significant delays or cost increases. If we are required to obtain alternate sources for raw materials because a supplier is unwilling or unable to perform under raw material supply agreements, if a supplier terminates its agreements with us, if we are unable to renew our existing contracts, or if we are unable to obtain new long-term supply agreements, we may not be able to obtain these raw materials in sufficient quantities, on economic terms, or in a timely manner, and we may not be able to enter into supply agreements on terms as favorable to us as our existing supply agreements, if at all. All of these risks could have a material adverse effect on our business, results of operations, financial condition and liquidity.
While we maintain business recovery plans that are intended to allow us to recover from natural disasters or other events that could disrupt our business, we cannot provide assurances that our plans would fully protect us from the effects of all such disasters or from events that might increase in frequency or intensity due to climate change. In addition, insurance may not adequately compensate us for any losses incurred as a result of natural or other disasters. In areas prone to frequent natural or other disasters, insurance may become increasingly expensive or not available at all. Furthermore, some potential climate-driven losses, particularly inundation due to sea-level rise, may pose long-term risks to our physical facilities such that operations cannot be restored in their current locations.
The markets for many of our products are cyclical and volatile, and we may experience depressed market conditions for such products.
The cyclicality in the markets for many of our products occurs as a result of alternating periods of tight supply, causing prices and margins to increase, followed by periods of lower capacity utilization, resulting in oversupply and declining prices and margins. The volatility these markets experience occurs as a result of changes in the demand for products as a consequence of global economic activity, changes in energy prices and changes in customers’ requirements. For example, demand for our products depends in part on aerospace, housing and construction industries, which are cyclical in nature and have historically been impacted by downturns in the economy. The supply-demand balance is also impacted by capacity additions or reductions that result in changes in utilization rates. The cyclicality and volatility of our industry results in significant fluctuations in profits and cash flow from period to period and over the business cycle.
Our results of operations may be adversely affected by international business risks, including fluctuations in currency exchange rates, legal restrictions and/or taxes.
We conduct a majority of our business operations outside the U.S., and these operations are subject to risks normally associated with international operations. These risks include the need to convert currencies that may be received for our products into currencies in which we purchase raw materials or pay for services, which could result in a gain or loss depending on fluctuations in exchange rates. We transact business in many foreign currencies, including euros, Swiss francs, Chinese renminbi, Indian rupees, Saudi riyals and Turkish liras. We translate our local currency financial results into U.S. dollars based on average exchange rates prevailing during the reporting period or the exchange rate at the end of that period. During times of a strengthening U.S. dollar, our reported international sales and earnings may be reduced because the local currency may translate into fewer U.S. dollars. Because we currently have significant operations located outside the U.S., we are exposed to fluctuations in global currency rates which may result in gains or losses on our financial statements.
Other risks of international operations include trade barriers, tariffs, exchange controls, cash repatriation restrictions, national and regional labor strikes, social and political risks, general economic risks and required compliance with a variety of U.S. and foreign laws, including monetary policies, tax laws, the Foreign Corrupt Practices Act (and foreign equivalents), export controls and regulations administered by the Office of Foreign Assets Control. Any changes in tariffs or trade barriers could make our products less competitive compared to other producers not subject to the same tariffs or trade barriers. Any decision to repatriate cash as dividends could subject us to foreign and U.S. federal and state income taxes without any offsetting foreign tax credit relief. Although we maintain an anti-corruption compliance program throughout our company, violations of our compliance program may result in criminal or civil sanctions, including material monetary fines, penalties and other costs against us or our employees, and may have a material adverse effect on our business. Furthermore, in foreign jurisdictions where legal processes may vary from country to country, we may experience difficulty in enforcing agreements. In jurisdictions where bankruptcy laws and practices vary, we may experience difficulty collecting foreign receivables through foreign legal systems. The occurrence of these risks, among others, could disrupt the businesses of our international subsidiaries, which could significantly affect their ability to make distributions to us.
We operate in a significant number of jurisdictions, which contributes to the volatility of our effective tax rate. Changes in tax laws or the interpretation of tax laws in the jurisdictions in which we operate may affect our effective tax rate. For example, a number of countries, as well as organizations such as the Organization for Economic Cooperation and Development, support a global minimum tax initiative. Such countries and organizations are also actively considering changes to existing tax laws or have proposed new tax laws that could increase our tax obligations. For such laws that have been enacted, we anticipate the impact will be immaterial to our financial statements. In addition, generally accepted accounting principles (“GAAP” or “U.S. GAAP”) have required us to place valuation allowances against some of our net operating losses and other deferred tax assets in certain tax jurisdictions. These valuation allowances result from analysis of positive and negative evidence supporting the realization of tax benefits. Negative evidence includes a cumulative history of pre-tax operating losses in specific tax jurisdictions. Changes in valuation allowances have resulted in material fluctuations in our effective tax rate. Economic conditions or changes in tax laws may dictate the continued imposition of current valuation allowances and, potentially, the establishment of new valuation allowances. While significant valuation allowances remain, our effective tax rate will likely continue to experience significant fluctuations. Furthermore, certain foreign jurisdictions may take actions to delay our ability to collect value-added tax refunds.
Significant price volatility or interruptions in supply of our raw materials and energy may result in increased costs that we may be unable to pass on to our customers, which could reduce our profitability.
We purchase a substantial portion of our raw materials and energy from third-party suppliers and their costs represent a substantial portion of our operating expenses. The prices for raw materials and energy generally follow price trends of, and vary with market conditions for, crude oil and natural gas feedstocks, which are highly volatile and cyclical. While we attempt to match cost increases with corresponding product price increases or surcharges, we are not always able to raise product prices immediately or at all. Timing differences between raw material and energy prices, which may change daily, and contract product prices, which in many cases are negotiated only monthly or less often, have had and may continue to have a negative effect on our cash flow. Any cost increase that we are not able to pass on to our customers could have a material adverse effect on our business, results of operations, financial condition and/or liquidity.
In general, the feedstocks and other raw materials we consume are organic chemical commodity products that are readily available at market prices. There are, however, several raw materials for which there are only a limited number of suppliers or a single supplier. To mitigate potential supply constraints, we frequently enter into supply agreements with particular suppliers, evaluate alternative sources of supply and evaluate alternative technologies to avoid reliance on limited or sole-source suppliers. In addition, where supply relationships are concentrated, particular attention is paid by the parties to ensure strategic intentions are aligned to facilitate long-term planning. If certain of our suppliers are unable to meet their obligations under present supply agreements, we may be forced to pay higher prices to obtain the necessary raw materials from other sources and we may not be able to increase prices for our finished products to recoup the higher raw materials costs. Any interruption in the supply of raw materials could increase our costs or decrease our revenues, which could reduce our cash flow. The inability of a supplier to meet our raw material needs could have a material adverse effect on our financial statements and results of operations.
The number of sources for and availability of certain raw materials is also specific to the particular geographical region in which a facility is located. Political and economic instability in the countries from which we purchase our raw material supplies could adversely affect their availability. In addition, if raw materials become unavailable within a geographic area from which they are now sourced, then we may not be able to obtain suitable or cost-effective substitutes. We may also experience higher operating costs such as energy costs, which could affect our profitability. We may not always be able to increase our selling prices to offset the impact of any higher production costs or reduced production levels, which could reduce our earnings and decrease our liquidity.
Our efforts to grow and transform our businesses may require significant investments; if our strategies are unsuccessful, our business, results of operations and/or financial condition may be materially adversely affected.
We continuously evaluate opportunities for growth and change. These initiatives may involve making acquisitions, entering into partnerships and joint ventures, divesting assets, restructuring our existing operations and assets, creating new financial structures and building new facilities—any of which could require a significant investment and subject us to new kinds of risks. We may incur additional indebtedness to finance these opportunities. If our strategies for growth and change are not successful, we could face increased financial pressure, such as increased cash flow demands, reduced liquidity and diminished access to financial markets, and the equity value of our businesses could be diluted.
The implementation of strategies for growth and change may create additional risks, including:
| ● | diversion of management time and attention away from existing operations; | |
| ● |
requiring capital investment that could otherwise be used for the operation and growth of our existing businesses; |
| ● |
disruptions to important business relationships; |
| ● |
increased operating costs; |
| ● |
limitations imposed by various governmental entities; and |
| ● |
difficulties due to lack of or limited prior experience in any new markets we may enter. |
Our inability to mitigate these risks or other problems encountered in connection with our strategies for growth and change could have a material adverse effect on our business, results of operations and/or financial condition. In addition, we may fail to fully achieve the savings or growth projected for current or future initiatives notwithstanding the expenditure of substantial resources in pursuit thereof.
We are subject to risks relating to our information technology systems, and any technology disruption or cyberattack could negatively affect our operations.
We rely on information technology systems, including tools that utilize artificial intelligence, across our operations, including for management, supply chain and financial information and various other processes and transactions. Our ability to effectively manage our business depends on the security, reliability and capacity of these systems. Our technology systems or the technology systems of third parties on which we rely are vulnerable to disruption from circumstances beyond our control, including fire, natural disasters, power outages, system failures, security breaches, espionage, viruses, theft and inadvertent release of information. In addition, the rapid evolution and increased adoption of artificial intelligence technologies may intensify our cybersecurity risks as attackers increase their utilization of artificial intelligence tools. Artificial intelligence technologies may also be used by malicious third parties to enable new or augment existing attack techniques, tactics and protocols. To date, we have not had a cyberattack that has had a material impact on our financial condition, results of operations or liquidity. Any disruption to our information technology systems could disrupt our operations or result in the disclosure of proprietary information about our business or confidential information concerning our customers or employees which could result in negative publicity/brand damage, violation of privacy laws, potential liability, including litigation/investigation/remediation or other legal actions against us or the imposition of penalties, fines, fees or liabilities, which may not be covered adequately by our insurance policies. Any or all the above would potentially cause delays or cancellations of customer orders or impede the manufacture or shipment of products, processing of transactions or reporting of financial results.
While we have invested and will continue to invest in technology security initiatives and disaster recovery plans, we may not be able to implement measures sufficient to prevent cyberattacks or that will protect against other significant risks to our information technology systems. We have put in place security measures designed to protect against the misappropriation or corruption of our systems, intentional or unintentional disclosure of confidential information, or disruption of our operations. In addition, current employees have, and former employees may have, access to a significant amount of information regarding our operations which could be disclosed to our competitors or otherwise used to harm us. Moreover, our operations in certain locations, such as China, may be particularly vulnerable to security attacks or other problems. Any breach of our security measures could result in unauthorized access to and misappropriation of our information, corruption of data or disruption of operations or transactions, any of which could have a material adverse effect on our business. In addition, we could be required to expend significant additional efforts to respond to information technology issues or to protect against threatened or actual cyberattacks.
Many of the tools and resources we integrate, or will integrate, into our business use some form of artificial intelligence, which has the potential to result in bias and other unintended consequences. Additionally, our use of artificial intelligence software may create additional risks related to the potential for intellectual property infringement or the unintentional disclosure of intellectual property and proprietary, confidential, personal or otherwise sensitive information.
Finally, data privacy is subject to frequently changing rules and regulations in countries where we do business. For example, the General Data Protection Regulation (“GDPR”) requires companies to meet regulations regarding the handling of personal data. Our failure to successfully comply with GDPR requirements could result in substantial fines or penalties and legal liability, which could tarnish our reputation.
Our operations involve risks that may increase our operating costs, which could reduce our profitability.
Although we take precautions to enhance the safety of our operations and minimize the risk of disruptions, our operations are subject to hazards inherent in the manufacturing and marketing of chemical and other products. These hazards include chemical spills, pipeline leaks and ruptures, storage tank leaks, discharges or releases of toxic or hazardous substances or gases and other hazards incident to the manufacturing, processing, handling, transportation and storage of dangerous chemicals. We are also potentially subject to other hazards, including natural disasters and severe weather; explosions and fires; transportation problems, including interruptions, spills and leaks; mechanical failures; unscheduled downtimes; labor difficulties; remediation complications; and other risks. In addition, some equipment and operations at our facilities are owned or controlled by third parties who may not be fully integrated into our safety programs and over whom we are able to exercise limited control. Many potential hazards can cause bodily injury and loss of life, severe damage to or destruction of property and equipment and environmental damage and may result in suspension of operations and the imposition of civil or criminal penalties and liabilities. Furthermore, we are subject to present and future claims with respect to workplace exposure, exposure of contractors on our premises as well as other persons located nearby, workers’ compensation and other matters.
We maintain property, business interruption, products liability and casualty insurance policies which we believe are in accordance with customary industry practices, as well as insurance policies covering other types of risks, including pollution legal liability insurance, but we are not fully insured against all potential hazards and risks incident to our business. Each of these insurance policies is subject to customary exclusions, deductibles and coverage limits, in accordance with industry standards and practices. As a result of market conditions, premiums and deductibles for certain insurance policies can increase substantially and, in some instances, certain insurance may become unavailable or available only for reduced amounts of coverage. If we were to incur a significant liability for which we were not fully insured, it could have a material adverse effect on our business, results of operations, financial condition and/or liquidity.
In addition, we are subject to various claims and litigation in the ordinary course of business. We are a party to various pending lawsuits and proceedings. For more information, see “—Item 3. Legal Proceedings” below.
Our operations, financial condition and liquidity could be adversely affected by legal claims against us, including antitrust claims.
We face risks arising from various legal actions, including matters relating to antitrust, product liability, intellectual property and environmental claims. It is possible that judgments could be rendered against us in these cases or others for which we could be uninsured or not covered by indemnity, or which may be beyond the amounts that we currently have reserved or anticipate incurring for such matters. Over the past few years, antitrust claims have been made against chemical companies. In this type of litigation, the plaintiffs generally seek injunctive relief, treble damages or the maximum damages allowed by state law, costs of suit and attorneys’ fees, which may result in significant liabilities. An adverse outcome in any antitrust claim could be material and significantly impact our operations, financial condition, liquidity and/or business reputation.
We may have difficulties integrating acquired businesses and as a result, our business, results of operations and/or financial condition may be materially adversely affected.
We have completed a number of acquisitions, and we expect to continue to acquire additional businesses and enter into joint ventures as part of our business strategy. Growth through acquisitions and joint ventures involves risks, including:
| ● |
inability to efficiently operate new businesses or to integrate acquired businesses and products; |
| ● |
inability to accurately predict delays in realizing the costs and benefits of acquisitions, partnerships, or joint ventures; |
| ● |
unexpected losses of customers or suppliers of an acquired or existing business; |
| ● |
difficulties in retaining key employees of acquired businesses; |
| ● |
difficulties in realizing projected synergies; and |
| ● |
exposure to unanticipated liabilities, including unexpected environmental exposures, product liability or illegal activities conducted by an acquired company or a joint venture partner. |
Our inability to address these risks could cause us to fail to realize the anticipated benefits of such acquisitions or joint ventures and could have a material adverse effect on our business, results of operations and/or financial condition.
Our business is exposed to risks associated with the creditworthiness of our suppliers, customers and business partners and the industries in which our suppliers, customers and business partners participate are cyclical in nature, both of which may adversely affect our business and results of operations.
Our business is exposed to risks associated with the creditworthiness of our key suppliers, customers and business partners and reductions in demand for our customers’ products. During periods of economic disruption, more of our customers than normal may experience financial difficulties, including bankruptcies, restructurings and liquidations, which could affect our business by reducing sales, increasing our risk in extending trade credit to customers and reducing our profitability. A significant adverse change in a customer relationship or in a customer’s financial position could cause us to limit or discontinue business with that customer, require us to assume more credit risk relating to that customer’s receivables or limit our ability to collect accounts receivable from that customer.
Our business is dependent on our intellectual property; if our intellectual property rights cannot be enforced or our trade secrets become known to our competitors, our ability to compete may be adversely affected.
Proprietary protection of our processes, apparatuses and other technology is important to our business. While a presumption of validity exists with respect to patents issued to us in the U.S., there can be no assurance that any of our patents will not be challenged, invalidated, circumvented or rendered unenforceable. Furthermore, if any pending patent application filed by us does not result in an issued patent, or if patents are issued to us, but such patents do not provide meaningful protection of our intellectual property, then our ability to compete may be adversely affected. Additionally, our competitors or other third parties may obtain patents that restrict or preclude our ability to lawfully produce or sell our products in a competitive manner, which could have a material adverse effect on our business, results of operations, financial condition and/or liquidity.
We also rely upon unpatented proprietary know-how and continuing technological innovation and other trade secrets to develop and maintain our competitive position. While it is our policy to enter into agreements imposing confidentiality obligations upon our employees and third parties to protect our intellectual property, these confidentiality obligations may be breached, may not provide meaningful protection for our trade secrets or proprietary know-how, or adequate remedies may not be available in the event of an unauthorized access, use or disclosure of our trade secrets and know-how. In addition, others could obtain knowledge of our trade secrets through independent development or other access by legal means.
We may have to rely on judicial enforcement of our patents and other proprietary rights. We may not be able to effectively protect our intellectual property rights from misappropriation or infringement in countries where effective patent, trademark, trade secret and other intellectual property laws and judicial systems may be unavailable or may not protect our proprietary rights to the same extent as U.S. law.
The failure of our patents or confidentiality agreements to protect our processes, apparatuses, technology, trade secrets or proprietary know-how or the failure of adequate legal remedies for related actions could have a material adverse effect on our business, results of operations, financial condition and liquidity.
Conflicts, military actions, terrorist attacks, political events, public health crises, changes in regulatory regimes and general instability, along with increased security regulations related to our industry, could adversely affect our business.
Conflicts, military actions, terrorist attacks, political events and public health crises have precipitated economic instability and turmoil in international commerce and the global economy. The uncertainty and economic disruption resulting from hostilities, military action or acts of terrorism may impact any or all of our facilities and operations or those of our suppliers or customers. Accordingly, any conflict, military action or terrorist attack that impacts us or any of our suppliers or customers, could have a material adverse effect on our business, results of operations, financial condition and/or liquidity. Furthermore, instability and turmoil, particularly in energy-producing nations, may result in raw material cost increases.
Changes in social, political, regulatory and economic conditions or in laws and policies governing foreign trade, manufacturing, development and investment in the territories and countries where we currently develop and sell products, could adversely affect our business. For example, a number of governments have proposed or instituted regulations attempting to increase the security of chemical plants and the transportation of hazardous chemicals, and in certain regions, putting pressure on manufacturing industries, which could result in higher operating costs and could have a material adverse effect on our financial condition and liquidity.
Our pension and postretirement benefit plan obligations have historically been underfunded, and, under certain circumstances, we may have to increase the level of cash funding to some or all of these plans, which would reduce the cash available for our business.
While our pension and postretirement benefit plan obligations are currently adequately funded, we have historically experienced unfunded and underfunded obligations under some of our domestic and foreign pension and postretirement benefit plans. The funded status of our pension plans is dependent upon many factors, including returns on invested assets, the level of certain market interest rates and the discount rates used to determine pension obligations. Unfavorable returns on the plan assets or unfavorable changes in applicable laws or regulations could materially change the timing and amount of required plan funding, which would reduce the cash available for our business. In addition, a decrease in the discount rate used to determine pension obligations could result in an increase in the valuation of pension obligations, which could affect the reported funding status of our pension plans and future contributions, as well as the periodic pension cost in subsequent fiscal years.
With respect to our domestic pension and postretirement benefit plans, the Pension Benefit Guaranty Corporation (“PBGC”) has the authority to terminate an underfunded tax-qualified pension plan under limited circumstances in accordance with the Employee Retirement Income Security Act of 1974, as amended. In the event our tax-qualified pension plans are terminated by the PBGC, we could be liable to the PBGC for the entire amount of the underfunding. With respect to our foreign pension and postretirement benefit plans, the effects of underfunding depend on the country in which the pension and postretirement benefit plan is established. For example, in the U.K. and Germany semi-public pension protection programs have the authority in certain circumstances to assume responsibility for underfunded pension schemes, including the right to recover the amount of the underfunding from us.
RISKS RELATED TO REGULATION AND ENVIRONMENTAL ACTION
We are subject to many EHS regulations that may result in unanticipated costs or liabilities, which could reduce our profitability.
We are subject to extensive federal, state, local and foreign laws, regulations, rules and ordinances relating to pollution, protection of the environment and human health and safety, and the generation, storage, handling, transportation, treatment, disposal and remediation of hazardous substances and waste materials. Actual or alleged violations of EHS laws or permit requirements could result in restrictions or prohibitions on plant operations and substantial civil or criminal sanctions and under certain EHS laws, the assessment of strict liability and/or joint and several liability.
Many of our products and operations are subject to the chemical control laws of the countries in which they are located. These laws include the regulation of chemical substances and inventories under the Toxic Substances Control Act (“TSCA”) in the U.S. and the Registration, Evaluation and Authorization of Chemicals (“REACH”) and the Classification, Labeling and Packaging of substances and mixtures (“CLP”) regulations in Europe. Analogous regulatory regimes exist in other parts of the world, including China, South Korea and Taiwan. In addition, a number of countries where we operate, including the U.K., have adopted rules to conform chemical labeling in accordance with a globally harmonized system. Many of these foreign regulatory regimes are in the process of a multi-year implementation period for these rules.
Additional new laws and regulations may be enacted or adopted by various regulatory agencies globally. For example, TSCA reform legislation was enacted in June 2016, and EPA has begun the process of issuing new chemical control regulations. EPA issued several final rules in 2017 and 2018 under the revised TSCA related to existing chemicals, including the following: (i) a rule to establish EPA’s process and criteria for identifying chemicals for risk evaluation; (ii) a rule to establish EPA’s process for evaluating high priority chemicals and their uses to determine whether or not they present an unreasonable risk to health or the environment; and (iii) a rule to require industry reporting of chemicals manufactured or processed in the U.S. over the past 10 years. In April 2020, EPA finalized revisions to its Chemical Data Reporting rule under TSCA, which changes reporting requirements. EPA has also released its framework for approving new chemicals and new uses of existing chemicals. Under the framework, a new chemical or use presents an unreasonable risk if it exceeds established standards. Such a finding could result in either the issuance of rules restricting the use of the chemical being evaluated or in the need for additional testing. In September 2025, EPA proposed further amendments to regulations implementing the TSCA’s risk evaluation requirements in an effort to mandate only the assessment of “unreasonable risk” of injury to health or the environment under the conditions of use, as opposed to every condition of use. The costs of compliance with any new laws or regulations cannot be estimated until the way they will be implemented has been more precisely defined.
Furthermore, governmental, regulatory and societal demands for increasing levels of product safety and environmental protection could result in increased pressure for more stringent regulatory control with respect to the chemical industry. In addition, these concerns could influence public perceptions regarding our products and operations, the viability of certain products, our reputation, the cost to comply with regulations, and the ability to attract and retain employees. Moreover, changes in EHS regulations could inhibit or interrupt our operations, or require us to modify our facilities or operations. Accordingly, environmental or regulatory matters may cause us to incur significant unanticipated losses, costs or liabilities, which could reduce our profitability. For example, several of our products are being evaluated under REACH and CLP regulations and actions thereunder could negatively impact sales.
We could incur significant expenditures in order to comply with existing or future EHS laws. Capital expenditures and costs relating to EHS matters will be subject to evolving regulatory requirements and will depend on the timing of the promulgation and enforcement of specific standards which impose requirements on our operations. Capital expenditures and costs beyond those currently anticipated may therefore be required under existing or future EHS laws.
Furthermore, we may be liable for the costs of investigating and cleaning up environmental contamination on or from our properties or at off-site locations where we disposed of or arranged for the disposal or treatment of hazardous materials, or from disposal activities that pre-dated our purchase of our businesses. We may therefore incur additional costs and expenditures beyond those currently anticipated to address all such known and unknown situations under existing and future EHS laws.
Regulatory requirements to reduce GHG or other emissions could have an adverse effect on our results of operations.
Our operations are increasingly subject to regulations aimed at reducing GHG emissions, including CO2, methane, and ethylene oxide. Efforts to address these emissions are underway at the international, national, and regional levels.
In the U.S., on April 25, 2024, the Biden Administration and EPA issued a final rule under Section 111 of the Clean Air Act (“CAA”) to regulate CO2 and other GHG emissions from fossil-fueled electric generating units. The final rule (i) establishes emission guidelines for states to set CO2 performance standards for existing coal-fired generating and other fossil-fueled steam generating units; and (ii) revise the new source performance standards for CO2 emissions for new and reconstructed stationary combustion turbines. Several industry groups, electric generators, and states have challenged the final rule. In June 2025, the Trump Administration and EPA issued a proposed rule to repeal all GHG emission standards for fossil fuel-fired power plants under the CAA and proposed to make a finding that GHG emissions from such plants do not contribute significantly to dangerous air pollution.
Regardless of the outcome of ongoing regulatory actions or legal challenges, the regulations, international agreements and initiatives aimed at reducing GHG emissions could affect the long-term price and supply of electricity and natural gas, and also drive greater demand for energy efficient products and renewable energy. Additionally, they could result in higher energy costs, additional capital expenditures for equipment installation or modification, and costs directly associated with emissions, such as cap and trade systems or carbon taxes. Efforts to address other environmental risks, including emissions of different substances, could have similar effects. Compliance with these regulations, or with potentially more stringent restrictions in the future, may increase our operational costs.
Additionally, the capital improvements required to meet environmental standards often involve developing and installing new technologies within existing plant operations. There is a risk that these technologies may not perform as expected, leading to potential delays in project timelines and affecting our ability to comply with regulatory requirements on schedule.
Finally, most scientists have concluded that increasing concentrations of GHGs in the Earth’s atmosphere may produce climate changes, such as increased frequency and severity of storms, droughts, floods and other climatic events. If any such effects were to occur in areas where we or our clients operate, they could have an adverse effect on our assets and operations.
RISKS RELATED TO INDEBTEDNESS
Changes in our credit ratings could increase our borrowing costs or negatively impact our ability to access debt capital markets.
We rely on access to the debt capital markets and other short-term borrowings to finance our operations. The major rating agencies routinely evaluate our credit profile and assign debt ratings. This evaluation is based on a number of factors, which include weighing our financial strength versus business, industry and financial risk. A decrease in the ratings assigned to us by ratings agencies may negatively impact our access to the debt capital markets and increase our borrowing costs. The addition of more debt to our capital structure could also impact our credit ratings. Any limitation on our ability to continue to raise money in the debt capital markets could have a substantial negative effect on our liquidity. Further, if we are unable to generate sufficient cash flow or maintain access to adequate external financing, including from significant disruptions in the global credit markets, our operations and opportunities for growth would be negatively impacted, which could adversely impact our results of operations.
GENERAL RISK FACTORS
Certain provisions contained in our certificate of incorporation and bylaws could discourage a takeover attempt, which may reduce or eliminate the likelihood of a change of control transaction and, therefore, limit your ability to sell our common stock at a price higher than the current market value.
Certain provisions contained in our certificate of incorporation and bylaws, as well as certain provisions of Delaware law, could make it more difficult for a third party to acquire control of our Company, even if some of our stockholders were to consider such a change of control to be beneficial. Our certificate of incorporation also authorizes our Board of Directors to issue preferred stock without stockholder approval. Therefore, our Board of Directors could elect to issue preferred stock that has special voting or other rights that could make it even more difficult for a third party to acquire us, which may reduce or eliminate your ability to sell our common stock at a price higher than the current market value.
We have purchased, and may continue to purchase, a portion of our equity and debt securities, which could impact the market for our equity and debt securities and likely would negatively affect our liquidity.
We may from time to time seek to repurchase or redeem our equity and debt securities in open market purchases, accelerated repurchase programs, privately negotiated transactions, tender offers, partial or full calls for redemption or otherwise. Any such repurchases or redemptions and the timing and amount thereof would depend on prevailing market conditions, liquidity requirements, contractual restrictions and other factors. Such transactions could negatively affect our liquidity.
We may fail to meet our publicly announced guidance or other expectations about our business, which could cause our stock price to have unanticipated movements.
From time to time, we provide guidance regarding our expected financial performance. Correctly identifying key factors affecting business conditions and predicting future events is inherently an uncertain process, and our guidance may not ultimately be accurate. Our guidance is based on certain assumptions, such as those relating to anticipated sales volumes, average selling prices, raw material costs and anticipated cost reductions. If our guidance varies from actual results, the market value of our common stock could have unanticipated movements.
ITEM 1B. UNRESOLVED STAFF COMMENTS
As of the date of this filing, we did not have any unresolved comments from the staff of the SEC.
Cybersecurity Risk Management and Strategy
We recognize the importance of developing, implementing and maintaining cybersecurity measures to safeguard our information systems, shield our operational technologies in our manufacturing plants and protect the confidentiality, integrity and availability of our data.
Recognizing the complexity and evolving nature of cybersecurity threats, we engage with a range of external experts, including cybersecurity assessors, consultants and auditors, in evaluating and testing our cybersecurity posture. These partnerships enable us to leverage specialized knowledge and insights in the development of our cybersecurity program consistent with industry best practices. Our collaboration with these third parties includes regular audits, threat assessments and consultation on security enhancements.
Because we are aware of the risks associated with parties, we have implemented a -party security risk management program to oversee and manage these risks. We conduct security assessments of third-party providers contracted by Global IT before engagement and maintain ongoing monitoring to ensure compliance with our cybersecurity standards. The program includes tools and services, which continuously monitor third parties for potential security concerns, data leaks and cyber posture, as well as periodic renewals of due diligence commensurate with their risk. This approach is designed to mitigate risks related to data breaches or other security incidents originating from these third parties.
Cybersecurity Governance
The Board of Directors is aware of the importance of managing risks associated with cybersecurity threats. The Board of Directors has established oversight mechanisms for effective governance in managing risks associated with cybersecurity threats, because they recognize the significance of these threats to our operational integrity and stakeholder confidence.
The CIO regularly informs the Chief Executive Officer and management regarding cybersecurity risks and incidents, so they are kept abreast of the cybersecurity posture and potential risks. Significant cybersecurity matters and strategic risk management decisions are reported to the Audit Committee.
We own or lease chemical manufacturing and research facilities in the locations indicated in the list below, which we believe are adequate for our short-term and anticipated long-term needs. We own or lease office space and storage facilities throughout the U.S. and in many foreign countries. Our principal executive offices are located at 10003 Woodloch Forest Drive, The Woodlands, Texas 77380. The following is a list of our principal physical properties where manufacturing, research and main office facilities are located. These facilities are in good operating condition, are suitable and adequate for their use and have sufficient capacity for our current needs.
| Location |
|
Business segment |
|
Description of facility |
| The Woodlands, Texas(1) |
Various |
Executive Offices, Operating Headquarters, Global Technology Center and Shared Services Center |
||
| Kraków, Poland(1) | Various | Global Business Services Center | ||
| Kuala Lumpur, Malaysia(1) |
Various |
Global Business Services Center |
||
| San Jose, Costa Rica(1) | Various | Global Business Services Center | ||
| Mumbai, India(1) |
Various |
Administrative Offices, Labs and Shared Services Center |
||
| Caojing, China(2) |
Polyurethanes |
MDI Manufacturing Facility |
||
| Auburn Hills, Michigan(1) |
Polyurethanes |
Polyurethane Research Facility |
||
| Azeglio, Italy |
Polyurethanes |
Polyurethane Systems House |
||
| Cartagena, Colombia |
Polyurethanes |
Polyurethane Systems House |
||
| Castelfranco Emilia, Italy |
Polyurethanes |
Polyurethane Systems House |
||
| Dammam, Saudi Arabia(3) |
Polyurethanes |
Polyurethane Systems House |
||
| Deer Park, Australia(1) |
Polyurethanes |
Polyurethane Systems House |
||
| Deggendorf, Germany | Polyurethanes | Polyurethane Systems House | ||
| Georgsmarienhütte, Germany |
Polyurethanes |
Polyurethane Systems House |
||
| Istanbul, Turkey |
Polyurethanes |
Polyurethane Systems House |
||
| Obninsk, Russia |
Polyurethanes |
Polyurethane Systems House |
||
| Pune, India(1) |
Polyurethanes |
Polyurethane Systems House |
||
| Tianjin, China(1) | Polyurethanes | Polyurethane Systems House | ||
| Tlalnepantla, Mexico |
Polyurethanes |
Polyurethane Systems House |
||
| Jinshan, China(1) |
Polyurethanes |
TPU Manufacturing Facility |
||
| Osnabrück, Germany |
Polyurethanes |
TPU Manufacturing Facility |
||
| Ringwood, Illinois(1) |
Polyurethanes |
TPU Manufacturing Facility |
||
| Derry, New Hampshire(1) |
Polyurethanes |
TPU Research Facility |
||
| Nanjing, China(4) |
Polyurethanes |
PO and MTBE Manufacturing Facilities |
||
| Houston, Texas(1) |
Polyurethanes |
Polyols Manufacturing Facility |
||
| Kuan Yin, Taiwan |
Polyurethanes |
Polyols Manufacturing Facility | ||
| Arlington, Texas |
Polyurethanes |
Spray Polyurethane Foam Manufacturing Facility |
||
| Mississauga, Canada(1) | Polyurethanes | Spray Polyurethane Foam Manufacturing Facility | ||
| Wilton, U.K. |
Polyurethanes |
Aniline and Nitrobenzene Manufacturing Facilities |
||
| Rotterdam, The Netherlands(1) |
Polyurethanes |
MDI and Polyols Manufacturing Facilities and Shared Services Center |
||
| Geismar, Louisiana(5) |
Polyurethanes and Performance Products |
MDI, Nitrobenzene(4), Aniline(4), Polyols and Maleic Anhydride Manufacturing Facilities |
||
| Tienen, Belgium(1) | Polyurethanes and Performance Products | Global Technology Center | ||
| Shanghai, China(1) |
Polyurethanes, Performance Products and Advanced Materials |
Polyurethanes, Performance Products and Advanced Materials Regional Headquarters, Global Technology Center, Shared Services Center and Polyurethane Systems House |
||
| Ho Chi Minh City, Vietnam(1) |
Polyurethanes and Advanced Materials |
Polyurethane Systems House and Formulating Facility |
||
| Conroe, Texas |
Performance Products |
Amines Manufacturing Facility |
||
| Freeport, Texas(1) |
Performance Products |
Amines Manufacturing Facility |
||
| Jubail, Saudi Arabia(6) |
Performance Products |
Amines Manufacturing Facility |
||
| Jurong Island, Singapore(1) |
Performance Products |
Amines Manufacturing Facility |
||
| Llanelli, U.K. |
Performance Products |
Amines Manufacturing Facility |
||
| Petfurdo, Hungary |
Performance Products |
Amines Manufacturing Facility |
||
| Port Neches, Texas |
Performance Products |
Amines Manufacturing Facility |
| Pensacola, Florida(1) |
Performance Products |
Maleic Anhydride Manufacturing Facility |
||
| Ashtabula, Ohio | Advanced Materials | Formulating and Synthesis Facility | ||
| Duxford, U.K. |
Advanced Materials |
Formulating and Synthesis Facility |
||
| McIntosh, Alabama |
Advanced Materials |
Formulating and Synthesis Facility |
||
| Monthey, Switzerland |
Advanced Materials |
Formulating and Synthesis Facility |
||
| Panyu, China(7) | Advanced Materials | Formulating and Synthesis Facility | ||
| Rock Hill, South Carolina | Advanced Materials | Formulating and Synthesis Facility | ||
| Bad Saeckingen, Germany |
Advanced Materials |
Formulating Facility |
||
| East Lansing, Michigan | Advanced Materials | Formulating Facility | ||
| Los Angeles, California |
Advanced Materials |
Formulating Facility |
||
| Taboão da Serra, Brazil |
Advanced Materials |
Formulating Facility |
||
| Akron, Ohio | Advanced Materials | Synthesis Facility | ||
| Bergkamen, Germany |
Advanced Materials |
Synthesis Facility |
||
| Pamplona, Spain |
Advanced Materials |
Synthesis Facility |
||
| Merrimack, New Hampshire(1) |
Advanced Materials |
Research Facility |
||
| Basel, Switzerland(1) |
Advanced Materials |
Technology Center |
| (1) |
Leased land and/or building. |
| (2) | 70%-owned consolidated manufacturing joint venture with Shanghai Chlor-Alkali Chemical Company Ltd. |
| (3) |
51%-owned consolidated manufacturing joint venture with Basic Chemical Industries Ltd. |
| (4) |
49% interest in Nanjing Jinling Huntsman New Material Co., Ltd., our unconsolidated manufacturing joint venture with Sinopec. |
| (5) |
The ownership of the Geismar facility is as follows: we own 100% of the MDI, polyol and maleic anhydride facilities, and Rubicon, a consolidated manufacturing joint venture with Lanxess in which we own a 50% interest, owns the aniline and nitrobenzene facilities. Rubicon is a separate legal entity that operates both the assets that we own jointly with Lanxess and our wholly-owned assets at Geismar. |
| (6) |
50% interest in AAC, our consolidated manufacturing joint venture with the Zamil Group. |
| (7) |
95%-owned consolidated manufacturing joint venture with Guangzhou Sheng’an Package Company Limited. |
Texas Emissions Enforcement
On July 26, 2021, the Attorney General of the State of Texas filed a civil suit in the District Court of Travis County, Texas seeking civil penalties and attorneys’ fees for alleged violations of the Texas Clean Air Act, Texas Commission on Environmental Quality regulations and facility permit terms. The complaint alleged multiple unauthorized emissions events and reporting discrepancies that occurred between December 2016 and June 2019 at our former manufacturing facility in Port Neches, Texas. The parties reached an agreement to resolve the state’s pending claims, wherein the State of Texas was awarded $1,350,000 in civil penalties and $150,000 in attorneys’ fees. We completed the sale of our former Port Neches, Texas facility to Indorama Ventures Holdings L.P. on January 3, 2020. We believe that we are contractually indemnified for defense costs and potential liabilities that result from this action.
ITEM 4. MINE SAFETY DISCLOSURES
Not applicable.
INFORMATION ABOUT OUR EXECUTIVE OFFICERS
The following is information concerning our executive officers and significant employees as of the date of this report.
Peter R. Huntsman, age 62, is Chairman of the Board, President and Chief Executive Officer of our Company. Peter R. Huntsman has served as Chairman of the Board since January 2018 and as a director of our company and affiliated companies since 1994. Prior to his appointment in July 2000 as Chief Executive Officer, Mr. Huntsman had served as President and Chief Operating Officer since 1994. In 1987, Mr. Huntsman joined Huntsman Polypropylene Corporation as Vice President before serving as Senior Vice President and General Manager. Mr. Huntsman has also served as President of Olympus Oil, as Senior Vice President of Huntsman Chemical Corporation and as a Senior Vice President of Huntsman Packaging Corporation, a former subsidiary of our Company. Mr. Huntsman is a director or manager, as applicable, of Huntsman International and certain of our other subsidiaries.
Phil Lister, age 53, is Executive Vice President and Chief Financial Officer. Mr. Lister was appointed to this position in July 2021. From May 2019 to June 2021, Mr. Lister served as Vice President, Corporate Development. From April 2011 to April 2019, Mr. Lister served in our Polyurethanes segment as Vice President, Global Finance and Controller, a role including divisional leadership of strategic planning as well as mergers and acquisitions. Prior to that, Mr. Lister served in numerous financial and business roles in Polyurethanes both in Europe and in the U.S. Mr. Lister joined Huntsman in July 1999 with the ICI acquisition. Mr. Lister is a U.K. Chartered Management Accountant.
Amy K. Smedley, age 55, is Executive Vice President, General Counsel and Secretary. Ms. Smedley was appointed to this position in January 2026. From January 2022 to December 2025, Ms. Smedley served as Executive Vice President and Chief Legal Officer for Savage Companies. Ms. Smedley’s tenure with Huntsman originally began in 2006 and culminated with her serving as Vice President and Deputy General Counsel before she departed the Company in January 2022. Previously, Ms. Smedley practiced at Snell & Wilmer L.L.P. in Utah from 2003 to 2006 and clerked for the Honorable William T. Thurman, U.S. Bankruptcy Judge for the District of Utah, from 2001 to 2003.
Steen Weien Hansen, age 58, is Division President, Polyurethanes. Mr. Hansen was appointed to this position in June 2025. Prior to that time, Mr. Hansen served as Senior Vice President, Global Automotive and Global Elastomers for our Polyurethanes segment, a role he held since January 2022. Prior to that, he served as Vice President, Europe, Africa, Middle East and India for our Polyurethanes segment and Vice President, Asia Pacific for our Advanced Materials segment. He has held a number of other leadership roles within the organization since joining the Company in 1999, including Vice President for the Advanced Materials segment's global operations and supply chain function as well as commercial leadership roles in the Polyurethanes segment and the corporate purchasing function. Mr. Hansen holds a bachelor’s degree in market economics.
Jan Buberl, age 50, is Division President, Performance Products. Mr. Buberl was appointed to this position in August 2024. Prior to that time, Mr. Buberl served as Vice President—Americas for our Polyurethanes segment and as a director of our Chinese PO/MTBE joint venture with Sinopec since January 2019. From June 2017 through December 2018, Mr. Buberl served as Vice President, Color Pigments at Venator Materials PLC, and from October 2014 to June 2017, he served as Vice President, Color Pigments of our former pigments and additives business. Prior to joining Huntsman in October 2014, Mr. Buberl spent eighteen years with BASF in various global roles. Mr. Buberl holds a master’s degree in international marketing and a master’s degree in business administration.
Scott J. Wright, age 54, is Division President, Advanced Materials. Mr. Wright was appointed to this position in June 2016. Prior to that time, Mr. Wright served as Vice President of Huntsman Advanced Materials—Europe, Middle East & Africa since 2011. Before joining our Advanced Materials segment, Mr. Wright spent 15 years in our former pigments and additives business in a number of roles of increasing responsibility including product development, business planning, marketing and sales. Prior to joining Huntsman in July 1999, Mr. Wright worked with ICI.
Brittany Benko, age 51, is Senior Vice President, Environmental, Health & Safety and Manufacturing Excellence and Corporate Sustainability Officer. Prior to joining Huntsman in August 2020, Ms. Benko served as Vice President, Health, Safety, Environment and Regulatory at Southwestern Energy Company. Previously, Ms. Benko served in a variety of EHS roles with increasing responsibility at several companies including Anadarko Petroleum Corporation, Chesapeake Energy Corporation and BP.
R. Wade Rogers, age 60, is Senior Vice President, Global Human Resources and Chief Compliance Officer. Mr. Rogers has held the position of Senior Vice President, Global Human Resources since August 2009. From May 2004 to August 2009, Mr. Rogers served as Vice President, Global Human Resources, from October 2003 to May 2004, Mr. Rogers served as Director, Human Resources—Americas and from August 2000 to October 2003, he served as Director, Human Resources for our former Polymers and Base Chemicals businesses. From the time he joined Huntsman in 1994 to August 2000, Mr. Rogers served as Area Manager, Human Resources—Jefferson County Operations. Prior to joining Huntsman, Mr. Rogers held a variety of positions with Texaco Chemical Company.
Steven C. Jorgensen, age 57, is Vice President and Controller. Prior to his appointment to this position in August 2021, Mr. Jorgensen served as Vice President Finance and Controller in our Performance Products segment since January 2017, as Vice President of Accounting Shared Services and Internal Controls since February 2012, as Vice President of Internal Audit and Internal Controls since May 2007 and other positions since joining Huntsman in May 2004. Prior to joining Huntsman, Mr. Jorgensen served as an Internal Audit Manager at General Electric Consumer Finance and a Senior Audit Manager at Deloitte & Touche LLP. Mr. Jorgensen is a Certified Public Accountant.
Twila Day, age 64, is Vice President and Chief Information Officer. Ms. Day was appointed to this position upon joining Huntsman in November 2018. Prior to joining Huntsman, Ms. Day was Managing Director, National Practice Lead for Technology Services, and a member of the executive committee at Alvarez & Marsal. Previously, Ms. Day served at SYSCO Corporation for more than 20 years in a variety of positions, culminating in her appointment as Senior Vice President Information Technology and Chief Information Officer.
Kevin C. Hardman, age 62, is Vice President, Tax. Mr. Hardman served as Chief Tax Officer from 1999 until he was appointed to his current position in 2002. Prior to joining Huntsman in 1999, Mr. Hardman was a tax Senior Manager at Deloitte & Touche LLP, where he worked for 10 years. Mr. Hardman is a Certified Public Accountant and holds a master’s degree in tax accounting.
Ivan Marcuse, age 49, is Vice President, Investor Relations and Corporate Development. Prior to joining Huntsman in April 2017, Mr. Marcuse served as Director, Equity Research, Specialty Chemicals for KeyBanc Capital Markets Inc. from August 2011 to February 2017. Previously, he was Vice President, Equity Research, Building Products and Materials, for Northcoast Research. Mr. Marcuse is a CFA charterholder and holds a master’s degree in business administration.
Claire Mei, age 51, is Vice President and Treasurer. Ms. Mei was appointed to this role upon joining Huntsman in August of 2018. Prior to joining Huntsman, Ms. Mei served as Vice President and Treasurer at Chobani Global Holdings since November 2016. Previously, Ms. Mei served in a variety of treasury and financial roles with increasing responsibility at several companies including Kraft Foods, PepsiCo, and Hyatt Corporation. Ms. Mei was also a management consultant with McKinsey & Company in Shanghai, China. Ms. Mei holds a master’s degree in business administration.
Rachel Muir, age 52, is Vice President, Deputy General Counsel and Assistant Secretary. Ms. Muir was appointed to this position in May 2022. Ms. Muir joined Huntsman in 2007 and has held multiple positions of increasing responsibility in the legal department. Prior to joining Huntsman, Ms. Muir was an associate attorney at the law firm of Ballard Spahr LLP. Ms. Muir started her legal career at Gibson, Dunn & Crutcher LLP.
Pierre Poukens, age 63, is Vice President, Internal Audit, a position he has held since February 2012. Mr. Poukens was Director of Internal Audit from April 2005 to January 2012 and joined Huntsman as Internal Audit Manager in January 2000. Prior to joining Huntsman, Mr. Poukens held various accounting and auditing positions with European companies in Belgium. Mr. Poukens is a Certified Internal Auditor.
Nooshin Vaughn, age 51, is Vice President, Financial Planning and Analysis and Global Business Services. Ms. Vaughn was appointed to this position effective June 2018. Ms. Vaughn previously served as Director, Investor Relations. Prior to that, Ms. Vaughn held numerous roles in finance, accounting and information technology. Prior to joining Huntsman in 1997, Ms. Vaughn worked at Deloitte & Touche LLP. Ms. Vaughn is a Certified Public Accountant.
ITEM 5. MARKET FOR REGISTRANT’S COMMON EQUITY, RELATED STOCKHOLDER MATTERS AND ISSUER PURCHASES OF EQUITY SECURITIES
Market Information And Holders
Our common stock is listed on the New York Stock Exchange under the symbol “HUN.” As of February 4, 2026, there were approximately 106 stockholders of record and the closing price of our common stock on the New York Stock Exchange was $13.73 per share.
Dividends
The payment of dividends is a business decision made by our Board of Directors from time to time based on our earnings, financial position and prospects, and such other considerations as our Board of Directors considers relevant. Accordingly, while management currently expects that we will continue to pay the quarterly cash dividend, our dividend practice may change at any time. On November 3, 2025, our Board of Directors declared a $0.0875 per share cash dividend on our common stock. This represents a 65% decrease from the then previous dividend.
Securities Authorized For Issuance Under Equity Compensation Plans
See “Part III. Item 11. Executive Compensation” for information relating to our equity compensation plans.
Purchases Of Equity Securities By The Company
The following table provides information with respect to shares of our common stock that we repurchased as part of our share repurchase program and shares of restricted stock granted under our stock incentive plans that we withheld upon vesting to satisfy our tax withholding obligations during the three months ended December 31, 2025.
| Total number of |
Approximate |
|||||||||||||||
| shares purchased |
dollar value of |
|||||||||||||||
| Total number |
Average |
as part of publicly |
shares that may yet |
|||||||||||||
| of shares |
price paid |
announced plans |
be purchased under |
|||||||||||||
| purchased |
per share(1) |
or programs(2) |
the plans or programs(2) |
|||||||||||||
| October 1 - October 31 |
74 | $ | 9.05 | — | $ | 547,000,000 | ||||||||||
| November 1 - November 30 |
— | — | — | 547,000,000 | ||||||||||||
| December 1 - December 31 |
73 | 10.04 | — | 547,000,000 | ||||||||||||
| Total |
147 | 9.54 | — | |||||||||||||
| (1) |
Represents net purchase price per share, exclusive of any fees or commissions. |
| (2) |
On October 26, 2021, our Board of Directors approved a new share repurchase program of $1 billion. On March 25, 2022, our Board of Directors increased the authorization of our existing share repurchase program from $1 billion of repurchases to $2 billion. The share repurchase program is supported by our free cash flow generation. Repurchases may be made in the open market, including through accelerated share repurchase programs, or in privately negotiated transactions. Shares of common stock acquired through the repurchase program are held in treasury at cost. During the year ended December 31, 2025, we did not repurchase any shares of our common stock under this program. |
Performance graph
The following performance graph compares the cumulative total return (including dividends) to the holders of our common stock from December 31, 2020 through December 31, 2025, with the cumulative total returns of (i) the S&P 500 Index and (ii) our 2025 performance peers, which consists of 12 chemical companies whose valuations are influenced by similar financial measures and against whom we compete for market share and investor capital (“2025 Performance Peers”). The comparison assumes $100 was invested on December 31, 2020 in our common stock as well as in the S&P 500 Index and our 2025 Performance Peers and assumes reinvestment of dividends, as applicable. The figures in the graph below are rounded to the nearest dollar. All data in the graph have been provided by S&P Global. In accordance with SEC requirements, the return for each issuer has been weighted according to the respective issuer’s stock market capitalization at the beginning of each period for which a return is indicated.
Our 2025 Performance Peers consist of the following companies: Ashland Global Holdings Inc., BASF Corp, Celanese Corporation, Clariant AG, Dow Inc., Eastman Chemical Company, Evonik, H.B. Fuller Company, Lanxess AG, Olin Corporation, The Chemours Company and Westlake Chemical Corp. Our 2025 Performance Peers are used to evaluate our total stockholder return relative to them and pay performance share units based on our performance. More information about how our 2025 Performance Peers are used to pay performance share units will be disclosed in the definitive Proxy Statement for our 2026 Annual Meeting of Stockholders (the “Proxy Statement”).

ITEM 7. MANAGEMENT’S DISCUSSION AND ANALYSIS OF FINANCIAL CONDITION AND RESULTS OF OPERATIONS
ReSULTS OF OPERATIONS
As discussed in “Note 4. Discontinued Operations—Sale of Textile Effects Business” to our consolidated financial statements, the results from continuing operations primarily exclude the results of our Textile Effects Business for all periods presented. For each of our Company and Huntsman International, the following tables set forth our consolidated results of operations for the years ended December 31, 2025, 2024 and 2023 (in millions, except per share amounts).
Huntsman Corporation
| December 31, |
Percent change |
|||||||||||||||||||
| 2025 |
2024 |
2023 |
2025 vs 2024 |
2024 vs 2023 |
||||||||||||||||
| Revenues |
$ | 5,683 | $ | 6,036 | $ | 6,111 | (6 | )% | (1 | )% | ||||||||||
| Cost of goods sold |
4,932 | 5,170 | 5,205 | (5 | )% | (1 | )% | |||||||||||||
| Gross profit |
751 | 866 | 906 | (13 | )% | (4 | )% | |||||||||||||
| Operating expenses: |
||||||||||||||||||||
| Selling, general and administrative |
670 | 671 | 689 | — | (3 | )% | ||||||||||||||
| Research and development |
120 | 121 | 115 | (1 | )% | 5 | % | |||||||||||||
| Restructuring, impairment and plant closing costs |
148 | 39 | 18 | 279 | % | 117 | % | |||||||||||||
| Income associated with litigation matter, net |
(33 | ) | — | — | NM | NM | ||||||||||||||
| Gain on acquisition of assets, net |
(5 | ) | (51 | ) | — | (90 | )% | NM | ||||||||||||
| Prepaid asset write-off |
— | 71 | — | (100 | )% | NM | ||||||||||||||
| Loss on dissolution of subsidiaries |
— | 39 | — | (100 | )% | NM | ||||||||||||||
| Other operating (income) expense, net |
(18 | ) | 1 | — | NM | NM | ||||||||||||||
| Total operating expenses |
882 | 891 | 822 | (1 | )% | 8 | % | |||||||||||||
| Operating (loss) income |
(131 | ) | (25 | ) | 84 | 424 | % | NM | ||||||||||||
| Interest expense, net |
(79 | ) | (79 | ) | (65 | ) | — | 22 | % | |||||||||||
| Equity in income of investment in unconsolidated affiliates |
4 | 44 | 83 | (91 | )% | (47 | )% | |||||||||||||
| Other income (expense), net |
14 | 21 | (3 | ) | (33 | )% | NM | |||||||||||||
| (Loss) income from continuing operations before income taxes |
(192 | ) | (39 | ) | 99 | 392 | % | NM | ||||||||||||
| Income tax expense |
(26 | ) | (61 | ) | (64 | ) | (57 | )% | (5 | )% | ||||||||||
| (Loss) income from continuing operations |
(218 | ) | (100 | ) | 35 | 118 | % | NM | ||||||||||||
| (Loss) income from discontinued operations, net of tax |
(9 | ) | (27 | ) | 118 | (67 | )% | NM | ||||||||||||
| Net (loss) income |
(227 | ) | (127 | ) | 153 | 79 | % | NM | ||||||||||||
| Reconciliation of net (loss) income to adjusted EBITDA(1): |
||||||||||||||||||||
| Net income attributable to noncontrolling interests |
(57 | ) | (62 | ) | (52 | ) | (8 | )% | 19 | % | ||||||||||
| Interest expense, net from continuing operations |
79 | 79 | 65 | — | 22 | % | ||||||||||||||
| Income tax expense from continuing operations |
26 | 61 | 64 | (57 | )% | (5 | )% | |||||||||||||
| Income tax (benefit) expense from discontinued operations |
— | (11 | ) | 17 | (100 | )% | NM | |||||||||||||
| Depreciation and amortization of continuing operations |
287 | 289 | 278 | (1 | )% | 4 | % | |||||||||||||
| Other adjustments: |
||||||||||||||||||||
| Business acquisition and integration (gain) expenses and purchase accounting inventory adjustments, net |
(4 | ) | 21 | 4 | ||||||||||||||||
| EBITDA from discontinued operations(2) |
9 | 38 | (135 | ) | ||||||||||||||||
| Fair value adjustments to Venator investment, net and other tax matter adjustments |
— | (12 | ) | 5 | ||||||||||||||||
| Certain legal and other settlements and related (income) expenses, net(3) |
(30 | ) | 13 | 6 | ||||||||||||||||
| Loss on sale of business/assets |
5 | 1 | — | |||||||||||||||||
| Loss on dissolution of subsidiaries(4) |
— | 39 | — | |||||||||||||||||
| Certain nonrecurring information technology project implementation costs |
— | — | 5 | |||||||||||||||||
| Amortization of pension and postretirement actuarial losses |
34 | 39 | 37 | |||||||||||||||||
| Restructuring, impairment and plant closing and transition costs(5) |
153 | 46 | 25 | |||||||||||||||||
| Adjusted EBITDA(1) |
$ | 275 | $ | 414 | $ | 472 | (34 | )% | (12 | )% | ||||||||||
| Net cash provided by operating activities from continuing operations |
$ | 298 | $ | 285 | $ | 251 | 5 | % | 14 | % | ||||||||||
| Net cash (used in) provided by investing activities from continuing operations |
(132 | ) | (126 | ) | 309 | 5 | % | NM | ||||||||||||
| Net cash used in financing activities |
(76 | ) | (326 | ) | (620 | ) | (77 | )% | (47 | )% | ||||||||||
| Capital expenditures from continuing operations |
(173 | ) | (184 | ) | (230 | ) | (6 | )% | (20 | )% | ||||||||||
| Amounts attributable to Huntsman Corporation: |
||||||||||||||||||||
| Loss from continuing operations |
$ | (275 | ) | $ | (162 | ) | $ | (17 | ) | |||||||||||
| (Loss) income from discontinued operations, net of tax |
(9 | ) | (27 | ) | 118 | |||||||||||||||
| Net (loss) income |
$ | (284 | ) | $ | (189 | ) | $ | 101 | ||||||||||||
Huntsman International
| December 31, |
Percent change |
|||||||||||||||||||
| 2025 |
2024 |
2023 |
2025 vs 2024 |
2024 vs 2023 |
||||||||||||||||
| Revenues |
$ | 5,683 | $ | 6,036 | $ | 6,111 | (6 | )% | (1 | )% | ||||||||||
| Cost of goods sold |
4,932 | 5,170 | 5,205 | (5 | )% | (1 | )% | |||||||||||||
| Gross profit |
751 | 866 | 906 | (13 | )% | (4 | )% | |||||||||||||
| Operating expenses: |
||||||||||||||||||||
| Selling, general and administrative |
667 | 668 | 686 | — | (3 | )% | ||||||||||||||
| Research and development |
120 | 121 | 115 | (1 | )% | 5 | % | |||||||||||||
| Restructuring, impairment and plant closing costs |
148 | 39 | 18 | 279 | % | 117 | % | |||||||||||||
| Income associated with litigation matter, net |
(33 | ) | — | — | NM | NM | ||||||||||||||
| Gain on acquisition of assets, net |
(5 | ) | (51 | ) | — | (90 | )% | NM | ||||||||||||
| Prepaid asset write-off |
— | 71 | — | (100 | )% | NM | ||||||||||||||
| Loss on dissolution of subsidiaries |
— | 39 | — | (100 | )% | NM | ||||||||||||||
| Other operating (income) expense, net |
(18 | ) | 1 | — | NM | NM | ||||||||||||||
| Total operating expenses |
879 | 888 | 819 | (1 | )% | 8 | % | |||||||||||||
| Operating (loss) income |
(128 | ) | (22 | ) | 87 | 482 | % | NM | ||||||||||||
| Interest expense, net |
(79 | ) | (79 | ) | (65 | ) | — | 22 | % | |||||||||||
| Equity in income of investment in unconsolidated affiliates |
4 | 44 | 83 | (91 | )% | (47 | )% | |||||||||||||
| Other income (expense), net |
14 | 21 | (3 | ) | (33 | )% | NM | |||||||||||||
| (Loss) income from continuing operations before income taxes |
(189 | ) | (36 | ) | 102 | 425 | % | NM | ||||||||||||
| Income tax expense |
(27 | ) | (62 | ) | (65 | ) | (56 | )% | (5 | )% | ||||||||||
| (Loss) income from continuing operations |
(216 | ) | (98 | ) | 37 | 120 | % | NM | ||||||||||||
| (Loss) income from discontinued operations, net of tax |
(9 | ) | (27 | ) | 118 | (67 | )% | NM | ||||||||||||
| Net (loss) income |
(225 | ) | (125 | ) | 155 | 80 | % | NM | ||||||||||||
| Reconciliation of net (loss) income to adjusted EBITDA(1): |
||||||||||||||||||||
| Net income attributable to noncontrolling interests |
(57 | ) | (62 | ) | (52 | ) | (8 | )% | 19 | % | ||||||||||
| Interest expense, net from continuing operations |
79 | 79 | 65 | — | 22 | % | ||||||||||||||
| Income tax expense from continuing operations |
27 | 62 | 65 | (56 | )% | (5 | )% | |||||||||||||
| Income tax (benefit) expense from discontinued operations |
— | (11 | ) | 17 | (100 | )% | NM | |||||||||||||
| Depreciation and amortization of continuing operations |
287 | 289 | 278 | (1 | )% | 4 | % | |||||||||||||
| Other adjustments: |
||||||||||||||||||||
| Business acquisition and integration (gain) expenses and purchase accounting inventory adjustments, net |
(4 | ) | 21 | 4 | ||||||||||||||||
| EBITDA from discontinued operations(2) |
9 | 38 | (135 | ) | ||||||||||||||||
| Fair value adjustments to Venator investment, net and other tax matter adjustments |
— | (12 | ) | 5 | ||||||||||||||||
| Certain legal and other settlements and related (income) expenses, net(3) |
(30 | ) | 13 | 6 | ||||||||||||||||
| Loss on sale of business/assets |
5 | 1 | — | |||||||||||||||||
| Loss on dissolution of subsidiaries(4) |
— | 39 | — | |||||||||||||||||
| Certain nonrecurring information technology project implementation costs |
— | — | 5 | |||||||||||||||||
| Amortization of pension and postretirement actuarial losses |
34 | 39 | 37 | |||||||||||||||||
| Restructuring, impairment and plant closing and transition costs(5) |
153 | 46 | 25 | |||||||||||||||||
| Adjusted EBITDA(1) |
$ | 278 | $ | 417 | $ | 475 | (33 | )% | (12 | )% | ||||||||||
| Net cash provided by operating activities from continuing operations |
$ | 299 | $ | 285 | $ | 253 | 5 | % | 13 | % | ||||||||||
| Net cash used in investing activities from continuing operations |
(137 | ) | (138 | ) | (42 | ) | — | 229 | % | |||||||||||
| Net cash used in financing activities |
(72 | ) | (314 | ) | (271 | ) | (77 | )% | 16 | % | ||||||||||
| Capital expenditures from continuing operations |
(173 | ) | (184 | ) | (230 | ) | (6 | )% | (20 | )% | ||||||||||
| Amounts attributable to Huntsman International: |
||||||||||||||||||||
| Loss from continuing operations |
$ | (273 | ) | $ | (160 | ) | $ | (15 | ) | |||||||||||
| (Loss) income from discontinued operations, net of tax |
(9 | ) | (27 | ) | 118 | |||||||||||||||
| Net (loss) income |
$ | (282 | ) | $ | (187 | ) | $ | 103 | ||||||||||||
Huntsman Corporation
| Year ended |
Year ended |
Year ended |
||||||||||||||||||||||||||||||||||
| December 31, 2025 |
December 31, 2024 |
December 31, 2023 |
||||||||||||||||||||||||||||||||||
| Tax |
Tax |
Tax |
||||||||||||||||||||||||||||||||||
| Gross |
and other(6) |
Net |
Gross |
and other(6) |
Net |
Gross |
and other(6) |
Net |
||||||||||||||||||||||||||||
| Reconciliation of net (loss) income to adjusted net (loss) income(1): |
||||||||||||||||||||||||||||||||||||
| Net (loss) income |
$ | (227 | ) | $ | (127 | ) | $ | 153 | ||||||||||||||||||||||||||||
| Net income attributable to noncontrolling interests |
(57 | ) | (62 | ) | (52 | ) | ||||||||||||||||||||||||||||||
| Business acquisition and integration (gain) expenses and purchase accounting inventory adjustments, net |
$ | (4 | ) | $ | — | (4 | ) | $ | 21 | $ | (17 | ) | 4 | $ | 4 | $ | (1 | ) | 3 | |||||||||||||||||
| Loss (income) from discontinued operations(2) |
9 | — | 9 | 38 | (11 | ) | 27 | (135 | ) | 17 | (118 | ) | ||||||||||||||||||||||||
| Fair value adjustments to Venator investment, net and other tax matter adjustments |
— | — | — | (12 | ) | 3 | (9 | ) | 5 | — | 5 | |||||||||||||||||||||||||
| Certain legal and other settlements and related (income) expenses, net(3) |
(30 | ) | 7 | (23 | ) | 13 | (3 | ) | 10 | 6 | (1 | ) | 5 | |||||||||||||||||||||||
| Loss on sale of business/assets |
5 | (1 | ) | 4 | 1 | — | 1 | — | — | — | ||||||||||||||||||||||||||
| Loss on dissolution of subsidiaries(4) |
— | — | — | 39 | — | 39 | — | — | — | |||||||||||||||||||||||||||
| Certain nonrecurring information technology project implementation costs |
— | — | — | — | — | — | 5 | (1 | ) | 4 | ||||||||||||||||||||||||||
| Amortization of pension and postretirement actuarial losses |
34 | (4 | ) | 30 | 39 | (3 | ) | 36 | 37 | (6 | ) | 31 | ||||||||||||||||||||||||
| Establishment of significant deferred tax asset valuation allowances, net(7) |
— | 1 | 1 | — | 23 | 23 | — | 14 | 14 | |||||||||||||||||||||||||||
| Income tax settlement related to U.S. Tax Reform Act |
— | — | — | — | 5 | 5 | — | — | — | |||||||||||||||||||||||||||
| Restructuring, impairment and plant closing and transition costs(5) |
153 | (7 | ) | 146 | 46 | (6 | ) | 40 | 25 | (3 | ) | 22 | ||||||||||||||||||||||||
| Adjusted net (loss) income(1) |
$ | (121 | ) | $ | (13 | ) | $ | 67 | ||||||||||||||||||||||||||||
| Weighted average shares-basic |
172.6 | 172.1 | 177.4 | |||||||||||||||||||||||||||||||||
| Weighted average shares-diluted |
172.6 | 172.1 | 177.4 | |||||||||||||||||||||||||||||||||
| Basic net (loss) income attributable to Huntsman Corporation per share: |
||||||||||||||||||||||||||||||||||||
| Loss from continuing operations |
$ | (1.60 | ) | $ | (0.94 | ) | $ | (0.10 | ) | |||||||||||||||||||||||||||
| (Loss) income from discontinued operations |
(0.05 | ) | (0.16 | ) | 0.67 | |||||||||||||||||||||||||||||||
| Net (loss) income |
$ | (1.65 | ) | $ | (1.10 | ) | $ | 0.57 | ||||||||||||||||||||||||||||
| Diluted net (loss) income attributable to Huntsman Corporation per share: |
||||||||||||||||||||||||||||||||||||
| Loss from continuing operations |
$ | (1.60 | ) | $ | (0.94 | ) | $ | (0.10 | ) | |||||||||||||||||||||||||||
| (Loss) income from discontinued operations |
(0.05 | ) | (0.16 | ) | 0.67 | |||||||||||||||||||||||||||||||
| Net (loss) income |
$ | (1.65 | ) | $ | (1.10 | ) | $ | 0.57 | ||||||||||||||||||||||||||||
| Other non-GAAP measures: |
||||||||||||||||||||||||||||||||||||
| Diluted adjusted net (loss) income per share(1) |
$ | (0.70 | ) | $ | (0.08 | ) | $ | 0.37 | ||||||||||||||||||||||||||||
| Net cash provided by operating activities from continuing operations |
$ | 298 | $ | 285 | $ | 251 | ||||||||||||||||||||||||||||||
| Capital expenditures from continuing operations |
(173 | ) | (184 | ) | (230 | ) | ||||||||||||||||||||||||||||||
| Free cash flow from continuing operations(1) |
$ | 125 | $ | 101 | $ | 21 | ||||||||||||||||||||||||||||||
| Effective tax rate |
(14 | )% | (156 | )% | 65 | % | ||||||||||||||||||||||||||||||
| Impact of non-GAAP adjustments(8) |
(74 | )% | 211 | % | (31 | )% | ||||||||||||||||||||||||||||||
| Adjusted effective tax rate(1) |
(88 | )% | 55 | % | 34 | % | ||||||||||||||||||||||||||||||
NM—Not meaningful
| (1) |
See “—Non-GAAP Financial Measures.” |
| (2) | Includes the net loss (gain) on the sale of our Textile Effects Business. In addition to income tax impacts, this adjusting item is also impacted by depreciation and amortization expense and interest expense. |
| (3) | Certain legal and other settlements and related (income) expenses, net includes approximately $(33) million for income associated with a litigation matter during the year ended December 31, 2025 (see “Note 21. Commitments and Contingencies—Legal Matters” to our consolidated financial statements) and approximately $10 million related to the settlement of a claim in connection with a commercial dispute during the year ended December 31, 2024. |
| (4) | Loss on dissolution of subsidiaries for the year ended December 31, 2024 relates to the elimination and non-cash recognition of cumulative translation adjustments from accumulated other comprehensive loss due to the liquidation of certain subsidiaries. |
| (5) |
Includes costs associated with transition activities relating primarily to our program to realign our cost structure in Europe and our Corporate program to optimize our global approach to managed services in various information technology functions. |
| (6) |
The income tax impacts, if any, are computed on the pre-tax adjustments using a with and without approach. |
| (7) | During the years ended December 31, 2025, 2024 and 2023, we established significant deferred tax asset valuation allowances of a net of $1 million ($9 million in Luxembourg, net of a release of $8 million in Germany), $23 million in Luxembourg and Germany and $14 million in the U.K., respectively. We eliminated the effect of these significant deferred tax asset valuation allowances from our presentation of adjusted net (loss) income to allow investors to better compare our ongoing financial performance from period to period. |
| (8) | For details regarding the tax impacts of our non-GAAP adjustments, please see the reconciliation of our net (loss) income to adjusted net (loss) income noted above. |
Non-GAAP Financial Measures
Our consolidated financial statements are prepared in accordance with U.S. GAAP, which we supplement with certain non-GAAP financial information. These non-GAAP measures should not be considered in isolation or as a substitute for the related U.S. GAAP measures, and other companies may define such measures differently. We encourage investors to review our financial statements and the reconciliation of the non-GAAP financial measures to the most directly comparable U.S. GAAP financial measures in their entirety and not to rely on any single financial measure. These non-GAAP measures exclude the impact of certain income and expenses that we do not believe are indicative of our core operating results.
Adjusted EBITDA
Our management uses adjusted EBITDA to assess financial performance. Adjusted EBITDA is defined as net income of Huntsman Corporation or Huntsman International, as appropriate, before interest, income tax, depreciation and amortization, net income attributable to noncontrolling interests and certain Corporate and other items, as well as eliminating the following adjustments: (a) business acquisition and integration (gain) expenses and purchase accounting inventory adjustments, net; (b) EBITDA from discontinued operations; (c) fair value adjustments to Venator investment, net and other tax matter adjustments; (d) certain legal and other settlements and related (income) expenses, net; (e) loss on sale of business/assets; (f) loss on dissolution of subsidiaries; (g) certain nonrecurring information technology project implementation costs; (h) amortization of pension and postretirement actuarial losses; and (i) restructuring, impairment and plant closing and transition costs. We believe that net income of Huntsman Corporation or Huntsman International, as appropriate, is the performance measure calculated and presented in accordance with U.S. GAAP that is most directly comparable to adjusted EBITDA.
We believe adjusted EBITDA is useful to investors in assessing the businesses’ ongoing financial performance and provides improved comparability between periods through the exclusion of certain items that management believes are not indicative of the businesses’ operational profitability and that may obscure underlying business results and trends. However, this measure should not be considered in isolation or viewed as a substitute for net income of Huntsman Corporation or Huntsman International, as appropriate, or other measures of performance determined in accordance with U.S. GAAP. Moreover, adjusted EBITDA as used herein is not necessarily comparable to other similarly titled measures of other companies due to potential inconsistencies in the methods of calculation. Our management believes this measure is useful to compare general operating performance from period to period and to make certain related management decisions. Adjusted EBITDA is also used by securities analysts, lenders and others in their evaluation of different companies because it excludes certain items that can vary widely across different industries or among companies within the same industry. For example, interest expense can be highly dependent on a company’s capital structure, debt levels and credit ratings. Therefore, the impact of interest expense on earnings can vary significantly among companies. In addition, the tax positions of companies can vary because of their differing abilities to take advantage of tax benefits and because of the tax policies of the various jurisdictions in which they operate. As a result, effective tax rates and tax expense can vary considerably among companies. Finally, companies employ productive assets of different ages and utilize different methods of acquiring and depreciating such assets. This can result in considerable variability in the relative costs of productive assets and the depreciation and amortization expense among companies.
Nevertheless, our management recognizes that there are material limitations associated with the use of adjusted EBITDA in the evaluation of our Company as compared to net income of Huntsman Corporation or Huntsman International, as appropriate, which reflects overall financial performance. For example, we have borrowed money in order to finance our operations and interest expense is a necessary element of our costs and ability to generate revenue. Our management compensates for the limitations of using adjusted EBITDA by using this measure to supplement U.S. GAAP results to provide a more complete understanding of the factors and trends affecting the business rather than U.S. GAAP results alone.
Adjusted Net Income
Adjusted net income is computed by eliminating the after tax amounts related to the following from net income attributable to Huntsman Corporation: (a) business acquisition and integration (gain) expenses and purchase accounting inventory adjustments, net; (b) (loss) income from discontinued operations; (c) fair value adjustments to Venator investment, net and other tax matter adjustments; (d) certain legal and other settlements and related (income) expenses, net; (e) loss on sale of business/assets; (f) loss on dissolution of subsidiaries; (g) certain nonrecurring information technology project implementation costs; (h) amortization of pension and postretirement actuarial losses; (i) establishment of significant deferred tax asset valuation allowances, net; (j) income tax settlement related to U.S. Tax Reform Act; and (k) restructuring, impairment and plant closing and transition costs. Basic adjusted net income per share excludes dilution and is computed by dividing adjusted net income by the weighted average number of shares outstanding during the period. Adjusted diluted net income per share reflects all potential dilutive common shares outstanding during the period and is computed by dividing adjusted net income by the weighted average number of shares outstanding during the period increased by the number of additional shares that would have been outstanding as dilutive securities. Adjusted net income and adjusted net income per share amounts are presented solely as supplemental information.
We believe adjusted net income is useful to investors in assessing the businesses’ ongoing financial performance and provides improved comparability between periods through the exclusion of certain items that management believes are not indicative of the businesses’ operational profitability and that may obscure underlying business results and trends.
Free Cash Flow
We believe free cash flow from continuing operations is an important indicator of our liquidity as it measures the amount of cash we generate. Management internally uses a free cash flow measure: (a) to evaluate our liquidity, (b) evaluate strategic investments, (c) plan dividend and stock buyback levels and (d) evaluate our ability to incur and service debt. Free cash flow is defined as net cash provided by operating activities less capital expenditures. Free cash flow is not a defined term under U.S. GAAP, and it should not be inferred that the entire free cash flow amount is available for discretionary expenditures.
Adjusted Effective Tax Rate
We believe that the effective tax rate of Huntsman Corporation or Huntsman International, as appropriate, is the performance measure calculated and presented in accordance with U.S. GAAP that is most directly comparable to adjusted effective tax rate. We believe our adjusted effective tax rate provides improved comparability between periods through the exclusion of certain items, such as, business acquisition and integration expenses and purchase accounting inventory adjustments, certain legal and other settlements and related expenses, gains on sale of businesses/assets and certain tax only items, such as certain changes in valuation allowances that we believe are not indicative of the businesses’ operational profitability and that may obscure underlying business results and trends.
Year Ended December 31, 2025 Compared with Year Ended December 31, 2024
For the year ended December 31, 2025, loss from continuing operations attributable to Huntsman Corporation was $275 million as compared with $162 million in the 2024 period. For the year ended December 31, 2025, loss from continuing operations attributable to Huntsman International was $273 million as compared with $160 million in the 2024 period. The increases noted above were the result of the following items:
| ● |
Revenues for the year ended December 31, 2025 decreased by $353 million, or 6%, as compared with the 2024 period. The decrease was primarily due to lower average selling prices in all our segments and lower sales volumes in our Performance Products and Advanced Materials segments. See “—Segment Analysis” below. |
| ● |
Gross profit for the year ended December 31, 2025 decreased by $115 million, or 13%, as compared with the 2024 period. The decrease resulted primarily from lower gross profits in all our segments. See “—Segment Analysis” below. |
| ● |
Our selling, general and administrative expenses and the selling, general and administrative expenses of Huntsman International both decreased by $1 million for the year ended December 31, 2025 as compared with the 2024 period primarily related to lower costs resulting from the impact of our restructuring programs, mostly offset by an increase in our incentive compensation accrual. |
| ● |
Restructuring, impairment and plant closing costs for the year ended December 31, 2025 increased by $109 million as compared with the 2024 period. For more information on restructuring activities, see “Note 13. Restructuring, Impairment and Plant Closing Costs” to our consolidated financial statements. |
| ● | Income associated with litigation matter, net was approximately $33 million for year ended December 31, 2025. For further information, see “Note 21. Commitments and Contingencies—Legal Matters” to our consolidated financial statements. |
| ● | Gain on acquisition of assets, net was approximately $5 million and $51 million for the years ended December 31, 2025 and 2024, respectively, representing net gains related to the separation and acquisition of assets of SLIC. For further information, see “Note 3. Business Combinations and Acquisitions—Separation and Acquisition of Assets of SLIC Joint Venture” to our consolidated financial statements. |
| ● | Prepaid asset write-off was approximately $71 million for the year ended December 31, 2024. Concurrent with the acquisition of assets of SLIC, we wrote off certain prepaid assets related to operating agreements with SLIC and other joint venture partners. For further information, see “Note 3. Business Combinations and Acquisitions—Separation and Acquisition of Assets of SLIC Joint Venture” to our consolidated financial statements. |
| ● | Loss on dissolution of subsidiaries was approximately $39 million for the year ended December 31, 2024 related to the elimination and non-cash recognition of cumulative translation adjustments from accumulated other comprehensive loss due to the liquidation of certain subsidiaries in the fourth quarter of 2024. |
| ● | Other operating (income) expense, net for the year ended December 31, 2025 was income of $18 million as compared with expense of $1 million in the 2024 period primarily related to an adjustment to a loss contingency accrual. |
| ● | Equity in income of investment in unconsolidated affiliates for the year ended December 31, 2025 decreased to $4 million from $44 million in the 2024 period, primarily related to a decrease in income at our PO/MTBE joint venture with China, in which we hold a 49% interest. |
| ● |
Other income (expense), net for the year ended December 31, 2025 was income of $14 million as compared with income of $21 million in the 2024 period. The decrease was primarily due to income recognized during the year ended December 31, 2024 for the resolution of certain matters related to the 2017 separation of our titanium dioxide and performance additives business. |
| ● |
Our income tax expense for the year ended December 31, 2025 was $26 million as compared with $61 million in the 2024 period. The income tax expense of Huntsman International for the year ended December 31, 2025 was $27 million as compared with $62 million in the 2024 period. The decrease in income tax expense was primarily due to the increase in loss from continuing operations before income taxes and to our mix of income and losses in the tax specific jurisdictions in which we operate along with the impact of valuation allowances in certain tax jurisdictions. In particular, we recognize tax expense in specific jurisdictions with pre-tax income, but do not recognize a tax benefit of pre-tax losses in jurisdictions with valuation allowances. In addition, in 2025 we recognized discrete tax expense for valuation allowance establishments of approximately $5 million, which is lower than the tax expense recognized in 2024 for settlement of U.S. tax reform items of approximately $5 million and discrete establishments of valuation allowances of approximately $29 million. For further information, see “Note 20. Income Taxes” to our consolidated financial statements. |
Segment Analysis
| Percent | ||||||||||||
| change | ||||||||||||
| Year ended December 31, |
(unfavorable) |
|||||||||||
| (Dollars in millions) |
2025 |
2024 |
favorable |
|||||||||
| Revenues |
||||||||||||
| Polyurethanes |
$ | 3,697 | $ | 3,900 | (5 | )% | ||||||
| Performance Products |
997 | 1,109 | (10 | )% | ||||||||
| Advanced Materials |
1,021 | 1,055 | (3 | )% | ||||||||
| Total reportable segments’ revenues |
5,715 | 6,064 | (6 | )% | ||||||||
| Intersegment eliminations |
(32 | ) | (28 | ) | NM | |||||||
| Total |
$ | 5,683 | $ | 6,036 | (6 | )% | ||||||
| Segment adjusted EBITDA(1) |
||||||||||||
| Polyurethanes |
$ | 146 | $ | 245 | (40 | )% | ||||||
| Performance Products |
107 | 153 | (30 | )% | ||||||||
| Advanced Materials |
161 | 179 | (10 | )% | ||||||||
| NM—Not meaningful
|
|
| (1) | For more information regarding reconciliations of segment adjusted EBITDA of our reportable operating segments to (loss) income from continuing operations before income taxes of Huntsman Corporation or Huntsman International, as appropriate, see “Note 27. Operating Segment Information” to our consolidated financial statements. |
| Year ended December 31, 2025 vs 2024 |
||||||||||||
| Average selling prices(1) |
||||||||||||
| Local |
Foreign currency |
Sales |
||||||||||
| currency and mix |
translation impact |
volumes(2) |
||||||||||
| Period-over-period (decrease) increase |
||||||||||||
| Polyurethanes |
(7 | )% | — | 2 | % | |||||||
| Performance Products |
(1 | )% | — | (9 | )% | |||||||
| Advanced Materials |
(2 | )% | 1 | % | (2 | )% | ||||||
| Combined segments |
(5 | )% | — | (1 | )% | |||||||
| (1) |
Excludes revenues from tolling arrangements, byproducts and raw materials. |
| (2) |
Excludes sales volumes of byproducts and raw materials. |
Polyurethanes
The decrease in revenues in our Polyurethanes segment for 2025 compared to 2024 was primarily due to lower average selling prices, partially offset by higher sales volumes. MDI average selling prices decreased primarily due to less favorable supply and demand dynamics. Sales volumes increased primarily due to some improved demand and share gains in certain markets, partially offset by a decrease in volumes due to the scheduled turnaround at our Rotterdam, the Netherlands manufacturing facility during the second quarter of 2025. The decrease in segment adjusted EBITDA was primarily due to lower MDI margins and lower equity earnings from our minority-owned joint venture in China, partially offset by lower raw materials costs and cost savings achieved from our cost optimization program.
Performance Products
The decrease in revenues in our Performance Products segment for 2025 compared to 2024 was primarily due to lower sales volumes and slightly lower average selling prices. Sales volumes decreased primarily due to discontinuing operations at our Moers, Germany maleic anhydride facility. Average selling prices decreased slightly primarily due to softer market conditions, partially offset by favorable mix. The decrease in segment adjusted EBITDA was primarily due to lower sales volumes and an unfavorable impact from inventory reductions, partially offset by lower variable direct costs and lower fixed costs.
Advanced Materials
The decrease in revenues in our Advanced Materials segment for 2025 compared to 2024 was primarily due to lower sales volumes and a slight decrease in average selling prices. Sales volumes decreased primarily in our infrastructure coatings market. The slight decrease in average selling prices was primarily due to unfavorable sales mix. The decrease in segment adjusted EBITDA was primarily due to the decrease in sales volumes and unfavorable sales mix.
Year Ended December 31, 2024 Compared with Year Ended December 31, 2023
For a comparison of both our results of operations and segment analysis for the fiscal years ended December 31, 2024 and 2023, see “Part II. Item 7. Management’s Discussion and Analysis of Financial Condition and Results of Operations” of our Annual Report on Form 10-K for the fiscal year ended December 31, 2024 filed with the SEC on February 18, 2025.
Liquidity and Capital Resources
The following is a discussion of our liquidity and capital resources and generally does not include separate information with respect to Huntsman International in accordance with General Instruction I of Form 10-K.
Cash Flows For Year Ended December 31, 2025 Compared with Year Ended December 31, 2024
Net cash provided by operating activities from continuing operations for 2025 and 2024 was $298 million and $285 million, respectively. The increase in net cash provided by operating activities from continuing operations during 2025 compared with 2024 was primarily attributable to a net cash inflow of $168 million related to changes in operating assets and liabilities for 2025 as compared with 2024, mostly offset by a decrease of $84 million in dividends received from unconsolidated subsidiaries and a decrease of $71 million in operating loss from continuing operations adjusted for noncash activities as noted in our consolidated statements of cash flows.
Net cash used in investing activities from continuing operations for 2025 and 2024 was $132 million and $126 million, respectively. During 2025 and 2024, we paid $173 million and $184 million, respectively, for capital expenditures. During 2025, we received a $41 million final liquidating distribution from SLIC, and during 2024, we received approximately $30 million as an interim liquidating distribution from SLIC. See “Note 3. Business Combinations and Acquisitions—Separation and Acquisition of Assets of SLIC Joint Venture” to our consolidated financial statements. During 2024, we received $11 million related to the sale of assets, and we received $16 million for the sale of businesses, net, primarily related to the resolution of net working capital of $12 million from the sale of our Textile Effects Business. See “Note 4. Discontinued Operations—Sale of Textile Effects Business” to our consolidated financial statements.
Net cash used in financing activities for 2025 and 2024 was $76 million and $326 million, respectively. During 2025 and 2024, we had net borrowings (repayments) of $460 million and $(169) million, respectively, from our 2022 $1.2 billion senior unsecured revolving credit facility (“2022 Revolving Credit Facility”) and our U.S. accounts receivable securitization program (“U.S. 2025 A/R Program”) and European accounts receivable securitization program (“EU A/R Program” and collectively with the U.S. A/R Program, “A/R Programs”). During 2025, we paid approximately $315 million to satisfy and discharge our obligations under our 4.25% senior notes due April 2025 (“2025 Senior Notes”). During 2024, we received proceeds of approximately $350 million related to the issuance of our 5.70% senior notes due 2034 (“2034 Senior Notes”). See “Note 15. Debt—Direct and Subsidiary Debt—Senior Notes” to our consolidated financial statements. During 2024, HPS paid approximately $218 million against the note payable with SLIC for the acquisition of assets. “See “Note 3. Business Combinations and Acquisitions—Separation and Acquisition of Assets of SLIC Joint Venture” to our consolidated financial statements.
Free cash flow from continuing operations for 2025 and 2024 were proceeds of cash of $125 million and $101 million, respectively. The improvement in free cash flow from continuing operations during 2025 as compared with 2024 was attributable to an increase in cash provided by operating activities from continuing operations and a decrease in cash used for capital expenditures.
Cash Flows For Year Ended December 31, 2024 Compared with Year Ended December 31, 2023
For a comparison of our cash flows for the fiscal years ended December 31, 2024 and 2023, see “Part II. Item 7. Management’s Discussion and Analysis of Financial Condition and Results of Operations” of our Annual Report on Form 10-K for the fiscal year ended December 31, 2024 filed with the SEC on February 18, 2025.
Changes in Financial Condition
The following information summarizes our working capital (dollars in millions):
| December 31, |
December 31, |
Increase |
Percent |
|||||||||||||
| 2025 |
2024 |
(decrease) |
change |
|||||||||||||
| Cash and cash equivalents |
$ | 429 | $ | 340 | $ | 89 | 26 | % | ||||||||
| Accounts and notes receivable, net |
677 | 725 | (48 | ) | (7 | )% | ||||||||||
| Inventories |
818 | 917 | (99 | ) | (11 | )% | ||||||||||
| Prepaid expenses |
94 | 114 | (20 | ) | (18 | )% | ||||||||||
| Other current assets |
46 | 29 | 17 | 59 | % | |||||||||||
| Total current assets |
2,064 | 2,125 | (61 | ) | (3 | )% | ||||||||||
| Accounts payable |
721 | 770 | (49 | ) | (6 | )% | ||||||||||
| Accrued liabilities |
458 | 416 | 42 | 10 | % | |||||||||||
| Current portion of debt |
353 | 325 | 28 | 9 | % | |||||||||||
| Current operating lease liabilities |
57 | 54 | 3 | 6 | % | |||||||||||
| Total current liabilities |
1,589 | 1,565 | 24 | 2 | % | |||||||||||
| Working capital |
$ | 475 | $ | 560 | $ | (85 | ) | (15 | )% | |||||||
Our working capital decreased by $85 million as a result of the net impact of the following significant changes:
| ● |
The increase in cash and cash equivalents of $89 million resulted from the matters identified on our consolidated statements of cash flows. See also “—Cash Flows For Year Ended December 31, 2025 Compared with Year Ended December 31, 2024.” |
| ● | Accounts and notes receivable, net decreased by $48 million primarily due to lower revenues in the fourth quarter of 2025 as compared with the fourth quarter of 2024. |
| ● |
Inventories decreased by $99 million primarily due to lower inventory costs and volumes. |
| ● | Prepaid expenses decreased by $20 million primarily due to lower prepaid information technology costs recorded at the end of 2025 as compared with the end of 2024 as well as a decrease in prepaid insurance premiums. |
| ● | Other current assets increased by $17 million primarily due to an increase in current taxes receivable and non-qualified employee benefit plan investments. |
| ● | Accounts payable decreased by $49 million primarily due to lower inventory purchases, partially offset by extended vendor payment terms under our supplier finance program. |
| ● | Accrued liabilities increased by $42 million primarily due to increases in accrued restructuring, accrued compensation, accrued taxes other than income and accrued rebates, partially offset by a decrease in accrued income taxes. |
| ● |
Current portion of debt increased by $28 million primarily due to an increase in our borrowings under our 2022 Revolving Credit Facility, partially offset by the satisfaction and discharge of our obligations under our 2025 Senior Notes during the first quarter of 2025. |
Liquidity
We depend upon our cash, our revolving credit facility, our A/R Programs and other debt instruments to provide liquidity for our operations and working capital needs. As of December 31, 2025, we had $1,323 million of combined cash and unused borrowing capacity, consisting of $429 million in cash, $854 million in availability under our 2022 Revolving Credit Facility and $40 million in availability under our A/R Programs. Our liquidity can be significantly impacted by various factors. The following matters are expected to have a significant impact on our liquidity:
Short-Term Liquidity
| ● | During 2026, we expect our spend on capital expenditures to approximate our 2025 spend on capital expenditures. Our future expenditures include certain environmental, health and safety upgrades; expansions and upgrades of our existing manufacturing and other facilities; construction of new facilities; certain cost reduction projects, including those described below; and certain information technology expenditures. We expect to fund capital expenditures with cash provided by operations. | |
| ● | During 2026, we expect to make contributions to our pension and postretirement benefit plans of approximately $44 million. | |
| ● | As of December 31, 2025, we have approximately $547 million remaining under the authorization of our existing share repurchase program. We currently do not expect to repurchase any shares of our common stock under this program during 2026. |
Long-Term Liquidity
| ● | On February 9, 2026, Huntsman International entered into a new $800 million secured revolving credit facility (“2026 Revolving Credit Facility”) replacing the 2022 Revolving Credit Facility. Borrowings bear interest at the rates specified in the credit agreement governing the 2026 Revolving Credit Facility, which vary based on the type of loan, leverage ratio and debt ratings. The 2026 Revolving Credit Facility has a maturity date of February 9, 2031. Huntsman International may increase the 2026 Revolving Credit Facility commitments by up to $400 million, plus additional amounts, subject to the satisfaction of certain conditions. | |
| ● | On November 3, 2025, our Board of Directors declared a $0.0875 per share cash dividend on our common stock. This represents a 65% decrease from the then previous dividend. |
As of December 31, 2025, we had approximately $427 million of cash and cash equivalents, including restricted cash, held by our foreign subsidiaries, including our variable interest entities. With the exception of certain amounts that we expect to repatriate in the foreseeable future, we intend to use cash held in our foreign subsidiaries to fund our local operations. Nevertheless, we could repatriate additional cash as dividends, and the repatriation of cash as a dividend would generally not be subject to U.S. taxation. However, such repatriation may potentially be subject to limited foreign withholding taxes.
For more information regarding our debt, see “Note 15. Debt” to our consolidated financial statements.
Critical Accounting Estimates
This discussion and analysis of financial condition and results of operations is based on our consolidated financial statements, which have been prepared in accordance with accounting principles generally accepted in the United States of America. The preparation of financial statements requires us to make judgments, estimates and assumptions that involve a significant level of estimation and uncertainty and are reasonably likely to have a material impact on our financial condition and/or results of operations. Summarized below are our critical accounting estimates.
Income Taxes
Deferred income taxes reflect the net effects of temporary differences between assets and liabilities for financial and tax reporting purposes. We evaluate deferred tax assets to determine whether it is more likely than not that they will be realized; valuation allowances are recorded to offset deferred tax assets unlikely to be realized. Valuation allowances are reviewed each period on a tax jurisdiction basis and analyzed to determine whether there is sufficient positive or negative evidence to support a change in judgment about the realizability of the related deferred tax assets. These conclusions require significant judgment. In evaluating the objective evidence that historical results provide, we consider cumulative income or losses during the applicable three-year period. Cumulative losses incurred over the three-year period limits our ability to consider other evidence, such as our projections for the future. Changes in expected future taxable income and tax planning strategies in applicable jurisdictions affect our assessment of the realization of deferred tax assets. Our judgments regarding valuation allowances are also influenced by factors outside of business results, including the costs and risks associated with any tax planning strategy associated with utilizing a deferred tax asset. As of December 31, 2025, we had total valuation allowances of $340 million, which represents an increase of $85 million from the prior year, and we have recognized a net deferred tax liability of $107 million. See “Note 20. Income Taxes” to our consolidated financial statements for more information regarding our deferred tax assets and valuation allowances.
Employee Benefit Programs
We sponsor several contributory and non-contributory defined benefit plans, covering employees primarily in the U.S., the U.K., the Netherlands, Belgium and Switzerland, but also covering employees in a number of other countries. We fund the material plans through trust arrangements (or local equivalents) where the assets are held separately from us. We also sponsor unfunded postretirement plans which provide medical and, in some cases, life insurance benefits covering certain employees in the U.S. Amounts recorded in our consolidated financial statements are recorded based upon actuarial valuations performed by various independent actuaries. Inherent in these valuations are numerous assumptions regarding expected long-term rates of return on plan assets, discount rates, compensation increases, mortality rates and health care cost trends. Each of these critical estimates are subject to uncertainty and are assessed by us using historical data, as well as projections of future conditions. These assumptions and changes during the period are described in “Note 19. Employee Benefit Plans” to our consolidated financial statements.
We retain third party actuaries to assist us with judgments necessary to make assumptions on which our employee pension and postretirement benefit plan obligations and expenses are based. The effects of a 1% change in three key assumptions are summarized as follows (dollars in millions):
| Statement of |
Balance sheet |
|||||||
| Assumptions |
operations(1) |
impact(2) |
||||||
| Discount rate |
||||||||
| —1% increase |
$ | (15 | ) | $ | (223 | ) | ||
| —1% decrease |
16 | 251 | ||||||
| Expected long-term rates of return on plan assets |
||||||||
| —1% increase |
(22 | ) | — | |||||
| —1% decrease |
22 | — | ||||||
| Rate of compensation increase |
||||||||
| —1% increase |
3 | 26 | ||||||
| —1% decrease |
(3 | ) | (12 | ) | ||||
| (1) |
Estimated (decrease) increase on 2025 net periodic benefit cost |
| (2) |
Estimated (decrease) increase on December 31, 2025 pension and postretirement liabilities and accumulated other comprehensive loss |
ITEM 7A. QUANTITATIVE AND QUALITATIVE DISCLOSURES ABOUT MARKET RISK
We are exposed to market risks, such as changes in interest rates, foreign exchange rates and commodity prices. From time to time, we enter into transactions, including transactions involving derivative instruments, to manage certain of these exposures. We also hedge our net investment in certain European operations. Changes in the fair value of the hedge in the net investment of certain European operations are recorded in accumulated other comprehensive loss. For more information on interest rate risk, foreign exchange rate risk and commodity prices risk, see “Note 16. Derivative Instruments and Hedging Activities” to our consolidated financial statements.
ITEM 8. FINANCIAL STATEMENTS AND SUPPLEMENTARY DATA
Our consolidated financial statements required by this item are included on the pages immediately following the Index to Consolidated Financial Statements appearing on page F-1.
ITEM 9. CHANGES IN AND DISAGREEMENTS WITH ACCOUNTANTS ON ACCOUNTING AND FINANCIAL DISCLOSURE
None.
ITEM 9A. CONTROLS AND PROCEDURES
Evaluation of Disclosure Controls and Procedures
Our management, with the participation of our chief executive officer and chief financial officer, has evaluated the effectiveness of our disclosure controls and procedures (as defined in Rules 13a-15(e) and 15d-15(e) under the Exchange Act) as of December 31, 2025. Based on this evaluation, our chief executive officer and chief financial officer have concluded that, as of December 31, 2025, our disclosure controls and procedures were effective, in that they ensure that information required to be disclosed by us in the reports that we file or submit under the Exchange Act is (1) recorded, processed, summarized and reported within the time periods specified in the SEC’s rules and forms, and (2) accumulated and communicated to our management, including our chief executive officer and chief financial officer, as appropriate to allow timely decisions regarding required disclosure.
Changes in Internal Control Over Financial Reporting
No changes to our internal control over financial reporting (as defined in Rules 13a-15(f) and 15d-15(f) under the Exchange Act) occurred during the quarter ended December 31, 2025 that have materially affected, or are reasonably likely to materially affect, our internal control over financial reporting.
Management’s Report on Internal Control Over Financial Reporting
Management is responsible for establishing and maintaining adequate internal control over financial reporting. Our internal control framework and processes for our Company and Huntsman International are designed to provide reasonable assurance to management, Huntsman International’s Board of Managers and our Board of Directors regarding the reliability of financial reporting and the preparation of our consolidated financial statements in accordance with accounting principles generally accepted in the United States of America.
Our internal control over financial reporting for our Company and Huntsman International includes those policies and procedures that:
| ● |
pertain to the maintenance of records that, in reasonable detail, accurately and fairly reflect the transactions and dispositions of the assets of our Company and Huntsman International; |
| ● |
provide reasonable assurance that transactions are recorded properly to allow for the preparation of financial statements in accordance with generally accepted accounting principles, and that receipts and expenditures of our Company and Huntsman International are being made only in accordance with authorizations of management and Directors of our Company and Huntsman International; |
| ● |
provide reasonable assurance regarding prevention or timely detection of unauthorized acquisition, use or disposition of our assets that could have a material effect on our consolidated financial statements; and |
| ● |
provide reasonable assurance as to the detection of fraud. |
Because of its inherent limitations, a system of internal control over financial reporting can provide only reasonable assurance and may not prevent or detect misstatements. Further, because of changing conditions, effectiveness of internal control over financial reporting may vary over time.
Our management assessed the effectiveness of our internal control over financial reporting for our Company and Huntsman International and concluded that, as of December 31, 2025, such internal control is effective. In making this assessment, management used the criteria set forth by the Committee of Sponsoring Organizations of the Treadway Commission in Internal Control—Integrated Framework (2013).
Our independent registered public accounting firm, Deloitte & Touche LLP, with direct access to our Board of Directors through our Audit Committee, have audited our consolidated financial statements prepared by our Company and have issued an attestation report on internal control over financial reporting for our Company.
REPORT OF INDEPENDENT REGISTERED PUBLIC ACCOUNTING FIRM
To the Stockholders and Board of Directors of Huntsman Corporation
Opinion on Internal Control over Financial Reporting
We have audited the internal control over financial reporting of Huntsman Corporation and subsidiaries (the “Company”) as of December 31, 2025, based on criteria established in Internal Control — Integrated Framework (2013) issued by the Committee of Sponsoring Organizations of the Treadway Commission (COSO). In our opinion, the Company maintained, in all material respects, effective internal control over financial reporting as of December 31, 2025, based on criteria established in Internal Control — Integrated Framework (2013) issued by COSO.
We have also audited, in accordance with the standards of the Public Company Accounting Oversight Board (United States) (PCAOB), the consolidated financial statements as of and for the year ended December 31, 2025, of the Company and our report dated February 18, 2026, expressed an unqualified opinion on those financial statements.
Basis for Opinion
The Company’s management is responsible for maintaining effective internal control over financial reporting and for its assessment of the effectiveness of internal control over financial reporting, included in the accompanying Management’s Report on Internal Control Over Financial Reporting. Our responsibility is to express an opinion on the Company’s internal control over financial reporting based on our audit. We are a public accounting firm registered with the PCAOB and are required to be independent with respect to the Company in accordance with the U.S. federal securities laws and the applicable rules and regulations of the Securities and Exchange Commission and the PCAOB.
We conducted our audit in accordance with the standards of the PCAOB. Those standards require that we plan and perform the audit to obtain reasonable assurance about whether effective internal control over financial reporting was maintained in all material respects. Our audit included obtaining an understanding of internal control over financial reporting, assessing the risk that a material weakness exists, testing and evaluating the design and operating effectiveness of internal control based on the assessed risk, and performing such other procedures as we considered necessary in the circumstances. We believe that our audit provides a reasonable basis for our opinion.
Definition and Limitations of Internal Control over Financial Reporting
A company’s internal control over financial reporting is a process designed to provide reasonable assurance regarding the reliability of financial reporting and the preparation of financial statements for external purposes in accordance with generally accepted accounting principles. A company’s internal control over financial reporting includes those policies and procedures that (1) pertain to the maintenance of records that, in reasonable detail, accurately and fairly reflect the transactions and dispositions of the assets of the company; (2) provide reasonable assurance that transactions are recorded as necessary to permit preparation of financial statements in accordance with generally accepted accounting principles, and that receipts and expenditures of the company are being made only in accordance with authorizations of management and directors of the company; and (3) provide reasonable assurance regarding prevention or timely detection of unauthorized acquisition, use, or disposition of the company’s assets that could have a material effect on the financial statements.
Because of its inherent limitations, internal control over financial reporting may not prevent or detect misstatements. Also, projections of any evaluation of effectiveness to future periods are subject to the risk that controls may become inadequate because of changes in conditions, or that the degree of compliance with the policies or procedures may deteriorate.
/s/ Deloitte & Touche LLP
Houston, Texas
February 18, 2026
applicable.
ITEM 9C. DISCLOSURE REGARDING FOREIGN JURISDICTIONS THAT PREVENT INSPECTIONS
Not applicable.
Certain information required by Part III is omitted from this Annual Report for the fiscal year ended December 31, 2025 because we will file a definitive proxy statement for the 2025 Annual Meeting of Stockholders pursuant to Regulation 14A of Exchange Act, not later than 120 days after our fiscal year ended December 31, 2025, and the applicable information included in the Proxy Statement is incorporated herein by reference.
ITEM 10. DIRECTORS, EXECUTIVE OFFICERS AND CORPORATE GOVERNANCE
The information relating to directors is incorporated herein by reference under the section entitled “Part 2—Board of Directors” in the Proxy Statement. The information relating to certain executive officers and corporate governance matters (including identification of our Audit Committee’s financial expert(s)) is incorporated herein by reference under the sections entitled “Part 3—Corporate Governance” and “Part 6—Audit Committee Matters” in the Proxy Statement. For information regarding executive officers of the registrant, see the information set forth in Part I under the caption “Information about Our Executive Officers” to this Annual Report in reliance on General Instruction G to Form 10-K.
Code of Ethics
We have adopted a code of ethics, as defined by Item 406(b) of Regulation S-K under the Exchange Act, that applies to our principal executive officer, principal financial officer and principal accounting officer or controller. A copy of the code of ethics is posted on our website, at www.huntsman.com. We intend to disclose any amendments to, or waivers from, our code of ethics on our website.
Insider Trading Policy
We have adopted an Insider Trading Policy governing the purchase, sale, and other dispositions of our securities by directors, officers, and employees that is reasonably designed to promote compliance with insider trading laws, rules and regulations, and the standards of the New York Stock Exchange. A copy of our policy is filed with this Annual Report as Exhibit
ITEM 11. EXECUTIVE COMPENSATION
Information relating to executive compensation and our equity compensation plans is incorporated herein by reference under the sections entitled “Part Discussion and Analysis” and “Part 5—Executive Compensation” in the Proxy Statement.
ITEM 12. SECURITY OWNERSHIP OF CERTAIN BENEFICIAL OWNERS AND MANAGEMENT AND RELATED STOCKHOLDER MATTERS
Information with respect to beneficial ownership of our common stock by each director and all directors and officers of our Company as a group will be disclosed under the section entitled “Part 8—Additional Information” in the Proxy Statement and is incorporated herein by reference.
Information relating to any person who beneficially owns in excess of five percent of the total outstanding shares of our common stock will be disclosed under the section entitled “Part 8—Additional Information” in the Proxy Statement and is incorporated herein by reference.
Information with respect to compensation plans under which equity securities are authorized for issuance will be disclosed under the section entitled “Part 5—Executive Compensation” in the Proxy Statement and is incorporated herein by reference.
ITEM 13. CERTAIN RELATIONSHIPS AND RELATED TRANSACTIONS, AND DIRECTOR INDEPENDENCE
Information with respect to certain relationships and related transactions will be disclosed under the section entitled “Part 8—Additional Information” in the Proxy Statement and is incorporated herein by reference.
ITEM 14. PRINCIPAL ACCOUNTANT FEES AND SERVICES
Information with respect to principal accountant fees and services, and the disclosure of the Audit Committee’s pre-approval policies and procedures are contained under the section entitled “Part 6: Audit Committee Matters” in the Proxy Statement and is incorporated herein by reference.
ITEM 15. EXHIBITS AND FINANCIAL STATEMENT SCHEDULES
| (a) |
Documents filed with this report. |
| 1. |
Consolidated Financial Statements: |
See Index to Consolidated Financial Statements on page F-1
| 2. |
Financial Statement Schedules: |
Other than as stated on the Index to Consolidated Financial Statements on page F-1 with respect to Schedule I, financial statement schedules are omitted because they are not required or are not applicable or the required information is shown in the consolidated financial statements or notes thereto.
| 3. |
Exhibits: |
The exhibits to this report are listed on the Exhibit Index below.
| (b) |
Description of exhibits. |
| 10.11 | U.S. Receivables Loan Agreement dated as of October 16, 2009 | 8-K | 10.1 | October 22, 2009 | ||||
| 10.12 |
8-K |
10.2 |
October 22, 2009 |
|||||
| 10.13 |
Second Amendment to Huntsman Supplemental Executive Retirement Plan |
10-K |
10.38 |
February 17, 2011 |
||||
| 10.14 |
Third Amendment to Huntsman Supplemental Executive Retirement Plan |
10-K |
10.39 |
February 17, 2011 |
||||
| 10.15 |
10-K |
10.42 |
February 17, 2011 |
|||||
| 10.16 |
10-K |
10.43 |
February 17, 2011 |
|||||
| 10.17 |
8-K |
10.1 |
April 20, 2011 |
|||||
| 10.18 |
Second Amendment to Huntsman Outside Directors Elective Deferral Plan |
10-Q |
10.5 |
May 5, 2011 |
* Filed herewith.
Pursuant to the requirements of Section 13 or 15(d) of the Securities Exchange Act of 1934, the registrants have duly caused this report to be signed on their behalf by the undersigned, thereunto duly authorized.
Dated: February 18, 2026
| Huntsman Corporation |
||
| By: |
/s/ Philip M. Lister |
|
| Philip M. Lister |
||
| /s/ Peter R. Huntsman |
|
/s/ Philip M. Lister |
| Peter R. Huntsman Chairman, President and Chief Executive Officer (Principal Executive Officer) |
Philip M. Lister |
|
| /s/ Steven C. Jorgensen |
/s/ Dr. Mary C. Beckerle |
|
| Steven C. Jorgensen |
Dr. Mary C. Beckerle |
|
| /s/ Sonia Dulá |
/s/ Cynthia L. Egan | |
| Sonia Dulá |
Cynthia L. Egan Vice Chair of the Board, Chair of the Nominating and Corporate Governance Committee and Lead Independent Director |
|
| /s/ Curtis E. Espeland |
/s/ Daniele Ferrari | |
| Curtis E. Espeland |
Daniele Ferrari |
|
| /s/ Jeanne McGovern | /s/ José Muñoz | |
| Jeanne McGovern | José Muñoz | |
| Chair of the Audit Committee and Director | Director | |
| /s/ David B. Sewell | /s/ U.S. Navy Retired Vice Admiral Jan E. Tighe | |
| David B. Sewell |
U.S. Navy Retired | |
| Director | Vice Admiral Jan E. Tighe | |
| Chair of the Sustainability Committee and Director |
Pursuant to the requirements of the Securities Exchange Act of 1934, this report has been signed below by the following persons on behalf of Huntsman International LLC in the capacities indicated on the 18th day of February 2026.
| /s/ Peter R. Huntsman |
/s/ Philip M. Lister |
|
| Peter R. Huntsman |
Philip M. Lister |
|
| /s/ Steven C. Jorgensen |
/s/ Amy K. Smedley |
|
| Steven C. Jorgensen |
Amy K. Smedley Secretary and Manager |
HUNTSMAN CORPORATION AND SUBSIDIARIES
HUNTSMAN INTERNATIONAL LLC AND SUBSIDIARIES
INDEX TO CONSOLIDATED FINANCIAL STATEMENTS
REPORT OF INDEPENDENT REGISTERED PUBLIC ACCOUNTING FIRM
To the Stockholders and Board of Directors of Huntsman Corporation
Opinion on the Financial Statements
We have audited the accompanying consolidated balance sheets of Huntsman Corporation and subsidiaries (the “Company”) as of December 31, 2025 and 2024, the related consolidated statements of operations, comprehensive (loss) income, equity, and cash flows, for each of the three years in the period ended December 31, 2025, and the related notes and the schedule listed in the Index on page F-1 (collectively referred to as the “financial statements”). In our opinion, the financial statements present fairly, in all material respects, the financial position of the Company as of December 31, 2025 and 2024, and the results of its operations and its cash flows for each of the three years in the period ended December 31, 2025, in conformity with accounting principles generally accepted in the United States of America.
We have also audited, in accordance with the standards of the Public Company Accounting Oversight Board (United States) (PCAOB), the Company’s internal control over financial reporting as of December 31, 2025, based on criteria established in Internal Control—Integrated Framework (2013) issued by the Committee of Sponsoring Organizations of the Treadway Commission and our report dated February 18, 2026, expressed an unqualified opinion on the Company’s internal control over financial reporting.
Basis for Opinion
These financial statements are the responsibility of the Company’s management. Our responsibility is to express an opinion on the Company’s financial statements based on our audits. We are a public accounting firm registered with the PCAOB and are required to be independent with respect to the Company in accordance with the U.S. federal securities laws and the applicable rules and regulations of the Securities and Exchange Commission and the PCAOB.
We conducted our audits in accordance with the standards of the PCAOB. Those standards require that we plan and perform the audit to obtain reasonable assurance about whether the financial statements are free of material misstatement, whether due to error or fraud. Our audits included performing procedures to assess the risks of material misstatement of the financial statements, whether due to error or fraud, and performing procedures that respond to those risks. Such procedures included examining, on a test basis, evidence regarding the amounts and disclosures in the financial statements. Our audits also included evaluating the accounting principles used and significant estimates made by management, as well as evaluating the overall presentation of the financial statements. We believe that our audits provide a reasonable basis for our opinion.
Critical Audit Matter
The critical audit matter communicated below is a matter arising from the current-period audit of the financial statements that was communicated or required to be communicated to the Audit Committee and that (1) relates to accounts or disclosures that are material to the financial statements and (2) involved our especially challenging, subjective, or complex judgments. The communication of critical audit matters does not alter in any way our opinion on the financial statements, taken as a whole, and we are not, by communicating the critical audit matter below, providing a separate opinion on the critical audit matter or on the accounts or disclosures to which it relates.
Income Taxes—Realizability of Deferred Tax Assets—Refer to Notes 2 and 20 to the financial statements
Critical Audit Matter Description
The Company recognizes deferred income taxes for tax attributes and for differences between the financial statement and tax carrying amounts of assets and liabilities at enacted statutory tax rates in effect for the years in which the deferred tax liability or asset are expected to be settled or realized. A valuation allowance is provided to offset deferred tax assets if, based upon the available evidence, it is more likely than not that some or all of the deferred tax assets will not be realized. The Company files tax returns in multiple jurisdictions with complex tax laws and regulations. Valuation allowances are evaluated on a tax jurisdiction basis to analyze whether there is sufficient positive or negative evidence to support a change in judgment about the realizability of the related deferred tax assets for each jurisdiction. In evaluating the objective evidence that historical results provide, the Company considers cumulative income or losses during the applicable three-year period. Cumulative losses incurred over the three-year period limits the Company’s ability to consider other evidence such as projections for the future. Changes in expected future taxable income and tax planning strategies in applicable jurisdictions affect the Company’s assessment of the realization of deferred tax assets. The Company’s judgments regarding valuation allowances are also influenced by factors outside of business results, including the costs and risks associated with any tax planning strategy associated with utilizing a deferred tax asset. The Company’s valuation allowances as of December 31, 2025, were $340 million.
We identified management’s determination that it is not more likely than not that sufficient taxable income will be generated in the future to realize some of its deferred tax assets as a critical audit matter because of the significant judgments and estimates management makes related to future taxable income. This required a high degree of auditor judgment and an increased extent of effort, including the need to involve our income tax specialists, when performing audit procedures to evaluate the reasonableness of management’s estimates of future taxable income.
How the Critical Audit Matter Was Addressed in the Audit
Our audit procedures related to estimated future taxable income and the determination of whether it is more likely than not that the deferred tax assets will be realized included the following, among others:
| • | We tested the effectiveness of controls over the valuation allowance for income taxes, including the determination of whether it is more likely than not that the deferred tax assets will be realized. |
| • | With the assistance of our income tax specialists, we considered (1) the appropriateness of qualifying tax planning strategies, including that they were prudent, feasible and would more likely than not result in the realization of deferred tax assets and (2) the following sources of management’s estimated future taxable income: |
| – | Estimates of future taxable income |
| – | Future reversals of existing temporary differences |
| – | Taxable income in historical periods (where carryback is permitted under the tax law) |
| • | We tested the reasonableness of management’s estimates of future taxable income by comparing the estimates to: |
| – | Historical taxable income |
| – | Forecasted information included in Company press releases as well as in analyst and industry reports for the Company and certain of its peer companies |
| • | We evaluated whether the taxable income in prior carryback years was of the appropriate character and available under the tax law. |
| • | We evaluated the reasonableness of the methods, assumptions, and judgments used by management to determine whether a valuation allowance was necessary. |
/s/
February 18, 2026
We have served as the Company’s auditor since 1984.
HUNTSMAN CORPORATION AND SUBSIDIARIES
CONSOLIDATED BALANCE SHEETS
(In Millions, Except Share and Per Share Amounts)
| December 31, | December 31, | |||||||
| 2025 | 2024 | |||||||
| ASSETS | ||||||||
| Current assets: | ||||||||
| Cash and cash equivalents(1) | $ | $ | ||||||
| Accounts and notes receivable (net of allowance for doubtful accounts of $ for both), ($ and $ pledged as collateral, respectively)(1) | ||||||||
| Accounts receivable from affiliates | ||||||||
| Inventories(1) | ||||||||
| Prepaid expenses | ||||||||
| Other current assets | ||||||||
| Total current assets | ||||||||
| Property, plant and equipment, net(1) | ||||||||
| Investment in unconsolidated affiliates | ||||||||
| Intangible assets, net | ||||||||
| Goodwill | ||||||||
| Deferred income taxes | ||||||||
| Operating lease right-of-use assets | ||||||||
| Other noncurrent assets(1) | ||||||||
| Total assets | $ | $ | ||||||
| LIABILITIES AND EQUITY | ||||||||
| Current liabilities: | ||||||||
| Accounts payable(1) | $ | $ | ||||||
| Accounts payable to affiliates | ||||||||
| Accrued liabilities(1) | ||||||||
| Current portion of debt(1) | ||||||||
| Current operating lease liabilities(1) | ||||||||
| Total current liabilities | ||||||||
| Long-term debt(1) | ||||||||
| Deferred income taxes | ||||||||
| Noncurrent operating lease liabilities(1) | ||||||||
| Other noncurrent liabilities(1) | ||||||||
| Total liabilities | ||||||||
| Commitments and contingencies (Notes 21 and 22) | ||||||||
| Equity | ||||||||
| Huntsman Corporation stockholders’ equity: | ||||||||
| Common stock $ par value, shares authorized, and shares issued and and shares outstanding, respectively | ||||||||
| Additional paid-in capital | ||||||||
| Treasury stock, shares | ( | ) | ( | ) | ||||
| Unearned stock-based compensation | ( | ) | ( | ) | ||||
| Retained earnings | ||||||||
| Accumulated other comprehensive loss | ( | ) | ( | ) | ||||
| Total Huntsman Corporation stockholders’ equity | ||||||||
| Noncontrolling interests in subsidiaries | ||||||||
| Total equity | ||||||||
| Total liabilities and equity | $ | $ | ||||||
| (1) |
At December 31, 2025 and December 31, 2024, respectively, $3 and $6 of cash and cash equivalents, $24 and $19 of accounts and notes receivable (net), $50 and $57 of inventories, $122 and $124 of property, plant and equipment (net), $35 and $37 of other noncurrent assets, $91 and $111 of accounts payable, $22 and $21 of accrued liabilities, $7 and $9 of current portion of debt, $6 each of current operating lease liabilities, nil and $7 of long-term debt, $12 and $15 of noncurrent operating lease and $15 and $16 of other noncurrent liabilities from consolidated variable interest entities are included in the respective Balance Sheets captions above. See “Note 8. Variable Interest Entities.” These assets can only be used to settle obligations of the variable interest entities, and creditors of these liabilities do not have recourse to our general credit. |
See accompanying notes to consolidated financial statements.
HUNTSMAN CORPORATION AND SUBSIDIARIES
CONSOLIDATED STATEMENTS OF OPERATIONS
(In Millions, Except Per Share Amounts)
| Year ended December 31, | ||||||||||||
| 2025 | 2024 | 2023 | ||||||||||
| Revenues: | ||||||||||||
| Trade sales, services and fees, net | $ | $ | $ | |||||||||
| Related party sales | ||||||||||||
| Total revenues | ||||||||||||
| Cost of goods sold | ||||||||||||
| Gross profit | ||||||||||||
| Operating expenses: | ||||||||||||
| Selling, general and administrative | ||||||||||||
| Research and development | ||||||||||||
| Restructuring, impairment and plant closing costs | ||||||||||||
| Income associated with litigation matter, net | ( | ) | ||||||||||
| Gain on acquisition of assets, net | ( | ) | ( | ) | ||||||||
| Prepaid asset write-off | ||||||||||||
| Loss on dissolution of subsidiaries | ||||||||||||
| Other operating (income) expense, net | ( | ) | ||||||||||
| Total operating expenses | ||||||||||||
| Operating (loss) income | ( | ) | ( | ) | ||||||||
| Interest expense, net | ( | ) | ( | ) | ( | ) | ||||||
| Equity in income of investment in unconsolidated affiliates | ||||||||||||
| Other income (expense), net | ( | ) | ||||||||||
| (Loss) income from continuing operations before income taxes | ( | ) | ( | ) | ||||||||
| Income tax expense | ( | ) | ( | ) | ( | ) | ||||||
| (Loss) income from continuing operations | ( | ) | ( | ) | ||||||||
| (Loss) income from discontinued operations, net of tax | ( | ) | ( | ) | ||||||||
| Net (loss) income | ( | ) | ( | ) | ||||||||
| Net income attributable to noncontrolling interests | ( | ) | ( | ) | ( | ) | ||||||
| Net (loss) income attributable to Huntsman Corporation | $ | ( | ) | $ | ( | ) | $ | |||||
| Basic (loss) income per share: | ||||||||||||
| Loss from continuing operations attributable to Huntsman Corporation common stockholders | $ | ( | ) | $ | ( | ) | $ | ( | ) | |||
| (Loss) income from discontinued operations attributable to Huntsman Corporation common stockholders, net of tax | ( | ) | ( | ) | ||||||||
| Net (loss) income attributable to Huntsman Corporation common stockholders | $ | ( | ) | $ | ( | ) | $ | |||||
| Weighted average shares | ||||||||||||
| Diluted (loss) income per share: | ||||||||||||
| Loss from continuing operations attributable to Huntsman Corporation common stockholders | $ | ( | ) | $ | ( | ) | $ | ( | ) | |||
| (Loss) income from discontinued operations attributable to Huntsman Corporation common stockholders, net of tax | ( | ) | ( | ) | ||||||||
| Net (loss) income attributable to Huntsman Corporation common stockholders | $ | ( | ) | $ | ( | ) | $ | |||||
| Weighted average shares | ||||||||||||
| Amounts attributable to Huntsman Corporation: | ||||||||||||
| Loss from continuing operations | $ | ( | ) | $ | ( | ) | $ | ( | ) | |||
| (Loss) income from discontinued operations, net of tax | ( | ) | ( | ) | ||||||||
| Net (loss) income | $ | ( | ) | $ | ( | ) | $ | |||||
See accompanying notes to consolidated financial statements.
HUNTSMAN CORPORATION AND SUBSIDIARIES
CONSOLIDATED STATEMENTS OF COMPREHENSIVE (LOSS) INCOME
(In Millions)
| Year ended December 31, | ||||||||||||
| 2025 | 2024 | 2023 | ||||||||||
| Net (loss) income | $ | ( | ) | $ | ( | ) | $ | |||||
| Other comprehensive income, net of tax: | ||||||||||||
| Foreign currency translations adjustments | ( | ) | ||||||||||
| Pension and other postretirement benefits adjustments | ( | ) | ||||||||||
| Other, net | ( | ) | ||||||||||
| Other comprehensive income, net of tax | ||||||||||||
| Comprehensive (loss) income | ( | ) | ( | ) | ||||||||
| Comprehensive income attributable to noncontrolling interests | ( | ) | ( | ) | ( | ) | ||||||
| Comprehensive (loss) income attributable to Huntsman Corporation | $ | ( | ) | $ | ( | ) | $ | |||||
See accompanying notes to consolidated financial statements.
HUNTSMAN CORPORATION AND SUBSIDIARIES
CONSOLIDATED STATEMENTS OF EQUITY
(In Millions, Except Share and Per Share Amounts)
| Huntsman Corporation Stockholders’ Equity | ||||||||||||||||||||||||||||||||||||
| Accumulated | ||||||||||||||||||||||||||||||||||||
| Shares of | Additional | Unearned | other | Noncontrolling | ||||||||||||||||||||||||||||||||
| common | Common | paid-in | Treasury | stock-based | Retained | comprehensive | interests in | Total | ||||||||||||||||||||||||||||
| stock | stock | capital | stock | compensation | earnings | loss | subsidiaries | equity | ||||||||||||||||||||||||||||
| Balance, January 1, 2023 | $ | $ | $ | ( | ) | $ | ( | ) | $ | $ | ( | ) | $ | $ | ||||||||||||||||||||||
| Net income | — | |||||||||||||||||||||||||||||||||||
| Other comprehensive income | — | ( | ) | |||||||||||||||||||||||||||||||||
| Issuance of nonvested stock awards | — | ( | ) | |||||||||||||||||||||||||||||||||
| Vesting of stock awards | ||||||||||||||||||||||||||||||||||||
| Recognition of stock-based compensation | — | |||||||||||||||||||||||||||||||||||
| Repurchase and cancellation of stock awards | ( | ) | ( | ) | ( | ) | ||||||||||||||||||||||||||||||
| Stock options exercised | ( | ) | ||||||||||||||||||||||||||||||||||
| Treasury stock repurchased | ( | ) | ( | ) | ( | ) | ||||||||||||||||||||||||||||||
| Distributions to noncontrolling interests | — | ( | ) | ( | ) | |||||||||||||||||||||||||||||||
| Dividends declared on common stock ($ per share) | — | ( | ) | ( | ) | |||||||||||||||||||||||||||||||
| Acquisition of noncontrolling interests, net of tax | — | ( | ) | ( | ) | ( | ) | |||||||||||||||||||||||||||||
| Balance, December 31, 2023 | ( | ) | ( | ) | ( | ) | ||||||||||||||||||||||||||||||
| Net (loss) income | — | ( | ) | ( | ) | |||||||||||||||||||||||||||||||
| Other comprehensive income | — | |||||||||||||||||||||||||||||||||||
| Issuance of nonvested stock awards | — | ( | ) | |||||||||||||||||||||||||||||||||
| Vesting of stock awards | ||||||||||||||||||||||||||||||||||||
| Recognition of stock-based compensation | — | |||||||||||||||||||||||||||||||||||
| Repurchase and cancellation of stock awards | ( | ) | ( | ) | ( | ) | ||||||||||||||||||||||||||||||
| Stock options exercised | ( | ) | ||||||||||||||||||||||||||||||||||
| Distributions to noncontrolling interests | — | ( | ) | ( | ) | |||||||||||||||||||||||||||||||
| Dividends declared on common stock ($ per share) | — | ( | ) | ( | ) | |||||||||||||||||||||||||||||||
| Balance, December 31, 2024 | ( | ) | ( | ) | ( | ) | ||||||||||||||||||||||||||||||
| Net (loss) income | — | ( | ) | ( | ) | |||||||||||||||||||||||||||||||
| Other comprehensive income | — | |||||||||||||||||||||||||||||||||||
| Issuance of nonvested stock awards | — | ( | ) | |||||||||||||||||||||||||||||||||
| Vesting of stock awards | ||||||||||||||||||||||||||||||||||||
| Recognition of stock-based compensation | — | |||||||||||||||||||||||||||||||||||
| Repurchase and cancellation of stock awards | ( | ) | ( | ) | ( | ) | ||||||||||||||||||||||||||||||
| Stock options exercised | ||||||||||||||||||||||||||||||||||||
| Distributions to noncontrolling interests | — | ( | ) | ( | ) | |||||||||||||||||||||||||||||||
| Dividends declared on common stock ($ per share) | — | ( | ) | ( | ) | |||||||||||||||||||||||||||||||
| Balance, December 31, 2025 | $ | $ | $ | ( | ) | $ | ( | ) | $ | $ | ( | ) | $ | $ | ||||||||||||||||||||||
See accompanying notes to consolidated financial statements.
HUNTSMAN CORPORATION AND SUBSIDIARIES
CONSOLIDATED STATEMENTS OF CASH FLOWS
(In Millions)
| Year ended December 31, | ||||||||||||
| 2025 | 2024 | 2023 | ||||||||||
| Operating activities: | ||||||||||||
| Net (loss) income | $ | ( | ) | $ | ( | ) | $ | |||||
| Less: Loss (income) from discontinued operations, net of tax | ( | ) | ||||||||||
| (Loss) income from continuing operations | ( | ) | ( | ) | ||||||||
| Adjustments to reconcile (loss) income from continuing operations to net cash provided by operating activities from continuing operations: | ||||||||||||
| Equity in income of investment in unconsolidated affiliates | ( | ) | ( | ) | ( | ) | ||||||
| Cash received from return on investment in unconsolidated subsidiary | ||||||||||||
| Depreciation and amortization | ||||||||||||
| Noncash lease expense | ||||||||||||
| Gain on acquisition of assets, net | ( | ) | ( | ) | ||||||||
| Noncash prepaid asset write-off | ||||||||||||
| Loss on dissolution of subsidiaries | ||||||||||||
| Noncash restructuring and impairment charges | ||||||||||||
| Deferred income taxes | ( | ) | ( | ) | ( | ) | ||||||
| Stock-based compensation | ||||||||||||
| Other, net | ||||||||||||
| Changes in operating assets and liabilities: | ||||||||||||
| Accounts and notes receivable | ||||||||||||
| Inventories | ( | ) | ||||||||||
| Prepaid expenses | ( | ) | ||||||||||
| Other current assets | ( | ) | ||||||||||
| Other noncurrent assets | ( | ) | ( | ) | ||||||||
| Accounts payable | ( | ) | ( | ) | ||||||||
| Accrued liabilities | ( | ) | ||||||||||
| Other noncurrent liabilities | ( | ) | ( | ) | ||||||||
| Net cash provided by operating activities from continuing operations | ||||||||||||
| Net cash used in operating activities from discontinued operations | ( | ) | ( | ) | ( | ) | ||||||
| Net cash provided by operating activities | ||||||||||||
| Investing activities: | ||||||||||||
| Capital expenditures | ( | ) | ( | ) | ( | ) | ||||||
| Cash received from return of investment in unconsolidated subsidiary | ||||||||||||
| Cash received from sale of businesses, net | ||||||||||||
| Cash received from sale of assets | ||||||||||||
| Other, net | ( | ) | ||||||||||
| Net cash (used in) provided by investing activities from continuing operations | ( | ) | ( | ) | ||||||||
| Net cash used in investing activities from discontinued operations | ( | ) | ||||||||||
| Net cash (used in) provided by investing activities | ( | ) | ( | ) | ||||||||
| Financing activities: | ||||||||||||
| Net borrowings (repayments) on revolving loan facilities | ( | ) | ( | ) | ||||||||
| Proceeds from long-term debt | ||||||||||||
| Repayments of long-term debt | ( | ) | ( | ) | ( | ) | ||||||
| Principal payments on note payable | ( | ) | ||||||||||
| Dividends paid to common stockholders | ( | ) | ( | ) | ( | ) | ||||||
| Distributions paid to noncontrolling interests | ( | ) | ( | ) | ( | ) | ||||||
| Repurchase of common stock | ( | ) | ( | ) | ||||||||
| Repurchase and cancellation of stock awards | ( | ) | ( | ) | ( | ) | ||||||
| Proceeds from issuance of common stock | ||||||||||||
| Other, net | ( | ) | ( | ) | ||||||||
| Net cash used in financing activities | ( | ) | ( | ) | ( | ) | ||||||
| Effect of exchange rate changes on cash | ( | ) | ( | ) | ||||||||
| Increase (decrease) in cash and cash equivalents | ( | ) | ( | ) | ||||||||
| Cash and cash equivalents at beginning of period | ||||||||||||
| Cash and cash equivalents at end of period | $ | $ | $ | |||||||||
| Supplemental cash flow information: | ||||||||||||
| Cash paid for interest | $ | $ | $ | |||||||||
| Cash paid for income taxes | ||||||||||||
As of December 31, 2025, 2024 and 2023, the amount of capital expenditures in accounts payable was $32 million, $25 million and $23 million, respectively.
See accompanying notes to consolidated financial statements.
REPORT OF INDEPENDENT REGISTERED PUBLIC ACCOUNTING FIRM
To the Members and Board of Managers of Huntsman International LLC
Opinion on the Financial Statements
We have audited the accompanying consolidated balance sheets of Huntsman International LLC and subsidiaries (“Huntsman International”) as of December 31, 2025 and 2024, the related consolidated statements of operations, comprehensive (loss) income, equity, and cash flows, for each of the three years in the period ended December 31, 2025, and the related notes (collectively referred to as the “financial statements”). In our opinion, the financial statements present fairly, in all material respects, the financial position of Huntsman International as of December 31, 2025 and 2024, and the results of its operations and its cash flows for each of the three years in the period ended December 31, 2025, in conformity with accounting principles generally accepted in the United States of America.
Basis for Opinion
These financial statements are the responsibility of Huntsman International’s management. Our responsibility is to express an opinion on Huntsman International’s financial statements based on our audits. We are a public accounting firm registered with the PCAOB and are required to be independent with respect to Huntsman International in accordance with the U.S. federal securities laws and the applicable rules and regulations of the Securities and Exchange Commission and the PCAOB.
We conducted our audits in accordance with the standards of the PCAOB. Those standards require that we plan and perform the audit to obtain reasonable assurance about whether the financial statements are free of material misstatement, whether due to error or fraud. Huntsman International is not required to have, nor were we engaged to perform, an audit of its internal control over financial reporting. As part of our audits, we are required to obtain an understanding of internal control over financial reporting but not for the purpose of expressing an opinion on the effectiveness of Huntsman International’s internal control over financial reporting. Accordingly, we express no such opinion.
Our audits included performing procedures to assess the risks of material misstatement of the financial statements, whether due to error or fraud, and performing procedures that respond to those risks. Such procedures included examining, on a test basis, evidence regarding the amounts and disclosures in the financial statements. Our audits also included evaluating the accounting principles used and significant estimates made by management, as well as evaluating the overall presentation of the financial statements. We believe that our audits provide a reasonable basis for our opinion.
Critical Audit Matter
The critical audit matter communicated below is a matter arising from the current-period audit of the financial statements that was communicated or required to be communicated to the Board of Managers and that (1) relates to accounts or disclosures that are material to the financial statements and (2) involved our especially challenging, subjective, or complex judgments. The communication of critical audit matters does not alter in any way our opinion on the financial statements, taken as a whole, and we are not, by communicating the critical audit matter below, providing a separate opinion on the critical audit matter or on the accounts or disclosures to which it relates.
Income Taxes—Realizability of Deferred Tax Assets—Refer to Notes 2 and 20 to the financial statements
Critical Audit Matter Description
Huntsman International recognizes deferred income taxes for tax attributes and for differences between the financial statement and tax carrying amounts of assets and liabilities at enacted statutory tax rates in effect for the years in which the deferred tax liability or asset are expected to be settled or realized. A valuation allowance is provided to offset deferred tax assets if, based upon the available evidence, it is more likely than not that some or all of the deferred tax assets will not be realized. Huntsman International files tax returns in multiple jurisdictions with complex tax laws and regulations. Valuation allowances are evaluated on a tax jurisdiction basis to analyze whether there is sufficient positive or negative evidence to support a change in judgment about the realizability of the related deferred tax assets for each jurisdiction. In evaluating the objective evidence that historical results provide, Huntsman International considers cumulative income or losses during the applicable three-year period. Cumulative losses incurred over the three-year period limits Huntsman International’s ability to consider other evidence such as projections for the future. Changes in expected future taxable income and tax planning strategies in applicable jurisdictions affect Huntsman International’s assessment of the realization of deferred tax assets. Huntsman International’s judgments regarding valuation allowances are also influenced by factors outside of business results, including the costs and risks associated with any tax planning strategy associated with utilizing a deferred tax asset. Huntsman International’s valuation allowances as of December 31, 2025, were $340 million.
We identified management’s determination that it is not more likely than not that sufficient taxable income will be generated in the future to realize some of its deferred tax assets as a critical audit matter because of the significant judgments and estimates management makes related to future taxable income. This required a high degree of auditor judgment and an increased extent of effort, including the need to involve our income tax specialists, when performing audit procedures to evaluate the reasonableness of management’s estimates of future taxable income.
How the Critical Audit Matter Was Addressed in the Audit
Our audit procedures related to estimated future taxable income and the determination of whether it is more likely than not that the deferred tax assets will be realized included the following, among others:
| • |
We tested the effectiveness of controls over the valuation allowance for income taxes, including the determination of whether it is more likely than not that the deferred tax assets will be realized. |
| • |
With the assistance of our income tax specialists, we considered (1) the appropriateness of qualifying tax planning strategies, including that they were prudent, feasible and would more likely than not result in the realization of deferred tax assets and (2) the following sources of management’s estimated future taxable income: |
| – |
Estimates of future taxable income |
| – |
Future reversals of existing temporary differences |
| – |
Taxable income in historical periods (where carryback is permitted under the tax law) |
| • |
We tested the reasonableness of management’s estimates of future taxable income by comparing the estimates to: |
| – |
Historical taxable income |
| – |
Forecasted information included in Huntsman International’s press releases as well as in analyst and industry reports for Huntsman International and certain of its peer companies |
| • |
We evaluated whether the taxable income in prior carryback years was of the appropriate character and available under the tax law. |
| • |
We evaluated the reasonableness of the methods, assumptions, and judgments used by management to determine whether a valuation allowance was necessary. |
/s/ Deloitte & Touche LLP
Houston, Texas
February 18, 2026
We have served as Huntsman International’s auditor since 1984.
HUNTSMAN INTERNATIONAL LLC AND SUBSIDIARIES
CONSOLIDATED BALANCE SHEETS
(In Millions, Except Unit Amounts)
| December 31, | December 31, | |||||||
| 2025 | 2024 | |||||||
| ASSETS | ||||||||
| Current assets: | ||||||||
| Cash and cash equivalents(1) | $ | $ | ||||||
| Accounts and notes receivable (net of allowance for doubtful accounts of $ for both), ($ and $ pledged as collateral, respectively)(1) | ||||||||
| Accounts receivable from affiliates | ||||||||
| Inventories(1) | ||||||||
| Prepaid expenses | ||||||||
| Other current assets | ||||||||
| Total current assets | ||||||||
| Property, plant and equipment, net(1) | ||||||||
| Investment in unconsolidated affiliates | ||||||||
| Intangible assets, net | ||||||||
| Goodwill | ||||||||
| Deferred income taxes | ||||||||
| Operating lease right-of-use assets | ||||||||
| Other noncurrent assets(1) | ||||||||
| Total assets | $ | $ | ||||||
| LIABILITIES AND EQUITY | ||||||||
| Current liabilities: | ||||||||
| Accounts payable(1) | $ | $ | ||||||
| Accounts payable to affiliates | ||||||||
| Accrued liabilities(1) | ||||||||
| Current portion of debt(1) | ||||||||
| Current operating lease liabilities(1) | ||||||||
| Total current liabilities | ||||||||
| Long-term debt(1) | ||||||||
| Deferred income taxes | ||||||||
| Noncurrent operating lease liabilities(1) | ||||||||
| Other noncurrent liabilities(1) | ||||||||
| Total liabilities | ||||||||
| Commitments and contingencies (Notes 21 and 22) | ||||||||
| Equity | ||||||||
| Huntsman International LLC members’ equity: | ||||||||
| Members’ equity, units issued and outstanding | ||||||||
| Retained earnings | ( | ) | ||||||
| Accumulated other comprehensive loss | ( | ) | ( | ) | ||||
| Total Huntsman International LLC members’ equity | ||||||||
| Noncontrolling interests in subsidiaries | ||||||||
| Total equity | ||||||||
| Total liabilities and equity | $ | $ | ||||||
| (1) |
At December 31, 2025 and December 31, 2024, respectively, $3 and $6 of cash and cash equivalents, $24 and $19 of accounts and notes receivable (net), $50 and $57 of inventories, $122 and $124 of property, plant and equipment (net), $35 and $37 of other noncurrent assets, $91 and $111 of accounts payable, $22 and $21 of accrued liabilities, $7 and $9 of current portion of debt, $6 each of current operating lease liabilities, nil and $7 of long-term debt, $12 and $15 of noncurrent operating lease and $15 and $16 of other noncurrent liabilities from consolidated variable interest entities are included in the respective Balance Sheets captions above. See “Note 8. Variable Interest Entities.” These assets can only be used to settle obligations of the variable interest entities, and creditors of these liabilities do not have recourse to our general credit. |
See accompanying notes to consolidated financial statements.
HUNTSMAN INTERNATIONAL LLC AND SUBSIDIARIES
CONSOLIDATED STATEMENTS OF OPERATIONS
(In Millions)
| Year ended December 31, | ||||||||||||
| 2025 | 2024 | 2023 | ||||||||||
| Revenues: | ||||||||||||
| Trade sales, services and fees, net | $ | $ | $ | |||||||||
| Related party sales | ||||||||||||
| Total revenues | ||||||||||||
| Cost of goods sold | ||||||||||||
| Gross profit | ||||||||||||
| Operating expenses: | ||||||||||||
| Selling, general and administrative | ||||||||||||
| Research and development | ||||||||||||
| Restructuring, impairment and plant closing costs | ||||||||||||
| Income associated with litigation matter, net | ( | ) | ||||||||||
| Gain on acquisition of assets, net | ( | ) | ( | ) | ||||||||
| Prepaid asset write-off | ||||||||||||
| Loss on dissolution of subsidiaries | ||||||||||||
| Other operating (income) expense, net | ( | ) | ||||||||||
| Total operating expenses | ||||||||||||
| Operating (loss) income | ( | ) | ( | ) | ||||||||
| Interest expense, net | ( | ) | ( | ) | ( | ) | ||||||
| Equity in income of investment in unconsolidated affiliates | ||||||||||||
| Other income (expense), net | ( | ) | ||||||||||
| (Loss) income from continuing operations before income taxes | ( | ) | ( | ) | ||||||||
| Income tax expense | ( | ) | ( | ) | ( | ) | ||||||
| (Loss) income from continuing operations | ( | ) | ( | ) | ||||||||
| (Loss) income from discontinued operations, net of tax | ( | ) | ( | ) | ||||||||
| Net (loss) income | ( | ) | ( | ) | ||||||||
| Net income attributable to noncontrolling interests | ( | ) | ( | ) | ( | ) | ||||||
| Net (loss) income attributable to Huntsman International LLC | $ | ( | ) | $ | ( | ) | $ | |||||
| Amounts attributable to Huntsman International LLC : | ||||||||||||
| Loss from continuing operations | $ | ( | ) | $ | ( | ) | $ | ( | ) | |||
| (Loss) income from discontinued operations, net of tax | ( | ) | ( | ) | ||||||||
| Net (loss) income | $ | ( | ) | $ | ( | ) | $ | |||||
See accompanying notes to consolidated financial statements.
HUNTSMAN INTERNATIONAL LLC AND SUBSIDIARIES
CONSOLIDATED STATEMENTS OF COMPREHENSIVE (LOSS) INCOME
(In Millions)
| Year ended December 31, | ||||||||||||
| 2025 | 2024 | 2023 | ||||||||||
| Net (loss) income | $ | ( | ) | $ | ( | ) | $ | |||||
| Other comprehensive income, net of tax: | ||||||||||||
| Foreign currency translations adjustments | ( | ) | ||||||||||
| Pension and other postretirement benefits adjustments | ( | ) | ||||||||||
| Other, net | ( | ) | ||||||||||
| Other comprehensive income, net of tax | ||||||||||||
| Comprehensive (loss) income | ( | ) | ( | ) | ||||||||
| Comprehensive income attributable to noncontrolling interests | ( | ) | ( | ) | ( | ) | ||||||
| Comprehensive (loss) income attributable to Huntsman International LLC | $ | ( | ) | $ | ( | ) | $ | |||||
See accompanying notes to consolidated financial statements.
HUNTSMAN INTERNATIONAL LLC AND SUBSIDIARIES
CONSOLIDATED STATEMENTS OF EQUITY
(In Millions, Except Unit Amounts)
| Huntsman International LLC Members | ||||||||||||||||||||||||
| Accumulated | ||||||||||||||||||||||||
| other | Noncontrolling | |||||||||||||||||||||||
| Members’ equity | Retained | comprehensive | interests in | Total | ||||||||||||||||||||
| Units | Amount | earnings | loss | subsidiaries | equity | |||||||||||||||||||
| Balance, December 31, 2022 | $ | $ | $ | ( | ) | $ | $ | |||||||||||||||||
| Net income | — | |||||||||||||||||||||||
| Other comprehensive income | — | ( | ) | |||||||||||||||||||||
| Dividends paid to parent | — | ( | ) | ( | ) | |||||||||||||||||||
| Contribution from parent | — | |||||||||||||||||||||||
| Distributions to noncontrolling interests | — | ( | ) | ( | ) | |||||||||||||||||||
| Distribution to parent | — | ( | ) | ( | ) | |||||||||||||||||||
| Acquisition of noncontrolling interest | — | ( | ) | ( | ) | ( | ) | |||||||||||||||||
| Balance, December 31, 2023 | ( | ) | ||||||||||||||||||||||
| Net (loss) income | — | ( | ) | ( | ) | |||||||||||||||||||
| Other comprehensive income | — | |||||||||||||||||||||||
| Dividends paid to parent | — | ( | ) | ( | ) | |||||||||||||||||||
| Contribution from parent | — | |||||||||||||||||||||||
| Distributions to noncontrolling interests | — | ( | ) | ( | ) | |||||||||||||||||||
| Distribution to parent | — | ( | ) | ( | ) | |||||||||||||||||||
| Balance, December 31, 2024 | ( | ) | ||||||||||||||||||||||
| Net (loss) income | — | ( | ) | ( | ) | |||||||||||||||||||
| Other comprehensive income | — | |||||||||||||||||||||||
| Dividends paid to parent | — | ( | ) | ( | ) | |||||||||||||||||||
| Contribution from parent | — | |||||||||||||||||||||||
| Distributions to noncontrolling interests | — | ( | ) | ( | ) | |||||||||||||||||||
| Distribution to parent | — | ( | ) | ( | ) | |||||||||||||||||||
| Balance, December 31, 2025 | $ | $ | ( | ) | $ | ( | ) | $ | $ | |||||||||||||||
See accompanying notes to consolidated financial statements.
HUNTSMAN INTERNATIONAL LLC AND SUBSIDIARIES
CONSOLIDATED STATEMENTS OF CASH FLOWS
(In Millions)
| Year ended December 31, | ||||||||||||
| 2025 | 2024 | 2023 | ||||||||||
| Operating activities: | ||||||||||||
| Net (loss) income | $ | ( | ) | $ | ( | ) | $ | |||||
| Less: Loss (income) from discontinued operations, net of tax | ( | ) | ||||||||||
| (Loss) income from continuing operations | ( | ) | ( | ) | ||||||||
| Adjustments to reconcile (loss) income from continuing operations to net cash provided by operating activities from continuing operations: | ||||||||||||
| Equity in income of investment in unconsolidated affiliates | ( | ) | ( | ) | ( | ) | ||||||
| Cash received from return on investment in unconsolidated subsidiary | ||||||||||||
| Depreciation and amortization | ||||||||||||
| Noncash lease expense | ||||||||||||
| Gain on acquisition of assets, net | ( | ) | ( | ) | ||||||||
| Noncash prepaid asset write-off | ||||||||||||
| Loss on dissolution of subsidiaries | ||||||||||||
| Noncash restructuring and impairment charges | ||||||||||||
| Deferred income taxes | ( | ) | ( | ) | ( | ) | ||||||
| Noncash compensation | ||||||||||||
| Other, net | ||||||||||||
| Changes in operating assets and liabilities: | ||||||||||||
| Accounts and notes receivable | ||||||||||||
| Inventories | ( | ) | ||||||||||
| Prepaid expenses | ( | ) | ||||||||||
| Other current assets | ( | ) | ||||||||||
| Other noncurrent assets | ( | ) | ( | ) | ||||||||
| Accounts payable | ( | ) | ( | ) | ||||||||
| Accrued liabilities | ( | ) | ||||||||||
| Other noncurrent liabilities | ( | ) | ( | ) | ||||||||
| Net cash provided by operating activities from continuing operations | ||||||||||||
| Net cash used in operating activities from discontinued operations | ( | ) | ( | ) | ( | ) | ||||||
| Net cash provided by operating activities | ||||||||||||
| Investing activities: | ||||||||||||
| Capital expenditures | ( | ) | ( | ) | ( | ) | ||||||
| Cash received from return of investment in unconsolidated subsidiary | ||||||||||||
| Cash received from sale of businesses, net | ||||||||||||
| Cash received from sale of assets | ||||||||||||
| Increase in receivable from affiliate | ( | ) | ( | ) | ( | ) | ||||||
| Other, net | ( | ) | ||||||||||
| Net cash used in investing activities from continuing operations | ( | ) | ( | ) | ( | ) | ||||||
| Net cash used in investing activities from discontinued operations | ( | ) | ||||||||||
| Net cash used in investing activities | ( | ) | ( | ) | ( | ) | ||||||
| Financing activities: | ||||||||||||
| Net borrowings (repayments) on revolving loan facilities | ( | ) | ( | ) | ||||||||
| Proceeds from long-term debt | ||||||||||||
| Repayments of long-term debt | ( | ) | ( | ) | ( | ) | ||||||
| Principal payments on note payable | ( | ) | ||||||||||
| Dividends paid to parent | ( | ) | ( | ) | ( | ) | ||||||
| Distributions paid to noncontrolling interests | ( | ) | ( | ) | ( | ) | ||||||
| Other, net | ( | ) | ( | ) | ( | ) | ||||||
| Net cash used in financing activities | ( | ) | ( | ) | ( | ) | ||||||
| Effect of exchange rate changes on cash | ( | ) | ( | ) | ||||||||
| Increase (decrease) in cash and cash equivalents | ( | ) | ( | ) | ||||||||
| Cash and cash equivalents at beginning of period | ||||||||||||
| Cash and cash equivalents at end of period | $ | $ | $ | |||||||||
| Supplemental cash flow information: | ||||||||||||
| Cash paid for interest | $ | $ | $ | |||||||||
| Cash paid for income taxes | ||||||||||||
As of December 31, 2025, 2024 and 2023, the amount of capital expenditures in accounts payable was $32 million, $25 million and $23 million, respectively.
See accompanying notes to consolidated financial statements.
HUNTSMAN CORPORATION AND SUBSIDIARIES
HUNTSMAN INTERNATIONAL LLC AND SUBSIDIARIES
NOTES TO CONSOLIDATED FINANCIAL STATEMENTS
Description of Business
We are a global manufacturer of diversified organic chemical products. We operate in segments: Polyurethanes, Performance Products and Advanced Materials. Our products comprise many different chemicals and formulations, which we market globally to a wide range of consumers that consist primarily of industrial and building product manufacturers. Our products are used in a broad range of applications, including those in the adhesives, aerospace, automotive, coatings and construction, construction products, durable and non-durable consumer products, electronics, insulation, power generation and refining. Many of our products offer effects such as premium insulation in homes and buildings and the lightweighting of airplanes and automobiles that help conserve energy. We are a leading global producer in many of our key product lines, including MDI, amines, maleic anhydride and epoxy-based polymer formulations.
Our company, a Delaware corporation, was formed in 2004 to hold the Huntsman businesses, which were founded by Jon M. Huntsman. Mr. Huntsman founded the predecessor to our Company in 1970 as a small polystyrene plastics packaging company. Since then, we have transformed through a series of acquisitions and divestitures and now own a global portfolio of businesses with a primary focus on improving energy efficiency. On February 28, 2023, we completed the sale of our Textile Effects Business to Archroma, and during the first quarter of 2024, we finalized the purchase price valued at $
2. SUMMARY OF SIGNIFICANT ACCOUNTING POLICIES
Carrying Value of Long-Lived Assets
We review long-lived assets and all amortizable intangible assets for impairment whenever events or changes in circumstances indicate that the carrying amount of these assets may not be recoverable. Recoverability is based upon current and anticipated undiscounted cash flows, and we recognize an impairment when such estimated cash flows are less than the carrying value of the asset. Measurement of the amount of impairment, if any, is based upon the difference between carrying value and fair value. Fair value is generally estimated by discounting estimated future cash flows using a discount rate commensurate with the risks involved or selling price of assets held for sale.
Cash and Cash Equivalents
We consider cash in checking accounts and cash in short-term highly liquid investments with original maturities of three months or less at the date of purchase to be cash and cash equivalents.
Cost of Goods Sold
We classify the costs of manufacturing and distributing our products as cost of goods sold. Manufacturing costs include variable costs, primarily raw materials and energy, and fixed costs directly associated with production. Manufacturing costs also include, among other things, plant site operating costs and overhead (including depreciation), production planning and logistics costs, repair and maintenance costs, plant site purchasing costs, and engineering and technical support costs. Distribution, freight and warehousing costs are also included in cost of goods sold.
Derivatives and Hedging Activities
All derivatives, whether designated in hedging relationships or not, are recorded on our balance sheets at fair value. If the derivative is designated as a fair value hedge, the changes in the fair value of the derivative and the hedged items are recognized in earnings. If the derivative is designated as a cash flow hedge, changes in the fair value of the derivative are recorded in accumulated other comprehensive loss, to the extent effective, and will be recognized in the income statement when the hedged item affects earnings. Changes in the fair value of the hedge in the net investment of certain international operations are recorded in other comprehensive income (loss), to the extent effective. The effectiveness of a cash flow hedging relationship is established at the inception of the hedge, and after inception we perform effectiveness assessments at least every months. A derivative designated as a cash flow hedge is determined to be effective if the change in value of the hedge divided by the change in value of the hedged item is within a range of
Environmental Expenditures
Environmental related restoration and remediation costs are recorded as liabilities when site restoration and environmental remediation and clean-up obligations are either known or considered probable and the related costs can be reasonably estimated. Other environmental expenditures that are principally maintenance or preventative in nature are recorded when expended and incurred and are expensed or capitalized as appropriate. See “Note 22. Environmental, Health and Safety Matters.”
Equity Method Investments
We account for our equity investments where we own a non-controlling interest, but exercise significant influence, under the equity method of accounting. Under the equity method of accounting, our original cost of the investment is adjusted for our share of equity in the earnings of the equity investee and reduced by dividends and distributions of capital received, unless the fair value option is elected, in which case the investment balance is marked to fair value each reporting period and the impact of changes in fair value of the equity investment are reported in earnings.
Foreign Currency Translation
The accounts of our operating subsidiaries outside of the U.S., unless they are operating in highly inflationary economic environments, consider the functional currency to be the currency of the economic environment in which they operate. Accordingly, assets and liabilities are translated at rates prevailing at the balance sheet date. Revenues, expenses, gains and losses are translated at a weighted average rate for the period. Cumulative translation adjustments are recorded to equity as a component of accumulated other comprehensive loss.
If a subsidiary operates in an economic environment that is considered to be highly inflationary (
Foreign currency transaction gains and losses are recorded in other operating (income) expense, net in our consolidated statements of operations and were losses of $
Income Taxes
We use the asset and liability method of accounting for income taxes. Deferred income taxes reflect the net tax effects of temporary differences between the carrying amounts of assets and liabilities for financial and tax reporting purposes. We evaluate deferred tax assets to determine whether it is more likely than not that they will be realized. Valuation allowances are reviewed on a tax jurisdiction basis and analyzed to determine whether there is sufficient positive or negative evidence to support a change in judgment about the realizability of the related deferred tax assets for each jurisdiction. These conclusions require significant judgment. In evaluating the objective evidence that historical results provide, we consider the cumulative income or losses during the applicable period. Cumulative losses incurred over the period limits our ability to consider other subjective evidence such as our projections for the future. Changes in expected future income in applicable jurisdictions could affect the realization of deferred tax assets in those jurisdictions.
Accounting for uncertainty in income taxes prescribes a recognition threshold and measurement attribute for the financial statement recognition and measurement of a tax position taken or expected to be taken in a tax return. The application of income tax law is inherently complex. We are required to determine if an income tax position meets the criteria of more likely than not to be realized based on the merits of the position under tax law, in order to recognize an income tax benefit. This requires us to make significant judgments regarding the merits of income tax positions and the application of income tax law. Additionally, if a tax position meets the recognition criteria of more likely than not, we are required to make judgments and apply assumptions to measure the amount of the tax benefits to recognize. These judgments are based on the probability of the amount of tax benefits that would be realized if the tax position was challenged by the taxing authorities. Interpretations and guidance surrounding income tax laws and regulations change over time. As a consequence, changes in assumptions and judgments can materially affect amounts recognized in our consolidated financial statements. See “Note 20. Income Taxes.”
Intangible Assets and Goodwill
Intangible assets are stated at cost (fair value at the time of acquisition) and are amortized using the straight-line method over the estimated useful lives or the life of the related agreement as follows:
| In years | ||
| Patents and technology | ||
| Trademarks | ||
| Licenses and other agreements | ||
| Other intangibles |
In the annual period in which finite-lived intangible assets become fully amortized, we remove both the gross carrying amounts and the related accumulated amortization of these intangible assets. See “Note 11. Intangible Assets.”
Goodwill represents costs in excess of fair values assigned to the underlying net assets of acquired businesses. Goodwill is not subject to any method of amortization, but is tested for impairment annually (at the beginning of the third quarter) and when events and circumstances change that would more likely than not reduce the fair value of a reporting unit below its carrying amount. When the fair value is less than the carrying value of the related reporting unit, we are required to reduce the amount of goodwill through a charge to earnings. Fair value is estimated using the market approach, as well as the income approach based on discounted cash flow projections. Goodwill has been assigned to reporting units for purposes of impairment testing.
During 2025, goodwill decreased by $
Inventories
Inventories are stated at the lower of cost or market, with cost determined using average cost, last-in first-out (“LIFO”) and first-in first-out methods for different components of inventory.
Leases
The determination of whether a contract is or contains a lease is performed at the lease inception date. Lease right-of-use assets and lease liabilities are recognized at the lease commencement date based on the present value of lease payments over the lease term, using incremental borrowing rates as the implicit rates are not readily determinable for our leases. The incremental borrowing rates are determined on a collateralized basis and vary from lease to lease depending on the country where the leased asset exists and the term of the lease arrangement. We combine lease components with non-lease components and account for them as a single lease component for all classes of underlying assets, except for leases of manufacturing and research facilities and administrative offices. For these assets, non-lease components are separated from lease components and accounted for as normal operating expenses. See “Note 10. Leases.”
Legal Costs
We expense legal costs, including those legal costs incurred in connection with a loss contingency, as incurred.
Net Income Per Share Attributable to Huntsman Corporation
Basic income per share excludes dilution and is computed by dividing net income attributable to Huntsman Corporation by the weighted average number of shares outstanding during the period. Diluted income per share reflects all potential dilutive common shares outstanding during the period and is computed by dividing net income attributable to Huntsman Corporation by the weighted average number of shares outstanding during the period increased by the number of additional shares that would have been outstanding as potential dilutive securities. Diluted income per share is computed using the treasury stock method for all stock-based awards. In periods with reported loss from continuing operations attributable to Huntsman Corporation, all stock-based awards are generally deemed anti-dilutive and would be excluded from the calculation of diluted income per share from continuing operations, discontinued operations and net income regardless of whether there is income or loss from discontinued operations and net income.
Basic and diluted (loss) income per share were determined using the following information (in millions):
| Year ended December 31, | ||||||||||||
| 2025 | 2024 | 2023 | ||||||||||
| Numerator: | ||||||||||||
| Loss from continuing operations attributable to Huntsman Corporation | $ | ( | ) | $ | ( | ) | $ | ( | ) | |||
| Net (loss) income attributable to Huntsman Corporation | $ | ( | ) | $ | ( | ) | $ | |||||
| Denominator: | ||||||||||||
| Weighted average shares outstanding | ||||||||||||
| Dilutive shares: | ||||||||||||
| Stock-based awards | ||||||||||||
| Total weighted average shares outstanding, including dilutive shares | ||||||||||||
Additional stock-based awards of
Other Noncurrent Assets
Periodic maintenance and repairs applicable to major units of manufacturing facilities (a “turnaround”) are accounted for on the deferral basis by capitalizing the costs of the turnaround and amortizing the costs over the estimated period until the next turnaround.
Principles of Consolidation
Our consolidated financial statements include the accounts of our wholly-owned and majority-owned subsidiaries and any variable interest entities for which we are the primary beneficiary. All intercompany accounts and transactions have been eliminated.
Property, Plant and Equipment
Property, plant and equipment is stated at cost less accumulated depreciation. Depreciation is computed using the straight-line method over the estimated useful lives or lease term as follows:
| In years | ||
| Buildings | ||
| Plant and equipment | ||
| Furniture, fixtures and leasehold improvements |
Interest expense capitalized as part of plant and equipment was $
Normal maintenance and repairs of plant and equipment are charged to expense as incurred. Renewals, betterments and major repairs that materially extend the useful life of the assets are capitalized, and the assets replaced, if any, are retired.
Revenue Recognition
We generate substantially all of our revenue through product sales in the open market and long-term supply agreements in which revenue is recognized at a point in time. At contract inception, we assess the goods and services, if any, promised in our contracts and identify a performance obligation for each promise to transfer to the customer a good or service that is distinct. In substantially all cases, a contract has a single performance obligation to deliver a promised good to the customer. Revenue is recognized when control of the product is transferred to the customer (i.e., when our performance obligation is satisfied), which typically occurs at shipment. Further, in determining whether control has transferred, we consider if there is a present right to payment and legal title, along with risks and rewards of ownership having transferred to the customer.
Revenue is measured as the amount that reflects the consideration that we expect to be entitled to in exchange for those goods. Sales, value add, and other taxes we collect concurrent with revenue-producing activities are excluded from revenue. Incidental items that are immaterial in the context of the contract are recognized as expense. We have elected to account for all shipping and handling activities as fulfillment costs. We have also elected to expense commissions when incurred as the amortization period of the commission asset that we would have otherwise recognized is less than one year.
The amount of consideration we receive and revenue we recognize is based upon the terms stated in the sales contract, which may contain variable consideration such as discounts or rebates. We allocate the transaction price to each distinct product based on their relative standalone selling price. The product price as specified on the purchase order or in the sales contract is considered the standalone selling price as it is an observable input that depicts the price as if sold to a similar customer in similar circumstances. In order to estimate the applicable variable consideration, we use historical and current trend information to estimate the amount of discounts or rebates to which customers are likely to be entitled. Historically, actual discount or rebate adjustments relative to those estimated and included when determining the transaction price have not materially differed. Payment terms vary but are generally less than one year. As our standard payment terms are less than one year, we have elected to not assess whether a contract has a significant financing component. In the normal course of business, we do not accept product returns unless the item is defective as manufactured. We establish provisions for estimated returns based on an analysis of historical experience. See “Note 18. Revenue Recognition.”
Securitization of Accounts Receivable
Under our A/R Programs, we grant an undivided interest in certain of our trade receivables to the special purpose entities in the U.S. and EU. This undivided interest serves as security for the issuance of debt. The A/R Programs provide for financing in U.S. dollars, euros and British pounds. The amounts outstanding under our A/R Programs are accounted for as secured borrowings. See “Note 15. Debt—Direct and Subsidiary Debt—A/R Programs.”
Stock-Based Compensation
We measure the cost of employee services received in exchange for an award of equity instruments based on the grant-date fair value of the award. That cost, net of estimated forfeitures, will be recognized over the period during which the employee is required to provide services in exchange for the award. See “Note 24. Stock-Based Compensation Plan.”
Use of Estimates
The preparation of financial statements in conformity with U.S. GAAP requires management to make estimates and assumptions that affect the reported amounts of assets and liabilities and disclosure of contingent assets and liabilities at the date of the financial statements and the reported amounts of revenues and expenses during the reporting period. Actual results could differ from those estimates.
Recently Adopted Accounting Standards
On January 1, 2025, we adopted Financial Accounting Standards Board (“FASB”) Accounting Standards Update (“ASU”) No. 2023-09, Income Taxes (Topic 740): Improvements to Income Tax Disclosures, on a prospective basis, upon which we have provided greater disaggregation of information in the rate reconciliation, by both amounts and percentages, among prescribed categories, such as state and local income taxes, foreign tax effects, changes in valuation allowances and nontaxable or nondeductible items, among others. We have also provided disaggregation of income taxes paid by U.S. federal and state income taxes and foreign income taxes. See “Note. 20 Income Taxes.”
Accounting Standards Pending Adoption In Future Periods
The following relevant accounting standards become effective subsequent to fiscal year 2025, and we are currently evaluating the impact of the future adoption of these accounting standards on our financial statements and related disclosures:
| ● | FASB ASU No. 2024-03, Income Statement—Reporting Comprehensive Income—Expense Disaggregation Disclosures (Topic 220-40): Disaggregation of Income Statement Expenses, effective for annual reporting periods beginning after December 15, 2026 and interim reporting periods beginning after December 15, 2027 |
|
| ● | FASB ASU No. 2025-10, Government Grants (Topic 832): Accounting for Government Grants Received by Business Entities, effective for annual reporting periods beginning after December 15, 2028 and interim reporting periods within those annual reporting periods |
3. BUSINESS COMBINATIONS AND ACQUISITIONS
Separation and AcQuisition of Assets of SLIC JoInt VENTURE
On January 31, 2024, we completed the planned separation and acquisition of assets of SLIC. The final purchase price of the acquired assets was determined based on an asset valuation that was completed in the second quarter of 2024. The acquisition of the assets was funded in part with HPS, issuing a U.S. dollar equivalent note payable at closing of approximately $
The acquisition has been integrated into our Polyurethanes segment. Transaction costs related to this acquisition were material during 2024.
We have accounted for the acquisition using the acquisition method. As such, we analyzed the fair value of net assets acquired. The allocation of acquisition cost to the net assets acquired is summarized as follows (dollars in millions):
| Fair value of net assets acquired: | ||||
| Accounts receivable | $ | |||
| Inventories | ||||
| Property, plant and equipment | ||||
| Other long-term assets | ||||
| Deferred income taxes | ||||
| Operating lease right-of-use assets | ||||
| Noncurrent operating lease liabilities | ( | ) | ||
| Total | $ |
The total fair value of the net assets acquired was in excess of the acquisition cost resulting in net gains of approximately $
According to the operating agreement of the joint venture, SLIC sold all of its output to the joint venture partners with no external sales. After the separation and acquisition of assets, we use all of the output of the acquired assets for internal use. As such, the acquired business has no external revenues or net income.
4. DISCONTINUED OPERATIONS
SaLE of TeXTile EffeCTs Business
On February 28, 2023, we completed the sale of our Textile Effects Business to Archroma, and during the first quarter of 2024, we finalized the purchase price valued at $
The following table reconciles major line items constituting pretax (loss) income from discontinued operations to after-tax (loss) income from discontinued operations, primarily related to our Textile Effects Business, as presented in our consolidated statements of operations (dollars in millions):
| Year ended December 31, | ||||||||||||
| 2025 | 2024 | 2023 | ||||||||||
| Major line items constituting pretax (loss) income from discontinued operations: | ||||||||||||
| Trade sales, services and fees, net(1) | $ | $ | $ | |||||||||
| Cost of goods sold(1) | ( | ) | ||||||||||
| (Loss) gain on sale of our discontinued operations | ( | ) | ( | ) | ||||||||
| Other expense items, net | ( | ) | ||||||||||
| (Loss) income from discontinued operations before income taxes | ( | ) | ( | ) | ||||||||
| Income tax benefit (expense) | ( | ) | ||||||||||
| Net (loss) income attributable to discontinued operations | $ | ( | ) | $ | ( | ) | $ | |||||
| (1) | Includes eliminations of trade sales, services and fees, net and cost of goods sold between continuing operations and discontinued operations. |
5. INVENTORIES
Inventories consisted of the following (dollars in millions):
| December 31, | ||||||||
| 2025 | 2024 | |||||||
| Raw materials and supplies | $ | $ | ||||||
| Work in progress | ||||||||
| Finished goods | ||||||||
| Total | ||||||||
| LIFO reserves | ( | ) | ( | ) | ||||
| Net inventories | $ | $ | ||||||
For both December 31, 2025 and 2024, approximately
6. PROPERTY, PLANT AND EQUIPMENT
The cost and accumulated depreciation of property, plant and equipment were as follows (dollars in millions):
Huntsman Corporation
| December 31, | ||||||||
| 2025 | 2024 | |||||||
| Land | $ | $ | ||||||
| Buildings | ||||||||
| Plant and equipment | ||||||||
| Construction in progress | ||||||||
| Total | ||||||||
| Less accumulated depreciation | ( | ) | ( | ) | ||||
| Net | $ | $ | ||||||
Huntsman International
| December 31, | ||||||||
| 2025 | 2024 | |||||||
| Land | $ | $ | ||||||
| Buildings | ||||||||
| Plant and equipment | ||||||||
| Construction in progress | ||||||||
| Total | ||||||||
| Less accumulated depreciation | ( | ) | ( | ) | ||||
| Net | $ | $ | ||||||
Depreciation expense from continuing operations for Huntsman Corporation and Huntsman International for 2025, 2024 and 2023 was $
7. INVESTMENT IN UNCONSOLIDATED AFFILIATES
Our ownership percentages and investments in unconsolidated affiliates were as follows (dollars in millions):
| December 31, | ||||||||
| 2025 | 2024 | |||||||
| Equity method: | ||||||||
| Nanjing Jinling Huntsman New Material Co., Ltd. () | $ | $ | ||||||
| Jurong Ningwu New Material Development Co., Ltd. () | ||||||||
| KPX Huntsman Polyurethanes Automotive Co., Ltd. () | ||||||||
| BASF Huntsman Shanghai Isocyanate Investment BV () | ||||||||
| Total investments | $ | $ | ||||||
All of our equity method investments are held by our Polyurethanes segment.
Summarized Financial Information of Unconsolidated Affiliates
Summarized financial information of our unconsolidated affiliates as of December 31, 2025 and 2024 and for the years ended December 31, 2025, 2024 and 2023 were as follows (dollars in millions):
| December 31, | ||||||||
| 2025 | 2024 | |||||||
| Current assets | $ | $ | ||||||
| Non-current assets | ||||||||
| Current liabilities | ||||||||
| Non-current liabilities | ||||||||
| Year ended December 31, | ||||||||||||
| 2025 | 2024 | 2023 | ||||||||||
| Revenues | $ | $ | $ | |||||||||
| Gross profit | ||||||||||||
| Income from continuing operations | ||||||||||||
| Net income | ||||||||||||
8. VARIABLE INTEREST ENTITIES
We evaluate our investments and transactions to identify variable interest entities for which we are the primary beneficiary. We hold a variable interest in the following joint ventures for which we are the primary beneficiary:
| ● | Rubicon is our |
| ● | AAC is our |
During the year ended December 31, 2025, there were no changes in our variable interest entities.
Creditors of our variable interest entities have no recourse to our general credit. See “Note 15. Debt—Direct and Subsidiary Debt.” As the primary beneficiary of these variable interest entities at December 31, 2025, the joint ventures’ assets, liabilities and results of operations are included in our consolidated financial statements.
The following table summarizes the carrying amount of our variable interest entities’ assets and liabilities included in our consolidated balance sheets as of December 31, 2025 and 2024 (dollars in millions):
| December 31, | ||||||||
| 2025 | 2024 | |||||||
| Current assets | $ | $ | ||||||
| Property, plant and equipment, net | ||||||||
| Operating lease right-of-use assets | ||||||||
| Other noncurrent assets | ||||||||
| Deferred income taxes | ||||||||
| Total assets | $ | $ | ||||||
| Current liabilities | $ | $ | ||||||
| Long-term debt | ||||||||
| Noncurrent operating lease liabilities | ||||||||
| Other noncurrent liabilities | ||||||||
| Deferred income taxes | ||||||||
| Total liabilities | $ | $ | ||||||
Certain operating activities for our variable interest entities were as follows (dollars in millions):
| Year ended December 31, | ||||||||||||
| 2025 | 2024 | 2023 | ||||||||||
| Income from continuing operations before income taxes | $ | $ | $ | |||||||||
| Net cash provided by operating activities | ||||||||||||
9. SUPPLIER FINANCE PROGRAM
During the first quarter of 2025, we initiated a supplier finance program that has been made available to certain of our vendors. The program allows our vendors to voluntarily sell their receivables due from us to a participating financial institution on terms that are negotiated between the vendor and the financial institution. The vendor receives payment from the financial institution, and we pay the financial institution on the terms originally negotiated with the vendor, which generally range from
The following table summarizes our outstanding obligations confirmed as valid under the supplier finance program for the year ended December 31, 2025 (dollars in millions):
| Year ended December 31, 2025 | ||||
| Confirmed obligations outstanding at the beginning of the year | $ | |||
| Invoices confirmed during the year | ||||
| Confirmed invoices paid during the year | ( | ) | ||
| Confirmed obligations outstanding at the end of the year | $ | |||
10. LEASES
We primarily lease manufacturing and research facilities, administrative offices, land, tanks, railcars and equipment. Leases with an initial term of 12 months or less are not recognized on the balance sheets; we recognize lease expense for these leases on a straight-line basis over the lease term. Our leases have remaining lives from month to
The components of operating lease expense, cash flows and supplemental noncash information from continuing operations were as follows (dollars in millions):
| Year ended December 31, | ||||||||||||
| 2025 | 2024 | 2023 | ||||||||||
| Operating lease expense: | ||||||||||||
| Cost of goods sold | $ | $ | $ | |||||||||
| Selling, general and administrative | ||||||||||||
| Research and development | ||||||||||||
| Total operating lease expense(1) | $ | $ | $ | |||||||||
| Cash paid for amounts included in the measurement of lease liabilities: | ||||||||||||
| Operating cash flows from operating leases | $ | $ | $ | |||||||||
| Supplemental noncash information: | ||||||||||||
| Leased assets obtained in exchange for new operating lease liabilities | $ | $ | $ | |||||||||
| (1) | Total operating lease expense includes short-term lease expense of approximately $ |
The weighted-average lease term and discount rate for our operating leases from continuing operations were as follows:
| Year ended December 31, | ||||||||||||
| 2025 | 2024 | 2023 | ||||||||||
| Weighted-average remaining lease term (in years) | ||||||||||||
| Weighted-average discount rate | % | % | % | |||||||||
The undiscounted future cash flows of operating lease liabilities from continuing operations as of December 31, 2025 were as follows (dollars in millions):
| Year ending December 31, | ||||
| 2026 | $ | |||
| 2027 | ||||
| 2028 | ||||
| 2029 | ||||
| 2030 | ||||
| Thereafter | ||||
| Total lease payments | ||||
| Less imputed interest | ( | ) | ||
| Total | $ |
As of December 31, 2025, we have additional leases, primarily for leases of tanks, that have not yet commenced of approximately $
11. INTANGIBLE ASSETS
The gross carrying amount and accumulated amortization of intangible assets were as follows (dollars in millions):
| December 31, 2025 | December 31, 2024 | |||||||||||||||||||||||
| Gross carrying | Accumulated | Gross carrying | Accumulated | |||||||||||||||||||||
| amount | amortization | Net | amount | amortization | Net | |||||||||||||||||||
| Patents, trademarks and technology | $ | $ | $ | $ | $ | $ | ||||||||||||||||||
| Licenses and other agreements | ||||||||||||||||||||||||
| Other intangibles | ||||||||||||||||||||||||
| Total | $ | $ | $ | $ | $ | $ | ||||||||||||||||||
Amortization expense from continuing operations was $
Estimated future amortization expense from continuing operations for intangible assets over the next five years is as follows (dollars in millions):
| Year ending December 31, | ||||
| 2026 | $ | |||
| 2027 | ||||
| 2028 | ||||
| 2029 | ||||
| 2030 |
12. ACCRUED LIABILITIES
Accrued liabilities consisted of the following (dollars in millions):
Huntsman Corporation
| December 31, | ||||||||
| 2025 | 2024 | |||||||
| Payroll and related accruals | $ | $ | ||||||
| Volume and rebate accruals | ||||||||
| Taxes other than income taxes | ||||||||
| Restructuring and plant closing reserves | ||||||||
| Income taxes | ||||||||
| Other miscellaneous accruals | ||||||||
| Total | $ | $ | ||||||
Huntsman International
| December 31, | ||||||||
| 2025 | 2024 | |||||||
| Payroll and related accruals | $ | $ | ||||||
| Volume and rebate accruals | ||||||||
| Taxes other than income taxes | ||||||||
| Restructuring and plant closing reserves | ||||||||
| Income taxes | ||||||||
| Other miscellaneous accruals | ||||||||
| Total | $ | $ | ||||||
13. RESTRUCTURING, IMPAIRMENT AND PLANT CLOSING COSTS
As of December 31, 2025, 2024 and 2023, accrued restructuring and plant closing costs by type of cost consisted of the following (dollars in millions):
| Other | ||||||||||||||||
| Workforce | Contract | restructuring | ||||||||||||||
| reductions | terminations | costs | Total | |||||||||||||
| Accrued liabilities as of January 1, 2023 | $ | $ | $ | $ | ||||||||||||
| (Credits) charges, net | ( | ) | ||||||||||||||
| Payments | ( | ) | ( | ) | ( | ) | ||||||||||
| Accrued liabilities as of December 31, 2023 | ||||||||||||||||
| Charges, net | ||||||||||||||||
| Payments | ( | ) | ( | ) | ( | ) | ||||||||||
| Accrued liabilities as of December 31, 2024 | ( | ) | ||||||||||||||
| Charges, net | ||||||||||||||||
| Payments | ( | ) | ( | ) | ( | ) | ||||||||||
| Accrued liabilities as of December 31, 2025 | $ | $ | $ | $ | ||||||||||||
As of December 31, 2025, 2024 and 2023, accrued restructuring and plant closing costs of our three operating segments as well as Corporate and other consisted of the following (dollars in millions):
| Performance | Advanced | Corporate | ||||||||||||||||||
| Polyurethanes | Products | Materials | and other | Total | ||||||||||||||||
| Accrued liabilities as of January 1, 2023 | $ | $ | $ | $ | $ | |||||||||||||||
| Charges (credits), net | ( | ) | ||||||||||||||||||
| Payments | ( | ) | ( | ) | ( | ) | ( | ) | ( | ) | ||||||||||
| Accrued liabilities as of December 31, 2023 | ||||||||||||||||||||
| Charges (credits), net | ( | ) | ||||||||||||||||||
| Payments | ( | ) | ( | ) | ( | ) | ( | ) | ( | ) | ||||||||||
| Accrued liabilities as of December 31, 2024 | ||||||||||||||||||||
| Charges (credits), net | ( | ) | ||||||||||||||||||
| Payments | ( | ) | ( | ) | ( | ) | ( | ) | ||||||||||||
| Accrued liabilities as of December 31, 2025 | $ | $ | $ | $ | $ | |||||||||||||||
| Current portion of restructuring reserves | $ | $ | $ | $ | $ | |||||||||||||||
| Long-term portion of restructuring reserves | ||||||||||||||||||||
Details with respect to cash and noncash restructuring, impairment and plant closing costs from continuing operations for the years ended December 31, 2025, 2024 and 2023 are provided below (dollars in millions):
| Cash charges, net | $ | |||
| Noncash charges (credits): | ||||
| Impairment of assets | ||||
| Accelerated depreciation | ||||
| Other noncash credits | ( | ) | ||
| Total 2025 restructuring, impairment and plant closing costs | $ | |||
| Cash charges, net | $ | |||
| Noncash charges: | ||||
| Accelerated depreciation | ||||
| Other noncash charges | ||||
| Total 2024 restructuring, impairment and plant closing costs | $ | |||
| Cash charges, net | $ | |||
| Noncash charges: | ||||
| Accelerated depreciation | ||||
| Other noncash charges | ||||
| Total 2023 restructuring, impairment and plant closing costs | $ |
RESTRUCTURING ACTIVITIES
Beginning in the second quarter of 2025, our Performance Products segment implemented a restructuring program to close its European maleic anhydride manufacturing facility in Moers, Germany and to reduce other organizational structure costs. During the third quarter of 2025, this program was further expanded for additional site closure costs. In connection with this restructuring program, we recorded of approximately $
Beginning in the fourth quarter of 2024, our Polyurethanes segment implemented a restructuring program to reduce organizational structure costs. During the second quarter of 2025, this program was further expanded to optimize its European business organization. In connection with this restructuring program, we recorded net restructuring expense of approximately $
Beginning in the first quarter of 2024, our Advanced Materials segment implemented a restructuring program to optimize the segment’s manufacturing processes and cost structure in the U.S. to better align with future market opportunities. In connection with this restructuring program, we recorded net restructuring expense of approximately $
Beginning in the fourth quarter of 2022, we implemented a restructuring program to further realign our cost structure with additional restructuring in Europe. This program was associated with all of our segments and included exiting and consolidating certain facilities, workforce relocation to lower cost locations and further personnel rationalization. In connection with this restructuring program, we recorded a net credit of approximately $
Beginning in the first quarter of 2021, our Corporate function implemented a restructuring program to optimize our global approach to leveraging shared services capabilities. During the second quarter of 2022, this program was further expanded to include additional geographies. During the year ended December 31, 2023, we evaluated the then current developments of this program and related anticipated cash costs, and we recorded a net restructuring credit of approximately $
Beginning in the third quarter of 2020, our Polyurethanes segment implemented a restructuring program to optimize its downstream footprint. During the second quarter of 2022, this optimization program was further expanded to include the entire Polyurethanes business. In connection with this restructuring program, we recorded net restructuring expense of approximately $
Beginning in the second quarter of 2020, our Advanced Materials segment implemented restructuring programs in connection with our 2020 acquisition of CVC Thermoset Specialties, the alignment of the segment’s commercial organization and optimization of the segment’s manufacturing processes. In connection with these restructuring programs, we recorded net restructuring expense of approximately $
14. OTHER NONCURRENT LIABILITIES
Other noncurrent liabilities consisted of the following (dollars in millions):
Huntsman Corporation
| December 31, | ||||||||
| 2025 | 2024 | |||||||
| Pension liabilities | $ | $ | ||||||
| Employee benefit accrual | ||||||||
| Other postretirement benefits | ||||||||
| Other | ||||||||
| Total | $ | $ | ||||||
Huntsman International
| December 31, | ||||||||
| 2025 | 2024 | |||||||
| Pension liabilities | $ | $ | ||||||
| Employee benefit accrual | ||||||||
| Other postretirement benefits | ||||||||
| Other | ||||||||
| Total | $ | $ | ||||||
15. DEBT
Our outstanding debt, net of debt issuance costs, of consolidated entities consisted of the following (dollars in millions):
| December 31, | ||||||||
| 2025 | 2024 | |||||||
| Senior credit facilities: | ||||||||
| Revolving facility | $ | $ | ||||||
| Senior notes | ||||||||
| Amounts outstanding under A/R programs | ||||||||
| Variable interest entities | ||||||||
| Other | ||||||||
| Total debt | $ | $ | ||||||
| Current portion of debt | $ | $ | ||||||
| Long-term portion of debt | ||||||||
| Total debt | $ | $ | ||||||
Direct and Subsidiary Debt
Substantially all of our debt, including the facilities described below, has been incurred by our subsidiaries (primarily Huntsman International). Huntsman Corporation is not a guarantor of such subsidiary debt.
Certain of our subsidiaries have third-party debt agreements that contain certain restrictions with regard to dividends, distributions, loans or advances. In certain circumstances, the consent of a third party would be required prior to the transfer of any cash or assets from these subsidiaries to us.
Revolving Credit Facility
On February 9, 2026, Huntsman International entered into the $
As of December 31, 2025, the 2022 Revolving Credit Facility was still in effect. Borrowings under the 2022 Revolving Credit Facility bore interest at the rates specified in the credit agreement governing the 2022 Revolving Credit Facility, which varied based on the type of loan and Huntsman International’s debt ratings. Under the 2022 Revolving Credit Facility, the interest rate margin and the commitment fee rates were also subject to adjustments based on the Company’s performance on specified sustainability target thresholds with respect to annual percentage reduction in operational greenhouse gas emissions intensity and annual percentage reduction in water consumption intensity.
The following table presents certain amounts under our 2022 Revolving Credit Facility as of December 31, 2025 (monetary amounts in millions):
| Facility | Committed amount | Principal outstanding | Unamortized discounts and debt issuance costs | Carrying value | Maturity | ||||||||||||
| 2022 Revolving Credit Facility | $ | $ | (1)(2) | $ | $ | May 2027 | |||||||||||
| (1) | Total principal amount outstanding (U.S. dollar equivalent) included both U.S. dollar and euro borrowings. Interest rates on borrowings under the 2022 Revolving Credit Facility varied based on the type of loan and Huntsman International’s debt ratings. The representative interest rates for U.S. dollar borrowings and euro borrowings as of December 31, 2025 were |
| (2) | On December 31, 2025, we had an additional $ |
Senior Notes
On March 28, 2025, we satisfied and discharged our obligations under our 2025 Senior Notes by irrevocably depositing funds sufficient to redeem them in full, which was approximately $
As of December 31, 2025, we had the following outstanding notes (monetary amounts in millions):
| Unamortized premiums, | ||||||||||||
| discounts and | ||||||||||||
| Notes | Maturity | Interest rate | Amount outstanding | debt issuance costs | ||||||||
| 2029 Senior Notes | May 2029 | % |
| $ | ||||||||
| 2031 Senior Notes | June 2031 | % |
| |||||||||
| 2034 Senior Notes | October 2034 | % |
| |||||||||
The 2029, 2031 and 2034 Senior Notes are general unsecured senior obligations of Huntsman International. The indentures impose certain limitations on the ability of Huntsman International and its subsidiaries to, among other things, incur additional indebtedness secured by any principal properties, incur indebtedness of subsidiaries, enter into sale and leaseback transactions with respect to any principal properties, consolidate or merge with or into any other person or lease and sell or transfer all or substantially all of its properties and assets. Upon the occurrence of certain change of control events, holders of the 2029, 2031 and 2034 Senior Notes will have the right to require that Huntsman International purchase all or a portion of such holders’ notes in cash at a purchase price equal to
The 2029 Senior Notes bear interest at
The 2031 Senior Notes bear interest at
The 2034 Senior Notes bear interest at
A/R Programs
Our A/R Programs are structured so that we transfer certain of our trade receivables to the U.S. special purpose entity (“U.S. SPE”) and the European special purpose entity (“EU SPE”) in transactions intended to be true sales or true contributions. The receivables collateralize debt incurred by the U.S. SPE and the EU SPE.
On December 29, 2025, we entered into an amendment to our U.S. A/R Program that, among other things, extended the scheduled maturity date from January 2027 to December 2028 and increased the maximum funding availability to $
Information regarding our A/R Programs as of December 31, 2025 is as follows (monetary amounts in millions):
| Maximum funding | Amount | ||||||||||
| Facility | Maturity | availability(1) | outstanding | Interest rate(2) | |||||||
| U.S. A/R Program |
| $ | $ | (3) |
| ||||||
| EU A/R Program |
| € | € |
| |||||||
| (1) | The amount of actual availability under our A/R Programs may be lower based on the level of eligible receivables sold, changes in the credit ratings of our customers, customer concentration levels and certain characteristics of the accounts receivable being transferred, as defined in the applicable agreements. |
| (2) | The applicable rate for our U.S. A/R Program is defined by the lenders as the Asset-Backed Commercial Paper rate. The applicable rate for our EU A/R Program is either Term SOFR, EURIBOR or SONIA (Sterling Overnight Interbank Average Rate). |
| (3) | As of December 31, 2025, we had approximately $ |
As of December 31, 2025 and 2024, $
Variable Interest Entity Debt
As of December 31, 2025, AAC, our consolidated
Note Payable
During the second quarter of 2024, HPS repaid the remainder of its outstanding note payable to SLIC denominated in Chinese renminbi, the equivalent of $
Debt Issuance Costs
We record debt issuance costs related to a debt liability on the balance sheets as a reduction to the face amount of that debt liability. As of December 31, 2025 and December 31, 2024, the amount of debt issuance costs directly reducing the debt liability was $
Compliance With Covenants
Our 2022 Revolving Credit Facility contained a financial covenant regarding the leverage ratio of Huntsman International and its subsidiaries. The 2022 Revolving Credit Facility also contained other customary covenants and events of default for credit facilities of this type.
The agreements governing our A/R Programs also contain certain receivable performance metrics. Any material failure to meet the applicable A/R Programs’ metrics could lead to an early termination event under the A/R Programs, which could require us to cease our use of such facilities, prohibiting us from additional borrowings against our receivables or, at the discretion of the lenders, requiring that we repay the A/R Programs in full.
As of December 31, 2025, we believe that we were in compliance with the covenants governing our material debt instruments, including our 2022 Revolving Credit Facility, our A/R Programs and our notes.
Maturities
The scheduled maturities of our debt (excluding debt to affiliates) by year as of December 31, 2025 are as follows (dollars in millions):
| Year ending December 31, | ||||
| 2026 | $ | |||
| 2027 | ||||
| 2028 | ||||
| 2029 | ||||
| 2030 | ||||
| Thereafter | ||||
| $ |
16. DERIVATIVE INSTRUMENTS AND HEDGING ACTIVITIES
We are exposed to market risks, such as changes in interest rates, foreign exchange rates and commodity prices. From time to time, we enter into transactions, including transactions involving derivative instruments, to manage certain of these exposures. We also hedge our net investment in certain European operations. Changes in the fair value of the hedge in the net investment of certain European operations are recorded in other accumulated comprehensive loss.
Through our borrowing activities, we are exposed to interest rate risk. Such risk arises due to the structure of our debt portfolio, including the mix of fixed and floating interest rates. Actions taken to reduce interest rate risk include managing the mix and rate characteristics of various interest-bearing liabilities, as well as entering into interest rate derivative instruments. From time to time, we may purchase interest rate swaps and/or other derivative instruments to reduce the impact of changes in interest rates on our floating-rate exposures. Under interest rate swaps, we agree with other parties to exchange, at specified intervals, the difference between fixed-rate and floating-rate interest amounts calculated by reference to an agreed notional principal amount.
Our revenues and expenses are denominated in various foreign currencies, and therefore, our cash flows and earnings are subject to fluctuations due to exchange rate variations. From time to time, we may enter into foreign currency derivative instruments to minimize the short-term impact of movements in foreign currency rates. Where practicable, we generally net multicurrency cash balances among our subsidiaries to help reduce exposure to foreign currency exchange rates. Certain other exposures may be managed from time to time through financial market transactions, principally through the purchase of spot or forward foreign exchange contracts (generally with maturities of months or less). We do not hedge our foreign currency exposures in a manner that would eliminate the effect of changes in exchange rates on our cash flows and earnings. As of December 31, 2025 and 2024, we had approximately $
We finance certain of our non-U.S. subsidiaries with intercompany loans that are, in many cases, denominated in currencies other than the entities’ functional currency. We manage the net foreign currency exposure created by this debt through various means, including cross-currency swaps, the designation of certain intercompany loans as permanent loans because they are not expected to be repaid in the foreseeable future and the designation of certain debt and swaps as net investment hedges. Foreign currency transaction gains and losses on intercompany loans that are not designated as permanent loans are recorded in earnings. Foreign currency transaction gains and losses on intercompany loans that are designated as permanent loans are recorded in other comprehensive income. From time to time, we review such designation of intercompany loans.
We review our non-U.S. dollar denominated debt and derivative instruments to determine the appropriate amounts designated as hedges. As of December 31, 2025, we have designated approximately million (approximately $
During the third quarter of 2024, we entered into three-year, cross-currency interest rate contracts to swap an aggregate notional amount $
Commodity Prices Risk
Inherent in our business is exposure to price changes for several commodities. However, our exposure to changing commodity prices is somewhat limited since the majority of our raw materials are acquired at posted or market related prices, and sales prices for many of our finished products are at market related prices which are largely set on a monthly or quarterly basis in line with industry practice. Consequently, we may choose to partially hedge our commodity exposures from time to time.
17. FAIR VALUE
The fair values of our financial instruments were as follows (dollars in millions):
| December 31, 2025 | December 31, 2024 | |||||||||||||||
| Carrying | Estimated | Carrying | Estimated | |||||||||||||
| value | fair value | value | fair value | |||||||||||||
| Non-qualified employee benefit plan investments | $ | $ | $ | $ | ||||||||||||
| Cross-currency interest rate contracts | ( | ) | ( | ) | ||||||||||||
| Long-term debt (including current portion) | ( | ) | ( | ) | ( | ) | ( | ) | ||||||||
The carrying amounts reported in the balance sheets of cash and cash equivalents, accounts receivable and accounts payable approximate fair value because of the immediate or short-term maturity of these financial instruments. The fair values of non-qualified employee benefit plan investments are obtained through market observable pricing using prevailing market prices (Level 1). The fair values of our cross-currency interest rate contracts are based on observable inputs other than quoted prices (Level 2). The fair values of our senior notes are based on quoted market prices for the identical liability when traded in an active market (Level 1), and the fair values of all our other outstanding debt are based on observable inputs other than quoted prices (Level 2). The fair value estimates presented herein are based on pertinent information available to management as of December 31, 2025 and 2024. Although we are not aware of any factors that would significantly affect the estimated fair value amounts, such amounts have not been comprehensively revalued for purposes of these financial statements since December 31, 2025, and current estimates of fair value may differ significantly from the amounts presented herein.
During the years ended December 31, 2025 and 2024, we held
18. REVENUE RECOGNITION
The following tables disaggregate our revenue from continuing operations by major source for the years ended December 31, 2025, 2024 and 2023 (dollars in millions):
| 2025 | Polyurethanes | Performance Products | Advanced Materials | Corporate and eliminations | Total | |||||||||||||||
| Primary geographic markets(1): | ||||||||||||||||||||
| U.S. and Canada | $ | $ | $ | $ | ( | ) | $ | |||||||||||||
| Europe | ( | ) | ||||||||||||||||||
| Asia Pacific | ( | ) | ||||||||||||||||||
| Rest of world | ( | ) | ||||||||||||||||||
| $ | 3,697 | $ | 997 | $ | 1,021 | $ | (32 | ) | $ | 5,683 | ||||||||||
| Major product groupings: | ||||||||||||||||||||
| Diversified | $ | $ | $ | |||||||||||||||||
| Specialty | $ | |||||||||||||||||||
| Other | ||||||||||||||||||||
| Eliminations | $ | ( | ) | ( | ) | |||||||||||||||
| $ | $ | $ | $ | ( | ) | $ | ||||||||||||||
| 2024 | Polyurethanes | Performance Products | Advanced Materials | Corporate and eliminations | Total | |||||||||||||||
| Primary geographic markets(1): | ||||||||||||||||||||
| U.S. and Canada | $ | $ | $ | $ | ( | ) | $ | |||||||||||||
| Europe | ( | ) | ||||||||||||||||||
| Asia Pacific | ( | ) | ||||||||||||||||||
| Rest of world | ( | ) | ||||||||||||||||||
| $ | 3,900 | $ | 1,109 | $ | 1,055 | $ | (28 | ) | $ | 6,036 | ||||||||||
| Major product groupings: | ||||||||||||||||||||
| Diversified | $ | $ | $ | |||||||||||||||||
| Specialty | $ | |||||||||||||||||||
| Other | ||||||||||||||||||||
| Eliminations | $ | ( | ) | ( | ) | |||||||||||||||
| $ | $ | $ | $ | ( | ) | $ | ||||||||||||||
| 2023 | Polyurethanes | Performance Products | Advanced Materials | Corporate and eliminations | Total | |||||||||||||||
| Primary geographic markets(1): | ||||||||||||||||||||
| U.S. and Canada | $ | $ | $ | $ | ( | ) | $ | |||||||||||||
| Europe | ( | ) | ||||||||||||||||||
| Asia Pacific | ( | ) | ||||||||||||||||||
| Rest of world | ||||||||||||||||||||
| $ | 3,865 | $ | 1,178 | $ | 1,092 | $ | (24 | ) | $ | 6,111 | ||||||||||
| Major product groupings: | ||||||||||||||||||||
| Diversified | $ | $ | $ | |||||||||||||||||
| Specialty | $ | |||||||||||||||||||
| Other | ||||||||||||||||||||
| Eliminations | $ | ( | ) | ( | ) | |||||||||||||||
| $ | $ | $ | $ | ( | ) | $ | ||||||||||||||
| (1) | Geographic information for revenues is based upon countries into which product is sold. |
19. EMPLOYEE BENEFIT PLANS
Defined Benefit and Other Postretirement Benefit Plans
We provide a trusteed, non-contributory defined benefit pension plan (the “Plan”) in the U.S. The Plan’s design is that of a cash balance plan, and the cash balance benefit formula provides annual pay credits from
We sponsor unfunded postretirement benefit plans other than pensions, which provide medical and life insurance benefits. Effective August 1, 2015, the postretirement benefit plans were closed to new entrants. Our other postretirement benefit plans provide access to fully insured Medicare Part D plans including prescription drug benefits affected by the Medicare Prescription Drug, Improvement and Modernization Act of 2003 (the “Act”). We cannot determine whether the medical benefits provided by our postretirement benefit plans are actuarially equivalent to those provided by the Act. We do not collect a subsidy and our net periodic postretirement benefits cost, and related benefit obligation, do not reflect an amount associated with the subsidy. We do not subsidize the premium cost of these plans; the premiums are entirely paid by the retirees.
We sponsor defined benefit plans in a number of countries outside of the U.S. The availability of these plans and their specific design provisions are consistent with local competitive practices and regulations.
The following table sets forth the funded status of the plans for us and Huntsman International and the amounts recognized in our consolidated balance sheets at December 31, 2025 and 2024 (dollars in millions):
| Defined benefit plans | Other postretirement benefit plans | |||||||||||||||||||||||||||||||
| 2025 | 2024 | 2025 | 2024 | |||||||||||||||||||||||||||||
| U.S. | Non-U.S. | U.S. | Non-U.S. | U.S. | Non-U.S. | U.S. | Non-U.S. | |||||||||||||||||||||||||
| plans | plans | plans | plans | plans | plans | plans | plans | |||||||||||||||||||||||||
| Change in plan assets: | ||||||||||||||||||||||||||||||||
| Fair value of plan assets at beginning of year | $ | $ | $ | $ | $ | $ | $ | $ | ||||||||||||||||||||||||
| Actual return on plan assets | ||||||||||||||||||||||||||||||||
| Foreign currency exchange rate changes | ( | ) | ||||||||||||||||||||||||||||||
| Participant contributions | ||||||||||||||||||||||||||||||||
| Settlements/transfers/divestitures | ( | ) | ( | ) | ||||||||||||||||||||||||||||
| Company contributions | ||||||||||||||||||||||||||||||||
| Benefits paid | ( | ) | ( | ) | ( | ) | ( | ) | ( | ) | ( | ) | ||||||||||||||||||||
| Fair value of plan assets at end of year | $ | $ | $ | $ | $ | $ | $ | $ | ||||||||||||||||||||||||
| Change in benefit obligation: | ||||||||||||||||||||||||||||||||
| Benefit obligation at beginning of year | $ | $ | $ | $ | $ | $ | $ | $ | ||||||||||||||||||||||||
| Service cost | ||||||||||||||||||||||||||||||||
| Interest cost | ||||||||||||||||||||||||||||||||
| Participant contributions | ||||||||||||||||||||||||||||||||
| Plan amendments | ||||||||||||||||||||||||||||||||
| Foreign currency exchange rate changes | ( | ) | ||||||||||||||||||||||||||||||
| Settlements/curtailments/divestitures/special termination benefits | ( | ) | ( | ) | ||||||||||||||||||||||||||||
| Actuarial loss (gain) | ( | ) | ( | ) | ( | ) | ( | ) | ||||||||||||||||||||||||
| Benefits paid | ( | ) | ( | ) | ( | ) | ( | ) | ( | ) | ( | ) | ||||||||||||||||||||
| Benefit obligation at end of year | $ | $ | $ | $ | $ | $ | $ | $ | ||||||||||||||||||||||||
| Funded status: | ||||||||||||||||||||||||||||||||
| Fair value of plan assets | $ | $ | $ | $ | $ | $ | $ | $ | ||||||||||||||||||||||||
| Benefit obligation | ( | ) | ( | ) | ( | ) | ( | ) | ( | ) | ( | ) | ||||||||||||||||||||
| (Under) over funded status | $ | ( | ) | $ | $ | ( | ) | $ | $ | ( | ) | $ | $ | ( | ) | $ | ||||||||||||||||
| Amounts recognized in balance sheet: | ||||||||||||||||||||||||||||||||
| Noncurrent asset | $ | $ | $ | $ | $ | $ | $ | $ | ||||||||||||||||||||||||
| Current liability | ( | ) | ( | ) | ( | ) | ( | ) | ( | ) | ( | ) | ||||||||||||||||||||
| Noncurrent liability | ( | ) | ( | ) | ( | ) | ( | ) | ( | ) | ( | ) | ||||||||||||||||||||
| Net (liability) asset | $ | ( | ) | $ | $ | ( | ) | $ | $ | ( | ) | $ | $ | ( | ) | $ | ||||||||||||||||
| Defined benefit plans | Other postretirement benefit plans | |||||||||||||||||||||||||||||||
| 2025 | 2024 | 2025 | 2024 | |||||||||||||||||||||||||||||
| U.S. | Non-U.S. | U.S. | Non-U.S. | U.S. | Non-U.S. | U.S. | Non-U.S. | |||||||||||||||||||||||||
| plans | plans | plans | plans | plans | plans | plans | plans | |||||||||||||||||||||||||
| Amounts recognized in accumulated other comprehensive loss: | ||||||||||||||||||||||||||||||||
| Net actuarial loss | $ | $ | $ | $ | $ | $ | $ | $ | ||||||||||||||||||||||||
| Prior service credit | ( | ) | ( | ) | ( | ) | ( | ) | ( | ) | ( | ) | ||||||||||||||||||||
| Total | $ | $ | $ | $ | $ | $ | $ | $ | ||||||||||||||||||||||||
During 2025, our overall net unfunded liability in our U.S. pension and other postretirement benefit plans decreased, primarily due to favorable investment returns, partially offset by lower discount rates.
During 2025, our overall net funded liability in our non-U.S. pension and other postretirement benefit plans increased, primarily due to an increase in the fair value of plan assets, partially offset by an increase in our projected benefit obligation. The increase in the fair value of plan assets was primarily due to the positive impact of major foreign currency exchange rate movements against the U.S. dollar, partially offset by lower than expected return on plan assets. The increase our projected benefit obligation was primarily due to the positive impact of major foreign currency exchange rate movements against the U.S. dollar, partially offset by an overall increase in discount rates.
During 2024, our overall net unfunded liability in our U.S. pension and other postretirement benefit plans decreased, primarily due to an increase in discount rates, partially offset with unfavorable investment returns and higher medical premiums. Our overall net funded liability in our non-U.S. pension plans decreased, primarily due to an increase in discount rates in most countries with significant impacts from Germany, the Netherlands and the U.K., partially offset by lower discount rates, primarily from Switzerland, and favorable investment returns from Belgium and the Netherlands. In addition, there were experience gains on liabilities from updated valuations in the Netherlands and Switzerland.
Components of net periodic benefit (credit) cost for the years ended December 31, 2025, 2024 and 2023 were as follows (dollars in millions):
| Defined benefit plans | ||||||||||||||||||||||||
| U.S. plans | Non-U.S. plans | |||||||||||||||||||||||
| 2025 | 2024 | 2023 | 2025 | 2024 | 2023 | |||||||||||||||||||
| Service cost | $ | $ | $ | $ | $ | $ | ||||||||||||||||||
| Interest cost(1) | ||||||||||||||||||||||||
| Expected return on plan assets(1) | ( | ) | ( | ) | ( | ) | ( | ) | ( | ) | ( | ) | ||||||||||||
| Amortization of prior service credit(1) | ( | ) | ( | ) | ( | ) | ( | ) | ( | ) | ( | ) | ||||||||||||
| Amortization of actuarial loss(1) | ||||||||||||||||||||||||
| Special termination benefits | ||||||||||||||||||||||||
| Settlement loss(1) | ||||||||||||||||||||||||
| Net periodic benefit cost (credit) | $ | $ | ( | ) | $ | ( | ) | $ | $ | $ | ||||||||||||||
| Other postretirement benefit plans | ||||||||||||||||||||||||
| U.S. plans | Non-U.S. plans | |||||||||||||||||||||||
| 2025 | 2024 | 2023 | 2025 | 2024 | 2023 | |||||||||||||||||||
| Service cost | $ | $ | $ | $ | $ | $ | ||||||||||||||||||
| Interest cost(1) | ||||||||||||||||||||||||
| Amortization of prior service credit(1) | ( | ) | ( | ) | ( | ) | ||||||||||||||||||
| Amortization of actuarial loss(1) | ||||||||||||||||||||||||
| Net periodic benefit cost (credit) | $ | $ | $ | ( | ) | $ | $ | $ | ||||||||||||||||
| (1) | Amounts are presented in other income (expense), net. |
The amounts recognized in net periodic benefit cost and other comprehensive income as of December 31, 2025, 2024 and 2023 were as follows (dollars in millions):
| Defined benefit plans | ||||||||||||||||||||||||
| U.S. plans | Non-U.S. plans | |||||||||||||||||||||||
| 2025 | 2024 | 2023 | 2025 | 2024 | 2023 | |||||||||||||||||||
| Current year actuarial (gain) loss | $ | ( | ) | $ | ( | ) | $ | ( | ) | $ | ( | ) | $ | ( | ) | $ | ||||||||
| Amortization of actuarial loss | ( | ) | ( | ) | ( | ) | ( | ) | ( | ) | ||||||||||||||
| Amortization of prior service credit | ||||||||||||||||||||||||
| Settlements | ( | ) | ( | ) | ( | ) | ||||||||||||||||||
| Total recognized in other comprehensive income | ( | ) | ( | ) | ( | ) | ( | ) | ( | ) | ||||||||||||||
| Amounts related to discontinued operations | ( | ) | ||||||||||||||||||||||
| Total recognized in other comprehensive income in continuing operations | ( | ) | ( | ) | ( | ) | ( | ) | ( | ) | ||||||||||||||
| Net periodic benefit cost (credit) | ( | ) | ( | ) | ||||||||||||||||||||
| Total recognized in net periodic benefit cost and other comprehensive income | $ | ( | ) | $ | ( | ) | $ | ( | ) | $ | ( | ) | $ | ( | ) | $ | ||||||||
| Other postretirement benefit plans | ||||||||||||||||||||||||
| U.S. plans | Non-U.S. plans | |||||||||||||||||||||||
| 2025 | 2024 | 2023 | 2025 | 2024 | 2023 | |||||||||||||||||||
| Current year actuarial gain | $ | ( | ) | $ | $ | ( | ) | $ | $ | $ | ||||||||||||||
| Amortization of actuarial loss | ( | ) | ||||||||||||||||||||||
| Current year prior service cost (credit) | ( | ) | ||||||||||||||||||||||
| Amortization of prior service credit | ||||||||||||||||||||||||
| Total recognized in other comprehensive income | ||||||||||||||||||||||||
| Amounts related to discontinued operations | ||||||||||||||||||||||||
| Total recognized in other comprehensive income in continuing operations | ||||||||||||||||||||||||
| Net periodic benefit cost (credit) | ( | ) | ||||||||||||||||||||||
| Total recognized in net periodic benefit cost and other comprehensive income | $ | $ | $ | $ | $ | $ | ||||||||||||||||||
The following weighted-average assumptions were used to determine the projected benefit obligation at the measurement date and the net periodic pension cost for the year:
| Defined benefit plans | ||||||||||||||||||||||||
| U.S. plans | Non-U.S. plans | |||||||||||||||||||||||
| 2025 | 2024 | 2023 | 2025 | 2024 | 2023 | |||||||||||||||||||
| Projected benefit obligation: | ||||||||||||||||||||||||
| Discount rate | % | % | % | % | % | % | ||||||||||||||||||
| Rate of compensation increase | % | % | % | % | % | % | ||||||||||||||||||
| Interest credit rate | % | % | % | % | % | % | ||||||||||||||||||
| Net periodic pension cost: | ||||||||||||||||||||||||
| Discount rate | % | % | % | % | % | % | ||||||||||||||||||
| Rate of compensation increase | % | % | % | % | % | % | ||||||||||||||||||
| Expected return on plan assets | % | % | % | % | % | % | ||||||||||||||||||
| Interest credit rate | % | % | % | % | % | % | ||||||||||||||||||
| Other postretirement benefit plans | ||||||||||||||||||||||||
| U.S. plans | Non-U.S. plans | |||||||||||||||||||||||
| 2025 | 2024 | 2023 | 2025 | 2024 | 2023 | |||||||||||||||||||
| Projected benefit obligation: | ||||||||||||||||||||||||
| Discount rate | % | % | % | % | % | % | ||||||||||||||||||
| Net periodic pension cost: | ||||||||||||||||||||||||
| Discount rate | % | % | % | % | % | % | ||||||||||||||||||
The expected long-term rate of return on pension assets assumption was based upon historical returns and the expectations of our investment committee and outside advisors.
At December 31, 2025 and 2024, the healthcare trend rates used to measure the expected increase of the cost of benefits were assumed to be
The projected benefit obligation and fair value of plan assets for the defined benefit plans with projected benefit obligations in excess of plan assets as of December 31, 2025 and 2024 were as follows (dollars in millions):
| U.S. plans | Non-U.S. plans | |||||||||||||||
| 2025 | 2024 | 2025 | 2024 | |||||||||||||
| Projected benefit obligation in excess of plan assets: | ||||||||||||||||
| Projected benefit obligation | $ | $ | $ | $ | ||||||||||||
| Fair value of plan assets | ||||||||||||||||
The projected benefit obligation, accumulated benefit obligation and fair value of plan assets for the defined benefit plans with an accumulated benefit obligation in excess of plan assets as of December 31, 2025 and 2024 were as follows (dollars in millions):
| U.S. plans | Non-U.S. plans | |||||||||||||||
| 2025 | 2024 | 2025 | 2024 | |||||||||||||
| Accumulated benefit obligation in excess of plan assets: | ||||||||||||||||
| Projected benefit obligation | $ | $ | $ | $ | ||||||||||||
| Accumulated benefit obligation | ||||||||||||||||
| Fair value of plan assets | ||||||||||||||||
The accumulated benefit obligation of our defined pension plans as of December 31, 2025 and 2024 was $
Expected future contributions and benefit payments related to continuing operations are as follows (dollars in millions):
| U.S. plans | Non-U.S. plans | ||||||||||||||||
| Other | Other | ||||||||||||||||
| Defined | postretirement | Defined | postretirement | ||||||||||||||
| benefit | benefit | benefit | benefit | ||||||||||||||
| plans | plans | plans | plans | ||||||||||||||
| 2026 expected employer contributions | $ | $ | $ | $ | |||||||||||||
| Expected benefit payments: | |||||||||||||||||
| 2026 | |||||||||||||||||
| 2027 | |||||||||||||||||
| 2028 | |||||||||||||||||
| 2029 | |||||||||||||||||
| 2030 | |||||||||||||||||
| 2031 - 2035 | |||||||||||||||||
Our investment strategy with respect to pension assets is to pursue an investment plan that, over the long term, is expected to protect the funded status of the plan, enhance the real purchasing power of plan assets and not threaten the plan’s ability to meet currently committed obligations. Additionally, our investment strategy is to achieve returns on plan assets, subject to a prudent level of portfolio risk. Plan assets are invested in a broad range of investments. These investments are diversified in terms of domestic and international equities, both growth and value funds, including small, mid and large capitalization equities; short-term and long-term debt securities; real estate; and cash and cash equivalents. The investments are further diversified within each asset category. The portfolio diversification provides protection against a single investment or asset category having a disproportionate impact on the aggregate performance of the plan assets.
Our pension plan assets are managed by outside investment managers. The investment managers value our plan assets using quoted market prices, other observable inputs or unobservable inputs. For certain assets, the investment managers obtain third-party appraisals at least annually, which use valuation techniques and inputs specific to the applicable property, market or geographic location. During 2025 and 2024, there were
We have established target allocations for each asset category. Our pension plan assets are periodically rebalanced based upon our target allocations.
The fair value of plan assets for the pension plans was $
| Fair value amounts using | ||||||||||||||||
| Quoted prices in active | Significant other | Significant | ||||||||||||||
| December 31, | markets for identical | observable inputs | unobservable inputs | |||||||||||||
| Asset category | 2025 | assets (Level 1) | (Level 2) | (Level 3) | ||||||||||||
| U.S. pension plans: | ||||||||||||||||
| Equities | $ | $ | $ | $ | ||||||||||||
| Fixed income | ||||||||||||||||
| Real estate/other | ||||||||||||||||
| Cash | ||||||||||||||||
| Total U.S. pension plan assets | $ | $ | $ | $ | ||||||||||||
| Non-U.S. pension plans: | ||||||||||||||||
| Equities | $ | $ | $ | $ | ||||||||||||
| Fixed income | ||||||||||||||||
| Real estate/other | ||||||||||||||||
| Cash | ||||||||||||||||
| Total non-U.S. pension plan assets | $ | $ | $ | $ | ||||||||||||
| Fair value amounts using | ||||||||||||||||
| Quoted prices in active | Significant other | Significant | ||||||||||||||
| December 31, | markets for identical | observable inputs | unobservable inputs | |||||||||||||
| Asset category | 2024 | assets (Level 1) | (Level 2) | (Level 3) | ||||||||||||
| U.S. pension plans: | ||||||||||||||||
| Equities | $ | $ | $ | $ | ||||||||||||
| Fixed income | ||||||||||||||||
| Real estate/other | ||||||||||||||||
| Cash | ||||||||||||||||
| Total U.S. pension plan assets | $ | $ | $ | $ | ||||||||||||
| Non-U.S. pension plans: | ||||||||||||||||
| Equities | $ | $ | $ | $ | ||||||||||||
| Fixed income | ||||||||||||||||
| Real estate/other | ||||||||||||||||
| Cash | ||||||||||||||||
| Total non-U.S. pension plan assets | $ | $ | $ | $ | ||||||||||||
The following table reconciles the beginning and ending balances of plan assets measured at fair value using unobservable inputs (Level 3) (dollars in millions):
| Real estate/other | ||||||||
| Year ended December 31, | ||||||||
| 2025 | 2024 | |||||||
| Fair value measurements of plan assets using significant unobservable inputs (Level 3): | ||||||||
| Balance at beginning of period | $ | $ | ||||||
| Return on pension plan assets | ( | ) | ||||||
| Purchases, sales and settlements, net | ( | ) | ||||||
| Transfers into (out of) Level 3 | ||||||||
| Balance at end of period | $ | $ | ||||||
The asset allocation for our pension plans at December 31, 2025 and 2024 and the target allocation for 2025, by asset category, are as follows:
| Target | ||||||||||||
| allocation | Allocation at December 31, | |||||||||||
| Asset category | 2026 | 2025 | 2024 | |||||||||
| U.S. pension plans: | ||||||||||||
| Equities | % | % | % | |||||||||
| Fixed income | % | % | % | |||||||||
| Real estate/other | % | % | % | |||||||||
| Cash | % | % | % | |||||||||
| Total U.S. pension plans | % | % | % | |||||||||
| Non-U.S. pension plans: | ||||||||||||
| Equities | % | % | % | |||||||||
| Fixed income | % | % | % | |||||||||
| Real estate/other | % | % | % | |||||||||
| Cash | % | % | % | |||||||||
| Total non-U.S. pension plans | % | % | % | |||||||||
Equity securities in our pension plans did not include any direct investments in equity securities of our Company or our affiliates at the end of 2025.
Defined Contribution Plans
We have defined contribution plans in a variety of global locations. Our total combined expense for our defined contribution plans for the years ended December 31, 2025, 2024 and 2023 was $
In the U.S., we had a money purchase pension plan that covered substantially all of our domestic employees who were hired prior to January 1, 2004. Employer contributions were made based on a percentage of employees’ earnings (ranging up to
We have a salary deferral plan covering substantially all U.S. employees. Plan participants may elect to make voluntary contributions to this plan up to a specified amount of their compensation. We contribute an amount equal to the participant’s contribution, not to exceed
SUPPLEMENTAL SALARY DEFFERAL PLAN AND SUPPLEMENTAL EXECUTIVE RETIREMENT PLAN
The Huntsman Supplemental Savings Plan (the “SSP”) is a non-qualified plan covering key management employees and allows participants to defer amounts that would otherwise be paid as compensation. The participant can defer up to
The Huntsman Supplemental Executive Retirement Plan is an unfunded non-qualified pension plan established to provide certain executive employees with benefits that could not be provided, due to legal limitations, under the Huntsman Defined Benefit Pension Plan, a qualified defined benefit pension plan, and the Huntsman Money Purchase Pension Plan, a qualified money purchase pension plan.
Stock-Based Incentive Plan
On April 30, 2025, our stockholders approved a new Huntsman Corporation 2025 Stock Incentive Plan (the ‘‘2025 Stock Incentive Plan’’), which reserved
International Plans
International employees are covered by various post-employment arrangements consistent with local practices and regulations. Such obligations are included in other long-term liabilities in our consolidated balance sheets.
20. INCOME TAXES
The following is a summary of U.S. and non-U.S. provisions for current and deferred income tax expense from continuing operations (dollars in millions):
Huntsman Corporation
| Year ended December 31, | ||||||||||||
| 2025 | 2024 | 2023 | ||||||||||
| Current: | ||||||||||||
| U.S. federal | $ | $ | $ | |||||||||
| U.S. state and local | ||||||||||||
| Foreign | ||||||||||||
| Deferred: | ||||||||||||
| U.S. federal | ( | ) | ( | ) | ( | ) | ||||||
| U.S. state and local | ( | ) | ( | ) | ||||||||
| Foreign | ||||||||||||
| Total | $ | $ | $ | |||||||||
Huntsman International
| Year ended December 31, | ||||||||||||
| 2025 | 2024 | 2023 | ||||||||||
| Current: | ||||||||||||
| U.S. federal | $ | $ | $ | |||||||||
| U.S. state and local | ||||||||||||
| Foreign | ||||||||||||
| Deferred: | ||||||||||||
| U.S. federal | ( | ) | ( | ) | ( | ) | ||||||
| U.S. state and local | ( | ) | ( | ) | ||||||||
| Foreign | ||||||||||||
| Total | $ | $ | $ | |||||||||
We have elected to prospectively adopt ASU No. 2023-09, Income Taxes (Topic 740): Improvements to Income Tax Disclosures.
The following provides a disaggregation of income taxes paid, net of refunds received, by U.S. federal and state income taxes and foreign income taxes for the year ended December 31, 2025 in accordance with the guidance in ASU No. 2023-09 (dollars in millions):
| Year ended December 31, | ||||
| 2025 | ||||
| Income taxes paid (net of refunds) by jurisdiction: | ||||
| U.S. federal | $ | |||
| U.S. state and local | ||||
| Foreign: | ||||
| China | ||||
| Germany | ||||
| Saudi Arabia | ||||
| All other foreign jurisdictions | ||||
| Total | $ | |||
The following schedules reconcile the differences between U.S. federal income taxes at the U.S. statutory rate to our provision for income taxes from continuing operations for the year ended December 31, 2025 in accordance with the guidance in ASU No. 2023-09 (dollars in millions):
Huntsman Corporation
| Year ended December 31, 2025 | ||||||||
| Amount | Percent | |||||||
| Loss from continuing operations before income taxes | $ | ( | ) | |||||
| Expected income tax benefit at U.S. statutory rate of 21% | $ | ( | ) | % | ||||
| Change resulting from: | ||||||||
| State tax benefit, net of federal effect(1) | ||||||||
| Foreign tax effects: | ||||||||
| China: | ||||||||
| Statutory tax rate difference | ( | )% | ||||||
| Withholding tax on repatriated earnings, interest and royalties | ( | )% | ||||||
| Other | ( | )% | ||||||
| Germany: | ||||||||
| Statutory tax rate difference | ( | )% | ||||||
| Deferred tax effect of non-U.S. tax rate changes | ( | )% | ||||||
| State trade tax benefit | ( | ) | % | |||||
| State trade tax changes in valuation allowances | ( | )% | ||||||
| Changes in valuation allowances | ( | )% | ||||||
| Luxembourg: | ||||||||
| Nondeductible currency exchange losses | ( | )% | ||||||
| Changes in valuation allowances | ( | ) | % | |||||
| Other | ( | )% | ||||||
| Netherlands: | ||||||||
| Statutory tax rate difference | ( | ) | % | |||||
| Nontaxable currency exchange gains | ( | ) | % | |||||
| Changes in valuation allowances | ( | )% | ||||||
| Other | ( | )% | ||||||
| Saudi Arabia: | ||||||||
| Nontaxable minority partner share of income | ( | ) | % | |||||
| Other | ( | ) | % | |||||
| Switzerland: | ||||||||
| Statutory tax rate difference | ( | ) | % | |||||
| Cantonal tax expense | ( | )% | ||||||
| Turkey: | ||||||||
| Changes in valuation allowances | ( | )% | ||||||
| U.K.: | ||||||||
| Changes in valuation allowances | ( | )% | ||||||
| Other | ( | ) | % | |||||
| Other foreign jurisdictions: | ||||||||
| Other | ( | )% | ||||||
| Effect of changes in tax laws or rates enacted in the current period | ||||||||
| Effect of cross-border tax laws | ||||||||
| Tax credits—research and development credits | ( | ) | % | |||||
| Changes in valuation allowances | ( | ) | % | |||||
| Nontaxable or nondeductible items: | ||||||||
| Other U.S. tax effects, including nondeductible expenses and other items | ( | )% | ||||||
| Stock-based compensation | ( | )% | ||||||
| Changes in unrecognized tax benefits | ( | )% | ||||||
| Income tax expense and effective income tax rate | $ | ( | )% | |||||
Huntsman International
| Year ended December 31, 2025 | ||||||||
| Amount | Percent | |||||||
| Loss from continuing operations before income taxes | $ | ( | ) | |||||
| Expected income tax benefit at U.S. statutory rate of 21% | $ | ( | ) | % | ||||
| Change resulting from: | ||||||||
| State tax benefit, net of federal effect(1) | ||||||||
| Foreign tax effects: | ||||||||
| China: | ||||||||
| Statutory tax rate difference | ( | )% | ||||||
| Withholding tax on repatriated earnings, interest and royalties | ( | )% | ||||||
| Other | ( | )% | ||||||
| Germany: | ||||||||
| Statutory tax rate difference | ( | )% | ||||||
| Deferred tax effect of non-U.S. tax rate changes | ( | )% | ||||||
| State trade tax benefit | ( | ) | % | |||||
| State trade tax changes in valuation allowances | ( | )% | ||||||
| Changes in valuation allowances | ( | )% | ||||||
| Luxembourg: | ||||||||
| Nondeductible currency exchange losses | ( | )% | ||||||
| Changes in valuation allowances | ( | ) | % | |||||
| Other | ( | )% | ||||||
| Netherlands: | ||||||||
| Statutory tax rate difference | ( | ) | % | |||||
| Nontaxable currency exchange gains | ( | ) | % | |||||
| Changes in valuation allowances | ( | )% | ||||||
| Other | ( | )% | ||||||
| Saudi Arabia: | ||||||||
| Nontaxable minority partner share of income | ( | ) | % | |||||
| Other | ( | ) | % | |||||
| Switzerland: | ||||||||
| Statutory tax rate difference | ( | ) | % | |||||
| Cantonal tax expense | ( | )% | ||||||
| Turkey: | ||||||||
| Changes in valuation allowances | ( | )% | ||||||
| U.K.: | ||||||||
| Changes in valuation allowances | ( | )% | ||||||
| Other | ( | ) | % | |||||
| Other foreign jurisdictions: | ||||||||
| Other | ( | )% | ||||||
| Effect of changes in tax laws or rates enacted in the current period | ||||||||
| Effect of cross-border tax laws | ||||||||
| Tax credits—research and development credits | ( | ) | % | |||||
| Changes in valuation allowances | ( | ) | % | |||||
| Nontaxable or nondeductible items: | ||||||||
| Other U.S. tax effects, including nondeductible expenses and other items | ( | )% | ||||||
| Stock-based compensation | ( | )% | ||||||
| Changes in unrecognized tax benefits | ( | )% | ||||||
| Income tax expense and effective income tax rate | $ | ( | )% | |||||
| (1) | Our state tax benefit, net of federal effect is |
The following schedules reconcile the differences between U.S. federal income taxes at the U.S. statutory rate to our provision for income taxes from continuing operations for the years ended December 31, 2024 and 2023 in accordance with the guidance prior to the adoption of ASU No. 2023-09 (dollars in millions):
Huntsman Corporation
| Year ended December 31, | ||||||||
| 2024 | 2023 | |||||||
| (Loss) income from continuing operations before income taxes | $ | ( | ) | $ | ||||
| Expected tax (benefit) expense at U.S. statutory rate of 21% | $ | ( | ) | $ | ||||
| Change resulting from: | ||||||||
| State tax expense, net of federal benefit | ( | ) | ( | ) | ||||
| Non-U.S. tax rate differentials | ( | ) | ||||||
| Income tax settlement related to 2017 U.S. Tax Reform Act | ||||||||
| Loss from liquidation of subsidiaries | ||||||||
| Gain on acquisition of assets, net | ( | ) | ||||||
| Impact of equity method investments | ( | ) | ( | ) | ||||
| Non-U.S. withholding tax on repatriated earnings, interest and royalties, net of U.S. foreign tax credits | ||||||||
| Tax authority audits and dispute resolutions | ||||||||
| Non-U.S. income subject to U.S. tax not offset by U.S. foreign tax credits | ( | ) | ||||||
| Deferred tax effect of non-U.S. tax rate changes | ( | ) | ||||||
| Stock-based compensation | ||||||||
| Other non-U.S. tax effects, including nondeductible expenses and transfer pricing adjustments | ||||||||
| Other U.S. tax effects, including nondeductible expenses and other credits | ( | ) | ||||||
| Change in valuation allowance | ||||||||
| Total income tax expense | $ | $ | ||||||
Huntsman International
| Year ended December 31, | ||||||||
| 2024 | 2023 | |||||||
| (Loss) income from continuing operations before income taxes | $ | ( | ) | $ | ||||
| Expected tax (benefit) expense at U.S. statutory rate of 21% | $ | ( | ) | $ | ||||
| Change resulting from: | ||||||||
| State tax expense, net of federal benefit | ( | ) | ( | ) | ||||
| Non-U.S. tax rate differentials | ( | ) | ||||||
| Income tax settlement related to 2017 U.S. Tax Reform Act | ||||||||
| Loss from liquidation of subsidiaries | ||||||||
| Gain on acquisition of assets, net | ( | ) | ||||||
| Impact of equity method investments | ( | ) | ( | ) | ||||
| Non-U.S. withholding tax on repatriated earnings, interest and royalties, net of U.S. foreign tax credits | ||||||||
| Tax authority audits and dispute resolutions | ||||||||
| Non-U.S. income subject to U.S. tax not offset by U.S. foreign tax credits | ( | ) | ||||||
| Deferred tax effect of non-U.S. tax rate changes | ( | ) | ||||||
| Stock-based compensation | ||||||||
| Other non-U.S. tax effects, including nondeductible expenses and transfer pricing adjustments | ||||||||
| Other U.S. tax effects, including nondeductible expenses and other credits | ( | ) | ||||||
| Change in valuation allowance | ||||||||
| Total income tax expense | $ | $ | ||||||
During 2024, the weighted average statutory rate for countries with pre-tax income (primarily our operations in China (25% statutory rate) and Luxembourg (25% statutory rate)) was offset by the weighted average statutory rate for countries with pre-tax losses, resulting in a net tax benefit of $
Under the U.S. Tax Reform Act’s global intangible low-taxed income (“GILTI”) provision, our non-U.S. operations are generally subject to U.S. tax. We have elected to treat the GILTI as a current-period expense when incurred. The stated purpose of the GILTI rules is to generate additional U.S. tax related to income in non-U.S. jurisdictions, which incur less than a blended 14% (13.125% for years before 2025) non-U.S. tax rate. Our non-U.S. income is subject to a blended rate greater than 14% and 13.125%; however, in practice, the GILTI regulations result in additional tax liability from expense allocations which limit our ability to utilize foreign tax credits against the GILTI inclusion. For 2024 and 2023, we incurred a tax benefit of $
On July 4, 2025, the U.S. enacted tax reform legislation through the One Big Beautiful Bill Act (“OBBBA”). Included in this legislation are provisions that allow for the immediate expensing of domestic U.S. research and development expenses, immediate expensing of certain capital expenditures, changes to the interest expense limitation and other changes to the U.S. taxation of profits derived from foreign operations. OBBBA did not have a material impact on our consolidated financial statements.
The components of (loss) income from continuing operations before income taxes were as follows (dollars in millions):
Huntsman Corporation
| Year ended December 31, | ||||||||||||
| 2025 | 2024 | 2023 | ||||||||||
| U.S. | $ | ( | ) | $ | ( | ) | $ | ( | ) | |||
| Non-U.S. | ||||||||||||
| Total | $ | ( | ) | $ | ( | ) | $ | |||||
Huntsman International
| Year ended December 31, | ||||||||||||
| 2025 | 2024 | 2023 | ||||||||||
| U.S. | $ | ( | ) | $ | ( | ) | $ | ( | ) | |||
| Non-U.S. | ||||||||||||
| Total | $ | ( | ) | $ | ( | ) | $ | |||||
Components of deferred income tax assets and liabilities were as follows (dollars in millions):
Huntsman Corporation
| December 31, | ||||||||
| 2025 | 2024 | |||||||
| Deferred income tax assets: | ||||||||
| Net operating loss carryforwards | $ | $ | ||||||
| Operating leases | ||||||||
| Pension and other employee compensation | ||||||||
| Deferred interest | ||||||||
| Capitalized research and development costs | ||||||||
| Property, plant and equipment | ||||||||
| Intangible assets | ||||||||
| Intercompany prepayments | ||||||||
| Other, net | ||||||||
| Total | $ | $ | ||||||
| Deferred income tax liabilities: | ||||||||
| Property, plant and equipment | $ | ( | ) | $ | ( | ) | ||
| Operating leases | ( | ) | ( | ) | ||||
| Intangible assets | ( | ) | ( | ) | ||||
| Pension and other employee compensation | ( | ) | ( | ) | ||||
| Outside basis difference in subsidiaries | ( | ) | ( | ) | ||||
| Unrealized currency gains | ( | ) | ( | ) | ||||
| Other, net | ( | ) | ( | ) | ||||
| Total | $ | ( | ) | $ | ( | ) | ||
| Net deferred tax asset before valuation allowance | $ | $ | ||||||
| Valuation allowance—net operating losses, deferred interest and other | ( | ) | ( | ) | ||||
| Net deferred tax liability | $ | ( | ) | $ | ( | ) | ||
| Non-current deferred tax asset | $ | $ | ||||||
| Non-current deferred tax liability | ( | ) | ( | ) | ||||
| Net deferred tax liability | $ | ( | ) | $ | ( | ) | ||
Huntsman International
| December 31, | ||||||||
| 2025 | 2024 | |||||||
| Deferred income tax assets: | ||||||||
| Net operating loss carryforwards | $ | $ | ||||||
| Operating leases | ||||||||
| Pension and other employee compensation | ||||||||
| Deferred interest | ||||||||
| Capitalized research and development costs | ||||||||
| Property, plant and equipment | ||||||||
| Intangible assets | ||||||||
| Intercompany prepayments | ||||||||
| Other, net | ||||||||
| Total | $ | $ | ||||||
| Deferred income tax liabilities: | ||||||||
| Property, plant and equipment | $ | ( | ) | $ | ( | ) | ||
| Operating leases | ( | ) | ( | ) | ||||
| Intangible assets | ( | ) | ( | ) | ||||
| Pension and other employee compensation | ( | ) | ( | ) | ||||
| Outside basis difference in subsidiaries | ( | ) | ( | ) | ||||
| Unrealized currency gains | ( | ) | ( | ) | ||||
| Other, net | ( | ) | ( | ) | ||||
| Total | $ | ( | ) | $ | ( | ) | ||
| Net deferred tax asset before valuation allowance | $ | $ | ||||||
| Valuation allowance—net operating losses, deferred interest and other | ( | ) | ( | ) | ||||
| Net deferred tax liability | $ | ( | ) | $ | ( | ) | ||
| Non-current deferred tax asset | ||||||||
| Non-current deferred tax liability | ( | ) | ( | ) | ||||
| Net deferred tax liability | $ | ( | ) | $ | ( | ) | ||
We evaluate deferred tax assets to determine whether it is more likely than not that they will be realized. Valuation allowances are reviewed each period on a tax jurisdiction basis and analyzed to determine whether there is sufficient positive or negative evidence to support a change in judgment about the realizability of the related deferred tax assets. These conclusions require significant judgment. In evaluating the objective evidence that historical results provide, we consider cumulative income or losses during the applicable three-year period. Cumulative losses incurred over the three-year period limit our ability to consider other evidence such as our projections for the future. Our judgments regarding valuation allowances are also influenced by factors outside of business results, including the costs and risks associated with any tax planning associated with utilizing a deferred tax asset.
During 2025, we recorded a discrete release of valuation allowances of approximately $
We have gross net operating losses (“NOLs”) of $
We have gross U.S. federal NOLs of $
Included in the $
We have $
We have gross U.S. federal deferred interest deductions of $
Uncertainties regarding expected future income in certain jurisdictions could affect the realization of deferred tax assets in those jurisdictions and result in additional valuation allowances in future periods, or, in the case of unexpected pre-tax earnings, the release of valuation allowances in future periods.
The following is a summary of changes in our valuation allowances (dollars in millions):
Huntsman Corporation
| 2025 | 2024 | 2023 | ||||||||||
| Valuation allowances as of January 1 | $ | $ | $ | |||||||||
| Valuation allowances as of December 31 | ||||||||||||
| Net increase | ( | ) | ( | ) | ( | ) | ||||||
| Foreign currency movements | ( | ) | ||||||||||
| Decrease to deferred tax assets with no impact on operating tax expense, including an offsetting (decrease) increase to valuation allowances | ( | ) | ( | ) | ||||||||
| Change in valuation allowances per rate reconciliation | $ | ( | ) | $ | ( | ) | $ | ( | ) | |||
| Components of change in valuation allowances affecting tax expense: | ||||||||||||
| Pre-tax income and losses in jurisdictions with valuation allowances resulting in no tax expense or benefit | $ | ( | ) | $ | ( | ) | $ | ( | ) | |||
| Releases of valuation allowances in various jurisdictions | ||||||||||||
| Establishments of valuation allowances in various jurisdictions | ( | ) | ( | ) | ( | ) | ||||||
| Change in valuation allowances per rate reconciliation | $ | ( | ) | $ | ( | ) | $ | ( | ) | |||
Huntsman International
| 2025 | 2024 | 2023 | ||||||||||
| Valuation allowances as of January 1 | $ | $ | $ | |||||||||
| Valuation allowances as of December 31 | ||||||||||||
| Net increase | ( | ) | ( | ) | ( | ) | ||||||
| Foreign currency movements | ( | ) | ||||||||||
| Decrease to deferred tax assets with no impact on operating tax expense, including an offsetting (decrease) increase to valuation allowances | ( | ) | ( | ) | ||||||||
| Change in valuation allowances per rate reconciliation | $ | ( | ) | $ | ( | ) | $ | ( | ) | |||
| Components of change in valuation allowances affecting tax expense: | ||||||||||||
| Pre-tax income and losses in jurisdictions with valuation allowances resulting in no tax expense or benefit | $ | ( | ) | $ | ( | ) | $ | ( | ) | |||
| Releases of valuation allowances in various jurisdictions | ||||||||||||
| Establishments of valuation allowances in various jurisdictions | ( | ) | ( | ) | ( | ) | ||||||
| Change in valuation allowances per rate reconciliation | $ | ( | ) | $ | ( | ) | $ | ( | ) | |||
The following is a reconciliation of our unrecognized tax benefits (dollars in millions):
| 2025 | 2024 | |||||||
| Unrecognized tax benefits as of January 1 | $ | $ | ||||||
| Gross increases and decreases—tax positions taken during a prior period | ||||||||
| Gross increases and decreases—tax positions taken during the current period | ||||||||
| Reductions resulting from the lapse of statues of limitations | ( | ) | ||||||
| Foreign currency movements | ||||||||
| Unrecognized tax benefits as of December 31 | $ | $ | ||||||
As of December 31, 2025 and 2024, the amount of unrecognized tax benefits (not including interest and penalties) which, if recognized, would affect the effective tax rate is $
During 2025, we concluded and settled tax examinations in the U.S. (federal and various states), China, France, Germany and Hong Kong. During 2024, we concluded and settled tax examinations in the U.S. (federal and various states), Belgium, China, Germany and Italy. During 2023, we concluded and settled tax examinations in the U.S. (federal and various states), Germany, Indonesia, Singapore and Thailand.
During 2025, for unrecognized tax benefits that impact tax expense, we recorded a net increase in unrecognized tax benefits with a corresponding income tax expense (not including interest and penalties) of $
We recognized accrued interest related to unrecognized tax benefits in income tax expense as provided below (dollars in millions):
| Year ended December 31, | ||||||||||||
| 2025 | 2024 | 2023 | ||||||||||
| Interest included in tax expense | $ | $ | $ | |||||||||
| December 31, | ||||||||
| 2025 | 2024 | |||||||
| Accrued liability for interest | $ | $ | ||||||
We conduct business globally, and as a result, we file income tax returns in U.S. federal, various U.S. state and various non-U.S. jurisdictions. The following table summarizes the tax years that remain subject to examination by major tax jurisdictions:
| Tax jurisdiction | Open tax years | |
| Belgium |
| |
| China |
| |
| Germany |
| |
| Hong Kong |
| |
| India |
| |
| Mexico |
| |
| Switzerland |
| |
| The Netherlands |
| |
| United Kingdom |
| |
| United States federal |
|
Certain of our U.S. and non-U.S. income tax returns are currently under various stages of audit by applicable tax authorities and the amounts ultimately agreed upon in resolution of the issues raised may differ materially from the amounts accrued.
In connection with the provisions of U.S. Tax Reform, all non-U.S. earnings have generally been subject to U.S. tax and may be repatriated without incurring additional U.S. tax liability. Such repatriation may potentially be subject to limited foreign withholding taxes. We have accrued withholding taxes in countries where we do intend to repatriate some or all of the local retained earnings. For all other amounts and countries, we intend to continue to invest our retained earnings indefinitely and therefore not incur any significant additional taxes on those amounts.
21. COMMITMENTS AND CONTINGENCIES
Purchase Commitments
We have various purchase commitments extending through 2043 for materials, supplies and services entered into in the ordinary course of business. Included in these purchase commitments are contracts which require minimum volume purchases that extend beyond year or are renewable annually and have been renewed in 2025. Certain contracts allow for changes in minimum required purchase volumes in the event of a temporary or permanent shutdown of a facility. The contractual purchase prices for substantially all of these contracts are variable based upon market prices, subject to annual negotiations. We have estimated our contractual obligations by using the terms of our current pricing for each contract. As of December 31, 2025, we had unconditional purchase commitments of approximately $
We also have a limited number of contracts which require a minimum payment even if no volume is purchased. We believe that all of our purchase obligations will be utilized in our normal operations. We made minimum payments of $
Legal Matters
On February 6, 2025, the Louisiana Supreme Court affirmed the jury verdict and district court judgment in our favor in our long-running court battle against Praxair/Linde, one of the industrial gas suppliers to our Geismar, Louisiana MDI manufacturing site, and entered a damages award consistent with Huntsman’s expert witness testimony at trial. The case was filed after Praxair refused to maintain properly its own Geismar facility and then repeatedly failed to supply our requirements for industrial gases needed to manufacture MDI under long-term supply contracts that expired in 2013. During the first quarter of 2025, we received a final award of approximately $
22. ENVIRONMENTAL, HEALTH AND SAFETY MATTERS
EHS Capital Expenditures
We may incur future costs for capital improvements and general compliance under EHS laws, including costs to acquire, maintain and repair pollution control equipment. For the years ended December 31, 2025, 2024 and 2023, our capital expenditures for EHS matters totaled $
Environmental Reserves
We have accrued liabilities relating to anticipated environmental cleanup obligations, site reclamation and closure costs and known penalties. Liabilities are recorded when potential liabilities are either known or considered probable and can be reasonably estimated. Our liability estimates are calculated using present value techniques as appropriate and are based upon requirements placed upon us by regulators, available facts, existing technology and past experience. The environmental liabilities do not include amounts recorded as asset retirement obligations. We had accrued $
Environmental Matters
Under the Comprehensive Environmental Response, Compensation, and Liability Act (“CERCLA”) and similar state laws, a current or former owner or operator of real property in the U.S. may be liable for remediation costs regardless of whether the release or disposal of hazardous substances was in compliance with law at the time it occurred, and a current owner or operator may be liable regardless of whether it owned or operated the facility at the time of the release. Outside the U.S., analogous contaminated property laws can hold past owners and/or operators liable for remediation at former facilities. Currently, there are approximately former facilities or third-party sites in the U.S. for which we have been notified of potential claims against us for cleanup liabilities, including, but not limited to, sites listed under CERCLA. Based on current information and past experiences at other CERCLA sites, we do not expect these third-party claims to have a material impact on our consolidated financial statements.
Under the Resource Conservation and Recovery Act (“RCRA”) in the U.S. and similar state laws, we may be required to remediate contamination originating from our properties. Similar laws exist in a number of non-U.S. locations in which we currently operate, or previously operated, manufacturing facilities. Some of our manufacturing sites have an extended history of industrial chemical manufacturing and use, including on-site waste disposal. We are aware of soil, groundwater or surface contamination from past operations at some of our sites, and we may find contamination at other sites in the future. For example, our Geismar, Louisiana facility is the subject of ongoing remediation requirements imposed under RCRA.
23. HUNTSMAN CORPORATION STOCKHOLDERS’ EQUITY
Share Repurchase Program
On October 26, 2021, our Board of Directors approved a new share repurchase program of $
Dividends on Common Stock
The following tables represent dividends on common stock for our Company for the years ended December 31, 2025 and 2024 (dollars in millions, except per share payment amounts):
| Per share | Dividends | |||||||
| Quarter ended | payment amount | declared | ||||||
| March 31, 2025 | $ | $ | ||||||
| June 30, 2025 | ||||||||
| September 30, 2025 | ||||||||
| December 31, 2025 | ||||||||
| Per share | Dividends | |||||||
| Quarter ended | payment amount | declared | ||||||
| March 31, 2024 | $ | $ | ||||||
| June 30, 2024 | ||||||||
| September 30, 2024 | ||||||||
| December 31, 2024 | ||||||||
24. STOCK-BASED COMPENSATION PLAN
On April 30, 2025, our stockholders approved the 2025 Stock Incentive Plan, which reserved
The compensation cost under the 2016 Stock Incentive Plan and the Prior Plan for our Company and Huntsman International were as follows (dollars in millions):
| Year ended December 31, | ||||||||||||
| 2025 | 2024 | 2023 | ||||||||||
| Huntsman Corporation compensation cost | $ | $ | $ | |||||||||
| Huntsman International compensation cost | ||||||||||||
The total income tax benefit recognized in the statements of operations for stock-based compensation arrangements was $
Stock Options
The fair value of each stock option award is estimated on the date of grant using the Black-Scholes valuation model that uses the assumptions noted in the following table. Expected volatilities are based on the historical volatility of our common stock through the grant date. The expected term of options granted was estimated based on the contractual term of the instruments and employees’ expected exercise and post-vesting employment termination behavior. The risk-free rate for periods within the contractual life of the option was based on the U.S. Treasury yield curve in effect at the time of grant. The assumptions noted below represent the weighted averages of the assumptions utilized for all stock options granted during the year. During the years ended December 31, 2025, 2024 and 2023,
A summary of stock option activity under the 2016 Stock Incentive Plan and the Prior Plan as of December 31, 2025 and changes during the year then ended is presented below:
| Weighted | ||||||||||||||||
| Weighted | average | |||||||||||||||
| average | remaining | Aggregate | ||||||||||||||
| exercise | contractual | intrinsic | ||||||||||||||
| Option awards | Shares | price | term | value | ||||||||||||
| (in thousands) | (years) | (in millions) | ||||||||||||||
| Outstanding at January 1, 2025 | $ | |||||||||||||||
| Exercised | ( | ) | ||||||||||||||
| Forfeited | ( | ) | ||||||||||||||
| Outstanding and exercisable at December 31, 2025 | $ | |||||||||||||||
As of December 31, 2025, there was
During the years ended December 31, 2025, 2024 and 2023, the total intrinsic value of stock options exercised was approximately $
Nonvested Shares
Nonvested shares granted under the 2016 Stock Incentive Plan and the Prior Plan consist of restricted stock and performance share unit awards, which are accounted for as equity awards, and phantom stock, which is accounted for as a liability award because it can be settled in either stock or cash. The fair value of each restricted stock and phantom stock award is estimated to be the closing stock price of Huntsman’s stock on the date of grant.
For our performance share unit awards, the performance criteria are total stockholder return of our common stock relative to the total stockholder return of a specified industry peer group for the -year performance periods. The fair value of each performance share unit award is estimated using a Monte Carlo simulation model that uses various assumptions, including an expected volatility rate and a risk-free interest rate. For the years ended December 31, 2025, 2024 and 2023, the weighted-average expected volatility rate was
A summary of the status of our nonvested shares as of December 31, 2025 and changes during the year then ended is presented below:
| Equity awards | Liability awards | |||||||||||||||
| Weighted | Weighted | |||||||||||||||
| average | average | |||||||||||||||
| grant-date | grant-date | |||||||||||||||
| Shares | fair value | Shares | fair value | |||||||||||||
| (in thousands) | (in thousands) | |||||||||||||||
| Nonvested at January 1, 2025 | $ | $ | ||||||||||||||
| Granted | ||||||||||||||||
| Vested | ( | ) | (1)(2) | ( | ) | |||||||||||
| Forfeited | ( | ) | ( | ) | ||||||||||||
| Nonvested at December 31, 2025 | ||||||||||||||||
| (1) | As of December 31, 2025, a total of |
| (2) | A total of |
As of December 31, 2025, there was $
25. ACCUMULATED OTHER COMPREHENSIVE LOSS
The components of other comprehensive income (loss) and changes in accumulated other comprehensive loss by component were as follows (dollars in millions):
Huntsman Corporation
| Pension and | ||||||||||||||||||||||||
| Foreign | other | Amounts | Amounts | |||||||||||||||||||||
| currency | postretirement | attributable to | attributable to | |||||||||||||||||||||
| translation | benefits | noncontrolling | Huntsman | |||||||||||||||||||||
| adjustment(1) | adjustments(2) | Other, net | Total | interests | Corporation | |||||||||||||||||||
| Beginning balance, January 1, 2025 | $ | ( | ) | $ | ( | ) | $ | $ | ( | ) | $ | $ | ( | ) | ||||||||||
| Other comprehensive income before reclassifications, gross | ( | ) | ||||||||||||||||||||||
| Tax impact | ( | ) | ( | ) | ( | ) | ||||||||||||||||||
| Amounts reclassified from accumulated other comprehensive loss, gross(3) | ||||||||||||||||||||||||
| Tax impact | ( | ) | ( | ) | ( | ) | ||||||||||||||||||
| Net current-period other comprehensive income | ( | ) | ||||||||||||||||||||||
| Ending balance, December 31, 2025 | $ | ( | ) | $ | ( | ) | $ | $ | ( | ) | $ | $ | ( | ) | ||||||||||
| (1) | Amounts are net of tax of $ |
| (2) | Amounts are net of tax of $ |
| (3) | See table below for details about pension and other postretirement benefits reclassifications. |
| Pension and | ||||||||||||||||||||||||
| Foreign | other | Amounts | Amounts | |||||||||||||||||||||
| currency | postretirement | attributable to | attributable to | |||||||||||||||||||||
| translation | benefits | noncontrolling | Huntsman | |||||||||||||||||||||
| adjustment(1) | adjustments(2) | Other, net | Total | interests | Corporation | |||||||||||||||||||
| Beginning balance, January 1, 2024 | $ | ( | ) | $ | ( | ) | $ | ( | ) | $ | ( | ) | $ | $ | ( | ) | ||||||||
| Other comprehensive (loss) income before reclassifications, gross | ( | ) | ( | ) | ||||||||||||||||||||
| Tax impact | ( | ) | ( | ) | ( | ) | ( | ) | ||||||||||||||||
| Amounts reclassified from accumulated other comprehensive loss, gross(3) | ||||||||||||||||||||||||
| Tax impact | ( | ) | ( | ) | ( | ) | ||||||||||||||||||
| Net current-period other comprehensive (loss) income | ( | ) | ( | ) | ||||||||||||||||||||
| Ending balance, December 31, 2024 | $ | ( | ) | $ | ( | ) | $ | $ | ( | ) | $ | $ | ( | ) | ||||||||||
| (1) | Amounts are net of tax of $ |
| (2) | Amounts are net of tax of $ |
| (3) | See table below for details about pension and other postretirement benefits reclassifications. |
| Amounts reclassified | ||||||||||||||
| from accumulated other | ||||||||||||||
| comprehensive loss | Affected line item in | |||||||||||||
| Details about accumulated other | Year ended December 31, | our statements | ||||||||||||
| comprehensive loss components(1)(2): | 2025 | 2024 | 2023 | of operations | ||||||||||
| Amortization of pension and other postretirement benefits: | ||||||||||||||
| Actuarial loss | $ | $ | $ | (3)(4) | Other income (expense), net | |||||||||
| Prior service credit | ( | ) | ( | ) | ( | ) | (3)(4) | Other income (expense), net | ||||||
| Settlement loss | (5) | Other income (expense), net | ||||||||||||
| Curtailment gain | ( | ) | (5) | Other income (expense), net | ||||||||||
| ( | ) | ( | ) | Income tax | ||||||||||
| Total reclassifications for the period | $ | $ | $ | |||||||||||
| (1) | Details of amounts reclassified from accumulated other comprehensive loss relate only to pension and other postretirement benefits. |
| (2) | Pension and other postretirement benefits amounts in parentheses indicate credits on our consolidated statements of operations. |
| (3) | These accumulated other comprehensive loss components are included in the computation of net periodic pension costs. See “Note 19. Employee Benefit Plans.” |
| (4) | Amounts contain approximately and $ |
| (5) | In connection with the sale of our Textile Effects Business, we recognized $ |
Huntsman International
| Pension | ||||||||||||||||||||||||
| Foreign | and other | Amounts | Amounts | |||||||||||||||||||||
| currency | postretirement | attributable to | attributable to | |||||||||||||||||||||
| translation | benefits | noncontrolling | Huntsman | |||||||||||||||||||||
| adjustment(1) | adjustments(2) | Other, net | Total | interests | International | |||||||||||||||||||
| Beginning balance, January 1, 2025 | $ | ( | ) | $ | ( | ) | $ | ( | ) | $ | ( | ) | $ | $ | ( | ) | ||||||||
| Other comprehensive income before reclassifications, gross | ( | ) | ||||||||||||||||||||||
| Tax impact | ( | ) | ( | ) | ( | ) | ||||||||||||||||||
| Amounts reclassified from accumulated other comprehensive loss, gross(3) | ||||||||||||||||||||||||
| Tax impact | ( | ) | ( | ) | ( | ) | ||||||||||||||||||
| Net current-period other comprehensive income | ( | ) | ||||||||||||||||||||||
| Ending balance, December 31, 2025 | $ | ( | ) | $ | ( | ) | $ | $ | ( | ) | $ | $ | ( | ) | ||||||||||
| (1) | Amounts are net of tax of $ |
| (2) | Amounts are net of tax of $ |
| (3) | See table below for details about pension and other postretirement benefits reclassifications. |
| Pension | ||||||||||||||||||||||||
| Foreign | and other | Amounts | Amounts | |||||||||||||||||||||
| currency | postretirement | attributable to | attributable to | |||||||||||||||||||||
| translation | benefits | noncontrolling | Huntsman | |||||||||||||||||||||
| adjustment(1) | adjustments(2) | Other, net | Total | interests | International | |||||||||||||||||||
| Beginning balance, January 1, 2024 | $ | ( | ) | $ | ( | ) | $ | ( | ) | $ | ( | ) | $ | $ | ( | ) | ||||||||
| Other comprehensive (loss) income before reclassifications, gross | ( | ) | ( | ) | ||||||||||||||||||||
| Tax impact | ( | ) | ( | ) | ( | ) | ( | ) | ||||||||||||||||
| Amounts reclassified from accumulated other comprehensive loss, gross(3) | ||||||||||||||||||||||||
| Tax impact | ( | ) | ( | ) | ( | ) | ||||||||||||||||||
| Net current-period other comprehensive (loss) income | ( | ) | ( | ) | ||||||||||||||||||||
| Ending balance, December 31, 2024 | $ | ( | ) | $ | ( | ) | $ | ( | ) | $ | ( | ) | $ | $ | ( | ) | ||||||||
| (1) | Amounts are net of tax of $ |
| (2) | Amounts are net of tax of $ |
| (3) | See table below for details about pension and other postretirement benefits reclassifications. |
| Amounts reclassified | ||||||||||||||
| from accumulated other | ||||||||||||||
| comprehensive loss | Affected line item in | |||||||||||||
| Details about accumulated other | Year ended December 31, | our statements | ||||||||||||
| comprehensive loss components(1)(2): | 2025 | 2024 | 2023 | of operations | ||||||||||
| Amortization of pension and other postretirement benefits: | ||||||||||||||
| Actuarial loss | $ | $ | $ | (3)(4) | Other income (expense), net | |||||||||
| Prior service credit | ( | ) | ( | ) | ( | ) | (3)(4) | Other income (expense), net | ||||||
| Settlement loss | (5) | Other income (expense), net | ||||||||||||
| Curtailment gain | ( | ) | (5) | Other income (expense), net | ||||||||||
| ( | ) | ( | ) | Income tax | ||||||||||
| Total reclassifications for the period | $ | $ | $ | |||||||||||
| (1) | Details of amounts reclassified from accumulated other comprehensive loss relate only to pension and other postretirement benefits. |
| (2) | Pension and other postretirement benefits amounts in parentheses indicate credits on our consolidated statements of operations. |
| (3) | These accumulated other comprehensive loss components are included in the computation of net periodic pension costs. See “Note 19. Employee Benefit Plans.” |
| (4) | Amounts contain approximately and $ |
| (5) | In connection with the sale of our Textile Effects Business, we recognized $ |
Items of other comprehensive income (loss) of our Company and our consolidated affiliates have been recorded net of tax, with the exception of the foreign currency translation adjustments related to subsidiaries with earnings permanently reinvested. The tax effect is determined based upon the jurisdiction where the income or loss was recognized and is net of valuation allowances.
26. RELATED PARTY TRANSACTIONS
Our consolidated financial statements include the following transactions with our affiliates not otherwise disclosed (dollars in millions):
| Year ended December 31, | ||||||||||||
| 2025 | 2024 | 2023 | ||||||||||
| Sales to: | ||||||||||||
| Unconsolidated affiliates | $ | $ | $ | |||||||||
| Inventory purchases from: | ||||||||||||
| Unconsolidated affiliates | ||||||||||||
27. OPERATING SEGMENT INFORMATION
We derive our revenues, earnings and cash flows from the manufacture and sale of a wide variety of diversified organic chemical products. We have operating segments, which are also our reportable operating segments: Polyurethanes, Performance Products and Advanced Materials. We have organized our business and derived our operating segments around differences in product lines.
The major products of each reportable operating segment are as follows:
| Segment |
| Products |
| Polyurethanes | MDI, polyols, TPU and other polyurethane-related products | |
| Performance Products | Performance amines, ethyleneamines and maleic anhydride | |
| Advanced Materials | Technologically-advanced epoxy, phenoxy, acrylic, polyurethane and acrylonitrile-butadiene-based polymer formulations; high performance thermoset resins, curing agents, toughening agents, and carbon nanomaterials |
Sales between segments are generally recognized at external market prices and are eliminated in consolidation. We use adjusted EBITDA to measure the financial performance of our global business units and for reporting the results of our operating segments. This measure includes all operating items relating to the businesses. The adjusted EBITDA of operating segments excludes items that principally apply to our Company as a whole. The following schedules include revenues, significant segment expenses and adjusted EBITDA for each of our reportable operating segments (dollars in millions).
Huntsman Corporation
| Year ended December 31, 2025 | ||||||||||||||||
| Polyurethanes | Performance Products | Advanced Materials | Total | |||||||||||||
| Revenues: | ||||||||||||||||
| Reportable segments’ revenues(1) | $ | $ | $ | $ | ||||||||||||
| Significant segment expenses: | ||||||||||||||||
| Variable direct costs(2) | ||||||||||||||||
| Adjusted fixed costs(3) | ||||||||||||||||
| Other segment items(4) | ( | ) | ( | ) | ||||||||||||
| Total reportable segments’ adjusted EBITDA(5) | $ | $ | $ | |||||||||||||
| Reconciliation of total reportable segments’ adjusted EBITDA to loss from continuing operations before income taxes: | ||||||||||||||||
| Interest expense, net—continuing operations | ( | ) | ||||||||||||||
| Depreciation and amortization—continuing operations | ( | ) | ||||||||||||||
| Corporate and other costs, net(6) | ( | ) | ||||||||||||||
| Net income attributable to noncontrolling interests | ||||||||||||||||
| Other adjustments: | ||||||||||||||||
| Business acquisition and integration gain and purchase accounting inventory adjustments, net | ||||||||||||||||
| Certain legal and other settlements and related income, net(7) | ||||||||||||||||
| Loss on sale of business/assets | ( | ) | ||||||||||||||
|
| ( | ) | ||||||||||||||
| Restructuring, impairment and plant closing and transition costs(9) | ( | ) | ||||||||||||||
| Loss from continuing operations before income taxes | ( | ) | ||||||||||||||
| Income tax expense—continuing operations | ( | ) | ||||||||||||||
| Loss from discontinued operations, net of tax | ( | ) | ||||||||||||||
| Net loss | $ | ( | ) | |||||||||||||
| Year ended December 31, 2024 | ||||||||||||||||
| Polyurethanes | Performance Products | Advanced Materials | Total | |||||||||||||
| Revenues: | ||||||||||||||||
| Reportable segments’ revenues(1) | $ | $ | $ | $ | ||||||||||||
| Significant segment expenses: | ||||||||||||||||
| Variable direct costs(2) | ||||||||||||||||
| Adjusted fixed costs(3) | ||||||||||||||||
| Other segment items(4) | ( | ) | ( | ) | ( | ) | ||||||||||
| Total reportable segments’ adjusted EBITDA(5) | $ | $ | $ | |||||||||||||
| Reconciliation of total reportable segments’ adjusted EBITDA to loss from continuing operations before income taxes: | ||||||||||||||||
| Interest expense, net—continuing operations | ( | ) | ||||||||||||||
| Depreciation and amortization—continuing operations | ( | ) | ||||||||||||||
| Corporate and other costs, net(6) | ( | ) | ||||||||||||||
| Net income attributable to noncontrolling interests | ||||||||||||||||
| Other adjustments: | ||||||||||||||||
| Business acquisition and integration expenses and purchase accounting inventory adjustments, net | ( | ) | ||||||||||||||
| Fair value adjustments to Venator investment, net and other tax matter adjustments | ||||||||||||||||
| Certain legal and other settlements and related expenses, net(7) | ( | ) | ||||||||||||||
| Loss on sale of business/assets | ( | ) | ||||||||||||||
| Loss on dissolution of subsidiaries(8) | ( | ) | ||||||||||||||
|
| ( | ) | ||||||||||||||
| Restructuring, impairment and plant closing and transition costs(9) | ( | ) | ||||||||||||||
| Loss from continuing operations before income taxes | ( | ) | ||||||||||||||
| Income tax expense—continuing operations | ( | ) | ||||||||||||||
| Loss from discontinued operations, net of tax | ( | ) | ||||||||||||||
| Net loss | $ | ( | ) | |||||||||||||
| Year ended December 31, 2023 | ||||||||||||||||
| Polyurethanes | Performance Products | Advanced Materials | Total | |||||||||||||
| Revenues: | ||||||||||||||||
| Reportable segments’ revenues(1) | $ | $ | $ | $ | ||||||||||||
| Significant segment expenses: | ||||||||||||||||
| Variable direct costs(2) | ||||||||||||||||
| Adjusted fixed costs(3) | ||||||||||||||||
| Other segment items(4) | ( | ) | ( | ) | ( | ) | ||||||||||
| Total reportable segments’ adjusted EBITDA(5) | $ | $ | $ | |||||||||||||
| Reconciliation of total reportable segments’ adjusted EBITDA to income from continuing operations before income taxes: | ||||||||||||||||
| Interest expense, net—continuing operations | ( | ) | ||||||||||||||
| Depreciation and amortization—continuing operations | ( | ) | ||||||||||||||
| Corporate and other costs, net(6) | ( | ) | ||||||||||||||
| Net income attributable to noncontrolling interests | ||||||||||||||||
| Other adjustments: | ||||||||||||||||
| Business acquisition and integration expenses and purchase accounting inventory adjustments, net | ( | ) | ||||||||||||||
| Fair value adjustments to Venator investment, net | ( | ) | ||||||||||||||
| Certain legal and other settlements and related expenses, net | ( | ) | ||||||||||||||
| Certain nonrecurring information technology project implementation costs | ( | ) | ||||||||||||||
|
| ( | ) | ||||||||||||||
| Restructuring, impairment and plant closing and transition costs(9) | ( | ) | ||||||||||||||
| Income from continuing operations before income taxes | ||||||||||||||||
| Income tax expense—continuing operations | ( | ) | ||||||||||||||
| Income from discontinued operations, net of tax | ||||||||||||||||
| Net income | $ | |||||||||||||||
Huntsman International
| Year ended December 31, 2025 | ||||||||||||||||
| Polyurethanes | Performance Products | Advanced Materials | Total | |||||||||||||
| Revenues: | ||||||||||||||||
| Reportable segments’ revenues(1) | $ | $ | $ | $ | ||||||||||||
| Significant segment expenses: | ||||||||||||||||
| Variable direct costs(2) | ||||||||||||||||
| Adjusted fixed costs(3) | ||||||||||||||||
| Other segment items(4) | ( | ) | ( | ) | ||||||||||||
| Total reportable segments’ adjusted EBITDA(5) | $ | $ | $ | |||||||||||||
| Reconciliation of total reportable segments’ adjusted EBITDA to loss from continuing operations before income taxes: | ||||||||||||||||
| Interest expense, net—continuing operations | ( | ) | ||||||||||||||
| Depreciation and amortization—continuing operations | ( | ) | ||||||||||||||
| Corporate and other costs, net(6) | ( | ) | ||||||||||||||
| Net income attributable to noncontrolling interests | ||||||||||||||||
| Other adjustments: | ||||||||||||||||
| Business acquisition and integration gain and purchase accounting inventory adjustments, net | ||||||||||||||||
| Certain legal and other settlements and related income, net(7) | ||||||||||||||||
| Loss on sale of business/assets | ( | ) | ||||||||||||||
|
| ( | ) | ||||||||||||||
| Restructuring, impairment and plant closing and transition costs(9) | ( | ) | ||||||||||||||
| Loss from continuing operations before income taxes | ( | ) | ||||||||||||||
| Income tax expense—continuing operations | ( | ) | ||||||||||||||
| Loss from discontinued operations, net of tax | ( | ) | ||||||||||||||
| Net loss | $ | ( | ) | |||||||||||||
| Year ended December 31, 2024 | ||||||||||||||||
| Polyurethanes | Performance Products | Advanced Materials | Total | |||||||||||||
| Revenues: | ||||||||||||||||
| Reportable segments’ revenues(1) | $ | $ | $ | $ | ||||||||||||
| Significant segment expenses: | ||||||||||||||||
| Variable direct costs(2) | ||||||||||||||||
| Adjusted fixed costs(3) | ||||||||||||||||
| Other segment items(4) | ( | ) | ( | ) | ( | ) | ||||||||||
| Total reportable segments’ adjusted EBITDA(5) | $ | $ | $ | |||||||||||||
| Reconciliation of total reportable segments’ adjusted EBITDA to loss from continuing operations before income taxes: | ||||||||||||||||
| Interest expense, net—continuing operations | ( | ) | ||||||||||||||
| Depreciation and amortization—continuing operations | ( | ) | ||||||||||||||
| Corporate and other costs, net(6) | ( | ) | ||||||||||||||
| Net income attributable to noncontrolling interests | ||||||||||||||||
| Other adjustments: | ||||||||||||||||
| Business acquisition and integration expenses and purchase accounting inventory adjustments, net | ( | ) | ||||||||||||||
| Fair value adjustments to Venator investment, net and other tax matter adjustments | ||||||||||||||||
| Certain legal and other settlements and related expenses, net(7) | ( | ) | ||||||||||||||
| Loss on sale of business/assets | ( | ) | ||||||||||||||
| Loss on dissolution of subsidiaries(8) | ( | ) | ||||||||||||||
|
| ( | ) | ||||||||||||||
| Restructuring, impairment and plant closing and transition costs(9) | ( | ) | ||||||||||||||
| Loss from continuing operations before income taxes | ( | ) | ||||||||||||||
| Income tax expense—continuing operations | ( | ) | ||||||||||||||
| Loss from discontinued operations, net of tax | ( | ) | ||||||||||||||
| Net loss | $ | ( | ) | |||||||||||||
| Year ended December 31, 2023 | ||||||||||||||||
| Polyurethanes | Performance Products | Advanced Materials | Total | |||||||||||||
| Revenues: | ||||||||||||||||
| Reportable segments’ revenues(1) | $ | $ | $ | $ | ||||||||||||
| Significant segment expenses: | ||||||||||||||||
| Variable direct costs(2) | ||||||||||||||||
| Adjusted fixed costs(3) | ||||||||||||||||
| Other segment items(4) | ( | ) | ( | ) | ( | ) | ||||||||||
| Total reportable segments’ adjusted EBITDA(5) | $ | $ | $ | |||||||||||||
| Reconciliation of total reportable segments’ adjusted EBITDA to income from continuing operations before income taxes: | ||||||||||||||||
| Interest expense, net—continuing operations | ( | ) | ||||||||||||||
| Depreciation and amortization—continuing operations | ( | ) | ||||||||||||||
| Corporate and other costs, net(6) | ( | ) | ||||||||||||||
| Net income attributable to noncontrolling interests | ||||||||||||||||
| Other adjustments: | ||||||||||||||||
| Business acquisition and integration expenses and purchase accounting inventory adjustments, net | ( | ) | ||||||||||||||
| Fair value adjustments to Venator investment, net | ( | ) | ||||||||||||||
| Certain legal and other settlements and related expenses, net | ( | ) | ||||||||||||||
| Certain nonrecurring information technology project implementation costs | ( | ) | ||||||||||||||
|
| ( | ) | ||||||||||||||
| Restructuring, impairment and plant closing and transition costs(9) | ( | ) | ||||||||||||||
| Income from continuing operations before income taxes | ||||||||||||||||
| Income tax expense—continuing operations | ( | ) | ||||||||||||||
| Income from discontinued operations, net of tax | ||||||||||||||||
| Net income | $ | |||||||||||||||
| December 31, | ||||||||
| 2025 | 2024 | |||||||
| Total assets: | ||||||||
| Polyurethanes | $ | $ | ||||||
| Performance Products | ||||||||
| Advanced Materials | ||||||||
| Total reportable segments’ total assets | ||||||||
| Corporate and other | ||||||||
| Total | $ | $ | ||||||
| Year ended December 31, | ||||||||||||
| 2025 | 2024 | 2023 | ||||||||||
| Depreciation and amortization: | ||||||||||||
| Polyurethanes | $ | $ | $ | |||||||||
| Performance Products | ||||||||||||
| Advanced Materials | ||||||||||||
| Total reportable segments’ depreciation and amortization | ||||||||||||
| Corporate and other | ||||||||||||
| Total | $ | $ | $ | |||||||||
| Year ended December 31, | ||||||||||||
| 2025 | 2024 | 2023 | ||||||||||
| Capital expenditures: | ||||||||||||
| Polyurethanes | $ | $ | $ | |||||||||
| Performance Products | ||||||||||||
| Advanced Materials | ||||||||||||
| Total reportable segments’ capital expenditures | ||||||||||||
| Corporate and other | ||||||||||||
| Total | $ | $ | $ | |||||||||
| December 31, | ||||||||
| 2025 | 2024 | |||||||
| Goodwill: | ||||||||
| Polyurethanes | $ | $ | ||||||
| Performance Products | ||||||||
| Advanced Materials | ||||||||
| Total | $ | $ | ||||||
| (1) | A reconciliation of total reportable segments’ revenues to total consolidated revenues is provided in “Note 18. Revenue Recognition.” |
| (2) | Variable direct costs primarily include raw materials, utilities and freight-related costs. |
| (3) | Adjusted fixed costs primarily include personnel and maintenance costs at our manufacturing facilities, selling, general and administrative expenses and research and development expenses, less depreciation and amortization and an adjustment to remove the related effects of restructuring, impairment and plant closing and transition costs. |
| (4) | Other segment items include other operating and non-operating income and expense items and foreign currency exchange effects, less adjustments to remove the related effects of primarily the following items: business acquisition and integration gain (expenses) and purchase accounting inventory adjustments, net; certain legal and other settlements and related income (expenses), net; amortization of pension and postretirement actuarial losses; loss on sale of business/assets; and restructuring, impairment and plant closing and transition costs. |
| (5) | We use segment adjusted EBITDA as the measure of each segment’s profit or loss. Segment adjusted EBITDA is the measure that our chief operating decision maker (“CODM”), who has been determined to be our Chief Executive Officer, uses to make decisions about resources to be allocated to the segments and assess their financial performance. Our CODM evaluates segment adjusted EBITDA through the annual budget process as well as through ongoing periodic reviews of forecasts, budget-to-actual variances, changes from prior periods and when comparing the results of each reportable operating segment with one another. Segment adjusted EBITDA is defined as net income of Huntsman Corporation or Huntsman International, as appropriate, before interest, income tax, depreciation and amortization, net income attributable to noncontrolling interests and certain Corporate and other items, as well as eliminating the following adjustments: (a) business acquisition and integration gain (expenses) and purchase accounting inventory adjustments, net; (b) certain legal and other settlements and related income (expenses), net; (c) loss on sale of business/assets; (d) amortization of pension and postretirement actuarial losses; (e) restructuring, impairment, plant closing and transition costs; (f) (loss) income from discontinued operations, net of tax; (g) fair value adjustments to Venator investment, net and other tax matter adjustments; (h) loss on dissolution of subsidiaries; and (i) certain nonrecurring information technology project implementation costs. |
| (6) | Corporate and other costs, net includes unallocated corporate overhead, unallocated foreign exchange gains and losses, LIFO inventory valuation reserve adjustments, nonoperating income and expense and gains and losses on the disposition of corporate assets. |
| (7) | Certain legal and other settlements and related income (expenses), net includes approximately $ |
| (8) | Loss on dissolution of subsidiaries for the year ended December 31, 2024 relates to the elimination and non-cash recognition of cumulative translation adjustments from accumulated other comprehensive loss due to the liquidation of certain subsidiaries. |
| (9) | Includes costs associated with transition activities relating primarily to our program to realign our cost structure in Europe and our Corporate program to optimize our global approach to managed services in various information technology functions. |
| Year ended December 31, | ||||||||||||
| 2025 | 2024 | 2023 | ||||||||||
| Revenues by geographic area(1): | ||||||||||||
| United States | $ | $ | $ | |||||||||
| China | ||||||||||||
| Germany | ||||||||||||
| Canada | ||||||||||||
| India | ||||||||||||
| Italy | ||||||||||||
| United Kingdom | ||||||||||||
| Other nations | ||||||||||||
| Total | $ | $ | $ | |||||||||
| December 31, | ||||||||
| 2025 | 2024 | |||||||
| Long-lived assets(2): | ||||||||
| United States | $ | $ | ||||||
| China | ||||||||
| The Netherlands | ||||||||
| Hungary | ||||||||
| Saudi Arabia | ||||||||
| Switzerland | ||||||||
| United Kingdom | ||||||||
| Singapore | ||||||||
| Germany | ||||||||
| Other nations | ||||||||
| Total | $ | $ | ||||||
| (1) | Geographic information for revenues is based upon countries into which product is sold. |
| (2) | Long-lived assets consist of property, plant and equipment, net. |
HUNTSMAN CORPORATION (PARENT ONLY)
Schedule I—Condensed Financial Information of Registrant
HUNTSMAN CORPORATION (Parent Only)
BALANCE SHEETS
(In Millions, Except Share and Per Share Amounts)
| December 31, | ||||||||
| 2025 | 2024 | |||||||
| ASSETS | ||||||||
| Investment in and advances to affiliates | $ | $ | ||||||
| Total assets | $ | $ | ||||||
| LIABILITIES AND STOCKHOLDERS’ EQUITY | ||||||||
| Current liabilities: | ||||||||
| Accrued liabilities | $ | $ | ||||||
| Total current liabilities | ||||||||
| Other noncurrent liabilities | ||||||||
| Total liabilities | ||||||||
| STOCKHOLDERS’ EQUITY | ||||||||
| Common stock $ par value, shares authorized, and shares issued and and shares outstanding, respectively | ||||||||
| Additional paid-in capital | ||||||||
| Treasury stock, shares | ( | ) | ( | ) | ||||
| Unearned stock-based compensation | ( | ) | ( | ) | ||||
| Retained earnings | ||||||||
| Accumulated other comprehensive loss | ( | ) | ( | ) | ||||
| Total stockholders’ equity | ||||||||
| Total liabilities and stockholders’ equity | $ | $ | ||||||
The accompanying notes are an integral part of the condensed financial information.
HUNTSMAN CORPORATION (Parent Only)
STATEMENTS OF OPERATIONS
(In Millions)
| Year ended December 31, | ||||||||||||
| 2025 | 2024 | 2023 | ||||||||||
| Selling, general and administrative expenses | $ | ( | ) | $ | ( | ) | $ | ( | ) | |||
| Equity in loss of subsidiaries | ( | ) | ( | ) | ( | ) | ||||||
| Dividend income—affiliate | ||||||||||||
| Net (loss) income | $ | ( | ) | $ | ( | ) | $ | |||||
The accompanying notes are an integral part of the condensed financial information.
HUNTSMAN CORPORATION (Parent Only)
STATEMENTS OF COMPREHENSIVE (LOSS) INCOME
(In Millions)
| Year ended December 31, | ||||||||||||
| 2025 | 2024 | 2023 | ||||||||||
| Net (loss) income | $ | ( | ) | $ | ( | ) | $ | |||||
| Other comprehensive income, net of tax: | ||||||||||||
| Foreign currency translations adjustments | ( | ) | ||||||||||
| Pension and other postretirement benefits adjustments | ( | ) | ||||||||||
| Other, net | ||||||||||||
| Other comprehensive income, net of tax | ||||||||||||
| Comprehensive (loss) income | ( | ) | ( | ) | ||||||||
| Comprehensive income attributable to noncontrolling interests | ( | ) | ( | ) | ( | ) | ||||||
| Comprehensive (loss) income attributable to Huntsman Corporation | $ | ( | ) | $ | ( | ) | $ | |||||
The accompanying notes are an integral part of the condensed financial information.
HUNTSMAN CORPORATION (Parent Only)
STATEMENTS OF STOCKHOLDERS’ EQUITY
(In Millions, Except Share Amounts)
| Huntsman Corporation Stockholders’ Equity | ||||||||||||||||||||||||||||||||
| Accumulated | ||||||||||||||||||||||||||||||||
| Shares of | Additional | Unearned | other | |||||||||||||||||||||||||||||
| common | Common | paid-in | Treasury | stock-based | Retained | comprehensive | Total | |||||||||||||||||||||||||
| stock | stock | capital | stock | compensation | earnings | loss | equity | |||||||||||||||||||||||||
| Balance, January 1, 2023 | $ | $ | $ | ( | ) | $ | ( | ) | $ | $ | ( | ) | $ | |||||||||||||||||||
| Net income | — | |||||||||||||||||||||||||||||||
| Other comprehensive income | — | |||||||||||||||||||||||||||||||
| Issuance of nonvested stock awards | — | ( | ) | |||||||||||||||||||||||||||||
| Vesting of stock awards | ||||||||||||||||||||||||||||||||
| Recognition of stock-based compensation | — | |||||||||||||||||||||||||||||||
| Repurchase and cancellation of stock awards | ( | ) | ( | ) | ( | ) | ||||||||||||||||||||||||||
| Stock options exercised | ( | ) | ||||||||||||||||||||||||||||||
| Treasury stock repurchased | ( | ) | ( | ) | ( | ) | ||||||||||||||||||||||||||
| Dividends declared on common stock | — | ( | ) | ( | ) | |||||||||||||||||||||||||||
| Acquisition of noncontrolling interests, net of tax | — | ( | ) | ( | ) | |||||||||||||||||||||||||||
| Balance, December 31, 2023 | ( | ) | ( | ) | ( | ) | ||||||||||||||||||||||||||
| Net loss | — | ( | ) | ( | ) | |||||||||||||||||||||||||||
| Other comprehensive income | — | |||||||||||||||||||||||||||||||
| Issuance of nonvested stock awards | — | ( | ) | |||||||||||||||||||||||||||||
| Vesting of stock awards | ||||||||||||||||||||||||||||||||
| Recognition of stock-based compensation | — | |||||||||||||||||||||||||||||||
| Repurchase and cancellation of stock awards | ( | ) | ( | ) | ( | ) | ||||||||||||||||||||||||||
| Stock options exercised | ( | ) | ||||||||||||||||||||||||||||||
| Dividends declared on common stock | — | ( | ) | ( | ) | |||||||||||||||||||||||||||
| Balance, December 31, 2024 | ( | ) | ( | ) | ( | ) | ||||||||||||||||||||||||||
| Net loss | — | ( | ) | ( | ) | |||||||||||||||||||||||||||
| Other comprehensive income | — | |||||||||||||||||||||||||||||||
| Issuance of nonvested stock awards | — | ( | ) | |||||||||||||||||||||||||||||
| Vesting of stock awards | ||||||||||||||||||||||||||||||||
| Recognition of stock-based compensation | — | |||||||||||||||||||||||||||||||
| Repurchase and cancellation of stock awards | ( | ) | ( | ) | ( | ) | ||||||||||||||||||||||||||
| Stock options exercised | ||||||||||||||||||||||||||||||||
| Dividends declared on common stock | — | ( | ) | ( | ) | |||||||||||||||||||||||||||
| Balance, December 31, 2025 | $ | $ | $ | ( | ) | $ | ( | ) | $ | $ | ( | ) | $ | |||||||||||||||||||
The accompanying notes are an integral part of the condensed financial information.
HUNTSMAN CORPORATION (Parent Only)
STATEMENTS OF CASH FLOWS
(In Millions)
| Year ended December 31, | ||||||||||||
| 2025 | 2024 | 2023 | ||||||||||
| Operating activities: | ||||||||||||
| Net (loss) income | $ | ( | ) | $ | ( | ) | $ | |||||
| Equity in loss of subsidiaries | ||||||||||||
| Stock-based compensation | ||||||||||||
| Changes in operating assets and liabilities | ( | ) | ||||||||||
| Net cash provided by operating activities | ||||||||||||
| Investing activities: | ||||||||||||
| Net cash provided by investing activities | ||||||||||||
| Financing activities: | ||||||||||||
| Dividends paid to common stockholders | ( | ) | ( | ) | ( | ) | ||||||
| Repurchase and cancellation of stock awards | ( | ) | ( | ) | ( | ) | ||||||
| Repurchase of common stock | ( | ) | ( | ) | ||||||||
| Proceeds from issuance of common stock | ||||||||||||
| Increase in payable to affiliates | ||||||||||||
| Other, net | ( | ) | ||||||||||
| Net cash used in financing activities | ( | ) | ( | ) | ( | ) | ||||||
| Decrease in cash and cash equivalents | ||||||||||||
| Cash and cash equivalents at beginning of period | ||||||||||||
| Cash and cash equivalents at end of period | $ | $ | $ | |||||||||
The accompanying notes are an integral part of the condensed financial information.
HUNTSMAN CORPORATION (Parent Only)
NOTES TO CONDENSED FINANCIAL STATEMENTS
1. BASIS OF PRESENTATION
Pursuant to rules and regulations of the SEC, the parent only condensed financial information of Huntsman Corporation do not reflect all of the information and notes normally included with financial statements prepared in accordance with GAAP in the U.S. Therefore, these condensed financial statements should be read in conjunction with the consolidated financial statements and related notes included under Item 8 in this Form 10-K.