Please wait
Table of Contents

 

 

UNITED STATES

SECURITIES AND EXCHANGE COMMISSION

Washington, D.C. 20549

 

 

SCHEDULE 14A

Proxy Statement Pursuant to Section 14(a) of the

Securities Exchange Act of 1934

(Amendment No.  )

 

 

Filed by the Registrant ☒     Filed by a Party other than the Registrant ☐

Check the appropriate box:

 

Preliminary Proxy Statement

 

Confidential, for Use of the Commission Only (as permitted by Rule 14a-6(e)(2))

 

Definitive Proxy Statement

 

Definitive Additional Materials

 

Soliciting Material Pursuant to §240.14a-12

Calumet Specialty Products Partners, L.P.

(Name of Registrant as Specified in Its Charter)

(Name of Person(s) Filing Proxy Statement, if Other Than the Registrant)

Payment of Filing Fee (Check the appropriate box):

 

No fee required

 

Fee paid previously with preliminary materials

 

Fee computed on table in exhibit required by Item 25(b) per Exchange Act Rules 14a-6(i)(1) and 0-11

 

 

 


Table of Contents

LOGO

REORGANIZATION PROPOSED—YOUR VOTE IS VERY IMPORTANT

Dear Unitholders of Calumet Specialty Products Partners, L.P.:

The board of directors (the “GP Board”) of Calumet GP, LLC (the “General Partner”), which is the general partner of Calumet Specialty Products Partners, L.P. (the “Partnership”), has unanimously approved a corporate reorganization of the Partnership to convert from a master limited partnership to a corporation (the “Conversion”). The Conversion is to be accomplished through (i) an election by the General Partner to be taxable as a corporation (the “Election”) for U.S. federal income tax purposes, (ii) a merger of Calumet Merger Sub II LLC (“Merger Sub II”), a wholly owned subsidiary of Calumet, Inc. (“New Calumet”), with and into the Partnership with the Partnership continuing as the surviving entity and a wholly owned subsidiary of New Calumet, pursuant to which all of the common units representing limited partner interests in the Partnership (“common units”) will be exchanged into the right to receive an equal number of shares of common stock, par value $0.01 per share, of New Calumet (“common stock”) (the “Partnership Merger”), and (iii) a merger between the General Partner and Calumet Merger Sub I LLC (“Merger Sub I” and, together with Merger Sub II, the “Merger Subs”), a wholly owned subsidiary of New Calumet, with and into the General Partner with the General Partner continuing as the surviving entity and a wholly owned subsidiary of New Calumet, pursuant to which all outstanding equity interests of the General Partner will be exchanged into the right to receive an aggregate of 5,500,000 shares of common stock and 2,000,000 warrants to purchase common stock at an exercise price of $20.00 per share (subject to adjustment) (the “GP Merger” and, together with the Partnership Merger, the “Mergers”). The Conflicts Committee (the “Conflicts Committee”) of the GP Board has unanimously determined that the Partnership Restructuring Agreement, dated November 9, 2023, among the Partnership, the General Partner and the other parties thereto, including The Heritage Group (collectively, the “Sponsor Parties”), as amended by the First Amendment to the Restructuring Agreement, dated February 9, 2024 (the “Restructuring Agreement”), and the transactions contemplated thereby, including the Conversion, are advisable and in the best interests of the Partnership and the holders of the common units (“unitholders”) (other than the General Partner and the Sponsor Parties), and unanimously recommended to the GP Board approval of the same and the execution, delivery and performance of the Restructuring Agreement and the transactions contemplated thereby, including the Conversion. The GP Board (acting based upon the Special Approval (as defined in the First Amended and Restated Agreement of Limited Partnership of the Partnership, as amended) of the Conflicts Committee and the Conflicts Committee’s recommendation) has unanimously determined that it is advisable and in the best interests of the General Partner and the Partnership for the General Partner and the Partnership to enter into the Restructuring Agreement and consummate the transactions contemplated thereby, including the Conversion. Furthermore, the Conflicts Committee has unanimously determined that the Conversion Agreement, dated February 9, 2024, among the Partnership, the General Partner, New Calumet, the Merger Subs and the Sponsor Parties, as amended by the First Amendment to the Conversion Agreement, dated April 17, 2024 (the “Conversion Agreement”), the ancillary documents thereto and the transactions contemplated thereby, including the Conversion, are advisable and in the best interests of the Partnership and unitholders (other than the General Partner and the Sponsor Parties), and unanimously recommended to the GP Board approval of the same and the execution, delivery and performance of the Conversion Agreement and the transactions contemplated thereby, including the Conversion. The GP Board (acting based upon the Special Approval of the Conflicts Committee and the Conflicts Committee’s recommendation) has unanimously determined that the Conversion Agreement, the ancillary documents thereto and the transactions contemplated thereby are fair and reasonable to, and in the best interests of, the Partnership and the unitholders, approved the Conversion Agreement and the execution, delivery and performance of the Conversion Agreement, the ancillary documents thereto and the transactions contemplated thereby, and resolved to submit the Conversion Agreement to a vote of the unitholders and recommend approval of the Conversion Agreement by the unitholders.


Table of Contents

The Restructuring Agreement contains a voting covenant obligating the Sponsor Parties and their respective subsidiaries to vote any common units they own beneficially or of record in favor of the approval of the Conversion Agreement. As of the record date for the special meeting (as defined below), such holders beneficially owned 16,404,747 common units or approximately 20.4% of the outstanding common units.

Following the Conversion, the General Partner will be a wholly owned subsidiary of New Calumet, a newly formed Delaware corporation, and the Partnership will be wholly owned by New Calumet. Upon consummation of the Conversion, the common stock is expected to be listed on the Nasdaq Global Select Market under the symbol “CLMT.”

The GP Board believes that the Conversion is critical to the future success of the Partnership. In addition, the GP Board believes that current and future investors will prefer New Calumet’s post-Conversion organizational structure as there will be no incentive distribution rights or general partnership interest in New Calumet. The GP Board has considered that the Conversion, the elimination of the incentive distribution rights and the general partner interest at the public company level and the conversion to a C-corporation may increase New Calumet’s access to an expanded field of investors, as many investors are unwilling or unable to invest in pass-through entities.

The Partnership is holding a special meeting (the “special meeting”) of its unitholders on July 9, 2024 at 10:00 a.m. Eastern time, located at Courtyard by Marriott Indianapolis West-Speedway, 6315 Crawfordsville Road, Indianapolis, Indiana 46224. At the special meeting, unitholders will be asked to approve the Conversion Agreement (including the Mergers), to approve the classification of the New Calumet Board, to approve the inclusion of an exclusive Delaware forum provision in the amended and restated certificate of incorporation of New Calumet, and to approve an amended and restated long-term incentive plan for New Calumet. However, the Conversion cannot be consummated unless the requisite unitholders approve both the Conversion Agreement and the classification of the New Calumet Board of Directors (the “New Calumet Board”), which are conditions to consummating the Conversion under the Conversion Agreement. Information about the special meeting, the Conversion, the New Calumet Board and the amended and restated long-term incentive plan are contained in this proxy statement/prospectus. We encourage you to read this entire proxy statement/prospectus, including the annexes, carefully. In particular, you should read the “Risk Factors” section beginning on page 23 for a description of various risks you should consider in evaluating the proposed Conversion.

The GP Board has unanimously determined that the Conversion Agreement and the Mergers are advisable, fair to and in the best interests of the Partnership and the unitholders of the Partnership and has unanimously approved and adopted the Conversion Agreement and the Mergers. The GP Board unanimously recommends that the unitholders of the Partnership vote FOR the approval of the Conversion Agreement, FOR the approval of the classification of the New Calumet Board, FOR the approval of the inclusion of an exclusive Delaware forum provision in the amended and restated certificate of incorporation of New Calumet, FOR the approval of the amended and restated long-term incentive plan and FOR the adjournment of the special meeting if necessary to permit further solicitation of proxies if there are not sufficient votes at the time of the special meeting to approve the proposal to approve the Conversion Agreement.

EVERY VOTE IS IMPORTANT. Whether or not you plan to attend the special meeting, please take the time to vote by following the instructions on your proxy card as soon as possible. If your units are held in “street name,” please instruct your broker or bank how to vote your units.

Thank you, and we look forward to seeing you at the special meeting.

 

      Sincerely,
 

LOGO

Todd Borgmann

Chief Executive Officer of Calumet GP, LLC

Neither the Securities and Exchange Commission nor any state securities commission has approved or disapproved of the securities to be issued under this proxy statement/prospectus or has determined if this document is truthful or complete. Any representation to the contrary is a criminal offense.

This proxy statement/prospectus is dated June 7, 2024 and is being first mailed to the Partnership’s unitholders on or about June 7, 2024.


Table of Contents

LOGO

Indianapolis, Indiana

June 7, 2024

Calumet Specialty Products Partners, L.P.

NOTICE OF SPECIAL MEETING OF UNITHOLDERS

To the Unitholders of Calumet Specialty Products Partners, L.P.:

A special meeting (the “special meeting”) of holders of common units (“common units”) representing limited partner interests in Calumet Specialty Products Partners, L.P. (the “Partnership”) will be held on July 9, 2024 at 10:00 a.m., Eastern time, located at Courtyard by Marriott Indianapolis West-Speedway, 6315 Crawfordsville Road, Indianapolis, Indiana 46224, for the following purposes:

 

   

to consider and vote upon a proposal to approve the Conversion Agreement, dated February 9, 2024, as amended by the First Amendment to the Conversion Agreement, dated April 17, 2024 (the “Conversion Agreement”), copies of which are attached as Annex A and Annex A-1, respectively, to this proxy statement/prospectus, by and among the Partnership, Calumet, Inc. (“New Calumet”), Calumet Merger Sub I LLC (“Merger Sub I”), a wholly owned subsidiary of New Calumet, Calumet Merger Sub II LLC (“Merger Sub II” and, together with Merger Sub I, the “Merger Subs”), a wholly owned subsidiary of New Calumet, Calumet GP, LLC, the general partner of the Partnership (the “General Partner”), and the owners of the equity interests of the General Partner, pursuant to which (i) the General Partner will elect to be taxable as a corporation (the “Election”) for U.S. federal income tax purposes, (ii) Merger Sub II will be merged with and into the Partnership, with the Partnership continuing as the surviving entity and a wholly owned subsidiary of New Calumet (the “Partnership Merger”), pursuant to which all of the common units representing limited partner interests in the Partnership will be exchanged into the right to receive an equal number of shares of common stock, par value $0.01 per share, of New Calumet (“common stock”), and (iii) Merger Sub I will be merged with and into the General Partner with the General Partner continuing as the surviving entity and a wholly owned subsidiary of New Calumet (the “GP Merger” and, together with the Partnership Merger, the “Mergers”), pursuant to which all outstanding equity interests of the General Partner will be exchanged into the right to receive an aggregate of 5,500,000 shares of common stock and 2,000,000 warrants to purchase common stock at an exercise price of $20.00 per share (subject to adjustment) (the “Conversion Proposal”);

 

   

to consider and vote upon a proposal to approve the classification of the New Calumet Board of Directors (the “New Calumet Board”) in accordance with the Amended and Restated Certificate of Incorporation of New Calumet, a copy of which is attached as Annex 2 to Annex A-1 to this proxy statement/prospectus, to be in effect following the consummation of the Conversion (as defined below) (the “Board Classification Proposal”);

 

   

to consider and vote upon a proposal to approve the inclusion of the exclusive Delaware forum provision in the Amended and Restated Certificate of Incorporation of New Calumet, to be in effect following the consummation of the Conversion (the “Forum Selection Proposal”);

 

   

to consider and vote upon a proposal to approve the Calumet, Inc. Amended and Restated Long-Term Incentive Plan, a copy of which is attached as Annex C to this proxy statement/prospectus, to be in effect following the consummation of the Conversion (the “LTIP Proposal”); and

 

   

to consider and vote upon a proposal to adjourn the special meeting to a later date or dates, if presented, to permit further solicitation of proxies if there are not sufficient votes at the time of the special meeting to approve the Conversion Proposal (the “Adjournment Proposal” and, together with the Conversion Proposal, the Board Classification Proposal, the Forum Selection Proposal and the LTIP Proposal, the “Proposals” and, each individually, a “Proposal”).


Table of Contents

A vote for both the Conversion Proposal and the Board Classification Proposal is effectively a vote in favor of the transactions contemplated by the Conversion Agreement, including the Mergers (the “Conversion”), which will result in a reorganization of the Partnership from a master limited partnership to a corporation. Under the Conversion Agreement, the approval of both the Conversion Proposal and the Board Classification Proposal is a condition to the consummation of the Conversion. The Forum Selection Proposal and the LTIP Proposal will be implemented only if the Mergers are consummated and both the Conversion Proposal and the Board Classification Proposal are approved.

Approval of each of the Conversion Proposal, the Board Classification Proposal and the Forum Selection Proposal requires the affirmative vote of holders of a majority of the outstanding common units. Approval of the LTIP Proposal is being sought to satisfy the stockholder approval policy of the Nasdaq Global Select Market. For these purposes, approval of the LTIP Proposal requires the affirmative vote of holders of a majority of the votes cast (not including abstentions and broker non-votes) by unitholders who are present (in person or by proxy) and entitled to vote at the special meeting. Approval of the Adjournment Proposal, if presented, requires the affirmative vote of holders of a majority of the outstanding common units. Abstentions and broker non-votes (if any) will not be taken into account in determining the outcome of the LTIP Proposal and will have the same effect as a vote against the Conversion Proposal, the Board Classification Proposal, the Forum Selection Proposal and the Adjournment Proposal. The votes on each Proposal are separate and apart from the votes on the other Proposals. Accordingly, you may vote to approve certain of the Proposals and vote not to approve other Proposals.

We cannot complete the Conversion unless the requisite holders of the common units (the “unitholders”) approve both the Conversion Proposal and the Board Classification Proposal, which are conditions to consummating the Conversion under the Conversion Agreement. Accordingly, your vote is very important regardless of the number of units you own.

The Conflicts Committee (the “Conflicts Committee”) of the board of the General Partner (the “GP Board”) has unanimously determined that the Partnership Restructuring Agreement, dated November 9, 2023, among the Partnership, the General Partner and the other parties thereto, including The Heritage Group (collectively, the “Sponsor Parties”), as amended by the First Amendment to the Restructuring Agreement, dated February 9, 2024 (the “Restructuring Agreement”), and the transactions contemplated thereby, including the Conversion, are advisable and in the best interests of the unitholders (other than the General Partner and the Sponsor Parties), and unanimously recommended to the GP Board approval of the same and the execution, delivery and performance of the Restructuring Agreement and the transactions contemplated thereby, including the Conversion. The GP Board (acting based upon the Special Approval (as defined in both the First Amended and Restated Agreement of Limited Partnership of the Partnership (as amended, the “Partnership Agreement”)) of the Conflicts Committee and the Conflicts Committee’s recommendation) has unanimously determined that it is advisable and in the best interests of the General Partner and the Partnership for the General Partner and the Partnership to enter into the Restructuring Agreement and consummate the transactions contemplated thereby, including the Conversion. Furthermore, the Conflicts Committee has unanimously determined that the Conversion Agreement, the ancillary documents thereto and the transactions contemplated thereby, including the Conversion, are advisable and in the best interests of the Partnership and the unitholders (other than the General Partner and the Sponsor Parties), and unanimously recommended to the GP Board approval of the same and the execution, delivery and performance of the Conversion Agreement and the transactions contemplated thereby, including the Conversion. The GP Board (acting based upon the Special Approval of the Conflicts Committee and the Conflicts Committee’s recommendation) has unanimously determined that the Conversion Agreement, the ancillary documents thereto and the transactions contemplated thereby are fair and reasonable to, and in the best interests of, the Partnership and the unitholders, approved the Conversion Agreement and the execution, delivery and performance of the Conversion Agreement, the ancillary documents thereto and the transactions contemplated thereby, and resolved to submit the Conversion Agreement to a vote of the unitholders and recommend approval of the Conversion Agreement, the ancillary documents thereto and the transactions contemplated thereby by the unitholders. The GP Board recommends that the unitholders vote FOR the Conversion Proposal, FOR the Board Classification Proposal, FOR the Forum Selection Proposal, FOR the LTIP Proposal and FOR the Adjournment Proposal.


Table of Contents

For more information regarding the recommendation of the GP Board, including the obligations of the GP Board in making such determination under the Partnership Agreement, see “The Conversion—Recommendation of the GP Board and Reasons for the Conversion.” In considering the recommendation of the GP Board, unitholders should be aware that some of the General Partner’s directors and executive officers have interests in the Conversion that may be different from, or in addition to, the interests they may have as unitholders. See “The Conversion—Interests of Certain Persons in the Conversion.”

Only unitholders of record at the close of business on May 24, 2024 are entitled to notice of and to vote at the special meeting. A list of unitholders of record will be available for inspection by any unitholder during the special meeting. References to the special meeting in this proxy statement/prospectus are to such special meeting as adjourned or postponed.


Table of Contents

YOUR VOTE IS IMPORTANT. WHETHER OR NOT YOU EXPECT TO ATTEND THE SPECIAL MEETING, PLEASE SUBMIT YOUR PROXY IN ONE OF THE FOLLOWING WAYS:

 

   

If you hold your units in the name of a bank, broker or other nominee, you should follow the instructions provided by your bank, broker or other nominee when voting your units.

 

   

If you hold your units in your own name, you may submit your proxy by:

 

   

using the toll-free telephone number shown on the enclosed proxy card;

 

   

using the Internet website shown on the enclosed proxy card; or

 

   

marking, signing, dating and promptly returning the enclosed proxy card by mail in the postage-paid envelope provided. It requires no postage if mailed in the United States.

The enclosed proxy statement/prospectus provides a detailed description of the Conversion and the Conversion Agreement. You are urged to read this proxy statement/prospectus and the Annexes carefully and in their entirety. If you have any questions concerning the Conversion, the Conversion Agreement or this proxy statement/prospectus, would like additional copies or need help voting your units, please contact the Partnership’s proxy solicitor:

Innisfree M&A Incorporated

501 Madison Avenue, 19th floor

New York, New York 10022

Shareholders May Call Toll Free: (877) 825-8777

Banks and Brokers Call: (212) 750-5833

 

By order of the Board of Directors of
Calumet GP, LLC,

 

 

LOGO

 

Todd Borgmann

Chief Executive Officer of
Calumet GP, LLC


Table of Contents

IMPORTANT NOTE ABOUT THIS PROXY STATEMENT/PROSPECTUS

This proxy statement/prospectus, which forms part of a registration statement on Form S-4 filed with the Securities and Exchange Commission (the “SEC”), constitutes a proxy statement of the Partnership under Section 14(a) of the Securities Exchange Act of 1934, as amended (the “Exchange Act”), with respect to the solicitation of proxies for the special meeting to approve the Conversion Proposal, the Board Classification Proposal, the Forum Selection Proposal, the LTIP Proposal and the Adjournment Proposal (each as defined herein). This proxy statement/prospectus is also a prospectus of New Calumet under Section 5 of the Securities Act of 1933, as amended (the “Securities Act”), for the shares (the “shares”) of New Calumet common stock, par value $0.01 (the “common stock”), that New Calumet will issue to the unitholders of the Partnership and the owners of the General Partner and the warrants that New Calumet will issue to the owners of the General Partner (including the underlying shares of common stock), in each case, in the Conversion pursuant to the Conversion Agreement, as amended by the First Amendment to the Conversion Agreement, copies of which are attached as Annex A and Annex A-1, respectively, to this proxy statement/prospectus, by and among the Partnership, New Calumet, Merger Sub I, Merger Sub II, the General Partner and the Sponsor Parties, being the individuals, entities and trusts that own the membership interests of the General Partner, including The Heritage Group.

The Partnership and New Calumet have not authorized anyone to give any information or make any representation about the Conversion, the Partnership or New Calumet that is different from, or in addition to, that contained in this proxy statement/prospectus. Therefore, if anyone distributes this type of information, you should not rely on it. If you are in a jurisdiction where offers to exchange or sell, or solicitations of offers to exchange or purchase, the securities offered by this proxy statement/prospectus or the solicitation of proxies are unlawful, or you are a person to whom it is unlawful to direct these types of activities, then the offer presented in this proxy statement/prospectus does not extend to you. The information contained in this proxy statement/prospectus speaks only as of the date of this proxy statement/prospectus unless the information specifically indicates that another date applies.

ADDITIONAL INFORMATION

This proxy statement/prospectus incorporates by reference important business and financial information about the Partnership from other documents filed with the SEC that are not included in or delivered with this document. Unitholders may read the Partnership’s SEC filings free of charge, including this proxy statement/prospectus, over the Internet at the SEC’s website at www.sec.gov.

If you would like to request documents from the Partnership, please send a request in writing or by telephone at the following addresses:

Calumet Specialty Products Partners, L.P.

2780 Waterfront Parkway East Drive, Suite 200

Indianapolis, Indiana 46214

Attention: Investor Relations

Phone: (317) 328-5660

If you are a unitholder and would like to request documents, please do so by July 2, 2024, in order to receive them before the special meeting. The Partnership will mail any requested documents to you by first class mail, or another equally prompt means.

For additional details about where you can find information about the Partnership, please see the section titled “Where You Can Find More Information” of this proxy statement/prospectus.

 


Table of Contents

PROXY STATEMENT/PROSPECTUS

TABLE OF CONTENTS

 

     Page  

QUESTIONS AND ANSWERS ABOUT THE CONVERSION AND THE SPECIAL MEETING

     iii  

SUMMARY

     1  

SUMMARY HISTORICAL CONSOLIDATED FINANCIAL AND OPERATING DATA OF THE PARTNERSHIP

     17  

SUMMARY UNAUDITED PRO FORMA CONDENSED CONSOLIDATED FINANCIAL INFORMATION

     22  

RISK FACTORS

     23  

CAUTIONARY STATEMENT REGARDING FORWARD-LOOKING STATEMENTS

     49  

INFORMATION ABOUT THE PARTIES

     51  

THE SPECIAL MEETING

     53  

THE CONVERSION

     58  

THE RESTRUCTURING AGREEMENT

     88  

THE CONVERSION AGREEMENT

     99  

COMPARISON OF THE RIGHTS OF STOCKHOLDERS AND UNITHOLDERS

     106  

DESCRIPTION OF NEW CALUMET CAPITAL STOCK

     127  

MATERIAL U.S. FEDERAL INCOME TAX CONSEQUENCES

     135  

MANAGEMENT’S DISCUSSION AND ANALYSIS OF FINANCIAL CONDITION AND RESULTS OF OPERATIONS OF THE PARTNERSHIP

     142  

BUSINESS OF THE PARTNERSHIP

     174  

MANAGEMENT OF THE PARTNERSHIP

     200  

MANAGEMENT’S DISCUSSION AND ANALYSIS OF FINANCIAL CONDITION AND RESULTS OF OPERATIONS OF NEW CALUMET

     219  

BUSINESS OF NEW CALUMET

     220  

MANAGEMENT OF NEW CALUMET

     221  

DESCRIPTION OF THE NEW CALUMET AMENDED AND RESTATED LONG-TERM INCENTIVE PLAN

     228  

UNITHOLDER PROPOSALS

     235  

HOUSEHOLDING OF PROXY STATEMENT/PROSPECTUS

     236  

LEGAL MATTERS

     237  

EXPERTS

     237  

CHANGE IN INDEPENDENT REGISTERED PUBLIC ACCOUNTING FIRM

     238  

WHERE YOU CAN FIND MORE INFORMATION

     239  

GLOSSARY OF TERMS

     G-1  

INDEX TO FINANCIAL STATEMENTS

     F-1  

 

i


Table of Contents

ANNEX A – CONVERSION AGREEMENT

     A-1  

ANNEX A-1 – FIRST AMENDMENT TO CONVERSION AGREEMENT

     A-1-1  

ANNEX B – PARTNERSHIP RESTRUCTURING AGREEMENT

     B-1  

ANNEX B-1 – FIRST AMENDMENT TO PARTNERSHIP RESTRUCTURING AGREEMENT

     B-1-1  

ANNEX C – CALUMET, INC. AMENDED AND RESTATED LONG-TERM INCENTIVE PLAN

     C-1  

ANNEX D – OPINION OF EVERCORE GROUP L.L.C.

     D-1  

 

ii


Table of Contents

QUESTIONS AND ANSWERS ABOUT THE CONVERSION AND

THE SPECIAL MEETING

The following are brief answers to some questions that you may have regarding the Conversion and matters being considered at the special meeting of unitholders (the “special meeting”). You should read and consider carefully the remainder of this proxy statement/prospectus, including the Risk Factors beginning on page 23 and the attached Annexes, because the information in this section does not provide all of the information that might be important to you.

 

Q:

Why am I receiving these materials?

 

  A:

This proxy statement/prospectus is being used:

(1) by the Partnership to solicit proxies to be used at its special meeting of unitholders; and

(2) by New Calumet in connection with its offering of (i) shares of its common stock, par value $0.01 per share (“common stock”), to unitholders and the Sponsor Parties and (ii) warrants to purchase shares of common stock at an exercise price of $20.00 per share (subject to adjustment), exercisable for a period of three years from the date of issuance (“warrants”) and the shares of common stock underlying the warrants, in each case, as part of the Conversion.

The Partnership, New Calumet and the General Partner have agreed to reorganize by (i) merging Merger Sub II, a wholly owned subsidiary of New Calumet, with and into the Partnership and (ii) merging Merger Sub I, a wholly owned subsidiary of New Calumet, with and into the General Partner, in each case, under the terms of the Conversion Agreement, as amended by the First Amendment to the Conversion Agreement, that are described in this proxy statement/prospectus and attached as Annex A and Annex A-1, respectively. You are receiving this document because the Conversion cannot be completed without the approval of the Conversion Proposal and the Board Classification Proposal (each as defined below) by the unitholders.

 

Q:

When and where will the special meeting be held?

 

  A:

The special meeting will be held on July 9, 2024 at 10:00 a.m., Eastern time, located at Courtyard by Marriott Indianapolis West-Speedway, 6315 Crawfordsville Road, Indianapolis, Indiana 46224.

 

Q:

What am I being asked to vote on?

 

  A:

The unitholders are being asked to consider and vote on a proposal to approve and adopt the Conversion Agreement and the Mergers, as a result of which the General Partner will become a wholly owned subsidiary of New Calumet and the Partnership will be wholly owned by New Calumet, and the unitholders will become stockholders of New Calumet (the “Conversion Proposal”). Under the Conversion Agreement, the approval of the Conversion Proposal is a condition to the consummation of the Conversion.

The unitholders are also being asked to consider and vote on a proposal to approve the classification of the Board of Directors of New Calumet (the “New Calumet Board”) in accordance with the Amended and Restated Certificate of Incorporation of New Calumet, to be in effect following the consummation of the Conversion (the “Board Classification Proposal”). A vote for both the Conversion Proposal and the Board Classification Proposal is effectively a vote in favor of the Conversion which will result in a reorganization of the Partnership from a master limited partnership to a corporation. Under the Conversion Agreement, the approval of the Board Classification Proposal is a condition to the consummation of the Conversion.

The unitholders are also being asked to consider and vote on a proposal to approve the inclusion of the exclusive Delaware forum provision in the Amended and Restated Certificate of Incorporation of New

 

iii


Table of Contents

Calumet, to be in effect following the consummation of the Conversion (the “Forum Selection Proposal”). Under the Conversion Agreement, the approval of the Forum Selection Proposal is not a condition to the consummation of the Conversion. If the Forum Selection Proposal is not approved by the unitholders, the Amended and Restated Certificate of Incorporation of New Calumet, to be in effect following the consummation of the Conversion, will not contain an exclusive forum provision.

To satisfy the stockholder approval policy of the Nasdaq Global Select Market (“Nasdaq”), where the common stock is expected to be listed following the Conversion, the unitholders are also being asked to consider and vote on a proposal to approve an amended and restated long-term incentive plan of New Calumet (the “New Calumet LTIP”) to be in effect following the consummation of the Conversion to make incentive compensation awards to directors, officers and employees of New Calumet (the “LTIP Proposal”).

Unitholders may also be asked to consider and vote on a proposal to adjourn the special meeting to a later date to solicit additional proxies in the event there are insufficient votes in favor of the Conversion Proposal (the “Adjournment Proposal” and, together with the Conversion Proposal, the Board Classification Proposal, the Forum Selection Proposal and the LTIP Proposal, the “Proposals”).

 

Q:

What is the Conversion?

 

  A.

The Conversion is the transaction that will occur if the Conversion Agreement receives all necessary approvals of the unitholders and the other closing conditions are satisfied or waived. The most important steps in the transaction that will occur as part of the Conversion are:

 

   

the General Partner will elect to be taxable as a corporation for U.S. federal income tax purposes;

 

   

a wholly owned subsidiary of New Calumet will merge with and into the Partnership and the unitholders will receive shares of common stock in exchange for their common units;

 

   

a wholly owned subsidiary of New Calumet will merge with and into the General Partner and the Sponsor Parties will receive 5,500,000 shares of common stock and 2,000,000 warrants (collectively, the “Sponsor Consideration”) in exchange for their equity interests in the General Partner;

 

   

as a result of the Mergers, the Partnership will survive as a wholly owned subsidiary of New Calumet; and

 

   

certain of the Sponsor Parties will receive certain governance rights. See “Description of New Calumet Capital Stock.”

There are other steps in the transaction that will occur as part of the Conversion. You should read “The Conversion Agreement” for a description of these other transactions, as well as the full text of the Conversion Agreement, as amended by the First Amendment to the Conversion Agreement, attached hereto as Annex A and Annex A-1, respectively.

 

Q:

Why are the Partnership and New Calumet proposing the Conversion?

 

  A:

The Partnership and New Calumet believe that the Conversion will benefit the unitholders and broaden New Calumet’s investor base. See “The Conversion—Recommendation of the GP Board and Reasons for the Conversion.”

 

Q:

What will limited partners receive in the Conversion?

 

  A:

If the Conversion is completed,

 

   

each outstanding common unit will be converted into the right to receive one share of common stock; and

 

iv


Table of Contents
   

the Sponsor Parties will receive 5,500,000 shares of common stock and 2,000,000 warrants in exchange for their equity interests in the General Partner.

Immediately following the Conversion, (i) the former unitholders (other than the General Partner, the Sponsor Parties, members of the GP Board and management) are expected to own approximately 72.6% of the common stock of New Calumet and (ii) the Sponsor Parties, members of the GP Board and management are expected to own approximately 27.4% of the common stock of New Calumet, in each case, prior to any potential dilution resulting from exercise of the warrants.

 

Q:

Where will my shares or limited partner interests trade after the Conversion?

 

  A:

The common stock is expected to be listed on Nasdaq under the symbol “CLMT.” The common units will cease to be listed on the Nasdaq and will be subsequently deregistered under the Exchange Act.

 

Q:

Who is entitled to vote at the special meeting?

 

  A:

The record date for the special meeting is May 24, 2024 (the “record date”). Only unitholders of record as of the close of business on the record date are entitled to notice of, and to vote at, the special meeting.

 

Q:

What constitutes a quorum at the special meeting?

 

  A:

A majority of the outstanding common units entitled to vote at the meeting as of the record date represented in person or by proxy (by submitting a properly executed proxy card or properly submitting a proxy by telephone or Internet) will constitute a quorum and will permit the Partnership to conduct the proposed business at the special meeting. Proxies received but marked as abstentions and broker non-votes (if any) will be counted as common units that are present and entitled to vote for purposes of determining the presence of a quorum.

 

Q:

What is the vote required to approve each proposal?

 

  A:

Approval of each of the Conversion Proposal, the Board Classification Proposal and the Forum Selection Proposal requires the affirmative vote of holders of a majority of the outstanding common units. Approval of the LTIP Proposal is being sought to satisfy the stockholder approval policy of Nasdaq. For these purposes, approval of the LTIP Proposal requires the affirmative vote of holders of a majority of the votes cast (not including abstentions and broker non-votes) by unitholders who are present (in person or by proxy) and entitled to vote at the special meeting. Approval of the Adjournment Proposal, if presented, requires the affirmative vote of holders of a majority of the outstanding common units.

Abstentions and broker non-votes (if any) will not be taken into account in determining the outcome of the LTIP Proposal and will have the same effect as a vote against the Conversion Proposal, the Board Classification Proposal, the Forum Selection Proposal and the Adjournment Proposal. The votes on each Proposal are separate and apart from the votes on the other Proposals. Accordingly, you may vote to approve certain of the Proposals and vote not to approve other Proposals. However, the Conversion cannot be consummated unless the requisite unitholders approve both the Conversion Proposal and the Board Classification Proposal, which are conditions to consummating the Conversion under the Conversion Agreement.

All of the directors and executive officers of the General Partner, beneficially owned, in the aggregate, approximately 3.1% of the outstanding common units as of the record date. The Partnership and New Calumet believe that the directors and executive officers of the General Partner will vote in favor of the

 

v


Table of Contents

Conversion Proposal, in favor of the Board Classification Proposal, in favor of the Forum Selection Proposal, in favor of the LTIP Proposal and in favor of the Adjournment Proposal. In addition, Amy M. Schumacher and Jennifer G. Straumins, two of the directors of the General Partner, have agreed to vote in favor of the Conversion Proposal.

The Restructuring Agreement contains a voting covenant obligating the Sponsor Parties and their respective subsidiaries to vote any common units they own beneficially or of record in favor of the Conversion Proposal. As of the record date, such holders beneficially owned 16,404,747 common units or approximately 20.4% of the outstanding common units. Certain of these holders are directors of the General Partner and are included in the beneficial ownership amounts included in the previous paragraph.

 

Q:

How do I vote my common units if I hold them in my own name?

 

  A:

After you have read this proxy statement/prospectus carefully, please respond by completing, signing and dating your enclosed proxy card and returning it by mail in the postage-paid envelope provided, or by submitting your proxy by telephone or the Internet following the instructions set forth on the enclosed proxy card as soon as possible.

 

Q:

If my common units are held in “street name” by my bank, broker or other nominee, will my bank, broker or other nominee vote them for me?

 

  A:

As a general rule, absent specific instructions from you, your bank, broker or other nominee is not allowed to vote your common units on any proposal on which your bank, broker or other nominee does not have discretionary authority. The only proposals for consideration at the special meeting are the Conversion Proposal, the Board Classification Proposal, the Forum Selection Proposal, the LTIP Proposal and the Adjournment Proposal, which are non-discretionary matters for which banks, brokers or other nominees do not have discretionary authority to vote. To instruct your bank, broker or other nominee how to vote, you should follow the directions that your bank, broker or other nominee provides to you.

Please note that you may not vote your common units held in “street name” by returning a proxy card directly to the Partnership or by voting in person at the special meeting unless you provide a “legal proxy,” which you must obtain from your bank, broker or other nominee. If you do not instruct your bank, broker or other nominee on how to vote your common units, your bank, broker or other nominee cannot vote your common units. If you do not instruct your bank, broker or other nominee as to how to vote your common units, it will have the same effect as a vote against the Conversion Proposal, the Board Classification Proposal, the Forum Selection Proposal and the Adjournment Proposal, but will have no effect on the outcome of the LTIP Proposal. You should therefore provide your bank, broker or other nominee with instructions as to how to vote your common units.

 

Q:

When do you expect the Conversion to be consummated?

 

  A:

We currently expect the Conversion to close in the second quarter of 2024. A number of conditions must be satisfied before the Partnership and New Calumet can complete the Conversion, including the approval of the Conversion Proposal and the Board Classification Proposal by the unitholders. Although the Partnership and New Calumet cannot be sure when all of the conditions to the Conversion will be satisfied, the Partnership and New Calumet expect to consummate the Conversion as soon as practicable following the special meeting (assuming both the Conversion Proposal and the Board Classification Proposal are approved by the unitholders), which is currently expected to be held in the second quarter of 2024, subject to, among other things, the registration statement of which this proxy statement/prospectus forms a part having been declared effective under the Securities Act. See

 

vi


Table of Contents
  “Summary—The Conversion Agreement—Conditions to Consummation of the Mergers” and “Risk Factors.” The Conversion is subject to conditions, including some conditions that may not be satisfied on a timely basis, if at all. Failure to complete the Conversion, or significant delays in completing the Conversion, could negatively affect the Partnership’s business and financial results and the price of the common units or, following the consummation of the Conversion, future business and financial results of New Calumet and the price of the common stock.

 

Q:

What if the proposed Conversion is not consummated?

 

  A:

It is possible that the proposed Conversion will not be consummated. The Conversion will not be consummated if all closing conditions are not satisfied or waived. If the Conversion is not consummated, the unitholders will not receive common stock in exchange for their common units, the Partnership will remain a public master limited partnership and the common units will continue to be listed and traded on the Nasdaq. In addition, the failure to consummate the Conversion may adversely impact the Partnership’s business going forward. See “Risk Factors.” Whether or not the Conversion is consummated, the costs and expenses incurred in connection with the Conversion will be paid in full by the Partnership.

 

Q:

Should I send in my common unit certificates now?

 

  A:

No. If the Conversion is completed, we will send the unitholders a letter of transmittal with detailed written instructions for exchanging their certificates representing limited partner interests. The shares of New Calumet issued in the Conversion will be in uncertificated, book-entry form. Please do not send your certificates now.

 

Q:

How does the GP Board recommend that the unitholders vote?

 

  A:

The GP Board recommends that unitholders vote FOR the Conversion Proposal, FOR the Board Classification Proposal, FOR the Forum Selection Proposal, FOR the LTIP Proposal and FOR the Adjournment Proposal.

The Conflicts Committee has unanimously determined that the Restructuring Agreement and the transactions contemplated thereby, including the Conversion, are advisable and in the best interests of the Partnership and the unitholders (other than the General Partner and the Sponsor Parties), and unanimously recommended to the GP Board approval of the same and the execution, delivery and performance of the Restructuring Agreement and the transactions contemplated thereby, including the Conversion.

The GP Board (acting based upon the Special Approval (as defined in the Partnership Agreement) of the Conflicts Committee and the Conflicts Committee’s recommendation) has unanimously determined that it is advisable and in the best interests of the Partnership for the Partnership to enter into the Restructuring Agreement and consummate the transactions contemplated thereby, including the Conversion, and unanimously recommended that the unitholders vote in favor of the approval of the Conversion Agreement and the transactions contemplated thereby, including the Mergers, and other proposals related to the Conversion.

The Conflicts Committee has unanimously determined that the Conversion Agreement and the transactions contemplated thereby, including the Conversion, are advisable and in the best interests of the Partnership and the unitholders (other than the General Partner and the Sponsor Parties), and unanimously recommended to the GP Board approval of the same and the execution, delivery and performance of the Conversion Agreement and the transactions contemplated thereby, including the Conversion.

The GP Board (acting based upon the Special Approval of the Conflicts Committee and the Conflicts Committee’s recommendation) has unanimously determined that the Conversion Agreement, the

 

vii


Table of Contents

ancillary documents thereto and the transactions contemplated thereby are fair and reasonable to, and in the best interests of, the Partnership and the unitholders, approved the Conversion Agreement and the execution, delivery and performance of the Conversion Agreement, the ancillary documents thereto and the transactions contemplated thereby, and resolved to submit the Conversion Agreement to a vote of the unitholders and recommend approval of the Conversion Agreement by the unitholders. For more information regarding the recommendation of the GP Board, including the obligations of the GP Board in making such determination under the Partnership Agreement, see “The Conversion—Recommendation of the GP Board and Reasons for the Conversion.”

In considering the recommendation of the GP Board, unitholders should be aware that some of the General Partner’s directors and executive officers have interests in the Conversion that may be different from, or in addition to, the interests they may have as unitholders. See “The Conversion—Interests of Certain Persons in the Conversion.”

 

Q:

What are the expected U.S. federal income tax consequences to a unitholder as a result of the Partnership Merger?

 

  A:

A unitholder’s receipt of shares of common stock in exchange for common units pursuant to the Partnership Merger is generally intended to qualify as an exchange described in Section 351 of the Code (as defined in “Material U.S. Federal Income Tax Consequences”) for U.S. federal income tax purposes. It is intended that a unitholder generally will not recognize gain or loss on the receipt of shares of common stock in exchange for common units, except that a unitholder will recognize gain if its share of Partnership liabilities exceeds its tax basis in its common units. See “Material U.S. Federal Income Tax Consequences” for a more complete discussion of the expected material U.S. federal income tax consequences of the Partnership Merger.

 

Q:

What are the expected U.S. federal income tax consequences for a unitholder and a Sponsor Party of the ownership of shares of common stock after the Mergers are completed? Will the unitholders continue to receive Form K-1s?

 

  A:

New Calumet is classified as a corporation for U.S. federal income tax purposes and is subject to U.S. federal income tax on its taxable income. As such, equity owners of the General Partner and of the Partnership will no longer receive Forms K-1. Any future distribution of cash by New Calumet to a stockholder who is a U.S. holder (as defined in “Material U.S. Federal Income Tax Consequences”) generally will be included in such U.S. holder’s income as ordinary dividend income to the extent of New Calumet’s current or accumulated “earnings and profits” as determined under U.S. federal income tax principles and will be reported to such owner on Form 1099-DIV. A portion of the cash distributed to holders of common stock (the “stockholders”) by New Calumet after the Mergers, if any, may exceed New Calumet’s current or accumulated earnings and profits. Distributions of cash, if any, in excess of New Calumet’s current or accumulated earnings and profits will be treated as a non-taxable return of capital reducing a U.S. holder’s adjusted tax basis in such U.S. holder’s shares of common stock and, to the extent the distribution exceeds such stockholder’s adjusted tax basis, as capital gain from the sale or exchange of such shares of common stock. See “Material U.S. Federal Income Tax Consequences” for a more complete discussion of the expected material U.S. federal income tax consequences of owning and disposing of shares of common stock received in the Mergers.

 

Q:

What are the expected U.S. federal income tax consequences to a Sponsor Party as a result of the election by the General Partner to be taxed as a corporation for tax purposes and as a result of the GP Merger?

 

  A:

The election by the General Partner to be taxed as a corporation will generally be treated as a tax-free exchange described in Section 351 of the Code in which a Sponsor Party will not recognize gain or

 

viii


Table of Contents
  loss, except that the General Partner will recognize gain, and a Sponsor Party may be allocated gain from the General Partner if the General Partner’s liabilities and share of Partnership liabilities exceeds the General Partner’s tax basis in its equity interests in the Partnership (“GP Interest”). A Sponsor Party’s receipt of shares of common stock in exchange for equity interests in the General Partner pursuant to the GP Merger is generally intended to qualify as an exchange described in Section 351 of the Code for U.S. federal income tax purposes in which a Sponsor Party generally will not recognize gain or loss on the receipt of shares of common stock in exchange for equity interests, but any warrants received by a Sponsor Party in the GP Merger will be taxable as boot. See “Material U.S. Federal Income Tax Consequences” for a more complete discussion of the expected material U.S. federal income tax consequences to the Sponsor Parties of the General Partner’s election to be taxed as a corporation for tax purposes and of the GP Merger.

 

Q:

Are unitholders entitled to appraisal rights or dissenters’ rights?

 

  A:

No. The unitholders are not entitled to appraisal rights or dissenters’ rights in connection with the Conversion under applicable law or contractual appraisal rights or dissenters’ rights under the Partnership Agreement or the Conversion Agreement.

 

Q:

What if I do not vote?

 

  A:

If you do not vote in person or by proxy, vote “abstain” on your proxy card or a broker non-vote is made, it will have the same effect as a vote against the Conversion Proposal, the Board Classification Proposal, the Forum Selection Proposal and the Adjournment Proposal, but it will be deemed to not be a vote cast with respect to the LTIP Proposal. If you sign and return your proxy card but do not indicate how you want to vote, your proxy will be counted as a vote FOR the Conversion Proposal, FOR the Board Classification Proposal, FOR the Forum Selection Proposal, FOR the LTIP Proposal and FOR the Adjournment Proposal. If you hold your common units through a bank, broker or other nominee and you do not instruct your bank, broker or other nominee as to how to vote your common units, it will have the same effect as a vote against the Conversion Proposal, the Board Classification Proposal, the Forum Selection Proposal and the Adjournment Proposal, but will have no effect on the outcome of the LTIP Proposal.

 

Q:

If I am planning to attend the special meeting in person, should I still vote by proxy?

 

  A:

Yes. Whether or not you plan to attend the special meeting, you should vote by proxy. Your common units will not be voted if you do not vote by proxy or do not vote in person at the special meeting, as applicable.

 

Q:

Who may attend the special meeting?

 

  A:

The unitholders (or their authorized representatives) and the Partnership’s invited guests may attend the special meeting. All attendees should be prepared to present valid, government-issued photo identification (such as a driver’s license or passport) and proof of ownership of common units for admittance.

 

Q:

Can I change my vote after I have submitted my proxy?

 

  A:

Yes. If you own your common units in your own name, you may revoke your proxy at any time prior to its exercise by:

 

   

giving written notice of revocation to the Secretary of the General Partner at or before the special meeting;

 

   

appearing and voting in person at the special meeting; or

 

ix


Table of Contents
   

properly completing and executing a later dated proxy and delivering it to the Secretary of the General Partner at or before the special meeting.

Your presence without voting at the special meeting will not automatically revoke your proxy.

 

Q:

What should I do if I receive more than one set of voting materials for the special meeting?

 

  A:

You may receive more than one set of voting materials for the special meeting, and the materials may include multiple proxy cards or voting instruction forms. For example, you will receive a separate voting instruction form for each brokerage account in which you hold common units. Additionally, if you are a holder of record with units registered in more than one name, you will receive more than one proxy card. Please complete, sign, date and return each proxy card and voting instruction form that you receive according to the instructions on it.

 

Q:

Whom do I call if I have further questions about voting, the special meeting or the Conversion?

 

  A:

Any unitholders who have questions about the Conversion, including the procedures for voting their common units, or who desire additional copies of this proxy statement/prospectus or additional proxy cards should contact:

Innisfree M&A Incorporated

501 Madison Avenue, 19th floor

New York, New York 10022

Shareholders May Call Toll Free: (877) 825-8777

Banks and Brokers Call: (212) 750-5833

 

x


Table of Contents

SUMMARY

This summary highlights some of the information in this proxy statement/prospectus. It may not contain all of the information that is important to you. To understand the Conversion fully and for a more complete description of the terms of the Conversion, you should carefully read this document and the Annexes to this document, including the full text of the Conversion Agreement, as amended by the First Amendment to the Conversion Agreement, included as Annex A and Annex A-1, respectively.

References in this proxy statement/prospectus to the “Partnership” refer to Calumet Specialty Products Partners, L.P. and its subsidiaries. References to “General Partner” refer to Calumet GP, LLC, the general partner of the Partnership. References to “New Calumet” refer to Calumet, Inc. References to “common units” refer to the common units representing limited partner interests in the Partnership and “unitholders” refers to the holders of common units. As used herein, unless the context requires otherwise, the term “limited partner interests” refers to the common units and the Incentive Distribution Rights (“IDRs”) collectively, and “limited partners” refers to the holders of limited partner interests. References to “common stock” refer to the common stock, par value $0.01 per share, of New Calumet.

The Parties

Calumet, Inc.

Calumet, Inc., or New Calumet, is a Delaware corporation incorporated on January 8, 2024, for the purpose of effecting the Conversion. New Calumet has not conducted any business operations since its incorporation other than incidental to its formation and actions taken in connection with the transactions contemplated by the Conversion. Following the Conversion, New Calumet will manufacture, formulate and market a diversified slate of specialty branded products and renewable fuels to customers across a broad range of consumer-facing and industrial markets through its ownership of the Partnership and the General Partner as direct or indirect subsidiaries. Its principal executive offices are located at 2780 Waterfront Parkway East Drive, Suite 200, Indianapolis, Indiana 46214, and its telephone number is (317) 328-5660.

Calumet Specialty Products Partners, L.P.

Calumet Specialty Products Partners, L.P., or the Partnership, is a master limited partnership that manufactures, formulates and markets a diversified slate of specialty branded products and renewable fuels to customers across a broad range of consumer-facing and industrial markets. The Partnership is headquartered in Indianapolis, Indiana, and operates twelve facilities throughout North America.

The Partnership’s operations are managed using the following reportable segments: Specialty Products and Solutions; Performance Brands; Montana/Renewables; and Corporate. In the Specialty Products and Solutions segment, the Partnership manufactures and markets a wide variety of solvents, waxes, customized lubricating oils, white oils, petrolatums, gels, esters and other products. The Partnership’s specialty products are sold to domestic and international customers who purchase them primarily as raw material components for consumer-facing and industrial products. In the Performance Brands segment, the Partnership blends, packages and markets high performance products through its Royal Purple, Bel-Ray and TruFuel brands. The Montana/Renewables segment is comprised of two facilities — renewable fuels and specialty asphalt. At the Partnership’s Great Falls renewable fuels facility, the Partnership processes a variety of geographically advantaged renewable feedstocks into renewable diesel, sustainable aviation fuel, renewable hydrogen, renewable natural gas, renewable propane and renewable naphtha that are distributed into renewable markets in the western half of North America. At the Partnership’s Montana specialty asphalt facility, the Partnership processes Canadian crude oil into conventional gasoline, diesel, jet fuel and specialty grades of asphalt, with production sized to serve local markets. The Partnership’s Corporate segment primarily consists of general and administrative expenses not allocated to the Specialty Products and Solutions, Performance Brands or Montana/Renewables segments.

 

1


Table of Contents

The Partnership’s principal executive offices are located at 2780 Waterfront Parkway East Drive, Suite 200, Indianapolis, Indiana 46214, and its telephone number is (317) 328-5660.

Calumet GP, LLC

Calumet GP, LLC, or the General Partner, is a Delaware limited liability company and the general partner of the Partnership. As of the record date, the General Partner owned a 2.0% general partner interest in the Partnership and all of the incentive distribution rights and is responsible for conducting the business and managing the operations of the Partnership. The General Partner’s principal executive offices are located at 2780 Waterfront Parkway East Drive, Suite 200, Indianapolis, Indiana 46214, and its telephone number is (317) 328-5660.

Sponsor Parties

The Heritage Group. The Heritage Group is a limited partnership formed under the laws of Indiana that manages a diverse portfolio of companies, specializing in heavy construction and materials, environmental services and specialty chemicals. The Heritage Group’s principal executive offices are located at 5400 W. 86th St., Indianapolis, Indiana 46268, and its telephone number is (317) 228-8314.

Jennifer Straumins. Jennifer Straumins is a director of the GP Board. The Partnership’s executive offices are located at 2780 Waterfront Pkwy. E. Dr., Indianapolis, Indiana 46214.

William Grube Jr. William Grube Jr. is Executive Vice President of Monument Chemical, LLC (“Monument Chemical”), a manufacturer of specialty chemicals. Monument Chemical’s principal executive offices are located at 6510 Telecom Drive, #425, Indianapolis, Indiana 46278.

Fred Mehlert Fehsenfeld Jr. Trusts. The Fred Mehlert Fehsenfeld Jr. Trusts consist of two trusts, Irrevocable Intervivos Trust Number 12.27.73 for the Benefit of Fred Mehlert Fehsenfeld, JR. and His Issue U/A Dated December 18, 2012 and Maggie Fehsenfeld Trust Number 106 12.30.74 for the Benefit of Fred Mehlert Fehsenfeld, Jr. and His Issue U/A Dated December 18, 2012 (collectively, “The Fred Mehlert Fehsenfeld Jr. Trusts”), established for the benefit of Fred Fehsenfeld, Jr. The Fred Mehlert Fehsenfeld Jr. Trusts’ principal executive offices are located at 5400 W. 86th St., Indianapolis, Indiana 46268.

The Mergers

Subject to the terms and conditions of the Conversion Agreement, as amended by the First Amendment to the Conversion Agreement, copies of which are attached as Annex A and Annex A-1, respectively, to this proxy statement/prospectus, and in accordance with Delaware law, (i) at the effective time of the Partnership Merger, Merger Sub II, a wholly owned subsidiary of New Calumet, will merge with and into the Partnership, with the Partnership continuing as the surviving entity and a wholly owned subsidiary of New Calumet and (ii) immediately after the Partnership Merger, at the effective time of the GP Merger, Merger Sub I, a wholly owned subsidiary of New Calumet, will merge with and into the General Partner, with the General Partner continuing as the surviving entity and a wholly owned subsidiary of New Calumet.

The Consideration for the Mergers

At the effective time of the Partnership Merger:

 

   

each outstanding common unit (including each common unit owned by the Sponsor Parties and their respective affiliates) will be exchanged into the right to receive one share of common stock;

 

2


Table of Contents
   

the outstanding limited liability company interests in Merger Sub II will be converted into common units in the surviving Partnership; and

 

   

the outstanding general partner interest and IDRs in the Partnership will remain outstanding, but will be owned by New Calumet.

At the effective time of the GP Merger:

 

   

all outstanding equity interests of the General Partner will be exchanged into the right to receive an aggregate of 5,500,000 shares of common stock and 2,000,000 warrants to purchase common stock; and

 

   

the outstanding limited liability company interests in Merger Sub I will remain outstanding as limited liability company interests in the surviving General Partner.

 

3


Table of Contents

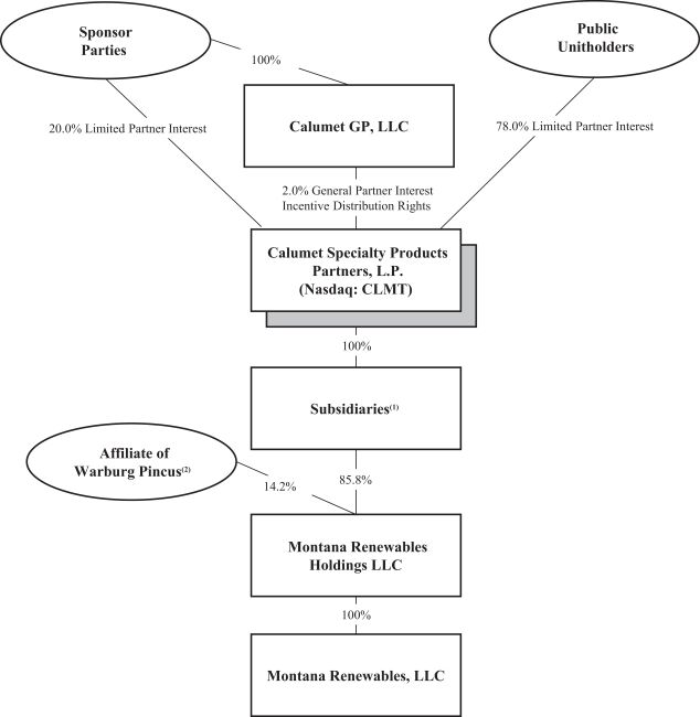
Ownership Structure Before the Conversion

 

LOGO

 

(1)

Represents wholly owned subsidiaries of Calumet Specialty Products Partners, L.P. prior to the Conversion.

(2)

An affiliate of Warburg Pincus LLC (“Warburg Pincus”) owns preferred units in MRHL (as defined herein), the terms of which are set forth in the Second Amended and Restated Limited Liability Company Agreement of MRHL.

 

4


Table of Contents

Ownership Structure After the Conversion

 

LOGO

 

(1)

Represents wholly owned subsidiaries of Calumet, Inc. after the Conversion, including Calumet GP, LLC and Calumet Specialty Products Partners, L.P.

(2)

An affiliate of Warburg Pincus owns preferred units in MRHL, the terms of which are set forth in the Second Amended and Restated Limited Liability Company Agreement of MRHL.

Treatment of the Partnership Equity Awards

Pursuant to the Conversion Agreement, at the effective time of the Partnership Merger, each outstanding Partnership Phantom Unit Award will be converted into an award of New Calumet RSUs relating to a number of common stock equal to the product of (a) the number of common units subject to such Partnership Phantom Unit Award as of immediately prior to the effective time of the Partnership Merger, multiplied by (b) the exchange ratio, on substantially the same terms and conditions as were applicable to such Partnership Phantom Unit Award, including payment timing provisions, the form of settlement (i.e., cash or equity-based) and dividend equivalent rights, as applicable.

 

5


Table of Contents

Special Meeting

When and where: The special meeting will be held on July 9, 2024 at 10:00 a.m., Eastern time,     located at Courtyard by Marriott Indianapolis West-Speedway, 6315 Crawfordsville Road, Indianapolis, Indiana 46224.

What you are being asked to vote on: At the special meeting, unitholders will vote on the Conversion Proposal, the Board Classification Proposal, the Forum Selection Proposal, the LTIP Proposal and the Adjournment Proposal. A vote for each of the Conversion Proposal and the Board Classification Proposal is effectively a vote in favor of the Conversion which will result in a reorganization of the Partnership from a master limited partnership to a corporation. The unitholders also may be asked to consider other matters as may properly come before the special meeting. At this time, the Partnership knows of no other matters that will be presented for the consideration of the unitholders at the special meeting.

Who may vote: You may vote at the special meeting if you owned common units at the close of business on the record date of May 24, 2024. On that date, there were 80,388,555 common units outstanding. You may cast one vote for each outstanding common unit that you owned on the record date.

What vote is needed: Approval of each of the Conversion Proposal, the Board Classification Proposal and the Forum Selection Proposal requires the affirmative vote of holders of a majority of the outstanding common units as of the record date. Approval of the LTIP Proposal is being sought to satisfy the stockholder approval policy of Nasdaq. For these purposes, approval of the LTIP Proposal requires the affirmative vote of holders of a majority of the votes cast (not including abstentions and broker non-votes) by unitholders who are present (in person or by proxy) and entitled to vote at the special meeting.

Approval of the Adjournment Proposal, if presented, requires the affirmative vote of holders of a majority of the outstanding common units. Abstentions and broker non-votes (if any) will not be taken into account in determining the outcome of the LTIP Proposal and will have the same effect as a vote against the Conversion Proposal, the Board Classification Proposal, the Forum Selection Proposal and the Adjournment Proposal. The votes on each Proposal are separate and apart from the votes on the other Proposals. Accordingly, you may vote to approve certain of the Proposals and vote not to approve other Proposals. However, the Conversion cannot be consummated unless the requisite unitholders approve both the Conversion Proposal and the Board Classification Proposal, which are conditions to consummating the Conversion under the Conversion Agreement.

All of the directors and executive officers of the General Partner beneficially owned, in the aggregate, approximately 3.1% of the outstanding common units as of the record date. The Partnership and New Calumet believe that the directors and executive officers of the General Partner will vote in favor of the Conversion Proposal, in favor of the Board Classification Proposal, in favor of the Forum Selection Proposal, in favor of the LTIP Proposal and in favor of the Adjournment Proposal.

The Restructuring Agreement contains a voting covenant obligating the Sponsor Parties and their respective subsidiaries to vote any common units they own beneficially or of record in favor of the Conversion Proposal. As of the record date, such holders beneficially owned 16,404,747 common units or approximately 20.4% of the outstanding common units. Certain of these holders are directors of the General Partner and are included in the beneficial ownership amounts included in the previous paragraph.

Recommendation by the Conflicts Committee and Reasons for its Special Approval

The Conflicts Committee has unanimously determined that the Restructuring Agreement and the transactions contemplated thereby, including the Conversion, are advisable and in the best interests of the Partnership and the unitholders (other than the General Partner and the Sponsor Parties) and unanimously

 

6


Table of Contents

recommended to the GP Board approval of the same and the execution, delivery and performance of the Restructuring Agreement and the transactions contemplated thereby, including the Conversion.

Furthermore, the Conflicts Committee has unanimously determined that the Conversion Agreement, the ancillary documents thereto and the transactions contemplated thereby, including the Conversion, are advisable and in the best interests of the Partnership and the unitholders (other than the General Partner and the Sponsor Parties) and unanimously recommended to the GP Board approval of the same and the execution, delivery and performance of the Conversion Agreement and the transactions contemplated thereby, including the Conversion. In evaluating the Conversion, the Conflicts Committee considered a number of substantive factors, both positive and negative. For a more complete discussion of these factors, see the section entitled “The Conversion—Reasons for the Conflicts Committee’s Special Approval.”

Recommendation of the GP Board and Reasons for the Conversion

The GP Board (acting based upon the Special Approval of the Conflicts Committee and the Conflicts Committee’s recommendation) has unanimously determined that it is advisable and in the best interests of the Partnership and the unitholders for the Partnership to enter into the Conversion Agreement and consummate the transactions contemplated thereby, including the Conversion, approved the Conversion Agreement and the execution, delivery and performance of the Conversion Agreement and the transactions contemplated thereby, and resolved to submit the Conversion Agreement to a vote of the unitholders and recommend approval of the Conversion Agreement by the unitholders. Accordingly, the GP Board unanimously recommends that the unitholders vote FOR the approval of the Conversion Proposal and FOR the approval of the Board Classification Proposal.

In reaching its determinations and recommendations described above, the GP Board consulted with the Partnership’s management and outside legal counsel. These consultations included discussions regarding the Partnership’s strategic business plan, the Partnership’s past and current business operations and financial condition and performance, the Partnership’s future prospects, other potential strategic alternatives that may be available to the Partnership and the potential Conversion. The GP Board considered a number of substantive factors, both positive and negative, and potential benefits and detriments of the Conversion to the Partnership and the unitholders. For a more complete discussion of these factors, see the section entitled “The Conversion—Recommendation of the GP Board and Reasons for the Conversion.”

Opinion of Evercore – Financial Advisor to the Conflicts Committee

In connection with the proposed transactions contemplated by the Restructuring Agreement (the “Proposed Transaction”), Evercore Group L.L.C. (“Evercore”) delivered a written opinion, dated as of November 9, 2023, to the Conflicts Committee as to the fairness, from a financial point of view and as of the date of the opinion, of the Sponsor Consideration in the GP Merger to the Partnership and the unitholders other than any Conversion counterparty (including the General Partner) and its affiliates. The full text of the written opinion of Evercore, dated as of November 9, 2023, which sets forth, among other things, the procedures followed, assumptions made, matters considered and qualifications and limitations on the scope of review undertaken in rendering its opinion, is attached hereto as Annex D to this proxy statement/prospectus. You are urged to read Evercore’s opinion carefully and in its entirety. Evercore’s opinion was addressed to, and provided for the information and benefit of, the Conflicts Committee in connection with its evaluation of the fairness of the Sponsor Consideration, from a financial point of view, and did not address any other aspects or implications of the Conversion. Evercore’s opinion should not be construed as creating any fiduciary duty on Evercore’s part to any party and such opinion was not intended to be, and does not constitute, a recommendation to the Conflicts Committee or to any other persons in respect of the Conversion, including as to how any holder of common units should vote or act in respect of the Conversion, including the Mergers. The summary of the Evercore opinion set forth herein is qualified in its entirety by reference to the full text of the opinion

 

7


Table of Contents

included as Annex D. As discussed further below, Evercore’s opinion to the Conflicts Committee does not opine as to the shares of common stock issued in exchange for common units in the Partnership Merger and does not address the underlying business decision of the Partnership to engage in the Conversion (including the effective conversion from a partnership to a C-corporation for tax purposes).

For a description of the opinion that the Conflicts Committee received from Evercore, see “The Conversion—Opinion of Evercore – Financial Advisor to the Conflicts Committee.”

Interests of Certain Persons in the Conversion

In considering the recommendations of the GP Board, unitholders should be aware that some of the executive officers and directors of the General Partner have interests in the Conversion that may differ from, or may be in addition to, the interests of unitholders generally. These interests include:

 

   

Certain indemnification arrangements and insurance policies for directors and officers of the General Partner and New Calumet will be continued for six years if the Conversion is completed.

 

   

Pursuant to the Conversion Agreement, at the effective time of the Partnership Merger, each outstanding Partnership Phantom Unit Award will be converted into an award of New Calumet RSUs relating to a number of common stock equal to the product of (a) the number of common units subject to such Partnership Phantom Unit Award as of immediately prior to the effective time of the Partnership Merger, multiplied by (b) the exchange ratio, on substantially the same terms and conditions as were applicable to such Partnership Phantom Unit Award, including payment timing provisions, the form of settlement (i.e., cash or equity-based) and dividend equivalent rights, as applicable.

 

   

Nearly all of the directors and executive officers of the General Partner beneficially own common units and will receive shares of common stock in exchange for such common units upon consummation of the Conversion.

 

   

All of the officers of the General Partner have been offered continued employment with New Calumet after the effective time of the Conversion.

New Calumet’s Board of Directors and Management

Upon consummation of the Conversion, the New Calumet Board will consist of ten directors, all of which will be designated by The Heritage Group, divided into three classes. The members of each class will serve staggered, three-year terms (other than with respect to the initial terms of the Class I and Class II directors, which will be one and two years, respectively). Upon the expiration of the term of a class of directors, directors in that class will be elected for three-year terms at the annual meeting of stockholders in the year in which their term expires. Following the completion of this offering:

 

   

James S. Carter, Stephen P. Mawer, Daniel L. Sheets and John (“Jack”) G. Boss will be Class I directors, whose initial terms will expire at the 2025 annual meeting of stockholders;

 

   

Jennifer G. Straumins, Daniel J. Sajkowski and Todd Borgmann will be Class II directors, whose initial terms will expire at the 2026 annual meeting of stockholders; and

 

   

Amy M. Schumacher, Paul C. Raymond III and Karen A. Twitchell will be Class III directors, whose initial terms will expire at the 2027 annual meeting of stockholders.

This classification of the New Calumet Board may have the effect of delaying or preventing changes in control. Stephen P. Mawer will be the chairman of the New Calumet Board unless he is not able or willing to serve as a director at the time of the consummation of the Conversion, in which case the New Calumet Board will elect a chairman.

 

8


Table of Contents

If any of the designees to the New Calumet Board identified above are not able or willing to serve as a director at the time of the consummation of the Conversion, The Heritage Group will determine a replacement. After the consummation of the Conversion, each director of New Calumet will serve as a director until such person’s successor is elected or, if earlier, until such director dies, resigns or is removed in accordance with New Calumet’s organizational documents and applicable law.

The designees to the New Calumet Board identified above have indicated that they intend to vote all common units held by them or over which they have control in favor of approval and adoption of the Conversion Agreement and the transactions contemplated by the Conversion Agreement.

Following the Conversion, certain of the Sponsor Parties will also have certain ongoing governance rights, as more fully described under “Description of New Calumet Capital Stock”

The Restructuring Agreement

Conditions to Consummation of the Transactions Contemplated by the Restructuring Agreement

The obligations of each of the parties to consummate the transactions contemplated by the Restructuring Agreement, a copy of which is attached as Annex B and Annex B-1 to this joint proxy statement/prospectus, will be subject to the fulfilment of the following conditions, or, to the extent permitted by applicable law, a written waiver by each of the Partnership and the Sponsor Parties on or prior to the effective time of the GP Merger:

 

   

the Conversion Agreement must have been duly executed and delivered and the form of the certificates of merger for the Partnership Merger and the GP Merger must have been agreed to between the Sponsor Parties and the Partnership;

 

   

the approval by the unitholders of the Conversion Agreement and the classified board structure must have been obtained;

 

   

no order issued by any governmental authority or other legal restraint or prohibition that prevents the transactions contemplated in the Restructuring Agreement, or declares such transactions unlawful or would cause such transactions to be rescinded, is in effect;

 

   

the registration statement of which this proxy statement/prospectus forms a part must have been declared effective by the SEC under the Securities Act and no stop order suspending the effectiveness of the registration statement will have been issued by the SEC and remain in effect and no proceedings for that purpose will have been initiated or threatened by the SEC (unless subsequently withdrawn);

 

   

the common stock issuable pursuant to the Conversion Agreement must have been approved for listing on the Nasdaq, subject to official notice of issuance; and

 

   

any governmental consent or approval required to be obtained pursuant to any applicable antitrust law will have been duly obtained and will be in full force and effect, and all terminations or expirations of waiting periods imposed by any governmental authority necessary for the consummation of the transactions contemplated by the Restructuring Agreement, including under any antitrust law, must have occurred.

The obligations of the Partnership to effect the transactions contemplated by the Restructuring Agreement are subject to the satisfaction or waiver of the following additional conditions:

 

   

the representations and warranties in the Restructuring Agreement of the Sponsor Parties being true and correct as of the closing date of the transactions contemplated by the Restructuring Agreement, subject to certain standards, including materiality and material adverse effect qualifications, as

 

9


Table of Contents
 

described in “The Restructuring Agreement—Conditions to Consummation of the Transactions Contemplated by the Restructuring Agreement”;

 

   

the Sponsor Parties having performed in all material respects all obligations required to be performed or complied with by each of them prior to the closing date of the transactions contemplated by the Restructuring Agreement; and

 

   

the receipt by the Partnership of an officer’s certificate signed on behalf of the Sponsor Parties by an officer or other authorized person of the Sponsor Parties certifying that the preceding conditions have been satisfied.

The obligations of the Sponsor Parties to effect the transactions contemplated by the Restructuring Agreement are subject to the satisfaction or waiver of the following additional conditions:

 

   

the representations and warranties in the Restructuring Agreement of the Sponsor Parties being true and correct as of the closing date of the transactions contemplated by the Restructuring Agreement, subject to certain standards, including materiality and material adverse effect qualifications, as described in “The Restructuring Agreement—Conditions to Consummation of the Transactions Contemplated by the Restructuring Agreement”;

 

   

the General Partner, the Partnership and the Partnership’s subsidiaries (collectively, the “Partnership Entities”) having performed in all material respects all obligations required to be performed or complied with by such entity prior to the closing date of the transactions contemplated by the Restructuring Agreement; and

 

   

the receipt by the Sponsor Parties of an officer’s certificate signed on behalf of the Partnership by an officer or other authorized person of the Partnership certifying that the preceding conditions have been satisfied.

Unitholder Approval

The Partnership has agreed to hold a special meeting of the Partnership unitholders as promptly as practicable for purposes of obtaining the Partnership unitholder approval. See “—The Special Meeting.”

Termination of the Restructuring Agreement

The Restructuring Agreement may be terminated and the transactions contemplated by the Restructuring Agreement abandoned at any time prior to the effective time of the GP Merger by mutual written agreement of the Partnership (with prior approval by the Conflicts Committee) and the Sponsor Parties.

In addition, either the Partnership or Sponsor Parties may terminate the Restructuring Agreement at any time prior to the effective time of the GP Merger if:

 

   

the special meeting is concluded and the Partnership unitholder approval is not obtained;

 

   

any order or other legal restraint is in effect and has become final and nonappealable or any law that permanently makes consummation of the transactions contemplated by the Restructuring Agreement illegal or otherwise prohibited is in effect; or

 

   

the Conversion has not been consummated prior to the Termination Date (as defined herein); provided, that the Termination Date may be extended for an additional three months upon the mutual agreement of the parties; and provided further, such right to terminate will not be available if the failure of the party so requesting termination to perform any covenant or obligation under the Restructuring Agreement has been the primary cause of the failure of the closing to occur on or prior to such date.

 

10


Table of Contents

The Partnership also may terminate the Restructuring Agreement if:

 

   

any Sponsor Party breaches or fails to perform any of its representations, warranties, covenants or agreements such that certain closing conditions would not be satisfied, or if such breach or failure is capable of being cured, such breach or failure has not been cured by the earlier of (i) the Termination Date and (ii) 45 days following receipt of the written notice by the Sponsor Parties of notice of such breach or failure from the Partnership; provided that the Partnership is not then in any material breach of the Restructuring Agreement.

The Sponsor Parties also may terminate the Restructuring Agreement if:

 

   

any Partnership Entity breaches or fails to perform any of its representations, warranties, covenants or agreements such that certain closing conditions would not be satisfied, or if such breach or failure is capable of being cured, such breach or failure has not been cured by the earlier of (i) the Termination Date and (ii) 45 days following receipt of the written notice by the Partnership of notice of such breach or failure from the Sponsor Parties; provided that no Sponsor Party is then in any material breach of the Restructuring Agreement.

The Conversion Agreement

Conditions to Consummation of the Mergers

The obligations of each of the parties to the Conversion Agreement to effect the Partnership Merger are subject to the satisfaction or waiver of the following conditions:

 

   

the Conversion Agreement and the classified board structure must have been approved by the holders of a majority of the outstanding common units at the special meeting;

 

   

no order or other legal restraints may be in effect enjoining, restraining, preventing or prohibiting the consummation of the transactions contemplated by the Conversion Agreement or making the consummation of the transactions contemplated by the Conversion Agreement illegal;

 

   

the registration statement of which this proxy statement/prospectus forms a part must have been declared effective under the Securities Act and must not be subject to any stop order suspending the effectiveness of the registration statement or proceedings initiated by the SEC for that purpose;

 

   

the common stock to be issued pursuant to the Conversion Agreement must have been approved for listing on Nasdaq, subject to official notice of issuance;

 

   

all consents or approvals of any governmental authority required to be obtained pursuant to any applicable antitrust law have been duly obtained and are in full force and effect, and all terminations or expirations of waiting periods imposed by any governmental authority necessary for the consummation of the transactions contemplated by the Conversion Agreement, including under any antitrust law, have occurred; and

 

   

the General Partner must have made the Election in accordance with the procedures set forth in IRS Form 8832 and its instructions.

The parties to the Conversion Agreement may not complete the GP Merger unless all conditions to each party’s obligation to effect the Partnership Merger have been satisfied or waived.

The obligations of the Partnership Entities to effect the Mergers are subject to the satisfaction or waiver of the following additional conditions:

 

   

the representations and warranties in the Conversion Agreement of the Sponsor Parties being true and correct as of the closing date of the Conversion, except for such inaccuracies as would not be material in amount or effect; and

 

11


Table of Contents
   

the Sponsor Parties having performed in all material respects all obligations required to be performed by each of them under the Conversion Agreement.

The obligations of the Sponsor Parties to effect the Mergers are subject to the satisfaction or waiver of the following additional conditions:

 

   

the representations and warranties in the Conversion Agreement of the Partnership Entities being true and correct as of the closing date of the Conversion, except for such inaccuracies as would not be material in amount or effect; and

 

   

each Partnership Entity having performed in all material respects all obligations required to be performed by such party under the Conversion Agreement.

Termination of the Conversion Agreement

The Conversion Agreement may be terminated at any time prior to the effective time of the GP Merger by mutual written agreement of the Partnership (with prior approval by the Conflicts Committee) and the Sponsor Parties.

In addition, either the Partnership or Sponsor Parties may terminate the Conversion Agreement at any time prior to the effective time of the GP Merger if:

 

   

the special meeting is concluded and the Partnership unitholder approval is not obtained;

 

   

any order or other legal restraint is in effect and has become final and nonappealable or any law that permanently makes consummation of the transactions contemplated by the Conversion Agreement illegal or otherwise prohibited is in effect;

 

   

the Restructuring Agreement is terminated; or

 

   

the closing of the Conversion has not occurred on or before August 7, 2024 (the “Outside Date”); provided, that the Outside Date may be extended for an additional three months upon the mutual agreement of the parties; and provided further, such right to terminate will not be available if the failure of the party so requesting termination to perform any covenant or obligation under the Conversion Agreement has been the primary cause of the failure of the closing to occur on or prior to such date.

The Partnership also may terminate the Conversion Agreement if:

 

   

any Sponsor Party breaches or fails to perform any of its representations, warranties, covenants or agreements such that certain closing conditions would not be satisfied, or if such breach or failure is capable of being cured, such breach or failure has not been cured by the earlier of (i) the Outside Date and (ii) 45 days following receipt of the written notice by the Sponsor Parties of notice of such breach or failure from the Partnership; provided that the Partnership is not then in any material breach of the Conversion Agreement.

The Sponsor Parties also may terminate the Conversion Agreement if:

 

   

any Partnership Entity breaches or fails to perform any of its representations, warranties, covenants or agreements such that certain closing conditions would not be satisfied, or if such breach or failure is capable of being cured, such breach or failure has not been cured by the earlier of (i) the Outside Date and (ii) 45 days following receipt of the written notice by the Partnership of notice of such breach or failure from the Sponsor Parties; provided that no Sponsor Party is then in any material breach of the Conversion Agreement.

 

12


Table of Contents

Fees and Expenses

The Conversion Agreement provides that each party is solely responsible for the payment of all costs and expenses incurred by such party in connection with the consummation of the transactions contemplated by the Conversion Agreement.

Material U.S. Federal Income Tax Consequences

General Partner Entity Classification Election and GP Merger

Effective prior to the consummation of the GP Merger, the General Partner intends to elect to be taxable as a corporation for U.S. federal income tax purposes. The General Partner’s election to be taxable as a corporation (the “Election”) for U.S. federal income tax purposes will result in a deemed transfer by the General Partner of all of its assets and liabilities to a new corporation (“GP Corp”) in exchange for stock of GP Corp, and immediately thereafter, the General Partner is deemed to liquidate by distributing the stock of GP Corp to the Sponsor Parties. The receipt of shares of common stock and warrants by the Sponsor Parties in exchange for stock of GP Corp pursuant to the GP Merger is generally intended to qualify as an exchange described in Section 351 of the Code for U.S. federal income tax purposes. A Sponsor Party generally will not recognize gain or loss as a result of the Election and the subsequent GP Merger (together, the “GP Transactions”), except as discussed below. Accordingly, it is intended that:

 

   

the Sponsor Parties will generally recognize no gain or loss on their deemed receipt of GP Corp stock in exchange for equity interests in the General Partner deemed surrendered pursuant to the Election, except that, if the General Partner’s liabilities and the General Partner’s share of the liabilities of the Partnership for tax purposes exceeds the General Partner’s tax basis in its GP Interest, the General Partner will recognize gain to the extent of that excess amount, which gain will be allocated to Sponsor Parties;

 

   

each Sponsor Party’s aggregate tax basis in the shares of GP Corp stock deemed received as a result of the Election will generally be the same as its aggregate tax basis in the equity interests in the General Partner deemed surrendered, reduced by the Sponsor Party’s share of the liabilities of the General Partner and of the Partnership for tax purposes, and increased by any gain recognized by the Sponsor Party as a result of the Election, with such aggregate basis allocated pro rata among each share of GP Corp stock deemed received as a result of the Election;

 

   

the holding period of shares of GP Corp stock deemed received as a result of the Election will generally include the holding period of the equity interests in the General Partner deemed surrendered, except to the extent the shares of GP Corp stock are received by such holder in exchange for interests in assets of the General Partner that are neither capital assets nor Section 1231 assets, in which case the holding period of such shares of GP Corp stock begins on the day following the date of the Election;

 

   

the Sponsor Parties will generally recognize no gain or loss on the receipt of equity interests in the GP Merger, except with respect to the warrants received. The amount of gain required to be recognized by a Sponsor Party on the receipt of warrants will be equal to the lesser of (i) the fair market value of warrants received and (ii) the amount of remaining built-in gain in the Sponsor Party’s equity interests in the General Partner deemed surrendered in the GP Merger;

 

   

each Sponsor Party’s aggregate tax basis in the shares of common stock received in the GP Merger will generally be the same as their aggregate tax basis in the GP Corp stock deemed surrendered, reduced by the fair market value of the warrants received by the Sponsor Party, and increased by any gain recognized by the Sponsor Party as a result of the GP Merger, with such aggregate basis allocated pro rata among each share of common stock received in the GP Merger;

 

   

each Sponsor Party’s tax basis in the warrants received in the GP Merger will equal the fair market value of the warrants on the date of the GP Merger;

 

13


Table of Contents
   

the holding period of shares of common stock received in the GP Merger in exchange for the GP Corp stock will generally include the holding period of the GP Corp stock deemed surrendered; and

 

   

the holding period of warrants received in the GP Merger will begin on the day following the date of the GP Merger.

The gain, if any, required to be recognized by a Sponsor Party as a result of the Election generally will be taxable as capital gain. However, a portion of the deemed amount realized may be separately computed and taxed as ordinary income under Section 751 of the Code to the extent attributable to “unrealized receivables,” including depreciation recapture, or to “inventory items” owned by the General Partner, the Partnership or its subsidiaries. Additionally, any gain recognized in excess of depreciation recapture that is attributable to assets of the Partnership that are subject to the allowance for depreciation may be taxed as ordinary income.

Capital gain recognized by a Sponsor Party on the receipt of warrants will generally be long-term capital gain if the Sponsor Party is deemed to have held its equity interests in the General Partner for more than one year as of the effective time of the GP Merger. If the Sponsor Party is an individual, such long-term capital gain will generally be eligible for reduced rates of taxation.

Passive losses that were not deductible by a Sponsor Party in prior taxable periods because they exceeded a Sponsor Party’s passive income may be utilized to offset any gain recognized from the GP Transactions and may be deducted in full upon the Sponsor Party’s taxable disposition of all of its shares of common stock received in the GP Merger.

The U.S. federal income tax consequences of the GP Transactions to a Sponsor Party are complex and will depend on such Sponsor Party’s own personal tax situation. Accordingly, each Sponsor Party is strongly urged to consult its own tax advisor with respect to the specific tax consequences of the GP Transactions, taking into account its own particular circumstances. See “Material U.S. Federal Income Tax Consequences” for a more complete discussion of certain U.S. federal income tax consequences of the GP Transactions.

Partnership Merger

A unitholder’s receipt of shares of common stock in exchange for common units pursuant to the Partnership Merger is generally intended to qualify as an exchange described in Section 351 of the Code for U.S. federal income tax purposes. Thus, a unitholder generally will not recognize gain or loss on the receipt of shares of common stock in exchange for common units, except as described below. Accordingly, it is intended that:

 

   

unitholders will generally recognize no gain or loss on their receipt of shares of common stock in exchange for common units, except that a unitholder whose share of the nonrecourse liabilities of the Partnership for tax purposes exceeds such unitholder’s tax basis in its common units will recognize gain to the extent of that excess amount;

 

   

each unitholder’s aggregate tax basis in the shares of common stock received in the Partnership Merger will generally be the same as their aggregate tax basis in the common units surrendered in exchange therefor, reduced by the unitholder’s share of the Partnership’s nonrecourse liabilities surrendered, and increased by any gain recognized by the unitholder in the Partnership Merger, with such aggregate basis allocated pro rata among each share of common stock received in the Partnership Merger; and

 

   

the holding period of shares of common stock received in exchange for common units will generally include the holding period of the common units for which they are exchanged, except to the extent the shares of common stock are received by such holder in exchange for interests in assets of the Partnership that are neither capital assets nor Section 1231 assets, in which case the holding period of such shares of common stock begins on the day following the date of the Partnership Merger.

 

14


Table of Contents

Capital gain recognized by a unitholder, if any, will generally be long-term capital gain if the unitholder has held its common units for more than one year as of the effective time of the Partnership Merger. If the unitholder is an individual, such long-term capital gain will generally be eligible for reduced rates of taxation. However, a portion of the deemed amount realized may be separately computed and taxed as ordinary income under Section 751 of the Code to the extent attributable to “unrealized receivables,” including depreciation recapture, or to “inventory items” owned by the Partnership and its subsidiaries.

Passive losses that were not deductible by a unitholder in prior taxable periods because they exceeded a unitholder’s share of the Partnership’s income may be utilized to offset any gain recognized in the Partnership Merger and may be deducted in full upon the unitholder’s taxable disposition of all of its shares of common stock received in the Partnership Merger.

The U.S. federal income tax consequences of the Partnership Merger to a unitholder are complex and will depend on such unitholder’s own personal tax situation. Accordingly, each unitholder is strongly urged to consult its own tax advisor with respect to the specific tax consequences of the Partnership Merger, taking into account its own particular circumstances. See “Material U.S. Federal Income Tax Consequences” for a more complete discussion of certain U.S. federal income tax consequences of the Partnership Merger.

Other Information Related to the Conversion

No Appraisal Rights or Dissenters’ Rights

No dissenters’ rights or appraisal rights are or will be available to unitholders with respect to the Partnership Merger or the GP Merger or the other transactions contemplated by the Conversion Agreement.

Antitrust and Regulatory Matters

The completion of the Conversion is subject to antitrust review in the United States. Under the HSR Act and the rules promulgated thereunder, the Conversion cannot be completed until the parties have submitted premerger notification and report forms to the FTC and the DOJ, and the applicable waiting period has expired or has been terminated.

Listing of New Calumet Common Stock; Deregistration and Delisting of the Common Units

It is a condition to the consummation of the Conversion that the common stock issuable in the Mergers be approved for listing on Nasdaq, subject to official notice of issuance. The common stock is expected to trade on Nasdaq under the symbol “CLMT.” Upon consummation of the Partnership Merger, the common units currently listed on Nasdaq will cease to be listed on Nasdaq and will be subsequently deregistered under the Exchange Act.

The former unitholders will become stockholders of New Calumet, and their rights as stockholders will be governed by Delaware law and by New Calumet’s amended and restated certificate of incorporation and amended and restated bylaws that will be in effect upon consummation of the Conversion. The Partnership intends to cease filing periodic reports pursuant to the Exchange Act with the SEC following deregistration of its common units, pursuant to securities laws requirements, with New Calumet becoming the successor registrant.

Accounting Treatment of the Mergers

The Mergers will be accounted for as equity transactions among the owners of New Calumet using historical cost accounting with no gain or loss being recognized.

 

15


Table of Contents

Comparison of the Rights of Stockholders and Unitholders

A limited partnership is inherently different from a corporation. Ownership interests in a limited partnership are therefore fundamentally different from ownership interests in a corporation. Unitholders will own common stock following the consummation of the Partnership Merger, and their rights associated with the common stock will be governed by the Delaware General Corporation Law (the “DGCL”) and New Calumet’s amended and restated organizational documents (which will be effective upon consummation of the Partnership Merger), which differ in a number of respects from the Partnership Agreement and Delaware Revised Uniform Limited Partnership Act (the “Delaware LP Act”). These differences are described in more detail under “Comparison of the Rights of Stockholders and Unitholders.”

Summary of Risk Factors

You should consider carefully all the risk factors together with all of the other information included in this proxy statement/prospectus before deciding how to vote. The risks related to the Conversion and the related transactions, the Partnership’s business, New Calumet’s common stock and risks resulting from New Calumet’s organizational structure are described under “Risk Factors” beginning on page 23. Some of these risks include, but are not limited to, those described below:

 

   

The Conversion is subject to conditions, including some conditions that may not be satisfied on a timely basis, if at all. Failure to complete the Conversion, or significant delays in completing the Conversion, could negatively affect the Partnership’s business and financial results and the price of the common units or, following the consummation of the Conversion, future business and financial results of New Calumet and the price of the common stock.

 

   

If the Conversion is approved by unitholders, the date that the unitholders will receive one share of common stock in exchange for each outstanding common unit (the “Conversion Consideration”) is uncertain.

 

   

The Partnership will incur substantial transaction-related costs in connection with the Conversion.

 

   

Certain executive officers and directors of the General Partner have interests in the Conversion that may be different from, or in addition to, the interests they may have as unitholders, which could have influenced their decision to support or approve the Conversion.

 

   

The fairness opinion rendered to the Conflicts Committee by Evercore was necessarily based on economic, monetary, market and other conditions as in effect on, and financial forecasts and other information made available to Evercore as of, the date of the opinion. As a result, the opinion does not reflect changes in events or circumstances after the date of such opinion. The Conflicts Committee has not obtained or requested, and does not expect to obtain or request, an updated fairness opinion from Evercore reflecting changes in circumstances that may have occurred since the signing of the Restructuring Agreement.

 

   

The unaudited pro forma financial information included in this proxy statement/prospectus is presented for illustrative purposes only and may not be an indication of New Calumet’s financial condition or results of operations following the Conversion.

 

   

The common stock to be received by the unitholders as a result of the Conversion have different rights than the common units.

 

   

The Partnership and New Calumet may be subject to litigation related to the Conversion.

 

   

Unitholders will be allocated their proportionate share of the Partnership’s taxable income and gain for the period ending at the time of the Partnership Merger, and they will not receive any additional cash distributions attributable to such income.

 

   

The U.S. federal income tax treatment of owning and disposing of shares of common stock received in the Mergers will be different from the U.S. federal income tax treatment of owning and disposing of equity interests in the General Partner or common units.

 

16


Table of Contents

SUMMARY HISTORICAL CONSOLIDATED FINANCIAL AND OPERATING DATA OF THE PARTNERSHIP

The summary historical consolidated financial and operating data as of December 31, 2023 and 2022 and for the three months ended March 31, 2024 and 2023 and the years ended December 31, 2023, 2022 and 2021 set forth below are derived from the Partnership’s audited consolidated financial statements and are qualified in their entirety by, and should be read in conjunction with, the Partnership’s consolidated financial statements and notes related thereto and “Management’s Discussion and Analysis of Financial Condition and Results of Operations of the Partnership” included elsewhere in this proxy statement/prospectus.

 

    Three Months Ended March 31,      Year Ended December 31,  
    2024     2023      2023      2022      2021  
          (As Restated)     

(As Restated)

 
    (Unaudited)                       
   

(In millions)

 

Statement of Operations Data:

            

Sales

  $ 1,005.8     $ 1,037.3      $ 4,181.0      $ 4,686.3      $ 3,148.0  

Cost of sales

    927.3       940.7        3,729.3        4,334.6        3,005.1  
 

 

 

   

 

 

    

 

 

    

 

 

    

 

 

 

Gross profit

    78.5       96.6        451.7        351.7        142.9  
 

 

 

   

 

 

    

 

 

    

 

 

    

 

 

 

Operating costs and expenses:

            

Selling

    13.7       13.5        54.9        53.9        52.8  

General and administrative

    23.3       37.1        133.0        143.4        151.1  

Other operating expense

    5.2       3.0        (3.4      22.5        24.6  
 

 

 

   

 

 

    

 

 

    

 

 

    

 

 

 

Operating income (loss)

    36.3       43.0        267.2        131.9        (85.6
 

 

 

   

 

 

    

 

 

    

 

 

    

 

 

 

Other income (expense):

            

Interest expense

    (60.8     (49.2      (221.7      (175.9      (149.5

Debt Extinguishment Costs

    —        —         (5.9      (41.4      (0.5

Gain (loss) on derivative instruments

    (16.9     25.5        9.9        (81.7      (23.3

Other income (expense)

    —        (0.2      0.2        (2.8      0.3  
 

 

 

   

 

 

    

 

 

    

 

 

    

 

 

 

Total other expense

    (77.7     (23.9      (217.5      (301.8      (173.0
 

 

 

   

 

 

    

 

 

    

 

 

    

 

 

 

Net income (loss) before income taxes

    (41.4     19.1        49.7        (169.9      (258.6

Income tax expense

    0.2       0.5        1.6        3.4        1.5  
 

 

 

   

 

 

    

 

 

    

 

 

    

 

 

 

Net income (loss)

  $ (41.6   $ 18.6      $ 48.1      $ (173.3    $ (260.1

Less:

            

General partner’s interest in net income (loss)

    (0.8     0.4        1.0        (3.5      (5.2
 

 

 

   

 

 

    

 

 

    

 

 

    

 

 

 

Net income (loss) available to limited partners

  $ (40.8   $ 18.2      $ 47.1      $ (169.8    $ (254.9
 

 

 

   

 

 

    

 

 

    

 

 

    

 

 

 

Net income (loss)

  $ (41.6   $ 18.6      $ 48.1      $ (173.3    $ (260.1

Other comprehensive income (loss):

            

Defined benefit pension and retiree health benefit plans

    0.1       —         1.1        1.8        2.2  
 

 

 

   

 

 

    

 

 

    

 

 

    

 

 

 

Total other comprehensive income (loss)

    0.1       —         1.1        1.8        2.2  
 

 

 

   

 

 

    

 

 

    

 

 

    

 

 

 

Comprehensive income (loss)

  $ (41.5   $ 18.6      $ 49.2      $ (171.5    $ (257.9
 

 

 

   

 

 

    

 

 

    

 

 

    

 

 

 

 

17


Table of Contents
    Three Months Ended March 31,     Year Ended December 31,  
    2024     2023     2023     2022     2021  
          (As Restated)    

(As Restated)

 
    (Unaudited)                    
   

(In millions)

 

Balance Sheet Data (at period end):

         

Property, plant and equipment, net

  $ 1,486.0       $ 1,506.3     $ 1,482.0    

Total assets

  $ 2,731.6       $ 2,751.3     $ 2,741.0    

Accounts payable

  $ 321.1       $ 322.0     $ 442.0    

Long-term debt, less current portion

  $ 2,055.6       $ 1,829.7     $ 1,540.1    

Total partners’ capital (deficit)

  $ (529.7     $ (490.3   $ (533.3  

Cash Flow Data:

         

Net cash provided by (used in):

         

Operating activities

  $ (94.0   $ (26.7   $ (14.9   $ 100.6     $ (44.0

Investing activities

  $ (20.0   $ (130.4   $ (271.8   $ (536.0   $ (82.8

Financing activities

  $ 130.7     $ 133.1     $ 266.2     $ 348.7     $ 139.3  

Other Financial Data (1):

         

EBITDA

  $ 55.4     $ 97.8     $ 418.3     $ 104.3     $ (1.4

Adjusted EBITDA

  $ 21.6     $ 77.3     $ 260.5     $ 390.0     $ 110.3  

Distributable Cash Flow

  $ (59.6   $ 4.8     $ (86.2   $ 87.8     $ (120.1

Segment Adjusted EBITDA:

         

Specialty Products and Solutions

  $ 41.8     $ 76.0     $ 251.2     $ 379.4     $ 104.6  

Performance Brands

  $ 13.4     $ 16.4     $ 47.9     $ 20.2     $ 33.8  

Montana/Renewables

  $ (14.5   $ 4.8     $ 30.2     $ 75.8     $ 44.4  

Corporate

  $ (19.1   $ (19.9   $ (68.8   $ (85.4   $ (72.5

Operating Data:

         

Total sales volume (bpd) (2)

    83,602       76,856       79,805       82,946       79,281  

Total feedstock runs (bpd) (3)

    71,548       71,559       77,200       80,447       75,818  

Total facility production (bpd) (4)

    72,266       73,222       77,296       79,402       73,106  

 

(1)

EBITDA, Adjusted EBITDA and Distributable Cash Flow are non-GAAP financial measures. Please read “—Non-GAAP Financial Measures” below for additional information regarding these non-GAAP financial measures and a reconciliation to the most directly comparable GAAP measure of each.

(2)

Total sales volume includes sales from the production at the Partnership’s facilities and certain third-party facilities pursuant to supply and/or processing agreements, sales of inventories and the resale of crude oil to third-party customers. Total sales volume includes the sale of purchased blendstocks.

(3)

Total feedstock runs represent the barrels per day of crude oil and other feedstocks processed at the Partnership’s facilities and at certain third-party facilities pursuant to supply and/or processing agreements.

(4)

The difference between total facility production and total feedstock runs is primarily a result of the time lag between the input of feedstocks and production of finished products and volume loss.

Non-GAAP Financial Measures

The non-GAAP financial measures EBITDA, Adjusted EBITDA and Distributable Cash Flow are presented in this proxy statement/prospectus. Reconciliations of EBITDA, Adjusted EBITDA and Distributable Cash Flow to net income (loss), the most directly comparable financial performance measure calculated and presented in accordance with GAAP, are presented below.

 

18


Table of Contents

EBITDA, Adjusted EBITDA and Distributable Cash Flow are used as supplemental financial measures by the Partnership’s management and by external users of the Partnership’s financial statements, such as investors, commercial banks, research analysts and others, to assess:

 

   

the financial performance of the Partnership’s assets without regard to financing methods, capital structure or historical cost basis;

 

   

the ability of the Partnership’s assets to generate cash sufficient to pay interest costs and support its indebtedness;

 

   

the Partnership’s operating performance and return on capital as compared to those of other companies in the Partnership’s industry, without regard to financing or capital structure; and

 

   

the viability of acquisitions and capital expenditure projects and the overall rates of return on alternative investment opportunities.

The Partnership believes that these non-GAAP measures are useful to analysts and investors as they exclude transactions not related to its core cash operating activities and provide metrics to analyze the Partnership’s ability to pay interest to its noteholders. However, the indentures governing the Partnership’s notes contain covenants that, among other things, restrict its ability to pay distributions. The Partnership believes that excluding these transactions allows investors to meaningfully analyze trends and performance of its core cash operations.

The Partnership defines EBITDA for any period as net income (loss) plus interest expense (including amortization of debt issuance costs), income taxes and depreciation and amortization.

The Partnership defines Adjusted EBITDA for any period as EBITDA adjusted for (a) impairment; (b) unrealized gains and losses from mark-to-market accounting for hedging activities; (c) realized gains and losses under derivative instruments excluded from the determination of net income (loss); (d) non-cash equity-based compensation expense and other non-cash items (excluding items such as accruals of cash expenses in a future period or amortization of a prepaid cash expense) that were deducted in computing net income (loss); (e) debt refinancing fees, extinguishment costs, premiums and penalties; (f) any net gain or loss realized in connection with an asset sale that was deducted in computing net income (loss); (g) amortization of turnaround costs; (h) lower of cost or market value (“LCM”) inventory adjustments; (i) the impact of liquidation of inventory layers calculated using the LIFO method; (j) Renewable Identification Numbers (“RINs”) mark-to-market adjustments; and (k) all extraordinary, unusual or non-recurring items of gain or loss, or revenue or expense.

The Partnership defines Distributable Cash Flow for any period as Adjusted EBITDA less replacement and environmental capital expenditures, turnaround costs, cash interest expense (consolidated interest expense less non-cash interest expense), gain (loss) from unconsolidated affiliates, net of cash distributions and income tax expense (benefit).

The definition of Adjusted EBITDA presented in this proxy statement/prospectus is similar to the calculation of “Consolidated EBITDA” contained in the Partnership’s revolving credit facility and “Consolidated Cash Flow” contained in the indentures governing the Partnership’s notes. The Partnership is required to report Consolidated EBITDA to the lenders under its revolving credit facility and Consolidated Cash Flow to the holders of its notes, and these measures are used by them to determine the Partnership’s compliance with certain covenants governing those debt instruments.

EBITDA, Adjusted EBITDA and Distributable Cash Flow should not be considered alternatives to Net income (loss), Net income (loss) or Operating income (loss) or any other measure of financial performance

 

19


Table of Contents

presented in accordance with GAAP. In evaluating the Partnership’s performance as measured by EBITDA, Adjusted EBITDA and Distributable Cash Flow, the Partnership recognizes and considers the limitations of these measurements. EBITDA and Adjusted EBITDA do not reflect the Partnership’s liabilities for the payment of income taxes, interest expense or other obligations such as capital expenditures. Accordingly, EBITDA, Adjusted EBITDA and Distributable Cash Flow are only three of several measurements that management utilizes. Moreover, the Partnership’s EBITDA, Adjusted EBITDA and Distributable Cash Flow may not be comparable to similarly titled measures of another company because all companies may not calculate EBITDA, Adjusted EBITDA and Distributable Cash Flow in the same manner.

The following table presents a reconciliation of Net income (loss), the most directly comparable GAAP financial performance measure, to EBITDA, Adjusted EBITDA and Distributable Cash Flow for each of the periods indicated.

 

    Three Months Ended March 31,     Year Ended December 31,  
    2024     2023     2023     2022     2021  
          (As Restated)    

(As Restated)

 
   

(In millions)

 
    (Unaudited)  

Reconciliation of Net income (loss) to EBITDA, Adjusted EBITDA and Distributable Cash Flow:

         

Net income (loss)

  $ (41.6   $ 18.6     $ 48.1     $ (173.3   $ (260.1

Add:

         

Interest expense

    60.8       49.2       221.7       175.9       149.5  

Depreciation and amortization

    36.0       29.5       146.9       98.3       107.7  

Income tax expense

    0.2       0.5       1.6       3.4       1.5  
 

 

 

   

 

 

   

 

 

   

 

 

   

 

 

 

EBITDA

  $ 55.4     $ 97.8     $ 418.3     $ 104.3     $ (1.4
 

 

 

   

 

 

   

 

 

   

 

 

   

 

 

 

Add:

         

LCM / LIFO (gain) loss

  $ 9.0     $ 19.7     $ 35.6     $ 6.6     $ (50.3

Unrealized (gain) loss on derivative instruments

    (35.7     (41.0     (33.0     45.9       24.4  

Debt extinguishment costs

    0.2       —        5.9       41.4       0.5  

Amortization of turnaround costs

    9.4       7.7       36.1       23.1       17.0  

Loss on impairment and disposal of assets

    —        —        3.5       0.7       4.1  

RINs mark-to-market (gain) loss

    (71.1     (46.1     (290.2     115.7       57.7  

Equity-based compensation and other items

    (7.3     9.0       20.2       34.4       50.7  

Other non-recurring expenses (1)

    60.8       29.5       60.9       15.6       7.6  

Noncontrolling interest adjustments

    0.9       0.7       3.2       2.3       —   
 

 

 

   

 

 

   

 

 

   

 

 

   

 

 

 

Adjusted EBITDA

  $ 21.6     $ 77.3     $ 260.5     $ 390.0     $ 110.3  
 

 

 

   

 

 

   

 

 

   

 

 

   

 

 

 

Less:

         

Replacement and environmental capital expenditures (2)

  $ 16.7     $ 17.2     $ 81.2     $ 77.9     $ 29.0  

Cash interest expense (3)

    58.8       47.7       216.0       158.3       138.9  

Turnaround costs

    5.5       7.1       47.9       62.6       61.0  

Income tax expense

    0.2       0.5       1.6       3.4       1.5  
 

 

 

   

 

 

   

 

 

   

 

 

   

 

 

 

Distributable Cash Flow

  $ (59.6   $ 4.8     $ (86.2   $ 87.8     $ (120.1
 

 

 

   

 

 

   

 

 

   

 

 

   

 

 

 

 

(1)

For the three months ended March 31, 2024, other non-recurring expenses included a $51.9 million realized loss on derivatives related to the embedded derivatives for our inventory financing arrangements. For the three months ended March 31, 2023, other non-recurring expenses included a $28.4 million charge to cost of

 

20


Table of Contents
  sales for losses under firm purchase commitments. For the year ended December 31, 2023, other non-recurring expenses included a $50.6 million charge to cost of sales for losses under firm purchase commitments. For the year ended December 31, 2022, other non-recurring expenses included a $13.0 million charge to cost of sales for losses under firm purchase commitments.
(2)

Replacement capital expenditures are defined as those capital expenditures which do not increase operating capacity or reduce operating costs and exclude turnaround costs. Environmental capital expenditures include asset additions to meet or exceed environmental and operating regulations.

(3)

Represents consolidated interest expense less non-cash interest expense.

 

21


Table of Contents

SUMMARY UNAUDITED PRO FORMA CONDENSED CONSOLIDATED

FINANCIAL INFORMATION

New Calumet was formed in January 2024 and does not have historical financial operating results. The following sets forth summary unaudited pro forma condensed consolidated financial information for New Calumet after giving effect to the Conversion. See “—The Consideration for the Mergers.” The summary unaudited pro forma condensed consolidated financial information as of and for the three months ended March 31, 2024 and for the year ended December 31, 2023 set forth below is derived from the Partnership’s consolidated financial statements and is qualified in its entirety by, and should be read in conjunction with, the Partnership’s consolidated financial statements and notes related thereto and “Management’s Discussion and Analysis of Financial Condition and Results of Operations of the Partnership” included elsewhere in this proxy statement/prospectus.

As New Calumet’s only assets will be its ownership interest in the Partnership and the General Partner, on a pro forma basis for the Conversion, the historical financial statements and results of operations of New Calumet following the Conversion will be the historical financial statements and results of operations of the Partnership, our precedessor, with respect to all periods prior to the Conversion.

Balance Sheet. Had the Conversion occurred as of March 31, 2024, the pro forma balance sheet would have reflected pro forma adjustments as follows:

 

   

an increase in the Partnership’s current liabilities of $3.0 million to $5.0 million as a result of estimated professional fees to be incurred in connection with the Conversion;

 

   

an increase in our deferred tax asset of $105.0 million. However, due to our recent cumulative losses and current realization assessment, we would have recorded a full valuation allowance to fully offset such deferred tax asset and therefore would have no pro forma balance sheet impact related to our conversion to a taxable entity from a pass-through entity; and

 

   

partners’ equity (deficit) would be eliminated and replaced with the common shares, paid in capital and retained earnings (deficit). There would be an increase in the Partnership’s retained deficit of $3.0 million to $5.0 million representing the effect on partners’ deficit of the above noted adjustments.

Statement of Operations. Had the Conversion occurred on January 1, 2023, the pro forma statement of operations for the year ended December 31, 2023 and the three months ended March 31, 2024 would have reflected pro forma adjustments as follows:

 

   

any costs associated with the Conversion are direct costs and non-recurring by nature. As such, there would be no related pro forma adjustment to the Partnership’s statement of operations;

 

   

pro forma adjustment for income taxes upon becoming a taxable entity; and

 

   

income per unit would be eliminated and replaced with Income per share (basic and diluted). For the year ended December 31, 2023, this amount would have been $0.55 per unit which is calculated based on a net income of $47.1 million and assuming 85,575,530 (basic and diluted) outstanding shares of common stock to be issued in connection with the Conversion. For the three months ended March 31, 2024, this amount would have been $(0.48) per unit which is calculated based on a net loss of $41.6 million and assuming 85,852,403 (basic and diluted) outstanding shares of common stock to be issued in connection with the Conversion.

 

22


Table of Contents

RISK FACTORS

In addition to the other information included in this proxy statement/prospectus, including the matters addressed in the section titled “Cautionary Statement Regarding Forward-Looking Statements,” you should carefully consider the following risks before deciding whether to vote for the approval of the applicable proposals described in this proxy statement/prospectus. Realization of any of the risks described below or any of the events described under “Cautionary Statement Regarding Forward-Looking Statements” could have a material adverse effect on the Partnership’s or, following the consummation of the Conversion, New Calumet’s business, financial condition, cash flows and results of operations and could result in a decline in the price of common stock and for the trading prices of common units.

Risks Related to the Conversion

The Conversion is subject to conditions, including some conditions that may not be satisfied on a timely basis, if at all. Failure to complete the Conversion, or significant delays in completing the Conversion, could negatively affect the Partnership’s business and financial results and the price of the common units or, following the consummation of the Conversion, future business and financial results of New Calumet and the price of the common stock.

The consummation of the Conversion is subject to a number of conditions. The consummation of the Conversion is not assured and is subject to risks, including the risk that the unitholder approval of the Conversion is not obtained. Further, the Conversion may not be consummated even if such unitholder approval is obtained. The Restructuring Agreement and the Conversion Agreement contains conditions, some of which are beyond the parties’ control, that, if not satisfied or waived, may prevent or delay the Conversion, or otherwise result in the Conversion not being consummated. See “The Restructuring Agreement—Conditions to Consummation of the Transactions Contemplated by the Restructuring Agreement” and “The Conversion Agreement—Conditions to Consummation of the Mergers.”

If the Conversion is not completed, or if there are significant delays in completing the Conversion, the Partnership’s future business and financial results and the trading price of the common units could be negatively affected or, following the consummation of the Conversion, New Calumet’s future business and financial results and the price of the common stock could be negatively affected, and the parties will be subject to several risks, including the following:

 

   

there may be negative reactions from the financial markets due to the fact that the current price of the common units may reflect a market assumption that the Conversion will be completed; and

 

   

the attention of management will have been diverted to the Conversion rather than the Partnership’s own operations and pursuit of other opportunities that could have been beneficial to the Partnership’s business.

The expected benefits of the Conversion may not be obtained.

The success of the Conversion will depend, in part, on New Calumet’s ability to realize the anticipated benefits from being taxed as a corporation and consummating the other transactions contemplated by the Conversion Agreement. The anticipated benefits of the Conversion may not be realized fully or at all, or may take longer to realize than expected or could have other adverse effects that the Partnership does not currently foresee. Some of the assumptions that the Partnership has made with respect to the Conversion may turn out to be inaccurate.

If the Conversion is approved by unitholders, the date that the unitholders will receive the Conversion Consideration is uncertain.

As described in this proxy statement/prospectus, completing the proposed Conversion is subject to several conditions, not all of which are controllable by the Partnership or New Calumet. Accordingly, if the proposed

 

23


Table of Contents

Conversion is approved by unitholders, the date that the unitholders will receive the Conversion Consideration depends on the completion date of the Conversion, which is uncertain.

The Partnership will incur substantial transaction-related costs in connection with the Conversion.

The Partnership expects to incur substantial expenses in connection with completing the Conversion, including fees paid to legal, financial and accounting advisors, filing fees and printing costs. Many of the expenses that will be incurred, by their nature, are difficult to estimate accurately at the present time.

Certain executive officers and directors of the General Partner have interests in the Conversion that may be different from, or in addition to, the interests they may have as unitholders, which could have influenced their decision to support or approve the Conversion.

Certain executive officers and directors of the General Partner are parties to agreements or participants in other arrangements that give them interests in the Conversion that may be different from, or be in addition to, your interests as a unitholder. These different interests are described in “The Conversion—Interests of Certain Persons in the Conversion.”

The fairness opinion rendered to the Conflicts Committee by Evercore was necessarily based on economic, monetary, market and other conditions as in effect on, and financial forecasts and other information made available to Evercore as of, the date of the opinion. As a result, the opinion does not reflect changes in events or circumstances after the date of such opinion. The Conflicts Committee has not obtained or requested, and does not expect to obtain or request, an updated fairness opinion from Evercore reflecting changes in circumstances that may have occurred since the signing of the Restructuring Agreement.

The fairness opinion rendered to the Conflicts Committee by Evercore was provided for the information and assistance of the Conflicts Committee in connection with, and at the time of, its consideration of the Restructuring Agreement and the transactions contemplated under the Restructuring Agreement, including the Conversion. The opinion was necessarily based on economic, monetary, market and other conditions as in effect on, and financial forecasts and other information made available to Evercore as of, the date of its opinion, which may have changed, or may change, after the date such information was prepared or after the date of the opinion. Changes in the operations and prospects of the Partnership, general market, monetary, economic and other conditions and other factors that may be beyond the control of the Partnership, and on which the fairness opinion was based, may have altered the value of the Partnership or the prices of the common units since the date of the opinion, or may alter such values and prices by the time the Conversion is completed. The opinion does not speak as of any date other than the date of such opinion. The fairness opinion was provided to the Conflicts Committee in connection with its evaluation of the fairness of the Sponsor Consideration, from a financial point of view, to the Partnership and Public Unitholders, and did not address the fairness of the Conversion to the Partnership or the holders of the common units. See “The Conversion—Opinion of Evercore—Financial Advisor to the Conflicts Committee.”

The unaudited pro forma financial information included in this proxy statement/prospectus is presented for illustrative purposes only and may not be an indication of New Calumet’s financial condition or results of operations following the Conversion.

The unaudited pro forma financial information contained in this proxy statement/prospectus is presented for illustrative purposes only, is based on various adjustments, assumptions and preliminary estimates and may not be an indication of the financial condition or results of operations of New Calumet following the Conversion for several reasons. The actual financial condition and results of operations of New Calumet following the Conversion may not be consistent with, or evident from, this pro forma financial information. In addition, the assumptions used in preparing the pro forma financial information may not prove to be accurate, and other factors may affect the financial condition or results of operations of New Calumet following the Conversion. Any

 

24


Table of Contents

potential decline in the financial condition or results of operations of New Calumet following the Conversion may cause significant variations in the price of common stock after consummation of the Conversion. See “Summary Unaudited Pro Forma Condensed Consolidated Financial Information.”

The common stock to be received by the unitholders as a result of the Conversion have different rights than the common units.

Following consummation of the Conversion, the unitholders will no longer hold the common units, but will instead hold the common stock. There are important differences between the rights of unitholders and the rights of stockholders. Ownership interests in a limited partnership are fundamentally different from ownership interests in a corporation. The unitholders will own common stock following the completion of the Conversion, and their rights associated with the common stock will be governed by New Calumet’s organizational documents and the DGCL, which differ in a number of respects from the Partnership Agreement and the Delaware LP Act. See “Comparison of the Rights of Stockholders and Unitholders.”

The Partnership and New Calumet may be subject to litigation related to the Conversion.

The Partnership and New Calumet may be subject to litigation related to the Conversion. The Partnership and New Calumet cannot predict the outcome of any lawsuits, nor can they predict the amount of time and expense that will be required to resolve such litigation. An unfavorable resolution of any such litigation concerning the Conversion could delay or prevent its consummation. In addition, the costs of defending the litigation, even if resolved in the Partnership’s or New Calumet’s favor, could be substantial and such litigation could distract the Partnership and New Calumet from pursuing the consummation of the Conversion and could have a negative impact on the Partnership’s financial condition and results of operations.

Tax Risks Related to the Mergers

In addition to reading the following risk factors, you are urged to read “Material U.S. Federal Income Tax Consequences” for a more complete discussion of the expected material U.S. federal income tax consequences of the Election, the Mergers and owning and disposing of shares of common stock received in the Mergers.

No ruling has been requested with respect to the tax consequences of the Mergers.

Although it is intended that the Election and the Mergers will qualify as exchanges described in Section 351 of the Code and that the Sponsor Parties and unitholders will generally not recognize any gain or loss as a result of the Mergers (other than gain that will be recognized if liabilities exceed tax basis and other than gain recognized with respect to warrants received), no ruling has been or will be requested from the Internal Revenue Service (the “IRS”), with respect to the tax consequences of the Election and the Mergers. Under certain circumstances, the Election and the Mergers may be treated as taxable transactions, and result in tax liability, for a Sponsor Party or a unitholder, depending on such Sponsor Party’s or unitholder’s particular situation. See “Material U.S. Federal Income Tax Consequences.”

Sponsor Parties will be allocated taxable income and gain of the General Partner through the time of the Election and will not receive any additional distributions attributable to that income.

Sponsor Parties will be allocated their proportionate share of the General Partner’s taxable income and gain for the period ending at the time of the Election, and will not receive any additional distributions attributable to that income.

Unitholders will be allocated taxable income and gain of the Partnership through the time of the Partnership Merger and will not receive any additional distributions attributable to that income.

Unitholders will be allocated their proportionate share of the Partnership’s taxable income and gain for the period ending at the time of the Partnership Merger and will not receive any additional distributions attributable to that income.

 

25


Table of Contents

The U.S. federal income tax treatment of owning and disposing of shares of common stock received in the Mergers will be different from the U.S. federal income tax treatment of owning and disposing of equity interests in the General Partner or common units.

The General Partner and the Partnership are classified as partnerships for U.S. federal income tax purposes and, generally, are not subject to entity-level U.S. federal income taxes. Instead, each Sponsor Party and unitholder is required to take into account its respective share of the General Partner’s and the Partnership’s items of income, gain, loss and deduction in computing its federal income tax liability as if the Sponsor Party or unitholder had earned such income directly, even if no cash distributions are made to the Sponsor Party or unitholder. A pro rata distribution of cash by the General Partner or the Partnership to a Sponsor Party or unitholder who is a U.S. holder is generally not taxable for U.S. federal income tax purposes unless the amount of cash distributed is in excess of the Sponsor Party’s or unitholder’s adjusted tax basis in its equity interests in the General Partner or in common units, respectively.

In contrast, New Calumet is classified as a corporation for U.S. federal income tax purposes and is subject to U.S. federal income tax on its taxable income. As such, equity owners will no longer receive Forms K-1. Any future distribution of cash by New Calumet to a stockholder who is a U.S. holder, if any, generally will be included in such U.S. holder’s income as ordinary dividend income to the extent of New Calumet’s current or accumulated “earnings and profits,” as determined under U.S. federal income tax principles and will be reported to such owner on Form 1099-DIV. A portion of the cash distributed to stockholders by New Calumet after the Mergers, if any, may exceed New Calumet’s current or accumulated earnings and profits. Cash distributions in excess of New Calumet’s current or accumulated earnings and profits will be treated as a non-taxable return of capital, reducing a U.S. holder’s adjusted tax basis in such stockholder’s shares of common stock and, to the extent the cash distribution exceeds such stockholder’s adjusted tax basis, as gain from the sale or exchange of shares of common stock. See “Material U.S. Federal Income Tax Consequences.”

Risks Related to the Business

Unless the context provides otherwise, when used in this “—Risks Related to the Business,” references to “we,” “us” and “our” or like terms refer to (x) the Partnership, prior to the consummation of the Conversion, and (y) New Calumet, after giving effect to the consummation of the Conversion.

Results of Operations and Financial Condition

Our business depends on supply and demand fundamentals, which can be adversely affected by numerous macroeconomic factors outside of our control and which may in turn impact our operational and financial performance, including our ability to execute our business strategies in the expected time frame.

Such macroeconomic factors include:

 

   

reduction in the demand for, and the marketability of, our specialty products due to governmental regulations, including travel bans and restrictions, quarantines, shelter in place orders, and shutdowns;

 

   

increased volatility in product margins;

 

   

the ability or willingness of our suppliers to provide raw materials, equipment, services or supplies for our operations or otherwise fulfill their contractual obligations, which could reduce our production levels or otherwise impact our ability to deliver refined or finished lubricant products timely or at all;

 

   

the ability or willingness of our customers to fulfill their contractual obligations or any material reduction in, or loss of, orders or revenue from our customers;

 

   

occurrence of operational hazards, including terrorism, cyberattacks or domestic vandalism, as well as information system failures or communication network disruptions;

 

   

increased cost and reduced availability of capital for growth or maintenance expenditures;

 

26


Table of Contents
   

availability and operability of terminals, tankage and pipelines that store and transport our feedstocks and products;

 

   

the amount of our borrowing base under our revolving credit facility and our ability to issue letters of credit or the requirement that we post substantial amounts of credit support;

 

   

the impairment of our long-lived assets or goodwill, which could reduce our earnings;

 

   

the impact of any economic downturn, recession, inflationary pressures, further increases in interest rates or other disruptions of the U.S. and global economies and financial and commodity markets; and

 

   

political tensions, conflicts and war, such as the ongoing conflicts in Ukraine and the Middle East.

Our business has exposure to some commodities which are volatile, and a reduction in our margins will adversely affect the amount of cash we will have available to operate our business and for payments of our debt obligations.

In many cases, specialty products are produced from intermediates that ultimately originate from crude oil. Typically, we enjoy a cost advantage from processing crude oil into intermediates that are used as specialty feedstocks. This process also creates fuels and other by-products, which carry a margin to crude prices. Typically, the total margin of fuels and other by-products to crude oil is a positive, but in extreme demand scenarios this cost advantage can turn into a short-term disadvantage. When the margin between product sales prices and feedstock costs tightens, our earnings, profitability and cash flows are negatively impacted.

A widely used benchmark to track margins in the fuel products industry is the Gulf Coast 2/1/1 crack spread (“Gulf Coast crack spread”), which represents the gross margin assuming that two barrels of a benchmark crude oil are converted, or cracked, into one barrel of gasoline and one barrel of diesel. The Gulf Coast 2/1/1 crack spread ranged from a high of $50.05 per barrel to a low of $13.98 per barrel during 2023 and averaged $31.64 per barrel during 2023 compared to an average of $39.96 during 2022.

Our actual fuels product margins may vary from the Gulf Coast crack spread due to the actual crude oil used and products produced, transportation costs, regional differences, and the timing of the purchase of the feedstock and sale of the refined products, but we use the Gulf Coast crack spread as an indicator of the volatility and general levels of fuels refining margins.

Our specialty product margins are influenced by the price of our feedstocks, many of which are commodities. If feedstock prices increase, our margins would fall unless we are able to pass through these price increases to our customers. For example, during fiscal year 2022, higher material and feedstock costs adversely impacted our margins for our Performance Brands segment.

Our hedging activities may not be effective in reducing our exposure to commodity price risk and may reduce our earnings, profitability and cash flows.

From time to time, we utilize derivative financial instruments related to the future price of crude oil, natural gas and refined products to manage expected outcomes involving commodity price risk. We typically do not enter into derivative financial instruments to reduce our exposure to prices of the specialty products we sell as there is no established derivative market for such products.

We limit our derivative transactions to only a portion of the volume of our expected purchase and sales requirements and, as a result, we will continue to have direct commodity price exposure to the unhedged portion of our expected purchase and sales requirements. Thus, we could be exposed to significant increases in commodity prices, which would increase the cost for a portion of our feedstock purchases.

 

27


Table of Contents

Our actual future purchase and sales requirements may be significantly higher or lower than we estimate at the time we enter into derivative transactions for such period. If the actual amount is higher than we estimate, we will have greater commodity price exposure than we intended. If the actual amount is lower than the amount that is subject to our derivative financial instruments, we might be forced to satisfy all or a portion of our derivative transactions without the benefit of the cash flow from our sale or purchase of the underlying physical commodity, which may result in a substantial diminution of our liquidity. As a result, our hedging activities may not be as effective as we intend in reducing our exposure to price risk. In addition, our hedging activities are subject to the risks that a counterparty may not perform its obligations under the applicable derivative instrument, the terms of the derivative instruments are imperfect, and our risk management policies and procedures are not properly followed. It is possible that the steps we take to monitor our derivative financial instruments may not detect and prevent violations of our risk management policies and procedures, particularly if deception or other intentional misconduct is involved.

Decreases in the price of inventory and products may lead to a reduction in the borrowing base under our revolving credit facility and our ability to issue letters of credit or the requirement that we post substantial amounts of cash collateral for derivative instruments, which could adversely affect our liquidity, financial condition and our ability to make payments on our debt obligations.

We rely on borrowings and letters of credit under our revolving credit facility to purchase feedstocks for our facilities, and to lease certain precious metals for use in our operations. The borrowing base under our revolving credit facility is determined weekly or monthly depending upon availability levels or the existence of a default or event of default. Reductions in the value of our inventories as a result of lower crude oil prices could result in a reduction in our borrowing base, which would reduce the amount of financial resources available to meet our operating requirements. If, under certain circumstances, our available capacity under our revolving credit facility falls below certain threshold amounts, or a default or event of default exists, then our cash balances in a dominion account established with the administrative agent will be applied on a daily basis to our outstanding obligations under our revolving credit facility. In addition, decreases in the price of crude oil or increases in crack spreads may require us to post substantial amounts of cash collateral to our hedging counterparties in order to maintain our derivative instruments. If, due to our financial condition or other reasons, the borrowing base under our revolving credit facility decreases, we are limited in our ability to issue letters of credit or we are required to post substantial amounts of cash collateral to our hedging counterparties, our liquidity, financial condition and our ability to make payments on our debt obligations could be materially and adversely affected. Please read “Management’s Discussion and Analysis of Financial Condition and Results of Operations of the Partnership—Liquidity and Capital Resources—Debt and Credit Facilities” for additional information.

We depend on certain third-party pipelines for transportation of feedstocks and products, and if these pipelines become unavailable to us, our revenues and cash available for payment of our debt obligations could decline.

Our Shreveport facility is interconnected to a pipeline that supplies a portion of its crude oil and a pipeline that ships a portion of its refined fuel products to customers, such as pipelines operated by subsidiaries of Enterprise Products Partners L.P. and Plains. Our Great Falls facility receives crude oil through the Front Range pipeline system via the Bow River Pipeline in Canada. Since we do not own or operate any of these pipelines, their continuing operation is not within our control.

The unavailability of any of these third-party pipelines for the transportation of crude oil or our refined fuel products, because of acts of God, accidents, earthquakes or hurricanes, government regulation, terrorism or other third-party events, could lead to disputes or litigation with certain of our suppliers or a decline in our sales, net income and cash available for payments of our debt obligations.

 

28


Table of Contents

The price volatility of utility services may result in decreases in our earnings, profitability and cash flows.

The volatility in costs of natural gas and other utility services, principally electricity, used by our facilities and other operations affect our net income and cash flows. Natural gas and utility prices are affected by factors outside of our control, such as supply and demand in both local and regional markets. Natural gas prices have historically been volatile.

For example, daily prices for natural gas as reported on the NYMEX ranged between $4.17 and $1.99 per million British thermal unit (“MMBtu”) in 2023, and between $9.68 and $3.72 per MMBtu in 2022. Typically, electricity prices fluctuate with natural gas prices. Future increases in natural gas and utility prices may have a material adverse effect on our results of operations. However, international natural gas prices have been more volatile, and more expensive, than domestic prices, which can provide a competitive advantage to domestic plants. This dynamic means that market product prices may increase more than our utility costs, creating higher margins when natural gas and utility costs increase less than international competitors’ utility prices. Natural gas and utility costs constituted approximately 15.4% and 14.4% of our total operating expenses included in cost of sales for the years ended December 31, 2023 and 2022, respectively. As prices and industry competitive dynamics change, it could adversely affect our profitability and the amount of cash available for payments of our debt obligations.

Our facilities incur operating hazards, and the potential limits on insurance coverage could expose us to potentially significant liability costs.

Our facilities are subject to certain operating hazards, and our cash flow from those operations could decline if any of our facilities experience a major accident, pipeline rupture or spill, explosion or fire, is damaged by severe weather or other natural disaster, or otherwise is forced to curtail its operations or shut down. These operating hazards could result in substantial losses due to personal injury and/or loss of life, severe damage to and destruction of property and equipment, and pollution or other environmental damage. One or more of these developments may result in significant curtailment or suspension of our related operations.

Although we maintain insurance policies, including personal and property damage and business interruption insurance for each of our facilities, we cannot ensure that this insurance will be adequate to protect us from all material expenses related to potential future claims for personal and property damage or significant interruption of operations. Our business interruption insurance will not apply unless a business interruption exceeds 60 days. Furthermore, we may be unable to maintain or obtain insurance of the type and amount we desire at reasonable rates. As a result of market conditions, premiums and deductibles for certain of our insurance policies have increased and could escalate further. In some instances, certain insurance could become unavailable or available only for reduced amounts of coverage. In addition, we are not fully insured against all risks incident to our business because certain risks are not fully insurable, coverage is unavailable, or premium costs, in our judgment, do not justify such expenditures. For example, we are not insured for all environmental liabilities, including, but not limited to, product spills and other releases at all of our facilities. If we were to incur a significant liability for which we are not insured or fully insured, it could affect our financial condition and diminish our ability to make payments of our debt obligations.

Downtime for maintenance at our refineries and facilities will reduce our revenues and could limit our ability to make payments of our debt obligations.

Our facilities consist of many processing units, a number of which have been in operation for extended periods of time. One or more of the units have in the past required, and may in the future require, additional unscheduled downtime for unanticipated maintenance or repairs that are more frequent than our scheduled turnaround for each unit every one to five years. Scheduled and unscheduled maintenance reduce our revenues and increase our operating expenses during the period of time that our processing units are not operating and could limit our ability to make payments of our debt obligations.

 

29


Table of Contents

An impairment of our long-lived assets or goodwill could reduce our earnings or negatively impact our financial condition and results of operations.

We continually monitor our business, the business environment and the performance of our operations to determine if an event has occurred that indicates that a long-lived asset or goodwill may be impaired. If an event occurs, which is a determination that involves judgment, we may be required to utilize cash flow projections to assess our ability to recover the carrying value based on the ability to generate future cash flows. Our long-lived assets and goodwill impairment analyses are sensitive to changes in key assumptions used in our analysis, such as expected future cash flows, the degree of volatility in equity and debt markets and our unit price. If the assumptions used in our analysis are not realized, it is possible a material impairment charge may need to be recorded in the future.

We cannot accurately predict the amount and timing of any impairment of long-lived assets or goodwill. Further, as we continue to develop our strategy regarding certain of our non-core assets, we will need to continue to evaluate the carrying value of those assets. Any additional impairment charges that we may take in the future could be material to our results of operations and financial condition.

Competition in our industry is intense, and an increase in competition in the markets in which we sell our products could adversely affect our earnings and profitability.

We compete with a broad range of companies within our industry. Because of some of our competitors’ geographic diversity, larger and more complex refineries, integrated operations and greater resources, some of our competitors may be better able to withstand volatile market conditions, to obtain crude oil in time of shortage and to bear the economic risks inherent in all areas of the refining industry.

In addition, we compete with other industries that provide alternative means to satisfy the energy and fuel requirements of our industrial, commercial and individual consumers. The more successful these alternatives become as a result of governmental regulations, technological advances, consumer demand, improved pricing or otherwise, the greater the impact on pricing and demand for our products and our profitability. There are presently significant governmental and consumer pressures to increase the use of alternative fuels in the United States. While in some areas of our business these pressures are helpful, in other areas they can pose a significant risk.

We depend on unionized labor for the operation of many of our facilities. Any work stoppages or labor disturbances at these facilities could disrupt our business and negatively impact our financial condition and results of operations.

Substantially all of our operating personnel at our Shreveport, Great Falls, Princeton, Cotton Valley, Karns City, Dickinson and Missouri facilities are employed under collective bargaining agreements. If we are unable to renegotiate these agreements as they expire, any work stoppages or other labor disturbances at these facilities could have an adverse effect on our business and impact our ability to make payments of our debt obligations. In addition, employees who are not currently represented by labor unions may seek union representation in the future, and any renegotiation of current collective bargaining agreements may result in terms that are less favorable to us. Furthermore, our actions or responses to any such negotiations, labor disputes, strikes or work stoppages could negatively impact how we are perceived and the impact on our reputation could have adverse effects on our business.

Our method of valuing inventory may result in decreases in net income.

The nature of our business requires us to maintain substantial quantities of inventories. Some of our inventory is commodity based, providing us little control over the changing market value of these inventories. Because our inventory is valued at LCM value, if the market value of our inventory were to decline to an amount

 

30


Table of Contents

less than our cost, we would record a write-down of inventory and a non-cash charge to cost of sales. In periods of decreasing crude oil or refined product prices, our inventory valuation methodology has resulted in and may in the future result in decreases in net income.

We depend on key personnel for the success of our business and the loss of those persons could adversely affect our business and our ability to make payments of our debt obligations.

The loss of the services of any member of senior management or key employee could have an adverse effect on our business and reduce our ability to make payments of our debt obligations. Our success in hiring, attracting and retaining senior management and other experienced and highly skilled employees will depend in part on our ability to provide competitive compensation packages and a high-quality work environment and maintain a desirable corporate culture. We may not be able to locate or employ on acceptable terms qualified replacements for senior management or other key employees if their services were no longer available. We do not maintain any key-man life insurance.

We are subject to cybersecurity risks and other cyber incidents resulting in disruption.

Threats to information technology systems associated with cybersecurity risks and cyber incidents or attacks continue to grow. We depend on information technology systems to run our business. In addition, our use of the internet, cloud services and other public networks, exposes our business and that of other third parties with whom we do business to cybersecurity threats. Geopolitical tensions or conflicts, such as ongoing conflict in Ukraine and the Middle East, may further heighten the risk of cybersecurity incidents. Such incidents could lead to unauthorized access to data and systems, intentional or inadvertent releases of confidential information, including personally identifiable information, corruption of data and disruption of critical systems and operations. Despite the security measures we have in place and any additional measures we may implement in the future, our facilities and systems, and those of our third-party service providers, could be vulnerable to security breaches, computer viruses, ransomware attacks, phishing attacks, inadvertent data disclosures, programming errors, human errors or malfeasance, acts of vandalism or other events. Moreover, these threats are constantly evolving, thereby making it more difficult to successfully defend against them or to implement adequate preventive measures. We may not have the current capability to detect certain vulnerabilities, or may not detect them in a timely manner, which may allow those vulnerabilities to persist in our systems over long periods of time. During 2021, we experienced a minor cybersecurity incident at one of our operating locations, which was effectively contained. Any disruption of our systems or cybersecurity incident or event resulting in the misappropriation, loss or other unauthorized disclosure of confidential information, whether by us directly or our third-party service providers, could damage our reputation, expose us to the risks of litigation and liability or regulatory fines, penalties or intervention, disrupt our business, require us to incur significant costs to remediate damage resulting from the incident or improve our information technology systems, or otherwise affect our results of operations, which could materially and adversely affect our business, results of operations or financial condition. In addition, as cybersecurity incidents continue to evolve in magnitude and sophistication, and our reliance on digital technologies continues to grow, we have expended and expect to continue to expend additional resources in order to continue to enhance our cybersecurity measures and to investigate and remediate any digital systems, related infrastructure, technologies and network security vulnerabilities. While we carry cyber insurance, we cannot be certain that our coverage will be adequate for liabilities actually incurred, that insurance will continue to be available to us on economically reasonable terms, or at all, or that any insurer will not deny coverage as to any future claim.

We are also subject to an evolving landscape of laws and regulations in a range of jurisdictions governing the handling of information and the operation of information systems, including those relating to privacy, cybersecurity and data protection. Costs associated with compliance with these laws and regulations may increase over time and failure to comply with these obligations could result in investigations, litigation, fines, penalties, judgments or other proceedings which could have a material impact on our financial results.

 

31


Table of Contents

We identified a material weakness in our internal control over financial reporting, and if we are unable to remediate this material weakness, or if we experience additional material weaknesses or other deficiencies in the future or otherwise fail to maintain an effective system of internal control, we may not be able to accurately and timely report our financial results.

A material weakness is a deficiency, or combination of deficiencies, in internal control over financial reporting such that there is a reasonable possibility that a material misstatement of our annual or interim consolidated financial statements may not be prevented or detected on a timely basis. In connection with the preparation of the Partnership’s consolidated financial statements for the fiscal year ended December 31, 2023, we identified a material weakness in the design of our controls within the financial statement close process associated with the subsequent accounting for and measurement of redeemable noncontrolling interests. The material weakness also existed as of December 31, 2022. Additionally, as previously disclosed, we previously identified a material weakness in internal control over financial reporting that pertains to the untimely and insufficient operation of controls in the financial statement close process, including lack of timely account reconciliation, analysis and review related to all financial statement accounts, which was remediated as of December 31, 2021.

Remediation efforts place a significant burden on management and add increased pressure to our financial resources and processes. As a result, we may not be successful in making the improvements necessary to remediate the material weakness identified by management, be able to do so in a timely manner, or able to identify and remediate additional control deficiencies, including material weaknesses, in the future. Additionally, completion of remediation does not provide assurance that our remediation or other controls will continue to operate properly or remain adequate and we cannot assure you that we will not identify additional material weaknesses in our internal control over financial reporting in the future.

If we are unable to successfully remediate our existing material weakness or any future material weaknesses or other deficiencies in our internal control over financial reporting or disclosure controls and procedures, our ability to record, process and report financial information accurately, and to prepare financial statements within the time periods specified by the rules and forms of the SEC, could be adversely affected. This failure could negatively affect the market price and trading liquidity of our common units, cause investors to lose confidence in our reported financial information, subject us to civil and criminal investigations and penalties and generally materially and adversely impact our business and financial condition.

We reached a determination to restate certain of our previously issued consolidated financial statements, which resulted in unanticipated costs and may affect investor confidence and raise reputational issues.

We reached a determination to restate our consolidated financial statements and related disclosures as of and for the year ended December 31, 2022 and each of the periods ended March 31, 2023, June 30, 2023, and September 30, 2023, following the identification of an error in the presentation of net income (loss) to partners arising from the misallocation of net loss from MRHL to noncontrolling interest. The restatement also included other immaterial adjustments to historical periods. As a result, we have incurred unanticipated costs for accounting and legal fees in connection with or related to the restatement, and have become subject to a number of additional risks and uncertainties, which may affect investor confidence in the accuracy of our financial disclosures and may raise reputational issues for our business.

Customers and Suppliers

Our arrangement with J. Aron and Wells Fargo expose us to J. Aron and/or Wells Fargo-related credit and performance risk as well as potential refinancing risks.

In October 2023, Montana Renewables, LLC (“Montana Renewables,” or “MRL”) and Wells Fargo Commodities, LLC (“Wells Fargo”) entered into (i) an ISDA 2002 Master Agreement (together with a related schedule and credit support annex, the “Master Agreement”) and a Renewable Fuel and Feedstock Repurchase

 

32


Table of Contents

Master Confirmation (together with the Master Agreement, the “MRL Inventory Financing Agreement”). Pursuant to the MRL Inventory Financing Agreement, Wells Fargo agreed to, among other things, (a) purchase from MRL renewable feedstocks and finished products located at MRL’s Great Falls, Montana refinery, subject to MRL’s repurchase obligations with respect thereto, and (b) provide certain financial accommodations to MRL secured by liens on certain renewable feedstocks and finished products owned by MRL.

In January 2024, the Partnership and J. Aron & Company (“J. Aron”) entered into a Monetization Master Agreement (the “Master Agreement”), a related Financing Agreement (the “Financing Agreement”) and Supply and Offtake Agreement (together with the Master Agreement and the Financing Agreement, the “Shreveport Supply and Offtake Agreement”). Pursuant to the Shreveport Supply and Offtake Agreement, J. Aron agreed to, among other things, purchase from the Partnership, or extend to the Partnership, financial accommodations secured by crude oil and finished products located at the Partnership’s Shreveport refinery and from time to time, up to maximum volumes specified for crude oil and categories of finished products, subject to the Partnership’s repurchase obligations with respect thereto.

When we executed the Shreveport Supply and Offtake Agreement, the inventories associated with such agreement were taken out of our revolving credit facility borrowing base. The inventories associated with the MRL Inventory Financing Agreement are also not included in our revolving credit facility borrowing base. Should an early termination event occur, pursuant to the terms of the Shreveport Supply and Offtake Agreement, we would need to seek alternative sources of financing, such as putting the inventory associated with the Shreveport Supply and Offtake Agreement back into our revolving credit facility, to meet our obligation to repurchase the inventory at then current market prices. In addition, upon expiration of the Shreveport Supply and Offtake Agreement, the cost of repurchasing the inventory may be at higher prices than we sold the inventory. If the price of the applicable products is well above the price at which we sold the inventory, we would have to pay more for the inventory than the price we sold the inventory for. If this is the case at the time of termination and we are unable to include the inventory associated with the Shreveport Supply and Offtake Agreement in our borrowing base, we could suffer a significant reduction in liquidity if J. Aron terminates the Shreveport Supply and Offtake Agreement and we have to repurchase the inventories. Similarly, if the MRL Inventory Financing Agreement is terminated and MRL is unable to obtain alternative sources of financing, MRL could suffer significant reductions in liquidity.

Indebtedness; Financing

We have a substantial amount of indebtedness, which may adversely affect our cash flow and our ability to operate our business.

We had approximately $1.9 billion of outstanding indebtedness as of December 31, 2023, and availability for borrowings of approximately $241.9 million under our senior secured revolving credit facilities. We have the ability to incur additional debt, including the ability to borrow up to an aggregate principal amount of $650.0 million at any time, subject to borrowing base limitations, under our revolving credit facility. A tranche of the revolving credit facility includes a $50.0 million senior secured first loaned in and last to be repaid out (“FILO”) revolving credit facility. In addition, as of December 31, 2023, MRL had $13.0 million of outstanding indebtedness under a secured revolving credit facility (the “MRL revolving credit agreement”) that was entered into on November 2, 2022. Our substantial indebtedness could adversely affect our results of operations, business and financial condition, and our ability to meet our debt obligations. In addition, our level of indebtedness could have important consequences to us, including the following:

 

   

our ability to obtain additional financing, if necessary, for working capital, capital expenditures, acquisitions or other purposes may be impaired, or such financing may not be available on favorable terms;

 

   

covenants contained in our existing and future credit and debt arrangements will require us to meet financial tests that may affect our flexibility in planning for and reacting to changes in our business, including possible acquisition opportunities;

 

33


Table of Contents
   

we will need a substantial portion of our cash flow to make principal and interest payments on our indebtedness, reducing the funds that would otherwise be available for operations, future business opportunities and payments of our debt obligations;

 

   

our ability to execute our acquisition and divestiture strategy; and

 

   

our debt level will make us more vulnerable than our competitors with less debt to competitive pressures or a downturn in our business or the economy in general.

Any of these factors could result in a material adverse effect on our business, financial conditions, results of operations, business prospects and ability to satisfy our obligations under our senior notes, revolving credit facility and the MRL revolving credit agreement.

Our ability to service our indebtedness will depend upon, among other things, our future financial and operating performance, which will be affected by prevailing economic conditions and financial, business, regulatory and other factors, some of which are beyond our control. If our operating results are not sufficient to service our current or future indebtedness, we will be forced to take actions such as continuing the suspension of distributions to our unitholders, reducing or delaying our business activities, acquisitions, investments and/or capital expenditures, selling assets, restructuring or refinancing our indebtedness, or seeking additional equity capital or bankruptcy protection. We may not be able to effect any of these remedies on satisfactory terms, or at all. Please read “Management’s Discussion and Analysis of Financial Condition and Results of Operations of the Partnership—Liquidity and Capital Resources—Debt and Credit Facilities” for additional information regarding our indebtedness.

Our financing arrangements contain operating and financial provisions that restrict our business and financing activities.

The operating and financial restrictions and covenants in our financing arrangements, including our revolving credit facility, the MRL revolving credit agreement, the indentures governing each series of our outstanding senior notes and master derivative contracts, do currently restrict, and any future financing agreements could restrict, our ability to finance future operations or capital needs or to engage, expand or pursue our business activities, including restrictions on our ability to, among other things:

 

   

sell assets, including equity interests in our subsidiaries;

 

   

pay distributions on or redeem or repurchase our units or redeem or repurchase any subordinated debt and, in the case of the 9.25% Senior Secured First Lien Notes due 2029 (the “2029 Secured Notes”), our unsecured notes;

 

   

incur or guarantee additional indebtedness or issue preferred units;

 

   

create or incur certain liens;

 

   

make certain acquisitions and investments;

 

   

redeem or repay other debt or make other restricted payments;

 

   

enter into transactions with affiliates;

 

   

enter into agreements that restrict distributions or other payments from our restricted subsidiaries to us;

 

   

create unrestricted subsidiaries;

 

   

enter into sale and leaseback transactions;

 

   

enter into a merger, consolidation or transfer or sale of assets, including equity interests in our subsidiaries; and

 

   

engage in certain business activities.

 

34


Table of Contents

Our revolving credit facility also contains a springing financial covenant which provides that only if the Partnership’s availability to borrow loans under the revolving credit facility falls below the sum of (a) the greater of (i) (x) 15% of the borrowing base then in effect at any time that the refinery asset borrowing base component is greater than $0 and (y) 10% of the borrowing base then in effect at any time that the refinery asset borrowing base component is equal to $0 and (ii) $45.0 million (which amount is subject to certain increases) plus (b) the amount of FILO Loans outstanding, then we will be required to maintain as of the end of each fiscal quarter a Fixed Charge Coverage Ratio (as defined in the Credit Agreement) of at least 1.0 to 1.0. As of December 31, 2023, the Partnership was in compliance with all covenants under the revolving credit facility.

Our existing indebtedness imposes, and any future indebtedness may impose, a number of covenants on us regarding collateral maintenance and insurance maintenance. As a result of these covenants and restrictions, we will be limited in the manner in which we conduct our business, and we may be unable to engage in favorable business activities or finance future operations or capital needs.

Our ability to comply with the covenants and restrictions in our revolving credit facility, the MRL revolving credit agreement, our secured hedge agreements and the indentures governing our senior notes may be affected by events beyond our control.

If market or other economic conditions deteriorate, our ability to comply with these covenants and restrictions may be impaired. A failure to comply with the covenants, ratios or tests in our revolving credit facility, the MRL revolving credit agreement, our secured hedge agreements, the indentures governing our senior notes or any future indebtedness could result in an event of default under our revolving credit facility, the MRL revolving credit agreement, our secured hedge agreements, the indentures governing our senior notes or our future indebtedness, which, if not cured or waived, could have a material adverse effect on our business, financial condition and results of operations. Among other things, in the event of any default on our indebtedness, our debt holders and lenders:

 

   

will not be required to lend any additional amounts to us;

 

   

could elect to declare all borrowings outstanding, together with accrued and unpaid interest and fees, to be due and payable;

 

   

could elect to require that all obligations accrue interest at the default rate, if such rate has not already been imposed;

 

   

may have the ability to require us to apply all of our available cash to repay these borrowings;

 

   

may prevent us from making debt service payments under our other agreements, any of which could result in an event of default under our notes; or

 

   

in the event of a default by the Partnership or its restricted subsidiaries, could foreclose on the collateral pledged pursuant to the terms of the revolving credit facility or the indenture and security documents governing the 2029 Secured Notes, respectively, or in the event of a default by Montana Renewables Holdings LLC, a wholly owned subsidiary of the Partnership and the direct parent of MRL (“MRHL”), or MRL, could foreclose on the accounts receivables and open blenders tax credit refunds securing the MRL revolving credit agreement.

If our existing indebtedness were to be accelerated, there can be no assurance that we would have, or be able to obtain, sufficient funds to repay such indebtedness in full. Even if new financing were available, it may be on terms that are less attractive to us than our then existing credit facilities or it may not be on terms that are acceptable to us. In addition, our obligations under our revolving credit facility are secured by a first priority lien on our accounts receivable, inventory and substantially all of our cash; the obligations under the MRL revolving credit agreement are secured by accounts receivables and open blenders tax credit refunds; our obligations under our secured hedge agreements and the BP Purchase Agreement are secured by a lien on certain of our real property, plant and equipment, fixtures, intellectual property, certain financial assets, certain investment property,

 

35


Table of Contents

commercial tort claims, chattel paper, documents, instruments and proceeds of the forgoing (including proceeds of hedge agreements); and the 2029 Secured Notes are secured by a first-priority lien on all of the fixed assets that secure our obligations under our secured hedge agreements, and if we are unable to repay our indebtedness under the revolving credit facility, the MRL revolving credit agreement, the 2029 Secured Notes or satisfy the payment obligations under our secured hedge agreements or the payment obligations under the BP Purchase Agreement or obtain waivers of such defaults, then the lenders under our revolving credit facility and under the MRL revolving credit agreement, the counterparties to such agreements, and the holders of the 2029 Secured Notes could seek to foreclose on these assets. Please read “Management’s Discussion and Analysis of Financial Condition and Results of Operations of the Partnership—Liquidity and Capital Resources—Debt and Credit Facilities,” “—Short-Term Liquidity,” “—Long-Term Financing” and “—Master Derivative Contracts and Collateral Trust Agreement” for additional information regarding our long-term debt.

An increase in interest rates will cause our debt service obligations to increase.

Borrowings under both our revolving credit facility and the MRL revolving credit agreement bear interest at a rate based on the daily Secured Overnight Financing Rate (“SOFR”). As of December 31, 2023, we had $136.7 million outstanding borrowings under our revolving credit facility, $29.9 million in standby letters of credit were issued under our revolving credit facility, and $13.0 million of outstanding borrowings under the MRL revolving credit agreement. The foregoing interest rates are subject to adjustment based on fluctuations in daily SOFR or the prime rate, as applicable. An increase in the interest rates associated with our floating-rate debt would increase our debt service costs and affect our results of operations. In addition, an increase in interest rates could adversely affect our future ability to obtain financing or materially increase the cost of any additional financing.

A change of control could result in us facing substantial repayment obligations under our revolving credit facility, our senior notes, our secured hedge agreements, our Supply and Offtake Agreements, the MRL revolving credit agreement, MRL’s financing arrangements with Stonebriar, and MRL’s term loan credit agreement with I Squared Capital.

There is no restriction in our partnership agreement on the ability of our general partner to enter into a transaction which would trigger the change of control provisions of our revolving credit facility agreement, the indentures governing our senior notes, our Collateral Trust Agreement (as discussed below), our Supply and Offtake Agreements, the MRL revolving credit agreement, MRL’s financing arrangements with Stonebriar Commercial Finance LLC (“Stonebriar”), and MRL’s term loan credit agreement with I Squared Capital. Certain events relating to a change of control of the General Partner, the Partnership and our operating subsidiaries would constitute an event of default under our revolving credit facility, our Collateral Trust Agreement and our Supply and Offtake Agreements. In addition, an event of default under our revolving credit facility would likely constitute an event of default under the indentures governing our senior notes, our master derivatives contracts and the BP Purchase Agreement. As a result, upon a change of control event, we may be required to immediately repay the outstanding principal, any accrued interest on and any other amounts owed by us under our revolving credit facility, the senior notes and Supply and Offtake Agreements and the outstanding payment obligations under our master derivatives contracts and the BP Purchase Agreement. In addition, if a change of control event occurs under the MRL revolving credit agreement, MRL may be required to immediately repay the outstanding principal, any accrued interest on and any other amounts owed by MRL under the MRL revolving credit agreement. The source of funds for these repayments would be our available cash or cash generated from other sources and there can be no assurance that we would have, or be able to obtain, sufficient funds to repay such indebtedness and other payment obligations in full.

In addition, our obligations under our revolving credit facility are secured by a first-priority lien on our accounts receivable, inventory and substantially all of our cash; the obligations under the MRL revolving credit agreement are secured by accounts receivables and open blenders tax credit refunds; our 2029 Secured Notes are secured by a first-priority lien on all of the fixed assets that secure our obligations under our secured hedge

 

36


Table of Contents

agreements; and our obligations under our master derivatives contracts and the BP Purchase Agreement are secured by a first-priority lien on our and our subsidiaries’ real property, plant and equipment, fixtures, intellectual property, certain financial assets, certain investment property, commercial tort claims, chattel paper, documents, instruments and proceeds of the forgoing (including proceeds of hedge agreements). If we are unable to repay our indebtedness under the revolving credit facility, the 2029 Secured Notes, or satisfy the payment obligations under our master derivative contracts or the payment obligations under the BP Purchase Agreement or obtain waivers of such defaults, then the lenders under our revolving credit facility, the holders of our 2029 Secured Notes, the derivative counterparties under our master derivative contracts and BP, respectively, would have the right to foreclose on those assets, which would have a material adverse effect on us. Additionally, if we are unable to repay our indebtedness under the MRL revolving credit agreement, the lenders thereunder would have the right to foreclose on the accounts receivables and open blenders tax credit refunds securing that facility.

Capital Projects and Future Growth

We make capital expenditures in our facilities to expand their capacity and to maintain their reliability and efficiency. If we are unable to complete capital projects at their expected costs and/or in a timely manner, or if the market conditions assumed in our project economics deteriorate, results of operations or cash flows could be adversely affected.

Delays or cost increases related to the engineering, procurement and construction of new facilities, or improvements and repairs to our existing facilities and equipment, could have a material adverse effect on our business, financial condition, results of operations or our ability to make payments on our debt obligations. Such delays or cost increases may arise as a result of unpredictable factors in the marketplace, many of which are beyond our control, including:

 

   

denial or delay in obtaining regulatory approvals and/or permits;

 

   

changes in government regulations, including environmental and safety regulations;

 

   

unplanned increases in the cost of equipment, materials or labor;

 

   

disruptions in transportation of equipment and materials;

 

   

severe adverse weather conditions, natural disasters or other events (such as equipment malfunctions, explosions, fires or spills) affecting our facilities, or those of our vendors and suppliers;

 

   

shortages of sufficiently skilled labor, or labor disagreements resulting in unplanned work stoppages;

 

   

market-related increases in a project’s debt or equity financing costs; and/or

 

   

nonperformance or declarations of force majeure by, or disputes with, our vendors, suppliers, contractors or sub-contractors.

Equipment, even if properly maintained, may require significant capital expenditures and expenses to keep it operating at optimum efficiency.

Any one or more of these occurrences noted above could have a significant impact on our business or subject us to significant cost overruns. If we were unable to make up the delays or to recover the related costs, or if market conditions change, we may not realize the anticipated benefits of our capital projects and it could materially and adversely affect our financial position, results of operations or cash flows and, as a result, our ability to make payments of our debt obligations.

From time to time, we may seek to divest portions of our business, which could materially affect our results of operations and result in disruption to other parts of the business.

We may dispose of portions of our current business or assets, based on a variety of factors and strategic considerations, consistent with our strategy of preserving liquidity and streamlining our business to better focus

 

37


Table of Contents

on the advancement of our core business. We expect that any potential divestitures of assets will also provide us with cash to reinvest in our business and repay indebtedness. These dispositions, together with any other future dispositions we make, may involve risks and uncertainties, including disruption to other parts of our business, potential loss of employees, customers or revenue, exposure to unanticipated liabilities or result in ongoing obligations and liabilities to us following any such divestiture. In addition, any such divestitures may not yield the targeted improvements in our business. Any of the foregoing could adversely affect our financial condition and results of operations or cash flows and, as a result, our ability to make payments of our debt obligations.

Environmental and Regulatory Matters

We may incur significant environmental remediation costs and liabilities in the operation of our refineries, facilities, terminals and related facilities.

The operation of our refineries, blending and packaging sites, terminals, and related facilities subject us to the risk of incurring significant environmental remediation costs and liabilities due to our handling of petroleum hydrocarbons and wastes or hazardous substances or wastes, because of air emissions and water discharges related to our operations and activities, and as a result of historical operations and waste disposal practices at our facilities or in connection with our activities, some of which may have been conducted by prior owners or operators. We could incur significant remedial costs in the cleanup of any petroleum hydrocarbons or wastes or hazardous substances or wastes that may have been released on, under or from the properties owned or operated by us. While we believe we have adequately reserved for these possibilities, such costs and liabilities are difficult to predict and could exceed the amount reserved.

Some environmental laws may impose joint and several, strict liability for releases of petroleum hydrocarbons and wastes or hazardous substances or wastes, which means in some situations, we could be exposed to liability as a result of our conduct that was lawful at the time it occurred or the conduct of, or conditions caused by, prior operators or other third parties. Private parties, including the owners of properties adjacent to our operations and facilities where our petroleum hydrocarbons or wastes or hazardous substances or wastes are taken for reclamation or disposal, may also have the right to pursue legal actions to enforce compliance as well as to seek damages for non-compliance with environmental laws and regulations or for personal injury or property damage. We may not be able to recover some or any of these costs from insurance or other sources of indemnity. To the extent that the costs associated with meeting any or all of these requirements are significant and not adequately secured or indemnified for, there could be a material adverse effect on our business, financial condition and results of operations or cash flows and, as a result, our ability to make payments of our debt obligations.

We are subject to operational compliance with stringent environmental and occupational health and safety laws and regulations that may expose us to significant costs and liabilities.

Our refining, blending and packaging site, terminal and related facility operations are subject to stringent federal, regional, state and local laws and regulations governing worker health and safety, the discharge of materials into the environment and environmental protection. These laws and regulations impose legal requirements that are applicable to our operations, including the obligation to obtain permits to conduct regulated activities, the incurrence of significant capital expenditures for air pollution control equipment to limit or prevent releases of pollutants from our facilities, the expenditure of significant monies in the application of specific health and safety criteria addressing worker protection, the requirement to maintain information about hazardous materials used or produced in our operations and to provide this information to required parties, and the incurrence of significant costs and liabilities for pollution resulting from our operations or from those of prior owners or operators of our facilities. Numerous federal and state governmental authorities, such as the U.S. Environmental Protection Agency’s (“EPA”), the U.S. Occupational Safety and Health Administration (“OSHA”) and the Louisiana Department of Environmental Quality, have the power to enforce compliance with these laws and regulations and the permits issued under them, often requiring challenging and costly actions.

 

38


Table of Contents

From time to time, we receive notices of violation, other enforcement proceedings and regulatory inquiries from governmental agencies alleging non-compliance with applicable environmental and occupational health and safety laws and regulations. Failure to comply with such laws and regulations as well as any issued permits and orders may result in the assessment of administrative, civil, and criminal sanctions, including monetary penalties, the imposition of remedial or corrective action obligations or the incurrence of capital expenditures, the occurrence of delays or cancellations in the permitting, development or expansion of projects, litigation, and the issuance of injunctions limiting or preventing some or all of our operations.

New worker safety and environmental laws and regulations, revised interpretations of such existing laws and regulations, increased governmental enforcement or other developments could require us to make additional, unforeseen expenditures. The adoption of more stringent environmental laws or regulations could impact us by requiring installation of new emission controls on some of our equipment, resulting in longer permitting timelines, and significantly increasing our capital expenditures and operating costs, which could adversely impact our business, cash flows and results of operation. Please read “Business of the Partnership—Environmental and Occupational Health and Safety Matters” for additional information.

The availability and cost of renewable identification numbers and results of litigation related to our SRE petitions could have a material adverse effect on our results of operations and financial condition and our ability to make payments on our debt obligations.

Under the Renewable Fuel Standard (“RFS”) provisions of the Clean Air Act, as amended (“CAA”), the EPA sets or adjusts volume mandates for the percentages of four compliance categories—cellulosic biofuel, biomass-based diesel, advanced biofuel, and total renewable fuel—to be blended into gasoline and diesel produced or imported during each calendar year. Most recently, the EPA has established these volume mandates for RFS program years 2023, 2024 and 2025 under final rules published in June 2023. We, and other refiners subject to RFS requirements, may meet those requirements by blending the necessary volumes of renewable transportation fuels into our production. To the extent that refiners cannot blend renewable fuels in the quantities required, those refiners may purchase renewable credits, referred to as RINs, which are created by blending done by others.

Our Shreveport and Great Falls refineries are normally subject to compliance with the RFS volume mandates. Our annual RINs volume obligation (“RVO” or “RINs Obligation”), which includes RINs that are required to be secured through either our own blending or through the purchase of RINs in the open market, is approximately 65 million RINs across the four compliance categories. However, the EPA granted certain of our refineries the small refinery exemption (“SRE”) provided by the RFS in past years including, most recently, for the 2018 program year. Refineries that receive a SRE are not subject to the RFS renewable blending requirements for the corresponding calendar year. We have submitted SRE petitions for our Shreveport and Great Falls refineries for program years 2018, 2019, 2020, 2021, 2022 and 2023. All of these SRE petitions are in various stages of litigation. For 2018, EPA granted our SREs then later reversed (along with other SRE petitions from other small refineries) under a “blanket denial” issued in April 2022. The blanket denial included an alternate compliance approach under which the refineries, in essence, were deemed to have met their 2018 compliance obligations without tendering additional RINs. EPA’s 2018 alternate compliance approach is being challenged by Growth Energy, which in turn caused us to appeal the 2018 blanket denial. For 2019 and 2020 our SRE petitions were subject to a separate “blanket denial” in June 2022 (along with all other SRE petitions from all small refineries for those years) which we have appealed. For 2021 and 2022 our petitions were denied in July 2023 on the same grounds that EPA applied to our 2019 and 2020 petitions which we have appealed. For 2023 the EPA has not yet acted on our SRE petitions.

The U.S. Court of Appeals for the Fifth Circuit in November 2023 found venue to properly reside in the regional circuit and vacated EPA’s denial of Shreveport refinery’s 2018, 2019 and 2020 SRE petitions on the basis that EPA’s actions were impermissibly retroactive and arbitrary and capricious and remanded the decision to EPA. Shreveport refinery’s 2021 and 2022 compliance obligations were stayed on September 14, 2023 while

 

39


Table of Contents

that appeal is pending. The D.C. Circuit granted a stay relating to the Montana refinery’s 2018, 2019 and 2020 compliance obligations in March 2023, and a stay of the 2021 and 2022 obligations on October 23, 2023, indicating that the Montana refinery is likely to be successful on the merits of its appeals which are pending.

We cannot predict the final outcome of these matters or whether they may result in increased RFS program compliance costs. Moreover, the price of RINs remains subject to extreme volatility, with the potential for significant increases in price driven by political decisions rather than fundamentals. There also continues to be a shortage of advanced biofuel production resulting in increased difficulties meeting the original RFS program mandates. Our refineries produce a higher ratio of diesel than national averages, and since ethanol cannot be blended into diesel we therefore have a more difficult “compliance pathway” than average. The inability to receive an exemption under the RFS program for one or more of our refineries; any increase in the final minimum volumes of renewable fuels that must be blended with refined petroleum fuels; and/or any increase in the cost to acquire RINs may, individually or in the aggregate, have the potential to result in significant costs in connection with RIN compliance, which costs could be material.

Our involvement in such litigation may strain our resources, increase our costs and distract management, even if we are successful at certain stages. As long as the final outcome of our SRE petitions remains uncertain, we expect to carry a RINs liability on our consolidated balance sheets and any changes to such liability will be recognized as a charge or credit to net income (loss). As a result of such charges, investors may have a negative outlook on our financial position regardless of the actual impact these charges have on our business. In addition, on January 27, 2022, EPA extended the compliance reporting deadlines and attestation engagement reporting deadlines for program years 2019, 2020 and 2021, calculated based on the future effective dates of other EPA RFS rulemakings. Nonetheless, we may in the future become subject to civil penalties if we are not in compliance with the RFS by such extended compliance deadlines.

Our and our customers’ operations are subject to risks arising out of the threat of climate change, including regulatory, political, litigation and financial risks, which could result in increased operating and capital costs for our customers and reduced demand for the products and services we provide.

The threat of climate change continues to attract considerable attention in the United States and foreign countries. As a result, numerous proposals have been made and are likely to continue to be made at the international, national, regional and state levels of government to monitor and limit emissions of greenhouse gases (“GHGs”) as well as to eliminate such future emissions. As a result, our operations and potentially the operations of our customers are subject to a series of regulatory, political, physical, litigation and financial risks associated with the production and processing of fossil fuels and emissions of GHGs. Please see “Business of the Partnership—Environmental and Occupational Health and Safety Matters” for more discussion on the threat of climate change and restriction of GHG emissions.

The adoption and implementation of any international, federal, regional or state executive actions, legislation, regulations or other regulatory initiatives that impose more stringent standards for GHG emissions or put a price on GHG emissions could result in increased compliance costs, additional operating restrictions or reduced demand for some of our services and products. Additionally, regulators in Europe and the U.S. have also focused efforts on increased disclosure related to climate change and mitigation efforts, which may significantly increase compliance burdens and associated regulatory costs and complexity. Further, increasing concentrations of GHGs in the Earth’s atmosphere may produce climatic changes that have significant physical effects, such as increased frequency and severity of storms, floods, wildfires and other climatic events. If any such effects were to occur, they could have an adverse effect on our operations or the operations of our suppliers and customers and result in more frequent and severe disruptions to our business and those of our suppliers and customers, increased costs to repair damaged facilities or maintain or resume operations, and increased insurance costs. Increasing attention to the risks of climate change has also resulted in an increased possibility of lawsuits or investigations brought by public and private entities against companies in the oil and natural gas sector in connection with their greenhouse gas emissions. While we do not produce oil or natural gas, if we were to be

 

40


Table of Contents

targeted by any such litigation or investigations, we may incur liability, which, to the extent that societal pressures or political or other factors are involved, could be imposed without regard to the causation of or contributions to the asserted damage, or to mitigating factors.

There are also increasing financial risks if stockholders and bondholders concerned about the potential effects of climate change may elect in the future to shift some or all of their investments into non-fossil fuel energy related sectors. Additionally, the lending and investment practices of institutional lenders have been the subject of intensive lobbying efforts in recent years pressuring such lenders to not to provide funding for oil and natural gas producers. While we do not produce oil or natural gas, such developments could affect our cost and access to capital. Similarly, political, physical, financial and litigation risks may result in certain companies engaged in the oil and natural gas production business restricting, delaying or canceling production activities, incurring liability for infrastructure damages as a result of climatic changes, or impairing the ability to continue to operate in an economic manner, which also could reduce demand for our products and services.

The occurrence of one or more of these developments could have a material adverse effect on our business, financial condition, results of operations and cash flows. Moreover, the increased competitiveness of alternative energy sources (such as wind, solar, geothermal and tidal), as well as any regulatory or other incentives to conserve energy, could reduce demand for hydrocarbons and therefore for our products, which could lead to a reduction in our revenues and cash flow available for payments on our debt obligations. For example, the Inflation Reduction Act of 2022 contains tax inducements and other provisions that incentivize investment, development, and deployment of alternative energy sources and technologies.

We could incur substantial costs or disruptions in our business if we cannot obtain or maintain necessary permits and authorizations or otherwise comply with occupational, environmental and other laws and regulations.

Our operations require numerous permits and authorizations under various occupational, environmental and other laws and regulations. These authorizations and permits are subject to revocation, renewal or modification and can require operational changes to limit impacts or potential impacts on the environment and/or the health or safety of workers. New policy objectives and regulatory initiatives pursued under the Biden Administration as well as changes in leadership or priorities at the state level may result in more stringent conditions with respect to the acquisition of these authorizations and permits. Additionally, a violation of an authorization or permit conditions or other legal or regulatory requirements could result in substantial fines, criminal sanctions, permit revocations, injunctions and/or facility shutdowns. Any or all of these matters could have a negative effect on our business, results of operations and cash flow available for payments on our debt obligations.

Subsidiaries

We have a holding company structure in which our subsidiaries conduct our operations and own our operating assets and our ability to make payments of our debt obligations depends on the performance of our subsidiaries and their ability to distribute funds to us.

We are a holding company, and our subsidiaries conduct all of our operations and own all of our operating assets. We have no significant assets other than the equity interests in our subsidiaries. As a result, our ability to make payments of debt obligations depends on the performance of our subsidiaries and their ability to distribute funds to us. The ability of our subsidiaries to make distributions to us is restricted by our revolving credit facility and the indentures governing our senior notes and may be restricted by, among other things, applicable state laws and other laws and regulations. If we are unable to obtain the funds necessary to make payments of debt obligations, we may be required to adopt one or more alternatives, such as a refinancing our indebtedness or incurring borrowings under our revolving credit facility. We can provide no assurances that we would be able to refinance our indebtedness or that the terms on which we could refinance our indebtedness would be favorable.

 

41


Table of Contents

Risks Related to Montana Renewables

If there is not sufficient demand for renewable energy, if renewable energy projects do not develop or take longer to develop than we anticipate, or if we do not realize the expected sustainable aviation fuel (“SAF”) premium, we may be unable to achieve our investment objectives for MRL, which could have a material adverse impact on our results of operations and financial condition.

If demand for renewable energy fails to grow sufficiently, we may be unable to achieve our business objectives for MRL. Many factors will influence the widespread adoption of renewable energy and demand for renewable energy projects, including:

 

   

cost-effectiveness of renewable energy technologies as compared with conventional and competitive technologies;

 

   

performance and reliability of renewable energy products as compared with conventional and non-renewable products;

 

   

fluctuations in economic and market conditions that impact the viability of conventional and competitive alternative energy sources;

 

   

increases or decreases in the prices of oil, coal and natural gas; and

 

   

availability or effectiveness of government subsidies and incentives.

We also face the risks that SAF cannot generate the premium we currently expect, that a market for SAF does not evolve as expected and that alternate technologies supersede the expected demand for SAF. Any of these factors may preclude us from achieving our investment objectives for MRL and, by extension, could have a material adverse impact on our results of operations and financial condition.

Montana Renewables is subject to numerous operating risks, which could materially adversely impact our results of operations and financial conditions.

Montana Renewables was formed in 2021 and, has a limited operating history, as Montana Renewables has only been producing renewable fuels since December 2022. We are experienced in operating facilities, such as the Montana Renewables Facility (as defined below), and expects to continue to leverage our operating experience, as well as our experience in selling and distributing renewable fuels.

As with any facilities of similar size and nature, the operations of Montana Renewables could be affected by many factors, including start-up problems, the breakdown or failure of equipment or processes, the performance of Montana Renewables below expected levels of output or efficiency, renewable feedstock or utility supply disruptions, environmental proceedings or other litigation that compel cessation of all or a portion of the operations, cyber-security considerations, increased stringent environmental operating, storage and transportation regulations, and/or, labor disputes. Additionally, the operations of Montana Renewables could be affected by both natural or man-made catastrophic events beyond our control, such as fires, earthquakes, floods, severe storms, extreme temperatures, explosions, major accidents, armed conflict, hostilities, acts of terrorism, health emergencies, cyber and physical attacks and/or similar events.

The occurrence of such events could significantly reduce or eliminate revenues generated by Montana Renewables and significantly increase the expenses of Montana Renewables, thereby jeopardizing the ability of Montana Renewables to generate revenues sufficient to pay its outstanding debt obligations. While MRHL will maintain insurance to protect against certain of these operating risks, the proceeds of such insurance may not be adequate to cover Montana Renewable’s lost revenues or increased costs. Under such circumstances, no assurance can be given concerning the ability of Montana Renewables to generate sufficient revenues to make timely payments of its debt obligations.

MRHL may also face civil liabilities or fines in the ordinary course of its business as a result of damages to third parties. These liabilities may result in MRHL making indemnification payments in accordance with

 

42


Table of Contents

applicable laws to the extent and in the amount that such indemnification payments are not covered by MRHL’s insurance policies.

MRHL may be unable to attract and retain qualified managers and skilled employees to operate Montana Renewable facilities efficiently which could adversely affect the operations, cash flows and liquidity of Montana Renewables. The renewable fuels business requires a highly specialized workforce, and accordingly, it can be difficult to find qualified and affordable personnel. Additionally, labor expenses may increase as a result of a shortage in the supply of skilled personnel and MRHL may be forced to incur significant training expenses if unable to hire employees with the requisite skills.

Substantially all operating personnel at Montana Renewables are employed under a collective bargaining agreement. If MRHL is unable to renegotiate this agreement as it expires, any work stoppages or other labor disturbances could have an adverse effect on the operations of Montana Renewables and MRHL’s ability to pay outstanding debt obligations.

During the start-up of operation, new facilities like Montana Renewables could be susceptible to operational failures which may result in temporary maintenance shutdowns. Although the initial commissioning of the facility was successful, any significant curtailing of production at Montana Renewables may result in materially lower levels of revenues or cash flows and materially increased expenses for the duration of any downtime and may materially adversely impact our results of operations, financial conditions and ability to pay the principal of, redemption premium, if any, and/or interest on outstanding debt obligations.

Montana Renewables is subject to a number of statutes and regulations that could have an adverse effect on Montana Renewables’ operations.

We are required to comply with a number of statutes and regulations relating to the environment and the safety and health of our employees and the public during the operation of our Montana Renewables Facility, such as: limits on noise emissions from the Montana Renewables Facility; safety and health standards, practices and procedures applicable to the operation of the Montana Renewables Facility; environmental protection requirements, including standards and limits relating to the discharge of pollutants and waste to the air, water and land; and employment, hiring and anti-discrimination requirements relating to the operation of the Montana Renewables Facility.

Federal, state, and local laws and regulations protecting the environment require us to obtain permits and other authorizations to operate the Montana Renewables Facility. Changes in such laws could materially and adversely affect our costs. Permits that have been obtained or will be obtained may be subject to challenge in public proceedings, including the filing of administrative or judicial appeals contesting the validity or the terms of the permits. If such permits are challenged, the operation of the Montana Renewables Facility may be delayed or prohibited, and elements of our Montana Renewables Facility may need to be removed, redesigned or replaced.

All permits and approvals issued by governmental agencies expire and must be renewed if the permitted activity is not complete. Renewals of operating permits require ongoing compliance and may result in new requirements being imposed by governmental agencies. There is no assurance that required renewals will be obtained when required to continue operation or that the Montana Renewables Facility will be able to satisfy the requirements for renewal or continued operation. The inability to maintain required permits in force and effect, and their amendment, suspension or revocation would have adverse effects on the Montana Renewables Facility’s operations and our financial performance.

 

43


Table of Contents

A significant component of our product margin consists of a variety of government subsidies and incentives, and any changes in law that eliminate or reduce these subsidies and incentives would have a material adverse impact on our results of operations and financial condition.

As with many producers, our margins are supported by federal, state and provincial government programs that incentivize the production, blending and use of renewable and low-carbon fuels. While the general trend over time has been for these programs to expand both in number and scope, such continued growth is not guaranteed and is subject to potential changes in political and public support. For example, since the enactment of the U.S. blender’s tax credit (Section 40A of the IRC) in 2004 with specified sunset dates, there have been several occasions where the renewal and extension of the credit has been in doubt, only for it to be renewed and extended close to (and in some cases, after) expiration. Many factors affect political and public support, which cannot be fully evaluated or predicted at this time.

In addition, programs that enjoy political and public support may nonetheless evolve over time in ways that may limit opportunities for our renewable transportation fuel. For example, in September 2020, California Governor Gavin Newsom issued Executive Order N-79-20, establishing goals of 100% of new passenger vehicle sales in-state to be zero-emission by 2035, and all heavy-duty truck sales to be zero-emission by 2045. The order further directs the California Air Resources Board to develop regulations to achieve these goals. While the precise nature of future regulations cannot be predicted, it is possible that incentives for renewable fuel products may be scaled back or more stringent emission reduction standards may be adopted to facilitate the transition to zero-emission vehicles. These and similar initiatives reflect an ever evolving legal and regulatory landscape, which introduces uncertainty in evaluating future governmental support for our products.

Certain regulatory programs feature a periodic update process. The U.S. Renewable Fuel Standard program, for example, has historically required EPA to set RVOs each year, in light of volumes of four categories of renewable fuels established by Congress in the CAA. More recently, EPA promulgated regulations setting RVOs for a three-year period (2023, 2024 and 2025). The periodic update process featured in the RFS and similar programs nonetheless introduces a degree of uncertainty in demand for our products on a yearly basis.

Transactions between the Partnership and MRL present possible conflicts of interest that could have an adverse effect on the Partnership if they are not managed appropriately.

MRHL has no assets other than its equity interests in MRL. Several of our affiliates have been or are expected to be involved with the construction, start-up and operation of Montana Renewables, including the sales and marketing of the renewable fuels produced by Montana Renewables. The support and experience of our affiliates are expected to be important to the success of Montana Renewables. However, none of our affiliates are obligated to make any payments with respect to outstanding debt obligations of MRHL or MRL and any such transactions between us and MRHL or MRL present possible conflicts of interest that could have an adverse effect on us if they are not managed appropriately.

Montana Renewables depends on us to provide MRL with services necessary to operate its business. If we were unable or unwilling to provide these services, it would result in a disruption in MRL’s business that could have an adverse effect on its financial position, financial results and cash flow.

MRL does not directly employ directors, officers or employees. Pursuant to the master services agreement (the “MSA”) with one of our wholly-owned subsidiaries, all of MRL’s executive management personnel are employees of the General Partner, and MRL uses a significant number of our employees to operate the Montana Renewables Facility and provide MRL with general and administrative services as well as services related to information technology, cybersecurity and data privacy. Our failure to provide accurate and timely service may adversely impact MRL’s business operations. In addition, if we were to become unable or unwilling to provide such services, MRL would need to develop these services internally or arrange for the services from another service provider, which may not be possible and which could take time and cause MRL to experience significant

 

44


Table of Contents

interruptions or incur additional costs. Developing the capabilities internally or by retaining another service provider could have an adverse effect on MRL’s business, and the services, when developed or retained, may not be of the same quality as provided to MRL by us. For example, if MRL is not able to obtain adequate information technology and cybersecurity services, MRL may be at a higher risk for cyberattacks and other interruptions or failures. Additionally, if the MSA were to terminate, MRL would lose its key personnel.

Increases to the cost of transportation services or equipment related to our feedstock materials and renewable transportation fuels could materially and adversely affect our sales revenues and cost of operations. We rely on railroad and trucking companies to transport renewable feedstock materials to the Montana Renewables Facility, and to deliver renewable transportation fuels to our customers. These transportation services are subject to various hazards, including extreme weather conditions, floods, droughts, work stoppages, delays, accidents such as spills and derailments and other accidents and other operating hazards. Increasing climate risk may exacerbate weather conditions so as to materially affect the economics of traditional transportation methods. These transportation operations, equipment and services are also subject to environmental, safety, and regulatory oversight. Due to concerns related to accidents, local and national governments could implement new regulations affecting the transportation of our renewable feedstock materials or renewable transportation fuels. We may be unable to ship the renewable transportation fuels or obtain renewable feedstock materials as a result of these transportation companies’ failure to operate properly, or if new and more stringent regulatory requirements are implemented affecting transportation operations or equipment. If there are significant increases in the cost of such transportation services or equipment, or changes in such costs relative to transportation costs incurred by competitors, our sales revenues and/or cost of operations could be materially and adversely affected.

Montana Renewable’s operations are dependent on the use of intellectual property licensed to MRL by third parties, and if MRL fails to comply with our obligations under such license agreements, we may be required to pay damages, and we could lose license rights that are critical to our business.

Montana Renewable’s operations are dependent upon the use of intellectual property licensed to us by third parties, and in the future, MRL may enter into additional agreements for certain other intellectual property or technologies. If MRL fails to comply with terms of its license agreements related to such intellectual property or other technologies, the applicable licensor may have the right to terminate its license or MRL may be required to pay damages. Termination by the licensor may cause MRL to lose valuable rights and could prevent MRL from operating the Montana Renewables Facility or otherwise operating its business. Our business may suffer if any current or future licenses terminate, if the licensors fail to abide by the terms of the license, if the licensors fail to enforce licensed patents against infringing third parties, if the licensed intellectual property rights are found to be invalid or unenforceable, or if we are unable to enter into necessary licenses on acceptable terms. In addition, our rights to the licensed intellectual property are licensed to us on a non-exclusive basis. The owners of these non-exclusively licensed technologies are therefore free to license them to third parties, including our competitors, on terms that may be superior to those offered to us, which could place us at a competitive disadvantage. Moreover, our licensors may own or control intellectual property that has not been licensed to us and, as a result, we may be subject to claims, regardless of their merit, that we are infringing, misappropriating or otherwise violating the licensor’s rights. In addition, the agreements under which we license intellectual property or technology from third parties are generally complex, and certain provisions in such agreements may be susceptible to multiple interpretations. The resolution of any contract interpretation disagreement that may arise could narrow what we believe to be the scope of our rights to the relevant licensed intellectual property or technology or increase what we believe to be our financial or other obligations under the relevant agreement. Failure to obtain, maintain or renew these licenses, along with any of the foregoing, could have a material adverse effect on our ability to operate the Montana Renewables Facility.

 

45


Table of Contents

The production of renewable fuels is a growing industry and we are expected to encounter significant competition in the marketplace.

The production of renewable fuels is a growing industry and we are expected to encounter significant competition in the marketplace. Emerging trends that develop as industry production of renewable fuels increases may adversely affect our business, financial condition, results of operations and prospects. We have encountered and will continue to encounter risks and difficulties frequently experienced by growing companies in rapidly changing industries, including unpredictable and volatile revenues and increased expenses as our business continues to grow. In addition, new technologies or methods of operation may be developed that improve the quality of the fuel, increase production, or decrease the costs of production.

Risks Related to the Common Stock

The price of the common stock may experience volatility.

Following the consummation of the Conversion, the price of the common stock may be volatile. In addition to the risk factors described above, some of the factors that could affect the price of the common stock are quarterly increases or decreases in revenue or earnings, changes in revenue or earnings estimates by the investment community, sales of the common stock by significant stockholders, a turnover of the investor base as a result of the Conversion, short-selling of the common stock by investors, issuance of a significant number of shares to raise additional capital to fund New Calumet’s operations, changes in market valuations of similar companies and speculation in the press or investment community about New Calumet’s financial condition or results of operations. General market conditions and U.S. or international economic factors and political events unrelated to the performance of New Calumet may also affect its stock price. For these reasons, investors should not rely on recent trends in the price of the common units to predict the future price of the common stock or New Calumet’s future financial results.

New Calumet’s amended and restated certificate of incorporation and amended and restated bylaws that will be in effect upon consummation of the Conversion contain provisions that may make it more difficult for a third party to acquire control of it, even if a change in control would result in the purchase of your shares of common stock at a premium to the market price or would otherwise be beneficial to you.

There are provisions in New Calumet’s amended and restated certificate of incorporation and amended and restated bylaws that will be in effect upon consummation of the Conversion that may make it more difficult for a third party to acquire control of New Calumet, even if a change in control would result in the purchase of your shares of common stock at a premium to the market price or would otherwise be beneficial to you. For example, New Calumet’s amended and restated certificate of incorporation authorizes the New Calumet Board to issue preferred stock without stockholder approval. If the New Calumet Board elects to issue preferred stock, it could be more difficult for a third party to acquire New Calumet.

In addition, provisions of New Calumet’s amended and restated certificate of incorporation and amended and restated bylaws that will be in effect upon consummation of the Conversion, including a classified board of directors, so that only approximately one-third of New Calumet’s directors are elected each year, and limitations on stockholder actions by written consent and on stockholder proposals and director nominations at meetings of stockholders, could make it more difficult for a third party to acquire control of New Calumet. Certain provisions of the DGCL may also discourage takeover attempts that have not been approved by the New Calumet Board.

 

46


Table of Contents

New Calumet’s amended and restated certificate of incorporation will designate the Court of Chancery of the State of Delaware as the sole and exclusive forum for certain types of actions and proceedings that may be initiated by New Calumet’s stockholders, and the federal district courts as the exclusive forum for Securities Act claims if the Forum Selection Proposal is approved by the unitholders, which could limit stockholders’ ability to obtain what such stockholders believe to be a favorable judicial forum for disputes with New Calumet or its directors, officers, employees or agents.

If the Forum Selection Proposal is approved by the unitholders, New Calumet’s amended and restated certificate of incorporation will provide that, unless New Calumet selects or consent in writing to the selection of an alternative forum, all complaints asserting any internal corporate claims (defined as claims, including claims in the right of New Calumet: (i) that are based upon a violation of a duty by a current or former director, officer, employee or stockholder in such capacity; or (ii) as to which the DGCL confers jurisdiction upon the Court of Chancery), to the fullest extent permitted by applicable law, and subject to applicable jurisdictional requirements, shall be the Court of Chancery of the State of Delaware (or, if the Court of Chancery does not have, or declines to accept, jurisdiction, another state court or a federal court located within the State of Delaware). Further, unless New Calumet selects or consents to the selection of an alternative forum, the federal district courts of the United States will be the exclusive forum for the resolution of any complaint asserting a cause of action arising under the Securities Act. New Calumet’s choice of forum provision does not apply to suits brought to enforce any liability or duty created by the Exchange Act and investors cannot waive compliance with the federal securities laws and the rules and regulations thereunder. Any person or entity purchasing or otherwise acquiring any interest in shares of common stock will be deemed to have notice of, and consented to, the provisions of New Calumet’s amended and restated certificate of incorporation described in the preceding sentence if the Forum Selection Proposal is approved by the unitholders. This choice of forum provision may limit a stockholder’s ability to bring a claim in a judicial forum that it finds favorable for disputes with New Calumet or its directors, officers, employees or agents, which may discourage such lawsuits against New Calumet and such persons. Alternatively, if a court were to find these provisions of New Calumet’s amended and restated certificate of incorporation inapplicable to, or unenforceable in respect of, one or more of the specified types of actions or proceedings, New Calumet may incur additional costs associated with resolving such matters in other jurisdictions, which could adversely affect our business, financial condition or results of operations.

New Calumet does not expect to pay dividends on its common stock for the foreseeable future.

New Calumet does not expect to pay dividends for the foreseeable future. In addition, the Partnership’s revolving credit facility may prohibit it from paying any distributions to New Calumet without the consent of the lenders under the revolving credit facility.

The value of the shares you receive in connection with the Conversion may be diluted by future equity issuances (including upon the exercise of warrants), and shares eligible for future sale may have adverse effects on New Calumet’s share price.

We cannot predict the effect of future sales of shares or the availability of shares for future sales, on the market price of or the liquidity of the market for the shares of common stock. Sales of substantial amounts of shares of common stock, or the perception that such sales could occur, could adversely affect the prevailing market price of the shares of common stock. Such sales, or the possibility of such sales, could also make it difficult for us to sell equity securities in the future at a time and at a price that New Calumet deems appropriate.

New Calumet’s authorized capital stock will consist of 700,000,000 shares of common stock and 100,000,000 shares of preferred stock, a significant portion of which will be unissued immediately following the Conversion. New Calumet may need to raise a significant amount of capital to pay down outstanding indebtedness, including principal, interest and fees due under the Partnership’s revolving credit facility and senior notes, and may raise such capital through the issuance of newly issued common stock or preferred stock. Additionally, outstanding warrants to purchase an aggregate of 2,000,000 shares of common stock will be

 

47


Table of Contents

exercisable for a period of three years from the date of issuance. Such issuance and sale of equity could be dilutive to the interests of existing stockholders and increase the number of shares eligible for resale in the public market.

Additionally, as of the record date, the Sponsor Parties beneficially owned approximately 20.4% of the outstanding common units and, following the Conversion, will own approximately 25.5% of the outstanding shares of common stock (prior to any potential dilution resulting from exercise of the warrants). Following the consummation of the Conversion, the Sponsor Parties will have registration rights with respect to the shares of common stock they receive pursuant to the Conversion. Pursuant to the Registration Rights Agreement, New Calumet will file a shelf registration statement with respect to the registrable securities under the Registration Rights Agreement within 30 days of the closing of the Conversion. No more than two times in any 12-month period, the Sponsor Parties may request to sell all or any portion of their registrable securities in an underwritten offering so long as the total offering price is reasonably expected to exceed $25 million. New Calumet also will provide customary “piggyback” registration rights. The Registration Rights Agreement also provides that New Calumet will pay certain expenses relating to such registrations and indemnify the stockholders against certain liabilities. Upon registration, the Sponsor Parties’ shares of common stock will be eligible for sale into the market without volume limitations. Because of the substantial size of the Sponsor Parties’ holdings, the sale of a significant portion of these shares, or a perception in the market that such a sale is likely, could have a significant impact on the market price of such shares.

 

48


Table of Contents

CAUTIONARY STATEMENT REGARDING FORWARD-LOOKING STATEMENTS

This proxy statement/prospectus contains certain forward-looking statements. These statements can be identified by the use of forward-looking terminology including “will,” “may,” “intend,” “believe,” “expect,” “outlook,” “anticipate,” “estimate,” “continue,” “plan,” “should,” “could,” “would,” or other similar words. The outcome of the events described in these forward-looking statements is subject to risks, uncertainties and other factors described in the section titled “Risk Factors” and elsewhere in this proxy statement/prospectus, including, but not limited to, the following:

 

   

the expected benefits of the Conversion to New Calumet, the Partnership and unitholders;

 

   

the effect of the announcement of the Conversion on the Partnership’s customer relationships, operating results and business generally;

 

   

the risks that the Conversion disrupts current plans and operations;

 

   

the failure to obtain the unitholder approval and to satisfy the other conditions to the consummation of the Conversion;

 

   

the amount of the costs, fees, expenses and charges related to the Conversion;

 

   

demand for finished products in markets the Partnership and New Calumet serve;

 

   

estimated capital expenditures as a result of required audits or required operational changes or other environmental and regulatory liabilities;

 

   

the Partnership and New Calumet’s anticipated levels of, use and effectiveness of derivatives to mitigate their exposure to crude oil price changes, natural gas price changes and fuel products price changes;

 

   

estimated costs of complying with the EPA’s RFS, including the prices paid for RINs and the amount of RINs the Partnership or New Calumet may be required to purchase in any given compliance year, and the outcome of any litigation concerning the Partnership’s existing SRE petitions;

 

   

the Partnership and New Calumet’s ability to meet their financial commitments, debt service obligations, debt instrument covenants, contingencies and anticipated capital expenditures;

 

   

the Partnership and New Calumet’s access to capital to fund capital expenditures and their working capital needs and their ability to obtain debt or equity financing on satisfactory terms;

 

   

the Partnership and New Calumet’s access to inventory financing;

 

   

general economic and political conditions, including inflationary pressures, instability in financial institutions, the prospect of a shutdown of the U.S. federal government, general economic slowdown or a recession, political tensions, conflicts and war (such as the ongoing conflicts in Ukraine and the Middle East and their regional and global ramifications);

 

   

the future effectiveness of the Partnership’s enterprise resource planning system to further enhance operating efficiencies and provide more effective management of the Partnership and New Calumet’s business operations;

 

   

the Partnership and New Calumet’s expectation regarding their business outlook with respect to the Montana Renewables business; and

 

   

other factors and uncertainties discussed in this proxy statement/prospectus and the Partnership’s filings with the SEC, including the Partnership’s Annual Report on Form 10-K for the year ended December 31, 2023, that are not purely historical data.

These forward-looking statements are based on our expectations and beliefs as of the date hereof concerning future developments and their potential effect on the Partnership and New Calumet. While management believes

 

49


Table of Contents

that these forward-looking statements are reasonable as and when made, there can be no assurance that future developments affecting the Partnership and New Calumet will be those that management anticipates. All comments concerning the Partnership and New Calumet’s current expectations for future sales and operating results are based on forecasts for the Partnership and New Calumet’s existing operations and do not include the potential impact of any future acquisition or disposition transactions. These forward-looking statements involve significant risks and uncertainties (some of which are beyond the Partnership and New Calumet’s control) and assumptions that could cause actual results to differ materially from the Partnership’s historical experience and the Partnership’s present expectations or projections. Readers are cautioned not to place undue reliance on forward-looking statements, which speak only as of the date hereof. Neither the Partnership nor New Calumet undertake any obligation to publicly update or revise any forward-looking statements after the date they are made, whether as a result of new information, future events or otherwise.

 

50


Table of Contents

INFORMATION ABOUT THE PARTIES

Calumet, Inc.

Calumet, Inc., or New Calumet, is a Delaware corporation incorporated on January 8, 2024, for the purpose of effecting the Conversion. New Calumet has not conducted any business operations since its incorporation other than incidental to its formation and actions taken in connection with the transactions contemplated by the Conversion. Following the Conversion, New Calumet will manufacture, formulate and market a diversified slate of specialty branded products and renewable fuels to customers across a broad range of consumer-facing and industrial markets through its ownership of the Partnership and the General Partner as direct or indirect subsidiaries. Its principal executive offices are located at 2780 Waterfront Parkway East Drive, Suite 200, Indianapolis, Indiana 46214, and its telephone number is (317) 328-5660.

Calumet Specialty Products Partners, L.P.

Calumet Specialty Products Partners, L.P., or the Partnership, is a master limited partnership that manufactures, formulates and markets a diversified slate of specialty branded products and renewable fuels to customers across a broad range of consumer-facing and industrial markets. The Partnership is headquartered in Indianapolis, Indiana and operates twelve facilities throughout North America.

The Partnership’s operations are managed using the following reportable segments: Specialty Products and Solutions; Performance Brands; Montana/Renewables; and Corporate. In the Specialty Products and Solutions segment, the Partnership manufactures and markets a wide variety of solvents, waxes, customized lubricating oils, white oils, petrolatums, gels, esters and other products. The Partnership’s specialty products are sold to domestic and international customers who purchase them primarily as raw material components for consumer-facing and industrial products. In the Performance Brands segment, the Partnership blends, packages and markets high performance products through its Royal Purple, Bel-Ray and TruFuel brands. The Montana/Renewables segment is comprised of two facilities—renewable fuels and specialty asphalt. At the Partnership’s Great Falls renewable fuels facility, the Partnership processes a variety of geographically advantaged renewable feedstocks into renewable diesel, sustainable aviation fuel, renewable hydrogen, renewable natural gas, renewable propane and renewable naphtha that are distributed into renewable markets in the western half of North America. At the Partnership’s Montana specialty asphalt facility, the Partnership processes Canadian crude oil into conventional gasoline, diesel, jet fuel and specialty grades of asphalt, with production sized to serve local markets. The Partnership’s Corporate segment primarily consists of general and administrative expenses not allocated to the Specialty Products and Solutions, Performance Brands or Montana/Renewables segments.

The Partnership’s principal executive offices are located at 2780 Waterfront Parkway East Drive, Suite 200, Indianapolis, Indiana 46214, and its telephone number is (317) 328-5660.

Calumet GP, LLC

Calumet GP, LLC, or the General Partner, is a Delaware limited liability company and the general partner of the Partnership. As of the record date, the General Partner owned a 2.0% general partner interest in the Partnership and all incentive distribution rights and is responsible for conducting the business and managing the operations of the Partnership. The General Partner’s principal executive offices are located at 2780 Waterfront Parkway East Drive, Suite 200, Indianapolis, Indiana 46214, and its telephone number is (317) 328-5660.

Sponsor Parties

The Heritage Group. The Heritage Group is a limited partnership formed under the laws of Indiana that manages a diverse portfolio of companies, specializing in heavy construction and materials, environmental

 

51


Table of Contents

services and specialty chemicals. The Heritage Group’s principal executive offices are located at 5400 W. 86th St., Indianapolis, Indiana 46268, and its telephone number is (317) 228-8314.

Jennifer Straumins. Jennifer Straumins is a director of the GP Board. The Partnership’s principal executive offices are located at 2780 Waterfront Pkwy. E. Dr., Indianapolis, Indiana 46214.

William Grube Jr. William Grube Jr. is Executive Vice President of Monument Chemical, a manufacturer of specialty chemicals. Monument Chemical’s principal executive offices are located at 6510 Telecom Drive, #425, Indianapolis, Indiana 46278.

Fred Mehlert Fehsenfeld Jr. Trusts. The Fred Mehlert Fehsenfeld Jr. Trusts consist of two trusts established for the benefit of Fred Fehsenfeld, Jr. The Fred Mehlert Fehsenfeld Jr. Trusts’ principal executive offices are located at 5400 W. 86th St., Indianapolis, Indiana 46268.

 

52


Table of Contents

THE SPECIAL MEETING

Time, Place and Date

The special meeting will be held on July 9, 2024 at 10:00 a.m., Eastern time, located at Courtyard by Marriott Indianapolis West-Speedway, 6315 Crawfordsville Road, Indianapolis, Indiana 46224.

Proposal 1

Approval of the Conversion Agreement and the Mergers

As discussed elsewhere in this proxy statement/prospectus, the unitholders are being asked at the special meeting to approve the Conversion Agreement (including the Mergers), pursuant to which (i) Merger Sub II will be merged with and into the Partnership, with the Partnership continuing as the surviving entity and a wholly owned subsidiary of New Calumet, and all of the common units representing limited partner interests in the Partnership will be exchanged into the right to receive an equal number of shares of common stock, and (ii) Merger Sub I will be merged with and into the General Partner with the General Partner continuing as the surviving entity and a wholly owned subsidiary of New Calumet, and all outstanding equity interests of the General Partner will be exchanged into the right to receive an aggregate of 5,500,000 shares of common stock and 2,000,000 warrants. Unitholders should carefully read this proxy statement/prospectus, including the annexes, in its entirety for more detailed information concerning the Conversion Agreement and the Conversion. A vote to approve each of the Conversion Agreement and the Board Classification Proposal is effectively a vote in favor of the Conversion which will result in a reorganization of the Partnership from a master limited partnership to a corporation. In particular, unitholders are directed to the Conversion Agreement, as amended by the First Amendment to the Conversion Agreement, copies of which are attached as Annex A and Annex A-1, respectively, to this proxy statement/prospectus. Under the Conversion Agreement, the approval of the Conversion Proposal is a condition to the consummation of the Conversion.

The GP Board unanimously recommends that unitholders vote FOR approval of the Conversion Agreement.

Proposal 2

Approval of the Classification of the New Calumet Board

As discussed elsewhere in this proxy statement/prospectus, the unitholders are being asked at the special meeting to approve the classification of the New Calumet Board in accordance with the Amended and Restated Certificate of Incorporation of New Calumet, a copy of which is attached as Annex 2 to Annex A-1 to this proxy statement/prospectus, to be in effect following the consummation of the Conversion. Under the Conversion Agreement, the approval of the Board Classification Proposal is a condition to the consummation of the Conversion. For a more detailed discussion of the proposed classification of the New Calumet Board, see “Management of New Calumet.”

The GP Board recommends that unitholders vote FOR approval of the classification of the New Calumet Board.

Proposal 3

Approval of the Exclusive Forum Provision

As discussed elsewhere in this proxy statement/prospectus, the unitholders are being asked at the special meeting to approve the inclusion of the exclusive Delaware forum provision in the Amended and Restated

 

53


Table of Contents

Certificate of Incorporation of New Calumet, a copy of which is attached as Annex 2 to Annex A-1 to this proxy statement/prospectus, to be in effect following the consummation of the Conversion (and giving effect to necessary revisions as described in Annex 2 to Annex A-1 based on the outcome of this Proposal 3). Under the Conversion Agreement, the approval of the Forum Selection Proposal is not a condition to the consummation of the Conversion. For a more detailed discussion of the proposed exclusive forum provision, see “Comparison of the Rights of Stockholders and Unitholders—Exclusive Forum.”

The GP Board recommends that unitholders vote FOR approval of the exclusive forum provision.

Proposal 4

Approval of the New Calumet Incentive Plan

At the special meeting, the unitholders are being asked to approve the New Calumet LTIP, a copy of which is attached to this proxy statement/prospectus as Annex C to this proxy statement/prospectus, to be in effect following the consummation of the Conversion. For a more detailed summary of the terms of the New Calumet LTIP, see “Description of the New Calumet Amended and Restated Long-Term Incentive Plan.”

The GP Board recommends that unitholders vote FOR approval of the New Calumet LTIP.

Proposal 5

Adjournment of the Special Meeting

Unitholders may be asked to consider and vote on a proposal to adjourn the special meeting to a later date to solicit additional proxies in the event there are insufficient votes in favor of any of the foregoing proposals. See “—Adjournments.”

The GP Board recommends that the unitholders vote FOR approval of any adjournment proposal.

The unitholders may also be asked to consider other matters as may properly come before the special meeting. At this time, the Partnership, the General Partner and New Calumet know of no other matters that will be presented for the consideration of the unitholders at the special meeting.

Quorum

A majority of the voting power of the outstanding common units entitled to vote at the meeting as of the record date represented in person or by proxy (by submitting a properly executed proxy card or properly submitting a proxy by telephone or Internet) will constitute a quorum and will permit the Partnership to conduct the proposed business at the special meeting. Proxies received but marked as abstentions and broker non-votes (if any) will be counted as common units that are present and entitled to vote for purposes of determining the presence of a quorum.

Record Date

The unitholder record date for the special meeting is the close of business on May 24, 2024. Unitholders may vote at the special meeting if they owned common units at the close of business on the record date. Unitholders may cast one vote for each unit owned on the record date.

 

54


Table of Contents

Votes Required

Approval of each of the Conversion Proposal, the Board Classification Proposal and the Forum Selection Proposal requires the affirmative vote of holders of a majority of the outstanding common units as of the record date. Approval of the LTIP Proposal is being sought to satisfy the stockholder approval policy of Nasdaq. For these purposes, approval of the LTIP Proposal requires the affirmative vote of holders of a majority of the votes cast (not including abstentions and broker non-votes) by unitholders who are present (in person or by proxy) and entitled to vote at the special meeting. Approval of the Adjournment Proposal, if presented, requires the affirmative vote of holders of a majority of the outstanding common units. Abstentions and broker non-votes (if any) will not be taken into account in determining the outcome of the LTIP Proposal and will have the same effect as a vote against the Conversion Proposal, the Board Classification Proposal, the Forum Selection Proposal and the Adjournment Proposal. The votes on each Proposal are separate and apart from the votes on the other Proposals. Accordingly, you may vote to approve certain of the Proposals and vote not to approve other Proposals. However, the Conversion cannot be consummated unless the requisite unitholders approve both the Conversion Proposal and the Board Classification Proposal, which are conditions to consummating the Conversion under the Conversion Agreement.

All of the directors and executive officers of the General Partner beneficially owned, in the aggregate, approximately 3.1% of the outstanding common units as of the record date. The Partnership and New Calumet believe that the directors and executive officers of the General Partner will vote in favor of the Conversion Proposal, in favor of the Board Classification Proposal, in favor of the Forum Selection Proposal, in favor of the LTIP Proposal and in favor of the Adjournment Proposal.

The Restructuring Agreement contains a voting covenant obligating the Sponsor Parties and their respective subsidiaries to vote any common units they own beneficially or of record in favor of the Conversion Proposal. As of the record date, such holders beneficially owned 16,404,747 common units or approximately 20.4% of the outstanding common units. Certain of these holders are directors of the General Partner and are included in the beneficial ownership amounts included in the previous paragraph.

Common Units Outstanding

As of the close of business on the record date, there were 80,388,555 common units outstanding held by 23 holders of record. Each outstanding common unit entitles its holder of record to one vote on each matter considered at the special meeting. The common units are the only class of securities entitled to vote at the special meeting, and unitholders are entitled to vote on the Conversion Proposal, the Board Classification Proposal, the Forum Selection Proposal, the LTIP Proposal and the Adjournment Proposal.

A complete list of registered unitholders entitled to vote at the special meeting will be available for inspection at the place of the special meeting for the duration of the meeting.

Adjournments

If, at the special meeting, the number of common units present or represented and voting in favor of the Conversion Proposal and the Board Classification Proposal is insufficient to approve both the Conversion Proposal and the Board Classification Proposal, the Partnership intends to move to adjourn the special meeting in order to enable the GP Board to solicit additional proxies for approval of the Conversion Proposal and the Board Classification Proposal. In that event, the Partnership will ask its unitholders to vote upon the Adjournment Proposal, but none of the other Proposals. If it is deemed necessary to adjourn the special meeting, no notice of the adjourned meeting is required to be given to unitholders, other than an announcement at the special meeting of the time and place to which the meeting is adjourned, unless a new record date is fixed for the adjourned meeting, in which case notice of the place, date and time of adjourned meeting shall be given to persons who are unitholders as of the new record date.

 

55


Table of Contents

The Partnership is asking its unitholders to authorize the holder of any proxy solicited by the GP Board on a discretionary basis to vote in favor of adjourning the special meeting to another time and place for the purpose of soliciting additional proxies, including the solicitation of proxies from unitholders who have previously voted.

Pursuant to the Partnership Agreement, in the absence of a quorum, the special meeting may be adjourned by the affirmative vote of unitholders of at least a majority of the common units entitled to vote at the special meeting and represented either in person or by proxy.

Upon an adjournment to a date within 45 days of the special meeting, notice need not be given of the adjourned meeting and a new record date need not be fixed, if the time and place thereof are announced at the special meeting. At the adjourned special meeting, the Partnership may transact any business that might have been transacted at the original special meeting. If the adjournment is for more than 45 days or if a new record date is fixed for the adjourned special meeting, a notice of the adjourned special meeting shall be given to all unitholders as of the new record date. References to the special meeting in this proxy statement/prospectus are to such special meeting as adjourned or postponed.

Voting Procedure

Voting by Unitholders. If you are a unitholder who holds common units in your own name, you may submit your proxy using any of the following methods:

 

   

call the toll-free telephone number listed on your proxy card and follow the recorded instructions;

 

   

go to the Internet website listed on your proxy card and follow the instructions provided;

 

   

complete, sign and mail your proxy card in the postage-paid envelope; or

 

   

attend the special meeting and vote in person.

If you have timely and properly submitted your proxy, clearly indicated your vote and have not revoked your proxy, your common units will be voted as indicated. If you have timely and properly submitted your proxy but have not clearly indicated your vote, your common units will be voted FOR the Conversion Proposal, FOR the Board Classification Proposal, FOR the Forum Selection Proposal, FOR the LTIP Proposal and FOR the Adjournment Proposal.

Revocation. If you hold your common units in your own name, you may revoke your proxy at any time prior to its exercise by:

 

   

giving written notice of revocation to the Secretary of the Partnership at or before the special meeting;

 

   

appearing and voting in person at the special meeting; or

 

   

properly completing and executing a later dated proxy and delivering it to the Secretary of the General Partner at or before the special meeting.

Your presence without voting at the special meeting will not automatically revoke your proxy.

Validity. The inspectors of election will determine all questions as to the validity, form, eligibility (including time of receipt) and acceptance of proxies. Their determination will be final and binding. The GP Board has the right to waive any irregularities or conditions as to the manner of voting. The Partnership may accept your proxy by any form of communication permitted by applicable law so long as the Partnership is reasonably assured that the communication is authorized by you.

Solicitation of Proxies. The accompanying proxy is being solicited by the Partnership on behalf of the GP Board. The expenses of preparing, printing and mailing the proxy and materials used in the solicitation will be borne by the Partnership.

 

56


Table of Contents

Innisfree M&A Incorporated has been retained by the Partnership to aid in the solicitation of proxies for an fee of $30,000 and the reimbursement of out-of-pocket expenses. In addition to the mailing of this proxy statement/prospectus, proxies may also be solicited from unitholders by personal interview, telephone, fax or other electronic means by directors and officers of the General Partner and employees of affiliates of the Partnership who provide services to the Partnership, who will not receive additional compensation for performing that service. Arrangements also will be made with brokerage houses and other custodians, nominees and fiduciaries for the forwarding of proxy materials to the beneficial owners of common units held by those persons, and the Partnership will reimburse them for any reasonable expenses that they incur.

Common Units Held in Street Name. If you hold common units in the name of a bank, broker or other nominee, you should follow the instructions provided by your bank, broker or other nominee when voting your common units or when granting or revoking a proxy.

As a general rule, absent specific instructions from you, your bank, broker or other nominee is not allowed to vote your common units on any proposal on which your bank, broker or other nominee does not have discretionary authority. The only proposals for consideration at the special meeting are the Conversion Proposal, the Board Classification Proposal, the Forum Selection Proposal, the LTIP Proposal and the Adjournment Proposal, which are non-discretionary matters for which banks, brokers and other nominees do not have discretionary authority to vote. To instruct your bank, broker or other nominee how to vote, you should follow the directions that your bank, broker or other nominee provides to you.

Please note that you may not vote your common units held in “street name” by returning a proxy card directly to the Partnership or by voting in person at the special meeting unless you provide a “legal proxy,” which you must obtain from your bank, broker or other nominee. If you do not instruct your bank, broker or other nominee on how to vote your common units, your bank, broker or other nominee may not vote your common units, which will have the same effect as a vote against the Conversion Proposal, the Board Classification Proposal, the Forum Selection Proposal and the Adjournment Proposal, but will not affect the outcome of the LTIP Proposal. You should therefore provide your bank, broker or other nominee with instructions as to how to vote your common units.

Householding of Proxy Statement/Prospectus

The SEC has adopted rules that permit companies and intermediaries such as brokers to satisfy delivery requirements for proxy statements and annual reports with respect to two or more unitholders sharing the same address by delivering a single proxy statement or annual report, as applicable, addressed to those unitholders.

As permitted by the Exchange Act, only one copy of this proxy statement/prospectus is being delivered to unitholders residing at the same address, unless the unitholders have notified the company whose common units they hold of their desire to receive multiple copies of this proxy statement/prospectus. This process, which is commonly referred to in this proxy statement/prospectus as “householding,” potentially provides extra convenience for unitholders and cost savings for companies.

If, at any time, you no longer wish to participate in householding and would prefer to receive a separate copy of this proxy statement/prospectus, or if you are receiving multiple copies of this proxy statement/prospectus and wish to receive only one, please contact the Partnership at its address identified below. The Partnership will promptly deliver, upon oral or written request, a separate copy of this proxy statement/prospectus to any unitholder residing at an address to which only one copy was mailed. Requests for additional copies should be directed to:

Calumet Specialty Products Partners, L.P.

2780 Waterfront Parkway East Drive, Suite 200

Indianapolis, Indiana 46214

Attention: Investor Relations

Phone: (317) 328-5660

 

57


Table of Contents

THE CONVERSION

Overview

On November 9, 2023, the Partnership, the General Partner and the Sponsor Parties entered into the Restructuring Agreement, pursuant to which the parties thereto agreed to effectuate a corporate conversion of the Partnership from a master limited partnership to a Delaware corporation. On February 9, 2024, the Partnership, the General Partner and the Sponsor Parties entered into the First Amendment to the Restructuring Agreement to reflect certain amendments to the Restructuring Agreement agreed to by the parties and approved by the Conflicts Committee.

On February 9, 2024, the Partnership, the General Partner, New Calumet, the Merger Subs and the Sponsor Parties entered into the Conversion Agreement, pursuant to which (i) Merger Sub II will be merged with and into the Partnership, with the Partnership continuing as the surviving entity and a wholly owned subsidiary of New Calumet, and all of the common units representing limited partner interests in the Partnership will be exchanged into the right to receive an equal number of shares of common stock, and (ii) Merger Sub I will be merged with and into the General Partner with the General Partner continuing as the surviving entity and a wholly owned subsidiary of New Calumet, and all outstanding equity interests of the General Partner will be exchanged into the right to receive an aggregate of 5,500,000 shares of common stock and 2,000,000 warrants, thereby implementing the Conversion. On April 17, 2024, the Partnership, the General Partner, New Calumet, the Merger Subs and the Sponsor Parties entered into an amendment to the Conversion Agreement (the “First Amendment to the Conversion Agreement”) which amended the forms of the New Calumet Charter, the New Calumet Bylaws and the Stockholders Agreement attached to the Conversion Agreement, in each case to reflect certain changes in response to developments in applicable law.

Background of the Conversion

The GP Board and the management of the Partnership (“Management”) have, from time to time, reviewed and evaluated the challenges raised by the Partnership’s master limited partnership (“MLP”) structure, including its impact on ongoing efforts to enhance value for the Partnership’s unitholders and increasing access to an expanded field of equity investors. These discussions have included the potential simplification of the Partnership’s structure and the conversion of the Partnership into a C-corporation. From time to time, the GP Board and Management also had informal discussions with financial and legal advisors regarding these potential strategic transactions and engaged in exploratory discussions and evaluations of the potential benefits of, and other considerations regarding, these transactions.

The discussions relating to the potential simplification of the Partnership’s structure and the Conversion were driven by the changing landscape for MLPs over the last decade. In particular, there has been a notable decline in the number of publicly listed MLPs, with combined sector market caps declining as MLPs have materially underperformed the broader market and industry benchmarks. As a result of the decline in investors’ interest in investments in MLPs, equity issuances to finance third-party merger and acquisition transactions, dropdowns, and organic growth opportunities have become challenging for many MLPs. Additionally, of the existing publicly listed MLPs, very few continue to have IDRs in their capital structure. The GP Board and Management were also aware that MLPs announcing conversions to C-corporations have generally received a consistent and materially positive response from investors, and the GP Board and Management discussed a range of benefits of a potential C-corporation conversion. These benefits included unlocking the full value of the Partnership and its subsidiaries, including MRL, providing the Partnership access to a broader investor base, the ability for the C-corporation’s stock to be included in certain stock indices, and the perceived governance benefits relative to MLP governance. From time to time, the GP Board and Management have received communications from unitholders expressing concerns over, among other things, the Partnership’s MLP structure and its impact on future growth, the Partnership’s limited equity trading activity, and the IDRs. At various times, the GP Board and Management also considered the available strategic alternatives related to MRL, and the

 

58


Table of Contents

impact that a simplification and/or conversion would have on such strategic alternatives. The GP Board and Management were focused on ensuring that the full value of the Partnership and MRL could be realized in the Partnership’s stock price.

On December 22, 2022, certain members of Management and the Sponsor Parties participated in a call to discuss, among other things, potential options for the Partnership’s structure, including maintaining the MLP structure, purchasing the IDRs with cash, or converting the IDRs to common units, and the potential benefits and considerations, including tax implications, of such options, with particular emphasis on increasing trading volume and value. Management and the Sponsor Parties discussed that a conversion to a C-corporation may be preferable long term versus converting the IDRs to common units.

On June 10, 2023, Management and certain of the Sponsor Parties visited MRL’s operations. Following the site visit, Management and The Heritage Group discussed the alternatives of retaining the MLP structure and eliminating the IDRs in exchange for the issuance of common units to the General Partner, and the expected value to the General Partner derived from IDR distributions in each such transaction based on different assumptions relating to a range of strategic alternatives and financial assumptions related to MRL.

Throughout June and July 2023, Management participated in multiple diligence calls with the Sponsor Parties, Moelis & Company (“Moelis”), financial advisor to the Sponsor Parties, and the Sponsor Parties’ and the Partnership’s respective tax advisors regarding the Partnership’s business, the Partnership’s financial models prepared by Management, and tax matters.

During the week of July 11th, a representative of The Heritage Group and Stephen P. Mawer, the Chairman of the GP Board, had a call wherein the representative of The Heritage Group indicated that the Sponsor Parties expected to send a proposal to the Partnership to eliminate the IDRs and the 2% economic general partner interest.

On July 18, 2023, representatives of the standing Conflicts Committee contacted representatives of Hunton Andrews Kurth LLP (“Hunton AK”) to discuss its engagement by the Conflicts Committee regarding the Conflicts Committee’s consideration of an expected proposal to eliminate the IDRs and the 2% economic general partner interest in exchange for equity in the Partnership (the “Proposed Transaction”), given Hunton AK’s knowledge and experience with respect to MLPs and public merger and acquisition transactions and its familiarity with the Partnership and the industry in which it operates.

On July 27, 2023, the Conflicts Committee received a written proposal from the Sponsor Parties to cause the General Partner to eliminate the IDRs and convert the 2% economic general partner interest into a non-economic general partner interest in exchange for 15,000,000 common units. Such proposal did not include the Conversion. As of July 26, 2023, the last trading day prior to the July 27, 2023 proposal, the closing trading price of the common units was $16.44 per unit.

On July 31, 2023, the GP Board took action by written consent to appoint John G. Boss as a member of the Conflicts Committee, which already included Karen A. Twitchell, James S. Carter, and Daniel L. Sheets, and delegate to the Conflicts Committee the power to review and evaluate the Proposed Transaction, negotiate on behalf of the Partnership and the public unitholders with respect to the Proposed Transaction, determine whether the Proposed Transaction is in the best interests of the Partnership, determine whether to approve the Proposed Transaction by Special Approval pursuant to Section 7.9(a) of the Partnership Agreement, and make any recommendations to the GP Board regarding the Proposed Transaction. The GP Board also authorized the Conflicts Committee to retain any advisors, at the expense of the Partnership and the General Partner, as necessary in connection with its review and consideration of the Proposed Transaction.

 

 

59


Table of Contents

On August 1, 2023, at a regularly scheduled meeting of the GP Board, the GP Board and Management discussed potential strategic alternatives, including retaining the MLP structure and converting to a C-corporation, and the challenges related to each such alternative. As part of this discussion, Management noted current investors’ growing concern about the trading liquidity of the common units and unitholder concentration risk (both impacted by certain investors’ inability to invest in MLPs), the governance structure of the Partnership and the belief that MRL’s value was not appropriately reflected in the Partnership’s unit price. Additionally, Management noted current investors’ view that a catalyst (for example, a conversion to a corporation) was needed to increase unit price to fully reflect the underlying value of the Partnership and eliminate any perceived cap on the potential value of MRL.

On August 4, 2023, the Conflicts Committee held a video conference meeting that included representatives of Hunton AK to discuss the Conflicts Committee’s selection of a financial advisor to assist the Conflicts Committee in evaluating the Proposed Transaction. After having discussed several candidates prior to and during the meeting, the Conflicts Committee contacted representatives of Evercore and another firm to discuss the potential engagement as financial advisor to the Conflicts Committee in connection with the Proposed Transaction. The Conflicts Committee asked such firms to disclose any material relationships with the parties to the Proposed Transaction.

On August 7, 2023, the Conflicts Committee held separate video conference meetings with the financial advisor candidates that included representatives of Hunton AK. Evercore was selected by the Conflicts Committee because of its knowledge and familiarity with the Partnership and the industry in which it operates.

On August 10, 2023, the Conflicts Committee and the Partnership executed an engagement letter with Hunton AK.

On August 14, 2023, the Conflicts Committee held a video conference meeting with representatives of Evercore and Hunton AK in attendance. Representatives of Evercore reviewed with the Conflicts Committee the financial projections provided by Management and the anticipated diligence process for the Proposed Transaction. The Conflicts Committee then discussed with Evercore the assumptions underlying Management’s projections. The Conflicts Committee and representatives of Evercore discussed diligence to be requested from Management and the upcoming management presentations that Management had scheduled for the next few days to be presented to the Conflicts Committee and its advisors.

On August 16, 2023, at the request of the Conflicts Committee, Evercore sent Management a list requesting certain financial and other information relating to the Partnership and the Proposed Transaction.

On August 18, 2023, the Conflicts Committee held a video conference meeting with representatives of Management, Evercore, and Hunton AK in attendance. Members of Management presented pro forma financial models representing Management’s current outlook as of August 18, 2023, with respect to the Partnership as an MLP, which included cases identified by Management as a base case, an upside case, and a downside case. Following the discussion and Management’s presentation, the Conflicts Committee and representatives of Evercore asked Management to provide support for certain assumptions underlying Partnership’s financial models and discussed with Management, among other matters, the projections and the underlying assumptions regarding the Partnership’s financial models prepared by Management.

On August 21, 2023, the Conflicts Committee held a video conference meeting with representatives of Hunton AK in attendance. The Conflicts Committee discussed, among other matters, the August 18th meeting with Management and agreed that the Conflicts Committee should ask Evercore to request from Management certain financial models that would isolate the impact on the Partnership of certain underlying assumptions on the proposed number of common units into which the IDRs would be converted.

 

 

60


Table of Contents

On August 28, 2023, the Conflicts Committee held a video conference meeting with representatives of Management, Evercore, and Hunton AK in attendance. Management reviewed with the Conflicts Committee the tax assumptions underlying the Partnership’s financial models and the expected tax implications of the Proposed Transaction. Management and representatives of Hunton AK explained distributions of operating surplus and capital surplus under the Partnership Agreement and explained the resulting impact on the value of the IDRs that treatment of potential distributions as capital surplus would have as opposed to treatment of distributions as operating surplus.

On August 30, 2023, the Conflicts Committee and Evercore executed an engagement letter.

On August 30, 2023, the Conflicts Committee held a video conference meeting with representatives of Evercore in attendance at which the Conflicts Committee and representatives of Evercore discussed the tax assumptions included in the Partnership’s financial model and the potential tax impacts of the Proposed Transaction to the Partnership’s unitholders.

On September 6, 2023, the Conflicts Committee held a video conference meeting with representatives of Evercore and Hunton AK in attendance. At the request of the Conflicts Committee, Evercore reviewed and discussed its preliminary financial analysis with respect to the Partnership and the Proposed Transaction. Evercore offered to communicate certain additional diligence requests to Moelis, and to run additional sensitivity analyses with respect to certain assumptions underlying its financial analysis relating to, among other matters, projected cash flows of MRL’s business.

On September 11, 2023, the Conflicts Committee held a video conference meeting with representatives of Evercore and Hunton AK in attendance at which Evercore presented its sensitivity analyses, including on the potential value of the general partner interest and the IDRs, and related tax considerations. At the request of the Conflicts Committee, Evercore agreed to run an additional sensitivity analysis to account for a distribution coverage ratio.

On September 14, 2023, the Conflicts Committee held a video conference meeting with representatives of Evercore and Hunton AK in attendance at which Evercore presented its updated sensitivity analyses, including on the potential value of the general partner interest and the IDRs, and the Conflicts Committee approved a counterproposal providing for 5,000,000 non-cash paying Class B Units (as such term is defined in the Partnership Agreement) in the Partnership in exchange for the elimination of the IDRs and the conversion of the economic general partner interest into a non-economic general partner interest in the Partnership. This contrasted with the initial proposal from the Sponsor Parties of 15,000,000 common units, and no agreement to consummate the Conversion. The counterproposal contemplated that the Class B Units could convert into common units on a 1:1 basis upon the satisfaction of several conditions prior to December 31, 2027, including the completion of the hydraulic expansion of MRL’s business, achievement of the small refinery exemption result as contemplated in the Partnership’s financial models, successful funding under a loan currently under negotiation with the United States Department of Energy, and the consummation of the Conversion, or 3,000,000 common units effective January 1, 2028, if any of those conditions were not met. The counterproposal also contemplated that certain of the Sponsor Parties would retain certain governance rights in the Partnership. As of September 14, 2023, the last trading day prior to the Conflicts Committee’s counterproposal, the closing trading price of the common units was $19.66 per unit.

On September 15, 2023, representatives of Evercore contacted representatives of Moelis to communicate the Conflicts Committee’s counterproposal.

On September 18, 2023, the Conflicts Committee held a video conference meeting with representatives of Hunton AK in attendance. Representatives of Hunton AK reviewed and discussed with the Conflicts Committee its fiduciary duties and obligations under Delaware law and the Partnership Agreement, and responded to questions from members of the Conflicts Committee regarding the same.

 

61


Table of Contents

On October 23, 2023, the Conflicts Committee held a video conference meeting with representatives of Evercore and Hunton AK in attendance. Evercore began by summarizing its meeting with Moelis and KPMG LLP, tax advisor to the Sponsor Parties (“KPMG”), on October 20, 2023, at which Evercore, Moelis, and KPMG discussed the tax and distribution coverage ratio assumptions included in the Partnership’s financial model. The Conflicts Committee and representatives of Evercore agreed that Evercore would request updated financial projections as well as additional support for various assumptions included in the Partnership’s financial model. Representatives of Hunton AK then advised the Conflicts Committee on the implications of the C-corporation structure. On the same date, Evercore sent diligence requests to Moelis.

On October 30, 2023, Moelis sent Evercore responses to its diligence requests and communicated a revised proposal from the Sponsor Parties, which contemplated 7,500,000 common units, 2,500,000 warrants to purchase common units at an exercise price of $20.00 exercisable for a period of three years and certain governance rights in the Partnership for a to-be-negotiated period in exchange for the elimination of the IDRs and the conversion of the economic general partner interest into a non-economic general partner interest in the Partnership. The October 30th offer also contemplated the Conversion.

On November 3, 2023, the Conflicts Committee held a video conference meeting with representatives of Evercore and Hunton AK in attendance to discuss the Sponsor Parties’ October 30th proposal and Moelis’ responses to Evercore’s diligence requests. Representatives of Evercore explained that Management had provided updated financial projections and support for various assumptions included in the Partnership’s financial model, but Evercore needed to confirm with Moelis that the Conversion was included as an assumption underlying the October 30th offer to inform Evercore’s presentation on the revised offer. On the same day, Moelis confirmed that the Conversion was included as an assumption underlying the Sponsor Parties’ proposal. The Conflicts Committee, Evercore, and Hunton AK agreed to have a meeting on November 5th to receive and discuss Evercore’s presentation on the revised offer.

On November 5, 2023, the Conflicts Committee held a video conference meeting with representatives of Evercore and Hunton AK in attendance to discuss further the Sponsor Parties’ October 30th offer. Evercore explained that the October 30th offer presented by the Sponsor Parties contemplated the Conversion and that, in connection with announcing the Proposed Transaction, the Partnership would announce an agreement to commence the Conversion in the future. Evercore then reviewed and discussed its financial analysis with respect to the value of the common units and warrants to be exchanged for the IDRs and the Partnership’s economic general partner interest. Following Evercore’s presentation, the Conflicts Committee discussed the benefits of the governance rights contemplated in the offer, including adopting a more traditional governance structure relative to MLP governance that could be obtained in connection with a Conversion, and the number and exercise price of the warrants. During the meeting, and based upon additional financial analyses provided by Evercore, the Conflicts Committee determined to counter the Sponsor Parties’ offer with a proposal to offer 4,000,000 common units (with 2,000,000 common units issued immediately following the signing of the applicable definitive documents and the remaining 2,000,000 common units to be issued upon the Conversion), 4,000,000 warrants to purchase common units at an exercise price of $25.00 exercisable for a period of three years to be issued upon the Conversion, and the retention of certain governance rights in the Partnership in exchange for the elimination of the IDRs, the conversion of the Partnership’s economic general partner interest into a non-economic general partner interest in the Partnership, and the Conversion. On the same day, representatives of Evercore contacted representatives of Moelis to communicate the Conflicts Committee’s counterproposal. As of November 3, 2023, the last trading day prior to the Conflicts Committee’s November 5th counterproposal, the closing trading price of the common units was $13.92 per unit.

On November 7, 2023, Moelis communicated to Evercore a revised offer from the Sponsor Parties, which contemplated 5,500,000 common units and 2,500,000 warrants to purchase common units at an exercise price of $20.00 exercisable for a period of three years to be issued to the Sponsor Parties in exchange for the elimination of the IDRs, the conversion of the Partnership’s economic general partner interest into a non-economic general partner interest in the Partnership, and the Conversion. Pursuant to the November 7th counteroffer, none of the

 

62


Table of Contents

common units or warrants would be issued to the Sponsor Parties until the completion of the Conversion, and certain of the Sponsor Parties would retain certain governance rights in the newly formed C-corporation following the Conversion. As of November 6, 2023, the last trading day prior to the Sponsor Parties’ revised proposal, the closing trading price of the common units was $13.56 per unit.

Also on November 7, 2023, Gibson, Dunn & Crutcher LLP (“Gibson Dunn”), legal counsel to the Partnership, at the instruction of Management, sent to Kirkland & Ellis LLP (“Kirkland”), counsel to The Heritage Group, and Hunton AK a draft exchange agreement, which set forth the elimination of the IDRs and the conversion of the Partnership’s economic general partner interest into a non-economic general partner interest in the Partnership, and an initial draft of the restructuring agreement, which set forth the Conversion steps and the terms of the Conversion. Later that day, Gibson Dunn sent to Kirkland and Hunton AK a revised draft restructuring agreement that reflected all the transactions being negotiated between the Sponsor Parties and the Conflicts Committee.

On November 8, 2023, the Conflicts Committee held a video conference meeting with representatives of Evercore and Hunton AK in attendance to discuss the November 7th offer from the Sponsor Parties. Evercore discussed its financial analyses of the Proposed Transaction, including a valuation of the General Partner’s economic interests in the Partnership, including the IDRs, and current governance rights in the Partnership, and dilution to public unitholders of the Partnership resulting from the Proposed Transaction. Based on the additional financial analyses provided by Evercore, the Conflicts Committee determined to counter the Sponsor Parties’ November 7th offer with a proposal to offer 5,500,000 common units and 1,500,000 warrants to purchase common units at an exercise price of $20.00 exercisable within three years to be issued to the Sponsor Parties in exchange for the elimination of the IDRs and the conversion of the Partnership’s economic general partner interest into a non-economic general partner interest in the Partnership and the Conversion, such that each common unit representing a limited partnership interest in the Partnership would be converted upon consummation of the Conversion into the right to receive one share of New Calumet’s common stock. That same day, Evercore communicated the Conflicts Committee’s counterproposal to Moelis. As of November 7, 2023, the last trading day prior to the Conflicts Committee’s counterproposal, the closing trading price of the common units was $13.35 per unit.

Also on November 8, 2023, Moelis responded with a further counterproposal from the Sponsor Parties of 5,500,000 common units and 2,000,000 warrants to purchase common units with a three-year term and an exercise price of $20.00, which would be issued to the Sponsor Parties upon the completion of the Conversion, and the retention by certain of the Sponsor Parties of certain governance rights in the newly formed New Calumet. The counterproposal contemplated that New Calumet would be governed by a board of directors of nine directors, classified into three classes, and The Heritage Group and its affiliates would have the right to nominate three directors so long as they own at least 10% of the outstanding Common Stock. On the same day, Moelis further updated the counterproposal such that The Heritage Group and its affiliates would have the right to nominate three directors so long as they continue to own at least 15% of the outstanding Common Stock, which number would be reduced to two directors so long as they continue to own at least 10% and less than 15% of the outstanding Common Stock.

Between November 7 and 9, 2023, Gibson Dunn, Kirkland, and Hunton AK had multiple calls and email exchanges to negotiate and finalize the terms of the restructuring agreement and the parties’ respective disclosure schedules. The parties also exchanged several markups of the draft restructuring agreement.

On the morning of November 9, 2023, the Conflicts Committee held a video conference meeting, at which representatives of Evercore and Hunton AK were present, to discuss and, if appropriate, approve the transaction documents, including the final version of the restructuring agreement. Representatives of Hunton AK reviewed the efforts made by the Conflicts Committee regarding the Proposed Transaction, including the substantive work and the processes followed. Hunton AK then discussed with the Conflicts Committee the fiduciary duties of the Conflicts Committee with respect to the Proposed Transaction and reviewed the “Special Approval” standard

 

63


Table of Contents

under Partnership Agreement. Hunton AK then reviewed the material terms and provisions of the restructuring agreement and answered the questions of the Conflicts Committee regarding the same. Following an extensive discussion, representatives of Evercore delivered to the Conflicts Committee an oral opinion, confirmed by delivery of a written opinion dated November 9, 2023, to the effect that, as of November 9, 2023, and based upon and subject to the various assumptions, qualifications, and limitations set forth in Evercore’s opinion, the consideration to be issued to the Sponsor Parties in connection with the transactions contemplated by the restructuring agreement was fair, from a financial point of view, to the Partnership and the unitholders (other than the General Partner and the Sponsor Parties). The fairness opinion did not address the fairness of the Conversion to the Partnership or the holders of the common units. The Conflicts Committee then unanimously (i) determined that the Proposed Transaction and the transactions contemplated thereby were in the best interests of the Partnership and the unitholders (other than General Partner and the Sponsor Parties ), (ii) approved the restructuring agreement and the transactions contemplated thereby, including the Proposed Transaction, which constituted “Special Approval” under the Partnership Agreement, and (iii) recommended to the GP Board and the Partnership’s unitholders the approval of the restructuring agreement and the consummation of the transactions contemplated thereby, including the Proposed Transaction. As of November 8, 2023, the last trading day prior to the Conflicts Committee’s approval and recommendation, the closing trading price of the common units was $13.00 per unit.

At a meeting on November 9, 2023, the GP Board (acting based upon the Special Approval of the Conflicts Committee and the Conflicts Committee’s recommendation) unanimously determined that it was advisable and in the best interests of the General Partner and the Partnership for the General Partner and the Partnership to enter into the restructuring agreement and consummate the transactions contemplated thereby, including the Conversion.

Subsequently on November 9, 2023, the parties executed the restructuring agreement. The Partnership issued a press release announcing the restructuring agreement and the Proposed Transaction.

Following the execution of the restructuring agreement, the parties engaged in the preparation of the conversion agreement. On November 20, 2023, Gibson Dunn sent an initial draft of the conversion agreement to Kirkland. Between November 20, 2023 and February 5, 2024, Gibson Dunn, Kirkland and Hunton AK exchanged multiple markups of the draft conversion agreement and the exhibits to the conversion agreement and had multiple calls and email exchanges to negotiate and finalize the terms of the same.

On January 9, 2024, Gibson Dunn sent to Kirkland and Hunton AK a draft amendment to the restructuring agreement to reflect changes made in connection with the negotiation of the conversion agreement and its exhibits, including, among other things, modifications made to the ownership thresholds required for The Heritage Group to nominate directors and a reduction of the number of directors that The Heritage Group and its affiliates would have the right to nominate to the New Calumet Board from three to two. Between January 9, 2024 and February 2, 2024, the Conflicts Committee and the Sponsor Parties engaged in the negotiation of the amendment to the restructuring agreement. During such period, Gibson Dunn, Kirkland and Hunton AK had multiple calls and email exchanges to negotiate and finalize the terms of the amendment to the restructuring agreement and exchanged several markups of the same.

On January 25, 2024, the Conflicts Committee held a video conference meeting, at which representatives of Hunton AK were present, to discuss and, if appropriate, approve the First Amendment to the Restructuring Agreement, including the Proposed Transaction, and the Conversion Agreement, including the Conversion. Representatives of Hunton AK reviewed the material terms and provisions of the First Amendment to the Restructuring Agreement and the Conversion Agreement and answered questions regarding the same.

On February 2, 2024, Gibson Dunn, Kirkland and Hunton AK agreed on the proposed final versions of the amendment to the restructuring agreement, the conversion agreement, and the exhibits to the conversion agreement, subject to the approval by the Conflicts Committee, the GP Board, and the Sponsor Parties.

 

64


Table of Contents

On February 5, 2024, the Conflicts Committee unanimously (i) determined that the First Amendment to the Restructuring Agreement and the Conversion Agreement were fair and reasonable to the Partnership and the holders of common units (other than the General Partner and the Sponsor Parties), (ii) approved the First Amendment to the Restructuring Agreement, including the Proposed Transaction, and the Conversion Agreement (including all exhibits thereto), including the Conversion, and (iii) recommended to the GP Board and the unitholders, if submitted for Partnership unitholder approval, the approval of the First Amendment to the Restructuring Agreement, including the Proposed Transaction, and the Conversion Agreement, including the Conversion.

On February 8, 2024, the GP Board (acting based upon the Special Approval of the Conflicts Committee and the Conflicts Committee’s recommendation) unanimously approved the First Amendment to the Restructuring Agreement, the Conversion Agreement (including all exhibits thereto), and the transactions contemplated thereby, including the Conversion.

Between March 25, 2024 and April 15, 2024, the parties and their respective counsels engaged in the negotiation of the First Amendment to the Conversion Agreement, which amended the forms of the New Calumet Charter, the New Calumet Bylaws and the Stockholders Agreement attached to the Conversion Agreement, in each case to reflect certain changes in response to developments in applicable law. During such period, Kirkland, Gibson Dunn and Hunton AK exchanged several markups of the New Calumet Charter, the New Calumet Bylaws and the Stockholders Agreement and had multiple calls and email exchanges to negotiate and finalize the terms of the same.

On April 15, 2024, Gibson Dunn sent to Kirkland and Hunton AK a proposed final version of the First Amendment to the Conversion Agreement.

On April 16, 2024, the Conflicts Committee unanimously (i) determined that the First Amendment to the Conversion Agreement was fair and reasonable to the Partnership and the holders of common units (other than the General Partner and the Sponsor Parties) and (ii) approved the First Amendment to the Conversion Agreement.

On April 17, 2024, the GP Board (acting based upon the approval of the Conflicts Committee) unanimously approved the First Amendment to the Conversion Agreement.

Later that day on April 17, 2024, the parties executed the First Amendment to the Conversion Agreement.

Opinion of Evercore—Financial Advisor to the Conflicts Committee

The Conflicts Committee retained Evercore to act as financial advisor to the Conflicts Committee in connection with evaluating the Proposed Transaction. On November 9, 2023, at a meeting of the Conflicts Committee and at the request of the Conflicts Committee, Evercore rendered its oral opinion to the Conflicts Committee that, as of November 9, 2023, and based upon and subject to the factors, procedures, assumptions, qualifications and limitations set forth in its opinion, the Sponsor Consideration is fair, from a financial point of view, to the Partnership and the unitholders (other than the General Partner and the Sponsor Parties) (the “Public Unitholders”). Evercore subsequently confirmed its oral opinion in a written opinion dated November 9, 2023.

The full text of the written opinion of Evercore, dated as of November 9, 2023, which sets forth, among other things, the procedures followed, assumptions made, matters considered and qualifications and limitations on the scope of review undertaken in rendering its opinion, is attached hereto as Annex D to this proxy statement/prospectus. You are urged to read Evercore’s opinion carefully and in its entirety. Evercore’s opinion was addressed to, and provided for the information and benefit of, the Conflicts Committee in connection with its evaluation of the fairness of the Sponsor Consideration, from a financial point of view, to the Partnership and Public Unitholders, and did not address any other aspects or

 

65


Table of Contents

implications of the Conversion. Evercore’s opinion should not be construed as creating any fiduciary duty on Evercore’s part to any party and such opinion was not intended to be, and does not constitute, a recommendation to the Conflicts Committee or to any other persons in respect of the Conversion, including as to how any holder of common units should act or vote in respect of the Conversion, including the GP Merger or the Partnership Merger. The summary of the Evercore opinion set forth herein is qualified in its entirety by reference to the full text of the opinion included as Annex D.

In connection with rendering its opinion and performing its related financial analysis, Evercore, among other things:

 

   

reviewed certain publicly available historical operating and financial information relating to the Partnership that Evercore deemed relevant, including as set forth in the Partnership’s Annual Report on Form 10-K for the year ended December 31, 2022, the Partnership’s Quarterly Report on Form 10-Q for the quarter ended June 30, 2023, and certain of the Partnership’s Current Reports on Form 8-K, in each case as filed with or furnished to the Securities and Exchange Commission;

 

   

reviewed certain internal projected financial data relating to the Partnership prepared and furnished to Evercore by management of the Partnership, as approved for Evercore’s use by the Partnership (the “Calumet Financial Projections”);

 

   

discussed with management of the Partnership their assessment of the past and current operations of the Partnership, the current financial condition and prospects of the Partnership, and the Calumet Financial Projections;

 

   

reviewed certain published information regarding commodity prices;

 

   

reviewed the reported prices and the historical trading activity of the common units;

 

   

analyzed the value of the warrants to be issued in the Proposed Transaction;

 

   

performed discounted cash flow analyses on the Partnership and the IDRs based on forecasts and other data provided by management of the Partnership;

 

   

reviewed the financial metrics of certain historical transactions involving assets similar to the IDRs and the GP Interest that Evercore deemed relevant and compared such financial metrics to those implied by the Proposed Transaction;

 

   

compared certain metrics implied by the Proposed Transaction to the premiums paid to high-vote stockholders by low-vote stockholders in precedent dual class recapitalizations;

 

   

compared the financial performance of the Partnership and its stock market trading multiples with those of certain other publicly traded companies and partnerships that Evercore deemed relevant;

 

   

compared the financial performance of the Partnership and the valuation multiples relating to the Proposed Transaction with the financial terms, to the extent publicly available, of certain other transactions that Evercore deemed relevant;

 

   

reviewed the financial terms and conditions of the draft Restructuring Agreement dated November 9, 2023; and

 

   

performed such other analyses and examinations, held such other discussions, and considered such other factors and information that Evercore deemed appropriate.

For purposes of Evercore’s analysis and opinion, Evercore assumed and relied upon the accuracy and completeness of the financial and other information publicly available, and all of the information supplied or otherwise made available to, discussed with, or reviewed by Evercore, without any independent verification of such information (and did not assume responsibility or liability for any independent verification of such information), and had further relied upon the assurances of the management of the Partnership that they were not

 

66


Table of Contents

aware of any facts or circumstances that would make such information inaccurate or misleading. With respect to the Calumet Financial Projections, Evercore assumed with the Conflicts Committee’s consent that they were reasonably prepared on bases reflecting the best currently available estimates and good faith judgments of management of the Partnership as to the future financial performance of the Partnership. Evercore expressed no view as to the Calumet Financial Projections or the assumptions on which they were based.

For purposes of Evercore’s analysis and opinion, Evercore assumed, in all respects material to its analysis, that the final executed Restructuring Agreement and such other documents relating to the Proposed Transaction would not differ from the draft Restructuring Agreement and such other documents reviewed by Evercore, that the representations and warranties of each party contained in the Restructuring Agreement were true and correct, that each party would perform all of the covenants and agreements required to be performed by it under the Restructuring Agreement and that all conditions to the consummation of the Proposed Transaction would be satisfied without waiver or modification thereof. Except as otherwise explicitly stated herein, Evercore assumed, in all respects material to its opinion, that the transactions contemplated by the Restructuring Agreement (including the execution, delivery and applicable approvals of the Conversion Agreement) would be consummated as contemplated in the Restructuring Agreement. Evercore assumed that any modification to the structure of the Proposed Transaction (including as may be set forth in the Conversion Agreement) would not vary in any respect material to its analysis. Evercore further assumed, in all respects material to its analysis, that all governmental, regulatory or other consents, approvals or releases necessary for the consummation of the Proposed Transaction would be obtained without any delay, limitation, restriction or condition that would have an adverse effect on the Partnership or the consummation of the Proposed Transaction or reduce the contemplated benefits of the Proposed Transaction to the Partnership or the Public Unitholders.

Evercore relied, at the direction of the Conflicts Committee, upon the assessment of the General Partner as to (i) the potential impact on the Partnership of market and other trends and prospects for, and governmental, regulatory and legislative matters relating to or otherwise affecting, the oil and gas, specialty products and renewable fuels industry, including commodity pricing and supply and demand for oil, gas, specialty products and renewable fuels, (ii) the potential impact of the Proposed Transaction on the operations, results and prospects of the Partnership, and (iii) existing and future contracts and relationships, agreements and arrangements with third parties that were necessary and desirable for the operation of the Partnership. Evercore undertook no independent analysis of any potential or actual litigation, regulatory action, possible unasserted claims or other contingent liabilities, to which the Partnership or its affiliates was or may be a party or is or may be subject. Evercore also assumed, and management of the General Partner had confirmed for Evercore, that there were no material changes in the liabilities, financial condition, results of operations, business or prospects of or relating to the Partnership since the date of the latest information relating to the Partnership made available to Evercore.

Evercore did not conduct a physical inspection of the properties or facilities of the Partnership and did not make or assume any responsibility for making any independent valuation or appraisal of the assets or liabilities (including any contingent, derivative or other off-balance sheet assets and liabilities) of the Partnership, nor was Evercore furnished with any such valuations or appraisals, nor did Evercore evaluate the solvency or fair value of the Partnership under any state or federal laws relating to bankruptcy, insolvency or similar matters. Evercore’s opinion was necessarily based upon information made available to it as of the date of its opinion and financial, economic, market and other conditions as they exist and as can be evaluated on the date of its opinion. It is understood that subsequent developments may affect Evercore’s opinion and that Evercore does not have any obligation to update, revise or reaffirm its opinion.

Evercore was not asked to pass upon, and expressed no opinion with respect to, any matter other than the fairness to the Partnership and the Public Unitholders, from a financial point of view, of the Sponsor Consideration. Evercore did not express any view on, and its opinion did not address, the fairness of the proposed transaction to, or any consideration received in connection therewith by, the holders of any other class of securities, creditors or other constituencies of the Partnership, including as to the shares of common stock issued in exchange for common units in the Partnership Merger, nor as to the fairness of the amount or nature of any

 

67


Table of Contents

compensation to be paid or payable to any of the officers, directors or employees of the Partnership, or any class of such persons, whether relative to the Sponsor Consideration or otherwise. Evercore was not asked to, nor did Evercore express any view on, and its opinion did not address, any other term or aspect of the Restructuring Agreement or the Proposed Transaction, including, without limitation, the structure or form of the Proposed Transaction, or any term or aspect of any other agreement or instrument contemplated by the Restructuring Agreement or entered into or amended in connection with the Restructuring Agreement. Evercore’s opinion did not address the relative merits of the Proposed Transaction as compared to other business or financial strategies that might be available to the Partnership, nor did it address the underlying business decision of the Partnership to engage in the Proposed Transaction (including the effective conversion from a partnership to a C-corporation for tax purposes). Evercore’s opinion did not constitute a recommendation to the Conflicts Committee or to any other persons in respect of the Proposed Transaction, including as to how any holder of common units should vote or act in respect of the Proposed Transaction. Evercore did not express any opinion as to the prices at which the common units will trade at any time, as to the potential effects of volatility in the credit, financial and stock markets on the Partnership or the Proposed Transaction or as to the impact of the Proposed Transaction on the solvency or viability of the Partnership or the ability of the Partnership to pay its obligations when they come due (or with respect to the Common Stock or impacts on Calumet Corp.). Evercore expressed no view or opinion as to historical and projected distribution coverage ratios on common units or Common Stock, or the tax impact of the Proposed Transaction on any person or entity. Evercore’s opinion does not constitute a tax opinion and cannot be used by any taxpayer for the purpose of avoiding tax penalties. Evercore (i) made no conclusion on the valuation or pricing for tax purposes or the effects of federal income tax laws on any party and (ii) had assumed that the Partnership’s intended tax treatment of the Proposed Transaction would be respected. Each person should seek legal, regulatory, accounting and tax advice based on his, her or its particular circumstances from independent advisors regarding the evaluation and impact of any transactions or matters described herein. Without limiting the generality of foregoing, Evercore’s opinion does not reflect the impact of any regulatory action, unasserted claims or litigation to which the General Partner, the Partnership or their respective affiliates may be subject in the future. Evercore is not a legal, regulatory, accounting or tax expert and assumed the accuracy and completeness of assessments by the Partnership and its advisors with respect to legal, regulatory, accounting and tax matters.

Set forth below is a summary of the material financial analyses performed by Evercore and reviewed with the Conflicts Committee on November 9, 2023 in connection with rendering Evercore’s opinion to the Conflicts Committee. Each analysis was provided to the Conflicts Committee. The following summary, however, does not purport to be a complete description of the analyses performed by Evercore. In connection with arriving at its opinion, Evercore considered all of its analyses as a whole, and the order of the analyses described and the results of these analyses do not represent any relative importance or particular weight given to these analyses by Evercore. Except as otherwise noted, the following quantitative information, to the extent that it is based on market data, is based on market data that existed on November 7, 2023, and is not necessarily indicative of current market conditions.

The following summary of financial analyses includes information presented in tabular format. These tables must be read together with the text of each summary in order to fully understand the financial analyses performed by Evercore. The tables alone do not constitute a complete description of the financial analyses performed by Evercore. Considering the tables below without considering the full narrative description of the financial analyses, including the methodologies and assumptions underlying the analyses, could create a misleading or incomplete view of Evercore’s financial analyses.

Analysis of the Partnership

Assumptions with Respect to the Partnership

Evercore performed a series of financial analyses to derive indicative valuation ranges for the common units. Financial data for the Partnership utilized in the financial analyses described below were based upon,

 

68


Table of Contents

among other things, the unaudited, non-public financial projections for the Partnership prepared and furnished by management of the Partnership. A summary of the Calumet Financial Projections is set forth above. The Calumet Financial Projections were not adjusted by Evercore.

Sum-of-the-Parts Discounted Cash Flow Analysis

Evercore performed a discounted cash flow analysis of the Partnership based on a sum-of-the-parts approach valuing the cash flows of the distinct business segments of the Partnership including: (i) the Partnership’s Specialty Products and Solutions and Performance Brands Segments and the Great Falls specialty asphalt facility (collectively, “Legacy Calumet”) and (ii) the Great Falls renewable fuels business (collectively with Legacy Calumet, the “Business Segments”) to be received by the Partnership based on the Calumet Financial Projections during a five-year period. Evercore calculated the per unit value range for the common units by utilizing a range of discount rates based on Calumet’s Weighted Average Cost of Capital (“WACC”), as estimated by Evercore based on a theoretical Capital Asset Pricing Model (“CAPM”) and terminal values based on a range of estimated EBITDA multiples and perpetuity growth rates.

For the Partnership’s discounted cash flow analysis, Evercore assumed a range of discount rates of 9.5% to 10.5% based on the Partnership’s WACC and, for Legacy Calumet applied both a range of EBITDA multiples of 4.0x to 6.0x and a range of perpetuity growth rates of 0.0% to 1.0% to Legacy Calumet’s terminal period EBITDA and cash flows, respectively, and for MRL applied both a range of EBITDA multiples of 8.5x to 9.5x and a range of perpetuity growth rates of 1.5% to 2.5% to MRL’s terminal period EBITDA and cash flows, respectively, to derive a range of enterprise values. Such ranges of enterprise values were added together to derive a Partnership enterprise value and Evercore adjusted such enterprise values for preferred equity, noncontrolling interest, debt and cash as of December 31, 2023 and divided the resulting equity values by the number of common units outstanding as of December 31, 2023. Evercore noted the range of common unit values implied by the analyses to be $14.66 to $27.75.

Sum-of-the-Parts Peer Group Trading Analysis

Evercore performed a sum-of-the-parts peer group trading analysis of the Partnership utilizing the Calumet Financial Projections by reviewing and comparing the market values and trading multiples of the following publicly-traded entities that Evercore deemed to have certain characteristics that are similar to those of each Business Segment, including entities with refining, commodity chemicals, specialty chemicals, finished or branded products or clean fuels assets:

Independent Refiners:

 

   

CVR Energy, Inc.

 

   

Delek US Holdings, Inc.

 

   

HF Sinclair Corporation

 

   

Par Pacific Holdings Inc.

 

   

Valero Energy Corporation

Commodity Chemicals:

 

   

AdvanSix Inc.

 

   

LyondellBasell Industries NV

 

   

Olin Corporation

 

   

Westlake Corporation

 

69


Table of Contents

Specialty Chemicals:

 

   

Eastman Chemical Company

 

   

FUCHS SE

 

   

Huntsman Corporation

 

   

Ingevity Corporation

 

   

Innospec Inc.

 

   

Koppers Holdings Inc.

 

   

NewMarket Corporation

 

   

Quaker Houghton

Finished / Branded Products:

 

   

CSW Industrials, Inc.

 

   

Ecolab Inc.

 

   

Illinois Tool Works Inc.

 

   

Valvoline, Inc.

 

   

WD-40 Company

Clean Fuels:

 

   

Aemetis, Inc.

 

   

Clean Energy Fuels Corp.

 

   

Darling Ingredients Inc.

 

   

Neste Corporation

 

   

Vertex Energy, Inc.

Although the peer group was compared to the Partnership and each Business Segment for purposes of this analysis, no peer group entity used in the analysis is identical or directly comparable to the Partnership or any of its Business Segments. In order to calculate peer group trading multiples, Evercore relied on publicly-available filings with the SEC, the European Securities and Markets Authority and equity research analyst estimates.

For the peer group entities, Evercore calculated the following trading multiples:

 

   

Enterprise Value / 2025E EBITDA, which is defined as market value of equity, plus preferred equity (as applicable), plus noncontrolling interest (as applicable), plus debt and less cash (“Enterprise Value”), divided by estimated EBITDA for the calendar year 2025.

The median Enterprise Value to EBITDA trading multiples of the peer group entities are set forth below.

 

Enterprise Value / 2025E EBITDA

   Median  

Benchmark (Independent Refiners)

     5.8x  

Benchmark (Commodity Chemicals)

     6.0x  

Benchmark (Specialty Chemicals)

     6.9x  
Benchmark (Finished / Branded Products)      15.6x  
Benchmark (Clean Fuels)      6.2x  

 

 

70


Table of Contents

The table below includes relevant multiple ranges selected by Evercore based on the resulting ranges of Enterprise Value to EBITDA multiples of the comparables and certain other considerations related to the specific characteristics of the Partnership and its Business Segments noted by Evercore:

 

Enterprise Value / 2025E EBITDA

   Reference Range
Legacy Calumet    5.5x –7.0x
MRL    6.0x –8.0x

After adjusting for preferred equity, noncontrolling interest, debt and cash as of December 31, 2023, and dividing by the number of common units outstanding as of December 31, 2023, Evercore determined an implied equity value per common unit range of $5.49 to $15.97.

Sum-of-the-Parts Precedent M&A Conversion Analysis

Evercore also performed precedent M&A transaction analyses to derive an indicative valuation range for the common units based on a sum-of-the-parts approach aggregating the enterprise values of the Business Segments of the Partnership.

Evercore reviewed transactions involving refineries announced since June 2015 and selected the below transactions although Evercore noted that none of the selected transactions were directly comparable to the Proposed Transaction and none of the entities that participated in the selected transactions were directly comparable to the Partnership or the Business Segments:

 

Precedent Refinery Conversions

 Date 

Announced

  

Acquiror / Target (Seller)

Oct-22    Par Pacific / Billings Refinery and Associated Marketing and Logistics Assets (ExxonMobil)
Oct-22    Sky Quarry Inc / Eagle Springs Refinery (Foreland Refining Corp)
Aug-22    Cenovus Energy / BP-Husky Toledo Refinery (BP)
May-21    Pemex / Deer Park Refinery (Shell)
May-21    HollyFrontier / Puget Sound Refinery (Shell)
Jun-19    PBF Energy / Martinez Refinery (Shell)
Jan-19    Chevron / Pasadena Refinery (Petrobras)
Nov-18    Par Pacific / US Oil and Refining Co
May-18    CVR Energy / Coffeyville and Wynnewood Refineries (CVR Refining LP)
Aug-17    Husky Energy / Superior Refinery (Calumet Specialty Products Partners)
Sep-16    Holly Energy Partners / Woods Crossing Refinery Assets (HollyFrontier)
Jun-16    Par Pacific Holdings Inc / Newcastle, WY Refinery and Related Logistics Assets (EOR Energy Services)
Sep-15    PBF Energy / Torrance Refinery (ExxonMobil)
Jun-15    PBF Energy / Chalmette Refinery and Chemical Production Facilities (ExxonMobil, PDVSA)

Evercore noted that the mean and median of the implied Enterprise Value to EBITDA multiples for the selected refinery transactions were 5.2x and 4.3x, respectively.

Evercore also reviewed transactions involving specialty / commodity chemicals announced since January 2015 and selected the below transactions although Evercore noted that none of the selected transactions were

 

71


Table of Contents

directly comparable to the Proposed Transaction and none of the entities that participated in the selected transactions were directly comparable to the Partnership or Legacy Calumet:

 

Precedent Specialty / Commodity Chemicals Conversions

 Date 

Announced

  

Acquiror / Target (Seller)

Jul-23    KKR & Co Inc / Chase Corp
May-23    FUJIFILM Corp / KMG Chemicals Inc
May-23    Allkem Ltd / Livent Corp
Mar-23    Univar Solutions Inc SPV / Univar Solutions Inc
Sep-22    Koch Minerals & Trading LLC / Compass Minerals Intl Inc
Sep-21    DL Chemical Co Ltd / Kraton Corp
May-21    Prince International Corp / Ferro Corp
Oct-19    Iris Parent LLC / Innophos Holdings Inc
Jul-19    Synthomer PLC / OMNOVA Solutions Inc
Sep-18    MOM Holding Co / MPM Holding Inc
Aug-18    Cabot Microelectronics Corp / KMG Chemicals Inc
Sep-17    Kuraray Co Ltd / Calgon Carbon Corp
Sep-16    Lanxess AG / Chemtura Corp
Jan-16    Westlake Chemical Corp / Axiall Corp
Jul-15    Solvay SA / Cytec Industries Inc
Jan-15    Shareholders / Ingevity Corp

Evercore noted that the mean and median of the implied Enterprise Value to EBITDA multiples for the selected specialty / commodity chemicals transactions were 9.6x and 7.5x, respectively.

Based on Evercore’s review of the above precedent transactions, Evercore selected a range of relevant implied multiples of Enterprise Value to EBITDA of 4.0x to 6.0x. Evercore then applied these ranges of selected multiples to 2025E EBITDA for Legacy Calumet.

Evercore also reviewed transactions involving renewable diesel assets announced since February 2022 and selected the below transactions although Evercore noted that none of the selected transactions were directly comparable to the Proposed Transaction and none of the entities that participated in the selected transactions were directly comparable to the Partnership or MRL:

 

Precedent Renewable Diesel Conversions

 Date 

Announced

  

Acquiror / Target (Seller)

Jan-23    Camber Energy / New Rise Renewables (RESC Renewables)
Feb-22    Chevron / Renewable Energy Group

Evercore noted that the mean and median of the implied Enterprise Value to EBITDA multiples for the selected precedent transactions were each equal to 9.7x.

Based on Evercore’s review of the above precedent transactions, Evercore selected a range of relevant implied multiples of Enterprise Value to EBITDA of 9.0x to 11.0x. Evercore then applied these ranges of selected multiples to 2025E EBITDA for MRL to derive an enterprise value and deducted the present value of 2024E and 2025E capital expenditures for MRL from the range of enterprise values to account for the capital expenditures required to achieve the 2025E MRL EBITDA.

Evercore aggregated the implied enterprise value ranges of each of the Business Segments as of December 31, 2025 and discounted such combined enterprise values at the midpoint of the Partnership’s WACC

 

72


Table of Contents

of 10.0% to derive a range of enterprise values. Evercore adjusted such enterprise values for preferred equity, noncontrolling interest, debt and cash as of December 31, 2023 and divided the result by the number of common units outstanding as of December 31, 2023, resulting in an implied equity value per Partnership common unit of $4.28 to $15.15.

Valuation of the Warrant Consideration

Evercore conducted an analysis of historical Calumet unit performance to derive an indicative valuation range for the warrants using Bloomberg’s Black-Scholes option pricing (OVME) model. Based on a historical volatility range of Calumet units and implied volatility of Calumet call options of 35.0% to 55.0%, combined with an assumed strike price of $20.00 per unit, Calumet’s current distribution yield of 0.0%, the warrant’s three-year tenor beginning December 31, 2023, and assumed dilution resulting from the warrants, Evercore implied a value of the warrant consideration of $4.0 million to $7.7 million.

Analysis of the Calumet GP Interest and Incentive Distribution Rights

Assumptions with Respect to the GP Interest and Incentive Distribution Rights

Evercore performed a series of analyses to derive indicative valuation ranges for the GP Interest and Incentive Distribution Rights (the “GP Interest / IDRs”). Evercore performed its analyses utilizing the Calumet Financial Projections.

Discounted Cash Flow Analysis

Evercore performed a discounted cash flow analysis of the GP Interest / IDRs by valuing the cash flows to be received by the General Partner based on the Calumet Financial Projections during a five-year period. Evercore calculated the value range for the GP Interest / IDRs by utilizing a range of discount rates based on the General Partner’s cost of equity, as estimated by Evercore based on CAPM and historical unlevered beta premiums for publicly-traded general partners versus their underlying partnerships and terminal values based on a range of estimated multiples based on precedent transactions for GP Interests / IDRs.

Evercore assumed a range of discount rates of 15.0% to 16.0% based on the General Partner’s cost of equity and applied a range of terminal multiples of 7.0x to 9.0x to the General Partner’s terminal period GP Interest / IDR cash flows to derive a range of GP Interest / IDRs values. Evercore noted a range of values from $156 million to $201 million.

Precedent Conversion Analysis

Evercore also performed precedent transaction analyses to derive an indicative valuation range for the GP Interest / IDRs based on values paid for general partners as a percent of those general partners’ associated master limited partnership equity values in historical transactions.

Evercore reviewed transactions involving general partnerships since January 2015 where the general partner incentive distributions were in the lowest tier (i.e., 0.0% or 2.0%) and selected the below transactions, although Evercore noted that none of the entities that participated in the selected transactions were directly comparable to parties of this Proposed Transaction and none of the selected transactions were directly comparable to the Proposed Transaction:

 

 Date 

Announced

  

Acquiror / Target (Seller)

Oct-18    Hi-Crush Partners LP / Hi-Crush Proppants LLC
Feb-18    NuStar Energy L.P. / NuStar GP Holdings, LLC

 

73


Table of Contents

 Date 

Announced

  

Acquiror / Target (Seller)

Apr-16    Memorial Production Partners LP / Memorial Production Partners GP (Memorial Resource Development Corp.)
Jan-16    Royal Energy Resources, Inc. / Rhino GP LLC
Apr-15    Vanguard Natural Resources, LLC / LRE GP, LLC (LRR Energy, LP)
Jan-15    Azure Midstream Energy, LLC / Marlin Midstream Partners LP

Evercore noted that the mean and median of the general partner value paid as a percent of the total associated master limited partnership equity value for the selected precedent transactions were equal to 6.7% and 6.4%, respectively.

Based on Evercore’s review of the above precedent transactions, Evercore selected a range of relevant implied general partner values as a percent of total associated master limited partnership equity value of 5.0% to 12.5%. Evercore then applied these ranges of selected percentages to the Partnership’s market capitalization as of November 7, 2023. Evercore noted an implied GP Interest / IDRs value of $54 million to $136 million.

Dual Class Recapitalization Analysis

Evercore also performed precedent transaction analyses to derive an indicative valuation range for the value of the GP Interest / IDRs’ control of the Partnership based on implied premiums paid to high-vote class unitholders / stockholders in historical dual class recapitalizations.

Evercore reviewed transactions involving dual class recapitalizations since June 1997, although Evercore noted that none of the entities that participated in the selected transactions were directly comparable to parties of this Proposed Transaction and none of the selected transactions were directly comparable to the Proposed Transaction:

 

Date

Announced

  

Company

Jun-23    MSC Industrial
May-23    Monro
Jun-22    Constellation Brands
Sep-17    National Research Corporation
Dec-16    Forest City Realty Trust
Jan-16    Stewart Information Services
Aug-15    Hubbell Incorporated
May-10    Magna
Sep-05    Sotheby’s
Jul-05    Kaman Corporation
Aug-04    Robert Mondavi Corp
Jul-03    Methode Electronics
Apr-03    Commonwealth Telephone
Oct-02    Reader’s Digest Association
Nov-00    Continental Airlines
Nov-99    Dairy Mart Convenience Stores
Jun-98    Remington Oil & Gas
Dec-97    Forcenergy AB
Jun-97    Laidlaw

Based on Evercore’s review of the above precedent transactions, Evercore noted an median and average net value to high-vote class equity as a percentage of low-vote equity value of 3.6% and 4.1%, respectively and a median and average net value to high-vote class equity value as a percentage of total value of 3.1% and 3.5%, respectively.

 

74


Table of Contents

Applying a range of 3.0% to 4.0% of total value implied for control under the dual class recapitalization precedent transactions, Evercore noted an implied premium of $33 million to $43 million for the GP Interest / IDRs’ control value.

Consideration Summary

Evercore noted that the GP Interest / IDRs and the GP Interest / IDR’s control value of the Partnership range described above was at or above the implied value of the proposed Sponsor Consideration as of the date of its Opinion.

General

The foregoing summary of certain material financial analyses does not purport to be a complete description of the analyses or data presented by Evercore. In connection with the review of the Proposed Transaction, Evercore performed a variety of financial and comparative analyses for purposes of rendering its opinion to the Conflicts Committee. The preparation of a fairness opinion is a complex process and is not necessarily susceptible to partial analysis or summary description. Selecting portions of the analyses or of the summary described above, without considering the analyses as a whole, could create an incomplete view of the processes underlying Evercore’s opinion. In arriving at its fairness determination, Evercore considered the results of all the analyses and did not draw, in isolation, conclusions from or with regard to any one analysis or factor considered by it for purposes of its opinion. Rather, Evercore made its determination as to fairness on the basis of its experience and professional judgment after considering the results of all the analyses. In addition, Evercore may have given various analyses and factors more or less weight than other analyses and factors, and may have deemed various assumptions more or less probable than other assumptions. As a result, the ranges of valuations resulting from any particular analysis or combination of analyses described above should not be taken to be the view of Evercore with respect to the Conversion Consideration. No company or partnership used in the above analyses as a comparison is directly comparable to the Partnership, and no precedent transaction used is directly comparable to the Proposed Transaction. Furthermore, Evercore’s analyses involve complex considerations and judgments concerning financial and operating characteristics and other factors that could affect the acquisition, public trading or other values of the corporations or partnerships used, including judgments and assumptions with regard to industry performance, general business, economic, market and financial conditions and other matters, many of which are beyond the control of the Partnership, the General Partner and their respective advisors.

Evercore prepared these analyses solely for the information and benefit of the Conflicts Committee and for the purpose of providing an opinion to the Conflicts Committee as to whether the Sponsor Consideration is fair, from a financial point of view, to the Partnership and the Public Unitholders. These analyses do not purport to be appraisals or to necessarily reflect the prices at which the business or securities actually may be sold. Any estimates contained in these analyses are not necessarily indicative of actual future results, which may be significantly more or less favorable than those suggested by such estimates. Accordingly, estimates used in, and the results derived from, Evercore’s analyses are inherently subject to substantial uncertainty, and Evercore assumes no responsibility if future results are materially different from those forecasted in such estimates. The issuance of the opinion was approved by an opinion committee of Evercore.

Except as described above, the Conflicts Committee imposed no other instruction or limitation on Evercore with respect to the investigations made or the procedures followed by Evercore in rendering its opinion. The terms and conditions of the Conversion Documents and the related terms and conditions of the transaction were determined through negotiations between the Conflicts Committee and the General Partner. Evercore did not recommend any specific consideration to the Conflicts Committee or recommend that any specific consideration constituted the only appropriate consideration in the Proposed Transaction. Evercore’s opinion was only one of many factors considered by the Conflicts Committee in its evaluation of the Proposed Transaction and should not be viewed as determinative of the views of the Conflicts Committee with respect to the Proposed Transaction or the Conversion Consideration.

 

 

75


Table of Contents

Under the terms of Evercore’s engagement letter with the Partnership and the Conflicts Committee, the Partnership and Conflicts Committee agreed to pay Evercore a fee of $1,250,000 upon rendering its opinion and a closing fee of $250,000 upon closing of the Proposed Transaction. Evercore also received a retainer fee of $500,000 upon execution of its engagement letter with the Partnership and the Conflicts Committee, which was creditable against the fee payable upon rendering Evercore’s opinion. In addition, the Partnership has agreed to reimburse Evercore for certain reasonable out-of-pocket expenses (including legal fees, expenses and disbursements) incurred in connection with its engagement and to indemnify Evercore and any of its members, partners, officers, directors, advisors, representatives, employees, agents, affiliates or controlling persons, if any, against certain liabilities and expenses arising out of its engagement, or to contribute to payments which any of such persons might be required to make with respect to such liabilities. Evercore’s engagement letter with the Partnership and the Conflicts Committee includes a consent to reproduce Evercore’s opinion in full, together with a summary of such opinion and the related analysis, in certain SEC filings related to the Proposed Transaction, including this proxy statement/prospectus.

During the two-year period prior to the date hereof, Evercore and its affiliates have not been engaged to provide financial advisory or other services to the Partnership or the General Partner or their affiliates and Evercore has not received any compensation from the Partnership or the General Partner or their affiliates during such period. Evercore and its affiliates may provide financial advisory or other services to the Partnership and the General Partner or their affiliates in the future, and in connection with any such services Evercore may receive compensation.

Evercore and its affiliates engage in a wide range of activities for its and their own accounts and the accounts of customers, including corporate finance, mergers and acquisitions, equity sales, trading and research, private equity, placement agent, asset management and related activities. In connection with these businesses or otherwise, Evercore and its affiliates and/or its or their respective employees, as well as investment funds in which any of them may have a financial interest, may at any time, directly or indirectly, hold long or short positions and may trade or otherwise effect transactions for their own accounts or the accounts of customers, in debt or equity securities, senior loans and/or derivative products or other financial instruments of or relating to the Partnership and/or any of its affiliates or persons that are competitors, customers or suppliers of the Partnership and/or any of its affiliates.

Reasons for the Conflicts Committee’s Special Approval

After careful consideration, the Conflicts Committee, by a unanimous vote of its members, at a meeting held on November 9, 2023 and via email on February 5, 2024, determined that the Restructuring Agreement, the Conversion Agreement and the transactions contemplated thereby, including the Conversion, are advisable and in the best interests of the Partnership and the Public Unitholders and unanimously recommended to the GP Board approval of the same and the execution, delivery and performance of the Restructuring Agreement, the Conversion Agreement and the transactions contemplated thereby, including the Conversion. In evaluating the Conversion, the Conflicts Committee consulted with the Partnership’s senior management and the Conflicts Committee’s legal and financial advisors and, in reaching its decision, the Conflicts Committee considered a number of factors that the Conflicts Committee believed supported its decision, including the following material factors:

 

   

the potential alternatives available to the Partnership, including the possibility of remaining a publicly traded partnership, and the assessment of the Conflicts Committee that the Conversion would result in the Partnership converting to a corporation with a classified board of directors, give the Public Unitholders, in their capacity as owners of common stock of the new publicly traded corporate entity, the right to elect the corporation’s board of directors (subject to The Heritage Group’s right to nominate up to two directors pursuant to the terms of New Calumet’ amended and restated certificate of incorporation) and require the majority of the corporation’s board of directors to be independent

 

76


Table of Contents
 

under applicable SEC and stock exchange rules and regulations, all of which may enhance value for the Public Unitholders in their capacity as owners of common stock of New Calumet;

 

   

the simplified entity structure of New Calumet in the corporate form may appeal to a wider investor base and therefore improve New Calumet’s access to the equity markets, which may in turn improve liquidity in the trading market for the corporation’s equity securities;

 

   

the fact that the issuance of 5,500,000 shares and 2,000,000 warrants by New Calumet to the Sponsor Parties in the Conversion in consideration for the Sponsor Parties’ interest in the General Partner will not occur until the Conversion is complete, instead of pursuing a simplification transaction that would have occurred prior to the Conversion as originally proposed by the Sponsor Parties;

 

   

the fact that the strike price of the warrants included in the consideration to be paid to the Sponsor Parties in connection with the Proposed Transaction was higher than the trading price of the Partnership’s common units;

 

   

the Conversion is expected to result in long-term cash flow accretion, in part due to the elimination of the Sponsor Parties’ ownership of the Partnership’s IDRs and the 2% economic general partner interest that will occur following the closing of the Conversion;

 

   

the Conversion will result in the Public Unitholders becoming equity owners in a company that could have more diversified assets and growth opportunities than the Partnership on a standalone basis, as New Calumet will not be restricted to acquiring assets and operations that a publicly traded partnership such as the Partnership can own;

 

   

the fact that the exchange ratio in the Conversion is fixed and therefore the percentage ownership of New Calumet to be owned by the current unitholders of the Partnership immediately following the closing of the Conversion will be unaffected by changes in the pre-Conversion trading prices for the Partnership’s common units;

 

   

the fact that the terms and conditions of the Conversion were determined through arm’s-length negotiations between the Sponsor Parties and the Conflicts Committee and their respective representatives and advisors;

 

   

the fact that the Conversion is subject to the approval of the Partnership’s unitholders, who will be free to approve or reject the Conversion Agreement and the transactions contemplated thereby;

 

   

the financial analyses reviewed and discussed with the Conflicts Committee by representatives of Evercore as well as the oral opinion of Evercore rendered to the Conflicts Committee on November 9, 2023 (which was subsequently confirmed in writing by delivery of Evercore’s written opinion addressed to the Conflicts Committee dated the same date) as to, as of November 9, 2023, the fairness, from a financial point of view, to the Partnership and the Public Unitholders of the consideration to be issued to the Sponsor Parties in connection with the transaction contemplated by the Restructuring Agreement; and

 

   

the Conflicts Committee’s general assessment of current and projected commodity prices, and the direct and indirect risks resulting therefrom, the changes in the capital markets, borrowing and liquidity issues, and certain related potential adverse effects on the Partnership if the Partnership maintains its current MLP structure.

The Conflicts Committee also considered, and balanced against the potential benefits, various risks and other potentially negative factors concerning the Restructuring Agreement, including the following:

 

   

the uncertainty of the implied value of the consideration payable to the Public Unitholders given the fixed exchange ratio in the Conversion and the potential fluctuation in the market price of the common units prior to the closing of the Conversion;

 

   

the Conversion may trigger taxable gains for certain of the Public Unitholders;

 

77


Table of Contents
   

substantial costs will be incurred by the Partnership in connection with the Conversion, including financial arrangement fees, financial advisory fees, and legal and other advisor fees;

 

   

the risk that management focus, employee attention and resources, including resources for other strategic opportunities, as well as employee attention to operational matters, could be diverted for an extended period of time while the parties work to complete the Conversion and any litigation that may occur in connection with the Conversion;

 

   

the possibility that the Conversion might not be consummated despite the parties’ efforts or that the closing of the Conversion may be unduly delayed, and that the announcement of the Conversion, coupled with any failure to consummate the Conversion, could have a negative effect on the Partnership’s relationships with third parties, as well as a negative effect on the Partnership’s operating results and trading price;

 

   

the General Partner, the Sponsor Parties, and some of the executive officers and directors of the General Partner have interests in the Conversion that are different from, or in addition to, the interests of the Public Unitholders generally;

 

   

the risks inherent in the Partnership’s business and operations, including those identified in the Partnership’s SEC filings; and

 

   

risks of the type and nature described under “Risk Factors.”

The Conflicts Committee concluded that the potentially negative factors associated with the Conversion were outweighed by the potential benefits that it expected the Public Unitholders would achieve as a result of the Conversion. Accordingly, the Conflicts Committee unanimously determined that the Restructuring Agreement, including the Proposed Transaction, and the Conversion Agreement, including the Conversion, are in the best interests of the Partnership and the Public Unitholders, and unanimously recommended to the GP Board the execution, delivery and performance of the Restructuring Agreement, including the Proposed Transaction, and the Conversion Agreement, including the Conversion.

The foregoing discussion of the information and factors considered by the Conflicts Committee includes all of the material factors considered by the Conflicts Committee, but it is not intended to be exhaustive and may not include all of the factors considered by the Conflicts Committee. In view of the wide variety of factors considered in connection with its evaluation of the Conversion and the complexity of these matters, the Conflicts Committee did not find it useful and did not attempt to quantify or assign any relative or specific weights to the various factors in its determination to recommend the approval of the Restructuring Agreement and the transactions contemplated thereby, including the Conversion. In addition, individual members of the Conflicts Committee may have given weights to different factors.

This explanation of the Conflicts Committee’s reasons for the Conversion and other information presented in this section is forward-looking in nature and, therefore, should be read in light of the factors described under “Cautionary Statement Regarding Forward-Looking Statements.”

Recommendation of the GP Board and Reasons for the Conversion

The GP Board (acting based upon the Special Approval of the Conflicts Committee and the Conflicts Committee’s recommendation) has unanimously determined that it is advisable and in the best interests of the Partnership for the Partnership to enter into the Restructuring Agreement and the Conversion Agreement and, in each case, consummate the transactions contemplated thereby, including the Conversion, and unanimously recommended that the Partnership unitholders vote in favor of the approval of the Conversion Agreement and the transactions contemplated thereby, including the Mergers, and other proposals related to the Conversion.

 

 

78


Table of Contents

In reaching its determination and recommendation, the GP Board considered the following factors, the order of which does not necessarily reflect their relative significance:

 

   

The Conflicts Committee’s unanimous approval of the Restructuring Agreement and the Conversion Agreement and, in each case, the transactions contemplated thereby, including the Conversion, such approval constituting “Special Approval” for all purposes of the Partnership Agreement, and the related recommendations of the Conflicts Committee to the GP Board.

 

   

The GP Board’s understanding of the process and procedures undertaken by the Conflicts Committee in reaching its determination and approval and making related recommendations to the GP Board, which included:

 

   

The GP Board’s determination that the members of the Conflicts Committee met the independence and other requirements for service on the Conflicts Committee that are set forth in the Partnership Agreement.

 

   

The Conflicts Committee’s engagement of independent financial and legal advisors with knowledge and experience with respect to transactions similar to the Conversion and familiarity with the Partnership and its business.

 

   

The Conflicts Committee’s receipt of Evercore’s opinion, dated as of November 9, 2023, that, as of such date and based upon and subject to the factors, procedures, assumptions, qualifications and limitations set forth in Evercore’s opinion, the Conversion Consideration is fair, from a financial point of view, to the Partnership and the unitholders that are unaffiliated with the General Partner and the Sponsor Parties.

 

   

The terms and conditions of the Conversion were determined through arm’s-length negotiations between The Heritage Group and the Conflicts Committee and their respective representatives and advisors.

 

   

New Calumet will be organized as a corporation for U.S. federal income tax purposes. Taking into account the changes in corporate and partnership taxation enacted in 2017, the GP Board believes a corporate tax structure may increase the appeal of our equity to investors, including those for whom certain kinds of pass-through income or the receipt of a Schedule K-1 can be problematic. In addition, the GP Board believes that current and future investors will prefer New Calumet’s post-Conversion organizational structure as there will be no incentive distribution rights or general partnership interest in New Calumet. The GP Board believes these characteristics will reflect the preferences of New Calumet’s current and future investor base and will drive greater value for holders of New Calumet’s equity over time.

 

   

The Conversion is expected to help New Calumet transition away from the financial and strategic limitations faced by the Partnership’s MLP structure. Currently, certain of the Partnership’s strategies are limited by its structure as an MLP and the resulting lack of access to capital and trading liquidity.

 

   

The GP Board’s conclusion that the terms and conditions of the Restructuring Agreement, the Conversion Agreement and the New Calumet governance documents, including the conditions to the parties’ respective obligations, The Heritage Group’s governance rights, and the governance structure of New Calumet (including antitakeover protections) will be beneficial to holders of New Calumet’s equity.

 

   

New Calumet will have more flexibility in conducting New Calumet’s business operations and in making strategic investments without also being required to satisfy the “qualifying income” test applicable to publicly traded partnerships.

The foregoing discussion of the information and factors considered by the GP Board is not intended to be exhaustive, but includes material factors the GP Board considered. In view of the variety of factors considered in connection with its evaluation of the Conversion and the complexity of these matters, the GP Board did not find

 

79


Table of Contents

it useful and did not attempt to quantify or assign any relative or specific weights to the various factors considered in making its determination and approving the transactions. In addition, each of the members of the GP Board may have given differing weights to different factors. Overall, the GP Board believed that the positive factors supporting the Restructuring Agreement and the Conversion Agreement and the transactions contemplated thereby, including the Conversion, outweighed the negative factors considered by the GP Board.

The explanation of the reasoning of the GP Board and certain information presented in this section are forward-looking in nature and, therefore, the information should be read in light of the factors discussed in the section entitled “Cautionary Statement Regarding Forward-Looking Statements.”

The GP Board has unanimously recommended that the unitholders vote FOR the Conversion Proposal and FOR the Board Classification Proposal.

Unaudited Prospective Financial Information of the Partnership

The Partnership is including certain unaudited prospective financial information in this section of this proxy statement/prospectus because it was among the financial information made available in connection with the Conflicts Committee’s evaluation of the Conversion and the other transactions contemplated by the Restructuring Agreement and the Conversion Agreement. Certain of the unaudited prospective financial information was used by Evercore in connection with its financial analysis and opinion described in the section titled “—Opinion of Evercore – Financial Advisor to the Conflicts Committee.” The inclusion of this information should not be regarded as an indication that any of New Calumet, the Partnership, any of their respective advisors or other representatives or any other recipient of this information considered or now considers it to be necessarily predictive of actual future performance or events, or that it should be construed as financial guidance. Actual future results could vary materially from such prospective financial information. As such, the Partnership’s unitholders, and New Calumet’s stockholders following the closing of the Conversion, are cautioned not to place undue reliance on the unaudited prospective financial information, including whether to vote for the Conversion Proposal or any other matter.

This information was prepared solely for internal use and is subjective in many respects. The Calumet Financial Projections were based solely upon information available to the Partnership’s management at the time of their preparation.

While presented with numeric specificity, the unaudited prospective financial information reflects numerous estimates and assumptions that were deemed to be reasonable as of the respective dates the estimates and assumptions were made, but are inherently uncertain and may be beyond the control of the Partnership’s management. These assumptions include, but are not limited to, the Partnership’s future results, demand for finished products and renewable fuels in markets that the Partnership and New Calumet serve, estimated capital expenditures for the Expansion Project (as defined below), the completion of the Expansion Project on the projected timeline set forth below, estimated capital expenditures as a result of required audits or required operational changes or other environmental and regulatory liabilities, estimated costs of complying with the EPA’s RFS, including the prices paid for RINs and the amount of RINs the Partnership or New Calumet may be required to purchase in any given compliance year and general economic and political conditions, including inflationary pressures and other matters described in the sections entitled “Cautionary Statement Regarding Forward-Looking Statements” and “Risk Factors.” The unaudited prospective financial information reflects assumptions as to the Expansion Project, as well as certain other business decisions that are subject to change and, in many respects, subjective judgment, and thus is susceptible to multiple interpretations and periodic revisions based on actual experience and business developments.

The Expansion Project is subject to delays and cost increases related to the engineering, procurement and construction of the improvements to the Montana Renewables Facility. See “Risk Factors—We make capital expenditures in our facilities to expand their capacity and to maintain their reliability and efficiency. If we are unable to complete capital projects at their expected costs and/or in a timely manner, or if the market conditions assumed in our project economics deteriorate, results of operations or cash flows could be adversely affected.” The completion of the

 

80


Table of Contents

Expansion Project is dependent on several factors, including, among others: (i) the Partnership’s ability to obtain sufficient capital on satisfactory terms to fully fund the Expansion Project, (ii) the issuance of required permits and the satisfaction of other legal and regulatory requirements related to the Expansion Project and (iii) overall market conditions, including estimated construction costs for the Expansion Project and the margin for renewable fuels. As a result, the Partnership and New Calumet can give no assurance that the Expansion Project will be completed on the projected timeline or at all. In addition, even if the Expansion Project is completed, it may be difficult to sustain significant growth rates over a long period of time and the unaudited prospective financial information does not assume any further expansion of the Montana Renewables Facility beyond the Expansion Project. The Partnership and New Calumet can give no assurance that the unaudited prospective financial information and the underlying estimates and assumptions will be realized.

In addition, since the unaudited prospective financial information is inherently forward looking and covers multiple years, such information by its nature becomes less predictive with each successive year. Actual results may differ materially from those set forth below, and important factors that may affect actual results and cause the unaudited prospective financial information to be inaccurate include, but are not limited to, risks and uncertainties relating to the Partnership’s business, industry performance, the regulatory environment, general business and economic conditions and other matters described under the section of this proxy statement/prospectus entitled “Risk Factors.” See also “Cautionary Statement Regarding Forward-Looking Statements” and “Where You Can Find More Information.”

The unaudited prospective financial information was not prepared with a view toward public disclosure, nor was it prepared with a view toward compliance with GAAP, published guidelines of the SEC or the guidelines established by the American Institute of Certified Public Accountants for preparation and presentation of prospective financial information. No independent accountants have compiled, examined or performed any procedures with respect to the unaudited prospective financial information contained herein, nor have they expressed any opinion or any other form of assurance on such information or its achievability and assume no responsibility for, and disclaim any association with, the prospective financial information. The reports of the Partnership’s independent registered public accounting firm contained in this proxy statement/prospectus relate to historical financial information of the Partnership, and such reports do not extend to the unaudited prospective financial information included below and should not be read to do so. The unaudited prospective financial information set forth in this section of this proxy statement/prospectus below has been prepared by, and is the responsibility of the Partnership’s management. The unaudited prospective financial information set forth in this section were prepared by the Partnership’s management.

Furthermore, the unaudited prospective financial information does not take into account any circumstances or events occurring after the date it was prepared. Neither the Partnership nor New Calumet can give any assurance that, had the unaudited prospective financial information been prepared as of the date of the Restructuring Agreement, the date of the Conversion Agreement or as of the date of this proxy statement/prospectus, similar estimates and assumptions would be used. Except as required by applicable securities laws, neither New Calumet nor the Partnership intends to, and disclaims any obligation to, make publicly available any update or other revision to the unaudited prospective financial information to reflect circumstances existing since their preparation or to reflect the occurrence of unanticipated events, even in the event that any or all of the underlying assumptions are shown not to be appropriate or to reflect changes in general economic or industry conditions.

The unaudited prospective financial information does not take into account all the possible financial and other effects on the Partnership of the Conversion, the effect on the Partnership of any business or strategic decision or action that has been or will be taken as a result of the Conversion. Further, the unaudited prospective financial information does not take into account the effect on the Partnership of any possible failure of the Conversion to occur. None of New Calumet, the Partnership or their respective affiliates, officers, directors, advisors or other representatives has made, makes or is authorized in the future to make any representation to any unitholder of the Partnership, stockholder of New Calumet or other person regarding the Partnership’s ultimate performance compared to the information contained in the unaudited prospective financial and operating information or that the forecasted results will be achieved. The inclusion of the unaudited prospective financial and operating information herein should not be deemed an admission or representation by

 

81


Table of Contents

the Partnership, its advisors or any other person that it is viewed as material information of the Partnership, particularly in light of the inherent risks and uncertainties associated with such forecasts.

In light of the foregoing, and considering the uncertainties inherent in any forecasted information, holders of common units, and holders of common stock following the Conversion, are cautioned not to place undue reliance on such information, and the Partnership and New Calumet urge all such holders to review historical financial information of the Partnership included elsewhere in this proxy statement/prospectus for a description of the Partnership’s financial results.

In preparing the Calumet Financial Projections described below, the Partnership’s management made numerous assumptions regarding the Partnership’s business, including, but not limited to:

 

   

market growth assumptions were based on management’s views of macro-economic patterns that influence the industry, including renewable fuels margins and crack spreads. Management’s view was informed by interactions with customers and other industry participants as well as various sources of industry published information from reputable and well-known authors;

 

   

projections related to MRL assume:

 

   

expansion capital expenditures of $60.0 million and $140.0 million during the years ending December 31, 2024 and 2025, respectively, for a potential hydraulic expansion project (the “Expansion Project”), which would expand the Montana Renewables Facility’s throughout capacity from approximately 12,000 bpd to approximately 18,000 bpd, assuming an 80% utilization rate of the Montana Renewables Facility’s permitted throughout capacity before and after the completion of the Expansion Project;

 

   

the completion of the Expansion Project at the beginning of 2026;

 

   

the production of approximately 12,000 bpd of renewable fuels during each of the years ending December 31, 2024 and 2025 and, after completion of the Expansion Project, approximately 18,000 bpd of renewable fuels during each of the years ending December 31, 2026, 2027 and 2028;

 

   

the use of higher-priced pre-treated feedstocks, which were acquired before the commissioning of the pre-treatment unit, through the end of the first quarter of 2024, and the use of lower-priced untreated feedstocks beginning in the second quarter of 2024;

 

   

margin levels were assumed to remain relatively stable throughout the forecast period;

 

   

capital expenditures during the projection period were forecast to be sufficient to cover the maintenance capital needs of the organization’s fixed assets and were assumed to remain relatively flat, except maintenance capital expenditures for the years ending December 31, 2024 and 2027 were assumed to be approximately $20.0 million to $30.0 million higher compared to other years in the forecast period as a result of customary maintenance capital expenditures that occur as a necessity to maintain the intended operational functionality for fixed assets of this nature on a three-year cycle;

 

   

reduction of consolidated interest expense from approximately $195.0 million to $210.0 million for 2023 through 2026 to approximately $155.0 million to $160.0 million for 2027 and 2028 as a result of deleveraging that was projected to occur at the end of 2026;

 

   

support costs predominately including selling, general and administrative expenses as well as other fixed support costs were forecast to remain relatively stable throughout the forecast period; and

 

   

no incremental significant changes in tax regimes would be experienced during the projection period and the effective tax rate would remain generally constant throughout the forecast period.

In the event that the assumptions above, particularly those related to MRL, the Expansion Project and projected pricing levels, are no longer appropriate, the projected growth in Adjusted EBITDA and Adjusted Distributable Cash Flow set forth in the unaudited prospective financial information may not materialize and no assurance can be given that the projected growth will be achieved during the forecast period.

 

82


Table of Contents

The following table presents the selected unaudited prospective financial data of the Partnership:

 

    2023E     2024E     2025E     2026E     2027E     2028E  
    (In millions)  

Adjusted EBITDA:(1)

           

Adjusted EBITDA (excluding MRL)

  $ 277.8     $ 265.5     $ 243.2     $ 243.2     $ 243.2     $ 243.2  

Adjusted EBITDA for MRL

  $ (10.4   $ 182.4     $ 250.0     $ 375.0     $ 375.0     $ 375.0  

Adjusted Distributable Cash Flow attributable to partners:(2)

  $ 4.9     $ 148.3     $ 62.2     $ 252.8     $ 247.7     $ 281.0  

 

(1)

The Partnership defines Adjusted EBITDA for any period as net income (loss) plus interest expense (including amortization of debt issuance costs), income taxes and depreciation and amortization, adjusted for (a) impairment; (b) unrealized gains and losses from mark-to-market accounting for hedging activities; (c) realized gains and losses under derivative instruments excluded from the determination of net income (loss); (d) non-cash equity-based compensation expense and other non-cash items (excluding items such as accruals of cash expenses in a future period or amortization of a prepaid cash expense) that were deducted in computing net income (loss); (e) debt refinancing fees, extinguishment costs, premiums and penalties; (f) any net gain or loss realized in connection with an asset sale that was deducted in computing net income (loss); (g) amortization of turnaround costs; (h) LCM inventory adjustments; (i) the impact of liquidation of inventory layers calculated using the LIFO method; (j) RINs mark-to-market adjustments; and (k) all extraordinary, unusual or non-recurring items of gain or loss, or revenue or expense.

(2)

The Partnership defines Adjusted Distributable Cash Flow for any period as Adjusted EBITDA plus non-cash RINs incurrence expense, less replacement and environmental capital expenditures, turnaround costs, and cash interest expense (consolidated interest expense less non-cash interest expense).

Certain of the measures included in the Calumet Financial Projections are non-GAAP financial measures, including Adjusted EBITDA and Adjusted Distributable Cash Flow. Non-GAAP financial measures should not be considered in isolation from, or as a substitute for, financial information presented in compliance with GAAP, and non-GAAP financial measures as used by the Partnership are not reported by all of their competitors and may not be comparable to similarly titled amounts used by other companies. Financial measures included in forecasts (including the Calumet Financial Projections) provided to a board of directors (or a committee thereof) or financial advisors in connection with a business combination or asset acquisition transaction are excluded from the definition of “non-GAAP financial measures” under the rules of the SEC, and therefore the Calumet Financial Projections are not subject to SEC rules regarding disclosures of non-GAAP financial measures, which would otherwise require a reconciliation of a non-GAAP financial measure to a GAAP financial measure.

NEITHER NEW CALUMET NOR THE PARTNERSHIP INTENDS TO, AND BOTH DISCLAIM ANY OBLIGATION TO, UPDATE, CORRECT OR OTHERWISE REVISE THE PARTNERSHIP PROJECTIONS TO REFLECT CIRCUMSTANCES EXISTING AFTER THE DATE OF THE RESTRUCTURING AGREEMENT, THE DATE OF THE CONVERSION AGREEMENT OR TO REFLECT THE OCCURRENCE OF FUTURE EVENTS, EVEN IN THE EVENT THAT ANY OR ALL OF THE ASSUMPTIONS UNDERLYING ANY SUCH PROJECTIONS ARE NO LONGER APPROPRIATE (EVEN IN THE SHORT TERM).

No Appraisal Rights

No dissenters’ rights or appraisal rights are or will be available to unitholders with respect to the Partnership Merger or the GP Merger or the other transactions contemplated by the Conversion Agreement.

Antitrust and Regulatory Matters

The completion of the Conversion is subject to antitrust review in the United States. Under the HSR Act and the rules promulgated thereunder, the Conversion cannot be completed until the parties have submitted premerger notification and report forms to the FTC and the DOJ, and the applicable waiting period has expired or has been terminated.

 

83


Table of Contents

Listing of New Calumet Common Stock

It is a condition to the consummation of the Conversion that the common stock issuable in the Mergers be approved for listing on Nasdaq, subject to official notice of issuance. The common stock is expected to trade on Nasdaq under the symbol “CLMT.” Upon consummation of the Partnership Merger, the common units currently listed on Nasdaq will cease to be listed on Nasdaq and will be subsequently deregistered under the Exchange Act.

Deregistration and Delisting of the Units

Upon consummation of the Partnership Merger, the former unitholders will become stockholders of New Calumet, and their rights as stockholders will be governed by Delaware law and by New Calumet’s amended and restated certificate of incorporation and amended and restated bylaws that will be in effect upon consummation of the Conversion. The Partnership intends to cease filing periodic reports pursuant to the Exchange Act with the SEC following deregistration of its common units, pursuant to securities laws requirements, with New Calumet becoming the successor registrant.

Accounting Treatment of the Mergers

The Mergers will be accounted for as equity transactions among the owners of New Calumet using historical cost accounting with no gain or loss being recognized.

Interests of Certain Persons in the Conversion

In considering the recommendations of the GP Board, unitholders should be aware that some of the executive officers and directors of the General Partner have interests in the Conversion that may differ from, or may be in addition to, the interests of unitholders generally. These interests include:

 

   

Certain indemnification arrangements and insurance policies for directors and officers of the General Partner and New Calumet will be continued for six years if the Conversion is completed.

 

   

Pursuant to the Conversion Agreement, at the effective time of the Partnership Merger, each outstanding Partnership Phantom Unit Award will be converted into an award of New Calumet RSUs relating to a number of common stock equal to the product of (a) the number of common units subject to such Partnership Phantom Unit Award as of immediately prior to the effective time of the Partnership Merger, multiplied by (b) the exchange ratio, on substantially the same terms and conditions as were applicable to such Partnership Phantom Unit Award, including payment timing provisions, the form of settlement (i.e., cash or equity-based) and dividend equivalent rights, as applicable.

 

   

Nearly all of the directors and executive officers of the General Partner beneficially own common units and will receive shares of common stock in exchange for such common units upon consummation of the Conversion.

 

   

All of the officers of the General Partner have been offered continued employment with New Calumet after the effective time of the Conversion.

Continuing Board and Management Positions

Upon consummation of the Conversion, the New Calumet Board will consist of 10 directors, all of which will initially be designated by The Heritage Group, divided into three classes. The members of each class will serve staggered, three-year terms (other than with respect to the initial terms of the Class I and Class II directors, which will be one and two years, respectively). Upon the expiration of the term of a class of directors, directors in that class will be elected for three-year terms at the annual meeting of stockholders in the year in which their term expires. Following the completion of this offering:

 

   

James S. Carter, Stephen P. Mawer, Daniel L. Sheets and John (“Jack”) G. Boss will be Class I directors, whose initial terms will expire at the 2025 annual meeting of stockholders;

 

84


Table of Contents
   

Jennifer G. Straumins, Daniel J. Sajkowski and Todd Borgmann will be Class II directors, whose initial terms will expire at the 2026 annual meeting of stockholders; and

 

   

Amy M. Schumacher, Paul C. Raymond III and Karen A. Twitchell will be Class III directors, whose initial terms will expire at the 2027 annual meeting of stockholders.

This classification of the New Calumet Board may have the effect of delaying or preventing changes in control. Stephen P. Mawer will be the chairman of the New Calumet Board unless he is not able or willing to serve as a director at the time of the consummation of the Conversion, in which case the New Calumet Board will elect a chairman.

If any of the designees to the New Calumet Board identified above are not able or willing to serve as a director at the time of the consummation of the Conversion, The Heritage Group will determine a replacement. After the consummation of the Conversion, each director of New Calumet will serve as a director until such person’s successor is elected or, if earlier, until such director dies, resigns or is removed in accordance with New Calumet’s organizational documents and applicable law.

The designees to the New Calumet Board identified above have indicated that they intend to vote all common units held by them or over which they have control in favor of approval and adoption of the Conversion Agreement and the transactions contemplated by the Conversion Agreement.

The Partnership and New Calumet expect that that the existing management team will stay in place after the Conversion. For information regarding the people expected to be officers of New Calumet upon the consummation of the Conversion, see “Management of the Partnership.”

Indemnification; Directors’ and Officers’ Insurance

The Restructuring Agreement provides that the Sponsor Parties will cause New Calumet to honor all rights to indemnification, advancement of expenses, elimination of liability and exculpation from liabilities for acts or omissions occurring at or prior to the effective time of the GP Merger (including the transactions contemplated by the Restructuring Agreement) in favor of persons who are or have been directors and officers of Partnership Entities prior to such effective time as provided in the organizational documents of the Partnership Entities. The Sponsor Parties will for a period of six years following the effective time of the GP Merger, ensure that the organizational documents of New Calumet (or its successor entities) contain provisions substantially no less advantageous regarding the indemnification, elimination of liability, advancement of expenses and exculpation of their present and former directors and officers (among others) than are set forth in the organizational documents of the Partnership Entities as of the date of the Restructuring Agreement.

In addition, for a period of at least six years from and after the effective time of the GP Merger, the Sponsor Parties will cause New Calumet to maintain for the benefit of the directors and officers of the Partnership Entities, as of such effective time, an insurance and indemnification policy covering events occurring prior to such effective time that is not less favorable in the aggregate than the existing policies of the Partnership Entities or, if such substantially equivalent insurance coverage is unavailable, the best coverage that is reasonably available, so long as the annual cost of such coverage does not exceed 300% of the current annual premium paid by the Partnership Entities for such purpose; provided, that if the cost of such insurance coverage exceeds such amount, New Calumet will obtain a policy with the greatest coverage available for a cost not exceeding such amount. As an alternative, prior to the effective time of the GP Merger, the Sponsor Parties may elect to cause the Partnership to purchase a “tail policy” with respect to acts or omissions occurring or alleged to have occurred prior to the effective time of the GP Merger that were committed or alleged to have been committed by the directors and officers of the Partnership Entities, and the Partnership will not spend more than an amount equal to 300% of the current annual premiums paid by the Partnership Entities for such purpose.

 

85


Table of Contents

No Severance Payments

No executive officer of the Partnership or New Calumet is entitled to or will receive any severance payments in connection with the Conversion.

Treatment of the Partnership Equity Awards

Pursuant to the Conversion Agreement, at the effective time of the Partnership Merger, each outstanding Partnership Phantom Unit Award will be converted into an award of New Calumet RSUs relating to a number of common stock equal to the product of (a) the number of common units subject to such Partnership Phantom Unit Award as of immediately prior to the effective time of the Partnership Merger, multiplied by (b) the exchange ratio, on substantially the same terms and conditions as were applicable to such Partnership Phantom Unit Award, including payment timing provisions, the form of settlement (i.e., cash or equity-based) and dividend equivalent rights, as applicable.

Security Ownership of Directors and Executive Officers

Nearly all of the directors and executive officers of the General Partner beneficially own common units and will receive shares of common stock upon consummation of the Conversion. The following table sets forth the beneficial ownership of each person who beneficially owns 5% or more of the Partnership’s outstanding common units, the directors and executive officers of the General Partner in (i) common units prior to the Conversion and (ii) common stock after giving effect to the Conversion, in each case as of May 24, 2024.

 

Name of Beneficial Owner

  Common
Units
    Percentage of
Common
Units
Outstanding
    Shares After
the
Conversion
    Percentage of
Shares
Outstanding
After the
Conversion
 

The Heritage Group (1)

    11,870,402       14.77     15,695,402       18.06

Adams Asset Advisors, LLC (2)

    5,446,477       6.78     5,446,477       6.34

Wasserstein Debt Opportunities Management, LP and related persons (3)

    6,534,338       8.13     6,534,338       7.61

Dorset Partners LLC and related persons (4)

    4,407,000       5.48     4,407,000       5.13

James S. Carter

    319,138       *       319,138       *  

Daniel J. Sajkowski

    156,607       *       156,607       *  

Amy M. Schumacher (1)(5)

    195,602       *       195,602       *  

Daniel L. Sheets

    61,472       *       61,472       *  

Paul C. Raymond III

    6,963       *       6,963       *  

Jennifer G. Straumins (6)

    663,529       *       1,788,529       2.08

John (“Jack”) G. Boss

    25,000       *       25,000       *  

Karen A. Twitchell

    —        *       —        *  

Stephen P. Mawer (7)

    172,610       *       172,610       *  

David A. Lunin (7)

    —        *       —        *  

Bruce A. Fleming (7)

    482,627       *       482,627       *  

Scott Obermeier (7)

    206,537       *       206,537       *  

Todd Borgmann (7)

    161,413       *       161,413       *  

Vincent Donargo (7)

    9,125       *       9,125       *  

Gregory J. Morical (7)

    33,845       *       33,845       *  

All directors and executive officers of the General Partner and New Calumet as a group (15 persons)

    2,494,468       3.10     3,619,468       4.20

 

*

Less than 1%.

(1)

Twenty-eight grantor trusts indirectly own all of the outstanding general partner interests in The Heritage Group, an Indiana general partnership. The direct or indirect beneficiaries of the grantor trusts are members of the Fehsenfeld family. Each of the grantor trusts has seven trustees, Fred M. Fehsenfeld, Jr., James C. Fehsenfeld,

 

86


Table of Contents
  William S. Fehsenfeld, Amy M. Schumacher, Megan N. Arlinghaus, Clare S. Stoner Fehsenfeld, and Geoffrey C. Dillon, each of whom exercises equivalent voting rights with respect to each such trust. Amy M. Schumacher, who is a director of our general partner, disclaims beneficial ownership of all of the common units owned by The Heritage Group, and none of these units are shown as being beneficially owned by such directors in the table above. Of these common units, 1,200,000 are owned by The Heritage Group Investment Company, LLC (“Investment LLC”). Investment LLC is under common ownership with The Heritage Group. The Heritage Group, although not the owner of the common units, serves as the Manager of Investment LLC, and in that capacity has sole voting and investment power over the common units. The Heritage Group disclaims beneficial ownership of the common units owned by Investment LLC except to the extent of its pecuniary interest therein. The number of shares after the Conversion includes 2,805,000 shares of common stock and 1,020,000 warrants to purchase shares of common stock, which The Heritage Group will receive upon consummation of the Conversion. The address for The Heritage Group is 5400 W. 86th St., Indianapolis, Indiana 46268.
(2)

As noted in the Schedule 13G filed with the SEC on January 14, 2023, the filing person has indicated that it has or shares beneficial ownership of such units. According to the Schedule 13G, Adams Asset Advisors has sole voting power and sole dispositive power over 4,033,903 units and shared voting power and shared dispositive power over 1,407,710 units. The address for Adams Asset Advisors, LLC is 8150 N. Central Expwy #M1120, Dallas, Texas 75206.

(3)

Based on the Schedule 13G/A filed with the SEC on February 10, 2023. According to the Schedule 13G/A, Wasserstein Debt Opportunities Management has shared voting power and shared dispositive power over 6,072,088 units. 5,672,088 of the reported units are owned directly by private investment funds and separately managed accounts for which Wasserstein Debt Opportunities Management serves as the investment adviser. 400,000 of the reported units represent options, which have not been exercised, beneficially owned by private investment funds for which Wasserstein Debt Opportunities Management serves as the investment adviser. The general partner of Wasserstein Debt Opportunities Management is WDO Management GP, LLC (the “Wasserstein General Partner”). Rajay Bagaria is a control person of Wasserstein Debt Opportunities Management and manager of the Wasserstein General Partner, and could be deemed to share such indirect beneficial ownership with Wasserstein Debt Opportunities Management and the Wasserstein General Partner. Additionally, Mr. Bagaria personally owns 462,250 units, over which he has sole voting power and sole dispositive power, and such units are reflected in the table. Joseph Dutton is a control person of Wasserstein Debt Opportunities Management and could be deemed to share such indirect beneficial ownership with Wasserstein Debt Opportunities Management. Mr. Bagaria and Mr. Dutton each disclaim any beneficial ownership of any such units of common units representing limited partnership interest in excess of their actual pecuniary interest therein. The business address of Wasserstein Debt Opportunities Management is 1185 Avenue of the Americas, 39th Floor, New York, New York 10036.

(4)

Based on the Schedule 13G/A filed with the SEC on February 13, 2024. According to the Schedule 13G/A, Dorset Partners LLC has sole voting power and sole dispositive power over 4,325,000 units. According to the Schedule 13G/A, David M. Knott, Jr., president of Dorset Management Corporation, has sole voting power and sole dispositive power over 4,407,000 units and shared voting power and shared dispositive power over zero units. According to the Schedule 13G/A, Knott Partners, L.P. has sole voting power and sole dispositive power over 4,069,276 units and shared voting power and shared dispositive power over zero units. The business address of Dorset Management Corporation is 485 Underhill Boulevard, Suite 205, Syosset, New York 11791.

(5)

Includes common units that are owned by the spouse and children of Amy M. Schumacher, for which she disclaims beneficial ownership.

(6)

Jennifer G. Straumins disclaims beneficial ownership of all common units reported herein. The number of shares after the Conversion includes 825,000 shares of common stock and 300,000 warrants to purchase shares of common stock, which Ms. Straumins will receive upon consummation of the Conversion.

(7)

Ownership of common unit amounts for our named executive officers and other current executive officers excludes outstanding phantom unit awards, both vested and unvested as of May 24, 2024, which we expect to settle in common units.

 

87


Table of Contents

THE RESTRUCTURING AGREEMENT

The following describes the material provisions of the Restructuring Agreement, as amended by the First Amendment to the Restructuring Agreement, which are attached as Annex B and Annex B-1, respectively, to this proxy statement/prospectus and incorporated by reference herein. The description in this section and elsewhere in this proxy statement/prospectus is qualified in its entirety by reference to the Restructuring Agreement, as amended. This summary does not purport to be complete and may not contain all of the information about the Restructuring Agreement that is important to you. The Partnership and New Calumet encourage you to read carefully the Restructuring Agreement, and the First Amendment thereto, carefully and in their entirety.

The Restructuring Agreement and this summary of its terms have been included to provide you with information regarding the terms of the Restructuring Agreement.

Factual disclosures about the Partnership Entities or the Sponsor Parties or any of their respective subsidiaries or affiliates contained in this proxy statement/prospectus or their respective public reports filed with the SEC, if any, may supplement, update or modify the factual disclosures about the Partnership Entities or the Sponsor Parties or their respective subsidiaries or affiliates contained in the Restructuring Agreement and described in this summary. The representations, warranties and covenants made in the Restructuring Agreement by the Partnership Entities and the Sponsor Parties, as applicable, were qualified and subject to important limitations agreed to by the Partnership Entities and the Sponsor Parties, respectively, in connection with negotiating the terms of the Restructuring Agreement. In particular, in your review of the representations and warranties contained in the Restructuring Agreement and described in this summary, it is important to bear in mind that the representations and warranties were negotiated with the principal purposes of allocating risk between the parties to the Restructuring Agreement, rather than establishing matters as facts. The representations and warranties may also be subject to a contractual standard of materiality different from those generally applicable to stockholders or unitholders and reports and documents filed with the SEC. For the foregoing reasons, the representations, warranties and covenants or any descriptions of those provisions should not be read alone.

The Conversion

On November 9, 2023, the Partnership, the General Partner and the Sponsor Parties entered into the Restructuring Agreement, in order to effectuate a corporate conversion of the Partnership from a master limited partnership to a Delaware corporation, subject to the terms and conditions set forth in the Restructuring Agreement. On February 9, 2024, the Partnership, the General Partner and the Sponsor Parties entered into the First Amendment to the Restructuring Agreement to reflect (i) the pre-closing election by the General Partner to be taxed as a corporation, (ii) as conditions for the Conversion, unitholder approval of (1) Calumet, Inc.’s board classification and (2) the Conversion Agreement, and (iii) revisions to The Heritage Group’s board nomination rights.

Under the Restructuring Agreement, the Partnership, the General Partner and the Sponsor Parties agreed to:

 

   

negotiate and enter into the Conversion Agreement providing for the Conversion within three months from November 9, 2023;

 

   

submit the Conversion Agreement and other matters related thereto to the Partnership unitholders for approval;

 

   

if the Partnership unitholder approval is obtained, effect the Conversion promptly after such approval; and

 

   

negotiate and approve the New Calumet Bylaws, the New Calumet Charter, the Stockholders Agreement, the Warrant Agreement, and the Registration Rights Agreement, in each case to reflect the Conversion steps and the terms and conditions of the Conversion as set forth on the exhibits to the Restructuring Agreement.

 

88


Table of Contents

Covenants

The parties to the Restructuring Agreement made the covenants described below:

Conduct of Business Pending the Effective Time of the GP Merger

Each Partnership Entity has agreed that during the period from the date of the Restructuring Agreement until the earlier of the effective time of the GP Merger or the termination of the Restructuring Agreement, unless (i) required by applicable law, (ii) expressly contemplated by the Restructuring Agreement, (iii) contemplated by the Conversion Agreement or the Conversion, (iv) required by the applicable entities’ governing documents, or (v) consented to in writing by the Sponsor Parties (which consent may not be unreasonably withheld, delayed or conditioned), each Partnership Entity will: (a) conduct its business in the ordinary course of business consistent with past practice, (b) use commercially reasonable efforts to maintain and preserve intact its business organization and the goodwill of those having business relationships with it, (c) use commercially reasonable efforts to keep in full force and effect all material permits and all material insurance policies maintained by the Partnership Entities, other than changes to such policies made in the ordinary course of business, and (d) use commercially reasonable efforts to comply in all material respects with all applicable laws.

During the period from the date of the Restructuring Agreement until the earlier of the effective time of the GP Merger or the termination of the Restructuring Agreement, unless (i) required by applicable law, (ii) expressly contemplated by the Restructuring Agreement, any ancillary documents or the disclosure schedules attached to the Restructuring Agreement or (iii) the Sponsor Parties consent in writing (which consent will not be unreasonably withheld, delayed or conditioned), none of the Partnership Entities will, subject to certain exceptions set forth in the Restructuring Agreement:

 

   

adopt or propose any change to any of their organizational documents in effect on the date of the Restructuring Agreement;

 

   

other than the grant of awards under the Calumet LTIP (as defined in “Description of the New Calumet Amended and Restated Long-Term Incentive Plan”) or issuances of common units upon vesting or settlement of awards under the Calumet LTIP that are outstanding on the date of the Restructuring Agreement or otherwise granted in compliance with the Restructuring Agreement in the ordinary course of business consistent with past practices, issue, sell, pledge, dispose of, grant, transfer or encumber any of their equity securities, or securities convertible or exchangeable into or exercisable for any shares of such equity securities, or any options, warrants or other rights of any kind to acquire any equity securities or such convertible or exchangeable securities or interests;

 

   

split, combine or reclassify any of its equity securities or issue or authorize the issuance of any other securities in respect of, in lieu of or in substitution for their equity securities

 

   

declare, set aside or pay any distributions in respect of any of their equity securities or split, combine or reclassify any of their equity securities, other than cash distributions by one subsidiary of the Partnership to another subsidiary of the Partnership in the ordinary course of business or cash distributions to their respective equity holders required under their respective organizational documents;

 

   

settle, propose to settle or compromise any action before a governmental authority if such settlement, proposed settlement or compromise (i) with respect to the payment of monetary damages, involves the payment of monetary damages that exceed $1,000,000 in the aggregate (together with all other settlements or compromises after the date of the Restructuring Agreement), net of any amounts covered by insurance that the Partnership Entities expect to be promptly paid by the applicable insurer, (ii) that imposes any material equitable or non-monetary relief, penalty or restriction on any Partnership Entity or (iii) that would reasonably be expected to affect the rights or defenses available to any Partnership Entity in any related or similar claims that, individually or in the aggregate, are material to the Partnership Entities, taken as a whole;

 

89


Table of Contents
   

recommend, propose, announce, adopt or vote to adopt a plan of complete or partial dissolution or liquidation, in each case, that would (i) prevent or materially impede or delay the ability of the parties to satisfy any of the conditions to, or the consummation of, the transactions set forth in the Restructuring Agreement or (ii) adversely affect in a material way the rights of holders of the securities of any Partnership Entity;

 

   

except for transactions solely between or among the Sponsor Parties and/or the Partnership Entities that will not result in any obligation or liability to any party other than the Sponsor Parties and/or the Partnership Entities, make any acquisition of any other person, business or asset or make any loans, advances or capital contributions to, or investments in, any other person with a value (including assumed debt, which term, for the avoidance of doubt, excludes any asset retirement obligations) in excess of $5,000,000 in the aggregate;

 

   

transfer, sell, lease, license, mortgage, pledge, surrender, encumber, divest, cancel or abandon or otherwise dispose of any of the Partnership Entities’ material assets, product lines or businesses, including any equity interests of any of the Partnership Entities, except (i) in connection with goods or services provided in the ordinary course of business and sales of obsolete assets, or (ii) for sales, leases, licenses or other dispositions of assets with a fair market value not in excess of $1,000,000 in the aggregate;

 

   

except for (x) transactions solely between or among the Sponsor Parties and/or the Partnership Entities that will not result in any obligation or liability to any party other than the Sponsor Parties and/or the Partnership Entities, and (y) borrowings or loans permitted under the credit facilities of the Partnership Entities existing as of the date of the Restructuring Agreement, (i) incur, assume or guarantee any indebtedness for borrowed money, (ii) issue, assume or guarantee any debt securities, (iii) grant any option, warrant or right to purchase any debt securities, or (iv) issue any securities convertible into or exchangeable for any debt securities of others, other than any such actions contemplated in (i) through (iv), as would not, taken together, result in the incurrence or guarantee of indebtedness or issuance of debt securities with a value in excess of $1,000,000 in the aggregate;

 

   

make any change to any of their accounting policies or procedures, except as required by changes after the date hereof in accordance with GAAP;

 

   

(i) change any material method of tax accounting, (ii) make, change or revoke any material tax election, (iii) settle or compromise any material liability for taxes, (iv) file any materially amended tax return, (v) enter into any written agreement with any governmental authority with respect to any material amount of Taxes, (vi) surrender any right to claim a refund for any material amount of Taxes, or (vii) consent to an extension of the statute of limitations applicable to any material Tax claim or assessment; or

 

   

agree, authorize or commit to do any of the foregoing.

Preparation of Registration Statement

In connection with the preparation and filing of this proxy statement/prospectus and the registration statement of which this proxy statement/prospectus forms a part, each of the Sponsor Parties and the Partnership Entities has agreed to use its reasonable best efforts to have the registration statement declared effective under the Securities Act as promptly as practicable after such filing, ensure that the registration statement and this proxy statement/prospectus complies in all material respects with the applicable provisions of the Exchange Act and/or the Securities Act, and keep the registration statement effective for so long as necessary to complete the transactions contemplated under the Restructuring Agreement.

Special Meeting and Unitholder Approval

The Partnership has agreed to hold a special meeting of the Partnership unitholders as promptly as practicable for purposes of obtaining the Partnership unitholder approval. See “The Special Meeting.”

 

90


Table of Contents

The Restructuring Agreement also requires the Partnership, through the GP Board, to recommend to the Partnership unitholders the approval of the Conversion, and to use reasonable best efforts to obtain such approval from the Partnership unitholders.

Regulatory Approvals

Each of the Partnership and the Sponsor Parties have agreed to use their respective reasonable best efforts to file, as promptly as practicable after the execution of the Conversion Agreement, the notification and report forms required under the HSR Act. In the event that the parties receive a request for information or documentary material pursuant to the HSR Act, the parties will use their respective reasonable best efforts to respond to such request as promptly as practicable or as otherwise agreed by the parties, and counsel for the parties will closely cooperate during the entirety of any such request review process.

Exchange Listing; Delisting

Prior to the closing of the Conversion, the Partnership will use reasonable best efforts (i) to cause the common stock to be issued pursuant to the Conversion Agreement approved for listing on the Nasdaq on or prior to the closing date, subject to official notice of issuance, and (ii) to cause the delisting of common units from the Nasdaq and the termination of the registration of the common units under the Exchange Act as soon as practicable following the Conversion.

Litigation

In the event that any unitholder litigation related to the Restructuring Agreement, the ancillary documents, or the transactions contemplated thereby is brought, or to the Partnership’s knowledge, threatened in writing, against the Partnership and/or the members of the GP Board prior to the effective time of the GP Merger, the Partnership will promptly notify the Sponsor Parties of any such litigation and will keep the Sponsor Parties reasonably informed with respect to the status.

Efforts

Each of the parties has agreed to cooperate and use its commercially reasonable efforts (unless another standard is expressly required under the Restructuring Agreement) to take all actions and to cooperate with each other party in doing, all things necessary to consummate the transactions contemplated by the Restructuring Agreement and to satisfy the respective closing conditions. In addition, no party will take any action that would reasonably be expected to materially impede or delay the Conversion, including the satisfaction of the respective closing conditions.

Indemnification; Directors’ and Officers’ Insurance

The Restructuring Agreement provides that the Sponsor Parties will cause New Calumet to honor all rights to indemnification, advancement of expenses, elimination of liability and exculpation from liabilities for acts or omissions occurring at or prior to the effective time of the GP Merger (including the transactions contemplated by the Restructuring Agreement) in favor of persons who are or have been directors and officers of Partnership Entities prior to such effective time as provided in the organizational documents of the Partnership Entities. The Sponsor Parties will for a period of six years following the effective time of the GP Merger, ensure that the organizational documents of New Calumet (or its successor entities) contain provisions substantially no less advantageous regarding the indemnification, elimination of liability, advancement of expenses and exculpation of their present and former directors and officers (among others) than are set forth in the organizational documents of the Partnership Entities as of the date of the Restructuring Agreement.

In addition, for a period of at least six years from and after the effective time of the GP Merger, the Sponsor Parties will cause New Calumet to maintain for the benefit of the directors and officers of the Partnership

 

91


Table of Contents

Entities, as of such effective time, an insurance and indemnification policy covering events occurring prior to such effective time that is not less favorable in the aggregate than the existing policies of the Partnership Entities or, if such substantially equivalent insurance coverage is unavailable, the best coverage that is reasonably available, so long as the annual cost of such coverage does not exceed 300% of the current annual premium paid by the Partnership Entities for such purpose; provided, that if the cost of such insurance coverage exceeds such amount, New Calumet will obtain a policy with the greatest coverage available for a cost not exceeding such amount. As an alternative, prior to the effective time of the GP Merger, the Sponsor Parties may elect to cause the Partnership to purchase a “tail policy” with respect to acts or omissions occurring or alleged to have occurred prior to the effective time of the GP Merger that were committed or alleged to have been committed by the directors and officers of the Partnership Entities, and the Partnership will not spend more than an amount equal to 300% of the current annual premiums paid by the Partnership Entities for such purpose.

Tax Treatment

General Partner Entity Classification Election and GP Merger

Effective prior to the consummation of the GP Merger, the General Partner intends to elect to be taxable as a corporation for U.S. federal income tax purposes. The Election will result in a deemed transfer by the General Partner of all of its assets and liabilities to GP Corp in exchange for stock of GP Corp, and immediately thereafter, the General Partner is deemed to liquidate by distributing the stock of GP Corp to the Sponsor Parties. The receipt of shares of common stock and warrants by the Sponsor Parties in exchange for stock of GP Corp pursuant to the GP Merger is generally intended to qualify as an exchange described in Section 351 of the Code for U.S. federal income tax purposes. A Sponsor Party generally will not recognize gain or loss as a result of the GP Transactions, except as discussed below. Accordingly, it is intended that:

 

   

the Sponsor Parties will generally recognize no gain or loss on their deemed receipt of GP Corp stock in exchange for equity interests in the General Partner deemed surrendered pursuant to the Election, except that, if the General Partner’s liabilities and the General Partner’s share of the liabilities of the Partnership for tax purposes exceeds the General Partner’s tax basis in its GP Interest, the General Partner will recognize gain to the extent of that excess amount, which gain will be allocated to Sponsor Parties;

 

   

each Sponsor Party’s aggregate tax basis in the shares of GP Corp stock deemed received as a result of the Election will generally be the same as its aggregate tax basis in the equity interests in the General Partner deemed surrendered, reduced by the Sponsor Party’s share of the liabilities of the General Partner and of the Partnership for tax purposes, and increased by any gain recognized by the Sponsor Party as a result of the Election, with such aggregate basis allocated pro rata among each share of GP Corp stock deemed received as a result of the Election;

 

   

the holding period of shares of GP Corp stock deemed received as a result of the Election will generally include the holding period of the equity interests in the General Partner deemed surrendered, except to the extent the shares of GP Corp stock are received by such holder in exchange for interests in assets of the General Partner that are neither capital assets nor Section 1231 assets, in which case the holding period of such shares of GP Corp stock begins on the day following the date of the Election;

 

   

the Sponsor Parties will generally recognize no gain or loss on the receipt of equity interests in the GP Merger, except with respect to the warrants received. The amount of gain required to be recognized by a Sponsor Party on the receipt of warrants will be equal to the lesser of (i) the fair market value of warrants received and (ii) the amount of remaining built-in gain in the Sponsor Party’s equity interests in the General Partner deemed surrendered in the GP Merger;

 

   

each Sponsor Party’s aggregate tax basis in the shares of common stock received in the GP Merger will generally be the same as their aggregate tax basis in the GP Corp stock deemed surrendered, reduced by the fair market value of the warrants received by the Sponsor Party, and increased by any gain recognized by the Sponsor Party as a result of the GP Merger, with such aggregate basis allocated pro rata among each share of common stock received in the GP Merger;

 

92


Table of Contents
   

each Sponsor Party’s tax basis in the warrants received in the GP Merger will equal the fair market value of the warrants on the date of the GP Merger;

 

   

the holding period of shares of common stock received in the GP Merger in exchange for the GP Corp stock will generally include the holding period of the GP Corp stock deemed surrendered; and

 

   

the holding period of warrants received in the GP Merger will begin on the day following the date of the GP Merger.

The gain, if any, required to be recognized by a Sponsor Party as a result of the Election generally will be taxable as capital gain. However, a portion of the deemed amount realized may be separately computed and taxed as ordinary income under Section 751 of the Code to the extent attributable to “unrealized receivables,” including depreciation recapture, or to “inventory items” owned by the General Partner, the Partnership and its subsidiaries. Additionally, any gain recognized in excess of depreciation recapture that is attributable to assets of the Partnership that are subject to the allowance for depreciation may be taxed as ordinary income.

Capital gain recognized by a Sponsor Party on the receipt of warrants will generally be long-term capital gain if the Sponsor Party is deemed to have held its equity interests in the General Partner for more than one year as of the effective time of the GP Merger. If the Sponsor Party is an individual, such long-term capital gain will generally be eligible for reduced rates of taxation.

Passive losses that were not deductible by a Sponsor Party in prior taxable periods because they exceeded a Sponsor Party’s passive income may be utilized to offset any gain recognized from the GP Transactions and may be deducted in full upon the Sponsor Party’s taxable disposition of all of its shares of common stock received in the GP Merger.

The U.S. federal income tax consequences of the GP Transactions to a Sponsor Party are complex and will depend on such Sponsor Party’s own personal tax situation. Accordingly, each Sponsor Party is strongly urged to consult its own tax advisor with respect to the specific tax consequences of the GP Transactions, taking into account its own particular circumstances. See “Material U.S. Federal Income Tax Consequences” for a more complete discussion of certain U.S. federal income tax consequences of the GP Transactions.

Partnership Merger

A unitholder’s receipt of shares of common stock in exchange for common units pursuant to the Partnership Merger is generally intended to qualify as an exchange described in Section 351 of the Code for U.S. federal income tax purposes. Thus, a unitholder generally will not recognize gain or loss on the receipt of shares of common stock in exchange for common units, except as described below. Accordingly, it is intended that:

 

   

unitholders will generally recognize no gain or loss on their receipt of shares of common stock in exchange for common units, except that a unitholder whose share of the nonrecourse liabilities of the Partnership for tax purposes exceeds such unitholder’s tax basis in its common units will recognize gain to the extent of that excess amount;

 

   

each unitholder’s aggregate tax basis in the shares of common stock received in the Partnership Merger will generally be the same as their aggregate tax basis in the common units surrendered in exchange therefor, reduced by the unitholder’s share of the Partnership’s nonrecourse liabilities surrendered, and increased by any gain recognized by the unitholder in the Partnership Merger, with such aggregate basis allocated pro rata among each share of common stock received in the Partnership Merger; and

 

   

the holding period of shares of common stock received in exchange for common units will generally include the holding period of the common units for which they are exchanged, except to the extent the shares of common stock are received by such holder in exchange for interests in assets of the Partnership that are neither capital assets nor Section 1231 assets, in which case the holding period of such shares of common stock begins on the day following the date of the Partnership Merger.

 

93


Table of Contents

Capital gain recognized by a unitholder, if any, will generally be long-term capital gain if the unitholder has held its common units for more than one year as of the effective time of the Partnership Merger. If the unitholder is an individual, such long-term capital gain will generally be eligible for reduced rates of taxation. However, a portion of the deemed amount realized may be separately computed and taxed as ordinary income under Section 751 of the Code to the extent attributable to “unrealized receivables,” including depreciation recapture, or to “inventory items” owned by the Partnership and its subsidiaries.

Passive losses that were not deductible by a unitholder in prior taxable periods because they exceeded a unitholder’s share of the Partnership’s income may be utilized to offset any gain recognized in the Partnership Merger and may be deducted in full upon the unitholder’s taxable disposition of all of its shares of common stock received in the Partnership Merger.

The U.S. federal income tax consequences of the Partnership Merger to a unitholder are complex and will depend on such unitholder’s own personal tax situation. Accordingly, each unitholder is strongly urged to consult its own tax advisor with respect to the specific tax consequences of the Partnership Merger, taking into account its own particular circumstances. See “Material U.S. Federal Income Tax Consequences” for a more complete discussion of certain U.S. federal income tax consequences of the Partnership Merger.

Conflicts Committee

Prior to the earlier of the effective time of the GP Merger and the termination of the Restructuring Agreement, the GP Board will not, and the Sponsor Parties will not cause the GP Board to, without the consent of a majority of the then-existing members of the Conflicts Committee, eliminate the Conflicts Committee, revoke or diminish the authority of the Conflicts Committee or remove or cause the removal of any member of the GP Board who is a member of the Conflicts Committee either as a director or as a member of such committee, unless such removal is for cause.

Voting and Consent

Each Sponsor Party agrees that, until the earlier of the effective time of the GP Merger and the termination of the Restructuring Agreement, (i) at the special meeting or any other meeting of the Partnership unitholders or any vote or consent of the Partnership unitholders, such Sponsor Party will vote or deliver a consent with respect to, all of the interests in the Partnership then owned beneficially or of record by such Sponsor Party or any of its subsidiaries, as of the record date for such meeting or consent, in favor of the approval of the Conversion Agreement and the Partnership Merger contemplated by the Conversion Agreement and (ii) such Sponsor Party will not, and will cause each of its subsidiaries not to, directly or indirectly, transfer, assign or otherwise dispose of any interests in the Partnership owned by such Sponsor Party or its subsidiaries, other than a transfer, assignment or disposition by and between such Sponsor Party and its subsidiaries, any of its affiliate or any trust or charitable organizations controlled by such Sponsor Party; provided, that any such affiliate, trust or charitable organization agrees to be bound by same provisions with respect to voting or consent of such interests. Each Sponsor Party consented to, and has caused or will cause, to the extent necessary and to the extent permitted by the organizational documents of its subsidiaries, each of its subsidiaries to consent to, the Restructuring Agreement and the transactions contemplated thereby, including the Conversion.

Conditions to Consummation of the Transactions Contemplated by the Restructuring Agreement

The obligations of each of the parties to consummate the transactions contemplated by the Restructuring Agreement will be subject to the fulfilment of the following conditions, or, to the extent permitted by applicable law, a written waiver by each of the Partnership and the Sponsor Parties on or prior to the effective time of the GP Merger:

 

   

the Conversion Agreement must have been duly executed and delivered and the form of the certificates of merger for the Partnership Merger and the GP Merger must have been agreed to between the Sponsor Parties and the Partnership;

 

94


Table of Contents
   

the Partnership unitholder approval of the Conversion Agreement and the classified board structure must have been obtained;

 

   

no order issued by any governmental authority or other legal restraint or prohibition that prevents the transactions contemplated in the Restructuring Agreement, or declares such transactions unlawful or would cause such transactions to be rescinded, is in effect;

 

   

the registration statement of which this proxy statement/prospectus forms a part must have been declared effective by the SEC under the Securities Act and no stop order suspending the effectiveness of the registration statement will have been issued by the SEC and remain in effect and no proceedings for that purpose will have been initiated or threatened by the SEC (unless subsequently withdrawn);

 

   

the common stock issuable pursuant to the Conversion Agreement must have been approved for listing on the Nasdaq, subject to official notice of issuance; and

 

   

any governmental consent or approval required to be obtained pursuant to any applicable antitrust law will have been duly obtained and will be in full force and effect, and all terminations or expirations of waiting periods imposed by any governmental authority necessary for the consummation of the transactions contemplated by the Restructuring Agreement, including under any antitrust law, must have occurred.

The obligations of the Partnership to effect the transactions contemplated by the Restructuring Agreement are subject to the satisfaction or waiver of the following additional conditions:

 

   

the representations and warranties in the Restructuring Agreement of the Sponsor Parties being true and correct as of the closing date of the transactions contemplated by the Restructuring Agreement, subject to certain standards, including materiality and material adverse effect qualifications, as described herein;

 

   

the Sponsor Parties having performed in all material respects all obligations required to be performed or complied with by each of them prior to the closing date of the transactions contemplated by the Restructuring Agreement; and

 

   

the receipt by the Partnership of an officer’s certificate signed on behalf of the Sponsor Parties by an officer or other authorized person of the Sponsor Parties certifying that the preceding conditions have been satisfied.

The obligations of the Sponsor Parties to effect the transactions contemplated by the Restructuring Agreement are subject to the satisfaction or waiver of the following additional conditions:

 

   

the representations and warranties in the Restructuring Agreement of the Sponsor Parties being true and correct as of the closing date of the transactions contemplated by the Restructuring Agreement, subject to certain standards, including materiality and material adverse effect qualifications, as described herein;

 

   

the Partnership Entities having performed in all material respects all obligations required to be performed or complied with by such entity prior to the closing date of the transactions contemplated by the Restructuring Agreement; and

 

   

the receipt by the Sponsor Parties of an officer’s certificate signed on behalf of the Partnership by an officer or other authorized person of the Partnership certifying that the preceding conditions have been satisfied.

For purposes of the Restructuring Agreement, (1) the term “material adverse effect,” when used with respect to the Partnership Entities, means any change, circumstance, effect or condition that, individually or in the aggregate, (i) is materially adverse to the assets, financial condition, results of operations or business of such entities, taken as a whole, or (ii) materially impedes the ability of such person to consummate the transactions

 

95


Table of Contents

contemplated by the Restructuring Agreement, other than, in the case of clause (i) only, any change, circumstance, effect or condition (a) in the specialty products industries generally (including any change in the prices of crude oil, natural gas, natural gas liquids or other hydrocarbon products, industry margins or any regulatory changes or changes in applicable law), (b) in United States or global economic conditions or financial markets in general or (c) the announcement or pendency of the Restructuring Agreement, or the matters contemplated hereby; provided, that in the case of clauses (a) and (b), the impact on such entities is not disproportionately adverse as compared to others in the industries referred to in clause (a) of this definition generally; and (2) the term “material adverse effect,” when used with respect to the Sponsor Parties, means any change, circumstance, effect or condition that prevents or materially impedes the Sponsor Parties from consummating the transactions contemplated by the Restructuring Agreement.

Representations and Warranties

The Restructuring Agreement contains representations and warranties by the Partnership Entities, on the one hand, and the Sponsor Parties, on the other hand. These representations and warranties have been made solely for the benefit of the other parties to the Restructuring Agreement and:

 

   

may be intended not as statements of fact, but rather as a way of allocating the risk to one of the parties if those statements prove to be inaccurate; and

 

   

may apply standards of materiality (including material adverse effect qualifications) in a way that is different from what may be viewed as material to you or other investors.

Accordingly, these representations and warranties should not be read alone, but instead should be read only in conjunction with the information provided elsewhere in this proxy statement/prospectus, which may include information that updates, modifies or qualifies the information set forth in the representations and warranties.

The representations and warranties made by the Sponsor Parties relate to, among other things:

 

   

corporate organization, standing and similar corporate matters;

 

   

due authorization of the Restructuring Agreement and the transactions contemplated by the Restructuring Agreement, absence of any conflicts with third parties created by such transactions and the voting requirements for such transactions;

 

   

no conflicts with organizational documents or violation of applicable law;

 

   

required consents and approvals of governmental entities in connection with the transactions contemplated by the Restructuring Agreement;

 

   

ownership of the equity interests in the Partnership;

 

   

absence of litigation;

 

   

absence of brokers other than those noted therein;

 

   

information supplied to be included in the Registration Statement;

 

   

no current plan or intention to sell, exchange or otherwise dispose of the common stock received in connection with the Conversion; and

 

   

no other representations and warranties except as otherwise set forth in the Restructuring Agreement.

The representations and warranties made by the Partnership and the General Partner relate to, among other things:

 

   

corporate organization, standing and similar corporate matters;

 

   

capital structure;

 

96


Table of Contents
   

due authorization of the Restructuring Agreement and the transactions contemplated by the Restructuring Agreement, absence of any conflicts with third parties created by such transactions and the voting requirements for such transactions;

 

   

no conflicts with organizational documents or violation of applicable law;

 

   

no breach or default under any debt agreement (as defined therein);

 

   

required consents and approvals of governmental entities in connection with the transactions contemplated by the Restructuring Agreement;

 

   

approval by the Conflicts Committee and the GP Board of the Restructuring Agreement and the transactions contemplated by the Restructuring Agreement;

 

   

receipt by the Conflicts Committee of the fairness opinion from Evercore;

 

   

absence of litigation;

 

   

absence of certain changes;

 

   

absence of brokers other than those noted therein;

 

   

information supplied to be included in the Registration Statement; and

 

   

no other representations and warranties except as otherwise set forth in the Restructuring Agreement.

The representations and warranties in the Restructuring Agreement do not survive after the closing of the Conversion. Certain representations and warranties in the Restructuring Agreement are subject to materiality and material adverse effect qualifications, as described above.

Termination

The Restructuring Agreement may be terminated and the transactions contemplated by the Restructuring Agreement abandoned at any time prior to the effective time of the GP Merger by mutual written agreement of the Partnership (with prior approval by the Conflicts Committee) and the Sponsor Parties.

In addition, either the Partnership or Sponsor Parties may terminate the Restructuring Agreement at any time prior to the effective time of the GP Merger if:

 

   

the special meeting is concluded and the Partnership unitholder approval is not obtained;

 

   

any order or other legal restraint is in effect and has become final and nonappealable or any law that permanently makes consummation of the transactions contemplated by the Restructuring Agreement illegal or otherwise prohibited is in effect; or

 

   

the Conversion has not been consummated prior to the date that is 180 days after the execution of the Conversion Agreement (the “Termination Date”); provided, that the Termination Date may be extended for an additional three months upon the mutual agreement of the parties; and provided further, such right to terminate will not be available if the failure of the party so requesting termination to perform any covenant or obligation under the Restructuring Agreement has been the primary cause of the failure of the closing to occur on or prior to such date.

The Partnership also may terminate the Restructuring Agreement if:

 

   

any Sponsor Party breaches or fails to perform any of its representations, warranties, covenants or agreements such that certain closing conditions would not be satisfied, or if such breach or failure is capable of being cured, such breach or failure has not been cured by the earlier of (i) the Termination Date and (ii) 45 days following receipt of the written notice by the Sponsor Parties of notice of such breach or failure from the Partnership; provided that the Partnership is not then in any material breach of the Restructuring Agreement.

 

97


Table of Contents

The Sponsor Parties also may terminate the Restructuring Agreement if:

 

   

any Partnership Entity breaches or fails to perform any of its representations, warranties, covenants or agreements such that certain closing conditions would not be satisfied, or if such breach or failure is capable of being cured, such breach or failure has not been cured by the earlier of (i) the Termination Date and (ii) 45 days following receipt of the written notice by the Partnership of notice of such breach or failure from the Sponsor Parties; provided that no Sponsor Party is then in any material breach of the Restructuring Agreement.

Amendment and Supplement; Waiver and Consent

At any time prior to the effective time of the GP Merger, the Restructuring Agreement may be amended or supplemented in any and all respects by written agreement of the parties thereto, and, in the case of a waiver, by written agreement by the party against whom the waiver is to be effective; provided that, the Partnership board of directors may not authorize such amendment, supplement or waiver unless it has been approved by the Conflicts Committee; provided further, the Restructuring Agreement may not be amended if such amendment would require further approval by the Partnership unitholders under applicable law, the Partnership Agreement or stock exchange rule.

 

98


Table of Contents

THE CONVERSION AGREEMENT

The following describes the material provisions of the Conversion Agreement, as amended by the First Amendment to the Conversion Agreement, which are attached as Annex A and Annex A-1, respectively, and incorporated by reference herein. The description in this section and elsewhere in this proxy statement/prospectus is qualified in its entirety by reference to the Conversion Agreement, as amended. This summary does not purport to be complete and may not contain all of the information about the Conversion Agreement that is important to you. The Partnership and New Calumet encourage you to read the Conversion Agreement, and the First Amendment thereto, carefully and in their entirety before making any decisions regarding the Conversion as it is the legal document governing the Conversion.

The Conversion Agreement and this summary of its terms have been included to provide you with information regarding the terms of the Conversion Agreement.

Factual disclosures about the Partnership Entities or the Sponsor Parties or any of their respective subsidiaries or affiliates contained in this proxy statement/prospectus or their respective public reports filed with the SEC, if any, may supplement, update or modify the factual disclosures about the Partnership Entities or the Sponsor Parties or their respective subsidiaries or affiliates contained in the Conversion Agreement and described in this summary. The representations, warranties and covenants made in the Conversion Agreement by the Partnership Entities and the Sponsor Parties, as applicable, were qualified and subject to important limitations agreed to by the Partnership Entities and the Sponsor Parties, respectively, in connection with negotiating the terms of the Conversion Agreement. In particular, in your review of the representations and warranties contained in the Conversion Agreement and described in this summary, it is important to bear in mind that the representations and warranties were negotiated with the principal purposes of allocating risk between the parties to the Conversion Agreement, rather than establishing matters as facts. The representations and warranties may also be subject to a contractual standard of materiality different from those generally applicable to stockholders or unitholders and reports and documents filed with the SEC. For the foregoing reasons, the representations, warranties and covenants or any descriptions of those provisions should not be read alone.

The Mergers

Subject to the terms and conditions of the Conversion Agreement and in accordance with Delaware law, (i) at the effective time of the Partnership Merger, Merger Sub II, a wholly owned subsidiary of New Calumet, will merge with and into the Partnership, with the Partnership continuing as the surviving entity and a wholly owned subsidiary of New Calumet; and (ii) immediately after the Partnership Merger, at the effective time of the GP Merger, Merger Sub I, a wholly owned subsidiary of New Calumet, will merge with and into the General Partner, with the General Partner continuing as the surviving entity and a wholly owned subsidiary of New Calumet.

Effective Time; Closing

The effective time of the Partnership Merger and the GP Merger, respectively, will occur at such time as specified in the applicable certificate of merger to be duly filed with the Secretary of State of the State of Delaware.

The closing of the Conversion will take place as soon as practicable after the satisfaction or waiver of the conditions set forth in the Conversion Agreement (other than conditions that by their nature are to be satisfied at the closing but subject to the satisfaction or waiver of those conditions), unless another date or place is mutually agreed upon in writing by the parties to the Conversion Agreement.

Conditions to Consummation of the Mergers

The parties to the Conversion Agreement may not complete the Partnership Merger unless each of the following conditions is satisfied or waived:

 

   

the Conversion Agreement and the classified board structure must have been approved by the holders of a majority of the outstanding common units at the special meeting;

 

99


Table of Contents
   

no order or other legal restraints are in effect enjoining, restraining, preventing or prohibiting the consummation of the transactions contemplated by the Conversion Agreement or making the consummation of the transactions contemplated by the Conversion Agreement illegal;

 

   

the registration statement of which this proxy statement/prospectus forms a part must have been declared effective under the Securities Act and must not be subject to any stop order suspending the effectiveness of the registration statement or proceedings initiated by the SEC for that purpose;

 

   

the common stock to be issued pursuant to the Conversion Agreement must have been approved for listing on Nasdaq, subject to official notice of issuance;

 

   

all consents or approvals of any governmental authority required to be obtained pursuant to any applicable antitrust law have been duly obtained and are in full force and effect, and all terminations or expirations of waiting periods imposed by any governmental authority necessary for the consummation of the transactions contemplated by the Conversion Agreement, including under any antitrust law, have occurred; and

 

   

the General Partner must have made the Election in accordance with the procedures set forth in IRS Form 8832 and its instructions.

The parties to the Conversion Agreement may not complete the GP Merger unless all conditions to each party’s obligation to effect the Partnership Merger have been satisfied or waived.

The obligations of the Partnership Entities to effect the Mergers are subject to the satisfaction or waiver of the following additional conditions:

 

   

the representations and warranties in the Conversion Agreement of the Sponsor Parties being true and correct as of the closing date of the Conversion, except for such inaccuracies as would not be material in amount or effect; and

 

   

the Sponsor Parties having performed in all material respects all obligations required to be performed by each of them under the Conversion Agreement.

The obligations of the Sponsor Parties to effect the Mergers are subject to the satisfaction or waiver of the following additional conditions:

 

   

the representations and warranties in the Conversion Agreement of the Partnership Entities being true and correct as of the closing date of the Conversion, except for such inaccuracies as would not be material in amount or effect; and

 

   

each Partnership Entity having performed in all material respects all obligations required to be performed by such party under the Conversion Agreement.

The Consideration for the Mergers

At the effective time of the Partnership Merger:

 

   

each outstanding common unit (including each common unit owned by the Sponsor Parties and their respective affiliates) will be exchanged into the right to receive one share of common stock;

 

   

the outstanding limited liability company interests in Merger Sub II will be converted into common units in the surviving Partnership; and

 

   

the outstanding general partner interest and the IDRs in the Partnership will remain outstanding, but will be owned by New Calumet.

At the effective time of the GP Merger:

 

   

all outstanding equity interests of the General Partner will be exchanged into the right to receive an aggregate amount of 5,500,000 shares of common stock and 2,000,000 warrants to purchase common stock; and

 

100


Table of Contents
   

the outstanding limited liability company interests in Merger Sub I will remain outstanding as limited liability company interests in the surviving General Partner.

No Appraisal Rights

No dissenters’ rights or appraisal rights are or will be available to the unitholders with respect to the Partnership Merger or the GP Merger or the other transactions contemplated by the Conversion Agreement.

Exchange Agent

Promptly after the effective time of the Partnership Merger, the General Partner will deposit or cause to be deposited with an exchange agent selected by the General Partner (the “Exchange Agent”) for the benefit of the unitholders, an aggregate number of shares of common stock to be issued in uncertificated form or book-entry form. In addition, the General Partner will deposit or cause to be deposited with the Exchange Agent, as necessary from time to time after the effective time of the Partnership Merger, cash sufficient to pay any dividends the unitholders may be entitled pursuant to the Conversion Agreement (such number of shares of common stock and the amount of any dividends deposited with the Exchange Agent, collectively, the “Exchange Fund”). The Exchange Fund will not be used for any purpose except as contemplated by the Conversion Agreement.

Surrender of Certificates; Book-Entry Units

Pursuant to the Conversion Agreement and after the effective time of the Partnership Merger, the General Partner will cause the Exchange Agent to mail to each record holder of the common units a letter of transmittal and instructions for surrendering the Certificates or Book-Entry Units in exchange for common stock. Upon surrender of Certificates or Book-Entry Units for cancellation to the Exchange Agent, and upon delivery of a letter of transmittal, duly executed and in proper form with respect to such Certificates or Book-Entry Units, and such other documents as may reasonably be required by the Exchange Agent, the holder of such Certificates will receive (after giving effect to any required tax withholdings) common stock in book-entry form for which such common units have been converted and cash in the amount of any unpaid distributions that such holder has the right to receive pursuant to the terms of the Conversion Agreement.

If any Certificate has been lost, stolen or destroyed, the Exchange Agent will issue the common stock issuable in exchange therefor and any unpaid distributions that would be payable or deliverable in respect thereof pursuant to the Conversion Agreement after the holder claiming such Certificate to be lost, stolen or destroyed makes an affidavit of that fact.

Treatment of the Partnership Equity Awards

Pursuant to the Conversion Agreement, at the effective time of the Partnership Merger, each outstanding Partnership Phantom Unit Award will be converted into an award of New Calumet RSUs relating to a number of common stock equal to the product of (a) the number of common units subject to such Partnership Phantom Unit Award as of immediately prior to the effective time of the Partnership Merger, multiplied by (b) the exchange ratio, on substantially the same terms and conditions as were applicable to such Partnership Phantom Unit Award, including payment timing provisions, the form of settlement (i.e., cash or equity-based) and dividend equivalent rights, as applicable.

At the effective time of the Partnership Merger, New Calumet will adopt the New Calumet LTIP, as described in the section entitled “Description of the New Calumet Amended and Restated Long-Term Incentive Plan—Share Reserves—The New Calumet LTIP.”

Adjustments to Prevent Dilution

The consideration for the Mergers will be appropriately adjusted to reflect fully the effect of any unit or share dividend, subdivision, reclassification, recapitalization, split, split-up, unit or share distribution,

 

101


Table of Contents

combination, exchange of limited partner interests or shares or similar transaction with respect to the number of outstanding units prior to the effective time of the Mergers to provide the Partnership unitholders the same economic effect as contemplated by the Conversion Agreement prior to such event.

Withholding

New Calumet, the General Partner, the Partnership, the Exchange Agent, and their affiliates will be entitled to deduct and withhold from any amounts, including the consideration, otherwise payable pursuant to the Conversion Agreement such amounts, if any, as are required to be deducted and withheld with respect to the making of such payment under applicable tax law. To the extent amounts are so withheld, such withheld amounts will be treated as having been paid to the former unitholders in respect of whom such withholding was made.

Dividends and Distributions

No dividends with respect to the common stock issued in the Partnership Merger will be paid to the holder of any un-surrendered Certificates or Book-Entry Units, unless and until such holder shall surrender such Certificates or Book-Entry Units. Subject to the effect of escheat, tax or other applicable law, following surrender of any such certificate or book entry unit, the holder of the common stock issued in exchange therefor will be paid, without interest, (i) the amount of dividends in respect of such common stock with a record date after the effective time of the Partnership Merger and a payment date on or prior to the date of such surrender and not previously paid, and (ii) at the appropriate payment date, the amount of dividends payable with respect to such common stock, with a record date after the effective time of the Partnership Merger but with a payment date subsequent to such surrender.

Termination of Exchange Fund

Any portion of the Exchange Fund that remains unclaimed on the one-year anniversary of the effective time of the Partnership Merger will be delivered to surviving Partnership upon demand by the surviving Partnership. Any holder of the common units who, prior to such time, has not complied with the provisions of the Conversion Agreement will look only to the surviving Partnership for delivery of the common stock issuable as consideration therefor and payment of any dividends in respect thereof payable and/or issuable pursuant to the terms of the Conversion Agreement, in each case, without any interest thereon.

None of Sponsor Parties, the Partnership Entities, the Exchange Agent or any other person will be liable to any former holder of the common units for any amount properly delivered to a public official pursuant to applicable abandoned property, escheat or similar law.

Regulatory Approvals

The completion of the Conversion is subject to antitrust review in the United States. Under the HSR Act and the rules promulgated thereunder, the Conversion cannot be completed until the parties have submitted premerger notification and report forms to the FTC and the DOJ, and the applicable waiting period has expired or has been terminated.

Representations and Warranties

The Conversion Agreement contains representations and warranties by the Partnership Entities, on the one hand, and the Sponsor Parties, on the other hand. These representations and warranties have been made solely for the benefit of the other parties to the Conversion Agreement and:

 

   

may be intended not as statements of fact, but rather as a way of allocating the risk to one of the parties if those statements prove to be inaccurate; and

 

102


Table of Contents
   

may apply standards of materiality (including material adverse effect qualifications) in a way that is different from what may be viewed as material to you or other investors.

Accordingly, these representations and warranties should not be read alone, but instead should be read only in conjunction with the information provided elsewhere in this proxy statement/prospectus, which may include information that updates, modifies or qualifies the information set forth in the representations and warranties.

The representations and warranties made by the Sponsor Parties relate to, among other things:

 

   

due authorization of the Conversion Agreement and the transactions contemplated by the Conversion Agreement, absence of any conflicts with third parties created by such transactions and the voting

 

   

no conflicts with organizational documents or violation of applicable law;

 

   

required consents and approvals of governmental entities in connection with the transactions contemplated by the Conversion Agreement; and

 

   

no other representations and warranties except as otherwise set forth in the Conversion Agreement.

The representations and warranties made by both the Partnership Entities relate to, among other things:

 

   

corporate organization, standing and similar corporate matters;

 

   

capital structure;

 

   

due authorization of the Conversion Agreement and the transactions contemplated by the Conversion Agreement, absence of any conflicts with third parties created by such transactions and the voting

 

   

requirements for such transactions;

 

   

no conflicts with organizational documents or violation of applicable law;

 

   

required consents and approvals of governmental entities in connection with the transactions contemplated by the Conversion Agreement; and

 

   

no other representations and warranties except as otherwise set forth in the Conversion Agreement.

The representations and warranties in the Conversion Agreement do not survive after the closing of the Conversion. Certain representations and warranties in the Conversion Agreement are subject to materiality or material adverse effect qualifications, as described herein.

For purposes of the Conversion Agreement, (1) the term “material adverse effect,” when used with respect to the Partnership Entities, means any change, circumstance, effect or condition that, individually or in the aggregate, (i) is materially adverse to the assets, financial condition, results of operations or business of such entities, taken as a whole, or (ii) materially impedes the ability of such person to consummate the transactions contemplated by the Conversion Agreement, other than, in the case of clause (i) only, any change, circumstance, effect or condition (a) in the specialty products industries generally (including any change in the prices of crude oil, natural gas, natural gas liquids or other hydrocarbon products, industry margins or any regulatory changes or changes in applicable law), (b) in United States or global economic conditions or financial markets in general or (c) the announcement or pendency of the Conversion Agreement, or the matters contemplated hereby; provided, that in the case of clauses (a) and (b), the impact on such entities is not disproportionately adverse as compared to others in the industries referred to in clause (a) of this definition generally; and (2) the term “material adverse effect,” when used with respect to the Sponsor Parties, means any change, circumstance, effect or condition that prevents or materially impedes the Sponsor Parties from consummating the transactions contemplated by the Conversion Agreement.

 

103


Table of Contents

Termination

The Conversion Agreement may be terminated at any time prior to the effective time of the GP Merger by mutual written agreement of the Partnership (with prior approval by the Conflicts Committee) and the Sponsor Parties.

In addition, either the Partnership or Sponsor Parties may terminate the Conversion Agreement at any time prior to the effective time of the GP Merger if:

 

   

the special meeting is concluded and the Partnership unitholder approval is not obtained;

 

   

any order or other legal restraint is in effect and has become final and nonappealable or any law that permanently makes consummation of the transactions contemplated by the Conversion Agreement illegal or otherwise prohibited is in effect;

 

   

the Restructuring Agreement is terminated; or

 

   

the closing of the Conversion has not occurred on or before the Outside Date; provided, that the Outside Date may be extended for an additional three months upon the mutual agreement of the parties; and provided further, such right to terminate will not be available if the failure of the party so requesting termination to perform any covenant or obligation under the Conversion Agreement has been the primary cause of the failure of the closing to occur on or prior to such date.

The Partnership also may terminate the Conversion Agreement if:

 

   

any Sponsor Party breaches or fails to perform any of its representations, warranties, covenants or agreements such that certain closing conditions would not be satisfied, or if such breach or failure is capable of being cured, such breach or failure has not been cured by the earlier of (i) the Outside Date and (ii) 45 days following receipt of the written notice by the Sponsor Parties of notice of such breach or failure from the Partnership; provided that the Partnership is not then in any material breach of the Conversion Agreement.

The Sponsor Parties also may terminate the Conversion Agreement if:

 

   

any Partnership Entity breaches or fails to perform any of its representations, warranties, covenants or agreements such that certain closing conditions would not be satisfied, or if such breach or failure is capable of being cured, such breach or failure has not been cured by the earlier of (i) the Outside Date and (ii) 45 days following receipt of the written notice by the Partnership of notice of such breach or failure from the Sponsor Parties; provided that no Sponsor Party is then in any material breach of the Conversion Agreement.

Directors and Officers of New Calumet

Immediately following the effective time of the GP Merger, (i) unless determined otherwise by the Sponsor Parties, the officers of the General Partner serving immediately prior to the GP Merger will become the officers of New Calumet and (ii) the 10 individuals designated by The Heritage Group will become the board of directors of New Calumet.

Fees and Expenses

The Conversion Agreement provides that each party is solely responsible for the payment of all costs and expenses incurred by such party in connection with the consummation of the transactions contemplated by the Conversion Agreement.

Amendment and Supplement; Waiver and Consent

At any time prior to the effective time of the GP Merger, the Conversion Agreement may be amended or supplemented in any and all respects by written agreement of the parties thereto, and, in the case of a waiver, by

 

104


Table of Contents

written agreement by the party against whom the waiver is to be effective; provided that, the Partnership board of directors may not authorize such amendment, supplement or waiver unless it has been approved by the Conflicts Committee; provided further, the Conversion Agreement may not be amended if such amendment would require further approval by the Partnership unitholders under applicable law, the Partnership Agreement or stock exchange rule.

Other Agreements

Registration Rights Agreement

Prior to the effective time of the Partnership Merger, the New Calumet Board will cause New Calumet to execute and deliver to the Sponsor Parties, and the Sponsor Parties will counter-execute and deliver to New Calumet, the Registration Rights Agreement substantially in the form attached to the Conversion Agreement as Exhibit E, which will become effective upon the consummation of the Conversion.

Pursuant to the Registration Rights Agreement, New Calumet will agree to file a shelf registration statement with respect to all Registrable Securities (as defined in the Registration Rights Agreement) within 30 days of the closing of the Conversion. No more than two times in any 12-month period, the Sponsor Parties may request to sell all or any portion of their Registrable Securities in an underwritten offering so long as the offering is reasonably expected to result in gross proceeds in an aggregate amount of at least $25 million. New Calumet will also grant the Sponsor Parties customary “piggyback” registration rights. The Registration Rights Agreement also provides that New Calumet will pay certain expenses relating to such registrations and indemnify the stockholders against certain liabilities.

Stockholders Agreement

Prior to the effective time of the Partnership Merger, the New Calumet Board will cause New Calumet to execute and deliver to The Heritage Group, and The Heritage Group will counter-execute and deliver to New Calumet, the Stockholders Agreement substantially in the form attached as Annex 3 to Annex A-1 to this proxy statement/prospectus, which will become effective upon the consummation of the Conversion.

Under the Stockholders Agreement, New Calumet agrees to take necessary action (subject to its fiduciary duty) to cause the election of each director designated by The Heritage Group and its Permitted Transferees (as defined in New Calumet’s amended and restated certificate of incorporation) (collectively, the “THG Stockholders”) in accordance with the terms of the amended and restated certificate of incorporation of New Calumet. The Stockholders Agreement also provides that New Calumet agrees to take necessary action (subject to its fiduciary duty) to cause any vacancies created by death, resignation, removal, retirement or disqualification of a director designated by the THG Stockholders to be filled by the THG Stockholders in accordance with the terms of the amended and restated certificate of incorporation of New Calumet.

Warrant Agreement

Prior to the effective time of the Partnership Merger, the New Calumet Board will cause New Calumet to execute and deliver to the Sponsor Parties, and the Sponsor Parties will counter-execute and deliver to New Calumet, the Warrant Agreement substantially in the form attached to the Conversion Agreement as Exhibit G, which will become effective upon the consummation of the Conversion.

In connection with and as partial consideration for the GP Merger, the Sponsor Parties will receive 2,000,000 New Calumet warrants in exchange for their equity interests in the General Partner. Each such warrant will represent the right to purchase one share of common stock at the exercise price of $20.00 per share. The exercise price or number of warrants issued upon exercise of such warrants are subject to adjustments for stock splits, dividends or distributions, reclassifications, reorganizations, mergers and other events. On or before the third anniversary of the issuance of the warrants, a holder of such warrants may, at its option, exercise the warrants for cash or on a “cashless” basis, where a number of shares are deducted from the total number of shares to be issued upon exercise to cover the exercise price in lieu of a cash payment.

 

105


Table of Contents

COMPARISON OF THE RIGHTS OF STOCKHOLDERS AND UNITHOLDERS

The rights of the unitholders are currently governed by the Partnership Agreement and the Delaware LP Act. After the Conversion, unitholders will become stockholders, and their rights will be governed by the DGCL and New Calumet’s amended and restated certificate of incorporation and amended and restated bylaws that will be in effect upon consummation of the Conversion. See “Description of New Calumet Capital Stock” for a summary of the terms of New Calumet’s amended and restated certificate of incorporation and amended and restated bylaws to be in effect upon consummation of the Conversion.

Set forth below are material differences among the rights of a holder of common units under the Partnership Agreement and the Delaware LP Act, on the one hand, and the rights of a holder of common stock under New Calumet’s amended and restated certificate of incorporation and amended and restated bylaws and the DGCL, on the other hand. The identification of specific differences is not intended to indicate that other equally significant or more significant differences do not exist.

The following summary does not reflect any rules of Nasdaq or any other national exchange that may apply to the Partnership or New Calumet in connection with the matters discussed. This summary does not purport to be a complete discussion of, and is qualified in its entirety by reference to, the Delaware LP Act, the DGCL, the Partnership Agreement and New Calumet’s amended and restated certificate of incorporation and amended and restated bylaws.

 

Purpose and Term of Existence

New Calumet

  

The Partnership

New Calumet’s stated purpose is to engage in any lawful act or activity for which corporations may be organized under the DGCL. New Calumet is to have perpetual existence.

 

Until the earlier of the THG Stockholders and their respective Affiliates (as defined in New Calumet’s amended and restated certificate of incorporation) no longer owning at least 5% of the outstanding shares of common stock and the third anniversary of the closing date of the Conversion and the termination of the Stockholders Agreement, initiating any voluntary liquidation, winding up or filing any petition in bankruptcy of New Calumet or any of its significant subsidiaries will require the consent of the THG Stockholders.

  

The Partnership’s purpose under the Partnership Agreement is to engage in any business activity that is approved by the General Partner and that lawfully may be conducted by a limited partnership organized pursuant to the Delaware LP Act. The General Partner’s purpose is to act as the general partner of the Partnership and to engage in any lawful business or activity related to the foregoing as the board of directors of the General Partner shall determine.

 

The Partnership has a perpetual existence.

Authorized Capital

New Calumet

  

The Partnership

New Calumet’s authorized capital stock under its amended and restated certificate of incorporation will consist of:

 

•  700,000,000 shares of common stock, $0.01 par value per share; and

 

•  100,000,000 shares of preferred stock, $0.01 par value per share, none of which were outstanding as of the date of this proxy statement/prospectus.

  

The authorized equity interests of the Partnership consist of the common units, IDRs and the general partner units.

 

As of the record date, there were 80,388,555 outstanding common units and 1,640,583 outstanding general partner units.

 

As a limited partnership, the Partnership does not have authorized capital. Rather, the Partnership Agreement authorizes the Partnership to issue an unlimited number of additional partnership securities for the consideration and on the terms and conditions determined by the General Partner without the approval of the unitholders.

 

106


Table of Contents

As of the record date, there were 10,000 outstanding shares of common stock, all of which were held by the Partnership, and no outstanding shares of preferred stock.

 

New Calumet’s amended and restated certificate of incorporation authorizes the New Calumet Board to, without stockholder approval, authorize the issuance of preferred stock from time to time in one or more series, and with respect to each series of preferred stock, to fix and state by resolution the designation and the powers, preferences, rights, qualifications, limitations and restrictions relating to each series of preferred stock.

 

In addition, the number of authorized shares of New Calumet’s common stock or preferred stock may only be increased or decreased (but not below the number of shares thereof then outstanding) by the affirmative vote of a majority of the voting power of New Calumet stock outstanding and entitled to vote thereon.

  

Holders of any additional units that the Partnership issues will be entitled to share equally with the then-existing unitholders in the Partnership’s distributions of available cash. In addition, the issuance of additional common units or other partnership securities may dilute the value of the interests of the then-existing unitholders in the Partnership’s net assets.

 

In accordance with Delaware law and the provisions of the Partnership Agreement, the Partnership may also issue additional partnership securities that, as determined by the General Partner, may have special voting rights to which the common units are not entitled. In addition, the Partnership Agreement does not prohibit the issuance by the Partnership’s subsidiaries of equity securities, which may effectively rank senior to the common units.

Dividends / Distributions

New Calumet

  

The Partnership

Subject to the rights of the holders of any preferred stock outstanding, the holders of shares of New Calumet common stock will be entitled to receive any dividends to the extent permitted by applicable law when, as and if declared by the New Calumet Board.

 

New Calumet does not expect to pay dividends on its common stock for the foreseeable future.

  

In April 2016 and effective beginning the first quarter of 2016, the General Partner’s board of directors suspended payment of the Partnership’s quarterly cash distribution to unitholders.

 

General. In the event that cash distributions are reinstated, within 45 days after the end of each quarter, the Partnership will distribute its available cash to unitholders of record on the applicable record date.

 

Definition of Available Cash. Available cash generally means, for any quarter, all cash on hand at the end of the quarter:

 

•  less the amount of cash reserves established by the General Partner to:

 

•  provide for the proper conduct of the Partnership’s business;

 

•  comply with applicable law, any of the Partnership’s debt instruments or other agreements; or

 

107


Table of Contents
  

•  provide funds for distributions to the Partnership’s unitholders and to the General Partner for any one or more of the next four quarters;

 

•  plus all cash on hand on the date of determination of available cash for the quarter resulting from working capital borrowings made after the end of the quarter for which the determination is being made. Working capital borrowings are generally borrowings that will be made under the Partnership’s revolving credit facility and in all cases are used solely for working capital purposes or to pay distributions to partners.

 

Intent to Distribute the Minimum Quarterly Distribution. In the event that cash distributions are reinstated, the Partnership will distribute to the unitholders on a quarterly basis at least the minimum quarterly distribution of $0.45 per unit, or $1.80 per year, to the extent the Partnership has sufficient cash from its operations after establishment of cash reserves and payment of fees and expenses, including payments to the General Partner. However, since April 2016, the Partnership has not paid, and there is no guarantee that the Partnership will pay the minimum quarterly distribution on the units in any quarter. Even if the Partnership’s cash distribution policy is not modified or revoked, the amount of distributions paid under the Partnership’s policy and the decision to make any distribution is determined by the General Partner, taking into consideration the terms of the Partnership Agreement. The Partnership is prohibited from making any distributions to unitholders if it would cause an event of default, or an event of default is existing, under the Partnership’s debt instruments.

 

GP Interest and Incentive Distribution Rights. The General Partner is entitled to 2% of all quarterly distributions since inception that the Partnership makes prior to its liquidation. As of December 31, 2023, this general partner interest was represented by 1,631,987 general partner units. The General Partner has the right, but not the obligation, to contribute a proportionate amount of capital to the Partnership to maintain its current general partner interest. The general partner’s initial 2% interest in these distributions may be reduced if the Partnership issues additional units in the future and the General Partner does not contribute a proportionate amount of capital

 

108


Table of Contents
   to the Partnership to maintain its 2% general partner interest. The General Partner also currently holds IDRs that entitle it to receive increasing percentages, up to a maximum of 50%, of the cash the Partnership distributes from operating surplus (as defined in the Partnership Agreement) in excess of $0.495 per unit. The maximum distribution of 50% includes distributions paid to the General Partner on its 2% general partner interest, and assumes that the General Partner maintains its general partner interest at 2%. The maximum distribution of 50% does not include any distributions that the General Partner may receive on units that it owns.
Merger, Sale or Other Disposition of Assets

New Calumet

  

The Partnership

Under the DGCL, the consummation of a merger or consolidation generally requires the approval of the board of directors of a corporation that is a constituent corporation in the merger or consolidation and requires that the agreement of merger or consolidation be adopted by the affirmative vote of the holders of a majority of the stock of that corporation entitled to vote thereon at an annual or special meeting for the purpose of acting on the agreement.

 

No such approval and vote are required if such constituent corporation is the surviving corporation and:

 

•  such corporation’s certificate of incorporation is not amended;

 

•  each share of stock of such constituent corporation whose shares were outstanding immediately before the effective date of the merger is to be an identical outstanding or treasury share of the surviving corporation, immediately after the effective date of the merger; and

 

•  either no shares of common stock of the surviving corporation and no shares, securities or obligations convertible into such stock are to be issued or delivered under the plan of merger, or the authorized unissued shares or the treasury shares of common stock of the surviving corporation to be issued or delivered under the plan of merger plus those initially issuable upon conversion of any other shares, securities or obligations to be issued or delivered under the plan do not exceed 20% of the shares of common stock of such corporation outstanding immediately prior to the effective date of the merger.

  

A merger or consolidation of the Partnership requires the prior consent of the General Partner. The General Partner, however, has no duty or obligation to consent to any merger or consolidation and may decline to do so free of any fiduciary duty or obligation whatsoever to the Partnership or the limited partners, including any duty to act in good faith or in the best interest of the Partnership or the limited partners.

 

In addition, the Partnership Agreement generally prohibits the General Partner, without the prior approval of a majority of the outstanding common units (a “Unit Majority”), from causing the Partnership to, among other things, to sell, exchange or otherwise dispose of all or substantially all of the Partnership’s assets in a single transaction or a series of related transactions, including by way of merger, consolidation or other combination, or approving on the Partnership’s behalf the sale, exchange or other disposition of all or substantially all of the assets of the Partnership’s subsidiaries. The General Partner may, however, mortgage, pledge, hypothecate or grant a security interest in all or substantially all of the Partnership’s assets without that approval. The General Partner may also sell all or substantially all of the Partnership’s assets under a foreclosure or other realization upon those encumbrances without that approval. Finally, the General Partner may consummate any merger without the prior approval of a Unit Majority if the Partnership is the surviving entity in the transaction, the transaction would not result in a material amendment to the Partnership Agreement, each of the Partnership’s units will be an identical unit of the Partnership following the transaction, and the units to be issued do not exceed 20% of the outstanding units immediately prior to the transaction.

 

109


Table of Contents

In general, Section 203 of the DGCL, an anti-takeover provision, prohibits a publicly held Delaware corporation from engaging in a business combination, such as a merger, with an interested stockholder, or person or group owning 15% or more of the corporation’s voting stock, for a period of three years following the date the person became an interested stockholder, unless (with certain exceptions) the business combination or the transaction in which the person became an interested stockholder is approved in the manner prescribed by the DGCL and Delaware Court of Chancery.

 

New Calumet intends to elect in its amended and restated certificate of incorporation not to be subject to Section 203. However, New Calumet’s amended and restated certificate of incorporation will contain provisions that have generally the same effect as Section 203, except that the THG Stockholders and their respective Affiliates and successors (other than New Calumet), as well as certain of their direct transferees, will not be deemed to be “interested stockholders,” regardless of the percentage of New Calumet’s voting stock owned by them, and accordingly will not be subject to such restrictions. The existence of this provision in New Calumet’s amended and restated certificate of incorporation would be expected to have an anti-takeover effect with respect to transactions not approved in advance by the board of directors, including discouraging attempts that might result in a premium over the market price for the shares of common stock held by stockholders.

  

If the conditions specified in the Partnership Agreement are satisfied (including receipt of an opinion of counsel regarding limited liability and tax status matters), the General Partner may convert the Partnership or any of its subsidiaries into a new limited liability entity or merge the Partnership or any of its subsidiaries into, or convey all of its assets to, a newly formed entity if the sole purpose of that merger or conveyance is to effect a mere change in the Partnership’s legal form into another limited liability entity. The unitholders are not entitled to dissenters’ rights of appraisal under the Partnership Agreement or applicable Delaware law in the event of a conversion, merger or consolidation, a sale of substantially all of the Partnership’s assets or any other transaction or event.

Management by Board of Directors / General Partner

New Calumet

  

The Partnership

In accordance with the DGCL, New Calumet’s business and affairs will be managed by the New Calumet Board.

 

New Calumet’s amended and restated certificate of incorporation provides that, subject to the rights of holders of any outstanding series of preferred stock and the rights granted to the THG Stockholders therein (as described below), the number of directors will be exclusively fixed from time to time by resolution adopted by the New Calumet Board. As of the date of the closing of the Conversion, the New Calumet Board is expected to have 10 directors.

 

Under New Calumet’s amended and restated certificate of incorporation, the THG Stockholders have the right, but not the obligation, to designate for nomination, and, in accordance with the terms of the

  

The General Partner conducts, directs and manages all activities of the Partnership. Except as otherwise expressly provided in the Partnership Agreement and the Amended and Restated Limited Liability Company Agreement of the General Partner, dated January 31, 2006 (“GP LLC Agreement”), all management powers over the business and affairs of the Partnership is exclusively vested in the General Partner, and no limited partner has any management power over the business and affairs of the Partnership. Certain actions by the General Partner’s board of directors require approval of the members of the General Partner, as set forth in the GP LLC Agreement.

 

110


Table of Contents

Stockholders Agreement, the New Calumet Board will take necessary action (subject to its fiduciary duty) to cause the election of:

 

•  Two directors of the New Calumet Board, so long as the THG Stockholders and their respective Affiliates beneficially own 16.7% or more of the outstanding shares of common stock.

 

•  One director of the New Calumet Board, so long as the THG Stockholders and their respective Affiliates beneficially own less than 16.7% but more than 5% of the outstanding shares of common stock.

 

•  No directors of the New Calumet Board if the THG Stockholders and their respective Affiliates beneficially own less than 5% of the outstanding shares of common stock.

 

When the THG Stockholders lose the right to designate one or more director of the New Calumet Board, each director designated for nomination by the THG Stockholders shall continue to serve until his or her term expires.

 

New Calumet’s amended and restated certificate of incorporation also provides that the THG Stockholders have the right to designate a director to fill any vacancies created by the resignation or removal of a director designated by THG Stockholders. In accordance with the terms of the Stockholders Agreement, New Calumet agrees to take, or cause to be taken, all necessary action (subject to the New Calumet Board’s fiduciary duty), to cause any such vacancy to be filled in accordance with the terms of New Calumet’s amended and restated certificate of incorporation. For so long as the THG Stockholders have the right to designate at least one director, each committee of the New Calumet Board shall include one director designated by the THG Stockholders.

 

In addition, until the earlier of the THG Stockholders and their respective Affiliates no longer owning at least 5% of the outstanding shares of common stock and the third anniversary of the closing date of the Conversion, any increase or decrease in the size of the New Calumet Board or any appointment or removal of the Chairman of the New Calumet Board will require the consent of the THG Stockholders.

  

 

111


Table of Contents
Nomination and Election of Directors

New Calumet

  

The Partnership

Subject to the Stockholders Agreement and New Calumet’s amended and restated certificate of incorporation, New Calumet’s directors (other than the directors elected by the holders of any series of preferred stock) will be divided into three classes serving staggered three-year terms. The initial Class I, Class II and Class III directors is expected to serve until the annual meetings of stockholders in 2025, 2026 and 2027, respectively. Except as otherwise described above, directors of each class shall be elected to hold office for a three-year term and until the election and qualification of their respective successors in office or until any such director’s earlier death, resignation, removal, retirement or disqualification.

 

Directors are elected by the affirmative vote of the holders of a plurality of the votes cast.

 

Nominations of persons for election to the New Calumet Board and the proposal of business other than nominations to be considered by the stockholders may be made at an annual meeting only: (1) pursuant to New Calumet’s notice of meeting, (2) by or at the direction of the New Calumet Board (or any authorized committee thereof); or (3) by a stockholder who is a stockholder of record at the time such notice of meeting is given, who is entitled to vote at the meeting and who complies with the procedures described under “—Stockholder Proposals and Director Nominations.”

  

Unitholders are not entitled to elect the directors of the General Partner. The owners of the General Partner have appointed nine members to the General Partner’s board of directors. The directors of the General Partner are generally elected by a majority vote of the owners of the General Partner on an annual basis. However, as long as trusts established for the benefit of the General Partner’s former executive vice chairman, F. William Grube, his family members or Permitted Transferees (as defined in the GP LLC Agreement), continue to own at least 30% of the membership interests in the General Partner, the Grube Family Group (as defined in the GP LLC Agreement) has the right to appoint a member of Mr. Grube’s family to serve as a director of the General Partner. The directors of the General Partner hold office until the earlier of their death, resignation, removal or disqualification or until their successors have been elected and qualified.

 

Stockholder Proposals and Director Nominations

New Calumet

  

The Partnership

New Calumet’s amended and restated bylaws establish advance notice procedures with respect to stockholder proposals for annual meetings and the nomination of candidates for election as directors, other than nominations made by or at the direction of the board of directors or a committee of the board of directors, or for any director designated by the THG Stockholders pursuant to, and in accordance with, New Calumet’s amended and restated certificate of incorporation. In order for any matter to be “properly brought” before a meeting, a stockholder will have to comply with such advance notice procedures and provide New Calumet with certain information. Under New Calumet’s amended and restated bylaws, the board of directors may adopt such rules and regulations for the conduct of any meeting of stockholders as it shall deem

  

Unitholders are not entitled to nominate directors of the General Partner’s board of directors.

 

112


Table of Contents

appropriate. Except to the extent inconsistent with such rules and regulations as adopted by the board of directors, the chairperson of the meeting shall have the authority to adopt and enforce such rules and regulations for the conduct of any meeting of stockholders and the safety of those in attendance as, in the judgment of the chairperson, are necessary, appropriate or convenient for the conduct of the meeting

 

Generally, to be timely, a stockholder’s notice must be delivered to the Secretary of New Calumet’s principal executive offices of New Calumet not later than the close of business on the 90th day nor earlier than 5:00 pm Eastern Time on the 120th day prior to the first anniversary of the preceding year’s annual meeting of the stockholders. Solely for purposes of the foregoing, the 2024 annual meeting of stockholders shall be deemed to have been held on June 15, 2024. In the event that the date of the annual meeting is more than 30 days before or more than 60 days after such anniversary date, or if no annual meeting was held or deemed to have been held in the preceding year, notice by the stockholder to be timely must be so delivered not earlier than the close of business on the 120th day prior to such annual meeting and not later than the close of business on the later of the 90th day prior to such annual meeting or the 10th day following the date on which public announcement of the date of such meeting is first made by New Calumet. New Calumet’s amended and restated bylaws also specify requirements as to the form and content of a stockholder’s notice.

  

 

Removal of Directors; Withdrawal or Removal of General Partner

New Calumet

  

The Partnership

New Calumet’s amended and restated certificate of incorporation will provide that, subject to the rights granted to the THG Stockholders pursuant to the Stockholders Agreement, any or all of the directors (other than the directors elected by the holders of any series of preferred stock) may be removed only for cause and only by the affirmative vote of the holders of at least 66 2/3% of the voting power of the stock outstanding and entitled to vote on the election of directors, voting together as a single class.

  

A director of the General Partner’s board may be removed, with or without cause, at any time by a majority vote of the owners of the General Partner; provided, that, any director appointed by the General Partner’s former executive vice chairman, F. William Grube (or by the executor of his estate) or by a Grube Family Group Transferee may be removed only by Mr. Grube or by the executor of his estate, or by such Grube Family Group Transferee, as the case may be.

 

The General Partner may withdraw as general partner of the Partnership without first obtaining approval of any unitholder by giving 90 days’ written notice, and that withdrawal will not constitute a violation of the Partnership Agreement. Notwithstanding the information above, the General Partner may withdraw without unitholder approval

 

113


Table of Contents
  

upon 90 days’ notice to the limited partners if at least 50% of the outstanding common units are held or controlled by one person and its affiliates other than the General Partner and its affiliates. In addition, the Partnership Agreement permits the General Partner in some instances to sell or otherwise transfer all of its general partner interest in the Partnership without the approval of the unitholders.

 

Upon withdrawal of the General Partner under any circumstances, other than as a result of a transfer by the General Partner of all or a part of its general partner interest in the Partnership, the holders of a Unit Majority, voting as separate classes, may select a successor to that withdrawing general partner. If a successor is not elected, or is elected but an opinion of counsel regarding limited liability and tax matters cannot be obtained, the Partnership will be dissolved, wound up and liquidated, unless within a specified period after that withdrawal, the holders of a Unit Majority agree in writing to continue the Partnership’s business and to appoint a successor general partner.

 

The General Partner may not be removed unless that removal is approved by the vote of the holders of at least 66 2/3% of the outstanding units, voting together as a single class, including units held by the General Partner and its affiliates, and the Partnership receives an opinion of counsel regarding limited liability and tax matters. Any removal of the General Partner is also subject to the approval of a successor general partner by the vote of the Unit Majority. The ownership of more than 33 1/3% of the outstanding units by the General Partner and its affiliates would give them the practical ability to prevent the General Partner’s removal. As of the record date, the General Partner and certain of its affiliates, including members of the General Partner’s board and the Partnership’s management, owned approximately 22.4% of the outstanding common units and, following the Conversion, will own approximately 27.4% of the outstanding shares (prior to any potential dilution resulting from exercise of the warrants).

  

The Partnership Agreement also provides that if the General Partner is removed as the general partner of the Partnership under circumstances where cause does not exist and units held by the General Partner and its affiliates are not voted in favor of that removal:

 

•  any existing arrearages in payment of the minimum quarterly distribution on the common units will be extinguished; and

 

114


Table of Contents
  

•  the General Partner will have the right to convert its general partner interest and its IDRs into common units or to receive cash in exchange for those interests based on the fair market value of those interests at that time.

 

In the event of removal of such a general partner under circumstances where cause exists or withdrawal of a general partner where that withdrawal violates the Partnership Agreement, a successor general partner will have the option to purchase the general partner interest and IDRs of the departing general partner for a cash payment equal to the fair market value of those interests. Under all other circumstances where a general partner withdraws or is removed by the limited partners, the departing general partner will have the option to require the successor general partner to purchase the general partner interest of the departing general partner and its IDRs for fair market value. In each case, this fair market value will be determined by agreement between the departing general partner and the successor general partner. If no agreement is reached within 30 days after the departing general partner’s departure, an independent investment banking firm or other independent expert selected by the departing general partner and the successor general partner will determine the fair market value. Or, if the departing general partner and the successor general partner cannot agree upon an expert, then an expert chosen by agreement of the experts selected by each of them will determine the fair market value.

 

If the option described above is not exercised by either the departing general partner or the successor general partner, the departing general partner’s general partner interest and its IDRs will automatically convert into common units equal to the fair market value of those interests as determined by an investment banking firm or other independent expert selected in the manner described in the preceding paragraph.

 

In addition, the Partnership will be required to reimburse the departing general partner for all amounts due the departing general partner, including, without limitation, all employee-related liabilities, including severance liabilities, incurred for the termination of any employees employed by the departing general partner or its affiliates for the Partnership’s benefit.

 

115


Table of Contents
Filling Vacancies on the Board; Replacing the General Partner

New Calumet

  

The Partnership

Subject to the rights granted to the holders of any one or more series of preferred stock then outstanding, and unless otherwise required by law, any vacancies on the New Calumet Board, and any newly created directorships resulting from any increase in the authorized number of directors, will be filled only by the affirmative vote of a majority of the directors then in office, even if less than a quorum, or by a sole remaining director, in each case, in the manner permitted by the Stockholders Agreement and New Calumet’s amended and restated certificate of incorporation and subject to the rights of the THG Stockholders set forth in the Stockholders Agreement and New Calumet’s amended and restated certificate of incorporation.

  

Any vacancies and newly created directorships resulting from any increase in the authorized number of directors of the General Partner’s board may be filled by a majority vote of the owners of the General Partner.

 

See also “—Removal of Directors; Withdrawal or Removal of General Partner.”

Change of Management Provisions

New Calumet

  

The Partnership

See “Description of New Calumet Capital Stock—Anti-Takeover Effects of New Calumet’s Amended and Restated Certificate of Incorporation, Amended and Restated Bylaws and Certain Provisions of Delaware Law.”

 

Until the earlier of the THG Stockholders and their respective Affiliates no longer owning at least 5% of the outstanding shares of common stock and the third anniversary of the closing date of the Conversion, any appointment or removal of the Chief Executive Officer of New Calumet will require the consent of the THG Stockholders.

  

The Partnership Agreement contains specific provisions that are intended to discourage a person or group from attempting to remove the General Partner as general partner or otherwise change the Partnership’s management. If any person or group other than the General Partner and its affiliates acquires beneficial ownership of 20% or more of any class of units, that person or group loses voting rights on all of its units. This loss of voting rights does not apply to any person or group that acquires the units from the General Partner or its affiliates and any transferees of that person or group approved by the General Partner or to any person or group who acquires the units with the prior approval of the board of directors of the General Partner. See also “—Removal of Directors; Withdrawal or Removal of General Partner.”

Preemptive Rights

New Calumet

  

The Partnership

None.

  

Upon issuance of additional partnership securities, the General Partner will be entitled, but not required, to make additional capital contributions to the extent necessary to maintain its 2% general partner interest in the Partnership. Since the Partnership’s initial public offering, the General Partner has elected to make additional capital contributions to maintain its 2% general partner

 

116


Table of Contents
   interest in the Partnership. The General Partner’s 2% general partner interest in the Partnership will be reduced if the Partnership issues additional units in the future and the General Partner does not contribute a proportionate amount of capital to the Partnership to maintain its 2% general partner interest. Moreover, the General Partner will have the right, which it may from time to time assign in whole or in part to any of its affiliates, to purchase common units or other partnership securities whenever, and on the same terms that, the Partnership issues those securities to persons other than the General Partner and its affiliates, to the extent necessary to maintain the percentage interest of the General Partner and its affiliates, including such interest represented by common units that existed immediately prior to each issuance. Otherwise, under the Partnership Agreement, the unitholders will not have preemptive rights to acquire additional common units or other partnership securities.
Amendment of Governing Documents

New Calumet

  

The Partnership

Under Delaware law, subject to Section 242(b)(2) of the DGCL, which provides holders of a class or series of stock with a separate vote on proposed amendments to the certificate of incorporation under certain circumstances, unless the certificate of incorporation requires a greater vote, an amendment to the certificate of incorporation requires (1) that the board adopt resolutions approving the proposed amendment and declaring its advisability; and (2) the affirmative vote of the holders of a majority in voting power of the stock entitled to vote.

 

New Calumet’s amended and restated certificate of incorporation requires, except as otherwise provided therein, the affirmative vote of the holders of at least 66 2/3% of the voting power of New Calumet stock outstanding and entitled to vote thereon, voting together as a single class, to amend, alter or repeal certain enumerated articles of the certificate of incorporation, including those relating to (i) the board size, classification, removal and vacancies, (ii) stockholder action by written consent, (iii) special meetings of stockholders, (iv) amendments of certificate and bylaws, (v) business combinations with interested stockholders, (vi) competition and corporate opportunities, (vii) liability of directors and officers, (viii) forum selection and (vix) certain defined terms used in New Calumet’s amended and restated certificate of incorporation.

  

General. Amendments to the Partnership Agreement may be proposed only by or with the consent of the General Partner (and not by any unitholder, in such capacity). The General Partner, however, will have no duty or obligation to propose any amendment and may decline to do so free of any fiduciary duty or obligation whatsoever to the Partnership or the limited partners, including any duty to act in good faith or in the best interests of the Partnership or the limited partners.

 

Except as described below, an amendment must be approved first by the General Partner, and second by the Unit Majority, unless a greater or different percentage is required under the Partnership Agreement or Delaware law.

 

Prohibited Amendments. No amendment may be made that would:

 

•  enlarge the obligations of any limited partner without its consent, unless approved by at least a majority of the type or class of limited partner interests so affected; or

 

•  enlarge the obligations of, restrict in any way any action by or rights of, or reduce in any way the amounts distributable, reimbursable or otherwise payable by the

 

117


Table of Contents

 

In addition, until the earlier of the THG Stockholders and their respective Affiliates no longer owning at least 5% of the outstanding shares of common stock and the third anniversary of the closing date of the Conversion, any amendment, modification or restatement of the organizational documents of New Calumet (including the amended and restated certificate of incorporation and amended and restated bylaws of New Calumet) or any of its significant subsidiaries, will require the consent of the THG Stockholders.

 

  

Partnership to the General Partner or any of its affiliates without the consent of the General Partner, which consent may be given or withheld at its option.

New Calumet’s amended and restated certificate of incorporation and amended and restated bylaws provide that, subject to the rights granted to the THG Stockholders pursuant to New Calumet’s amended and restated certificate of incorporation, the New Calumet Board is expressly authorized to adopt, amend or repeal New Calumet’s bylaws, without the assent or vote of the stockholders in any manner not inconsistent with the laws of the State of Delaware or the amended and restated certificate of incorporation.

 

In addition, subject to the rights granted to the THG Stockholders pursuant to the Stockholders Agreement and New Calumet’s amended and restated certificate of incorporation, the affirmative vote of the holders of at least 66 2/3% of the voting power of New Calumet stock outstanding and entitled to vote thereon, voting together as a single class, is required in order for the New Calumet stockholders to adopt, amend or repeal New Calumet’s bylaws, without any requirement to obtain separate approval of the New Calumet Board.

  

The provision of the Partnership Agreement preventing such prohibited amendments can only be amended upon the approval of the holders of at least 90% of the outstanding units voting together as a single class (including units owned by the General Partner and its affiliates) unless the Partnership obtains an opinion of counsel to the effect that such amendment will not affect the limited liability of any limited partner under applicable law. As of the record date, the General Partner and certain of its affiliates, including members of the General Partner’s board and the Partnership’s management, owned approximately 22.4% of the outstanding units and, following the Conversion, will own 27.4% of the outstanding shares (prior to any potential dilution resulting from exercise of the warrants).

 

No Unitholder Approval. The General Partner may generally make amendments to the Partnership Agreement without the approval of any limited partner or assignee to reflect:

 

•  a change in the Partnership’s name, the location of the Partnership’s principal place of business, the Partnership’s registered agent or the Partnership’s registered office;

 

•  the admission, substitution, withdrawal or removal of partners in accordance with the Partnership Agreement;

 

•  a change that the General Partner determines to be necessary or appropriate to qualify or continue the Partnership’s qualification as a limited partnership or a partnership in which the limited partners have limited liability under the laws of any state or to ensure that neither the Partnership nor the Partnership’s operating company nor any of its subsidiaries will be treated as an association taxable as a corporation or otherwise taxed as an entity for federal income tax purposes;

 

118


Table of Contents
  

•  an amendment that is necessary, in the opinion of the Partnership’s counsel, to prevent the Partnership or the General Partner or its directors, officers, agents or trustees from in any manner being subjected to the provisions of the Investment Company Act of 1940, the Investment Advisors Act of 1940, or “plan asset” regulations adopted under the Employee Retirement Income Security Act of 1974, or ERISA, whether or not substantially similar to plan asset regulations currently applied or proposed;

•  an amendment that the General Partner determines to be necessary or appropriate for the authorization of additional partnership securities or rights to acquire partnership securities;

 

•  any amendment expressly permitted in the Partnership Agreement to be made by the General Partner acting alone;

 

•  an amendment effected, necessitated or contemplated by a merger agreement that has been approved under the terms of the Partnership Agreement;

 

•  any amendment that the General Partner determines to be necessary or appropriate for the formation by the Partnership of, or the Partnership’s investment in, any corporation, partnership or other entity, as otherwise permitted by the Partnership Agreement;

 

•  a change in the Partnership’s fiscal year or taxable year and related changes;

 

•  mergers with or conveyances to another limited liability entity that is newly formed and has no assets, liabilities or operations at the time of the merger or conveyance other than those it receives by way of the merger or conveyance; or

 

•  any other amendments substantially similar to any of the matters described in the bullet points above.

 

In addition, the General Partner may make amendments to the Partnership Agreement without the approval of any limited partner or assignee in connection with a merger or consolidation approved in connection with the Partnership Agreement, or if the General Partner determines that those amendments:

  

•  do not adversely affect the limited partners (or any particular class of limited partners) in any material respect;

 

119


Table of Contents
 

 

•  are necessary or appropriate to satisfy any requirements, conditions or guidelines contained in any opinion, directive, order, ruling or regulation of any federal or state agency or judicial authority or contained in any federal or state statute;

 

•  are necessary or appropriate to facilitate the trading of limited partner interests or to comply with any rule, regulation, guideline or requirement of any securities exchange on which the limited partner interests are or will be listed for trading;

 

•  are necessary or appropriate for any action taken by the General Partner relating to splits or combinations of units under the provisions of the Partnership Agreement; or

 

•  are required to effect the intent expressed in this proxy statement/prospectus or the intent of the provisions of the Partnership Agreement or are otherwise contemplated by the Partnership Agreement.

 

Opinion of Counsel and Unitholder Approval. The General Partner will not be required to obtain an opinion of counsel that an amendment will not result in a loss of limited liability to the limited partners or result in the Partnership being treated as an association taxable as a corporation or otherwise taxable as an entity for federal income tax purposes in connection with any of the amendments described under “—No Unitholder Approval.” No other amendments to the Partnership Agreement other than described above under “—No Unitholder Approval” will become effective without the approval of holders of at least 90% of the outstanding units voting as a single class unless the Partnership first obtains an opinion of counsel to the effect that the amendment will not affect the limited liability under applicable law of any of the Partnership’s limited partners.

 

In addition to the above restrictions, any amendment that would have a material adverse effect on the rights or preferences of any type or class of outstanding units in relation to other classes of units will require the approval of at least a majority of the type or class of units so affected. Any amendment that reduces the voting percentage required to take any action is required to be approved by the affirmative vote of limited partners whose aggregate outstanding units constitute not less than the voting requirement sought to be reduced.

 

120


Table of Contents
Voting Rights; Meetings; Action by Written Consent

New Calumet

  

The Partnership

New Calumet’s amended and restated certificate of incorporation provides that holders of shares of common stock are entitled to one vote for each share held of record on all matters on which stockholders generally are entitled to vote.

 

Unless otherwise required by law, the amended and restated certificate of incorporation or the rules of any stock exchange applicable to New Calumet, the record holders of a majority of the voting power of the stock outstanding and entitled to vote at the meeting, present in person or represented by proxy, will constitute a quorum for the transaction of business at all meetings of stockholders.

 

Except as otherwise provided under New Calumet’s amended and restated certificate of incorporation, for so long as the THG Stockholders and their respective Affiliates owns 15% or more of the outstanding shares of common stock, the attendance of at least one director designated by the THG Stockholders shall be required to constitute a quorum of the New Calumet Board (or any committee of the New Calumet Board on which a director designated by the THG Stockholders serves) for the transaction of business with respect to such action or decision unless each director designated by the THG Stockholders provides notice to the remaining members of the New Calumet Board, the Chairman of the New Calumet Board or the secretary of New Calumet waiving such right to be included in quorum at such meeting. If there is less than a quorum at any meeting of the New Calumet Board (or any committee of the New Calumet Board on which a director designated by the THG Stockholders serves), a majority of the directors present may adjourn the meeting to a time no earlier than five business days after notice of such adjournment. If a director designated by the THG Stockholders is not present at the next meeting following an adjournment, then the presence of a number of directors exceeding 50% of the entire New Calumet Board (or exceeding 50% of the entire committee, as applicable) entitled to vote shall constitute a quorum for the next meeting.

 

Unless a different or minimum vote is specified by applicable law or regulation, the rules or regulations of any stock exchange applicable to New Calumet, or New Calumet’s amended and restated certificate of incorporation or amended and restated bylaws, in which

  

Except as described below regarding a person or group owning 20% or more of any class or series of units then outstanding, unitholders who are record holders of units on the record date will be entitled to notice of, and to vote at, meetings of the limited partners and to act upon matters for which approvals may be solicited. In the case of units held by the General Partner on behalf of non-citizen assignees, the General Partner will distribute the votes on those units in the same ratios as the votes of limited partners on other units are cast.

 

Additionally, any action that is required or permitted to be taken by the unitholders may be taken either at a meeting of the unitholders or without a meeting if consents in writing describing the action so taken are signed by holders of the number of outstanding units necessary to authorize or take that action at a meeting. Meetings of the unitholders may be called by the General Partner or by unitholders owning at least 20% of the outstanding units of the class or series for which a meeting is proposed. Unitholders may vote either in person or by proxy at meetings. The holders of a majority of the outstanding units of the class or classes or series for which a meeting has been called represented in person or by proxy will constitute a quorum unless any such action requires approval by holders of a greater percentage of the outstanding units, in which case the quorum will be the greater percentage.

 

Each record holder of a unit has a vote according to its percentage interest in the Partnership, although additional limited partner interests having special voting rights could be issued. However, if at any time any person or group, other than the General Partner and its affiliates, or a direct or subsequently approved transferee of the General Partner or its affiliates, acquires, in the aggregate, beneficial ownership of 20% or more of any class or series of units then outstanding, that person or group will lose voting rights on all of its units and the units may not be voted on any matter and will not be considered to be outstanding when sending notices of a meeting of unitholders, calculating required votes, determining the presence of a quorum or for other similar purposes. Common units held in nominee or street name account will be voted by the broker or other nominee in accordance with the instruction of the

 

121


Table of Contents

case such different or minimum vote shall be the applicable vote on such matter, the vote required for stockholder action is the affirmative vote of the holders of at least a majority of the voting power of the stock present in person or represented by proxy at the meeting and entitled to vote on the subject matter. Directors are elected by a plurality of the votes cast.

 

The holders of a series of preferred stock, if any, are entitled only to such voting rights, if any, as are expressly granted to such series of preferred stock by the amended and restated certificate of incorporation (including any certificate of designation relating to such series of preferred stock).

 

New Calumet’s amended and restated certificate of incorporation provides that special meetings of stockholders may be called at any time only by the New Calumet Board, and may not be called by any other person.

 

New Calumet’s amended and restated certificate of incorporation provides that any action required or permitted to be taken by the stockholders must be taken at a duly called annual or special meeting of stockholders and may not be taken by any consent in writing of such stockholders.

  

beneficial owner unless the arrangement between the beneficial owner and his nominee provides otherwise.

Any notice, demand, request, report or proxy material required or permitted to be given or made to record unitholders under the Partnership Agreement will be delivered to the record holder by the Partnership or by the transfer agent.

 

Indemnification and Limitation on Liability

New Calumet

  

The Partnership

New Calumet’s amended and restated certificate of incorporation will limit the liability of its directors and officers (and such other person or persons, if any, who, pursuant to a provision set forth in New Calumet’s amended and restated certificate of incorporation or in accordance with Section 141(a) of the DGCL, exercise or perform any of the powers or duties otherwise conferred or imposed upon the New Calumet Board by the DGCL) for monetary damages for breach of their fiduciary duty as directors or officers to the fullest extent permitted by the DGCL (as the same may be amended hereafter), except for liability that cannot be eliminated under the DGCL. Delaware law currently provides that directors and officers of a company will not be personally liable for monetary damages for breach of their fiduciary duty as directors or officers, except for liabilities (i) for any breach of their duty of loyalty to the corporation or its stockholders; (ii) for acts or omissions not in good faith or which involve intentional misconduct or a knowing violation of law; (iii) in the case of directors, for unlawful payment of dividend or unlawful stock repurchase or redemption, as

  

Under the Partnership Agreement, in most circumstances, the Partnership will indemnify the following persons, to the fullest extent permitted by law, from and against all losses, claims, damages or similar events:

 

•  the General Partner;

 

•  any departing general partner;

 

•  any person who is or was an affiliate of a general partner or any departing general partner;

 

•  any person who is or was a director, officer, member, partner, fiduciary or trustee of any entity set forth in the preceding three bullet points;

 

•  any person who is or was serving as director, officer, member, partner, fiduciary or trustee of another person at the request of the General Partner or any departing general partner or any of their affiliates; and

 

122


Table of Contents

provided under Section 174 of the DGCL; (iv) for any transaction from which the director or officer derived an improper personal benefit; or (v) in the case of officers, for any action by or in the right of the corporation. Any amendment, repeal or modification of these provisions will be prospective only and would not affect any limitation on liability of a director or officer for acts or omissions that occurred prior to any such amendment, repeal or modification.

 

New Calumet’s amended and restated bylaws will also provide that it will indemnify its directors and officers to the fullest extent permitted by the DGCL. In addition to the right to indemnification, New Calumet’s directors and officers shall, to the fullest extent permitted by law, also have the right to be paid by New Calumet the expenses (including attorneys’ fees) incurred in defending any proceeding in advance of its final disposition. Any person serving as a director or officer of a subsidiary of New Calumet shall be entitled to the rights of indemnification and to the advancement of expenses with respect to his or her service at such subsidiary; provided, however, that the advancement of expenses to any person who is not a director or officer of New Calumet shall be at the discretion of New Calumet. New Calumet’s amended and restated bylaws also will permit it to purchase insurance on behalf of any officer, director, employee or other agent for any liability arising out of that person’s actions as New Calumet’s officer, director, employee or agent, regardless of whether Delaware law would permit indemnification. New Calumet intends to enter into indemnification agreements with each of its directors and officers. These agreements will require New Calumet to indemnify these individuals to the fullest extent permitted under Delaware law against liability that may arise by reason of their service to New Calumet, and to advance expenses incurred as a result of any proceeding against them as to which they could be indemnified.

  

 

•  any person designated by the General Partner.

 

Any indemnification under these provisions will only be out of the Partnership’s assets. Unless it otherwise agrees, the General Partner will not be personally liable for, or have any obligation to contribute or lend funds or assets to the Partnership to enable it to effectuate, indemnification. The Partnership may purchase insurance against liabilities asserted against and expenses incurred by persons for the Partnership’s activities, regardless of whether the Partnership would have the power to indemnify the person against liabilities under the Partnership Agreement.

 

Conflicts of Interest; Corporate Opportunities

New Calumet

  

The Partnership

Under the DGCL, a transaction or a contract between a corporation and an officer or director is not void or voidable solely because of the officer’s or director’s interest if:

 

•  the material facts are disclosed or made known to the board of directors (or committee thereof) and a majority of the disinterested

  

The General Partner, for so long as it is the general partner of the Partnership (i) agrees that its sole business will be to act as the general partner or managing member, as the case may be, of the Partnership and any other partnership or limited liability company of which the Partnership is, directly or indirectly, a partner or member and to undertake activities that are ancillary or related thereto

 

123


Table of Contents

directors vote to authorize the transaction in good faith;

 

•  the material facts are disclosed or made known to the stockholders entitled to vote thereon and the transaction is specifically approved in good faith by vote of the stockholders; or

 

•  the transaction is fair to the corporation at the time it is authorized, approved or ratified by the board of directors (or committee thereof) or the stockholders.

 

Delaware law permits corporations to adopt provisions renouncing any interest or expectancy in certain opportunities that are presented to the corporation or its officers, directors or stockholders. New Calumet’s amended and restated certificate of incorporation renounces, to the fullest extent permitted by applicable law, any interest or expectancy that New Calumet has in, or right to be offered an opportunity to participate in, specified business opportunities that are

  

(including being a limited partner in the Partnership) and (ii) will not engage in any business or activity or incur any debts or liabilities except in connection with or incidental to (A) its performance as general partner or managing member, if any, of one or more of the Partnership and its subsidiaries (each, a “group member”) or as described in or contemplated by the registration statement for the Partnership’s initial public offering or (B) the acquiring, owning or disposing of debt or equity securities in any group member.

 

Each limited partner (other than the General Partner) of the Partnership will have the right to engage in businesses of every type and description and other activities for profit and to engage in and possess an interest in other business ventures of any and every type or description, whether in businesses engaged in or anticipated to be engaged in by any group member, independently or with others, including business interests and activities in direct competition with the business and activities of any group member, and none of the same will constitute a breach of the Partnership Agreement or any duty expressed or implied by law to any group member or any partner.

from time to time presented to New Calumet’s officers, directors or stockholders or their respective affiliates, other than those officers, directors, stockholders or affiliates who are New Calumet’s or New Calumet’s subsidiaries’ employees. New Calumet’s amended and restated certificate of incorporation provides that, to the fullest extent permitted by applicable law, The Heritage Group or any of its affiliates or any non-employee director or his or her affiliates (such persons being referred to, collectively, as “Identified Persons” and, individually, as an “Identified Person”) do not have any duty to refrain from (1) engaging in a corporate opportunity in the same or similar lines of business in which New Calumet or its affiliates now engage or propose to engage or (2) otherwise competing with New Calumet or its affiliates. In addition, to the fullest extent permitted by applicable law, in the event that any Identified Person acquires knowledge of a potential transaction or other business opportunity which may be a corporate opportunity for itself or himself or its or his affiliates or for New Calumet or its affiliates, such person has no duty to communicate or offer such transaction or business opportunity to New Calumet or any of its affiliates and they may take any such opportunity for themselves or offer it to another person or entity. New Calumet’s amended and restated   

Engaging in competitive activities by any limited partner (other than the General Partner and its subsidiaries) is approved by the Partnership and all its partners. It is not a breach of any fiduciary duty or any other obligation of any type whatsoever of the General Partner or of any limited partner for the limited partners (other than the General Partner and its subsidiaries) to engage in such business interests and activities in preference to or to the exclusion of the Partnership. Limited partners have no obligation under the Partnership Agreement or as a result of any duty expressed or implied by law to present business opportunities to the Partnership.

 

The General Partner and each of its affiliates may acquire units or other partnership securities of the Partnership and, except as otherwise provided in the Partnership Agreement, will be entitled to exercise, at their option, all rights relating to all units or other partnership securities acquired by them. The term “affiliates” when used in this section with respect to the General Partner will not include any group member.

 

124


Table of Contents
certificate of incorporation does not renounce New Calumet’s interest in any business opportunity that is expressly offered to a non-employee director solely in his or her capacity as a director or officer of New Calumet. To the fullest extent permitted by applicable law, no business opportunity will be deemed to be a potential corporate opportunity for New Calumet unless New Calumet would be permitted to undertake the opportunity under New Calumet’s amended and restated certificate of incorporation, New Calumet has sufficient financial resources to undertake the opportunity and the opportunity would be in line with New Calumet’s business.   

 

Exclusive Forum

New Calumet

  

The Partnership

If the Forum Selection Proposal is approved by the unitholders, New Calumet’s amended and restated certificate of incorporation will provide that, unless New Calumet selects or consents in writing to the selection of another forum, the Court of Chancery of the State of Delaware (or, if the Court of Chancery does not have jurisdiction, another state court or a federal court located within the State of Delaware) shall be the exclusive forum for any complaints asserting any “internal corporate claims,” which include claims in the right of New Calumet (i) that are based upon a violation of a duty by a current or former director, officer, employee, or stockholder in such capacity or (ii) as to which the DGCL confers jurisdiction upon the Court of Chancery. Further, unless New Calumet selects or consents to the selection of an alternative forum, the federal district courts of the United States shall be the exclusive forum for the resolution of any complaint asserting a cause of action arising under the Securities Act. New Calumet’s exclusive forum provision will not apply to suits brought to enforce any liability or duty created by the Exchange Act, and investors cannot waive compliance with the federal securities laws and the rules and regulations thereunder. Any person or entity purchasing or otherwise acquiring an interest in any shares of New Calumet capital stock shall be deemed to have notice of and to have consented to the forum provisions in New Calumet’s certificate of incorporation. It is possible that a court could find our exclusive forum provision to be inapplicable or unenforceable.

  

None.

 

125


Table of Contents
Taxation

New Calumet

  

The Partnership

New Calumet is classified as a corporation for U.S. federal income tax purposes and is subject to U.S. federal income tax on its taxable income. A holder is not taxed until cash is received and will receive a Form 1099-DIV, rather than a Form K-1.

 

See “Material U.S. Federal Income Tax Consequences.”

  

The Partnership is classified as a partnership for U.S. federal income tax purposes and, generally, is not subject to entity-level U.S. federal income taxes.

 

Each unitholder receives a Schedule K-1 from the Partnership reflecting such unitholder’s share of the Partnership’s items of income, gain, loss and deduction for each taxable year following the end of such taxable year and is subject to tax with respect to such allocations, regardless of whether cash is distributed.

 

126


Table of Contents

DESCRIPTION OF NEW CALUMET CAPITAL STOCK

General

The following description of New Calumet’s common stock, preferred stock, certificate of incorporation and bylaws is a summary only and reflects New Calumet’s amended and restated certificate of incorporation and amended and restated bylaws that will be in effect upon consummation of the Conversion, forms of which are included as exhibits to the Conversion Agreement, as amended by the First Amendment to the Conversion Agreement, copies of which are attached as Annex A and Annex A-1, respectively, to this proxy statement/prospectus. Immediately following the Conversion, New Calumet’s authorized capital stock will consist of 700,000,000 shares of common stock, $0.01 par value per share, and 100,000,000 shares of preferred stock, $0.01 par value per share.

Common Stock

Holders of shares of common stock are entitled to one vote for each share held of record on all matters on which stockholders are entitled to vote generally, including the election or removal of directors elected by New Calumet’s stockholders generally. The holders of the common stock do not have cumulative voting rights in the election of directors.

Holders of shares of common stock are entitled to receive dividends to the extent permitted by applicable law when, as and if declared by the New Calumet Board out of funds legally available therefor, subject to any statutory or contractual restrictions on the payment of dividends and to any restrictions on the payment of dividends imposed by the terms of any outstanding preferred stock.

Upon New Calumet’s liquidation, dissolution or winding up and after payment in full of all amounts required to be paid to creditors and to the holders of preferred stock having liquidation preferences, if any, the holders of shares of common stock will be entitled to receive pro rata New Calumet’s remaining assets available for distribution.

All shares of common stock that will be outstanding upon consummation of the Conversion will be fully paid and non-assessable. The common stock will not be subject to further calls or assessments by New Calumet. Holders of shares of common stock will not have preemptive, subscription, redemption or conversion rights. There will be no redemption or sinking fund provisions applicable to the common stock. The rights powers, preferences and privileges of the common stock will be subject to those of the holders of any shares of preferred stock or any other series or class of stock that New Calumet may authorize and issue in the future.

Preferred Stock

No shares of preferred stock will be issued or outstanding immediately upon consummation of the Conversion. New Calumet’s amended and restated certificate of incorporation authorizes the New Calumet Board to establish one or more series of preferred stock (including convertible preferred stock). Unless required by law or any stock exchange, the authorized shares of preferred stock will be available for issuance without further action by the holders of the common stock. The New Calumet Board is able to determine, with respect to any series of preferred stock, the powers (including voting powers), preferences and relative, participating, optional or other special rights, and the qualifications, limitations or restrictions thereof, including, without limitation:

 

   

the designation of the series;

 

   

the number of shares of the series, which the New Calumet Board may, except where otherwise provided in the preferred stock designation, increase (but not above the total number of authorized shares of the class) or decrease (but not below the number of shares then outstanding);

 

   

whether dividends, if any, will be cumulative or non-cumulative and the dividend rate of the series;

 

127


Table of Contents
   

the dates at which dividends, if any, will be payable;

 

   

the redemption or repurchase rights and price or prices, if any, for shares of the series;

 

   

the terms and amounts of any sinking fund provided for the purchase or redemption of shares of the series;

 

   

the amounts payable on shares of the series in the event of any voluntary or involuntary liquidation, dissolution or winding-up of New Calumet’s affairs;

 

   

whether the shares of the series will be convertible into shares of any other class or series, or any other security, of New Calumet or any other entity, and, if so, the specification of the other class or series or other security, the conversion price or prices or rate or rates, any rate adjustments, the date or dates as of which the shares will be convertible and all other terms and conditions upon which the conversion may be made;

 

   

restrictions on the issuance of shares of the same series or of any other class or series; and

 

   

the voting rights, if any, of the holders of the series.

Dividends

The DGCL permits a corporation to declare and pay dividends out of “surplus” or, if there is no “surplus,” out of its net profits for the fiscal year in which the dividend is declared and/or the preceding fiscal year. “Surplus” is defined as the excess of the net assets of the corporation over the amount determined to be the capital of the corporation by its board of directors. The capital of the corporation is typically calculated to be (and cannot be less than) the aggregate par value of all issued shares of capital stock. Net assets equals the fair value of the total assets minus total liabilities. The DGCL also provides that dividends may not be paid out of net profits if, after the payment of the dividend, remaining capital would be less than the capital represented by the outstanding stock of all classes having a preference upon the distribution of assets. Declaration and payment of any dividend will be subject to the discretion of the New Calumet Board.

New Calumet has no current plans to pay dividends on the common stock. Any decision to declare and pay dividends in the future will be made at the sole discretion of the New Calumet Board and will depend on, among other things, New Calumet’s results of operations, cash requirements, financial condition, contractual restrictions and other factors that the New Calumet Board may deem relevant. Because New Calumet will be a holding company following the Conversion and will have no direct operations, New Calumet will only be able to pay dividends from funds it receives from its subsidiaries. In addition, New Calumet’s ability to pay dividends will be limited by covenants in its existing indebtedness and may be limited by the agreements governing other indebtedness that New Calumet or its subsidiaries incur in the future.

Annual Stockholder Meetings

New Calumet’s amended and restated bylaws provide that annual stockholder meetings will be held at a date, time and place, if any, as exclusively selected by the New Calumet Board. To the extent permitted under applicable law, New Calumet may conduct meetings by remote communications, including by webcast.

Anti-Takeover Effects of New Calumet’s Amended and Restated Certificate of Incorporation, Amended and Restated Bylaws and Certain Provisions of Delaware Law

New Calumet’s amended and restated certificate of incorporation, amended and restated bylaws and the DGCL contain provisions, which are summarized in the following paragraphs, which are intended to enhance the likelihood of continuity and stability in the composition of the New Calumet Board. These provisions are intended to avoid costly takeover battles, reduce New Calumet’s vulnerability to a hostile or abusive change of control and enhance the ability of the New Calumet Board to maximize stockholder value in connection with any

 

128


Table of Contents

unsolicited offer to acquire New Calumet. However, these provisions may have an anti-takeover effect and may delay, deter or prevent a merger or acquisition of New Calumet by means of a tender offer, a proxy contest or other takeover attempt that a stockholder might consider in its best interest, including those attempts that might result in a premium over the prevailing market price for the shares of common stock held by stockholders.

Authorized but Unissued Capital Stock

Delaware law does not require stockholder approval for any issuance of shares that are authorized and available for issuance. However, the listing requirements of Nasdaq, which would apply so long as the common stock remains listed on Nasdaq, require stockholder approval of certain issuances equal to or exceeding 20% of the then-outstanding voting power of New Calumet’s capital stock or the-then outstanding number of shares of common stock. These additional shares may be used for a variety of corporate purposes, including future public offerings, to raise additional capital or to facilitate acquisitions.

The New Calumet Board may generally issue shares of one or more series of preferred stock on terms calculated to discourage, delay or prevent a change of control of New Calumet or the removal of its management. Moreover, New Calumet’s authorized but unissued shares of preferred stock will be available for future issuances in one or more series without stockholder approval and could be utilized for a variety of corporate purposes, including future offerings to raise additional capital, to facilitate acquisitions and in connection with employee benefit plans.

One of the effects of the existence of authorized and unissued and unreserved common stock or preferred stock may be to enable the New Calumet Board to issue shares to persons friendly to current management, which issuance could render more difficult or discourage an attempt to obtain control of New Calumet by means of a merger, tender offer, proxy contest or otherwise, and thereby protect the continuity of New Calumet’s management and possibly deprive New Calumet’s stockholders of opportunities to sell their shares of common stock at prices higher than prevailing market prices.

Classified Board of Directors

New Calumet’s amended and restated certificate of incorporation will provide that the New Calumet Board will be divided into three classes of directors, with the directors serving three-year terms (other than with respect to the initial terms of the Class I and Class II directors, which will be one and two years, respectively). As a result, approximately one-third of the New Calumet Board will be elected each year. The classification of directors will have the effect of making it more difficult for stockholders to change the composition of the New Calumet Board. New Calumet’s amended and restated certificate of incorporation and amended and restated bylaws provide that, subject to the limitations set forth in New Calumet’s amended and restated certificate of incorporation with respect to the rights of The Heritage Group to designate for nomination a certain number of directors and any rights of holders of preferred stock to elect additional directors under specified circumstances, the number of directors will be fixed from time to time exclusively pursuant to a resolution adopted by the New Calumet Board.

Delaware Law

New Calumet will not be subject to the provisions of Section 203 of the DGCL, regulating corporate takeovers. Under New Calumet’s amended and restated certificate of incorporation, New Calumet is prohibited from engaging in any business combination (as defined below) with any interested stockholder (as defined below) for a period of three years following the date that the stockholder became an interested stockholder, unless:

 

   

the business combination or the transaction which resulted in the interested stockholder becoming an interested stockholder is approved by the New Calumet Board before the date the interested stockholder attained that status;

 

   

upon consummation of the transaction that resulted in the stockholder becoming an interested stockholder, the interested stockholder owned at least 85% of the voting stock of the corporation outstanding at the time the transaction commenced (excluding certain shares); or

 

129


Table of Contents
   

at or subsequent to such time the business combination is approved by the New Calumet Board and authorized at a meeting of stockholders by at least 66 2/3% of the outstanding voting stock that is not owned by the interested stockholder.

For purposes of these provisions, a “business combination” includes, among other things, a merger, asset or stock sale, or other transaction resulting in a financial benefit to the interested stockholder, and an “interested stockholder” includes a person who, together with affiliates and associates, owns, or did own within three years prior to the determination of interested stockholder status, 15% or more of New Calumet’s outstanding voting stock.

Removal of Directors; Vacancies and Newly Created Directorships

Under the DGCL, unless otherwise provided in New Calumet’s amended and restated certificate of incorporation, directors serving on a classified board may be removed by the stockholders only for cause. New Calumet’s amended and restated certificate of incorporation will provide that, subject to the rights granted therein, directors may be removed only for cause, and only upon the affirmative vote of holders of at least 66 2/3% of the voting power of all the then-outstanding shares of stock entitled to vote generally in the election of directors, voting together as a single class.

In addition, New Calumet’s amended and restated certificate of incorporation also provides that, subject to the rights granted therein, any newly created directorship on the New Calumet Board that results from an increase in the number of directors and any vacancy occurring in the New Calumet Board may only be filled by a majority of the directors then in office, although less than a quorum, or by a sole remaining director.

Quorum

Except as otherwise provided under New Calumet’s amended and restated certificate of incorporation, for so long as the THG Stockholders and their respective Affiliates own 15% or more of the outstanding shares of common stock, the attendance of at least one director designated by the THG Stockholders shall be required to constitute a quorum of the New Calumet Board (or any committee of the New Calumet Board on which a director designated by the THG Stockholders serves) for the transaction of business with respect to such action or decision unless each director designated by the THG Stockholders provides notice to the remaining members of the New Calumet Board, the Chairman of the New Calumet Board or the secretary of New Calumet waiving such right to be included in quorum at such meeting. If there is less than a quorum at any meeting of the New Calumet Board (or any committee of the New Calumet Board on which a director designated by the THG Stockholders serves), a majority of the directors present may adjourn the meeting to a time no earlier than five business days after notice of such adjournment. If a director designated by the THG Stockholders is not present at the next meeting following an adjournment, then the presence of a number of directors exceeding 50% of the entire New Calumet Board (or exceeding 50% of the entire committee, as applicable) entitled to vote shall constitute a quorum for the next meeting.

See “Comparison of the Rights of Stockholders and Unitholders—Voting Rights; Meetings; Action by Written Consent.”

No Cumulative Voting

Under Delaware law, the right to vote in the election of directors cumulatively does not exist unless the certificate of incorporation specifically authorizes cumulative voting. New Calumet’s amended and restated certificate of incorporation does not authorize cumulative voting. Therefore, stockholders holding a majority in voting power of the shares of New Calumet’s stock entitled to vote generally in the election of directors will be able to elect all New Calumet’s directors.

Special Stockholder Meetings

New Calumet’s amended and restated certificate of incorporation provides that special meetings of New Calumet’s stockholders may be called at any time only by the New Calumet Board, and may not be called by any

 

130


Table of Contents

other person. New Calumet’s amended and restated bylaws prohibit the conduct of any business at a special meeting other than as specified in the notice for such meeting. These provisions may have the effect of deterring, delaying or discouraging hostile takeovers, or changes in control or management of New Calumet.

Director Nominations and Stockholder Proposals

New Calumet’s amended and restated bylaws establish advance notice procedures with respect to stockholder proposals and the nomination of candidates for election as directors, other than nominations made by or at the direction of the New Calumet Board or a committee of the New Calumet Board or nominations made pursuant to New Calumet’s amended and restated certificate of incorporation. In order for any matter to be “properly brought” before a meeting, a stockholder will have to comply with advance notice requirements and provide New Calumet with certain information. Generally, to be timely, a stockholder’s notice must be received at New Calumet’s principal executive offices not less than 90 days nor more than 120 days prior to the first anniversary date of the immediately preceding annual meeting of stockholders. New Calumet’s amended and restated bylaws also specify requirements as to the form and content of a stockholder’s notice. New Calumet’s amended and restated bylaws allow the chairperson of the meeting at a meeting of the stockholders to adopt rules and regulations for the conduct of meetings which may have the effect of precluding the conduct of certain business at a meeting if the rules and regulations are not followed. These provisions may also defer, delay or discourage a potential acquirer from conducting a solicitation of proxies to elect the acquirer’s own slate of directors or otherwise attempting to influence or obtain control of New Calumet.

Consent Rights

New Calumet’s amended and restated certificate of incorporation provides that, until the earlier of the THG Stockholders and their respective Affiliates no longer owning at least 5% of the outstanding shares of common stock and the third anniversary of the closing date of the Conversion, each of the following will require the consent of the THG Stockholders: (i) any amendment, modification or restatement of the organizational documents of New Calumet (including the amended and restated certificate of incorporation and amended and restated bylaws of New Calumet) or any of its significant subsidiaries, (ii) any increase or decrease in the size of the New Calumet Board, (iii) any appointment or removal of the Chairman of the New Calumet Board or Chief Executive Officer of New Calumet, and (iv) initiating any voluntary liquidation, winding up or filing any petition in bankruptcy of New Calumet or any of its significant subsidiaries.

No Stockholder Action by Written Consent

New Calumet’s amended and restated certificate of incorporation provides that any action required or permitted to be taken by the stockholders must be taken at a duly called annual or special meeting of stockholders and may not be taken by any consent in writing of such stockholders.

Supermajority Provisions

New Calumet’s amended and restated certificate of incorporation and amended and restated bylaws provide that, except as otherwise provided in New Calumet’s amended and restated certificate of incorporation, the board of directors is expressly authorized to make, alter, amend, change, add to, rescind or repeal, in whole or in part, New Calumet’s bylaws without a stockholder vote in any matter not inconsistent with the laws of the State of Delaware or New Calumet’s amended and restated certificate of incorporation. Any amendment, alteration, rescission or repeal of New Calumet’s bylaws by New Calumet’s stockholders requires the affirmative vote of the holders of at least 66 2/3% in voting power of all outstanding shares of stock entitled to vote thereon, voting together as a single class.

The DGCL provides generally that the affirmative vote of the holders of a majority of the outstanding shares entitled to vote thereon, voting together as a single class, is required to amend a corporation’s certificate of incorporation, unless the certificate of incorporation requires a greater percentage.

 

131


Table of Contents

New Calumet’s amended and restated certificate of incorporation provides that, except as otherwise provided therein, the following provisions in New Calumet’s amended and restated certificate of incorporation may be amended, altered, repealed or rescinded only by the affirmative vote of the holders of at least 66 2/3% in voting power of all outstanding shares of New Calumet’s stock entitled to vote thereon, voting together as a single class:

 

   

the provision requiring a 66 2/3% supermajority vote for stockholders to amend our amended and restated bylaws;

 

   

the provisions providing for a classified board of directors (the election and term of our directors);

 

   

the provisions regarding resignation and removal of directors;

 

   

the provisions regarding competition and corporate opportunities;

 

   

the provisions opting out of Section 203 of the DGCL (as described above);

 

   

the provisions regarding stockholder action by written consent;

 

   

the provisions regarding calling special meetings of stockholders;

 

   

the provisions relating to annual meetings of stockholders;

 

   

the provisions relating to the forum selection;

 

   

the provisions regarding filling vacancies on our board of directors and newly-created directorships;

 

   

the provisions eliminating monetary damages to the fullest extent permitted by the DGCL for breaches of fiduciary duty by a director;

 

   

the amendment provision requiring that the above provisions be amended only with a 66 2/3% supermajority vote; and

 

   

certain defined terms used in New Calumet’s amended and restated certificate of incorporation.

The combination of the classification of the New Calumet Board, the lack of cumulative voting and the supermajority voting requirements will make it more difficult for New Calumet’s existing stockholders to replace the New Calumet Board as well as for another party to obtain control of New Calumet by replacing the New Calumet Board. Because the New Calumet Board has the power to retain and discharge New Calumet’s officers, these provisions could also make it more difficult for existing stockholders or another party to effect a change in management.

These provisions may have the effect of deterring hostile takeovers or delaying or preventing changes in control of New Calumet or its management, such as a merger, reorganization or tender offer. These provisions are intended to enhance the likelihood of continued stability in the composition of the New Calumet Board and its policies and to discourage certain types of transactions that may involve an actual or threatened acquisition of New Calumet. These provisions are designed to reduce New Calumet’s vulnerability to an unsolicited acquisition proposal. The provisions are also intended to discourage certain tactics that may be used in proxy fights. However, such provisions could have the effect of discouraging others from making tender offers for New Calumet’s shares and, as a consequence, they also may inhibit fluctuations in the market price of New Calumet’s shares that could result from actual or rumored takeover attempts. Such provisions may also have the effect of preventing changes in management.

Dissenters’ Rights of Appraisal and Payment

Under the DGCL, with certain exceptions, New Calumet’s stockholders will have appraisal rights in connection with a merger or consolidation of New Calumet. Pursuant to the DGCL, stockholders entitled to seek appraisal who properly assert and perfect appraisal rights in accordance with Section 262 of the DGCL in connection with such merger or consolidation will have the right to receive payment of the fair value of their shares as determined by the Court of Chancery of the State of Delaware.

 

132


Table of Contents

Stockholders’ Derivative Actions

Under the DGCL, any of New Calumet’s stockholders may bring an action in the company’s name to procure a judgment in its favor, also known as a derivative action, provided that the stockholder bringing the action is a holder of New Calumet’s shares at the time of the transaction to which the action relates or such stockholder’s stock thereafter devolved upon such stockholder by operation of law.

Corporate Opportunity

Delaware law permits a corporation to adopt provisions in its certificate of incorporation renouncing any interest or expectancy in certain opportunities that are presented to the corporation or its officers or directors. New Calumet’s amended and restated certificate of incorporation renounces, to the fullest extent permitted by applicable law, any interest or expectancy that New Calumet has in, or right to be offered an opportunity to participate in, specified business opportunities that are from time to time presented to New Calumet’s officers, directors or stockholders or their respective affiliates, other than those officers, directors, stockholders or affiliates who are New Calumet’s or New Calumet’s subsidiaries’ employees. See “Comparison of the Rights of Stockholders and Unitholders—Conflicts of Interest; Corporate Opportunities.”.

Limitations on Liability and Indemnification and Advancement of Expenses of Officers and Directors

The DGCL authorizes corporations to limit or eliminate the personal liability of directors and officers to corporations and their stockholders for monetary damages for breaches of fiduciary duties, subject to certain exceptions. New Calumet’s amended and restated certificate of incorporation includes a provision that eliminates the personal liability of directors and officers for monetary damages to the corporation or its stockholders for any breach of fiduciary duty as a director or officer, except to the extent such exemption from liability or limitation thereof is not permitted under the DGCL. The effect of these provisions is to eliminate the rights of New Calumet and its stockholders, through stockholders’ derivative suits on New Calumet’s behalf, to recover monetary damages from a director or officer for breach of fiduciary duty as a director or officer, including breaches resulting from grossly negligent behavior. However, exculpation does not apply to any breaches of the director’s or officer’s duty of loyalty, any acts or omissions not in good faith or that involve intentional misconduct or knowing violation of law, any authorization of dividends or stock redemptions or repurchases paid or made in violation of the DGCL, or for any transaction from which the director or officer derived an improper personal benefit.

New Calumet’s amended and restated bylaws generally provide that it must indemnify and advance expenses to its directors and officers to the fullest extent authorized by the DGCL. New Calumet also is expressly authorized to carry directors’ and officers’ liability insurance providing indemnification for its directors, officers and certain employees for some liabilities. In addition, New Calumet may also enter into indemnification agreements with its directors and officers in the future. New Calumet believes that these indemnification and advancement provisions and insurance are useful to attract and retain qualified directors and executive officers.

The limitation of liability, indemnification and advancement provisions in New Calumet’s amended and restated certificate of incorporation and amended and restated bylaws may discourage stockholders from bringing a lawsuit against directors and officers for breach of their fiduciary duty. These provisions also may have the effect of reducing the likelihood of derivative litigation against directors and officers, even though such an action, if successful, might otherwise benefit New Calumet and its stockholders. In addition, your investment may be adversely affected to the extent New Calumet pays the costs of settlement and damage awards against directors and officers pursuant to these indemnification provisions.

There is currently no pending material litigation or proceeding involving any of New Calumet’s directors, officers or employees for which indemnification or advancement of expenses is sought.

 

 

133


Table of Contents

Transfer Agent and Registrar

The transfer agent and registrar for the common stock will be Computershare Trust Company, N.A.

Listing

It is a condition to the consummation of the Merger that the common stock issuable in the Merger be approved for listing on a national securities exchange, subject to official notice of issuance. The common stock is expected to trade on Nasdaq under the symbol “CLMT.”

 

134


Table of Contents

MATERIAL U.S. FEDERAL INCOME TAX CONSEQUENCES

The following is a discussion of certain material U.S. federal income tax consequences to U.S. holders (as defined below) of the Election and the Mergers and of receiving, owning and disposing of shares of common stock and warrants on common stock received in the Mergers. This discussion is based upon current provisions of the Internal Revenue Code of 1986, as amended (the “Code”), existing and proposed U.S. Treasury Regulations promulgated under the Code and judicial authority and administrative interpretations, all as of the date of this document, and all of which are subject to change, possibly with retroactive effect, and are subject to differing interpretations. Changes in these authorities may cause the tax consequences to vary substantially from the consequences described below. No ruling has been or is expected to be sought from the IRS with respect to any of the tax consequences discussed below. As a result, there can be no assurance that the IRS will not assert, or that a court would not sustain, a position contrary to any of the conclusions set forth below.

This discussion is limited to U.S. holders that hold their common units or equity interests in the General Partner, and will hold their shares of common stock received in the Mergers, as “capital assets” within the meaning of Section 1221 of the Code (generally, property held for investment). This discussion does not address any tax consequences arising under the Medicare tax on net investment income or the alternative minimum tax, nor does it address any tax consequences arising under the laws of any state, local or foreign jurisdiction, or under any U.S. federal laws other than those pertaining to income taxes. Furthermore, this discussion does not address all aspects of U.S. federal income taxation that may be applicable to U.S. holders in light of their particular circumstances or to U.S. holders that may be subject to special rules under U.S. federal income tax laws, including, without limitation:

 

   

a bank, insurance company or other financial institution;

 

   

a tax-exempt or governmental organization;

 

   

a real estate investment trust;

 

   

an S corporation or other pass-through entity (or an investor in an S corporation or other pass-through entity);

 

   

a regulated investment company or a mutual fund;

 

   

a “controlled foreign corporation” or a “passive foreign investment company”;

 

   

a dealer or broker in stocks and securities, or currencies;

 

   

a trader in securities that elects mark-to-market treatment;

 

   

a holder of common units or equity interests in the General Partner that received such common units or equity interests through the exercise of an employee option, pursuant to a retirement plan or otherwise as compensation;

 

   

a holder of options, or holders of restricted common units or equity interests in the General Partner or bonus common units or equity interests, granted under any General Partner or Partnership benefit plan;

 

   

a person whose functional currency is not the U.S. dollar;

 

   

a holder of common units or equity interests in the General Partner that holds such common units or equity interests as part of a hedge, straddle, appreciated financial position, conversion or other “synthetic security” or integrated investment or risk reduction transaction;

 

   

accrual method U.S. holders that prepare an “applicable financial statement” (as defined in Section 451 of the Code); or

 

   

a U.S. expatriate.

If a partnership, or any entity treated as a partnership for U.S. federal income tax purposes, holds common units or equity interests in the General Partner, the tax treatment of a partner in such partnership generally will

 

135


Table of Contents

depend on the status of the partner and the activities of the partnership and upon certain determinations made at the partner level. A partner in a partnership holding common units or equity interests in the General Partner should consult its own tax advisor about the U.S. federal income tax consequences of the Election and the Mergers and the U.S. federal income tax consequences of such partnership owning and disposing of shares of common stock received in the Mergers.

For purposes of this discussion, “U.S. holder” is a beneficial owner of common units, equity interests in the General Partner or shares of common stock that is for U.S. federal income tax purposes:

 

   

an individual citizen or resident of the United States;

 

   

a corporation (or any other entity taxable as a corporation for U.S. federal income tax purposes) created or organized in or under the laws of the United States, any state thereof or the District of Columbia;

 

   

an estate, whose income is subject to U.S. federal income tax regardless of its source; or

 

   

a trust (i) the administration of which is subject to the primary supervision of a U.S. court and that has one or more United States persons that have the authority to control all substantial decisions of the trust or (ii) that has made a valid election under applicable U.S. Treasury Regulations to be treated as a United States person.

THIS DISCUSSION IS PROVIDED FOR GENERAL INFORMATION ONLY AND IS NOT A COMPLETE ANALYSIS OR DESCRIPTION OF ALL POTENTIAL U.S. FEDERAL INCOME TAX CONSEQUENCES OF THE ELECTION OR THE MERGERS OR THE RECEIPT, OWNERSHIP AND DISPOSITION OF NEW CALUMET SHARES AND WARRANTS RECEIVED IN THE MERGERS. EACH HOLDER OF COMMON UNITS OR EQUITY INTERESTS IN THE GENERAL PARTNER IS STRONGLY URGED TO CONSULT WITH AND RELY UPON ITS OWN TAX ADVISOR AS TO THE SPECIFIC FEDERAL, STATE, LOCAL AND NON-U.S. TAX CONSEQUENCES TO SUCH HOLDER OF THE ELECTION, THE MERGERS AND THE RECEIPT, OWNERSHIP AND DISPOSITION OF NEW CALUMET SHARES AND WARRANTS RECEIVED IN THE MERGERS, TAKING INTO ACCOUNT ITS OWN PARTICULAR CIRCUMSTANCES.

Tax Consequences of the General Partner Entity Classification Election and the Mergers to U.S. Holders of common units and Equity Interests

Tax Characterization of the General Partner Entity Classification Election and the GP Merger. The General Partner’s Election will result in a deemed transfer by the General Partner of all of its assets and liabilities to GP Corp in exchange for stock of GP Corp, and immediately thereafter, the General Partner is deemed to liquidate by distributing the stock of GP Corp to the Sponsor Parties. The Election and the receipt of shares of common stock and New Calumet warrants in exchange for stock of GP Corp pursuant to the GP Merger are each generally intended to qualify as an exchange described in Section 351 of the Code for U.S. holders for U.S. federal income tax purposes. A Sponsor Party generally will not recognize gain or loss on the Election and the subsequent GP Merger, except as discussed below. Accordingly, it is intended that:

 

   

Sponsor Parties will generally recognize no gain or loss on their deemed receipt of GP Corp stock in exchange for equity interests in the General Partner deemed surrendered pursuant to the Election, except that, if the General Partner’s liabilities and its share of the liabilities of the Partnership for tax purposes exceeds the General Partner’s tax basis in its GP Interest, the General Partner will recognize gain to the extent of that excess amount, which gain will be allocated to the Sponsor Parties;

 

   

each Sponsor Party’s aggregate tax basis in the shares of GP Corp stock deemed received as a result of the Election will generally be the same as its aggregate tax basis in the equity interests in the General Partner deemed surrendered, reduced by the Sponsor Party’s share of the liabilities of the General Partner and of the Partnership for tax purposes, and increased by any gain recognized by the Sponsor Party as a result of the Election, with such aggregate basis allocated pro rata among each share of GP Corp stock deemed received as a result of the Election;

 

136


Table of Contents
   

the holding period of shares of GP Corp stock deemed received as a result of the Election will generally include the holding period of the equity interests in the General Partner deemed surrendered, except to the extent the shares of GP Corp stock are received by such holder in exchange for interests in assets of the General Partner that are neither capital assets nor Section 1231 assets, in which case the holding period of such shares of GP Corp stock begins on the day following the date of the Election;

 

   

Sponsor Parties will generally recognize no gain or loss on the receipt of equity interests, except that a Sponsor Party will recognize gain on the receipt of warrants in an amount equal to the lesser of (i) the fair market value of warrants received and (ii) the amount of remaining built-in gain in the Sponsor Party’s equity interests deemed surrendered in the GP Merger;

 

   

each Sponsor Party’s aggregate tax basis in the shares of common stock received in the GP Merger will generally be the same as their aggregate tax basis in the GP Corp stock deemed surrendered, reduced by the fair market value of the warrants received by the Sponsor Party, and increased by any gain recognized by the Sponsor Party as a result of the GP Merger, with such aggregate basis allocated pro rata among each share of common stock received in the GP Merger;

 

   

each Sponsor Party’s tax basis in the warrants received in the GP Merger will equal the fair market value of the warrants on the date of the GP Merger;

 

   

the holding period of shares of common stock received in the GP Merger in exchange for the GP Corp stock will generally include the holding period of the GP Corp stock deemed surrendered; and

 

   

the holding period of warrants received in the GP Merger will begin on the day following the date of the GP Merger.

A Sponsor Party’s initial tax basis in its equity interests in the General Partner equaled the amount of cash and the adjusted tax basis of property contributed to the General Partner plus the Sponsor Party’s share of the General Partner’s liabilities. A Sponsor Party’s tax basis would have been (i) increased by the Sponsor Party’s share of the General Partner’s income and by any increases in the Sponsor Party’s share of the General Partner’s liabilities, and (ii) decreased, but not below zero, by distributions from the General Partner, by the Sponsor Party’s share of the General Partner’s losses, by any decreases in the Sponsor Party’s share of the General Partner’s liabilities and by the Sponsor Party’s share of the General Partner’s expenditures that are not deductible in computing taxable income and are not required to be capitalized.

The amount of gain required to be recognized by a Sponsor Party as a result of the Election generally will be taxable as capital gain. However, a portion of the deemed amount realized may be separately computed and taxed as ordinary income under Section 751 of the Code to the extent attributable to “unrealized receivables,” including depreciation recapture, or to “inventory items” owned by the General Partner, the Partnership or its subsidiaries. Additionally, any gain recognized in excess of depreciation recapture that is attributable to assets of the General Partner, the Partnership or its subsidiaries that are subject to the allowance for depreciation may be taxed as ordinary income.

Capital gain recognized by a Sponsor Party on the receipt of warrants will generally be long-term capital gain if the Sponsor Party is deemed to have held its equity interests for more than one year as of the effective time of the GP Merger. If the U.S. holder is an individual, such long-term capital gain will generally be eligible for reduced rates of taxation.

Passive losses that were not deductible by a U.S. holder in prior taxable periods because they exceeded a Sponsor Party’s share of the General Partner’s income may be utilized to offset any gain recognized from the GP Transactions and may be deducted in full upon the U.S. holder’s taxable disposition of all of its shares of common stock received in the GP Merger.

Business interest expense allocated to a Sponsor Party but not deducted because of the business interest deduction limitations will be added to the tax basis of the stock of GP Corp deemed received by U.S. holders pursuant to the Election.

 

137


Table of Contents

Tax Characterization of the Partnership Merger. The receipt of shares of common stock in exchange for common units pursuant to the Partnership Merger is generally intended to qualify as an exchange described in Section 351 of the Code for U.S. holders for U.S. federal income tax purposes. A U.S. holder generally will not recognize gain or loss on the receipt of shares of common stock in exchange for common units, except as discussed below. Accordingly, it is intended that:

 

   

U.S. holders will generally recognize no gain or loss on their receipt of shares of common stock in exchange for common units, except that a U.S. holder whose share of the nonrecourse liabilities of the Partnership for tax purposes exceeds such U.S. holder’s tax basis in its common units will recognize gain to the extent of that excess amount;

 

   

each U.S. holder’s aggregate tax basis in the shares of common stock received in the Partnership Merger will generally be the same as their aggregate tax basis in the common units surrendered in exchange therefor, reduced by the U.S. holder’s share of the Partnership nonrecourse liabilities surrendered, and increased by any gain recognized by the U.S. holder in the Partnership Merger, with such aggregate basis allocated pro rata among each share of common stock received in the Partnership Merger; and

 

   

the holding period of shares of common stock received in exchange for common units will generally include the holding period of the common units surrendered in the exchange, except to the extent the shares of common stock are received by such holder in exchange for interests in assets of the Partnership that are neither capital assets nor Section 1231 assets, in which case the holding period of such shares of common stock begins on the day following the date of the Partnership Merger.

A U.S. holder’s initial tax basis in common units purchased with cash equaled, at the time of such purchase, the amount such U.S. holder paid for the common units plus the U.S. holder’s share of the Partnership’s nonrecourse liabilities. Over time that basis would have been (i) increased by the U.S. holder’s share of the Partnership’s income and by any increases in the U.S. holder’s share of the Partnership’s nonrecourse liabilities, and (ii) decreased, but not below zero, by distributions from the Partnership, by the U.S. holder’s share of the Partnership’s losses, by any decreases in the U.S. holder’s share of the Partnership’s nonrecourse liabilities and by the U.S. holder’s share of the Partnership’s expenditures that are not deductible in computing taxable income and are not required to be capitalized.

Capital gain recognized by a U.S. holder, if any, will generally be long-term capital gain if the U.S. holder has held its common units for more than one year as of the effective time of the Partnership Merger. If the U.S. holder is an individual, such long-term capital gain will generally be eligible for reduced rates of taxation. However, a portion of the deemed amount realized may be separately computed and taxed as ordinary income under Section 751 of the Code to the extent attributable to “unrealized receivables,” including depreciation recapture, or to “inventory items” owned by the Partnership and its subsidiaries. Ordinary income attributable to unrealized receivables and inventory items may exceed net taxable gain realized and may be recognized even if there is a net taxable loss realized. Thus, a U.S. holder may recognize both ordinary income and a capital loss.

Passive losses that were not deductible by a U.S. holder in prior taxable periods because they exceeded a U.S. holder’s share of the Partnership’s income may be utilized to offset any gain recognized in the Partnership Merger and may be deducted in full upon the U.S. holder’s taxable disposition of all of its shares of common stock received in the Partnership Merger.

Business interest expense allocated to a U.S. holder but not deducted because of business interest deduction limitations will be added to the tax basis of the shares of common stock received in exchange for common units.

The Mergers should qualify as exchanges described in Section 351 of the Code, with the resulting consequences described above, if the Sponsor Parties and the Partnership Unitholders are in control (within the meaning of Section 368(c) of the Code) of New Calumet immediately after the Mergers. “Control” for purposes

 

138


Table of Contents

of Section 351 is defined as the ownership of stock possessing at least 80 percent of the total combined voting power of all classes of stock entitled to vote and at least 80 percent of the total number of shares of all other classes of stock of the corporation. The Sponsor Parties and the Partnership Unitholders will receive control of New Calumet pursuant to the Mergers. However, if the parties to the transaction take any steps that would cause such holders to lose “control” of New Calumet immediately after the Mergers within the meaning of Section 368(c) of the Code as interpreted by applicable case law and IRS guidance, the transaction would not satisfy the requirements of Section 351 of the Code, in which case the exchange of common units and equity interests in the General Partner for shares of common stock (and warrants) would be a taxable transaction and any gain or loss realized by a holder would be recognized.

The U.S. federal income tax consequences of the Mergers to a U.S. holder are complex and will depend on such U.S. holder’s own personal tax situation. Accordingly, each U.S. holder is strongly urged to consult its own tax advisor with respect to the specific tax consequences of the Mergers, taking into account its own particular circumstances.

The General Partner’s and the Partnership’s Items of Income, Gain, Loss and Deduction for the Taxable Period Ending on the Date of the Election.

A U.S. holder and the General Partner will be allocated its share of the Partnership’s items of income, gain, loss and deduction for the taxable period of the Partnership ending on the date of the Partnership Merger. This allocation will be made in accordance with the terms of the Partnership Agreement.

A Sponsor Party will be allocated its share of the General Partner’s items of income, gain, loss and deduction for the taxable period of the General Partner ending on the date of the Election. This allocation will be made in accordance with the terms of the limited liability company agreement governing the affairs of the General Partner.

A Sponsor Party and a U.S. holder will be subject to U.S. federal income taxes on any such allocated income and gain even if such Sponsor Party and U.S. holder does not receive a cash distribution from the General Partner or the Partnership. Any such income and gain allocated to a U.S. holder will increase the U.S. holder’s tax basis in the common units. Any such income and gain allocated to a Sponsor Party will increase the Sponsor Party’s tax basis in its equity interests in the General Partner. The increased tax basis may impact the gain recognized by a U.S. holder in the Partnership Merger, may impact the gain recognized by a Sponsor Party as a result of the Election and GP Merger, and will impact such U.S. holder’s and Sponsor Party’s tax basis in the shares of common stock received in the Mergers. Any losses or deductions allocated to a U.S. holder will decrease the U.S. holder’s tax basis in the common units. Any losses or deductions allocated to a Sponsor Party will decrease the Sponsor Party’s tax basis in the equity interests in the General Partner. The reduced tax basis may impact the gain recognized by a U.S. holder in the Partnership Merger, may impact the gain recognized by a Sponsor Party as a result of the Election and GP Merger, and will impact such U.S. holder’s and Sponsor Party’s tax basis in the shares of common stock received in the Mergers.

Tax Consequences to U.S. Holders of Owning and Disposing of Shares Received in the Mergers and of Owning, Disposing of and Exercising Warrants Received in the GP Merger

Distributions on Shares. For U.S. federal income tax purposes, distributions of cash by New Calumet, if any, to a U.S. holder with respect to shares of common stock received in the Mergers will generally be included in a U.S. holder’s income as ordinary dividend income to the extent of New Calumet’s current or accumulated “earnings and profits” as determined under U.S. federal income tax principles. A portion of the cash distributed to the stockholders by New Calumet after the Mergers, if any, may exceed New Calumet’s current or accumulated earnings and profits. Distributions of cash in excess of New Calumet’s current or accumulated earnings and profits will be treated as a non-taxable return of capital reducing a U.S. holder’s adjusted tax basis in such U.S. holder’s shares of common stock and, to the extent the distribution exceeds such U.S. holder’s

 

139


Table of Contents

adjusted tax basis, as capital gain from the sale or exchange of such shares of common stock. Dividends received by a corporate U.S. holder may be eligible for a dividends received deduction, subject to applicable limitations. Dividends received by an individual U.S. holder may be taxed at the lower applicable long-term capital gains rate if such dividends are treated as “qualified dividend income” for U.S. federal income tax purposes.

Sale, Exchange, Certain Redemptions or Other Taxable Dispositions of Shares of Common Stock. Upon the sale, exchange, certain redemptions or other taxable dispositions of shares of common stock received in the Mergers, a U.S. holder will generally recognize capital gain or loss equal to the difference between (i) the amount of cash and the fair market value of any other property received upon such taxable disposition of shares of common stock and (ii) the U.S. holder’s adjusted tax basis in such shares of common stock. Such capital gain or loss will be long-term capital gain or loss if the U.S. holder’s holding period in the shares of common stock disposed of is more than twelve months at the time of such taxable disposition. Long-term capital gains of non-corporate taxpayers are generally taxed at reduced rates. The deductibility of capital losses is subject to limitations.

Exercise or Lapse of Warrants. A U.S. holder generally will not recognize taxable gain or loss on the acquisition of common stock upon exercise of a warrant for cash. Upon the exercise of a warrant, the tax basis in the common stock acquired will be the sum of (i) the tax basis of the warrant exercised and (ii) the exercise price paid, if any. The holding period of the common stock acquired through the exercise of a warrant will generally begin on the date the warrant is exercised. If a U.S. holder exercises its warrants by surrendering to New Calumet warrants with a value equal to the exercise price in lieu of the payment of the exercise price in cash (a “cashless exercise”), the holding period for the common stock may include the U.S. holder’s holding period in the warrants. A U.S. holder should consult its own tax advisor with respect to the tax consequences of a cashless exercise of a warrant. If a warrant is allowed to lapse unexercised, a U.S. holder generally will recognize a capital loss equal to such holder’s tax basis in the warrant.

Constructive Distributions. Under Section 305 of the Code, an adjustment to (or a failure to adjust) the number of shares of common stock issuable upon exercise of a warrant, or an adjustment to (or a failure to adjust) the exercise price of a warrant, may be treated as a constructive distribution to a U.S. holder to the extent such adjustment (or failure to adjust) has the effect of increasing the U.S. holder’s proportionate interest in our earnings and profits or assets, as determined under U.S. federal income tax principles, depending on the circumstances of such adjustment (or failure to adjust) (for example, if such adjustment is to compensate for a distribution of cash or other property to our stockholders). Any such constructive dividend would be treated for U.S. federal income tax purposes in the same manner as an actual distribution on our common stock paid in cash or other property, as described above under “—Distributions on Shares,” regardless of whether an actual distribution of cash or other property occurs.

Sale, Exchange, Certain Redemptions or Other Taxable Dispositions of Warrants. Upon the sale, exchange, certain redemptions, or other taxable dispositions of a warrant received in the Mergers, a U.S. holder will generally recognize capital gain or loss equal to the difference between (i) the amount of cash and the fair market value of any other property received upon such taxable disposition of the warrant and (ii) the U.S. holder’s adjusted tax basis in such warrant. Such capital gain or loss will be long-term capital gain or loss if the U.S. holder’s holding period in the warrant disposed of is more than twelve months at the time of such taxable disposition. Long-term capital gains of non-corporate taxpayers are generally taxed at reduced rates. The deductibility of capital losses is subject to limitations.

Information Reporting and Backup Withholding

Information returns may be required to be filed with the IRS in connection with the Mergers and in connection with distributions made with respect to, or dispositions of, shares of common stock received in the Mergers. A U.S. holder may be subject to U.S. backup withholding on distributions made with respect to, or on payments made pursuant to dispositions of, shares of common stock received in the Mergers unless such holder

 

140


Table of Contents

provides proof of an applicable exemption or a correct taxpayer identification number and otherwise complies with the applicable requirements of the backup withholding rules. Any amount withheld under the U.S. backup withholding rules is not an additional tax and will generally be allowed as a refund or credit against the U.S. holder’s U.S. federal income tax liability provided that the required information is timely furnished to the IRS.

Reporting Requirements

Holders of common units or equity interests in the General Partner that receive shares of common stock representing at least 5% of the total combined voting power or value of the total outstanding shares of common stock are required to attach to their U.S. federal income tax returns for the year in which the Mergers are completed, and maintain a permanent record of, a statement containing the information listed in U.S. Treasury Regulations Section 1.351-3. The facts to be disclosed by a holder include the aggregate fair market value of, and the holder’s basis in, the common units or equity interests in the General Partner exchanged in the Mergers.

 

141


Table of Contents

MANAGEMENT’S DISCUSSION AND ANALYSIS OF FINANCIAL CONDITION AND

RESULTS OF OPERATIONS OF THE PARTNERSHIP

The historical consolidated financial statements included in this proxy statement/prospectus reflect all of the assets, liabilities and results of operations of the Partnership and its consolidated subsidiaries. The following discussion analyzes the financial condition and results of operations of the Partnership for the three months ended March 31, 2024 and 2023 and the years ended December 31, 2023, 2022, and 2021. Unitholders should read the following discussion and analysis of the financial condition and results of operations of the Partnership in conjunction with the historical consolidated financial statements and the related notes thereto included elsewhere in this proxy statement/prospectus.

Overview

The Partnership manufactures, formulates and markets a diversified slate of specialty branded products and renewable fuels to customers across a broad range of consumer-facing and industrial markets. The Partnership is headquartered in Indianapolis, Indiana and operates twelve facilities throughout North America.

The Partnership’s operations are managed using the following reportable segments: Specialty Products and Solutions; Performance Brands; Montana/Renewables; and Corporate. For additional information, see Note 18—“Segments and Related Information” in the notes to the audited consolidated financial statements included elsewhere in this proxy statement/prospectus. In its Specialty Products and Solutions segment, the Partnership manufactures and markets a wide variety of solvents, waxes, customized lubricating oils, white oils, petrolatums, gels, esters, and other products. The Partnership’s specialty products are sold to domestic and international customers who purchase them primarily as raw material components for consumer-facing and industrial products. In its Performance Brands segment, the Partnership blends, packages and markets high performance products through its Royal Purple, Bel-Ray, and TruFuel brands. The Partnership’s Montana/Renewables segment is comprised of two facilities—renewable fuels and specialty asphalt. At its Great Falls renewable fuels facility, the Partnership processes a variety of geographically advantaged renewable feedstocks into renewable diesel, sustainable aviation fuel, renewable hydrogen, renewable natural gas, renewable propane, and renewable naphtha that are distributed into renewable markets in the western half of North America. At its Montana specialty asphalt facility, the Partnership processes Canadian crude oil into conventional gasoline, diesel, jet fuel and specialty grades of asphalt, with production sized to serve local markets. The Partnership’s Corporate segment primarily consists of general and administrative expenses not allocated to the Specialty Products and Solutions, Performance Brands or Montana/Renewables segments.

Restatement of Previously Issued Financial Statements

The Partnership has restated its consolidated financial statements and related disclosures as of and for the year ended December 31, 2022 and each of the periods ended March 31, 2023, June 30, 2023, and September 30, 2023. See Note 21—“Restatement of Prior Period” and Note 22—“Quarterly Financial Data (Unaudited)” in the notes to the audited consolidated financial statements included elsewhere in this proxy statement/prospectus for additional information related to the restatement, including descriptions of the misstatements and the impacts on the Partnership’s financial statements.

Recent Developments

The Conversion

On November 9, 2023, the Partnership entered into the Restructuring Agreement to effectuate a corporate transition of the Partnership to a new Delaware corporation.

Pursuant to the Restructuring Agreement and the transaction documents to be entered into in connection therewith, at the closing of the transactions contemplated by the Restructuring Agreement, among other things:

 

   

each common unit in the Partnership will be exchanged for one share of New Calumet common stock;

 

142


Table of Contents
   

all equity interests in the General Partner (which currently owns all of the Partnership’s incentive distribution rights and its 2.0% GP Interest in the Partnership) will be exchanged for 5,500,000 shares of common stock and warrants to purchase 2,000,000 shares of common stock, each exercisable for one share common stock at an exercise price of $20.00 per share (subject to adjustment) and expiring three years from the date of issuance, which shares and warrants will be issued to the owners of the General Partner;

 

   

as a result of the Conversion, the General Partner will become a wholly owned subsidiary of New Calumet, and its incentive distribution rights and 2.0% GP Interest will be cancelled, and the Partnership will become a wholly owned subsidiary of New Calumet; the New Calumet Common Stock will continue to trade on Nasdaq.

On February 9, 2024, the Partnership entered into the Restructuring Agreement Amendment. Pursuant to the Restructuring Agreement Amendment, as of the date of the closing of the Conversion (the “Closing”), New Calumet will be governed by a board of directors of 10 directors, classified into three classes. The initial directors of New Calumet will be appointed by The Heritage Group, and following the Closing, (i) for so long as the THG Stockholders and their respective Affiliates own at least 16.7% of the outstanding shares of common stock, the THG Stockholders will have the right to nominate two directors; (ii) for so long as the THG Stockholders and their respective Affiliates own less than 16.7% but 5% or more of the outstanding shares of common stock, the THG Stockholders will have the right to nominate one director; and (iii) at such time as the THG Stockholders and their respective Affiliates cease to own at least 5% of the outstanding shares of Common Stock, the THG Stockholders will not have the right to nominate any directors. In addition, the Restructuring Agreement Amendment sets forth certain Partnership unitholder approvals that are conditions to the Closing and provides that the General Partner will make an election to be taxed as an association taxable as a corporation for U.S. federal income tax purposes prior to the Closing.

On February 9, 2024, the Partnership entered into the Conversion Agreement to effectuate the Conversion. The GP Board unanimously approved the terms of the Conversion Agreement and the transactions contemplated thereby and resolved to recommend that the Partnership’s unitholders approve the Conversion Agreement. The GP Board approved the Conversion Agreement following the recommendation and special approval of the Conflicts Committee. On April 17, 2024, the Partnership, the General Partner, New Calumet, the Merger Subs and the Sponsor Parties entered into the First Amendment to the Conversion Agreement which amended the forms of the New Calumet Charter, the New Calumet Bylaws and the Stockholders Agreement attached to the Conversion Agreement, in each case to reflect certain changes in response to developments in applicable law.

The consummation of the Conversion is subject to certain customary conditions, including, among others: (i) approval of the Conversion Agreement and certain related matters specified in the Restructuring Agreement by the holders of a majority of the Partnership’s outstanding common units; (ii) the absence of any law or injunction prohibiting the consummation of the transactions contemplated by the Conversion Agreement; (iii) the effectiveness of a registration statement on Form S-4 filed by New Calumet with respect to the registration of the shares of common stock to be issued in the Conversion; (iv) approval for listing of the common stock on Nasdaq; (v) expiration or termination of applicable waiting periods under the HSR Act; (vi) the election by the General Partner to be taxed as an association taxable as a corporation for U.S. federal income tax purposes; (vii) subject to specified materiality standards, the accuracy of certain representations and warranties of the other party; and (viii) compliance by the other party in all material respects with its covenants.

The Conversion Agreement may be terminated: (i) by the mutual written consent of the Partnership and the Sponsor Parties; (ii) if, upon the conclusion of the meeting of the Partnership’s unitholders called to approve the Conversion, the required unitholder approvals have not been obtained; (iii) if the Closing has not occurred on or before August 7, 2024; or (iv) upon the occurrence of certain other events specified in the Conversion Agreement.

 

143


Table of Contents

For additional information, please read the Partnership’s Current Reports on Form 8-K filed with the Securities and Exchange Commission on November 9, 2023 and February 12, 2024. Please also read “Risk Factors—The Conversion is subject to conditions, including some conditions that may not be satisfied on a timely basis, if at all. Failure to complete the Conversion, or significant delays in completing the Conversion, could negatively affect the Partnership’s business and financial results and the price of the common units or, following the consummation of the Conversion, future business and financial results of New Calumet and the price of the common stock.”

Issuance of 2029 Secured Notes

On March 7, 2024, the Partnership and Calumet Finance Corp. (“Finance Corp.” and, together with the Partnership, the “Issuers”) issued $200.0 million aggregate principal amount of their 2029 Secured Notes in a private placement transaction in reliance on an exemption from registration under Section 4(a)(2) of the Securities Act. The 2029 Secured Notes will mature on July 15, 2029, and interest on the Notes is payable semi-annually in arrears on January 15 and July 15 of each year, beginning on July 15, 2024. The 2029 Secured Notes are guaranteed on a senior secured basis by all of the Partnership’s existing subsidiaries (other than Finance Corp., the Partnership’s unrestricted subsidiaries, MHRL and MRL, and certain immaterial restricted subsidiaries). The 2029 Secured Notes and the guarantees thereof are secured by a first priority lien (subject to certain exceptions) on all of the fixed assets that secure the Partnership’s and its restricted subsidiaries’ obligations under their secured hedge agreements, including, subject to certain exceptions, certain present and future real property, fixtures and equipment; certain United States registered patents and patent license rights, trademarks and trademark license rights, copyrights and copyright license rights and trade secrets; certain chattel paper, documents and instruments; cash deposits in the PP&E proceeds account; certain books and records; and all accessions and proceeds of any of the foregoing.

The Partnership used a portion of the net proceeds from the private placement of the 2029 Secured Notes, together with cash on hand, to redeem all of the Issuers’ 9.25% Senior Secured First Lien Notes due 2024 (the “2024 Secured Notes”) and $50.0 million aggregate principal amount of the outstanding 2025 Notes (as defined below).

First Quarter of 2024 and Fiscal Year 2023 Update

Outlook and Trends

During the first quarter of 2024, the Partnership’s business continued to benefit from an above mid-cycle margin environment in its Specialty Products and Solutions and Performance Brands segments. Demand for the Partnership’s products in these businesses remained strong in comparison to historical averages and the Partnership continues to leverage the benefits of its fully integrated specialty business in this market. As expected, margins continue to slowly normalize relative to the record highs experienced in the second half of 2022 and early 2023, but remain elevated above mid-cycle levels, which the Partnership expects to continue for the remainder of the year. Further, the Partnership believes low unemployment and stabilizing raw material and packaging costs point to a continuation of healthy demand for the majority of its products. While the risk of recession and inflation continue to be monitored, the Partnership’s plants and the industry are expected to operate at high rates to meet market demand.

In the Partnership’s Montana/Renewables segment, the Partnership continues to see strong demand for its renewable fuel products. The Partnership maintains its outlook of strong demand for renewable fuel products, including those the Partnership produces at its Montana Renewables Facility. The Partnership believes demand for renewable fuel products will continue to grow as a result of the rapid expansion of corporate decarbonization targets, broad sustainability initiatives, and governmental mandates and incentives that have been passed or announced by national, state, and provincial jurisdictions across the globe. In light of the global decarbonization initiatives, forecasts of future availability still fall short of the necessary emissions reductions that would be

 

144


Table of Contents

required to reach established net-zero goals, as supply does not exist yet. For example, the Montana Renewables Facility is one of the only facilities in North America capable of SAF production at scale in North America today. The Partnership believes that its position as a first-mover makes it a key producer for potential offtake partners to help them reach their announced targets.

As the Partnership has experienced in the past several years, its integrated business model and diversified product portfolio provides an advantaged response to changing market conditions. While the Partnership is not immune to the impacts of an economic downturn, the Partnership believes its specialty business is well positioned to withstand one.

Contingencies

For a summary of litigation and other contingencies, please read Note 6 “Commitments and Contingencies” in the notes to the consolidated financial statements included elsewhere in this proxy statement/prospectus. Based on information available to the Partnership at the present time, the Partnership does not believe that any liabilities beyond the amounts already accrued, which may result from these contingencies, will have a material adverse effect on its liquidity, financial condition or results of operations.

Financial Results

The Partnership reported a net loss of $41.6 million in the first quarter of 2024 versus net income of $18.6 million in the first quarter of 2023. The Partnership reported Adjusted EBITDA (as defined in “—Non-GAAP Financial Measures”) of $21.6 million in the first quarter of 2024 versus $77.3 million in the first quarter of 2023. The Partnership used cash from operating activities of $94.0 million in the first quarter of 2024 versus using cash from operating activities of $26.7 million in the first quarter of 2023.

The Partnership reported net income of $48.1 million in 2023, versus a net loss of $173.3 million in 2022. The Partnership reported Adjusted EBITDA (as defined in “—Non-GAAP Financial Measures”) of $260.5 million in 2023, versus $390.0 million in 2022. The Partnership used cash from operating activities of $14.9 million in 2023, versus generating cash from operating activities of $100.6 million in 2022.

Please read “—Non-GAAP Financial Measures” for a reconciliation of EBITDA, Adjusted EBITDA and Distributable Cash Flow to Net income (loss), the Partnership’s most directly comparable financial performance measure calculated and presented in accordance with GAAP.

Specialty Products and Solutions segment Adjusted EBITDA was $41.8 million in the first quarter of 2024 versus $76.0 million in the first quarter of 2023. Compared to the first quarter of 2023, Specialty Products and Solutions first quarter of 2024 segment Adjusted EBITDA was unfavorably impacted by lower throughput volumes as a result of a planned turnaround at the Shreveport facility during the quarter. The turnaround at the Partnership’s Shreveport facility was successfully completed on time and on budget. Current period results in the Partnership’s fuels business were unfavorably impacted by weak asphalt margins, which was the result of seasonality and a run-up in crude prices.

Specialty Products and Solutions segment Adjusted EBITDA was $251.2 million in 2023 compared to $379.4 million in the prior year. Compared to the prior year, Specialty Products and Solutions 2023 segment Adjusted EBITDA was unfavorably impacted by lower throughput volumes as a result of the planned turnarounds completed at the Cotton Valley, Shreveport and Princeton facilities during 2023 coupled with the impact of unplanned outages as a result of the severe weather experienced in Northwest Louisiana during 2023. The specialties and fuels margin environments continue to slowly regress from record highs, but remain strong compared to historical averages and continue to benefit the Partnership’s business.

Montana/Renewables segment Adjusted EBITDA was a loss of $14.5 million in the first quarter of 2024 versus $4.8 million in the first quarter of 2023. The first quarter results were unfavorably impacted by higher material costs, primarily as it related to processing higher priced pre-treated feedstocks purchased prior to the

 

145


Table of Contents

summer 2023 slowdown related to a steam system issue. During the first quarter, the Partnership’s Montana Renewables business showed sequential month over month improvements in operational and financial performance. Progression of operational milestones throughout the first quarter have allowed the Partnership to process an overhang of the old and expensive pre-treated feedstock inventory. Results were also impacted by a seasonally weak asphalt and gas market in Montana exacerbated by a rapid run-up in WCS prices and higher operating expenses as a result of a utility surcharge during the extreme January temperatures.

Montana/Renewables segment Adjusted EBITDA was $30.2 million in 2023 compared to $75.8 million in 2022. Compared to the prior year, Montana/Renewables 2023 segment Adjusted EBITDA was unfavorably impacted by lower throughput volumes as a result of throughput constraints caused by the ruptured steam drum and a turnaround at the Montana Renewables Facility during the current year period, coupled with the impact of lower production volumes as a result of modifying the legacy Great Falls specialty asphalt facility to operate at a new and reduced nameplate capacity as part of the conversion to renewable fuel production. In addition to this, 2023 results were unfavorably impacted by higher material costs, primarily as it related to higher priced pre-treated feedstocks to support the start-up of the feedstock pre-treatment and SAF units.

Performance Brands segment Adjusted EBITDA was $13.4 million in the first quarter of 2024 versus $16.4 million of Adjusted EBITDA in the first quarter of 2023, which included a $5.0 million favorable benefit for the receipt of an insurance claim. Results in the Performance Brands segment were up driven by strong volume growth across high performance products slightly offset by weakness in retail channels.

Performance Brands segment Adjusted EBITDA was $47.9 million in 2023, compared to $20.2 million in 2022. Compared to the prior year, Performance Brands segment Adjusted EBITDA was favorably impacted by an increase in net unit margins as a result of input costs stabilizing in the Partnership’s branded and consumer markets and an increase in industrial volumes. The segment also benefited from a partial payout of the Partnership’s ongoing business interruption claims and received $8.2 million of insurance payments during the current year.

Total Corporate segment costs represented a loss of $19.1 million of Adjusted EBITDA in the first quarter 2024 versus a loss of $19.9 million of Adjusted EBITDA in the first quarter 2023 due to lower labor and benefits related expenses.

Corporate segment Adjusted EBITDA was negative $68.8 million in 2023, versus negative $85.4 million in 2022 primarily due to lower labor and benefits related expenses.

Liquidity Update

As of March 31, 2024, the Partnership had total liquidity of $211.8 million comprised of $23.9 million of unrestricted cash and $187.9 million of availability under its credit facilities. As of March 31, 2024, the Partnership’s revolving credit facilities had a $563.9 million borrowing base, $43.6 million in outstanding standby letters of credit and $332.4 million of outstanding borrowings. The Partnership believes it will continue to have sufficient liquidity from cash on hand, projected cash flow from operations, borrowing capacity and other means by which to meet its financial commitments, debt service obligations, contingencies, and anticipated capital expenditures for at least the next 12 months. Please read “—Liquidity and Capital Resources” and “Risk Factors” for additional information.

Renewable Fuel Standard Update

Along with the broader refining industry, the Partnership remains subject to compliance costs under the RFS unless or until it receives a small refinery exemption from the EPA, which the Partnership has historically received. Administered by the EPA, the RFS provides annual requirements for the total volume of renewable

 

146


Table of Contents

transportation fuels that are mandated to be blended into finished transportation fuels. If a refiner does not meet its required annual renewable volume obligation, the refiner can purchase blending credits in the open market, referred to as RINs. For more information, see “Risk Factors—The availability and cost of renewable identification numbers and results of litigation related to our SRE petitions could have a material adverse effect on our results of operations and financial condition and our ability to make payments on our debt obligations.”

During the first quarter of 2024, the Partnership recorded a gain of $64.5 million for RINs, as compared to a gain of $32.1 million for RINs in the first quarter of 2023. For the year ended December 31, 2023, the Partnership recorded a gain of $231.2 million for RINs, as compared to an expense of $197.5 million for RINs for the year ended December 31, 2022. The Partnership’s gross RINs Obligation, which includes RINs that are required to be secured through either its own blending or through the purchase of RINs in the open market, is spread across four compliance categories (D3, D4, D5 and D6). The gross RINs obligations may be satisfied by the Partnership’s own renewables blending, RIN purchases, or receipt of small refinery exemptions.

Expenses related to RFS compliance have the potential to remain a significant expense for the two segments containing fuels products. If legal or regulatory changes occur that have the effect of increasing the Partnership’s RINs Obligation or eliminating or narrowing the availability of the small refinery exemption under the RFS program, the Partnership could be required to purchase additional RINs in the open market, which may materially increase costs related to RFS compliance and could have a material adverse effect on the Partnership’s results of operations and liquidity.

See Note 6—“Commitments and Contingencies” in the notes to the audited consolidated financial statements included elsewhere in this proxy statement/prospectus for further information on the Partnership’s RINs Obligation.

Unrestricted Subsidiaries

See Note 19—“Unrestricted Subsidiaries” in the notes to the audited consolidated financial statements included elsewhere in this proxy statement/prospectus for further information regarding certain financial information of the Partnership’s unrestricted subsidiaries.

Key Performance Measures

The Partnership’s sales and results of operations are principally affected by demand for specialty products, fuel and renewable fuel product demand, global fuel crack spreads, the price of natural gas used as fuel in its operations, its ability to operate its production facilities at high utilization, and results from derivative instrument activities.

The Partnership’s primary raw materials are crude oil, renewable feedstocks and other specialty feedstocks, and its primary outputs are specialty consumer facing and industrial products, specialty branded products, and fuel and renewable fuel products. The prices of crude oil, specialty products and fuel and renewable fuel products are subject to fluctuations in response to changes in supply, demand, market uncertainties and a variety of factors beyond the Partnership’s control. The Partnership monitors these risks and from time-to-time enters into derivative instruments designed to help mitigate the impact of commodity price fluctuations on its business. The primary purpose of the Partnership’s commodity risk management activities is to economically hedge its cash flow exposure to commodity price risk. The Partnership may also hedge when market conditions exist that the Partnership believes to be out of the ordinary and particularly supportive of its financial goals. The Partnership enters into derivative contracts for future periods in quantities that do not exceed its projected purchases of crude oil and natural gas and sales of fuel products. Please read Note 9—“Derivatives” in the notes to the audited consolidated financial statements included elsewhere in this proxy statement/prospectus.

The Partnership’s management uses several financial and operational measurements to analyze its performance. These measurements include the following:

 

   

sales volumes;

 

147


Table of Contents
   

segment gross profit;

 

   

segment Adjusted gross profit;

 

   

segment Adjusted EBITDA; and

 

   

selling, general and administrative expenses.

Sales volumes. The Partnership views the volumes of Specialty Products and Solutions products, Montana/Renewables products and Performance Brands products sold as an important measure of its ability to effectively utilize its operating assets. The Partnership’s ability to meet the demands of its customers is driven by the volumes of feedstocks that it runs at its facilities. Higher volumes typically improve profitability both through the spreading of fixed costs over greater volumes and the additional gross profit achieved on the incremental volumes.

Segment gross profit. Specialty Products and Solutions, Montana/Renewables and Performance Brands products’ gross profit are important measures of profitability of the Partnership’s segments. The Partnership defines gross profit as sales less the cost of crude oil and other feedstocks, LCM/LIFO adjustments, and other production-related expenses, the most significant portion of which includes labor, plant fuel, utilities, contract services, maintenance, transportation, RINs, depreciation and amortization and processing materials. The Partnership uses gross profit as an indicator of its ability to manage margins in its business over the long-term. The increase or decrease in selling prices typically lags behind the rising or falling costs, respectively, of feedstocks throughout its business. Other than plant fuel, RINs mark-to-market adjustments, and LCM/LIFO adjustments, production related expenses generally remain stable across broad ranges but can fluctuate depending on maintenance activities performed during a specific period.

Segment Adjusted gross profit. Specialty Products and Solutions, Montana/Renewables and Performance Brands products segment Adjusted gross profit measures are useful as they exclude transactions not related to the Partnership’s core cash operating activities and provide metrics to analyze the profitability of the core cash operations of its segments. The Partnership defines segment Adjusted gross profit as segment gross profit excluding the impact of (a) LCM inventory adjustments; (b) the impact of liquidation of inventory layers calculated using the LIFO method; (c) RINs mark-to-market adjustments; (d) depreciation and amortization; and (e) all extraordinary, unusual or non-recurring items of revenue or cost of sales.

Segment Adjusted EBITDA. The Partnership believes that Specialty Products and Solutions, Montana/Renewables and Performance Brands segment Adjusted EBITDA measures are useful as they exclude transactions not related to its core cash operating activities and provide metrics to analyze the Partnership’s ability to pay interest to its noteholders. Adjusted EBITDA allows the Partnership to meaningfully analyze the trends and performance of core cash operations as well as to make decisions regarding the allocation of resources to segments. Corporate Adjusted EBITDA primarily reflects general and administrative costs.

 

148


Table of Contents

Results of Operations

Production Volume. The following table sets forth information about the Partnership’s continuing operations. Facility production volume differs from sales volume due to changes in inventories and the sale of purchased blendstocks such as ethanol and specialty blendstocks, as well as the resale of crude oil.

 

    Three Months Ended March 31,     Year Ended December 31,  
    2024     2023     2023     2022     2021  
    (In bpd)  

Total sales volume (1)

    83,602       76,856       79,805       82,946       79,281  

Total feedstock runs (2)

    71,548       71,559       77,200       80,447       75,818  

Facility production: (3)

         

Specialty Products and Solutions:

         

Lubricating oils

    11,187       10,297       10,358       10,951       9,867  

Solvents

    7,179       8,321       7,208       7,100       6,833  

Waxes

    1,407       1,375       1,326       1,452       1,335  

Fuels, asphalt and other by-products

    31,915       34,473       38,845       40,845       27,869  
 

 

 

   

 

 

   

 

 

   

 

 

   

 

 

 

Total Specialty Products and Solutions

    51,688       54,466       57,737       60,348       45,904  
 

 

 

   

 

 

   

 

 

   

 

 

   

 

 

 

Montana/Renewables:

         

Gasoline

    3,547       4,406       3,898       3,409       4,907  

Diesel

    2,703       2,651       2,941       6,449       9,711  

Jet fuel

    355       509       449       820       901  

Asphalt, heavy fuel oils and other

    4,147       4,229       4,483       6,942       10,379  

Renewable fuels

    8,243       5,030       6,314       —        —   
 

 

 

   

 

 

   

 

 

   

 

 

   

 

 

 

Total Montana/Renewables

    18,995       16,825       18,085       17,620       25,898  
 

 

 

   

 

 

   

 

 

   

 

 

   

 

 

 

Performance Brands

    1,583       1,931       1,474       1,434       1,304  
 

 

 

   

 

 

   

 

 

   

 

 

   

 

 

 

Total facility production (3)

    72,266       73,222       77,296       79,402       73,106  
 

 

 

   

 

 

   

 

 

   

 

 

   

 

 

 

 

(1)

Total sales volume includes sales from the production at the Partnership’s facilities and certain third-party facilities pursuant to supply and/or processing agreements, sales of inventories and the resale of crude oil to third-party customers. Total sales volume includes the sale of purchased blendstocks.

(2)

Total feedstock runs represent the barrels per day of crude oil and other feedstocks processed at the Partnership’s facilities and at certain third-party facilities pursuant to supply and/or processing agreements.

(3)

The difference between total facility production and total feedstock runs is primarily a result of the time lag between the input of feedstocks and production of finished products and volume loss.

 

149


Table of Contents

The following table reflects the Partnership’s consolidated results of operations and includes the non-GAAP financial measures EBITDA, Adjusted EBITDA and Distributable Cash Flow. For a reconciliation of EBITDA, Adjusted EBITDA and Distributable Cash Flow to Net income (loss), the Partnership’s most directly comparable financial performance measure calculated and presented in accordance with GAAP, please read “—Non-GAAP Financial Measures.”

 

    Three Months Ended March 31,     Year Ended December 31,  
    2024     2023     2023     2022     2021  
          (As Restated)           (As Restated)        
    (In millions)  

Sales

  $ 1,005.8     $ 1,037.3     $ 4,181.0     $ 4,686.3     $ 3,148.0  

Cost of sales

    927.3       940.7       3,729.3       4,334.6       3,005.1  
 

 

 

   

 

 

   

 

 

   

 

 

   

 

 

 

Gross profit

    78.5       96.6       451.7       351.7       142.9  
 

 

 

   

 

 

   

 

 

   

 

 

   

 

 

 

Operating costs and expenses:

         

Selling

    13.7       13.5       54.9       53.9       52.8  

General and administrative

    23.3       37.1       133.0       143.4       151.1  

Taxes other than income taxes

    —        —        21.5       13.7       12.5  

Loss on impairment and disposal of assets

    —        —        3.5       0.7       4.1  

Other operating (income) expense

    5.2       3.0       (28.4     8.1       8.0  
 

 

 

   

 

 

   

 

 

   

 

 

   

 

 

 

Operating income (expense)

    36.3       43.0       267.2       131.9       (85.6
 

 

 

   

 

 

   

 

 

   

 

 

   

 

 

 

Other income (expense):

         

Interest expense

    (60.8     (49.2     (221.7     (175.9     (149.5

Debt extinguishment costs

    —        —        (5.9     (41.4     (0.5

Gain (loss) on derivative instruments

    (16.9     25.5       9.9       (81.7     (23.3

Other income (expense)

    —        (0.2     0.2       (2.8     0.3  
 

 

 

   

 

 

   

 

 

   

 

 

   

 

 

 

Total other expense

    (77.7     (23.9     (217.5     (301.8     (173.0
 

 

 

   

 

 

   

 

 

   

 

 

   

 

 

 

Net income (loss) before income taxes

    (41.4     19.1       49.7       (169.9     (258.6

Income tax expense

    0.2       0.5       1.6       3.4       1.5  
 

 

 

   

 

 

   

 

 

   

 

 

   

 

 

 

Net income (loss)

  $ (41.6   $ 18.6     $ 48.1     $ (173.3   $ (260.1
 

 

 

   

 

 

   

 

 

   

 

 

   

 

 

 

EBITDA

  $ 55.4     $ 97.8     $ 418.3     $ 104.3     $ (1.4
 

 

 

   

 

 

   

 

 

   

 

 

   

 

 

 

Adjusted EBITDA

  $ 21.6     $ 77.3     $ 260.5     $ 390.0     $ 110.3  
 

 

 

   

 

 

   

 

 

   

 

 

   

 

 

 

Distributable Cash Flow

  $ (59.6   $ 4.8     $ (86.2   $ 87.8     $ (120.1
 

 

 

   

 

 

   

 

 

   

 

 

   

 

 

 

Non-GAAP Financial Measures

The Partnership includes in this proxy statement/prospectus the non-GAAP financial measures EBITDA, Adjusted EBITDA and Distributable Cash Flow. The Partnership provides reconciliations of EBITDA, Adjusted EBITDA and Distributable Cash Flow to Net income (loss), its most directly comparable financial performance measure calculated and presented in accordance with GAAP.

EBITDA, Adjusted EBITDA and Distributable Cash Flow are used as supplemental financial measures by the Partnership’s management and by external users of its financial statements, such as investors, commercial banks, research analysts and others, to assess:

 

   

the financial performance of the Partnership’s assets without regard to financing methods, capital structure or historical cost basis;

 

   

the ability of the Partnership’s assets to generate cash sufficient to pay interest costs and support its indebtedness;

 

150


Table of Contents
   

operating performance and return on capital as compared to those of other companies in the Partnership’s industry, without regard to financing or capital structure; and

 

   

the viability of acquisitions and capital expenditure projects and the overall rates of return on alternative investment opportunities.

The Partnership believes that these non-GAAP measures are useful to analysts and investors as they exclude transactions not related to the Partnership’s core cash operating activities and provide metrics to analyze its ability to pay interest to its noteholders. However, the indentures governing the Partnership’s senior notes contain covenants that, among other things, restrict its ability to pay distributions. The Partnership believes that excluding these transactions allows investors to meaningfully analyze trends and performance of its core cash operations.

The Partnership defines EBITDA for any period as net income (loss) plus interest expense (including amortization of debt issuance costs), income taxes and depreciation and amortization. Historically, the Partnership considered net income (loss) to be the most directly comparable GAAP measure to EBITDA. The Partnership believes net income (loss) is the most directly comparable GAAP measure to EBITDA.

The Partnership defines Adjusted EBITDA for any period as EBITDA adjusted for (a) impairment; (b) unrealized gains and losses from mark-to-market accounting for hedging activities; (c) realized gains and losses under derivative instruments excluded from the determination of net income (loss); (d) non-cash equity-based compensation expense and other non-cash items (excluding items such as accruals of cash expenses in a future period or amortization of a prepaid cash expense) that were deducted in computing net income (loss); (e) debt refinancing fees, extinguishment costs, premiums and penalties; (f) any net gain or loss realized in connection with an asset sale that was deducted in computing net income (loss); (g) amortization of turnaround costs; (h) LCM inventory adjustments; (i) the impact of liquidation of inventory layers calculated using the LIFO method; (j) RINs mark-to-market adjustments; and (k) all extraordinary, unusual or non-recurring items of gain or loss, or revenue or expense.

The Partnership defines Distributable Cash Flow for any period as Adjusted EBITDA less replacement and environmental capital expenditures, turnaround costs, cash interest expense (consolidated interest expense less non-cash interest expense), gain (loss) from unconsolidated affiliates, net of cash distributions and income tax expense (benefit).

The Partnership defines Adjusted EBITDA Margin as Adjusted EBITDA divided by sales.

The definition of Adjusted EBITDA presented in this proxy statement/prospectus is similar to the calculation of “Consolidated Cash Flow” contained in the indentures governing the Partnership’s senior notes. The Partnership is required to report Consolidated Cash Flow to the holders of the senior notes and Adjusted EBITDA to the lenders under the revolving credit facility, and these measures are used by them to determine its compliance with certain covenants governing those debt instruments. Please read “—Liquidity and Capital Resources—Debt and Credit Facilities” for additional details regarding the covenants governing the debt instruments.

EBITDA, Adjusted EBITDA and Distributable Cash Flow should not be considered alternatives to Net income (loss) or Operating income (loss) or any other measure of financial performance presented in accordance with GAAP. In evaluating performance as measured by EBITDA, Adjusted EBITDA and Distributable Cash Flow, the Partnership’s management recognizes and considers the limitations of these measurements. EBITDA and Adjusted EBITDA do not reflect the Partnership’s liabilities for the payment of income taxes, interest expense or other obligations such as capital expenditures. Accordingly, EBITDA, Adjusted EBITDA and Distributable Cash Flow are only three of several measurements that management utilizes. Moreover, the Partnership’s EBITDA, Adjusted EBITDA and Distributable Cash Flow may not be comparable to similarly titled measures of another company because all companies may not calculate EBITDA, Adjusted EBITDA and Distributable Cash Flow in the same manner.

 

151


Table of Contents

The following tables present a reconciliation of Net income (loss), the Partnership’s most directly comparable GAAP financial performance measure to EBITDA, Adjusted EBITDA and Distributable Cash Flow, for each of the periods indicated.

 

    Three Months Ended March 31,     Year Ended December 31,  
    2024     2023     2023     2022     2021  
          (As Restated)           (As Restated)        
    (In millions)  

Reconciliation of Net income (loss) to EBITDA, Adjusted EBITDA and Distributable Cash Flow:

 

Net income (loss)

  $ (41.6   $ 18.6     $ 48.1     $ (173.3   $ (260.1

Add:

         

Interest expense

    60.8       49.2       221.7       175.9       149.5  

Depreciation and amortization

    36.0       29.5       146.9       98.3       107.7  

Income tax expense

    0.2       0.5       1.6       3.4       1.5  
 

 

 

   

 

 

   

 

 

   

 

 

   

 

 

 

EBITDA

  $ 55.4     $ 97.8     $ 418.3     $ 104.3     $ (1.4
 

 

 

   

 

 

   

 

 

   

 

 

   

 

 

 

Add:

         

LCM / LIFO (gain) loss

  $ 9.0     $ 19.7     $ 35.6     $ 6.6     $ (50.3

Unrealized (gain) loss on derivative instruments

    (35.7     (41.0     (33.0     45.9       24.4  

Debt extinguishment costs

    0.2       —        5.9       41.4       0.5  

Amortization of turnaround costs

    9.4       7.7       36.1       23.1       17.0  

Loss on impairment and disposal of assets

    —        —        3.5       0.7       4.1  

RINs mark-to-market (gain) loss

    (71.1     (46.1     (290.2     115.7       57.7  

Equity based compensation and other items

    (7.3     9.0       20.2       34.4       50.7  

Other non-recurring expenses (1)

    60.8       29.5       60.9       15.6       7.6  

Noncontrolling interest adjustments

    0.9       0.7       3.2       2.3        
 

 

 

   

 

 

   

 

 

   

 

 

   

 

 

 

Adjusted EBITDA

  $ 21.6     $ 77.3     $ 260.5     $ 390.0     $ 110.3  
 

 

 

   

 

 

   

 

 

   

 

 

   

 

 

 

Less:

         

Replacement and environmental capital expenditures (2)

  $ 16.7     $ 17.2     $ 81.2     $ 77.9     $ 29.0  

Cash interest expense (3)

    58.8       47.7       216.0       158.3       138.9  

Turnaround costs

    5.5       7.1       47.9       62.6       61.0  

Income tax expense

    0.2       0.5       1.6       3.4       1.5  
 

 

 

   

 

 

   

 

 

   

 

 

   

 

 

 

Distributable Cash Flow

  $ (59.6   $ 4.8     $ (86.2   $ 87.8     $ (120.1
 

 

 

   

 

 

   

 

 

   

 

 

   

 

 

 

 

(1)

For the three months ended March 31, 2024, other non-recurring expenses included a $51.9 million realized loss on derivatives related to the embedded derivatives for our inventory financing arrangements. For the three months ended March 31, 2023, other non-recurring expenses included a $28.4 million charge to cost of sales for losses under firm purchase commitments. For the year ended December 31, 2023, other non-recurring expenses included a $50.6 million charge to cost of sales for losses under firm purchase commitments. For the year ended December 31, 2022, other non-recurring expenses included a $13.0 million charge to cost of sales for losses under firm purchase commitments.

(2)

Replacement capital expenditures are defined as those capital expenditures which do not increase operating capacity or reduce operating costs and exclude turnaround costs. Environmental capital expenditures include asset additions to meet or exceed environmental and operating regulations.

(3)

Represents consolidated interest expense less non-cash interest expense.

 

152


Table of Contents

Three Months Ended March 31, 2024 Compared to Three Months Ended March 31, 2023

Sales. Sales decreased $31.5 million, or 3.0%, to $1,005.8 million in the three months ended March 31, 2024, from $1,037.3 million in the same period in 2023. Sales for each of the principal product categories in these periods were as follows:

 

     Three Months Ended March 31,  
     2024      2023      % Change  
     (Dollars in millions, except barrel and per barrel data)  

Sales by segment:

        

Specialty Products and Solutions:

        

Lubricating oils

   $ 189.7      $ 215.2        (11.8 )% 

Solvents

     102.4        106.6        (3.9 )% 

Waxes

     39.0        44.2        (11.8 )% 

Fuels, asphalt and other by-products (1)

     350.5        372.7        (6.0 )% 
  

 

 

    

 

 

    

Total Specialty Products and Solutions

   $ 681.6      $ 738.7        (7.7 )% 
  

 

 

    

 

 

    

Total Specialty Products and Solutions sales volume (in barrels)

     5,410,000        5,179,000        4.5

Average Specialty Products and Solutions sales price per barrel

   $ 125.99      $ 142.63        (11.7 )% 

Montana/Renewables:

        

Gasoline

   $ 31.6      $ 42.9        (26.3 )% 

Diesel

     27.9        32.9        (15.2 )% 

Jet Fuel

     4.6        4.9        (6.1 )% 

Asphalt, heavy fuel oils and other (2)

     30.1        20.5        46.8

Renewable fuels

     150.3        118.6        26.7
  

 

 

    

 

 

    

Total Montana/Renewables

   $ 244.5      $ 219.8        11.2
  

 

 

    

 

 

    

Total Montana/Renewables sales volume (in barrels)

     2,055,000        1,611,000        27.6

Average Montana/Renewables sales price per barrel

   $ 118.98      $ 136.44        (12.8 )% 

Performance Brands:

        
  

 

 

    

 

 

    

Total Performance Brands (3)

   $ 79.7      $ 78.8        1.1
  

 

 

    

 

 

    

Total Performance Brands sales volume (in barrels)

     144,000        127,000        13.4

Average Performance Brands sales price per barrel

   $ 553.47      $ 620.47        (10.8 )% 
  

 

 

    

 

 

    

Total sales

   $ 1,005.8      $ 1,037.3        (3.0 )% 
  

 

 

    

 

 

    

Total Specialty Products and Solutions, Montana/Renewables, and Performance Brands sales volume (in barrels)

     7,609,000        6,917,000        10.0
  

 

 

    

 

 

    

 

(1)

Represents (a) by-products, including fuels and asphalt, produced in connection with the production of specialty products at the Princeton and Cotton Valley facilities and Dickinson and Karns City facilities, (b) polyolester synthetic lubricants produced at the Missouri facility, and (c) fuels products produced at the Shreveport facility.

(2)

Represents asphalt, heavy fuel oils and other products produced in connection with the production of fuels at the Great Falls specialty asphalt facility.

(3)

Represents packaged and synthetic specialty products at the Royal Purple, Bel-Ray and Calumet Packaging facilities.

 

153


Table of Contents

The components of the $57.1 million decrease in Specialty Products and Solutions segment sales for the three months ended March 31, 2024, as compared to the three months ended March 31, 2023, were as follows:

 

     Dollar Change  
     (In millions)  

Volume

   $ 32.8  

Sales price

     (89.9
  

 

 

 

Total Specialty Products and Solutions segment sales decrease

   $ (57.1
  

 

 

 

Specialty Products and Solutions segment sales decreased period over period, primarily due to a lower commodity price environment in the current year period. This impact was partially offset by an increase in sales volumes as a result of strong market demand.

The components of the $24.7 million increase in Montana/Renewables segment sales for the three months ended March 31, 2024, as compared to the three months ended March 31, 2023, were as follows:

 

     Dollar Change  
     (In millions)  

Sales price

   $ (35.8

Volume

     60.5  
  

 

 

 

Total Montana/Renewables segment sales increase

   $ 24.7  
  

 

 

 

Montana/Renewables segment sales increased primarily due to stabilized production volumes at the Montana Renewables facility during the quarter in comparison to lower volumes in the prior year comparative period as a result of the start-up of the facility. This impact was partially offset by the weaker price environment in the current year period.

The components of the $0.9 million increase in Performance Brands segment sales for the three months ended March 31, 2024, as compared to the three months ended March 31, 2023, were as follows:

 

     Dollar Change  
     (In millions)  

Sales price

   $ (9.6

Volume

     10.5  
  

 

 

 

Total Performance Brands segment sales increase

   $ 0.9  
  

 

 

 

Performance Brands segment sales increased primarily due to increases in sales volumes as a result of strong market demand.

 

154


Table of Contents

Gross Profit. Gross profit decreased $18.1 million, or 18.7%, to $78.5 million in the three months ended March 31, 2024, from $96.6 million in the same period in 2023. Gross profit for the business segments were as follows:

 

     Three Months Ended March 31,  
     2024     2023     % Change  
     (Dollars in millions, except per barrel data)  

Gross profit by segment:

      

Specialty Products and Solutions:

      

Gross profit

   $ 85.3     $ 109.9       (22.4 )% 

Percentage of sales

     12.5     14.9     (2.4 )% 

Specialty Products and Solutions gross profit per barrel

   $ 15.77     $ 21.22       (25.7 )% 

Montana/Renewables:

      

Gross profit (loss)

   $ (29.1   $ (36.9     (21.1 )% 

Percentage of sales

     (11.9 )%      (16.8 )%      4.9

Montana/Renewables gross profit (loss) per barrel

   $ (14.16   $ (22.91     (38.2 )% 

Performance Brands:

      

Gross profit

   $ 22.3     $ 23.6       (5.5 )% 

Percentage of sales

     28.0     29.9     (1.9 )% 

Performance Brands gross profit per barrel

   $ 154.86     $ 185.83       (16.7 )% 
  

 

 

   

 

 

   

Total gross profit

   $ 78.5     $ 96.6       (18.7 )% 
  

 

 

   

 

 

   

Percentage of sales

     7.8     9.3     (1.5 )% 

The components of the $24.6 million decrease in Specialty Products and Solutions segment gross profit for the three months ended March 31, 2024, as compared to the three months ended March 31, 2023, were as follows:

 

     Dollar Change  
     (In millions)  

Three months ended March 31, 2023 reported gross profit

   $ 109.9  

Cost of materials

     27.6  

Operating costs

     (2.0

LCM / LIFO inventory adjustments

     4.8  

Volumes

     8.5  

Sales price

     (89.9

RINs expense

     26.4  
  

 

 

 

Three months ended March 31, 2024 reported gross profit

   $ 85.3  
  

 

 

 

The decrease in Specialty Products and Solutions segment gross profit for the three months ended March 31, 2024, as compared to the same period in 2023, was primarily due to the regression of the record high specialties and fuels margins environment in the prior year period. The favorable volumes impact was the result of strong market demand.

 

155


Table of Contents

The components of the $7.8 million increase in Montana/Renewables segment gross profit (loss) for the three months ended March 31, 2024, as compared to the three months ended March 31, 2023, were as follows:

 

     Dollar Change  
     (In millions)  

Three months ended March 31, 2023 reported gross profit (loss)

   $ (36.9

Cost of materials

     55.4  

LCM / LIFO inventory adjustments

     4.6  

Volumes

     1.0  

RINs expense

     9.2  

Operating costs

     (26.6

Sales price

     (35.8
  

 

 

 

Three months ended March 31, 2024 reported gross profit (loss)

   $ (29.1
  

 

 

 

The increase in Montana/Renewables segment gross profit for the three months ended March 31, 2024, as compared to the same period in 2023, was primarily due to higher margins associated with the sales of renewable fuel products at the Montana Renewables facility in the current year period. The unfavorable impact from higher operating costs was primarily due to higher utility costs.

The components of the $1.3 million decrease in Performance Brands segment gross profit for the three months ended March 31, 2024, as compared to the three months ended March 31, 2023, were as follows:

 

     Dollar Change  
     (In millions)  

Three months ended March 31, 2023 reported gross profit

   $ 23.6  

Sales price

     (9.6

Operating costs

     (4.8

LCM / LIFO inventory adjustments

     1.3  

Volume

     3.6  

Cost of materials

     8.2  
  

 

 

 

Three months ended March 31, 2024 reported gross profit

   $ 22.3  
  

 

 

 

The decrease in Performance Brands segment gross profit for the three months ended March 31, 2024, as compared to the same period in 2023, was primarily due to the partial receipt of proceeds from the Partnership’s business interruption insurance policy included in the prior year period results. This segment continues to benefit from strong unit margins, reflective of stabilized input costs in the Partnership’s branded and consumer markets and an increase in industrial volumes.

General and administrative. General and administrative expenses decreased $13.8 million, or 37.2%, to $23.3 million in the three months ended March 31, 2024, from $37.1 million in the same period in 2023. The decrease was primarily due to a $16.4 million decrease in equity-based compensation related expenses, partially offset by a $0.5 million increase in professional services fees. The decrease in equity-based compensation related expenses was primarily the result of changes in the Partnership’s unit price in the current year period in comparison to the prior year comparative period. The increase in professional services fees were primarily related to technology infrastructure support services.

Interest expense. Interest expense increased $11.6 million, or 23.6%, to $60.8 million in the three months ended March 31, 2024, from $49.2 million in the same period in 2023. The increase was primarily due to interest expense incurred for the 2028 Notes and the MRL Term Loan Credit Agreement in the current year period, which was absent the prior year period.

 

156


Table of Contents

Gain (loss) on derivative instruments. There was a $16.9 million loss on derivative instruments in the three months ended March 31, 2024, compared to a $25.5 million gain in the same period in 2023. The $52.6 million realized loss on derivative instruments in the current year period was primarily due to the realized loss on the embedded derivative recognized at the termination of the Shreveport inventory financing arrangement with Macquarie in the current period. The unrealized gain on derivative instruments was primarily related to the unrealized gain on the inventory financing embedded derivative of $41.7 million in the current year period, compared to an unrealized gain of $2.2 million in the prior year period.

Year Ended December 31, 2023, Compared to Year Ended December 31, 2022

Sales. Sales decreased $505.3 million, or 10.8%, to $4,181.0 million in 2023 from $4,686.7 million in 2022. Sales for each of the principal product categories in these periods were as follows:

 

     Year Ended December 31,  
     2023      2022      % Change  
     (Dollars in millions, except barrel and per barrel data)  

Sales by segment:

        

Specialty Products and Solutions:

        

Lubricating oils

   $ 763.8      $ 913.7        (16.4 )% 

Solvents

     398.5        434.9        (8.4 )% 

Waxes

     163.9        189.3        (13.4 )% 

Fuels, asphalt and other by-products (1)

     1,550.7        1,970.1        (21.3 )% 
  

 

 

    

 

 

    

Total Specialty Products and Solutions

   $ 2,876.9      $ 3,508.0        (18.0 )% 
  

 

 

    

 

 

    

Total Specialty Products and Solutions sales volume (in barrels)

     21,468,000        22,461,000        (4.4 )% 

Average Specialty Products and Solutions sales price per barrel

   $ 134.01      $ 156.18        (14.2 )% 

Montana/Renewables:

        

Gasoline

   $ 167.2      $ 188.1        (11.1 )% 

Diesel

     144.8        391.8        (63.0 )% 

Jet Fuel

     20.5        41.8        (51.0 )% 

Asphalt, heavy fuel oils and other (2)

     148.1        253.2        (41.5 )% 

Renewable fuels

     513.2        —         100.0
  

 

 

    

 

 

    

Total Montana/Renewables

   $ 993.8      $ 874.9        13.6
  

 

 

    

 

 

    

Total Montana/Renewables sales volume (in barrels)

     7,149,000        7,298,000        (2.0 )% 

Average Montana/Renewables sales price per barrel

   $ 139.01      $ 119.88        16.0

Performance Brands:

        
  

 

 

    

 

 

    

Total Performance Brands (3)

   $ 310.3      $ 303.4        2.3
  

 

 

    

 

 

    

Total Performance Brands sales volume (in barrels)

     512,000        517,000        (1.0 )% 

Average Performance Brands sales price per barrel

   $ 606.05      $ 586.85        3.3
  

 

 

    

 

 

    

Total sales

   $ 4,181.0      $ 4,686.3        (10.8 )% 
  

 

 

    

 

 

    

Total Specialty Products and Solutions, Montana/Renewables, and Performance Brands sales volume (in barrels)

     29,129,000        30,276,000        (3.8 )% 

 

(1)

Represents (a) by-products, including fuels and asphalt, produced in connection with the production of specialty products at the Princeton and Cotton Valley facilities and Dickinson and Karns City facilities, (b) polyol ester synthetic lubricants produced at the Missouri facility, and (c) fuels products produced at the Shreveport facility.

 

157


Table of Contents
(2)

Represents asphalt, heavy fuel oils and other products produced in connection with the production of fuels at the Great Falls specialty asphalt facility.

(3)

Represents packaged and synthetic specialty products at the Royal Purple, Bel-Ray and Calumet Packaging facilities.

The components of the $631.1 million decrease in Specialty Products and Solutions segment sales in 2023, as compared to 2022, were as follows:

 

     Dollar Change  
     (In millions)  

Volume

   $ (155.3

Sales price

     (475.8
  

 

 

 

Total Specialty Products and Solutions segment sales decrease

   $ (631.1
  

 

 

 

Specialty Products and Solutions segment sales decreased period over period, primarily due to the weaker price environment in 2023 and lower throughput. The unfavorable volumes impact was due to planned turnarounds at the Shreveport, Cotton Valley, and Princeton facilities in the 2023 and unplanned outages as a result of the severe weather experienced in Northwest Louisiana during 2023.

The components of the $118.9 million increase in Montana/Renewables segment sales in 2023, as compared to 2022, were as follows:

 

     Dollar Change  
     (In millions)  

Sales price

   $ 136.6  

Volume

     (17.7
  

 

 

 

Total Montana/Renewables segment sales increase

   $ 118.9  
  

 

 

 

Montana/Renewables segment sales increased primarily due to higher sales prices resulting from sales of higher priced renewable fuels in 2023. Lower volumes were the result of throughput constraints caused by the ruptured steam drum and a turnaround at the Montana Renewables Facility, coupled with the unfavorable impact as a result of modifying the Partnership’s legacy Great Falls asphalt plant to operate at a new and lower nameplate capacity.

The components of the $6.9 million increase in Performance Brands segment sales in 2023, as compared to 2022, were as follows:

 

     Dollar Change  
     (In millions)  

Sales price

   $ 9.6  

Volume

     (2.7
  

 

 

 

Total Performance Brands segment sales increase

   $ 6.9  
  

 

 

 

Performance Brands segment sales increased primarily due to increases in product prices.

 

158


Table of Contents

Gross Profit. Gross profit increased $100.0 million, or 28.4%, to $451.7 million in 2023 from $351.7 million in 2022. Gross profit for the Partnership’s business segments were as follows:

 

     Year Ended December 31,  
     2023     2022     % Change  
     (Dollars in millions, except per barrel data)  

Gross profit by segment:

      

Specialty Products and Solutions:

      

Gross profit

   $ 402.2     $ 325.5       23.6

Percentage of sales

     14.0     9.3     4.7

Specialty Products and Solutions gross profit per barrel

   $ 18.73     $ 14.49       29.3

Montana/Renewables:

      

Gross profit (loss)

   $ (32.6   $ (29.4     10.9

Percentage of sales

     (3.3 )%      (3.4 )%      0.1

Montana/Renewables gross profit (loss) per barrel

   $ (4.56   $ (4.03     13.2

Performance Brands:

      

Gross profit

   $ 82.1     $ 55.6       47.7

Percentage of sales

     26.5     18.3     8.2

Performance Brands gross profit per barrel

   $ 160.35     $ 107.54       49.1
  

 

 

   

 

 

   

Total gross profit

   $ 451.7     $ 351.7       28.4
  

 

 

   

 

 

   

Percentage of sales

     10.8     7.5     3.3

The components of the $76.7 million increase in Specialty Products and Solutions segment gross profit in 2023, as compared to 2022, were as follows:

 

     Dollar Change  
     (In millions)  

Year ended December 31, 2022 reported gross profit

   $ 325.5  

Cost of materials

     360.3  

Operating costs

     (18.5

LCM / LIFO inventory adjustments

     (12.1

Volumes

     (36.7

Sales price

     (475.8

RINs expense

     259.5  
  

 

 

 

Year ended December 31, 2023 reported gross profit

   $ 402.2  
  

 

 

 

The increase in Specialty Products and Solutions segment gross profit for the year ended December 31, 2023, as compared to 2022, was primarily due to the significant decline in RINs prices in the current year. This impact was partially offset by lower specialties and fuels unit margins as a result of the weaker margin environment experienced during 2023. Also, 2023 results were unfavorably impacted by higher operating expenses and lower volumes as a result of planned turnarounds completed at the Partnership’s Shreveport, Cotton Valley, and Princeton facilities and unplanned outages as a result of severe weather experienced in Northwest Louisiana during the current year period.

 

159


Table of Contents

The components of the $3.2 million decrease in Montana/Renewables segment gross profit (loss) in 2023, as compared to 2022, were as follows:

 

     Dollar Change  
     (In millions)  

Year ended December 31, 2022 reported gross profit (loss)

   $ (29.4

Cost of materials

     (110.3

Loss on firm purchase commitments

     (37.6

LCM / LIFO inventory adjustments

     (14.6

Volumes

     (3.7

RINs expense

     136.1  

Operating costs

     (109.8

Sales price

     136.7  
  

 

 

 

Year ended December 31, 2023 reported gross profit (loss)

   $ (32.6
  

 

 

 

The increase in Montana/Renewables segment gross profit for the year ended December 31, 2023, as compared to 2022, was primarily due to the significant decline in RINs prices in 2023. This impact was coupled with the favorable impact of higher margins associated with sales of renewable fuels products at the Partnership’s Montana Renewables Facility in 2023. The unfavorable impact for lower production volumes and higher operating costs were associated with the start-up of the Montana Renewables Facility and the modification of the Partnership’s legacy Great Falls specialty asphalt facility. Also, volumes were unfavorably impacted due to throughput constraints caused by the ruptured steam drum and a turnaround completed at the Partnership’s Montana Renewables during 2023. These impacts were coupled with the unfavorable impact of a charge for losses under firm purchase commitments recorded in 2023.

The components of the $26.5 million increase in Performance Brands segment gross profit in 2023, as compared to 2022, were as follows:

 

     Dollar Change  
     (In millions)  

Year ended December 31, 2022 reported gross profit

   $ 55.6  

Sales price

     9.6  

Operating costs

     6.3  

LCM / LIFO inventory adjustments

     (2.3

Volume

     (0.7

Cost of materials

     13.6  
  

 

 

 

Year ended December 31, 2023 reported gross profit

   $ 82.1  
  

 

 

 

The increase in Performance Brands segment gross profit for the year ended December 31, 2023, as compared to 2022, was primarily driven by higher unit margins as a result of input costs stabilizing in the Partnership’s branded and consumer markets. The favorable impact for operating costs was the result of partial receipt of proceeds from the Partnership’s business interruption insurance policy recorded in 2023.

General and administrative. General and administrative expenses decreased $10.4 million, or 7.3%, to $133.0 million in 2023 from $143.4 million in 2022. The decrease was due primarily to a $5.4 million decrease in labor and benefits expenses.

Interest expense. Interest expense increased $45.8 million, or 26.0%, to $221.7 million in 2023 from $175.9 million in 2022. The increase was primarily due to interest expense incurred for the 2028 Notes and the

 

160


Table of Contents

MRL Term Loan Credit Agreement in 2023, which was absent the prior year comparative period. The increase in interest expense in the current year period was partially offset by the absence of interest expense incurred in the prior year comparative period for outstanding borrowings under the MRL credit facility, which were repaid in August 2022.

Gain (loss) on derivative instruments. There was a $9.9 million gain on derivative instruments in 2023, compared to a $81.7 million loss in 2022. The $23.1 million realized loss on derivative instruments in 2023 was primarily due to the settlement of the Partnership’s crack spread swaps positions during the period. The unrealized gain on derivative instruments was primarily the result of a $42.9 million unrealized gain on crack spread swaps positions, partially offset by the unrealized loss on the inventory financing embedded derivative of $9.9 million in 2023, compared to an unrealized loss of $14.6 million in 2022.

Debt extinguishment costs. There was a $5.9 million loss for debt extinguishment costs in 2023, compared to a $41.4 million loss for debt extinguishment costs in 2022. Debt extinguishment costs in 2023 comprised of $2.1 million in conjunction with the repurchase of $36.5 million aggregate principal amount of the 11.00% Senior Notes due 2025 (the “2025 Notes”) and $38.3 million in conjunction with the repayment of all borrowings under the MRL Credit Facility. Please refer to Note 8—“Long-Term Debt” in the notes to the audited consolidated financial statements included elsewhere in this proxy statement/prospectus.

Year Ended December 31, 2022, Compared to Year Ended December 31, 2021

Refer to Item 7 “Management’s Discussion and Analysis—Year Ended December 31, 2022, Compared to Year Ended December 31, 2021” of the Partnership’s 2022 Annual Report on Form 10-K for a description of the factors impacting the Partnership’s results of operations for the year ended December 31, 2022 in comparison to the year ended December 31, 2021.

Liquidity and Capital Resources

The Partnership’s principal sources of cash have historically included cash flow from operations, proceeds from public equity offerings, proceeds from notes offerings, bank borrowings and other financial arrangements. Principal uses of cash have included capital expenditures, acquisitions, distributions to the Partnership’s limited partners and general partner and debt service. The Partnership may from time to time seek to retire or purchase its outstanding debt through cash purchases and/or exchanges for equity securities, in open market purchases, privately negotiated transactions, tender offers or otherwise. Such repurchases or exchanges, if any, will depend on prevailing market conditions, liquidity requirements, contractual restrictions and other factors. The amounts involved may be material.

In general, the Partnership expects that its short-term liquidity needs, including debt service, working capital, replacement and environmental capital expenditures and capital expenditures related to internal growth projects, will be met primarily through cash on hand, projected cash flow from operations, borrowing capacity under its revolving credit facilities and asset sales.

On June 27, 2023, the Partnership issued and sold $325.0 million in aggregate principal amount of 2028 Notes, in a private placement pursuant to Section 4(a)(2) of the Securities Act to eligible purchasers at par. The Partnership received net proceeds of $319.1 million, after deducting the initial purchasers’ discount and offering expenses. On June 28, 2023, the Partnership used approximately $125.5 million (excluding accrued and unpaid interest and related expenses) of the proceeds from the offering of the 2028 Notes to fund the repurchase of (i) approximately $21.0 million in aggregate principal amount of 2024 Secured Notes and (ii) $100.0 million in aggregate principal amount of the 2025 Notes and pay related premiums, in each case, in connection with the completion of the Partnership’s tender offers. Please refer to Note 8—“Long-Term Debt” in the notes to the audited consolidated financial statements included elsewhere in this proxy statement/prospectus for additional information.

 

161


Table of Contents

On April 19, 2023, MRL and MRHL entered into a Credit Agreement (the “MRL Term Loan Credit Agreement”) with a group of financial institutions, including I Squared Capital and Delaware Trust Company, as administrative agent, that provides for a $75.0 million term loan facility with a maturity date of April 19, 2028. Please refer to Note 8—“Long-Term Debt” in the notes to the audited consolidated financial statements included elsewhere in this proxy statement/prospectus for additional information.

On January 17, 2024, the Partnership entered into the Fourth Amendment to its revolving credit facility (the “Credit Agreement”) governing its senior secured revolving credit facility maturing in January 2027, which provides maximum availability of credit under the revolving credit facility of $650.0 million, including a FILO tranche, subject to borrowing base limitations, and includes a $500.0 million incremental uncommitted expansion feature. Lenders under the revolving credit facility have a first priority lien on, among other things, the Partnership’s accounts receivable and inventory and substantially all of its cash (collectively, the “Credit Agreement Collateral”). Please refer to Note 8—“Long-Term Debt” in the notes to the audited consolidated financial statements included elsewhere in this proxy statement/prospectus for additional information.

On March 9, 2024, the Partnership redeemed all of the 2024 Secured Notes at a redemption price of par, plus accrued and unpaid interest to but not including the redemption date of March 9, 2024. On April 15, 2024, the Partnership redeemed $50.0 million aggregate principal amount of the 2025 Notes at a redemption price of par, plus accrued and unpaid interest to but not including the redemption date of April 15, 2024. Please refer to Note 23—“Subsequent Events” in the notes to the audited consolidated financial statements included elsewhere in this proxy statement/prospectus for additional information.

On January 17, 2024 (the “Effective Date”), the Partnership and J. Aron entered into a Monetization Master Agreement (the “Monetization Master Agreement”), a related Financing Agreement (the “Monetization Financing Agreement”) and Supply and Offtake Agreement (together with the Monetization Master Agreement and the Monetization Financing Agreement, the “Shreveport Supply and Offtake Agreement”). Pursuant to the Shreveport Supply and Offtake Agreement, J. Aron agreed to, among other things, purchase from the Partnership, or extend to the Partnership, financial accommodations secured by crude oil and finished products located at the Partnership’s Shreveport facility on the Effective Date and from time to time, up to maximum volumes specified for crude oil and categories of finished products, subject to the Partnership’s repurchase obligations with respect thereto. The Shreveport Supply and Offtake Agreement replaced the Partnership’s previous inventory financing agreement with Macquarie, which terminated on January 17, 2024. Please refer to Note 7—“Inventory Financing Agreements” in the notes to the audited consolidated financial statements included elsewhere in this proxy statement/prospectus for additional information.

On October 3, 2023, MRL and Wells Fargo entered into the MRL Supply and Offtake Agreement. Pursuant to the MRL Supply and Offtake Agreement, Wells Fargo agreed to, among other things, (a) purchase from MRL renewable feedstocks and finished products located at MRL’s Great Falls facility, subject to MRL’s repurchase obligations with respect thereto, and (b) provide certain financial accommodations to MRL secured by liens on certain renewable feedstocks and finished products owned by MRL. The MRL Supply and Offtake Agreement replaced MRL’s previous inventory financing agreement with Macquarie, which terminated on October 3, 2023. Please refer to Note 7—“Inventory Financing Agreements” in the notes to the audited consolidated financial statements included elsewhere in this proxy statement/prospectus for additional information.

The Partnership expects to fund planned capital expenditures in 2024 of approximately $110 million to $140 million primarily with cash on hand, and cash flows from operations. Future internal growth projects or acquisitions may require expenditures in excess of the Partnership’s then-current cash flow from operations and borrowing availability under the revolving credit facilities and may require the Partnership to issue debt or equity securities in public or private offerings or incur additional borrowings under bank credit facilities to meet those costs. The Partnership continues to anticipate that capital improvement expenditure requirements will be funded from borrowings under its revolving credit facilities or by funding accessed through capital markets.

 

162


Table of Contents

The borrowing base on the revolving credit facilities decreased from approximately $477.4 million as of December 31, 2022, to approximately $421.5 million at December 31, 2023, resulting in a corresponding decrease in borrowing availability from approximately $337.6 million at December 31, 2022, to approximately $241.9 million at December 31, 2023. Total liquidity, consisting of cash and available funds under the revolving credit facilities, decreased from $372.8 million at December 31, 2022 to $249.8 million at December 31, 2023.

Cash Flows from Operating, Investing and Financing Activities

The Partnership believes that it has sufficient liquid assets, cash flow from operations, borrowing capacity and adequate access to capital markets to meet its financial commitments, debt service obligations and anticipated capital expenditures for at least the next 12 months. The Partnership continues to seek to lower its operating costs, selling expenses and general and administrative expenses as a means to further improve its cash flow from operations with the objective of having its cash flow from operations support all of its capital expenditures and interest payments. However, the Partnership is subject to business and operational risks that could materially adversely affect its cash flows. A material decrease in cash flow from operations including a significant, sudden decrease in crude oil prices would likely produce a corollary effect on the Partnership’s borrowing capacity under the revolving credit facility and potentially its ability to comply with the covenants under the revolving credit facility. A significant, sudden increase in crude oil prices, if sustained, would likely result in increased working capital requirements which would be funded by borrowings under the revolving credit facility. In addition, cash flow from operations may be impacted by the timing of settlement of the Partnership’s derivative activities. Gains and losses from derivative instruments that do not qualify as cash flow hedges are recorded in unrealized gain (loss) on derivative instruments until settlement and will impact operating cash flow in the period settled.

The following table summarizes the Partnership’s primary sources and uses of cash in each of the most recent three years:

 

    Three Months Ended March 31,     Year Ended December 31,  
    2024     2023     2023     2022     2021  
    (In millions)  

Net cash provided by (used) in operating activities

  $ (94.0   $ (26.7   $ (14.9   $ 100.6     $ (44.0

Net cash used in investing activities

    (20.0     (130.4     (271.8     (536.0     (82.8

Net cash provided by financing activities

    130.7       133.1       266.2       348.7       139.3  
 

 

 

   

 

 

   

 

 

   

 

 

   

 

 

 

Net increase (decrease) in cash, cash equivalents and restricted cash

  $ 16.7     $ (24.0   $ (20.5   $ (86.7   $ 12.5  
 

 

 

   

 

 

   

 

 

   

 

 

   

 

 

 

Operating Activities. Operating activities used cash of $94.0 million during the three months ended March 31, 2024 compared to using cash of $26.7 million during the same period in 2023. The change was primarily driven by a decrease in net unit margins as a result of the weaker margin environment experienced during the current year period. Operating activities used cash of $14.9 million in 2023 compared to providing cash of $100.6 million in 2022. The change was primarily driven by a decrease in net unit margins as a result of the weaker margin environment experienced during 2023.

Investing Activities. Investing activities used cash of $20.0 million during the three months ended March 31, 2024 compared to a use of cash of $130.4 million during the same period in 2023. The change is related to a decrease in cash expenditures for additions to property, plant and equipment in the current year period in comparison to the prior year. The cash expenditures for additions to property, plant and equipment in the prior year period were mainly related to the Montana Renewables project. Investing activities used cash of $271.8 million in 2023 compared to a use of cash of $536.0 million in 2022. The change is related to a decrease

 

163


Table of Contents

in cash expenditures for additions to property, plant and equipment in 2023 in comparison to the prior year. The cash expenditures for additions to property, plant and equipment in both periods were mainly related to the Montana Renewables project.

Financing Activities. Financing activities provided cash of $130.7 million in the three months ended March 31, 2024 compared to providing cash of $133.1 million during the same period in 2023. The change is primarily due to higher borrowings under the Partnership’s revolving credit facilities to support working capital and financing requirements, offset by an increase in net payments for the Partnership’s inventory financing arrangements. Financing activities provided cash of $266.2 million in 2023 compared to providing cash of $348.7 million in 2022. The change is primarily due to the borrowings the Partnership received from the issuance of the 2028 Notes and the MRL Term Loan Credit Agreement, partially offset by repayments of the 2024 Secured Notes, 2025 Notes and the payments made to terminate the Great Falls Supply and Offtake Agreement (as defined below). In addition to this, cash provided by financing activities in the prior year comparative period included $372.9 million of proceeds for other financing activities, mostly related to the MRL asset financing arrangements, and $250.0 million of proceeds received for the sale of preferred units in MRHL Please refer to Note 20—“Redeemable Noncontrolling Interest” for additional information regarding the issuance and sale of preferred units and Note 8—“Long-Term Debt -MRL Asset Financing Arrangements” in the notes to the audited consolidated financial statements included elsewhere in this proxy statement/prospectus for additional information regarding the MRL asset financing arrangements.

Capital Expenditures

The Partnership’s property, plant and equipment capital expenditure requirements consist of capital improvement expenditures, replacement capital expenditures, environmental capital expenditures and turnaround capital expenditures. Capital improvement expenditures include the acquisition of assets to grow the Partnership’s business, facility expansions, or capital initiatives that reduce operating costs. Replacement capital expenditures replace worn out or obsolete equipment or parts. Environmental capital expenditures include asset additions to meet or exceed environmental and operating regulations. Turnaround capital expenditures represent capitalized costs associated with periodic major maintenance and repairs.

The following table sets forth the Partnership’s capital improvement expenditures, replacement capital expenditures, environmental capital expenditures and turnaround capital expenditures in each of the periods shown (including capitalized interest):

 

    Three Months Ended March 31,      Year Ended December 31,  
    2024     2023      2023      2022      2021  
    (In millions)  

Capital improvement expenditures

  $ 3.3     $ 113.2      $ 190.6      $ 458.3      $ 53.9  

Replacement capital expenditures

    15.8       13.7        69.9        69.2        24.0  

Environmental capital expenditures

    0.9       3.5        11.3        8.7        5.0  

Turnaround capital expenditures

    5.5       7.1        47.9        62.6        61.0  
 

 

 

   

 

 

    

 

 

    

 

 

    

 

 

 

Total

  $ 25.5     $ 137.5      $ 319.7      $ 598.8      $ 143.9  
 

 

 

   

 

 

    

 

 

    

 

 

    

 

 

 

2024 Capital Spending Forecast

The Partnership is forecasting total capital expenditures of approximately $110 million to $140 million in 2024. The Partnership’s forecasted capital expenditures are primarily related to growth and sustainability projects. The Partnership anticipates that capital expenditure requirements will be provided primarily through cash flow from operations, cash on hand, available borrowings under the Partnership’s credit facilities and by accessing capital markets as necessary. Further, the Partnership continues to anticipate that capital improvement expenditure requirements will be funded from borrowings under the Partnership’s credit facilities or by funding accessed through

 

164


Table of Contents

capital markets. If future capital expenditures require expenditures in excess of then-current cash flow from operations and borrowing availability under the Partnership’s credit facilities, it may be required to issue debt or equity securities in public or private offerings or incur additional borrowings under bank credit facilities to meet those costs.

Debt and Credit Facilities

As of March 31, 2024, the Partnership’s primary debt and credit instruments consisted of:

 

   

$650.0 million senior secured revolving credit facility maturing in January 2027 (after giving effect to the Fourth Amendment to the Partnership’s revolving credit facility (the “Credit Facility Amendment”)), subject to borrowing base limitations, with a maximum letter of credit sub-limit equal to $255.0 million, which amount may be increased to 90% of revolver commitments in effect with the consent of the Agent (as defined in the Credit Agreement) (“revolving credit facility”);

 

   

$90.0 million senior secured revolving credit facility, with the option to request additional commitments of up to $15.0 million, maturing in November 2027 (the “MRL Revolving Credit Agreement”);

 

   

$413.5 million of 11.00% Senior Notes due 2025;

 

   

$325.0 million of 8.125% Senior Notes due 2027 (“2027 Notes”);

 

   

$325.0 million of 9.25% Senior Notes due 2028 (“2028 Notes”);

 

   

$200.0 million of 2029 Secured Notes;

 

   

$74.3 million of borrowings under the MRL Term Loan Credit Agreement; and

 

   

$380.6 million of financing through the MRL asset financing arrangements.

The Partnership was in compliance with all covenants under its debt instruments in place as of March 31, 2024, and believes it has adequate liquidity to conduct its business.

On January 17, 2024, the Partnership entered into the Fourth Amendment to its revolving credit facility (the “Credit Agreement”) governing its senior secured revolving credit facility maturing in January 2027, which provides maximum availability of credit under the revolving credit facility of $650.0 million, including a FILO tranche, subject to borrowing base limitations, and includes a $500.0 million incremental uncommitted expansion feature. Lenders under the revolving credit facility have a first priority lien on, among other things, the Partnership’s accounts receivable and inventory and substantially all of its cash (collectively, the “Credit Agreement Collateral”). Please refer to Note 8—“Long-Term Debt” in Part II, Item 8 “Financial Statements and Supplementary Data—Notes to Consolidated Financial Statements” for additional information.

On March 7, 2024, the Partnership issued and sold $200.0 million in aggregate principal amount of 2029 Secured Notes in a private placement transaction in reliance on an exemption from registration under Section 4(a)(2) of the Securities Act. The 2029 Secured Notes were issued at par for net proceeds of $199.0 million, after deducting transaction expenses. The Partnership used the net proceeds from the private placement of the 2029 Secured Notes, together with cash on hand, to redeem all of its outstanding 2024 Secured Notes and $50.0 million aggregate principal amount of its outstanding 2025 Notes. Please refer to Note 8 – “Long-Term Debt” in the notes to the audited consolidated financial statements included elsewhere in this proxy statement/prospectus.

The borrowing base on the Partnership’s credit facilities increased from approximately $491.6 million as of March 31, 2023, to approximately $563.9 million at March 31, 2024. The Partnership’s borrowing availability decreased from approximately $233.7 million at March 31, 2023, to approximately $187.9 million at March 31, 2024. Total liquidity, consisting of unrestricted cash and available funds under its credit facilities, decreased from $244.9 million at March 31, 2023 to $211.8 million at March 31, 2024.

 

165


Table of Contents

Inventory Financing

On January 17, 2024, the Partnership and J. Aron entered into a Shreveport Supply and Offtake Agreement. Pursuant to the Shreveport Supply and Offtake Agreement, J. Aron agreed to, among other things, purchase from the Partnership, or extend to the Partnership, financial accommodations secured by crude oil and finished products located at the Partnership’s Shreveport facility on the Effective Date and from time to time, up to maximum volumes specified for crude oil and categories of finished products, subject to the Partnership’s repurchase obligations with respect thereto. The Shreveport Supply and Offtake Agreement replaced the Partnership’s previous inventory financing agreement with Macquarie, which terminated on January 17, 2024. Please refer to Note 7—“Inventory Financing Agreements” in the notes to the audited consolidated financial statements included elsewhere in this proxy statement/prospectus for additional information.

On October 3, 2023, MRL and Wells Fargo entered into the MRL Supply and Offtake Agreement. Pursuant to the MRL Supply and Offtake Agreement, Wells Fargo agreed to, among other things, (a) purchase from MRL renewable feedstocks and finished products located at MRL’s Great Falls facility, subject to MRL’s repurchase obligations with respect thereto, and (b) provide certain financial accommodations to MRL secured by liens on certain renewable feedstocks and finished products owned by MRL. The MRL Supply and Offtake Agreement replaced MRL’s previous inventory financing agreement with Macquarie, which terminated on October 3, 2023. Please refer to Note 7—“Inventory Financing Agreements” in the notes to the audited consolidated financial statements included elsewhere in this proxy statement/prospectus for additional information.

Short-Term Liquidity

As of March 31, 2024, the Partnership’s principal sources of short-term liquidity were (i) approximately $187.9 million of availability under the credit facilities, (ii) inventory financing agreements related to the Shreveport facility and Montana Renewables Facility and (iii) $23.9 million of unrestricted cash on hand. Borrowings under the revolving credit facility can be used for, among other things, working capital, capital expenditures, and other lawful partnership purposes including acquisitions. For additional information regarding the revolving credit facility, please read Note 8—“Long-Term Debt” in the notes to the audited consolidated financial statements included elsewhere in this proxy statement/prospectus.

Long-Term Financing

In addition to the principal sources of short-term liquidity listed above, subject to market conditions, the Partnership may meet its cash requirements (other than distributions of Available Cash (as defined in the Partnership Agreement) to unitholders) through the issuance of long-term notes or additional common units.

From time to time, the Partnership issues long-term debt securities referred to as senior notes. All of the outstanding senior notes are unsecured obligations that rank equally with all of the Partnership’s other senior debt obligations to the extent they are unsecured. As of March 31, 2024, the Partnership had $413.5 million in 2025 Notes, $325.0 million in 2027 Notes, $325.0 million in 2028 Notes, and $200.0 million in 2029 Secured Notes outstanding. In addition, as of March 31, 2024, the Partnership had $380.6 million of debt outstanding for the MRL asset financing arrangements, $74.3 million of debt outstanding for our MRL Term Loan Credit Agreement and $48.9 million of other debt outstanding for the Shreveport terminal asset financing arrangement. Borrowings under the MRL asset financing arrangements and MRL Term Loan Credit Agreement are obligations of the unrestricted subsidiaries MRL and MRHL solely, and are non-recourse to the Partnership and its restricted subsidiaries. For additional information regarding the MRL asset financing arrangements, see Note 8—“Long-Term Debt” in the notes to the audited consolidated financial statements included elsewhere in this proxy statement/prospectus.

To date, the Partnership’s debt balances have not adversely affected operations or its ability to repay or refinance its indebtedness. Based on its historical record, the Partnership believes that its capital structure will continue to allow it to achieve its business objectives.

 

166


Table of Contents

For more information regarding the senior notes, please read Note 8—“Long-Term Debt” in the notes to the audited consolidated financial statements included elsewhere in this proxy statement/prospectus.

Master Derivative Contracts and Collateral Trust Agreement

Under the credit support arrangements, the Partnership’s payment obligations under all of its master derivatives contracts for commodity hedging generally are secured by a first priority lien on the Partnership’s and its subsidiaries’ real property, plant and equipment, fixtures, intellectual property, certain financial assets, certain investment property, commercial tort claims, chattel paper, documents, instruments and proceeds of the foregoing (including proceeds of hedge arrangements). The Partnership had no additional letters of credit or cash margin posted with any hedging counterparty as of December 31, 2023. The Partnership’s master derivatives contracts and Collateral Trust Agreement (as defined below) continue to impose a number of covenant limitations on its operating and financing activities, including limitations on liens on collateral, limitations on dispositions of collateral and collateral maintenance and insurance requirements. For financial reporting purposes, the Partnership does not offset the collateral provided to a counterparty against the fair value of its obligation to that counterparty. Any outstanding collateral is released to the Partnership upon settlement of the related derivative instrument liability.

The Partnership’s various hedging agreements contain language allowing its hedge counterparties to request additional collateral if a specified credit support threshold is exceeded. However, these credit support thresholds are set at levels that would require a substantial increase in hedge exposure to require the Partnership to post additional collateral. As a result, the Partnership does not expect further increases in fuel products crack spreads or interest rates to significantly impact its liquidity due to requirements to post additional collateral.

Additionally, the Collateral Trust Agreement governs how secured hedging counterparties and holders of the 2029 Secured Notes share collateral pledged as security for the payment obligations owed by the Partnership to the secured hedging counterparties under their respective master derivatives contracts and the holders of the 2029 Secured Notes. The Collateral Trust Agreement limits to $150.0 million the extent to which forward purchase contracts for physical commodities are covered by, and secured under, the Collateral Trust Agreement and the Parity Lien Security Documents (as defined in the Collateral Trust Agreement). There is no such limit on financially settled derivative instruments used for commodity hedging. Subject to certain conditions set forth in the Collateral Trust Agreement, the Partnership has the ability to add secured hedging counterparties from time to time.

Credit Ratings

In October 2023, S&P reaffirmed a rating of B- on the Partnership’s senior unsecured notes and revised the Partnership’s outlook to stable. In January 2022, Moody’s reaffirmed a rating of Caa1 on the Partnership’s senior unsecured notes and a company rating of B3, with the stable outlook maintained.

Equity Transactions

In April 2016, the GP Board suspended payment of the Partnership’s quarterly cash distribution.

Seasonality Impacts on Liquidity

The fuel and fuel related products that the Partnership manufactures, including asphalt products, are subject to seasonal demand and trends. Asphalt demand is generally lower in the first and fourth quarters of the year, as compared to the second and third quarters, due to the seasonality of the road construction and roofing industries the Partnership supplies. Demand for gasoline and diesel is generally higher during the summer months than during the winter months due to seasonal increases in highway traffic and agricultural activity. In addition, the Partnership’s natural gas costs can be higher during the winter months, as demand for natural gas as a heating

 

167


Table of Contents

fuel increases during the winter. As a result, its operating results for the first and fourth calendar quarters may be lower than those for the second and third calendar quarters of each year due to seasonality related to these and other products that the Partnership produces and sells.

Critical Accounting Estimates

The preparation of the Partnership’s consolidated financial statements in accordance with GAAP requires the Partnership to use estimates and make judgements and assumptions about future events that affect the reported amounts of assets, liabilities, revenue, expenses, and the related disclosures. Considerable judgement is often involved in making these determinations. Critical estimates are those that require the most difficult, subjective or complex judgements in the preparation of the financial statements and the accompanying notes. The Partnership evaluates these estimates and judgements on a regular basis. The Partnership believes its assumptions and estimates are reasonable and appropriate. However, the use of different assumptions could result in significantly different results and actual results could differ from those estimates. The following discussion of accounting estimates is intended to supplement the Summary of Significant Accounting Policies presented in Note 2 in the notes to the audited consolidated financial statements included elsewhere in this proxy statement/prospectus.

The Partnership consider an accounting estimate to be critical if:

 

   

The accounting estimate requires the Partnership to make assumptions about matters that are highly uncertain at the time the accounting estimate is made; and

 

   

The Partnership reasonably could have used different estimates in the current period, or changes in these estimates are reasonably likely to occur from period to period as new information becomes available, and a change in these estimates would have a material impact on its financial condition or results from operations.

Valuation of Goodwill

The Partnership assesses goodwill for impairment annually and whenever events or changes in circumstances indicate its carrying value may not be recoverable. The Partnership tests goodwill either quantitatively or qualitatively for impairment. The Partnership assessed goodwill for impairment qualitatively during the year ended December 31, 2023 and qualitatively and quantitatively during the year ended December 31, 2022.

In assessing the qualitative factors to determine whether it is more likely than not that the fair value of a reporting unit is less than its carrying amount, the Partnership assesses relevant events and circumstances that may impact the fair value and the carrying amount of the reporting unit. The identification of relevant events and circumstances and how these may impact a reporting unit’s fair value or carrying amount involve significant judgment and assumptions. The judgment and assumptions include the identification of macroeconomic conditions, industry and market considerations, cost factors, overall financial performance and Partnership specific events and the assessment on whether each relevant factor will impact the impairment test positively or negatively and the magnitude of any such impact.

In the first step of the quantitative assessment, Partnership’s assets and liabilities, including existing goodwill and other intangible assets, are assigned to the identified reporting units to determine the carrying value of the reporting units. If the carrying value of a reporting unit is in excess of its fair value, an impairment may exist, and the Partnership must perform an impairment analysis, in which the implied fair value of the goodwill is compared to its carrying value to determine the impairment charge, if any.

When performing the quantitative assessment, as required in the impairment test, the fair value of the reporting unit is determined using the income approach. The income approach focuses on the income-producing capability of an asset, measuring the current value of the asset by calculating the present value of its future

 

168


Table of Contents

economic benefits such as cash earnings, cost savings, corporate tax structure and product offerings. Value indications are developed by discounting expected cash flows to their present value at a rate of return that incorporates the risk-free rate for the use of funds, the expected rate of inflation, and risks associated with the reporting unit. If the carrying value of a reporting unit is in excess of its fair value, an impairment would be recognized in an amount equal to the excess that the carrying value exceeded the estimated fair value, limited to the carrying value of goodwill.

Inputs used to estimate the fair value of the Partnership’s reporting units are considered Level 3 inputs of the fair value hierarchy and include the following:

 

   

The Partnership’s financial projections for its reporting units are based on its analysis of various supply and demand factors which include, among other things, industry-wide capacity, planned utilization rates, end-user demand, crack spreads, capital expenditures and economic conditions. Such estimates are consistent with those used in the Partnership’s planning and capital investment reviews and include recent historical prices and published forward prices.

 

   

The discount rate used to measure the present value of the projected future cash flows is based on a variety of factors, including market and economic conditions, operational risk, regulatory risk and political risk. This discount rate is also compared to recent observable market transactions, if possible.

For Level 3 measurements, significant increases or decreases in long-term growth rates or discount rates in isolation or in combination could result in a significantly lower or higher fair value measurement.

Fair values calculated for the purpose of testing the Partnership’s goodwill for impairment are estimated using the expected present value of future cash flows method and comparative market prices when appropriate. Significant judgment is involved in performing these fair value estimates since the results are based on forecasted assumptions.

Meaningful factors that would significantly impact the Partnership’s financial projections are changes in customer demand levels or loss of significant portions of the Partnership’s business. The Partnership believes that the assumptions and estimates used in the assessment of its goodwill as of October 1, 2022 were reasonable.

Valuation of Finite Long-Lived Assets

Property, plant and equipment and intangible assets with finite lives are reviewed for impairment whenever events or changes in circumstances indicate that the carrying amount of the asset may not be recoverable. If the estimated undiscounted future cash flows related to the asset are less than the carrying value, the Partnership recognizes a loss equal to the difference between the carrying value and the estimated fair value, usually determined by the estimated discounted future cash flows of the asset. When a decision has been made to dispose of property, plant and equipment prior to the end of the previously estimated useful life, depreciation estimates are revised to reflect the use of the asset over the shortened estimated useful life.

Estimated undiscounted future cash flows are used for the purpose of testing the Partnership’s finite long-lived assets for impairment. Fair values calculated for the purpose of measuring impairments on finite long-lived assets are estimated using the expected present value of future cash flows method and comparative market prices when appropriate. Significant judgment is involved in estimating undiscounted future cash flows and performing these fair value estimates since the results are based on forecasted assumptions.

The Partnership bases its estimated undiscounted future cash flows and fair value estimates on projected financial information which the Partnership believes to be reasonable. However, actual results may differ from these projections.

 

169


Table of Contents

Valuation of RINs Obligation

The Partnership’s RINs Obligation is an estimated provision if future purchase of RINs were to be required in order to satisfy the EPA requirement to blend renewable fuels into certain transportation fuel products pursuant to the RFS of the CAA. A RIN is a 38 character number assigned to each physical gallon of renewable fuel produced in or imported into the United States. The EPA sets annual volume obligations for the percentage of renewable fuels that must be blended into transportation fuels consumed in the U.S. Compliance is demonstrated by tendering RINs to the EPA documenting that blending has been accomplished or by obtaining a Small Refinery Exemption as provided in the CAA. Prior to 2018, the Partnership historically received the Small Refinery Exemption after qualifying on the merits and has historically not been obligated to make these purchases during these years. The Partnership’s petitions for the Small Refinery Exemption for compliance years 2018-2022 ultimately were denied by the EPA. EPA’s denials of those petitions is subject to litigation, as described in Note 2—“Summary of Significant Accounting Policies” in the notes to the audited consolidated financial statements included elsewhere in this proxy statement/prospectus. Future exemptions are the subject of future annual applications. The RIN obligation is a non-financial instrument representing a quantity that cannot be settled financially.

The Partnership accounts for its current period RINs Obligation by multiplying the quantity of RINs shortage (based on actual results) by the period end RINs spot price, which is recorded as both a current and long-term liability in the consolidated balance sheets. These liabilities are revalued at the end of each subsequent accounting period, which produce non-cash mark-to-market adjustments that are reflected in cost of sales in the consolidated statements of operations (with the exception of RINs for compliance year 2019 related to the San Antonio refinery, which amount is reflected in other operating expense in the consolidated statements of operations). RINs generated by blending may be sold or held to offset future RINs Obligations. Any gains or losses from RINs sales are recorded in cost of sales in the consolidated statements of operations.

The Partnership’s RINs Obligation is measured at the RINs spot prices obtained from an independent pricing service as of each balance sheet date. However, certain vintage RINs are very thinly traded, and the period end spot prices might not be an accurate reflection of the actual amount that the Partnership could purchase RINs in the open market in the quantities that would be required to satisfy its RINs volume obligation. Please read Note 2—“Summary of Significant Accounting Policies” in the notes to the audited consolidated financial statements included elsewhere in this proxy statement/prospectus for further information on the Partnership’s RINs Obligation.

The Partnership believes that its small refineries qualify for SREs on the merits and the Partnership has asked the EPA to approve its petitions. The Partnership has previously applied for and received SREs through 2018, following a structure procedure administered by the EPA. According to documentation the Partnership has received from the EPA, the analysis prepared by the Department of Energy (“DOE”) under this procedure showed that the Partnership’s refineries met the criteria for disproportionate economic hardship for the 2018, 2019 and 2020 compliance years. The reversal of its previously approved 2018 SRE in April 2022, and the blanket denial in June 2022 by the EPA of its 2019 and 2020 petitions, and the blanket denial in July 2023 by the EPA of the Partnership’s 2021 and 2022 petitions were based on the EPA’s retroactive across-the-board determination despite the affirmative findings from the DOE that the refineries met the criteria for disproportionate economic hardship.

Management believes that the Partnership has viable legal arguments to challenge the denials, including that the denials are inconsistent with the CAA, the Administrative Procedure Act, EPA’s regulations, the DOE’s analysis and/or the factual record, and are unlawful retroactive applications of a new standard. In November 2023, the Fifth Circuit ruled in the Partnership’s favor on the merits of its challenge as it relates to the Shreveport refinery’s 2019 and 2020 SRE petitions, vacated the EPA’s denial and remanded it to the EPA, and held that the EPA’s denial was impermissibly retroactive and also violated federal law. In January 2024, the Fifth Circuit denied a request to rehear the case. The court’s mandate issued in January 2024, and these SRE petitions are before the EPA once again for further consideration consistent with the court’s opinion. The challenge before the

 

170


Table of Contents

D.C. Circuit remains pending. As with any legal action, a challenge to an EPA decision denying the refineries’ SRE petitions may ultimately be unsuccessful. This would present a number of uncertainties and complexities caused primarily by the passage of time since the Partnership first submitted the SRE petitions, including for example the potential expiration and/or unavailability or limited availability in the market of vintage 2019, 2020, 2021 and 2022 RINs, the specifics of other potential forthcoming EPA actions, the results of other parties’ potential litigation avenues and outcomes, and post-litigation uncertainties around the timing and magnitude of any resolution.

Based on current information the Partnership believes the most likely outcome is either successful appellate litigation or reaching an alternative resolution. If the Partnership is ultimately successful in obtaining the refineries’ SREs (or a non-enforcement equivalent), the value of the liability would be zero. If the Partnership is ultimately unsuccessful in its appeals, the timing, amount and form its actual liability may depend upon the resolution obtained, potentially as part of subsequent, additional litigation. For example, if resolution for the 2019 and 2020 compliance years used the market price of RINs on the day the EPA was obligated to rule on the refineries’ 2019 SRE petitions, the value of the liability would be approximately $50.7 million.

Quantitative and Qualitative Disclosures About Market Risk

The Partnership is exposed to market risks from adverse changes in commodity prices, the price of credits needed to comply with governmental programs, interest rates and foreign currency exchange rates. Information relating to quantitative and qualitative disclosures about material market risk is set forth below.

Commodity Price Risk

Derivative Instruments. The Partnership is exposed to price risks due to fluctuations in the price of crude oil, refined products, natural gas and precious metals. The Partnership uses various strategies to reduce its exposure to commodity price risk. The Partnership does not attempt to eliminate all of its risk as the costs of such actions are believed to be too high in relation to the risk posed to its future cash flows, earnings and liquidity. The strategies the Partnership uses to reduce its risk utilize both physical forward contracts and financially settled derivative instruments, such as swaps, collars, options and futures, to attempt to reduce its exposure with respect to:

 

   

crude oil purchases and sales;

 

   

refined product sales and purchases;

 

   

natural gas purchases;

 

   

precious metals; and

 

   

fluctuations in the value of crude oil between geographic regions and between the different types of crude oil such as NYMEX WTI, Light Louisiana Sweet, WCS, WTI Midland, Mixed Sweet Blend, Magellan East Houston and ICE Brent.

The Partnership manages its exposure to commodity markets, credit, volumetric and liquidity risks to manage its costs and volatility of cash flows as conditions warrant or opportunities become available. These risks may be managed in a variety of ways that may include the use of derivative instruments. Derivative instruments may be used for the purpose of mitigating risks associated with an asset, liability and anticipated future transactions and the changes in fair value of its derivative instruments will affect the Partnership’s earnings and cash flows; however, such changes should be offset by price or rate changes related to the underlying commodity or financial transaction that is part of the risk management strategy. The Partnership does not speculate with derivative instruments or other contractual arrangements that are not associated with its business objectives. Speculation is defined as increasing its natural position above the maximum position of its physical assets or trading in commodities, currencies or other risk bearing assets that are not associated with the Partnership’s business activities and objectives. The Partnership’s positions are monitored routinely by a risk management

 

171


Table of Contents

committee and discussed with GP Board quarterly to ensure compliance with the Partnership’s stated risk management policy and documented risk management strategies. All strategies are reviewed on an ongoing basis by the Partnership’s risk management committee, which will add, remove or revise strategies in anticipation of changes in market conditions and/or in risk profiles. These changes in strategies are to position the Partnership in relation to its risk exposures in an attempt to capture market opportunities as they arise.

Please read Note 9—“Derivatives” in the notes to the audited consolidated financial statements included elsewhere in this proxy statement/prospectus for a discussion of the accounting treatment for the various types of derivative instruments, for a further discussion of the Partnership’s hedging policies and for more information relating to its implied crack spreads of crude oil, diesel, and gasoline derivative instruments.

The Partnership’s derivative instruments and overall hedging positions are monitored regularly by its risk management committee, which includes executive officers. The risk management committee reviews market information and the Partnership’s hedging positions regularly to determine if additional derivatives activity is advised. A summary of derivative positions and a summary of hedging strategy are presented to the GP Board quarterly.

Compliance Price Risk

Renewable Identification Numbers. The Partnership is exposed to market risks related to the volatility in the price of credits needed to comply with governmental programs. The EPA sets annual volume obligations for the percentage of renewable fuels that must be blended into transportation fuels consumed in the U.S., and as a producer of transportation fuels from petroleum, the Partnership is subject to those obligations. To the extent the Partnership is unable to physically blend renewable fuels to satisfy the EPA requirement, the Partnership may purchase RINs in the open market to satisfy the annual obligations. The Partnership has not entered into any derivative instruments to manage this risk.

Holding other variables related to RINs obligations constant, a $1.00 increase in the price of RINs would be expected to have a negative impact on Net income (loss) of approximately $65.0 million per year.

Interest Rate Risk. The Partnership’s exposure to interest rate changes on fixed and variable rate debt is limited to the fair value of the debt issued, which would not have a material impact on the Partnership’s earnings or cash flows. The following table provides information about the fair value of the Partnership’s fixed and variable rate debt obligations as of March 31, 2024 and December 31, 2023, which are disclosed in Note 8— “Long-Term Debt” and Note 10—“Fair Value Measurements” in the notes to the audited consolidated financial statements included elsewhere in this proxy statement/prospectus.

 

     March 31, 2024      December 31, 2023  
     Fair Value      Carrying Value      Fair Value      Carrying Value  
     (In millions)  

Financial Instrument:

           

2024 Secured Notes

   $ —       $ —       $ 179.7      $ 178.8  

2025 Notes

   $ 413.3      $ 411.9      $ 421.1      $ 411.5  

2027 Notes

   $ 316.9      $ 322.5      $ 320.7      $ 322.3  

2028 Notes

   $ 322.3      $ 319.9      $ 325.7      $ 319.7  

2029 Secured Notes

   $ 206.7      $ 199.1      $ —       $ —   

Revolving credit facility

   $ 309.8      $ 306.1      $ 136.7      $ 134.4  

MRL revolving credit facility

   $ 22.6      $ 22.0      $ 13.0      $ 12.4  

MRL Term Loan Credit Agreement

   $ 74.3      $ 71.6      $ 74.4      $ 71.6  

Shreveport terminal asset financing arrangement

   $ 48.9      $ 48.4      $ 50.8      $ 50.1  

MRL asset financing arrangements

   $ 380.6      $ 377.7      $ 384.6      $ 381.6  

 

172


Table of Contents

For the Partnership’s variable rate debt, if any, changes in interest rates generally do not impact the fair value of the debt instrument but may impact the Partnership’s future earnings and cash flows. The Partnership had a $650.0 million revolving credit facility and a $90.0 million revolving credit facility as of March 31, 2024, with borrowings for each revolving credit facility bearing interest at the prime rate or SOFR, at its option, plus the applicable margin. In addition, the Partnership had $74.3 million of borrowings outstanding under the MRL Term Loan Credit Agreement as of March 31, 2024, with borrowings bearing interest at SOFR plus 6.0% to 7.3% per annum. The Partnership had $332.4 million of outstanding variable rate debt as of March 31, 2024 and $149.7 million of outstanding variable rate debt as of December 31, 2023. Holding other variables constant (such as debt levels), a 100 basis point change in interest rates on the Partnership’s variable rate debt as of March 31, 2024, would be expected to have an impact on Net income (loss) of approximately $3.3 million per year.

Foreign Currency Risk

The Partnership has minimal exposure to foreign currency risk and as such the cost of hedging this risk is viewed to be in excess of the benefit of further reductions in its exposure to foreign currency exchange rate fluctuations.

Recent Accounting Pronouncements

For a summary of recently issued and adopted accounting standards applicable to us, please read Note 2—“Summary of Significant Accounting Policies” in the notes to the audited consolidated financial statements included elsewhere in this proxy statement/prospectus.

 

173


Table of Contents

BUSINESS OF THE PARTNERSHIP

Overview

The Partnership manufactures, formulates and markets a diversified slate of specialty branded products and renewable fuels to customers across a broad range of consumer-facing and industrial markets. The Partnership is headquartered in Indianapolis, Indiana and operates twelve facilities throughout North America. The Partnership’s business is organized into the following reportable segments: Specialty Products and Solutions; Montana/Renewables; Performance Brands; and Corporate. In its Specialty Products and Solutions segment, the Partnership manufactures and markets a wide variety of solvents, waxes, customized lubricating oils, white oils, petrolatums, gels, esters, and other products. The Partnership’s specialty products are sold to domestic and international customers who purchase them primarily as raw material components for consumer-facing and industrial products. In its Performance Brands segment, the Partnership blends, packages and markets high performance products through its Royal Purple, Bel-Ray, and TruFuel brands. The Partnership’s Montana/Renewables segment is comprised of two facilities—renewable fuels and specialty asphalt. At its Montana Renewables Facility, the Partnership currently processes a variety of geographically advantaged renewable feedstocks into renewable diesel, SAF, renewable hydrogen, renewable natural gas, renewable propane, and renewable naphtha that are distributed into renewables markets in the western half of North America. At its Montana specialty asphalt facility, the Partnership processes Canadian crude oil into conventional gasoline, diesel, jet fuel and specialty grades of asphalt, with production sized to serve local markets. The Partnership’s Corporate segment primarily consists of general and administrative expenses not allocated to the Specialty Products and Solutions, Performance Brands or Montana/Renewables segments.

Assets

The Partnership’s primary operating assets consist of:

 

Facility   Location  

Year

Acquired

 

Sales Volume for the Year

Ended December 31, 2023 in

Barrels per Day (“bpd”)

  Products

Calumet Packaging

  Louisiana   2012   1,068   Specialty products including premium industrial and consumer synthetic lubricants, fuels and solvents

Royal Purple

  Texas   2012   335   Specialty products including premium industrial and consumer synthetic lubricants

Missouri

  Missouri   2012   212   Specialty products including polyol ester-based synthetic lubricants

Karns City

  Pennsylvania   2008   1,486   Specialty white mineral oils, solvents, petrolatums, gelled hydrocarbons, cable fillers and natural petroleum sulfonates

Dickinson

  Texas   2008   562   Specialty white mineral oils, compressor lubricants and natural petroleum sulfonates

Cotton Valley

  Louisiana   1995   4,743   Specialty solvents used principally in the manufacture of paints, cleaners, automotive products and drilling fluids

Princeton

  Louisiana   1990   4,896   Specialty lubricating oils, including process oils, base oils, transformer oils, refrigeration oils, and asphalt

Shreveport

  Louisiana   2001   42,400   Specialty lubricating oils and waxes, gasoline, diesel, jet fuel and asphalt

 

174


Table of Contents
Facility   Location  

Year

Acquired

 

Sales Volume for the Year

Ended December 31, 2023 in

Barrels per Day (“bpd”)

  Products

Montana Refining

  Montana   2012   13,399   Specialty asphalt, gasoline, diesel, and jet fuel

Montana Renewables

  Montana   2021   6,188   Renewable diesel, sustainable aviation fuel, renewable hydrogen, renewable natural gas, renewable propane, and renewable naphtha

Storage, Distribution and Logistics Assets. The Partnership owns and operates a product terminal in Burnham, Illinois with aggregate storage capacities of approximately 150,000 barrels. The Burnham terminal, as well as additional owned and leased facilities throughout the U.S., facilitate the distribution of products in the Upper Midwest, West Coast and Mid-Continent regions of the U.S. and Canada.

The Partnership also use approximately 2,050 leased railcars primarily to receive and ship crude oil and distribute its specialty and fuel products throughout the U.S. and Canada. In addition, the Partnership uses approximately 450 leased railcars to source renewable feedstocks and distribute renewable fuels products into the western half of North America. In total, the Partnership has approximately 7.0 million barrels of aggregate storage capacity at its facilities and leased storage locations.

Montana Renewables. At its Montana Renewables Facility, the Partnership processes a variety of geographically advantaged renewable feedstocks into renewable diesel, sustainable aviation fuel, renewable hydrogen, renewable natural gas, renewable propane, and renewable naphtha. These renewable fuels are distributed into renewable markets in the western half of North America.

Business Strategies

The Partnership’s management team is dedicated to improving the Partnership’s operations by executing the following strategies:

 

   

Enhance Profitability of Existing Assets. The Partnership focuses on identifying opportunities to improve its asset base, deepening its competitive advantages, and increasing its throughput, profitability, and cash flows. The Partnership’s highest current priority is streamlining the operations at its Montana Renewables Facility and planning for expansion projects at the facility. As part of this project design, the Partnership converted the historical Great Falls refinery into two independent facilities: a 15,000 bpd specialty asphalt plant and a 15,000 bpd renewable fuels production facility. At its Montana Renewables Facility, the Partnership successfully commissioned a renewable hydrogen plant, a feedstock pre-treatment unit, and a sustainable aviation fuel unit in 2023. The feedstock pre-treatment unit is expected to unlock the advantaged price and feedstock optionality the Partnership has in Montana and the commissioning of the sustainable aviation fuel unit made Montana Renewables the largest SAF producer in the western hemisphere. Other examples include investments in a polymerized modified asphalt unit at the Partnership’s Great Falls Specialty Asphalt facility in 2022, additional wax blending assets at its Calumet Paralogics, LLC (“Paralogics”) facility in 2021, and the addition of storage capacity to increase sales of the Partnership’s most profitable solvents at its Cotton Valley facility in 2021. In addition, the Partnership has undertaken various small expansion and optimization projects in its Performance Brands segment over the past four years, including a new packaging line for 1.0 gallon cans of TruFuel to support growth, a new 2.1 gallon pail TruFuel line to meet the market demand for larger package sizes, and a new quart line in Porter, Texas to recognize efficiencies in packaging Bel-Ray products. The Partnership intends to continue increasing the profitability of its existing asset base through various low capital requirement measures which may include investments targeting more efficient logistics, improving the product mix of its processing units, and reducing costs through operational modernizations.

 

175


Table of Contents
   

Maintain Sufficient Levels of Liquidity. The Partnership is actively focused on maintaining sufficient liquidity to fund its operations and business strategies. As part of a broader effort to maintain an adequate level of liquidity, the GP Board unanimously voted to suspend cash distributions, effective beginning the quarter ended March 31, 2016.

 

   

Concentrate on Positive and Growing Cash Flows. The Partnership intends to continue to focus on operating assets and businesses that generate positive and growing cash flows. Approximately 89.0% of the Partnership’s continuing operations gross profit in 2023 was generated by its Specialty Products and Solutions segment, which is characterized by stable customer relationships due to the Partnership’s customers’ requirements for the specialized products it provides. In addition, the Partnership manages its exposure to crude oil price fluctuations in this segment by passing on incremental feedstock costs to its specialty products customers. In its Performance Brands segment, which accounted for approximately 18.2% of its continuing operations gross profit in 2023, the Partnership blends, packages and markets high performance products through its Royal Purple, Bel-Ray, and TruFuel brands. The Partnership’s fast-growing portfolio of high-performance brands are characterized by strong customer loyalty and stable cash flows. In its Montana/Renewables segment, which accounted for approximately (7.2)% of its continuing operations gross profit in 2023, the Partnership expects growth in cash flows as a result of the commissioning of production units at its Montana Renewables Facility. Historically, renewable diesel margins have been both significantly higher and more stable than fuel margins. Further, the remaining Great Falls specialty asphalt facility is expected to produce a larger percentage of its products for local retail markets at lower net freight costs.

 

   

Develop and Expand Customer Relationships. Due to the specialized nature of certain of the Partnership’s products, the high cost of replacement and the long lead-time associated with the development and production of many of its specialty products, its customers are incentivized to continue their relationships with the Partnership. The Partnership believes that it offers a more diversified product slate to its customers than competitors do, and it also offers more technical support and bespoke services. In fiscal year 2023, the Partnership sold a range of over 1,900 specialty and fuels products to approximately 2,400 customers. The Partnership intends to continue to assist its existing customers in their efforts to expand their product offerings, as well as marketing specialty product formulations and services to new customers. By continuing to service its long-term relationships with its broad base of existing customers and by constantly targeting solutions for new customers, the Partnership seeks to limit its dependence on any one portion of its customer base.

 

   

Disciplined Approach to Strategic and Complementary Acquisitions. The Partnership does not expect to focus on large acquisitions in the near term. However, should the right opportunity develop, the Partnership’s senior management team is prepared to consider acquiring low-risk assets where the Partnership can enhance operations and improve profitability and product lines that will complement and expand its specialty product offerings. For example, in March 2020, the Partnership acquired Paralogics, a producer of candle and industrial wax blends, which expanded the Partnership’s presence in the specialty wax blending and packaging market while adding new capabilities into its existing wax value chain. In the future, the Partnership intends to continue pursuing prudent, accretive acquisitions that will deepen its long-term competitive advantages. The Partnership intends to reduce its leverage over time and maintain a capital structure that facilitates competitive access to the capital markets.

Competitive Strengths

The Partnership believes it is well positioned to execute its business strategies successfully based on the following competitive strengths:

 

   

The Partnership has Strong Relationships with a Premier Customer Base. The Partnership has long-term relationships with many of its customers and the Partnership believes that it will continue to benefit from these relationships. Many of these relationships involve lengthy approval processes or certifications that may make switching to a different supplier difficult. In fiscal year 2023, the

 

176


Table of Contents
 

Partnership sold its products to approximately 2,400 customers, and it is continually seeking to deepen those relationships across its broad and diversified customer base. No single customer accounted for more than 10% of the Partnership’s consolidated sales for any of the three years ended December 31, 2023, 2022 and 2021.

 

   

The Partnership Offers Its Customers a Diverse Range of Specialty Products. The Partnership offers a wide range of over 1,900 specialty products. The Partnership believes that its ability to provide customers with a more diverse selection of products than most of its competitors gives the Partnership an advantage in meeting the needs of large, strategic customers and allows the Partnership to compete in profitable niches. The Partnership believes that it is the only specialty products manufacturer in North America that produces all six of the following products: naphthenic lubricating oils, paraffinic lubricating oils, waxes, solvents, white oils and petrolatums. The Partnership’s ability to produce numerous specialty products allows the Partnership to ship products between its facilities for product upgrading in order to meet customer specifications.

 

   

The Partnership is a Leader in North America’s Energy Transition. The Partnership’s MRL facility is permitted to pretreat and convert 15,000 barrels per stream day of renewable feedstocks into low-emission sustainable alternatives that directly replace fossil fuel products. MRL is a leader in North America’s energy transition and the largest Sustainable Aviation Fuel producer in the western hemisphere. The renewable fuel products produced by MRL are distributed into renewable markets in the western half of North America.

 

   

The Partnership’s Facilities Have a Unique Combination of Flexibility and Scale. The Partnership’s facilities are equipped with advanced, flexible technology that allows the Partnership to produce high-grade specialty products. For example, the Partnership’s integrated specialty products complex in Northwest Louisiana consists of 27 processing units and 195 million gallons of storage capacity across 400 tanks and has a wide variety of specialized hydroprocessing, dewaxing, emulsifying and distillation capabilities that allow it to meet complex, bespoke customer needs at scale providing an advantaged cost. The acquisition of Paralogics also added new capabilities into the Partnership’s existing wax business value chain, adding approximately 20 million pounds of annual blending and formulating capabilities. The Partnership’s facilities also enjoy the value and optionality of integration as many products can be further processed and upgraded at its own facilities.

 

   

The Partnership has Leading, High-Growth Brands. The Partnership’s Performance Brands segment benefits from well-known high-performance premium brands in consumer, retail and industrial markets. These brands garner a premium and are well positioned for growth. Further, the majority of products in the Partnership’s Specialty Products and Solutions segment are marketed under well-known industrial and consumer-facing brands that are of high value in the market and in many cases were established several decades ago.

 

   

The Partnership has an Experienced Management Team. The Partnership team’s extensive experience within the specialty products, commodities and renewable energy industries provides a strong foundation to build and optimize a diversified, competitively advantaged business that can succeed in various business cycles and environments.

Potential Acquisition and Divestiture Activities

While the Partnership evaluates potential acquisitions of strategic and complementary assets that would deepen its competitive advantage, the Partnership’s focus has been and continues to be to de-lever its balance sheet. The Partnership evaluates its portfolio on an ongoing basis to allow an objective assessment of potential divestiture candidates that are non-core to its business and/or worth more to a buyer than to the Partnership. The combination of acquisition and divestment activities is intended to maximize the Partnership’s return on invested capital by creating and maintaining a portfolio of core assets that optimize its blend of feedstocks, improve its operating efficiency and cash flows, and leverage its competitive strengths. The Partnership also intends to monetize all or a portion of its equity in MRL over time.

 

177


Table of Contents

As the Partnership optimizes its asset portfolio, which may include the divestiture of certain non-core assets or all or a portion of its equity in MRL, the Partnership intends to redeploy capital into projects to develop assets that are better suited to its core specialty products business strategy and de-leverage its balance sheet.

Going forward, the Partnership intends to tailor its approach toward owning businesses with stable cash flows and growing end markets. As a result, the Partnership may pursue potential arrangements with third parties to divest certain assets to enable it to further reduce the amount of its required capital commitments and potential capital expenditures. The Partnership expects that any potential divestitures of assets will also provide it with cash to reinvest in its business and repay debt.

Partnership Structure and Management

The Partnership is a Delaware limited partnership formed on September 27, 2005. The Partnership’s general partner is Calumet GP, LLC, a Delaware limited liability company. As of February 28, 2024, the Partnership has 80,223,093 common units and 1,637,206 General Partner units outstanding. The General Partner owns a 2% GP Interest in the Partnership and all incentive distribution rights and has sole responsibility for conducting the Partnership’s business and managing its operations. For more information about the GP Board and executive officers of the General Partner, please read “Management of the Partnership.”

The Partnership’s Operating Assets and Contractual Arrangements

General

The following table sets forth information about the Partnership’s continuing operations. Facility production volume differs from sales volume due to changes in inventories and the sale of purchased blendstocks such as ethanol and specialty blendstocks, as well as the resale of crude oil.

 

     Year Ended December 31,  
     2023      2022      % Change     2022      2021      % Change  
    

(In bpd)

 

Total sales volume (1)

     79,805        82,946        (3.8 )%      82,946        79,281        4.6

Total feedstock runs (2)

     77,200        80,447        (4.0 )%      80,447        75,818        6.1

Facility production: (3)

                

Specialty Products and Solutions:

                

Lubricating oils

     10,358        10,951        (5.4 )%      10,951        9,867        11.0

Solvents

     7,208        7,100        1.5     7,100        6,833        3.9

Waxes

     1,326        1,452        (8.7 )%      1,452        1,335        8.8

Fuels, asphalt and other by-products

     38,845        40,845        (4.9 )%      40,845        27,869        46.6
  

 

 

    

 

 

      

 

 

    

 

 

    

Total Specialty Products and Solutions

     57,737        60,348        (4.3 )%      60,348        45,904        31.5

Montana/Renewables:

                

Gasoline

     3,898        3,409        14.3     3,409        4,907        (30.5 )% 

Diesel

     2,941        6,449        (54.4 )%      6,449        9,711        (33.6 )% 

Jet fuel

     449        820        (45.2 )%      820        901        (9.0 )% 

Asphalt, heavy fuel oils and other

     4,483        6,942        (35.4 )%      6,942        10,379        (33.1 )% 

Renewable fuels

     6,314        —         100.0     —         —         100.0
  

 

 

    

 

 

      

 

 

    

 

 

    

Total Montana/Renewables

     18,085        17,620        2.6     17,620        25,898        (32.0 )% 
  

 

 

    

 

 

      

 

 

    

 

 

    

Performance Brands

     1,474        1,434        2.8     1,434        1,304        10.0
  

 

 

    

 

 

      

 

 

    

 

 

    

Total facility production (3)

     77,296        79,402        (2.7 )%      79,402        73,106        8.6
  

 

 

    

 

 

      

 

 

    

 

 

    

 

(1)

Total sales volume includes sales from the production at the Partnership’s facilities and certain third-party facilities pursuant to supply and/or processing agreements, sales of inventories and the resale of crude oil to third-party customers. Total sales volume includes the sale of purchased blendstocks.

 

178


Table of Contents
(2)

Total feedstock runs represent the barrels per day of crude oil and other feedstocks processed at the Partnership’s facilities and at certain third-party facilities pursuant to supply and/or processing agreements.

(3)

The difference between total facility production and total feedstock runs is primarily a result of the time lag between the input of feedstocks and production of finished products and volume loss.

The following table sets forth information about the Partnership’s sales of principal products by segment:

 

     Year Ended December 31,  
     2023     2022     2021  
     (In millions)      % of Sales     (In millions)      % of Sales     (In millions)      % of Sales  

Specialty Products and Solutions:

               

Lubricating oils

   $ 763.8        18.3   $ 913.7        19.5   $ 658.7        20.9

Solvents

     398.5        9.5     434.9        9.3     303.7        9.7

Waxes

     163.9        3.9     189.3        4.0     151.7        4.8

Fuels, asphalt and other by-products

     1,550.7        37.1     1,970.1        42.0     997.3        31.7
  

 

 

    

 

 

   

 

 

    

 

 

   

 

 

    

 

 

 

Total

   $ 2,876.9        68.8   $ 3,508.0        74.8   $ 2,111.4        67.1
  

 

 

    

 

 

   

 

 

    

 

 

   

 

 

    

 

 

 

Montana/Renewables:

               

Gasoline

   $ 167.2        4.0   $ 188.1        4.0   $ 188.3        6.0

Diesel

     144.8        3.5     391.8        8.4     324.9        10.3

Jet fuel

     20.5        0.5     41.8        0.9     27.5        0.9

Asphalt, heavy fuel oils and other

     148.1        3.5     253.2        5.4     243.0        7.7

Renewable Fuels

     513.2        12.2     —         —        —         —   
  

 

 

    

 

 

   

 

 

    

 

 

   

 

 

    

 

 

 

Total

   $ 993.8        23.7   $ 874.9        18.7   $ 783.7        24.9
  

 

 

    

 

 

   

 

 

    

 

 

   

 

 

    

 

 

 

Performance Brands

   $ 310.3        7.4   $ 303.4        6.5   $ 252.9        8.0
  

 

 

    

 

 

   

 

 

    

 

 

   

 

 

    

 

 

 

Consolidated sales

   $ 4,181.0        100.0   $ 4,686.3        100.0   $ 3,148.0        100.0
  

 

 

    

 

 

   

 

 

    

 

 

   

 

 

    

 

 

 

Northwest Louisiana Integrated Specialty Complex

The assets in the Partnership’s Northwest Louisiana integrated specialty complex anchor its Specialty Products and Solutions business segment. The assets in the Northwest Louisiana integrated specialty complex, primarily consist of the Shreveport facility, Cotton Valley facility and Princeton facility, which in total, includes 27 processing units and 195 million gallons of storage capacity across 400 tanks and have a wide variety of specialized hydroprocessing, dewaxing, emulsifying and distillation capabilities that allow the Partnership to meet complex, bespoke customer needs at scale providing an advantaged cost.

Shreveport Facility

The Shreveport facility (“Shreveport”), located on a 240 acre site in Shreveport, Louisiana, currently has aggregate crude oil throughput capacity of 60,000 bpd and processes paraffinic crude oil and associated feedstocks into fuel products, paraffinic lubricating oils, waxes, asphalt and by-products.

The Shreveport facility consists of 17 major processing units including hydrotreating, catalytic reforming and dewaxing units and approximately 3.3 million barrels of storage capacity in 130 storage tanks and related loading and unloading facilities and utilities. Since the Partnership’s acquisition of the Shreveport facility in 2001, the Partnership has expanded the facility’s capabilities by adding additional processing and blending facilities, adding a second reactor to the high pressure hydrotreater, resuming production of gasoline, diesel and other fuel products and adding both 18,000 bpd of crude oil throughput capacity and the capability to run up to 25,000 bpd of sour crude oil.

 

179


Table of Contents

The following table sets forth historical information about production at the Shreveport facility:

 

     Shreveport Facility  
     Year Ended December 31,  
     2023      2022      2021  
     (In bpd)  

Crude oil throughput capacity

     60,000        60,000        60,000  

Total feedstock runs (1) (2)

     38,248        42,453        29,971  

Total facility production (2) (3)

     40,677        45,525        31,835  

 

(1)

Total feedstock runs represent the barrels per day of crude oil and other feedstocks processed at the Shreveport facility. Total feedstock runs do not include certain interplant feedstocks supplied by the Cotton Valley and Princeton facilities.

(2)

Total facility production represents the barrels per day of specialty products and fuel products yielded from processing crude oil and other feedstocks. The difference between total facility production and total feedstock runs is primarily a result of the time lag between the input of feedstocks and production of finished products and volume loss.

(3)

Total facility production includes certain interplant feedstock supplied to the Cotton Valley and Princeton facilities and the Karns City facility.

The Shreveport facility has a flexible operational configuration and operating personnel that facilitates the development of opportunities to enhance profitability. Feedstock and product mix may fluctuate from one period to the next to capture market opportunities.

The Shreveport facility receives crude oil via tank truck, railcar and a common carrier pipeline system that is operated by a subsidiary of Plains All American Pipeline, L.P. (“Plains”) and is connected to Shreveport’s facilities. The Plains pipeline system delivers local supplies of crude oil and condensates from north Louisiana and east Texas. The Plains pipeline also connects to a Plains terminal in Longview, TX, which gives the refinery access to crude oil in west Texas and access to the Cushing, Oklahoma storage hub. Crude oil is also purchased from various suppliers, including local producers, who deliver crude oil to the Shreveport facility via tank truck.

The Shreveport facility also has direct pipeline access to the Enterprise Products Partners L.P. pipeline (“TEPPCO pipeline”), on which it can ship certain grades of gasoline, diesel and jet fuel. Further, the refinery has direct access to the Red River Terminal facility, which provides the facility with barge access, via the Red River, to major feedstock and petroleum products logistics networks on the Mississippi River and Gulf Coast inland waterway system. The Shreveport facility also ships its finished specialty products throughout the U.S. through both truck and railcar service.

Cotton Valley Facility

The Cotton Valley facility (“Cotton Valley”), located on a 77 acre site in Cotton Valley, Louisiana, currently has aggregate crude oil throughput capacity of 13,600 bpd, hydrotreating capacity of 6,500 bpd and processes crude oil into specialty solvents and residual fuel oil. The residual fuel oil is an important feedstock for the production of specialty products at the Shreveport facility. The Partnership believes the Cotton Valley facility produces the most complete, single-facility line of paraffinic solvents in the U.S.

The Cotton Valley facility consists of three major processing units that include a crude unit, a hydrotreater and a fractionation train, approximately 625,000 barrels of storage capacity in 74 storage tanks and related loading and unloading facilities and utilities. Since the acquisition of the Cotton Valley facility in 1995, the Partnership has expanded the facility’s capabilities by installing a hydrotreater that removes aromatics, increased the crude unit processing capability to 13,600 bpd and reconfigured the facility’s fractionation train to improve product quality, enhance flexibility and lower utility costs.

 

180


Table of Contents

The following table sets forth historical information about production at the Cotton Valley facility:

 

     Cotton Valley Facility  
     Year Ended December 31,  
     2023      2022      2021  
     (In bpd)  

Crude oil throughput capacity

     13,600        13,600        13,600  

Total feedstock runs (1) (2)

     9,125        8,975        8,349  

Total facility production (2)(3)

     5,520        5,317        4,698  

 

(1)

Total feedstock runs do not include certain interplant solvent feedstocks supplied by the Shreveport facility.

(2)

Total facility production represents the barrels per day of specialty products yielded from processing crude oil and other feedstocks. The difference between total facility production and total feedstock runs is primarily a result of the time lag between the input of feedstocks and the production of finished products, intermediates transferred to internal sites for further processing, and volume loss.

(3)

Total facility production includes certain interplant feedstocks supplied to the Shreveport facility.

The Cotton Valley facility has a flexible operational configuration and operating personnel that facilitates the development of opportunities to enhance profitability. Feedstock and product mix may fluctuate from one period to the next to capture market opportunities, which allows the Partnership to respond to market changes and customer demands by modifying the refinery’s product mix. The reconfigured fractionation train also allows the facility to satisfy demand fluctuations efficiently without large finished product inventory requirements.

The Cotton Valley facility receives crude oil via tank truck. The Cotton Valley facility’s feedstock is primarily low sulfur and paraffinic crude oil originating from north Louisiana and is purchased from various marketers and gatherers. In addition, the Cotton Valley facility receives interplant feedstocks for solvent production from the Shreveport facility. The Cotton Valley facility ships finished products by both truck and railcar service.

Princeton Facility

The Princeton facility (“Princeton”), located on a 208 acre site in Princeton, Louisiana, currently has aggregate crude oil throughput capacity of 10,000 bpd and processes naphthenic crude oil into lubricating oils and asphalt. In addition, feedstock is made for the Shreveport facility for further processing into ultra-low sulfur diesel. The asphalt produced at Princeton may be further processed or blended for coating and roofing product applications at the Princeton facility or transported to the Shreveport facility for further processing into bright stock.

The Princeton facility consists of seven major processing units, approximately 650,000 barrels of storage capacity in 200 storage tanks and related loading and unloading facilities and utilities. Since the acquisition of the Princeton facility in 1990, the Partnership has debottlenecked the crude unit to increase production capacity to 10,000 bpd, increased the hydrotreater’s capacity to 7,000 bpd and upgraded the facility’s fractionation unit, which has enabled the Partnership to produce higher value specialty products.

The following table sets forth historical information about production at the Princeton facility:

 

     Princeton Facility  
     Year Ended December 31,  
     2023      2022      2021  
     (In bpd)  

Crude oil throughput capacity

     10,000        10,000        10,000  

Total feedstock runs (1)

     7,724        7,259        7,266  

Total facility production (1) (2)

     7,787        5,660        4,881  

 

181


Table of Contents

 

(1)

Total facility production represents the barrels per day of specialty products yielded from processing crude oil and other feedstocks. The difference between total facility production and total feedstock runs is primarily a result of the time lag between the input of feedstocks and the production of finished products, intermediates transferred to internal sites for further processing, and volume loss.

(2)

Total facility production includes certain interplant feedstocks supplied to the Shreveport facility.

The Princeton facility has a hydrotreater and significant fractionation capability enabling the refining of high quality naphthenic lubricating oils at numerous distillation ranges. The Princeton facility’s processing capabilities consist of atmospheric and vacuum distillation, hydrotreating, asphalt oxidation processing and clay/acid treating. In addition, the Partnership has the necessary tankage and technology to process its asphalt into higher value product applications such as coatings, road paving and specialty applications.

The Princeton facility receives crude oil via tank truck, railcar and the Plains pipeline system. Its crude oil supply primarily originates from east Texas, south Texas and north Louisiana, purchased directly from third-party suppliers under month-to-month evergreen supply contracts and on the spot market. The Princeton facility ships its finished products throughout the U.S. via truck and railcar service.

Great Falls Specialty Asphalt Facility

The Great Falls specialty asphalt facility (“Great Falls”), located on a 65 acre site in Great Falls, Montana, currently has aggregate crude oil throughput capacity of 15,000 bpd and processes light and heavy crude oil from Canada into fuel and asphalt products. In the fourth quarter of 2022, the Partnership converted a significant portion of the Great Falls specialty asphalt facility into a renewable fuels production facility (see below). Upon completion of the conversion project, the Partnership continues to own and operate the conventional Great Falls specialty asphalt facility with a reconfigured processing capacity of 15,000 bpd of Canadian crude. The facility is focused on the production of high-quality specialty asphalt, as well as satisfying local demand for conventional fuels.

The Great Falls specialty asphalt facility consists of 15 major processing units including hydrotreating, catalytic reforming, hydrocracking, fluid catalytic cracking and alkylation units, approximately 1.1 million barrels of storage capacity in 75 tanks and related loading and unloading facilities and utilities.

The following table sets forth historical information about production at the Great Falls specialty asphalt facility:

 

     Great Falls Specialty Asphalt Facility  
     Year Ended December 31,  
     2023      2022      2021  
     (In bpd)  

Crude oil throughput capacity

     15,000        15,000        30,000  

Total feedstock runs (1)(2)

     11,982        17,599        25,614  

Total facility production (2)

     11,772        17,619        25,897  

 

(1)

Total feedstock runs represent the barrels per day of crude oil processed at the Great Falls specialty asphalt facility.

(2)

Total facility production represents the barrels per day of specialty products and fuel products yielded from processing crude oil and other feedstocks. The difference between total facility production and total feedstock runs is primarily a result of the time lag between the input of feedstocks and the production of finished products and volume loss.

Currently, the Great Falls specialty asphalt facility produces liquified petroleum gas, naphtha, gasoline, diesel, jet fuel and asphalt, which are shipped by railcar and truck service. Finished fuel and asphalt sales are primarily made through spot agreements and short-term contracts.

 

182


Table of Contents

The Great Falls specialty asphalt facility purchases crude oil from various suppliers and receives crude oil through the Interprovincial Bow River South and Rangeland pipeline systems, providing reliable access to high quality conventional crude oil from western Canada.

In the fourth quarter of 2022, the Partnership completed the reconfiguration of its 30,000 bpd Great Falls specialty asphalt facility into two unrelated facilities, including a 15,000 bpd specialty asphalt facility and a 15,000 bpd renewable fuels facility. The specialty asphalt facility capitalizes on local access to cost-advantaged Canadian conventional crude oil, while producing additional fuels and refined products for delivery into the regional market while meeting EPA requirements for gasoline and diesel product sulfur limits and reducing air emissions. The renewable fuels facility is described below.

Great Falls Renewable Fuels Facility

In the fourth quarter of 2022, MRL completed the conversion of a significant portion of the Great Falls specialty asphalt facility into a renewable fuels production facility (the “Montana Renewables Facility”). The Montana Renewables Facility has a permitted throughput capacity of 15,000 bpd to pretreat and convert a wide variety of organic waste and vegetable oils into lower emissions, sustainable alternatives to fossil fuels, including renewable hydrogen, renewable natural gas, renewable propane, renewable naphtha, renewable kerosene/sustainable aviation fuel, and renewable diesel.

As part of the conversion project, the Partnership also constructed and commissioned an innovative renewable hydrogen unit, which further lowered carbon intensity and increased the throughput of the Montana Renewables Facility. Further, a new state of the art feedstock pre-treater, which combined with proximity to advantaged feedstocks and low-carbon product markets provides lasting competitive advantage to Montana Renewables.

Missouri Facility

The Missouri facility (“Missouri”), located on a 22 acre site in Louisiana, Missouri, develops and produces polyol ester synthetic lubricants for use in refrigeration compressors, commercial aviation and polyol ester base stocks. In December 2015, the Partnership completed a project to more than double the production capacity of the facility from 35 million pounds to 75 million pounds per year. The facility has approximately 35,000 barrels of storage capacity in 64 tanks and related loading and unloading facilities and utilities. The facility receives its fatty acids and alcohol feedstocks and additives by truck and railcar under supply agreements or spot agreements with various suppliers.

The Missouri facility utilizes the latest batch esterification processes designed to ensure blending accuracy while maintaining production flexibility to meet customer needs.

Calumet Packaging

The Calumet Packaging facility (“Calumet Packaging”), located on a 10 acre site in Shreveport, Louisiana, develops, blends and packages high performance synthetic lubricants, fuels and solvent products for use in industrial, commercial and automotive applications. The Calumet Packaging facility’s processing capability includes state-of-the-art blending and packaging equipment. The facility has approximately 75,000 barrels of storage capacity and related loading and unloading facilities. The facility receives its base oil feedstocks and additives by truck and rail under supply agreements or spot agreements with various suppliers.

Royal Purple

The Royal Purple facility (“Royal Purple”), located on a 20 acre site in Porter, Texas, develops, blends and packages high performance synthetic lubricants and fluid additive products for use in industrial, commercial and

 

183


Table of Contents

automotive applications. The Royal Purple facility’s processing capability includes 10 in-house packaging and production lines. Outsourced packaging services for specific products are also fulfilled. The facility has approximately 30,500 barrels of storage capacity in 91 tanks and related loading and unloading facilities. The facility receives its base oil feedstocks and additives by truck under supply agreements or spot agreements with various suppliers.

Karns City and Dickinson Facilities and Other Processing Agreements

The Karns City facility (“Karns City”), located on a 225 acre site in Karns City, Pennsylvania, has aggregate base oil throughput capacity of 3,000 bpd and produces white mineral oils, solvents, petrolatums, gelled hydrocarbons, cable fillers and natural petroleum sulfonates. The Karns City facility’s processing capability includes hydrotreating, fractionation, acid treating, filtering, blending and packaging. In addition, the facility has approximately 817,000 barrels of storage capacity in 250 tanks and related loading and unloading facilities and utilities.

The Dickinson facility (“Dickinson”), located on a 28 acre site in Dickinson, Texas, has aggregate base oil throughput capacity of 1,300 bpd and produces white mineral oils, compressor lubricants and natural petroleum sulfonates. The Dickinson facility’s processing capability includes acid treating, filtering and blending. The facility has approximately 183,000 barrels of storage capacity in 186 tanks and related loading and unloading facilities and utilities.

These facilities each receive their base oil feedstocks by railcar and truck under supply agreements or spot purchases with various suppliers, the most significant of which is a supply agreement with Phillips 66. Please read “—The Partnership’s Crude Oil and Feedstock Supply” below for further discussion of the long-term supply agreement with Phillips 66.

The following table sets forth the combined historical information about production at the Karns City, Dickinson and certain other facilities:

 

     Combined Karns City, Dickinson and Other
Facilities
 
     Year Ended December 31,  
     2023      2022      2021  
     (in bpd)  

Feedstock throughput capacity (1)

     11,300        11,300        11,300  

Total facility production (2) (3)

     3,396        3,482        4,368  

Total production (3)

     3,419        3,582        4,269  

 

(1)

Includes Karns City, Dickinson and certain other facilities.

(2)

Includes feedstock runs at the Karns City and Dickinson facilities as well as throughput at certain third-party facilities pursuant to supply and/or processing agreements and includes certain interplant feedstocks supplied from the Shreveport facility.

(3)

Total production represents the barrels per day of specialty products yielded from processing feedstocks at the Karns City and Dickinson facilities and certain third-party facilities pursuant to supply and/or processing agreements. The difference between total production and total feedstock runs is primarily a result of the time lag between the input of feedstocks and the production of finished products.

Other Logistics Assets

Terminals are complementary to the Partnership’s refineries and play a key role in moving products to end-user markets by providing services including distribution and blending to achieve specified products and storage and inventory management. In addition to the Burnham terminal, the Partnership owns and leases additional facilities, primarily related to distribution of finished products, throughout the U.S.

 

184


Table of Contents

Burnham Terminal: The Partnership owns and operates a terminal located on an 11 acre site, in Burnham, Illinois. The Burnham terminal receives specialty products from certain of its refineries primarily by railcar and distributes them by truck and railcar to customers in the Upper Midwest and East Coast regions of the U.S. and in Canada. The terminal includes a tank farm with 90 tanks having aggregate storage capacity of approximately 150,000 barrels, supplying lube base oils, food grade white oils and aliphatic solvents, as well as viscosity index additives and tackifiers.

The Partnership uses approximately 2,050 railcars leased from various lessors. This fleet of railcars enables the Partnership to receive and ship crude oil and distribute various specialty products and fuel products throughout the U.S. and Canada to and from each of the facilities. In addition, the Partnership uses approximately 450 leased railcars to source renewable feedstocks and distribute renewable fuels products into the western half of North America.

The Partnership’s Crude Oil and Feedstock Supply

The Partnership purchases crude oil and other feedstocks from major oil companies as well as from various crude oil gatherers and marketers in Texas, north Louisiana and Canada. Crude oil supplies at the Partnership’s facilities are as follows:

 

Facility

  

Crude Oil / Feedstock Slate

  

Mode of Transportation

Shreveport    West Texas Intermediate (“WTI”), local crude oils from East Texas, North Louisiana, Arkansas and Light Louisiana Sweet    Tank truck, railcar and Plains Pipeline
Cotton Valley    Local paraffinic crude oil    Tank truck
Great Falls Specialty Asphalt Facility    Canadian Heavy (e.g. Bow River) and Canadian Light Sour    Front Range Pipeline
Montana Renewables Facility    Organic waste and vegetable oil materials    Railcar
Princeton    Local and imported naphthenic crude oil    Tank truck, railcar and Plains Pipeline

In 2023, BP Products North America Inc. (“BP”) supplied the Partnership with approximately 71.7% of its total crude oil supply under term contracts and month-to-month evergreen crude oil supply contracts. In 2023, Macquarie Energy Canada LTD. (“Macquarie”) supplied the Partnership with approximately 18.5% of its total crude oil supply under a crude oil supply agreement. Each of the Partnership’s refineries is dependent on one or more key suppliers and the loss of any of these suppliers would adversely affect the Partnership’s financial results to the extent the Partnership was unable to find another supplier of this substantial amount of crude oil.

The Partnership has short-term and long-term contracts with its crude oil suppliers. For example, a majority of the Partnership’s crude oil supply contracts with Plains are currently month-to-month and terminable upon 90 days’ notice. Additionally, the Partnership’s crude oil supply agreement with BP was amended and restated in December 2016, and automatically renews for successive one-year terms each March unless terminated by either party upon 90 days’ notice (“BP Purchase Agreement”). This agreement has not been terminated by either party. The Partnership also purchases foreign crude oil when its spot market price is attractive relative to the price of crude oil from domestic sources.

MRL, an unrestricted subsidiary of the Partnership, has entered into various term supply agreements for renewable feedstocks that are key to the operations of the Montana Renewables Facility.

 

185


Table of Contents

The Partnership has various long-term feedstock supply agreements with Phillips 66, with some agreements operating under the option to continue on a month-to-month basis thereafter, for feedstocks that are key to the operations of the Karns City and Dickinson facilities. In addition, certain products of the Partnership’s refineries can be used as feedstocks by these facilities.

The Partnership believes that adequate supplies of crude oil and feedstocks will continue to be available to it.

The Partnership’s cost to acquire crude oil and feedstocks and the prices for which it ultimately can sell refined products depend on a number of factors beyond the Partnership’s control, including regional and global supply of and demand for crude oil, other feedstocks and specialty and fuel products. These, in turn, are dependent upon, among other things, the availability of imports, overall economic conditions, production levels of domestic and foreign suppliers, U.S. relationships with foreign governments, political affairs and the extent of governmental regulation. The Partnership has historically been able to pass on the costs associated with increased crude oil and feedstock prices to its specialty products customers, although the increase in selling prices for specialty products typically lags the rising cost of crude oil. From time to time, the Partnership uses a hedging program to manage a portion of its commodity price risk.

The Partnership’s Products, Markets and Customers

Products

The Partnership produces a full line of specialty products, including lubricating oils, solvents, waxes, food grade white oils, pharmaceutical grade petrolatums, and other products, as well as a variety of fuel and fuel related products, including asphalt and heavy fuel oils. The Partnership also blends, packages and markets high performance specialty products through its Royal Purple, Bel-Ray, and TruFuel brands. At its Montana Renewables Facility, the Partnership produces a variety of renewable fuels products, including renewable diesel, sustainable aviation fuel, renewable hydrogen, renewable natural gas, renewable propane, and renewable naphtha, that are distributed into renewable markets in the western half of North America. The Partnership’s customers purchase specialty products primarily as raw material components for consumer-facing and industrial products. The Partnership’s customers also purchase renewable fuels, which are consumed to reduce lifecycle carbon emissions.

 

186


Table of Contents

The following table depicts a representative sample of the diversity of end-use applications for the products The Partnership produces:

Representative Sample of End-Use Applications by Product (1)

 

Lubricating

Oils

 

Solvents

 

Waxes

 

Packaged and

Synthetic Specialty

Products

 

Fuels &

Fuel Related

Products

 

Renewable Products

19%

 

10%

 

4%

 

8%

 

47%

 

12%

•   Hydraulic oils

•   Passenger car motor oils

•   Railroad engine oils

•   Cutting oils

•   Compressor oils

•   Metalworking fluids

•   Transformer oils

•   Rubber process oils

•   Industrial lubricants

•   Gear oils

•   Grease

•   Automatic transmission fluid

•   Animal feed dedusting

•   Baby oils

•   Bakery pan oils

•   Catalyst carriers

•   Gelatin capsule lubricants

•   Sunscreen

 

•   Waterless hand cleaners

•   Alkyd resin diluents

•   Automotive products

•   Calibration fluids

•   Charcoal lighter fluids

•   Chemical processing

•   Drilling fluids

•   Printing inks

•   Water treatment

•   Paint and coatings

•   Stains

 

•   Paraffin waxes

•   FDA compliant products

•   Candles

•   Adhesives

•   Crayons

•   Floor care

•   PVC

•   Paint strippers

•   Skin & hair care

•   Timber treatment

•   Waterproofing

•   Pharmaceuticals

•   Cosmetics

 

•   Refrigeration compressor oils

•   Positive displacement and roto-dynamic compressor oils

•   Commercial and military jet engine oil

•   Lubricating greases

•   Gear oils

•   Aviation hydraulic oils

•   High performance small engine fuels

•   Two cycle and four stroke engine oils

•   High performance automotive engine oils

•   High performance industrial lubricants

•   High temperature chain lubricants

•   Food contact grade lubricants

•   Charcoal lighter fluids and other solvents

•   Engine treatment additives

 

•   Gasoline

•   Diesel

•   Jet fuel

•   Marine fuel

•   Ethanol free fuels

•   Fluid catalytic cracking feedstock

•   Asphalt vacuum residuals

•   Mixed butanes

•   Roofing flux

•   Paving asphalt

•   Heavy fuel oils

 

•   Renewable hydrogen

•   Renewable natural gas

•   Renewable propane

•   Renewable naphtha

•   Renewable kerosene/sustainable aviation fuel

•   Renewable diesel

 

(1)

Based on the percentage of total sales for the year ended December 31, 2023. Except for the listed fuel products, renewable products and certain packaged and synthetic specialty products, The Partnership does not produce any of these end-use products.

Marketing

The Partnership’s salespeople regularly visit customers and work in conjunction with its marketing department, the laboratories at its production facilities and its technical services department, to focus on providing additional value to its customers, such as formulation assistance, regulatory insight, and creating specialized blends and packaging that work optimally for its customers.

 

187


Table of Contents

Markets

Specialty Products. The specialty products market represents a small portion of the overall petroleum refining industry in the U.S. Of the approximately 130 refineries currently in operation in the U.S., only a small number of the refineries are considered specialty products producers and only a few compete with the Partnership in terms of the number of products produced.

The Partnership’s specialty products are utilized in applications across a broad range of industries, including:

 

   

industrial goods such as finished lubricants, batteries, water treatment chemistry, mining lubricants, oilfield drilling, electrical and transformer oils, adhesives, refrigeration compressor oils, aviation fluids, and agriculture applications; and

 

   

consumer goods such as cosmetics, petroleum jelly, lotions, pharmaceuticals, food, candles, paint and coatings, charcoal lighter fluids, and car care products.

The Partnership has the capability to ship its specialty products worldwide. In the U.S., the Partnership ships its specialty products via railcars, trucks and barges. The Partnership uses its fleet of leased railcars to ship its specialty products and a majority of specialty products sales are shipped in trucks owned and operated by several different third-party carriers. For international shipments, which accounted for less than 10% of the Partnership’s consolidated sales in 2023, the Partnership ships via railcars and trucks to several ports where the product is loaded onto vessels for shipment to customers abroad.

Fuel Products. The fuel products market represents a large portion of the overall petroleum refining industry in the U.S. Of the approximately 130 refineries currently in operation in the U.S., a large number of the refineries are fuel products producers; however, only a few compete with the Partnership in its local markets.

Renewable Fuel Products. The renewable fuel products market represents a small portion of the overall petroleum refining industry in the U.S. MRL is a leading independent producer of renewable transportation fuels in North America and the largest SAF producer in the western hemisphere. The renewable fuels market is in the rapid-growth phase of its life cycle, highlighted by renewable diesel demand growing at an average annualized rate of 96.3% over the past three years, and SAF demand quadrupling in the past year. The U.S. government’s SAF Grand Challenge calls for SAF growth from 4.5 million gallons in 2021 to 3.0 billion gallons annually by 2030. The Partnership believe it is well positioned to benefit from these trends.

Gulf Coast Market (PADD 3)

Fuel products produced at the Shreveport facility can be sold locally or to the Midwest region of the U.S. through the TEPPCO pipeline. Local sales are made from the TEPPCO terminal in Bossier City, Louisiana, located approximately 15 miles from the Shreveport facility, as well as from the Shreveport facility terminal.

Gasoline, diesel and jet fuel from the Shreveport facility are sold primarily into the Louisiana, Texas and Arkansas markets, and any excess volumes are sold to marketers further up the TEPPCO pipeline. Should the appropriate market conditions arise, the Partnership has the capability to redirect and sell additional volumes into the Louisiana, Texas and Arkansas markets rather than transport them to the Midwest region via the TEPPCO pipeline.

The Shreveport facility has the capacity to produce approximately 9,000 bpd of commercial jet fuel that can be marketed to the U.S. Department of Defense, sold as Jet-A locally or sold via the TEPPCO pipeline, or transferred to the Cotton Valley facility to be processed further as a feedstock to produce solvents.

Additionally, the Partnership produces a number of fuel-related products including fluid catalytic cracking (“FCC”) feedstock, vacuum residuals and mixed butanes. FCC feedstock is sold to other refiners as a feedstock

 

188


Table of Contents

for their FCC units to make fuel products. Vacuum residuals are blended or processed further to make asphalt products. Volumes of vacuum residuals which the Partnership cannot process are sold locally into the fuel oil market or sold via railcar to other refiners. Mixed butanes are primarily available in the summer months and are primarily sold to local marketers. If the mixed butanes are not sold, they are blended into the Partnership’s gasoline production.

Northwest Market (PADD 4)

Fuel and asphalt products produced at the Great Falls specialty asphalt facility can be sold locally and in Missouri, Oklahoma, Texas, Arizona, North Dakota, South Dakota, Idaho, Oregon, Utah, Wyoming, Washington, Nevada, California and Canada. Seasonally, fuel products from the Great Falls specialty asphalt facility are transported to terminals in Washington and Utah.

Renewable diesel, sustainable aviation fuel, renewable hydrogen, renewable natural gas, renewable propane, and renewable naphtha produced at the Montana Renewables Facility are distributed into renewable markets in the western half of North America.

Customers

Specialty Products. The Partnership has a diverse customer base for its specialty products. In fiscal year 2023, the Partnership sold its specialty products to approximately 2,200 customers. Many of the Partnership’s customers are long-term customers who use its products in specialty applications, after an approval process ranging from six months to two years.

Fuel Products. The Partnership has a diverse customer base for its fuel products. In fiscal year 2023, the Partnership sold its fuel products to approximately 200 customers. The Partnership’s diverse customer base includes wholesale distributors and retail chains. The Partnership is able to sell the majority of the fuel products it produces at the Shreveport facility to the local markets of Louisiana, Texas and Arkansas. The Partnership also has the ability to ship additional fuel products from the Shreveport facility to the Midwest region through the TEPPCO pipeline. The majority of the Partnership’s fuel products produced at its Great Falls specialty asphalt facility are sold to local markets in Montana and Idaho as well as in Canada. The renewable fuel products produced at the Partnership’s Montana Renewables Facility are distributed into renewable markets in the western half of North America.

Renewable Fuels Products. The Partnership sells its renewable fuels products to a relatively small number of investment grade counterparties under multiyear offtake agreements for onward distribution into renewable markets in the western half of North America. The robust demand during the placement process for the renewable fuels produced at the Partnership’s Montana Renewables facility allows the Partnership to select an established, integrated customer base for its renewable products.

During the years ended December 31, 2023, 2022, and 2021, the Partnership had no customer that represented 10% or greater of consolidated sales.

Competition

Competition in the Partnership’s markets is from a combination of large, integrated petroleum companies and independent refiners. Many of its competitors are substantially larger than the Partnership and are engaged on a national or international basis in many segments of the petroleum products business, including exploration and production, refining, transportation and marketing. These competitors may have greater flexibility in responding to or absorbing market changes occurring in one or more of these business segments. The Partnership distinguishes its competitors according to the products that they produce. Set forth below is a description of the Partnership’s significant competitors according to product category.

 

189


Table of Contents

Naphthenic Lubricating Oils. The Partnership’s primary competitors in producing naphthenic lubricating oils include Ergon Refining, Inc., Cross Oil Refining and Marketing, Inc. and San Joaquin Refining Co., Inc.

Paraffinic Lubricating Oils. The Partnership’s primary competitors in producing paraffinic lubricating oils include Exxon Mobil Corporation, Motiva Enterprises, LLC, Phillips 66, HF Sinclair Corporation and Chevron Corporation.

Paraffin Waxes. The Partnership’s primary competitors in producing paraffin waxes include Exxon Mobil Corporation, HF Sinclair Corporation, The International Group Inc. and Ergon, Inc.

Solvents. The Partnership’s primary competitors in producing solvents include CITGO Petroleum Corporation, ExxonMobil Chemical Company and Total S.A.

Polyol ester Based Specialty Products. The Partnership’s primary competitors in producing polyol ester-based specialty products include LANXESS, ExxonMobil Corporation, BASF Corporation, Croda International plc, Nyco Products Corporation and Zschimmer & Schwartz, Inc.

Packaged and Synthetic Specialty Products. The Partnership’s primary competitors in retail and commercial packaged and synthetic specialty products include Exxon Mobil Corporation (Mobil 1), Valvoline, Inc. and other independent lubricant manufacturers. The Partnership’s primary competitors in industrial packaged and synthetic specialty products include Exxon Mobil Corporation, Royal Dutch Shell plc, Fuchs and other independent lubricant manufacturers.

Fuel Products and By-Products. The Partnership’s primary competitors in producing fuel products in the local markets in which it operates include Delek US Holdings, Exxon Mobil Corporation, Phillips 66 and Cenex.

Renewable Fuel Products. The Partnership’s primary competitor in producing renewable fuel products in the local markets in which it operate is Chevron Corporation.

The Partnership’s ability to compete effectively depends on its responsiveness to customer needs and its ability to maintain competitive prices and product and service offerings. The Partnership believes that its flexibility and customer responsiveness differentiates the Partnership from many of its larger competitors. However, it is possible that new or existing competitors could enter the markets in which the Partnership operates, which could negatively affect its financial performance.

Governmental Regulation

From time to time, The Partnership is a party to certain claims and litigation incidental to its business, including claims made by various taxation and regulatory authorities, such as the IRS, the EPA and OSHA, as well as various state environmental regulatory bodies and state and local departments of revenue, as the result of audits or reviews of its business.

Environmental and Occupational Health and Safety Matters

Environmental

The Partnership conducts crude oil and specialty refining, blending and terminal operations, certain activities of which are subject to stringent federal, regional, state and local laws and regulations governing worker health and safety, the discharge of materials into the environment and environmental protection. These laws and regulations impose legal standards and obligations that are applicable to the Partnership’s operations, such as requiring the acquisition of permits to conduct regulated activities, restricting the manner in which the Partnership may release materials into the environment, requiring mitigation of pollutant discharges from current

 

190


Table of Contents

operations that may include incurring capital expenditures to limit or prevent unauthorized releases from its equipment and facilities, requiring remedial activities to mitigate pollution from former operations, imposing substantial liabilities for pollution resulting from its operations, and requiring the application of specific health and safety criteria addressing worker protection. Failure to comply with these laws and regulations may result in the assessment of sanctions, including administrative, civil and criminal penalties; the imposition of investigatory, remedial or corrective action obligations or the incurrence of capital expenditures; the occurrence of restrictions, delays or cancellations in the permitting, development or expansion of projects; and the issuance of injunctive relief limiting or prohibiting its activities in a particular area.

Moreover, certain of these laws impose joint and several liability and strict liability for costs required to remediate and restore sites where petroleum hydrocarbons, wastes or other materials have been disposed of or released and areas where any such contamination has come to be located. In addition, new environmental and worker safety laws and regulations, amendment of existing laws and regulations, reinterpretation of legal requirements, increased governmental enforcement or other developments could significantly increase its operational or compliance expenditures, including as discussed below in more detail.

Remediation of subsurface contamination continues at certain of the Partnership’s refinery sites and is being overseen by the appropriate governmental agencies. Based on current investigative and remedial activities, the Partnership believes that the cost to control or remediate the soil and groundwater contamination at these refineries will not have a material adverse effect on its financial condition. However, such costs are often unpredictable and, therefore, there can be no assurance that the future costs of these remedial projects will not become material.

Great Falls Refinery

In connection with the acquisition of the Great Falls refinery from Connacher Oil and Gas Limited (“Connacher”), the Partnership became a party to an existing 2002 Refinery Initiative Consent Decree (the “Great Falls Consent Decree”) with the EPA and the Montana Department of Environmental Quality. The material obligations imposed by the Great Falls Consent Decree have been completed. On September 27, 2012, Montana Refining Company, Inc., received a final Corrective Action Order on Consent, replacing the refinery’s previously held hazardous waste permit. This Corrective Action Order on Consent governs the investigation and remediation of contamination at the Great Falls refinery.

The Partnership believes the majority of the impacts related to such contamination at the Great Falls refinery are covered by a contractual indemnity provided by a subsidiary of HF Sinclair Corporation (“the Seller”), the owner and operator of the Great Falls refinery prior to its acquisition by Connacher, under an asset purchase agreement between the Seller and Connacher, pursuant to which Connacher acquired the Great Falls refinery.

Under this asset purchase agreement, the Seller agreed to indemnify Connacher and Montana Refining Company, Inc., subject to timely notification, certain conditions and certain monetary baskets and caps, for environmental conditions arising under the Seller’s ownership and operation of the Great Falls refinery and existing as of the date of sale to Connacher. During 2014, HF Sinclair Corporation (“Holly”) provided the Partnership with a notice challenging the Partnership’s position that the Seller is obligated to indemnify the Partnership’s remediation expenses for environmental conditions to the extent arising under Holly’s ownership and operation of the refinery and existing as of the date of sale to Connacher. On September 22, 2015, the Partnership initiated a lawsuit against Holly and the Sellers. The court ordered that all of the claims be addressed in arbitration. The arbitration panel confirmed that the sellers of the Great Falls refinery retained the liability for all pre-closing contamination with respect to third-party claims indefinitely and with respect to first party claims for which the sellers received notice within five years after the sale of the refinery, which claims are subject to the requirements otherwise set forth in the asset purchase agreement. Among other things, the panel denied the Partnership’s demands for reimbursement for costs already incurred by the Partnership prior to the arbitration but left open the Partnership’s ability to make future claims. The Partnership expects that it may incur costs to

 

191


Table of Contents

remediate other environmental conditions at the Great Falls refinery. The Partnership currently believes that these other costs it may incur will not be material to its financial position or results of operations.

Air Emissions

The Partnership’s operations are subject to the CAA, and comparable state and local laws. Amendments made to the CAA in 1990 require most industrial operations in the U.S. to incur capital expenditures to meet the air emission control standards that are developed and implemented by the EPA and state environmental agencies. Under the CAA, facilities that emit regulated air pollutants are subject to stringent regulations, including requirements to install various levels of control technology on sources of pollutants. In addition, in recent years, the petroleum refining sector has become subject to stringent federal regulations that impose maximum achievable control technology (“MACT”) on refinery equipment emitting certain listed hazardous air pollutants. Some of the Partnership’s facilities have been included within the categories of sources regulated by MACT rules. The Partnership’s refining and terminal operations that emit regulated air pollutants are also subject to air emissions permitting requirements that incorporate stringent control technology requirements for which the Partnership may incur significant capital expenditures. Any renewal of those air emissions permits or a need to modify existing or obtain new air emissions permits has the potential to delay the development of the Partnership’s projects. The Partnership can provide no assurance that future compliance with existing or any new laws, regulations or permit requirements will not have a material adverse effect on its business, financial position or results of operations. For example, in 2015, the EPA issued a final rule under the CAA making the National Ambient Air Quality Standard (“NAAQS”) for ground-level ozone more stringent. Since that time, the EPA has issued area designations with respect to ground-level ozone and final requirements that apply to state, local and tribal air agencies for implementing the 2015 NAAQS for ground-level ozone. States are expected to implement more stringent requirements as a result of this new final rule, which could apply to the Partnership’s operations. EPA retained the 2015 standards for ground-level ozone after a review completed in 2020. In 2021, EPA announced that it would reconsider this standard, and in August 2023, EPA announced it would begin an entirely new review of the NAAQS for ground-level ozone. Also, in 2015, the EPA published a final rule that amended three refinery standards already in effect, imposing additional or, in some cases, new emission control requirements on subject refineries. The final rule requires, among other things, the monitoring of air concentrations of benzene around the refinery fence line perimeter and submittal of the fence line monitoring data to the EPA on a quarterly basis; upgraded emissions controls for storage tanks, including controls for smaller capacity storage vessels and storage vessels storing materials with lower vapor pressures than previously regulated; enhanced performance requirements for flares including the use of a minimum of three pollution prevention measures, continuous monitoring of flares and pressure release devices and analysis and remedy of flare release events; and compliance with emissions standards for delayed coking units. These final rules and any other future air emissions rulemakings could impact the Partnership by requiring installation of new emission controls on some of the Partnership’s equipment, resulting in longer permitting timelines, and significantly increasing its capital expenditures and operating costs, which could adversely impact its business.

From time to time the CAA authorizes the EPA to require modifications in the formulation of the refined transportation fuel products the Partnership manufactures in order to limit the emissions associated with the fuel product’s final use. For example, in February 2000, the EPA published regulations limiting the sulfur content allowed in gasoline. These regulations, referred to as “Tier 2 Standards,” required the phase-in of gasoline sulfur standards beginning in 2004, with special provisions for small refiners and for refiners serving those western U.S. states exhibiting lesser air quality problems. Similarly, the EPA published regulations that limit the sulfur content of highway diesel beginning in 2006 from its former level of 500 parts per million (“ppm”) to 15 ppm (the “ultra-low sulfur standard”). The Partnership’s Shreveport and Great Falls facilities have implemented the sulfur standard with respect to produced gasoline and produced diesel meeting the ultra-low sulfur standard.

In 2014, the EPA published more stringent sulfur standards, referred to as “Tier 3 Standards,” including requiring that motor gasoline will not contain more than 10 ppm of sulfur on an annual average basis by January 1, 2017, except in those instances where refineries received a “small refinery” exemption, in which event the deadline was extended to January 1, 2020. The Partnership’s Shreveport and Great Falls facilities are fully

 

192


Table of Contents

compliant with the 10 ppm sulfur standard with respect to produced gasoline. In addition, The Partnership is required to meet the Mobile Source Air Toxics II Standards adopted by the EPA to reduce the benzene content of motor gasoline produced at its facilities and have completed capital projects at the Shreveport and Great Falls facilities to comply with those fuel quality requirements.

The EPA has issued RFS mandates, requiring refiners such as the Partnership to blend renewable fuels into the petroleum fuels they produce and sell in the United States. The Partnership, and other refiners subject to RFS, may meet the RFS requirements by blending the necessary volumes of renewable transportation fuels produced by the Partnership or purchased from third parties. To the extent that refiners are unable to blend renewable fuels into the products they produce in the quantities required to satisfy their obligations under the RFS program, those refiners may purchase renewable credits, referred to as RINs, to maintain compliance. To the extent that the Partnership exceeds the minimum volumetric requirements for blending of renewable transportation fuels, the Partnership generates its own RINs for which it has the option of retaining the RINs for current or future RFS compliance or selling those RINs on the open market. The Partnership is unable to blend sufficient quantities of ethanol and biodiesel to meet its requirements and would, therefore, may have to purchase an increasing number of RINs. It is not possible at this time to predict with certainty what those volumes or costs may be. Existing laws and regulations could change, and the minimum volumes of renewable fuels that must be blended with refined petroleum fuels may increase. For more information on the RFS program, the Partnership’s participation in the program and risks associated with the program, see “Risk Factors—The availability and cost of renewable identification numbers and results of litigation related to our SRE petitions could have a material adverse effect on our results of operations and financial condition and our ability to make payments on our debt obligations.”

Climate Change

Climate change continues to attract considerable public, governmental and scientific attention in the U.S. and foreign countries. As a result, numerous proposals have been made and are likely to continue to be made at the international, national, regional and state levels of government to monitor and limit emissions of GHGs or to control such future emissions. Consequently, it is possible that the Partnership’s operations as well as the operations of its customers may become subject to a series of regulatory, political, litigation and financial risks associated with the processing of fossil fuels and/or emissions of GHGs. The adoption of international, federal, regional or state legislation or regulations or other regulatory initiatives that impose more stringent standards for GHG emissions could require the Partnership to incur increased compliance costs or affect the price or availability of certain of its feedstocks or products.

At the federal level, no comprehensive climate change legislation has been implemented to date. However, the EPA has determined that GHG emissions present a danger to public health and the environment and has adopted regulations under existing provisions of the federal CAA that, among other things: establish that Prevention of Significant Deterioration construction permit programs and Title V operating permit programs will include reviews for GHG emissions from certain large stationary sources that are also potential major sources of criteria pollutant emissions; require the monitoring and annual reporting of GHG emissions from certain petroleum and natural gas system sources; implement CAA emission new source performance standards directing the reduction of methane from certain new, modified or reconstructed facilities in the oil and natural gas sector; and together with the U.S. Department of Transportation, implement GHG emissions limits on vehicles manufactured for operation in the United States. Additionally, various states and groups of states have adopted or are considering adopting legislation, regulations or other regulatory initiatives that are focused on such areas as GHG cap and trade programs, carbon taxes, reporting and tracking programs, and restriction of emissions. At the international level, there exists the United Nations-sponsored “Paris Agreement,” which calls upon nations to limit their GHG emissions through individually determined reduction goals every five years after 2020.

There are also increasing financial risks for fossil fuel producers, as stockholders and bondholders currently invested in fossil-fuel energy companies may elect in the future to shift some or all of their investments into non-fossil fuel energy related sectors. Institutional lenders who provide financing to fossil-fuel energy companies are

 

193


Table of Contents

beginning to define sustainable lending practices and there is the possibility that financial institutions will adopt policies that limit funding for fossil fuel energy companies, as governmental and nongovernmental institutions focus on addressing climate-related risks in the financial sector. Although the Partnership is not an oil or gas producer, it is possible that limitation of investments in and financings for fossil fuel energy companies could result in the restriction, delay or cancellation of drilling programs or development or production activities which could affect the price or availability of certain of its feedstocks.

It should also be noted that some scientists have concluded that increasing concentrations of GHG in the earth’s atmosphere may produce climate changes that have significant physical effects, such as increased frequency and severity of storms, floods and other climatic events; if any such effects were to occur, they could have an adverse effect on the Partnership’s operations.

Hazardous Substances and Wastes

The Comprehensive Environmental Response, Compensation and Liability Act, as amended (“CERCLA”), also known as the “Superfund” law, and comparable state laws impose liability without regard to fault or the legality of the original conduct, on certain classes of persons who are considered to be responsible for the release of a hazardous substance into the environment. Such classes of persons include the current and past owners and operators of sites where a hazardous substance was released and companies that disposed or arranged for disposal of hazardous substances at offsite locations, such as landfills. Under CERCLA, these “responsible persons” may be subject to joint and several, strict liability for the costs of cleaning up the hazardous substances that have been released into the environment, for damages to natural resources, and for the costs of certain health studies. Separately, it is not uncommon for neighboring landowners and other third parties to file claims under relevant state laws for personal injury and property damage allegedly caused by the release of hazardous substances into the environment. In the course of the Partnership’s operations, it generate wastes or handle substances that may be regulated as hazardous substances, and the Partnership could become subject to liability under CERCLA and comparable state laws.

The Partnership also may incur liability under the Resource Conservation and Recovery Act, as amended (“RCRA”), and comparable state laws, which impose requirements related to the handling, storage, treatment and disposal of hazardous and non-hazardous wastes. In the course of its operations, the Partnership generates petroleum product wastes and ordinary industrial wastes that may be regulated as hazardous wastes. In addition, the Partnership’s operations also generate non-hazardous solid wastes, which are regulated under RCRA and state laws. Historically, the Partnership’s environmental compliance costs under the existing requirements of RCRA and similar state and local laws have not had a material adverse effect on its results of operations, and the cost involved in complying with these requirements is not material.

The Partnership currently owns or operates, and has in the past owned or operated, properties that for many years have been used for refining and terminal activities. These properties in the past may have been operated by third parties whose treatment and disposal or release of petroleum hydrocarbons and wastes were not under the Partnership’s control. Although the Partnership used operating and disposal practices that were standard in the industry at the time, petroleum hydrocarbons or wastes have been released on or under the properties owned or operated by the Partnership. These properties and the materials disposed or released on them may be subject to CERCLA, RCRA and analogous state laws. Under such laws, the Partnership could be required to remove or remediate previously disposed wastes or property contamination or to perform remedial activities to prevent future contamination.

In addition, new laws and regulations, amendment of existing laws and regulations, reinterpretation of legal requirements, increased governmental enforcement or other developments could significantly increase operational or compliance expenditures.

 

194


Table of Contents

Water Discharges

The Federal Water Pollution Control Act of 1972, as amended, also known as the federal Clean Water Act, and analogous state laws impose restrictions and stringent controls on the discharge of pollutants, including oil, into regulated waters. Such discharges are prohibited, except in accordance with the terms of a permit issued by the EPA or the appropriate state agencies. Any unpermitted release of pollutants, including crude oil or hydrocarbon specialty oils as well as refined products, could result in penalties, as well as significant remedial obligations. Spill prevention, control, and countermeasure requirements of federal laws require appropriate containment berms and similar structures to help prevent the contamination of navigable waters in the event of a petroleum hydrocarbon tank spill, rupture, or leak. Historically, the Partnership’s environmental compliance costs under the existing requirements of the federal Clean Water Act and similar state laws have not had a material adverse effect on its results of operations but these laws and their implementing regulations are subject to change and there can be no assurance that such future costs will not be material.

The primary federal law for oil spill liability is the Oil Pollution Act of 1990, as amended (“OPA”), which addresses three principal areas of oil pollution—prevention, containment and cleanup. The OPA applies to vessels, offshore facilities and onshore facilities, including refineries, terminals and associated facilities that may affect waters of the U.S. Under the OPA, responsible parties, including owners and operators of onshore facilities, may be subject to oil cleanup costs and natural resource damages as well as a variety of public and private damages from oil spills. Historically, the Partnership’s past environmental compliance costs under the existing requirements of the OPA have not had a material adverse effect on its results of operations but this law and its implementing regulations are subject to change and there can be no assurance that such future costs will not be material.

Occupational Health and Safety

The Partnership is subject to various laws and regulations relating to occupational health and safety, including OSHA, as amended, and comparable state laws. These laws and regulations strictly govern the protection of the health and safety of employees. In addition, OSHA’s hazard communication standard, the EPA’s community right-to-know regulations under Title III of CERCLA and similar state statutes require that the Partnership maintain information about hazardous materials used or produced in its operations and provide this information to employees, contractors, state and local government authorities and customers. The Partnership maintains safety and training programs as part of its ongoing efforts to ensure compliance with applicable laws and regulations. The Partnership conducts periodic audits of Process Safety Management (“PSM”) systems at each of its locations subject to the PSM standard. The Partnership’s compliance with applicable health and safety laws and regulations has required, and continues to require, substantial expenditures. Changes in occupational safety and health laws and regulations or a finding of non-compliance with current laws and regulations could result in additional capital expenditures or operating expenses, as well as civil penalties and, in the event of a serious injury or fatality, criminal charges.

Other Environmental and Maintenance Items

The Partnership performs preventive and normal maintenance on most, if not all, of its refining and terminal assets and make repairs and replacements when necessary or appropriate. The Partnership also conduct inspections of these assets as required by law or regulation.

Insurance

The Partnership’s operations are subject to certain hazards of operations, including fire, explosion and weather-related perils. The Partnership maintains insurance policies, including business interruption insurance for each of its facilities, with insurers in amounts and with coverage and deductibles that it, with the advice of its insurance advisors and brokers, believe are reasonable and prudent. The Partnership cannot, however, ensure that

 

195


Table of Contents

this insurance will be adequate to protect it from all material expenses related to potential future claims for personal and property damage or that these levels of insurance will be available in the future at economical prices. The Partnership is not fully insured against certain risks because such risks are not fully insurable, coverage is unavailable, or premium costs, in its judgment, do not justify such expenditures.

Seasonality

The fuel and fuel related products that the Partnership manufactures, including asphalt products, are subject to seasonal demand and trends. Asphalt demand is generally lower in the first and fourth quarters of the year, as compared to the second and third quarters, due to the seasonality of the road construction and roofing industries the Partnership supplies. Demand for gasoline and diesel is generally higher during the summer months than during the winter months due to seasonal increases in highway traffic and agricultural activity. In addition, the Partnership’s natural gas costs can be higher during the winter months, as demand for natural gas as a heating fuel increases during the winter. As a result, its operating results for the first and fourth calendar quarters may be lower than those for the second and third calendar quarters of each year due to seasonality related to these and other products that it produces and sells.

Properties

The Partnership owns and leases the principal properties listed below. The principal properties which it owns, as well as others not listed below, are pledged as collateral under the Partnership’s Collateral Trust Agreement, dated as of April 20, 2016, as amended on July 31, 2020 and March 8, 2024 (the “Collateral Trust Agreement”), among the Partnership, the obligors party thereto and Wilmington Trust, National Association. The Partnership believes that all properties are suitable for their intended purpose, are being efficiently utilized and provide adequate capacity to meet demand for the next several years.

 

Property

 

Business Segment(s)

 

Acres

 

Owned / Leased

 

Location

Shreveport facility

  Specialty Products and Solutions   240   Owned   Shreveport, Louisiana

Great Falls specialty asphalt facility

  Montana/Renewables   65   Owned   Great Falls, Montana

Montana Renewables facility

  Montana/Renewables   21   Owned /Leased (1)   Great Falls, Montana

Princeton facility

  Specialty Products and Solutions   208   Owned   Princeton, Louisiana

Cotton Valley facility

  Specialty Products and Solutions   77   Owned   Cotton Valley, Louisiana

Burnham terminal

  Specialty Products and Solutions   11   Owned   Burnham, Illinois

Karns City facility

  Specialty Products and Solutions   225   Owned   Karns City, Pennsylvania

Dickinson facility

  Specialty Products and Solutions   28   Owned   Dickinson, Texas

Missouri facility

  Specialty Products and Solutions   22   Owned   Louisiana, Missouri

Calumet Packaging facility

  Performance Brands   10   Leased   Shreveport, Louisiana

Royal Purple facility

  Performance Brands   20   Owned   Porter, Texas

 

(1)

MRL, an unrestricted subsidiary of the Partnership, leases certain property from the Partnership.

 

196


Table of Contents

In addition to the items listed above, the Partnership leases or owns a number of storage tanks, railcars, warehouses, equipment, land, crude oil loading facilities and precious metals.

Intellectual Property

The Partnership’s patents relating to its refining operations are not material to the Partnership as a whole. Its patents include composition patents that are integral to certain products in the Specialty Products and Solutions segment. The Partnership owns, has registered or has applied for registration of a variety of tradenames, service marks and trademarks for use in its business. The trademarks, tradenames and design marks under which it conducts branded business (including Penreco, Orchex, Royal Purple, Bel-Ray and TruFuel) and other trademarks employed in the marketing of its products are integral to its marketing operations. The Partnership also licenses intellectual property rights from third parties. The Partnership is not aware of any facts as of the date of this filing which would negatively impact its continuing use of intellectual property or its licensed intellectual property.

Office Facilities

In addition to the principal properties discussed above, as of December 31, 2023, the Partnership was a party to a number of cancelable and noncancelable leases for certain properties, including its corporate headquarters in Indianapolis, Indiana. The corporate headquarters lease is for 58,501 square feet of office space. The lease term expires in August 2024.

While the Partnership may require additional office space as its business expands, the Partnership believes that its existing facilities are adequate to meet its needs for the immediate future and that additional facilities will be available on commercially reasonable terms as needed.

Human Capital Management

The Partnership believes that its employees are significant contributors to its success and the future success of the Partnership, which depends on its ability to attract, retain and motivate qualified personnel. The skills, experience and industry knowledge of key employees significantly benefit its operations and performance.

As of February 28, 2024, the General Partner employed approximately 1,580 people who provide direct support to the Partnership’s operations. Of these employees, approximately 600 are covered by collective bargaining agreements.

Employees at the following locations are covered by the following separate collective bargaining agreements:

 

Facility

  

Union

  

Expiration Date

Cotton Valley    International Union of Operating Engineers    November 19, 2026
Princeton    International Union of Operating Engineers    August 20, 2024
Dickinson    International Union of Operating Engineers    December 12, 2024
Shreveport    United Steel, Paper and Forestry, Rubber, Manufacturing, Energy, Allied-Industrial and Service Workers International Union    April 30, 2026

 

197


Table of Contents

Facility

  

Union

  

Expiration Date

Missouri    United Steel, Paper and Forestry, Rubber, Manufacturing, Energy, Allied-Industrial and Service Workers International Union    April 30, 2025
Karns City    United Steel, Paper and Forestry, Rubber, Manufacturing, Energy, Allied-Industrial and Service Workers International Union    January 31, 2027
Great Falls    United Steel, Paper and Forestry, Rubber, Manufacturing, Energy, Allied-Industrial and Service Workers International Union    July 31, 2026

None of the employees at the Calumet Packaging facility, the Royal Purple facility or at the Burnham terminal are covered by collective bargaining agreements. The General Partner considers its employee relations to generally be good, with no history of work stoppages.

Compensation and Benefits

The Partnership has demonstrated a history of investing in its workforce by offering competitive salaries, fair wages and comprehensive benefits. To foster a stronger sense of ownership and align the interests of its personnel with unitholders, the Partnership provides short-term and long-term incentive programs that include short-term cash bonus awards to named executive officers under its annual cash incentive plan and phantom units under the Calumet GP, LLC Amended and Restated Long-Term Incentive Plan. Awards under these incentive programs are discretionary and are based on individual and company performance factors. Furthermore, the Partnership offers comprehensive benefits to its full-time employees working 30 hours or more per week, including long-term disability coverage, comprehensive health insurance, including vision and dental, employee Health Savings Accounts, including contributions to these accounts by the Partnership, competitive paid time off and sick leave programs, and student loan repayment matching opportunities. In addition, the Partnership provides a 401(k) retirement savings plan to assist its eligible employees in saving for their retirement. To be an employer of choice and maintain the strength of the Partnership’s workforce, the Partnership consistently assesses the current business environment and labor market to refine its compensation and benefits programs and other resources available to its personnel.

Workforce Health and Safety

The safety of the Partnership’s employees is a core tenet of the Partnership’s values, and its safety goal is zero incidents and zero injuries. A strong safety culture reduces risk, enhances productivity and builds a strong reputation in the communities in which the Partnership operates. The Partnership has earned a reputation as a safe and an environmentally responsible operator through continuous improvement in its safety performance. This makes the Partnership more attractive for current and new employees.

The Partnership invests in safety training and coaching, promote risk assessments and encourage visible safety leadership. Employees are empowered and expected to stop or refuse to perform a job if it is not safe or cannot be performed safely. The Partnership sponsors emergency preparedness programs, conduct regular audits to assess its performance and celebrate its successes in which the Partnership acknowledges employees and contractors alike who have exhibited strong safety leadership during the course of the year. These many efforts combine to create a culture of safety throughout the company and provide a positive influence on the Partnership’s contractor community.

Diversity, Inclusion and Workplace Culture

The Partnership is committed to maintaining a culture where diversity and inclusion are core philosophies across its operations, including, but not limited to, its decisions around recruitment, promotion, transfer, leaves of absence, compensation, opportunities for career support and advancement, job performance and other relevant

 

198


Table of Contents

job-related criteria. The Partnership embraces an approach to hiring and advancement that considers the value of diversity, and is committed to making opportunities for development and progress available to all employees so their talents can be fully developed to maximize the Partnership’s and their success. The Partnership believes that creating an environment that cultivates a sense of belonging requires encouraging employees to continue to educate themselves about each other’s experiences, and the Partnership strives to promote the respect and dignity of all persons. The Partnership also believes it is important that to foster education, communication and understanding about diversity, inclusion and belonging.

 

199


Table of Contents

MANAGEMENT OF THE PARTNERSHIP

Management of the Partnership and Director Independence

The General Partner manages the Partnership’s operations and activities. Unitholders are limited partners and are not entitled to elect the directors of the General Partner or directly or indirectly participate in the Partnership’s management or operations. The General Partner owes certain contractual duties to the Partnership’s unitholders pursuant to various provisions of the Partnership Agreement as well as fiduciary duties to its owners.

The directors of the General Partner oversee the Partnership’s operations. The owners of the General Partner have appointed nine members to the GP Board. The directors of the General Partner are generally elected by a majority vote of the owners of the General Partner on an annual basis. However, as long as trusts established for the benefit of the Partnership’s former executive vice chairman of the General Partner, F. William Grube, his family members or Permitted Transferees (as defined in the GP LLC Agreement), continue to own at least 30% of the membership interests in the General Partner, the Grube Family Group (as defined in the GP LLC Agreement) has the right to appoint a member of Mr. Grube’s family to serve as a director of the General Partner. The directors of the General Partner hold office until the earlier of their death, resignation, removal or disqualification or until their successors have been elected and qualified.

Pursuant to Section 5615 of the Nasdaq Stock Market, LLC Marketplace Rules (“Nasdaq Rules”), a listed limited partnership like the Partnership is not required to have a majority of independent directors on the GP Board or to establish a compensation committee or a nominating/governance committee. However, four of the General Partner’s nine directors are “independent” as that term is defined in the Nasdaq Rules and Rule 10A-3 of the Exchange Act. In determining the independence of each director, the General Partner has adopted standards that incorporate the Nasdaq Rules and Exchange Act standards. The General Partner’s independent directors as determined in accordance with those standards are: James S. Carter, Daniel L. Sheets, John (“Jack”) G. Boss, and Karen A. Twitchell. The GP Board held four meetings during 2023.

The officers of the General Partner manage the day-to-day affairs of the Partnership’s business. Officers serve at the discretion of the GP Board.

GP Board Committees

Conflicts Committee

Four members of the GP Board serve on a conflicts committee to review specific matters that the GP Board believes may involve conflicts of interest. The conflicts committee determines if the resolution of the conflict of interest is fair and reasonable to the Partnership. The members of the conflicts committee may not be owners, officers or employees of the General Partner or directors, officers, or employees of its affiliates, and must meet the independence and experience standards established by Nasdaq and the Exchange Act to serve on an audit committee of a board of directors, and certain other requirements. Any matters approved by the conflicts committee will be conclusively deemed to be fair and reasonable to the Partnership, approved by all of the Partnership’s partners, and not a breach by the General Partner of any duties it may owe the Partnership or unitholders. The four independent board members who serve on the conflicts committee are Messrs. James S. Carter, Daniel L. Sheets, John (“Jack”) G. Boss, and Ms. Karen A. Twitchell. Ms. Twitchell serves as the chair of the conflicts committee. The conflicts committee held seventeen meetings during 2023.

Compensation Committee

The GP Board also has a compensation committee which, among other responsibilities, has overall responsibility for evaluating and recommending to the GP Board chief executive officer compensation and for evaluating and approving the compensation arrangements for the other senior executives. Nasdaq does not require a limited partnership such as the Partnership to have a compensation committee comprised entirely of

 

200


Table of Contents

independent directors. Accordingly, Mr. Daniel L. Sheets, Ms. Amy M. Schumacher, and Ms. Karen A. Twitchell serve as members of the Partnership’s compensation committee. Mr. Sheets serves as the chair of the compensation committee. Ms. Schumacher is not an independent member of the compensation committee. The compensation committee held four meetings during 2023.

The GP Board has adopted a written charter for the compensation committee which defines the scope of the committee’s authority. The committee may form and delegate some or all its authority to subcommittees comprised of committee members when it deems appropriate. The committee is responsible for reviewing and recommending to the GP Board for its approval the annual salary and other compensation components for the chief executive officer. The committee reviews and makes recommendations to the GP Board for its approval of any of the Partnership’s equity compensation-based plans, including the Long-Term Incentive Plan, or any cash bonus or incentive compensation plans or programs. Also, the committee reviews and approves all annual salary and other compensation arrangements and components for the senior executives of the Partnership. Further, the compensation committee periodically reviews and makes a recommendation to the GP Board regarding any changes in the compensation of all directors. The committee has the authority to retain or terminate any compensation consultant that assists it in the evaluation of director and senior executive compensation and to obtain independent advice and assistance from internal and external legal, accounting and other advisors. The committee did not engage a compensation consultant for 2023.

Audit and Finance Committee

The GP Board has an audit and finance committee comprised of four directors, Messrs. James S. Carter, Daniel L. Sheets, John (“Jack”) G. Boss, and Ms. Karen A. Twitchell, each of whom the GP Board has determined meets the independence and experience standards established by Nasdaq and the SEC. In addition, the GP Board has determined that Mr. Carter is an “audit committee financial expert” as defined by the SEC. Mr. Carter serves as the chair of the audit and finance committee. The audit and finance committee held five meetings during 2023.

The GP Board has adopted a written charter for the audit and finance committee. The audit and finance committee assists the GP Board in its oversight of the integrity of the Partnership’s financial statements and the Partnership’s compliance with legal and regulatory requirements and corporate policies and controls. The audit and finance committee has the sole authority to retain and terminate the Partnership’s independent registered public accounting firm, approves all auditing services and related fees and the terms thereof and pre-approves any non-audit services to be rendered by the Partnership’s independent registered public accounting firm. The audit and finance committee is also responsible for confirming the independence and objectivity of the Partnership’s independent registered public accounting firm. The Partnership’s independent registered public accounting firm is given unrestricted access to the audit and finance committee.

Risk Committee

The GP Board has established a risk committee which, among other responsibilities, oversees the Partnership’s risk assessment practices. Messrs. Daniel J. Sajkowski, Paul C. Raymond III, Stephen P. Mawer, and Ms. Jennifer G. Straumins serve as members of the Partnership’s risk committee. Mr. Sajkowski serves as the chair of the risk committee. The GP Board has adopted a written charter for the risk committee which defines the scope of the committee’s authority. The risk committee held four meetings during 2023.

Strategy and Growth Committee

The GP Board has established a strategy and growth committee which, among other responsibilities, oversees the Partnership’s (i) long-term strategy, (ii) risks and opportunities relating to such strategy, (iii) strategic decisions regarding investments, mergers, acquisitions and divestitures, (iv) capitalization, (v) ownership structure and (vi) distribution policy. Messrs. Paul C. Raymond III, Stephen P. Mawer, John (“Jack”) G. Boss, and Ms. Jennifer G. Straumins serve as members of the strategy and growth committee. Mr. Raymond serves as the chair of the strategy

 

201


Table of Contents

and growth committee. The GP Board has adopted a written charter for the strategy and growth committee which defines the scope of the committee’s authority. The strategy and growth committee held four meetings during 2023.

Leadership and Talent Development Committee

The GP Board has established a leadership and talent development committee which, among other responsibilities, monitors the Partnership’s strategic, long-term, and sustainable approach to talent and development issues relating to people. Messrs. Daniel J. Sajkowski, Daniel L. Sheets, John (“Jack”) G. Boss, and Ms. Amy M. Schumacher serve as members of the Partnership’s leadership and talent development committee. Mr. Boss serves as the chair of the leadership and talent development committee. The GP Board has adopted a written charter for the leadership and talent development committee which defines the scope of the committee’s authority. The leadership and talent development committee held four meetings during 2023.

Code of Ethics

The Partnership has adopted a Code of Business Conduct and Ethics that applies to all directors, officers, employees and contractors.

Available on the Partnership’s website at www.calumet.com are copies of the GP Board’s committee charters and Code of Business Conduct and Ethics, all of which also will be provided to unitholders without charge upon their written request to: Investor Relations, Calumet Specialty Products Partners, L.P., 2780 Waterfront Parkway East Drive, Indianapolis, Indiana 46214. The Partnership intends to disclose, to the extent required, future amendments to certain provisions of the Code of Business Conduct and Ethics, and waivers of the Code of Business Conduct and Ethics granted to executive officers and directors, on the Partnership’s website within four business days following the date of the amendment or waiver.

Delinquent Section 16(a) Reports

Section 16(a) of the Exchange Act, as amended, requires the Partnership’s directors and certain executive officers, as well as beneficial owners of ten percent or more of the Partnership’s common units, to report their holdings and transactions in the Partnership’s securities. Based on information furnished to the Partnership and contained in reports filed pursuant to Section 16(a), as well as written representations that no other reports were required for 2023, the Partnership’s directors and executive officers filed all reports required by Section 16(a) with the exception of (i) one late filing related to the vesting of phantom units into common units delivered on April 20, 2023 for Bruce Fleming, (ii) one late filing related to the vesting of phantom units into common units delivered on April 20, 2023 for Todd Borgmann, (iii) one late filing related to the initial statement of beneficial ownership of securities for Gregory Morical, which was filed on December 28, 2023, and (iv) one late filing related to the issuance of phantom unit awards on August 1, 2023 for Gregory Morical.

Executive Compensation and Other Information

This Executive Compensation and Other Information describes the compensation elements, rationale and policies for the following individuals, who are named executive officers for the 2023 fiscal year:

 

Name

  

Title

Todd Borgmann

   Chief Executive Officer

Vincent Donargo

   Former Executive Vice President—Chief Financial Officer (1)

Bruce Fleming

   Executive Vice President—Montana Renewables & Corporate Development

Scott Obermeier

   Executive Vice President—Specialties

Gregory Morical

   Senior Vice President, General Counsel & Secretary

 

(1) 

Effective January 1, 2024, Mr. Donargo transitioned to an advisory role with the Partnership, and David Lunin assumed the role of Executive Vice President and Chief Financial Officer.

 

202


Table of Contents

Overview

The compensation committee of the GP Board oversees the Partnership’s compensation programs. The General Partner maintains compensation and benefits programs designed to allow the Partnership to attract, motivate and retain the best possible employees, including executive compensation programs designed to reward the achievement of both short-term and long-term goals necessary to promote growth and generate positive unitholder returns. The Partnership’s executive compensation programs are based on a pay-for-performance philosophy. They include both long-term compensation under the Calumet GP, LLC Amended and Restated Long-Term Incentive Plan (the “Calumet GP Equity Plan”) and short-term compensation, which, together with base salary and employee benefits, provide a total compensation package intended to be competitive with the companies with which the Partnership competes for executive talent.

Under their collective authority, the compensation committee and the GP Board maintain the right to develop and modify compensation programs and policies as they deem appropriate. Factors they may consider in making decisions to materially increase or decrease compensation include the Partnership’s overall financial performance, its growth over time, changes in the complexity of its business operations as well as individual executive job scope, complexity and performance, and changes in competitive compensation practices in its labor markets. In determining any forms of compensation other than the base salary for the senior executives, or in the case of the chief executive officer, the recommendation to the GP Board of the forms of compensation for the chief executive officer, the compensation committee considers the Partnership’s financial performance and relative unitholder return, the value of similar incentive awards to senior executives at comparable companies and the awards granted to senior executives in past years.

Following the closing of the Conversion, the compensation committee of the board of directors of New Calumet will oversee New Calumet’s executive compensation program.

Objectives of Compensation Programs

The Partnership’s executive compensation programs are designed with the following primary objectives:

 

   

reward strong individual performance that drives the Partnership’s positive financial results and enterprise value;

 

   

make incentive compensation a significant portion of an executive’s total compensation, designed to balance short-term and long-term performance;

 

   

align the interests of the Partnership’s executives with those of its unitholders; and

 

   

attract, develop and retain executives with a compensation structure that is competitive with other publicly-traded companies of similar size.

The Partnership’s primary business objectives are to generate cash flows, reduce debt leverage, grow its business and increase unitholder value. As a result, Adjusted EBITDA is the primary measurement of performance taken into account in making compensation decisions, as the Partnership believes this represents the most comprehensive measurement of its ability to generate cash flows and recognizes the integrated and collaborative effort required by the full executive team to maximize performance. As such, short-term compensation is earned or awarded based on Adjusted EBITDA performance, as well as achievement of business unit and individual performance objectives. Long-term compensation is earned or awarded based on Adjusted EBITDA performance, as well as achievement of individual performance objectives. Adjusted EBITDA is a non-GAAP measure that the Partnership defines, consistent with the terms of its credit agreement and senior notes indentures. The most directly comparable GAAP performance measure for Adjusted EBITDA is Net income (loss).

 

203


Table of Contents

Executive Officer Transitions

Effective January 1, 2024, Mr. Donargo transitioned from his role as Executive Vice President—Chief Financial Officer of the Partnership and was succeeded by David Lunin. Mr. Donargo will remain with the Partnership in an advisory role until his planned retirement in April 2024.

Process for Determining Compensation

Role of Compensation Committee

During 2023, the compensation committee of the GP Board had primary responsibility for overseeing the Partnership’s executive compensation program. In general, the compensation committee recommends to the GP Board the compensation of the Partnership’s chief executive officer and approves the compensation of the other named executive officers. Although the compensation committee has the authority to engage a compensation consultant, it did not engage a compensation consultant during 2023.

Review of Named Executive Officer Performance

In making determinations regarding the compensation elements for each named executive officer, the compensation committee considers the scope of responsibilities and experience and balances these against competitive salary levels and other components of the compensation. The compensation committee has the opportunity to meet with the named executive officers and does so at their own discretion at various times during the year, which allows the compensation committee to form its own assessment of each individual’s performance.

Role of Management

In conjunction with the Senior Vice President—Human Resources of the Partnership, the Chief Executive Officer (“CEO”) evaluates the performance of other named executive officers, as well as other members of management in the Partnership, against individual and business objectives. Based on the outcomes, the CEO makes recommendations to the compensation committee in regard to compensation for both named executive officers and other members of management of the Partnership.

Elements of Executive Compensation

The total compensation and benefits program for the Partnership’s named executive officers consists of the following elements:

 

   

base salary

 

   

short-term cash awards under an annual incentive plan

 

   

long-term incentive compensation, including unit-based awards under the Calumet GP Equity Plan

 

   

deferred compensation, retirement, health and welfare benefits

 

   

limited perquisites

These elements are designed to constitute an integrated executive compensation structure meant to incentivize a high level of individual executive officer performance in line with the Partnership’s financial and operating goals.

Base Salary

Base salaries provide executives with a base level of income as consideration for fulfillment of the roles and responsibilities of their positions. The base salary levels are intended to assist in attracting and retaining the

 

204


Table of Contents

services of quality individuals who are essential for the growth and profitability of Calumet. Generally, changes in the base salary levels for the Partnership’s executive officers are reviewed on an annual basis by the compensation committee and are effective at the beginning of the following fiscal year. Each of the Partnership’s named executive officers received an annual merit increase during 2023, in the case of Mr. Borgmann, effective January 1, 2023, and in the case of Messrs. Donargo, Fleming, Obermeier and Morical, effective April 1, 2023. Mr. Borgmann’s base salary increase was in recognition of his increased role and responsibilities following Mr. Mawer’s transition from Executive Chairman to non-executive Chairman of the GP Board. Base salary increases for the other named executive officers were primarily market driven increases.

The table below sets forth each named executive officer’s base salary as of the end of the 2022 and 2023 fiscal years:

 

     Base Salary as      Base Salary as  

Name

   of 12/31/2022      of 12/31/2023  

Todd Borgmann

   $ 650,000      $ 735,000  

Vincent Donargo

   $ 400,000      $ 420,000  

Bruce Fleming

   $ 447,022      $ 470,000  

Scott Obermeier

   $ 425,000      $ 452,000  

Gregory Morical

   $ 332,721      $ 354,000  

Short-Term Cash Bonus Awards

The Partnership provides short-term cash bonus awards to named executive officers under its annual cash incentive plan (the “Cash Incentive Plan”). These awards are designed to incentivize executives in meeting financial performance, operational, and strategic objectives on an annual basis.

The compensation committee determines each named executive officer’s target cash bonus award at the beginning of the year, expressed as a percentage of each named executive officer’s base salary actually earned. The following table sets forth each named executive officer’s minimum, target and stretch cash bonus award opportunities for 2023 all as a percentage of each named executive officer’s base salary.

 

Name

   Minimum     Target     Stretch  

Todd Borgmann

     75 %     150 %     225

Vincent Donargo

     50 %     100 %     150

Bruce Fleming

     75 %     150 %     225

Scott Obermeier

     50 %     100 %     150

Gregory Morical

     40 %     80 %     120

Adjusted EBITDA

As in prior years, funding of the Partnership’s cash bonus awards for the 2023 fiscal year were based on the achievement of Adjusted EBITDA and business unit performance targets. As described above, Adjusted EBITDA represents the most comprehensive measurement of the Partnership’s ability to generate cash flows and grow its business, and as a result, the compensation committee believes that Adjusted EBITDA establishes a direct link between executive compensation and the Partnership’s financial performance. At the recommendation of the compensation committee, the GP Board approved the minimum, target and stretch levels of Adjusted EBITDA for 2023 based on budgets prepared by management after consideration of the specific circumstances the Partnership expected to face during 2023. No cash bonus awards would be paid for 2023 if Adjusted EBITDA fell below the minimum performance level established by the GP Board, and performance between the minimum and target levels or between the target and stretch levels would result in an interpolated payout. However, regardless of the Partnership’s actual Adjusted EBITDA results, the compensation committee and the GP Board may exercise discretion to pay cash bonuses at higher or lower levels than those payable under the formulaic approach described above, based on additional factors deemed by the compensation committee and GP

 

205


Table of Contents

Board to be relevant to such determination. The table below sets forth the minimum, target and stretch levels of Adjusted EBITDA for 2023 under the Partnership’s short-term cash bonus program as well as its actual Adjusted EBITDA results, which came in below the minimum threshold under the Cash Incentive Plan.

 

     Minimum      Target      Stretch      Actual  

Adjusted EBITDA (in millions)

   $ 300.0      $ 400.0      $ 500.0      $ 260.5  

Individual Performance Objectives

The 2023 cash bonus awards for the Partnership’s named executive officers were based on achievement of Adjusted EBITDA performance and achievement of operational, strategic, business unit performance, and individual performance goals. Individual performance objectives for Mr. Borgmann were determined by the GP Board while the individual performance objectives for Messrs. Donargo, Fleming, Obermeier and Morical were recommended by the chief executive officer and approved by the compensation committee. Individual performance objectives are specific to each officer position and are set at the beginning of the fiscal year.

Criteria used to measure an individual’s performance may include assessment of objective criteria (e.g., execution of projects, improving profitability, or timely completing an acquisition or divestiture) as well as qualitative factors such as the executive’s ability to lead, ability to communicate, and successful adherence to the Partnership’s stated values (i.e., commitment to safety, teamwork, ownership, passion for customers, and excellence). There are no specific weights assigned to these various elements of performance.

2023 Approved Cash Bonus Awards

For the reasons described in “Management’s Discussion and Analysis of Financial Condition and Results of Operations of the Partnership—2023 Update,” the Partnership did not achieve the minimum Adjusted EBITDA goal for 2023. Despite not achieving the minimum Adjusted EBITDA goal, the compensation committee and GP Board considered, amongst other things, the achievement of business unit and individual performance objectives, and approved bonus payments for certain employees, including certain of the Partnership’s named executive officers. As a result of achieving certain business unit performance goals in 2023, specifically as it related to the performance of the Partnership’s specialties business, and individual contribution goals, including those associated with the increase in role and responsibility assumed in conjunction with the Partnership’s structural integration of the specialties business, the compensation committee and GP Board approved a cash bonus award payment of $302,770 for Mr. Obermeier. No other named executive officers received a 2023 bonus under the Cash Incentive Plan.

Long-Term Unit-Based Awards

2023 LTI Awards

In fiscal year 2023, the compensation committee established a minimum, target and stretch long-term incentive (LTI) award opportunity for each named executive officer, expressed as a percentage of each named executive officer’s base salary as of the end of the fiscal year. The following table sets forth each named executive officer’s minimum, target and stretch LTI awards for 2023 all as a percentage of each named executive officer’s base salary. Mr. Borgmann’s LTI award opportunities were increased in recognition of his increased role and responsibilities following Mr. Mawer’s transition from Executive Chairman to non-executive Chairman of the GP Board at the start of the year.

 

 

     Minimum     Target     Stretch  

Todd Borgmann(1)

     75 %     150 %     225

Vincent Donargo

     40 %     80 %     120

Bruce Fleming

     30 %     60 %     90

Scott Obermeier

     40 %     80 %     120

Gregory Morical

     30 %     60 %     90

 

206


Table of Contents

 

(1)

After considering the results of benchmark studies, amongst other criteria evaluated during the annual performance review completed for fiscal year 2023, the compensation committee recommended and the GP Board approved an increase in Mr. Borgmann’s target LTI award opportunity to 200% of base salary, effective January 1, 2024.

The Partnership’s 2023 LTI award program provided each named executive officer with the opportunity to receive a grant of phantom units based on the Partnership’s Adjusted EBITDA performance and achievement of individual performance objectives, as described above. The dollar amount earned under the 2023 LTI award program based on performance is converted into a number of phantom units based on the closing price of the Partnership’s common units on the date the phantom units are issued. The phantom units are granted under the Calumet GP Equity Plan and vest on the third anniversary of the date of grant. Following vesting, the phantom units are settled in common units (or cash equivalent). Because of the three-year cliff vesting, the Partnership believes phantom units establish a direct link between executive compensation and the interests of its unitholders, serve as a strong retention incentive and reinforce unit ownership levels among its executives.

As a result of the Partnership’s Adjusted EBITDA performance falling below the minimum threshold for 2023, no annual equity-based awards under the Long-Term Incentive Plan for its named executive officers were approved by the compensation committee for the 2023 performance year.

2023 Strategic Repositioning Grants

In connection with the Partnership’s phased long-term investment approach in the Montana Renewables business, the GP Board approved grants of phantom units to Mr. Mawer, the Partnership’s Chairman, as well as certain of the Partnership’s named executive officers in August 2023, as well as Mr. Mawer, as an incentive to successfully complete the second phase of the MRL project, which includes the MaxSAF expansion project. Messrs. Borgmann and Fleming each received 107,428 phantom units and Mr. Morical received 30,694 phantom units, each of which vest in full on the third anniversary of the date of grant, subject to the individual’s continued employment or service through such date.

Other Elements of Compensation

Health and Welfare Benefits

The Partnership offer a variety of health and welfare benefits to all eligible employees of the General Partner. These benefits are consistent with the types of benefits provided by the Partnership’s peer group and are provided to maintain a competitive position in terms of attracting and retaining executive officers and other employees. In addition, the health and welfare programs are intended to protect employees against catastrophic loss and encourage a healthy lifestyle. The executive officers generally are eligible for the same benefit programs on the same basis as the rest of the Partnership’s employees. The Partnership’s U.S. health and welfare programs include medical, pharmacy, dental, life and accidental death and dismemberment insurance coverages.

In addition, all U.S.-based employees working over 30 hours per week are eligible for long-term disability coverage. In addition to the long-term disability coverage provided to all eligible employees, the Partnership provides its executive officers with a compensation allowance, which is grossed up for the payment of taxes, to allow them to purchase additional long-term disability coverage on an after-tax basis at no net cost to them. As structured, these combined long-term disability benefits will pay 60% of monthly earnings, as defined by the policy, up to a maximum of $15,000 per month during a period of continuing disability up to normal retirement age, as defined by the policy.

Retirement Benefits

The Partnership maintains the Calumet GP, LLC Retirement Savings Plan (the “401(k) Plan”) to assist its U.S.-based eligible officers and employees in saving for their retirement. The Partnership’s executive officers

 

207


Table of Contents

participate in the same retirement savings plan as other eligible employees. The Partnership matches 100% of participant contributions up to 4% of the participant’s eligible compensation, and 50% of each additional 1% of eligible compensation contributed up to 6% of the participant’s eligible compensation, for a maximum contribution by us of up to 5% of eligible compensation contributed per participant.

Perquisites

The Partnership provides its named executive officers with limited perquisites and other personal benefits that it believes are reasonable and consistent with its overall compensation programs and philosophy. These benefits are provided to enable the Partnership to attract and retain these executives. Decisions made with respect to this compensation element do not significantly factor into or affect decisions made with respect to other compensation elements.

Each executive officer is provided with all, or certain of, the following benefits as a supplement to their other compensation:

 

   

Executive Physical Program: The Partnership generally pays for a complete and professional annual personal physical exam for each named executive officer appropriate for their age to improve their health and productivity.

 

   

Spousal and Family Travel: On an occasional basis, the Partnership pays expenses related to travel of the spouses or certain family members of its executive officers in order to accompany the executive officer to business-related events. For the year ended December 31, 2023, the Partnership paid no expenses related to travel for family members of its executive officers.

The compensation committee periodically reviews the perquisite program to determine if adjustments are appropriate.

Other Compensation Related Matters

Clawback Policy; Restatement Analysis

The Calumet GP Equity Plan includes provisions that address the potential need to recover awards granted under that plan. In addition, during 2023, the Partnership adopted its Policy Governing the Recovery of Certain Incentive Compensation (the “Policy”), a clawback policy that is intended to comply with the requirements of Nasdaq Stock Market Listing Standard 5608 implementing Rule 10D-1 under the Exchange Act. In the event the Partnership is required to prepare an accounting restatement of its financial statements due to material non-compliance with any financial reporting requirement under the federal securities law, it will recover the excess incentive-based compensation received by any covered executive, including its named executive officers, on or after October 2, 2023 and during the prior three fiscal years that exceeds the amount that the executive otherwise would have received had the incentive-based compensation been determined based on the restated financial statements.

During 2023, the Partnership was required to prepare an accounting restatement as described in the Partnership’s Annual Report on Form 10-K for the year ended December 31, 2023. In accordance with the Policy, the compensation committee reviewed the restated financials and concluded that there was no recovery of erroneously awarded compensation required under the Policy because the restated financials did not impact any incentive-based compensation received on or after October 2, 2023.

Executive Ownership of Units

While the Partnership has not adopted any security ownership requirements or policies for its executives, the Partnership’s executive compensation programs foster the enhancement of executives’ equity ownership through

 

208


Table of Contents

long-term unit-based awards under the Calumet GP Equity Plan. The GP Board has adopted the Insider Trading Policy of Calumet GP, LLC and Calumet Specialty Products Partners, L.P. (the “Insider Trading Policy”), which provides guidelines to employees, officers and directors with respect to transactions in the Partnership’s securities. Pursuant to Calumet’s Insider Trading Policy, all executive officers and directors must confer with the Partnership’s general counsel before effecting any put or call options for the Partnership’s securities or purchase or sale of common units. Further, the Insider Trading Policy states that the Partnership strongly discourage options transactions by officers, directors and all other employees and consultants that could result in a short sale. The Insider Trading Policy is available on the Partnership’s website at www.calumet.com or a copy will be provided at no cost to unitholders upon their written request to: Investor Relations, Calumet Specialty Products Partners, L.P., 2780 Waterfront Parkway East Drive, Suite 200, Indianapolis, Indiana 46214.

Employment Agreements & Severance Benefits

As of December 31, 2023, there were no active employment agreements between the General Partner and any of the Partnership’s executive officers. The Partnership provides offer letters to newly hired or promoted employees that set forth the general terms of their employment with the Partnership as of the offer letter date, which do not provide for severance, change in control or other post-termination benefits. In March 2023, the GP Board adopted the Calumet Specialty Products Partners, L.P. Change of Control Protection Plan. For more information on this plan, refer to the “Potential Payments Upon Termination or Change in Control” section below.

Risk Considerations in the Partnership’s Overall Compensation Program

The Partnership’s compensation policies and practices are designed to provide rewards for achieving financial, operational, and strategic objectives that will support the growth and profitability of its business. Currently, the Partnership’s incentive compensation programs are based on performance, at the Partnership and business unit level, relative to goals it set for Adjusted EBITDA. In the Partnership’s assessment of risk related to such use of a single financial performance metric, the Partnership considered the relative difficulty for any employee to engage in an undue amount of risk-taking activity with a result that would be reasonably likely to have a material adverse effect on the Partnership due to the breadth and scope of activities, both operational and financial, across that organization that are captured in the calculation of Adjusted EBITDA. Also, the Partnership considered the current approval controls that exist to mitigate against excessive risk-taking that might impact Adjusted EBITDA and, in turn, its compensation programs. For example, the Partnership has specific approval policies related to the entry into derivative instruments, material commercial agreements and material capital expenditures. In addition, the GP Board, including its various committees, regularly assesses its key risk areas to monitor the impacts of such risks on its financial performance. Further, the Partnership considered the design of its incentive compensation programs, noting that the inclusion of both short-term cash incentive awards and long-term unit awards further align the interest of its employees and its unitholders. As a result of these considerations, the Partnership has concluded that the risks arising from its compensation policies and practices for its employees are not reasonably likely to have a material adverse effect on the Partnership.

Report of the Compensation Committee for the Year Ended December 31, 2023

The compensation committee of our general partner has reviewed and discussed our Compensation Discussion and Analysis with management. Based upon such review, the related discussion with management and such other matters deemed relevant and appropriate by the compensation committee, the compensation committee has recommended to the board of directors that our Compensation Discussion and Analysis be included in the Partnership’s Annual Report on Form 10-K.

Members of the Compensation Committee:

 

   

Daniel L. Sheets, Chairman

 

209


Table of Contents
   

Amy M. Schumacher

 

   

Karen A. Twitchell

2023 Summary Compensation Table

The following table sets forth the annual compensation earned by or granted to the Partnership’s named executive officers for the fiscal years ended December 31, 2023, 2022 and 2021. Neither Mr. Donargo nor Mr. Morical were named executive officers prior to 2022.

 

    Summary Compensation Table for 2023  
                      Unit Awards    

Non-Equity

Incentive Plan

    All Other        

Name and

Principal

Position

  Year     Salary ($)     Bonus ($) (1)     ($)(2)     Compensation ($)     Compensation ($) (3)     Total ($)  

Todd Borgmann

    2023     $ 735,000     $ —      $ 1,750,000     $ —      $ 17,040     $ 2,502,040  

Chief Executive Officer

    2022     $ 568,593     $ —      $ 2,195,828     $ 1,279,334     $ 21,434     $ 4,065,189  
    2021     $ 334,100     $ 250,575     $ 548,528     $ —      $ 19,897     $ 1,153,100  

Vincent Donargo

    2023     $ 415,000     $ —      $ —      $ —      $ 19,399     $ 434,399  

Executive Vice President—Chief Financial Officer

    2022     $ 380,478     $ —      $ 480,000     $ 608,764     $ 120,087     $ 1,589,329  

Bruce Fleming

    2023     $ 464,255     $ —      $ 1,750,000     $ —      $ 19,715     $ 2,233,970  

Executive Vice President—Montana

    2022     $ 447,022     $ —      $ 2,355,648     $ 1,005,800     $ 25,652     $ 3,834,122  

Renewables & Corporate Strategy

    2021     $ 431,197     $ 323,498     $ 708,911     $ —      $ 19,830     $ 1,483,436  

Scott Obermeier

    2023     $ 445,250     $ 302,770     $ —      $ —      $ 17,594     $ 765,614  

Executive Vice President—Specialties

    2022     $ 397,220     $ —      $ 470,000     $ 610,830     $ 22,616     $ 1,500,666  
    2021     $ 342,990     $ 257,243     $ 562,926     $ —      $ 11,724     $ 1,174,883  

Gregory Morical

    2023     $ 348,680     $ —      $ 500,000     $ —      $ 15,821     $ 864,501  

Senior Vice President, General Counsel & Secretary

    2022     $ 332,721     $ —      $ 787,828     $ 399,265     $ 33,342     $ 1,553,156  

 

(1) 

Amounts in this column for 2023 include the cash bonus award approved for Mr. Obermeier for fiscal year 2023 performance. For more information regarding the cash bonus awards, see “Executive Compensation and Other Information—Elements of Executive Compensation—Short-Term Cash Bonus Awards—2023 Approved Cash Bonus Awards” above.

(2) 

Amounts in this column for 2023 include the grant date fair value calculated in accordance with FASB ASC Topic 718, disregarding estimated forfeitures, of the following final phase of the strategic repositioning phantom unit awards granted on August 1, 2023 under the Calumet GP Equity Plan: (i) 107,428 phantom units granted to each of Messrs. Borgmann and Fleming, and (ii) 30,694 phantom units granted to Mr. Morical. For more information regarding these phantom units, see “Executive Compensation and Other Information—Elements of Executive Compensation—Long-Term Unit-Based Awards—2023 LTI Awards” above. The grant date fair value of each phantom unit award is based on the closing price of the Partnership’s common units on the applicable date of grant. Please read Note 12 to the Partnership’s consolidated financial statements for the fiscal year ending December 31, 2023 for a discussion of the assumptions used to determine the FASB ASC Topic 718 value of the awards.

 

210


Table of Contents
(3) 

The following table provides the aggregate “All Other Compensation” information for each of the named executive officers for 2023:

 

     Todd      Vincent      Bruce      Scott      Gregory  
     Borgmann      Donargo      Fleming      Obermeier      Morical  

401(k) Plan Matching Contributions

   $ 16,500      $ 16,500      $ 16,500      $ 16,500      $ 13,275  

HSA Plan Matching Contributions

     —         —         1,000        —         1,000  

Term Life Insurance Premiums

     540        2,899        2,215        1,094        1,546  

Total

   $ 17,040      $ 19,399      $ 19,715      $ 17,594      $ 15,821  
  

 

 

    

 

 

    

 

 

    

 

 

    

 

 

 

Grants of Plan-Based Awards

The following table includes information about awards granted to the Partnership’s named executive officers during 2023, which includes the bonus opportunities under the Cash Incentive Plan and phantom unit awards under the Calumet GP Equity Plan.

 

          Estimated Possible Payouts Under
Non-Equity
Incentive Plan Awards (1)
    Estimated Future Payouts Under
Equity
Incentive Plan Awards (2)
    All Other
Unit
Awards:
Number
of Units
(#) (3)
    Grant
Date Fair
Value of
Unit and
Option
Awards
($) (4)
 

Name

  Grant
Date
    Minimum
($)
    Target
($)
    Stretch
($)
    Minimum
($)
    Target
($)
    Stretch
($)
 

Todd Borgmann

    $ 551,250     $ 1,102,500     $ 1,653,750            
          $ 551,250     $ 1,102,500     $ 653,750       —      $ —   
    8/01/2023                   107,428     $ 1,750,000  

Vincent Donargo

    $ 210,000     $ 420,000     $ 630,000            
          $ 168,000     $ 336,000     $ 504,000       —      $ —   

Bruce Fleming

    $ 352,500     $ 705,000     $ 1,057,500            
          $ 141,000     $ 282,000     $ 423,000       —      $ —   
    8/01/2023                   107,428     $ 1,750,000  

Scott Obermeier

    $ 226,000     $ 452,000     $ 678,000            
          $ 180,800     $ 361,600     $ 542,400       —      $ —   

Gregory Morical

    $ 141,600     $ 283,200     $ 424,800            
          $ 106,200     $ 212,400     $ 318,600       —      $ —   
    8/01/2023                   30,694     $ 500,000  

 

(1) 

Amounts in this column represent the minimum, target and stretch incentive opportunities for short-term bonus awards under the Cash Incentive Plan. The actual bonuses paid to the Partnership’s named executive officers for 2023 under the Cash Incentive Plan can be found in the “Bonus” column of the Summary Compensation Table above and are described in more detail under “Executive Compensation and Other Information—Elements of Executive Compensation—Short-Term Cash Bonus Awards” above.

(2) 

Amounts in this column represent the minimum, target and stretch incentive levels for the Partnership’s 2023 LTI award program. Following the end of the 2023 fiscal year, the amount earned based on the Partnership’s Adjusted EBITDA performance is converted into a number of phantom units by dividing the dollar amount earned by the closing price of the Partnership’s common unit on the date the phantom units are granted. For more information regarding the Partnership’s LTI award program, see “Executive Compensation and Other Information—Elements of Executive Compensation—Long-Term Unit-Based Awards—2023 LTI Awards” above.

(3) 

The phantom unit awards in this column vest on the third anniversary of the date of grant, subject to continued employment through such vesting date.

(4) 

Amounts in this column represent the grant date fair value calculated in accordance with FASB ASC Topic 718, disregarding estimated forfeitures. The grant date fair value of each phantom unit award is based on the closing price of the Partnership’s common units on the applicable date of grant. Please read Note 12 to the Partnership’s consolidated financial statements for the fiscal year ending December 31, 2023 for a discussion of the assumptions used to determine the FASB ASC Topic 718 value of the awards.

 

211


Table of Contents

Outstanding Equity Awards at Fiscal Year-End

The table below reflects information regarding outstanding equity-based awards held by the named executive officers as of December 31, 2023.

 

     Unit Awards  

Name

   Number of
Units
That Have Not
Vested (#)(1)
     Market Value
of Units
That Have Not
Vested  ($)(2)
 

Todd Borgmann

     271,522      $ 4,852,098  

Vincent Donargo

     —       $ —   

Bruce Fleming

     —       $ —   

Scott Obermeier

     55,696      $ 995,288  

Gregory Morical

     103,675      $ 1,852,672  

 

(1) 

The phantom units in this column reflect time-based phantom units held by the named executive officers as of December 31, 2023. In light of the retirement provisions applicable to such grants, all outstanding phantom unit awards held by Messrs. Donargo and Fleming are fully vested as of December 31, 2023. The market value of fully vested outstanding phantom unit awards held by the Partnership’s named executive officers as of December 31, 2023 are reflected in the “Quantification of Potential Payments” table in the “Potential Payments Upon Termination or Change in Control” section below. Outstanding phantom unit awards that have not vested as of December 31, 2023 for each of the Partnership’s named executive officers will vest as follows:

 

     Todd      Vincent      Bruce      Scott      Gregory  

Vesting Date

   Borgmann      Donargo      Fleming      Obermeier      Morical  

July 1, 2024

     —         —         —         —         1,403  

February 22, 2025

     114,120        —         —         31,606        55,634  

July 1, 2025

     —         —         —         —         199  

February 21, 2026

     49,974        —         —         24,090        15,348  

July 1, 2026

     —         —         —         —         198  

August 1, 2026

     107,428        —         —         —         30,694  

July 1, 2027

     —         —         —         —         199  
  

 

 

    

 

 

    

 

 

    

 

 

    

 

 

 
     271,522        —         —         55,696        103,675  
  

 

 

    

 

 

    

 

 

    

 

 

    

 

 

 

 

(2) 

Market value of phantom units reported in these columns is calculated by multiplying the closing market price of $17.87 of the Partnership’s common units at December 29, 2023, the last trading day of the 2023 fiscal year, by the number of phantom units outstanding.

Units Vested

The following table provides information about phantom units held by the named executive officers that vested and were settled during the 2023 fiscal year. None of the named executive officers exercised any option awards during the 2023 fiscal year.

 

     Unit Awards  

Name

   Number of
Units Acquired on Vesting
(#)(1)
     Value Realized on Vesting ($)(2)  

Todd Borgmann

     42,135      $ 716,716  

Vincent Donargo

     10,000      $ 186,600  

Bruce Fleming

     63,203      $ 1,075,083  

Scott Obermeier

     249,992      $ 4,219,865  

Gregory Morical

     45,967      $ 775,923  

 

(1) 

Amounts in this column represent the phantom units held by each named executive officer that vested and settled during the 2023 fiscal year.

 

212


Table of Contents
(2) 

Amounts in this column equal the number of phantom units vested multiplied by the closing price of the Partnership’s common units on the applicable vesting date (or, if the vesting date was not a trading day, on the last trading day immediately prior to such date).

Nonqualified Deferred Compensation

The Partnership maintains the Calumet Specialty Products Partners, L.P. Executive Deferred Compensation Plan (the “Deferred Compensation Plan”) to encourage its officers to save for retirement and to assist the Partnership in retaining its officers. Pursuant to the Deferred Compensation Plan, a select group of management, including the named executive officers, and all of the non-employee directors are eligible to participate by making an annual irrevocable election to defer, in the case of management, all or a portion of their annual cash incentive award under the Cash Incentive Plan, and, in the case of non-management directors, all or none of their annual cash retainer.

The deferred amounts are credited to participants’ accounts in the form of phantom units, with each phantom unit representing a notional unit that entitles the holder to receive either an actual common unit or the cash value of a common unit (determined by using the fair market value of a common unit at the time a determination is needed). The phantom units credited to each participant’s account also receive distribution equivalent rights, which are credited to the participant’s account in the form of additional phantom units. In the Partnership’s sole discretion, it may make matching contributions of phantom units or purely discretionary contributions of phantom units, in amounts and at times as the compensation committee recommends and the GP Board approves.

Participants will at all times be 100% vested in amounts they have deferred; however, amounts the Partnership has contributed may be subject to a vesting schedule, as determined appropriate by the compensation committee. Distributions from the Deferred Compensation Plan are payable on the earlier of the date specified by each participant on their deferral election form and the participant’s termination of employment. Death, disability, normal retirement or a change in control require automatic distribution of the Deferred Compensation Plan benefits and will also accelerate at that time the vesting of any portion of a participant’s account that has not already become vested. Benefits will be distributed to participants in the form of the Partnership’s common units, cash or a combination of common units and cash at the election of the compensation committee. In the event that accounts are paid in common units, such units will be distributed pursuant to the Calumet GP Equity Plan. Unvested portions of a participant’s account will be forfeited in the event that a distribution was due to a participant’s voluntary resignation or a termination for cause. To ensure compliance with Section 409A of the Code, distributions to participants that are considered “specified employees” (as defined in Code Section 409A of the Code) may be delayed for a period of six months following such employees’ termination of employment with the Partnership.

The table below sets forth information regarding the value of accumulated benefits of the Partnership’s named executive officers under the Deferred Compensation Plan as of December 31, 2023. In connection with the closing of the Conversion, such phantom units will become phantom shares.

 

Name

  Executive
Contributions in
2023 ($)
    Registrant
Contributions in
2023 ($)
    Aggregate Earnings
in 2023 ($)
    Aggregate
Withdrawals /
Distributions in 2023
($)
    Aggregate Balance at
End of 2023 ($) (1)
 

Todd Borgmann

  $ —      $ —      $ 96,306     $ (752,952   $ 1,738,376  

Vincent Donargo

  $ —      $ —      $ 24,000     $ —      $ 433,205  

Bruce Fleming

  $ —      $ —      $ 420,588     $ (1,129,438   $ 7,591,819  

Scott Obermeier

  $ —      $ —      $ —      $ —      $ —   

Gregory Morical

  $ —      $ —      $ 37,060     $ (71,176   $ 668,946  

 

(1) 

The aggregate balance for each named executive officer as of December 31, 2023 was determined by multiplying all phantom units in each named executive officer’s account under the Deferred Compensation

 

213


Table of Contents
  Plan by the closing price of the Partnership’s common units on December 29, 2023 (the last trading day of 2023). The phantom units in each named executive officer’s account as of December 31, 2023 was as follows: (i) Mr. Borgmann, 97,279, (ii) Mr. Donargo, 24,242, (iii) Mr. Fleming, 424,836, and (iv) Mr. Morical, 37,434.

Potential Payments Upon Termination or Change in Control

The GP Board adopted the Calumet Specialty Products Partners, L.P. Change of Control Protection Plan, effective March 13, 2023 (the “CIC Plan”), pursuant to which each of the Partnership’s named executive officers are eligible to receive severance benefits upon an involuntary termination by the Partnership without cause or by the named executive officer for good reason, in each case, occurring within the three month period immediately prior to or twelve month period immediately following a “change of control”. For purposes of the CIC Plan, a “change of control” generally occurs upon one or more of the following events: (i) any person or group, other than a person or group who is the Partnership’s affiliate, becomes the beneficial owner, by way of merger, consolidation, recapitalization, reorganization or otherwise, of 50% or more of the voting power of the Partnership’s outstanding equity interests; (ii) a person or group, other than the General partner or one of the General Partner’s affiliates, becomes the Partnership’s general partner; (iii) the sale or other disposition, including by liquidation or dissolution, of all or substantially all of the Partnership’s assets or the assets of the General Partner in one or more transactions to any person or group other than an a person or group who is the Partnership’s affiliate, or (iv) any other transaction, reorganization, consolidation, sale of a business segment, spin-off, split-off, merger or similar event that the GP Board, in its sole discretion, determines to be a “change of control” with respect to a particular executive participating in the CIC Plan. Payment of severance under the CIC Plan is contingent upon the executive entering into a release of claims with us. There is no eligibility for severance benefits under the CIC Plan if, in connection with an applicable change of control, the executive declines an offer of employment for a comparable position with a successor or acquirer.

The following describes, for the Partnership’s named executive officers, the benefits that would be received under the CIC Plan in a qualifying termination circumstance:

 

   

1.5x (for Mr. Borgmann) or 1.0x (for the Partnership’s other named executive officers) the sum of the executive’s (i) annual base salary plus (ii) target annual bonus for the year in which termination of employment occurs;

 

   

Continued medical, dental and vision benefits coverage for twelve months following the termination date;

 

   

Reimbursement for up to $10,000 of outplacement services provided within six months following the termination date; and

 

   

Accelerated vesting of all unvested time and performance-based awards under the Calumet GP Equity Plan, with performance-based awards vesting at the greater of target or actual performance through the termination date

The Partnership believes these benefits are important retention tools and, specifically with respect to the change of control benefits, these benefits provide the named executive officers with a sense of stability, both in the middle of transactions that may create uncertainty regarding their future employment and post-termination as they seek future employment and an opportunity to realize value from these awards in the event of such transaction.

Phantom Unit Awards Under the Calumet GP Equity Plan

Although the Calumet GP Equity Plan provides the compensation committee with broad discretion to accelerate outstanding phantom units in the event of certain termination events or a change of control, the outstanding phantom unit award agreements provide for full accelerated vesting in the event of a named

 

214


Table of Contents

executive officer’s death, disability or normal retirement (termination after reaching age 62), as well as in the event of a qualifying termination due to a “change in control,” as outlined in the Partnership’s CIC Plan. Refer to “Executive Compensation and Other Information—Potential Payments Upon Termination or Change in Control” above for additional information regarding the Partnership’s CIC Plan.

For purposes of the Calumet GP Equity Plan, “change of control” generally occurs upon one or more of the following events: (i) any person or group, other than a person or group who is the Partnership’s affiliate, becomes the beneficial owner, by way of merger, consolidation, recapitalization, reorganization or otherwise, of 50% or more of the voting power of the Partnership’s outstanding equity interests; (ii) a person or group, other than the General Partner or one of the General Partner’s affiliates, becomes the Partnership’s general partner; or (iii) the sale or other disposition, including by liquidation or dissolution, of all or substantially all of the Partnership’s assets or the assets of the General Partner in one or more transactions to any person or group other than an a person or group who is the Partnership’s affiliate.

Phantom Units Under the Deferred Compensation Plan

Each named executive officer’s phantom units under the Deferred Compensation Plan will become fully vested in the event of such named executive officer’s death, disability or normal retirement (termination after reaching age 62), as well as in the event of a “change of control” (which generally has the meaning provided under the Calumet GP Equity Plan, as described above).

Executive Long-Term Disability Coverage

Each of the Partnership’s named executive officers receive additional long-term disability coverage, which is in addition to the long-term disability coverage the Partnership provides to all employees. As a result of this additional long-term disability coverage, each named executive officer would be entitled to receive additional benefits in the event of their qualifying long-term disability, which when combined with the long-term disability coverage provided to all eligible employees will result in payment of 60% of monthly earnings, as defined by the policy, up to a maximum of $15,000 per month until normal retirement age.

Quantification of Potential Payments

The table below shows the value sets forth the amount of compensation or other benefits due to each named executive officer in the event of the specified terminations of employment or a change of control, assuming such termination or change of control occurred on December 31, 2023. The amounts below are only estimates of the amounts that would be received upon a change of control or termination of employment—the actual amount will only be determined at the time such event occurs.

 

Name

  

Plan

   Death; Normal
Retirement ($)
     Disability ($)      Qualifying Termination
in Connection with
Change of Control ($)
 

Todd Borgmann

   Cash Severance (1)    $ —       $ —       $ 2,756,250  
   Phantom Units (2)      6,371,048        6,371,048        6,371,048  
   Deferred Compensation Plan (2)      1,738,376        1,738,376        1,738,376  
   Post-Employment Health Care (3)      —         —         30,342  
   Outplacement Assistance (4)      —         —         10,000  
   Executive Long-Term Disability Coverage (5)      —         108,000        —   
     

 

 

    

 

 

    

 

 

 
   Total    $ 8,109,424      $ 8,217,424      $ 10,906,016  
     

 

 

    

 

 

    

 

 

 

Vincent Donargo

   Cash Severance (1)    $ —       $ —       $ 840,000  
   Phantom Units (2)      600,914        600,914        600,914  

 

215


Table of Contents

Name

  

Plan

   Death; Normal
Retirement ($)
     Disability ($)      Qualifying Termination
in Connection with
Change of Control ($)
 
   Deferred Compensation Plan (2)      433,205        433,205        433,205  
   Post-Employment Health Care (3)      —         —         19,458  
   Outplacement Assistance (4)      —         —         10,000  
   Executive Long-Term Disability Coverage (5)      —         108,000        —   
     

 

 

    

 

 

    

 

 

 
   Total    $ 1,034,119      $ 1,142,119      $ 1,903,577  
     

 

 

    

 

 

    

 

 

 

Bruce Fleming

   Cash Severance (1)    $ —       $ —       $ 1,175,000  
   Phantom Units (2)      7,279,613        7,279,613        7,279,613  
   Deferred Compensation Plan (2)      7,591,819        7,591,819        7,591,819  
   Post-Employment Health Care (3)      —         —         19,225  
   Outplacement Assistance (4)      —         —         10,000  
   Executive Long-Term Disability Coverage (5)      —         108,000        —   
     

 

 

    

 

 

    

 

 

 
   Total    $ 14,871,432      $ 14,979,432      $ 16,075,657  
     

 

 

    

 

 

    

 

 

 

Scott Obermeier

   Cash Severance (1)    $ —       $ —       $ 904,000  
   Phantom Units (2)      995,288        995,288        995,288  
   Deferred Compensation Plan (2)      —         —         —   
   Post-Employment Health Care (3)      —         —         31,327  
   Outplacement Assistance (4)      —         —         10,000  
   Executive Long-Term Disability Coverage (5)      —         108,000        —   
     

 

 

    

 

 

    

 

 

 
   Total    $ 995,288      $ 1,103,288      $ 1,940,615  
     

 

 

    

 

 

    

 

 

 

Gregory Morical

   Cash Severance (1)    $ —       $ —       $ 637,200  
   Phantom Units (2)      1,816,950        1,816,950        1,816,950  
   Deferred Compensation Plan (2)      668,946        668,946        668,946  
   Post-Employment Health Care (3)      —         —         26,689  
   Outplacement Assistance (4)      —         —         10,000  
   Executive Long-Term Disability Coverage (5)      —         108,000        —   
     

 

 

    

 

 

    

 

 

 
   Total    $ 2,485,896      $ 2,593,896      $ 3,159,785  
     

 

 

    

 

 

    

 

 

 

 

(1) 

For all of the Partnership’s named executive officers, this amount represents the value of cash severance payable in connection with a qualifying termination under the CIC Plan.

(2) 

The values reported with respect to phantom units and the Deferred Compensation Plan are based on the closing price of the Partnership’s common stock on December 29, 2023 (the last trading day of the 2023 fiscal year) of $17.87 and the total number of outstanding phantom units, including the number of unvested units that would accelerate and vest upon a qualifying termination event or change of control.

(3) 

As per the CIC Plan, each of the Partnership’s named executive officers shall receive continued medical dental and vision benefits coverage for 12 months following the date of termination at the employer’s expense if a qualifying termination occurs in connection with a Change of Control.

(4) 

As per the CIC Plan, each of the Partnership’s named executive officers shall receive reimbursement for the cost of outplacement services with a provider designated by the employer, provided that the cost of such reimbursement shall not exceed $10,000 and such services must be provided within six months following the date of termination if a qualifying termination occurs in connection with a Change of Control.

(5) 

Includes only the portion of each named executive officer’s long-term disability benefits that are in excess of the long-term disability benefits generally provided to employees of the General Partner.

 

216


Table of Contents

Director Compensation

Officers or employees of the General Partner who also serve as directors do not receive additional compensation for their service as a director of the General Partner. Each director who is not an officer or employee of the General Partner receives an annual fee as well as compensation for attending meetings of the GP Board and board committee meetings. Non-employee directors were entitled to fees and equity awards for 2023 that consisted of the following:

 

   

an annual fee of $130,000 for the Chairperson of the Board, and $80,000 for all other non-employee Board members;

 

   

an annual equity award in the form of restricted or phantom units, valued at approximately $195,000 for the Chairperson of the Board, and $100,000 for all other non-employee Board members;

 

   

an audit and finance committee chair annual fee of $20,000;

 

   

a non-chair audit and finance committee member annual fee of $10,000;

 

   

a strategy and growth committee chair annual fee of $10,000;

 

   

a non-chair strategy and growth committee annual fee of $5,000;

 

   

a conflicts committee and compensation committee chair annual fee of $10,000;

 

   

a non-chair conflicts committee and compensation committee annual fee of $4,000;

 

   

all other committee chair annual fee of $10,000; and

 

   

all other committee member annual fee of $2,500.

In addition, the Partnership reimburses each non-employee director for his or her out-of-pocket expenses incurred in connection with attending meetings of the GP Board or board committees. Under certain circumstances, the Partnership will also indemnify each director for his or her actions associated with being a director to the fullest extent permitted under Delaware law.

As described above under “Long-Term Unit-Based Awards—2023 Strategic Repositioning Grants,” in connection with the Partnership’s phased long-term investment approach in the Montana Renewables business, the GP Board approved an award of 61,387 phantom units to Mr. Mawer, the Partnership’s Chairman. Such phantom units vest in full on the third anniversary of the date of grant, subject to the Mr. Mawer’s continued service through such date.

The following table sets forth certain compensation information of the Partnership’s non-employee directors for the year ended December 31, 2023:

 

Name

   Fees Earned or
Paid in Cash ($) (1)
     Unit
Awards ($) (2)
     Total  

James S. Carter

   $ 101,500      $ 133,833      $ 235,333  

Daniel J. Sajkowski

   $ 88,750      $ 100,000      $ 188,750  

Amy M. Schumacher

   $ 84,000      $ 128,000      $ 212,000  

Stephen P. Mawer

   $ 103,125      $ 1,195,000      $ 1,298,125  

Daniel L. Sheets

   $ 103,500      $ 134,500      $ 238,000  

Paul C. Raymond III

   $ 90,000      $ 130,000      $ 220,000  

Jennifer G. Straumins

   $ 85,000      $ 100,000      $ 185,000  

John (“Jack”) G. Boss

   $ 102,250      $ 123,858      $ 226,108  

Karen A. Twitchell

   $ 101,000      $ 100,000      $ 201,000  

 

(1) 

The amounts in this column include director fees which have been deferred under the Deferred Compensation Plan. During 2023, each eligible non-employee director other than Messrs. Sajkowski and Mawer, Ms. Straumins and Ms. Twitchell elected to defer some or all of their director fees.

 

217


Table of Contents
(2) 

The amounts in this column are calculated based on the aggregate grant date fair value of (i) annual phantom unit awards issued to non-employee directors serving on the board on the date the awards were granted, (ii) matching phantom unit awards granted to those non-employee directors who deferred all, or a portion of, the fees they earned in 2023 pursuant to the Deferred Compensation Plan, and (iii) Mr. Mawer’s 2023 strategic repositioning phantom unit grant. The amounts reflect the aggregate grant date fair value computed in accordance with FASB ASC Topic 718, disregarding estimated forfeitures. Please read Note 12 to the Partnership’s consolidated financial statements for the fiscal year ending December 31, 2023 for a discussion of the assumptions used to determine the FASB ASC Topic 718 value of the awards. As of December 31, 2023, the following directors each held outstanding phantom units, including phantom units held under the Deferred Compensation Plan, as follows: Mr. Carter, 146,322; Mr. Sajkowski, 73,604; Ms. Schumacher, 136,619; Mr. Mawer, 364,006; Mr. Sheets, 115,805; Mr. Raymond, 52,803; Ms. Straumins, 21,464; Mr. Boss, 15,935; and Ms. Twitchell, 10,016.

Deferred Compensation Plan

The Partnership’s directors are eligible to defer all or a portion of their fees earned into the Deferred Compensation Plan. When directors elect to defer any portion of their compensation into the plan, these deferred amounts are credited to the participant in the form of phantom units. The compensation committee may recommend a matching contribution for the deferred fees at its discretion. Phantom units credited to a participant’s account as either a deferral or a matching contribution carry distribution equivalent rights to be credited to the participant’s account in the form of additional phantom units. Matching contributions in the form of phantom units were credited to the accounts of each director who elected to defer all or a portion of their fees earned into the Deferred Compensation Plan for fiscal year 2023 in the following number of phantom units: Mr. Carter, 2,088; Ms. Schumacher, 1,741; Mr. Sheets, 2,111; Mr. Raymond, 1,852; and Mr. Boss, 1,480.

 

218


Table of Contents

MANAGEMENT’S DISCUSSION AND ANALYSIS OF FINANCIAL CONDITION AND RESULTS OF OPERATIONS OF NEW CALUMET

Overview of New Calumet

Calumet, Inc. is a Delaware corporation incorporated on January 8, 2024, for the purpose of effecting the Conversion. New Calumet has not conducted any business operations since its incorporation other than incidental to its formation and actions taken in connection with the transactions contemplated by the Conversion. At the completion of the Conversion, New Calumet will manufacture, formulate and market a diversified slate of specialty branded products and renewable fuels to customers across a broad range of consumer-facing and industrial markets through its ownership of the Partnership and the General Partner as direct or indirect subsidiaries.

As New Calumet’s only assets will be its ownership interest in the Partnership and the General Partner, on a pro forma basis for the Conversion, the historical financial statements and results of operation are those of our predecessor, the Partnership, and the section “Management’s Discussion and Analysis of Financial Condition and Results of Operations of the Partnership” included in this proxy statement/prospectus is incorporated herein by reference.

 

219


Table of Contents

BUSINESS OF NEW CALUMET

At the completion of the Conversion, New Calumet’s only assets will be its ownership interest in the Partnership and the General Partner. On a pro forma basis for the Conversion, the business of New Calumet will be the business of the Partnership and the section “Business of the Partnership” included in this proxy statement/prospectus is incorporated herein by reference.

 

220


Table of Contents

MANAGEMENT OF NEW CALUMET

The following table shows information regarding the current management of the Partnership who are expected to become executive officers and directors of New Calumet upon consummation of the Conversion.

 

Name

  

Age

  

Class

  

Position with New Calumet

Todd Borgmann

   41    II    Chief Executive Officer and Director Nominee

Bruce Fleming

   67    N/A    Executive Vice President—Montana Renewables & Corporate Development

Scott Obermeier

   51    N/A    Executive Vice President—Specialties

David Lunin

   43    N/A    Executive Vice President—Chief Financial Officer

Gregory Morical

   55    N/A    Senior Vice President, General Counsel & Secretary

Stephen P. Mawer

   59    I    Chairman of the Board

James S. Carter

   75    I    Director Nominee

Daniel J. Sajkowski

   65    II    Director Nominee

Amy M. Schumacher

   53    III    Director Nominee

Daniel L. Sheets

   66    I    Director Nominee

Paul C. Raymond III

   58    III    Director Nominee

Jennifer G. Straumins

   50    II    Director Nominee

John (“Jack”) G. Boss

   65    I    Director Nominee

Karen A. Twitchell

   68    III    Director Nominee

Officers of New Calumet will serve at the discretion of the New Calumet Board.

Todd Borgmann has served as Chief Executive Officer of the General Partner since May 2022. From February 2021 until the appointment to his current position, Mr. Borgmann served as Executive Vice President—Chief Financial Officer of the General Partner. Mr. Borgmann has over 15 years of experience with the Partnership, serving the Partnership across a diverse set of management roles. For the five years preceding his appointment to Executive Vice President—Chief Financial Officer, Mr. Borgmann served as Senior Vice President—Chief Financial Officer, Senior Vice President—Interim Chief Financial Officer, and Vice President of Supply & Trading, developing extensive knowledge of petroleum markets, refining operations and risk management. Mr. Borgmann has also served as the Vice President of Business Development of the General Partner and Director of the Partnership’s White Oils and Petroleum sales. Mr. Borgmann earned a Bachelor of Science in Industrial Engineering from Purdue University and a Masters of Business Administration from the University of Notre Dame.

Mr. Borgmann brings extensive knowledge of and experience in petroleum markets, refining operations and risk management.

Bruce Fleming has served as Executive Vice President—Montana Renewables & Corporate Development of the General Partner since February 2021. From March 2016 until the appointment to his current position, Mr. Fleming served as Executive Vice President—Strategy & Growth of the General Partner. From 2004 until joining the Partnership, Mr. Fleming served as the vice president of mergers & acquisitions at Tesoro

 

221


Table of Contents

Corporation and as an officer of Tesoro Companies Inc. From 1997 through 2004, Mr. Fleming served as managing director of Hong Kong-based Orient Refining Ltd., and from 1981 through 1996 he held senior operations, business development and planning roles with Amoco Oil and Amoco Corporation where he was most recently vice president of China business development. Mr. Fleming earned a Ph.D. in chemical engineering from Princeton University and a B.S. in chemical engineering from the University of Delaware. He is a member of the Board of M&A Standards.

Scott Obermeier was named Executive Vice President—Specialties of the General Partner in January 2023. Prior to the appointment to his current position, Mr. Obermeier served as Executive Vice President—Specialty Products & Solutions and Executive Vice President—Commercial. Mr. Obermeier has been a Vice President with the General Partner since November 2017 and has more than 20 years of experience in sales and marketing as well as general management roles focused on the specialty chemicals market. Prior to his work with the Partnership, he spent 10 years with Univar Solutions Inc., most recently serving as vice president where he managed the global chemical distributor’s organic chemicals business. Mr. Obermeier is a graduate of the University of Northern Iowa, with a degree in chemistry marketing.

David Lunin assumed the role of Executive Vice President—Chief Financial Officer of the General Partner effective January 1, 2024. Prior to joining the Partnership, Mr. Lunin served in progressive roles with Goldman Sachs & Co. LLC (“Goldman Sachs”) from July 2010 to May 2023, most recently serving in the position of Managing Director, Financial Institutions Group from January 2022 to May 2023. Prior to this position, Mr. Lunin served as Vice President, Mergers and Acquisitions Group from September 2020 to July 2021 and as Investment Banking Vice President, Global Natural Resources, from 2014 to September 2020. Prior to Goldman Sachs, he served as Research Associate with Cornerstone Research and Associate with LECG, LLC. Mr. Lunin earned a Bachelor of Business Administration degree from George Washington University, a Master of Arts degree from Johns Hopkins University, and a Masters of Business Administration degree from Columbia Business School.

Gregory Morical is the Senior Vice President, General Counsel & Secretary of the General Partner and has served as the General Counsel of the General Partner since April 2012. Prior to joining the Partnership, Mr. Morical served as the General Counsel of Dormir, Inc. and U.S. Biopsy, LLC, as an in-house counsel in other companies, as associate at Ice Miller LLP and as a judicial clerk for the U.S. Court of Appeals for the Seventh Circuit and the Supreme Court of Ohio. Mr. Morical has a J.D. from Indiana University School of Law-Bloomington and a B.A. in political science from DePauw University.

Each director’s biographical information set forth below includes the particular experience and qualifications that led the board of directors to conclude that the director is qualified to serve in such capacity.

Stephen P. Mawer has served as chairman of the board of our general partners since January 2023 and has served as a board member of our general partner since March 2016. Since January 2024, Mr. Mawer has served as the sole director of New Calumet. From May 2022 until December 2022, Mr. Mawer served in the role of Executive Chairman of our general partner. From April 2020 until May 2022, Mr. Mawer served as the Chief Executive Officer of our general partner. He retired as president of Koch Supply & Trading in 2014 following a 27-year career in commodities trading, risk management and refining operations. While at Koch, Mr. Mawer led global commodities trading and served as a senior member of the Koch Industries management team. Mr. Mawer holds Bachelor’s and Master’s degrees in chemical engineering from the University of Cambridge, England. Currently, he serves as a member of the Board of Directors at Zenith Energy Management and Howard Energy Partners, both of which are midstream company, as well as chairman of ClimeCo Corporation, an environmental commodities development and management company. He previously served as a member of the advisory board of Heritage Environmental Services.

Mr. Mawer brings extensive knowledge of petroleum markets, refining economics, supply/marketing optimization, sustainability and renewable fuels, and risk management.

 

 

222


Table of Contents

James S. Carter has served as a member of the board of directors of our general partner since January 2006. Mr. Carter worked in various operations, commercial and business analysis capacities at ExxonMobil including vice president of U.S. marketing and sales of fuels and specialty products, manager of U.S. refining and marketing planning and analysis, manager of U.S. distribution activities, analysis manager of ExxonMobil International, and advisor to ExxonMobil headquarters for European refining and marketing until his retirement in 2003. Mr. Carter was previously a board member of the Association of Audit Committee Members, Inc. He received his B.S. in mechanical engineering from Clemson University and his M.B.A. in finance and accounting from Tulane University.

Mr. Carter brings extensive managerial experience with one of the largest integrated energy companies in the world. He possesses a broad background in petroleum products marketing, with specific experience in the marketing of fuel products.

Daniel J. Sajkowski has served as a member of the board of directors of our general partner since September 2014. Mr. Sajkowski has served as executive vice president, Growth and New Ventures of The Heritage Group since 2013. Prior to joining The Heritage Group, Mr. Sajkowski was the senior director — downstream technology at Sapphire Energy from 2010 until 2013. From 2004 to 2010, Mr. Sajkowski served as business unit leader at BP’s Whiting, Indiana refinery. During his career with BP/Amoco, Mr. Sajkowski also held positions as the manager of integrated supply and trading from 2002 until 2004 and vice president of refining technology from 2000 until 2002. Mr. Sajkowski earned his B.S. and M.S. degrees in chemical engineering from the University of Michigan and a Ph.D. in chemical engineering from Stanford University. He also completed The General Manager Program at Harvard University.

Mr. Sajkowski has extensive refining industry experience including planning, operations and managerial roles for a large multinational refining company. His broad background of experience provides helpful insight to the Company in its implementation of strategic initiatives and its refinery operations in general.

Amy M. Schumacher has served as a member of the board of directors of our general partner since September 2014. Ms. Schumacher has been part of The Heritage Group family of businesses since 2003, working in various capacities and leading a variety of growth projects along the way. In 2008, Ms. Schumacher founded Monument Chemical and served as President and CEO for eight years. In 2016, Ms. Schumacher transitioned to President of The Heritage Group and was appointed Chief Executive Officer in 2020. From 1998 to 2003, Ms. Schumacher served as a consultant with Accenture. Ms. Schumacher received her B.S. in civil engineering from Purdue University and her M.S. in management from the Massachusetts Institute of Technology Sloan School. Ms. Schumacher currently serves as CEO and a trustee for The Heritage Group and sits on a number of private subsidiary boards. Ms. Schumacher is the daughter of Fred M. Fehsenfeld, Jr., the former chairman of the board of our general partner.

Ms. Schumacher has extensive managerial experience including planning and strategy. She possesses a broad background within the chemicals industry, with specific experience in strategic growth projects.

Daniel L. Sheets has served as a member of the board of directors of our general partner since October 2018. Mr. Sheets previously served as president of Lubrizol Additives and corporate senior vice president of The Lubrizol Corporation, a global company providing specialty chemicals for transportation, industrial and consumer markets, from 2008 until his retirement in 2018. Mr. Sheets joined Lubrizol in 1984 and served in a variety of roles including vice president of sales, vice president of engine additives, global business manager fuels, refinery and oilfield products and business development roles which led to multiple acquisitions and an assignment in Germany. Mr. Sheets received his B.S. in electrical engineering from Pennsylvania State University.

Mr. Sheets has extensive global management experience in specialty chemicals including strategy, commercial excellence, business development and acquisitions. He possesses a broad background in petroleum products marketing, with specific experience in the marketing of lubricants, lubricant additives and specialty chemicals.

 

223


Table of Contents

Paul C. Raymond III has served as a member of the board of directors of our general partner since November 2020. Mr. Raymond brings over three decades of industry experience, which includes serving in his current role of chief executive officer of Monument Chemical and previously as president and chief executive officer of Sonneborn, LLC. Mr. Raymond holds a B.S. in chemical engineering from Rice University and earned his Ph.D. in chemical engineering from the University of Texas at Austin.

Mr. Raymond brings extensive specialty chemicals knowledge and strategic insights, and his impressive track record leading and growing similar businesses makes him a terrific asset and provides helpful insight to the Partnership’s board of directors.

Jennifer G. Straumins has served as a member of the board of directors of our general partner since February 2021. Ms. Straumins is the Chairman of Maverick Performance Products’ Board of Directors and a Board member for Wincoram Asset Management. Prior to founding Maverick Performance Product’s, Jennifer was an employee of Calumet Specialty Products Partners for 13 years holding various positions. Prior to joining Calumet, Jennifer held financial planning positions with Great Lakes Chemical Company and Exxon Chemical Company. Jennifer received her B.E. in Chemical Engineering from Vanderbilt University and her MBA from the University of Kansas.

Ms. Straumins brings extensive specialty chemicals knowledge and strategic insights. Her background provides helpful insight to the Company in its implementation of strategic initiatives and operations in general.

John (“Jack”) G. Boss has served as a member of the board of directors of our general partner since August 2022. Mr. Boss brings over 40 years of experience to the Board of Calumet. He currently serves on the Board of Directors of Cooper-Standard (NYSE: CPS), Wabash National (NYSE: WNC) and Libbey, Inc. Most recently, he was the President and Chief Executive Officer of Momentive Performance Materials, a specialty chemicals and materials business from 2014 until 2020. Prior to this role, Mr. Boss served in the role of President of Honeywell Safety Products from 2012 to 2014. Mr. Boss held various managerial roles within Honeywell’s Specialty and Chemicals businesses from 2003 through 2014. Prior to Honeywell, Mr. Boss served as Vice President at Great Lakes Chemical Corporation. Mr. Boss holds a B.S. in Mechanical Engineering from West Virginia University and an MBA from Rutgers University.

Mr. Boss brings extensive specialty chemicals and materials knowledge. In addition, he brings to the board of directors of our general partner a broad range of experiences and skills as a result of his service as a director of other public and private companies.

Karen A. Twitchell has served as a member of the board of directors of our general partner since August 2022. Ms. Twitchell brings more than a dozen years of Board experience and 30 years of executive experience to the Board of Calumet. Ms. Twitchell was Chair of the Board of Trecora Resources (NYSE: TREC), a petrochemical and specialty wax manufacturer, until the sale of the company in June 2022. In addition, she serves on the Board of Kraton Corp and HMTX Industries. Previously, she served on KMG Chemicals’ (NYSE: KMG) Board. From 2010 to 2013, Ms. Twitchell was Executive Vice President and Chief Financial Officer of Landmark Aviation, a private equity-backed fixed base operator for the aviation industry. Prior to 2010, Ms. Twitchell was Vice President and Treasurer of LyondellBasell Industries/Lyondell Chemical Company. Ms. Twitchell has also held senior management positions in the aluminum and cement manufacturing industries. Ms. Twitchell has a B.A. in Economics from Wellesley College and an MBA degree from Harvard Business School.

Ms. Twitchell brings extensive leadership experience in the chemicals industry. Her background provides helpful insight to the Company in its implementation of strategic initiatives and operations in general.

 

224


Table of Contents

Composition of the New Calumet Board

The New Calumet Board will be divided into three classes, each serving a staggered, three-year term (other than with respect to the initial terms of the Class I and Class II directors, which will be one and two years, respectively). Upon the expiration of the term of a class of directors, directors in that class will be elected for three-year terms at the annual meeting of stockholders in the year in which their term expires.

In addition, the amended and restated certificate of incorporation of New Calumet gives the THG Stockholders the right, but not the obligation, to designate for nomination: (i) two directors of the New Calumet Board, so long as the THG Stockholders and their respective Affiliates beneficially own 16.7% or more of the outstanding shares of common stock; (ii) one director of the New Calumet Board, so long as the THG Stockholders and their respective Affiliates beneficially own less than 16.7% but more than 5% of the outstanding shares of common stock; and (iii) no directors of the New Calumet Board if the THG Stockholders and their respective Affiliates beneficially own less than 5% of the outstanding shares of common stock. When the THG Stockholders lose the right to designate one or more director of the New Calumet Board, each director designated for nomination by the THG Stockholders shall continue to serve until his or her term expires. In accordance with the terms of New Calumet’s amended and restated certificate of incorporation, one director designed by the THG Stockholders shall serve on each committee of the New Calumet Board, subject to compliance with any applicable independence requirements or Nasdaq and the SEC or state law as determined in good faith by the New Calumet Board.

For details, see “The Conversion Agreement—Stockholders Agreement” and “Comparison of the Rights of Stockholders and Unitholders—Management by Board of Directors / General Partner.”

The THG Stockholders have designated for nomination Paul C. Raymond III and Daniel J. Sajkowski as its designees to serve on the New Calumet Board.

Director Independence

Each of the directors, other than Todd Borgmann and Stephen P. Mawer, is expected to be an independent director, as defined in the applicable rules and regulations of Nasdaq, including Rule 5605(a)(2) of the Nasdaq Listing Standards.

Leadership Structure of the New Calumet Board

New Calumet does not yet have a policy regarding whether the role of the chairperson of the board and chief executive officer should be separate or combined. In the event the chairperson of the board is not an independent director, the independent directors may appoint, or recommend to the New Calumet Board for appointment, an independent director to serve as the lead independent director. Mr. Mawer is expected to serve as chairperson of the New Calumet Board.

Compensation of Directors

Determinations with respect to director compensation after the consummation of the Conversion have not yet been made.

Committees of the Board of Directors

Prior to or upon the consummation of the Conversion, New Calumet intends to have an Audit Committee, a Compensation Committee and a Nominating and Governance Committee, and may have such other committees as the Board of Directors shall determine from time to time. Each of the standing committees of the Board of Directors will have the composition and responsibilities described below.

 

 

225


Table of Contents

Audit Committee

Membership

The audit committee of the New Calumet Board will be established in accordance with Rule 10A-3 promulgated under the Exchange Act. The New Calumet Board intends to appoint Messrs. Boss, Carter and Sheets and Ms. Twitchell as members of the audit committee. Mr. Carter will serve as the chairman of the committee. Each of the members to be appointed to the audit committee have been determined by the New Calumet Board to be independent under Nasdaq standards for audit committee members. In addition, the New Calumet Board has determined that at least one of the members to be appointed to the audit committee (Mr. Carter) has such accounting or related financial management expertise sufficient to qualify such person as the audit committee financial expert in accordance with Item 407 of Regulation S-K and requirements.

Responsibilities

The primary responsibilities of the audit committee will be, among other things, to assist the New Calumet Board in its oversight responsibilities regarding the integrity of New Calumet’s financial statements, the independent accountant’s qualifications and independence, and New Calumet’s accounting and financial reporting processes and the audits of its financial statements. The audit committee will be empowered to retain any advisors as it deems necessary or appropriate to assist it in fulfilling its responsibilities, and to approve the fees and other retention terms of such advisors.

Charter

The New Calumet Board will adopt a charter for the audit committee, a copy of which will be available on New Calumet’s website at www.calumet.com. Please note that the preceding Internet address is for information purposes only and is not intended to be a hyperlink. Accordingly, no information found or provided at that Internet address or at New Calumet’s website in general is intended or deemed to be incorporated by reference herein.

Compensation Committee

Membership

The compensation committee of the New Calumet Board will consist of three members of the New Calumet Board: Messrs. Raymond and Sheets and Ms. Schumacher. All of the members of the compensation committee have been determined by the New Calumet Board to be independent under Nasdaq listing standards. In addition, each of Messrs. Raymond and Sheets qualifies as a “non-employee” director within the meaning of Rule 16b-3 promulgated under the Exchange Act. Mr. Sheets will be designated as the chairman of the compensation committee. The New Calumet Board may establish an equity grant subcommittee of the Board, who would be responsible for approving equity awards to New Calument directors and executive officers to the extent such awards are not approved by the full New Calumet Board.

Responsibilities

The primary responsibilities of the compensation committee will be, among other things, to periodically review and approve (or recommend to the full board or equity grant subcommittee for approving) the compensation and other benefits for executive officers and to review and recommend to the New Calumet Board for approval the form and amount of compensation for New Calumet’s independent directors. This will include reviewing and approving corporate goals and objectives relevant to the compensation of New Calumet’s executive officers, and setting compensation for these officers based on those evaluations.

 

 

226


Table of Contents

Charter

The New Calumet Board will adopt a charter for the compensation committee, a copy of which will be available on New Calumet’s website at www.calumet.com. Please note that the preceding Internet address is for information purposes only and is not intended to be a hyperlink. Accordingly, no information found or provided at that Internet address or at New Calumet’s website in general is intended or deemed to be incorporated by reference herein.

Nominating and Governance Committee

Membership

The nominating and governance committee will consist of Messrs. Boss, Carter and Sajkowski and Mss. Schumacher and Twitchell. Mr. Boss will be designated as the chairman of the nominating and governance committee. The New Calumet Board has determined that all members of the nominating and governance committee are independent under Nasdaq listing standards.

Responsibilities

The nominating and governance committee will oversee all aspects of New Calumet’s corporate governance functions. The nominating and governance committee will make recommendations to the New Calumet Board regarding director candidates and assist the New Calumet Board in determining the composition of the New Calumet Board and its committees.

Charter

The New Calumet Board will adopt a charter for the nominating and governance committee, a copy of which will be available on New Calumet’s website at www.calumet.com. Please note that the preceding Internet address is for information purposes only and is not intended to be a hyperlink. Accordingly, no information found or provided at that Internet address or at New Calumet’s website in general is intended or deemed to be incorporated by reference herein.

 

227


Table of Contents

DESCRIPTION OF THE NEW CALUMET AMENDED AND RESTATED LONG-TERM INCENTIVE PLAN

On February 8, 2024, the GP Board approved the amendment and restatement of the Calumet GP, LLC Amended and Restated Long Term Incentive Plan (the “Calumet LTIP”), and as so amended and restated, the New Calumet LTIP, effective at the closing of the Conversion. The New Calumet LTIP is subject to the approval of the Partnership’s unitholders as further described in this proxy statement/prospectus. Immediately following the effectiveness of the New Calumet LTIP at the closing of the Conversion, New Calumet will assume the New Calumet LTIP to both effectuate the assumption of certain outstanding awards in the Conversion, and to provide New Calumet with a vehicle to grant equity-based and cash compensation following the Conversion to advance the interests of New Calumet and its stockholders by providing a means to attract, retain, motivate and reward directors, officers, employees, consultants and other service providers of New Calumet. The GP Board has approved the New Calumet LTIP and recommends that the unitholders approve the LTIP Proposal.

Share Reserves

The Calumet LTIP

Current Share Reserve as of March 4, 2024

The Calumet LTIP was initially adopted in 2006 and was subsequently amended and restated in 2015 and in 2021. As of March 4, 2024, an aggregate of 15,562,397 phantom unit awards have been granted under the Calumet LTIP since its inception. As of such date, there were approximately 4,075,105 common units underlying outstanding phantom units granted under the Calumet LTIP (any of which could alternatively be cash-settled). As of March 4, 2024, absent the Conversion, 324,638 common units remained available for delivery to participants under the Calumet LTIP. To the extent that no common units remain available for delivery to participants under the Calumet LTIP, all phantom units that remain outstanding would be settled in cash.

The New Calumet LTIP

Subject to the approval of the Partnership’s unitholders, the New Calumet LTIP will have an initial share reserve of 8,483,960 shares, which will be subject to adjustment as set forth in the New Calumet LTIP and described below. This share reserve is inclusive of shares reserved in respect of awards granted prior to the Conversion under the Calumet LTIP that are to be assumed under the New Calumet LTIP in the Conversion in accordance with the Conversion Agreement. Any shares issued relating to the assumed awards described below will be issued out of the 8,483,960 shares in the initial New Calumet LTIP share reserve.

As of March 4, 2024, there were 4,075,105 Partnership Phantom Unit Awards outstanding under the Calumet LTIP. Any such Partnership Phantom Unit Awards outstanding immediately prior to the closing of the Conversion will become assumed restricted stock units relating to shares under the New Calumet LTIP (“Assumed RSUs”), otherwise with the same terms and conditions as were applicable to the Partnership Phantom Unit Awards as of immediately prior to the closing of the Conversion. Based on the Partnership Phantom Unit Awards outstanding as of March 4, 2024, an aggregate of 4,075,105 shares (or the cash equivalent thereof) would be reserved for issuance under the New Calumet LTIP pursuant to these assumed New Calumet restricted stock units. While New Calumet common stock is not currently publicly traded, each common unit outstanding immediately prior to the Conversion will be converted into the right to receive one share of common stock, and the closing price of common units on March 4, 2024 on the Nasdaq Global Select Market was $15.52 per unit.

New Calumet LTIP Benefits

As of March 4, 2024, the following executive officers, the executive officers as a group, the non-executive directors as a group, and the non-executive officer employees as a group of the Partnership held outstanding Partnership Phantom Unit Awards under the Calumet LTIP that will be converted into the following Assumed RSUs at the closing of the Conversion. As noted above, any shares issued with respect to these assumed awards

 

228


Table of Contents

denominated below in shares will reduce the number of shares available for issuance pursuant to future awards under the New Calumet LTIP.

 

Name and Position    Assumed RSUs 
(New Calumet
common
stock)
 

Mr. Borgmann, Chief Executive Officer

     453,801  

Mr. Fleming, Executive Vice President—Montana Renewables & Corporate Development

     832,201  

Mr. Obermeier, Executive Vice President—Specialties

     55,696  

Mr. Lunin, Executive Vice President and Chief Financial Officer

     42,478  

Mr. Morical, Senior Vice President, General Counsel & Secretary

     139,110  

All current executive officers as a group

     1,523,286  

All current directors who are not executive officers as a group

     994,005  

All current and former employees (other than executive officers) as a group

     1,607,814  
  

 

 

 

Total

     4,125,105  
  

 

 

 

Grants of future awards under the New Calumet LTIP are subject to the discretion of the Compensation Committee, and no determinations have been made by the Compensation Committee as to any future awards that may be granted pursuant to the New Calumet LTIP. Therefore, it is not possible to determine the benefits that will be received in the future by participants in the New Calumet LTIP. However, our directors and executive officers are eligible to receive awards under the New Calumet LTIP and could benefit from the grant of equity-based awards under the New Calumet LTIP.

Description of the New Calumet LTIP

The New Calumet LTIP is attached as Annex C to this proxy statement/prospectus, and the following description of the New Calumet LTIP is only intended to be a summary of its key provisions. Such summary is qualified in its entirety by reference to the New Calumet LTIP, which is incorporated by reference herein in its entirety.

Purpose

The purpose of the New Calumet LTIP is to provide a means for New Calumet to attract, retain, motivate and reward directors, officers, employees, consultants and other service providers and to encourage them to devote their best efforts to advancing the business of New Calumet and its affiliates.

Types of Awards

The New Calumet LTIP provides for grants of stock options (both nonqualified and incentive stock options), restricted stock, restricted stock units and other cash-based or stock-based awards. Any award may be granted alone or in tandem with other awards, and may be granted in addition to, or in substitution for, other types of awards.

Stock Options

A stock option is a contractual right to purchase shares at a future date at a specified exercise price. The per share exercise price of a stock option will be determined by the New Calumet Compensation Committee and, except with respect to a stock option that is a substitute award, may not be less than the fair market value of a

 

229


Table of Contents

share of common stock on the grant date. The New Calumet Compensation Committee will determine the date after which each stock option may be exercised, the method and form by which each option is to be exercised, and the expiration date of each option, provided that no option will be exercisable more than 10 years after the grant date. Options intended to be incentive stock options under Section 422 of the Code may not be granted to any person who is not an employee of New Calumet or any parent or subsidiary, as defined in Section 424 of the Code.

Restricted Stock

Restricted stock is an award of shares that are subject to restrictions on transfer and a substantial risk of forfeiture. Recipients of restricted stock generally have the rights and privileges of a stockholder, including the right to vote such shares of restricted stock and receive dividends.

Restricted Stock Units

A restricted stock unit award is a right to receive a specified number of shares (or the fair market value thereof in cash, as determined by the New Calumet Compensation Committee), subject to the expiration of a specified restriction period and/or the achievement of any performance measures selected by the New Calumet Compensation Committee, consistent with the terms of the New Calumet LTIP. The restricted stock unit award agreement will specify whether the award recipient is entitled to receive dividend equivalents with respect to the number of shares subject to the award. Prior to the settlement of a restricted stock unit award in shares, the award recipient will have no rights or privileges as a stockholder of New Calumet with respect to shares subject to the award.

Other Cash-Based and Other Stock-Based Awards

The New Calumet Compensation Committee is authorized to grant other cash-based and other stock-based awards that are payable in cash or shares (or a combination thereof), and may be granted either independently or as an element of or supplement to any other award under the New Calumet LTIP. Other stock-based awards are valued in whole or in part by reference to such stock, including restricted stock units, phantom stock and similar units.

Dividends and Dividend Equivalents

Awards of restricted stock granted under the New Calumet LTIP may not provide for any dividend to be paid to the participants in respect of such award prior to the time such award (or the applicable portion thereof) vests (and in the case of performance awards, the applicable performance condition is achieved), although dividends may accrue during the vesting period for restricted stock. The New Calumet Compensation Committee may, in its discretion, provide for dividend equivalents on awards of restricted stock units or other stock-based awards, which dividend equivalents may be paid directly to the participant, be credited to a bookkeeping account (with or without interest in the discretion of the New Calumet Compensation Committee), deemed reinvested in additional restricted stock units, or be subject to such other provisions or restrictions as determined by the New Calumet Compensation Committee in its discretion.

Administration

The New Calumet LTIP generally will be administered by the Compensation Committee of the New Calumet board of directors or, to the extent such administrative authority is delegated in accordance with applicable law, a subcommittee thereof consisting solely of two or more non-employee directors. The New Calumet Compensation Committee (or its delegate) will have the authority, among other things, to establish, amend, suspend or waive such rules and regulations and appoint such agents as it shall deem appropriate for the proper administration of the New Calumet LTIP, to designate participants under the New Calumet LTIP, to determine the number of shares to be covered by awards, to determine the type or types of awards to be granted to a participant and to determine the terms and conditions of any award. The Compensation

 

230


Table of Contents

Committee of New Calumet (or a subcommittee thereof) may delegate authority to grant awards under the New Calumet LTIP, to the extent permitted by applicable law, to one or more officers of New Calumet, except that such delegation will not be applicable to any award for a person covered by Section 16 of the Exchange Act. This delegation may be revoked at any time.

Eligibility

All employees, consultants and directors of New Calumet and its affiliates that perform services for New Calumet are eligible to be selected to participate in the New Calumet LTIP. The selection of which eligible individuals will receive awards is within the sole discretion of the Compensation Committee of New Calumet. As of March 4, 2024, approximately 1,580 individuals would have been eligible to receive awards under the New Calumet LTIP.

Share Reserve

As noted above, the maximum aggregate number of shares that may be delivered or cash settled pursuant to the exercise or settlement of awards granted under the New Calumet LTIP on or after the closing of the Conversion is proposed to be 8,483,960 shares, which share reserve is inclusive of the 4,075,105 shares issuable with respect to the Assumed RSUs, subject to adjustment as described below. Any cash awards that are valued by reference to a share of common stock will be counted against the share reserve under the New Calumet LTIP.

Adjustments

In the event of certain transactions involving New Calumet, the number of shares available for delivery under the New Calumet LTIP, the number and kind of shares or property subject to awards and the exercise or other underlying share price will be adjusted as determined by the New Calumet Compensation Committee.

Change in Control

In the event of a change in control, except as otherwise provided in the applicable award agreement, the New Calumet Compensation Committee may provide for the cash-out of awards, replacement of awards, assumption of awards, adjustment of awards as described above, accelerated vesting of awards and/or termination of the awards.

A change in control generally means (i) the acquisition of 50% or more of New Calumet’s Common Stock or combined voting power of voting securities; (ii) a change in the composition of New Calumet’s board of directors such that, during any 12-month period, the individuals who as of the beginning of such period constitute New Calumet’s board of directors cease for any reason to constitute at least 50% of New Calumet’s board of directors (provided that any individual becoming a member of New Calumet’s board of directors after the beginning of such 12-month period whose election or nomination for election by New Calumet’s stockholders was approved by a vote of at least a majority of the directors immediately prior to the date of such appointment or election will be considered as though such individual were a member of New Calumet’s board of directors at the beginning of such 12-month period); (iii) New Calumet’s merger or consolidation with another entity after which New Calumet’s voting securities outstanding immediately prior to such transaction do not continue to represent 50% or more of the total voting power of New Calumet stock or of the surviving entity or parent entity thereof (if New Calumet is not the surviving entity in such merger or consolidation); or (iv) a disposition of all or substantially all of New Calumet’s assets.

Amendment; Termination

The New Calumet board of directors or Compensation Committee may amend or modify the New Calumet LTIP at any time; provided, however, that stockholder approval will be obtained for any amendment to the New

 

231


Table of Contents

Calumet LTIP to the extent necessary to comply with any applicable law, regulation or securities exchange rule. The New Calumet Compensation Committee may also amend any outstanding award made under the New Calumet LTIP, provided that no change in any outstanding award may be made that would materially reduce the rights or benefits of the participant without the consent of the affected participant.

Prohibition on Repricing

Subject to the adjustment provision described above, the Compensation Committee of New Calumet may not, directly or indirectly, through cancellation or regrant or any other method (including through the repurchase of options of options or SAR awards (that are “out of the money”) for cash and/or other property, reduce, or have the effect of reducing, the exercise or hurdle price of any award established at the time of grant without the approval of New Calumet’s stockholders).

Cancellation or “Clawback” of Awards

All awards granted under the New Calumet LTIP will, to the extent required by applicable law and stock exchange rules or as otherwise determined by the Compensation Committee of New Calumet, be subject to recoupment in accordance with any recovery, recoupment, clawback or similar policy adopted by New Calumet providing for forfeiture, repayment or recovery of awards, shares, proceeds or payments to participants.

Term

The New Calumet LTIP expires on February 8, 2034, unless prior to that date, (i) the maximum number of shares available for issuance under the plan has been issued or (ii) the New Calumet Board or the Compensation Committee of New Calumet terminates the plan.

U.S. Federal Income Tax Consequences of Equity Awards

The following is a general summary under current law of certain United States federal income tax consequences to New Calumet and participants who are citizens or individual residents of the United States relating to awards granted under the New Calumet LTIP. This summary deals with the general tax principles that apply to such awards and is provided only for general information. Certain kinds of taxes, such as foreign taxes, state and local income taxes, payroll taxes and the alternative minimum tax, are not discussed. This summary is not tax advice and it does not discuss all aspects of federal taxation that may be relevant to New Calumet and participants. Accordingly, New Calumet urges each participant to consult his or her own tax advisor as to the specific tax consequences of participation in the New Calumet LTIP under federal, state, local and other applicable laws. In addition, New Calumet may be subject to limits on tax deductibility relating to compensation described herein under certain statutory provisions, including Sections 162(m) and 280G of the Code.

Non-Qualified Stock Options

A non-qualified stock option is an option that does not meet the requirements of Section 422 of the Code. A participant generally will not recognize taxable income when granted a non-qualified stock option. When the participant exercises the stock option, he or she generally will recognize taxable ordinary income equal to the excess of the fair market value of the shares received on the exercise date over the aggregate exercise price of the shares. The participant’s tax basis in the shares acquired on exercise of the option will be increased by the amount of such taxable income. New Calumet generally will be entitled to a corresponding federal income tax deduction. When the participant sells the shares acquired on exercise, the participant generally will realize long-term or short-term capital gain or loss, depending on whether the participant holds the shares for more than one year before selling them.

 

232


Table of Contents

Incentive Stock Options

An incentive stock option (“ISO”) is an option that meets the requirements of Section 422 of the Code. A participant will not have taxable income when granted an ISO or when exercising an ISO. If a participant exercises an ISO and does not dispose of the shares until the later of two years after the grant date and one year after the exercise date, the entire gain, if any, realized when the participant sells the shares will be taxable as long-term capital gain.

However, even though a participant will not have taxable income when exercising an ISO, the exercise of an ISO is taken into account for purposes of determining whether the participant has any alternative minimum tax liability. New Calumet generally will not be entitled to a corresponding federal income tax deduction.

If a participant disposes of the shares received upon exercise of an ISO within the one-year or two-year periods described above, it will be considered a “disqualifying disposition.” Under such circumstances, the participant generally will realize ordinary income in the year of the disposition, and New Calumet generally will be entitled to a corresponding federal income tax deduction. The amounts of the participant’s ordinary income and New Calumet’s deduction will equal the excess of the lesser of the amount, if any, realized on the disposition and the fair market value of the shares on the exercise date over the aggregate exercise price of the ISO. Any additional gain or loss that the participant realizes on the disposition will be long-term or short-term capital gain or loss, depending on whether the participant holds the shares for more than one year before selling them. If a participant exercises an ISO more than three months after the participant’s employment with New Calumet terminates, the option will be treated as a non-qualified stock option for federal income tax purposes. If a participant is disabled and terminates employment because of his or her disability, the three-month period is extended to one year. The three-month period does not apply in the case of a participant’s death.

Restricted Stock

Unless a participant makes an election to accelerate recognition of the income to the date of grant as described below, the participant generally will not recognize income, and New Calumet generally will not be entitled to a corresponding federal income tax deduction at the time restricted stock is granted. When the restrictions lapse, the participant generally will recognize ordinary income equal to the fair market value of the shares as of that date, less any amount paid for the restricted stock, and New Calumet generally will be entitled to a corresponding federal income tax deduction at that time. If the participant files an election under Section 83(b) of the Code within 30 days after the date of grant of the restricted stock, the participant generally will recognize ordinary income as of the date of grant equal to the fair market value of the common shares as of that date, less any amount the participant paid for the restricted stock, and New Calumet generally will be entitled to a corresponding federal income tax deduction at that time. Any future appreciation in the shares generally will be taxable to the participant at capital gains rates. However, if the restricted stock is later forfeited, the participant generally will not be able to recover the tax previously paid pursuant to his or her Section 83(b) election.

Restricted Stock Units and Other Stock-Based Awards

A participant generally does not recognize taxable income at the time of grant of a restricted stock unit or other stock-based award, and New Calumet is not entitled to a tax deduction at that time. The participant will recognize compensation taxable as ordinary income (and subject to income tax withholding), however, at the time of the settlement of the award, equal to the fair market value of any shares delivered and the amount of cash paid by New Calumet. New Calumet generally will be entitled to a corresponding deduction.

Section 409A of the Code

Certain types of awards under the New Calumet LTIP may constitute, or provide for, a deferral of compensation subject to Section 409A of the Code. Unless certain requirements set forth in Section 409A of the

 

233


Table of Contents

Code are complied with, holders of such awards may be taxed earlier than would otherwise be the case (e.g., at the time of vesting instead of the time of payment) and may be subject to an additional 20% penalty tax (and, potentially, certain interest penalties and additional state taxes). To the extent applicable, the New Calumet LTIP and awards granted under the New Calumet LTIP are intended to be structured and interpreted to either comply with or be exempt from Section 409A of the Code and the Department of Treasury regulations and other interpretive guidance that may be issued under Section 409A of the Code.

Registration with the SEC

If the unitholders approve the New Calumet LTIP, New Calumet will file with the SEC a registration statement on Form S-8, as soon as reasonably practicable after the closing of the Conversion, to register the shares available for issuance under the New Calumet LTIP.

Equity Compensation Plan Information as of March 4, 2024

The table below provides information, as of March 4, 2024, regarding the common units available for issuance under the Calumet LTIP. The following table does not reflect the potential approval of the New Calumet LTIP proposal, the effect of the Conversion, or the Assumed RSUs granted under the New Calumet LTIP in the Conversion.

 

     Number of securities
to be issued upon
exercise of
outstanding
restricted
stock units, options,
warrants and
rights (a)(1)
     Weighted-average
exercise price of
outstanding options,
warrants and
rights  (b)
     Number of securities
remaining available for
future issuance under
equity  compensation

plans
(excluding securities
reflected in column (a))
(c)
 

Equity Plan (approved by security holders)

     324,638                

Equity compensation plans not approved by security holders

     N/A        N/A        N/A  

Total

     324,638                

 

(1)

As of March 4, 2024, the LTIP contemplates the issuance or delivery of up to 5,283,960 common units to satisfy awards under the plan. The number of units presented in column (a) represents the maximum number of common units that may be delivered pursuant to outstanding awards under the plan as of March 4, 2024. If such maximum number of common units had been delivered pursuant to outstanding awards, no common units would have remained available for future delivery under column (c) as of March 4, 2024.

CONSENT REQUIRED FOR APPROVAL

The LTIP Proposal requires the affirmative vote of holders of a majority of the votes cast (not including abstentions and broker non-votes) by unitholders who are present (in person or by proxy) and entitled to vote at the special meeting.

RECOMMENDATION OF THE GP BOARD

The GP Board recommends that the unitholders approve the LTIP Proposal.

 

234


Table of Contents

UNITHOLDER PROPOSALS

Ownership of common units does not entitle unitholders to make proposals at the special meeting.

 

235


Table of Contents

HOUSEHOLDING OF PROXY STATEMENT/PROSPECTUS

The SEC has adopted rules that permit companies and intermediaries such as brokers to satisfy delivery requirements for proxy statements and annual reports with respect to two or more unitholders sharing the same address by delivering a single proxy statement or annual report, as applicable, addressed to those unitholders. As permitted by the Exchange Act, only one copy of this proxy statement/prospectus is being delivered to unitholders residing at the same address, unless the unitholders have notified the Partnership whose common units they hold of their desire to receive multiple copies of this proxy statement/prospectus. This process, which is commonly referred to in this proxy statement/prospectus as “householding,” potentially provides extra convenience for unitholders and cost savings for companies.

If, at any time, you no longer wish to participate in householding and would prefer to receive a separate copy of this proxy statement/prospectus, or if you are receiving multiple copies of this proxy statement/prospectus and wish to receive only one, please contact the Partnership at its address identified below. The Partnership will promptly deliver, upon oral or written request, a separate copy of this proxy statement/prospectus to any unitholder residing at an address to which only one copy was mailed. Requests for additional copies should be directed to:

Calumet Specialty Products Partners, L.P.

2780 Waterfront Parkway East Drive, Suite 200

Indianapolis, Indiana 46214

Attention: Investor Relations

Phone: (317) 328-5660

 

236


Table of Contents

LEGAL MATTERS

The validity of the securities to be issued in the Conversion will be passed upon for New Calumet by Gibson, Dunn & Crutcher LLP, Houston, Texas.

EXPERTS

The consolidated financial statements of Calumet Specialty Products Partners, L.P. at December 31, 2023 and 2022, and for each of the three years in the period ended December 31, 2023, included in the Proxy Statement/Prospectus of Calumet, Inc., which is referred to and made a part of this Prospectus and Registration Statement, have been audited by Ernst & Young LLP, independent registered public accounting firm, as set forth in their report appearing elsewhere herein, and are included in reliance upon such report given on the authority of such firm as experts in accounting and auditing.

The balance sheet of Calumet, Inc. as of January 8, 2024, included in this proxy statement/prospectus and elsewhere in the Registration Statement has been so included in reliance upon the report of Grant Thornton LLP, independent registered public accountants, upon the authority of said firm as experts in accounting and auditing.

 

237


Table of Contents

CHANGE IN INDEPENDENT REGISTERED PUBLIC ACCOUNTING FIRM

On March 1, 2024, the Audit and Finance Committee of the GP Board dismissed Ernst & Young LLP (“Ernst & Young”) as the Partnership’s independent registered public accounting firm. The reports of Ernst & Young on the Partnership’s financial statements for each of the two fiscal years ended December 31, 2022 and 2023 did not contain an adverse opinion or a disclaimer of opinion, nor were they qualified or modified as to uncertainty, audit scope or accounting principles. During the fiscal years ended December 31, 2022 and 2023 and the subsequent interim period preceding the dismissal of Ernst & Young, there were no “disagreements” within the meaning of Item 304(a)(1)(iv) of Regulation S-K on any matter of accounting principles or practices, financial statement disclosure or auditing scope and procedures, which disagreements, if not resolved to the satisfaction of Ernst & Young, would have caused Ernst & Young to make reference to the matter in their reports on the financial statements for such years.

During the fiscal years ended December 31, 2022 and 2023, there were no “reportable events” within the meaning of Item 304(a)(1)(v) of Regulation S-K, except that Ernst & Young issued an adverse opinion in their report on internal control over financial reporting as of December 31, 2023 as a result of the material weakness in the Partnership’s internal control over financial reporting that the Partnership reported in Part II, Item 9A of the Partnership’s Annual Report on Form 10-K for the fiscal year ended December 31, 2023, as filed with the SEC on February 29, 2024, related to the Partnership’s accounting for and subsequent measurement of the redeemable noncontrolling interest.

The Partnership provided Ernst & Young with a copy of the foregoing disclosures contained in the registration statement of which this proxy statement/prospectus forms a part and requested that Ernst & Young furnish the Partnership with a letter addressed to the SEC stating whether or not it agrees with the statements contained herein, as specified by Item 304(a)(3) of Regulation S K. A copy of Ernst & Young’s letter, dated March 4, 2024, is filed as Exhibit 16.1 to the registration statement of which this proxy statement/prospectus forms a part.

On March 1, 2024, the Audit and Finance Committee of the GP Board engaged Grant Thornton LLP (“Grant Thornton”) as the Partnership’s independent registered public accounting firm for the fiscal year ending December 31, 2024.

During the fiscal years ended December 31, 2022 and 2023, or during any subsequent interim period prior to the engagement of Grant Thornton, neither the Partnership nor anyone on its behalf consulted with Grant Thornton with respect to (a) the application of accounting principles to a specified transaction, either completed or proposed, or the type of audit opinion that might be rendered on the Partnership’s consolidated financial statements, and neither a written report nor oral advice was provided to the Partnership that Grant Thornton concluded was an important factor considered by the Partnership in reaching a decision as to any accounting, auditing or financial reporting issue, or (b) any matter that was either the subject of a “disagreement” within the meaning of Item 304(a)(1)(iv) of Regulation S-K and the related instructions or a “reportable event” within the meaning of Item 304(a)(1)(v) of Regulation S-K.

 

238


Table of Contents

WHERE YOU CAN FIND MORE INFORMATION

New Calumet has filed a registration statement on Form S-4 to register with the SEC the offering of the securities to be issued to unitholders in connection with the Conversion. This proxy statement/prospectus is a part of that registration statement and constitutes a prospectus of New Calumet in addition to being a proxy statement of the Partnership. As allowed by SEC rules, this proxy statement/prospectus does not contain all the information you can find in New Calumet’s registration statement or the exhibits to the registration statement.

The Partnership files annual, quarterly and current reports and other information with the SEC under the Exchange Act. Unitholders may read the Partnership’s SEC filings, including this proxy statement/prospectus, over the Internet at the SEC’s website at www.sec.gov.

The Partnership also makes available free of charge on its website, www.calumet.com, its Annual Reports on Form 10-K, Quarterly Reports on Form 10-Q and Current Reports on Form 8-K, and any amendments to those reports, filed or furnished pursuant to Section 13(a) or 15(d) of the Exchange Act as soon as reasonably practicable after it electronically files such material with, or furnishes it to, the SEC. Information contained on the Partnership’s website is not part of this proxy statement/prospectus.

If you would like to request documents from the Partnership, please send a request in writing or by telephone at the following addresses:

Calumet Specialty Products Partners, L.P.

2780 Waterfront Parkway East Drive, Suite 200

Indianapolis, Indiana 46214

Attention: Investor Relations

Phone: (317) 328-5660

If you are a unitholder and would like to request documents, please do so by July 2, 2024, in order to receive them before the special meeting. The Partnership will mail any requested documents to you by first class mail, or another equally prompt means.

Neither the Partnership nor New Calumet has authorized anyone to give any information or make any representation about the Conversion or the Partnership that is different from, or in addition to, that included in this proxy statement/prospectus or in any of the materials that have been incorporated in this proxy statement/prospectus. Therefore, if anyone does give you information of this sort, you should not rely on it. If you are in a jurisdiction where offers to exchange or sell, or solicitations of offers to exchange or purchase, the securities offered by this proxy statement/prospectus or the solicitation of proxies is unlawful, or if you are a person to whom it is unlawful to direct these types of activities, then the offer presented in this proxy statement/prospectus does not extend to you. The information included in this proxy statement/prospectus speaks only as of the date of this proxy statement/prospectus unless the information specifically indicates that another date applies.

 

239


Table of Contents

GLOSSARY OF TERMS

Book-Entry Unit” means a non-certificated common unit represented by book-entry immediately prior to the effective time of the Partnership Merger.

Certificate” means a certificate that immediately prior to the effective time of the Partnership Merger represented common units.

common stock” means the common stock, par value $0.01 per share, of New Calumet.

common units” means the common units representing limited partner interests in the Partnership.

Conflicts Committee” means the Conflicts Committee of the GP Board.

Conversion Agreement” means that certain agreement dated February 9, 2024, entered into by and among the Partnership, the General Partner, New Calumet, Merger Sub I, Merger Sub II and the Sponsor Parties, as amended by the First Amendment to the Conversion Agreement, dated April 17, 2024.

DGCL” means the Delaware General Corporation Law.

DOJ” means the U.S. Department of Justice.

Exchange Act” means the Securities Exchange Act of 1934, as amended.

exchange ratio” means the one-to-one ratio under which each common unit issued and outstanding as of immediately prior to the effective time of the Partnership Merger shall be exchanged into the right to receive one share of common stock.

FTC” means the U.S. Federal Trade Commission.

GAAP” means the accounting principles generally accepted in the United States of America.

General Partner” means Calumet GP, LLC, a Delaware limited liability company and the general partner of the Partnership.

GP Board” means the board of directors of the General Partner.

GP Interest” means the General Partner Interest (as such term is defined in the Partnership Agreement).

GP Merger” means the merger between the General Partner and Merger Sub I, pursuant to which all outstanding equity interests of the General Partner will be exchanged into the right to receive an aggregate of 5,500,000 shares of common stock and 2,000,000 warrants to purchase common stock at an exercise price of $20.00 per share (subject to adjustment), and Merger Sub I will be merged with and into the General Partner with the General Partner continuing as the surviving entity and a wholly owned subsidiary of New Calumet.

HSR Act” means the Hart-Scott-Rodino Antitrust Improvements Act of 1976, as amended.

Merger Sub I” means Calumet Merger Sub I LLC, a Delaware limited liability company and wholly owned subsidiary of New Calumet.

Merger Sub II” means Calumet Merger Sub II LLC, a Delaware limited liability company and wholly owned subsidiary of New Calumet.

Merger Subs” means, collectively, Merger Sub I and Merger Sub II.

 

G-1


Table of Contents

Mergers” means, collectively, the GP Merger and the Partnership Merger.

Nasdaq” means the Nasdaq Global Select Market.

New Calumet” means Calumet, Inc., a Delaware corporation.

New Calumet Bylaws” means the Amended and Restated Bylaws of New Calumet in substantially the form attached as Annex 1 to the First Amendment to the Conversion Agreement.

New Calumet Charter” means the Amended and Restated Certificate of Incorporation of New Calumet in substantially the form attached as Annex 2 to the First Amendment to the Conversion Agreement.

New Calumet RSUs” means restricted stock units relating to a number of shares of New Calumet Common Stock.

Partnership” means Calumet Specialty Products Partners, L.P., a Delaware limited partnership.

Partnership Agreement” means the First Amended and Restated Agreement of Limited Partnership of Calumet Specialty Products Partners, L.P., dated as of January 31, 2006, as amended from time to time.

Partnership Entities” means, collectively, the General Partner, the Partnership and its subsidiaries.

Partnership Merger” means the merger of Merger Sub II with and into the Partnership with the Partnership continuing as the surviving entity and a wholly owned subsidiary of New Calumet, pursuant to which all of the common units will be exchanged into the right to receive an equal number of shares of common stock.

Partnership Phantom Unit Award” means the phantom unit award granted under the Calumet GP, LLC Amended and Restated Long-Term Incentive Plan, as amended from time to time.

Registration Rights Agreement” means the Registration Rights Agreement in substantially the form attached as Exhibit E to the Conversion Agreement.

Restructuring Agreement” means that certain Partnership Restructuring Agreement dated as of November 9, 2023, entered into by and among the Partnership, the General Partner and the Sponsor Parties, as amended by the First Amendment to Partnership Restructuring Agreement, dated February 9, 2024.

SEC” means the U.S. Securities and Exchange Commission.

Securities Act” means the Securities Act of 1933, as amended.

Sponsor Parties” means The Heritage Group and its related trusts, Jennifer Straumins and William Grube, Jr., set forth on Schedule A to the Conversion Agreement.

Stockholders Agreement” means the Stockholders Agreement substantially in the form attached as Annex 3 to the First Amendment to the Conversion Agreement.

Warrant Agreement” means the Warrant Agreement in substantially the form attached as Exhibit G to the Conversion Agreement.

 

G-2


Table of Contents

INDEX TO FINANCIAL STATEMENTS

 

     Page  

Unaudited Condensed Consolidated Financial Statements of Calumet Specialty Products Partners, L.P.

  

Condensed Consolidated Balance Sheets as of March  31, 2024 (Unaudited) and December 31, 2023

     F-2  

Unaudited Condensed Consolidated Statements of Operations for the Three Months Ended March 31, 2024 and 2023

     F-3  

Unaudited Condensed Consolidated Statements of Comprehensive Income (Loss) for the Three Months Ended March 31, 2024 and 2023

     F-4  

Unaudited Condensed Consolidated Statements of Partners’ Capital (Deficit) for the Three Months Ended March 31, 2024 and 2023

     F-5  

Unaudited Condensed Consolidated Statements of Cash Flows for the Three Months Ended March 31, 2024 and 2023

     F-6  

Notes to Unaudited Condensed Consolidated Financial Statements

     F-7  

Audited Consolidated Financial Statements of Calumet Specialty Products Partners, L.P.

  

Report of Independent Registered Public Accounting Firm

     F-35  

Consolidated Balance Sheets as of December 31, 2023 and 2022

     F-37  

Consolidated Statements of Operations for the Years Ended December  31, 2023, 2022 and 2021

     F-38  

Consolidated Statements of Comprehensive Income (Loss) for the Years Ended December 31, 2023, 2022 and 2021

     F-39  

Consolidated Statements of Partners’ Capital (Deficit) for the Years Ended December 31, 2023, 2022 and 2021

     F-40  

Consolidated Statements of Cash Flows for the Years Ended December  31, 2023, 2022 and 2021

     F-41  

Notes to Consolidated Financial Statements

     F-42  

Unaudited Balance Sheet of Calumet, Inc.

  

Unaudited Balance Sheet as of March 31, 2024

     F-100  

Notes to Unaudited Balance Sheet

     F-101  

Audited Balance Sheet of Calumet, Inc.

  

Report of Independent Registered Public Accounting Firm

     F-102  

Balance Sheet as of January 8, 2024

     F-103  

Notes to Balance Sheet

     F-104  

 

F-1


Table of Contents

CALUMET SPECIALTY PRODUCTS PARTNERS, L.P.

CONDENSED CONSOLIDATED BALANCE SHEETS

 

     March 31, 2024     December 31, 2023  
     (Unaudited)  
     (In millions, except unit data)  
ASSETS  

Current assets:

    

Cash and cash equivalents

   $ 23.9     $ 7.9  

Accounts receivable, net:

    

Trade, less allowance for credit losses of $1.4 million and $1.2 million, respectively

     289.4       252.4  

Other

     49.6       33.8  
  

 

 

   

 

 

 
     339.0       286.2  
  

 

 

   

 

 

 

Inventories

     403.1       439.4  

Derivative assets

     5.5       9.6  

Prepaid expenses and other current assets

     40.2       51.6  
  

 

 

   

 

 

 

Total current assets

     811.7       794.7  
  

 

 

   

 

 

 

Property, plant and equipment, net

     1,486.0       1,506.3  

Other noncurrent assets, net

     433.9       450.3  
  

 

 

   

 

 

 

Total assets

   $ 2,731.6     $ 2,751.3  
  

 

 

   

 

 

 
LIABILITIES AND PARTNERS’ CAPITAL (DEFICIT)     

Current liabilities:

    

Accounts payable

   $ 321.1     $ 322.0  

Accrued interest payable

     41.3       48.7  

Accrued salaries, wages and benefits

     68.4       87.1  

Obligations under inventory financing agreements

     55.6       190.4  

Current portion of RINs obligation

     212.7       277.3  

Other current liabilities

     99.0       131.5  

Current portion of long-term debt

     26.3       55.7  
  

 

 

   

 

 

 

Total current liabilities

     824.4       1,112.7  
  

 

 

   

 

 

 

Other long-term liabilities

     135.7       53.6  

Long-term debt, less current portion

     2,055.6       1,829.7  
  

 

 

   

 

 

 

Total liabilities

   $ 3,015.7     $ 2,996.0  
  

 

 

   

 

 

 

Commitments and contingencies

    

Redeemable noncontrolling interest

   $ 245.6     $ 245.6  

Partners’ capital (deficit):

    

Limited partners’ interest (80,223,093 units and 79,967,363 units, issued and outstanding at March 31, 2024 and December 31, 2023, respectively)

   $ (523.1   $ (484.4

General partner’s interest

     0.5       1.3  

Accumulated other comprehensive loss

     (7.1     (7.2
  

 

 

   

 

 

 

Total partners’ capital (deficit)

     (529.7     (490.3
  

 

 

   

 

 

 

Total liabilities and partners’ capital (deficit)

   $ 2,731.6     $ 2,751.3  
  

 

 

   

 

 

 

See accompanying notes to unaudited condensed consolidated financial statements.

 

F-2


Table of Contents

CALUMET SPECIALTY PRODUCTS PARTNERS, L.P.

UNAUDITED CONDENSED CONSOLIDATED STATEMENTS OF OPERATIONS

 

     Three Months Ended March 31,  
       2024         2023    
           (As Restated)  
     (In millions, except unit and per unit data)  

Sales

   $ 1,005.8     $ 1,037.3  

Cost of sales

     927.3       940.7  
  

 

 

   

 

 

 

Gross profit

     78.5       96.6  
  

 

 

   

 

 

 

Operating costs and expenses:

    

Selling

     13.7       13.5  

General and administrative

     23.3       37.1  

Other operating expense

     5.2       3.0  
  

 

 

   

 

 

 

Operating income

     36.3       43.0  
  

 

 

   

 

 

 

Other income (expense):

    

Interest expense

     (60.8     (49.2

Gain (loss) on derivative instruments

     (16.9     25.5  

Other expense

           (0.2
  

 

 

   

 

 

 

Total other expense

     (77.7     (23.9
  

 

 

   

 

 

 

Net income (loss) before income taxes

     (41.4     19.1  

Income tax expense

     0.2       0.5  
  

 

 

   

 

 

 

Net income (loss)

   $ (41.6   $ 18.6  

Allocation of net income (loss) to partners:

    

Net income (loss) attributable to partners

   $ (41.6   $ 18.6  

Less:

    

General partners’ interest in net income (loss)

     (0.8     0.4  

Net income (loss) available to limited partners

   $ (40.8   $ 18.2  
  

 

 

   

 

 

 

Weighted average limited partner units outstanding:

    

Basic

     80,352,403       79,830,671  
  

 

 

   

 

 

 

Diluted

     80,352,403       79,939,985  
  

 

 

   

 

 

 

Limited partners’ interest basic net income (loss) per unit:

    

Limited partners’ interest

   $ (0.51   $ 0.23  
  

 

 

   

 

 

 

Limited partners’ interest diluted net income (loss) per unit:

    

Limited partners’ interest

   $ (0.51   $ 0.23  
  

 

 

   

 

 

 

See accompanying notes to unaudited condensed consolidated financial statements.

 

F-3


Table of Contents

CALUMET SPECIALTY PRODUCTS PARTNERS, L.P.

UNAUDITED CONDENSED CONSOLIDATED STATEMENTS OF COMPREHENSIVE INCOME (LOSS)

 

     Three Months Ended March 31,  
      2024       2023   
           (As Restated)  
     (In millions)  

Net income (loss)

   $ (41.6   $ 18.6  

Other comprehensive income:

    

Defined benefit pension and retiree health benefit plans

     0.1        
  

 

 

   

 

 

 

Total other comprehensive income

     0.1        
  

 

 

   

 

 

 

Comprehensive income (loss) attributable to partners’ capital (deficit)

   $ (41.5   $ 18.6  
  

 

 

   

 

 

 

See accompanying notes to unaudited condensed consolidated financial statements.

 

F-4


Table of Contents

CALUMET SPECIALTY PRODUCTS PARTNERS, L.P.

UNAUDITED CONDENSED CONSOLIDATED STATEMENTS OF PARTNERS’ CAPITAL (DEFICIT)

 

     Accumulated     Partners’ Capital (Deficit)        
     Other
Comprehensive
Loss
    General
Partner
    Limited
Partners
    Total  
     (In millions)  

Balance at December 31, 2023

   $ (7.2   $ 1.3     $ (484.4   $ (490.3

Other comprehensive income

     0.1       —        —        0.1  

Net loss attributable to partners

     —        (0.8     (40.8     (41.6

Settlement of tax withholdings on equity-based incentive compensation

     —        —        (3.5     (3.5

Settlement of phantom units

     —        —        5.6       5.6  

Balance at March 31, 2024

   $ (7.1   $ 0.5     $ (523.1   $ (529.7
  

 

 

   

 

 

   

 

 

   

 

 

 

 

     Accumulated     Partners’ Capital (Deficit)        
     Other
Comprehensive
Loss
    General
Partner
     Limited
Partners
    Total  
     (In millions)  

Balance at December 31, 2022 (As Restated)

   $ (8.3   $ 0.3      $ (525.3   $ (533.3

Net income attributable to partners

     —        0.4        18.2       18.6  

Settlement of tax withholdings on equity-based incentive compensation

     —        —         (7.9     (7.9

Settlement of phantom units

     —        —         (1.0     (1.0

Amortization of phantom units

     —        —         0.3       0.3  

Balance at March 31, 2023 (As Restated)

   $ (8.3   $ 0.7      $ (515.7   $ (523.3
  

 

 

   

 

 

    

 

 

   

 

 

 

See accompanying notes to unaudited condensed consolidated financial statements.

 

F-5


Table of Contents

CALUMET SPECIALTY PRODUCTS PARTNERS, L.P.

UNAUDITED CONDENSED CONSOLIDATED STATEMENTS OF CASH FLOWS

 

     Three Months Ended March 31,  
      2024       2023   
           (As Restated)  
     (In millions)  

Operating activities

    

Net income (loss)

   $ (41.6   $ 18.6  

Non-cash RINs gain

     (64.6     (32.1

Unrealized (gain) loss on derivative instruments

     17.5       (41.0

Other non-cash activities

     47.8       66.3  

Changes in assets and liabilities

     (53.1     (38.5
  

 

 

   

 

 

 

Net cash used in operating activities

     (94.0     (26.7
  

 

 

   

 

 

 

Investing activities

    

Additions to property, plant and equipment

     (20.0     (130.4

Net cash used in investing activities

     (20.0     (130.4
  

 

 

   

 

 

 

Financing activities

    

Proceeds from borrowings — revolving credit facility

     596.8       559.0  

Repayments of borrowings — revolving credit facility

     (423.7     (437.0

Proceeds from borrowings — MRL revolving credit agreement

     32.0       18.7  

Repayments of borrowings — MRL revolving credit agreement

     (22.3     —   

Proceeds from borrowings — senior notes

     200.0       —   

Repayments of borrowings — senior notes

     (179.0     —   

Proceeds from inventory financing

     280.7       388.5  

Payments on inventory financing

     (336.8     (404.1

Proceeds from other financing obligations

     —        20.8  

Payments on other financing obligations

     (17.0     (12.8
  

 

 

   

 

 

 

Net cash provided by financing activities

     130.7       133.1  
  

 

 

   

 

 

 

Net increase (decrease) in cash, cash equivalents and restricted cash

     16.7       (24.0
  

 

 

   

 

 

 

Cash, cash equivalents and restricted cash at beginning of period

     14.7       35.2  
  

 

 

   

 

 

 

Cash, cash equivalents and restricted cash at end of period

   $ 31.4     $ 11.2  
  

 

 

   

 

 

 

Cash and cash equivalents

   $ 23.9     $ 11.2  

Restricted cash

   $ 7.5     $ —   

Supplemental disclosure of non-cash investing activities

    

Non-cash property, plant and equipment additions

   $ 25.2     $ 95.1  
  

 

 

   

 

 

 

See accompanying notes to unaudited condensed consolidated financial statements.

 

F-6


Table of Contents

CALUMET SPECIALTY PRODUCTS PARTNERS, L.P.

NOTES TO UNAUDITED CONDENSED CONSOLIDATED FINANCIAL STATEMENTS

1. Description of the Business

Calumet Specialty Products Partners, L.P. (the “Company” or “Calumet”) is a publicly traded Delaware limited partnership. Its common units are listed on the Nasdaq Global Select Market under the ticker symbol “CLMT.” The general partner of the Company is Calumet GP, LLC, a Delaware limited liability company. As of March 31, 2024, the Company had 80,223,093 limited partner common units and 1,637,206 general partner equivalent units outstanding. The general partner owns 2% of the Company and all of the incentive distribution rights (as defined in the Company’s partnership agreement), while the remaining 98% is owned by limited partners. The general partner employs the Company’s employees and the Company reimburses the general partner for certain of its expenses.

The Company manufactures, formulates, and markets a diversified slate of specialty branded products and renewable fuels to customers in various consumer-facing and industrial markets. Calumet is headquartered in Indianapolis, Indiana and operates twelve facilities throughout North America.

The unaudited condensed consolidated financial statements of the Company as of March 31, 2024 and for the three months ended March 31, 2024 and 2023, included herein have been prepared, without audit, pursuant to the rules and regulations of the Securities and Exchange Commission (“SEC”). Certain information and disclosures normally included in the consolidated financial statements prepared in accordance with generally accepted accounting principles (“GAAP”) in the U.S. have been condensed or omitted pursuant to such rules and regulations, although the Company believes that the following disclosures are adequate to make the information presented not misleading. The preparation of the unaudited condensed consolidated financial statements in conformity with GAAP requires management to make estimates and assumptions that affect the reported amounts of assets and liabilities and disclosure of contingent assets and liabilities at the date of the unaudited condensed consolidated financial statements and the reported amounts of revenues and expenses during the reporting period. Actual results could differ from those estimates. These unaudited condensed consolidated financial statements reflect all adjustments that, in the opinion of management, are necessary to present fairly the results of operations for the interim periods presented. All adjustments are of a normal nature, unless otherwise disclosed. The results of operations for the three months ended March 31, 2024 are not necessarily indicative of the results that may be expected for the year ending December 31, 2024. These unaudited condensed consolidated financial statements should be read in conjunction with the Company’s Annual Report on Form 10-K for the fiscal year ended December 31, 2023 (“2023 Annual Report”).

2. Summary of Significant Accounting Policies

Reclassifications

Certain amounts in the prior years’ unaudited condensed consolidated financial statements have been reclassified to conform to the current year presentation.

Cash, Cash Equivalents and Restricted Cash

Cash, cash equivalents and restricted cash include all highly liquid investments with a maturity of three months or less at the time of purchase.

Restricted cash represents cash that is legally restricted under the Montana Renewables, LLC (“MRL”) Term Loan Credit Agreement, and it is included in prepaid expenses and other current assets in the condensed consolidated balance sheets because it is only available to make principal and interest payments under the terms of the agreement.

 

F-7


Table of Contents

Renewable Identification Numbers (“RINs”) Obligation

The Company’s RINs volume obligation (“RVO” or “RINs Obligation”) is an estimated provision if future purchase of RINs were to be required in order to satisfy the U.S. Environmental Protection Agency’s (“EPA”) requirement to blend renewable fuels into certain transportation fuel products pursuant to the Renewable Fuel Standard (“RFS”) of the Clean Air Act (“CAA”). The Company has historically not been obligated to make these purchases. A RIN is a 38-character number assigned to each physical gallon of renewable fuel produced in or imported into the United States. The EPA sets annual volume obligations for the percentage of renewable fuels that must be blended into transportation fuels consumed in the U.S. Compliance is demonstrated by tendering RINs to the EPA documenting that blending has been accomplished or by obtaining a Small Refinery Exemption as provided in the Clean Air Act. Prior to 2018, the Company historically received the Small Refinery Exemption after qualifying on the merits. The Company’s petitions for the Small Refinery Exemption for compliance years 2018-2022 ultimately were denied by the EPA. EPA’s denials of those petitions is subject to litigation, as described below. Future exemptions are the subject of future annual applications. The RIN obligation is a non-financial instrument representing a quantity that cannot be settled financially.

The Company accounts for its current period RVO by multiplying the quantity of RINs shortage (based on actual results) by the period end RINs spot price, which is recorded as a current liability in the condensed consolidated balance sheets. These liabilities are revalued at the end of each subsequent accounting period, which produce non-cash mark-to-market adjustments that are reflected in cost of sales in the unaudited condensed consolidated statements of operations (with the exception of RINs for compliance year 2019 related to the San Antonio refinery, which amount is reflected in other operating expense in the unaudited condensed consolidated statements of operations). RINs generated by blending may be sold or held to offset future RVO. Any gains or losses from RINs sales are recorded in cost of sales in the unaudited condensed consolidated statements of operations.

The RFS provision of the CAA allows small refineries to apply at any time for a Small Refinery Exemption (“SRE”) from the renewable blending requirements, and we have applied in respect of compliance years 2019, 2020, 2021, 2022 and 2023.

2018 RVO. In April 2022, EPA issued new decisions denying 36 petitions from small refineries seeking SREs for program year 2018 that had been remanded by the U.S. Court of Appeals for the D.C. Circuit to EPA. EPA had previously granted 31 of these 36 petitions in August 2019, including petitions from the Company. Concurrent with the April 2022 denial action, EPA provided an alternate compliance approach to allow these 31 small refineries to meet their 2018 compliance obligations without purchasing or redeeming additional RINs. In April 2022, the Company filed a petition for review of EPA’s denial of the 2018 SRE petition for the Shreveport refinery in the U.S. Court of Appeals for the Fifth Circuit. In June 2022, the Company filed a petition for review of EPA’s denial of the 2018 SRE petition for the Montana refinery in the U.S. Court of Appeals for the Ninth Circuit and filed a protective petition for review in the U.S. Court of Appeals for the D.C. Circuit challenging the EPA’s denials of both the Shreveport and Montana refineries’ petitions. Upon a motion made by EPA, the Ninth Circuit dismissed the Company’s appeal of the denial of the Montana refinery’s 2018 SRE petition for improper venue in favor of the D.C. Circuit appeal. EPA filed a similar motion to dismiss or transfer in the Fifth Circuit; however, the Fifth Circuit denied EPA’s motion and ordered the merits panel to consider both the merits of the appeal and the venue question raised by EPA. These 2018 RVO appeals were consolidated with the 2019-2020 RVO appeals described below.

2019-2020 RVO. In June 2022, EPA issued final decisions denying 69 pending petitions from small refineries seeking SREs for compliance years 2016 to 2021, including petitions submitted by the Company seeking exemptions for program years 2019 and 2020, based on an across-the-board determination that no small refinery suffers disproportionate economic hardship from the RFS program, a contention which was subsequently rejected by the Government Accountability Office. In September 2022, EPA finalized an alternative RIN retirement schedule for small refineries. The alternative RIN retirement schedule allows the use of RINs

 

F-8


Table of Contents

generated in post-2020 compliance years to meet the 2020 RFS obligations. The Company’s small refineries are eligible to use this alternative schedule. In August 2022, the Company filed a petition for review of EPA’s denial of the 2019 and 2020 SRE petitions for the Shreveport refinery in the U.S. Court of Appeals for the Fifth Circuit, and a petition for review of EPA’s denial of the 2019 and 2020 SRE petitions for the Montana refinery in the U.S. Court of Appeals for the Ninth Circuit. The Company again filed a protective petition for review in the U.S. Court of Appeals for the D.C. Circuit challenging both of the EPA’s denials. These appeals have been consolidated with the applicable program year 2018 appeals. Upon a motion made by EPA, the Ninth Circuit transferred the Company’s Montana appeal, which is now pending in the D.C. Circuit. The Fifth Circuit denied EPA’s request to dismiss or transfer the appeal, ruling that merits panel will also consider EPA’s argument that the Shreveport refinery appeals should be transferred to the D.C. Circuit. The Company filed motions in both appeals asking the circuit courts to stay the Company’s 2019 and 2020 RFS obligations while the merits appeals are pending. In January 2023, the Fifth Circuit granted the Company’s motion for stay relating to the Shreveport refinery, and in March 2023, the D.C. Circuit granted the Company’s motion for stay relating to the Montana refinery. The stays granted by each of the respective circuits hold that the Company is likely to be successful on the merits of its appeals. In November 2023, the Fifth Circuit issued its decision and found that venue for the appeal is proper in the Fifth Circuit and that EPA’s denial of the Shreveport refinery’s petitions for program years 2018-2020 was improper. The Fifth Circuit vacated the EPA’s denials of those petitions and remanded the petitions to EPA.

2021-2022 RVO. In October 2022, Calumet applied for SREs for 2021 and 2022 compliance years. In April 2023, the Company filed for injunctive relief in both the District Court of Montana and the Western District Court of Louisiana to force EPA to make a decision on the Montana and Shreveport refineries’ joint 2021 and 2022 SRE applications. In July 2023, EPA issued final decisions denying 26 pending petitions from small refineries seeking SREs for compliance years 2016 to 2023, including petitions submitted by the Company seeking exemptions for program years 2021 and 2022, based on the same approach and analysis described in the June 2022 denials. EPA’s denial decision renders the district court actions moot, and the Company voluntarily dismissed those actions. The Company then filed appeals of the denials with the Fifth Circuit and D.C. Circuit. In September 2023, the Fifth Circuit granted the Company’s motion for stay relating to the Shreveport refinery for its appeal of the denial for program years 2021 and 2022, and in October 2023, the D.C. Circuit granted the Company’s motion for stay relating to the Montana refinery’s appeal of the denial for program years 2021 and 2022. The Company’s appeals of the denial of the Shreveport and Great Falls refinery petitions for program years 2021 and 2022 remain pending in the Fifth Circuit and D.C. Circuit, respectively.

Expenses related to RFS compliance have the potential to remain a significant expense for the Specialty Products and Solutions and Montana/Renewables segments. If legal or regulatory changes occur that have the effect of increasing the RINs Obligation, increasing the market price of RINs, or eliminating or narrowing the availability of SREs, the Company could be required to purchase additional RINs in the open market, which may materially increase the costs related to RFS compliance and could have a material adverse effect on the results of operations and liquidity.

As of March 31, 2024 and December 31, 2023, the Company had a RINs Obligation recorded on the condensed consolidated balance sheets of $212.7 million and $277.3 million, respectively.

3. Revenue Recognition

The following is a description of principal activities from which the Company generates revenue. Revenues are recognized when control of the promised goods are transferred to the customer, in an amount that reflects the consideration to which the Company expects to be entitled in exchange for those goods. To determine revenue recognition for arrangements that an entity determines are within the scope of ASC 606, the Company performs the following five steps: (i) identify the contract(s) with a customer; (ii) identify the performance obligations in the contract; (iii) determine the transaction price; (iv) allocate the transaction price to the performance obligations in the contract; and (v) recognize revenue when (or as) the entity satisfies a performance obligation.

 

F-9


Table of Contents

At contract inception, once the contract is determined to be within the scope of ASC 606, the Company assesses the goods promised within each contract and determines the performance obligations and assesses whether each promised good is distinct. The Company then recognizes as revenue the amount of the transaction price that is allocated to the respective performance obligation when (or as) the performance obligation is satisfied.

Products

The Company manufactures, formulates, and markets a diversified slate of specialty branded products to customers in various consumer-facing and industrial markets. In addition, the Company produces fuel and fuel related products, including gasoline, diesel, jet fuel, asphalt, and other fuels products. At our Montana Renewables facility, we process a variety of geographically advantaged renewable feedstocks into renewable fuels, including: renewable diesel, sustainable aviation fuel (“SAF”), renewable hydrogen, renewable natural gas, renewable propane, and renewable naphtha. These renewable fuels are distributed into renewable markets in the western half of North America. The Company also blends, packages and markets high-performance branded specialty products through its Royal Purple, Bel-Ray, and TruFuel brands.

The Company considers customer purchase orders, which in some cases are governed by master sales agreements, to be the contracts with a customer. For each contract, the Company considers the promise to transfer products, each of which are distinct, to be the identified performance obligations. In determining the transaction price, the Company evaluates whether the price is subject to variable consideration such as product returns, rebates or other discounts to determine the net consideration to which the Company expects to be entitled. The Company transfers control and recognizes revenue upon shipment to the customer or, in certain cases, upon receipt by the customer in accordance with contractual terms.

Revenue is recognized when obligations under the terms of a contract with a customer are satisfied and control of the promised goods are transferred to the customer. The contract with the customer states the final terms of the sale, including the description, quantity and price of each product or service purchased. For fuel products, payment is typically due in full between 2 to 30 days of delivery or the start of the contract term, such that payment is typically collected 2 to 30 days subsequent to the satisfaction of performance obligations. For renewable fuel products, payment is typically due in full between 7 to 14 days of delivery or the start of the contract term, such that payment is typically collected 7 to 14 days subsequent to the satisfaction of performance obligations. For specialty products, payment is typically due in full between 30 to 90 days of delivery or the start of the contract term, such that payment is typically collected 30 to 90 days subsequent to the satisfaction of performance obligations. In the normal course of business, the Company does not accept product returns unless the item is defective as manufactured. The expected costs associated with a product assurance warranty continue to be recognized as expense when products are sold. The Company does not offer promised services that could be considered warranties that are sold separately or provide a service in addition to assurance that the related product complies with agreed upon specifications. The Company establishes provisions based on the methods described in ASC 606 for estimated returns as variable consideration when determining the transaction price.

Excise and Sales Taxes

The Company assesses, collects and remits excise taxes associated with the sale of certain of its fuel products. Furthermore, the Company collects and remits sales taxes associated with certain sales of its products to non-exempt customers. The Company excludes excise taxes and sales taxes that are collected from customers from the transaction price in its contracts with customers. Accordingly, revenue from contracts with customers is net of sales-based taxes that are collected from customers and remitted to taxing authorities.

Shipping and Handling Costs

Shipping and handling costs are deemed to be fulfillment activities rather than a separate distinct performance obligation.

 

F-10


Table of Contents

Cost of Obtaining Contracts

The Company may incur incremental costs to obtain a sales contract, which under ASC 606 should be capitalized and amortized over the life of the contract. The Company has elected to apply the practical expedient in ASC 340-40-50-5 allowing the Company to expense these costs since the contracts are short-term in nature with a contract term of one year or less.

Contract Balances

Under product sales contracts, the Company invoices customers for performance obligations that have been satisfied, at which point payment is unconditional. Accordingly, a product sales contract does not give rise to contract assets or liabilities under ASC 606. The Company’s receivables, net of allowance for expected credit losses from contracts with customers as of March 31, 2024 and December 31, 2023 were $289.4 million and $252.4 million, respectively.

Transaction Price Allocated to Remaining Performance Obligations

The Company’s product sales are short-term in nature with a contract term of one year or less. The Company has utilized the practical expedient in ASC 606-10-50-14 exempting the Company from disclosure of the transaction price allocated to remaining performance obligations if the performance obligation is part of a contract that has an original expected duration of one year or less. Additionally, each unit of product generally represents a separate performance obligation; therefore, future volumes are wholly unsatisfied and disclosure of the transaction price allocated to remaining performance obligations is not required.

4. Inventories

The cost of inventory is recorded using the last-in, first-out (“LIFO”) method. An actual valuation of inventory under the LIFO method can be made only at the end of each year based on the inventory levels and costs at that time. Accordingly, interim LIFO calculations are based on management’s estimates of expected year-end inventory levels and costs and are subject to the final year-end LIFO inventory valuation. In certain circumstances, the Company may decide not to replenish inventory for certain products or product lines during an interim period, in which case, the Company may record interim LIFO adjustments during that period. During the three months ended March 31, 2024 and 2023, the Company recorded no activity (exclusive of lower of cost or market (“LCM”) adjustments) in cost of sales in the unaudited condensed consolidated statements of operations due to the permanent liquidation of inventory layers.

Costs include crude oil and other feedstocks, labor, processing costs and refining overhead costs. Inventories are valued at the LCM value. The replacement cost of these inventories, based on current market values, would have been $75.5 million and $67.8 million higher than the carrying value of inventory as of March 31, 2024 and December 31, 2023, respectively.

For the three months ended March 31, 2024 and 2023, the Company sold inventory comprised of crude oil, refined products and renewable feedstocks under Supply and Offtake Agreements as described in Note 7 — “Inventory Financing Agreements” related to the Great Falls, Shreveport and Montana Renewables facilities.

 

F-11


Table of Contents

Inventories consist of the following (in millions):

 

     March 31, 2024      December 31, 2023  
            Supply and                    Supply and         
     Titled      Offtake             Titled      Offtake         
     Inventory      Agreements (1)      Total      Inventory      Agreements (1)      Total  

Raw materials

   $ 56.8      $ 51.4      $ 108.2      $ 61.6      $ 27.6      $ 89.2  

Work in process

     64.3        31.2        95.5        72.3        36.7        109.0  

Finished goods

     153.9        45.5        199.4        162.1        79.1        241.2  
  

 

 

    

 

 

    

 

 

    

 

 

    

 

 

    

 

 

 
   $ 275.0      $ 128.1      $ 403.1      $ 296.0      $ 143.4      $ 439.4  
  

 

 

    

 

 

    

 

 

    

 

 

    

 

 

    

 

 

 

 

(1)

Amounts represent LIFO value and do not necessarily represent the value at which the inventory was sold. Please read Note 7 — “Inventory Financing Agreements” for further information.

In addition, the use of the LIFO inventory method may result in increases or decreases to cost of sales in years that inventory volumes decline as the result of charging cost of sales with LIFO inventory costs generated in prior periods. In periods of rapidly declining prices, LIFO inventories may have to be written down to market value due to the higher costs assigned to LIFO layers in prior periods. During the three months ended March 31, 2024 and 2023, the Company recorded an increase in cost of sales in the unaudited condensed consolidated statements of operations of $9.0 million and $19.7 million, respectively.

5. Leases

The Company has various operating and finance leases primarily for the use of land, storage tanks, railcars, equipment, precious metals and office facilities that have remaining lease terms of greater than one year to 16 years, some of which include options to extend the lease for up to 31 years, and some of which include options to terminate the lease within one year.

Supplemental balance sheet information related to the Company’s leases for the periods presented were as follows (in millions):

 

          March 31,      December 31,  

Assets:

  

Classification:

   2024      2023  

Operating lease assets

   Other noncurrent assets, net (1)    $ 100.4      $ 114.4  

Finance lease assets

   Property, plant and equipment,
net (2)
     2.3        2.4  
     

 

 

    

 

 

 

Total leased assets

      $ 102.7      $ 116.8  
     

 

 

    

 

 

 

Liabilities:

        

Current

        

Operating

   Other current liabilities    $ 63.2      $ 75.6  

Finance

   Current portion of long-term debt      1.0        1.1  

Non-current

        

Operating

   Other long-term liabilities      37.5        39.0  

Finance

   Long-term debt, less current portion      1.7        1.9  
     

 

 

    

 

 

 

Total lease liabilities

      $ 103.4      $ 117.6  
     

 

 

    

 

 

 

 

(1) 

During the three months ended March 31, 2024, the Company had additions to its operating lease right of use assets and operating lease liabilities of approximately $5.0 million.

(2) 

Finance lease assets are recorded net of accumulated amortization of $5.1 million and $5.0 million as of March 31, 2024 and December 31, 2023, respectively.

 

F-12


Table of Contents

Lease expense for lease payments is recognized on a straight-line basis over the lease term. The components of lease expense related to the Company’s leases for the periods presented were as follows (in millions).

 

         Three Months Ended March 31,  

Lease Costs:

 

Classification:

    2024        2023   

Fixed operating lease cost

 

Cost of Sales; SG&A Expenses

   $ 20.9      $ 19.0  

Short-term operating lease cost (1)

 

Cost of Sales; SG&A Expenses

     2.3        2.2  

Variable operating lease cost (2)

 

Cost of Sales; SG&A Expenses

     0.7        2.7  

Finance lease cost:

       

Amortization of finance lease assets

  Cost of Sales      0.1        0.2  

Interest on lease liabilities

  Interest expense      0.1        0.1  
    

 

 

    

 

 

 

Total lease cost

     $ 24.1      $ 24.2  
    

 

 

    

 

 

 

 

(1)

The Company’s leases with an initial term of 12 months or less are not recorded on the condensed consolidated balance sheets.

(2)

The Company’s railcar leases typically include a mileage limit the railcar can travel over the life of the lease. For any mileage incurred over this limit, the Company is obligated to pay an agreed upon dollar value for each mile that is traveled over the limit.

As of March 31, 2024, the Company had estimated minimum commitments for the payment of rentals under leases which, at inception, had a noncancellable term of more than one year, as follows (in millions):

 

     Operating      Finance         

Maturity of Lease Liabilities

   Leases (1)      Leases (2)      Total  

2024

   $ 62.4      $ 0.9      $ 63.3  

2025

     20.5        0.9        21.4  

2026

     11.4        0.8        12.2  

2027

     7.5        0.3        7.8  

2028

     4.7        0.1        4.8  

Thereafter

     4.8        —         4.8  
  

 

 

    

 

 

    

 

 

 

Total

   $ 111.3      $ 3.0      $ 114.3  
  

 

 

    

 

 

    

 

 

 

Less: Interest

     10.6        0.3        10.9  
  

 

 

    

 

 

    

 

 

 

Present value of lease liabilities

   $ 100.7      $ 2.7      $ 103.4  
  

 

 

    

 

 

    

 

 

 

Less obligations due within one year

     63.2        1.0        64.2  
  

 

 

    

 

 

    

 

 

 

Long-term lease obligation

   $ 37.5      $ 1.7      $ 39.2  
  

 

 

    

 

 

    

 

 

 

 

(1)

As of March 31, 2024, the Company’s operating lease payments included no material options to extend lease terms that are reasonably certain of being exercised. The Company has no legally binding minimum lease payments for leases signed but not yet commenced as of March 31, 2024.

(2)

As of March 31, 2024, the Company’s finance lease payments included no material options to extend lease terms that are reasonably certain of being exercised. The Company has no legally binding minimum lease payments for leases that have been signed but not yet commenced as of March 31, 2024.

 

F-13


Table of Contents

Weighted-Average Lease Term and Discount Rate

The weighted-average remaining lease term and weighted-average discount rate for the Company’s operating and finance leases were as follows:

 

Lease Term and Discount Rate:

   March 31,
2024
    December 31,
2023
 

Weighted-average remaining lease term (years):

    

Operating leases

     2.6       2.6  

Finance leases

     3.0       3.1  

Weighted-average discount rate:

    

Operating leases

     8.6     8.6

Finance leases

     7.5     7.3

6. Commitments and Contingencies

From time to time, the Company is a party to certain claims and litigation incidental to its business, including claims made by various taxation and regulatory authorities, such as the Internal Revenue Service, the EPA and the U.S. Occupational Safety and Health Administration (“OSHA”), as well as various state environmental regulatory bodies and state and local departments of revenue, as the result of audits or reviews of the Company’s business. In addition, the Company has property, business interruption, general liability and various other insurance policies that may result in certain losses or expenditures being reimbursed to the Company.

Environmental

The Company conducts specialty refining, blending and terminal operations and such activities are subject to stringent federal, regional, state and local laws and regulations governing worker health and safety, the discharge of materials into the environment and environmental protection. These laws and regulations impose obligations that are applicable to the Company’s operations, such as requiring the acquisition of permits to conduct regulated activities, restricting the manner in which the Company may release materials into the environment, requiring remedial activities or capital expenditures to mitigate pollution from former or current operations, requiring the application of specific health and safety criteria addressing worker protection and imposing substantial liabilities for pollution resulting from its operations. Failure to comply with these laws and regulations may result in the assessment of sanctions, including administrative, civil and criminal penalties; the imposition of investigatory, remedial or corrective action obligations or the incurrence of capital expenditures; the occurrence of delays in the permitting, development or expansion of projects and the issuance of injunctive relief limiting or prohibiting Company activities. Moreover, certain of these laws impose joint and several, strict liability for costs required to remediate and restore sites where petroleum hydrocarbons, wastes or other materials have been released or disposed. In addition, new laws and regulations, new interpretations of existing laws and regulations, increased governmental enforcement or other developments, some of which legal requirements are discussed below, could significantly increase the Company’s operational or compliance expenditures.

Remediation of subsurface contamination is in process at certain of the Company’s refinery sites and is being overseen by the appropriate state agencies. Based on current investigative and remedial activities, the Company believes that the soil and groundwater contamination at these refineries can be controlled or remediated without having a material adverse effect on the Company’s financial condition. However, such costs are often unpredictable and, therefore, there can be no assurance that the future costs will not become material.

Occupational Health and Safety

The Company is subject to various laws and regulations relating to occupational health and safety, including the federal Occupational Safety and Health Act, as amended, and comparable state laws. These laws and

 

F-14


Table of Contents

regulations strictly govern the protection of the health and safety of employees. In addition, OSHA’s hazard communication standard, the EPA’s community right-to-know regulations under Title III of the federal Comprehensive Environmental Response, Compensation and Liability Act, as amended, and similar state statutes require the Company to maintain information about hazardous materials used or produced in the Company’s operations and provide this information to employees, contractors, state and local government authorities and customers. The Company maintains safety and training programs as part of its ongoing efforts to promote compliance with applicable laws and regulations. The Company conducts periodic audits of process safety management systems at each of its locations subject to this standard. The Company’s compliance with applicable health and safety laws and regulations has required, and continues to require, substantial expenditures. Changes in occupational safety and health laws and regulations or a finding of non-compliance with current laws and regulations could result in additional capital expenditures or operating expenses, as well as civil penalties and, in the event of a serious injury or fatality, criminal charges.

Other Matters, Claims and Legal Proceedings

The Company is subject to matters, claims and litigation incidental to its business. The Company has recorded accruals with respect to certain of its matters, claims and litigation where appropriate, that are reflected in the unaudited condensed consolidated financial statements but are not individually considered material. For other matters, claims and litigation, the Company has not recorded accruals because it has not yet determined that a loss is probable or because the amount of loss cannot be reasonably estimated. While the ultimate outcome of matters, claims and litigation currently pending cannot be determined, the Company currently does not expect these outcomes, individually or in the aggregate (including matters for which the Company has recorded accruals), to have a material adverse effect on its financial position, results of operations or cash flows. The outcome of any matter, claim or litigation is inherently uncertain, however, and if decided adversely to the Company, or if the Company determines that settlement of particular litigation is appropriate, the Company may be subject to liability that could have a material adverse effect on its financial position, results of operations or cash flows.

Standby Letters of Credit

The Company has agreements with various financial institutions for standby letters of credit, which have been issued primarily to vendors. As of March 31, 2024 and December 31, 2023, the Company had outstanding standby letters of credit of $43.6 million and $29.9 million, respectively, under its senior secured revolving credit facility (the “revolving credit facility”). Please read Note 8 - “Long-Term Debt” for additional information regarding the Company’s revolving credit facility. At March 31, 2024 and December 31, 2023, the maximum amount of letters of credit the Company could issue under its revolving credit facility was subject to borrowing base limitations, with a maximum letter of credit sublimit equal to $255.0 million, which may be increased with the consent of the Agent (as defined in the Credit Agreement) to 90% of revolver commitments then in effect ($500.0 million at March 31, 2024 and December 31, 2023).

Throughput Contract

Prior to 2020, the Company entered into a long-term agreement to transport crude oil at a minimum of 5,000 bpd through a pipeline, which commenced service in the second quarter of 2020. The agreement also contains a capital recovery charge that increases 2% per annum. This agreement is for seven years.

 

F-15


Table of Contents

As of March 31, 2024, the estimated minimum unconditional purchase commitments, including the capital recovery charge, under the agreement were as follows (in millions):

 

Year

   Commitment  

2024

   $ 3.0  

2025

     4.0  

2026

     4.0  

2027

     2.4  

Thereafter

      
  

 

 

 

Total (1)

   $ 13.4  
  

 

 

 

 

(1)

As of March 31, 2024, the estimated minimum payments for the unconditional purchase commitments have been accrued and are included in other current liabilities and other long-term liabilities in the condensed consolidated balance sheets. This liability was accrued due to the fact that the contract was entered into to supply crude to a divested facility.

7. Inventory Financing Agreements

On January 17, 2024 (the “Effective Date”), the Company and J. Aron entered into a Monetization Master Agreement (the “Master Agreement”), a related Financing Agreement (the “Financing Agreement”) and Supply and Offtake Agreement (together with the Master Agreement and the Financing Agreement, the “Shreveport Supply and Offtake Agreement”). Pursuant to the Shreveport Supply and Offtake Agreement, J. Aron agreed to, among other things, purchase from the Company, or extend to the Company, financial accommodations secured by crude oil and finished products located at the Company’s Shreveport facility on the Effective Date and from time to time, up to maximum volumes specified for crude oil and categories of finished products, subject to the Company’s repurchase obligations with respect thereto. The Shreveport Supply and Offtake Agreement replaced the Company’s previous inventory financing agreement with Macquarie, which terminated on January 17, 2024.

In March 2017, the Company entered into an agreement with Macquarie to support the operations of the Great Falls refinery (as amended, the “Great Falls Supply and Offtake Agreement”). The Great Falls Supply and Offtake Agreement terminated on December 13, 2023. The inventories that were previously associated with the Great Falls Supply and Offtake Agreement were added back to our revolving credit facility borrowing base.

On October 3, 2023, MRL and Wells Fargo Commodities, LLC (“Wells Fargo”) entered into (a) an ISDA 2002 Master Agreement (the “Master Agreement”), (ii) a Schedule to the ISDA 2002 Master Agreement (the “Schedule”), (iii) a Credit Support Annex to the ISDA 2002 Master Agreement (the “Credit Support Annex”), and (iv) a Renewable Fuel and Feedstock Repurchase Master Confirmation (together with the Master Agreement, the Schedule and the Credit Support Annex, collectively the “MRL Supply and Offtake Agreement” and, together with the Shreveport Supply and Offtake Agreement, the “Supply and Offtake Agreements”). Pursuant to the MRL Supply and Offtake Agreement, Wells Fargo agreed to, among other things, (a) purchase from MRL renewable feedstocks and finished products located at MRL’s Great Falls facility, subject to MRL’s repurchase obligations with respect thereto, and (b) provide certain financial accommodations to MRL secured by liens on certain renewable feedstocks and finished products owned by MRL. The MRL Supply and Offtake Agreement replaced MRL’s previous inventory financing agreement with Macquarie, which terminated on October 3, 2023.

While title to certain inventories will reside with the counterparties to the arrangements, the Supply and Offtake Agreements are accounted for by the Company similar to a product financing arrangement; therefore, the inventories sold to the counterparties will continue to be included in the Company’s condensed consolidated balance sheets until processed and sold to a third party.

For the three months ended March 31, 2024 and 2023, the Company incurred an expense of $8.4 million and $7.0 million, respectively, for financing costs related to the Supply and Offtake Agreements, which are included in interest expense in the Company’s unaudited condensed consolidated statements of operations.

 

F-16


Table of Contents

The Company’s inventory financing arrangement with Macquarie for the Company’s Shreveport facility in effect as of December 31, 2023 included a deferred payment arrangement (the “Deferred Payment Arrangement”) whereby the Company could defer payments on just-in-time crude oil purchases from Macquarie owed under the agreements up to the value of the collateral provided (90% of the collateral was inventory). The deferred amounts under the Deferred Payment Arrangement bore interest at a rate equal to the SOFR plus 3.25% per annum. Amounts outstanding under the Deferred Payment Arrangement were included in obligations under inventory financing agreements in the Company’s condensed consolidated balance sheets. Changes in the amount outstanding under the Deferred Payment Arrangement for the three months ended March 31, 2023 were included within cash flows from financing activities in the unaudited condensed consolidated statements of cash flows. As of December 31, 2023, the Company had $14.1 million of deferred payments outstanding for the inventory financing arrangement with Macquarie then in effect.

8. Long-Term Debt

Long-term debt consisted of the following (in millions):

 

     March 31,
2024
     December 31,
2023
 

Borrowings under amended and restated senior secured revolving credit agreement with third-party lenders, interest payments quarterly, borrowings due January 2027, weighted average interest rates of 7.5% and 6.8% for the three months ended March 31, 2024 and the year ended December 31, 2023, respectively.

   $ 309.8      $ 136.7  

Borrowings under amended secured MRL revolving credit agreement with third-party lender, interest payments quarterly, borrowings due November 2027, weighted average interest rate of 7.4% and 6.9% for the three months ended March 31, 2024 and the year ended December 31, 2023, respectively.

     22.6        13.0  

Borrowings under the 2024 Secured Notes, interest at a fixed rate of 9.25%, interest payments semiannually, borrowings due July 2024, effective interest rate of 9.5% for the year ended December 31, 2023.

     —         179.0  

Borrowings under the 2025 Notes, interest at a fixed rate of 11.0%, interest payments semiannually, borrowings due April 2025, effective interest rate of 11.4% for the three months ended March 31, 2024 and the year ended December 31, 2023.

     413.5        413.5  

Borrowings under the 2027 Notes, interest at a fixed rate of 8.125%, interest payments semiannually, borrowings due July 2027, effective interest rate of 8.3% for the three months ended March 31, 2024 and the year ended December 31, 2023.

     325.0        325.0  

Borrowings under the 2028 Notes, interest at a fixed rate of 9.75%, interest payments semiannually, borrowings due July 2028, effective interest rate of 10.2% for the three months ended March 31, 2024 and the year ended December 31, 2023.

     325.0        325.0  

Borrowings under the 2029 Secured Notes, interest at a fixed rate of 9.25%, interest payments semiannually, borrowings due July 2029, effective interest rate of 9.4% for the three months ended March 31, 2024.

     200.0        —   

MRL Term Loan Credit Agreement

     74.3        74.4  

Shreveport terminal asset financing arrangement

     48.9        50.8  

MRL asset financing arrangements

     380.6        384.6  

Finance lease obligations, at various interest rates, interest and principal payments monthly through June 2028

     2.7        3.0  

 

F-17


Table of Contents
     March 31,
2024
     December 31,
2023
 

Less unamortized debt issuance costs (1)

     (17.4      (16.1

Less unamortized discounts

     (3.1      (3.5
  

 

 

    

 

 

 

Total debt

   $ 2,081.9      $ 1,885.4  
  

 

 

    

 

 

 

Less current portion of long-term debt

     26.3        55.7  
  

 

 

    

 

 

 

Total long-term debt

   $ 2,055.6      $ 1,829.7  
  

 

 

    

 

 

 

 

(1)

Deferred debt issuance costs are being amortized by the effective interest rate method over the lives of the related debt instruments. These amounts are net of accumulated amortization of $27.8 million and $26.6 million at March 31, 2024 and December 31, 2023, respectively.

9.25% Senior Secured First Lien Notes due 2029 (the “2029 Secured Notes”)

On March 7, 2024, the Company issued and sold $200.0 million in aggregate principal amount of 2029 Secured Notes in a private placement pursuant to Section 4(a)(2) of the Securities Act of 1933, as amended (the “Securities Act”). The 2029 Secured Notes were issued at par for net proceeds of $199.0 million, after deducting transaction expenses. The Company used the net proceeds from the private placement of the 2029 Secured Notes, together with cash on hand, to redeem all of its outstanding 9.25% Senior Secured First Lien Notes due 2024 (the “2024 Secured Notes”) and $50.0 million aggregate principal amount of its outstanding 11.00% Senior Notes due 2025 (the “2025 Notes”). The Company redeemed $50.0 million aggregate principal amount of its outstanding 2025 Notes on April 15, 2024. Interest on the 2029 Secured Notes is paid semiannually on January 15 and July 15 of each year, beginning on July 15, 2024.

9.75% Senior Notes due 2028 (the “2028 Notes”)

On June 27, 2023, the Company issued and sold $325.0 million in aggregate principal amount of 2028 Notes in a private placement pursuant to Section 4(a)(2) of the Securities Act to eligible purchasers at par. The Company received net proceeds of $319.1 million, after deducting the initial purchasers’ discount and offering expenses, which the Company used a portion of the net proceeds to fund offers (collectively, the “Tender Offers”) to purchase (i) any and all of its outstanding $200.0 million in aggregate principal amount of 2024 Secured Notes and (ii) up to $100.0 million in aggregate principal amount of its outstanding 2025 Notes and pay related premiums and expenses, with the remaining net proceeds to be used for general partnership purposes, including debt repayment. On June 28, 2023, in connection with the early settlement of the Tender Offers, the Company used approximately $125.5 million (excluding accrued and unpaid interest and related expenses) of the proceeds from the offering of the 2028 Notes to fund the repurchase of (i) approximately $21.0 million in aggregate principal amount of 2024 Secured Notes and (ii) $100.0 million in aggregate principal amount of the 2025 Notes and pay related premiums. Interest on the 2028 Notes is paid semiannually in arrears on January 15 and July 15 of each year, beginning on January 15, 2024.

Senior Notes

The 2025 Notes, 8.125% Senior Notes due 2027 (the “2027 Notes”), the 2028 Notes, and the 2029 Secured Notes (collectively, the “Senior Notes”) are subject to certain automatic customary releases, including the sale, disposition, or transfer of capital stock or substantially all of the assets of a subsidiary guarantor, designation of a subsidiary guarantor as unrestricted in accordance with the applicable indenture, exercise of legal defeasance option or covenant defeasance option, liquidation or dissolution of the subsidiary guarantor and a subsidiary guarantor ceases to both guarantee other Company debt and to be an obligor under the revolving credit facility. The Company’s operating subsidiaries may not sell or otherwise dispose of all or substantially all of their properties or assets to, or consolidate with or merge into, another company if such a sale would cause a default under the indentures governing the Senior Notes.

 

F-18


Table of Contents

The indentures governing the Senior Notes contain covenants that, among other things, restrict the Company’s ability and the ability of certain of the Company’s subsidiaries to: (i) sell assets; (ii) pay distributions on, redeem or repurchase the Company’s common units or redeem or repurchase its subordinated debt; (iii) make investments; (iv) incur or guarantee additional indebtedness or issue preferred units; (v) create or incur certain liens; (vi) enter into agreements that restrict distributions or other payments from the Company’s restricted subsidiaries to the Company; (vii) consolidate, merge or transfer all or substantially all of the Company’s assets; (viii) engage in transactions with affiliates and (ix) create unrestricted subsidiaries. These covenants are subject to important exceptions and qualifications. At any time when the Senior Notes are rated investment grade by either Moody’s Investors Service, Inc. (“Moody’s”) or S&P Global Ratings (“S&P”) and no Default or Event of Default, each as defined in the indentures governing the Senior Notes, has occurred and is continuing, many of these covenants will be suspended. As of March 31, 2024, the Company was in compliance with all covenants under the indentures governing the Senior Notes.

MRL Asset Financing Arrangements

On August 5, 2022, Montana Renewables, LLC (“MRL”), a wholly owned subsidiary of the Company, entered into Equipment Schedule No. 2 (the “Equipment Schedule”) and an Interim Funding Agreement (the “Funding Agreement”) with Stonebriar Commercial Finance LLC (“Stonebriar”). The Equipment Schedule and the Funding Agreement each constitute a schedule under the Master Lease Agreement (the “Lease Agreement”) dated as of December 31, 2021 between MRL and Stonebriar. The Equipment Schedule provides that Stonebriar will purchase from and lease back to MRL a hydrocracker, intended to produce renewable diesel and related products, for a purchase price of $250.0 million. The Funding Agreement provides $100.0 million in financing for the design and construction of a feedstock pre-treater facility and $50.0 million for the construction of a hydrogen plant. The transactions with Stonebriar described in this paragraph are referred to herein as the “MRL asset financing arrangements.” The Company has recorded the MRL asset financing arrangements as a financial liability in the condensed consolidated balance sheets.

Fourth Amendment to Third Amended and Restated Senior Secured Revolving Credit Facility

On January 17, 2024, the Company entered into the Fourth Amendment to its revolving credit facility (the “Credit Agreement”) governing its senior secured revolving credit facility maturing in January 2027, which provides maximum availability of credit under the revolving credit facility of $650.0 million, including a FILO tranche, subject to borrowing base limitations, and includes a $500.0 million incremental uncommitted expansion feature. Lenders under the revolving credit facility have a first priority lien on, among other things, the Company’s account receivable and inventory and substantially all of its cash (collectively, the “Credit Agreement Collateral”).

The borrowing capacity at March 31, 2024, under the revolving credit facility was approximately $521.7 million. As of March 31, 2024, the Company had outstanding borrowings of $309.8 million under the revolving credit facility and outstanding standby letters of credit of $43.6 million, leaving approximately $168.3 million of unused capacity.

The revolving credit facility contains various covenants that limit, among other things, the Company’s ability to: incur indebtedness; grant liens; dispose of certain assets; make certain acquisitions and investments; redeem or prepay other debt or make other restricted payments such as distributions to unitholders; enter into transactions with affiliates; and enter into a merger, consolidation or sale of assets. Further, the revolving credit facility contains one springing financial covenant which provides that only if the Company’s availability to borrow loans under the revolving credit facility falls below the sum of (a) the greater of (i) (x) 15% of the borrowing base then in effect at the same time that the refinery asset borrowing base component is greater than $0 and (y) 10% of the borrowing base then in effect at any time that the refinery asset borrowing base component is equal to $0 and (ii) $45.0 million (which amount is subject to certain increases) plus (b) the amount of FILO Loans outstanding, then we will be required to maintain as of the end of each fiscal quarter a Fixed Charge

 

F-19


Table of Contents

Coverage Ratio (as defined in the Credit Agreement) of at least 1.0 to 1.0. As of March 31, 2024, the Company was in compliance with all covenants under the revolving credit facility.

MRL Revolving Credit Agreement

On November 2, 2022, MRL entered into, as borrower, a Credit Agreement (the “MRL Revolving Credit Agreement”) with Montana Renewables Holdings LLC (“MRHL”), the parent company of MRL, and Wells Fargo Bank, National Association (“Wells Fargo”), as administrative agent and lender, which MRL Revolving Credit Agreement provides for a secured revolving credit facility in the maximum amount of $90.0 million outstanding, secured by accounts receivable, with the option to request additional commitments of up to $15.0 million, and with a maturity date of November 2, 2027. The borrowing capacity at March 31, 2024, under the MRL Revolving Credit Agreement was approximately $42.2 million. As of March 31, 2024, MRL had $22.6 million of outstanding borrowings under the MRL Revolving Credit Agreement and no outstanding standby letters of credit, leaving approximately $19.6 million of unused capacity.

MRL Term Loan Credit Agreement

On April 19, 2023, MRL and MRHL entered into a Credit Agreement (the “MRL Term Loan Credit Agreement”) with a group of financial institutions, including I Squared Capital and Delaware Trust Company, as administrative agent, that provides for a $75.0 million term loan facility with a maturity date of April 19, 2028 (the “Maturity Date”). The MRL Term Loan Credit Agreement provides for a variable interest rate based on the SOFR plus 6.0% to 7.3% per annum. The borrowings under the MRL Term Loan Credit Agreement are repayable in quarterly installments commencing on June 30, 2023, in an amount equal to 0.25% of the outstanding principal amount under the MRL Term Loan Credit Agreement as of each quarterly payment date, plus additional principal payments to the extent MRL has excess cash flows, pursuant to the terms of the MRL Term Loan Credit Agreement. The remaining borrowings under the MRL Term Loan Credit Agreement are repayable on the Maturity Date.

Maturities of Long-Term Debt

As of March 31, 2024, principal payments on debt obligations and future minimum rentals on finance lease obligations are as follows (in millions):

 

Year

   Maturity  

2024

   $ 19.9  

2025

     442.4  

2026

     32.0  

2027

     706.9  

2028

     423.3  

Thereafter

     477.9  
  

 

 

 

Total

   $ 2,102.4  
  

 

 

 

9. Derivatives

The Company is exposed to price risks due to fluctuations in the price of crude oil, refined products, natural gas and precious metals. The Company uses various strategies to reduce its exposure to commodity price risk. The strategies to reduce the Company’s risk utilize both physical forward contracts and financially settled derivative instruments, such as swaps, collars, options and futures, to attempt to reduce the Company’s exposure with respect to:

 

   

crude oil purchases and sales;

 

   

fuel product sales and purchases;

 

F-20


Table of Contents
   

natural gas purchases;

 

   

precious metals purchases; and

 

   

fluctuations in the value of crude oil between geographic regions and between the different types of crude oil such as New York Mercantile Exchange West Texas Intermediate (“NYMEX WTI”), Light Louisiana Sweet, Western Canadian Select (“WCS”), WTI Midland, Mixed Sweet Blend, Magellan East Houston and ICE Brent.

The Company manages its exposure to commodity markets, credit, volumetric and liquidity risks to manage its costs and volatility of cash flows as conditions warrant or opportunities become available. These risks may be managed in a variety of ways that may include the use of derivative instruments. Derivative instruments may be used for the purpose of mitigating risks associated with an asset, liability and anticipated future transactions and the changes in fair value of the Company’s derivative instruments will affect its earnings and cash flows; however, such changes should be offset by price or rate changes related to the underlying commodity or financial transaction that is part of the risk management strategy. The Company does not speculate with derivative instruments or other contractual arrangements that are not associated with its business objectives.

Speculation is defined as increasing the Company’s natural position above the maximum position of its physical assets or trading in commodities, currencies or other risk bearing assets that are not associated with the Company’s business activities and objectives. The Company’s positions are monitored routinely by a risk management committee to ensure compliance with its stated risk management policy and documented risk management strategies. All strategies are reviewed on an ongoing basis by the Company’s risk management committee, which will add, remove or revise strategies in anticipation of changes in market conditions and/or its risk profiles. Such changes in strategies are to position the Company in relation to its risk exposures in an attempt to capture market opportunities as they arise.

As of March 31, 2024 and December 31, 2023, the Company was obligated to repurchase crude oil and refined products from its counterparties, then in effect, at the termination of the Supply and Offtake Agreements in certain scenarios. The Company has determined that the redemption feature on the initially recognized liability related to the Supply and Offtake Agreements is an embedded derivative indexed to commodity prices. As such, the Company has accounted for these embedded derivatives at fair value with changes in the fair value, if any, recorded in Gain (loss) on derivative instruments in the Company’s unaudited condensed consolidated statements of operations.

The Company recognizes all derivative instruments at their fair values (please read Note 10 - “Fair Value Measurements”) as either current assets or derivative liabilities or other noncurrent assets, net or other long-term liabilities in the condensed consolidated balance sheets. Fair value includes any premiums paid or received and unrealized gains and losses. Fair value does not include any amounts receivable from or payable to counterparties, or collateral provided to counterparties. Derivative asset and liability amounts with the same counterparty are netted against each other for financial reporting purposes in accordance with the provisions of our master netting arrangements.

 

F-21


Table of Contents

The following tables summarize the Company’s gross fair values of its derivative instruments, presenting the impact of offsetting derivative assets in the Company’s condensed consolidated balance sheets (in millions):

 

        March 31, 2024     December 31, 2023  
   

Balance Sheet
Location

  Gross
Amounts of
Recognized
Assets
    Gross
Amounts
Offset in the
Condensed
Consolidated
Balance
Sheets
    Net Amounts
of Assets
Presented
in the
Condensed
Consolidated
Balance Sheets
    Gross
Amounts of
Recognized
Assets
    Gross
Amounts
Offset in the
Condensed
Consolidated
Balance
Sheets
    Net Amounts
of Assets
Presented
in the
Condensed
Consolidated
Balance Sheets
 

Derivative instruments not designated as hedges:

           

Specialty Products and Solutions segment:

           

Crack spread swaps

 

Derivative assets / Other noncurrent assets, net

  $ 5.5     $ —      $ 5.5     $ 11.6     $ —      $ 11.6  
   

 

 

   

 

 

   

 

 

   

 

 

   

 

 

   

 

 

 

Total derivative instruments

  $ 5.5     $ —      $ 5.5     $ 11.6     $ —      $ 11.6  
   

 

 

   

 

 

   

 

 

   

 

 

   

 

 

   

 

 

 

The following tables summarize the Company’s gross fair values of its derivative instruments, presenting the impact of offsetting derivative liabilities in the Company’s condensed consolidated balance sheets (in millions):

 

        March 31, 2024     December 31, 2023  
   

Balance Sheet
Location

  Gross
Amounts of

Recognized
Liabilities
    Gross
Amounts
Offset in the
Condensed
Consolidated
Balance
Sheets
    Net Amounts
of Liabilities

Presented in
the
Condensed
Consolidated
Balance Sheets
    Gross
Amounts of
Recognized

Liabilities
    Gross
Amounts
Offset in the
Condensed
Consolidated
Balance
Sheets
    Net Amounts
of Liabilities

Presented in
the
Condensed
Consolidated
Balance Sheets
 

Derivative instruments not designated as hedges:

           

Specialty Products and Solutions segment:

           

Inventory financing obligation

  Other long-term liabilities / Obligations under inventory financing agreements   $ (10.9   $ —      $ (10.9   $ (52.5   $ —      $ (52.5
   

 

 

   

 

 

   

 

 

   

 

 

   

 

 

   

 

 

 

Total derivative instruments

  $ (10.9   $ —      $ (10.9   $ (52.5   $ —      $ (52.5
   

 

 

   

 

 

   

 

 

   

 

 

   

 

 

   

 

 

 

Certain of the Company’s outstanding derivative instruments are subject to credit support agreements with the applicable counterparties which contain provisions setting certain credit thresholds above which the Company may be required to post agreed-upon collateral, such as cash or letters of credit, with the counterparty to the extent that the Company’s mark-to-market net liability, if any, on all outstanding derivatives exceeds the credit threshold amount per such credit support agreement. The majority of the credit support agreements covering the Company’s outstanding derivative instruments also contain a general provision stating that if the Company experiences a material adverse change in its business, in the reasonable discretion of the counterparty, the Company’s credit threshold could be lowered by such counterparty. The Company does not expect that it will experience a material adverse change in its business. The cash flow impact of the Company’s derivative activities are included within cash flows from operating activities in the unaudited condensed consolidated statements of cash flows.

 

F-22


Table of Contents

Derivative Instruments Not Designated as Hedges

For derivative instruments not designated as hedges, the change in fair value of the asset or liability for the period is recorded to Gain (loss) on derivative instruments in the unaudited condensed consolidated statements of operations. Upon the settlement of a derivative not designated as a hedge, the gain or loss at settlement is recorded to Gain (loss) on derivative instruments in the unaudited condensed consolidated statements of operations. The Company has entered into crack spread swaps and crude oil basis swaps that do not qualify as cash flow hedges for accounting purposes. However, these instruments provide economic hedges of the purchases and sales of the Company’s natural gas, crude oil, gasoline and refined products.

The Company recorded the following gains (losses) in its unaudited condensed consolidated statements of operations for the three months ended March 31, 2024 and 2023, related to its derivative instruments not designated as hedges (in millions):

 

    Amount of Realized
Loss Recognized in Gain (Loss) on
Derivative
Instruments
    Amount of Unrealized Gain (Loss)
Recognized in Gain (Loss) on  Derivative
Instruments
 
    Three Months Ended March 31,     Three Months Ended March 31,  

Type of Derivative

  2024     2023     2024     2023  

Specialty Products and Solutions segment:

       

Inventory financing obligation

  $ (54.2   $ —      $ 41.7     $ (4.0

Crack spread swaps

    (0.8     (15.5     (6.0     38.8  

Montana/Renewables segment:

       

Inventory financing obligation

    2.4       —        —        6.2  
 

 

 

   

 

 

   

 

 

   

 

 

 

Total

  $ (52.6   $ (15.5   $ 35.7     $ 41.0  
 

 

 

   

 

 

   

 

 

   

 

 

 

Derivative Positions

At March 31, 2024, the Company had the following notional contract volumes related to outstanding derivative instruments:

 

            Notional Contract Volumes by
Year of Maturity
 
     Total                
     Outstanding                
     Notional      2024      Unit of Measure  

Derivative instruments not designated as hedges:

 

     

Crack spread swaps - sales

     2,200,000        2,200,000        Barrels  

 

F-23


Table of Contents

10. Fair Value Measurements

In accordance with ASC 820, the Company uses a three-tier fair value hierarchy, which prioritizes the inputs used in measuring fair value. Observable inputs are from sources independent of the Company. Unobservable inputs reflect the Company’s assumptions about the factors market participants would use in valuing the asset or liability developed based upon the best information available in the circumstances. These tiers include the following:

 

   

Level 1 — inputs include observable unadjusted quoted prices in active markets for identical assets or liabilities

 

   

Level 2 — inputs include other than quoted prices in active markets that are either directly or indirectly observable

 

   

Level 3 — inputs include unobservable inputs in which little or no market data exists, therefore requiring an entity to develop its own assumptions

In determining fair value, the Company uses various valuation techniques and prioritizes the use of observable inputs. The availability of observable inputs varies from instrument to instrument and depends on a variety of factors including the type of instrument, whether the instrument is actively traded and other characteristics particular to the instrument. For many financial instruments, pricing inputs are readily observable in the market, the valuation methodology used is widely accepted by market participants and the valuation does not require significant management judgment. For other financial instruments, pricing inputs are less observable in the marketplace and may require management judgment.

Recurring Fair Value Measurements

Derivative Assets and Liabilities

Derivative instruments are reported in the accompanying unaudited condensed consolidated financial statements at fair value. The Company’s derivative instruments consist of over-the-counter contracts, which are not traded on a public exchange. Substantially all of the Company’s derivative instruments are with counterparties that have long-term credit ratings of at least A3 and BBB+ by Moody’s and S&P, respectively.

Commodity derivative instruments are measured at fair value using a market approach. To estimate the fair values of the Company’s commodity derivative instruments, the Company uses the forward rate, the strike price, contractual notional amounts, the risk-free rate of return and contract maturity. Various analytical tests are performed to validate the counterparty data. The fair values of the Company’s derivative instruments are adjusted for nonperformance risk and creditworthiness of the counterparty through the Company’s credit valuation adjustment (“CVA”). The CVA is calculated at the counterparty level utilizing the fair value exposure at each payment date and applying a weighted probability of the appropriate survival and marginal default percentages. The Company uses the counterparty’s marginal default rate and the Company’s survival rate when the Company is in a net asset position at the payment date and uses the Company’s marginal default rate and the counterparty’s survival rate when the Company is in a net liability position at the payment date. As a result of applying the applicable CVA at March 31, 2024 and December 31, 2023, the Company’s net assets and net liabilities changed, in each case, by an immaterial amount.

Observable inputs utilized to estimate the fair values of the Company’s derivative instruments were based primarily on inputs that are readily available in public markets or can be derived from information available in publicly quoted markets. Based on the use of various unobservable inputs, principally non-performance risk, creditworthiness of the counterparties and unobservable inputs in the forward rate, the Company has categorized these derivative instruments as Level 3. Significant increases (decreases) in any of those unobservable inputs in isolation would result in a significantly lower (higher) fair value measurement. The Company believes it has obtained the most accurate information available for the types of derivative instruments it holds. Please read Note 9 — “Derivatives” for further information on derivative instruments.

 

F-24


Table of Contents

Pension Assets

Pension assets are reported at fair value in the accompanying unaudited condensed consolidated financial statements. At March 31, 2024 and December 31, 2023, the Company’s investments associated with its pension plan consisted of (i) cash and cash equivalents, (ii) fixed income bond funds, (iii) mutual equity funds, and (iv) mutual balanced funds. The fixed income bond funds, mutual equity funds, and mutual balanced funds that are measured at fair value using a market approach based on quoted prices from national securities exchanges and are categorized in Level 1 of the fair value hierarchy. The fixed income bond funds, mutual equity funds, and mutual balanced funds that are measured at fair value using a market approach based on prices obtained from an independent pricing service are categorized in Level 2 of the fair value hierarchy.

Liability Awards

Unit-based compensation liability awards are awards that are currently expected to be settled in cash on their vesting dates, rather than in equity units (“Liability Awards”). The Liability Awards are categorized as Level 1 because the fair value of the Liability Awards is based on the Company’s quoted closing unit price as of each balance sheet date.

Precious Metals Obligations

The fair value of precious metals obligations is based upon unadjusted exchange-quoted prices and is, therefore, classified within Level 1 of the fair value hierarchy.

Hierarchy of Recurring Fair Value Measurements

The Company’s recurring assets and liabilities measured at fair value were as follows (in millions):

 

     March 31, 2024     December 31, 2023  
     Level 1     Level 2      Level 3     Total     Level 1     Level 2      Level 3     Total  

Assets:

                  

Derivative assets:

                  

Crack spread swaps

   $ —      $ —       $ 5.5     $ 5.5     $ —      $ —       $ 11.6     $ 11.6  
  

 

 

   

 

 

    

 

 

   

 

 

   

 

 

   

 

 

    

 

 

   

 

 

 

Total derivative assets

   $ —      $ —       $ 5.5     $ 5.5     $ —      $ —       $ 11.6     $ 11.6  

Pension plan investments

   $ 3.6     $ 23.3      $ —      $ 26.9     $ 3.5     $ 23.5      $ —      $ 27.0  
  

 

 

   

 

 

    

 

 

   

 

 

   

 

 

   

 

 

    

 

 

   

 

 

 

Total recurring assets at fair value

   $ 3.6     $ 23.3      $ 5.5     $ 32.4     $ 3.5     $ 23.5      $ 11.6     $ 38.6  
  

 

 

   

 

 

    

 

 

   

 

 

   

 

 

   

 

 

    

 

 

   

 

 

 

Liabilities:

                  

Derivative liabilities:

                  

Inventory financing obligation

   $ —      $ —       $ (10.9   $ (10.9   $ —      $ —       $ (52.5   $ (52.5

Total derivative liabilities

   $ —      $ —       $ (10.9   $ (10.9   $ —      $ —       $ (52.5   $ (52.5

Precious metals obligations

     (6.3     —         —        (6.3     (6.9     —         —        (6.9

Liability awards

     (50.4     —         —        (50.4     (64.2     —         —        (64.2
  

 

 

   

 

 

    

 

 

   

 

 

   

 

 

   

 

 

    

 

 

   

 

 

 

Total recurring liabilities at fair value

   $ (56.7   $ —       $ (10.9   $ (67.6   $ (71.1   $ —       $ (52.5   $ (123.6
  

 

 

   

 

 

    

 

 

   

 

 

   

 

 

   

 

 

    

 

 

   

 

 

 

 

F-25


Table of Contents

The table below sets forth a summary of net changes in fair value of the Company’s Level 3 financial assets and liabilities (in millions):

 

    

Three Months Ended March 31,

 
      2024        2023   

Fair value at January 1,

   $ (40.8    $ (73.8

Realized loss on derivative instruments

     (52.6      (15.5

Unrealized gain (loss) on derivative instruments

     35.7        41.0  

Settlements

     52.6        15.5  
  

 

 

    

 

 

 

Fair value at March 31,

   $ (5.1    $ (32.8
  

 

 

    

 

 

 

Total gain (loss) included in net income (loss) attributable to changes in unrealized gain (loss) relating to financial assets and liabilities held as of March 31,

   $ 35.7      $ 41.0  
  

 

 

    

 

 

 

Nonrecurring Fair Value Measurements

Certain non-financial assets and liabilities are measured at fair value on a nonrecurring basis and are subject to fair value adjustments in certain circumstances, such as when there is evidence of impairment.

The Company assesses goodwill for impairment annually and whenever events or changes in circumstances indicate its carrying value may not be recoverable. The fair value of the reporting units is determined using the income approach. The income approach focuses on the income-producing capability of an asset, measuring the current value of the asset by calculating the present value of its future economic benefits such as cash earnings, cost savings, corporate tax structure and product offerings. Value indications are developed by discounting expected cash flows to their present value at a rate of return that incorporates the risk-free rate for the use of funds, the expected rate of inflation and risks associated with the reporting unit. These assets would generally be classified within Level 3, in the event that the Company were required to measure and record such assets at fair value within its unaudited condensed consolidated financial statements.

The Company periodically evaluates the carrying value of long-lived assets to be held and used, including definite-lived intangible assets and property, plant and equipment, when events or circumstances warrant such a review. Fair value is determined primarily using anticipated cash flows assumed by a market participant discounted at a rate commensurate with the risk involved and these assets would generally be classified within Level 3, in the event that the Company was required to measure and record such assets at fair value within its unaudited condensed consolidated financial statements.

Estimated Fair Value of Financial Instruments

Cash, cash equivalents and restricted cash

The carrying value of cash, cash equivalents and restricted cash are each considered to be representative of their fair value.

Debt

The estimated fair value of long-term debt at March 31, 2024 and December 31, 2023, consists primarily of senior notes. The estimated fair value of the Company’s 2024 Secured Notes, 2025, 2027, and 2028 Senior Notes, and 2029 Secured Notes defined as Level 2 was based upon quoted prices for identical or similar liabilities in markets that are not active. The carrying value of borrowings, if any, under the Company’s revolving credit facility, MRL revolving credit agreement, MRL asset financing arrangements, MRL term loan credit agreement, finance lease obligations and other obligations are classified as Level 3. Please read Note 8 — “Long-Term Debt” for further information on long-term debt.

 

F-26


Table of Contents

The Company’s carrying value and estimated fair value of the Company’s financial instruments, carried at adjusted historical cost, were as follows (in millions):

 

     March 31, 2024      December 31, 2023  
     Level      Fair Value      Carrying Value      Fair Value      Carrying Value  

Financial Instrument:

              

2024 Secured Notes, 2025 Notes, 2027 Notes, 2028 Notes, and 2029 Secured Notes

     2      $ 1,259.2      $ 1,253.4      $ 1,247.2      $ 1,232.3  

Revolving credit facility

     3      $ 309.8      $ 306.1      $ 136.7      $ 134.4  

MRL revolving credit agreement

     3      $ 22.6      $ 22.0      $ 13.0      $ 12.4  

MRL term loan credit agreement

     3      $ 74.3      $ 71.6      $ 74.4        71.6  

Shreveport terminal asset financing arrangement

     3      $ 48.9      $ 48.4      $ 50.8      $ 50.1  

MRL asset financing arrangements

     3      $ 380.6      $ 377.7      $ 384.6      $ 381.6  

Finance leases and other obligations

     3      $ 2.7      $ 2.7      $ 3.0      $ 3.0  

11. Earnings Per Unit

The following table sets forth the computation of basic and diluted earnings per limited partner unit (in millions, except unit and per unit data):

 

     Three Months Ended March 31,  
     2024      2023  
     (As Restated)  

Numerator for basic and diluted earnings per limited partner unit:

     

Net income (loss)

   $ (41.6    $ 18.6  

Less:

     

General partner’s interest in net income (loss)

     (0.8      0.4  

Net income (loss) attributable to limited partners

   $ (40.8    $ 18.2  
  

 

 

    

 

 

 

Denominator for earnings per limited partner unit:

     

Basic weighted average limited partner units outstanding

     80,352,403        79,830,671  

Effect of dilutive securities:

     

Incremental units

     —         109,314  
  

 

 

    

 

 

 

Diluted weighted average limited partner units outstanding (1)

     80,352,403        79,939,985  
  

 

 

    

 

 

 

Limited partners’ interest basic net income (loss) per unit:

     
  

 

 

    

 

 

 

Limited partners’ interest

   $ (0.51    $ 0.23  
  

 

 

    

 

 

 

Limited partners’ interest diluted net income (loss) per unit:

     
  

 

 

    

 

 

 

Limited partners’ interest

   $ (0.51    $ 0.23  
  

 

 

    

 

 

 

 

 

(1)

Total diluted weighted average limited partner units outstanding excludes a de-minimis amount of potentially dilutive phantom units which would have been anti-dilutive for the three months ended March 31, 2024.

 

F-27


Table of Contents

12. Segments and Related Information

Segment Reporting

The Company determines its reportable segments based on how the business is managed internally for the products sold to customers, including how results are reviewed and resources are allocated by the chief operating decision maker (“CODM”). The Company’s operations are managed by the CODM using the following reportable segments:

 

   

Specialty Products and Solutions. The Specialty Products and Solutions segment consists of our customer-focused solutions and formulations businesses, covering multiple specialty product lines, anchored by our unique integrated complex in Northwest Louisiana. In this segment, we manufacture and market a wide variety of solvents, waxes, customized lubricating oils, white oils, petrolatums, gels, esters, and other products. Our specialty products are sold to domestic and international customers who purchase them primarily as raw material components for consumer-facing and industrial products.

 

   

Montana/Renewables. The Montana/Renewables segment is composed of our Great Falls specialty asphalt facility and our Montana Renewables facility. At our Montana Renewables facility, we process a variety of geographically advantaged renewable feedstocks into renewable diesel, sustainable aviation fuel, renewable hydrogen, renewable natural gas, renewable propane, and renewable naphtha that are distributed into renewable markets in the western half of North America. At our Montana specialty asphalt facility, we process Canadian crude oil into conventional gasoline, diesel, jet fuel and specialty grades of asphalt, with production sized to serve local markets.

 

   

Performance Brands. The Performance Brands segment includes our fast-growing portfolio of high-quality, high-performing brands. In this segment, we blend, package, and market high performance products through our Royal Purple, Bel-Ray, and TruFuel brands.

 

   

Corporate. The Corporate segment primarily consists of general and administrative expenses not allocated to the Montana/Renewables, Specialty Products and Solutions, or Performance Brands segments.

The accounting policies of the reporting segments are the same as those described in the summary of significant accounting policies as disclosed in Note 2 - “Summary of Significant Accounting Policies,” of the 2023 Annual Report, except that the disaggregated financial results for the reporting segments have been prepared using a management approach, which is consistent with the basis and manner in which management internally disaggregates financial information for the purposes of assisting internal operating decisions. The Company accounts for inter-segment sales and transfers using market-based transfer pricing. The Company will periodically refine its expense allocation methodology for its segment reporting as more specific information becomes available and the industry or market changes. The Company evaluates performance based upon Adjusted EBITDA (a non-GAAP financial measure). The Company defines Adjusted EBITDA for any period as EBITDA adjusted for (a) impairment; (b) unrealized gains and losses from mark-to-market accounting for hedging activities; (c) realized gains and losses under derivative instruments excluded from the determination of net income (loss); (d) non-cash equity-based compensation expense and other non-cash items (excluding items such as accruals of cash expenses in a future period or amortization of a prepaid cash expense) that were deducted in computing net income (loss); (e) debt refinancing fees, extinguishment costs, premiums and penalties; (f) any net gain or loss realized in connection with an asset sale that was deducted in computing net income (loss); (g) amortization of turnaround costs; (h) LCM inventory adjustments; (i) the impact of liquidation of inventory layers calculated using the LIFO method; (j) RINs mark-to-market adjustments; and (k) all extraordinary, unusual or non-recurring items of gain or loss, or revenue or expense.

 

F-28


Table of Contents

Reportable segment information for the three months ended March 31, 2024 and 2023, is as follows (in millions):

 

Three Months Ended March 31, 2024

   Specialty
Products and
Solutions
    Performance
Brands
     Montana/
Renewables
    Corporate     Eliminations     Consolidated
Total
 

Sales:

             

External customers

   $ 681.6     $ 79.7      $ 244.5     $ —      $ —      $ 1,005.8  

Inter-segment sales

     5.0       0.1        —        —        (5.1     —   
  

 

 

   

 

 

    

 

 

   

 

 

   

 

 

   

 

 

 

Total sales

   $ 686.6     $ `79.8      $ 244.5     $ —      $ (5.1   $ 1,005.8  
  

 

 

   

 

 

    

 

 

   

 

 

   

 

 

   

 

 

 

Adjusted EBITDA

   $ 41.8     $ 13.4      $ (14.5   $ (19.1   $ —      $ 21.6  

Reconciling items to net loss:

             

Depreciation and amortization

     17.6       2.1        25.4       0.3       —        45.4  

LCM / LIFO (gain) loss

     (3.6     0.2        12.4       —        —        9.0  

Interest expense

     7.8       —         17.0       36.0       —        60.8  

Debt extinguishment costs

     —        —         —        0.2       —        0.2  

Unrealized gain on derivatives

     (35.7     —         —        —        —        (35.7

RINs mark-to-market gain

     (47.9     —         (23.2     —        —        (71.1

Other non-recurring expenses

                60.8  

Equity-based compensation and other items

                (7.3

Income tax expense

                0.2  

Noncontrolling interest adjustments

                0.9  
             

 

 

 

Net loss

              $ (41.6
             

 

 

 

Capital expenditures

   $ 14.1     $ 0.3      $ 11.0     $ 0.1     $ —      $ 25.5  

PP&E, net

   $ 368.5     $ 32.9      $ 1,082.9     $ 1.7     $ —      $ 1,486.0  

 

Three Months Ended March 31, 2023
(As Restated)

   Specialty
Products and
Solutions(1)
    Performance
Brands(2)
     Montana/
Renewables(3)
    Corporate     Eliminations     Consolidated
Total
 

Sales:

             

External customers

   $ 738.7     $ 78.8      $ 219.8     $ —      $ —      $ 1,037.3  

Inter-segment sales

     5.4       —         —        —        (5.4     —   
  

 

 

   

 

 

    

 

 

   

 

 

   

 

 

   

 

 

 

Total sales

   $ 744.1     $ 78.8      $ 219.8     $ —      $ (5.4   $ 1,037.3  
  

 

 

   

 

 

    

 

 

   

 

 

   

 

 

   

 

 

 

Adjusted EBITDA

   $ 76.0     $ 16.4      $ 4.8     $ (19.9   $ —      $ 77.3  

Reconciling items to net income:

             

Depreciation and amortization

     15.9       2.5        18.5       0.3       —        37.2  

LCM / LIFO loss

     1.2       1.5        17.0       —        —        19.7  

Interest expense

     6.5       —         12.4       30.3       —        49.2  

Unrealized gain on derivatives

     (34.8     —         (6.2     —        —        (41.0

RINs mark-to-market gain

     (30.8     —         (15.3     —        —        (46.1

Other non-recurring expenses

                29.5  

Equity-based compensation and other items

                9.0  

 

F-29


Table of Contents

Three Months Ended March 31, 2023
(As Restated)

   Specialty
Products and
Solutions(1)
     Performance
Brands(2)
     Montana/
Renewables(3)
     Corporate      Eliminations      Consolidated
Total
 

Income tax expense

                    0.5  

Noncontrolling interest adjustments

                    0.7  
                 

 

 

 

Net income

                  $ 18.6  
                 

 

 

 

Capital expenditures

   $ 21.5      $ 0.7      $ 115.2      $ 0.1      $ —       $ 137.5  

PP&E, net

   $ 380.3      $ 33.7      $ 1,126.6      $ 2.6      $ —       $ 1,543.2  

 

(1)

For the three months ended March 31, 2023, Adjusted EBITDA for the Specialty Products and Solutions segment included a $1.1 million gain recorded in cost of sales in the unaudited condensed consolidated statements of operations for proceeds received under the Company’s property damage insurance policy.

(2)

For the three months ended March 31, 2023, Adjusted EBITDA for the Performance Brands segment included a $5.0 million gain recorded in cost of sales in the unaudited condensed consolidated statements of operations for proceeds received under the Company’s business interruption insurance policy.

(3)

For the three months ended March 31, 2023, Adjusted EBITDA for the Montana/Renewables segment excluded a $28.4 million charge to cost of sales in the unaudited condensed consolidated statements of operations for losses under firm purchase commitments.

Geographic Information

International sales accounted for less than ten percent of consolidated sales in the three months ended March 31, 2024 and 2023.

Product Information

The Company offers specialty, fuels, renewable fuels and packaged products primarily in categories consisting of lubricating oils, solvents, waxes, gasoline, diesel, jet fuel, asphalt, heavy fuel oils, renewable fuels, high-performance branded products, and other specialty and fuels products. The following table sets forth the major product category sales for each segment for the three months ended March 31, 2024 and 2023 (dollars in millions):

 

     Three Months Ended March 31,  
     2024     2023  

Specialty Products and Solutions:

          

Lubricating oils

   $ 189.7        18.9   $ 215.2        20.7

Solvents

     102.4        10.2     106.6        10.3

Waxes

     39.0        3.9     44.2        4.3

Fuels, asphalt and other by-products

     350.5        34.8     372.7        35.9
  

 

 

    

 

 

   

 

 

    

 

 

 

Total

   $ 681.6        67.8   $ 738.7        71.2
  

 

 

    

 

 

   

 

 

    

 

 

 

Montana/Renewables:

          

Gasoline

   $ 31.6        3.1   $ 42.9        4.1

Diesel

     27.9        2.8     32.9        3.2

Jet fuel

     4.6        0.5     4.9        0.5

Asphalt, heavy fuel oils and other

     30.1        3.0     20.5        2.0

Renewable fuels

     150.3        14.9     118.6        11.4
  

 

 

    

 

 

   

 

 

    

 

 

 

Total

   $ 244.5        24.3   $ 219.8        21.2
  

 

 

    

 

 

   

 

 

    

 

 

 

Performance Brands:

   $ 79.7        7.9   $ 78.8        7.6
  

 

 

    

 

 

   

 

 

    

 

 

 

Consolidated sales

   $ 1,005.8        100.0   $ 1,037.3        100.0
  

 

 

    

 

 

   

 

 

    

 

 

 

 

F-30


Table of Contents

Major Customers

During the three months ended March 31, 2024 and 2023, the Company had no customer that represented 10% or greater of consolidated sales.

Major Suppliers

During the three months ended March 31, 2024 and 2023, the Company had two suppliers that supplied approximately 88.1% and 94.4%, respectively, of its crude oil supply.

13. Unrestricted Subsidiaries

As defined in the indentures governing the Company’s outstanding senior notes, an unrestricted subsidiary means MRHL, MRL and any other subsidiary of the Company, other than Calumet Finance Corp., that is designated by the Company’s general partner’s board of directors as an unrestricted subsidiary, but only to the extent that such subsidiary:

 

   

has no indebtedness other than non-recourse debt owing to any person other than the Company or any of its restricted subsidiaries, except to the extent permitted by the indentures of the senior notes;

 

   

is not party to any agreement, contract, arrangement or understanding with the Company or any restricted subsidiary of the Company unless the terms of any such agreement, contract, arrangement or other understanding are no less favorable to the Company or such restricted subsidiary than those that might be obtained at the time from persons who are not affiliates of the Company, except to the extent permitted by the indentures of the senior notes;

 

   

is a person with respect to which neither the Company nor any of its restricted subsidiaries has any direct or indirect obligation (a) to subscribe for additional equity interests or (b) to maintain or preserve such person’s financial condition or to cause such person to achieve any specified levels of operating results, except to the extent permitted by the indentures of the senior notes; and

 

   

has not guaranteed or otherwise directly or indirectly provided credit support for any indebtedness of the Company or any of its restricted subsidiaries.

 

F-31


Table of Contents

As of March 31, 2024 and December 31, 2023, respectively, MRHL and MRL were the only unrestricted subsidiaries of the Company. In accordance with the indentures governing the Company’s outstanding senior notes, the following tables set forth certain financial information (dollars in millions) of (i) the Company and its restricted subsidiaries, on a combined basis, (ii) the Company’s unrestricted subsidiaries, on a combined basis, and (iii) the Company and its subsidiaries, on a consolidated basis, in each case, as of March 31, 2024 and December 31, 2023, respectively.

 

March 31, 2024

   Parent
Company and
Restricted
Subsidiaries
    Unrestricted
Subsidiaries
    Eliminations     Consolidated
Total
 

Cash and cash equivalents

   $ 22.3     $ 1.6     $ —      $ 23.9  

Accounts receivable - trade

   $ 253.4     $ 36.0     $ —      $ 289.4  

Accounts receivable - other

   $ 28.1     $ 21.5     $ —      $ 49.6  

Inventory

   $ 329.9     $ 73.2     $ —      $ 403.1  

Prepaid expenses and other current assets

   $ 12.5     $ 27.7     $ —      $ 40.2  

Property, plant and equipment, net

   $ 723.0     $ 763.0     $ —      $ 1,486.0  

Other noncurrent assets, net

   $ 420.9     $ 13.0     $ —      $ 433.9  

Accounts payable

   $ 280.9     $ 410.8     $ (370.6   $ 321.1  

Accrued interest payable

   $ 40.1     $ 1.2     $ —      $ 41.3  

Obligations under inventory financing agreements

   $ —      $ 55.6     $ —      $ 55.6  

Other current liabilities

   $ 89.4     $ 9.6     $ —      $ 99.0  

Current portion of long-term debt

   $ 8.9     $ 17.4     $ —      $ 26.3  

Other long-term liabilities

   $ 133.1     $ 2.6     $ —      $ 135.7  

Long-term debt

   $ 1,601.6     $ 554.0     $ (100.0   $ 2,055.6  

Redeemable noncontrolling interest

   $ —      $ 245.6     $ —      $ 245.6  

Partners’ capital (deficit)

   $ (150.1   $ (360.8   $ (18.8   $ (529.7

 

December 31, 2023

   Parent
Company and
Restricted
Subsidiaries
    Unrestricted
Subsidiaries
    Eliminations     Consolidated
Total
 

Cash and cash equivalents

   $ 7.3     $ 0.6     $ —      $ 7.9  

Accounts receivable - trade

   $ 230.7     $ 21.7     $ —      $ 252.4  

Accounts receivable - other

   $ 24.8     $ 9.0     $ —      $ 33.8  

Inventory

   $ 353.1     $ 86.3     $ —      $ 439.4  

Prepaid expenses and other current assets

   $ 14.6     $ 37.0     $ —      $ 51.6  

Property, plant and equipment, net

   $ 731.7     $ 774.6     $ —      $ 1,506.3  

Other noncurrent assets, net

   $ 436.9     $ 13.4     $ —      $ 450.3  

Accounts payable

   $ 282.4     $ 333.3     $ (293.7   $ 322.0  

Accrued interest payable

   $ 47.8     $ 0.9     $ —      $ 48.7  

Obligations under inventory financing agreements

   $ 126.0     $ 64.4     $ —      $ 190.4  

Other current liabilities

   $ 104.5     $ 27.0     $ —      $ 131.5  

Current portion of long-term debt

   $ 38.8     $ 16.9     $ —      $ 55.7  

Other long-term

   $ 50.6     $ 3.0     $ —      $ 53.6  

Long-term debt

   $ 1,381.0     $ 548.7     $ (100.0   $ 1,829.7  

Redeemable noncontrolling interest

   $ —      $ 245.6     $ —      $ 245.6  

Partners’ capital (deficit)

   $ (174.3   $ (297.2   $ (18.8   $ (490.3

 

F-32


Table of Contents

The following table sets forth certain financial information of the Company’s unrestricted subsidiaries, on a combined basis, for the periods presented (in millions):

 

     Three Months Ended March 31,  
     2024     2023  

Sales

   $ 150.3     $ 118.6  

Cost of sales

     184.0       170.6  
  

 

 

   

 

 

 

Gross profit (loss)

     (33.7     (52.0
  

 

 

   

 

 

 

Operating costs and expenses:

    

General and administrative

     6.5       3.7  

Other operating expense

     1.5       3.0  
  

 

 

   

 

 

 

Operating loss

     (41.7     (58.7
  

 

 

   

 

 

 

Other income (expense):

    

Interest expense

     (24.6     (13.0

Gain on derivative instruments

     2.4       4.2  

Other income

     0.3       —   
  

 

 

   

 

 

 

Total other expense

     (21.9     (8.8
  

 

 

   

 

 

 

Net loss

   $ (63.6   $ (67.5

14. Redeemable Noncontrolling Interest

On August 5, 2022 (the “Closing Date”), MRHL issued and sold 12,500,000 preferred units (“Preferred Units”) in MRHL to an affiliate of Warburg Pincus LLC for $250.0 million for an immediate cash payment of $200.0 million and the agreement to pay the remaining $50.0 million in cash not later than October 3, 2022 (the “Deferred Purchase Price”) in exchange for a Percentage Interest of 14.2% in MRHL. The Company received the cash payment for the Deferred Purchase Price on October 3, 2022. The Preferred Units are not interest bearing and carry certain minimum return thresholds.

Holders of the Preferred Units are entitled to receive a preferred return equal to the greater of (i) an internal rate of return, or IRR (as defined in the Second Amended and Restated Limited Liability Company Agreement of MRHL (the “Second A&R LLC Agreement”), equal to 8.0% and (ii) a multiple on invested capital, or MOIC (as defined in the Second A&R LLC Agreement), initially equal to 1.35 and increasing by 0.01 each anniversary of the Closing Date up to a maximum MOIC equal to 1.40 on or after the fifth anniversary of the Closing Date (the “Preferred Return”). Pursuant to the Second A&R LLC Agreement, MRHL is required to distribute all Available Cash (as defined in the Second A&R LLC Agreement), to the members of MRHL (the “Members”) in the following priority: (i) 37.5% to the holders of the Preferred Units and 62.5% to all other Members pro rata based on their Percentage Interests (as defined in the Second A&R LLC Agreement) until the holders of the Preferred Units receive the Preferred Return and (ii) thereafter, 100.0% to the Members pro rata based on their Percentage Interests. Additionally, pursuant to the Second A&R LLC Agreement the Company is required to make distributions to the members sufficient to enable them to pay, on a quarterly basis, federal, state and local taxes arising from the allocations made to such members. Further, such distributions are determined by the Company and shall be made within thirty (30) days after the close of each applicable quarter. Any tax liability distributions shall be treated as an advance against, and shall reduce the amount of, the next distribution that the members would otherwise receive pursuant to the agreement.

At any time following the fifth anniversary of the Closing Date, if MRHL has not had an Initial Public Offering or Change of Control (each as defined in the Second A&R LLC Agreement), Warburg has the right to initiate an Initial Public Offering or Change of Control transaction pursuant to the terms of the Second A&R LLC Agreement. Upon the closing of a Qualified Initial Public Offering (as defined in the Second A&R LLC Agreement), each of MRHL and Warburg have the right to elect to convert all (but not less than all) of the

 

F-33


Table of Contents

Preferred Units (i) first by MRHL paying each holder of Preferred Units an amount in cash equal to such holder’s Preferred Return (to the extent not already paid) and (ii) thereafter, the Preferred Units automatically convert into the same number of common units of MRHL and will be entitled to participate in any distributions of Available Cash to the Members in proportion to their respective Percentage Interests. The Second A&R LLC Agreement also provides certain drag-along rights in connection with a Change of Control, subject to a minimum preferred return requirement for certain transactions that are consummated before the third anniversary of the Closing Date.

The redeemable noncontrolling interest in MRHL is reflected as temporary equity in the condensed consolidated balance sheets due to the redemption features described above and included a balance of $245.6 million as of March 31, 2024 and December 31, 2023, respectively, which represents the amount recorded for the Preferred Units at their issuance date fair value, net of issuance costs. As of the reporting date, there are no triggering, change of control, early redemption or monetization events that are probable that would require us to revalue the Preferred Units.

15. Subsequent Events

As of May 7, 2024, the fair value of the Company’s derivative instruments has increased by approximately $8.6 million subsequent to March 31, 2024.

 

F-34


Table of Contents

Report of Independent Registered Public Accounting Firm

To the Board of Directors of Calumet GP, LLC

General Partner and the Partners of Calumet Specialty Products Partners, L.P.

Opinion on the Financial Statements

We have audited the accompanying consolidated balance sheets of Calumet Specialty Products Partners, L.P. (“the Company”) as of December 31, 2023 and 2022, the related consolidated statements of operations, comprehensive income (loss), partners’ capital (deficit) and cash flows for each of the three years in the period ended December 31, 2023, and the related notes (collectively referred to as the “consolidated financial statements”). In our opinion, the consolidated financial statements present fairly, in all material respects, the financial position of the Company at December 31, 2023 and 2022, and the results of its operations and its cash flows for each of the three years in the period ended December 31, 2023, in conformity with U.S. generally accepted accounting principles.

We also have audited, in accordance with the standards of the Public Company Accounting Oversight Board (United States) (PCAOB), the Company’s internal control over financial reporting as of December 31, 2023, based on criteria established in Internal Control-Integrated Framework issued by the Committee of Sponsoring Organizations of the Treadway Commission (2013 framework) and our report dated February 29, 2024, expressed an adverse opinion thereon.

Restatement of 2022 Financial Statements

As discussed in Note 21 to the consolidated financial statements, the 2022 consolidated financial statements have been restated to correct a misstatement.

Basis for Opinion

These financial statements are the responsibility of the Company’s management. Our responsibility is to express an opinion on the Company’s financial statements based on our audits. We are a public accounting firm registered with the PCAOB and are required to be independent with respect to the Company in accordance with the U.S. federal securities laws and the applicable rules and regulations of the Securities and Exchange Commission and the PCAOB.

We conducted our audits in accordance with the standards of the PCAOB. Those standards require that we plan and perform the audit to obtain reasonable assurance about whether the financial statements are free of material misstatement, whether due to error or fraud. Our audits included performing procedures to assess the risks of material misstatement of the financial statements, whether due to error or fraud, and performing procedures that respond to those risks. Such procedures included examining, on a test basis, evidence regarding the amounts and disclosures in the financial statements. Our audits also included evaluating the accounting principles used and significant estimates made by management, as well as evaluating the overall presentation of the financial statements. We believe that our audits provide a reasonable basis for our opinion.

Critical Audit Matter

The critical audit matter communicated below is a matter arising from the current period audit of the financial statements that was communicated or required to be communicated to the audit committee and that: (1) relates to accounts or disclosures that are material to the financial statements and (2) involved our especially challenging, subjective or complex judgments. The communication of the critical audit matter does not alter in any way our opinion on the consolidated financial statements, taken as a whole, and we are not, by communicating the critical

 

F-35


Table of Contents

audit matter below, providing a separate opinion on the critical audit matter or on the accounts or disclosures to which it relates.

 

     Renewable Identification Numbers (“RINs”) Obligation
Description of the  Matter   

As of December 31, 2023, the Company’s RINs obligation was $277.3 million. As described in Note 2 to the consolidated financial statements, the RINs obligation is an estimated provision for the future purchase of RINs in order to satisfy the U.S. Environmental Protection Agency’s (“EPA”) annual requirement to blend renewable fuels into certain transportation fuel products pursuant to the Renewable Fuel Standard.

 

Auditing management’s RINs obligation was complex and judgmental due to estimation uncertainty in the Company’s determination of the RINs obligation under the Renewable Fuel Standard. The complexity and estimation uncertainty was primarily due to the calculation of the RINs shortage and the pricing assumptions, respectively.

How We

 Addressed the  Matter in Our  Audit

  

We obtained an understanding, evaluated the design and tested the operating effectiveness of the Company’s controls over the RINs obligation estimation process. For example, we tested controls over management’s review of the methodology used to calculate the obligation and the RINs shortage and pricing assumptions, as noted above.

 

To audit the Company’s RINs obligation, our audit procedures included, among others, evaluating the appropriateness of management’s methodology to calculate the RINs obligation under the Renewable Fuel Standard including testing the completeness and accuracy of the underlying data used by management in estimating the amount of the obligation. We involved our specialists to assist in our evaluation of management’s methodology. Additionally, we compared the prices utilized by the Company in their estimate of the RINs obligation to a third-party pricing source.

 

We have served as the Company’s auditor since 2002.
/s/ Ernst & Young LLP (PCAOB ID 42)
Indianapolis, Indiana
February 29, 2024

 

F-36


Table of Contents

CALUMET SPECIALTY PRODUCTS PARTNERS, L.P.

CONSOLIDATED BALANCE SHEETS

 

    Year Ended December 31,  
    2023     2022  
          (As Restated)  
    (In millions, except unit data)  
ASSETS      

Current assets:

   

Cash and cash equivalents

  $ 7.9     $ 35.2  

Accounts receivable, net:

   

Trade, less allowance for credit losses of $1.2 million and $1.3 million, respectively

    252.4       244.7  

Other

    33.8       22.4  
 

 

 

   

 

 

 
    286.2       267.1  
 

 

 

   

 

 

 

Inventories

    439.4       497.7  

Derivative assets

    9.6       —   

Prepaid expenses and other current assets

    51.6       19.6  
 

 

 

   

 

 

 

Total current assets

    794.7       819.6  
 

 

 

   

 

 

 

Property, plant and equipment, net

    1,506.3       1,482.0  

Goodwill

    173.0       173.0  

Other intangible assets, net

    28.5       36.3  

Operating lease right-of-use assets

    114.4       107.5  

Other noncurrent assets, net

    134.4       122.6  
 

 

 

   

 

 

 

Total assets

  $ 2,751.3     $ 2,741.0  
 

 

 

   

 

 

 
LIABILITIES AND PARTNERS’ CAPITAL (DEFICIT)    

Current liabilities:

   

Accounts payable

  $ 322.0     $ 442.0  

Accrued interest payable

    48.7       34.6  

Accrued salaries, wages and benefits

    87.1       93.0  

Other taxes payable

    13.5       9.5  

Obligations under inventory financing agreements

    190.4       221.8  

Current portion of RINs obligation

    277.3       398.9  

Derivative liabilities

    —        26.5  

Current portion of operating lease liabilities

    75.6       70.7  

Other current liabilities

    42.4       34.3  

Current portion of long-term debt

    55.7       19.6  
 

 

 

   

 

 

 

Total current liabilities

    1,112.7       1,350.9  
 

 

 

   

 

 

 

Pension and postretirement benefit obligations

    4.2       4.8  

Other long-term liabilities

    10.4       18.3  

Long-term operating lease liabilities

    39.0       37.1  

Long-term RINs obligation, less current portion

    —        77.5  

Long-term debt, less current portion

    1,829.7       1,540.1  
 

 

 

   

 

 

 

Total liabilities

  $ 2,996.0     $ 3,028.7  
 

 

 

   

 

 

 

Commitments and contingencies

   

Redeemable noncontrolling interest

  $ 245.6     $ 245.6  

Partners’ capital (deficit):

   

Limited partners’ interest (79,967,363 units and 79,189,583 units, issued and outstanding at December 31, 2023 and December 31, 2022, respectively)

  $ (484.4   $ (525.3

General partner’s interest

    1.3       0.3  

Accumulated other comprehensive loss

    (7.2     (8.3
 

 

 

   

 

 

 

Total partners’ capital (deficit)

    (490.3     (533.3
 

 

 

   

 

 

 

Total liabilities and partners’ capital (deficit)

  $ 2,751.3     $ 2,741.0  
 

 

 

   

 

 

 

See accompanying notes to consolidated financial statements.

 

F-37


Table of Contents

CALUMET SPECIALTY PRODUCTS PARTNERS, L.P.

CONSOLIDATED STATEMENTS OF OPERATIONS

 

     Year Ended December 31,  
     2023     2022     2021  
           (As Restated)        
     (In millions, except unit and per unit data)  

Sales

   $ 4,181.0     $ 4,686.3     $ 3,148.0  

Cost of sales

     3,729.3       4,334.6       3,005.1  
  

 

 

   

 

 

   

 

 

 

Gross profit

     451.7       351.7       142.9  
  

 

 

   

 

 

   

 

 

 

Operating costs and expenses:

      

Selling

     54.9       53.9       52.8  

General and administrative

     133.0       143.4       151.1  

Taxes other than income taxes

     21.5       13.7       12.5  

Loss on impairment and disposal of assets

     3.5       0.7       4.1  

Other operating (income) expense

     (28.4     8.1       8.0  
  

 

 

   

 

 

   

 

 

 

Operating income (loss)

     267.2       131.9       (85.6
  

 

 

   

 

 

   

 

 

 

Other income (expense):

      

Interest expense

     (221.7     (175.9     (149.5

Debt extinguishment costs

     (5.9     (41.4     (0.5

Gain (loss) on derivative instruments

     9.9       (81.7     (23.3

Other income (expense)

     0.2       (2.8     0.3  
  

 

 

   

 

 

   

 

 

 

Total other expense

     (217.5     (301.8     (173.0
  

 

 

   

 

 

   

 

 

 

Net income (loss) before income taxes

     49.7       (169.9     (258.6

Income tax expense

     1.6       3.4       1.5  
  

 

 

   

 

 

   

 

 

 

Net income (loss)

   $ 48.1     $ (173.3   $ (260.1
  

 

 

   

 

 

   

 

 

 

Allocation of net income (loss) to partners:

      

Net income (loss) attributable to partners

   $ 48.1     $ (173.3   $ (260.1

Less:

      

General partners’ interest in net income (loss)

     1.0       (3.5     (5.2
  

 

 

   

 

 

   

 

 

 

Net income (loss) available to limited partners

   $ 47.1     $ (169.8   $ (254.9
  

 

 

   

 

 

   

 

 

 

Weighted average limited partner units outstanding:

      

Basic and diluted

     80,075,530       79,336,283       78,980,839  
  

 

 

   

 

 

   

 

 

 

Limited partners’ interest basic and diluted net income (loss) per unit:

      

Limited partners’ interest

   $ 0.59     $ (2.14   $ (3.23
  

 

 

   

 

 

   

 

 

 

See accompanying notes to consolidated financial statements.

 

F-38


Table of Contents

CALUMET SPECIALTY PRODUCTS PARTNERS, L.P.

CONSOLIDATED STATEMENTS OF COMPREHENSIVE INCOME (LOSS)

 

     Year Ended December 31,  
     2023      2022     2021  
            (As Restated)        
     (In millions)  

Net income (loss)

   $ 48.1      $ (173.3   $ (260.1

Other comprehensive income:

       

Defined benefit pension and retiree health benefit plans

     1.1        1.8       2.2  
  

 

 

    

 

 

   

 

 

 

Total other comprehensive income

     1.1        1.8       2.2  
  

 

 

    

 

 

   

 

 

 

Comprehensive income (loss) attributable to partners’ capital (deficit)

   $ 49.2      $ (171.5   $ (257.9
  

 

 

    

 

 

   

 

 

 

See accompanying notes to consolidated financial statements.

 

F-39


Table of Contents

CALUMET SPECIALTY PRODUCTS PARTNERS, L.P.

CONSOLIDATED STATEMENTS OF PARTNERS’ CAPITAL (DEFICIT)

 

     Accumulated     Partners’ Capital (Deficit)        
     Other
Comprehensive
Loss
    General
Partner
    Limited
Partners
    Total  
     (In millions)  

Balance at December 31, 2020

   $ (12.3   $ 9.0     $ (125.3   $ (128.6
  

 

 

   

 

 

   

 

 

   

 

 

 

Other comprehensive income

     2.2       —        —        2.2  

Net loss

     —        (5.2     (254.9     (260.1

Settlement of tax withholdings on equity-based incentive compensation

     —        —        (0.6     (0.6

Amortization of phantom units

     —        —        2.0       2.0  
  

 

 

   

 

 

   

 

 

   

 

 

 

Balance at December 31, 2021

   $ (10.1   $ 3.8     $ (378.8   $ (385.1
  

 

 

   

 

 

   

 

 

   

 

 

 

Other comprehensive income

     1.8       —        —        1.8  

Net loss

     —        (3.5     (169.8     (173.3

Settlement of phantom units

     —        —        8.2       8.2  

Settlement of tax withholdings on equity-based incentive compensation

     —        —        (4.1     (4.1

Modification of phantom units

     —        —        13.5       13.5  

Amortization of phantom units

     —        —        5.7       5.7  
  

 

 

   

 

 

   

 

 

   

 

 

 

Balance at December 31, 2022 (As Restated)

   $ (8.3   $ 0.3     $ (525.3   $ (533.3
  

 

 

   

 

 

   

 

 

   

 

 

 

Other comprehensive income

     1.1       —        —        1.1  

Net income

     —        1.0       47.1       48.1  

Settlement of phantom units

     —        —        2.8       2.8  

Settlement of tax withholdings on equity-based incentive compensation

     —        —        (9.7     (9.7

Amortization of phantom units

     —        —        0.7       0.7  
  

 

 

   

 

 

   

 

 

   

 

 

 

Balance at December 31, 2023

   $ (7.2   $ 1.3     $ (484.4   $ (490.3
  

 

 

   

 

 

   

 

 

   

 

 

 

See accompanying notes to consolidated financial statements.

 

F-40


Table of Contents

CALUMET SPECIALTY PRODUCTS PARTNERS, L.P.

CONSOLIDATED STATEMENTS OF CASH FLOWS

 

     Year Ended December 31,  
     2023     2022     2021  
           (As Restated)        
     (In millions)  

Operating activities

      

Net income (loss)

   $ 48.1     $ (173.3   $ (260.1

Adjustments to reconcile net income (loss) to net cash provided by (used in) operating activities:

      

Depreciation and amortization

     146.8       98.3       107.7  

Amortization of turnaround costs

     36.1       23.1       17.0  

Non-cash interest expense

     5.7       17.6       10.6  

Debt extinguishment costs

     1.6       41.4       0.5  

Non-cash RINs (gain) expense

     (199.1     197.5       149.5  

Unrealized (gain) loss on derivative instruments

     (33.0     45.9       24.4  

Loss on impairment and disposal of assets

     3.5       0.7       4.1  

Equity based compensation

     14.7       17.3       50.7  

Lower of cost or market inventory adjustment

     33.2       19.4       (44.7

Other non-cash activities

     0.5       2.2       2.4  

Changes in assets and liabilities

      

Accounts receivable

     (19.2     (14.1     (91.4

Inventories

     25.1       (190.5     (27.0

Prepaid expenses and other current assets

     (25.9     (5.6     (3.7

Turnaround costs

     (47.9     (62.6     (61.0

Other assets

     (10.2     —        —   

Accounts payable

     (12.4     56.9       71.0  

Accrued interest payable

     15.3       8.4       (3.2

Accrued salaries, wages and benefits

     (17.1     9.5       17.1  

Other taxes payable

     4.0       (2.1     2.1  

Other liabilities

     15.3       10.6       (10.0
  

 

 

   

 

 

   

 

 

 

Net cash provided by (used in) operating activities

     (14.9     100.6       (44.0
  

 

 

   

 

 

   

 

 

 

Investing activities

      

Additions to property, plant and equipment

     (271.8     (536.2     (82.9

Proceeds from sale of property, plant and equipment

     —        0.2       0.1  
  

 

 

   

 

 

   

 

 

 

Net cash used in investing activities

     (271.8     (536.0     (82.8
  

 

 

   

 

 

   

 

 

 

Financing activities

      

Proceeds from borrowings—revolving credit facility

     2,185.0       1,695.1       1,122.1  

Repayments of borrowings—revolving credit facility

     (2,152.3     (1,591.1     (1,230.1

Proceeds from borrowings—MRL revolving credit agreement

     93.2       —        —   

Repayments of borrowings—MRL revolving credit agreement

     (80.2     —        —   

Proceeds from borrowings—senior notes

     325.0       325.0       —   

Repayments of borrowings—senior notes

     (121.0     (363.1     (150.0

Payments on finance lease obligations

     (1.0     (0.9     (0.6

Proceeds from inventory financing

     1,712.0       2,166.0       1,046.7  

Payments on inventory financing

     (1,753.9     (2,132.6     (999.2

Proceeds from sale of redeemable noncontrolling interest in subsidiary

     —        250.0       —   

Payments for issuance of Preferred Units

     —        (4.4     —   

Proceeds from MRL Credit Facility

     —        —        300.0  

Repayments of borrowings—MRL Credit Facility

     —        (347.3     —   

Proceeds from other financing obligations

     102.0       372.9       70.0  

Payments on other financing obligations

     (30.1     (15.6     (7.6

Debt issuance costs

     (12.5     (5.3     (12.0
  

 

 

   

 

 

   

 

 

 

Net cash provided by financing activities

     266.2       348.7       139.3  
  

 

 

   

 

 

   

 

 

 

Net increase (decrease) in cash, cash equivalents and restricted cash

     (20.5     (86.7     12.5  
  

 

 

   

 

 

   

 

 

 

Cash, cash equivalents and restricted cash at beginning of period

     35.2       121.9       109.4  
  

 

 

   

 

 

   

 

 

 

Cash, cash equivalents and restricted cash at end of period

   $ 14.7     $ 35.2     $ 121.9  
  

 

 

   

 

 

   

 

 

 

Cash and cash equivalents

   $ 7.9     $ 35.2     $ 38.1  

Restricted cash

   $ 6.8     $ —      $ 83.8  

Supplemental disclosure of cash flow information

      

Interest paid, net of capitalized interest

   $ 201.9     $ 151.4     $ 142.9  
  

 

 

   

 

 

   

 

 

 

Supplemental disclosure of non-cash investing activities

      

Non-cash property, plant and equipment additions

   $ 31.3     $ 136.9     $ 51.4  
  

 

 

   

 

 

   

 

 

 

See accompanying notes to consolidated financial statements.

 

F-41


Table of Contents

CALUMET SPECIALTY PRODUCTS PARTNERS, L.P.

NOTES TO CONSOLIDATED FINANCIAL STATEMENTS

1. Description of the Business

Calumet Specialty Products Partners, L.P. (the “Company”) is a publicly-traded Delaware limited partnership listed on the Nasdaq Global Select Market (“Nasdaq”) under the ticker symbol “CLMT.” The general partner of the Company is Calumet GP, LLC, a Delaware limited liability company. As of December 31, 2023, the Company had 79,967,363 limited partner common units and 1,631,987 general partner equivalent units outstanding. The general partner owns 2% of the Company and all of the incentive distribution rights (as defined in the Company’s partnership agreement, “IDRs”), while the remaining 98% is owned by limited partners.

The Company manufactures, formulates, and markets a diversified slate of specialty branded products and renewable fuels to customers across a broad range of consumer-facing and industrial markets. Calumet is headquartered in Indianapolis, Indiana and operates twelve facilities throughout North America.

2. Summary of Significant Accounting Policies

Consolidation

The consolidated financial statements and related notes reflect the accounts of the Company, its wholly-owned subsidiaries, and its majority-owned subsidiaries. All intercompany profits, transactions and balances have been eliminated.

Reclassifications

Certain amounts in the prior years’ consolidated financial statements have been reclassified to conform to the current year presentation.

Use of Estimates

The Company’s consolidated financial statements are prepared in conformity with U.S. generally accepted accounting principles (“GAAP”) which require management to make estimates and assumptions that affect the reported amounts of assets and liabilities and disclosure of contingent assets and liabilities at the date of the consolidated financial statements and the reported amounts of revenues and expenses during the reporting period. Actual results could differ from those estimates.

Cash, Cash Equivalents and Restricted Cash

Cash, cash equivalents and restricted cash include all highly liquid investments with a maturity of three months or less at the time of purchase.

Restricted cash as of December 31, 2023 represents cash that is legally restricted under the MRL Term Loan Credit Agreement, and it is included in prepaid expenses and other current assets in the consolidated balance sheets. Restricted cash as of December 31, 2021 represents cash that was legally restricted under the MRL Credit Facility because it was only available for capital additions related to the renewable diesel project.

Accounts Receivable

The Company performs periodic credit evaluations of customers’ financial condition and generally does not require collateral. Accounts receivable are carried at their face amounts. The Company maintains an allowance for credit losses for estimated losses in the collection of accounts receivable. The Company makes estimates regarding the future ability of its customers to make required payments based on historical experience, the age of the accounts receivable balances, credit quality of its customers, current economic conditions, expected future trends and other factors that may affect customers’ ability to pay. Individual accounts are written off against the allowance for credit losses after all reasonable collection efforts have been exhausted.

 

F-42


Table of Contents

The activity in the allowance for credit losses was as follows (in millions):

 

     December 31,  
     2023      2022      2021  

Beginning balance

   $ 1.3      $ 2.0      $ 0.8  

Provision

     (0.1      (0.7      1.2  

Write-offs, net

     —         —         —   
  

 

 

    

 

 

    

 

 

 

Ending balance

   $ 1.2      $ 1.3      $ 2.0  
  

 

 

    

 

 

    

 

 

 

Inventories

The cost of inventory is recorded using the last-in, first-out (“LIFO”) method. Costs include crude oil and other feedstocks, labor, processing costs and refining overhead costs. Inventories are valued at the lower of cost or market value. The replacement cost of these inventories, based on current market values, would have been $67.8 million and $99.9 million higher than the carrying value of inventory as of December 31, 2023 and 2022, respectively.

For the years ended December 31, 2023 and 2022, the Company sold inventory comprised of crude oil, refined products and renewable feedstocks under Supply and Offtake Agreements as described in Note 7—“Inventory Financing Agreements” related to the Great Falls, Shreveport and Montana Renewables facilities.

Inventories consist of the following (in millions):

 

     December 31, 2023      December 31, 2022 (As Restated)  
     Titled
Inventory
     Supply and
Offtake
Agreements (1)
     Total      Titled
Inventory
     Supply and
Offtake
Agreements (1)
     Total  

Raw materials

   $ 61.6      $ 27.6      $ 89.2      $ 99.3      $ 22.5      $ 121.8  

Work in process

     72.3        36.7        109.0        62.5        95.7        158.2  

Finished goods

     162.1        79.1        241.2        137.3        80.4        217.7  
  

 

 

    

 

 

    

 

 

    

 

 

    

 

 

    

 

 

 
   $ 296.0      $ 143.4      $ 439.4      $ 299.1      $ 198.6      $ 497.7  
  

 

 

    

 

 

    

 

 

    

 

 

    

 

 

    

 

 

 

 

(1) 

Amounts represent LIFO value and do not necessarily represent the value at which the inventory was sold. Please read Note 7—“Inventory Financing Agreements” for further information.

Under the LIFO inventory method, the most recently incurred costs are charged to cost of sales and inventories are valued at the earliest acquisition costs, resulting in a better matching of costs and revenues. For the year ended December 31, 2023, the Company recorded an increase (exclusive of lower of cost or market (“LCM”) adjustments) of $2.4 million in cost of sales in the consolidated statements of operations due to the liquidation of inventory layers. For the years ended December 31, 2022 and 2021, the Company recorded decreases (exclusive of LCM adjustments) of $12.8 million and $5.6 million, respectively, in cost of sales in the consolidated statements of operations due to the liquidation of inventory layers.

In addition, the use of the LIFO inventory method may result in increases or decreases to cost of sales in years that inventory volumes decline as the result of charging cost of sales with LIFO inventory costs generated in prior periods. In periods of rapidly declining prices, LIFO inventories may have to be written down to market value due to the higher costs assigned to LIFO layers in prior periods. During the years ended December 31, 2023 and 2022, the Company recorded an increase in cost of sales in the consolidated financial statements of operations of $33.2 million and $19.4 million, respectively, substantially all of which was the result of declining market prices for renewable feedstocks at our Montana Renewables facility. During the year ended December 31, 2021, the Company recorded a decrease in cost of sales in the consolidated statements of operations of $44.7 million due to the sale of inventory previously adjusted through the LCM valuation.

 

F-43


Table of Contents

Derivatives

The Company is exposed to fluctuations in the price of numerous commodities, such as crude oil (its principal raw material), as well as the sales prices of gasoline, diesel, natural gas and jet fuel. Given the historical volatility of commodity prices, these fluctuations can significantly impact sales, gross profit and net income. Therefore, the Company utilizes derivative instruments primarily to minimize its price risk and volatility of cash flows associated with the purchase of crude oil, natural gas, and the sale of fuel products. The Company employs various hedging strategies and does not hold or issue derivative instruments for trading purposes. For further information, please read Note 9—“Derivatives.”

On a regular basis, the Company enters into commodity contracts with counterparties for the purchase or sale of crude oil, blendstocks and various finished products. These contracts usually qualify for the normal purchase / normal sale exemption under ASC 815 and, as such, are not measured at fair value.

Property, Plant and Equipment

Property, plant and equipment are stated on the basis of cost. Depreciation is calculated using the straight-line method over the estimated useful lives. Assets under finance leases are amortized over the lesser of the useful life of the asset or the term of the lease.

Property, plant and equipment, including depreciable lives, consisted of the following (in millions):

 

     December 31,  
     2023      2022  

Land

   $ 8.9      $ 8.9  

Buildings and improvements (10 to 40 years)

     40.4        35.6  

Machinery and equipment (10 to 20 years)

     2,460.0        2,153.7  

Furniture, fixtures and software (5 to 10 years)

     47.1        48.7  

Assets under finance leases (1 to 14 years) (1)

     7.4        6.9  

Construction-in-progress

     39.5        222.5  
  

 

 

    

 

 

 
     2,603.3        2,476.3  
  

 

 

    

 

 

 

Less accumulated depreciation

     (1,097.0      (994.3
  

 

 

    

 

 

 
   $ 1,506.3      $ 1,482.0  
  

 

 

    

 

 

 

 

(1) 

Assets under finance leases consist of buildings and machinery and equipment. As of December 31, 2023 and 2022, finance lease assets are recorded net of accumulated amortization of $5.0 million and $4.1 million, respectively.

Under the composite depreciation method, the cost of partial retirements of a group is charged to accumulated depreciation. However, when there are dispositions of complete groups or significant portions of groups, the cost and related accumulated depreciation are retired, and any gain or loss is reflected in earnings.

During 2023, 2022 and 2021, the Company incurred $225.1 million, $194.5 million and $151.1 million, respectively, of interest expense of which $3.4 million, $18.6 million and $1.6 million, respectively, was capitalized as a component of property, plant and equipment.

The Company periodically assesses its operations and legal requirements to determine if recognition of an asset retirement obligation is necessary. The Company has not recorded an asset retirement obligation as of December 31, 2023 or 2022 given the timing of any retirement and related costs are currently indeterminable.

 

F-44


Table of Contents

During the years ended December 31, 2023, 2022 and 2021, the Company recorded $138.6 million, $88.7 million and $95.9 million, respectively, of depreciation expense on its property, plant and equipment. Depreciation expense included $0.9 million, $0.7 million and $0.7 million for the years ended 2023, 2022 and 2021, respectively, related to the Company’s finance lease assets.

The Company capitalizes the cost of computer software developed or obtained for internal use. Capitalized software is amortized using the straight-line method over five years. As of December 31, 2023 and 2022, the Company had $41.9 million and $43.5 million, respectively, of capitalized software costs. As of December 31, 2023 and 2022, the Company had $40.5 million and $41.4 million, respectively, of accumulated depreciation related to the capitalized software costs. During the years ended December 31, 2023, 2022 and 2021, the Company recorded $0.7 million, $5.4 million and $7.8 million, respectively, of amortization expense on capitalized computer software.

Goodwill

Goodwill represents the excess of purchase price over fair value of the net assets acquired in various acquisitions. Please read Note 5—“Goodwill and Other Intangible Assets” for more information. The Company assesses goodwill for impairment annually and whenever events or changes in circumstances indicate its carrying value may not be recoverable in accordance with ASC 350, Intangibles—Goodwill and Other (Topic 350) and ASU 2017-04, Intangibles-Goodwill and Other (Topic 350): Simplifying the Test for Goodwill Impairment. Under ASC 350, an entity has the option to first assess qualitative factors to determine whether the existence of events or circumstances leads to a determination that it is more likely than not that the fair value of a reporting unit is less than its carrying amount. If, after assessing the totality of events or circumstances, an entity determines it is not more likely than not that the fair value of a reporting unit is less than its carrying amount, then performing the impairment test is unnecessary. The Company tests goodwill either quantitatively or qualitatively for impairment. The Company assessed goodwill for impairment qualitatively for the year ended December 31, 2023 and qualitatively and quantitatively for the year ended December 31, 2022.

In assessing the qualitative factors to determine whether it is more likely than not that the fair value of a reporting unit is less than its carrying amount, the Company assesses relevant events and circumstances that may impact the fair value and the carrying amount of the reporting unit. The identification of relevant events and circumstances and how these may impact a reporting unit’s fair value or carrying amount involve significant judgment and assumptions. The judgment and assumptions include the identification of macroeconomic conditions, industry and market considerations, cost factors, overall financial performance and Company specific events and making the assessment on whether each relevant factor will impact the impairment test positively or negatively and the magnitude of any such impact.

In the first step of the quantitative assessment, the Company’s assets and liabilities, including existing goodwill and other intangible assets, are assigned to the identified reporting units to determine the carrying value of the reporting units. Under ASU 2017-04, goodwill impairment testing is done by comparing the fair value of the reporting unit to its carrying value. If the carrying amount exceeds the fair value, the Company would recognize an impairment charge for the amount that the reporting unit’s carrying value exceeds the fair value, not to exceed the total amount of goodwill allocated to that reporting unit.

When performing the quantitative assessment, the fair value of the reporting units is determined using the income approach. The income approach focuses on the income-producing capability of the reporting unit, measuring the current value of the reporting unit by calculating the present value of its future economic benefits such as cash earnings, cost savings, corporate tax structure and product offerings. Value indications are developed by discounting expected cash flows to their present value at a rate of return that incorporates the risk-free rate for the use of funds, the expected rate of inflation, and risks associated with the reporting unit. For more information, please read Note 5—“Goodwill and Other Intangible Assets.”

 

F-45


Table of Contents

Finite-Lived Intangible Assets

Finite-lived intangible assets consist of intangible assets associated with customer relationships, tradenames, trade secrets, patents and royalty agreements that were acquired in various acquisitions. The majority of these assets are being amortized using undiscounted estimated future cash flows over the term of the related agreements. Intangible assets associated with customer relationships are being amortized using the undiscounted estimated future cash flows method based upon assumed rates of annual customer attrition. For more information, please read Note 5—“Goodwill and Other Intangible Assets.”

Other Noncurrent Assets

Other noncurrent assets include turnaround costs. Turnaround costs represent capitalized costs associated with the Company’s periodic major maintenance and repairs and the net carrying value of turnaround costs included in other noncurrent assets in the consolidated balance sheets were $129.3 million and $119.7 million as of December 31, 2023 and 2022, respectively. The Company capitalizes these costs and amortizes the costs on a straight-line basis over the lives of the turnaround assets which is generally two to five years. These amounts are net of accumulated amortization of $68.9 million and $54.0 million at December 31, 2023 and 2022, respectively.

Renewable Identification Numbers (“RINs”) Obligation

The Company’s RINs volume obligation (“RVO” or “RINs Obligation”) is an estimated provision if future purchase of RINs were to be required in order to satisfy the U.S. Environmental Protection Agency’s (“EPA”) requirement to blend renewable fuels into certain transportation fuel products pursuant to the Renewable Fuel Standard (“RFS”) of the Clean Air Act (“CAA”). The Company has historically not been obligated to make these purchases. A RIN is a 38-character number assigned to each physical gallon of renewable fuel produced in or imported into the United States. The EPA sets annual volume obligations for the percentage of renewable fuels that must be blended into transportation fuels consumed in the U.S. Compliance is demonstrated by tendering RINs to the EPA documenting that blending has been accomplished or by obtaining a Small Refinery Exemption as provided in the Clean Air Act. Prior to 2018, the Company historically received the Small Refinery Exemption after qualifying on the merits. The Company’s petitions for the Small Refinery Exemption for compliance years 2018-2022 ultimately were denied by the EPA. EPA’s denials of those petitions is subject to litigation, as described below. Future exemptions are the subject of future annual applications. The RIN obligation is a non-financial instrument representing a quantity that cannot be settled financially.

The Company accounts for its current period RVO by multiplying the quantity of RINs shortage (based on actual results) by the period end RINs spot price, which is recorded as both a current and long-term liability in the consolidated balance sheets. These liabilities are revalued at the end of each subsequent accounting period, which produce non-cash mark-to-market adjustments that are reflected in cost of sales in the consolidated statements of operations (with the exception of RINs for compliance year 2019 related to the San Antonio refinery, which amount is reflected in other operating expense in the consolidated statements of operations). RINs generated by blending may be sold or held to offset future RVO. Any gains or losses from RINs sales are recorded in cost of sales in the consolidated statements of operations.

The RFS provision of the CAA allows small refineries to apply at any time for a Small Refinery Exemption (“SRE”) from the renewable blending requirements, and we have applied in respect of compliance years 2019, 2020, 2021, 2022 and 2023.

2018 RVO. In April 2022, EPA issued new decisions denying 36 petitions from small refineries seeking SREs for program year 2018 that had been remanded by the U.S. Court of Appeals for the D.C. Circuit to EPA. EPA had previously granted 31 of these 36 petitions in August 2019, including petitions from the Company. Concurrent with the April 2022 denial action, EPA provided an alternate compliance approach to allow these 31

 

F-46


Table of Contents

small refineries to meet their 2018 compliance obligations without purchasing or redeeming additional RINs. In April 2022, the Company filed a petition for review of EPA’s denial of the 2018 SRE petition for the Shreveport refinery in the U.S. Court of Appeals for the Fifth Circuit. In June 2022, the Company filed a petition for review of EPA’s denial of the 2018 SRE petition for the Montana refinery in the U.S. Court of Appeals for the Ninth Circuit and filed a protective petition for review in the U.S. Court of Appeals for the D.C. Circuit challenging the EPA’s denials of both the Shreveport and Montana refineries’ petitions. Upon a motion made by EPA, the Ninth Circuit dismissed the Company’s appeal of the denial of the Montana refinery’s 2018 SRE petition for improper venue in favor of the D.C. Circuit appeal. EPA filed a similar motion to dismiss or transfer in the Fifth Circuit; however, the Fifth Circuit denied EPA’s motion and ordered the merits panel to consider both the merits of the appeal and the venue question raised by EPA. These 2018 RVO appeals were consolidated with the 2019-2020 RVO appeals described below.

2019-2020 RVO. In June 2022, EPA issued final decisions denying 69 pending petitions from small refineries seeking SREs for compliance years 2016 to 2021, including petitions submitted by the Company seeking exemptions for program years 2019 and 2020, based on an across-the-board determination that no small refinery suffers disproportionate economic hardship from the RFS program, a contention which was subsequently rejected by the Government Accountability Office. In September 2022, EPA finalized an alternative RIN retirement schedule for small refineries. The alternative RIN retirement schedule allows the use of RINs generated in post-2020 compliance years to meet the 2020 RFS obligations. The Company’s small refineries are eligible to use this alternative schedule. In August 2022, the Company filed a petition for review of EPA’s denial of the 2019 and 2020 SRE petitions for the Shreveport refinery in the U.S. Court of Appeals for the Fifth Circuit, and a petition for review of EPA’s denial of the 2019 and 2020 SRE petitions for the Montana refinery in the U.S. Court of Appeals for the Ninth Circuit. The Company again filed a protective petition for review in the U.S. Court of Appeals for the D.C. Circuit challenging both of the EPA’s denials. These appeals have been consolidated with the applicable program year 2018 appeals. Upon a motion made by EPA, the Ninth Circuit transferred the Company’s Montana appeal, which is now pending in the D.C. Circuit. The Fifth Circuit denied EPA’s request to dismiss or transfer the appeal, ruling that merits panel will also consider EPA’s argument that the Shreveport refinery appeals should be transferred to the D.C. Circuit. The Company filed motions in both appeals asking the circuit courts to stay the Company’s 2019 and 2020 RFS obligations while the merits appeals are pending. In January 2023, the Fifth Circuit granted the Company’s motion for stay relating to the Shreveport refinery, and in March 2023, the D.C. Circuit granted the Company’s motion for stay relating to the Montana refinery. The stays granted by each of the respective circuits hold that the Company is likely to be successful on the merits of its appeals. In November 2023, the Fifth Circuit issued its decision and found that venue for the appeal is proper in the Fifth Circuit and that EPA’s denial of the Shreveport refinery’s petitions for program years 2018-2020 was improper. The Fifth Circuit vacated the EPA’s denials of those petitions and remanded the petitions to EPA.

2021-2022 RVO. In October 2022, Calumet applied for SREs for 2021 and 2022 compliance years. In April 2023, the Company filed for injunctive relief in both the District Court of Montana and the Western District Court of Louisiana to force EPA to make a decision on the Montana and Shreveport refineries’ joint 2021 and 2022 SRE applications. In July 2023, EPA issued final decisions denying 26 pending petitions from small refineries seeking SREs for compliance years 2016 to 2023, including petitions submitted by the Company seeking exemptions for program years 2021 and 2022, based on the same approach and analysis described in the June 2022 denials. EPA’s denial decision renders the district court actions moot, and the Company voluntarily dismissed those actions. The Company then filed appeals of the denials with the Fifth Circuit and D.C. Circuit. In September 2023, the Fifth Circuit granted the Company’s motion for stay relating to the Shreveport refinery for its appeal of the denial for program years 2021 and 2022, and in October 2023, the D.C. Circuit granted the Company’s motion for stay relating to the Montana refinery’s appeal of the denial for program years 2021 and 2022. The Company’s appeals of the denial of the Shreveport and Great Falls refinery petitions for program years 2021 and 2022 remain pending in the Fifth Circuit and D.C. Circuit, respectively.

Expenses related to RFS compliance have the potential to remain a significant expense for the Specialty Products and Solutions and Montana/Renewables segments. If legal or regulatory changes occur that have the

 

F-47


Table of Contents

effect of increasing the RINs Obligation, increasing the market price of RINs, or eliminating or narrowing the availability of SREs, the Company could be required to purchase additional RINs in the open market, which may materially increase the costs related to RFS compliance and could have a material adverse effect on the results of operations and liquidity.

As of December 31, 2023 and 2022, as restated, the Company had a RINs Obligation recorded on the consolidated balance sheets of $277.3 million and $476.4 million, respectively.

Impairment of Long-Lived Assets

The Company periodically evaluates the carrying value of long-lived assets to be held and used, including finite-lived intangible assets, when events or circumstances warrant such a review. The carrying value of a long-lived asset to be held and used is considered impaired when the anticipated separately identifiable undiscounted cash flows from such an asset are less than the carrying value of the asset. In such an event, a write-down of the asset would be recorded through a charge to operations, based on the amount by which the carrying value exceeds the fair value of the long-lived asset. Fair value is determined primarily using anticipated cash flows assumed by a market participant discounted at a rate commensurate with the risk involved. Long-lived assets to be disposed of other than by sale are considered held and used until disposal.

During the years ended December 31, 2023 and 2022, the Company did not identify any impairment indicators that suggested the carrying values of its long-lived assets are not recoverable at the asset groups within the Specialty Products and Solutions, Montana/Renewables, Performance Brands and Corporate segments. As a result of the long-lived asset impairment assessment performed, no impairment charges were recorded for the years ended December 31, 2023, 2022 and 2021.

Revenue Recognition

The Company recognizes revenue in accordance with ASC 606, Revenue Recognition, which states that revenue is recognized when control of the promised goods are transferred to the customer, in an amount that reflects the consideration to which the Company expects to be entitled in exchange for those goods. Please read Note 3—“Revenue Recognition” for additional information on our revenue recognition accounting policies and elections.

Revenues associated with transactions commonly called buy/sell contracts, in which the purchase and sale of inventory with the same counterparty are entered into “in contemplation” of one another, are combined and reported as a net purchase in cost of sales in the consolidated statements of operations.

Concentrations of Credit Risk

The Company performs periodic credit evaluations of its customers’ financial condition and in some instances requires cash in advance or letters of credit prior to shipment for domestic orders. For international orders, letters of credit are generally required, and the Company maintains insurance policies which cover certain export orders. The Company maintains an allowance for credit losses for estimated losses resulting from the inability of its customers to make required payments. The allowance for credit losses is developed based on several factors including historical experience, the age of the accounts receivable balances, credit quality of the Company’s customers, current economic conditions, expected future trends and other factors that may affect customers’ ability to pay, which exist as of the balance sheet dates. If the financial condition of the Company’s customers were to deteriorate, resulting in an impairment of their ability to make payments, additional allowances may be required. The Company has derivative positions with a limited number of counterparties. The evaluation of these counterparties is performed quarterly in connection with the Company’s ASC 820-10, Fair Value Measurements and Disclosures, valuations to determine the impact of the counterparty credit risk on the valuation of its derivative instruments.

 

F-48


Table of Contents

Earnings per Unit

The Company calculates earnings per unit under ASC 260-10, Earnings per Share. The Company treats incentive distribution rights (“IDRs”) as participating securities for the purposes of computing earnings per unit in the period that the general partner becomes contractually entitled to receive IDRs. Also, the undistributed earnings are allocated to the partnership interests based on the allocation of earnings to the Company’s partners’ capital accounts as specified in the Company’s partnership agreement.

Unit-Based Compensation

For unit-based compensation equity awards, compensation expense is recognized in the Company’s consolidated financial statements on a straight-line basis over the awards’ vesting periods based on their fair values on the dates of grant. The unit-based compensation awards vest over a period not exceeding four years. The amount of compensation expense recognized at any date is at least equal to the portion of the grant date value of the award that is vested at that date. For more information, please read Note 12—“Unit-Based Compensation.”

Unit-based compensation liability awards are awards that are currently expected to be settled in cash on their vesting dates rather than in units (“Liability Awards”). Liability Awards are recorded in accrued salaries, wages and benefits based on the vested portion of the fair value of the awards on the balance sheet date. The fair value of Liability Awards is updated at each balance sheet date and changes in the fair value of the vested portions of the Liability Awards are recorded as increases or decreases to compensation expense. The Company recognizes forfeitures as they occur. Please read Note 12—“Unit-Based Compensation” for more information on Liability Awards.

Advertising Expenses

The Company expenses advertising costs as incurred which totaled $10.6 million, $9.1 million and $7.4 million for the years ended December 31, 2023, 2022, and 2021, respectively. Advertising expenses are reported as selling expenses in the consolidated statements of operations.

3. Revenue Recognition

The following is a description of principal activities from which the Company generates revenue. Revenues are recognized when control of the promised goods are transferred to the customer, in an amount that reflects the consideration to which the Company expects to be entitled in exchange for those goods. To determine revenue recognition for arrangements that an entity determines are within the scope of ASC 606, the Company performs the following five steps: (i) identify the contract(s) with a customer; (ii) identify the performance obligations in the contract; (iii) determine the transaction price; (iv) allocate the transaction price to the performance obligations in the contract; and (v) recognize revenue when (or as) the entity satisfies a performance obligation. At contract inception, once the contract is determined to be within the scope of ASC 606, the Company assesses the goods promised within each contract and determines the performance obligations and assesses whether each promised good is distinct. The Company then recognizes as revenue the amount of the transaction price that is allocated to the respective performance obligation when (or as) the performance obligation is satisfied.

Products

The Company manufactures, formulates, and markets a diversified slate of specialty branded products to customers in various consumer-facing and industrial markets. In addition, the Company produces fuel and fuel related products, including gasoline, diesel, jet fuel, asphalt, and other fuels products. At our Montana Renewables facility, we process a variety of geographically advantaged renewable feedstocks into renewable fuels, including: renewable diesel, sustainable aviation fuel, renewable hydrogen, renewable natural gas,

 

F-49


Table of Contents

renewable propane, and renewable naphtha. These renewable fuels are distributed into renewable markets in the western half of North America. The Company also blends, packages and markets high-performance branded specialty products through its Royal Purple, Bel-Ray, and TruFuel brands.

The Company considers customer purchase orders, which in some cases are governed by master sales agreements, to be the contracts with a customer. For each contract, the Company considers the promise to transfer products, each of which are distinct, to be the identified performance obligations. In determining the transaction price, the Company evaluates whether the price is subject to variable consideration such as product returns, rebates or other discounts to determine the net consideration to which the Company expects to be entitled. The Company transfers control and recognizes revenue upon shipment to the customer or, in certain cases, upon receipt by the customer in accordance with contractual terms.

Revenue is recognized when obligations under the terms of a contract with a customer are satisfied and control of the promised goods are transferred to the customer. The contract with the customer states the final terms of the sale, including the description, quantity and price of each product or service purchased. For fuel products, payment is typically due in full between 2 to 30 days of delivery or the start of the contract term, such that payment is typically collected 2 to 30 days subsequent to the satisfaction of performance obligations. For renewable fuel products, payment is typically due in full between 7 to 14 days of delivery or the start of the contract term, such that payment is typically collected 7 to 14 days subsequent to the satisfaction of performance obligations. For specialty products, payment is typically due in full between 30 to 90 days of delivery or the start of the contract term, such that payment is typically collected 30 to 90 days subsequent to the satisfaction of performance obligations. In the normal course of business, the Company does not accept product returns unless the item is defective as manufactured. The expected costs associated with a product assurance warranty continues to be recognized as expense when products are sold. The Company does not offer promised services that could be considered warranties that are sold separately or provide a service in addition to assurance that the related product complies with agreed upon specifications. The Company establishes provisions based on the methods described in ASC 606 for estimated returns and warranties as variable consideration when determining the transaction price.

Excise and Sales Taxes

The Company assesses, collects and remits excise taxes associated with the sale of certain of its fuel products. Furthermore, the Company collects and remits sales taxes associated with certain sales of its products to non-exempt customers. The Company excludes excise taxes and sales taxes that are collected from customers from the transaction price in its contracts with customers. Accordingly, revenue from contracts with customers is net of sales-based taxes that are collected from customers and remitted to taxing authorities.

Shipping and Handling Costs

Shipping and handling costs are deemed to be fulfillment activities rather than a separate distinct performance obligation.

Cost of Obtaining Contracts

The Company may incur incremental costs to obtain a sales contract, which under ASC 606 should be capitalized and amortized over the life of the contract. The Company has elected to apply the practical expedient in ASC 340-40-50-5 allowing the Company to expense these costs since the contracts are short-term in nature with a contract term of one year or less.

Contract Balances

Under product sales contracts, the Company invoices customers for performance obligations that have been satisfied, at which point payment is unconditional. Accordingly, a product sales contract does not give rise to

 

F-50


Table of Contents

contract assets or liabilities under ASC 606. The Company’s receivables, net of allowance for expected credit losses from contracts with customers as of December 31, 2023 and 2022, as restated, was $252.4 million and $244.7 million, respectively.

Transaction Price Allocated to Remaining Performance Obligations

The Company’s product sales are short-term in nature with a contract term of one year or less. The Company has utilized the practical expedient in ASC 606-10-50-14 exempting the Company from disclosure of the transaction price allocated to remaining performance obligations if the performance obligation is part of a contract that has an original expected duration of one year or less. Additionally, each unit of product generally represents a separate performance obligation; therefore, future volumes are wholly unsatisfied and disclosure of the transaction price allocated to remaining performance obligations is not required.

4. Leases

The Company has various operating and finance leases primarily for the use of land, storage tanks, railcars, equipment, precious metals and office facilities that have remaining lease terms of greater than one year to sixteen years, some of which include options to extend the lease for up to 32 years, and some of which include options to terminate the lease within one year.

Supplemental balance sheet information related to the Company’s leases for the periods presented were as follows (in millions):

 

Assets:

  

Classification:

   December 31,
2023
     December 31,
2022
 

Operating lease assets

   Other noncurrent assets, net    $ 114.4      $ 107.5  

Finance lease assets

   Property, plant and equipment, net (1)      2.4        2.8  
     

 

 

    

 

 

 

Total leased assets

      $ 116.8      $ 110.3  
     

 

 

    

 

 

 

Liabilities:

        

Current

        

Operating

   Other current liabilities    $ 75.6      $ 70.7  

Finance

   Current portion of long-term debt      1.1        0.9  

Non-current

        

Operating

   Other long-term liabilities      39.0        37.1  

Finance

   Long-term debt, less current portion      1.9        2.5  
     

 

 

    

 

 

 

Total lease liabilities

      $ 117.6      $ 111.2  
     

 

 

    

 

 

 

 

(1) 

As of December 31, 2023 and 2022, finance lease assets are recorded net of accumulated amortization of $5.0 million and $4.1 million, respectively.

 

F-51


Table of Contents

Lease expense for lease payments is recognized on a straight-line basis over the lease term. The components of lease expense related to the Company’s leases for the periods presented were as follows (in millions):

 

          December 31,  

Lease Costs:

  

Classification:

   2023      2022      2021  

Fixed operating lease cost

   Cost of Sales; SG&A Expenses    $ 75.6      $ 75.4      $ 51.5  

Short-term operating lease cost (1)

   Cost of Sales; SG&A Expenses      9.5        8.2        7.8  

Variable operating lease cost (2)

   Cost of Sales; SG&A Expenses      3.6        19.2        13.8  

Finance lease cost:

           

Amortization of finance lease assets

   Cost of Sales      0.9        0.7        0.7  

Interest on lease liabilities

   Interest expense      0.2        1.3        0.4  
     

 

 

    

 

 

    

 

 

 

Total lease cost

      $ 89.8      $ 104.8      $ 74.2  
     

 

 

    

 

 

    

 

 

 

 

(1) 

The Company’s leases with an initial term of 12 months or less are not recorded on the consolidated balance sheets.

(2) 

The Company’s railcar leases typically include a mileage limit the railcar can travel over the life of the lease. For any mileage incurred over this limit, the Company is obligated to pay an agreed upon dollar value for each mile that is traveled over the limit.

Operating lease expense included in the consolidated statements of operations was $88.7 million, $102.8 million and $73.1 million for the years ended December 31, 2023, 2022 and 2021, respectively. Cash paid related to operating lease obligations approximated lease expense for 2023, 2022 and 2021, respectively.

As of December 31, 2023, the Company had estimated minimum commitments for the payment of rentals under leases which, at inception, had a noncancelable term of more than one year, as follows (in millions):

 

Maturity of Lease Liabilities

   Operating
Leases (1)
     Finance
Leases (2)
     Total  

2024

   $ 81.8      $ 1.2      $ 83.0  

2025

     18.8        0.9        19.7  

2026

     9.8        0.8        10.6  

2027

     7.1        0.3        7.4  

2028

     4.3        0.1        4.4  

Thereafter

     4.9        —         4.9  
  

 

 

    

 

 

    

 

 

 

Total

   $ 126.7      $ 3.3      $ 130.0  
  

 

 

    

 

 

    

 

 

 

Less: Interest

     12.1        0.3        12.4  
  

 

 

    

 

 

    

 

 

 

Present value of lease liabilities

   $ 114.6      $ 3.0      $ 117.6  
  

 

 

    

 

 

    

 

 

 

Less obligations due within one year

     75.6        1.1        76.7  
  

 

 

    

 

 

    

 

 

 

Long-term lease obligation

   $ 39.0      $ 1.9      $ 40.9  
  

 

 

    

 

 

    

 

 

 

 

(1) 

As of December 31, 2023, the Company’s operating lease payments included no material options to extend lease terms that are reasonably certain of being exercised. The Company has no legally binding minimum lease payments for leases signed but not yet commenced as of December 31, 2023.

(2) 

As of December 31, 2023, the Company’s finance lease payments included no material options to extend lease terms that are reasonably certain of being exercised. In addition, the Company has no legally binding minimum lease payments for leases that have been signed but not yet commenced as of December 31, 2023.

 

F-52


Table of Contents

Weighted-Average Lease Term and Discount Rate

The weighted-average remaining lease term and weighted-average discount rate for the Company’s operating and finance leases for the periods presented were as follows:

 

Lease Term and Discount Rate:

   December 31,
2023
    December 31,
2022
 

Weighted-average remaining lease term (years):

    

Operating leases

     2.6       2.7  

Finance leases

     3.1       3.9  

Weighted-average discount rate:

    

Operating leases

     8.6     6.9

Finance leases

     7.3     7.1

5. Goodwill and Other Intangible Assets

For the years ended December 31, 2023 and 2022, the Company performed its annual goodwill assessment for each of the years then ended, and determined that the fair value of each of its reporting units with goodwill exceeded its carrying value. Thus, no impairment charge for goodwill related to the Specialty Products and Solutions segment or Performance Brands segment was recorded in the consolidated statements of operations for the years ended December 31, 2023 and 2022, respectively. There is no goodwill within the reporting units for the Montana/Renewables segment or the Corporate segment.

Inputs used to estimate the fair value of the Company’s reporting units are considered Level 3 inputs of the fair value hierarchy and include the following:

 

   

The Company’s financial projections for its reporting units are based on its analysis of various supply and demand factors which include, among other things, industry-wide capacity, its planned utilization rate, end-user demand, crack spreads, capital expenditures and economic conditions. Such estimates are consistent with those used in the Company’s planning and capital investment reviews and include recent historical prices and published forward prices.

 

   

The discount rate used to measure the present value of the projected future cash flows is based on a variety of factors, including market and economic conditions, operational risk, regulatory risk and political risk. This discount rate is also compared to recent observable market transactions, if possible.

For Level 3 measurements, significant increases or decreases in long-term growth rates or discount rates in isolation or in combination could result in a significantly lower or higher fair value measurement.

Changes in goodwill balances for the periods indicated below are as follows (in millions):

 

     Specialty
Products and
Solutions
     Performance
Brands
     Consolidated
Total
 

Net balance as of December 31, 2021

   $ 49.3      $ 123.7      $ 173.0  

Additions

     —         —         —   

Impairment (1)

     —         —         —   
  

 

 

    

 

 

    

 

 

 

Net balance as of December 31, 2022

   $ 49.3      $ 123.7      $ 173.0  
  

 

 

    

 

 

    

 

 

 

Additions

     —         —         —   

Impairment (1)

     —         —         —   
  

 

 

    

 

 

    

 

 

 

Net balance as of December 31, 2023

   $ 49.3      $ 123.7      $ 173.0  
  

 

 

    

 

 

    

 

 

 

 

(1)

Total accumulated goodwill impairment as of December 31, 2023 and 2022, is $35.5 million.

 

F-53


Table of Contents

Other intangible assets consist of the following (in millions):

 

     Weighted
Average
Life
(Years)
     December 31, 2023     December 31, 2022  
     Gross
Amount
     Accumulated
Amortization
    Gross
Amount
     Accumulated
Amortization
 

Customer relationships

     21      $ 181.8      $ (158.8   $ 181.8      $ (153.6

Tradenames

     10        26.8        (24.9     26.8        (23.7

Trade secrets

     12        52.9        (51.2     52.9        (50.1

Patents

     11        1.6        (1.6     1.6        (1.6

Royalty agreements

     19        6.1        (4.2     6.1        (3.9
  

 

 

    

 

 

    

 

 

   

 

 

    

 

 

 
     18      $269.2      $(240.7)     $269.2      $(232.9)  
  

 

 

    

 

 

    

 

 

   

 

 

    

 

 

 

Tradenames, trade secrets, patents and royalty agreements are being amortized to properly match expenses with the undiscounted estimated future cash flows over the terms of the related agreements or the period expected to be benefited. The costs of agreements with terms allowing for the potential extension of such agreements are being amortized based on the initial term only. Customer relationships are being amortized to properly match expenses with the undiscounted estimated future cash flows based upon assumed rates of annual customer attrition. For the years ended December 31, 2023, 2022 and 2021, the Company recorded amortization expense of intangible assets of $7.8 million, $9.5 million and $11.8 million, respectively.

As of December 31, 2023, the Company estimates that amortization of intangible assets for the next five years will be as follows (in millions):

 

Year

   Amortization
Amount
 

2024

   $ 6.5  

2025

   $ 4.9  

2026

   $ 3.8  

2027

   $ 3.2  

2028

   $ 2.3  

6. Commitments and Contingencies

Contingencies

From time to time, the Company is a party to certain claims and litigation incidental to its business, including claims made by various taxation and regulatory authorities, such as the Internal Revenue Service, the EPA and the U.S. Occupational Safety and Health Administration (“OSHA”), as well as various state environmental regulatory bodies and state and local departments of revenue, as the result of audits or reviews of the Company’s business. In addition, the Company has property, business interruption, general liability and various other insurance policies that may result in certain losses or expenditures being reimbursed to the Company.

Environmental

The Company conducts crude oil and specialty refining, blending and terminal operations and such activities are subject to stringent federal, regional, state and local laws and regulations governing worker health and safety, the discharge of materials into the environment and environmental protection. These laws and regulations impose obligations that are applicable to the Company’s operations, such as requiring the acquisition of permits to conduct regulated activities, restricting the manner in which the Company may release materials into the environment, requiring remedial activities or capital expenditures to mitigate pollution from former or current operations, requiring the application of specific health and safety criteria addressing worker protection and imposing substantial liabilities for pollution resulting from its operations. Failure to comply with these laws and

 

F-54


Table of Contents

regulations may result in the assessment of sanctions, including administrative, civil and criminal penalties; the imposition of investigatory, remedial or corrective action obligations or the incurrence of capital expenditures; the occurrence of delays in the permitting, development or expansion of projects and the issuance of injunctive relief limiting or prohibiting Company activities. Moreover, certain of these laws impose joint and several, strict liability for costs required to remediate and restore sites where petroleum hydrocarbons, wastes or other materials have been released or disposed. In addition, new laws and regulations, new interpretations of existing laws and regulations, increased governmental enforcement or other developments, some of which legal requirements are discussed below, could significantly increase the Company’s operational or compliance expenditures.

Remediation of subsurface contamination is in process at certain of the Company’s refinery sites and is being overseen by the appropriate state agencies. Based on current investigative and remedial activities, the Company believes that the soil and groundwater contamination at these refineries can be controlled or remediated without having a material adverse effect on the Company’s financial condition. However, such costs are often unpredictable and, therefore, there can be no assurance that the future costs will not become material.

Occupational Health and Safety

The Company is subject to various laws and regulations relating to occupational health and safety, including the federal Occupational Safety and Health Act, as amended, and comparable state laws. These laws and regulations strictly govern the protection of the health and safety of employees. In addition, OSHA’s hazard communication standard, the EPA’s community right-to-know regulations under Title III of the federal Comprehensive Environmental Response, Compensation and Liability Act, as amended, and similar state statutes require the Company to maintain information about hazardous materials used or produced in the Company’s operations and provide this information to employees, contractors, state and local government authorities and customers. The Company maintains safety and training programs as part of its ongoing efforts to promote compliance with applicable laws and regulations. The Company conducts periodic audits of process safety management systems at each of its locations subject to this standard. The Company’s compliance with applicable health and safety laws and regulations has required, and continues to require, substantial expenditures. Changes in occupational safety and health laws and regulations or a finding of non-compliance with current laws and regulations could result in additional capital expenditures or operating expenses, as well as civil penalties and, in the event of a serious injury or fatality, criminal charges.

Labor Matters

The Company has approximately 600 employees covered by various collective bargaining agreements, or approximately 38% of its total workforce of approximately 1,580 employees. These agreements have expiration dates of April 30, 2026, July 31, 2026, November 19, 2026, January 31, 2027, April 30, 2025, August 20, 2024 and December 12, 2024. The Company has approximately 93 employees, or 6% of its total workforce, who are covered by a collective bargaining agreement which will expire in less than one year and does not expect any work stoppages.

Other Matters, Claims and Legal Proceedings

The Company is subject to other matters, claims and litigation incidental to its business. The Company has recorded accruals with respect to certain of its matters, claims and litigation where appropriate, that are reflected in the audited consolidated financial statements but are not individually considered material. For other matters, claims and litigation, the Company has not recorded accruals because it has not yet determined that a loss is probable or because the amount of loss cannot be reasonably estimated. While the ultimate outcome of matters, claims and litigation currently pending cannot be determined, the Company currently does not expect these outcomes, individually or in the aggregate (including matters for which the Company has recorded accruals), to have a material adverse effect on its financial position, results of operations or cash flows. The outcome of any matter, claim or litigation is inherently uncertain, however, and if decided adversely to the Company, or if the

 

F-55


Table of Contents

Company determines that settlement of particular litigation is appropriate, the Company may be subject to liability that could have a material adverse effect on its financial position, results of operations or cash flows.

Standby Letters of Credit

The Company has agreements with various financial institutions for standby letters of credit which have been issued primarily to vendors. As of December 31, 2023 and 2022, the Company had outstanding standby letters of credit of $29.9 million and $35.8 million, respectively, under its senior secured revolving credit facility (the “revolving credit facility”). Please read Note 8—“Long-Term Debt” for additional information regarding the Company’s revolving credit facility. At December 31, 2023 and 2022, the maximum amount of letters of credit the Company could issue under its revolving credit facility was subject to borrowing base limitations, with a maximum letter of credit sublimit equal to $255.0 million, which may be increased with consent of the Agent (as defined in the Credit Agreement) to 90% of revolver commitments then in effect ($500.0 million at December 31, 2023 and 2022).

As of December 31, 2023 and 2022, the Company had availability to issue letters of credit of approximately $238.2 million and approximately $337.6 million, respectively, under its revolving credit facility.

Crude Oil Supply, Other Feedstocks and Finished Products

Purchase commitments consist primarily of obligations to purchase fixed volumes of crude oil, other feedstocks and finished products for resale from various suppliers based on current market prices at the time of delivery. The Company is currently purchasing a majority of its crude oil under month-to-month evergreen contracts or on a spot basis. Certain other feedstocks are purchased under various term supply agreements.

As of December 31, 2023, the estimated minimum purchase commitments under the Company’s crude oil, other feedstock supply and finished product agreements were as follows (in millions):

 

Year

   Commitment  

2024 (1)

   $ 181.9  

2025

     28.2  

2026

     28.2  

2027

     13.7  

2028

     —   

Thereafter

     —   
  

 

 

 

Total

   $ 252.0  
  

 

 

 

 

(1) 

For the year ended December 31, 2023, the Company recorded a $50.6 million charge to cost of sales for expected future losses under firm purchase commitments.

Throughput Contract

Prior to 2020, the Company entered into a long-term agreement to transport crude oil at a minimum of 5,000 bpd through a pipeline, which commenced service in the second quarter of 2020. The agreement also contains a capital recovery charge that increases 2% per annum. The agreement is for seven years.

 

F-56


Table of Contents

As of December 31, 2023, the estimated minimum unconditional purchase commitments, including the capital recovery charge, under the agreement were as follows (in millions):

 

Year

   Commitment  

2024

   $ 4.0  

2025

     4.0  

2026

     4.0  

2027

     2.4  

2028

     —   

Thereafter

     —   
  

 

 

 

Total (1)

   $ 14.4  
  

 

 

 

 

(1) 

As of December 31, 2023, the estimated minimum payments for the unconditional purchase commitments have been accrued and are included in other current liabilities and other long-term liabilities in the consolidated balance sheets. This liability was accrued due to the fact that the contract was entered into to supply crude to a divested facility.

7. Inventory Financing Agreements

On January 17, 2024 (the “Effective Date”), the Company and J. Aron entered into a Monetization Master Agreement (the “Master Agreement”), a related Financing Agreement (the “Financing Agreement”) and Supply and Offtake Agreement (together with the Master Agreement and the Financing Agreement, the “Shreveport Supply and Offtake Agreement”). Pursuant to the Shreveport Supply and Offtake Agreement, J. Aron agreed to, among other things, purchase from the Company, or extend to the Company, financial accommodations secured by crude oil and finished products located at the Company’s Shreveport facility on the Effective Date and from time to time, up to maximum volumes specified for crude oil and categories of finished products, subject to the Company’s repurchase obligations with respect thereto. The Shreveport Supply and Offtake Agreement replaced the Company’s previous inventory financing agreement with Macquarie, which terminated on January 17, 2024.

In March 2017, the Company entered into an agreement with Macquarie to support the operations of the Great Falls refinery (as amended, the “Great Falls Supply and Offtake Agreement”). The Great Falls Supply and Offtake Agreement terminated on December 13, 2023. The inventories that were previously associated with the Great Falls Supply and Offtake Agreement were added back to our revolving credit facility borrowing base. Upon termination of the Great Falls Supply and Offtake Agreement, the Company recognized a $17.9 million realized loss on derivative instruments, which was included in gain (loss) on derivative instruments in the consolidated statements of operations for the year ended December 31, 2023.

On October 3, 2023, Montana Renewables, LLC (“MRL”) and Wells Fargo Commodities, LLC (“Wells Fargo”) entered into (a) an ISDA 2002 Master Agreement (the “Master Agreement”), (ii) a Schedule to the ISDA 2002 Master Agreement (the “Schedule”), (iii) a Credit Support Annex to the ISDA 2002 Master Agreement (the “Credit Support Annex”), and (iv) a Renewable Fuel and Feedstock Repurchase Master Confirmation (together with the Master Agreement, the Schedule and the Credit Support Annex, collectively the “MRL Supply and Offtake Agreement” and, together with the Shreveport Supply and Offtake Agreement, the “Supply and Offtake Agreements”). Pursuant to the MRL Supply and Offtake Agreement, Wells Fargo agreed to, among other things, (a) purchase from MRL renewable feedstocks and finished products located at MRL’s Great Falls facility, subject to MRL’s repurchase obligations with respect thereto, and (b) provide certain financial accommodations to MRL secured by liens on certain renewable feedstocks and finished products owned by MRL. The MRL Supply and Offtake Agreement replaced MRL’s previous inventory financing agreement with Macquarie, which terminated on October 3, 2023. Upon termination of the inventory financing agreement with Macquarie, the Company recognized a $7.7 million realized gain on derivative instruments, which was included in gain (loss) on derivative instruments in the consolidated statements of operations for the year ended December 31, 2023.

 

F-57


Table of Contents

While title to certain inventories will reside with the counterparties to the arrangements, the Supply and Offtake Agreements are accounted for by the Company similar to a product financing arrangement; therefore, the inventories sold to the counterparties will continue to be included in the Company’s consolidated balance sheets until processed and sold to a third party.

For the years ended December 31, 2023, 2022 and 2021, the Company incurred an expense of $32.0 million, $30.6 million, and $15.4 million, respectively, for financing costs related to the Supply and Offtake Agreements, which are included in interest expense in the Company’s consolidated statements of operations.

The Company’s inventory financing arrangements with Macquarie in effect as of December 31, 2023, as it related to the Company’s Shreveport facility, and in effect as of December 31, 2022, as it related to the Company’s Shreveport and Great Falls facilities, included a deferred payment arrangement (the “Deferred Payment Arrangement”) whereby the Company could defer payments on just-in-time crude oil purchases from Macquarie owed under the agreements up to the value of the collateral provided (90% of the collateral was inventory). The deferred amounts under the Deferred Payment Arrangement bore interest at a rate equal to the SOFR plus 3.25% per annum. Amounts outstanding under the Deferred Payment Arrangement were included in obligations under inventory financing agreements in the Company’s consolidated balance sheets. Changes in the amount outstanding under the Deferred Payment Arrangement were included within cash flows from financing activities in the consolidated statements of cash flows. As of December 31, 2022 and December 31, 2021, the Company had $14.1 million and $36.0 million of deferred payments outstanding, for the inventory financing arrangements with Macquarie then in effect, respectively.

8. Long-Term Debt

Long-term debt consisted of the following (in millions):

 

     December 31,
2023
     December 31,
2022 (As Restated)
 

Borrowings under amended and restated senior secured revolving credit agreement with third-party lenders, interest payments quarterly, borrowings due January 2027, weighted average interest rates of 7.4% and 4.7% for the year ended December 31, 2023 and the year ended December 31, 2022, respectively.

   $ 136.7      $ 104.0  

Borrowings under amended secured MRL revolving credit agreement with third-party lender, interest payments quarterly, borrowings due November 2027, weighted average interest rate of 11.2% for the year ended December 31, 2023.

     13.0        —   

Borrowings under the 2024 Secured Notes, interest at a fixed rate of 9.25%, interest payments semiannually, borrowings due July 2024, effective interest rate of 9.5% for the years ended December 31, 2023 and December 31, 2022. (1)

     179.0        200.0  

Borrowings under the 2025 Notes, interest at a fixed rate of 11.0%, interest payments semiannually, borrowings due April 2025, effective interest rate of 11.4% for the years ended December 31, 2023 and December 31, 2022.

     413.5        513.5  

Borrowings under the 2027 Notes, interest at a fixed rate of 8.125%, interest payments semiannually, borrowings due July 2027, effective interest rate of 8.3% for the years ended December 31, 2023 and December 31, 2022.

     325.0        325.0  

Borrowings under the 2028 Notes, interest at a fixed rate of 9.75%, interest payments semiannually, borrowings due July 2028, effective interest rate of 10.0% for the year ended December 31, 2023.

     325.0        —   

 

F-58


Table of Contents
     December 31,
2023
     December 31,
2022 (As Restated)
 

MRL Term Loan Credit Agreement

     74.4        —   

Shreveport terminal asset financing arrangement

     50.8        58.2  

MRL asset financing arrangements

     384.6        370.1  

Finance lease obligations, at various interest rates, interest and principal payments monthly through June 2028

     3.0        3.4  

Less unamortized debt issuance costs (2)

     (16.1      (12.1

Less unamortized discounts

     (3.5      (2.4
  

 

 

    

 

 

 

Total debt

   $ 1,885.4      $ 1,559.7  
  

 

 

    

 

 

 

Less current portion of long-term debt

     55.7        19.6  
  

 

 

    

 

 

 

Total long-term debt

   $ 1,829.7      $ 1,540.1  
  

 

 

    

 

 

 

 

(1) 

As of December 31, 2023, $149.0 million of outstanding borrowings under the 2024 Secured Notes have been excluded from current liabilities, as the outstanding borrowings are obligated to be redeemed, conditioned upon, on or before March 9, 2024, the completion of a private placement of at least $200.0 million aggregate principal amount of the Company’s senior debt securities. Refer to Note 23—“Subsequent Events” for additional information.

(2) 

Deferred debt issuance costs are being amortized by the effective interest rate method over the lives of the related debt instruments. These amounts are net of accumulated amortization of $26.6 million and $22.3 million at December 31, 2023 and 2022, respectively.

Senior Notes

9.75% Senior Notes due 2028 (the “2028 Notes”)

On June 27, 2023, the Company issued and sold $325.0 million in aggregate principal amount of 2028 Notes, in a private placement pursuant to Section 4(a)(2) of the Securities Act to eligible purchasers at par. The Company received net proceeds of $319.1 million, after deducting the initial purchasers’ discount and offering expenses, which the Company used a portion of the net proceeds to fund offers (collectively, the “Tender Offers”) to purchase (i) any and all of its outstanding $200.0 million in aggregate principal amount of 2024 Secured Notes (as defined below) and (ii) up to $100.0 million in aggregate principal amount of its outstanding 2025 Notes (as defined below) and pay related premiums and expenses, with the remaining net proceeds to be used for general partnership purposes, including debt repayment. On June 28, 2023, in connection with the early settlement of the Tender Offers, the Company used approximately $125.5 million (excluding accrued and unpaid interest and related expenses) of the proceeds from the offering of the 2028 Notes to fund the repurchase of (i) approximately $21.0 million in aggregate principal amount of 2024 Secured Notes and (ii) $100.0 million in aggregate principal amount of the 2025 Notes and pay related premiums. Interest on the 2028 Notes is paid semiannually in arrears on January 15 and July 15 of each year, beginning on July 15, 2024.

8.125% Senior Notes due 2027 (the “2027 Notes”)

On January 20, 2022, the Company issued and sold $325.0 million in aggregate principal amount of 2027 Notes, in a private placement pursuant to Section 4(a)(2) of the Securities Act to eligible purchasers at par. The Company received net proceeds of $319.1 million, after deducting the initial purchasers’ discount and offering expenses, which the Company used, along with cash on hand, to fund the redemption of $325.0 million aggregate principal amount of its 2023 Senior Notes at a redemption price of par, plus accrued and unpaid interest to the redemption date of February 11, 2022. In conjunction with the redemption of the 2023 Senior Notes, the Company recorded a loss from debt extinguishment of $1.0 million, which is reflected in loss from debt extinguishment in the consolidated statements of operations for the year ended December 31, 2022. Interest on the 2027 Notes is paid semiannually in arrears on January 15 and July 15 of each year, beginning on July 15, 2022.

 

F-59


Table of Contents

11.00% Senior Notes due 2025 (the “2025 Notes”)

On October 11, 2019, the Company issued and sold $550.0 million in aggregate principal amount of 11.00% Senior Notes due April 15, 2025, in a private placement pursuant to Section 4(a)(2) of the Securities Act of 1933, as amended (the “Securities Act”), to eligible purchasers at par. The Company received net proceeds of $539.9 million net of initial purchasers’ fees and estimated expenses, which it used, along with revolver borrowings and cash on hand, to fund the redemption of $761.2 million in aggregate principal amount of outstanding 6.50% Notes due 2021. Interest on the 2025 Notes is paid semiannually in arrears on April 15 and October 15 of each year.

On July 6, 2020, the Company commenced a consent solicitation to holders of the 2025 Notes for amendments to the indenture governing the 2025 Notes to allow for the consummation of the 2024 Notes Exchange Transaction. On August 5, 2020, the Company executed the First Supplemental Indenture to the indenture governing the 2025 Notes to allow the 2024 Notes Exchange Transaction.

During the year ended December 31, 2022, the Company repurchased $36.5 million aggregate principal amount of its 2025 Notes at an average price of 104.3% of par value, plus accrued and unpaid interest thereon up to, but not including the respective transaction dates. In conjunction with the repurchases of the 2025 Notes during the year ended December 31, 2022, the Company recorded a loss from debt extinguishment of $2.1 million, which is reflected in loss from debt extinguishment in the consolidated statements of operations.

9.25% Senior Secured First Lien Notes due 2024 (the “2024 Secured Notes”)

On August 5, 2020, we consummated a transaction whereby we exchanged approximately $200.0 million aggregate principal amount of our outstanding 2022 Notes for $200.0 million aggregate principal amount of newly issued 2024 Secured Notes, approximately at par (the “2024 Notes Exchange Transaction”). Interest on the 2024 Secured Notes is paid semiannually in arrears on January 15 and July 15 of each year, beginning on January 15, 2021. The 2024 Secured Notes are secured by a first priority lien (subject to certain exceptions) on all the fixed assets that secure the Company’s obligations under their secured hedge agreements, as governed by the Collateral Trust Agreement.

7.75% Senior Notes due 2023 (the “2023 Notes”)

On March 27, 2015, the Company issued and sold $325.0 million in aggregate principal amount of 7.75% Senior Notes due April 15, 2023 in a private placement pursuant to Section 4(a)(2) of the Securities Act, to eligible purchasers at a discounted price of 99.257 percent of par. The Company received net proceeds of approximately $317.0 million net of discount, initial purchasers’ fees and expenses, which the Company used to fund the redemption of $178.8 million in aggregate principal amount of outstanding 9.625% Senior Notes due 2020 on April 28, 2015, to repay borrowings outstanding under its revolving credit facility and for general partnership purposes, including planned capital expenditures at the Company’s facilities and working capital. Interest on the 2023 Notes was paid semiannually in arrears on April 15 and October 15 of each year.

On February 11, 2022, the Company redeemed $325.0 million in aggregate principal amount of the 2023 Notes at a redemption price of par, plus accrued and unpaid interest. In conjunction with the redemption of the 2023 Senior Notes, the Company recorded a loss from debt extinguishment of $1.0 million, which is reflected in loss from debt extinguishment in the consolidated statements of operations for the year ended December 31, 2022.

Senior Notes

The 2024 Secured Notes, 2025 Notes, 2027 Notes and 2028 Notes (collectively, the “Senior Notes”) are subject to certain automatic customary releases, including the sale, disposition, or transfer of capital stock or

 

F-60


Table of Contents

substantially all of the assets of a subsidiary guarantor, designation of a subsidiary guarantor as unrestricted in accordance with the applicable indenture, exercise of legal defeasance option or covenant defeasance option, liquidation or dissolution of the subsidiary guarantor and a subsidiary guarantor ceases to both guarantee other Company debt and to be an obligor under the revolving credit facility. The Company’s operating subsidiaries may not sell or otherwise dispose of all or substantially all of their properties or assets to, or consolidate with or merge into, another company if such a sale would cause a default under the indentures governing the Senior Notes.

The indentures governing the Senior Notes contain covenants that, among other things, restrict the Company’s ability and the ability of certain of the Company’s subsidiaries to: (i) sell assets; (ii) pay distributions on, redeem or repurchase the Company’s common units or redeem or repurchase its subordinated debt; (iii) make investments; (iv) incur or guarantee additional indebtedness or issue preferred units; (v) create or incur certain liens; (vi) enter into agreements that restrict distributions or other payments from the Company’s restricted subsidiaries to the Company; (vii) consolidate, merge or transfer all or substantially all of the Company’s assets; (viii) engage in transactions with affiliates and (ix) create unrestricted subsidiaries. These covenants are subject to important exceptions and qualifications. At any time when the Senior Notes are rated investment grade by either Moody’s Investors Service, Inc. (“Moody’s”) or S&P Global Ratings (“S&P”) and no Default or Event of Default, each as defined in the indentures governing the Senior Notes, has occurred and is continuing, many of these covenants will be suspended. As of December 31, 2023, the Company was in compliance with all covenants under the indentures governing the Senior Notes.

MRL Asset Financing Arrangements

On August 5, 2022, Montana Renewables, LLC (“MRL”), a wholly owned subsidiary of the Company, entered into Equipment Schedule No. 2 (the “Equipment Schedule”) and an Interim Funding Agreement (the “Funding Agreement”) with Stonebriar Commercial Finance LLC (“Stonebriar”). The Equipment Schedule and the Funding Agreement each constitute a schedule under the Master Lease Agreement (the “Lease Agreement”) dated as of December 31, 2021 between MRL and Stonebriar. The Equipment Schedule provides that Stonebriar will purchase from and lease back to MRL a hydrocracker, intended to produce renewable diesel and related products, for a purchase price of $250.0 million. The Funding Agreement provides $100.0 million in financing for the design and construction of a feedstock pre-treater facility. The transactions with Stonebriar described in this paragraph are referred to herein as the “MRL Asset Financing Arrangements.” The Company has recorded the MRL asset financing arrangements as a financial liability in the consolidated balance sheets.

Fourth Amendment to Third Amended and Restated Senior Secured Revolving Credit Facility

On January 17, 2024, the Company entered into the Fourth Amendment to its revolving credit facility (the “Credit Agreement”) governing its senior secured revolving credit facility maturing in January 2027, which provides maximum availability of credit under the revolving credit facility of $650.0 million, including a FILO tranche, subject to borrowing base limitations, and includes a $500.0 million incremental uncommitted expansion feature. Lenders under the revolving credit facility have a first priority lien on, among other things, the Company’s accounts receivable and inventory and substantially all of its cash (collectively, the “Credit Agreement Collateral”).

The borrowing capacity at December 31, 2023, under the revolving credit facility was approximately $404.8 million. As of December 31, 2023, the Company had $136.7 million of outstanding borrowings under the revolving credit facility and outstanding standby letters of credit of $29.9 million, leaving approximately $238.2 million of unused capacity.

The revolving credit facility contains various covenants that limit, among other things, the Company’s ability to: incur indebtedness; grant liens; dispose of certain assets; make certain acquisitions and investments; redeem or prepay other debt or make other restricted payments such as distributions to unitholders; enter into

 

F-61


Table of Contents

transactions with affiliates; and enter into a merger, consolidation or sale of assets. Further, the revolving credit facility contains a springing financial covenant which provides that only if the Company’s availability to borrow loans under the revolving credit facility falls below the sum of (a) the greater of (i) (x) 15% of the borrowing base then in effect at any time that the refinery asset borrowing base component is greater than $0 and (y) 10% of the borrowing base then in effect at any time that the refinery asset borrowing base component is equal to $0 and (ii) $45.0 million (which amount is subject to certain increases) plus (b) the amount of FILO Loans outstanding, then we will be required to maintain as of the end of each fiscal quarter a Fixed Charge Coverage Ratio (as defined in the Credit Agreement) of at least 1.0 to 1.0. As of December 31, 2023, the Company was in compliance with all covenants under the revolving credit facility.

MRL Revolving Credit Agreement

On November 2, 2022 (the “Effective Date”), MRL entered into, as borrower, a Credit Agreement (the “MRL Revolving Credit Agreement”) with Montana Renewables Holdings LLC (“MRHL”), the parent company of MRL, and Wells Fargo Bank, National Association (“Wells Fargo”), as administrative agent and lender, which MRL Revolving Credit Agreement provides for a secured revolving credit facility in the maximum amount of $90.0 million outstanding, with the option to request additional commitments of up to $15.0 million, and with a maturity date of November 2, 2027. The borrowing capacity at December 31, 2023, under the MRL Revolving Credit Agreement was approximately $16.7 million. As of December 31, 2023, MRL had $13.0 million of outstanding borrowings under the MRL Revolving Credit Agreement and no outstanding standby letters of credit, leaving approximately $3.7 million of unused capacity.

MRL Credit Facility

On November 18, 2021 (the “Closing Date”), MRL, Montana Renewables Holdings LLC (“Montana Renewables Holdings”), the parent of MRL and an unrestricted, non-guarantor subsidiary of the Partnership for purposes of the agreements governing the Partnership’s indebtedness, Oaktree Fund Administration, LLC and the lenders from time to time party thereto (the “Oaktree Lenders”) entered into a Credit Agreement, which provides for a $300.0 million senior secured term loan facility (the “MRL Credit Facility”). On the Closing Date, $300.0 million was drawn under the MRL Credit Facility to finance the transfer for value of various assets at the Great Falls refinery, including the hydrocracker, a hydrogen plant, and several products tanks to MRL. The MRL Credit Facility is not subject to amortization and matures on November 18, 2024. The MRL Credit Facility is secured by substantially all of the assets of MRL and a pledge of 100% of the equity interest in MRL held by Montana Renewables Holdings.

The interest rate per annum applicable to the MRL Credit Facility is 8.00%. If interest on the MRL Credit Facility is not paid when due on any quarterly interest payment date (each, a “Quarterly Date”), then interest for the immediately preceding quarterly period shall be deemed to have accrued in an amount equal to the product of (i) the percentage of the interest amount that was not paid in cash on the relevant Quarterly Date multiplied by (ii) 2.00% per annum above the interest rate otherwise applicable thereto, which amount, in each case, shall be added to the principal balance of the loans then outstanding under the MRL Credit Facility.

On August 5, 2022, the Company repaid all borrowings outstanding under the MRL credit facility with a combination of proceeds from the issuance and sale of preferred units in MRHL and the Stonebriar Transactions (as defined herein). In conjunction with the redemption of the MRL credit facility, the Company recorded a loss from debt extinguishment of $38.3 million, which is reflected in loss from debt extinguishment in the consolidated statements of operations for the year ended December 31, 2022. Please refer to Note 20—“Redeemable Noncontrolling Interest” for additional information regarding the issuance and sale of preferred units in MRHL and Note 8—“Long-Term Debt—MRL Asset Financing Arrangements” for additional information regarding the Stonebriar Transactions.

 

F-62


Table of Contents

MRL Term Loan Credit Agreement

On April 19, 2023, MRL and MRHL entered into a Credit Agreement (the “MRL Term Loan Credit Agreement”) with a group of financial institutions, including I Squared Capital and Delaware Trust Company, as administrative agent, that provides for a $75.0 million term loan facility with a maturity date of April 19, 2028 (the “Maturity Date”). The MRL Term Loan Credit Agreement provides for a variable interest rate based on the SOFR plus 6.0% to 7.3% per annum. The borrowings under the MRL Term Loan Credit Agreement are repayable in quarterly installments commencing on June 30, 2023, in an amount equal to 0.25% of the outstanding principal amount under the MRL Term Loan Credit Agreement as of each quarterly payment date, plus additional principal payments to the extent MRL has excess cash flows, pursuant to the terms of the MRL Term Loan Credit Agreement. The remaining borrowings under the MRL Term Loan Credit Agreement are repayable on the Maturity Date.

Master Derivative Contracts

The Company’s payment obligations under all of the Company’s master derivatives contracts for commodity hedging generally are secured by a first priority lien on the Company’s real property, plant and equipment, fixtures, intellectual property, certain financial assets, certain investment property, commercial tort claims, chattel paper, documents, instruments and proceeds of the foregoing (including proceeds of hedge arrangements). The Company had no additional letters of credit or cash margin posted with any hedging counterparty as of December 31, 2023. The Company’s master derivatives contracts and Collateral Trust Agreement (as defined below) continue to impose a number of covenant limitations on the Company’s operating and financing activities, including limitations on liens on collateral, limitations on dispositions of collateral and collateral maintenance and insurance requirements.

Collateral Trust Agreement

The Company has a collateral trust agreement (“The Collateral Trust Agreement”) which governs how various secured Company creditors, including secured hedging counterparties, our creditor on a forward purchase contract for physical commodities, and holders of our 2024 Secured Notes share collateral pledged as security for the payment of respective payment obligations to them. The Collateral Trust Agreement limits to $150.0 million the extent to which forward purchase contracts for physical commodities are covered by, and secured under, the Collateral Trust Agreement and the Parity Lien Security Documents (as defined in the Collateral Trust Agreement). There is no such limit on financially settled derivative instruments used for commodity hedging. Subject to certain conditions set forth in the Collateral Trust Agreement, the Company has the ability to add secured parties from time to time.

Maturities of Long-Term Debt

As of December 31, 2023, principal payments on debt obligations and future minimum rentals on finance lease obligations are as follows (in millions):

 

Year

   Maturity  

2024 (1)

   $ 205.3  

2025

     442.4  

2026

     31.9  

2027

     524.1  

2028

     423.3  

Thereafter

     278.0  
  

 

 

 

Total

   $ 1,905.0  
  

 

 

 

 

(1) 

As of December 31, 2023, $149.0 million of outstanding borrowings under the 2024 Secured Notes have been excluded from current liabilities, as the outstanding borrowings are obligated to be redeemed,

 

F-63


Table of Contents
  conditioned upon, on or before March 9, 2024, the completion of a private placement of at least $200.0 million aggregate principal amount of the Company’s senior debt securities. Refer to Note 23—“Subsequent Events” for additional information.

9. Derivatives

The Company is exposed to price risks due to fluctuations in the price of crude oil, refined products, natural gas and precious metals. The Company uses various strategies to reduce its exposure to commodity price risk. The strategies to reduce the Company’s risk utilize both physical forward contracts and financially settled derivative instruments, such as swaps, collars, options and futures, to attempt to reduce the Company’s exposure with respect to:

 

   

crude oil purchases and sales;

 

   

fuel product sales and purchases;

 

   

natural gas purchases;

 

   

precious metals purchases; and

 

   

fluctuations in the value of crude oil between geographic regions and between the different types of crude oil such as New York Mercantile Exchange West Texas Intermediate (“NYMEX WTI”), Light Louisiana Sweet, Western Canadian Select (“WCS”), WTI Midland, Mixed Sweet Blend, Magellan East Houston and ICE Brent.

The Company manages its exposure to commodity markets, credit, volumetric and liquidity risks to manage its costs and volatility of cash flows as conditions warrant or opportunities become available. These risks may be managed in a variety of ways that may include the use of derivative instruments. Derivative instruments may be used for the purpose of mitigating risks associated with an asset, liability and anticipated future transactions and the changes in fair value of the Company’s derivative instruments will affect its earnings and cash flows; however, such changes should be offset by price or rate changes related to the underlying commodity or financial transaction that is part of the risk management strategy. The Company does not speculate with derivative instruments or other contractual arrangements that are not associated with its business objectives.

Speculation is defined as increasing the Company’s natural position above the maximum position of its physical assets or trading in commodities, currencies or other risk bearing assets that are not associated with the Company’s business activities and objectives. The Company’s positions are monitored routinely by a risk management committee to ensure compliance with its stated risk management policy and documented risk management strategies. All strategies are reviewed on an ongoing basis by the Company’s risk management committee, which will add, remove or revise strategies in anticipation of changes in market conditions and/or its risk profiles. Such changes in strategies are to position the Company in relation to its risk exposures in an attempt to capture market opportunities as they arise.

As of December 31, 2023 and 2022, the Company was obligated to repurchase crude oil and refined products from its counterparties, then in effect, at the termination of the Supply and Offtake Agreements in certain scenarios. The Company has determined that the redemption feature on the initially recognized liability related to the Supply and Offtake Agreements is an embedded derivative indexed to commodity prices. As such, the Company has accounted for this embedded derivative at fair value with changes in the fair value, if any, recorded in gain (loss) on derivative instruments in the Company’s consolidated statements of operations please read Note 7—“Inventory Financing Agreements” for additional information. The Company recognizes all derivative instruments at their fair values as either current assets or current liabilities in the consolidated balance sheets (please read Note 10—“Fair Value Measurements”). Fair value includes any premiums paid or received and unrealized gains and losses. Fair value does not include any amounts receivable from or payable to counterparties, or collateral provided to counterparties. Derivative asset and liability amounts with the same counterparty are netted against each other for financial reporting purposes in accordance with the provisions of our master netting arrangements.

 

F-64


Table of Contents

The following tables summarize the Company’s gross fair values of its derivative instruments, presenting the impact of offsetting derivative assets in the Company’s consolidated balance sheets (in millions):

 

        December 31, 2023     December 31, 2022  
   

Balance Sheet
Location

  Gross
Amounts of
Recognized

Assets
    Gross
Amounts
Offset in the
Condensed
Consolidated
Balance
Sheets
    Net Amounts
of Assets
Presented

in the
Condensed
Consolidated
Balance  Sheets
    Gross
Amounts of

Recognized
Assets
    Gross
Amounts
Offset in the
Condensed
Consolidated
Balance
Sheets
    Net Amounts
of Assets
Presented
in the
Condensed
Consolidated
Balance  Sheets
 

Derivative instruments not designated as hedges:

           

Specialty Products and Solutions segment:

           

Crack spread swaps

 

Derivative assets / Other noncurrent assets, net

  $ 11.6     $ —      $ 11.6     $ —      $ —      $ —   
   

 

 

   

 

 

   

 

 

   

 

 

   

 

 

   

 

 

 

Total derivative instruments

  $ 11.6     $ —      $ 11.6     $ —      $ —      $ —   
   

 

 

   

 

 

   

 

 

   

 

 

   

 

 

   

 

 

 

The following tables summarize the Company’s gross fair values of its derivative instruments, presenting the impact of offsetting derivative liabilities in the Company’s consolidated balance sheets (in millions):

 

         December 31, 2023     December 31, 2022  
    

Balance Sheet
Location

  Gross
Amounts of
Recognized
Liabilities
    Gross
Amounts
Offset in the
Condensed
Consolidated
Balance
Sheets
    Net Amounts
of Liabilities
Presented in
the
Condensed
Consolidated
Balance
Sheets
    Gross
Amounts of
Recognized
Liabilities
    Gross
Amounts
Offset in the
Condensed
Consolidated
Balance
Sheets
    Net Amounts
of Liabilities
Presented in
the Condensed
Consolidated
Balance Sheets
 

Derivative instruments not designated as hedges:

           

Specialty Products and Solutions segment:

           

Inventory financing obligation

   Obligations under inventory financing agreements   $ (52.5   $ —      $ (52.5   $ (38.0   $ —      $ (38.0

 Crack spread swaps

   Derivative liabilities / Other long-term liabilities     —        —        —        (50.6     19.3       (31.3

Montana/Renewables segment:

           

 Inventory financing obligation

   Obligations under inventory financing agreements     —        —        —        (15.8     11.3       (4.5
    

 

 

   

 

 

   

 

 

   

 

 

   

 

 

   

 

 

 

Total derivative instruments

     $ (52.5   $ —      $ (52.5   $ (104.4   $ 30.6     $ (73.8
    

 

 

   

 

 

   

 

 

   

 

 

   

 

 

   

 

 

 

Certain of the Company’s outstanding derivative instruments are subject to credit support agreements with the applicable counterparties which contain provisions setting certain credit thresholds above which the Company may be required to post agreed-upon collateral, such as cash or letters of credit, with the counterparty to the extent that the Company’s mark-to-market net liability, if any, on all outstanding derivatives exceeds the credit threshold amount per such credit support agreement. The majority of the credit support agreements covering the Company’s outstanding derivative instruments also contain a general provision stating that if the Company experiences a material adverse change in its business, in the reasonable discretion of the counterparty, the Company’s credit threshold could be lowered by such counterparty. The Company does not expect that it will experience a material adverse change in its business. The cash flow impact of the Company’s derivative activities are included within cash flows from operating activities in the consolidated statements of cash flows.

 

F-65


Table of Contents

Derivative Instruments Not Designated as Hedges

For derivative instruments not designated as hedges, the change in fair value of the asset or liability for the period is recorded to gain (loss) on derivative instruments in the consolidated statements of operations. Upon the settlement of a derivative not designated as a hedge, the gain or loss at settlement is recorded to gain (loss) on derivative instruments in the consolidated statements of operations. The Company has entered into crack spread swaps and crude oil basis swaps that are not designated as cash flow hedges for accounting purposes. However, these instruments provide economic hedges of the purchases and sales of the Company’s natural gas, crude oil, gasoline and refined products.

The Company recorded the following gains (losses) in its consolidated statements of operations related to its derivative instruments not designated as hedges (in millions):

 

    Amount of Realized
Loss Recognized in Gain (Loss) on
Derivative Instruments
    Amount of Unrealized Gain (Loss)
Recognized in Gain (Loss) on Derivative
Instruments
 
    Year Ended December 31,     Year Ended December 31,  

Type of Derivative

  2023     2022     2023     2022  

Specialty Products and Solutions segment:

       

Inventory financing obligation

  $ —      $ —      $ (14.5   $ (20.6

Crack spread swaps

    (21.8     (35.0     42.9       (31.3

Crude oil swaps

    —        (0.8     —        —   

Montana/Renewables segment:

       

Inventory financing obligation

    (1.3     —        4.6       6.0  
 

 

 

   

 

 

   

 

 

   

 

 

 

Total

  $ (23.1   $ (35.8   $ 33.0     $ (45.9
 

 

 

   

 

 

   

 

 

   

 

 

 

Derivative Positions

At December 31, 2023, the Company had the following notional contract volumes related to outstanding derivative instruments:

 

            Notional Contract Volumes by
Year of Maturity
 
     Total                
     Outstanding                
     Notional      2024      Unit of Measure  

Derivative instruments not designated as hedges:

 

     

Crack spread swaps—sales

     2,928,000        2,928,000        Barrels  

10. Fair Value Measurements

The Company uses a three-tier fair value hierarchy, which prioritizes the inputs used in measuring fair value. Observable inputs are from sources independent of the Company. Unobservable inputs reflect the Company’s assumptions about the factors market participants would use in valuing the asset or liability developed based upon the best information available in the circumstances. These tiers include the following:

 

   

Level 1—inputs include observable unadjusted quoted prices in active markets for identical assets or liabilities

 

   

Level 2—inputs include other than quoted prices in active markets that are either directly or indirectly observable

 

   

Level 3—inputs include unobservable inputs in which little or no market data exists, therefore requiring an entity to develop its own assumptions

In determining fair value, the Company uses various valuation techniques and prioritizes the use of observable inputs. The availability of observable inputs varies from instrument to instrument and depends on a

 

F-66


Table of Contents

variety of factors including the type of instrument, whether the instrument is actively traded and other characteristics particular to the instrument. For many financial instruments, pricing inputs are readily observable in the market, the valuation methodology used is widely accepted by market participants and the valuation does not require significant management judgment. For other financial instruments, pricing inputs are less observable in the marketplace and may require management judgment.

Recurring Fair Value Measurements

Derivative Assets and Liabilities

Derivative instruments are reported in the accompanying consolidated financial statements at fair value. The Company’s derivative instruments consist of over-the-counter (“OTC”) contracts, which are not traded on a public exchange. Substantially all of the Company’s derivative instruments are with counterparties that have long-term credit ratings of at least A3 and BBB+ by Moody’s and S&P, respectively.

To estimate the fair values of the Company’s commodity derivative instruments, the Company uses the forward rate, the strike price, contractual notional amounts, the risk free rate of return and contract maturity. Various analytical tests are performed to validate the counterparty data. The fair values of the Company’s derivative instruments are adjusted for nonperformance risk and creditworthiness of the hedging entities through the Company’s credit valuation adjustment (“CVA”). The CVA is calculated at the counterparty level utilizing the fair value exposure at each payment date and applying a weighted probability of the appropriate survival and marginal default percentages. The Company uses the counterparty’s marginal default rate and the Company’s survival rate when the Company is in a net asset position at the payment date and uses the Company’s marginal default rate and the counterparty’s survival rate when the Company is in a net liability position at the payment date.

Observable inputs utilized to estimate the fair values of the Company’s derivative instruments were based primarily on inputs that are readily available in public markets or can be derived from information available in publicly quoted markets. Based on the use of various unobservable inputs, principally non-performance risk, creditworthiness of the hedging entities and unobservable inputs in the forward rate, the Company has categorized these derivative instruments as Level 3. Significant increases (decreases) in any of those unobservable inputs in isolation would result in a significantly lower (higher) fair value measurement. The Company believes it has obtained the most accurate information available for the types of derivative instruments it holds. Please read Note 9—“Derivatives” for further information on derivative instruments.

Pension Assets

Pension assets are reported at fair value in the accompanying consolidated financial statements. At December 31, 2023 and 2022, the Company’s investments associated with its Pension Plan (as such term is hereinafter defined) consisted of (i) cash and cash equivalents, (ii) fixed income bond funds, (iii) mutual equity funds, and (iv) mutual balanced funds. The fixed income bond funds, mutual equity funds, and mutual balanced funds that are measured at fair value using a market approach based on quoted prices from national securities exchanges are categorized in Level 1 of the fair value hierarchy. The fixed income bond funds, mutual equity funds, and mutual balanced funds that are measured at fair value using a market approach based on prices obtained from an independent pricing service are categorized in Level 2 of the fair value hierarchy.

Liability Awards

Unit-based compensation Liability Awards are awards that are currently expected to be settled in cash on their vesting dates, rather than in equity units. The Liability Awards are categorized as Level 1 because the fair value of the Liability Awards is based on the Company’s quoted closing unit price as of each balance sheet date.

Precious Metals Obligations

The fair value of precious metals obligations is based upon unadjusted exchange-quoted prices and is, therefore, classified within Level 1 of the fair value hierarchy.

 

F-67


Table of Contents

Hierarchy of Recurring Fair Value Measurements

The Company’s recurring assets and liabilities measured at fair value were as follows (in millions):

 

     December 31, 2023     December 31, 2022 (As Restated)  
     Level 1     Level 2      Level 3     Total     Level 1     Level 2      Level 3     Total  

Assets:

                  

Derivative assets:

                  

Crack spread swaps

   $ —      $ —       $ 11.6     $ 11.6     $ —      $ —       $ —      $ —   
  

 

 

   

 

 

    

 

 

   

 

 

   

 

 

   

 

 

    

 

 

   

 

 

 

Total derivative assets

   $ —      $ —       $ 11.6     $ 11.6     $ —      $ —       $ —      $ —   

Pension plan investments

   $ 3.5     $ 23.5      $ —      $ 27.0     $ 3.4     $ 23.0      $ —      $ 26.4  
  

 

 

   

 

 

    

 

 

   

 

 

   

 

 

   

 

 

    

 

 

   

 

 

 

Total recurring assets at fair value

   $ 3.5     $ 23.5      $ 11.6     $ 38.6     $ 3.4     $ 23.0      $ —      $ 26.4  
  

 

 

   

 

 

    

 

 

   

 

 

   

 

 

   

 

 

    

 

 

   

 

 

 

Liabilities:

                  

Derivative liabilities:

                  

Inventory financing obligation

   $ —      $ —       $ (52.5   $ (52.5   $ —      $ —       $ (42.5   $ (42.5

Crack spread swaps

     —        —         —        —        —        —         (31.3     (31.3

Total derivative liabilities

   $ —      $ —       $ (52.5   $ (52.5   $ —      $ —       $ (73.8   $ (73.8

Precious metals obligations

     (6.9     —         —        (6.9     (7.5     —         —        (7.5

Liability awards

     (64.2     —         —        (64.2     (52.9     —         —        (52.9
  

 

 

   

 

 

    

 

 

   

 

 

   

 

 

   

 

 

    

 

 

   

 

 

 

Total recurring liabilities at fair value

   $ (71.1   $ —       $ (52.5   $ (123.6   $ (60.4   $ —       $ (73.8   $ (134.2
  

 

 

   

 

 

    

 

 

   

 

 

   

 

 

   

 

 

    

 

 

   

 

 

 

The table below sets forth a summary of net changes in fair value of the Company’s Level 3 financial assets and liabilities (in millions):

 

    

For the Year Ended December 31,

 
      2023        2022   

Fair value at January 1,

   $ (73.8    $ (27.9

Realized loss on derivative instruments

     (23.1      (35.8

Unrealized gain (loss) on derivative instruments

     33.0        (45.9

Settlements

     23.1        35.8  
  

 

 

    

 

 

 

Fair value at December 31,

   $ (40.8    $ (73.8
  

 

 

    

 

 

 

Total gain (loss) included in net income (loss) attributable to changes in unrealized gain (loss) relating to financial assets and liabilities held as of December 31,

   $ 33.0      $ (45.9
  

 

 

    

 

 

 

Nonrecurring Fair Value Measurements

Certain non-financial assets and liabilities are measured at fair value on a nonrecurring basis and are subject to fair value adjustments in certain circumstances, such as when there is evidence of impairment.

The Company assesses goodwill for impairment annually and whenever events or changes in circumstances indicate its carrying value may not be recoverable. The fair value of the reporting units is determined using the income approach. The income approach focuses on the income-producing capability of an asset, measuring the current value of the asset by calculating the present value of its future economic benefits such as cash earnings, cost savings, corporate tax structure and product offerings. Value indications are developed by discounting expected cash flows to their present value at a rate of return that incorporates the risk-free rate for the use of funds, the expected rate of inflation and risks associated with the reporting unit. These assets would generally be classified within Level 3, in the event that the Company were required to measure and record such assets at fair value within its consolidated financial statements. Please read Note 5—“Goodwill and Other Intangible Assets” for further information on goodwill impairment.

 

F-68


Table of Contents

The Company periodically evaluates the carrying value of long-lived assets to be held and used, including finite-lived intangible assets and property plant and equipment, when events or circumstances warrant such a review. Fair value is determined primarily using anticipated cash flows assumed by a market participant discounted at a rate commensurate with the risk involved and these assets would generally be classified within Level 3, in the event that the Company was required to measure and record such assets at fair value within its consolidated financial statements. Please read Note 2—“Summary of Significant Accounting Policies” for further information on long-lived asset impairment.

Estimated Fair Value of Financial Instruments

Cash, cash equivalents and restricted cash

The carrying value of cash, cash equivalents and restricted cash are each considered to be representative of their fair value.

Debt

The estimated fair value of long-term debt at December 31, 2023 and 2022, consists primarily of senior notes. The estimated aggregate fair value of the Company’s 2024 Secured Notes and 2025, 2027 and 2028 Senior Notes defined as Level 2 was based upon quoted prices for identical or similar liabilities in markets that are not active. The carrying value of borrowings, if any, under the Company’s revolving credit facility, MRL Revolving Credit Agreement, MRL asset financing arrangements, MRL term loan credit agreement, finance lease obligations and other obligations are classified as Level 3. Please read Note 8—“Long-Term Debt” for further information on long-term debt.

The Company’s carrying value and estimated fair value of the Company’s financial instruments, carried at adjusted historical cost, were as follows (in millions):

 

     December 31, 2023      December 31, 2022  
     Level      Fair Value      Carrying Value      Fair Value      Carrying Value  

Financial Instrument:

              

2024 Secured Notes, 2025 Notes, 2027 Notes, and 2028 Notes

     2      $ 1,247.2      $ 1,232.3      $ 1,045.2      $ 1,030.0  

Revolving credit facility

     3      $ 136.7      $ 134.4      $ 104.0      $ 100.9  

MRL revolving credit agreement

     3      $ 13.0      $ 12.4      $ —       $ (0.6

MRL term loan credit agreement

     3      $ 74.4      $ 71.6      $ —         —   

Shreveport terminal asset financing arrangement

     3      $ 50.8      $ 50.1      $ 58.2      $ 57.2  

MRL asset financing arrangements

     3      $ 384.6      $ 381.6      $ 370.1      $ 368.8  

Finance leases and other obligations

     3      $ 3.0      $ 3.0      $ 3.4      $ 3.4  

11. Partners’ Capital (Deficit)

Units Authorized

As of December 31, 2023 and 2022, the Company has 92,473,023 of common units authorized for issuance.

Units Outstanding

Of the 79,967,363 common units outstanding at December 31, 2023, 63,271,967 common units were held by the public, with the remaining 16,695,396 common units held by the Company’s affiliates (including members of the Company’s general partner and their families).

 

F-69


Table of Contents

Significant information regarding rights of the limited partners includes the following:

 

   

Rights to receive distributions of available cash within 45 days after the end of each quarter, to the extent the Company has sufficient cash from operations after the establishment of cash reserves.

 

   

Limited partners have limited voting rights on matters affecting the Company’s business. The general partner may consider only the interests and factors that it desires and has no duty or obligation to give any consideration of any interests of the Company’s limited partners. Limited partners have no right to elect the board of directors of the Company’s general partner.

 

   

The vote of the holders of at least 66 2/3% of all outstanding units voting together as a single class is required to remove the general partner. Any holder, other than the general partner or the general partner’s affiliates, that owns 20% or more of any class of units outstanding cannot vote on any matter.

 

   

The Company may issue an unlimited number of limited partner interests without the approval of the limited partners.

 

   

Limited partners may be required to sell their units to the general partner if at any time the general partner owns more than 80% of the issued and outstanding common units.

Distributions and Incentive Distribution Rights

The Company’s general partner is entitled to incentive distributions if the amount it distributes to unitholders with respect to any quarter exceeds specified target levels shown below:

 

     Total Quarterly
Distribution Per Common Unit
   Marginal Percentage
Interest in Distributions
 
     Target Amount    Unitholders     General Partner  

Minimum Quarterly Distribution

   $0.45      98     2

First Target Distribution

   up to $0.495      98     2

Second Target Distribution

   above $0.495 up to $0.563      85     15

Third Target Distribution

   above $0.563 up to $0.675      75     25

Thereafter

   above $0.675      50     50

The Company’s ability to make distributions is limited by its debt instruments. The revolving credit facility generally permits the Company to make cash distributions to unitholders as long as immediately after giving effect to such a cash distribution the Company has availability under the revolving credit facility at least the greater of (i) 15% of the Aggregate Borrowing Base (as defined in the credit agreement) then in effect, and (ii) $60.0 million (which amount is subject to increase in proportion to revolving commitment increases). Further, the revolving credit facility contains a springing financial covenant which provides that only if the Company’s availability to borrow loans under the revolving credit facility falls below the sum of (a) the greater of (i) (x) 15% of the borrowing base then in effect at any time that the refinery asset borrowing base component is greater than $0 and (y) 10% of the borrowing base then in effect at any time that the refinery asset borrowing base component is equal to $0 and (ii) $45.0 million (which amount is subject to certain increases) plus (b) the amount of FILO Loans outstanding, then we will be required to maintain as of the end of each fiscal quarter a Fixed Charge Coverage Ratio (as defined in the Credit Agreement) of at least 1.0 to 1.0. The indentures governing the Company’s various senior notes restrict the Company’s ability to make cash distributions. Under the indenture governing the 2024 Secured Notes and 2025 Senior Notes, the Company may pay distributions to its unitholders in an amount equal to available cash from operating surplus (as defined in the Company’s partnership agreement) with respect to its preceding fiscal quarter, subject to certain customary adjustments described in the indentures, if the Company’s fixed charge coverage ratio (as defined in the indentures) for the most recently ended four full fiscal quarters is not less than 3.0 to 1.0. If the Company’s fixed charge coverage ratio is less than 3.0 to 1.0, the Company will be able to pay distributions to its unitholders up to an amount equal to a $25.0 million basket, subject to certain customary adjustments described in the indentures. The indentures governing the 2027 Senior Notes reduces this minimum fixed charge coverage ratio to 2.5 to 1.0.

 

F-70


Table of Contents

The Company’s distribution policy is as defined in its partnership agreement. In April 2016, the board of directors of the Company’s general partner determined to suspend payment of the Company’s quarterly cash distribution to unitholders and the Company is not currently permitted to resume cash distributions pursuant to the terms of the indentures governing the Company’s outstanding senior notes. The Company made no distributions to its partners for the years ended December 31, 2023 and 2022. For the years ended December 31, 2023 and 2022, the general partner was allocated no incentive distribution rights.

12. Unit-Based Compensation

The Company’s general partner originally adopted a Long-Term Incentive Plan on January 24, 2006, which was amended and restated effective December 10, 2015 and further amended effective December 9, 2021 (the “LTIP”), for its employees, consultants and directors and its affiliates who perform services for the Company. The LTIP provides for the grant of restricted units, phantom units, unit options and substitute awards and, with respect to unit options and phantom units, the grant of distribution equivalent rights (“DERs”). Following unitholder approval of the December 9, 2021 amendment to the LTIP, which was obtained on February 16, 2022, an aggregate of 5,283,960 common units may be delivered pursuant to awards under the LTIP. Units withheld to satisfy the Company’s general partner’s tax withholding obligations are available for delivery pursuant to other awards. The LTIP is administered by the compensation committee of the Company’s general partner’s board of directors.

Liability Awards are awards that are currently expected to be settled in cash on their vesting dates, rather than in equity units. Phantom unit Liability Awards are recorded in accrued salaries, wages and benefits in the consolidated balance sheets based on the vested portion of the fair value of the awards on the balance sheet date. The fair value of Liability Awards is updated at each balance sheet date and changes in the fair values of the vested portions of the awards are recorded as increases or decreases to compensation expense within general and administrative expense in the consolidated statements of operations.

Phantom Units

Non-employee directors and certain management level employees of the Company’s general partner have been granted phantom units under the terms of the LTIP as part of their respective compensation packages related to fiscal years 2023 and 2022. The phantom units granted to non-employee directors and employees related to fiscal years 2023 and 2022 vest in full on the third anniversary following the grant date. Although ownership of common units related to the vesting of such LTIP phantom units does not transfer to the recipients until the phantom units vest, the recipients have DERs on these phantom units from the date of grant.

Non-employee directors and certain senior management level employees of the Company’s general partner are eligible to defer their earned director fees or earned annual cash incentive amounts, respectively, into the Deferred Compensation Plan. When such individuals elect to defer any portion of their compensation into the plans, these deferred amounts are credited to the participant in the form of phantom units. The compensation committee may recommend a matching contribution for the deferred amounts at its discretion.

For unit-based compensation equity awards, the Company uses the market price of its common units on the grant date to calculate the fair value and related compensation cost of the phantom units. The Company amortizes this compensation cost to partners’ capital (deficit) and general and administrative expense in the consolidated statements of operations using the straight-line method over the service period, as it expects these units to fully vest.

 

F-71


Table of Contents

A summary of the Company’s non-vested phantom units as of December 31, 2023, and the changes during the years ended December 31, 2023 and 2022, are presented below:

 

     Number of
Phantom Units
     Weighted-Average
Grant Date Fair Value
 

Non-vested at January 1, 2021

     2,370,868      $ 2.21  

Granted

     821,964        4.71  

Vested

     (1,002,338      3.34  

Forfeited

     (61,933      3.68  
  

 

 

    

 

 

 

Non-vested at December 31, 2021

     2,128,561      $ 2.31  
  

 

 

    

 

 

 

Granted

     931,926        15.02  

Vested

     (1,706,783      5.61  

Forfeited

     (39,322      6.62  
  

 

 

    

 

 

 

Non-vested at December 31, 2022

     1,314,382      $ 6.58  
  

 

 

    

 

 

 

Granted

     1,216,817        17.53  

Vested

     (1,144,542      11.08  

Forfeited

     (159,080      11.89  
  

 

 

    

 

 

 

Non-vested at December 31, 2023

     1,227,577      $ 9.83  
  

 

 

    

 

 

 

For the year ended December 31, 2023, compensation expense of $21.8 million was recognized in the consolidated statements of operations related to phantom unit grants. For the year ended December 31, 2022, compensation expense of $32.9 million was recognized in the consolidated statements of operations related to phantom unit grants. As of December 31, 2023, there was a total of $14.8 million of unrecognized compensation costs related to non-vested phantom unit grants, all of which was attributable to Liability Awards. These costs are expected to be recognized over a weighted-average period of approximately two years. The total fair value of phantom units vested during the years ended December 31, 2023 and 2022, was $19.8 million and $26.1 million, respectively.

13. Employee Benefit Plans

Defined Contribution Plan

The Company has a domestic defined contribution plan administered by its general partner for (i) all full-time employees that are eligible to participate in the plan (the “401(k) Plan”). Participants in the 401(k) Plan are allowed to contribute 1% to 70% of their pre-tax earnings to the plan, subject to government imposed limitations. The Company matches 100% of each 1% of eligible compensation contributed by the participant up to 4% and 50% of each additional 1% of eligible compensation contributed up to 6%, for a maximum contribution by the Company of 5% of eligible compensation contributed per participant. The 401(k) Plan also includes a profit-sharing component for eligible employees. Contributions under the profit-sharing component are determined by the board of directors of the Company’s general partner and are discretionary. The funding policy is consistent with funding requirements of applicable laws and regulations.

The Company recorded the following 401(k) Plan matching contribution expense in the consolidated statements of operations (in millions):

 

     Year Ended December 31,  
      2023        2022        2021   

401(k) Plan matching contribution expense

   $ 7.0      $ 6.9      $ 5.9  

 

F-72


Table of Contents

Defined Benefit Pension Plan

The Company has domestic noncontributory defined benefit plans for those salaried employees as well as those employees represented by either the United Steelworkers (the “USW”) or the International Union of Operating Engineers (the “IUOE”); who (i) were formerly employees of Penreco and became employees of the Company as a result of the acquisition of Penreco on January 3, 2008 (the “Penreco Pension Plan”) or (ii) were formerly employees of Montana Refining Company, Inc. and who became employees of the Company as a result of the acquisition of the Great Falls refinery on October 1, 2012 (the “Great Falls Pension Plan” and together with the Penreco Pension Plan, the “Pension Plan”).

Both the Penreco Pension Plan and the Great Falls Pension Plans were last amended in 2009 and 2015 respectively, which curtailed employees covered by the plans from accumulating additional benefits in subsequent years following the amendment date.

During 2023, the Company made an immaterial amount of contributions to its Pension Plan and expects to contribute less than $0.1 million to its Pension Plan in 2024.

The accumulated and projected benefit obligations for the Pension Plan were $31.2 million as of each of December 31, 2023 and 2022. For the years ended December 31, 2023 and 2022, the discount rate used to determine the benefit obligations was 4.97% and 5.19%, respectively, for the Penreco Pension Plan and 5.05% and 5.16%, respectively, for the Great Falls Pension Plan. For the years ended December 31, 2023 and 2022, the expected rate of return on plan assets was 5.25% and 4.50%, respectively, for the Penreco Pension Plan and 6.00% and 4.50%, respectively, for the Great Falls Pension Plan. The fair value of plan assets was $27.0 million and $26.4 million as of December 31, 2023 and 2022, respectively. The estimated benefit payments for the Pension Plan, which reflect expected future service, as appropriate, are expected to be less than $2.6 million in each of the next five years.

14. Accumulated Other Comprehensive Loss

The table below sets forth a summary of changes in accumulated other comprehensive loss by component for the years ended December 31, 2023 and 2022 (in millions):

 

     Defined Benefit
Pension And
Retiree Health
Benefit Plans
     Total  

Accumulated other comprehensive loss at December 31, 2021

   $ (10.1    $ (10.1

Other comprehensive income before reclassifications

     1.8        1.8  

Net current period other comprehensive income

     1.8        1.8  
  

 

 

    

 

 

 

Accumulated other comprehensive loss at December 31, 2022

   $ (8.3    $ (8.3
  

 

 

    

 

 

 

Other comprehensive income before reclassifications

     1.1        1.1  

Net current period other comprehensive income

     1.1        1.1  
  

 

 

    

 

 

 

Accumulated other comprehensive loss at December 31, 2023

   $ (7.2    $ (7.2
  

 

 

    

 

 

 

15. Income Taxes

The Company, as a partnership, is generally not liable for federal and state income taxes on the earnings of Calumet Specialty Products Partners, L.P., its wholly-owned subsidiaries, and its majority owned subsidiaries. However, the Company conducts certain activities through immaterial, wholly-owned subsidiaries that are

 

F-73


Table of Contents

corporations, which in certain circumstances are subject to federal, state and local income taxes. Additionally, the Company is subject to franchise taxes in certain states. Income taxes on the earnings of the Company, with the exception of the above-mentioned taxes, are the responsibility of its partners, with earnings of the Company included in partners’ earnings.

For the years ended December 31, 2023, 2022, and 2021, the Company recognized income tax expense of $1.6 million, $3.4 million, and $1.5 million, respectively.

As a result of the Company’s analysis, management has determined that the Company does not have any material uncertain tax positions.

16. Earnings per Unit

The following table sets forth the computation of basic and diluted earnings per limited partner unit (in millions, except unit and per unit data):

 

     Year Ended December 31,  
     2023      2022 (As Restated)      2021  

Numerator for basic and diluted earnings per limited partner unit:

        

Net income (loss)

   $ 48.1      $ (173.3    $ (260.1
  

 

 

    

 

 

    

 

 

 

Less:

        

General partner’s interest in net income (loss)

     1.0        (3.5      (5.2
  

 

 

    

 

 

    

 

 

 

Net income (loss) attributable to limited partners

   $ 47.1      $ (169.8    $ (254.9
  

 

 

    

 

 

    

 

 

 

Denominator for earnings per limited partner unit:

        

Basic weighted average limited partner units outstanding

     80,075,530        79,336,283        78,980,839  

Effect of dilutive securities:

        

Incremental units (1)

     —         —         —   
  

 

 

    

 

 

    

 

 

 

Diluted weighted average limited partner units outstanding (2)

     80,075,530        79,336,283        78,980,839  
  

 

 

    

 

 

    

 

 

 

Limited partners’ interest basic net income (loss) per unit:

        

Limited partners’ interest

   $ 0.59      $ (2.14    $ (3.23
  

 

 

    

 

 

    

 

 

 

Limited partners’ interest diluted net income (loss) per unit:

        

Limited partners’ interest

   $ 0.59      $ (2.14    $ (3.23
  

 

 

    

 

 

    

 

 

 

 

(1) 

There were no incremental units that would have been dilutive in the computation of earnings per limited partner unit for the year ended December 31, 2023.

(2) 

Total diluted weighted average limited partner units outstanding excludes a de-minimis amount of potentially dilutive phantom units which would have been anti-dilutive for the years ended December 31, 2022, and 2021.

17. Transactions with Related Parties

During the years ended December 31, 2023, 2022, and 2021, the Company had product sales to related parties of $8.4 million, $16.5 million, and $19.9 million, respectively. Trade accounts and other receivables from related parties at December 31, 2023 and 2022 were $1.7 million and $1.9 million, respectively. The Company also had purchases from related parties during the years ended December 31, 2023, 2022, and 2021 of $16.5 million, $11.7 million, and $9.7 million, respectively. Accounts payable to related parties were $5.9 million and $1.5 million, at December 31, 2023 and 2022, respectively.

 

F-74


Table of Contents

The general partner employs all of the Company’s employees and the Company reimburses the general partner for certain of its expenses.

18. Segments and Related Information

Segment Reporting

The Company determines its reportable segments based on how the business is managed internally for the products sold to customers, including how results are reviewed and resources are allocated by the chief operating decision makers (“CODM”). The Company’s operations are managed by the CODM using the following reportable segments:

 

   

Specialty Products and Solutions. The Specialty Products and Solutions segment consists of our customer-focused solutions and formulations businesses, covering multiple specialty product lines, anchored by our unique integrated complex in Northwest Louisiana. In this segment, we manufacture and market a wide variety of solvents, waxes, customized lubricating oils, white oils, petrolatums, gels, esters, and other products. Our specialty products are sold to domestic and international customers who purchase them primarily as raw material components for consumer-facing and industrial products.

 

   

Montana/Renewables. The Montana/Renewables segment is composed of our Great Falls specialty asphalt facility and our Montana Renewables facility. At our Montana Renewables facility, we process a variety of geographically advantaged renewable feedstocks into renewable diesel, sustainable aviation fuel, renewable hydrogen, renewable natural gas, renewable propane, and renewable naphtha that are distributed into renewable markets in the western half of North America. At our Montana specialty asphalt facility, we process Canadian crude oil into conventional gasoline, diesel, jet fuel and specialty grades of asphalt, with production sized to serve local markets.

 

   

Performance Brands. The Performance Brands segment includes our fast-growing portfolio of high-quality, high-performing brands. In this segment, we blend, package, and market high performance products through our Royal Purple, Bel-Ray, and TruFuel brands.

 

   

Corporate. The Corporate segment primarily consists of general and administrative expenses not allocated to the Montana/Renewables, Specialty Products and Solutions, or Performance Brands segments.

The accounting policies of the reporting segments are the same as those described in the summary of significant accounting policies as disclosed in Note 2—“Summary of Significant Accounting Policies,” except that the disaggregated financial results for the reporting segments have been prepared using a management approach, which is consistent with the basis and manner in which management internally disaggregates financial information for the purposes of assisting internal operating decisions. The Company accounts for inter-segment sales and transfers using market-based transfer pricing. The Company will periodically refine its expense allocation methodology for its segment reporting as more specific information becomes available and the industry or market changes. The Company evaluates performance based upon Adjusted EBITDA (a non-GAAP financial measure). The Company defines Adjusted EBITDA for any period as EBITDA adjusted for (a) impairment; (b) unrealized gains and losses from mark-to-market accounting for hedging activities; (c) realized gains and losses under derivative instruments excluded from the determination of net income (loss); (d) non-cash equity-based compensation expense and other non-cash items (excluding items such as accruals of cash expenses in a future period or amortization of a prepaid cash expense) that were deducted in computing net income (loss); (e) debt refinancing fees, extinguishment costs, premiums and penalties; (f) any net gain or loss realized in connection with an asset sale that was deducted in computing net income (loss); (g) amortization of turnaround costs; (h) LCM inventory adjustments; (i) the impact of liquidation of inventory layers calculated using the LIFO method; (j) RINs mark-to-market adjustments; and (k) all extraordinary, unusual or non-recurring items of gain or loss, or revenue or expense.

 

F-75


Table of Contents

Reportable segment information is as follows (in millions):

 

Year Ended December 31, 2023

  Specialty
Products and
Solutions (1)
    Performance
Brands (2)
    Montana/
Renewables (3)
    Corporate     Eliminations     Consolidated
Total
 

Sales:

           

External customers

  $ 2,876.9     $ 310.3     $ 993.8     $ —      $ —      $ 4,181.0  

Inter-segment sales

    17.2       0.3       —        —        (17.5     —   
 

 

 

   

 

 

   

 

 

   

 

 

   

 

 

   

 

 

 

Total sales

  $ 2,894.1     $ 310.6     $ 993.8     $ —      $ (17.5   $ 4,181.0  
 

 

 

   

 

 

   

 

 

   

 

 

   

 

 

   

 

 

 

Adjusted EBITDA

  $ 251.2     $ 47.9     $ 30.2     $ (68.8   $ —      $ 260.5  

Reconciling items to net income:

           

Depreciation and amortization

    76.8       9.9       95.2       1.1       —        183.0  

LCM / LIFO (gain) loss

    (2.1     2.0       35.7       —        —        35.6  

Loss on impairment and disposal of assets

    —        —        3.5       —        —        3.5  

Interest expense

    27.9       0.1       65.4       128.3       —        221.7  

Debt extinguishment costs

    —        —        0.4       5.5       —        5.9  

Unrealized gain on derivatives

    (28.4     —        (4.6     —        —        (33.0

RINs mark-to-market gain

    (201.1     —        (89.1     —        —        (290.2

Other non-recurring expenses

              60.9  

Equity-based compensation and other items

              20.2  

Income tax expense

              1.6  

Noncontrolling interest adjustments

              3.2  
           

 

 

 

Net income

            $ 48.1  
           

 

 

 

Capital expenditures

  $ 82.2     $ 2.3     $ 234.6     $ 0.6     $ —      $ 319.7  

PP&E, net

  $ 373.0     $ 33.4     $ 1,097.9     $ 2.0     $ —      $ 1,506.3  

Year Ended December 31, 2022 (As Restated)

  Specialty
Products and
Solutions (4) (5)
    Performance
Brands
    Montana/
Renewables (3)
    Corporate     Eliminations     Consolidated
Total
 

Sales:

           

External customers

  $ 3,508.0     $ 303.4     $ 874.9     $ —      $ —      $ 4,686.3  

Inter-segment sales

    24.7       —        —        —        (24.7     —   
 

 

 

   

 

 

   

 

 

   

 

 

   

 

 

   

 

 

 

Total sales

  $ 3,532.7     $ 303.4     $ 874.9     $ —      $ (24.7   $ 4,686.3  
 

 

 

   

 

 

   

 

 

   

 

 

   

 

 

   

 

 

 

Adjusted EBITDA

  $ 379.4     $ 20.2     $ 75.8     $ (85.4   $ —      $ 390.0  

Reconciling items to net loss:

           

Depreciation and amortization

    63.0       11.3       41.1       6.0       —        121.4  

LCM / LIFO (gain) loss

    (14.2     (0.3     21.1       —        —        6.6  

Loss on impairment and disposal of assets

    —        —        0.7       —        —        0.7  

Interest expense

    32.3       1.2       29.8       112.6       —        175.9  

Debt extinguishment costs

    —        —        38.3       3.1       —        41.4  

Unrealized (gain) loss on derivatives

    51.9       —        (6.0     —        —        45.9  

RINs mark-to-market loss

    75.0       —        40.7       —        —        115.7  

Other non-recurring expenses

              15.6  

Equity-based compensation and other items

              34.4  

Income tax expense

              3.4  

Noncontrolling interest adjustments

              2.3  
           

 

 

 

Net loss

            $ (173.3
           

 

 

 

Capital expenditures

  $ 68.4     $ 2.0     $ 528.1     $ 0.3     $ —      $ 598.8  

PP&E, net

  $ 382.4     $ 34.1     $ 1,062.7     $ 2.8     $ —      $ 1,482.0  

 

F-76


Table of Contents

Year Ended December 31, 2021

  Specialty
Products and
Solutions
    Performance
Brands
    Montana/
Renewables
    Corporate     Eliminations     Consolidated
Total
 

Sales:

           

External customers

  $ 2,111.4     $ 252.9     $ 783.7     $ —      $ —      $ 3,148.0  

Inter-segment sales

    16.1       —        —        —        (16.1     —   
 

 

 

   

 

 

   

 

 

   

 

 

   

 

 

   

 

 

 

Total sales

  $ 2,127.5     $ 252.9     $ 783.7     $ —      $ (16.1   $ 3,148.0  
 

 

 

   

 

 

   

 

 

   

 

 

   

 

 

   

 

 

 

Adjusted EBITDA

  $ 104.6     $ 33.8     $ 44.4     $ (72.5   $ —      $ 110.3  

Reconciling items to net loss:

           

Depreciation and amortization

    68.5       13.6       34.6       8.0       —        124.7  

LCM / LIFO gain

    (35.1     (3.8     (11.4     —        —        (50.3

Loss on impairment and disposal of assets

    3.1       0.1       0.8       0.1       —        4.1  

Interest expense

    18.5       0.3       8.3       122.4       —        149.5  

Unrealized loss on derivatives

    16.3       —        8.1       —        —        24.4  

RINs mark-to-market loss

    40.9       —        16.8       —        —        57.7  

Other non-recurring expenses

              8.1  

Equity-based compensation and other items

              50.7  

Income tax expense

              1.5  
           

 

 

 

Net loss

            $ (260.1
           

 

 

 

Capital expenditures

  $ 57.6     $ 3.3     $ 83.0     $ —      $ —      $ 143.9  

PP&E, net

  $ 375.5     $ 34.3     $ 531.3     $ 8.6     $ —      $ 949.7  

 

(1) 

For the year ended December 31, 2023, Adjusted EBITDA for the Specialty Products and Solutions segment included a $9.5 million gain recorded in cost of sales in the consolidated statements of operations for proceeds received under the Company’s property damage insurance policy.

(2) 

For the year ended December 31, 2023, Adjusted EBITDA for the Performance Brands segment included a $8.2 million gain recorded in cost of sales in the consolidated statements of operations for proceeds received under the Company’s business interruption insurance policy.

(3) 

For the year ended December 31, 2023, Adjusted EBITDA for the Montana/Renewables segment excluded a $50.6 million charge to cost of sales in the consolidated statements of operations for losses under firm purchase commitments. For the year ended December 31, 2022, Adjusted EBITDA for the Montana/Renewables segment excluded a $13.0 million charge to cost of sales in the consolidated statements of operations for losses under firm purchase commitments.

(4) 

For the year ended December 31, 2022, Adjusted EBITDA for the Specialty Products and Solutions segment included a $13.9 million gain recorded in cost of sales in the consolidated statements of operations for proceeds received under the Company’s business interruption insurance policy. The Company incurred business losses due to increased costs arising from a polar vortex that occurred in 2021 in northwest Louisiana. As a result, the Company filed a contingent business interruption claim. Specifically, the losses included a loss of throughput at the Shreveport refinery and additional transportation related expenses.

(5) 

For the year ended December 31, 2022, Adjusted EBITDA for the Specialty Products and Solutions segment included a $4.4 million gain recorded in cost of sales in the consolidated statements of operations for proceeds received under the Company’s property damage insurance policy as a result of damages caused by a polar vortex that occurred in 2021.

Geographic Information

International sales accounted for less than ten percent of consolidated sales in each of the years ended December 31, 2023, 2022, and 2021 respectively.

 

F-77


Table of Contents

Product Information

The Company offers specialty, fuels, renewable fuels and packaged products primarily in categories consisting of lubricating oils, solvents, waxes, gasoline, diesel, jet fuel, asphalt, heavy fuel oils, renewable fuels, high-performance branded specialty products, and other specialty and fuels products. The following table sets forth the major product category sales for each segment (dollars in millions):

 

     Year Ended December 31,  
     2023     2022 (As Restated)     2021  

Specialty Products and Solutions:

               

Lubricating oils

   $ 763.8        18.3   $ 913.7        19.5   $ 658.7        20.9

Solvents

     398.5        9.5     434.9        9.3     303.7        9.7

Waxes

     163.9        3.9     189.3        4.0     151.7        4.8

Fuels, asphalt and other by-products

     1,550.7        37.2     1,970.1        42.0     997.3        31.7
  

 

 

    

 

 

   

 

 

    

 

 

   

 

 

    

 

 

 

Total

   $ 2,876.9        68.9   $ 3,508.0        74.8   $ 2,111.4        67.1
  

 

 

    

 

 

   

 

 

    

 

 

   

 

 

    

 

 

 

Montana/Renewables:

               

Gasoline

   $ 167.2        4.0   $ 188.1        4.0   $ 188.3        6.0

Diesel

     144.8        3.5     391.8        8.4     324.9        10.3

Jet fuel

     20.5        0.5     41.8        0.9     27.5        0.9

Asphalt, heavy fuel oils and other

     148.1        3.5     253.2        5.4     243.0        7.7

Renewable fuels

     513.2        12.3     —         —        —         -
  

 

 

    

 

 

   

 

 

    

 

 

   

 

 

    

 

 

 

Total

   $ 993.8        23.8   $ 874.9        18.7   $ 783.7        24.9
  

 

 

    

 

 

   

 

 

    

 

 

   

 

 

    

 

 

 

Performance Brands:

   $ 310.3        7.4   $ 303.4        6.5   $ 252.9        8.0
  

 

 

    

 

 

   

 

 

    

 

 

   

 

 

    

 

 

 

Consolidated sales

   $ 4,181.0        100.0   $ 4,686.3        100.0   $ 3,148.0        100.0
  

 

 

    

 

 

   

 

 

    

 

 

   

 

 

    

 

 

 

Major Customers

During the years ended December 31, 2023, 2022, and 2021 the Company had no customer that represented 10% or greater of consolidated sales.

Major Suppliers

During the years ended December 31, 2023, 2022, and 2021 the Company had two counterparties that supplied approximately 90.2%, 86.2%, and 90.2%, respectively, of its crude oil supply.

19. Unrestricted Subsidiaries

As defined in the indentures governing the Company’s outstanding senior notes, an unrestricted subsidiary means Montana Renewables Holdings, MRL and any other subsidiary of the Company, other than Calumet Finance Corp., that is designated by the Company’s general partner’s board of directors as an unrestricted subsidiary, but only to the extent that such subsidiary:

 

   

has no indebtedness other than non-recourse debt owing to any person other than the Company or any of its restricted subsidiaries, except to the extent permitted by the indentures of the senior notes;

 

   

is not party to any agreement, contract, arrangement or understanding with the Company or any restricted subsidiary of the Company unless the terms of any such agreement, contract, arrangement or other understanding are no less favorable to the Company or such restricted subsidiary than those that might be obtained at the time from persons who are not affiliates of the Company, except to the extent permitted by the indentures of the senior notes;

 

F-78


Table of Contents
   

is a person with respect to which neither the Company nor any of its restricted subsidiaries has any direct or indirect obligation (a) to subscribe for additional equity interests or (b) to maintain or preserve such person’s financial condition or to cause such person to achieve any specified levels of operating results, except to the extent permitted by the indentures of the senior notes; and

 

   

has not guaranteed or otherwise directly or indirectly provided credit support for any indebtedness of the Company or any of its restricted subsidiaries.

For the years ended December 31, 2023 and December 31, 2022, respectively, Montana Renewables Holdings and MRL were the only unrestricted subsidiaries of the Company. In accordance with the indentures governing the Company’s outstanding senior notes, the following table sets forth certain financial information of (i) the Company and its restricted subsidiaries, on a combined basis, (ii) the Company’s unrestricted subsidiaries, on a combined basis, and (iii) the Company and its subsidiaries, on a consolidated basis, in each case, as of December 31, 2023 and December 31, 2022, respectively.

 

December 31, 2023

   Parent
Company and
Restricted
Subsidiaries
    Unrestricted
Subsidiaries
    Eliminations     Consolidated
Total
 

Cash and cash equivalents

   $ 7.3     $ 0.6     $ —      $ 7.9  

Accounts receivable—trade

   $ 230.7     $ 21.7     $ —      $ 252.4  

Accounts receivable—other

   $ 24.8     $ 9.0     $ —      $ 33.8  

Inventory

   $ 353.1     $ 86.3     $ —      $ 439.4  

Prepaid expenses and other current assets

   $ 14.6     $ 37.0     $ —      $ 51.6  

Property, plant and equipment, net

   $ 731.7     $ 774.6     $ —      $ 1,506.3  

Other noncurrent asset, net

   $ 436.9     $ 13.4     $ —      $ 450.3  

Accounts payable

   $ 282.4     $ 333.3     $ (293.7   $ 322.0  

Accrued interest payable

   $ 47.8     $ 0.9     $ —      $ 48.7  

Obligations under inventory financing agreements

   $ 126.0     $ 64.4     $ —      $ 190.4  

Other current liabilities

   $ 104.5     $ 27.0     $ —      $ 131.5  

Current portion of long-term debt

   $ 38.8     $ 16.9     $ —      $ 55.7  

Other long-term liabilities

   $ 50.6     $ 3.0     $ —      $ 53.6  

Long-term debt

   $ 1,381.0     $ 548.7     $ (100.0   $ 1,829.7  

Redeemable noncontrolling interest

   $ —      $ 245.6     $ —      $ 245.6  

Partners’ capital (deficit)

   $ (174.3   $ (297.2   $ (18.8   $ (490.3

 

F-79


Table of Contents

December 31, 2022 (As Restated)

   Parent
Company and
Restricted
Subsidiaries
    Unrestricted
Subsidiaries
    Eliminations     Consolidated
Total
 

Cash and cash equivalents

   $ 9.4     $ 25.8     $ —      $ 35.2  

Accounts receivable—trade

   $ 238.4     $ 6.3     $ —      $ 244.7  

Accounts receivable—other

   $ 20.5     $ 1.9     $ —      $ 22.4  

Inventory

   $ 369.8     $ 127.9     $ —      $ 497.7  

Prepaid expenses and other current assets

   $ 13.6     $ 6.0     $ —      $ 19.6  

Property, plant and equipment, net

   $ 760.7     $ 721.3     $ —      $ 1,482.0  

Operating lease right-of-use assets

   $ 105.7     $ 1.8     $ —      $ 107.5  

Other noncurrent assets, net

   $ 113.8     $ 8.8     $ —      $ 122.6  

Accounts payable

   $ 307.2     $ 265.6     $ (130.8   $ 442.0  

Obligations under inventory financing agreements

   $ 158.2     $ 63.6     $ —      $ 221.8  

Other current liabilities

   $ 21.2     $ 13.1     $ —      $ 34.3  

Current portion of operating lease liabilities

   $ 70.1     $ 0.6     $ —      $ 70.7  

Current portion of long-term debt

   $ 7.9     $ 11.7     $ —      $ 19.6  

Long-term operating lease liabilities

   $ 35.9     $ 1.2     $ —      $ 37.1  

Long-term debt

   $ 1,183.5     $ 356.6     $ —      $ 1,540.1  

Redeemable noncontrolling interest

   $ —      $ 245.6     $ —      $ 245.6  

Partners’ capital (deficit)

   $ (456.3   $ (58.2   $ (18.8   $ (533.3

The following table sets forth certain financial information of the Company’s unrestricted subsidiaries, on a combined basis, as of December 31, 2023, 2022 and 2021, respectively.

 

     Year Ended December 31,  
     2023     2022 (As Restated)     2021  
     (In millions, except unit and per unit data)  

Sales

   $ 513.2     $ 65.9     $ 6.9  

Cost of sales

     651.0       77.8       5.0  
  

 

 

   

 

 

   

 

 

 

Gross profit (loss)

     (137.8     (11.9     1.9  
  

 

 

   

 

 

   

 

 

 

Operating costs and expenses:

      

General and administrative

     22.1       2.0       2.1  

Taxes other than income taxes

     4.3       —        —   

Loss on impairment and disposal of assets

     3.4       —        —   
  

 

 

   

 

 

   

 

 

 

Operating loss

     (167.6     (13.9     (0.2
  

 

 

   

 

 

   

 

 

 

Other income (expense):

      

Interest expense

     (77.8     (32.8     (5.2

Debt extinguishment costs

     —        (38.3     —   

Gain on derivative instruments

     5.3       11.3       —   

Other income

     1.1       0.4       —   
  

 

 

   

 

 

   

 

 

 

Total other expense

     (71.4     (59.4     (5.2
  

 

 

   

 

 

   

 

 

 

Net loss

   $ (239.0   $ (73.3   $ (5.4
  

 

 

   

 

 

   

 

 

 

20. Redeemable Noncontrolling Interest

On August 5, 2022 (the “Closing Date”), MRHL issued and sold 12,500,000 preferred units (“Preferred Units”) in MRHL to an affiliate of Warburg Pincus LLC for $250.0 million for an immediate cash payment of $200.0 million and the agreement to pay the remaining $50.0 million in cash not later than October 3, 2022 (the “Deferred Purchase Price”) in exchange for a 14.2045% Percentage Interest in MRHL. The Company received the cash payment for the Deferred Purchase Price on October 3, 2022. The Preferred Units are not interest bearing and carry certain minimum return thresholds.

 

F-80


Table of Contents

Holders of the Preferred Units are entitled to receive a preferred return equal to the greater of (i) an internal rate of return, or IRR, as defined in the Second Amended and Restated Limited Liability Company Agreement of MRHL (the “Second A&R LLC Agreement”), equal to 8.0% and (ii) a multiple on invested capital, or MOIC (as defined in the Second A&R LLC Agreement), initially equal to 1.35 and increasing by 0.01 each anniversary of the Closing Date up to a maximum MOIC equal to 1.40 on or after the fifth anniversary of the Closing Date (the “Preferred Return”). Pursuant to the Second A&R LLC Agreement, MRHL is required to distribute all Available Cash (as defined in the Second A&R LLC Agreement), to the members of MRHL (the “Members”) in the following priority: (i) 37.5% to the holders of the Preferred Units and 62.5% to all other Members pro rata based on their Percentage Interests (as defined in the Second A&R LLC Agreement) until the holders of the Preferred Units receive the Preferred Return and (ii) thereafter, 100.0% to the Members pro rata based on their Percentage Interests. Additionally, pursuant to the Second A&R LLC Agreement the Company is required to make distributions to the Members sufficient to enable them to pay, on a quarterly basis, federal, state and local taxes arising from the allocations made to such members. Further, such distributions are determined by the Company and shall be made within thirty (30) days after the close of each applicable quarter. Any tax liability distributions shall be treated as an advance against, and shall reduce the amount of, the next distribution that the members would otherwise receive pursuant to the agreement.

At any time following the fifth anniversary of the Closing Date, if MRHL has not had an Initial Public Offering or Change of Control (each as defined in the Second A&R LLC Agreement), Warburg has the right to initiate an Initial Public Offering or Change of Control transaction pursuant to the terms of the Second A&R LLC Agreement. Upon the closing of a Qualified Initial Public Offering (as defined in the Second A&R LLC Agreement), each of MRHL and Warburg have the right to elect to convert all (but not less than all) of the Preferred Units (i) first by MRHL paying each holder of Preferred Units an amount in cash equal to such holder’s Preferred Return (to the extent not already paid) and (ii) thereafter, the Preferred Units automatically convert into the same number of common units of MRHL and will be entitled to participate in any distributions of Available Cash to the Members in proportion to their respective Percentage Interests. The Second A&R LLC Agreement also provides certain drag-along rights in connection with a Change of Control, subject to a minimum preferred return requirement for certain transactions that are consummated before the third anniversary of the Closing Date.

The redeemable noncontrolling interest in MRHL is reflected as temporary equity in the consolidated balance sheets due to the redemption features described above and included a balance of $245.6 million as of December 31, 2023 and 2022, as restated, respectively, which reflects the amount recorded for the Preferred Units at their issuance date fair value, net of issuance costs. As of the reporting date, there are no triggering, change of control, early redemption or monetization events that are probable that would require us to revalue the Preferred Units.

21. Restatement of Prior Period

The Company has restated its consolidated financial statements as of and for the year ended December 31, 2022. This restatement corrects the error related to the attribution of net loss from MRHL to noncontrolling interest for the year ended December 31, 2022. The Company previously allocated its net loss to noncontrolling interest based on the relative ownership interest of the equity holders in MRHL, which was approximately 14% for the noncontrolling interest. The Partnership has subsequently determined that, under applicable accounting standards, no portion of the net loss from MRHL should have been allocated to noncontrolling interest. In addition to the restatement error described above, the Company has corrected certain items that were concluded as immaterial, individually and in the aggregate, to the financial statements for the year ended December 31, 2022.

 

F-81


Table of Contents

The effects of the restatement on the consolidated balance sheet as of December 31, 2022 are summarized in the following table:

 

    December 31, 2022  
    (In millions, except unit data)  
    As Previously
Reported
    Effect of
Restatement
    As Restated  
ASSETS                  

Current assets:

     

Cash and cash equivalents

  $ 35.2     $ —      $ 35.2  

Accounts receivable, net:

     

Trade, less allowance for credit losses of $1.3 million

    245.7       (1.0     244.7  

Other

    22.3       0.1       22.4  
 

 

 

   

 

 

   

 

 

 
    268.0     (0.9)     267.1  
 

 

 

   

 

 

   

 

 

 

Inventories

    498.0       (0.3     497.7  

Prepaid expenses and other current assets

    19.2       0.4       19.6  
 

 

 

   

 

 

   

 

 

 

Total current assets

    820.4       (0.8     819.6  
 

 

 

   

 

 

   

 

 

 

Property, plant and equipment, net

    1,482.0       —        1,482.0  

Goodwill

    173.0       —        173.0  

Other intangible assets, net

    36.3       —        36.3  

Operating lease right-of-use assets

    107.5       —        107.5  

Other noncurrent assets, net

    122.6       —        122.6  
 

 

 

   

 

 

   

 

 

 

Total assets

  $ 2,741.8     $ (0.8   $ 2,741.0  
 

 

 

   

 

 

   

 

 

 
LIABILITIES AND PARTNERS’ CAPITAL (DEFICIT)                  

Current liabilities:

     

Accounts payable

  $ 442.4     $ (0.4   $ 442.0  

Accrued interest payable

    34.6       —        34.6  

Accrued salaries, wages and benefits

    93.0       —        93.0  

Other taxes payable

    9.5       —        9.5  

Obligations under inventory financing agreements

    221.8       —        221.8  

Current portion of RINs obligation

    399.3       (0.4     398.9  

Other current liabilities

    34.3       —        34.3  

Current portion of operating lease liabilities

    70.7       —        70.7  

Current portion of long-term debt

    20.0       (0.4     19.6  

Derivative liabilities

    26.5       —        26.5  
 

 

 

   

 

 

   

 

 

 

Total current liabilities

    1,352.1       (1.2     1,350.9  
 

 

 

   

 

 

   

 

 

 

Pension and postretirement benefit obligations

    4.8       —        4.8  

Other long-term liabilities

    18.3       —        18.3  

Long-term operating lease liabilities

    37.1       —        37.1  

Long-term RINs obligation, less current portion

    77.5       —        77.5  

Long-term debt, less current portion

    1,539.7       0.4       1,540.1  
 

 

 

   

 

 

   

 

 

 

Total liabilities

  $ 3,029.5     $ (0.8   $ 3,028.7  
 

 

 

   

 

 

   

 

 

 

Commitments and contingencies

     

Redeemable noncontrolling interest

  $ 250.0     $ (4.4   $ 245.6  

Partners’ capital (deficit):

     

Limited partners’ interest (79,189,583 units issued and outstanding at December 31, 2022)

  $ (529.9   $ 4.6     $ (525.3

General partner’s interest

    0.5       (0.2     0.3  

Accumulated other comprehensive loss

    (8.3     —        (8.3
 

 

 

   

 

 

   

 

 

 

Total partners’ capital (deficit)

    (537.7     4.4       (533.3
 

 

 

   

 

 

   

 

 

 

Total liabilities and partners’ capital (deficit)

  $ 2,741.8     $ (0.8   $ 2,741.0  
 

 

 

   

 

 

   

 

 

 

 

F-82


Table of Contents

The effects of the restatement on the consolidated statement of operations for the year ended December 31, 2022 are summarized in the following table:

 

     Year Ended December 31, 2022  
     As Previously
Reported
    Effect of
Restatement
    As Restated  
     (In millions, except unit and per unit data)  

Sales

   $ 4,686.7     $ (0.4   $ 4,686.3  

Cost of sales

     4,335.9       (1.3     4,334.6  
  

 

 

   

 

 

   

 

 

 

Gross profit

     350.8       0.9       351.7  
  

 

 

   

 

 

   

 

 

 

Operating costs and expenses:

      

Selling

     53.9       —        53.9  

General and administrative

     141.0       2.4       143.4  

Taxes other than income taxes

     13.7       —        13.7  

Loss on impairment and disposal of assets

     0.7       —        0.7  

Other operating expense

     8.1       —        8.1  
  

 

 

   

 

 

   

 

 

 

Operating income

     133.4       (1.5     131.9  
  

 

 

   

 

 

   

 

 

 

Other expense:

      

Interest expense

     (175.9     —        (175.9

Debt extinguishment costs

     (41.4     —        (41.4

Loss on derivative instruments

     (81.7     —        (81.7

Other expense

     (2.8     —        (2.8
  

 

 

   

 

 

   

 

 

 

Total other expense

     (301.8     —        (301.8
  

 

 

   

 

 

   

 

 

 

Net loss before income taxes

     (168.4     (1.5     (169.9

Income tax expense

     3.4       —        3.4  
  

 

 

   

 

 

   

 

 

 

Net loss

   $ (171.8   $ (1.5   $ (173.3

Net loss attributable to noncontrolling interest

     (6.7     6.7       —   
  

 

 

   

 

 

   

 

 

 

Net loss attributable to partners

   $ (165.1   $ (8.2   $ (173.3
  

 

 

   

 

 

   

 

 

 

Allocation of net loss to partners:

      

Net loss attributable to partners

   $ (165.1   $ (8.2   $ (173.3

Less:

      

General partners’ interest in net loss

     (3.3     (0.2     (3.5
  

 

 

   

 

 

   

 

 

 

Net loss available to limited partners

   $ (161.8   $ (8.0   $ (169.8
  

 

 

   

 

 

   

 

 

 

Weighted average limited partner units outstanding:

      

Basic and diluted

     79,336,283       —        79,336,283  
  

 

 

   

 

 

   

 

 

 

Limited partners’ interest basic and diluted net loss per unit:

      

Limited partners’ interest

   $ (2.04   $ (0.10   $ (2.14
  

 

 

   

 

 

   

 

 

 

 

F-83


Table of Contents

The effects of the restatement on the consolidated statement of comprehensive income (loss) for the year ended December 31, 2022 are summarized in the following table:

 

     Year Ended December 31, 2022  
     As Previously
Reported
    Effect of
Restatement
    As Restated  
     (In millions)  

Net loss

   $ (171.8   $ (1.5   $ (173.3

Other comprehensive income:

      

Defined benefit pension and retiree health benefit plans

     1.8       —        1.8  
  

 

 

   

 

 

   

 

 

 

Total other comprehensive income

     1.8       —        1.8  
  

 

 

   

 

 

   

 

 

 

Comprehensive loss

   $ (170.0   $ (1.5   $ (171.5
  

 

 

   

 

 

   

 

 

 

Less: Comprehensive loss attributable to noncontrolling interest

     (6.7     6.7       —   
  

 

 

   

 

 

   

 

 

 

Comprehensive loss attributable to partners’ capital (deficit)

   $ (163.3   $ (8.2   $ (171.5
  

 

 

   

 

 

   

 

 

 

The effects of the restatement on the consolidated statement of partners’ capital (deficit) for the year ended December 31, 2022 are summarized in the following table:

 

     Accumulated
Other

Comprehensive
Loss
    Partners’ Capital (Deficit)        
    General
Partner
    Limited
Partners
    Total  
     (In millions)  

Balance at December 31, 2021 (as previously reported)

   $ (10.1   $ 3.8     $ (378.8   $ (385.1
  

 

 

   

 

 

   

 

 

   

 

 

 

Other comprehensive income

     1.8       —        —        1.8  

Net loss attributable to partners

     —        (3.3     (161.8     (165.1

Settlement of phantom units

     —        —        6.7       6.7  

Settlement of tax withholdings on equity-based incentive compensation

     —        —        (4.1     (4.1

Modification of phantom units

     —        —        13.5       13.5  

Amortization of phantom units

     —        —        5.7       5.7  

Adjustment to ASC 480 redemption value

     —        —        (11.1     (11.1
  

 

 

   

 

 

   

 

 

   

 

 

 

Balance at December 31, 2022

   $ (8.3   $ 0.5     $ (529.9   $ (537.7
  

 

 

   

 

 

   

 

 

   

 

 

 

Restatement Impacts

        

Net loss attributable to partners

     —        (0.2     (8.0     (8.2

Settlement of phantom units

     —        —        1.5       1.5  

Adjustment to ASC 480 redemption value

     —        —        11.1       11.1  
  

 

 

   

 

 

   

 

 

   

 

 

 

Balance at December 31, 2022 (restatement impacts)

   $ —      $ (0.2   $ 4.6     $ 4.4  
  

 

 

   

 

 

   

 

 

   

 

 

 

Balance at December 31, 2021 (as previously reported)

   $ (10.1   $ 3.8     $ (378.8   $ (385.1
  

 

 

   

 

 

   

 

 

   

 

 

 

Other comprehensive income

     1.8       —        —        1.8  

Net loss attributable to partners

     —        (3.5     (169.8     (173.3

Settlement of phantom units

     —        —        8.2       8.2  

Settlement of tax withholdings on equity-based incentive compensation

     —        —        (4.1     (4.1

Modification of phantom units

     —        —        13.5       13.5  

Amortization of phantom units

     —        —        5.7       5.7  
  

 

 

   

 

 

   

 

 

   

 

 

 

Balance at December 31, 2022 (as restated)

   $ (8.3   $ 0.3     $ (525.3   $ (533.3
  

 

 

   

 

 

   

 

 

   

 

 

 

 

F-84


Table of Contents

The effects of the restatement on the consolidated statement of cash flows for the year ended December 31, 2022 are summarized in the following table:

 

     Year Ended December 31, 2022  
     As Previously
Reported
    Effect of
Restatement
    As Restated  
     (In millions)  

Operating activities

      

Net loss

   $ (171.8   $ (1.5   $ (173.3

Adjustments to reconcile net loss to net cash provided by operating activities:

         —   

Depreciation and amortization

     98.3       —        98.3  

Amortization of turnaround costs

     23.1       —        23.1  

Non-cash interest expense

     17.6       —        17.6  

Debt extinguishment costs

     41.4       —        41.4  

Non-cash RINs expense

     197.9       (0.4     197.5  

Unrealized loss on derivative instruments

     45.9       —        45.9  

Loss on impairment and disposal of assets

     0.7       —        0.7  

Equity based compensation

     15.8       1.5       17.3  

Lower of cost or market inventory adjustment

     19.4       —        19.4  

Other non-cash activities

     2.2       —        2.2  

Changes in assets and liabilities

      

Accounts receivable

     (15.0     0.9       (14.1

Inventories

     (190.8     0.3       (190.5

Prepaid expenses and other current assets

     (5.2     (0.4     (5.6

Turnaround costs

     (62.6     —        (62.6

Accounts payable

     57.3       (0.4     56.9  

Accrued interest payable

     8.4       —        8.4  

Accrued salaries, wages and benefits

     9.5       —        9.5  

Other taxes payable

     (2.1     —        (2.1

Other liabilities

     10.6       —        10.6  
  

 

 

   

 

 

   

 

 

 

Net cash provided by operating activities

     100.6       —        100.6  
  

 

 

   

 

 

   

 

 

 

Investing activities

      

Additions to property, plant and equipment

     (536.2     —        (536.2

Proceeds from sale of property, plant and equipment

     0.2       —        0.2  
  

 

 

   

 

 

   

 

 

 

Net cash used in investing activities

     (536.0     —        (536.0
  

 

 

   

 

 

   

 

 

 

Financing activities

      

Proceeds from borrowings—revolving credit facility

     1,695.1       —        1,695.1  

Repayments of borrowings—revolving credit facility

     (1,591.1     —        (1,591.1

Proceeds from borrowings—senior notes

     325.0       —        325.0  

Repayments of borrowings—senior notes

     (363.1     —        (363.1

Payments on finance lease obligations

     (0.9     —        (0.9

Proceeds from inventory financing

     2,166.0       —        2,166.0  

Payments on inventory financing

     (2,132.6     —        (2,132.6

Proceeds from sale of redeemable noncontrolling interest in subsidiary

     250.0       —        250.0  

Payments for issuance of Preferred Units

     (4.4     —        (4.4

Repayments of borrowings—MRL Credit Facility

     (347.3     —        (347.3

Proceeds from other financing obligations

     372.9       —        372.9  

Payments on other financing obligations

     (15.6     —        (15.6

Debt issuance costs

     (5.3     —        (5.3
  

 

 

   

 

 

   

 

 

 

Net cash provided by financing activities

     348.7       —        348.7  
  

 

 

   

 

 

   

 

 

 

Net decrease in cash, cash equivalents and restricted cash

     (86.7     —        (86.7
  

 

 

   

 

 

   

 

 

 

Cash, cash equivalents and restricted cash at beginning of period

     121.9       —        121.9  
  

 

 

   

 

 

   

 

 

 

Cash, cash equivalents and restricted cash at end of period

   $ 35.2     $ —      $ 35.2  
  

 

 

   

 

 

   

 

 

 

Cash and cash equivalents

   $ 35.2     $ —      $ 35.2  

Restricted cash

   $ —      $ —      $ —   

Supplemental disclosure of non-cash investing activities

      

Non-cash property, plant and equipment additions

   $ 151.4     $ —      $ 151.4  
  

 

 

   

 

 

   

 

 

 

Supplemental disclosure of non-cash investing activities

      

Non-cash property, plant and equipment additions

   $ 136.9     $ —      $ 136.9  
  

 

 

   

 

 

   

 

 

 

 

F-85


Table of Contents

22. Quarterly Financial Data (Unaudited)

The Company has restated its unaudited interim condensed consolidated financial statements for the periods ended March 31, 2023, June 30, 2023, and September 30, 2023. This restatement corrects the error related to the attribution of net loss from MRHL to noncontrolling interest for all restated periods. The Company previously allocated its net loss to noncontrolling interest based on the relative ownership interest of the equity holders in MRHL, which was approximately 14% for the noncontrolling interest. The Partnership has subsequently determined that, under applicable accounting standards, no portion of the net loss from MRHL should have been allocated to noncontrolling interest. In addition to the restatement error described above, the Company has corrected certain items that were concluded as immaterial, individually and in the aggregate, to the unaudited interim condensed consolidated financial statements for the periods ended March 31, 2023, June 30, 2023, and September 30, 2023.

As of and for the Three Months Ended March 31, 2023

The effects of the restatement on the condensed consolidated balance sheet as of March 31, 2023 are summarized in the following table:

 

     March 31, 2023  
     (In millions, except unit data)  
     As Previously
Reported
     Effect of
Restatement
     As
Restated
 
ASSETS         

Current assets:

        

Cash and cash equivalents

   $ 11.2      $ —       $ 11.2  

Accounts receivable, net:

        

Trade, less allowance for credit losses of $1.5 million

     262.2        —         262.2  

Other

     34.7        —         34.7  
  

 

 

    

 

 

    

 

 

 
     296.9        —         296.9  
  

 

 

    

 

 

    

 

 

 

Inventories

     454.8        —         454.8  

Derivative assets

     7.1        —         7.1  

Prepaid expenses and other current assets

     29.9        —         29.9  
  

 

 

    

 

 

    

 

 

 

Total current assets

     799.9        —         799.9  
  

 

 

    

 

 

    

 

 

 

Property, plant and equipment, net

     1,543.2        —         1,543.2  

Other noncurrent assets, net

     421.4        —         421.4  
  

 

 

    

 

 

    

 

 

 

Total assets

   $ 2,764.5      $ —       $ 2,764.5  
  

 

 

    

 

 

    

 

 

 
LIABILITIES AND PARTNERS’ CAPITAL (DEFICIT)         

Current liabilities:

        

Accounts payable

   $ 394.3      $ —       $ 394.3  

Accrued interest payable

     39.5        —         39.5  

Accrued salaries, wages and benefits

     75.1        1.6        76.7  

Obligations under inventory financing agreements

     204.0        —         204.0  

Current portion of RINs obligation

     419.5        —         419.5  

Other current liabilities

     112.7        —         112.7  

Current portion of long-term debt

     20.6        —         20.6  
  

 

 

    

 

 

    

 

 

 

Total current liabilities

     1,265.7        1.6        1,267.3  
  

 

 

    

 

 

    

 

 

 

Other long-term liabilities

     52.9        —         52.9  

Long-term RINs obligation, less current portion

     25.2        —         25.2  

Long-term debt, less current portion

     1,696.8        —         1,696.8  
  

 

 

    

 

 

    

 

 

 

Total liabilities

   $ 3,040.6      $ 1.6      $ 3,042.2  
  

 

 

    

 

 

    

 

 

 

 

F-86


Table of Contents
     March 31, 2023  
     (In millions, except unit data)  
     As Previously
Reported
    Effect of
Restatement
    As
Restated
 

Commitments and contingencies

      

Redeemable noncontrolling interest

   $ 250.0     $ (4.4   $ 245.6  

Partners’ capital (deficit):

      

Limited partners’ interest (79,835,801 units issued and outstanding at March 31, 2023)

   $ (518.9   $ 3.2     $ (515.7

General partner’s interest

     1.1       (0.4     0.7  

Accumulated other comprehensive loss

     (8.3     —        (8.3
  

 

 

   

 

 

   

 

 

 

Total partners’ capital (deficit)

     (526.1     2.8       (523.3
  

 

 

   

 

 

   

 

 

 

Total liabilities and partners’ capital (deficit)

   $ 2,764.5     $ —      $ 2,764.5  
  

 

 

   

 

 

   

 

 

 

The effects of the restatement on the condensed consolidated statement of operations for the three months ended March 31, 2023 are summarized in the following table:

 

     Three Months Ended March 31, 2023  
     As Previously
Reported
    Effect of
Restatement
    As Restated  
     (In millions, except unit and per unit data)  

Sales

   $ 1,036.9     $ 0.4     $ 1,037.3  

Cost of sales

     940.2       0.5       940.7  
  

 

 

   

 

 

   

 

 

 

Gross profit

     96.7       (0.1     96.6  
  

 

 

   

 

 

   

 

 

 

Operating costs and expenses:

      

Selling

     13.5       —        13.5  

General and administrative

     37.0       0.1       37.1  

Other operating expense

     3.0       —        3.0  
  

 

 

   

 

 

   

 

 

 

Operating income

     43.2       (0.2     43.0  
  

 

 

   

 

 

   

 

 

 

Other income (expense):

      

Interest expense

     (49.2     —        (49.2

Gain on derivative instruments

     25.5       —        25.5  

Other expense

     (0.2     —        (0.2
  

 

 

   

 

 

   

 

 

 

Total other expense

     (23.9     —        (23.9
  

 

 

   

 

 

   

 

 

 

Net income before income taxes

     19.3       (0.2     19.1  

Income tax expense

     0.5       —        0.5  
  

 

 

   

 

 

   

 

 

 

Net income

   $ 18.8     $ (0.2   $ 18.6  

Net loss attributable to noncontrolling interest

     (9.9     9.9       —   
  

 

 

   

 

 

   

 

 

 

Net income attributable to partners

   $ 28.7     $ (10.1   $ 18.6  
  

 

 

   

 

 

   

 

 

 

Allocation of net income to partners:

      

Net income attributable to partners

   $ 28.7     $ (10.1   $ 18.6  

Less:

      

General partners’ interest in net income

     0.6       (0.2     0.4  
  

 

 

   

 

 

   

 

 

 

Net income available to limited partners

   $ 28.1     $ (9.9   $ 18.2  
  

 

 

   

 

 

   

 

 

 

Weighted average limited partner units outstanding:

      

Basic

     79,830,671       —        79,830,671  
  

 

 

   

 

 

   

 

 

 

Diluted

     79,939,985       —        79,939,985  
  

 

 

   

 

 

   

 

 

 

Limited partners’ interest basic and diluted net income per unit:

      

Limited partners’ interest

   $ 0.35     $ (0.12   $ 0.23  
  

 

 

   

 

 

   

 

 

 

Limited partners’ interest diluted net income per unit:

      

Limited partners’ interest

   $ 0.35     $ (0.12   $ 0.23  
  

 

 

   

 

 

   

 

 

 

 

F-87


Table of Contents

The effects of the restatement on the condensed consolidated statement of comprehensive income (loss) for the three months ended March 31, 2023 are summarized in the following table:

 

     Three Months Ended March 31, 2023  
     As Previously
Reported
    Effect of
Restatement
    As Restated  
     (In millions)  

Net income

   $ 18.8     $ (0.2   $ 18.6  

Other comprehensive income:

      

Defined benefit pension and retiree health benefit plans

     —        —        —   
  

 

 

   

 

 

   

 

 

 

Total other comprehensive income

     —        —        —   
  

 

 

   

 

 

   

 

 

 

Comprehensive income attributable to partners’ capital (deficit)

   $ 18.8     $ (0.2   $ 18.6  
  

 

 

   

 

 

   

 

 

 

Less: Comprehensive loss attributable to noncontrolling interest

     (9.9     9.9       —   
  

 

 

   

 

 

   

 

 

 

Comprehensive income attributable to partners’ capital (deficit)

   $ 28.7     $ (10.1   $ 18.6  
  

 

 

   

 

 

   

 

 

 

The effects of the restatement on the condensed consolidated statement of cash flow for the three months ended March 31, 2023 are summarized in the following table:

 

     Three Months Ended March 31, 2023  
     As Previously
Reported
    Effect of
Restatement
    As Restated  
     (In millions)  

Operating activities

      

Net income

   $ 18.8     $ (0.2   $ 18.6  

Non-cash RINs gain

     (32.1     —        (32.1

Unrealized gain on derivative instruments

     (41.0     —        (41.0

Other non-cash activities

     67.8       (1.5     66.3  

Changes in assets and liabilities

     (40.2     1.7       (38.5
  

 

 

   

 

 

   

 

 

 

Net cash used in operating activities

     (26.7     —        (26.7
  

 

 

   

 

 

   

 

 

 

Investing activities

      

Additions to property, plant and equipment

     (130.4     —        (130.4
  

 

 

   

 

 

   

 

 

 

Net cash used in investing activities

     (130.4     —        (130.4
  

 

 

   

 

 

   

 

 

 

Financing activities

      

Proceeds from borrowings—revolving credit facility

     559.0       —        559.0  

Repayments of borrowings—revolving credit facility

     (437.0     —        (437.0

Proceeds from borrowings—MRL revolving credit agreement

     18.7       —        18.7  

Proceeds from inventory financing

     388.5       —        388.5  

Payments on inventory financing

     (404.1     —        (404.1

Proceeds from other financing obligations

     20.8       —        20.8  

Payments on other financing obligations

     (12.8     —        (12.8
  

 

 

   

 

 

   

 

 

 

Net cash provided by financing activities

     133.1       —        133.1  
  

 

 

   

 

 

   

 

 

 

Net decrease in cash, cash equivalents and restricted cash

     (24.0     —        (24.0
  

 

 

   

 

 

   

 

 

 

Cash, cash equivalents and restricted cash at beginning of period

     35.2       —        35.2  
  

 

 

   

 

 

   

 

 

 

Cash, cash equivalents and restricted cash at end of period

   $ 11.2     $ —      $ 11.2  
  

 

 

   

 

 

   

 

 

 

Cash and cash equivalents

   $ 11.2     $ —      $ 11.2  

Restricted cash

   $ —      $ —      $ —   

Supplemental disclosure of non-cash investing activities

      

Non-cash property, plant and equipment additions

   $ 95.1     $ —      $ 95.1  
  

 

 

   

 

 

   

 

 

 

 

F-88


Table of Contents

As of and for the Three and Six Months Ended June 30, 2023

The effects of the restatement on the condensed consolidated balance sheet as of June 30, 2023 are summarized in the following table:

 

     June 30, 2023  
     (In millions, except unit data)  
     As Previously
Reported
    Effect of
Restatement
    As Restated  

ASSETS

      

Current assets:

      

Cash and cash equivalents

   $ 36.0     $ —      $ 36.0  

Accounts receivable, net:

      

Trade, less allowance for credit losses of $1.2 million

     252.8       —        252.8  

Other

     62.5       —        62.5  
  

 

 

   

 

 

   

 

 

 
     315.3       —        315.3  
  

 

 

   

 

 

   

 

 

 

Inventories

     439.9       0.4       440.3  

Derivative assets

     14.7       —        14.7  

Prepaid expenses and other current assets

     41.5       —        41.5  
  

 

 

   

 

 

   

 

 

 

Total current assets

     847.4       0.4       847.8  
  

 

 

   

 

 

   

 

 

 

Property, plant and equipment, net

     1,536.4       —        1,536.4  

Other noncurrent assets, net

     420.4       —        420.4  
  

 

 

   

 

 

   

 

 

 

Total assets

   $ 2,804.2     $ 0.4     $ 2,804.6  
  

 

 

   

 

 

   

 

 

 

LIABILITIES AND PARTNERS’ CAPITAL (DEFICIT)

      

Current liabilities:

      

Accounts payable

   $ 278.2     $ 0.4     $ 278.6  

Accrued interest payable

     35.7       —        35.7  

Accrued salaries, wages and benefits

     74.4       —        74.4  

Obligations under inventory financing agreements

     213.1       —        213.1  

Current portion of RINs obligation

     475.1       —        475.1  

Other current liabilities

     99.8       —        99.8  

Current portion of long-term debt

     21.9       —        21.9  
  

 

 

   

 

 

   

 

 

 

Total current liabilities

     1,198.2       0.4       1,198.6  
  

 

 

   

 

 

   

 

 

 

Other long-term liabilities

     54.4       —        54.4  

Long-term RINs obligation, less current portion

     25.1       —        25.1  

Long-term debt, less current portion

     1,824.3       —        1,824.3  
  

 

 

   

 

 

   

 

 

 

Total liabilities

   $ 3,102.0     $ 0.4     $ 3,102.4  
  

 

 

   

 

 

   

 

 

 

Commitments and contingencies

      

Redeemable noncontrolling interest

   $ 250.0     $ (4.4   $ 245.6  

Partners’ capital (deficit):

      

Limited partners’ interest (79,958,262 units issued and outstanding at June 30, 2023)

   $ (540.3   $ 4.9     $ (535.4

General partner’s interest

     0.7       (0.5     0.2  

Accumulated other comprehensive loss

     (8.2     —        (8.2
  

 

 

   

 

 

   

 

 

 

Total partners’ capital (deficit)

     (547.8     4.4       (543.4
  

 

 

   

 

 

   

 

 

 

Total liabilities and partners’ capital (deficit)

   $ 2,804.2     $ 0.4     $ 2,804.6  
  

 

 

   

 

 

   

 

 

 

 

F-89


Table of Contents

The effects of the restatement on the condensed consolidated statement of operations for the three and six months ended June 30, 2023 are summarized in the following table:

 

    Three Months Ended June 30, 2023     Six Months Ended June 30, 2023  
    As
Previously
Reported
    Effect of
Restatement
    As Restated     As Previously
Reported
    Effect of
Restatement
    As Restated  
    (In millions, except unit and per unit data)  

Sales

  $ 1,017.8     $ —      $ 1,017.8     $ 2,054.7     $ 0.4     $ 2,055.1  

Cost of sales

    946.4       (0.1     946.3       1,886.6       0.4       1,887.0  
 

 

 

   

 

 

   

 

 

   

 

 

   

 

 

   

 

 

 

Gross profit

    71.4       0.1       71.5       168.1       —        168.1  
 

 

 

   

 

 

   

 

 

   

 

 

   

 

 

   

 

 

 

Operating costs and expenses:

           

Selling

    15.5       —        15.5       29.0       —        29.0  

General and administrative

    27.3       (1.6     25.7       64.3       (1.5     62.8  

Other operating expense

    5.2       —        5.2       8.2       —        8.2  
 

 

 

   

 

 

   

 

 

   

 

 

   

 

 

   

 

 

 

Operating income

    23.4       1.7       25.1       66.6       1.5       68.1  
 

 

 

   

 

 

   

 

 

   

 

 

   

 

 

   

 

 

 

Other income (expense):

           

Interest expense

    (55.8     —        (55.8     (105.0     —        (105.0

Gain on derivative instruments

    14.3       —        14.3       39.8       —        39.8  

Other expense

    (5.5     —        (5.5     (5.7     —        (5.7
 

 

 

   

 

 

   

 

 

   

 

 

   

 

 

   

 

 

 

Total other expense

    (47.0     —        (47.0     (70.9     —        (70.9
 

 

 

   

 

 

   

 

 

   

 

 

   

 

 

   

 

 

 

Net loss before income taxes

    (23.6     1.7       (21.9     (4.3     1.5       (2.8

Income tax expense

    0.4         0.4       0.9         0.9  
 

 

 

   

 

 

   

 

 

   

 

 

   

 

 

   

 

 

 

Net loss

  $ (24.0   $ 1.7     $ (22.3   $ (5.2   $ 1.5     $ (3.7

Net loss attributable to noncontrolling interest

    (5.5     5.5       —        (15.4     15.4       —   
 

 

 

   

 

 

   

 

 

   

 

 

   

 

 

   

 

 

 

Net loss attributable to partners

  $ (18.5   $ (3.8   $ (22.3   $ 10.2     $ (13.9   $ (3.7
 

 

 

   

 

 

   

 

 

   

 

 

   

 

 

   

 

 

 

Allocation of net loss to partners:

           

Net loss attributable to partners

  $ (18.5   $ (3.8   $ (22.3   $ 10.2     $ (13.9   $ (3.7

Less:

           

General partners’ interest in net loss

    (0.4     (0.1     (0.5     0.2       (0.3     (0.1
 

 

 

   

 

 

   

 

 

   

 

 

   

 

 

   

 

 

 

Net loss available to limited partners

  $ (18.1   $ (3.7   $ (21.8   $ 10.0     $ (13.6   $ (3.6
 

 

 

   

 

 

   

 

 

   

 

 

   

 

 

   

 

 

 

Weighted average limited partner units outstanding:

           

Basic

    80,152,648       —        80,152,648       79,992,637       —        79,992,637  
 

 

 

   

 

 

   

 

 

   

 

 

   

 

 

   

 

 

 

Diluted

    80,152,648       —        80,152,648       80,102,432       (109,795     79,992,637  
 

 

 

   

 

 

   

 

 

   

 

 

   

 

 

   

 

 

 

Limited partners’ interest basic net loss per unit:

           
 

 

 

   

 

 

   

 

 

   

 

 

   

 

 

   

 

 

 

Limited partners’ interest

  $ (0.23   $ (0.04   $ (0.27   $ 0.13     $ (0.18   $ (0.05
 

 

 

   

 

 

   

 

 

   

 

 

   

 

 

   

 

 

 

Limited partners’ interest diluted net loss per unit:

           
 

 

 

   

 

 

   

 

 

   

 

 

   

 

 

   

 

 

 

Limited partners’ interest

  $ (0.23   $ (0.04   $ (0.27   $ 0.12     $ (0.17   $ (0.05
 

 

 

   

 

 

   

 

 

   

 

 

   

 

 

   

 

 

 

 

F-90


Table of Contents

The effects of the restatement on the condensed consolidated statement of comprehensive income (loss) for the three and six months ended June 30, 2023 are summarized in the following table:

 

    Three Months Ended June 30,
2023
    Six Months Ended June 30,
2023
 
    As
Previously
Reported
    Effect of
Restatement
    As
Restated
    As Previously
Reported
    Effect of
Restatement
    As
Restated
 
    (In millions)  

Net loss

  $ (24.0   $ 1.7     $ (22.3   $ (5.2   $ 1.5     $ (3.7

Other comprehensive income:

           

Defined benefit pension and retiree health benefit plans

    0.1       —        0.1       0.1       —        0.1  
 

 

 

   

 

 

   

 

 

   

 

 

   

 

 

   

 

 

 

Total other comprehensive income

    0.1       —        0.1       0.1       —        0.1  
 

 

 

   

 

 

   

 

 

   

 

 

   

 

 

   

 

 

 

Comprehensive loss attributable to partners’ capital (deficit)

  $ (23.9   $ 1.7     $ (22.2   $ (5.1   $ 1.5     $ (3.6
 

 

 

   

 

 

   

 

 

   

 

 

   

 

 

   

 

 

 

Less: Comprehensive loss attributable to noncontrolling interest

    (5.5     5.5       —        (15.4     15.4       —   
 

 

 

   

 

 

   

 

 

   

 

 

   

 

 

   

 

 

 

Comprehensive loss attributable to partners’ capital (deficit)

  $ (18.4   $ (3.8   $ (22.2   $ 10.3     $ (13.9   $ (3.6
 

 

 

   

 

 

   

 

 

   

 

 

   

 

 

   

 

 

 

 

F-91


Table of Contents

The effects of the restatement on the condensed consolidated statement of cash flow for the six months ended June 30, 2023 are summarized in the following table:

 

     Six Months Ended June 30, 2023  
     As Previously
Reported
    Effect of
Restatement
    As Restated  
     (In millions)  

Operating activities

      

Net loss

   $ (5.2   $ 1.5     $ (3.7

Non-cash RINs expense

     23.4       —        23.4  

Unrealized gain on derivative instruments

     (55.1     —        (55.1

Other non-cash activities

     102.2       (1.5     100.7  

Changes in assets and liabilities

     (117.9     —        (117.9
  

 

 

   

 

 

   

 

 

 

Net cash used in operating activities

     (52.6     —        (52.6
  

 

 

   

 

 

   

 

 

 

Investing activities

      

Additions to property, plant and equipment

     (208.2     —        (208.2
  

 

 

   

 

 

   

 

 

 

Net cash used in investing activities

     (208.2     —        (208.2
  

 

 

   

 

 

   

 

 

 

Financing activities

      

Proceeds from borrowings—revolving credit facility

     1,084.8       —        1,084.8  

Repayments of borrowings—revolving credit facility

     (1,101.0     —        (1,101.0

Proceeds from borrowings—MRL revolving credit agreement

     37.2       —        37.2  

Repayments of borrowings—MRL revolving credit agreement

     (18.7     —        (18.7

Proceeds from borrowings—senior notes

     325.0       —        325.0  

Repayments of borrowings—senior notes

     (121.0     —        (121.0

Proceeds from inventory financing

     791.2       —        791.2  

Payments on inventory financing

     (796.6     —        (796.6

Proceeds from other financing obligations

     95.8       —        95.8  

Payments on other financing obligations

     (28.5     —        (28.5
  

 

 

   

 

 

   

 

 

 

Net cash provided by financing activities

     268.2       —        268.2  
  

 

 

   

 

 

   

 

 

 

Net increase in cash, cash equivalents and restricted cash

     7.4       —        7.4  
  

 

 

   

 

 

   

 

 

 

Cash, cash equivalents and restricted cash at beginning of period

     35.2       —        35.2  
  

 

 

   

 

 

   

 

 

 

Cash, cash equivalents and restricted cash at end of period

   $ 42.6     $ —      $ 42.6  
  

 

 

   

 

 

   

 

 

 

Cash and cash equivalents

   $ 36.0     $ —      $ 36.0  

Restricted cash

   $ 6.6     $ —      $ 6.6  

Supplemental disclosure of non-cash investing activities

      

Non-cash property, plant and equipment additions

   $ 41.7     $ —      $ 41.7  
  

 

 

   

 

 

   

 

 

 

 

F-92


Table of Contents

As of and for the Three and Nine Months Ended September 30, 2023

The effects of the restatement on the condensed consolidated balance sheet as of September 30, 2023 are summarized in the following table:

 

     September 30, 2023  
     (In millions, except unit data)  
     As
Previously
Reported
    Effect of
Restatement
    As
Restated
 

ASSETS

      

Current assets:

      

Cash and cash equivalents

   $ 13.7     $ —      $ 13.7  

Accounts receivable, net:

      

Trade, less allowance for credit losses of $1.3 million

     285.0       —        285.0  

Other

     62.8       —        62.8  
  

 

 

   

 

 

   

 

 

 
     347.8       —        347.8  
  

 

 

   

 

 

   

 

 

 

Inventories

     447.7       —        447.7  

Derivative assets

     5.2       —        5.2  

Prepaid expenses and other current assets

     49.0       —        49.0  
  

 

 

   

 

 

   

 

 

 

Total current assets

     863.4       —        863.4  
  

 

 

   

 

 

   

 

 

 

Property, plant and equipment, net

     1,526.9       —        1,526.9  

Other noncurrent assets, net

     414.5       —        414.5  
  

 

 

   

 

 

   

 

 

 

Total assets

   $ 2,804.8     $ —      $ 2,804.8  
  

 

 

   

 

 

   

 

 

 

LIABILITIES AND PARTNERS’ CAPITAL (DEFICIT)

      

Current liabilities:

      

Accounts payable

   $ 342.1     $ —      $ 342.1  

Accrued interest payable

     41.2       —        41.2  

Accrued salaries, wages and benefits

     82.9       —        82.9  

Obligations under inventory financing agreements

     237.9       —        237.9  

Current portion of RINs obligation

     326.3       —        326.3  

Other current liabilities

     85.2       —        85.2  

Current portion of long-term debt

     204.6       —        204.6  
  

 

 

   

 

 

   

 

 

 

Total current liabilities

     1,320.2       —        1,320.2  
  

 

 

   

 

 

   

 

 

 

Other long-term liabilities

     57.5       —        57.5  

Long-term RINs obligation, less current portion

     16.5       —        16.5  

Long-term debt, less current portion

     1,608.2       —        1,608.2  
  

 

 

   

 

 

   

 

 

 

Total liabilities

   $ 3,002.4     $ —      $ 3,002.4  
  

 

 

   

 

 

   

 

 

 

Commitments and contingencies

      

Redeemable noncontrolling interest

   $ 250.0     $ (4.4   $ 245.6  

Partners’ capital (deficit):

      

Limited partners’ interest (79,964,002 units issued and outstanding at September 30, 2023)

   $ (442.3   $ 5.0     $ (437.3

General partner’s interest

     2.8       (0.6     2.2  

Accumulated other comprehensive loss

     (8.1     —        (8.1
  

 

 

   

 

 

   

 

 

 

Total partners’ capital (deficit)

     (447.6     4.4       (443.2
  

 

 

   

 

 

   

 

 

 

Total liabilities and partners’ capital (deficit)

   $ 2,804.8     $ —      $ 2,804.8  
  

 

 

   

 

 

   

 

 

 

 

F-93


Table of Contents

The effects of the restatement on the condensed consolidated statement of operations for the three and nine months ended September 30, 2023 are summarized in the following table:

 

    Three Months Ended September 30, 2023     Nine Months Ended September 30, 2023  
    As Previously
Reported
    Effect of
Restatement
    As Restated     As Previously
Reported
    Effect of
Restatement
    As Restated  
    (In millions, except unit and per unit data)  

Sales

  $ 1,149.4     $ —      $ 1,149.4     $ 3,204.1     $ 0.4     $ 3,204.5  

Cost of sales

    887.8       0.1       887.9       2,774.4       0.5       2,774.9  
 

 

 

   

 

 

   

 

 

   

 

 

   

 

 

   

 

 

 

Gross profit

    261.6       (0.1     261.5       429.7       (0.1     429.6  
 

 

 

   

 

 

   

 

 

   

 

 

   

 

 

   

 

 

 

Operating costs and expenses:

           

Selling

    12.4       —        12.4       41.4       —        41.4  

General and administrative

    40.2       —        40.2       104.5       (1.5     103.0  

Other operating (income) expense

    (4.1     —        (4.1     4.1       —        4.1  
 

 

 

   

 

 

   

 

 

   

 

 

   

 

 

   

 

 

 

Operating income

    213.1       (0.1     213.0       279.7       1.4       281.1  
 

 

 

   

 

 

   

 

 

   

 

 

   

 

 

   

 

 

 

Other income (expense):

           

Interest expense

    (58.7     —        (58.7     (163.7     —        (163.7

Debt extinguishment costs

    (0.3     —        (0.3     (5.5     —        (5.5

Loss on derivative instruments

    (54.3     —        (54.3     (14.5     —        (14.5

Other income

    0.6       —        0.6       0.1       —        0.1  
 

 

 

   

 

 

   

 

 

   

 

 

   

 

 

   

 

 

 

Total other expense

    (112.7     —        (112.7     (183.6     —        (183.6
 

 

 

   

 

 

   

 

 

   

 

 

   

 

 

   

 

 

 

Net income before income taxes

    100.4       (0.1     100.3       96.1       1.4       97.5  

Income tax expense

    0.5       —        0.5       1.4         1.4  
 

 

 

   

 

 

   

 

 

   

 

 

   

 

 

   

 

 

 

Net income

  $ 99.9     $ (0.1   $ 99.8     $ 94.7     $ 1.4     $ 96.1  

Net loss attributable to noncontrolling interest

    (3.1     3.1       —        (18.5     18.5       —   
 

 

 

   

 

 

   

 

 

   

 

 

   

 

 

   

 

 

 

Net income attributable to partners

  $ 103.0     $ (3.2   $ 99.8     $ 113.2     $ (17.1   $ 96.1  
 

 

 

   

 

 

   

 

 

   

 

 

   

 

 

   

 

 

 

Allocation of net income to partners:

           

Net income attributable to partners

  $ 103.0     $ (3.2   $ 99.8     $ 113.2     $ (17.1   $ 96.1  

Less:

           

General partners’ interest in net income

    2.1       (0.1     2.0       2.3       (0.4     1.9  

Non-vested share based payments

    0.1       —        0.1       0.1       —        0.1  
 

 

 

   

 

 

   

 

 

   

 

 

   

 

 

   

 

 

 

Net income available to limited partners

  $ 100.8     $ (3.1   $ 97.7     $ 110.8     $ (16.7   $ 94.1  
 

 

 

   

 

 

   

 

 

   

 

 

   

 

 

   

 

 

 

Weighted average limited partner units outstanding:

           

Basic

    80,172,810       —        80,172,810       80,046,930       —        80,046,930  
 

 

 

   

 

 

   

 

 

   

 

 

   

 

 

   

 

 

 

Diluted

    80,277,483       109,795       80,387,278       80,148,519       —        80,148,519  
 

 

 

   

 

 

   

 

 

   

 

 

   

 

 

   

 

 

 

Limited partners’ interest basic net income per unit:

           

Limited partners’ interest

  $ 1.26     $ (0.04   $ 1.22     $ 1.38     $ (0.20   $ 1.18  
 

 

 

   

 

 

   

 

 

   

 

 

   

 

 

   

 

 

 

Limited partners’ interest diluted net income per unit:

           

Limited partners’ interest

  $ 1.26     $ (0.04   $ 1.22     $ 1.38     $ (0.21   $ 1.17  
 

 

 

   

 

 

   

 

 

   

 

 

   

 

 

   

 

 

 

 

F-94


Table of Contents

The effects of the restatement on the condensed consolidated statement of comprehensive income (loss) for the three and nine months ended September 30, 2023 are summarized in the following table:

 

     Three Months Ended September 30, 2023      Nine Months Ended September 30, 2023  
     As
Previously
Reported
    Effect of
Restatement
    As Restated      As
Previously
Reported
    Effect of
Restatement
    As
Restated
 
     (In millions)  

Net income

   $ 99.9     $ (0.1   $ 99.8      $ 94.7     $ 1.4     $ 96.1  

Other comprehensive income:

             

Defined benefit pension and retiree health benefit plans

     0.1       —        0.1        0.2       —        0.2  
  

 

 

   

 

 

   

 

 

    

 

 

   

 

 

   

 

 

 

Total other comprehensive income

     0.1       —        0.1        0.2       —        0.2  
  

 

 

   

 

 

   

 

 

    

 

 

   

 

 

   

 

 

 

Comprehensive income attributable to partners’ capital (deficit)

   $ 100.0     $ (0.1   $ 99.9      $ 94.9     $ 1.4     $ 96.3  
  

 

 

   

 

 

   

 

 

    

 

 

   

 

 

   

 

 

 

Less: Comprehensive loss attributable to noncontrolling interest

     (3.1     3.1       —         (18.5     18.5       —   
  

 

 

   

 

 

   

 

 

    

 

 

   

 

 

   

 

 

 

Comprehensive income attributable to partners’ capital (deficit)

   $ 103.1     $ (3.2   $ 99.9      $ 113.4     $ (17.1   $ 96.3  
  

 

 

   

 

 

   

 

 

    

 

 

   

 

 

   

 

 

 

 

F-95


Table of Contents

The effects of the restatement on the condensed consolidated statement of cash flows for the nine months ended September 30, 2023 are summarized in the following table:

 

     Nine Months Ended September 30, 2023  
     As Previously
Reported
    Effect of
Restatement
    As Restated  
     (In millions)  

Operating activities

      

Net income

   $ 94.7     $ 1.4     $ 96.1  

Non-cash RINs gain

     (134.0     —        (134.0

Unrealized gain on derivative instruments

     (18.8     —        (18.8

Other non-cash activities

     147.4       (1.5     145.9  

Changes in assets and liabilities

     (96.7     0.1       (96.6
  

 

 

   

 

 

   

 

 

 

Net cash used in operating activities

     (7.4     —        (7.4
  

 

 

   

 

 

   

 

 

 

Investing activities

      

Additions to property, plant and equipment

     (240.3     —        (240.3
  

 

 

   

 

 

   

 

 

 

Net cash used in investing activities

     (240.3     —        (240.3
  

 

 

   

 

 

   

 

 

 

Financing activities

      

Proceeds from borrowings—revolving credit facility

     1,585.6       —        1,585.6  

Repayments of borrowings—revolving credit facility

     (1,618.5     —        (1,618.5

Proceeds from borrowings—MRL revolving credit agreement

     79.0       —        79.0  

Repayments of borrowings—MRL revolving credit agreement

     (79.0     —        (79.0

Proceeds from borrowings—senior notes

     325.0       —        325.0  

Repayments of borrowings—senior notes

     (121.0     —        (121.0

Proceeds from inventory financing

     1,229.3       —        1,229.3  

Payments on inventory financing

     (1,235.2     —        (1,235.2

Proceeds from other financing obligations

     101.5       —        101.5  

Payments on other financing obligations

     (33.8     —        (33.8
  

 

 

   

 

 

   

 

 

 

Net cash provided by financing activities

     232.9       —        232.9  
  

 

 

   

 

 

   

 

 

 

Net decrease in cash, cash equivalents and restricted cash

     (14.8     —        (14.8
  

 

 

   

 

 

   

 

 

 

Cash, cash equivalents and restricted cash at beginning of period

     35.2       —        35.2  
  

 

 

   

 

 

   

 

 

 

Cash, cash equivalents and restricted cash at end of period

   $ 20.4     $ —      $ 20.4  
  

 

 

   

 

 

   

 

 

 

Cash and cash equivalents

   $ 13.7     $ —      $ 13.7  

Restricted cash

   $ 6.7     $ —      $ 6.7  

Supplemental disclosure of non-cash investing activities

      

Non-cash property, plant and equipment additions

   $ 31.7     $ —      $ 31.7  
  

 

 

   

 

 

   

 

 

 

 

F-96


Table of Contents

Effect of Restatement on the Condensed Consolidated Statement of Partners’ Capital (Deficit)

The effects of the restatement on the condensed consolidated statement of partners’ capital (deficit) for each of the three months period ended March 31, 2023, June 30, 2023, and September 30, 2023 and for the nine months period ended September 30, 2023 are summarized in the following table:

 

     Accumulated
Other

Comprehensive
Loss
    Partners’ Capital (Deficit)        
    General
Partner
    Limited
Partners
    Total  
     (In millions)  

Balance at December 31, 2022 (as reported)

   $ (8.3   $ 0.5     $ (529.9   $ (537.7
  

 

 

   

 

 

   

 

 

   

 

 

 

Net income attributable to partners

     —        0.6       28.1       28.7  

Settlement of tax withholdings on equity-based incentive compensation

     —        —        (7.9     (7.9

Settlement of phantom units

     —        —        0.5       0.5  

Amortization of phantom units

     —        —        0.2       0.2  

Adjustment to ASC 480 redemption value

     —        —        (9.9     (9.9
  

 

 

   

 

 

   

 

 

   

 

 

 

Balance at March 31, 2023

   $ (8.3   $ 1.1     $ (518.9   $ (526.1
  

 

 

   

 

 

   

 

 

   

 

 

 

Restatement Impacts

        

Net loss attributable to partners

     —        (0.2     (9.9     (10.1

Settlement of phantom units

     —        —        (1.5     (1.5

Adjustment to ASC 480 redemption value

     —        —        9.9       9.9  
  

 

 

   

 

 

   

 

 

   

 

 

 

Balance at March 31, 2023 (restatement impacts)

   $ —      $ (0.2   $ (1.5   $ (1.7
  

 

 

   

 

 

   

 

 

   

 

 

 

Balance at December 31, 2022 (as restated)

   $ (8.3   $ 0.3     $ (525.3   $ (533.3
  

 

 

   

 

 

   

 

 

   

 

 

 

Net income attributable to partners

     —        0.4       18.2       18.6  

Settlement of tax withholdings on equity-based incentive compensation

     —        —        (7.9     (7.9

Settlement of phantom units

     —        —        (1.0     (1.0

Amortization of phantom units

     —        —        0.3       0.3  
  

 

 

   

 

 

   

 

 

   

 

 

 

Balance at March 31, 2023 (as restated)

   $ (8.3   $ 0.7     $ (515.7   $ (523.3
  

 

 

   

 

 

   

 

 

   

 

 

 

Balance at March 31, 2023 (as reported)

   $ (8.3   $ 1.1     $ (518.9   $ (526.1
  

 

 

   

 

 

   

 

 

   

 

 

 

Other comprehensive income

     0.1       —        —        0.1  

Net loss attributable to partners

     —        (0.4     (18.1     (18.5

Settlement of tax withholdings on equity-based incentive compensation

     —        —        (1.7     (1.7

Settlement of phantom units

     —        —        3.7       3.7  

Amortization of phantom units

     —        —        0.2       0.2  

Adjustment to ASC 480 redemption value

     —        —        (5.5     (5.5
  

 

 

   

 

 

   

 

 

   

 

 

 

Balance at June 30, 2023 (as reported)

   $ (8.2   $ 0.7     $ (540.3   $ (547.8
  

 

 

   

 

 

   

 

 

   

 

 

 

Restatement Impacts

        

Net loss attributable to partners

     —        (0.1     (3.7     (3.8

Adjustment to ASC 480 redemption value

     —        —        5.5       5.5  
  

 

 

   

 

 

   

 

 

   

 

 

 

Balance at June 30, 2023 (restatement impacts)

   $ —      $ (0.1   $ 1.8     $ 1.7  
  

 

 

   

 

 

   

 

 

   

 

 

 

Balance at March 31, 2023 (as restated)

   $ (8.3   $ 0.7     $ (515.7   $ (523.3
  

 

 

   

 

 

   

 

 

   

 

 

 

Other comprehensive income

     0.1       —        —        0.1  

Net loss attributable to partners

     —        (0.5     (21.8     (22.3

 

F-97


Table of Contents
     Accumulated
Other

Comprehensive
Loss
    Partners’ Capital (Deficit)        
    General
Partner
    Limited
Partners
    Total  
     (In millions)  

Settlement of tax withholdings on equity-based incentive compensation

     —        —        (1.7     (1.7

Settlement of phantom units

     —        —        3.7       3.7  

Amortization of phantom units

     —        —        0.1       0.1  
  

 

 

   

 

 

   

 

 

   

 

 

 

Balance at June 30, 2023 (as restated)

   $ (8.2   $ 0.2     $ (535.4   $ (543.4
  

 

 

   

 

 

   

 

 

   

 

 

 

Balance at June 30, 2023 (as reported)

   $ (8.2   $ 0.7     $ (540.3   $ (547.8
  

 

 

   

 

 

   

 

 

   

 

 

 

Other comprehensive income

     0.1       —        —        0.1  

Net income attributable to partners

     —        2.1       100.9       103.0  

Amortization of phantom units 

     —        —        0.2       0.2  

Adjustment to ASC 480 redemption value

     —        —        (3.1     (3.1
  

 

 

   

 

 

   

 

 

   

 

 

 

Balance at September 30, 2023 (as reported)

   $ (8.1   $ 2.8     $ (442.3   $ (447.6
  

 

 

   

 

 

   

 

 

   

 

 

 

Restatement Impacts

        

Net loss attributable to partners

     —        (0.1     (3.1     (3.2

Adjustment to ASC 480 redemption value

     —        —        3.1       3.1  
  

 

 

   

 

 

   

 

 

   

 

 

 

Balance at September 30, 2023 (restatement impacts)

   $ —      $ (0.1   $ —      $ (0.1
  

 

 

   

 

 

   

 

 

   

 

 

 

Balance at June 30, 2023 (as restated)

   $ (8.2   $ 0.2     $ (535.4   $ (543.4
  

 

 

   

 

 

   

 

 

   

 

 

 

Other comprehensive income

     0.1       —        —        0.1  

Net income attributable to partners

     —        2.0       97.8       99.8  

Amortization of phantom units

     —        —        0.3       0.3  
  

 

 

   

 

 

   

 

 

   

 

 

 

Balance at September 30, 2023 (as restated)

   $ (8.1   $ 2.2     $ (437.3   $ (443.2
  

 

 

   

 

 

   

 

 

   

 

 

 

 

     Accumulated
Other

Comprehensive
Loss
    Partners’ Capital (Deficit)        
    General
Partner
    Limited
Partners
    Total  
     (In millions)  

Balance at December 31, 2022 (as restated)

   $ (8.3   $ 0.3     $ (525.3   $ (533.3
  

 

 

   

 

 

   

 

 

   

 

 

 

Other comprehensive income

     0.2       —        —        0.2  

Net income attributable to partners

     —        2.3       110.9       113.2  

Settlement of tax withholdings on equity-based incentive compensation

     —        —        (9.6     (9.6

Settlement of phantom units

     —        —        4.2       4.2  

Amortization of phantom units

     —        —        0.7       0.7  

Adjustment to ASC 480 redemption value

     —        —        (18.5     (18.5
  

 

 

   

 

 

   

 

 

   

 

 

 

Balance at September 30, 2023

   $ (8.1   $ 2.6     $ (437.6   $ (443.1
  

 

 

   

 

 

   

 

 

   

 

 

 

Restatement Impacts

        

Net loss attributable to partners

     —        (0.4     (16.7     (17.1

Settlement of phantom units

     —        —        (1.5     (1.5

Adjustment to ASC 480 redemption value

     —        —        18.5       18.5  
  

 

 

   

 

 

   

 

 

   

 

 

 

Balance at September 30, 2023 (restatement impacts)

   $ —      $ (0.4   $ 0.3     $ (0.1
  

 

 

   

 

 

   

 

 

   

 

 

 

Balance at December 31, 2022 (as restated)

   $ (8.3   $ 0.3     $ (525.3   $ (533.3
  

 

 

   

 

 

   

 

 

   

 

 

 

 

F-98


Table of Contents
     Accumulated
Other

Comprehensive
Loss
    Partners’ Capital (Deficit)        
    General
Partner
     Limited
Partners
    Total  
     (In millions)  

Other comprehensive income

     0.2       —         —        0.2  

Net income attributable to partners

     —        1.9        94.2       96.1  

Settlement of phantom units

     —        —         2.7       2.7  

Settlement of tax withholdings on equity-based incentive compensation

     —        —         (9.6     (9.6

Amortization of phantom units

     —        —         0.7       0.7  
  

 

 

   

 

 

    

 

 

   

 

 

 

Balance at September 30, 2023 (as restated)

   $ (8.1   $ 2.2      $ (437.3   $ (443.2
  

 

 

   

 

 

    

 

 

   

 

 

 

23. Subsequent Events

As of February 23, 2024, the fair value of the Company’s derivative instruments has changed by approximately $5.6 million subsequent to December 31, 2023.

On February 23, 2024, the Company announced that it delivered (i) a notice of conditional redemption for all of the 2024 Secured Notes at a redemption price of par, plus accrued and unpaid interest to but not including the redemption date of March 9, 2024, and (ii) a notice of conditional redemption for $50.0 million aggregate principal amount of the 2025 Notes at a redemption price of par, plus accrued and unpaid interest to but not including the redemption date of April 15, 2024.

The Company’s obligation to redeem all of the 2024 Secured Notes and $50.0 million aggregate principal amount of the 2025 Notes, in each case, is conditioned upon, on or before March 9, 2024, the completion of a private placement of at least $200.0 million aggregate principal amount of the Company’s senior debt securities. The Company will publicly announce and notify the holders of the 2024 Secured Notes, the holders of the 2025 Notes and Wilmington Trust, National Association, as trustee, if the foregoing condition is not satisfied or waived, whereupon the redemptions will be revoked and the 2024 Secured Notes and the 2025 Notes called for redemption will remain outstanding.

 

F-99


Table of Contents

CALUMET, INC.

BALANCE SHEET

AS OF MARCH 31, 2024

(In whole dollars)

(Unaudited)

 

     March 31, 2024  

ASSETS

  

Cash

   $ 100  

Total current assets

     100  
  

 

 

 

Total assets

   $ 100  
  

 

 

 

LIABILITIES AND STOCKHOLDER’S EQUITY

  

Total liabilities

     —   
  

 

 

 

Commitments and contingencies

  

Stockholder’s equity:

  

Common Stock, $0.01 par value; 10,000 shares authorized, issued and outstanding at March 31, 2024

   $ 100  
  

 

 

 

Total stockholder’s equity

     100  
  

 

 

 

Total liabilities and stockholder’s equity

   $ 100  
  

 

 

 

See accompanying notes to balance sheet.

 

F-100


Table of Contents

(1) Organization and Background of Business

Calumet, Inc., or New Calumet, was incorporated on January 8, 2024 as a Delaware corporation.

New Calumet was formed for the purpose of effecting the corporate conversion of Calumet Specialty Products Partners, L.P. (“Corporate Conversion”). Concurrent with the Corporate Conversion, New Calumet will serve as the new parent holding company of Calumet Specialty Products Partners, L.P. and its subsidiaries.

The balance sheet has been prepared in accordance with accounting principles generally accepted in the United States of America (“GAAP”). Separate Statements of Operations, Changes in Stockholder’s Equity and Cash Flows have not been presented because New Calumet had no business transactions or activities as of March 31, 2024, except for the initial capitalization of New Calumet which was funded by an affiliate. In this regard, general and administrative costs associated with the formation and daily management of New Calumet have been determined by New Calumet to be insignificant.

(2) Summary of Significant Accounting Policies

(a) Estimates

The preparation of the balance sheet, in accordance with GAAP, requires management to make estimates and assumptions that affect the amounts reported in the balance sheet and accompanying notes. Actual results could differ from those estimates.

(b) Income Taxes

New Calumet is a corporation and is subject to U.S. federal and state income taxes. Income taxes are accounted for under the asset and liability method. New Calumet recognizes deferred tax assets and liabilities for the future tax consequences attributable to differences between the financial statement carrying amounts and income tax basis of assets and liabilities and the expected benefits of utilizing net operating loss and tax credit carryforwards, using enacted tax rates in effect for the taxing jurisdiction in which New Calumet operates for the year in which those temporary differences are expected to be recovered or settled. New Calumet recognizes the financial statement effects of a tax position when it is more-likely-than-not, based on technical merits, that the position will be sustained upon examination. Net deferred tax assets are then reduced by a valuation allowance if New Calumet believes it is more-likely-than-not such net deferred tax assets will not be realized. As of March 31, 2024, there are no income tax related balances reflected in our balance sheet.

(3) Stockholder’s Equity

New Calumet has authorized share capital of 10,000 shares of common stock with a par value of $0.01 per share. On January 8, 2024, all 10,000 shares were issued and acquired by an affiliate for consideration of $100. Each share has one voting right.

(4) Subsequent Events

The Company is not aware of any subsequent events which would require recognition or disclosure in the March 31, 2024 financial statement.

 

F-101


Table of Contents

Report of Independent Registered Public Accounting Firm

Board of Directors and Stockholder

Calumet, Inc.

Opinion on the financial statement

We have audited the accompanying balance sheet of Calumet, Inc. (a Delaware corporation) (the “Company”) as of January 8, 2024, and the related notes (collectively referred to as the “financial statement”). In our opinion, the financial statement presents fairly, in all material respects, the financial position of the Company as of January 8, 2024, in conformity with accounting principles generally accepted in the United States of America.

Basis for opinion

This financial statement is the responsibility of the Company’s management. Our responsibility is to express an opinion on the Company’s financial statement based on our audit. We are a public accounting firm registered with the Public Company Accounting Oversight Board (United States) (“PCAOB”) and are required to be independent with respect to the Company in accordance with the U.S. federal securities laws and the applicable rules and regulations of the Securities and Exchange Commission and the PCAOB.

We conducted our audit in accordance with the standards of the PCAOB. Those standards require that we plan and perform the audit to obtain reasonable assurance about whether the financial statement is free of material misstatement, whether due to error or fraud. The Company is not required to have, nor were we engaged to perform, an audit of its internal control over financial reporting. As part of our audit we are required to obtain an understanding of internal control over financial reporting but not for the purpose of expressing an opinion on the effectiveness of the Company’s internal control over financial reporting. Accordingly, we express no such opinion.

Our audit included performing procedures to assess the risks of material misstatement of the financial statement, whether due to error or fraud, and performing procedures that respond to those risks. Such procedures included examining, on a test basis, evidence regarding the amounts and disclosures in the financial statement. Our audit also included evaluating the accounting principles used and significant estimates made by management, as well as evaluating the overall presentation of the financial statement. We believe that our audit provides a reasonable basis for our opinion.

Critical audit matters

Critical audit matters are matters arising from the current period audit of the financial statement that were communicated or required to be communicated to the audit committee and that: (1) relate to accounts or disclosures that are material to the financial statement and (2) involved our especially challenging, subjective, or complex judgments. We determined that there are no critical audit matters.

We have served as the Company’s auditor since 2024.

/s/ Grant Thornton LLP

Pittsburgh, Pennsylvania

April 19, 2024

 

F-102


Table of Contents

CALUMET, INC.

BALANCE SHEET

AS OF JANUARY 8, 2024

(In whole dollars)

 

     January 8, 2024  

ASSETS

  

Cash

   $ 100  

Total current assets

     100  
  

 

 

 

Total assets

   $ 100  
  

 

 

 

LIABILITIES AND STOCKHOLDER’S EQUITY

  

Total liabilities

     —   
  

 

 

 

Commitments and contingencies

  

Stockholder’s equity:

  

Common Stock, $0.01 par value; 10,000 shares authorized, issued and outstanding at January 8, 2024

   $ 100  
  

 

 

 

Total stockholder’s equity

     100  
  

 

 

 

Total liabilities and stockholder’s equity

   $ 100  
  

 

 

 

See accompanying notes to balance sheet.

 

F-103


Table of Contents

(1) Organization and Background of Business

Calumet, Inc., or New Calumet, was incorporated on January 8, 2024 as a Delaware corporation.

New Calumet was formed for the purpose of effecting the corporate conversion of Calumet Specialty Products Partners, L.P. (“Corporate Conversion”). Concurrent with the Corporate Conversion, New Calumet will serve as the new parent holding company of Calumet Specialty Products Partners, L.P. and its subsidiaries.

The balance sheet has been prepared in accordance with accounting principles generally accepted in the United States of America (“GAAP”). Separate Statements of Operations, Changes in Stockholder’s Equity and Cash Flows have not been presented because New Calumet had no business transactions or activities as of January 8, 2024, except for the initial capitalization of New Calumet which was funded by an affiliate. In this regard, general and administrative costs associated with the formation and daily management of New Calumet have been determined by New Calumet to be insignificant.

(2) Summary of Significant Accounting Policies

(a) Estimates

The preparation of the balance sheet, in accordance with GAAP, requires management to make estimates and assumptions that affect the amounts reported in the balance sheet and accompanying notes. Actual results could differ from those estimates.

(b) Income Taxes

New Calumet is a corporation and is subject to U.S. federal and state income taxes. Income taxes are accounted for under the asset and liability method. New Calumet recognizes deferred tax assets and liabilities for the future tax consequences attributable to differences between the financial statement carrying amounts and income tax basis of assets and liabilities and the expected benefits of utilizing net operating loss and tax credit carryforwards, using enacted tax rates in effect for the taxing jurisdiction in which New Calumet operates for the year in which those temporary differences are expected to be recovered or settled. New Calumet recognizes the financial statement effects of a tax position when it is more-likely-than-not, based on technical merits, that the position will be sustained upon examination. Net deferred tax assets are then reduced by a valuation allowance if New Calumet believes it is more-likely-than-not such net deferred tax assets will not be realized. As of January 8, 2024, there are no income tax related balances reflected in our balance sheet.

(3) Stockholder’s Equity

New Calumet has authorized share capital of 10,000 shares of common stock with a par value of $0.01 per share. On January 8, 2024, all 10,000 shares were issued and acquired by an affiliate for consideration of $100. Each share has one voting right.

(4) Subsequent Events

The Company evaluated its January 8, 2024 financial statement for subsequent events through April 19, 2024, the date the financial statement was avaliable to be issued. The Company is not aware of any subsequent events which would require recognition or disclosure in the financial statement.

 

F-104


Table of Contents

Annex A

Execution Version

CONVERSION AGREEMENT

dated as of February 9, 2024

by and among

CALUMET SPECIALTY PRODUCTS PARTNERS, L.P.,

CALUMET GP, LLC,

CALUMET, INC.,

CALUMET MERGER SUB I LLC,

CALUMET MERGER SUB II LLC,

and

THE OTHER PARTIES HERETO

 

A-1


Table of Contents

TABLE OF CONTENTS

 

                Page  

ARTICLE I DEFINED TERMS; CONSTRUCTION

     A-5  
     Section 1.1      Definitions      A-5  
  Section 1.2      Interpretation      A-9  

ARTICLE II THE CONVERSION

     A-10  
  Section 2.1      The Mergers      A-10  
  Section 2.2      Closing      A-11  
  Section 2.3      Filing of Certificates of Merger      A-11  
  Section 2.4      Effects of the Mergers      A-11  
  Section 2.5      Organizational Documents of Surviving Entities      A-11  
  Section 2.6      Directors and Officers of the Surviving Entities      A-11  

ARTICLE III CONSIDERATION FOR THE MERGERS; EXCHANGE PROCEDURES

     A-12  
  Section 3.1      CLMT Merger Consideration      A-12  
  Section 3.2      Rights as CLMT Unitholders; CLMT Common Unit Transfers      A-12  
  Section 3.3      Exchange of Certificates and Book-Entry Units      A-13  
  Section 3.4      Anti-Dilution Provisions      A-15  
  Section 3.5      GP Merger Consideration      A-15  
  Section 3.6      Treatment of CLMT Awards      A-16  
  Section 3.7      No Dissenters’ Rights      A-16  

ARTICLE IV REPRESENTATIONS AND WARRANTIES OF THE PARTIES

     A-17  
  Section 4.1      Representations and Warranties Concerning CLMT Entities      A-17  
  Section 4.2      Representations and Warranties Concerning the Sponsor Parties      A-18  
  Section 4.3      EXCLUSIVITY OF REPRESENTATIONS AND WARRANTIES      A-19  

ARTICLE V ADDITIONAL COVENANTS AND AGREEMENTS

     A-19  
  Section 5.1      Covenants by NewCo      A-19  
  Section 5.2      Covenants by the Sponsor Parties      A-19  

ARTICLE VI CONDITIONS PRECEDENT

     A-20  
  Section 6.1      Conditions to Each Party’s Obligation to Effect the CLMT Merger      A-20  
  Section 6.2      Conditions to Each Party’s Obligation to Effect the GP Merger      A-20  
  Section 6.3      Conditions to CLMT’s Obligation to Effect the Mergers      A-20  
  Section 6.4      Conditions to Sponsor Parties’ Obligation to Effect the Mergers      A-20  
  Section 6.5      Frustration of Closing Conditions      A-21  

ARTICLE VII TERMINATION

     A-21  
  Section 7.1      Termination      A-21  
  Section 7.2      Effect of Termination      A-22  

ARTICLE VIII MISCELLANEOUS

     A-22  
  Section 8.1      Non-Survival of Representations, Warranties, Covenants and Agreements      A-22  
  Section 8.2      Expenses      A-22  
  Section 8.3      Notices      A-22  
  Section 8.4      Successors and Assigns      A-23  
  Section 8.5      No Third-Party Rights      A-23  
  Section 8.6      Counterparts      A-23  
  Section 8.7      Applicable Law      A-23  

 

A-2


Table of Contents
                Page  
  Section 8.8       Severability      A-24  
  Section 8.9       Amendment or Modification; Waiver      A-24  
  Section 8.10      Specific Performance      A-24  
  Section 8.11      Action of the Sponsor Parties      A-24  
     Section 8.12      Tax Treatment      A-24  

LIST OF SCHEDULES AND EXHIBITS

 

Schedule A       Sponsor Parties
Exhibit A       CLMT Merger Certificate
Exhibit B       GP Merger Certificate
Exhibit C       NewCo Bylaws
Exhibit D       NewCo Charter
Exhibit E       Registration Rights Agreement
Exhibit F       Stockholders Agreement
Exhibit G       Warrant Agreement

 

A-3


Table of Contents

CONVERSION AGREEMENT

This CONVERSION AGREEMENT, dated as of February 9, 2024 (together with all schedules and exhibits hereto, this “Agreement”), is entered into by and among CALUMET SPECIALTY PRODUCTS PARTNERS, L.P., a Delaware limited partnership (“CLMT”), CALUMET, INC., a Delaware corporation and a wholly owned subsidiary of CLMT (“NewCo”), CALUMET MERGER SUB I LLC, a Delaware limited liability company and a wholly owned subsidiary of NewCo (“Merger Sub I”), CALUMET MERGER SUB II LLC, a Delaware limited liability company and a wholly owned subsidiary of NewCo (“Merger Sub II”), CALUMET GP, LLC, a Delaware limited liability company and the general partner of CLMT (the “General Partner”), and each Person set forth on Schedule A attached hereto (collectively, the “Sponsor Parties”). Each of the foregoing is sometimes referred to herein individually as a “Party” and, collectively, as the “Parties.” Certain capitalized terms used in this Agreement are defined in Article I.

W I T N E S S E T H:

WHEREAS, pursuant to that certain Restructuring Agreement dated as of November 9, 2023, entered into by and among CLMT, the General Partner and the Sponsor Parties, as amended by the First Amendment to the Restructuring Agreement dated even date herewith (as the same may be further amended, supplemented or modified, the “Restructuring Agreement”), the Parties hereto wish to enter into this Agreement to effect the Conversion, in accordance with the terms and conditions set forth herein;

WHEREAS, the Conflicts Committee has (i) unanimously approved the Restructuring Agreement and the transactions contemplated thereby, with such approval constituting “Special Approval” (as such term is defined in the CLMT Partnership Agreement) for all purposes of the CLMT Partnership Agreement, including Section 7.9 thereof, (ii) unanimously recommended to the CLMT Board that it approve the Restructuring Agreement and the transactions contemplated thereby and (iii) if submitted for approval at the CLMT Special Meeting, unanimously recommended that the holders of CLMT Common Units approve the Conversion and the Mergers, among other things;

WHEREAS, the CLMT Board has (i) unanimously approved the Restructuring Agreement and the transactions contemplated thereby and (ii) unanimously recommended that the holders of CLMT Common Units approve the Conversion and the Mergers, among other things;

WHEREAS, CLMT directly owns 100% of the shares in NewCo, and CLMT (as sole stockholder of NewCo) and NewCo’s sole incorporator has (a) determined that this Agreement and the transactions contemplated by this Agreement, including the issuance of the NewCo Shares, are in the best interest of NewCo and declared it advisable for NewCo to enter into this Agreement and to cause the Mergers to be consummated, (b) authorized and approved the adoption, execution, delivery and performance of this Agreement and the transactions contemplated by this Agreement by NewCo and (c) directed NewCo to take all such actions to consummate such transactions;

WHEREAS, NewCo directly owns 100% of the issued and outstanding limited liability company interests of Merger Sub I, and NewCo, in its capacity as the sole member of Merger Sub I, has (a) determined that this Agreement and the transactions contemplated by this Agreement, including the GP Merger, are in the best interests of Merger Sub I and declared it advisable for Merger Sub I to enter into this Agreement and consummate the GP Merger and (b) authorized and approved the execution, delivery and performance of this Agreement and the transactions contemplated by this Agreement by Merger Sub I, including the GP Merger;

WHEREAS, NewCo directly owns 100% of the issued and outstanding limited liability company interests of Merger Sub II, and NewCo, in its capacity as the sole member of Merger Sub II, has (a) determined that this Agreement and the transactions contemplated by this Agreement, including the CLMT Merger, are in the best interests of Merger Sub II and declared it advisable for Merger Sub II to enter into this Agreement and

 

A-4


Table of Contents

consummate the CLMT Merger and (b) authorized and approved the execution, delivery and performance of this Agreement and the transactions contemplated by this Agreement by Merger Sub II, including the CLMT Merger; and

WHEREAS, effective prior to the Mergers, the General Partner shall make an entity classification election on IRS Form 8832 electing to be taxed as an association taxable as a corporation for U.S. federal income tax purposes (the “CTB Election”).

NOW, THEREFORE, in consideration of the representations, warranties, covenants and agreements contained in this Agreement, and intending to be legally bound, the Parties agree as follows:

ARTICLE I

DEFINED TERMS; CONSTRUCTION

Section 1.1 Definitions. As used in this Agreement, the following terms have the meanings ascribed thereto below:

Affiliate” has the meaning set forth in the CLMT Partnership Agreement; provided, that, notwithstanding the foregoing, for purposes of this Agreement, none of the CLMT Entities shall be considered an Affiliate of the Sponsor Parties or any of their respective Affiliates (other than, for the avoidance of doubt, the CLMT Entities).

Agreement” has the meaning set forth in the Preamble.

Ancillary Documents” means all the other agreements, certificates, instruments and other documents to be executed or delivered by one or more of the Parties in connection with the transactions contemplated by this Agreement, including the NewCo Bylaws, the NewCo Charter, the Stockholders Agreement, the Registration Rights Agreement and the Warrant Agreement.

Antitrust Laws” means the HSR Act, including the rules and regulations promulgated thereunder, and all other Applicable Laws issued by a Governmental Authority that are designed or intended to prohibit, restrict or regulate actions having the purpose or effect of the monopolization or restraint of trade or the lessening of competition.

Applicable Law” or “Law” means any applicable statute, law, regulation, ordinance, rule, judgment, rule of law (including common law), decree, permit, requirement, or other governmental restriction or any similar form of decision of, or any provision or condition issued under any of the foregoing by, or any determination by any Governmental Authority having or asserting jurisdiction over the matter or matters in question, whether now or hereafter in effect and in each case as amended (including all of the terms and provisions of the common law of such Governmental Authority), as interpreted and enforced at the time in question.

Book-Entry Units” has the meaning set forth in Section 3.2.

Business Day” means Monday through Friday of each week, except that a legal holiday recognized as such by the government of the United States of America or the States of Delaware, Texas and New York shall not be regarded as a Business Day.

Certificate” has the meaning set forth in Section 3.2.

CLMT” has the meaning set forth in the Preamble.

CLMT Board” means the board of directors of the General Partner.

 

A-5


Table of Contents

CLMT Common Unit” means a Common Unit (as such term is defined in the CLMT Partnership Agreement).

CLMT Entities” means, collectively, the General Partner, CLMT and its Subsidiaries, including, for the avoidance of doubt, NewCo, Merger Sub I and Merger Sub II.

CLMT General Partner Interest” means the General Partner Interest (as such term is defined in the CLMT Partnership Agreement).

CLMT LTIP” means the Calumet GP, LLC Amended and Restated Long-Term Incentive Plan, as amended from time to time.

CLMT Merger” has the meaning set forth in Section 2.1(a).

CLMT Merger Certificate” means a certificate of merger evidencing the CLMT Merger in substantially the form attached hereto as Exhibit A.

CLMT Merger Consideration” has the meaning set forth in Section 3.1(a).

CLMT Merger Effective Time” means the time at which the CLMT Merger is effected in accordance with the CLMT Merger Certificate.

CLMT Partnership Agreement” means the First Amended and Restated Agreement of Limited Partnership of CLMT, dated as of January 31, 2006, as amended from time to time.

CLMT Phantom Unit Award” means each phantom unit award granted under the CLMT LTIP.

CLMT Special Meeting” has the meaning set forth in the Restructuring Agreement.

CLMT Unitholder Approval” has the meaning set forth in the Restructuring Agreement.

Closing” has the meaning set forth in Section 2.2.

Closing Date” has the meaning set forth in Section 2.2.

Code” means the Internal Revenue Code of 1986, as amended from time to time.

Conflicts Committee” means the conflicts committee of the CLMT Board.

Contract” means any written contract, agreement, indenture, instrument, note, bond, loan, lease, easement, mortgage, franchise, license agreement, binding bid or offer, binding term sheet or letter of intent or memorandum, commitment, letter of credit or any other legally binding arrangement, including any amendments or modifications thereof and waivers relating thereto.

Conversion” has the meaning set forth in the Restructuring Agreement.

Conversion Shares” has the meaning set forth in Section 4.1(b)(v).

CTB Election” has the meaning set forth in the Recitals.

DLLCA” means the Delaware Limited Liability Company Act, as amended from time to time.

DRULPA” means the Delaware Revised Uniform Limited Partnership Act, as amended from time to time.

 

A-6


Table of Contents

Encumbrance” means any mortgage, pledge, charge, hypothecation, easement, right of purchase, security interest, deed of trust, encumbrance, interest, option, lien, right of first refusal, right of way, defect in title, encroachments or other restriction, whether or not imposed by operation of any Applicable Law, any voting trust or voting agreement, stockholder agreement or proxy.

Exchange Agent” has the meaning set forth in Section 3.3(a).

Exchange Fund” has the meaning set forth in Section 3.3(a).

Exchange Ratio” has the meaning set forth in Section 3.1(a).

GAAP” means generally accepted accounting principles in the United States of America.

General Partner” has the meaning set forth in the Preamble.

General Partner Units” has the meaning set forth in the CLMT Partnership Agreement.

Governmental Authority” means any applicable multinational, foreign, federal, state, local or other governmental statutory or administrative authority, regulatory body or commission or any court, tribunal or judicial or arbitral authority which has any jurisdiction over a matter.

GP Equity Interests” has the meaning set forth in Section 3.5(a).

GP LLC Agreement” means the Amended and Restated Limited Liability Company Agreement of the General Partner, dated as of January 31, 2006, as amended from time to time.

GP Merger” has the meaning set forth in Section 2.1(b).

GP Merger Certificate” means the certificate of merger in substantially the form attached hereto as Exhibit B.

GP Merger Consideration” has the meaning set forth in Section 3.5(a).

GP Merger Effective Time” means the time at which the GP Merger is effected in accordance with the GP Merger Certificate.

HSR Act” means the Hart-Scott-Rodino Antitrust Improvements Act of 1976, as amended, and the rules and regulations promulgated thereunder.

Incentive Distribution Right” has the meaning set forth in the CLMT Partnership Agreement.

Limited Partner” has the meaning set forth in the CLMT Partnership Agreement.

Material Adverse Effect” means, with respect to the CLMT Entities, any change, circumstance, effect or condition that, individually or in the aggregate, (i) is materially adverse to the assets, financial condition, results of operations, or business of the CLMT Entities, taken as a whole, or (ii) materially impedes the ability of such Person to consummate the transactions contemplated hereby, other than, in the case of clause (i) only, any change, circumstance, effect or condition (a) in the specialty products industries generally (including any change in the prices of crude oil, natural gas, natural gas liquids or other hydrocarbon products, industry margins or any regulatory changes or changes in Applicable Law), (b) in United States or global economic conditions or financial markets in general or (c) the announcement or pendency of this Agreement, or the matters contemplated hereby; provided, that in the case of clauses (a) and (b), the impact on the CLMT Entities is not disproportionately adverse as compared to others in the industries referred to in clause (a) of this definition generally.

 

A-7


Table of Contents

Merger Sub I” has the meaning set forth in the Preamble.

Merger Sub II” has the meaning set forth in the Preamble.

Mergers” has the meaning set forth in Section 2.1(b).

Nasdaq” means the Nasdaq Stock Market LLC.

NewCo” has the meaning set forth in the Preamble.

NewCo Board” means the Board of Directors of NewCo.

NewCo Bylaws” means the Amended and Restated bylaws of NewCo in substantially the form attached hereto as Exhibit C.

NewCo Charter” means the Amended and Restated Certificate of Incorporation of NewCo in substantially the form attached hereto as Exhibit D.

NewCo Common Stock” means the common stock, par value $0.01 per share, of NewCo.

NewCo RSUs” has the meaning set forth in Section 3.6(a).

NewCo Shares” means shares of NewCo Common Stock.

NewCo Warrants” has the meaning set forth in Section 3.5(a).

Organizational Documents” means (a) with respect to a corporation, the articles or certificate of incorporation and bylaws thereof together with any other governing agreements or instruments of such corporation or the shareholders thereof, each as amended, (b) with respect to a limited liability company, the certificate of formation and the operating or limited liability company agreement thereof, or any comparable governing instruments, each, as amended, (c) with respect to a partnership, the certificate of limited partnership and the limited partnership agreement thereof, each as amended, and (d) with respect to any other Person, the organizational, constituent or governing documents or instruments of such Person, each as amended.

Outside Date” has the meaning set forth in Section 7.1(g).

Party” and “Parties” have the meanings set forth in the Preamble.

Permits” means all franchises, grants, authorizations, licenses, permits, easements, certificates of need, variances, exemptions, consents, certificates, approvals and orders.

Person” means any individual, corporation, company, voluntary association, partnership, joint venture, trust, limited liability company, unincorporated organization, government or any agency, instrumentality or political subdivision thereof or any other form of entity.

Proxy Statement” has the meaning set forth in the Restructuring Agreement.

Registration Rights Agreement” means the Registration Rights Agreement in substantially the form attached hereto as Exhibit E.

Registration Statement” has the meaning set forth in the Restructuring Agreement.

Restructuring Agreement” has the meaning set forth in the Recitals.

 

A-8


Table of Contents

SEC” means the United States Securities and Exchange Commission.

Securities Act” means the Securities Act of 1933, as amended from time to time, and the rules and regulations of the SEC promulgated thereunder.

Sponsor Material Adverse Effect” means any change, circumstance, effect or condition that prevents or materially impedes the Sponsor Parties from consummating the transactions contemplated hereby.

Sponsor Parties” has the meaning set forth in the Preamble.

Stockholders Agreement” means the Stockholders Agreement in substantially the form attached hereto as Exhibit F.

Subsidiaries” has the meaning set forth in the CLMT Partnership Agreement; provided, however, that, except where otherwise expressly provided, for the purposes of this Agreement, none of the CLMT Entities shall be considered a Subsidiary of the Sponsor Parties.

Surviving CLMT” has the meaning set forth in Section 2.1(a).

Surviving Entities” has the meaning set forth in Section 2.1(b).

Surviving GP” has the meaning set forth in Section 2.1(b).

Tax” or “Taxes” means all taxes, assessments, fees, and other charges imposed by a Governmental Authority, including all income, franchise, profits, capital gains, capital stock, transfer, gross receipts, sales, use, transfer, service, occupation, ad valorem, property, excise, severance, windfall profit, premium, stamp, license, payroll, employment, social security, retirement, workers compensation, unemployment, disability, environmental, alternative minimum, add-on, recording, value-added, withholding (including backup withholding) and other taxes, assessments, duties, levies, imposts, unclaimed property, escheat obligations, customs, estimated or other similar charges of any kind whatsoever (whether payable directly or by withholding and whether or not requiring the filing of a Tax Return), and all estimated taxes, deficiency assessments, additions to tax, penalties, interests and additional amounts imposed by any Governmental Authority.

Tax Return” means any report, return, election, document, claim for refund, statement, information return, estimated Tax filing, declaration or other filing provided to or required to be provided to any Governmental Authority with respect to Taxes, including any attachments or amendments thereto.

Warrant Agreement” means the Warrant Agreement in substantially the form attached hereto Exhibit G.

Section 1.2 Interpretation. Unless expressly provided for elsewhere in this Agreement, this Agreement will be interpreted in accordance with the following provisions:

(a) the words “this Agreement,” “herein,” “hereby,” “hereunder,” “hereof,” and other equivalent words refer to this Agreement as an entirety and not solely to the particular portion, article, section, subsection or other subdivision of this Agreement in which any such word is used;

(b) examples are not to be construed to limit, expressly or by implication, the matter they illustrate;

(c) the word “including” and its derivatives means “including without limitation” and is a term of illustration and not of limitation;

(d) all definitions set forth herein are deemed applicable whether the words defined are used herein in the singular or in the plural and correlative forms of defined terms have corresponding meanings;

 

A-9


Table of Contents

(e) the word “or” is not exclusive and has the inclusive meaning represented by the phrase “and/or”;

(f) the word “extent” in the phrase “to the extent” shall mean the degree to which a subject or thing extends, and such phrase shall not mean simply “if”;

(g) a defined term has its defined meaning throughout this Agreement and each exhibit and schedule to this Agreement, regardless of whether it appears before or after the place where it is defined;

(h) all references to prices, values or monetary amounts refer to United States dollars;

(i) wherever used herein, any pronoun or pronouns will be deemed to include both the singular and plural and to cover all genders;

(j) this Agreement has been jointly prepared by the Parties, and this Agreement will not be construed against any Person as the principal draftsperson of this Agreement and no consideration may be given to any fact or presumption that any Party had a greater or lesser hand in drafting this Agreement;

(k) each covenant, term and provision of this Agreement will be construed simply according to its fair meaning; prior drafts of this Agreement or the fact that any clauses have been added, deleted or otherwise modified from any prior drafts of this Agreement will not be used as an aid of construction or otherwise constitute evidence of the intent of the Parties and no presumption or burden of proof will arise favoring or disfavoring any Party by virtue of such prior drafts;

(l) the captions of the articles, sections or subsections appearing in this Agreement are inserted only as a matter of convenience and in no way define, limit, construe or describe the scope or extent of such article, section or subsection, or in any way affect this Agreement;

(m) any references herein to a particular section, article, Schedule or Exhibit means a section or article of, or Schedule or Exhibit to, this Agreement unless otherwise expressly stated herein;

(n) the Schedules attached hereto are incorporated herein by reference and will be considered part of this Agreement;

(o) unless otherwise specified herein, all accounting terms used herein will be interpreted, and all determinations with respect to accounting matters hereunder will be made, in accordance with GAAP, applied on a consistent basis;

(p) all references to days mean calendar days unless otherwise provided; and

(q) except as otherwise noted, all references to time mean Houston, Texas time.

ARTICLE II

THE CONVERSION

Section 2.1 The Mergers. Upon the terms and subject to the conditions of this Agreement, the following shall occur on the Closing Date:

(a) CLMT Merger. In accordance with the DRULPA and the DLLCA, Merger Sub II shall merge with and into CLMT, the separate existence of Merger Sub II shall cease and CLMT shall survive and continue to exist as a Delaware limited partnership (the “CLMT Merger,” and CLMT as the surviving entity in the CLMT Merger, sometimes being referred to herein as the “Surviving CLMT”).

 

A-10


Table of Contents

(b) GP Merger. Immediately after the CLMT Merger, in accordance with the DLLCA, Merger Sub I shall merge with and into the General Partner, the separate existence of Merger Sub I shall cease and the General Partner shall survive and continue to exist as a Delaware limited liability company (the “GP Merger,” together with the CLMT Merger, the “Mergers,” and the General Partner as the surviving entity in the GP Merger, sometimes being referred to herein as the “Surviving GP,” and together with the Surviving CLMT, the “Surviving Entities”).

Section 2.2 Closing. The closing of the transactions contemplated by this Agreement (the “Closing”) shall occur as soon as practicable after the satisfaction or waiver (if permitted hereunder) of all of the conditions set forth in Article VI other than those conditions that by their nature are to be satisfied at the Closing (but subject to the fulfillment or waiver of such conditions at the Closing), at the office of Gibson, Dunn & Crutcher LLP at 811 Main Street, Suite 3000, Houston, Texas 77002 (or remotely via the electronic exchange of executed documents), unless another date or place is mutually agreed upon in writing by the Parties. The date upon which the Closing occurs hereunder is referred to herein as the “Closing Date.”

Section 2.3 Filing of Certificates of Merger. Subject to the provisions of this Agreement, on the Closing Date, the Parties shall cause the CLMT Merger Certificate and the GP Merger Certificate to be executed, acknowledged and filed with the Secretary of State of the State of Delaware.

Section 2.4 Effects of the Mergers.

(a) The CLMT Merger shall have the effects set forth in this Agreement and the applicable provisions of the DRULPA and the DLLCA. At the CLMT Merger Effective Time, CLMT shall be owned by the General Partner and NewCo.

(b) The GP Merger shall have the effects set forth in this Agreement and the applicable provisions of the DLLCA. At the GP Merger Effective Time, the General Partner shall become a wholly owned Subsidiary of NewCo.

Section 2.5 Organizational Documents of Surviving Entities.

(a) At the CLMT Merger Effective Time (i) the certificate of limited partnership of CLMT as in effect immediately prior to the CLMT Merger Effective Time shall remain unchanged and shall be the certificate of limited partnership of the Surviving CLMT from and after the CLMT Merger Effective Time, until duly amended in accordance with Applicable Laws and (ii) the CLMT Partnership Agreement as in effect immediately prior to the CLMT Merger Effective Time shall remain unchanged and shall be the partnership agreement of the Surviving CLMT, from and after the CLMT Merger Effective Time until duly amended in accordance with the terms thereof and Applicable Laws, in each case, consistent with the obligations set forth in Section 6.08 of the Restructuring Agreement. The name of the Surviving CLMT shall be “Calumet Specialty Products Partners, L.P.”

(b) At the GP Merger Effective Time, (i) the certificate of formation of the General Partner as in effect immediately prior to the GP Merger Effective Time shall remain unchanged and shall be the certificate of formation of the Surviving GP from and after the GP Merger Effective Time, until duly amended in accordance with Applicable Laws and (ii) the GP LLC Agreement as in effect immediately prior to the GP Merger Effective Time shall remain unchanged and shall be the limited liability company agreement of the Surviving GP, from and after the GP Merger Effective Time until duly amended in accordance with the terms thereof and Applicable Laws, in each case, consistent with the obligations set forth in Section 6.08 of the Restructuring Agreement. The name of the Surviving GP shall be “Calumet GP, LLC.”

Section 2.6 Directors and Officers of the Surviving Entities.

(a) Immediately prior to the GP Merger Effective Time, the General Partner shall use its reasonable best efforts to deliver to the Sponsor Parties the resignation of each officer of the General Partner and each

 

A-11


Table of Contents

member of the CLMT Board, unless directed otherwise by the Sponsor Parties in the Sponsor Parties’ sole discretion.

(b) Immediately following the GP Merger Effective Time, unless determined otherwise by the Sponsor Parties in the Sponsor Parties’ sole discretion, NewCo shall cause (i) the officers of the General Partner serving immediately prior to the GP Merger Effective Time to become the officers of NewCo; and (ii) the individuals, who are to be agreed between the Parties prior to the GP Merger Effective Time, in each case in accordance with Section 6.05 of the Restructuring Agreement, to become members of the NewCo Board, in each case, until the earlier of their death, resignation or removal or the time at which their respective successors are duly elected or appointed and qualified.

ARTICLE III

CONSIDERATION FOR THE MERGERS; EXCHANGE PROCEDURES

Section 3.1 CLMT Merger Consideration. Subject to the provisions of this Agreement, at the CLMT Merger Effective Time, by virtue of the CLMT Merger and without any action on the part of any CLMT Entity or Sponsor Party, or any other Person:

(a) Exchange of CLMT Common Units. Subject to Section 3.1(b) and Section 3.1(c), each CLMT Common Unit (including CLMT Common Units owned by the Sponsor Parties and their respective Affiliates) issued and outstanding as of immediately prior to the CLMT Merger Effective Time shall be exchanged into the right to receive one NewCo Share (the “CLMT Merger Consideration” and such ratio, the “Exchange Ratio”), subject to adjustment in accordance with Section 3.4.

(b) Equity of Merger Sub II. The limited liability company interests in Merger Sub II issued and outstanding immediately prior to the CLMT Merger Effective Time shall be exchanged for 80,223,093 CLMT Common Units in the Surviving CLMT.

(c) Treatment of CLMT General Partner Interest. The CLMT General Partner Interest issued and outstanding as of immediately prior to the CLMT Merger Effective Time shall remain, immediately following the CLMT Merger Effective Time, outstanding as 1,637,206 General Partner Units in the Surviving CLMT.

(d) Incentive Distribution Rights. The Incentive Distribution Rights of CLMT issued by CLMT to the General Partner and outstanding immediately prior to the CLMT Merger Effective Time shall remain as outstanding equity interests in the Surviving CLMT held by the General Partner immediately following the CLMT Merger Effective Time.

(e) Books and Records of CLMT. The books and records of the Surviving CLMT shall be revised to reflect (i) the exchange and cancellation of all CLMT Common Units in accordance with Section 3.1 and Section 3.2 and (ii) the exchange of limited liability company interests in Merger Sub II in accordance with Section 3.1.

Section 3.2 Rights as CLMT Unitholders; CLMT Common Unit Transfers. All CLMT Common Units exchanged into the right to receive the CLMT Merger Consideration pursuant to Section 3.1(a) will cease to be Outstanding (as such term is defined in the CLMT Partnership Agreement) and will automatically be canceled and will cease to exist when converted into the right to receive the CLMT Merger Consideration as a result of and pursuant to the CLMT Merger. At the CLMT Merger Effective Time, each holder of a certificate that immediately prior to the CLMT Merger Effective Time represented CLMT Common Units (a “Certificate”) and each holder of non-certificated CLMT Common Units represented by book-entry immediately prior to the CLMT Merger Effective Time (“Book-Entry Units”) will cease to have any rights with respect thereto or thereunder,

 

A-12


Table of Contents

except the right to receive (a) the CLMT Merger Consideration, (b) any dividend in accordance with Section 3.3(c) to be paid, without interest, upon surrender of such Certificate or Book-Entry Units in accordance with Section 3.3, and (c) any distribution in respect of the CLMT Common Units with a record date occurring prior to the CLMT Merger Effective Time that may have been declared by CLMT on the CLMT Common Units in accordance with the terms of this Agreement and the CLMT Partnership Agreement and which remains unpaid at the CLMT Merger Effective Time. At the CLMT Merger Effective Time, the transfer books of the Surviving CLMT will be closed immediately and there will be no further registration of transfers on the transfer books of the Surviving CLMT with respect to the CLMT Common Units.

Section 3.3 Exchange of Certificates and Book-Entry Units.

(a) Exchange Agent. Prior to the CLMT Merger Effective Time, the General Partner will appoint an exchange agent to act as exchange and payment agent hereunder for the purpose of exchanging CLMT Common Units for the CLMT Merger Consideration as required by this Article III (the “Exchange Agent”). Promptly after the CLMT Merger Effective Time, the General Partner will deposit, or cause to be deposited on behalf of NewCo, with the Exchange Agent for the benefit of the holders of the applicable CLMT Common Units, for exchange in accordance with this Article III, through the Exchange Agent, NewCo Shares as required by this Article III. The General Partner agrees to make available, or cause to be made available, to the Exchange Agent, from time to time as needed, cash sufficient to pay any dividends pursuant to Section 3.3(c), without interest. Any dividends with respect to NewCo Shares pursuant to Section 3.3(c) and NewCo Shares for payment of the CLMT Merger Consideration deposited with the Exchange Agent are hereinafter referred to as the “Exchange Fund.” The Exchange Agent will, pursuant to irrevocable instructions from the General Partner, deliver the CLMT Merger Consideration contemplated to be issued or paid pursuant to this Agreement out of the Exchange Fund. Except as contemplated by Section 3.3(b) and Section 3.3(c), the Exchange Fund will not be used for any other purpose.

(b) Exchange Procedures. Promptly after the CLMT Merger Effective Time, the General Partner will instruct the Exchange Agent to mail to each record holder of CLMT Common Units as of the CLMT Merger Effective Time (i) a letter of transmittal (specifying that in respect of Certificates, delivery will be effected, and risk of loss and title to the Certificates will pass, only upon proper delivery of the Certificates to the Exchange Agent, and which will be in customary form and agreed to by the Parties prior to the CLMT Merger Effective Time) and (ii) instructions (in customary form and agreed to by the Parties prior to the CLMT Merger Effective Time) for use in effecting the surrender of the Certificates or Book-Entry Units in exchange for the CLMT Merger Consideration payable in respect of CLMT Common Units represented by such Certificates or Book-Entry Units, as applicable. Promptly after the CLMT Merger Effective Time, upon surrender of Certificates, if any, for cancellation to the Exchange Agent together with such letters of transmittal, properly completed and duly executed, and other documents (including in respect of Book-Entry Units) as may be reasonably required pursuant to such instructions, each holder who held CLMT Common Units immediately prior to the CLMT Merger Effective Time will be entitled to receive upon surrender of the Certificates or Book-Entry Units therefor (subject to any applicable withholding Tax) (A) NewCo Shares representing, in the aggregate, the aggregate number of NewCo Shares that such holder has the right to receive pursuant to this Article III (after taking into account all CLMT Common Units then held by such holder) and (B) a check in an amount equal to the aggregate amount of cash that such holder has the right to receive pursuant to this Article III, including dividends pursuant to Section 3.3(c), if any. No interest will be paid or accrued on any amounts payable pursuant to this Article III, including any dividends payable pursuant to Section 3.3(c). In the event of a transfer of ownership of CLMT Common Units that is not registered in the transfer records of CLMT, the CLMT Merger Consideration payable in respect of such CLMT Common Units may be paid to a transferee if the Certificate representing such CLMT Common Units or evidence of ownership of the Book-Entry Units is presented to the Exchange Agent, and in the case of both Certificates and Book-Entry Units, accompanied by all documents reasonably required to evidence and effect such transfer, and the Person requesting such exchange will pay to the Exchange Agent in advance any transfer or other Taxes required by reason of the delivery of the CLMT Merger Consideration in any name other than that of the record holder of such CLMT Common Units, or will establish to the satisfaction of the Exchange

 

A-13


Table of Contents

Agent that such Taxes have been paid or are not payable. Until all such required documentation has been delivered and Certificates, if any, have been surrendered as contemplated by this Section 3.3(b), each Certificate or Book-Entry Unit will be deemed at any time after the CLMT Merger Effective Time to represent only the right to receive the CLMT Merger Consideration upon such delivery and surrender, any cash or dividends to which such holder is entitled pursuant to Section 3.3(c) and any distribution in respect of the CLMT Common Units with a record date occurring prior to the CLMT Merger Effective Time that may have been declared by CLMT on the CLMT Common Units in accordance with the terms of this Agreement and the CLMT Partnership Agreement and remain unpaid at the CLMT Merger Effective Time.

(c) Dividends with Respect to Unexchanged CLMT Common Units. No dividends with respect to NewCo Shares issued in the CLMT Merger shall be paid to the holder of any unsurrendered Certificates or Book-Entry Units until such Certificates or Book-Entry Units are surrendered as provided in this Section 3.3. Following such surrender, subject to the effect of escheat, Tax or other Applicable Laws, there shall be paid, without interest, to the record holder of the NewCo Shares issued in exchange therefor (i) at the time of such surrender, all dividends payable in respect of any such NewCo Shares with a record date after the CLMT Merger Effective Time and a payment date on or prior to the date of such surrender and not previously paid and (ii) at the appropriate payment date, the dividends payable with respect to such NewCo Shares with a record date after the CLMT Merger Effective Time but with a payment date subsequent to such surrender. For purposes of dividends in respect of NewCo Shares, all NewCo Shares to be issued pursuant to the CLMT Merger shall be entitled to dividends pursuant to the immediately preceding sentence as if issued and outstanding as of the CLMT Merger Effective Time.

(d) No Further Rights in CLMT Common Units. The CLMT Merger Consideration issued upon exchange of a CLMT Common Unit in accordance with the terms hereof will be deemed to have been issued and paid in full satisfaction of all rights pertaining to such CLMT Common Unit (other than any distribution in respect of the CLMT Common Units with a record date occurring prior to the CLMT Merger Effective Time that may have been declared by CLMT on the CLMT Common Units in accordance with the terms of this Agreement and the CLMT Partnership Agreement and which remains unpaid at the CLMT Merger Effective Time).

(e) Termination of Exchange Fund. Any portion of the Exchange Fund that remains undistributed to the holders of CLMT Common Units on the one year anniversary of the CLMT Merger Effective Time will be delivered to the Surviving CLMT upon demand by the Surviving CLMT and, from and after such delivery, any former holders of CLMT Common Units who have not theretofore complied with this Article III will thereafter look only to the Surviving CLMT for the CLMT Merger Consideration payable in respect of such CLMT Common Units pursuant to Section 3.1(a) or any dividends with respect to NewCo Shares to which they are entitled pursuant to Section 3.3(c), in each case, without any interest thereon. Any amounts remaining unclaimed by holders of CLMT Common Units immediately prior to such time as such amounts would otherwise escheat to or become the property of any Governmental Authority will, to the extent permitted by applicable Law, become the property of the Surviving CLMT. Without limitation of the foregoing, after the date that is the one year anniversary of the CLMT Merger Effective Time, any amounts remaining unclaimed by holders of CLMT Common Units will become the property of the Surviving CLMT, subject to the legitimate claims of any Person previously entitled thereto hereunder or under abandoned property, escheat or similar Laws. Notwithstanding anything in this Agreement to the contrary, none of the Sponsor Parties, NewCo, the Surviving Entities, the Exchange Agent, or any other Person shall be liable to any former holder of CLMT Common Units for any amount properly delivered to a public official pursuant to any abandoned property, escheat or similar Law.

(f) Lost, Stolen or Destroyed Certificates. If any Certificate is lost, stolen or destroyed, upon the making of an affidavit of that fact by the Person claiming such Certificate to be lost, stolen or destroyed and, if required by the Surviving CLMT, the posting by such Person of an indemnity agreement or a bond, in a customary amount, as indemnity against any claim that may be made against it with respect to such Certificate, the Exchange Agent will issue in exchange for such lost, stolen or destroyed Certificate and affidavit the CLMT Merger Consideration payable in respect of CLMT Common Units represented by such Certificate as contemplated by this Article III and pay any dividends pursuant to Section 3.3(c).

 

A-14


Table of Contents

(g) Withholding Taxes. Each of NewCo, the Surviving Entities, the Exchange Agent and their Affiliates, as applicable, are entitled to deduct and withhold from any amounts, including the CLMT Merger Consideration, payable pursuant to this Agreement to any Person such amounts as NewCo, the Surviving Entities, the Exchange Agent or their Affiliates, as applicable, reasonably deems it is required to deduct and withhold under the Code or any provision of state, local, or foreign Tax Law with respect to the making of such payment. Such deduction and withholding may be taken in securities (including NewCo Shares), in which case NewCo, the Surviving Entities, the Exchange Agent or their Affiliates, as applicable, shall be treated as having sold such securities for an amount of cash equal to the fair market value of such securities at the time of such deemed sale. To the extent that deducted and withheld amounts (including deemed proceeds from the deemed sale of securities) are paid over to the appropriate Governmental Authority, such amounts (including securities) will be treated for all purposes of this Agreement as having been paid or issued to the Person in respect of whom such deduction and withholding was made.

(h) Book-Entry Shares. All NewCo Shares to be issued in the Mergers will be issued in book-entry form, without physical certificates.

(i) Investment of Exchange Fund. The Surviving CLMT may cause the Exchange Agent to invest the cash in the Exchange Fund as directed by the Surviving CLMT on a daily basis, in the Surviving CLMT’s sole discretion; provided, however, that no such investment or loss thereon shall affect the amounts payable or timing of the amounts payable to the holders of CLMT Common Units pursuant to the other provisions of this Article III. Any interest and other income resulting from such investments shall be paid promptly to the Surviving CLMT.

Section 3.4 Anti-Dilution Provisions. Notwithstanding any provision of this Article III to the contrary, if between the date of this Agreement and the CLMT Merger Effective Time the number of outstanding CLMT Common Units or NewCo Shares shall have been changed into a different number of units or shares or a different class or series by reason of any subdivisions, reclassifications, splits, share distributions, combinations or exchanges of CLMT Common Units or NewCo Shares, as applicable, then the CLMT Merger Consideration, the Exchange Ratio, the GP Merger Consideration and any other similar dependent item, as applicable, will be correspondingly adjusted to provide to the holders of CLMT Common Units the same economic effect as contemplated by this Agreement prior to such event; provided, however, that nothing in this Section 3.4 shall be deemed to permit or authorize any Party to effect any such change that it is not otherwise authorized or permitted to be undertaken pursuant to this Agreement or the Restructuring Agreement.

Section 3.5 GP Merger Consideration. Subject to the provisions of this Agreement, at the GP Merger Effective Time, by virtue of the GP Merger and without any action on the part of any CLMT Entity or Sponsor Party, or any other Person:

(a) Exchange of GP Equity Interests. All equity interests of the General Partner issued and outstanding as of immediately prior to the GP Merger Effective Time (the “GP Equity Interests”) shall be exchanged into the right to receive an aggregate amount of 5,500,000 NewCo Shares and 2,000,000 warrants to purchase NewCo Shares (the “NewCo Warrants”) pursuant to the Warrant Agreement (collectively, the “GP Merger Consideration”), subject to adjustment pursuant to Section 3.4. The NewCo Shares and NewCo Warrants issued pursuant to this Section 3.5(a) shall be allocated among the Sponsor Parties in accordance with Schedule A.

(b) Equity of Merger Sub I. The limited liability company interests in Merger Sub I issued and outstanding immediately prior to the GP Merger Effective Time shall not be canceled and shall remain outstanding as limited liability company interests in the Surviving GP.

(c) No Further Rights in GP Equity Interests. All GP Equity Interests exchanged into the right to receive the GP Merger Consideration pursuant to Section 3.5(a) will cease to be outstanding and will automatically be canceled and will cease to exist when converted into the right to receive the GP Merger

 

A-15


Table of Contents

Consideration as a result of and pursuant to the GP Merger. The GP Merger Consideration issued upon exchange of the GP Equity Interests in accordance with the terms hereof will be deemed to have been issued and paid in full satisfaction of all rights pertaining thereto.

(d) Limited Liability Company Agreement, Books and Records of Surviving GP. The limited liability company agreement of Merger Sub I immediately prior to the GP Merger Effective Time shall replace and become the limited liability company agreement of the Surviving GP. The books and records of the Surviving GP shall be revised to reflect the exchange and cancellation of all GP Equity Interests in accordance with Section 3.5(a) and the exchange of the limited liability company interests in Merger Sub I and Section 3.5(b).

(e) Withholding Taxes. Each of NewCo, the Surviving Entities, the Exchange Agent and their Affiliates, as applicable, are entitled to deduct and withhold from any amounts, including the GP Merger Consideration, payable pursuant to this Agreement to any Person such amounts as NewCo, the Surviving Entities, the Exchange Agent, or their Affiliates, as applicable, reasonably deems it is required to deduct and withhold under the Code or any provision of state, local, or foreign Tax Law, with respect to the making of such payment. Such deduction and withholding may be taken in securities (including NewCo Shares and NewCo Warrants), in which case NewCo, the Surviving Entities, the Exchange Agent or their Affiliates, as applicable, shall be treated as having sold such securities for an amount of cash equal to the fair market value of such securities at the time of such deemed sale. To the extent that deducted and withheld amounts (including deemed proceeds from the deemed sale of securities) are paid over to the appropriate Governmental Authority, such amounts (including securities) will be treated for all purposes of this Agreement as having been paid or issued to the Person in respect of whom such deduction and withholding was made.

Section 3.6 Treatment of CLMT Awards. Prior to the CLMT Merger Effective Time, the Sponsor Parties, NewCo, the General Partner and CLMT shall take all action as may be necessary or required in accordance with applicable Law and the CLMT LTIP (including the award agreements in respect of awards granted thereunder) to give effect to this Section 3.6.

(a) As of the CLMT Merger Effective Time, by virtue of the CLMT Merger and without any action on the part of the holders thereof, each CLMT Phantom Unit Award that is outstanding immediately prior to the CLMT Merger Effective Time shall cease to relate to or represent any right to receive CLMT Common Units or the cash equivalent of a CLMT Common Unit, if applicable, and shall be converted at the CLMT Merger Effective Time, into an award of restricted stock units relating to a number of shares of NewCo Common Stock (the “NewCo RSUs”) equal to the product of (a) the number of CLMT Common Units subject to or referenced within the corresponding CLMT Phantom Unit Award as of immediately prior to the CLMT Merger Effective Time, multiplied by (b) the Exchange Ratio, on substantially the same terms and conditions as were applicable to the corresponding CLMT Phantom Unit Award, including any applicable payment timing provisions, the form of settlement (i.e., cash or equity-based) and dividend equivalent rights, as applicable, except as adjusted by this Agreement.

(b) As of the CLMT Merger Effective Time, NewCo shall assume the CLMT LTIP which shall continue to govern the CLMT Phantom Unit Awards as assumed pursuant to this Section 3.6 and for the purpose of making future grants relating to NewCo Shares to applicable employees and other service providers of NewCo and its Subsidiaries, which CLMT LTIP shall be amended and adjusted as reasonably necessary to give effect to the transactions contemplated by this Agreement.

Section 3.7 No Dissenters’ Rights. No dissenters’ or appraisal rights shall be available with respect to the CLMT Merger or the GP Merger or the other transactions contemplated by this Agreement.

 

A-16


Table of Contents

ARTICLE IV

REPRESENTATIONS AND WARRANTIES OF THE PARTIES

Section 4.1 Representations and Warranties Concerning CLMT Entities. Except as disclosed in the correspondingly numbered section of the disclosure schedules delivered by the CLMT Entities to the Sponsor Parties simultaneously with the execution of this Agreement (it being agreed that disclosure of any item in any section or subsection of such disclosure schedules shall be deemed disclosure with respect to any other section or subsection of this Agreement to which the relevance of such item is reasonably apparent on its face, notwithstanding the omission of a cross-reference to such other section or subsection), the General Partner, CLMT, NewCo, Merger Sub I and Merger Sub II hereby represent and warrant to the Sponsor Parties as follows:

(a) Organization.

(i) Each of NewCo, Merger Sub I and Merger Sub II is a corporation or limited liability company, as the case may be, duly incorporated or formed and validly existing and in good standing under the Laws of the State of Delaware.

(ii) Since their respective incorporation or formation, as applicable, and until the date hereof, none of NewCo, Merger Sub I and Merger Sub II have engaged in any business activities, has any operations, has owned any assets, has generated any revenues, and has incurred any liabilities of any kind, whether known or unknown or otherwise, in each case except liabilities incurred in connection with their respective incorporation or formation and continued existence as legal entities (including liabilities incurred in connection with the preparation and filing of Tax Returns, regulatory or governmental filings and the like).

(b) Capitalization.

(i) CLMT is the sole stockholder of NewCo and directly owns 100% of the shares in NewCo free and clear of all Encumbrances.

(ii) NewCo is the sole member of Merger Sub I and directly owns 100% of the issued and outstanding limited liability company interests of Merger Sub I free and clear of all Encumbrances.

(iii) NewCo is the sole member of Merger Sub II and directly owns 100% of the issued and outstanding limited liability company interests of Merger Sub II free and clear of all Encumbrances.

(iv) When issued pursuant to the terms of this Agreement, all NewCo Shares constituting the CLMT Merger Consideration and GP Merger Consideration will be duly authorized, validly issued, fully paid and nonassessable and free of preemptive rights.

(v) The NewCo Warrants will be exercisable for shares of NewCo Common Stock (the “Conversion Shares”) in accordance with the terms of the Warrant Agreement. The Conversion Shares have been duly authorized and reserved by NewCo for issuance upon exercise of the NewCo Warrants and, when issued upon exercise in accordance with the terms of the Warrant Agreement, will be validly issued, fully paid and non-assessable, and the issuance of the Conversion Shares will not be subject to any preemptive, participation, rights of first refusal or other similar rights.

(c) Authorization. Each of CLMT, the General Partner, NewCo, Merger Sub I and Merger Sub II has full limited partnership, corporate or limited liability company, as applicable, power and authority to execute, deliver and perform this Agreement, any Ancillary Documents, as applicable, and the transactions contemplated hereby and thereby, as applicable, subject to obtaining the CLMT Unitholder Approval. The execution, delivery and performance by each of CLMT, the General Partner, NewCo, Merger Sub I and Merger Sub II of this Agreement and any Ancillary Document (as applicable) and the consummation by such Parties of the transactions contemplated hereby and thereby (as applicable), have been duly authorized by all necessary limited partnership, corporate or limited liability company action, as the case may be. This Agreement is duly executed and delivered by each of CLMT, the General Partner, NewCo, Merger Sub I and Merger Sub II and constitutes, a

 

A-17


Table of Contents

valid and legally binding obligation of such Parties, enforceable against such Parties in accordance with its terms, except to the extent that such enforceability may be limited by (i) applicable bankruptcy, insolvency, reorganization, moratorium, fraudulent conveyance or other similar Applicable Laws affecting creditors’ rights and remedies generally and (ii) equitable principles which may limit the availability of certain equitable remedies (such as specific performance) in certain instances.

(d) No Conflicts or Violations. The execution, delivery and performance of this Agreement, any Ancillary Document (as applicable) and the consummation of the transactions contemplated hereby and thereby (as applicable), do not and will not: (i) assuming the CLMT Unitholder Approval is obtained, violate or conflict with any provision of the Organizational Documents of CLMT, the General Partner, NewCo, Merger Sub I or Merger Sub II; (ii) violate any Law applicable to CLMT, the General Partner, NewCo, Merger Sub I or Merger Sub II; (iii) violate, result in a breach of, constitute (with due notice or lapse of time or both) a default or cause any obligation, penalty or premium to arise or accrue under any Contract to which any of CLMT, the General Partner, NewCo, Merger Sub I or Merger Sub II is a party; (iv) result in the creation or imposition of any Encumbrance upon any of the properties or assets of CLMT, the General Partner, NewCo, Merger Sub I or Merger Sub II; or (v) result in the cancellation, modification, revocation or suspension of any Permit of any of CLMT, the General Partner, NewCo, Merger Sub I or Merger Sub II, except, in the case of clauses (ii) through (v), as would not, individually or in the aggregate, reasonably be expected to have a Material Adverse Effect.

(e) Consents and Approvals. Except (i) as would not, individually or in the aggregate, reasonably be expected to have a Material Adverse Effect or (ii) for any filings required for compliance with any applicable requirements of the federal securities Laws, any applicable state or other local securities Laws, any applicable requirements of a national securities exchange, including the filing with the SEC of the Registration Statement and the Proxy Statement, any applicable Antitrust Laws and the filing of the CLMT Merger Certificate and GP Merger Certificate, neither the execution and delivery by any of CLMT, the General Partner, NewCo, Merger Sub I or Merger Sub II of this Agreement or any Ancillary Document (as applicable), nor the performance by any of CLMT, the General Partner, NewCo, Merger Sub I or Merger Sub II of its obligations hereunder or thereunder (as applicable), requires the consent, approval, waiver or authorization of, or declaration, filing, registration or qualification with any Governmental Authority by such Party.

Section 4.2 Representations and Warranties Concerning the Sponsor Parties. Except as disclosed in the correspondingly numbered section of the disclosure schedules delivered by the Sponsor Parties to CLMT simultaneously with the execution of this Agreement (it being agreed that disclosure of any item in any section or subsection of such disclosure schedules shall be deemed disclosure with respect to any other section or subsection of this Agreement to which the relevance of such item is reasonably apparent on its face, notwithstanding the omission of a cross-reference to such other section or subsection), each Sponsor Party, severally and not jointly, hereby represents and warrants to CLMT as follows with respect to such Sponsor Party:

(a) Authorization. Such Sponsor Party has full power and authority to execute, deliver and perform this Agreement and any Ancillary Documents to which it is a party. As applicable, the execution, delivery and performance by such Sponsor Party of this Agreement, any Ancillary Documents to which it is a party, and the consummation by such Sponsor Party of the transactions contemplated hereby and thereby, as applicable, have been duly authorized by all necessary limited partnership, limited liability company or trust action, as the case may be. This Agreement and the Ancillary documents to which such Sponsor Party is a party, have been duly executed and delivered by such Sponsor Party and constitutes a valid and legally binding obligation of such Sponsor Party, enforceable against such Sponsor Party in accordance with their respective terms, except to the extent that such enforceability may be limited by (i) applicable bankruptcy, insolvency, reorganization, moratorium, fraudulent conveyance or other similar Applicable Laws affecting creditors’ rights and remedies generally and (ii) equitable principles which may limit the availability of certain equitable remedies (such as specific performance) in certain instances.

(b) No Conflicts or Violations. As applicable, the execution, delivery and performance of this Agreement, any Ancillary Documents to which it is a party, and the consummation of the transactions

 

A-18


Table of Contents

contemplated hereby and thereby, as applicable, do not: (i) violate or conflict with any provision of the Organizational Documents of such Sponsor Party; (ii) violate any Law applicable to such Sponsor Party; (iii) violate, result in a breach of, constitute (with due notice or lapse of time or both) a default or cause any obligation, penalty or premium to arise or accrue under any Contract to which such Sponsor Party is a party; (iv) result in the creation or imposition of any Encumbrance upon any of the properties or assets of such Sponsor Party; or (v) result in the cancellation, modification, revocation or suspension of any Permit of such Sponsor Party, except, in the case of clauses (ii) through (v), as would not, individually or in the aggregate, reasonably be expected to have a Sponsor Material Adverse Effect with respect to such Sponsor Party.

(c) Consents and Approvals. Except (i) as would not, individually or in the aggregate, reasonably be expected to have a Sponsor Material Adverse Effect with respect to such Sponsor Party or (ii) for any filings required for compliance with any applicable requirements of the federal securities Laws, any applicable state or other local securities Laws, any applicable requirements of a national securities exchange, including the filing with the SEC of the Registration Statement and Proxy Statement, any applicable Antitrust Laws and the filing of the CLMT Merger Certificate or the GP Merger Certificate, neither such Sponsor Party’s execution and delivery of this Agreement or any Ancillary Documents to which it is a party, nor the performance by such Sponsor Party of its obligations hereunder or thereunder, as applicable, requires the consent, approval, waiver or authorization of, or declaration, filing, registration or qualification with any Governmental Authority by such Sponsor Party.

Section 4.3 EXCLUSIVITY OF REPRESENTATIONS AND WARRANTIES. NOTWITHSTANDING THE DELIVERY OR DISCLOSURE BY ANY PARTY OR THEIR RESPECTIVE OFFICERS, MANAGERS, DIRECTORS, EMPLOYEES, AGENTS OR REPRESENTATIVES OF ANY DOCUMENTATION OR OTHER INFORMATION (INCLUDING ANY FINANCIAL PROJECTIONS OR OTHER SUPPLEMENTAL DATA), EXCEPT AS OTHERWISE EXPRESSLY SET FORTH IN THIS ARTICLE IV, EACH OF THE PARTIES EXPRESSLY DISCLAIMS ANY AND ALL REPRESENTATIONS OR WARRANTIES OF ANY KIND OR NATURE, EXPRESS OR IMPLIED, AS TO THE CONDITION, VALUE OR QUALITY OF THEIR RESPECTIVE BUSINESSES OR ASSETS, AND EACH OF THE PARTIES SPECIFICALLY DISCLAIMS ANY AND ALL REPRESENTATIONS OR WARRANTIES OF MERCHANTABILITY, USAGE, SUITABILITY OR FITNESS FOR ANY PARTICULAR PURPOSE WITH RESPECT TO ITS ASSETS, ANY PART THEREOF, THE WORKMANSHIP THEREOF, AND THE ABSENCE OF ANY DEFECTS THEREIN, WHETHER LATENT OR PATENT, IT BEING UNDERSTOOD THAT ANY ASSETS ACQUIRED BY VIRTUE OF THE TRANSACTIONS CONTEMPLATED HEREBY ARE BEING ACQUIRED “AS IS, WHERE IS” ON THE CLOSING DATE, AND IN THEIR PRESENT CONDITION.

ARTICLE V

ADDITIONAL COVENANTS AND AGREEMENTS

Section 5.1 Covenants by NewCo. Prior to the CLMT Merger Effective Time, the NewCo Board shall cause NewCo to:

(a) subject to obtaining the CLMT Unitholder Approval, adopt the NewCo Bylaws and the NewCo Charter; and

(b) execute and deliver the Stockholders Agreement, the Registration Rights Agreement and the Warrant Agreement to the Sponsor Parties.

Section 5.2 Covenants by the Sponsor Parties. Prior to the CLMT Merger Effective Time, the Sponsor Parties shall counter-execute and deliver the Stockholders Agreement, the Registration Rights Agreement and the Warrant Agreement to NewCo.

 

A-19


Table of Contents

ARTICLE VI

CONDITIONS PRECEDENT

Section 6.1 Conditions to Each Party’s Obligation to Effect the CLMT Merger. The respective obligations of each Party hereto to effect the CLMT Merger shall be subject to the satisfaction (or waiver, if permissible under Applicable Laws) on or prior to the Closing Date of the following conditions:

(a) CLMT Unitholder Approval. The CLMT Unitholder Approval shall have been obtained at the CLMT Special Meeting in accordance with Applicable Laws and the CLMT Partnership Agreement.

(b) No Injunctions or Restraints. No Law, injunction, judgment or ruling enacted, promulgated, issued, entered, amended or enforced by any Governmental Authority shall be in effect enjoining, restraining, preventing or prohibiting consummation of the transactions contemplated by this Agreement or making the consummation of the transactions contemplated by this Agreement illegal.

(c) Registration Statement. The Registration Statement shall have been declared effective by the SEC under the Securities Act and no stop order suspending the effectiveness of the Registration Statement shall have been issued by the SEC and remain in effect and no proceedings for that purpose shall have been initiated (unless subsequently withdrawn).

(d) Nasdaq Listing. The NewCo Shares to be issued pursuant to this Agreement shall have been approved for listing on the Nasdaq, subject to official notice of issuance.

(e) Regulatory Approval. Any consent or approval of any Governmental Authority required to be obtained pursuant to any applicable Antitrust Law shall have been duly obtained and shall be in full force and effect, and all terminations or expirations of waiting periods imposed by any Governmental Authority necessary for the consummation of the transactions contemplated hereby, including under any Antitrust Law, shall have occurred.

(f) CTB Election. The General Partner shall have made the CTB Election in accordance with the procedures set forth in IRS Form 8832 and its instructions.

Section 6.2 Conditions to Each Party’s Obligation to Effect the GP Merger. The respective obligations of each Party hereto to effect the GP Merger shall be subject to the satisfaction (or waiver, if permissible under Applicable Laws) on or prior to the Closing Date of the following conditions:

(a) All conditions to each Party’s obligation to effect the CLMT Merger shall have been satisfied.

Section 6.3 Conditions to CLMT’s Obligation to Effect the Mergers. The obligations of CLMT to, and to cause each of its Subsidiaries and Affiliates, as applicable, to, effect the Mergers shall be subject to the fulfillment (or, to the extent permitted by applicable Law, written waiver by CLMT) on or prior to the GP Merger Effective Time of the following conditions:

(a) Bring Down of Representations and Warranties. The representations and warranties set forth in Section 4.2 shall be true and correct in all respects as of the Closing Date as though made on and as of the Closing Date, except for such inaccuracies as would not be material in amount or effect.

(b) Performance of Covenants. The Sponsor Parties shall have performed and complied with, in all material respects, all covenants required by this Agreement to be performed or complied with by such Persons prior to the Closing Date.

Section 6.4 Conditions to Sponsor Parties’ Obligation to Effect the Mergers. The obligations of each of the Sponsor Parties to, and to cause their Affiliates, as applicable, to, effect the Mergers shall be subject to the

 

A-20


Table of Contents

fulfillment (or, to the extent permitted by Applicable Law, written waiver by the Sponsor Parties) on or prior to the GP Merger Effective Time of the following conditions:

(a) Bring Down of Representations and Warranties. The representations and warranties set forth in Section 4.1 shall be true and correct in all respects as of the Closing Date as though made on and as of the Closing Date, except for such inaccuracies as would not be material in amount or effect.

(b) Performance of Covenants. The CLMT Entities shall have performed and complied with, in all material respects, all covenants required by this Agreement to be performed or complied with by the CLMT Entities prior to Closing.

Section 6.5 Frustration of Closing Conditions. No Party may rely on the failure of any condition set forth in Section 6.1, Section 6.2, Section 6.3 or Section 6.4, as the case may be, to be satisfied if such failure was due to the failure of such Party to perform and comply in all material respects with the covenants and agreements in this Agreement to be performed or complied with by such Party prior to the Closing.

ARTICLE VII

TERMINATION

Section 7.1 Termination. This Agreement may be terminated and the transactions contemplated by this Agreement abandoned at any time prior to the GP Merger Effective Time:

(a) by mutual written agreement of CLMT (which shall require prior approval by the Conflicts Committee) and the Sponsor Parties;

(b) by either CLMT or the Sponsor Parties if the CLMT Special Meeting shall have concluded and the CLMT Unitholder Approval shall not have been obtained;

(c) by either CLMT or the Sponsor Parties if any injunction or other order, decree, decision, determination or judgment permanently restraining, enjoining or otherwise prohibiting consummation of the transactions contemplated hereby shall become final and non-appealable or any Law that permanently makes consummation of the transactions contemplated illegal or otherwise prohibited shall be in effect;

(d) by CLMT if there has been a breach of, or failure to perform, any representation, warranty, covenant or agreement made by the Sponsor Parties in this Agreement, such that the conditions set forth in Section 6.3 would not be satisfied and such breach or failure to perform is not curable or, if curable, is not cured by the earlier of (i) the Outside Date and (ii) 45 days following receipt by the Sponsor Parties of notice of such breach or failure from CLMT; provided that the right to terminate this Agreement pursuant to this Section 7.1(d) shall not be available if CLMT is itself in breach of any provision of this Agreement or has failed to perform any of its representations, warranties, covenants or agreements set forth in this Agreement, and which breach or failure to perform would result in the failure of the conditions set forth in Section 6.4;

(e) by the Sponsor Parties if there has been a breach of, or failure to perform, any representation, warranty, covenant or agreement made by the CLMT Entities in this Agreement, such that the conditions set forth in Section 6.4 would not be satisfied and such breach or failure to perform is not curable or, if curable, is not cured by the earlier of (i) the Outside Date and (ii) 45 days following receipt by CLMT of notice of such breach or failure from the Sponsor Parties; provided that the right to terminate this Agreement pursuant to this Section 7.1(e) shall not be available if any of the Sponsor Parties is itself in breach of any provision of this Agreement or has failed to perform any of its representations, warranties, covenants or agreements set forth in this Agreement, and which breach or failure to perform would result in the failure of the conditions set forth in Section 6.3;

 

A-21


Table of Contents

(f) by either CLMT or the Sponsor Parties in the event that the Restructuring Agreement is terminated; or

(g) by either CLMT or the Sponsor Parties if the Closing shall not have been consummated on or before August 7, 2024 (the “Outside Date”); provided, however, that the Outside Date may be extended for an additional three months upon the mutual agreement of the Parties; provided, further that the right to terminate this Agreement pursuant to this Section 7.1(g) shall not be available if the failure of the Party so requesting termination to perform any covenant or obligation under this Agreement shall have been the primary cause of the failure of the Closing to occur on or prior to such date.

Section 7.2 Effect of Termination. In the event that this Agreement is terminated, this Agreement shall become null and void and no Party, or any Party’s Affiliates, Subsidiaries, directors, officers or employees, shall have any further obligation or any liability of any kind to any Person by reason of this Agreement, except for any liability arising out of or resulting from fraud or any willful or intentional breach of any covenant or agreement occurring prior to termination of the Agreement.

ARTICLE VIII

MISCELLANEOUS

Section 8.1 Non-Survival of Representations, Warranties, Covenants and Agreements None of the representations, warranties, covenants and agreements of the Parties in this Agreement or in any instrument delivered pursuant to this Agreement shall survive the GP Merger Effective Time; provided, however, that this Section 8.1 shall not limit the enforceability of any covenant or agreement of the Parties in this Agreement or in any instrument delivered pursuant to this Agreement to the extent that such covenant or agreement contemplates performance after the GP Merger Effective Time.

Section 8.2 Expenses. Except as otherwise provided herein, each Party agrees that it shall be solely responsible for the payment of all costs and expenses incurred by such Party in connection with the consummation of the transactions contemplated hereby.

Section 8.3 Notices. All notices and demands provided for hereunder shall be in writing and shall be given by overnight delivery to the following addresses (with a copy sent via electronic mail, which shall not constitute notice):

 

  

 

(a)

 

If to the Sponsor Parties:

      The Heritage Group
      5400 W. 86th Street
      Indianapolis, Indiana 46268
      Attention: Amy Schumacher
      Email:   ams@thgrp.com
      With copies (which shall not constitute notice) to:
      Kirkland & Ellis LLP
      609 Main Street
      Houston, Texas 77002
      Attention: Sean T. Wheeler, P.C.
           Debbie Yee, P.C.
      Email:   Sean.Wheeler@kirkland.com
            Debbie.Yee@kirkland.com
 

(b)

 

If to any CLMT Entity:

      Calumet Specialty Products Partners, L.P.
      2780 Waterfront Parkway East Drive, Suite 200

 

A-22


Table of Contents
      Indianapolis, Indiana 46214
      Attention: Greg Morical
      Email:   greg.morical@calumetspecialty.com
      With a copy (which shall not constitute notice) to:
      Gibson, Dunn & Crutcher LLP
      811 Main Street, Suite 3000
      Houston, Texas 77002
      Attention: Hillary H. Holmes
      Email:   HHolmes@gibsondunn.com
 

(c)

 

If to the Conflicts Committee:

      Conflicts Committee of Calumet
      Specialty Products Partners, L.P.
      2780 Waterfront Pkwy. E. Dr
      Indianapolis, Indiana 46214
      Attention: Karen Twitchell, as Chairman
      Email:   karent@clmt.com
      With a copy (which shall not constitute notice) to:
      Hunton Andrews Kurth LLP
      600 Travis Street, Suite 4200
      Houston, Texas 77002
      Attention: G. Michael O’Leary
      Email:   moleary@HuntonAK.com

Section 8.4 Successors and Assigns. This Agreement shall be binding upon and inure to the benefit of the Parties and their respective successors and assigns. No Party may assign either this Agreement or any of its rights, interests or obligations hereunder without the prior written approval of the other Parties.

Section 8.5 No Third-Party Rights. The provisions of this Agreement are intended to bind the Parties as to each other and are not intended to, and do not, create rights in any other Person or confer upon any other Person any benefits, rights or remedies, and no Person is or is intended to be a third-party beneficiary of any of the provisions of this Agreement. Without limiting the generality of the foregoing, the Parties agree that their respective representations, warranties and covenants set forth in this Agreement are the product of negotiations among the Parties and are for the sole benefit of the Parties, in accordance with and subject to the terms of this Agreement, and no other Person has the right to rely upon the representations and warranties, or the right to enforce any covenants, set forth herein. Any inaccuracies in such representations and warranties are subject to waiver by the Parties in accordance with Section 8.9 without notice or liability to any other Person. In some instances, the representations and warranties in this Agreement may represent an allocation among the Parties of risks associated with particular matters regardless of the knowledge of any of the Parties. Consequently, Persons other than the Parties may not rely upon the representations and warranties in this Agreement as characterizations of actual facts or circumstances as of the date of this Agreement or as of any other date.

Section 8.6 Counterparts. This Agreement may be executed in one or more counterparts, each of which shall be deemed an original, and all of which, when taken together, shall be deemed one agreement. Delivery of an executed counterpart of a signature page of this Agreement by facsimile or other electronic image scan shall be effective as delivery of a manually executed counterpart of this Agreement.

Section 8.7 Applicable Law. This Agreement shall be construed in accordance with and governed by the Laws of the State of Delaware, without regard to the principles of conflicts of law. EACH OF THE PARTIES AGREES THAT THIS AGREEMENT INVOLVES AT LEAST U.S. $100,000.00 AND THAT THIS

 

A-23


Table of Contents

AGREEMENT HAS BEEN ENTERED INTO IN EXPRESS RELIANCE UPON 6 Del. C. § 2708. EACH OF THE PARTIES IRREVOCABLY AND UNCONDITIONALLY AGREES (a) TO BE SUBJECT TO THE JURISDICTION OF THE COURTS OF THE STATE OF DELAWARE AND OF THE FEDERAL COURTS SITTING IN THE STATE OF DELAWARE, AND (b) TO THE EXTENT SUCH PARTY IS NOT OTHERWISE SUBJECT TO SERVICE OF PROCESS IN THE STATE OF DELAWARE, TO APPOINT AND MAINTAIN AN AGENT IN THE STATE OF DELAWARE AS SUCH PARTY’S AGENT FOR ACCEPTANCE OF LEGAL PROCESS AND TO NOTIFY THE OTHER PARTIES OF THE NAME AND ADDRESS OF SUCH AGENT.

Section 8.8 Severability. Whenever possible, each provision of this Agreement shall be interpreted in such manner as to be valid and effective under Applicable Law, but if any provision of this Agreement or the application of any such provision to any Person or circumstance shall be held invalid, illegal or unenforceable in any respect by a court of competent jurisdiction, such invalidity, illegality or unenforceability shall not affect any other provision hereof, and the Parties shall negotiate in good faith with a view to substitute for such provision a suitable and equitable solution in order to carry out, so far as may be valid and enforceable, the intent and purpose of such invalid, illegal or unenforceable provision.

Section 8.9 Amendment or Modification; Waiver. At any time prior to the GP Merger Effective Time, any provision of this Agreement may be amended, supplemented or waived in any and all respects by, in the case of an amendment or supplement, the written agreement of the Parties and, in the case of a waiver, the written agreement by the Party against whom the waiver is to be effective; provided, however, that the CLMT Board may not take or authorize any such amendment, supplement or waiver unless it has been approved by the Conflicts Committee; provided, further, that there shall be no amendment or change to the provisions of this Agreement that under Applicable Laws, the CLMT Partnership Agreement or stock exchange rule would require further approval by the Limited Partners, unless such amendment is submitted to a vote of the Limited Partners.

Section 8.10 Specific Performance. The Parties agree that irreparable damage would occur and that the Parties would not have any adequate remedy at law in the event that any of the provisions of this Agreement were not performed in accordance with their specific terms or were otherwise breached and it is accordingly agreed that the Parties shall be entitled to an injunction or injunctions to prevent breaches of this Agreement and to enforce specifically the terms and provisions of this Agreement, in each case, in accordance with this Section 8.10 in the Delaware Court of Chancery or any other state or federal court sitting in the State of Delaware, this being in addition to any other remedy to which they are entitled at law or in equity. Each of the Parties agrees that it will not oppose the granting of an injunction, specific performance and other equitable relief as provided herein on the basis that (a) a Party has an adequate remedy at law or (b) an award of specific performance is not an appropriate remedy for any reason at law or equity (it being understood that nothing in this sentence shall prohibit the Parties from raising other defenses to a claim for specific performance or other equitable relief under this Agreement). Each Party further agrees that no Party shall be required to obtain, furnish or post any bond or similar instrument in connection with or as a condition to obtaining any remedy referred to in this Section 8.10, and each Party irrevocably waives any right it may have to require the obtaining, furnishing or posting of any such bond or similar instrument.

Section 8.11 Action of the Sponsor Parties. The Sponsor Parties agree that any action to be taken or consented to by the Sponsor Parties under this Agreement (including any termination by the Sponsor Parties under Article VII or any amendments or waivers of this Agreement under Section 8.9) shall require only the approval of Sponsor Parties holding at least a majority of the membership interests in the General Partner.

Section 8.12 Tax Treatment. For U.S. federal (and applicable state and local) income tax purposes, (i) the CTB Election, (ii) the CLMT Merger and (iii) the GP Merger each shall be treated as tax-deferred contributions governed by Section 351 of the Code (and any corresponding provision of state or local law).

[Signature pages follow.]

 

A-24


Table of Contents

IN WITNESS WHEREOF, the Parties hereto have caused this Agreement to be duly executed and delivered as of the date first above written.

 

CALUMET SPECIALTY PRODUCTS PARTNERS, L.P.
By:   Calumet GP, LLC, its general partner
By:   /s/ Todd Borgmann
Name:   Todd Borgmann
Title:   Chief Executive Officer

 

Signature Page to Conversion Agreement

A-25


Table of Contents
CALUMET GP, LLC
By:   /s/ Todd Borgmann
Name:   Todd Borgmann
Title:   Chief Executive Officer

 

Signature Page to Conversion Agreement

A-26


Table of Contents
CALUMET, INC.
By:   /s/ Todd Borgmann
Name:   Todd Borgmann
Title:   President & Chief Executive Officer

 

Signature Page to Conversion Agreement

A-27


Table of Contents
CALUMET MERGER SUB I LLC
By:   Calumet, Inc., its sole member
By:   /s/ Todd Borgmann
Name:   Todd Borgmann
Title:   President & Chief Executive Officer

 

Signature Page to Conversion Agreement

A-28


Table of Contents
CALUMET MERGER SUB II LLC
By:   Calumet, Inc., its sole member
By:   /s/ Todd Borgmann
Name:   Todd Borgmann
Title:   President & Chief Executive Officer

 

Signature Page to Conversion Agreement

A-29


Table of Contents
THE HERITAGE GROUP
By:   /s/ Amy Schumacher
Name:   Amy Schumacher
Title:   Chief Executive Officer

 

Signature Page to Conversion Agreement

A-30


Table of Contents
/s/ Jennifer Straumins
JENNIFER STRAUMINS

 

Signature Page to Conversion Agreement

A-31


Table of Contents
/s/ William Grube Jr.
WILLIAM GRUBE JR.

 

 

Signature Page to Conversion Agreement

A-32


Table of Contents
IRREVOCABLE INTERVIVOS TRUST NUMBER 12.27.73 FOR THE BENEFIT OF FRED MEHLERT FEHSENFELD, JR. AND HIS ISSUE U/A DATED DECEMBER 18, 2012
By:   /s/ Fred M. Fehsenfeld
Name:   Fred M. Fehsenfeld
Title:   Trustee

 

Signature Page to Conversion Agreement

A-33


Table of Contents
MAGGIE FEHSENFELD TRUST NUMBER 106 12.30.74 FOR THE BENEFIT OF FRED MEHLERT FEHSENFELD, JR. AND HIS ISSUE U/A DATED DECEMBER 18, 2012
By:   /s/ Fred M. Fehsenfeld
Name:   Fred M. Fehsenfeld
Title:   Trustee

 

Signature Page to Conversion Agreement

A-34


Table of Contents

Schedule A

Sponsor Parties

 

Sponsor Parties    NewCo
Shares
     NewCo
Warrants
 

The Heritage Group

     2,805,000        1,020,000  

Jennifer Straumins

     825,000        300,000  

William Grube Jr.

     825,000        300,000  

Irrevocable Intervivos Trust Number 12.27.73 for the Benefit of Fred Mehlert Fehsenfeld, Jr. and His Issue U/A Dated December 18, 2012

     522,500        190,000  

Maggie Fehsenfeld Trust Number 106 12.30.74 for the Benefit of Fred Mehlert Fehsenfeld, Jr. and His Issue U/A Dated December 18, 2012

     522,500        190,000  

 

A-35


Table of Contents

Exhibit A

CLMT Merger Certificate

See attached.

 

A-36


Table of Contents

CERTIFICATE OF MERGER

OF

CALUMET MERGER SUB II LLC

(a Delaware limited liability company)

with and into

CALUMET SPECIALTY PRODUCTS PARTNERS, L.P.

(a Delaware limited partnership)

Dated: [●], 2024

Pursuant to Title 6, Section 17-211 of the Delaware Revised Uniform Limited Partnership Act and Title 6, Section 18-209 of the Delaware Limited Liability Company Act, the undersigned limited partnership formed and existing under the laws of the State of Delaware,

DOES HEREBY CERTIFY:

FIRST: The name, jurisdiction of formation or organization and type of entity of each of the constituent entities which is to merge are as follows:

 

Name

  

Jurisdiction of

Formation or Organization

  

Type of Entity

Calumet Merger Sub II LLC    Delaware    Limited Liability Company
Calumet Specialty Products Partners, L.P.    Delaware    Limited Partnership

SECOND: A Conversion Agreement (as amended, the “Conversion Agreement”) has been approved and executed by: (i) Calumet Specialty Products Partners, L.P., a Delaware limited partnership, (ii) Calumet, Inc., a Delaware corporation, (iii) Calumet Merger Sub I LLC, a Delaware limited liability company, (iv) Calumet Merger Sub II LLC, a Delaware limited liability company, (v) Calumet GP, LLC, a Delaware limited liability company, and (vi) other parties thereto.

THIRD: The name of the surviving Delaware limited partnership is Calumet Specialty Products Partners, L.P.

FOURTH: The merger of Calumet Merger Sub II LLC with and into Calumet Specialty Products Partners, L.P. will be effective at 9:00 am on [●], 2024.

FIFTH: The executed Conversion Agreement is on file at a place of business of Calumet Specialty Products Partners, L.P. The address of such place of business of Calumet Specialty Products Partners, L.P. is 2780 Waterfront Parkway East Drive, Suite 200, Indianapolis, Indiana 46214.

SIXTH: A copy of the Conversion Agreement will be furnished by Calumet Specialty Products Partners, L.P., on request and without cost, to any partner of Calumet Specialty Products Partners, L.P. and any member of Calumet Merger Sub II LLC.

[SIGNATURE PAGE FOLLOWS]

 

A-37


Table of Contents

IN WITNESS WHEREOF, Calumet Specialty Products Partners, L.P., a Delaware limited partnership, has caused this Certificate of Merger to be duly executed as of the date first-above written.

 

CALUMET SPECIALTY PRODUCTS PARTNERS, L.P.
By:   CALUMET GP, LLC, its General Partner
By:    
Name:  
Title:  

 

Signature Page to Certificate of Merger

A-38


Table of Contents

Exhibit B

GP Merger Certificate

See attached.

 

A-39


Table of Contents

CERTIFICATE OF MERGER

OF

CALUMET MERGER SUB I LLC

(a Delaware limited liability company)

with and into

CALUMET GP, LLC

(a Delaware limited liability company)

Dated: [●], 2024

Pursuant to Title 6, Section 18-209 of the Delaware Limited Liability Company Act, the undersigned limited liability company formed and existing under the laws of the State of Delaware,

DOES HEREBY CERTIFY:

FIRST: The name, jurisdiction of formation or organization and type of entity of each of the constituent entities which is to merge are as follows:

 

Name

  

Jurisdiction of

Formation or Organization

  

Type of Entity

Calumet Merger Sub I LLC    Delaware    Limited Liability Company
Calumet GP, LLC    Delaware    Limited Liability Company

SECOND: A Conversion Agreement (as amended, the “Conversion Agreement”) has been approved and executed by: (i) Calumet Specialty Products Partners, L.P., a Delaware limited partnership, (ii) Calumet, Inc., a Delaware corporation, (iii) Calumet Merger Sub I LLC, a Delaware limited liability company, (iv) Calumet Merger Sub II LLC, a Delaware limited liability company, (v) Calumet GP, LLC, a Delaware limited liability company, and (vi) other parties thereto.

THIRD: The name of the surviving Delaware limited liability company is Calumet GP, LLC.

FOURTH: The merger of Calumet Merger Sub I LLC with and into Calumet GP, LLC will be effective at 9:01 am on [●], 2024.

FIFTH: The executed Conversion Agreement is on file at a place of business of Calumet GP, LLC. The address of such place of business of Calumet GP, LLC is 2780 Waterfront Parkway East Drive, Suite 200, Indianapolis, Indiana 46214

SIXTH: A copy of the Conversion Agreement will be furnished by Calumet GP, LLC, on request and without cost, to any member of Calumet GP, LLC and of Calumet Merger Sub I LLC.

[SIGNATURE PAGE FOLLOWS]

 

A-40


Table of Contents

IN WITNESS WHEREOF, Calumet GP, LLC, a Delaware limited liability company, has caused this Certificate of Merger to be duly executed as of the date first-above written.

 

Calumet GP, LLC

By:

   

Name:

 

Title:

 

 

Signature Page to Certificate of Merger

A-41


Table of Contents

Exhibit C

NewCo Bylaws

See attached.

 

A-42


Table of Contents

Final Form

AMENDED AND RESTATED

BYLAWS

OF

CALUMET, INC.

(a Delaware corporation)

ARTICLE I

CORPORATE OFFICES

Section 1.1 Registered Office. The registered office of Calumet, Inc., a Delaware corporation (the “Corporation”), shall be fixed in the Certificate of Incorporation of the Corporation (as the same may be amended and/or restated from time to time, the “Certificate of Incorporation”).

Section 1.2 Other Offices. The Corporation may also have an office or offices, and keep the books and records of the Corporation, except as otherwise required by law, at such other place or places, either within or without the State of Delaware, as the Corporation may from time to time determine or the business of the Corporation may require.

ARTICLE II

MEETINGS OF STOCKHOLDERS

Section 2.1 Annual Meeting. The annual meeting of stockholders, for the election of directors and for the transaction of such other business as may properly come before the meeting, shall be held at such place, if any, either within or without the State of Delaware, on such date, and at such time as the Board of Directors of the Corporation (the “Board of Directors” or the “Board”) shall fix. The Board of Directors may postpone, reschedule or cancel any annual meeting of stockholders previously scheduled by the Board of Directors.

Section 2.2 Special Meeting.

Except as otherwise required by law, and except as otherwise provided for or fixed pursuant to the Certificate of Incorporation, including any certificate of designations relating to any series of Preferred Stock (each hereinafter referred to as a “Preferred Stock Designation”), a special meeting of the stockholders of the Corporation may be called at any time only by the Board of Directors and may not be called by any other person or persons. Only such business shall be conducted at a special meeting of stockholders as shall have been brought before the meeting by or at the direction of the Board of Directors.

Section 2.3 Notice of Stockholders’ Meetings.

(a) Whenever stockholders are required or permitted to take any action at a meeting, a notice of the meeting of stockholders shall specify the place, if any, date and time of the meeting of stockholders, the record date for determining the stockholders entitled to vote at the meeting (if such date is different from the record date for determining the stockholders entitled to notice of the meeting), and the means of remote communications, if any, by which stockholders and proxyholders may be deemed to be present in person and vote at such meeting. The notice shall be given not less than 10 nor more than 60 days before the date on which the meeting is to be held, to each stockholder entitled to vote at such meeting as of the record date for determining the stockholders entitled to notice of the meeting, except as otherwise provided by law, the Certificate of Incorporation (including any Preferred Stock Designation) or these Bylaws. In the case of a special meeting, the purpose or purposes for which the meeting is called also shall be set forth in the notice.

(b) Except as otherwise required by law, notice may be given in writing directed to a stockholder’s mailing address as it appears on the records of the Corporation and shall be given: (i) if mailed, when notice is

 

A-43


Table of Contents

deposited in the U.S. mail, postage prepaid; and (ii) if delivered by courier service, the earlier of when the notice is received or left at such stockholder’s address.

(c) So long as the Corporation is subject to the Securities and Exchange Commission’s proxy rules set forth in Regulation 14A under the Securities Exchange Act of 1934, as amended (the “Exchange Act”), notice shall be given in the manner required by such rules. To the extent permitted by such rules, notice may be given by electronic transmission directed to the stockholder’s electronic mail address, and if so given, shall be given when directed to such stockholder’s electronic mail address unless the stockholder has notified the Corporation in writing or by electronic transmission of an objection to receiving notice by electronic mail or such notice is prohibited by Section 232(e) of the General Corporation Law of the State of Delaware (as the same exists or may hereafter be amended from time to time, the “DGCL”). If notice is given by electronic mail, such notice shall comply with the applicable provisions of Sections 232(a) and 232(d) of the DGCL.

(d) Notice may be given by other forms of electronic transmission with the consent of a stockholder in the manner permitted by Section 232(b) of the DGCL and shall be deemed given as provided therein.

(e) An affidavit that notice has been given, executed by the Secretary, Assistant Secretary (or other officer designated by the Board) or any transfer agent or other agent of the Corporation, shall be prima facie evidence of the facts stated in the notice in the absence of fraud. Notice shall be deemed to have been given to all stockholders who share an address if notice is given in accordance with the “householding” rules set forth in Rule 14a-3(e) under the Exchange Act and Section 233 of the DGCL.

(f) When a meeting is adjourned to another time or place (including an adjournment taken to address a technical failure to convene or continue a meeting using remote communication), notice need not be given of the adjourned meeting if the place, if any, date and time thereof, and the means of remote communications, if any, by which stockholders and proxyholders may be deemed to be present in person and vote at such adjourned meeting are: (i) announced at the meeting at which the adjournment is taken; (ii) displayed, during the time scheduled for the meeting, on the same electronic network used to enable stockholders and proxyholders to participate in the meeting by means of remote communication; or (iii) set forth in the notice of meeting given in accordance with Section 2.3(a); provided, however, that if the adjournment is for more than 30 days, a notice of the adjourned meeting shall be given to each stockholder of record entitled to vote at the meeting. If after the adjournment a new record date for stockholders entitled to vote is fixed for the adjourned meeting, the Board of Directors shall fix a new record date for notice of such adjourned meeting in accordance with Section 7.6(a), and shall give notice of the adjourned meeting to each stockholder of record entitled to vote at such adjourned meeting as of the record date fixed for notice of such adjourned meeting.

Section 2.4 Organization.

(a) Meetings of stockholders shall be presided over by the Chairperson of the Board, or in his or her absence, by the Chief Executive Officer (if separate) or another person designated by or in the manner provided by the Board of Directors. The Secretary, or in his or her absence, an Assistant Secretary, or in the absence of the Secretary and all Assistant Secretaries, a person whom the chairperson of the meeting shall appoint, shall act as secretary of the meeting and keep a record of the proceedings thereof.

(b) The date and time of the opening and the closing of the polls for each matter upon which the stockholders shall vote at a meeting of stockholders shall be announced at the meeting. The Board of Directors may adopt such rules and regulations for the conduct of any meeting of stockholders as it shall deem appropriate. Except to the extent inconsistent with such rules and regulations as adopted by the Board of Directors, the chairperson of the meeting shall have the authority to adopt and enforce such rules and regulations for the conduct of any meeting of stockholders and the safety of those in attendance as, in the judgment of the chairperson, are necessary, appropriate or convenient for the conduct of the meeting. Rules and regulations for the conduct of meetings of stockholders, whether adopted by the Board of Directors or by the chairperson of the

 

A-44


Table of Contents

meeting, may include, without limitation, establishing: (i) an agenda or order of business for the meeting; (ii) rules and procedures for maintaining order at the meeting and the safety of those present; (iii) limitations on attendance at or participation in the meeting to stockholders entitled to vote at the meeting, their duly authorized and constituted proxies, qualified representatives (including rules around who qualifies as such) and such other persons as the chairperson of the meeting shall permit; (iv) restrictions on entry to the meeting after the time fixed for the commencement thereof; (v) limitations on the time allotted for consideration of each agenda item and for questions and comments by participants; (vi) regulations for the opening and closing of the polls for balloting and matters which are to be voted on by ballot (if any); and (vii) procedures (if any) requiring attendees to provide the Corporation advance notice of their intent to attend the meeting. Subject to any rules and regulations adopted by the Board of Directors, the chairperson of the meeting may convene and, for any or no reason, from time to time, adjourn and/or recess any meeting of stockholders pursuant to Section 2.7. The chairperson of the meeting, in addition to making any other determinations that may be appropriate to the conduct of the meeting, shall declare that a nomination or other business was not properly brought before the meeting if the facts warrant (including if a determination is made that a nomination or other business was not made or proposed, as the case may be, in accordance with Section 2.10 of these Bylaws), and if such chairperson should so declare, such nomination shall be disregarded or such other business shall not be transacted.

Section 2.5 List of Stockholders. The Corporation shall prepare, no later than the 10th day before each meeting of stockholders, a complete list of the stockholders entitled to vote at the meeting; provided, however, that if the record date for determining the stockholders entitled to vote is less than 10 days before the date of the meeting, the list shall reflect the stockholders entitled to vote as of the 10th day before the meeting date. Such list shall be arranged in alphabetical order and shall show the address of each stockholder and the number of shares registered in the name of each stockholder. Nothing in this Section 2.5 shall require the Corporation to include electronic mail addresses or other electronic contact information on such list. Such list shall be open to the examination of any stockholder for any purpose germane to the meeting for 10 days ending on the day before the meeting date: (a) on a reasonably accessible electronic network, provided that the information required to gain access to such list is provided with the notice of meeting; or (b) during ordinary business hours at the principal place of business of the Corporation. In the event that the Corporation determines to make the list available on an electronic network, the Corporation may take reasonable steps to ensure that such information is available only to stockholders of the Corporation. Except as otherwise required by law, the stock ledger shall be the only evidence as to who are the stockholders entitled to examine the list of stockholders required by this Section 2.5 or to vote in person or by proxy at any meeting of stockholders.

Section 2.6 Quorum. Except as otherwise required by law, the Certificate of Incorporation (including any Preferred Stock Designation) or these Bylaws, at any meeting of stockholders, the holders of a majority of the voting power of the stock outstanding and entitled to vote at the meeting, present in person or represented by proxy, shall constitute a quorum for the transaction of business; provided, however, that where a separate vote by a class or series or classes or series is required, the holders of a majority of the voting power of the stock of such class or series or classes or series outstanding and entitled to vote on that matter, present in person or represented by proxy, shall constitute a quorum entitled to take action with respect to such matter. If a quorum is not present or represented at any meeting of stockholders, then the chairperson of the meeting, or the holders of a majority of the voting power of the stock present in person or represented by proxy at the meeting and entitled to vote thereon, shall have power to adjourn or recess the meeting from time to time in accordance with Section 2.7, until a quorum is present or represented. Subject to applicable law, if a quorum initially is present at any meeting of stockholders, the stockholders may continue to transact business until adjournment or recess, notwithstanding the withdrawal of enough stockholders to leave less than a quorum, but if a quorum is not present at least initially, no business other than adjournment or recess may be transacted.

Section 2.7 Adjourned or Recessed Meeting. Any annual or special meeting of stockholders, whether or not a quorum is present, may be adjourned or recessed for any or no reason from time to time by the chairperson of the meeting, subject to any rules and regulations adopted by the Board of Directors pursuant to Section 2.4(b). Any such meeting may be adjourned for any or no reason (and may be recessed if a quorum is not present or

 

A-45


Table of Contents

represented) from time to time by the holders of a majority of the voting power of the stock present in person or represented by proxy at the meeting and entitled to vote thereon. At any such adjourned or recessed meeting at which a quorum is present, any business may be transacted that might have been transacted at the meeting as originally called.

Section 2.8 Voting; Proxies.

(a) Except as otherwise required by law or the Certificate of Incorporation (including any Preferred Stock Designation), each holder of stock of the Corporation entitled to vote at any meeting of stockholders shall be entitled to one vote for each share of such stock held of record by such holder that has voting power upon the subject matter in question.

(b) Except as otherwise required by law, the Certificate of Incorporation (including any Preferred Stock Designation), these Bylaws or any law, rule or regulation applicable to the Corporation or its securities, at each meeting of stockholders at which a quorum is present, all corporate actions to be taken by vote of the stockholders shall be authorized by the affirmative vote of the holders of at least a majority of the voting power of the stock present in person or represented by proxy and entitled to vote on the subject matter, and where a separate vote by a class or series or classes or series is required, if a quorum of such class or series or classes or series is present, such act shall be authorized by the affirmative vote of the holders of at least a majority of the voting power of the stock of such class or series or classes or series present in person or represented by proxy and entitled to vote on the subject matter. Voting at meetings of stockholders need not be by written ballot.

(c) Every stockholder entitled to vote for directors, or on any other matter, shall have the right to do so either in person or by one or more persons authorized to act for such stockholder by proxy, but no such proxy shall be voted or acted upon after three years from its date, unless the proxy provides for a longer period. A proxy shall be irrevocable if it states that it is irrevocable and if, and only as long as, it is coupled with an interest sufficient in law to support an irrevocable power. A proxy may be made irrevocable regardless of whether the interest with which it is coupled is an interest in the stock itself or an interest in the Corporation generally. A stockholder may revoke any proxy which is not irrevocable by attending the meeting and voting in person or by delivering to the Secretary (or other officer designated by the Board) a revocation of the proxy or an executed new proxy bearing a later date.

Section 2.9 Submission of Information Regarding Director Nominees.

(a) As to each person whom a stockholder proposes to nominate for election or reelection as a director of the Corporation pursuant to Section 2.10, the stockholder must deliver to the Secretary (or other officer designated by the Board) at the principal executive offices of the Corporation the following information:

(i) a written representation and agreement, which shall be signed by the person proposed to be nominated and pursuant to which such person shall represent and agree that such person: (A) consents to being named as a nominee in a proxy statement and form of proxy relating to the meeting at which directors are to be elected and to serving as a director if elected, and currently intends to serve as a director for the full term for which such person is standing for election; (B) is not and will not become a party to any agreement, arrangement or understanding with, and has not given any commitment or assurance to, any person or entity: (1) as to how the person, if elected as a director, will act or vote on any issue or question, except as disclosed in such representation and agreement; or (2) that could limit or interfere with the person’s ability to comply, if elected as a director, with such person’s fiduciary duties under applicable law; (C) is not and will not become a party to any agreement, arrangement or understanding with any person or entity other than the Corporation with respect to any direct or indirect compensation, reimbursement or indemnification in connection with service or action as a director or nominee, except as disclosed in such representation and agreement; and (D) if elected as a director, will comply with all of the Corporation’s corporate governance policies and guidelines related to conflict of interest, confidentiality, stock ownership and trading policies and guidelines, and any other policies and guidelines applicable to directors (which will be provided within five business days following a request therefor);

 

A-46


Table of Contents

(ii) all fully completed and signed questionnaires prepared by the Corporation (including those questionnaires required of the Corporation’s directors and any other questionnaire the Corporation determines is necessary or advisable to assess whether a nominee will satisfy any qualifications or requirements imposed by the Certificate of Incorporation or these Bylaws, any law, rule, regulation or listing standard that may be applicable to the Corporation, and the Corporation’s corporate governance policies and guidelines) and the background of any other person or entity on whose behalf the nomination is being made (all of the foregoing, “Questionnaires”). The Questionnaires will be provided by the Corporation within five business days following a request therefor; and

(iii) a representation that each person whom a stockholder proposes to nominate for election or reelection as a director of the Corporation pursuant to Section 2.10 will provide to the Corporation such other information as the Corporation may reasonably request, including such information reasonably necessary for the Corporation to determine whether a nominee will satisfy any qualifications or requirements imposed by the Certificate of Incorporation or these Bylaws, any law, rule, regulation or listing standard that may be applicable to the Corporation, or relevant to a determination whether such person can be considered an independent director.

(b) If a stockholder has submitted notice of an intent to nominate a candidate for election or re-election as a director pursuant to Section 2.10, all written and signed representations and agreements and all fully completed and signed Questionnaires described in Section 2.9(a) above shall be provided to the Corporation at the same time as such notice, and the additional information described in Section 2.9(a)(iii) above shall be provided to the Corporation promptly upon request by the Corporation, but in any event within five business days after such request (or by the day prior to the day of the annual meeting of stockholders, if earlier). All information provided pursuant to this Section 2.9 shall be deemed part of the stockholder’s notice submitted pursuant to Section 2.10.

(c) Notwithstanding the foregoing, if any information or communication submitted pursuant to this Section 2.9 is inaccurate or incomplete in any material respect (as determined by the Board of Directors (or any authorized committee thereof)) such information shall be deemed not to have been provided in accordance with this Section 2.9. Upon written request of the Secretary, the stockholder giving notice of an intent to nominate a candidate for election shall provide, within five business days after delivery of such request (or such longer period as may be specified in such request), (i) written verification, reasonably satisfactory to the Corporation, to demonstrate the accuracy of any information submitted and (ii) a written affirmation of any information submitted as of an earlier date. If such stockholder fails to provide such written verification or affirmation within such time period, the information as to which written verification or affirmation was requested may be deemed not to have been provided in accordance with this Section 2.9.

Section 2.10 Notice of Stockholder Business and Nominations.

(a) Annual Meeting.

(i) Nominations of persons for election to the Board of Directors and the proposal of business other than nominations to be considered by the stockholders may be made at an annual meeting of stockholders only: (A) pursuant to the Corporation’s notice of meeting (or any supplement thereto); (B) by or at the direction of the Board of Directors (or any authorized committee thereof); or (C) by any stockholder of the Corporation who is a stockholder of record at the time the notice provided for in this Section 2.10(a) is delivered to the Secretary (or other officer designated by the Board), who is entitled to vote at the meeting and who complies with the notice procedures set forth in this Section 2.10(a). For the avoidance of doubt, the foregoing clause (C) shall be the exclusive means for a stockholder to make nominations or propose other business at an annual meeting of stockholders (other than a proposal included in the Corporation’s proxy statement pursuant to and in compliance with Rule 14a-8 under the Exchange Act). Notwithstanding anything to the contrary contained in this Section 2.10, for as long as the THG Investor (as defined in that certain Stockholders’ Agreement, dated [●] (as the same may be amended, supplemented, restated or otherwise modified from time to time, the “Stockholders

 

A-47


Table of Contents

Agreement”)) (including, for the avoidance of doubt, its Permitted Transferees (as defined in the Stockholders Agreement) has nomination rights under the Stockholders Agreement, the THG Investor (including, for the avoidance of doubt, its Permitted Transferees) shall not be subject to the notice procedures set forth in this Section 2.10 with respect to any THG Designee (as defined in the Stockholders Agreement) nominated by the THG Investor at any annual or special meeting of stockholders pursuant to, and in accordance with, Section 2.1 of the Stockholders Agreement.

(ii) For nominations or other business to be properly brought before an annual meeting by a stockholder pursuant to clause (C) of the foregoing paragraph, the stockholder must have given timely notice thereof in writing to the Secretary (or other officer designated by the Board) and, in the case of business other than nominations, such business must be a proper subject for stockholder action. To be timely, a stockholder’s notice must be delivered to the Secretary (or other officer designated by the Board) at the principal executive offices of the Corporation not later than the close of business (as defined in Section 2.10(c)(iii) below) on the 90th day nor earlier than the close of business on the 120th day prior to the first anniversary of the preceding year’s annual meeting; provided, however, that in the event that the date of the annual meeting is more than 30 days before or more than 60 days after such anniversary date, or if no annual meeting was held or deemed to have been held in the preceding year, notice by the stockholder to be timely must be so delivered not earlier than the close of business on the 120th day prior to such annual meeting and not later than the close of business on the later of the 90th day prior to such annual meeting or the 10th day following the date on which public announcement (as defined in Section 2.10(c)(iii) below) of the date of such meeting is first made by the Corporation. In no event shall an adjournment or recess of an annual meeting, or a postponement of an annual meeting for which notice of the meeting has already been given to stockholders or a public announcement of the meeting date has already been made, commence a new time period (or extend any time period) for the giving of a stockholder’s notice as described above. A stockholder’s notice given in accordance with this Section 2.10 must contain the names of only the nominees for whom such stockholder (or beneficial owner, if any) intends to solicit proxies. For the avoidance of doubt, the number of nominees a stockholder may nominate for election at the annual meeting (or in the case of a stockholder giving the notice on behalf of a beneficial owner, the number of nominees a stockholder may nominate for election at the annual meeting on behalf of the beneficial owner) shall not exceed the number of directors to be elected at such annual meeting. For purposes of this Section 2.10, the 2024 annual meeting of stockholders shall be deemed to have been held on [June 15, 2024]. Such stockholder’s notice shall set forth:

(A) as to each person whom the stockholder proposes to nominate for election or re-election as a director: (1) a written statement, not to exceed 500 words, in support of such person; (2) all information relating to such person that is required to be disclosed in solicitations of proxies for election of directors in an election contest, or is otherwise required, in each case pursuant to and in accordance with Regulation 14A under the Exchange Act; and (3) the information required to be submitted regarding nominees pursuant to Section 2.9 above, including, within the time period specified in Section 2.9(b) above, all fully completed and signed Questionnaires described in Section 2.9(a)(ii) above;

(B) as to any other business that the stockholder proposes to bring before the meeting, a brief description of the business desired to be brought before the meeting, the text of the proposal or business (including the text of any resolutions proposed for consideration and in the event that such business includes a proposal to amend the Bylaws of the Corporation, the language of the proposed amendment), the reasons for conducting such business at the meeting and any substantial interest (within the meaning of Item 5 of Schedule 14A under the Exchange Act) in such business of such stockholder and the beneficial owner (within the meaning of Section 13(d) of the Exchange Act), if any, on whose behalf the proposal is made, and if such stockholder or beneficial owner is an entity, any related person (as defined below);

(C) as to the stockholder giving the notice and the beneficial owner, if any, on whose behalf the nomination is made or the other business is proposed:

(1) the name and address of such stockholder, as they appear on the Corporation’s books, and the name and address of such beneficial owner;

 

A-48


Table of Contents

(2) the class or series and number of shares of stock of the Corporation which are owned of record by such stockholder and such beneficial owner as of the date of the notice, and a representation that the stockholder will notify the Corporation in writing within five business days after the record date for such meeting of the class or series and number of shares of stock of the Corporation owned of record by the stockholder and such beneficial owner as of the record date for the meeting; and

(3) a representation that the stockholder (or a qualified representative of the stockholder) intends to appear at the meeting to make such nomination or propose such business; and

(D) as to the stockholder giving the notice or, if the notice is given on behalf of a beneficial owner on whose behalf the nomination is made or the other business is proposed, as to such beneficial owner, and if such stockholder or beneficial owner is an entity, as to each individual who is a director, executive officer, general partner or managing member of such entity or of any other entity that has or shares control of such entity (any such individual or entity, a “related person”):

(1) the class or series and number of shares of stock of the Corporation which are beneficially owned (as defined in Section 2.10(c)(iii)below) by such stockholder or beneficial owner and by any related person as of the date of the notice, and a representation that the stockholder will notify the Corporation in writing within five business days after the record date for such meeting of the class or series and number of shares of stock of the Corporation beneficially owned by such stockholder or beneficial owner and by any related person as of the record date for the meeting;

(2) a description (which description shall include, in addition to all other information described in this clause (2), information identifying all parties thereto) of (x) any plans or proposals which such stockholder, beneficial owner, if any, or related person may have with respect to securities of the Corporation that would be required to be disclosed pursuant to Item 4 of Exchange Act Schedule 13D and (y) any agreement, arrangement or understanding with respect to the nomination or other business between or among such stockholder, beneficial owner, if any, or related person and any other person, including, without limitation any agreements that would be required to be disclosed pursuant to Item 5 or Item 6 of Exchange Act Schedule 13D (in the case of either clause (x) or (y), regardless of whether the requirement to file a Schedule 13D is applicable) and a representation that the stockholder will notify the Corporation in writing within five business days after the record date for such meeting of any such plans or proposals with respect to securities of the Corporation or any such agreement, arrangement or understanding in effect as of the record date for the meeting;

(3) a description (which description shall include, in addition to all other information described in this clause (3), information identifying all parties thereto) of any agreement, arrangement or understanding (including, without limitation, any option, warrant, forward contract, swap, contract of sale, or other derivative or similar agreement or short positions, profit interests, hedging or pledging transactions, voting rights, dividend rights, and/or borrowed or loaned shares), whether the instrument or agreement is to be settled with shares or with cash based on the notional amount or value of outstanding shares of stock, that has been entered into as of the date of the stockholder’s notice by, or on behalf of, such stockholder, beneficial owner, if any, or related person, the effect or intent of which is to mitigate loss, manage risk or benefit from changes in the share price of any class or series of the Corporation’s stock or maintain, increase or decrease the voting power of the stockholder, beneficial owner, if any, or related person with respect to securities of the Corporation, and a representation that the stockholder will notify the Corporation in writing within five business days after the record date for such meeting of any such agreement, arrangement or understanding in effect as of the record date for the meeting;

(4) any performance-related fees (other than an asset-based fee) that such stockholder, beneficial owner, if any, or related person is directly or indirectly entitled to based on any increase or decrease in the value of shares of the Corporation or based on any agreement, arrangement or understanding under clause (a)(ii)(D)(3) of this Section 2.10 and a representation that the stockholder will notify the Corporation in writing

 

A-49


Table of Contents

within five business days after the record date for such meeting of any performance-related fees in effect as of the record date for the meeting;

(5) a representation as to whether the stockholder, beneficial owner, if any, related person or any other participant (as defined in Item 4 of Schedule 14A under the Exchange Act) will engage in a solicitation with respect to such nomination or proposal and, if so, whether such solicitation will be conducted as an exempt solicitation under Rule 14a-2(b) of the Exchange Act, the name of each participant in such solicitation and (x) in the case of a proposal of business other than nominations, whether such person or group intends to deliver a proxy statement and form of proxy to holders of at least the percentage of the Corporation’s voting shares required under applicable law to carry the proposal, (y) in the case of any solicitation that is subject to Rule 14a-19 of the Exchange Act, confirming that such person or group will deliver, through means satisfying each of the conditions that would be applicable to the Corporation under either Exchange Act Rule 14a-16(a) or Exchange Act Rule 14a-16(n), a proxy statement and form of proxy to holders of at least 67% of the voting power of the Corporation’s stock entitled to vote generally in the election of directors; and

(6) a representation that promptly after soliciting the holders of the Corporation’s stock referred to in the representation required under clause (a)(ii)(D)(5) of this Section 2.10, and in any event no later than the 10th day before such meeting of stockholders, such stockholder or beneficial owner will provide the Corporation with documents, which may take the form of a certified statement and documentation from a proxy solicitor, specifically demonstrating that the necessary steps have been taken to deliver a proxy statement and form of proxy to holders of such percentage of the Corporation’s stock.

(iii) Notwithstanding anything in Section 2.10(a)(ii) above or Section 2.10(b) below to the contrary, if the record date for determining the stockholders entitled to vote at any meeting of stockholders is different from the record date for determining the stockholders entitled to notice of the meeting, a stockholder’s notice required by this Section 2.10 shall set forth a representation that the stockholder will notify the Corporation in writing within five business days after the record date for determining the stockholders entitled to vote at the meeting, or by the opening of business on the date of the meeting (whichever is earlier), of the information required under this Section 2.10(a), and such information when provided to the Corporation shall be current as of the record date for determining the stockholders entitled to vote at the meeting.

(iv) This Section 2.10(a) shall not apply to a proposal proposed to be made by a stockholder if the stockholder has notified the Corporation of his or her intention to present the proposal at an annual or special meeting only pursuant to and in compliance with Rule 14a-8 under the Exchange Act and such proposal has been included in a proxy statement that has been prepared by the Corporation to solicit proxies for such meeting.

(v) Notwithstanding anything in this Section 2.10(a) to the contrary, in the event that the number of directors to be elected to the Board of Directors at an annual meeting is increased and there is no public announcement by the Corporation naming all of the nominees proposed by the Board of Directors to be elected at such meeting or specifying the size of the increased Board of Directors made by the Corporation at least 10 days prior to the last day a stockholder may deliver a notice in accordance with Section 2.10(a)(ii) above, a stockholder’s notice required by this Section 2.10(a) shall also be considered timely, but only with respect to nominees for any new positions created by such increase, if it shall be delivered to the Secretary (or other officer designated by the Board) at the principal executive offices of the Corporation not later than the close of business on the 10th day following the day on which such public announcement is first made by the Corporation.

(b) Special Meeting. Nominations of persons for election to the Board of Directors may be made at a special meeting of stockholders at which directors are to be elected pursuant to the Corporation’s notice of meeting: (i) by or at the direction of the Board of Directors (or any authorized committee thereof); or (ii) provided that the Board of Directors has determined that one or more directors are to be elected at such meeting, by any stockholder of the Corporation who is a stockholder of record at the time the notice provided for in this Section 2.10(b) is delivered to the Secretary (or other officer designated by the Board), who is entitled to

 

A-50


Table of Contents

vote at the meeting and upon such election and who delivers notice thereof in writing setting forth the information required by Section 2.10(a) above and provides the additional information required by Section 2.9 above. In the event the Corporation calls a special meeting of stockholders for the purpose of electing one or more directors to the Board of Directors, any stockholder entitled to vote in such election of directors may nominate a person or persons (as the case may be) for election to such position(s) as specified in the Corporation’s notice of meeting, if the notice required by this Section 2.10(b) shall be delivered to the Secretary (or other officer designated by the Board) at the principal executive offices of the Corporation not earlier than the close of business on the 120th day prior to such special meeting and not later than the close of business on the later of the 90th day prior to such special meeting or the 10th day following the date on which public announcement of the date of the special meeting and of the nominees proposed by the Board of Directors to be elected at such meeting is first made by the Corporation. A stockholder’s notice given in accordance with this Section 2.10(b) must contain the names of only the nominees for whom such stockholder (or beneficial owner, if any) intends to solicit proxies. For the avoidance of doubt, the number of nominees a stockholder may nominate for election at the special meeting (or in the case of a stockholder giving the notice on behalf of a beneficial owner, the number of nominees a stockholder may nominate for election at the special meeting on behalf of such beneficial owner) shall not exceed the number of directors to be elected at such special meeting. In no event shall an adjournment, recess or postponement of a special meeting commence a new time period (or extend any time period) for the giving of a stockholder’s notice as described above.

(c) General.

(i) Except as otherwise required by law, only such persons who are nominated in accordance with the procedures set forth in this Section 2.10 shall be eligible to be elected at any meeting of stockholders of the Corporation to serve as directors and only such other business shall be conducted at a meeting of stockholders as shall have been brought before the meeting in accordance with the procedures set forth in this Section 2.10. Notwithstanding any other provision of these Bylaws, a stockholder (and any beneficial owner on whose behalf a nomination is made or other business is proposed, and if such stockholder or beneficial owner is an entity, any related person) shall also comply with all applicable requirements of the Exchange Act and the rules and regulations promulgated thereunder with respect to the matters set forth in this Section 2.10; provided, however, that any references in these Bylaws to the Exchange Act or the rules and regulations promulgated thereunder are not intended to and shall not limit any requirements applicable to nominations or proposals as to any other business to be considered pursuant to this Section 2.10. The Chairperson of the Board, the chairperson of the meeting, or any other person designated by the Board shall determine whether a nomination or any other business proposed to be brought before the meeting was made or proposed, as the case may be, in accordance with the procedures set forth in this Section 2.10 (including whether a stockholder or beneficial owner provided all information and complied with all representations required under Section 2.9 or this Section 2.10 or complied with the requirements of Rule 14a-19 under the Exchange Act). If any proposed nomination or other business is not in compliance with this Section 2.10, including due to a failure to comply with the requirements of Rule 14a-19 under the Exchange Act, then except as otherwise required by law, the chairperson of the meeting shall declare that such nomination shall be disregarded or such other business shall not be transacted, notwithstanding that proxies and votes in respect of any such nomination or other business may have been received by the Corporation. In furtherance and not by way of limitation of the foregoing provisions of this Section 2.10, unless otherwise required by law, or otherwise determined by the Chairperson of the Board, the chairperson of the meeting or any other person designated by the Board, (A) if the stockholder does not provide the information required under Section 2.9 or Section 2.10 to the Corporation within the time frames specified herein or (B) if the stockholder (or a qualified representative of the stockholder) does not appear at the annual or special meeting of stockholders of the Corporation to present a nomination or other business, any such nomination shall be disregarded or such other business shall not be transacted, notwithstanding that proxies and votes in respect of any such nomination or other business may have been received by the Corporation.

(ii) To be considered a qualified representative of a stockholder for purposes of these Bylaws, a person must be a duly authorized officer, manager or partner of such stockholder or authorized by a writing

 

A-51


Table of Contents

executed by such stockholder (or a reliable reproduction of the writing) delivered to the Corporation prior to the making of such nomination or proposal at such meeting (and in any event not fewer than five business days before the meeting) stating that such person is authorized to act for such stockholder as proxy at the meeting of stockholders.

(iii) For purposes of this Section 2.10, the “close of business” shall mean 6:00 p.m. local time at the principal executive offices of the Corporation on any calendar day, whether or not the day is a business day, and a “public announcement” shall mean disclosure in a press release reported by the Dow Jones News Service, Associated Press or a comparable national news service or in a document publicly filed by the Corporation with the Securities and Exchange Commission pursuant to Section 13, 14 or 15(d) of the Exchange Act. For purposes of clause (a)(ii)(D)(1) of this Section 2.10, shares shall be treated as “beneficially owned” by a person if the person beneficially owns such shares, directly or indirectly, for purposes of Section 13(d) of the Exchange Act and Regulations 13D and 13G thereunder or has or shares pursuant to any agreement, arrangement or understanding (whether or not in writing): (A) the right to acquire such shares (whether such right is exercisable immediately or only after the passage of time or the fulfillment of a condition or both); (B) the right to vote such shares, alone or in concert with others; provided, however, that a person shall not be deemed to beneficially own such shares if the right to vote such shares arises solely from a revocable proxy or consent given to such person in response to a public proxy or consent solicitation made pursuant to and in accordance with applicable rules and regulations promulgated under the Exchange Act; and/or (C) investment power with respect to such shares, including the power to dispose of, or to direct the disposition of, such shares.

(iv) Nothing in this Section 2.10 shall be deemed to affect any rights (A) of stockholders to request inclusion of proposals in the Corporation’s proxy statement pursuant to Rule 14a-8 promulgated under the Exchange Act or (B) of the holders of any series of Preferred Stock to elect directors pursuant to any applicable provisions of the Certificate of Incorporation (including any Preferred Stock Designation).

(v) Any stockholder directly or indirectly soliciting proxies from other stockholders must use a proxy card color other than white, which shall be reserved for the exclusive use for solicitation by the Board of Directors.

Section 2.11 No Action by Written Consent. Except as otherwise provided for or fixed pursuant to the Certificate of Incorporation (including any Preferred Stock Designation), any action required or permitted to be taken at any annual or special meeting of the stockholders of the Corporation may be taken only at an annual or special meeting of stockholders duly called and may not be taken by consent of the stockholders in lieu of such a meeting. Notwithstanding the foregoing, any action required or permitted to be taken by the holders of Preferred Stock, voting separately as a series or separately as a class with one of more other such series, may be taken without a meeting, without prior notice and without a vote, to the extent expressly so provided by the applicable Preferred Stock Designation related to such series of Preferred Stock.

Section 2.12 Inspectors of Election. Before any meeting of stockholders, the Corporation may, and shall if required by law, appoint one or more inspectors of election to act at the meeting and make a written report thereof. Inspectors may be employees of the Corporation. The Corporation may designate one or more persons as alternate inspectors to replace any inspector who fails to act. If no inspector or alternate is able to act at a meeting of stockholders, the chairperson of the meeting may, and shall if required by law, appoint one or more inspectors to act at the meeting. Each inspector, before entering upon the discharge of his or her duties, shall take and sign an oath faithfully to execute the duties of inspector with strict impartiality and according to the best of his or her ability. Inspectors need not be stockholders. No director or nominee for the office of director at an election shall be appointed as an inspector at such election.

Such inspectors shall:

(a) determine the number of shares outstanding and the voting power of each, the number of shares represented at the meeting, the existence of a quorum, and the validity of proxies and ballots;

 

A-52


Table of Contents

(b) determine and retain for a reasonable period a record of the disposition of any challenges made to any determination by the inspectors;

(c) count and tabulate all votes and ballots; and

(d) certify their determination of the number of shares represented at the meeting, and their count of all votes and ballots.

Section 2.13 Meetings by Remote Communications. The Board of Directors may, in its sole discretion, determine that a meeting of stockholders shall not be held at any place, but may instead be held solely by means of remote communication in accordance with Section 211(a)(2) of the DGCL. If authorized by the Board of Directors in its sole discretion, and subject to such guidelines and procedures as the Board of Directors may adopt, stockholders and proxyholders not physically present at a meeting of stockholders may, by means of remote communication: (a) participate in a meeting of stockholders; and (b) be deemed present in person and vote at a meeting of stockholders whether such meeting is to be held at a designated place or solely by means of remote communication, provided that: (i) the Corporation shall implement reasonable measures to verify that each person deemed present and permitted to vote at the meeting by means of remote communication is a stockholder or proxyholder; (ii) the Corporation shall implement reasonable measures to provide such stockholders and proxyholders a reasonable opportunity to participate in the meeting and to vote on matters submitted to the stockholders, including an opportunity to read or hear the proceedings of the meeting substantially concurrently with such proceedings; and (iii) if any stockholder or proxyholder votes or takes other action at the meeting by means of remote communication, a record of such vote or other action shall be maintained by the Corporation.

Section 2.14 Delivery to the Corporation. Whenever this Article II requires one or more persons (including a record or beneficial owner of stock) to deliver a document or information (other than a document authorizing another person to act for a stockholder by proxy at a meeting of stockholders pursuant to Section 212 of the DGCL) to the Corporation or any officer, employee or agent thereof (including any notice, request, questionnaire, revocation, representation or other document or agreement), the Corporation shall not be required to accept delivery of such document or information unless the document or information is in writing exclusively (and not in an electronic transmission) and delivered exclusively by hand (including, without limitation, overnight courier service) or by certified or registered mail, return receipt requested. For the avoidance of doubt, the Corporation expressly opts out of Section 116 of the DGCL with respect to the delivery of information and documents (other than a document authorizing another person to act for a stockholder by proxy at a meeting of stockholders pursuant to Section 212 of the DGCL) to the Corporation required by this Article II.

ARTICLE III

DIRECTORS

Section 3.1 Powers. Except as otherwise required by the DGCL or as provided in the Certificate of Incorporation (including any Preferred Stock Designation) and the Stockholders Agreement, the business and affairs of the Corporation shall be managed by or under the direction of the Board of Directors. In addition to the powers and authorities these Bylaws expressly confer upon it, the Board of Directors may exercise all such powers of the Corporation and do all such lawful acts and things as are not by law, the Certificate of Incorporation (including any Preferred Stock Designation) or these Bylaws required to be exercised or done by the stockholders.

Section 3.2 Number and Election. Except as otherwise provided for or fixed pursuant to the Certificate of Incorporation (including any Preferred Stock Designation), the Board of Directors shall consist of such number of directors as shall be determined from time to time solely by resolution adopted by the affirmative vote of a

 

A-53


Table of Contents

majority of the total number of directors then authorized, subject to the rights granted to the THG Investor pursuant to the Stockholders Agreement. At any meeting of stockholders at which directors are to be elected, directors shall be elected by a plurality of the votes cast. Directors need not be stockholders unless so required by the Certificate of Incorporation (including any Preferred Stock Designation) or these Bylaws, wherein other qualifications for directors may be prescribed.

Section 3.3 Vacancies and Newly Created Directorships. Subject to the rights of the holders of any outstanding series of Preferred Stock, and unless otherwise required by law, newly created directorships resulting from any increase in the authorized number of directors and any vacancies in the Board of Directors resulting from death, resignation, retirement, disqualification, removal from office or other cause shall be filled only in the manner provided in and to the extent permitted under the Certificate of Incorporation and the Stockholders Agreement.

Section 3.4 Resignations and Removal.

(a) Any director may resign at any time upon notice given in writing or by electronic transmission to the Board of Directors, the Chairperson of the Board or the Secretary. Such resignation shall take effect upon delivery, unless the resignation specifies a later effective date or time or an effective date or time determined upon the happening of an event or events. Unless otherwise specified therein, the acceptance of such resignation shall not be necessary to make it effective.

(b) Directors of the Corporation may only be removed from office in the manner provided in and to the extent permitted in the Certificate of Incorporation and subject to the Stockholders Agreement.

Section 3.5 Regular Meetings. Regular meetings of the Board of Directors shall be held at such place or places, within or without the State of Delaware, on such date or dates and at such time or times, as shall have been established by the Board of Directors and publicized among all directors. A notice of each regular meeting shall not be required.

Section 3.6 Special Meetings. Special meetings of the Board of Directors for any purpose or purposes may be called at any time by the Chairperson of the Board, the Chief Executive Officer (if separate) or a majority of the directors then in office. The person or persons authorized to call special meetings of the Board of Directors may fix the place, within or without the State of Delaware, date and time of such meetings. Except as otherwise provided in the Stockholders Agreement, notice of each such meeting shall be given to each director, if by mail, addressed to such director at his or her residence or usual place of business, at least five days before the day on which such meeting is to be held, or shall be sent to such director by electronic transmission, or be delivered personally or by telephone, in each case at least 24 hours prior to the time set for such meeting. A notice of special meeting need not state the purpose of such meeting, and, unless indicated in the notice thereof, any and all business may be transacted at a special meeting.

Section 3.7 Remote Participation in Meetings. Members of the Board of Directors, or of any committee thereof, may participate in a meeting of such Board of Directors or committee by means of conference telephone or other communications equipment by means of which all persons participating in the meeting can hear each other, and such participation shall constitute presence in person at such meeting.

Section 3.8 Quorum and Voting. Except as otherwise required by law, the Certificate of Incorporation or these Bylaws, and subject to the rights granted to the THG Investor pursuant to the Stockholders Agreement, a majority of the of the total number of directors then authorized shall constitute a quorum for the transaction of business at any meeting of the Board of Directors, and the vote of a majority of the directors present at a duly held meeting at which a quorum is present shall be the act of the Board of Directors. The chairperson of the meeting or a majority of the directors present may adjourn the meeting to another time and place whether or not a quorum is present. Except as otherwise provided in the Stockholders Agreement, at any adjourned meeting at

 

A-54


Table of Contents

which a quorum is present, any business may be transacted which might have been transacted at the meeting as originally called.

Section 3.9 Board of Directors Action by Written Consent Without a Meeting. Unless otherwise restricted by the Certificate of Incorporation or these Bylaws, any action required or permitted to be taken at any meeting of the Board of Directors, or any committee thereof, may be taken without a meeting, provided that all members of the Board of Directors or committee, as the case may be, consent in writing or by electronic transmission to such action. After an action is taken, the consent or consents relating thereto shall be filed with the minutes or proceedings of the Board of Directors or committee in the same paper or electronic form as the minutes are maintained. Any person (whether or not then a director) may provide, whether through instruction to an agent or otherwise, that a consent to action shall be effective at a future time (including a time determined upon the happening of an event), no later than 60 days after such instruction is given or such provision is made and such consent shall be deemed to have been given at such effective time so long as such person is then a director and did not revoke the consent prior to such time. Any such consent shall be revocable prior to its becoming effective.

Section 3.10 Chairperson of the Board. The Chairperson of the Board shall preside at meetings of stockholders in accordance with Section 2.4(a) above and at meetings of directors and shall perform such other duties as the Board of Directors may from time to time determine. If the Chairperson of the Board is not present at a meeting of the Board of Directors, the Chief Executive Officer (if separate and serving as a director) or another director chosen by or in the manner provided by the Board of Directors shall preside.

Section 3.11 Rules and Regulations. The Board of Directors may adopt such rules and regulations not inconsistent with the provisions of law, the Certificate of Incorporation, these Bylaws or the Stockholders Agreement for the conduct of its meetings and management of the affairs of the Corporation as the Board of Directors shall deem proper.

Section 3.12 Fees and Compensation of Directors. Unless otherwise restricted by the Certificate of Incorporation, directors may receive such compensation, if any, for their services on the Board of Directors and its committees, and such reimbursement of expenses, as may be fixed or determined by resolution of the Board of Directors.

Section 3.13 Emergency Bylaws. This Section 3.13 shall be operative during any emergency condition as contemplated by Section 110 of the DGCL (an “Emergency”), notwithstanding any different or conflicting provisions in these Bylaws, the Certificate of Incorporation or the DGCL. In the event of any Emergency, or other similar emergency condition, the director or directors in attendance at a meeting of the Board of Directors or a standing committee thereof shall constitute a quorum. Such director or directors in attendance may further take action to appoint one or more of themselves or other directors to membership on any standing or temporary committees of the Board of Directors as they shall deem necessary and appropriate. Except as the Board of Directors may otherwise determine, during any Emergency, the Corporation and its directors and officers, may exercise any authority and take any action or measure contemplated by Section 110 of the DGCL.

ARTICLE IV

COMMITTEES

Section 4.1 Committees of the Board of Directors. The Board of Directors may designate one or more committees, each such committee to consist of one or more of the directors of the Corporation, subject to the rights granted to the THG Investor pursuant to the Stockholders Agreement. The Board of Directors may designate one or more directors as alternate members of any committee to replace any absent or disqualified member at any meeting of the committee. In the absence or disqualification of a member of a committee, the member or members present at any meeting and not disqualified from voting, whether or not he, she or they

 

A-55


Table of Contents

constitute a quorum, may unanimously appoint another member of the Board of Directors to act at the meeting in the place of any such absent or disqualified member. Any such committee, to the extent permitted by law and provided in the resolution of the Board of Directors establishing such committee, shall have and may exercise all the powers and authority of the Board of Directors in the management of the business and affairs of the Corporation, and may authorize the seal of the Corporation to be affixed to all papers which may require it; but no such committee shall have the power or authority in reference to the following matters: (a) approving or adopting, or recommending to the stockholders, any action or matter (other than the election or removal of directors) expressly required by the DGCL to be submitted to stockholders for approval; or (b) adopting, amending or repealing any bylaw of the Corporation. All committees of the Board of Directors shall keep minutes of their meetings and shall report their proceedings to the Board of Directors when requested or required by the Board of Directors.

Section 4.2 Meetings and Action of Committees. Unless the Board of Directors provides otherwise by resolution, any committee of the Board of Directors may adopt, alter and repeal such rules and regulations not inconsistent with the provisions of law, the Certificate of Incorporation or these Bylaws for the conduct of its meetings as such committee may deem proper. Subject to the rights granted to the THG Investor pursuant to the Stockholders Agreement, a majority of the directors then serving on a committee shall constitute a quorum for the transaction of business by the committee except as otherwise required by law, the Certificate of Incorporation or these Bylaws and except as otherwise provided in a resolution of the Board of Directors; provided, however, that in no case shall a quorum be less than one-third of the directors then serving on the committee. Unless the Certificate of Incorporation, these Bylaws or a resolution of the Board of Directors requires a greater number, the vote of a majority of the members of a committee present at a meeting at which a quorum is present shall be the act of the committee.

ARTICLE V

OFFICERS

Section 5.1 Officers. Subject to the rights granted to the THG Investor pursuant to the Stockholders Agreement, the officers of the Corporation shall include a Chief Executive Officer and a Secretary, who shall be elected by the Board of Directors. The Corporation may have such other officers as the Board of Directors or the Chief Executive Officer or another authorized officer may determine and appoint from time to time. Officers shall have such authority, functions or duties as set forth in these Bylaws or as determined by the Board of Directors or the Chief Executive Officer or another authorized officer. To the extent not so set forth or determined, each such officer shall have such authority, functions or duties as those that generally pertain to their respective offices, subject to the control of the Board of Directors. Each officer shall hold office until such person’s successor shall have been duly elected and qualified, or until such person’s earlier death, disqualification, resignation or removal. Any number of offices may be held by the same person; provided, however, that no officer shall execute, acknowledge or verify any instrument in more than one capacity if such instrument is required by law, the Certificate of Incorporation or these Bylaws to be executed, acknowledged or verified by two or more officers. The Board of Directors may require any officer, agent or employee to give security for the faithful performance of his or her duties. The Board of Directors may determine to leave any office vacant.

Section 5.2 Additional Positions and Titles. The Corporation may have assistants to officers, with such powers and duties as the Board of Directors, or the Chief Executive Officer or another authorized officer, may from time to time determine. Any officer or employee may be assigned any additional title, with such powers and duties, as the Board of Directors or an authorized officer may from time to time determine. Any persons appointed as assistant officers, and any persons upon whom such titles are conferred, shall not be deemed officers of the Corporation unless appointed by the Board of Directors or the Chief Executive Officer pursuant to Section 5.1.

 

A-56


Table of Contents

Section 5.3 Compensation. The salaries of the officers of the Corporation and the manner and time of the payment of such salaries shall be fixed and determined by the Board of Directors or by a duly authorized officer and may be altered by the Board of Directors from time to time as it deems appropriate, subject to the rights, if any, of such officers under any contract of employment.

Section 5.4 Removal, Resignation and Vacancies. Subject to the rights granted to the THG Investor pursuant to the Stockholders Agreement, any officer of the Corporation may be removed, with or without cause, by the Board of Directors or by a duly authorized officer, without prejudice to the rights, if any, of such officer under any contract to which he or she is a party. Any officer may resign at any time upon notice given in writing or by electronic transmission to the Corporation, without prejudice to the rights, if any, of the Corporation under any contract to which such officer is a party. Subject to the rights granted to the THG Investor pursuant to the Stockholders Agreement, any vacancy occurring in any office of the Corporation may be filled by the Board of Directors or in accordance with Section 5.1 or Section 5.2, as applicable, by the Chief Executive Officer or another authorized officer or such office may be left vacant.

Section 5.5 Chief Executive Officer. The Chief Executive Officer shall have general supervision and direction of the business and affairs of the Corporation, shall be responsible for corporate policy and strategy, and shall report directly to the Board of Directors. Unless otherwise provided in these Bylaws or determined by the Board of Directors, all other officers of the Corporation shall report directly to the Chief Executive Officer or as otherwise determined by the Chief Executive Officer.

Section 5.6 Secretary. The powers and duties of the Secretary shall include acting as Secretary at all meetings of the Board of Directors, of the committees of the Board of Directors and of the stockholders, and performing all other duties incident to the office of Secretary. The Secretary shall perform such other duties as the Board of Directors, the Chief Executive Officer or another authorized officer may from time to time determine. In the absence or disability of Secretary, the Assistant Secretary (if any) or another person appointed by the Board shall fill the role of Secretary.

Section 5.7 Checks; Drafts; Evidences of Indebtedness. From time to time, the Board of Directors shall determine the method, and designate (or authorize officers of the Corporation to designate) the person or persons who shall have authority, to sign or endorse all checks, drafts, other orders for payment of money and notes, bonds, debentures or other evidences of indebtedness that are issued in the name of or payable by the Corporation, and only the persons so authorized shall sign or endorse such instruments.

Section 5.8 Corporate Contracts and Instruments; How Executed. Except as otherwise provided in these Bylaws, the Board of Directors may determine the method, and designate (or authorize officers of the Corporation to designate) the person or persons who shall have authority to enter into any contract or execute any instrument in the name of and on behalf of the Corporation. Such authority may be general or confined to specific instances. Unless so authorized, or within the power incident to a person’s office or other position with the Corporation, no person shall have any power or authority to bind the Corporation by any contract or engagement or to pledge its credit or to render it liable for any purpose or for any amount.

Section 5.9 Action with Respect to Securities of Other Corporations or Entities. The Chief Executive Officer, or any other person or persons the Board of Directors or the Chief Executive Officer has delegated such authority, is authorized to vote, represent, and exercise on behalf of the Corporation all rights incident to any and all shares or other equity interests of any other corporation or entity or corporations or entities, standing in the name of the Corporation. The authority herein granted may be exercised either by such person directly or by any other person authorized to do so by proxy or power of attorney duly executed by the person having such authority.

Section 5.10 Delegation. The Board of Directors or an authorized officer may from time to time delegate the powers or duties of any officer to any other officers or agents, notwithstanding the foregoing provisions of this Article V.

 

A-57


Table of Contents

ARTICLE VI

INDEMNIFICATION AND ADVANCEMENT OF EXPENSES

Section 6.1 Right to Indemnification.

(a) Each person who was or is a party or is threatened to be made a party to, or was or is otherwise involved in, any action, suit, arbitration, alternative dispute resolution mechanism, investigation, inquiry, judicial, administrative or legislative hearing, or any other threatened, pending or completed proceeding, whether brought by or in the right of the Corporation or otherwise, including any and all appeals, whether of a civil, criminal, administrative, legislative, investigative or other nature (hereinafter a “proceeding”), by reason of the fact that he or she is or was a director or an officer of the Corporation or while a director or an officer of the Corporation is or was serving at the request of the Corporation as a director, officer, employee, agent or trustee of another corporation or of a partnership, joint venture, trust or other enterprise, including service with respect to an employee benefit plan (hereinafter an “indemnitee”), or by reason of anything done or not done by him or her in any such capacity, shall be indemnified and held harmless by the Corporation to the fullest extent authorized by the DGCL, as the same exists or may hereafter be amended, against all expense, liability and loss (including attorneys’ fees, judgments, fines, ERISA excise taxes, penalties and amounts paid in settlement by or on behalf of the indemnitee) actually and reasonably incurred by such indemnitee in connection therewith, all on the terms and conditions set forth in these Bylaws; provided, however, that, except as otherwise required by law or provided in Section 6.4 with respect to suits to enforce rights under this Article VI, the Corporation shall indemnify any such indemnitee in connection with a proceeding, or part thereof, voluntarily initiated by such indemnitee (including claims and counterclaims, whether such counterclaims are asserted by such indemnitee or the Corporation in a proceeding initiated by such indemnitee) only if such proceeding, or part thereof, was authorized or ratified by the Board of Directors or the Board of Directors otherwise determines that indemnification or advancement of expenses is appropriate.

(b) To receive indemnification under this Article VI, an indemnitee shall submit a written request to the Secretary (or other officer designated by the Board) of the Corporation. Such request shall include documentation or information that is necessary to determine the entitlement of the indemnitee to indemnification and that is reasonably available to the indemnitee. Upon receipt by the Secretary (or other officer designated by the Board) of the Corporation of such a written request, unless indemnification is required by Section 6.3, the entitlement of the indemnitee to indemnification shall be determined by the following person or persons who shall be empowered to make such determination, as selected by the Board of Directors (except with respect to clause (v) of this Section 6.1(b)): (i) the Board of Directors by a majority vote of the directors who are not parties to such proceeding, whether or not such majority constitutes a quorum; (ii) a committee of such directors designated by a majority vote of such directors, whether or not such majority constitutes a quorum; (iii) if there are no such directors, or if such directors so direct, by independent legal counsel in a written opinion to the Board of Directors, a copy of which shall be delivered to the indemnitee; (iv) the stockholders of the Corporation; or (v) in the event that a change of control (as defined below) has occurred, by independent legal counsel in a written opinion to the Board of Directors, a copy of which shall be delivered to the indemnitee. The determination of entitlement to indemnification shall be made and, unless a contrary determination is made, such indemnification shall be paid in full by the Corporation not later than 60 days after receipt by the Secretary (or other officer designated by the Board) of the Corporation of a written request for indemnification. For purposes of this Section 6.1(b), a “change of control” will be deemed to have occurred if, with respect to any particular 24-month period, the individuals who, at the beginning of such 24-month period, constituted the Board of Directors (the “incumbent board”), cease for any reason to constitute at least a majority of the Board of Directors; provided, however, that any individual becoming a director subsequent to the beginning of such 24-month period whose election, or nomination for election by the stockholders of the Corporation, was approved by a vote of at least a majority of the directors then comprising the incumbent board shall be considered as though such individual were a member of the incumbent board, but excluding, for this purpose, any such individual whose initial assumption of office occurs as a result of an actual or threatened election contest with respect to the election or removal of directors or other actual or threatened solicitation of proxies or consents by or on behalf of a person other than the Board of Directors.

 

A-58


Table of Contents

(c) Any reference to an officer of the Corporation in this Article VI shall be deemed to refer exclusively to the Chief Executive Officer, the Secretary and any officer of the Corporation (1) appointed by the Board of Directors pursuant to Section 5.1 or (2) designated by the Board of Directors as such for purposes of Section 16 of the Exchange Act, and any reference to an officer of any other enterprise shall be deemed to refer exclusively to an officer appointed by the board of directors or equivalent governing body of such other enterprise pursuant to the certificate of incorporation and bylaws (or equivalent organizational documents) of such other enterprise. The fact that any person who is or was an employee of the Corporation or an employee of any other enterprise has been given or has used the title of “Vice President” or any other title that could be construed to suggest or imply that such person is or may be an officer of the Corporation or of such other enterprise shall not, by itself, result in such person being constituted as, or being deemed to be, an officer of the Corporation or of such other enterprise for purposes of this Article VI.

Section 6.2 Right to Advancement of Expenses.

(a) In addition to the right to indemnification conferred in Section 6.1, an indemnitee shall, to the fullest extent permitted by law, also have the right to be paid by the Corporation the expenses (including attorneys’ fees) incurred in defending any proceeding in advance of its final disposition (hereinafter an “advancement of expenses”); provided, however, that an advancement of expenses shall be made only upon delivery to the Corporation of an undertaking (hereinafter an “undertaking”), by or on behalf of such indemnitee, to repay all amounts so advanced if it shall ultimately be determined by final judicial decision of a court of competent jurisdiction from which there is no further right to appeal (hereinafter a “final adjudication”) that such indemnitee is not entitled to be indemnified for such expenses under this Article VI or otherwise.

(b) Notwithstanding the foregoing Section 6.2(a), the Corporation shall not make or continue to make advancements of expenses to an indemnitee if a determination is reasonably made that the facts known at the time such determination is made demonstrate clearly and convincingly that the indemnitee acted in bad faith or in a manner that the indemnitee did not reasonably believe to be in or not opposed to the best interests of the Corporation, or, with respect to any criminal proceeding, that the indemnitee had reasonable cause to believe his or her conduct was unlawful. Such determination shall be made: (i) by the Board of Directors by a majority vote of directors who are not parties to such proceeding, whether or not such majority constitutes a quorum; (ii) by a committee of such directors designated by a majority vote of such directors, whether or not such majority constitutes a quorum; or (iii) if there are no such directors, or if such directors so direct, by independent legal counsel in a written opinion to the Board of Directors, a copy of which shall be delivered to the indemnitee.

Section 6.3 Indemnification for Successful Defense. Notwithstanding anything to the contrary, to the extent that an indemnitee has been successful on the merits or otherwise in defense of any proceeding (or in defense of any claim, issue or matter therein), such indemnitee shall be indemnified under this Section 6.3 against expenses (including attorneys’ fees) actually and reasonably incurred in connection with such defense. Indemnification under this Section 6.3 shall not be subject to satisfaction of a standard of conduct, and the Corporation may not assert the failure to satisfy a standard of conduct as a basis to deny indemnification or recover amounts advanced, including in a suit brought pursuant to Section 6.4 (notwithstanding anything to the contrary therein).

Section 6.4 Right of Indemnitee to Bring Suit. If a request for indemnification under Section 6.1 or Section 6.3 is not paid in full by the Corporation within 60 days, or if a request for an advancement of expenses under Section 6.2 is not paid in full by the Corporation within 20 days, after a written request has been received by the Secretary (or other officer designated by the Board), the indemnitee may at any time thereafter bring suit against the Corporation in a court of competent jurisdiction in the State of Delaware seeking an adjudication of entitlement to such indemnification or advancement of expenses. If successful in whole or in part in any such suit, or in a suit brought by the Corporation to recover an advancement of expenses pursuant to the terms of an undertaking, the indemnitee shall be entitled to be paid also the expense of prosecuting or defending such suit to the fullest extent permitted by law. In any suit brought by the indemnitee to enforce a right to indemnification hereunder (but not in a suit brought by the indemnitee to enforce a right to an advancement of expenses) it shall

 

A-59


Table of Contents

be a defense that the indemnitee has not met any applicable standard of conduct for indemnification set forth in Section 145(a) or Section 145(b) of the DGCL. Further, in any suit brought by the Corporation to recover an advancement of expenses pursuant to the terms of an undertaking, the Corporation shall be entitled to recover such expenses upon a final adjudication that the indemnitee has not met any applicable standard of conduct for indemnification set forth in Section 145(a) or Section 145(b) of the DGCL. Neither the failure of the Corporation (including its directors who are not parties to such action, a committee of such directors, independent legal counsel or its stockholders) to have made a determination prior to the commencement of such suit that indemnification of the indemnitee is proper in the circumstances because the indemnitee has met such applicable standard of conduct, nor an actual determination by the Corporation (including its directors who are not parties to such action, a committee of such directors, independent legal counsel or its stockholders) that the indemnitee has not met such applicable standard of conduct, shall create a presumption that the indemnitee has not met the applicable standard of conduct or, in the case of such a suit brought by the indemnitee, be a defense to such suit. In any suit brought by the indemnitee to enforce a right to indemnification or to an advancement of expenses hereunder, or brought by the Corporation to recover an advancement of expenses pursuant to the terms of an undertaking, the burden of proving that the indemnitee is not entitled to be indemnified, or to such advancement of expenses, under applicable law, this Article VI or otherwise shall be on the Corporation.

Section 6.5 Non-Exclusivity of Rights. The rights to indemnification and to the advancement of expenses conferred in this Article VI shall not be exclusive of any other right which any person may have or hereafter acquire under any law, agreement, vote of stockholders or disinterested directors, provisions of a certificate of incorporation or bylaws, or otherwise.

Section 6.6 Insurance. The Corporation may maintain insurance, at its expense, to protect itself and any director, officer, employee or agent of the Corporation or another corporation, partnership, joint venture, trust or other enterprise against any expense, liability or loss, whether or not the Corporation would have the power to indemnify such person against such expense, liability or loss under the DGCL.

Section 6.7 Indemnification of Employees and Agents of the Corporation; Services at Subsidiaries. The Corporation may, to the extent and in the manner permitted by law, and to the extent authorized from time to time, grant rights to indemnification and to the advancement of expenses to any employee or agent of the Corporation. Any person serving as a director or officer of a subsidiary of the Corporation shall be entitled to the rights to indemnification conferred in this Article VI, and to the advancement of expenses, as defined in Section 6.2, with respect to his or her service at such subsidiary; provided, however, that the advancement of expenses to any person who is not an indemnitee as defined in Section 6.1(a) shall be at the discretion of the Corporation. Any director or officer of a subsidiary is deemed to be serving such subsidiary at the request of the Corporation, and the Corporation is deemed to be requesting such service. This Article VI shall, to the fullest extent permitted by law, supersede any conflicting provisions contained in the corporate governance documents of any other subsidiary of the Corporation. In addition, the Corporation may, to the extent and in the manner permitted by law, and to the extent authorized from time to time, grant rights to indemnification and to the advancement of expenses to individuals with respect to their service as an employee or agent of subsidiaries of the Corporation.

Section 6.8 Nature of Rights. The rights conferred upon indemnitees in this Article VI shall be contract rights and such rights shall continue as to an indemnitee who has ceased to be a director or officer and shall inure to the benefit of the indemnitee’s heirs, executors and administrators. Any amendment, alteration or repeal of this Article VI that adversely affects any right of an indemnitee or its successors shall be prospective only and shall not limit or eliminate any such right with respect to any proceeding involving any occurrence or alleged occurrence of any action or omission to act that took place prior to such amendment, alteration or repeal.

Section 6.9 Settlement of Claims. Notwithstanding anything in this Article VI to the contrary, the Corporation shall not be liable to indemnify any indemnitee under this Article VI for any amounts paid in settlement of any proceeding effected without the Corporation’s written consent, which consent shall not be unreasonably withheld.

 

A-60


Table of Contents

Section 6.10 Subrogation. In the event of payment under this Article VI, the Corporation shall be subrogated to the extent of such payment to all of the rights of recovery of the indemnitee (excluding insurance obtained on the indemnitee’s own behalf), and the indemnitee shall execute all papers required and shall do everything that may be necessary to secure such rights, including the execution of such documents necessary to enable the Corporation effectively to bring suit to enforce such rights.

Section 6.11 Severability. If any provision or provisions of this Article VI shall be held to be invalid, illegal or unenforceable as applied to any person or entity or circumstance for any reason whatsoever, then, to the fullest extent permitted by law: (a) the validity, legality and enforceability of such provision in any other circumstance and of the remaining provisions of this Article VI (including, without limitation, all portions of any paragraph of this Article VI containing any such provision held to be invalid, illegal or unenforceable, that are not by themselves invalid, illegal or unenforceable) and the application of such provision to other persons or entities or circumstances shall not in any way be affected or impaired thereby; and (b) to the fullest extent possible, the provisions of this Article VI (including, without limitation, all portions of any paragraph of this Article VI containing any such provision held to be invalid, illegal or unenforceable, that are not themselves invalid, illegal or unenforceable) shall be construed so as to give effect to the intent of the parties that the Corporation provide protection to the indemnitee to the fullest extent set forth in this Article VI.

ARTICLE VII

CAPITAL STOCK

Section 7.1 Certificates of Stock. The shares of the Corporation may be certificated or uncertificated. Any certificates shall be in such form as shall be determined by the Board of Directors, and shall be numbered and entered in the books of the Corporation as they are issued. Every holder of stock represented by certificates shall be entitled to have a certificate signed by or in the name of the Corporation by any two authorized officers of the Corporation, including, without limitation, the Chief Executive Officer or the Secretary, or the President, the Chief Financial Officer, the Treasurer, the Controller, or an Assistant Treasurer or Assistant Secretary, if any, certifying the number of shares owned by such holder in the Corporation. Any or all such signatures may be facsimiles or otherwise electronic signatures. In case any officer, transfer agent or registrar who has signed or whose facsimile or otherwise electronic signature has been placed upon a certificate has ceased to be such officer, transfer agent or registrar before such certificate is issued, it may be issued by the Corporation with the same effect as if such person were such officer, transfer agent or registrar at the date of issue.

Section 7.2 Special Designation on Certificates. If the Corporation is authorized to issue more than one class of stock or more than one series of any class, then the powers, the designations, the preferences, and the relative, participating, optional or other special rights of each class of stock or series thereof and the qualifications, limitations or restrictions of such preferences and/or rights shall be set forth in full or summarized on the face or back of the certificate that the Corporation shall issue to represent such class or series of stock; provided, however, that, except as otherwise provided in Section 202 of the DGCL, in lieu of the foregoing requirements there may be set forth on the face or back of the certificate that the Corporation shall issue to represent such class or series of stock a statement that the Corporation will furnish without charge to each stockholder who so requests the powers, the designations, the preferences, and the relative, participating, optional or other special rights of each class of stock or series thereof and the qualifications, limitations or restrictions of such preferences and/or rights. Within a reasonable time after the issuance or transfer of uncertificated stock, the registered owner thereof shall be given a notice, in writing or by electronic transmission, containing the information required to be set forth or stated on certificates pursuant to this Section 7.2 or Section 151, 156, 202(a) or 218(a) of the DGCL or with respect to this Section 7.2 and Section 151 of the DGCL a statement that the Corporation will furnish without charge to each stockholder who so requests the powers, the designations, the preferences, and the relative, participating, optional or other special rights of each class of stock or series thereof and the qualifications, limitations or restrictions of such preferences and/or rights. Except as otherwise expressly provided by law, the rights and obligations of the holders of uncertificated stock and the rights and obligations of the holders of certificates representing stock of the same class and series shall be identical.

 

A-61


Table of Contents

Section 7.3 Transfers of Stock. Transfers of shares of stock of the Corporation shall be made only on the books of the Corporation upon authorization by the registered holder thereof or by such holder’s attorney thereunto authorized by a power of attorney duly executed and filed with the Secretary (or other officer designated by the Board) or a transfer agent for such stock, and if such shares are represented by a certificate, upon surrender of the certificate or certificates for such shares properly endorsed or accompanied by a duly executed stock transfer power and the payment of any taxes thereon; provided, however, that the Corporation shall be entitled to recognize and enforce any lawful restriction on transfer. Transfers may also be made in any manner authorized by the Corporation (or its authorized transfer agent) and permitted by Section 224 of the DGCL.

Section 7.4 Lost Certificates. The Corporation may issue a new share certificate or uncertificated shares in the place of any certificate theretofore issued by it, alleged to have been lost, stolen or destroyed, and the Corporation may require the owner of the lost, stolen or destroyed certificate or the owner’s legal representative to give the Corporation a bond (or other adequate security) sufficient to indemnify it against any claim that may be made against it (including any expense or liability) on account of the alleged loss, theft or destruction of any such certificate or the issuance of such new certificate or uncertificated shares. The Board of Directors may adopt such other provisions and restrictions with reference to lost certificates, not inconsistent with applicable law, as it shall in its discretion deem appropriate.

Section 7.5 Registered Stockholders. The Corporation shall be entitled to recognize the exclusive right of a person registered on its books as the owner of shares to receive dividends, and to vote as such owner, and shall not be bound to recognize any equitable or other claim to or interest in such share or shares on the part of any other person, whether or not it shall have express or other notice thereof, except as otherwise required by law.

Section 7.6 Record Date for Determining Stockholders.

(a) In order that the Corporation may determine the stockholders entitled to notice of any meeting of stockholders or any adjourned meeting, the Board of Directors may fix a record date, which record date shall not precede the date upon which the resolution fixing the record date is adopted by the Board of Directors, and which record date shall, unless otherwise required by law, not be more than 60 nor less than 10 days before the date of such meeting. If the Board of Directors so fixes a date, such date shall also be the record date for determining the stockholders entitled to vote at such meeting unless the Board of Directors determines, at the time it fixes such record date, that a later date on or before the date of the meeting shall be the date for making such determination. If no record date is fixed by the Board of Directors, the record date for determining stockholders entitled to notice of and to vote at a meeting of stockholders shall be at the close of business (as defined in Section 2.10(c)(i) above) on the day next preceding the day on which notice is given, or, if notice is waived, at the close of business on the day next preceding the day on which the meeting is held. A determination of stockholders of record entitled to notice of or to vote at a meeting of stockholders shall apply to any adjourned meeting; provided, however, that the Board of Directors may fix a new record date for the determination of stockholders entitled to vote at the adjourned meeting, and in such case shall also fix as the record date for stockholders entitled to notice of such adjourned meeting the same or an earlier date as that fixed for determination of stockholders entitled to vote in accordance herewith at the adjourned meeting.

(b) In order that the Corporation may determine the stockholders entitled to receive payment of any dividend or other distribution or allotment of any rights, or entitled to exercise any rights in respect of any change, conversion or exchange of stock or for the purpose of any other lawful action, the Board of Directors may fix a record date, which record date shall not precede the date upon which the resolution fixing the record date is adopted by the Board of Directors, and which record date shall not be more than 60 days prior to such action. If no such record date is fixed, the record date for determining stockholders for any such purpose shall be at the close of business on the day on which the Board of Directors adopts the resolution relating thereto.

 

A-62


Table of Contents

Section 7.7 Regulations. To the extent permitted by applicable law, the Board of Directors may make such additional rules and regulations as it may deem expedient concerning the issue, transfer and registration of shares of stock of the Corporation.

Section 7.8 Waiver of Notice. Whenever notice is required to be given under any provision of the DGCL or the Certificate of Incorporation or these Bylaws, a written waiver, signed by the person entitled to notice, or a waiver by electronic transmission by the person entitled to notice, whether before or after the time stated therein, shall be deemed equivalent to notice. Attendance of a person at a meeting shall constitute a waiver of notice of such meeting, except when the person attends a meeting for the express purpose of objecting at the beginning of the meeting, to the transaction of any business because the meeting is not lawfully called or convened. Neither the business to be transacted at, nor the purpose of, any regular or special meeting of the stockholders, the Board of Directors or a committee of the Board of Directors need be specified in any written waiver of notice or any waiver by electronic transmission unless so required by the Certificate of Incorporation or these Bylaws.

ARTICLE VIII

GENERAL MATTERS

Section 8.1 Fiscal Year. The fiscal year of the Corporation shall begin on the first day of January of each year and end on the last day of December of the same year, or shall extend for such other 12 consecutive months as the Board of Directors may designate.

Section 8.2 Corporate Seal. The Board of Directors may provide a suitable seal, containing the name of the Corporation, which seal shall be in the charge of the Secretary (or other officer designated by the Board). If and when so directed by the Board of Directors or a committee thereof, duplicates of the seal may be kept and used by the Treasurer or by an Assistant Secretary or Assistant Treasurer, if any.

Section 8.3 Reliance upon Books, Reports and Records. Each director and each member of any committee designated by the Board of Directors shall, in the performance of his or her duties, be fully protected in relying in good faith upon the books of account or other records of the Corporation and upon such information, opinions, reports or statements presented to the Corporation by any of its officers or employees, or committees of the Board of Directors so designated, or by any other person as to matters which such director or committee member reasonably believes are within such other person’s professional or expert competence and who has been selected with reasonable care by or on behalf of the Corporation.

Section 8.4 Subject to Law and Certificate of Incorporation. All powers, duties and responsibilities provided for in these Bylaws, whether or not explicitly so qualified, are qualified by the Certificate of Incorporation (including any Preferred Stock Designation) and applicable law.

Section 8.5 Electronic Signatures, etc. Except as otherwise required by the Certificate of Incorporation (including as otherwise required by any Preferred Stock Designation) or these Bylaws (including, without limitation, as otherwise required by Section 2.14), any document, including, without limitation, any consent, agreement, certificate or instrument, required by the DGCL, the Certificate of Incorporation (including any Preferred Stock Designation) or these Bylaws to be executed by any officer, director, stockholder, employee or agent of the Corporation may be executed using a facsimile or other form of electronic signature to the fullest extent permitted by applicable law. All other contracts, agreements, certificates or instruments to be executed on behalf of the Corporation may be executed using a facsimile or other form of electronic signature to the fullest extent permitted by applicable law. The terms “electronic mail,” “electronic mail address,” “electronic signature” and “electronic transmission” as used herein shall have the meanings ascribed thereto in the DGCL.

 

A-63


Table of Contents

ARTICLE IX

AMENDMENTS

Section 9.1 Amendments. In furtherance and not in limitation of the powers conferred by the laws of the State of Delaware, but subject to the terms of any series of Preferred Stock then outstanding and the rights granted to the THG Investor pursuant to the Stockholders Agreement, and except as otherwise provided in the Certificate of Incorporation, the Board of Directors is expressly authorized to adopt, amend or repeal these Bylaws. Except as otherwise provided in the Certificate of Incorporation (including the terms of any Preferred Stock Designation that require an additional vote) or these Bylaws, and in addition to any requirements of law and the rights granted to the THG Investor pursuant to the Stockholders Agreement, the affirmative vote of at least 662/3% of the voting power of the stock outstanding and entitled to vote thereon, voting together as a single class, shall be required for the stockholders to adopt, amend or repeal, or adopt any provision inconsistent with, any provision of these Bylaws; provided, however, that no Bylaws hereafter adopted by the stockholders shall invalidate any prior act of the Board that would have been valid if such Bylaws had not been adopted.

The foregoing Amended and Restated Bylaws were adopted by the Board of Directors on [●].

 

A-64


Table of Contents

Exhibit D

NewCo Charter

See attached.

 

A-65


Table of Contents

Final Form

AMENDED AND RESTATED

CERTIFICATE OF INCORPORATION

OF

CALUMET, INC.

(a Delaware corporation)

Calumet, Inc., a corporation organized and existing under the laws of the State of Delaware, does hereby certify as follows:

 

1.

The name of the Corporation is Calumet, Inc.

 

2.

The original certificate of incorporation was filed with the Secretary of State of the State of Delaware on January 8, 2024, under the name “Calumet, Inc.”.

 

3.

This Amended and Restated Certificate of Incorporation (the “Certificate of Incorporation”) restates and amends the original certificate of incorporation of the Corporation. This Certificate of Incorporation has been duly adopted in accordance with Sections 228, 242 and 245 of the General Corporation Law of the State of Delaware (the “DGCL”).

 

4.

The text of the original certificate of incorporation of the Corporation is hereby amended and restated to read in its entirety as follows:

ARTICLE I

NAME

The name of the Corporation is Calumet, Inc. (the “Corporation”).

ARTICLE II

AGENT

The address of the Corporation’s registered office in the State of Delaware is 1209 Orange Street, Wilmington, New Castle County, Delaware 19801. The name of its registered agent at such address is The Corporation Trust Company.

ARTICLE III

PURPOSE

The purpose of the Corporation is to engage in any lawful act or activity for which corporations may be organized under the DGCL.

ARTICLE IV

STOCK

Section 4.1 Authorized Stock. The total number of shares which the Corporation shall have authority to issue is [●], of which [●] shall be designated as Common Stock, par value $0.01 per share (the “Common Stock”), and [●] shall be designated as Preferred Stock, par value $0.01 per share (the “Preferred Stock”).

Section 4.2 Common Stock.

(a) Each holder of Common Stock, as such, shall be entitled to one vote for each share of Common Stock held of record by such holder on all matters on which stockholders generally are entitled to vote; provided,

 

A-66


Table of Contents

however, that, except as otherwise required by law, holders of Common Stock, as such, shall not be entitled to vote on any amendment to this Certificate of Incorporation, including any certificate of designations relating to any series of Preferred Stock (each hereinafter referred to as a “Preferred Stock Designation”), that relates solely to the terms of one or more outstanding series of Preferred Stock if the holders of such affected series are entitled, either separately or together with the holders of one or more other such series, to vote thereon pursuant to this Certificate of Incorporation (including any Preferred Stock Designation).

(b) Dividends. Subject to the rights of the holders of any outstanding series of Preferred Stock, the holders of shares of Common Stock shall be entitled to receive any dividends to the extent permitted by law when, as and if declared by the board of directors of the Corporation (the “Board of Directors”).

(c) Liquidation. Upon the dissolution, liquidation or winding up of the Corporation, subject to the rights of the holders of any outstanding series of Preferred Stock, the holders of shares of Common Stock shall be entitled to receive the assets of the Corporation available for distribution to its stockholders ratably in proportion to the number of shares of Common Stock held by them.

Section 4.3 Preferred Stock. The Preferred Stock may be issued from time to time in one or more series. Subject to limitations prescribed by law and the provisions of this Article IV (including any Preferred Stock Designation), the Board of Directors is hereby authorized to provide by resolution and by causing the filing of a Preferred Stock Designation for the issuance of the shares of Preferred Stock in one or more series, and to establish from time to time the number of shares to be included in each such series, and to fix the designations, powers, preferences, and relative, participating, optional or other rights, if any, and the qualifications, limitations or restrictions, if any, of the shares of each such series.

Section 4.4 No Class Vote on Changes in Authorized Number of Shares of Stock. Subject to the rights of the holders of any outstanding series of Preferred Stock, the number of authorized shares of Common Stock or Preferred Stock may only be increased or decreased (but not below the number of shares thereof then outstanding) by the affirmative vote of at least a majority of the voting power of the stock outstanding and entitled to vote thereon irrespective of the provisions of Section 242(b)(2) of the DGCL.

Section 4.5 Reservation of Shares of Common Stock for Warrants. The Corporation shall at all times reserve and keep available out of its authorized and unissued shares of Common Stock the number of shares of Common Stock that are issuable in connection with the exercise of any and all outstanding warrants issued by the Corporation.

ARTICLE V

BOARD OF DIRECTORS

Section 5.1 Number. Except as otherwise provided for or fixed pursuant to the provisions of Article IV hereof (including any Preferred Stock Designation), the Board of Directors shall consist of such number of directors as shall be determined from time to time solely by resolution adopted by the affirmative vote of a majority of the total number of directors then authorized, subject to the rights granted to the THG Investor (as defined in that certain Stockholders’ Agreement, dated [●] (as the same may be amended, supplemented, restated or otherwise modified from time to time, the “Stockholders Agreement”)) pursuant to the Stockholders Agreement.

Section 5.2 Classification.

(a) Except as may be otherwise provided with respect to directors elected by the holders of any series of Preferred Stock provided for or fixed pursuant to the provisions of Article IV hereof (including any Preferred

 

A-67


Table of Contents

Stock Designation (the “Preferred Stock Directors”)) and subject to the Stockholders Agreement, the Board of Directors shall be divided into three classes, designated Class I, Class II and Class III. Class I directors shall initially serve until the Company’s 2025 annual meeting of stockholders; Class II directors shall initially serve until the Company’s 2026 annual meeting of stockholders; and Class III directors shall initially serve until the Company’s 2027 annual meeting of stockholders. Upon the expiration of the initial term of each class of directors set forth in the preceding sentence of this Section 5.2(a), respectively, directors of each class, the term of which shall then expire, shall be elected to hold office for a three-year term and until the election and qualification of their respective successors in office or until any such director’s earlier death, resignation, removal, retirement or disqualification. Subject to the rights granted to the THG Investor pursuant to the Stockholders Agreement, in case of any increase or decrease, from time to time, in the number of directors (other than Preferred Stock Directors), the number of directors in each class shall be fixed solely by the Board of Directors (as determined solely by the Board of Directors). Subject to the rights granted to the THG Investor pursuant to the Stockholders Agreement, the Board of Directors shall have the exclusive power to fix the number of directors in each class and is authorized to assign members of the Board of Directors already in office to Class I, Class II or Class III.

(b) Subject to the rights of the holders of any outstanding series of Preferred Stock, and unless otherwise required by law, newly created directorships resulting from any increase in the authorized number of directors and any vacancies in the Board of Directors resulting from death, resignation, retirement, disqualification, removal from office or other cause shall be filled solely by the affirmative vote of a majority of the remaining directors then in office, even though less than a quorum of the Board of Directors, or by the sole remaining director, in each case in the manner permitted by the Stockholders Agreement and subject to the rights granted to the THG Investor therein. Any director so chosen shall hold office until the next election of the class for which such director shall have been chosen and until his or her successor shall have been duly elected and qualified or until any such director’s earlier death, resignation, removal, retirement or disqualification. No decrease in the authorized number of directors shall shorten the term of any incumbent director.

(c) Subject to the rights granted to the THG Investor pursuant to the Stockholders Agreement, any director, or the entire Board of Directors (other than any Preferred Stock Director), may be removed from office at any time, but only for cause and only by the affirmative vote of at least 662/3% of the voting power of the stock outstanding and entitled to vote on the election of directors, voting together as a single class. Notwithstanding the foregoing and subject to the Stockholders Agreement, whenever the holders of any class or series are entitled to elect one or more directors by this Certificate of Incorporation (including any Preferred Stock Designation), with respect to the removal without cause of a director or directors so elected, the vote of the holders of the outstanding shares of that class or series, and not the vote of the outstanding shares as a whole, shall apply.

(d) Subject to the rights granted to the THG Investor pursuant to the Stockholders Agreement, during any period when the holders of any series of Preferred Stock have the right to elect additional directors as provided for or fixed pursuant to the provisions of Article IV hereof (including any Preferred Stock Designation), and upon commencement and for the duration of the period during which such right continues: (i) the then otherwise total authorized number of directors of the Corporation shall be increased by such number of directors that the holders of any series of Preferred Stock have a right to elect, and the holders of such Preferred Stock shall be entitled to elect the additional directors so provided for or fixed pursuant to said provisions; and (ii) each Preferred Stock Director shall serve until such Preferred Stock Director’s successor shall have been duly elected and qualified, or until such director’s right to hold such office terminates pursuant to said provisions, whichever occurs earlier, subject to his or her earlier death, disqualification, resignation or removal. Except as otherwise provided for or fixed pursuant to the provisions of Article IV hereof (including any Preferred Stock Designation), whenever the holders of any series of Preferred Stock having such right to elect additional directors cease to have or are otherwise divested of such right pursuant to said provisions, the terms of office of all such Preferred Stock Directors elected by the holders of such Preferred Stock, or elected to fill any vacancies resulting from the death, resignation, disqualification or removal of such additional directors, shall forthwith terminate (in which case each

 

A-68


Table of Contents

such Preferred Stock Director shall cease to be qualified as a director and shall cease to be a director) and the total authorized number of directors of the Corporation shall be automatically reduced accordingly.

Section 5.3 Powers. Except as otherwise required by the DGCL or as provided in this Certificate of Incorporation (including any Preferred Stock Designation), and subject to the rights granted to the THG Investor pursuant to the Stockholders Agreement, the business and affairs of the Corporation shall be managed by or under the direction of the Board of Directors.

Section 5.4 Election; Annual Meeting of Stockholders.

(a) Written Ballot Not Required. The directors of the Corporation need not be elected by written ballot unless the Bylaws of the Corporation (as amended and/or restated from time to time, the “Bylaws”) so provide.

(b) Notice. Advance notice of nominations for the election of directors, and of business other than nominations, to be proposed by stockholders for consideration at a meeting of stockholders of the Corporation shall be given in the manner and to the extent provided in or contemplated by the Bylaws.

(c) Annual Meeting. The annual meeting of stockholders, for the election of directors to succeed those whose terms expire and for the transaction of such other business as may properly come before the meeting, shall be held at such place, if any, either within or without the State of Delaware, on such date, and at such time as the Board of Directors shall fix. The Board of Directors may postpone, reschedule or cancel any annual meeting of stockholders previously scheduled by the Board of Directors.

ARTICLE VI

STOCKHOLDER ACTION

Except as otherwise provided for or fixed pursuant to the provisions of Article IV hereof (including any Preferred Stock Designation) and subject to the Bylaws, any action required or permitted to be taken at any annual or special meeting of the stockholders of the Corporation may be taken only at an annual or special meeting of stockholders duly called and may not be taken by consent of the stockholders in lieu of such a meeting. Notwithstanding the foregoing, any action required or permitted to be taken by the holders of Preferred Stock, voting separately as a series or separately as a class with one of more other such series, may be taken without a meeting, without prior notice and without a vote, to the extent expressly so provided by the applicable Preferred Stock Designation related to such series of Preferred Stock.

ARTICLE VII

SPECIAL MEETINGS OF STOCKHOLDERS

Except as otherwise required by law, and except as otherwise provided for or fixed pursuant to the provisions of Article IV hereof (including any Preferred Stock Designation), a special meeting of the stockholders of the Corporation may be called at any time only by the Board of Directors, and may not be called by any other person or persons. The Board of Directors may postpone, reschedule or cancel any special meeting of stockholders previously scheduled by the Board of Directors. Only such business shall be conducted at a special meeting of stockholders as shall have been brought before the meeting by or at the direction of the Board of Directors.

ARTICLE VIII

BUSINESS COMBINATIONS WITH INTERESTED STOCKHOLDERS

Section 8.1 Opt Out. The Corporation hereby expressly elects that it shall not be governed by, or otherwise subject to, Section 203 of the DGCL.

 

A-69


Table of Contents

Section 8.2 Applicable Restrictions to Business Combinations. Notwithstanding the provisions of Section 8.1, the Corporation shall not engage in any business combination (as defined below), at any point in time at which any class of Common Stock is registered under Section 12(b) or 12(g) of the Securities Exchange Act of 1934 (the “Exchange Act”) with any interested stockholder (as defined below) for a period of three years following the time that such stockholder became an interested stockholder, unless:

(a) prior to such time such stockholder became an interested stockholder, the Board of Directors approved either the business combination or the transaction which resulted in the stockholder becoming an interested stockholder;

(b) upon consummation of the transaction which resulted in the stockholder becoming an interested stockholder, the interested stockholder owned at least 85% of the voting stock (as defined below) of the Corporation outstanding at the time the transaction commenced, excluding for purposes of determining the voting stock outstanding (but not the outstanding voting stock owned by the interested stockholder) those shares owned by (i) persons who are directors and also officers and (ii) employee stock plans in which employee participants do not have the right to determine confidentially whether shares held subject to the plan will be tendered in a tender or exchange offer; or

(c) at or subsequent to such time, the business combination is approved by the Board of Directors and authorized at an annual or special meeting of stockholders, and not by written consent, by the affirmative vote of at least 662/3% of the outstanding voting stock of the Corporation which is not owned by the interested stockholder.

Section 8.3 Certain Definitions. For purposes of this Article VIII:

(a) “affiliate” means a person that directly, or indirectly through one or more intermediaries, controls, or is controlled by, or is under common control with, another person (as defined below).

(b) “associate,” when used to indicate a relationship with any person, means: (i) any corporation, partnership, unincorporated association or other entity of which such person is a director, officer or partner or is, directly or indirectly, the owner of 20% or more of any class of voting stock; (ii) any trust or other estate in which such person has at least a 20% beneficial ownership or as to which such person serves as trustee or in a similar fiduciary capacity; and (iii) any relative or spouse of such person, or any relative of such spouse, who has the same residence as such person.

(c) “business combination,” when used in reference to the Corporation and any interested stockholder of the Corporation, means:

(i) any merger or consolidation of the Corporation or any direct or indirect majority-owned subsidiary of the Corporation (A) with the interested stockholder, or (B) with any other corporation, partnership, unincorporated association or other entity if the merger or consolidation is caused by the interested stockholder and as a result of such merger or consolidation this Article VIII is not applicable to the surviving entity;

(ii) any sale, lease, exchange, mortgage, pledge, transfer or other disposition (in one transaction or a series of transactions), except proportionately as a stockholder of the Corporation, to or with the interested stockholder, whether as part of a dissolution or otherwise, of assets of the Corporation or of any direct or indirect majority-owned subsidiary of the Corporation which assets have an aggregate market value equal to 10% or more of either the aggregate market value of all the assets of the Corporation determined on a consolidated basis or the aggregate market value of all the outstanding stock of the Corporation;

(iii) any transaction which results in the issuance or transfer by the Corporation or by any direct or indirect majority-owned subsidiary of the Corporation of any stock of the Corporation or of such subsidiary to the interested stockholder, except: (A) pursuant to the exercise, exchange or conversion of securities exercisable for, exchangeable for or convertible into stock of the Corporation or any such subsidiary which securities were

 

A-70


Table of Contents

outstanding prior to the time that the interested stockholder became such; (B) pursuant to a merger under Section 251(g) of the DGCL; (C) pursuant to a dividend or distribution paid or made, or the exercise, exchange or conversion of securities exercisable for, exchangeable for or convertible into stock of the Corporation or any such subsidiary which security is distributed, pro rata, to all holders of a class or series of stock of the Corporation subsequent to the time the interested stockholder became such; (D) pursuant to an exchange offer by the Corporation to purchase stock made on the same terms to all holders of said stock; or (E) any issuance or transfer of stock by the Corporation; provided, however, that in no case under items (C) through (E) of this subsection (iii) shall there be an increase in the interested stockholder’s proportionate share of the stock of any class or series of the Corporation or of the voting stock of the Corporation (except as a result of immaterial changes due to fractional share adjustments);

(iv) any transaction involving the Corporation or any direct or indirect majority-owned subsidiary of the Corporation which has the effect, directly or indirectly, of increasing the proportionate share of the stock of any class or series, or securities convertible into the stock of any class or series, of the Corporation or of any such subsidiary which is owned by the interested stockholder, except as a result of immaterial changes due to fractional share adjustments or as a result of any purchase or redemption of any shares of stock not caused, directly or indirectly, by the interested stockholder; or

(v) any receipt by the interested stockholder of the benefit, directly or indirectly (except proportionately as a stockholder of the Corporation), of any loans, advances, guarantees, pledges, or other financial benefits (other than those expressly permitted in subsections (i) through (iv) above) provided by or through the Corporation or any direct or indirect majority-owned subsidiary.

(d) “control,” including the terms “controlling,” “controlled by” and “under common control with,” means the possession, directly or indirectly, of the power to direct or cause the direction of the management and policies of a person, whether through the ownership of voting stock, by contract, or otherwise. A person who is the owner of 20% or more of the outstanding voting stock of a corporation, partnership, unincorporated association or other entity shall be presumed to have control of such entity, in the absence of proof by a preponderance of the evidence to the contrary. Notwithstanding the foregoing, a presumption of control shall not apply where such person holds voting stock, in good faith and not for the purpose of circumventing this Article VIII, as an agent, bank, broker, nominee, custodian or trustee for one or more owners who do not individually or as a group (as such term is used in Rule 13d-5 under the Exchange Act, as such Rule is in effect as of the date of this Certificate of Incorporation) have control of such entity.

(e) “interested stockholder” means any person (other than the Corporation or any direct or indirect majority-owned subsidiary of the Corporation) that either (i) is the owner of 15% or more of the outstanding voting stock of the Corporation, or (ii) is an affiliate or associate of the Corporation and was the owner of 15% or more of the outstanding voting stock of the Corporation at any time within the three-year period immediately prior to the date on which it is sought to be determined whether such person is an interested stockholder; and the affiliates and associates of such person; provided, however, that the term “interested stockholder” shall not include (A) any Principal Holder or Principal Holder Direct Transferee, (B) a stockholder that becomes an interested stockholder inadvertently and (x) as soon as practicable divests itself of ownership of sufficient shares so that such stockholder ceases to be an interested stockholder and (y) would not, at any time within the three-year period immediately prior to a business combination between the Corporation and such stockholder, have been an interested stockholder but for the inadvertent acquisition of ownership or (C) any person whose ownership of shares in excess of the 15% limitation set forth herein is the result of any action taken solely by the Corporation; provided, however, that such person specified in this clause (C) shall be an interested stockholder if thereafter such person acquires additional shares of voting stock of the Corporation, except as a result of further corporate action not caused, directly or indirectly, by such person. For the purpose of determining whether a person is an interested stockholder, the voting stock of the Corporation deemed to be outstanding shall include stock deemed to be owned by the person through application of the definition of “owner” below but shall not include any other unissued stock of the Corporation which may be issuable pursuant to any agreement,

 

A-71


Table of Contents

arrangement or understanding, or upon exercise of conversion rights, warrants or options, or otherwise. For the avoidance of doubt, for purposes of this Article VIII, the Board of Directors, in its sole discretion, shall determine whether a stockholder became an interested stockholder inadvertently.

(f) “owner,” including the terms “own” and “owned,” when used with respect to any stock, means a person that individually or with or through any of its affiliates or associates:

(i) beneficially owns such stock, directly or indirectly, for purposes of Section 13(d) of the Exchange Act and Regulations 13D and 13G thereunder;

(ii) has (A) the right to acquire such stock (whether such right is exercisable immediately or only after the passage of time) pursuant to any agreement, arrangement or understanding, or upon the exercise of conversion rights, exchange rights, warrants or options, or otherwise; provided, however, that a person shall not be deemed the owner of stock tendered pursuant to a tender or exchange offer made by such person or any of such person’s affiliates or associates until such tendered stock is accepted for purchase or exchange; or (B) the right to vote such stock pursuant to any agreement, arrangement or understanding; provided, however, that a person shall not be deemed the owner of any stock because of such person’s right to vote such stock if the agreement, arrangement or understanding to vote such stock arises solely from a revocable proxy or consent given in response to a proxy or consent solicitation made to 10 or more persons; or

(iii) has any agreement, arrangement or understanding for the purpose of acquiring, holding, voting (except voting pursuant to a revocable proxy or consent as described in clause (B) of subsection (ii) above), or disposing of such stock with any other person that beneficially owns, or whose affiliates or associates beneficially own, directly or indirectly, such stock.

(g) “person” means any individual, corporation, partnership, unincorporated association or other entity.

(h) “Principal Holder Direct Transferee” means any person that acquires (other than in a registered public offering), directly from one or more of the Principal Holders, beneficial ownership of 15% or more of the then-outstanding voting stock of the Corporation.

(i) “Principal Holders” means The Heritage Group and (A) its current and future affiliates (so long as any such respective affiliate remains an affiliate), (B) its and their related trusts, trustees and family members, (C) its and their respective successors and assigns and (D) any “group” of which any such person referred to in the foregoing clauses (A) through (C) is part under Rule 13d-5 of the Exchange Act; provided, however, that the term “Principal Holders” shall not include the Corporation or any of the Corporation’s direct or indirect subsidiaries.

(j) “stock” means, with respect to any corporation, capital stock and, with respect to any other entity, any equity interest.

(k) “voting stock” means stock of any class or series entitled to vote generally in the election of directors and, with respect to any entity that is not a corporation, any equity interest entitled to vote generally in the election of the governing body of such entity. Every reference in this Article VIII to a percentage or proportion of voting stock shall refer to such percentage or other proportion of the votes of such voting stock.

ARTICLE IX

EXISTENCE

The Corporation shall have perpetual existence.

 

A-72


Table of Contents

ARTICLE X

AMENDMENT

Section 10.1 Amendment of Certificate of Incorporation. Subject to the rights granted to the THG Investor pursuant to the Stockholders Agreement, the Corporation reserves the right at any time, and from time to time, to amend, alter, change or repeal any provision contained in this Certificate of Incorporation (including any Preferred Stock Designation), and other provisions authorized by the laws of the State of Delaware at the time in force may be added or inserted, in the manner now or hereafter prescribed by the laws of the State of Delaware, and all powers, preferences and rights of any nature conferred upon stockholders, directors or any other persons by and pursuant to this Certificate of Incorporation (including any Preferred Stock Designation) in its present form or as hereafter amended are granted subject to this reservation. Notwithstanding the foregoing and subject to the rights granted to the THG Investor pursuant to the Stockholders Agreement and except as otherwise provided in this Certificate of Incorporation (including any provision of a Preferred Stock Designation that provides for a greater or lesser vote) and in addition to any other vote required by law, the affirmative vote of at least 662/3% of the voting power of the stock outstanding and entitled to vote thereon, voting together as a single class, shall be required for the stockholders to adopt, amend or repeal, or adopt any provision inconsistent with, Article V, Article VI, Article VII, Article VIII, Article X, Article XI, Article XII and Article XIII of this Certificate of Incorporation. For the avoidance of doubt, but subject to the rights of the holders of any outstanding Preferred Stock and subject to the rights granted to the THG Investor pursuant to the Stockholders Agreement, Section 242(d) of the DGCL shall apply to amendments to the Certificate of Incorporation.

Section 10.2 Amendment of Bylaws. In furtherance and not in limitation of the powers conferred by the laws of the State of Delaware, but subject to the terms of any series of Preferred Stock then outstanding and subject to the rights granted to the THG Investor pursuant to the Stockholders Agreement, the Board of Directors is expressly authorized to adopt, amend or repeal the Bylaws. Except as otherwise provided in this Certificate of Incorporation (including the terms of any Preferred Stock Designation that require an additional vote) or the Bylaws, and in addition to any requirements of law and subject to the rights granted to the THG Investor pursuant to the Stockholders Agreement, the affirmative vote of at least 662/3% of the voting power of the stock outstanding and entitled to vote thereon, voting together as a single class, shall be required for the stockholders to adopt, amend or repeal, or adopt any provision inconsistent with, any provision of the Bylaws; provided, however, that no Bylaws hereafter adopted by the stockholders shall invalidate any prior act of the Board of Directors that would have been valid if such Bylaws had not been adopted.

ARTICLE XI

COMPETITION AND CORPORATE OPPORTUNITIES

Section 11.1 General. In recognition and anticipation that (a) certain directors, principals, members, officers, associated funds, employees and/or other representatives of the THG Investor and its Affiliates may serve as directors, officers or agents of the Corporation, (b) the THG Investor and its Affiliates may now engage and may continue to engage in the same or similar activities or related lines of business as those in which the Corporation, directly or indirectly, may engage and/or other business activities that overlap with or compete with those in which the Corporation, directly or indirectly, may engage, and (c) members of the Board of Directors who are not employees of the Corporation (“Non-Employee Directors”) and their respective Affiliates may now engage and may continue to engage in the same or similar activities or related lines of business as those in which the Corporation, directly or indirectly, may engage and/or other business activities that overlap with or compete with those in which the Corporation, directly or indirectly, may engage, the provisions of this Article XI are set forth to regulate and define the conduct of certain affairs of the Corporation with respect to certain classes or categories of business opportunities as they may involve the THG Investor, the Non-Employee Directors or their respective Affiliates and the powers, rights, duties and liabilities of the Corporation and its directors, officers and stockholders in connection therewith.

 

A-73


Table of Contents

Section 11.2 Renunciation of Certain Corporate Opportunities; No Duty to Refrain. To the fullest extent permitted by law, the Corporation hereby renounces any interest or expectancy in, or right to be offered an opportunity to participate in, any business opportunity which may be a corporate opportunity for (a) the THG Investor or any of its Affiliates or (b) any Non-Employee Director or his or her Affiliates (such Persons (as defined below) identified in (a) and (b) above being referred to, collectively, as “Identified Persons” and, individually, as an “Identified Person”) and the Corporation or any of its Affiliates. To the fullest extent permitted by law, none of the Identified Persons shall have any duty to refrain from directly or indirectly (i) engaging in the same or similar business activities or lines of business in which the Corporation or any of its Affiliates now engages or proposes to engage or (ii) otherwise competing with the Corporation or any of its Affiliates, and, to the fullest extent permitted by law, no Identified Person shall be liable to the Corporation or its stockholders or to any Affiliate of the Corporation for breach of any fiduciary duty solely by reason of the fact that such Identified Person engages in any such activities. In the event that any Identified Person acquires knowledge of a potential transaction or other business opportunity which may be a corporate opportunity for itself, herself or himself and the Corporation or any of its Affiliates, such Identified Person shall, to the fullest extent permitted by law, have no duty to communicate or offer such transaction or other business opportunity to the Corporation or any of its Affiliates and, to the fullest extent permitted by law, shall not be liable to the Corporation or its stockholders or to any Affiliate of the Corporation for breach of any fiduciary duty as a stockholder, director or officer of the Corporation solely by reason of the fact that such Identified Person pursues or acquires such corporate opportunity for itself, herself or himself, or offers or directs such corporate opportunity to another Person. Notwithstanding the foregoing and anything in this Section 11.2 of this Article XI to the contrary, the Corporation does not renounce its interest in any corporate opportunity offered to any Non-Employee Director if such opportunity is expressly offered in writing to such person solely in his or her capacity as a director or officer of the Corporation, and the provisions of Section 11.1 of this Article XI shall not apply to any such corporate opportunity.

Section 11.3 Opportunities Not Deemed Corporate Opportunities. In addition to and notwithstanding the foregoing provisions of this Article XI, a corporate opportunity shall not be deemed to be a potential corporate opportunity for the Corporation if it is a business opportunity that (a) the Corporation is neither financially or legally able, nor contractually permitted, to undertake, (b) from its nature, is not in the line of the Corporation’s business or is of no practical advantage to the Corporation or (c) is one in which the Corporation has no interest or reasonable expectancy.

Section 11.4 Definitions. For purposes of this Article XI, (a) “Affiliate” shall mean (i) in respect of THG Investor, any Person that, directly or indirectly, is controlled by the THG Investor, controls the THG Investor, or is under common control with the THG Investor, and shall include any principal, member, director, partner, stockholder, officer, employee or other representative of any of the foregoing (other than the Corporation and any Person that is controlled by the Corporation) and any Person that is deemed an affiliate of the THG Investor under the Stockholders Agreement, (ii) in respect of a Non-Employee Director, any Person that, directly or indirectly, is controlled by such Non-Employee Director (other than the Corporation and any entity that is controlled by the Corporation) and (iii) in respect of the Corporation, any Person that, directly or indirectly, is controlled by the Corporation; and (ii) “Person” shall mean any individual, corporation, general or limited partnership, limited liability company, joint venture, trust, association or any other entity.

Section 11.5 Notice and Consent. To the fullest extent permitted by law, any Person purchasing or otherwise acquiring or holding any interest in any shares of capital stock of the Corporation shall be deemed to have notice of and to have consented to the provisions of this Article XI.

ARTICLE XII

LIABILITY OF DIRECTORS AND OFFICERS

Section 12.1 No Personal Liability. To the fullest extent permitted by the DGCL as the same exists or as may hereafter be amended, no director or officer of the Corporation shall be personally liable to the Corporation or its stockholders for monetary damages for breach of fiduciary duty as a director or officer, as applicable.

 

A-74


Table of Contents

Section 12.2 Amendment or Repeal. Any amendment, repeal or elimination of this Article XII, or the adoption of any provision of the Certificate of Incorporation inconsistent with this Article XII, shall not affect its application with respect to an act or omission by a director or officer occurring before such amendment, adoption, repeal or elimination.

ARTICLE XIII

FORUM FOR ADJUDICATION OF DISPUTES

Section 13.1 Forum. Unless the Corporation, in writing, selects or consents to the selection of an alternative forum: (a) the sole and exclusive forum for any complaint asserting any internal corporate claims (as defined below), to the fullest extent permitted by law, and subject to applicable jurisdictional requirements, shall be the Court of Chancery of the State of Delaware (or, if the Court of Chancery does not have, or declines to accept, jurisdiction, another state court or a federal court located within the State of Delaware); and (b) the sole and exclusive forum for any complaint asserting a cause of action arising under the Securities Act of 1933, to the fullest extent permitted by law, shall be the federal district courts of the United States of America. For purposes of this Article XIII, “internal corporate claims” means claims, including claims in the right of the Corporation that are based upon a violation of a duty by a current or former director, officer, employee or stockholder in such capacity, or as to which the DGCL confers jurisdiction upon the Court of Chancery. Any person or entity purchasing or otherwise acquiring or holding any interest in shares of stock of the Corporation shall be deemed to have notice of and consented to the provisions of this Article XIII.

Section 13.2 Enforceability. If any provision of this Article XIII shall be held to be invalid, illegal or unenforceable as applied to any person or entity or circumstance for any reason whatsoever, then, to the fullest extent permitted by law, the validity, legality and enforceability of such provision in any other circumstance and of the remaining provisions of this Article XIII (including, without limitation, each portion of any sentence of this Article XIII containing any such provision held to be invalid, illegal or unenforceable that is not itself held to be invalid, illegal or unenforceable) and the application of such provision to other persons or entities or circumstances shall not in any way be affected or impaired thereby.

[The remainder of this page has been intentionally left blank.]

 

A-75


Table of Contents

IN WITNESS WHEREOF, this Certificate of Incorporation has been executed by a duly authorized officer of the Corporation on this [●] day of [●], [●].

 

By:    
  Name:
  Title:

 

Signature Page to Amended and Restated Certificate of Incorporation

A-76


Table of Contents

Exhibit E

Registration Rights Agreement

See attached.

 

A-77


Table of Contents

Final Form

REGISTRATION RIGHTS AGREEMENT

by and among

CALUMET, INC.

and

THE ORIGINAL HOLDERS PARTY HERETO

 

A-78


Table of Contents

TABLE OF CONTENTS

 

          Page  

ARTICLE I DEFINITIONS

     A-80  

Section 1.1

   Definitions      A-80  

Section 1.2

   Registrable Securities      A-83  

ARTICLE II REGISTRATION RIGHTS

     A-83  

Section 2.1

   Shelf Registration      A-83  

Section 2.2

   Piggyback Registration      A-84  

Section 2.3

   Secondary Underwritten Offering      A-85  

Section 2.4

   Sale Procedures      A-87  

Section 2.5

   Cooperation by Holders      A-89  

Section 2.6

   Expenses      A-90  

Section 2.7

   Indemnification      A-90  

Section 2.8

   Rule 144 Reporting      A-92  

Section 2.9

   Transfer or Assignment of Registration Rights      A-92  

Section 2.10

   Aggregation of Registrable Securities      A-92  

ARTICLE III MISCELLANEOUS

     A-93  

Section 3.1

   Communications      A-93  

Section 3.2

   Successors and Assigns      A-93  

Section 3.3

   Assignment of Rights      A-93  

Section 3.4

   Recapitalization (Exchanges, etc. Affecting the Registrable Securities)      A-94  

Section 3.5

   Specific Performance      A-94  

Section 3.6

   Counterparts      A-94  

Section 3.7

   Headings      A-94  

Section 3.8

   Governing Law, Submission to Jurisdiction      A-94  

Section 3.9

   Waiver of Jury Trial      A-94  

Section 3.10

   Severability      A-94  

Section 3.11

   Entire Agreement      A-94  

Section 3.12

   Term; Amendment      A-95  

Section 3.13

   No Presumption      A-95  

Section 3.14

   Obligations Limited to Parties to Agreement      A-95  

Section 3.15

   Other Registration Rights      A-95  

Section 3.16

   Interpretation      A-95  

 

A-79


Table of Contents

REGISTRATION RIGHTS AGREEMENT

THIS REGISTRATION RIGHTS AGREEMENT (this “Agreement”) is made and entered into as of [•] by and between Calumet, Inc., a Delaware corporation (the “Company”), and the stockholders of the Company listed on the signature pages hereto (the “Original Holders”).1

RECITALS

WHEREAS, the Company entered into that certain Conversion Agreement, dated [●] (the “Conversion Agreement”), by and among Calumet Specialty Products Partners, L.P., a Delaware limited partnership (“CLMT”), the Company, Calumet Merger Sub I LLC, a Delaware limited liability company and a wholly owned subsidiary of the Company (“Merger Sub I”), Calumet Merger Sub II LLC, a Delaware limited liability company and a wholly owned subsidiary of the Company (“Merger Sub II”), Calumet GP, LLC, a Delaware limited liability company and the general partner of CLMT (the “General Partner”), and the other parties to the Conversion Agreement;

WHEREAS, pursuant to the Conversion Agreement, (i) Merger Sub II merged with and into CLMT, with CLMT continuing as the surviving entity and as a subsidiary of the General Partner and the Company (the “CLMT Merger”), and (ii) immediately after the CLMT Merger, Merger Sub I merged with and into the General Partner, with the General Partner continuing as the surviving entity and a wholly owned subsidiary of the Company (together with the CLMT Merger and the other transactions contemplated by the Conversion Agreement, the “Conversion”);

WHEREAS, in connection with the Conversion, (i) each CLMT Common Unit (as defined in the Conversion Agreement) issued and outstanding as of immediately prior to the effective time of the CLMT Merger was exchanged into the right to receive one share of Common Stock (as defined below) and (ii) the Original Holders, as applicable, exchanged their equity interests in the General Partner for an aggregate of 5,500,000 shares (shares of Common Stock referred to in clauses (i) and (ii), collectively the “Conversion Shares”) of Common Stock and 2,000,000 warrants (the “Warrants”) to purchase Common Stock; and

WHEREAS, in connection with, and effective upon, the date of completion of the Conversion, the parties hereto desire to enter into this Agreement to provide the Holders with certain registration rights as set forth below.

NOW, THEREFORE, in consideration of the mutual covenants contained herein and other good and valuable consideration, the receipt and sufficiency of which are hereby acknowledged, the parties to this Agreement hereby agree as follows:

ARTICLE I

DEFINITIONS

Section 1.1 Definitions. The terms set forth below are used herein as so defined:

Affiliate” means, with respect to any Person, any other Person that directly or indirectly through one or more intermediaries controls, is controlled by or is under common control with, the Person in question. As used

 

1 

“Original Holders” will consist of The Heritage Group and its affiliates (including Calumet, Incorporated, Irrevocable Intervivos Trust Number 12.27.73 for the Benefit of Fred Mehlert Fehsenfeld, Jr. and His Issue U/A Dated December 18, 2012: 989,902, Maggie Fehsenfeld Trust Number 106 12.30.74 for the Benefit of Fred Mehlert Fehsenfeld, Jr. and His Issue U/A Dated December 18, 2012: 989,902, The Heritage Group Investment Company, LLC, James C Fehsenfeld Revocable Trust, Fred M Fehsenfeld Revocable Trust U/A 01/28/20, Suzanne M Fehsenfeld Revocable Trust U/A 01/28/20, and Paul James Schumacher & Amy Mae Schumacher Joint Account) and all other members of the MLP’s general partner.

 

A-80


Table of Contents

herein, the term “control” means the possession, direct or indirect, of the power to direct or cause the direction of the management and policies of a Person, whether through ownership of voting securities, by contract or otherwise.

Agreement” has the meaning specified therefor in the introductory paragraph of this Agreement.

Automatic Shelf Registration Statement” means a registration statement filed on Form S-3 (or successor form or other appropriate form under the Securities Act) by a WKSI pursuant to General Instruction I.C. or I.D. (or other successor or appropriate instruction) of such forms, respectively.

Business Day” means Monday through Friday of each week, except that a legal holiday recognized as such by the government of the United States of America or any of the States of Delaware, Texas and New York shall not be regarded as a Business Day.

CLMT” has the meaning specified therefor in the Recitals of this Agreement.

CLMT Merger” has the meaning specified therefor in the Recitals of this Agreement.

Commission” means the United States Securities and Exchange Commission.

Common Stock” means the common stock, par value $0.01 per share, of the Company and any securities issued in respect thereof, or in substitution therefor, in connection with any stock split, dividend or combination, or any reclassification, recapitalization, merger, consolidation, exchange or other similar reorganization.

Company” has the meaning specified therefor in the introductory paragraph of this Agreement.

Conversion” has the meaning specified therefor in the Recitals of this Agreement.

Conversion Agreement” has the meaning specified therefor in the Recitals of this Agreement.

Conversion Shares” has the meaning specified therefor in the Recitals of this Agreement.

Demand Request Cap” has the meaning specified therefor in Section 2.3(a) of this Agreement.

Effectiveness Period” has the meaning specified therefor in Section 2.1(a) of this Agreement.

Exchange Act” means the Securities Exchange Act of 1934, as amended from time to time, and the rules and regulations of the Commission promulgated thereunder.

General Partner” has the meaning specified therefor in the Recitals of this Agreement.

Holder” means any Original Holder and any Person who shall acquire and hold Registrable Securities in accordance with the terms of this Agreement.

Included Registrable Securities” has the meaning specified therefor in Section 2.2(a) of this Agreement.

Losses” has the meaning specified therefor in Section 2.7(a) of this Agreement.

Managing Underwriter” means, with respect to any Underwritten Offering, the lead book running manager(s) of such Underwritten Offering.

Merger Sub I” has the meaning specified therefor in the Recitals of this Agreement.

 

A-81


Table of Contents

Merger Sub II” has the meaning specified therefor in the Recitals of this Agreement.

Minimum Commitment” has the meaning specified therefor in Section 2.3(a) of this Agreement.

Original Holder” or “Original Holders” has the meaning set forth in the introductory paragraph of this Agreement.

Other Holder” has the meaning specified in Section 2.2(b) of this Agreement.

Person” means any individual, corporation, company, voluntary association, partnership, joint venture, trust, limited liability company, unincorporated organization, government or any agency, instrumentality or political subdivision thereof, or any other form of entity.

Piggyback Notice” has the meaning specified therefor in Section 2.2(a) of this Agreement.

Piggyback Opt-Out Notice” has the meaning specified therefor in Section 2.2(a) of this Agreement.

Piggyback Registration” has the meaning specified therefor in Section 2.2(a) of this Agreement.

Registrable Securities” means, subject to Section 1.2 of this Agreement, (i) the shares of Common Stock issued as consideration pursuant to the Conversion Agreement (including the Conversion Shares), (ii) the Warrants, (iii) the shares of Common Stock issuable upon exercise of the Warrants and (iv) any shares of Common Stock otherwise acquired or owned by a Holder or such Holder’s Affiliate following the date hereof to the extent such securities are “restricted securities” (as defined in Rule 144) or are otherwise held by an Affiliate of the Company.

Registration” means any registration pursuant to this Agreement, including pursuant to the Shelf Registration Statement.

Registration Expenses” has the meaning specified therefor in Section 2.6(a) of this Agreement.

Rule 144” has the meaning specified therefor in Section 1.2 of this Agreement.

Securities Act” means the Securities Act of 1933, as amended from time to time, and the rules and regulations of the Commission promulgated thereunder.

Selling Expenses” means all underwriting discounts and commissions and transfer taxes allocable to the sale of the Registrable Securities.

Selling Holder” means a Holder who is selling Registrable Securities pursuant to a Registration.

Selling Holder Election Notice” has the meaning specified therefor in Section 2.3(a) of this Agreement.

Shelf Registration Statement” means a registration statement under the Securities Act to permit the public resale of the Registrable Securities from time to time as permitted by Rule 415 of the Securities Act (or any similar provision then in force under the Securities Act).

Underwritten Offering” means an offering (including an offering pursuant to a Shelf Registration Statement) in which Common Stock is sold to an underwriter on a firm commitment basis for reoffering to the public or an offering that is a “bought deal” with one or more investment banks.

Warrant” has the meaning specified therefor in the Recitals of this Agreement.

 

A-82


Table of Contents

WKSI” means a well-known seasoned issuer (as defined in Rule 405 under the Securities Act).

Section 1.2 Registrable Securities. Any Registrable Security will cease to be a Registrable Security at the earliest of the following: (a) when a registration statement covering such Registrable Security has been declared effective by the Commission and such Registrable Security has been sold or disposed of pursuant to such effective registration statement; (b) when such Registrable Security is held by the Company or one of its subsidiaries; (c) when such Registrable Security has been sold in a private transaction in which the transferor’s rights under this Agreement are not assigned to the transferee of such securities; (d) the date on which such Registrable Security has been sold pursuant to any section of Rule 144 under the Securities Act (or any similar provision then in force under the Securities Act, “Rule 144”) or any other exemption from the registration requirements of the Securities Act as a result of which the legend on any certificate or book-entry notation representing such Registrable Security restricting transfer of such Registrable Security has been removed; and (e) such Registrable Security has been sold to, or through, a broker, dealer or underwriter in a public distribution or other public securities transaction.

ARTICLE II

REGISTRATION RIGHTS

Section 2.1 Shelf Registration.

(a) Shelf Registration. The Company shall use its reasonable best efforts to (i) prepare and file an initial Shelf Registration Statement under the Securities Act covering all Registrable Securities as soon as practicable but in no event more than 30 days following the date of this Agreement and (ii) cause such initial Shelf Registration Statement to become effective no later than 60 days after the filing thereof. The Company will use its reasonable best efforts to cause such initial Shelf Registration Statement filed pursuant to this Section 2.1(a) to be continuously effective under the Securities Act until the earliest of (1) all Registrable Securities covered by the Shelf Registration Statement have been distributed in the manner set forth and as contemplated in such Shelf Registration Statement and (2) there are no longer any Registrable Securities outstanding (the “Effectiveness Period”). A Shelf Registration Statement filed pursuant to this Section 2.1(a) shall be on such appropriate registration form of the Commission as shall be selected by the Company; provided, however, that, if the Company is then eligible, it shall file any Shelf Registration Statement on Form S-3 and, if the Company is a WKSI, such Shelf Registration Statement shall be an Automatic Shelf Registration Statement. A Shelf Registration Statement when declared effective (including the documents incorporated therein by reference) will comply as to form in all material respects with all applicable requirements of the Securities Act and the Exchange Act and will not contain an untrue statement of a material fact or omit to state a material fact required to be stated therein or necessary to make the statements therein not misleading (and, in the case of any prospectus contained in such Shelf Registration Statement, in the light of the circumstances under which a statement is made). As soon as practicable following the date that a Shelf Registration Statement becomes effective, but in any event within one Business Day of such date, the Company shall provide the Holders with written notice of the effectiveness of a Shelf Registration Statement.

(b) Notwithstanding the Company’s registration obligations set forth in Section 2.1(a), if the Commission does not permit, as a result of the application of Rule 415, all of the Registrable Securities to be registered for resale as a secondary offering on a single registration statement, the Company shall use its reasonable best efforts to file amendments to the initial Shelf Registration Statement as required by the Commission, covering the maximum number of Registrable Securities, applied on a pro rata basis among the Holders, permitted by the Commission to be registered on such Shelf Registration Statement. In the event the Company amends the initial Shelf Registration Statement in accordance with the foregoing, the Company shall use its reasonable best efforts to file with the Commission, as promptly as allowed by Commission, one or more Shelf Registration Statements covering those Registrable Securities that were not registered for resale on the initial Shelf Registration Statement, as amended.

 

A-83


Table of Contents

(c) Delay Rights. Notwithstanding anything to the contrary contained herein, the Company may, upon written notice to any Selling Holder whose Registrable Securities are included in the Shelf Registration Statement, suspend such Selling Holder’s use of any prospectus which is a part of the Shelf Registration Statement (in which event the Selling Holder shall discontinue sales of the Registrable Securities pursuant to the Shelf Registration Statement) if (i) the Company is pursuing an acquisition, merger, reorganization, disposition or other similar transaction and the Company determines in good faith that the Company’s ability to pursue or consummate such a transaction would be materially and adversely affected by any required disclosure of such transaction in the Shelf Registration Statement or (ii) the Company has experienced some other material non-public event the disclosure of which at such time, in the good faith judgment of the Company, would materially and adversely affect the Company; provided, however, that in no event shall the Selling Holders be suspended from selling Registrable Securities pursuant to the Shelf Registration Statement for a period of 45 consecutive days or an aggregate of 90 days in any 360-day period. Upon disclosure of such information or the termination of the condition described above, the Company shall provide prompt notice (which notice shall not contain any material, non-public information regarding the Company), to the Selling Holders whose Registrable Securities are included in the Shelf Registration Statement, and shall promptly terminate any suspension of sales it has put into effect and shall take such other actions necessary or appropriate to permit registered sales of Registrable Securities as contemplated in this Agreement.

Section 2.2 Piggyback Registration

(a) Participation. If, at any time or from time to time after the date hereof, the Company shall determine to register the sale of any of its securities or conduct an offering of registered securities in connection with an Underwritten Offering of its securities to the general public for cash on a form which would permit the registration or offering of Registrable Securities in secondary sales (including, for the avoidance of doubt, pursuant to a Shelf Registration Statement), in each case, for its own account and/or another Person, then the Company shall give not less than three Business Days advance notice (including, but not limited to, notification by e-mail; such notice, a “Piggyback Notice”) of such proposed registration or Underwritten Offering to each Holder, and such notice shall offer such Holder the opportunity to participate in any such registration or Underwritten Offering and to include therein such number of Registrable Securities (the “Included Registrable Securities”) as each such Holder may request in writing (a “Piggyback Registration”); provided, however, that if the Company has been advised by the Managing Underwriter that the inclusion of Registrable Securities for sale for the benefit of the Holders will have material and adverse effect on the offering price, timing or probability of success of the distribution of the Common Stock in the Underwritten Offering, then the amount of Registrable Securities to be offered for the accounts of Holders shall be determined based on the provisions of Section 2.2(b). If the Company is not required to offer the opportunity for a Piggyback Registration in respect of a proposed Underwritten Offering as a result of the circumstance described in the immediately preceding sentence, then the Company shall nevertheless be required to furnish to such Holders the Piggyback Notice in respect of such proposed Underwritten Offering, which notice shall describe the Company’s intention to conduct an Underwritten Offering and, if the determination described in the immediately preceding sentence has been made at the time that the Piggyback Notice is required to be given by the Company, shall include notification that the Holders do not have the opportunity to include Registrable Securities in such Underwritten Offering because the Company has been advised by the Managing Underwriter in writing that the inclusion of Registrable Securities for sale for the benefit of the Holders will have a material and adverse effect on the offering price, timing or probability of success of the distribution of the Common Stock in the Underwritten Offering. If the Company is so advised by the Managing Underwriter after the Piggyback Notice has been given, then the Company shall notify the Holders who were provided such Piggyback Notice (or if the five Business Day period referred to in the next sentence has lapsed, the Holders who have timely elected to include Registrable Securities in such offering) in writing of such circumstance and the aggregate number of Registrable Securities, if any, that can be included in such offering. Each Piggyback Notice shall be provided to Holders on a Business Day pursuant to Section 3.1 hereof and confirmation of receipt of such notice shall be requested in the notice, and each Holder will have five Business Days (or, in the case of an “overnight” offering or a “bought deal,” one Business Day) after a Piggyback Notice has been delivered to request in writing the inclusion of Registrable Securities in the

 

A-84


Table of Contents

Piggyback Registration referenced therein. If no request for inclusion from a Holder is received within the specified time, such Holder shall have no further right to participate in such Piggyback Registration. If, at any time after giving written notice of its intention to undertake an Underwritten Offering and prior to the closing of such Underwritten Offering, the Company shall determine for any reason not to undertake or to delay such Underwritten Offering, the Company may, at its election, give written notice of such determination to the Selling Holders and, (x) in the case of a determination not to undertake such Underwritten Offering, shall be relieved of its obligation to sell any Included Registrable Securities in connection with such terminated Underwritten Offering, and (y) in the case of a determination to delay such Underwritten Offering, shall be permitted to delay offering any Included Registrable Securities for the same period as the delay in the Underwritten Offering. Any Selling Holder shall have the right to withdraw such Selling Holder’s request for inclusion of such Selling Holder’s Registrable Securities in such Underwritten Offering by giving written notice to the Company of such withdrawal up to and including the time of pricing of such offering. Any Holder may deliver written notice (a “Piggyback Opt-Out Notice”) to the Company requesting that such Holder not receive notice from the Company of any proposed Underwritten Offering; provided, however, that such Holder may later revoke any such Piggyback Opt-Out Notice in writing. Following receipt of a Piggyback Opt-Out Notice from a Holder, the Company shall not be required to deliver any notice to such Holder pursuant to this Section 2.2(a) and such Holder shall no longer be entitled to participate in Underwritten Offerings by the Company pursuant to this Section 2.2(a), unless such Piggyback Opt-Out Notice is revoked by such Holder.

(b) Priority of Piggyback Registration. If the Managing Underwriter of any proposed Underwritten Offering of shares of Common Stock included in a Piggyback Registration advises the Company that the total shares of Common Stock which the Selling Holders and any other Persons intend to include in such offering exceeds the number which can be sold in such offering without being likely to have a material and adverse effect on the offering price, timing or probability of success of the distribution of the Common Stock offered or the market for the Common Stock, then the Piggyback Notice provided by the Company pursuant to Section 2.2(a) shall include notification of such determination or, if such determination is made after the Piggyback Notice has been given, then the Company shall furnish notice in writing (including by e-mail) to the Holders (or to those who have timely elected to participate in such Underwritten Offering), and the Common Stock to be included in such Underwritten Offering shall include the number of shares of Common Stock that such Managing Underwriter advises the Company can be sold without having such material and adverse effect, with such number to be allocated (i) if such Piggyback Registration was initiated by the Company, (A) first, to the Company, (B) second, pro rata among the Selling Holders and any other Persons who have been or after the date hereof are granted registration rights on parity with the registration rights granted under this Agreement (the “Other Holders”) who have requested participation in the Piggyback Registration (based, for each such Selling Holder or Other Holder, on the percentage derived by dividing (1) the number of shares of Common Stock proposed to be sold by such Selling Holder or such Other Holder in such offering; by (2) the aggregate number of shares of Common Stock proposed to be sold by all Selling Holders and all Other Holders in the Piggyback Registration), and (C) third, to any other holder of shares of Common Stock with registration rights that are subordinate to the rights of the Holders hereunder; and (ii) if such Piggyback Registration was not initiated by the Company, (A) first, to the Persons initiating such Piggyback Registration, (B) second, pro rata among the Selling Holders and any Other Holders who have requested participation in the Piggyback Registration (based, for each such Selling Holder or Other Holder, on the percentage derived by dividing (1) the number of shares of Common Stock proposed to be sold by such Selling Holder or such Other Holder in such offering; by (2) the aggregate number of shares of Common Stock proposed to be sold by all Selling Holders and all Other Holders in the Piggyback Registration other than the Persons initiating such Registration), and (C) third, to any other holder of shares of Common Stock with registration rights that are subordinate to the rights of the Holders hereunder.

Section 2.3 Secondary Underwritten Offering.

(a) Demand Request. In the event that one or more Selling Holders elects to dispose of Registrable Securities under the Shelf Registration Statement pursuant to an Underwritten Offering reasonably expected to result in gross proceeds in an aggregate amount of at least $25.0 million (such amount, the “Minimum

 

A-85


Table of Contents

Commitment”), such Selling Holder or Selling Holders shall give notice of such election in writing (including, but not limited to, notification by e-mail; such notice, the “Selling Holder Election Notice”) to the Company not less than 10 Business Days before the date such Selling Holders intend for such Underwritten Offering to commence marketing (whether on a confidential basis or on a public basis); provided that the Company shall not be required to conduct more than two Underwritten Offerings pursuant to this Section 2.3 in any twelve-month period pursuant to Selling Holder Election Notices (the “Demand Request Cap”); provided, further, that if, prior to filing of the applicable “red herring prospectus” or prospectus supplement used for marketing such Underwritten Offering, the majority-in-interest of such initiating Selling Holders withdraws from such Underwritten Offering, then such Underwritten Offering shall not count towards the Demand Request Cap. The Selling Holder Election Notice shall specify the number of Registrable Securities that the Selling Holder intends to offer in such Underwritten Offering and the expected commencement date thereof. The Company shall, at the request of such Selling Holder, enter into an underwriting agreement in customary form with the Managing Underwriter, which shall include, among other provisions, indemnities to the effect and to the extent provided in Section 2.7, and shall take all such other reasonable actions as are requested by the Managing Underwriter in order to expedite or facilitate the disposition of the Registrable Securities.

(b) Notice to Holders. Not later than two Business Days after receipt by the Company of the Selling Holder Election Notice, unless the Company determines in accordance with Section 2.1(c) to delay such Underwritten Offering (in which event the Company shall promptly notify the initiating Selling Holder(s) in writing of such determination), then the Company shall provide written notice (including, but not limited to, notification by e-mail) to the other Holders of Registrable Securities of the Selling Holder’s intention to conduct an Underwritten Offering and such notice shall offer such other Holders the opportunity to participate in such Underwritten Offering and to include in such Underwritten Offering such number of Registrable Securities as each such Holder may request in writing. Each such other Holder will have five Business Days after notice has been delivered to request in writing submitted to the Company the inclusion of Registrable Securities in the Underwritten Offering. If no request for inclusion from a Holder is received by the Company within the specified time, such Holder shall have no further right to participate in such Underwritten Offering. If, at any time after giving written notice of its intention to undertake an Underwritten Offering and prior to the closing of such Underwritten Offering, a Selling Holder giving the notice shall determine for any reason not to undertake or to delay such Underwritten Offering, such Selling Holder may, at its election, give written notice of such determination to the Company and, if the failure of such Selling Holder to participate would cause the aggregate amount of Registrable Securities participating in the Underwritten Offering to fall below the Minimum Commitment, the Company shall notify the other Holders and, (x) in the case of a determination not to undertake such Underwritten Offering, shall be relieved of its obligation to include Registrable Securities of any other Holder, and (y) in the case of a determination to delay such Underwritten Offering, shall be permitted to delay offering any Registrable Securities of any other Holder for the same period as the delay in the Underwritten Offering. Any other Holder shall have the right to withdraw such Holder’s request for inclusion of such Holder’s Registrable Securities in such Underwritten Offering by giving written notice to the Company of such withdrawal up to and including the time of pricing of such offering. If the Managing Underwriter of any proposed Underwritten Offering of Registrable Securities under a Shelf Registration Statement advises the Company that the total amount of Registrable Securities which the Selling Holders and any other Persons intend to include in such offering exceeds the number which can be sold in such offering without being likely to have a material and adverse effect on the offering price, timing or probability of success of the distribution of the Registrable Securities offered or the market for the Registrable Securities, then the Registrable Securities to be included in such Underwritten Offering shall include the number of Registrable Securities that such Managing Underwriter advises the Company can be sold without having such material and adverse effect, with such number to be allocated (A) first, pro rata among the Selling Holders (based, for each such Selling Holder, on the percentage derived by dividing (i) the number of Registrable Securities proposed to be sold by such Selling Holder in such offering; by (ii) the aggregate number of Registrable Securities proposed to be sold by all Selling Holders in such Underwritten Offering) and (B) second, pro rata among any Other Holders who have requested participation in the Underwritten Offering (based, for each such Other Holder, on the percentage derived by dividing (i) the

 

A-86


Table of Contents

number of Registrable Securities proposed to be sold by such Other Holder in such offering; by (ii) the aggregate number of Registrable Securities proposed to be sold by all Other Holders in such Underwritten Offering).

Section 2.4 Sale Procedures.

(a) General Procedures. In connection with any Underwritten Offering (i) under Section 2.2 of this Agreement, the Company shall be entitled to select the Managing Underwriter, and (ii) under Section 2.3 of this Agreement, the Selling Holders shall be entitled to select the Managing Underwriter. In connection with an Underwritten Offering contemplated by this Agreement in which a Selling Holder participates, each Selling Holder and the Company shall be obligated to enter into an underwriting agreement with the Managing Underwriter which contains such representations, covenants, indemnities and other rights and obligations as are customary in underwriting agreements for firm commitment offerings of equity securities. No Selling Holder may participate in such Underwritten Offering unless such Selling Holder agrees to sell its Registrable Securities on the basis provided in such underwriting agreement and completes and executes all questionnaires, powers of attorney, indemnities and other documents reasonably required under the terms of such underwriting agreement; provided that neither the Company nor any Selling Holder shall be obligated to enter into a lock-up agreement for a period longer than 60 days from the date of such Underwritten Offering. Each Selling Holder may, at its option, require that any or all of the representations and warranties by, and the other agreements on the part of, the Company to and for the benefit of such underwriters also be made to and for such Selling Holder’s benefit and that any or all of the conditions precedent to the obligations of such underwriters under such underwriting agreement also be conditions precedent to its obligations. No Selling Holder shall be required to make any representations or warranties to or agreements with the Company or the underwriters other than representations, warranties or agreements regarding such Selling Holder’s ownership of the securities being registered on its behalf and its intended method of distribution and any other representation required by law or by the Managing Underwriter. If any Selling Holder disapproves of the terms of an underwriting, such Selling Holder may elect to withdraw therefrom by notice to the Company and the Managing Underwriter; provided, however, that such withdrawal must be made at least one Business Day prior to the time of pricing of such Underwritten Offering to be effective. No such withdrawal or abandonment shall affect the Company’s obligation to pay Registration Expenses. The Company and the Company’s management shall use reasonable best efforts to participate in a customary roadshow or similar marketing effort in connection with any Underwritten Offering.

(b) In connection with its obligations under this Article II, the Company will, as expeditiously as possible:

(i) prepare and file with the Commission such amendments and supplements to the Shelf Registration Statement and the prospectus used in connection therewith as may be necessary to keep a Shelf Registration Statement effective for the Effectiveness Period and as may be necessary to comply with the provisions of the Securities Act with respect to the disposition of all Registrable Securities covered by a Shelf Registration Statement;

(ii) if a prospectus supplement will be used in connection with the marketing of an Underwritten Offering from a Shelf Registration Statement and the Managing Underwriter at any time shall notify the Company in writing that, in the sole judgment of such Managing Underwriter, the inclusion of detailed information to be used in such prospectus supplement is of material importance to the success of the Underwritten Offering of such Registrable Securities, the Company shall use its reasonable best efforts to include such information in the prospectus supplement;

(iii) furnish to each Selling Holder (A) as far in advance as reasonably practicable before filing a Shelf Registration Statement or any other registration statement contemplated by this Agreement or any supplement or amendment thereto, upon request, copies of reasonably complete drafts of all such documents proposed to be filed (including exhibits and each document incorporated by reference therein to the extent then required by the rules and regulations of the Commission), and provide each such Selling Holder the opportunity to object to any

 

A-87


Table of Contents

information pertaining to such Selling Holder and its plan of distribution that is contained therein and make the corrections reasonably requested by such Selling Holder with respect to such information prior to filing such Shelf Registration Statement or such other registration statement and the prospectus included therein or any supplement or amendment thereto, and (B) such number of copies of such Shelf Registration Statement or such other registration statement and the prospectus included therein and any supplements and amendments thereto as such Persons may reasonably request in order to facilitate the public sale or other disposition of the Registrable Securities covered by such Shelf Registration Statement or other registration statement;

(iv) if applicable, use its reasonable best efforts to register or qualify the Registrable Securities covered by a Shelf Registration Statement or any other registration statement contemplated by this Agreement under the securities or blue sky laws of such jurisdictions as the Selling Holders shall reasonably request, provided that the Company will not be required to qualify generally to transact business in any jurisdiction where it is not then required to so qualify or to take any action which would subject it to general service of process in any such jurisdiction where it is not then so subject;

(v) promptly notify each Selling Holder, at any time when a prospectus relating thereto is required to be delivered under the Securities Act, of (A) the filing of a Shelf Registration Statement or any other registration statement contemplated by this Agreement or any prospectus included therein or any amendment or supplement thereto (other than any amendment or supplement resulting from the filing of a document incorporated by reference therein), and, with respect to such Shelf Registration Statement or any other registration statement or any post-effective amendment thereto, when the same has become effective; and (B) the receipt of any written comments from the Commission with respect to any filing referred to in clause (A) and any written request by the Commission for amendments or supplements to such Shelf Registration Statement or any other registration statement or any prospectus or prospectus supplement thereto;

(vi) immediately notify each Selling Holder, at any time when a prospectus relating thereto is required to be delivered under the Securities Act, of (A) the happening of any event as a result of which the prospectus contained in a Shelf Registration Statement or any other registration statement contemplated by this Agreement or any supplemental amendment thereto, includes an untrue statement of a material fact or omits to state any material fact required to be stated therein or necessary to make the statements therein not misleading in the light of the circumstances then existing; (B) the issuance or threat of issuance (of which the Company has notice) by the Commission of any stop order suspending the effectiveness of such Shelf Registration Statement or any other registration statement contemplated by this Agreement, or the initiation of any proceedings for that purpose; or (C) the receipt by the Company of any notification with respect to the suspension of the qualification of any Registrable Securities for sale under the applicable securities or blue sky laws of any jurisdiction. Following the provision of such notice, the Company agrees to as promptly as practicable amend or supplement the prospectus or prospectus supplement or take other appropriate action so that the prospectus or prospectus supplement does not include an untrue statement of a material fact or omit to state a material fact required to be stated therein or necessary to make the statements therein not misleading in the light of the circumstances then existing and to take such other action as is necessary to remove a stop order, suspension, threat thereof or proceedings related thereto;

(vii) upon request and subject to appropriate confidentiality obligations, furnish to each Selling Holder copies of any and all transmittal letters or other correspondence with the Commission or any other governmental agency or self-regulatory body or other body having jurisdiction (including any domestic or foreign securities exchange) relating to such offering of Registrable Securities;

(viii) in the case of an Underwritten Offering, use reasonable best efforts to furnish upon request a “comfort” letter, dated the pricing date of such Underwritten Offering and a letter of like kind dated the date of the closing under the underwriting agreement, in each case, signed by the independent public accountants who have certified the Company’s financial statements included or incorporated by reference into the applicable registration statement, and the “comfort” letter shall be in customary form and covering substantially the same

 

A-88


Table of Contents

matters with respect to such registration statement (and the prospectus included therein and any supplement thereto) and as are customarily covered in accountants’ letters delivered to the underwriters in underwritten offerings of securities;

(ix) in the case of an Underwritten Offering, use reasonable best efforts to furnish upon request an opinion of counsel to the Company, dated the date of the closing under the underwriting agreement, in form and substance satisfactory to the underwriters of such Underwritten Offering;

(x) otherwise use its reasonable best efforts to comply with all applicable rules and regulations of the Commission and make available to its security holders, as soon as reasonably practicable, an earnings statement covering the period of at least 12 months, but not more than 18 months, beginning with the first full calendar month after the effective date of such registration statement, which earnings statement shall satisfy the provisions of Section 11(a) of the Securities Act and Rule 158 promulgated thereunder;

(xi) make available to the appropriate representatives of the underwriters access to such information and the Company personnel as is reasonable and customary to enable such parties and their representatives to establish a due diligence defense under the Securities Act; provided that the Company need not disclose any non-public information to any such representatives unless and until such representatives have entered into a confidentiality agreement with the Company;

(xii) cause all such Registrable Securities registered pursuant to this Agreement to be listed or quoted on each securities exchange or nationally recognized quotation system on which similar securities issued by the Company are then listed or quoted, and cause to be satisfied all requirements and conditions of such securities exchange or nationally recognized quotation system to the listing or quoting of such Registrable Securities that are reasonably within the control of the Company, including, without limitation, registering the Registrable Securities under the Exchange Act, if appropriate, and using reasonable best efforts to cause such registration to become effective pursuant to the rule of the Commission;

(xiii) use its reasonable best efforts to cause the Registrable Securities to be registered with or approved by such other governmental agencies or authorities as may be necessary by virtue of the business and operations of the Company to enable the Selling Holders to consummate the disposition of such Registrable Securities;

(xiv) provide a transfer agent and registrar for all Registrable Securities covered by such registration statement; and

(xv) enter into customary agreements and take such other actions as are reasonably requested by the Selling Holders in order to expedite or facilitate the disposition of such Registrable Securities.

(c) Each Selling Holder, upon receipt of notice from the Company of the happening of any event of the kind described in Section 2.4(b)(vi), shall forthwith discontinue disposition of the Registrable Securities until such Selling Holder’s receipt of the copies of the supplemented or amended prospectus contemplated by Section 2.4(b)(vi) or until it is advised in writing by the Company that the use of the prospectus may be resumed, and has received copies of any additional or supplemental filings incorporated by reference in the prospectus, and, if so directed by the Company, such Selling Holder will, or will request the Managing Underwriter, if any, to deliver to the Company (at the Company’s expense) all copies in their possession or control, other than permanent file copies then in such Selling Holder’s possession, of the prospectus and any prospectus supplement covering such Registrable Securities current at the time of receipt of such notice.

Section 2.5 Cooperation by Holders. The Company shall have no obligation to include Registrable Securities of a Holder in the Shelf Registration Statement or in an Underwritten Offering under Article II of this Agreement if such Selling Holder has failed to timely furnish such information which, after consultation with its

 

A-89


Table of Contents

counsel, is reasonably required in order for the registration statement or prospectus supplement, as applicable, to comply with the Securities Act.

Section 2.6 Expenses.

(a) Certain Definitions. “Registration Expenses” means all expenses incident to the Company’s performance under or compliance with this Agreement to effect the registration of Registrable Securities in a Shelf Registration Statement pursuant to Section 2.1, a Piggyback Registration pursuant to Section 2.2, or an Underwritten Offering pursuant to Section 2.3 and the disposition of such securities, including, without limitation, all registration, filing, securities exchange listing and fees, all registration, filing, qualification and other fees and expenses of complying with securities or blue sky laws, fees of the Financial Industry Regulatory Authority, transfer taxes and fees of transfer agents and registrars, all word processing, duplicating and printing expenses, all roadshow expenses borne by it and the fees and disbursements of independent public accountants and counsel for the Company, including the expenses of any special audits or “comfort” letters required by or incident to such performance and compliance, and, with respect to any Underwritten Offering, such reasonable fees and expenses of only one counsel to the Holders (which shall be chosen by the Holders of a majority of Registrable Securities to be included in such offering). Except as otherwise provided in Section 2.6 hereof, the Company shall not be responsible for legal fees incurred by Holders in connection with the exercise of such Holders’ rights hereunder. In addition, the Company shall not be responsible for any Selling Expenses allocable to the sale of the Registrable Securities.

(b) Expenses. The Company will pay all reasonable Registration Expenses in connection with a Shelf Registration Statement, Piggyback Registration or Underwritten Offering, whether or not any sale is made pursuant to such Shelf Registration Statement, Piggyback Registration or Underwritten Offering. Each Selling Holder shall pay its pro rata share of all Selling Expenses in connection with any sale of its Registrable Securities hereunder.

Section 2.7 Indemnification.

(a) By the Company. In the event of a registration of any Registrable Securities under the Securities Act pursuant to this Agreement, to the extent permitted by applicable law, the Company will indemnify and hold harmless each Selling Holder thereunder, its directors, officers, partners, members, employees, investment advisers, agents, representatives and managers, and each other Person, if any, who controls such Selling Holder, within the meaning of the Securities Act and the Exchange Act, and the directors, officers, partners, members, employees, investment advisers, agents, representatives and managers of such controlling Person, against any losses, claims, damages, expenses or liabilities (including reasonable attorneys’ fees and expenses), including any of the foregoing incurred in settlement of any litigation commenced or threatened by any party other than a Selling Holder (collectively, “Losses”), joint or several, to which such Selling Holder or controlling Person or directors, officers, employees, agents, representatives or managers may become subject under the Securities Act, the Exchange Act or otherwise, insofar as such Losses (or actions or proceedings, whether commenced or threatened, in respect thereof) arise out of or are based upon any untrue statement or alleged untrue statement of any material fact (in the case of any prospectus, in light of the circumstances under which such statement is made) contained in the Shelf Registration Statement or any other registration statement contemplated by this Agreement, any preliminary prospectus or final prospectus contained therein, or any free writing prospectus related thereto, or any amendment or supplement thereof, or arise out of or are based upon the omission or alleged omission to state therein a material fact required to be stated therein or necessary to make the statements therein (in the case of a prospectus, in light of the circumstances under which they were made) not misleading, and will reimburse each such Selling Holder, its directors, managers, partners, and officers, and each such controlling Person and each such director, officer, partner, employee, agent, representatives or manager for any legal or other expenses reasonably incurred by them in connection with investigating or defending any such Loss or actions or proceedings; provided, however, that the Company will not be liable in any such case if and to the

 

A-90


Table of Contents

extent that any such Loss arises out of or is based upon an untrue statement or alleged untrue statement or omission or alleged omission so made in conformity with information furnished by such Selling Holder or such controlling Person in writing specifically for use in the Shelf Registration Statement or such other registration statement, or prospectus supplement, as applicable. Such indemnity shall remain in full force and effect regardless of any investigation made by or on behalf of such Selling Holder or any such director, officer, partner, member, employee, investment adviser, agent, representatives, manager or controlling Person, and shall survive the transfer of such securities by such Selling Holder.

(b) By Each Selling Holder. Each Selling Holder agrees severally and not jointly to indemnify and hold harmless the Company, its directors, officers, employees, representatives and agents and each Person, if any, who controls the Company within the meaning of the Securities Act or of the Exchange Act to the same extent as the foregoing indemnity from the Company to the Selling Holders, but only with respect to information regarding such Selling Holder furnished in writing by or on behalf of such Selling Holder expressly for inclusion in the Shelf Registration Statement or prospectus supplement relating to the Registrable Securities, or any amendment or supplement thereto. The maximum liability of each Selling Holder for any such indemnification shall not exceed the amount of net proceeds received by such seller from the sale of such Selling Holder’s Registrable Securities.

(c) Notice. Promptly after receipt by an indemnified party hereunder of notice of the commencement of any action, such indemnified party shall, if a claim in respect thereof is to be made against the indemnifying party hereunder, notify the indemnifying party in writing thereof, but the omission so to notify the indemnifying party shall not relieve it from any liability which it may have to any indemnified party other than under this Section 2.7(c) except to the extent that the indemnifying party is materially prejudiced by such failure. In any action brought against any indemnified party, it shall notify the indemnifying party of the commencement thereof. The indemnifying party shall be entitled to participate in and, to the extent it shall wish, to assume and undertake the defense thereof with counsel reasonably satisfactory to such indemnified party and, after notice from the indemnifying party to such indemnified party of its election so to assume and undertake the defense thereof, the indemnifying party shall not be liable to such indemnified party under this Section 2.7 for any legal expenses subsequently incurred by such indemnified party in connection with the defense thereof other than reasonable costs of investigation and of liaison with counsel so selected; provided, however, that, (i) if the indemnifying party has failed to assume the defense and employ counsel reasonably satisfactory to the indemnified party or (ii) if the defendants in any such action include both the indemnified party and the indemnifying party and counsel to the indemnified party shall have concluded that there may be reasonable defenses available to the indemnified party that are different from or additional to those available to the indemnifying party, or if the interests of the indemnified party reasonably may be deemed to conflict with the interests of the indemnifying party or representation by both parties by the same counsel is otherwise inappropriate under the applicable standards of professional conduct, then the indemnified party shall have the right to select a separate counsel and to assume such legal defense and otherwise to participate in the defense of such action, with the reasonable expenses and fees of such separate counsel and other reasonable expenses related to such participation to be reimbursed by the indemnifying party as incurred. Notwithstanding any other provision of this Agreement, the indemnifying party shall not settle any indemnified claim without the consent of the indemnified party, unless the settlement thereof imposes no liability or obligation on, includes a complete release from liability of, and does not contain any admission of wrongdoing by, the indemnified party.

(d) Contribution. If the indemnification provided for in this Section 2.7 is held by a court or government agency of competent jurisdiction to be unavailable to the Company or any Selling Holder or is insufficient to hold them harmless in respect of any Losses, then each such indemnifying party, in lieu of indemnifying such indemnified party, shall contribute to the amount paid or payable by such indemnified party as a result of such Losses in such proportion as is appropriate to reflect the relative fault of the Company on the one hand and of such Selling Holder on the other in connection with the statements or omissions which resulted in such Losses, as well as any other relevant equitable considerations; provided, however, that in no event shall such Selling Holder be required to contribute an aggregate amount in excess of the dollar amount of proceeds

 

A-91


Table of Contents

(net of Selling Expenses) received by such Selling Holder from the sale of Registrable Securities giving rise to such indemnification less the amount of any damages that such Selling Holder has otherwise been required to pay by reason of such untrue or alleged untrue statement or omission or alleged omission. The relative fault of the Company on the one hand and each Selling Holder on the other shall be determined by reference to, among other things, whether the untrue or alleged untrue statement of a material fact or the omission or alleged omission to state a material fact has been made by, or relates to, information supplied by such party, and the parties’ relative intent, knowledge, access to information and opportunity to correct or prevent such statement or omission. The parties hereto agree that it would not be just and equitable if contributions pursuant to this paragraph were to be determined by pro rata allocation or by any other method of allocation which does not take account of the equitable considerations referred to in the first sentence of this paragraph. The amount paid by an indemnified party as a result of the Losses referred to in the first sentence of this paragraph shall be deemed to include any legal and other expenses reasonably incurred by such indemnified party in connection with investigating or defending any Loss which is the subject of this paragraph. No person guilty of fraudulent misrepresentation (within the meaning of Section 11(f) of the Securities Act) shall be entitled to contribution from any Person who is not guilty of such fraudulent misrepresentation.

(e) Other Indemnification. The provisions of this Section 2.7 shall be in addition to any other rights to indemnification or contribution which an indemnified party may have pursuant to law, equity, contract or otherwise.

Section 2.8 Rule 144 Reporting. With a view to making available the benefits of certain rules and regulations of the Commission that may permit the sale of the Registrable Securities to the public without registration, the Company agrees to use its commercially reasonable efforts to:

(a) Make and keep public information regarding the Company available, as those terms are understood and defined in Rule 144;

(b) File with the Commission in a timely manner all reports and other documents required of the Company under the Securities Act and the Exchange Act; and

(c) So long as a Holder, together with its Affiliates, owns any Registrable Securities, (i) unless otherwise available at no charge by access electronically to the Commission’s EDGAR filing system (or any successor system), furnish to such Holder forthwith upon request a copy of the most recent annual or quarterly report of the Company, and such other reports and documents so filed as such Holder may reasonably request in availing itself of any rule or regulation of the Commission allowing such Holder to sell any such securities without registration and (ii) to the extent accurate, furnish to such Holder upon reasonable request a written statement of the Company that it has complied with the reporting requirements of Rule 144.

Section 2.9 Transfer or Assignment of Registration Rights. The rights to cause the Company to register Registrable Securities granted to the Holders by the Company under this Article II may be transferred or assigned by any Holder to one or more transferees or assignees of Registrable Securities; provided, however, that the Company is given written notice prior to any said transfer or assignment, stating the name and address of each such transferee or assignee and identifying the securities with respect to which such registration rights are being transferred or assigned, and each such transferee or assignee assumes in writing responsibility for its portion of the obligations of such Holder under this Agreement.

Section 2.10 Aggregation of Registrable Securities.

(a) All Registrable Securities held or acquired by Persons who are Affiliates of one another shall be aggregated together for the purpose of determining the availability of any rights under this Agreement.

(b) All other shares of Common Stock held by a Person and for which such Person has similar registration rights pursuant to an agreement between such Person and the Company shall be aggregated together

 

A-92


Table of Contents

for the purpose of determining such Person’s rights under this Agreement solely as such shares relate to minimum quantity requirements contemplated herein; provided that, for the avoidance of doubt, such Common Stock shall not otherwise be deemed Registrable Securities for any other purpose under this Agreement.

ARTICLE III

MISCELLANEOUS

Section 3.1 Communications. All notices and demands provided for hereunder shall be in writing and shall be given by overnight delivery to the following addresses (with a copy sent via electronic mail, which shall not constitute notice) or by electronic mail, if this Agreement expressly provides for such means of delivery of any such notice or demand:

(a) if to any Holder other than the Original Holders, to the address provided pursuant to Section 2.9, and if to the Original Holders, to:

The Heritage Group

5400 W. 86th Street

Indianapolis, Indiana 46268

Attention: Amy Schumacher; David Rosen

Email: ams@thgrp.com; drosen@thgrp.com

With copies (which shall not constitute notice) to:

Kirkland & Ellis LLP

609 Main Street

Houston, Texas 77002

Attention: Sean T. Wheeler

Email: Sean.Wheeler@kirkland.com

(b) If to the Company:

Calumet, Inc.

2780 Waterfront Parkway East Drive, Suite 200

Indianapolis, Indiana 46214

Attention: Greg Morical

Email: greg.morical@calumetspecialty.com

With a copy (which shall not constitute notice) to:

Gibson, Dunn & Crutcher LLP

811 Main Street Suite 3000

Houston, Texas 77002

Attention: Hillary H. Holmes

Email: HHolmes@gibsondunn.com

Section 3.2 Successors and Assigns. This Agreement shall be binding upon and inure to the benefit of the parties of this Agreement and their respective successors and assigns. No party may assign either this Agreement or any of its rights, interests or obligations hereunder without the prior written approval of the other parties except as provided for in accordance with Sections 2.9 and 3.3.

Section 3.3 Assignment of Rights. All or any portion of the rights and obligations of any Holder under this Agreement may be transferred or assigned by such Holder in accordance with Section 2.9 hereof.

 

A-93


Table of Contents

Section 3.4 Recapitalization (Exchanges, etc. Affecting the Registrable Securities). The provisions of this Agreement shall apply to the full extent set forth herein with respect to any and all shares of capital stock of the Company or any successor or assign of the Company (whether by merger, consolidation, sale of assets or otherwise) which may be issued in respect of, in exchange for or in substitution of, the Registrable Securities, and shall be appropriately adjusted for combinations, recapitalizations and the like occurring after the date of this Agreement.

Section 3.5 Specific Performance. Damages in the event of breach of this Agreement by a party hereto would be difficult, if not impossible, to ascertain, and it is therefore agreed that each such Person, in addition to and without limiting any other remedy or right it may have, will have the right to an injunction or other equitable relief in any court of competent jurisdiction, enjoining any such breach, and enforcing specifically the terms and provisions hereof, and each of the parties hereto hereby waives (a) any and all defenses it may have on the ground of lack of jurisdiction or competence of the court to grant such an injunction or other equitable relief or that a remedy at law would be adequate and (b) any requirement under any law to post securities as a prerequisite to obtaining equitable relief. The existence of this right will not preclude any such Person from pursuing any other rights and remedies at law or in equity which such Person may have.

Section 3.6 Counterparts. This Agreement may be executed in one or more counterparts, each of which shall be deemed an original, and all of which, when taken together, shall be deemed one agreement. Delivery of an executed counterpart of a signature page of this Agreement by facsimile or other electronic image scan or transmission shall be effective as delivery of a manually executed counterpart of this Agreement.

Section 3.7 Headings. The headings in this Agreement are for convenience of reference only and shall not limit or otherwise affect the meaning hereof.

Section 3.8 Governing Law, Submission to Jurisdiction. This Agreement and any dispute, controversy of claim arising out of or relating to this Agreement shall be governed by, and construed and enforced in accordance with, the laws of the State of Delaware, applicable to contracts executed in and to be performed entirely within that State, without giving effect to principles or rules of conflict of laws. In any judicial proceeding involving any dispute, controversy or claim arising out of or relating to this Agreement, each of the parties unconditionally accepts the jurisdiction and venue of the Delaware Court of Chancery or, if the Delaware Court of Chancery does not have subject matter jurisdiction over this matter, the Superior Court of the State of Delaware (Complex Commercial Division) or, if jurisdiction over the matter is vested exclusively in federal courts, the United States District Court for the District of Delaware, and the appellate courts to which orders and judgments thereof may be appealed. In any such judicial proceeding, the parties agree that in addition to any method for the service of process permitted or required by such courts, to the fullest extent permitted by applicable law, service of process may be made by delivery provided pursuant to the directions in Section  3.1.

Section 3.9 Waiver of Jury Trial. EACH OF THE PARTIES HEREBY WAIVES TO THE FULLEST EXTENT PERMITTED BY APPLICABLE LAW TRIAL BY JURY IN ANY JUDICIAL PROCEEDING INVOLVING ANY DISPUTE, CONTROVERSY OR CLAIM ARISING OUT OF OR RELATING TO THIS AGREEMENT.

Section 3.10 Severability. Whenever possible, each provision of this Agreement shall be interpreted in such manner as to be effective and valid under applicable law, but if any provision of this Agreement is held to be invalid, illegal or unenforceable in any respect under any applicable law in any jurisdiction, such invalidity, illegality or unenforceability shall not affect any other provision or any other jurisdiction, but this Agreement shall be reformed, construed and enforced in such jurisdiction as if such invalid, illegal or unenforceable provision had never been contained herein.

Section 3.11 Entire Agreement. This Agreement and the Conversion Agreement are intended by the parties as a final expression of their agreement and intended to be a complete and exclusive statement of the agreement

 

A-94


Table of Contents

and understanding of the parties hereto in respect of the subject matter contained herein or therein. There are no restrictions, promises, warranties or undertakings, other than those set forth or referred to herein or therein with respect to the rights granted by the Company set forth herein or therein. This Agreement and the Conversion Agreement supersede all prior agreements and understandings between the parties with respect to such subject matter.

Section 3.12 Term; Amendment. This Agreement shall automatically terminate and be of no further force and effect on the date on which there are no Registrable Securities. This Agreement may be amended only by means of a written amendment signed by the Company and the Holders of a majority of the then outstanding Registrable Securities; provided, however, that no such amendment shall materially and adversely affect the rights of any Holder hereunder without the consent of such Holder.

Section 3.13 No Presumption. In the event any claim is made by a party relating to any conflict, omission, or ambiguity in this Agreement, no presumption or burden of proof or persuasion shall be implied by virtue of the fact that this Agreement was prepared by or at the request of a particular party or its counsel.

Section 3.14 Obligations Limited to Parties to Agreement. Each of the parties hereto covenants, agrees and acknowledges that no Person other than the Holders, Selling Holders, their respective permitted assignees and the Company shall have any obligation hereunder and that, notwithstanding that one or more of the Company and the Holders may be a corporation, partnership or limited liability company, no recourse under this Agreement or under any documents or instruments delivered in connection herewith or therewith shall be had against any former, current or future director, officer, employee, agent, general or limited partner, manager, member, equityholder or Affiliate of any of the Company, the Holders, Selling Holders or their respective permitted assignees, or any former, current or future director, officer, employee, agent, general or limited partner, manager, member, equityholder or Affiliate of any of the foregoing, whether by the enforcement of any assessment or by any legal or equitable proceeding, or by virtue of any applicable law, it being expressly agreed and acknowledged that no personal liability whatsoever shall attach to, be imposed on or otherwise by incurred by any former, current or future director, officer, employee, agent, general or limited partner, manager, member, equityholder or Affiliate of any of the Company, the Holders, Selling Holders or any of their respective assignees, or any former, current or future director, officer, employee, agent, general or limited partner, manager, member, equityholder or Affiliate of any of the foregoing, as such, for any obligations of the Company, the Holders, Selling Holders or their respective permitted assignees under this Agreement or any documents or instruments delivered in connection herewith or therewith or for any claim based on, in respect of or by reason of such obligation or its creation, except in each case for any assignee of the Holders or a Selling Holder hereunder.

Section 3.15 Other Registration Rights. The Company shall not, without the prior written consent of Holders of a majority of the Registrable Securities under this Agreement, enter into any agreement with any current or future holder of any securities of the Company that would allow such current or future holder to require the Company to include securities in any registration statement filed by the Company for other Holders on a basis other than expressly subordinate to the rights of the Holders of Registrable Securities hereunder. This Section 3.15 shall terminate and be of no further force and effect at such time as the Original Holders collectively beneficially own an aggregate number of shares of Common Stock representing less than 5% of the outstanding shares of Common Stock.

Section 3.16 Interpretation. Article and Section references in this Agreement are references to the corresponding Article and Section to this Agreement, unless otherwise specified. All references to instruments, documents, contracts and agreements are references to such instruments, documents, contracts and agreements as the same may be amended, supplemented and otherwise modified from time to time, unless otherwise specified. The word “including” shall mean “including but not limited to.” Whenever any determination, consent or approval is to be made or given by a Holder under this Agreement, such action shall be in such Holder’s sole discretion unless otherwise specified.

[Remainder of Page Intentionally Left Blank; Signatures Follow]

 

A-95


Table of Contents

IN WITNESS WHEREOF, the parties have executed this Agreement as of the date first written above.

 

CALUMET, INC.
By:    
Name:  
Title:  

[Signatures continue on following page.]

 

 

Signature Page to Registration Rights Agreement

A-96


Table of Contents

ORIGINAL HOLDERS:

 

THE HERITAGE GROUP
By:    
  Name: Amy Schumacher
  Title: Chief Executive Officer

 

IRREVOCABLE INTERVIVOS TRUST NUMBER 12.27.73 FOR THE BENEFIT OF FRED MEHLERT FEHSENFELD, JR. AND HIS ISSUE U/A DATED DECEMBER 18, 2012
By:    
  Name: Amy Schumacher
  Title: Trustee

 

MAGGIE FEHSENFELD TRUST NUMBER 106 12.30.74 FOR THE BENEFIT OF FRED MEHLERT FEHSENFELD, JR. AND HIS ISSUE U/A DATED DECEMBER 18, 2012
By:    
  Name: Amy Schumacher
  Title: Trustee

 

THE HERITAGE GROUP INVESTMENT COMPANY, LLC
By:    
  Name:
  Title:

 

CALUMET, INCORPORATED
By:    
  Name:
  Title:

 

 

Signature Page to Registration Rights Agreement

A-97


Table of Contents

 

JAMES C FEHSENSELD REVOCABLE TRUST
By:    
  Name:
  Title:

 

FRED M FEHSENSELD, JR. REVOCABLE TRUST U/A 01/28/20
By:    
  Name: Fred M. Fehsenfeld
  Title: Trustee

 

SUZANNE M FEHSENSELD REVOCABLE TRUST U/A 01/28/20
By:    
  Name: Suzanne M. Fehsenfeld
  Title: Trustee

 

PAUL JAMES SCHUMACHER & AMY MAE SCHUMACHER JOINT ACCOUNT
By:    
  Name:
  Title:

JENNIFER STRAUMINS

WILLIAM GRUBE JR.

 

 

Signature Page to Registration Rights Agreement

A-98


Table of Contents

Exhibit F

Stockholders Agreement

See attached.

 

A-99


Table of Contents

Final Form

STOCKHOLDERS’ AGREEMENT

of

CALUMET, INC.

Dated as of []

 

A-100


Table of Contents

TABLE OF CONTENTS

 

               Page  

ARTICLE I DEFINITIONS

     A-102  

   SECTION 1.1.    Definitions      A-102  
   SECTION 1.2.    Construction      A-105  

ARTICLE II CORPORATE GOVERNANCE

     A-105  
   SECTION 2.1.    Board of Directors      A-105  
   SECTION 2.2.    Committees      A-107  
   SECTION 2.3.    Consent Rights      A-107  
   SECTION 2.4.    Permitted Disclosure      A-107  

ARTICLE III MISCELLANEOUS

     A-107  
   SECTION 3.1.    Action of the Stockholders      A-107  
   SECTION 3.2.    Termination      A-107  
   SECTION 3.3.    Amendments and Waivers      A-108  
   SECTION 3.4.    Successors, Assigns and Transferees      A-108  
   SECTION 3.5.    Rights of Third Parties      A-108  
   SECTION 3.6.    Notices      A-108  
   SECTION 3.7.    Further Assurances      A-109  
   SECTION 3.8.    Entire Agreement      A-109  
   SECTION 3.9.    Restrictions on Other Agreements; Bylaws      A-109  
   SECTION 3.10.    Delays or Omissions      A-109  
   SECTION 3.11.    Governing Law; Jurisdiction; Waiver of Jury Trial      A-110  
   SECTION 3.12.    Severability      A-110  
   SECTION 3.13.    Enforcement      A-110  
   SECTION 3.14.    Titles and Subtitles      A-110  
   SECTION 3.15.    No Recourse      A-110  
   SECTION 3.16.    Counterparts; Electronic Signatures      A-111  
   SECTION 3.17.    Effectiveness      A-111  

Exhibits

Exhibit A — Assignment and Assumption Agreement

Schedule A – Certain Affiliates of THG Investor

 

A-101


Table of Contents

STOCKHOLDERS’ AGREEMENT

THIS STOCKHOLDERS’ AGREEMENT (as the same may be amended from time to time in accordance with its terms, the “Agreement”) is entered into as of [●], by and among Calumet, Inc., a Delaware corporation (the “Company”), and The Heritage Group (the “THG Investor”).

RECITALS

WHEREAS, the Company entered into that certain Conversion Agreement, dated [●] (the “Conversion Agreement”), by and among Calumet Specialty Products Partners, L.P., a Delaware limited partnership (“CLMT”), the Company, Calumet Merger Sub I LLC, a Delaware limited liability company and a wholly owned subsidiary of the Company (“Merger Sub I”), Calumet Merger Sub II LLC, a Delaware limited liability company and a wholly owned subsidiary of the Company (“Merger Sub II”), Calumet GP, LLC, a Delaware limited liability company and the general partner of CLMT (the “General Partner”), and the other parties to the Conversion Agreement;

WHEREAS, pursuant to the Conversion Agreement, (i) Merger Sub II shall merge with and into CLMT, with CLMT continuing as the surviving entity and as a subsidiary of the General Partner and the Company (the “CLMT Merger”), and (ii) immediately after the CLMT Merger, Merger Sub I shall merge with and into the General Partner, with the General Partner continuing as the surviving entity and a wholly owned subsidiary of the Company (together with the CLMT Merger and the other transactions contemplated by the Conversion Agreement, the “Conversion”);

WHEREAS, in connection with the Conversion, (i) each CLMT Common Unit (as defined in the Conversion Agreement) issued and outstanding as of immediately prior to the effective time of the CLMT Merger will be exchanged into the right to receive one share of Common Stock (as defined below) and (ii) each member of the General Partner will exchange its equity interests in the General Partner for Common Stock and warrants to purchase Common Stock; and

WHEREAS, in connection with, and effective upon, the date of completion of the Conversion (the “Closing Date”), the parties hereto desire to enter into this Agreement to govern certain of the THG Investor’s rights, duties and obligations with respect to its ownership of Common Stock after consummation of the Conversion.

NOW, THEREFORE, in consideration of the mutual covenants contained herein and other good and valuable consideration, the receipt and sufficiency of which are hereby acknowledged, the parties to this Agreement hereby agree as follows:

ARTICLE I

DEFINITIONS

SECTION 1.1. Definitions. Capitalized terms used herein shall have the following meanings:

Affiliate” shall mean, (i) with respect to any Person (other than the THG Investor), an “affiliate” as defined in Rule 405 of the regulations promulgated under the Securities Act, and (ii) with respect to the THG Investor, an “affiliate” as defined in Rule 405 of the regulations promulgated under the Securities Act, and its and their respective related trusts (including charitable trusts), trustees, family members, successors, and assigns and any investment fund, vehicle or holding company of which the THG Investor or an Affiliate of the THG Investor serves as the general partner, managing member or discretionary manager or advisor. For the avoidance of doubt, each Person listed on Schedule A shall constitute an Affiliate of the THG Investor for purposes of this Agreement.

 

A-102


Table of Contents

Agreement” shall have the meaning set forth in the Preamble.

Applicable Law” means any applicable statute, law, regulation, ordinance, rule, judgment, rule of law (including common law), decree, permit, requirement, or other governmental restriction or any similar form of decision of, or any provision or condition issued under any of the foregoing by, or any determination by any Governmental Authority having or asserting jurisdiction over the matter or matters in question, whether now or hereafter in effect and in each case as amended (including all of the terms and provisions of the common law of such Governmental Authority), as interpreted and enforced at the time in question.

beneficial owner” means, with respect to any security, any Person who directly or indirectly, through any contract, arrangement, understanding, relationship or otherwise, has or shares (a) voting power, which includes the power to vote, or to direct the voting of, such security or (b) investment power, which includes the power to dispose, or to direct the disposition of, such security. The terms “beneficially own” and “beneficial ownership” shall have correlative meanings.

Board” shall mean the board of directors of the Company.

Business Day” means Monday through Friday of each week, except that a legal holiday recognized as such by the government of the United States of America or where federal banks are closed in the States of Delaware, Texas and New York shall not be regarded as a Business Day.

Bylaws” shall mean the Amended and Restated Bylaws of the Company, as in effect on the date hereof and as the same may be amended, supplemented or otherwise modified from time to time in accordance with the terms thereof, the terms of the Charter and the terms of this Agreement.

Charter” shall mean the Amended and Restated Certificate of Incorporation of the Company, as in effect on the date hereof and as the same may be amended, supplemented or otherwise modified from time to time in accordance with the terms thereof and the terms of this Agreement.

CLMT” shall have the meaning set forth in the Recitals.

CLMT Merger” shall have the meaning set forth in the Recitals.

Closing Date” shall have the meaning set forth in the Recitals.

Common Stock” shall mean the common stock, par value $0.01 per share, of the Company and any securities issued in respect thereof, or in substitution therefor, in connection with any stock split, dividend or combination, or any reclassification, recapitalization, merger, consolidation, exchange or other similar reorganization.

Company” shall have the meaning set forth in the Preamble.

control” (including the terms “controlling”, “controlled by” and “under common control with”), with respect to the relationship between or among two or more Persons, shall mean the possession, directly or indirectly, of the power to direct or cause the direction of the affairs or management of a Person, whether through the ownership of voting securities, as trustee or executor, by contract or otherwise.

Conversion” shall have the meaning set forth in the Recitals.

Conversion Agreement” shall have the meaning set forth in the Recitals.

Credit Agreement” shall have the meaning set forth in Section 2.1.

 

A-103


Table of Contents

Director” shall mean any member of the Board.

Equity Securities” shall mean any and all shares of (i) Common Stock, (ii) preferred stock of the Company, and (iii) any equity securities (including, without limitation, preferred stock) of the Company convertible into, or exchangeable or exercisable for, any of the foregoing shares, and options, warrants or other rights to acquire any of the foregoing shares or other securities.

Exchange Act” shall mean the Securities Exchange Act of 1934, as amended from time to time, and the rules and regulations promulgated pursuant thereto.

General Partner” shall have the meaning set forth in the Recitals.

Governmental Authority” means any applicable multinational, foreign, federal, state, local or other governmental statutory or administrative authority, regulatory body or commission or any court, tribunal or judicial or arbitral authority which has any jurisdiction over a matter.

Merger Sub I” shall have the meaning set forth in the Recitals.

Merger Sub II” shall have the meaning set forth in the Recitals.

Necessary Action” means, with respect to a specified result, all actions (to the extent such actions are permitted by Applicable Law and, in the case of any action by the Company that requires a vote or other action on the part of the Board, to the extent such action is consistent with the fiduciary duties that the Company’s directors have in such capacity) necessary to cause such result, including (a) voting or providing a written consent or proxy with respect to shares of Common Stock or other securities entitled to vote with respect to such specified result, (b) causing the adoption of stockholders’ resolutions and amendments to the organizational documents of the Company, (c) causing members of the Board (to the extent such members were designated by the Person obligated to undertake the Necessary Action) to act (subject to any applicable fiduciary duties) in a certain manner or causing them to be removed in the event they do not act in such a manner, (d) executing agreements and instruments and (e) making or causing to be made, with governmental, administrative or regulatory authorities, all filings, registrations or similar actions that are required to achieve such result.

Permitted Transferee” shall mean any Person that is an Affiliate of the THG Investor to whom the THG Investor or another Affiliate of the THG Investor Transfers Equity Securities of the Company in accordance with the terms hereof; provided, however, that such transferee shall agree in a writing in the form attached as Exhibit A hereto to be bound by and to comply with all applicable provisions of this Agreement.

Person” shall mean any individual, corporation, partnership, trust, joint stock company, business trust, unincorporated association, joint venture or other entity of any nature whatsoever.

Registration Rights Agreement” shall mean the Registration Rights Agreement, dated as of [•], by and among the Company and the holders party thereto, as the same may be amended from time to time in accordance with its terms.

Securities Act” shall mean the Securities Act of 1933, as amended from time to time, and the rules and regulations promulgated pursuant thereto.

Stock Exchange” shall mean The Nasdaq Stock Market LLC or such other securities exchange or interdealer quotation system on which shares of Common Stock are then listed or quoted.

Stockholder” or “Stockholders” shall mean the THG Investor and its Permitted Transferees.

 

A-104


Table of Contents

Subsidiary” shall mean, with respect to an entity, (i) any corporation of which a majority of the securities entitled to vote generally in the election of directors thereof, at the time as of which any determination is being made, are owned by such entity, either directly or indirectly, and (ii) any joint venture, general or limited partnership, limited liability company or other legal entity in which the entity is the record or beneficial owner, directly or indirectly, of a majority of the voting interests or the general partner.

THG Designee” shall mean any Director designated by the Stockholders pursuant to Section 2.1(a) of this Agreement.

THG Investor” shall have the meaning set forth in the Preamble.

Transfer” shall mean, directly or indirectly, to sell, transfer, assign, encumber, hypothecate or similarly dispose of, either voluntarily or involuntarily, or to enter into any contract, option or other arrangement or understanding with respect to the sale, transfer, assignment, encumbrance, hypothecation or similar disposition of, any shares of Equity Securities beneficially owned by a Person or any interest in any shares of Equity Securities beneficially owned by a Person.

SECTION 1.2. Construction. Whenever the context requires, the gender of all words used in this Agreement includes the masculine, feminine and neuter forms and the singular form of words shall include the plural and vice versa. All references to Articles and Sections refer to articles and sections of this Agreement. Whenever the words “include,” “includes” or “including” are used in this Agreement, they shall be deemed to be followed by the words “without limitation.” This Agreement shall be construed without regard to any presumption or rule requiring construction or interpretation against the party drafting or causing any instrument to be drafted. Any percentage set forth herein shall be deemed to be automatically adjusted without any action on the part of any party hereto to take into account any stock split, stock dividend or similar transaction occurring after the date of this Agreement so that the rights provided to the Stockholders shall continue to apply to the same extent such rights would have applied absent such stock split, stock dividend or similar transaction.

ARTICLE II

CORPORATE GOVERNANCE

SECTION 2.1. Board of Directors.

(a) Following the Closing Date, the Stockholders shall have the right, but not the obligation, to designate for nomination by the Company to the Board a number of designees equal to: (i) two Directors so long as the Stockholders and their respective Affiliates collectively beneficially own 16.7% or more of the outstanding shares of Common Stock; and (ii) one Director in the event that the Stockholders and their respective Affiliates collectively beneficially own less than 16.7% but more than 5% of the outstanding shares of Common Stock; provided, that the Stockholders shall permanently, and despite any later increase in their beneficial ownership, no longer be entitled to designate a Director nominee at such time as the Stockholders and their respective Affiliates collectively beneficially own Common Stock representing less than 5% of the outstanding shares of Common Stock; provided, further, that the Board and the Company shall not change the class designation of the THG Designees following the Closing Date without the prior written approval of the Stockholders. The Company and the Stockholders agree that the Directors, including the THG Designees, will be appointed in a way that does not result in a Change of Control (as defined in the Credit Agreement) under the Third Amended and Restated Credit Agreement (the “Credit Agreement”), dated as of February 23, 2018, by and among Calumet Specialty Products Partners, L.P. and certain of its subsidiaries as Borrowers, certain of its subsidiaries as Guarantors, the Lenders, Bank of America, N.A., as Agent, JPMorgan Chase Bank, N.A and Wells Fargo Bank, N.A., as Co-Syndication Agents, as amended from time to time.

(b) Effective as of the Closing Date, the THG Designees shall initially be [●] and [●].

 

A-105


Table of Contents

(c) Except as otherwise required by law or the Charter, with respect to any action or decision of the Company or its Subsidiaries requiring the approval of the Board (or any committee thereof on which any of the THG Designees serves), so long as the Stockholders and their respective Affiliates collectively beneficially own 15% or more of the outstanding shares of Common Stock, the attendance of at least one THG Designee shall be required to constitute a quorum of the Board (or any such committee) for the transaction of business with respect to such action or decision unless each THG Designee provides notice in writing or by electronic transmission to the remaining members of the Board, the Chairman of the Board or the Secretary of the Company waiving his or her right to be included in the quorum at such meeting; provided, however, that this Section 2.1(c) shall not apply to any Board meeting or committee meeting necessary to address any catastrophe or other similar emergency condition for the Company or in the case of any other emergency (as defined in Section 110 of the DGCL). Notwithstanding the foregoing, if there is less than a quorum at any meeting of the Board (or any committee thereof on which any of the THG Designees serves), a majority of the directors of the Company present may adjourn the meeting to a time no earlier than five Business Days after written notice of such adjournment has been given to each Director of the Company not then in attendance. If a THG Designee is not present at the next meeting following an adjournment, then the presence of a number of Directors of the Company exceeding 50% of the entire Board (or exceeding 50% of the entire committee, as applicable) entitled to vote shall constitute a quorum for the next meeting.

(d) The Company agrees, to the fullest extent permitted by Applicable Law (including with respect to fiduciary duties under Delaware law), to take, or cause to be taken, all Necessary Action, and, if applicable, the Stockholders agree to vote their respective shares, to cause the election of each THG Designee to the Board, which such Necessary Action shall include, without limitation, (i) nominating and recommending each THG Designee to be elected as a director and included in the slate of nominees to be elected or appointed to the Board at the next (and each applicable subsequent) annual or special meeting of stockholders, (ii) recommending that stockholders vote in favor of any such THG Designee, (iii) soliciting proxies or consents in favor of each THG Designee, and (iv) without limiting the foregoing, otherwise using its best efforts to cause such nominees who are THG Designees to be elected to the Board, including providing at least as high a level of support for the election of such nominees as it provides to any other individual standing for election as a director. For the avoidance of doubt, the rights granted to the Stockholders to designate members of the Board are additive to, and not intended to limit in any way, the rights that the Stockholder may have to nominate, elect or remove directors under the Charter, the Bylaws or the Delaware General Corporation Law.

(e) In the event that a vacancy is created at any time by the death, disability, retirement, resignation or removal (with or without cause) of any Director designated by the Stockholders pursuant to this Section 2.1, the remaining Directors and the Company shall, to the fullest extent permitted by Applicable Law (including with respect to fiduciary duties under Delaware law), cause the vacancy created thereby to be filled by a new designee of the Stockholders as soon as possible unless the Stockholders have ceased to have the right under this Agreement to fill such vacancy, and the Company hereby agrees to take, to the fullest extent permitted by Applicable Law (including with respect to fiduciary duties under Delaware law), at any time and from time to time, all Necessary Action to accomplish the same, including calling a special meeting of the Board or the stockholders of the Company.

(f) In the event that the Stockholders shall cease to have the right to designate one or more Director(s) pursuant to this Section 2.1, the THG Designee(s) selected by the Stockholders shall continue to serve until his or her term expires at the next applicable annual meeting of stockholders of the Company or until his earlier death, resignation, removal, retirement or disqualification. In the event such THG Designee resigns or is removed in accordance with this Section 2.1(f), the Directors remaining in office shall be entitled to decrease the size of the Board to eliminate such vacancy and no consent under Section 2.3 shall be required in connection with such decrease.

(g) The Company shall reimburse the THG Designee(s) for their reasonable out-of-pocket expenses incurred by them in connection with performing his or her duties as a member of the Board (or any committee thereof),

 

A-106


Table of Contents

including the reasonable out-of-pocket expenses incurred by such person for attending meetings of the Board (or any committee thereof), or in connection with their service on the board or other similar governing body of any Subsidiary of the Company (or any committee thereof). In addition, the THG Designee(s) shall be entitled to compensation consistent with the Director compensation received by other Directors, including any committee fees and equity awards. If the Company adopts a policy that Directors own a minimum amount of equity in the Company, the THG Designee(s) shall not be subject to such policy.

SECTION 2.2. Committees. For so long as the Stockholders have the right to designate a THG Designee pursuant to Section 2.1, the Company agrees, to the fullest extent permitted by Applicable Law (including with respect to fiduciary duties under Delaware law), to take, or cause to be taken, all Necessary Action, to include at least one THG Designee on each committee of the Board; provided that the ability of any THG Designee to serve on a committee and the Company’s obligation under this Section 2.2 shall be subject to the Company’s obligation to comply with any applicable independence requirements of the Stock Exchange, the Securities and Exchange Commission and state law.

SECTION 2.3. Consent Rights. Until the earlier of (i) the Stockholders and their respective Affiliates first ceasing to collectively beneficially own at least 5% of the outstanding shares of Common Stock, and (ii) the third anniversary of the Closing Date, the following actions by the Company or any of its Subsidiaries shall require the approval, in addition to any approval by the stockholders of the Company or the Board’s approval (or the approval of the required governing body of any Subsidiary of the Company as required by such Subsidiary’s organizational documents) required by Applicable Law, the Charter or Bylaws of the Company, of the Stockholders:

(a) any amendment, modification or restatement of the Charter or Bylaws of the Company or the organizational documents of any Subsidiary of the Company that is a “significant subsidiary” as defined in Rule 1-02 of Regulation S-X under the Exchange Act;

(b) subject to Section 2.1(f), any increase or decrease in the size of the Board;

(c) terminating the employment of the Chief Executive Officer of the Company or hiring a new Chief Executive Officer of the Company, or removing the Chairperson of the Board or appointing a new Chairperson of the Board; and

(d) initiating a voluntary liquidation, dissolution, receivership, bankruptcy or other insolvency proceeding involving the Company or any Subsidiary of the Company that is a “significant subsidiary” as defined in Rule 1-02 of Regulation S-X under the Exchange Act.

SECTION 2.4. Permitted Disclosure. Each THG Designee is permitted to disclose to the Stockholders information about the Company and its Affiliates that he or she receives as a result of being a Director, subject to his or her fiduciary duties under Delaware law and compliance with Applicable Law.

ARTICLE III

MISCELLANEOUS

SECTION 3.1. Action of the Stockholders. The Stockholders agree that any action to be taken or consented to by the Stockholders under this Agreement (including any amendments or waivers of this Agreement under Section 3.3) shall require only the approval of Stockholders holding at least a majority of the outstanding Common Stock held by the Stockholders in the aggregate.

SECTION 3.2. Termination. Subject to the early termination of any provision as a result of an amendment to this Agreement agreed to by the Board and the Stockholders as provided under Section 3.3, (i) the provisions

 

A-107


Table of Contents

of Article II shall, with respect to each Stockholder, terminate as provided in the applicable Section of Article II, and (ii) this Article III shall not terminate. Nothing herein shall relieve any party from any liability for the breach of any of the agreements set forth in this Agreement.

SECTION 3.3. Amendments and Waivers. Except as otherwise provided herein, no modification, amendment, restatement, amendment and restatement, or waiver of any provision of this Agreement shall be effective without the approval of the Board and the Stockholders; provided, however, that any Stockholder may waive (in writing) the benefit of any provision of this Agreement with respect to itself for any purpose; provided, further, that any such modification, amendment, restatement, amendment and restatement or waiver that would disproportionately and adversely affect the rights of any Stockholder hereunder (in its capacity as a Stockholder) without similarly affecting the rights hereunder of all Stockholders (in their capacities as Stockholders) having the same rights or obligations under this Agreement to which such modification, amendment, restatement, amendment and restatement or waiver relates, as the case may be, shall not be effective as to such Stockholder without such Stockholder’s prior written consent. The failure of any party to enforce any of the provisions of this Agreement shall in no way be construed as a waiver of such provisions and shall not affect the right of such party thereafter to enforce each and every provision of this Agreement in accordance with its terms. Any written amendment, restatement, amendment and restatement, or waiver to this Agreement that receives the vote or consent of the Stockholders provided herein need not be signed by all Stockholders, but shall be effective in accordance with its terms and shall be binding upon all Stockholders.

SECTION 3.4. Successors, Assigns and Transferees. This Agreement shall bind and inure to the benefit of and be enforceable by the parties hereto and their respective successors and permitted assigns. This Agreement may not be assigned without the express prior written consent of the other parties hereto, and any attempted assignment, without such consents, will be null and void; provided, however, that the THG Investor shall be entitled to assign, in whole or in part, any of its rights hereunder to any of its Permitted Transferees without such prior written consent.

SECTION 3.5. Rights of Third Parties. The rights of the Stockholders pursuant to this Agreement are personal to the Stockholders and shall not be exercised by any Person. Except as may otherwise be expressly provided in this Agreement, this Agreement does not create any rights, claims or benefits inuring to any person that is not a party hereto nor create or establish any third party beneficiary hereto.

SECTION 3.6. Notices. All notices and other communications required or permitted under this Agreement shall be in writing and shall be deemed effectively given: (a) when delivered personally by hand to the party to be notified (with written confirmation of receipt), (b) when sent by e-mail (with written confirmation of transmission or if no failure to deliver message is generated), (c) when received or rejected by the addressee if sent by registered or certified mail, postage prepaid, return receipt requested, or (d) one Business Day following the day sent by reputable overnight courier (with written confirmation of receipt), in each case at the following addresses (or to such other address as a party may have specified by notice given to the other party pursuant to this provision):

 

  (i)

if to the Company, to:

Calumet, Inc.

2780 Waterfront Parkway East Drive, Suite 200

Indianapolis, Indiana 46214

Attention: Greg Morical

Email: greg.morical@calumetspecialty.com

 

A-108


Table of Contents

With a copy (which shall not constitute notice) to:

Gibson, Dunn & Crutcher LLP

811 Main Street Suite 3000

Houston, Texas 77002

Attention: Hillary H. Holmes

Email: HHolmes@gibsondunn.com

 

  (ii)

if to the Stockholders, to:

The Heritage Group

5400 W. 86th Street

Indianapolis, Indiana 46268

Attention: Amy Schumacher; David Rosen

Email: ams@thgrp.com; drosen@thgrp.com

With copies (which shall not constitute notice) to:

Kirkland & Ellis LLP

609 Main Street

Houston, Texas 77002

Attention: Sean T. Wheeler

Email: Sean.Wheeler@kirkland.com

SECTION 3.7. Further Assurances. At any time or from time to time after the date hereof, the parties agree to cooperate with each other, and at the request of any other party, to execute and deliver any further instruments or documents and to take all such further action as the other party may reasonably request in order to evidence or effectuate the consummation of the transactions contemplated hereby and to otherwise carry out the intent of the parties hereunder.

SECTION 3.8. Entire Agreement. This Agreement sets forth the entire understanding of the parties hereto with respect to the subject matter hereof. There are no agreements, representations, warranties, covenants or understandings with respect to the subject matter hereof or thereof other than those expressly set forth herein and therein. This Agreement supersedes all other prior agreements and understandings between the parties with respect to such subject matter.

SECTION 3.9. Restrictions on Other Agreements; Bylaws.

(a) Following the date hereof, no Stockholder shall enter into or agree to be bound by any stockholder agreements or arrangements of any kind with any Person with respect to any Equity Securities except pursuant to the agreements specifically contemplated herein and in the Conversion Agreement, the Registration Rights Agreement, the Warrant Agreement (as defined in the Conversion Agreement), and each of the other documents and agreements contemplated hereby and thereby.

(b) The provisions of this Agreement shall be controlling if any such provisions or the operation thereof conflict with the provisions of the Company’s Bylaws. Each of the Stockholders covenants and agrees to vote their Equity Securities and to take any other action reasonably requested by the Company or any other Stockholder to amend the Company’s Bylaws so as to avoid any conflict with the provisions hereof.

SECTION 3.10. Delays or Omissions. It is agreed that no delay or omission to exercise any right, power or remedy accruing to any party, upon any breach, default or noncompliance by another party under this Agreement, shall impair any such right, power or remedy, nor shall it be construed to be a waiver of any such breach, default or noncompliance, or any acquiescence therein, or of or in any similar breach, default or noncompliance thereafter occurring. It is further agreed that any waiver, permit, consent or approval of any kind or character on

 

A-109


Table of Contents

the part of any party hereto of any breach, default or noncompliance under this Agreement or any waiver on such party’s part of any provisions or conditions of this Agreement, must be in writing and shall be effective only to the extent specifically set forth in such writing. All remedies, either under this Agreement, by law, or otherwise afforded to any party, shall be cumulative and not alternative.

SECTION 3.11. Governing Law; Jurisdiction; Waiver of Jury Trial.

(a) This Agreement and any dispute, controversy or claim arising out of or relating to this Agreement shall be governed by, and construed and enforced in accordance with, the laws of the State of Delaware, applicable to contracts executed in and to be performed entirely within that State, without giving effect to principles or rules of conflict of laws.

(b) In any judicial proceeding involving any dispute, controversy or claim arising out of or relating to this Agreement, each of the parties unconditionally accepts the jurisdiction and venue of the Delaware Court of Chancery or, if the Delaware Court of Chancery does not have subject matter jurisdiction over this matter, the Superior Court of the State of Delaware (Complex Commercial Division) or, if jurisdiction over the matter is vested exclusively in federal courts, the United States District Court for the District of Delaware, and the appellate courts to which orders and judgments thereof may be appealed. In any such judicial proceeding, the parties agree that in addition to any method for the service of process permitted or required by such courts, to the fullest extent permitted by Applicable Law, service of process may be made by delivery provided pursuant to the directions in Section 3.6.

(c) EACH OF THE PARTIES HEREBY WAIVES TO THE FULLEST EXTENT PERMITTED BY APPLICABLE LAW TRIAL BY JURY IN ANY JUDICIAL PROCEEDING INVOLVING ANY DISPUTE, CONTROVERSY OR CLAIM ARISING OUT OF OR RELATING TO THIS AGREEMENT.

SECTION 3.12. Severability. Whenever possible, each provision of this Agreement shall be interpreted in such manner as to be effective and valid under Applicable Law, but if any provision of this Agreement is held to be invalid, illegal or unenforceable in any respect under any Applicable Law in any jurisdiction, such invalidity, illegality or unenforceability shall not affect any other provision or any other jurisdiction, but this Agreement shall be reformed, construed and enforced in such jurisdiction as if such invalid, illegal or unenforceable provision had never been contained herein.

SECTION 3.13. Enforcement. Each party hereto acknowledges that money damages would not be an adequate remedy in the event that any of the covenants or agreements in this Agreement are not performed in accordance with its terms, and it is therefore agreed that in addition to and without limiting any other remedy or right it may have, the non-breaching party will have the right to an injunction, temporary restraining order or other equitable relief in any court of competent jurisdiction enjoining any such breach and enforcing specifically the terms and provisions hereof.

SECTION 3.14. Titles and Subtitles. The titles of the sections and subsections of this Agreement are for convenience of reference only and are not to be considered in construing this Agreement.

SECTION 3.15. No Recourse. This Agreement may only be enforced against, and any claims or cause of action that may be based upon, arise out of or relate to this Agreement, or the negotiation, execution or performance of this Agreement, may be made only against the entities that are expressly identified as parties hereto, and no past, present or future Affiliate, director, officer, employee, incorporator, member, manager, partner, stockholder, agent, attorney or representative of any party hereto shall have any liability for any obligations or liabilities of the parties to this Agreement or for any claim based on, in respect of, or by reason of the transactions contemplated hereby.

 

A-110


Table of Contents

SECTION 3.16. Counterparts; Electronic Signatures. This Agreement may be executed in any number of counterparts, each of which shall be an original, but all of which together shall constitute one instrument. The words “execution,” “signed,” “signature,” “delivery,” and words of like import in or relating to this Agreement or any document to be signed in connection with this Agreement shall be deemed to include electronic signatures, deliveries or the keeping of records in electronic form, each of which shall be of the same legal effect, validity or enforceability as a manually executed signature, physical delivery thereof or the use of a paper-based recordkeeping system, as the case may be, and the parties hereto consent to conduct the transactions contemplated hereunder by electronic means.

SECTION 3.17. Effectiveness. This Agreement shall become effective upon the Closing Date.

[Remainder of Page Intentionally Left Blank; Signatures follow]

 

A-111


Table of Contents

IN WITNESS WHEREOF, the parties hereto have executed this Stockholders’ Agreement as of the date set forth in the first paragraph hereof.

CALUMET, INC.

By:    
  Name:
  Title:

 

 

[Signature Page to Calumet, Inc. Stockholders’ Agreement]

A-112


Table of Contents

THE HERITAGE GROUP

By:    
  Name: Amy Schumacher
  Title: Chief Executive Officer

 

 

[Signature Page to Calumet, Inc. Stockholders’ Agreement]

A-113


Table of Contents

Exhibit A

Assignment and Assumption Agreement

Pursuant to the Stockholders’ Agreement, dated as of [●] (the “Stockholders’ Agreement”), among Calumet, Inc., a Delaware corporation (the “Company”), and The Heritage Group,    , (the “Transferor”) hereby assigns to the undersigned the rights that may be assigned thereunder, and the undersigned hereby agrees that, having acquired Equity Securities as permitted by the terms of the Stockholders’ Agreement, the undersigned shall assume the obligations of the Transferor under the Stockholders’ Agreement. Capitalized terms used but not defined herein shall have the meanings assigned to them in the Stockholders’ Agreement.

Listed below is information regarding the Equity Securities:

Number of Shares of

Common Stock

 

 

[Remainder of Page Intentionally Left Blank]

 

 

Exhibit A – Assignment and Assumption Agreement

A-114


Table of Contents

IN WITNESS WHEREOF, the undersigned has executed this Assumption Agreement as of    ,    .

[NAME OF TRANSFEROR]

 

Name:

Title:

[NAME OF TRANSFEREE]

 

Name:
Title:

Acknowledged by:

CALUMET, INC.

 

By:

   
  Name:
  Title:

 

 

[Signature Page to Assignment and Assumption Agreement]

A-115


Table of Contents

Schedule A

Certain Affiliates of THG Investor

 

1.

Calumet, Incorporated

 

2.

Irrevocable Intervivos Trust Number 12.27.73 for the Benefit of Fred Mehlert Fehsenfeld, Jr. and His Issue U/A Dated December 18, 2012: 989,902

 

3.

Maggie Fehsenfeld Trust Number 106 12.30.74 for the Benefit of Fred Mehlert Fehsenfeld, Jr. and His Issue U/A Dated December 18, 2012: 989,902

 

4.

The Heritage Group Investment Company, LLC

 

5.

James C Fehsenfeld Revocable Trust, Fred M Fehsenfeld Revocable Trust U/A 01/28/20

 

6.

Suzanne M Fehsenfeld Revocable Trust U/A 01/28/20, and Paul James Schumacher & Amy Mae Schumacher Joint Account

 

7.

Kobe Foundation Inc.

 

 

[Signature Page to Assignment and Assumption Agreement]

A-116


Table of Contents

Exhibit G

Warrant Agreement

See attached.

 

A-117


Table of Contents

Final Version

WARRANT AGREEMENT

This WARRANT AGREEMENT (this “Agreement”), dated as of [●], is entered into by and between Calumet, Inc., a Delaware corporation (the “Company”), and Computershare Inc., a Delaware corporation, and its affiliate, Computershare Trust Company, N.A., a federally chartered trust company (collectively, “Computershare” or the “Warrant Agent”).

W I T N E S S E T H:

WHEREAS, the Company entered into that certain Conversion Agreement, dated [●] (the “Conversion Agreement”), by and among Calumet Specialty Products Partners, L.P., a Delaware limited partnership (“CLMT”), the Company, Calumet Merger Sub I LLC, a Delaware limited liability company and a wholly owned subsidiary of the Company (“Merger Sub I”), Calumet Merger Sub II LLC, a Delaware limited liability company and a wholly owned subsidiary of the Company (“Merger Sub II”), Calumet GP, LLC, a Delaware limited liability company and the general partner of CLMT (the “General Partner”), and the other parties to the Conversion Agreement;

WHEREAS, pursuant to the Conversion Agreement, (i) Merger Sub I merged with and into CLMT, with CLMT continuing as the surviving entity and as a subsidiary of the General Partner and the Company (the “CLMT Merger”), and (ii) immediately after the CLMT Merger, Merger Sub II merged with and into the General Partner, with the General Partner continuing as the surviving entity and as a wholly owned subsidiary of the Company (together with the CLMT Merger and the other transactions contemplated by the Conversion Agreement, the “Conversion”);

WHEREAS, in connection with the Conversion, (i) each CLMT Common Unit (as defined in the Conversion Agreement) issued and outstanding as of immediately prior to the effective time of the CLMT Merger was exchanged into the right to receive one share of common stock, par value $0.01 per share, of the Company (“Common Stock”), and (ii) the holders of equity interests in the General Partner exchanged such equity interests for 5,500,000 shares of Common Stock and 2,000,000 warrants (“Warrants”) entitling the Holder or Holders thereof to purchase shares of Common Stock upon the terms and subject to the conditions set forth in the form of warrant certificate attached hereto as Exhibit A (a “Warrant Certificate”); and

WHEREAS, the Company desires for the Warrant Agent to act on behalf of the Company, and the Warrant Agent is willing to so act, in connection with the issuance, transfer, exchange and exercise of the Warrants.

NOW, THEREFORE, in consideration of the premises and the mutual agreements herein set forth, the parties hereby agree as follows:

Section 1. Definitions. Capitalized terms used herein but not defined herein shall have the meanings ascribed to them in the applicable Warrant Certificate.

Section 2. Appointment of Warrant Agent. The Company hereby appoints the Warrant Agent to act as agent for the Company with respect to the Warrants in accordance with the express terms and conditions hereof, and the Warrant Agent hereby accepts such appointment. The Company may from time to time appoint a co-warrant agent (“Co-Warrant Agent”) as it may, in its sole discretion, deem necessary or desirable upon ten calendar days’ prior written notice to the Warrant Agent. The Warrant Agent shall have no duty to supervise, and shall in no event be liable for the acts or omissions of any such Co-Warrant Agent. In the event the Company appoints one or more Co-Warrant Agents, the respective duties of the Warrant Agent and any Co-Warrant Agent shall be as the Company shall reasonably determine, provided that such duties and determination are consistent with the terms and provisions of this Agreement.

 

A-118


Table of Contents

Section 3. Warrant Statements; Warrant Certificates. The Warrants shall be issued by book-entry registration on the books of the Warrant Agent and the issuance thereof shall be confirmed by statements delivered by the Warrant Agent from time to time, including within five (5) days of the initial issuance thereof, to the Holders reflecting such book-entry position; provided, however, that, at the written request of any Holder, the Warrants held by such Holder shall be evidenced by Warrant Certificates which shall be in the form of Exhibit A attached hereto and may have such marks of identification or designation and such legends, summaries or endorsements printed thereon as the Company may deem appropriate and as are not inconsistent with the provisions of this Agreement or as may be required to comply with any law or with any rule or regulation made pursuant thereto. The terms and provisions contained in the form of the Warrant Certificate attached hereto as Exhibit A constitute, and are hereby expressly made, a part of this Agreement.

The Company shall provide an opinion of counsel to the Warrant Agent prior to the issuance of Warrants and the related Common Stock subject to issuance upon exercise of Warrants. The opinion shall state that all Warrants or Common Stock, as applicable: (i) were offered, sold or issued as part of an offering registered in compliance with the Securities Act of 1933, as amended (the “1933 Act”) or pursuant to an exemption from the registration requirements of the 1933 Act; (ii) were issued in compliance with all applicable state securities or “blue sky” laws; and (iii) are validly issued, fully paid and non-assessable.

Section 4. Signature; Registration.

(a) With respect to Warrants issued in certificated form, if any, a duly authorized officer of the Company (an “Officer”) shall execute the Warrant Certificates for the Company by electronic or manual signature in the name and on behalf of the Company. If an Officer whose signature is on a Warrant Certificates no longer holds that office after the time the Warrant is countersigned, the Warrant Certificate will still be valid.

(b) With respect to Warrants issued in certificated form, if any, a Warrant Certificate will not be valid until an authorized signatory of the Warrant Agent countersigns the Warrant Certificate, by electronic or manual signature, and the signature shall be conclusive evidence that the Warrant Certificate has been countersigned under this Agreement. The Warrant Agent will keep or cause to be kept, at its offices or at the office of one of its agents, books for registration and transfer of the Warrant Certificates issued hereunder, or dematerialized evidence of beneficial ownership of such Warrants for any Warrants issued by book-entry registration on the books of the Warrant Agent. Such books shall show the names and addresses of the respective Holders of the Warrants and the number of Warrants beneficially owned by each respective Holder.

Section 8 of the applicable Warrant Certificate is incorporated herein by reference.

Section 5. Exercise of Warrants.

(a) The Warrants shall be exercisable on the terms and according to the procedures as set forth in the Warrant Certificate. Such terms and procedures set forth therein are incorporated herein by reference. In the event of a Holder electing to exercise a Warrant by Cashless Exercise, the Company shall calculate and promptly transmit written instructions to the Warrant Agent regarding, and the Warrant Agent shall have no obligation under this Section 5 to calculate, the number of shares of Common Stock to be issued in accordance with such instructions or to investigate or confirm whether the Company’s determination of the number of shares of Common Stock to be issued on such exercise, pursuant to this Section 5, is accurate or correct. Such notification shall be made as promptly as practicable following (but in no event later than five Business Days following) receipt by the Company of such Holder’s Warrant Exercise Documentation. In the event of a Cashless Exercise, the Company shall provide the cost basis for shares to be issued pursuant to a Cashless Exercise prior to the transmittal of the number of Warrant Shares issuable in connection with the Cashless Exercise to the Warrant Agent.

(b) In the event of a cash exercise, the Company hereby instructs the Warrant Agent to record the cost basis for newly issued shares (to the extent the Warrant Agent is required by applicable law to report such cost

 

A-119


Table of Contents

basis) as the sum of (1) the Exercise Price per share of Common Stock under the Warrant plus (2) the Holder’s cost basis in the exercised Warrant which the Company shall request of the Holder, if necessary.

(c) Computershare shall forward all funds received by it under this Agreement that are to be distributed or applied by Computershare in the performance of the services hereunder (the “Funds”) by the 5th Business Day of the following month by wire transfer to an account designated by the Company. The Funds shall be held by Computershare as agent for the Company and deposited in one or more bank accounts to be maintained by Computershare in its name as agent for the Company. Until paid pursuant to this Agreement, Computershare may hold or invest the Funds through such accounts in: (a) funds backed by obligations of, or guaranteed by, the United States of America; (b) debt or commercial paper obligations rated A-1 or P-1 or better by S&P Global Inc. (“S&P”) or Moody’s Investors Service, Inc. (“Moody’s”), respectively; (c) Government and Treasury backed AAA-rated Fixed NAV money market funds that comply with Rule 2a-7 of the Investment Company Act of 1940, as amended; or (d) short term certificates of deposit, bank repurchase agreements, and bank accounts with commercial banks with Tier 1 capital exceeding $1 billion, or with an investment grade rating by S&P (LT Local Issuer Credit Rating), Moody’s (Long Term Rating) and Fitch Ratings, Inc. (LT Issuer Default Rating) (each as reported by Bloomberg Finance L.P.). The Warrant Agent shall have no responsibility or liability for any diminution of the Funds that may result from any deposit or investment made by Computershare in accordance with this paragraph, including any losses resulting from a default by any bank, financial institution or other third party. Computershare may from time to time receive interest, dividends or other earnings in connection with such deposits or investments. Computershare shall not be obligated to pay such interest, dividends or earnings to the Company, any holder or any other party.

Section 6. Transfer of Warrants. A party requesting transfer of Warrants must provide any evidence of authority that may be required by the Warrant Agent, including but not limited to, a signature guarantee from an eligible guarantor institution participating in a signature guarantee program approved by the Securities Transfer Association.

Section 7. Replacement of Warrants. Upon receipt of evidence satisfactory to the Company and the Warrant Agent of the loss, theft, destruction or mutilation of a Warrant Certificate, absent notice to the Warrant Agent that such certificates have been acquired by a bona fide purchaser, and, in the case of loss, theft or destruction, upon delivery of an open penalty surety bond satisfactory to the Company and Warrant Agent holding the Company and Warrant Agent harmless, or, in the case of mutilation, at its option and upon surrender and cancellation thereof, the Warrant Agent will issue a new Warrant Certificate of like tenor for a number of Warrants equal to the number of Warrants evidenced by such Warrant Certificate.

Section 8. Cancellation and Destruction of Warrant Certificates. All Warrant Certificates surrendered for the purpose of exercise, transfer or exchange shall, if surrendered to the Company or to any of its agents, be delivered to the Warrant Agent for cancellation or in cancelled form, or, if surrendered to the Warrant Agent, shall be cancelled by it, and no Warrant Certificates shall be issued in lieu thereof except as expressly permitted by any of the provisions of the Warrant Certificate. The Company shall deliver to the Warrant Agent for cancellation and retirement, and the Warrant Agent shall so cancel and retire, any other Warrant Certificate purchased or acquired by the Company otherwise than upon the exercise thereof. Subject to the requirements of applicable law regarding the retention of cancelled securities, and in particular but not by way of limitation, Rule 17Ad-6 and 17Ad-7 of the Securities Exchange Act of 1934, as amended (the “Exchange Act”), the Warrant Agent shall deliver all cancelled Warrant Certificates to the Company, or shall, at the written request of the Company, destroy such cancelled Warrant Certificates, and in such case shall deliver a certificate of destruction thereof to the Company.

Section 9. Certain Representations; Reservation and Availability of Common Stock.

(a) This Agreement has been duly authorized, executed and delivered by the Company and, assuming due authorization, execution and delivery hereof by the Warrant Agent, constitutes a valid and legally binding

 

A-120


Table of Contents

obligation of the Company enforceable against the Company in accordance with its terms, and the Warrants have been duly authorized, and once executed and issued by the Company, shall constitute valid and legally binding obligations of the Company enforceable against the Company in accordance with their terms and entitled to the benefits hereof; in each case, except as enforceability may be limited by bankruptcy, insolvency, reorganization, moratorium and other similar laws relating to or affecting creditors’ rights generally or by general equitable principles (regardless of whether such enforceability is considered in a proceeding in equity or at law).

(b) The Warrant Agent will create one or more special accounts for the issuance of shares of Common Stock to be issued upon the exercise of Warrants.

Section 10. Adjustments. The Exercise Price and the Number Issuable of each applicable Warrant are subject to adjustment from time to time as provided in Section 2 of the applicable Warrant Certificate. Such terms and procedures set forth therein are incorporated herein by reference. The Company hereby agrees that it will provide the Warrant Agent with reasonable notice of any adjustment. The Company further agrees that it will provide to the Warrant Agent with any new or amended exercise terms. The Warrant Agent shall have no obligation under any Section of this Agreement to calculate any of the adjustments set forth herein.

Section 11. Certification of Number of Common Stock. Whenever the Number Issuable and/or Exercise Price of a Warrant is adjusted as provided in Section 2 of the applicable Warrant Certificate, the Company shall promptly deliver to the Warrant Agent and the Transfer Agent for the Common Stock a copy of the notice and certificate that the Company is required to deliver to the registered Holder of such Warrants pursuant to such Warrant Certificate. The Warrant Agent shall be under no responsibility to determine the correctness of any provisions contained in such notice or certificate relating either to the kind or amount of securities or other property receivable upon exercise of Warrants or with respect to the method employed and provided therein for any adjustments and shall be entitled to rely upon the provisions contained in any such notice or certificate. The provisions of this Section 11 shall similarly apply to successive transactions as provided in Section 2 of the applicable Warrant Certificate.

Section 12. Concerning the Warrant Agent. The Company agrees that the Warrant Agent is entitled, from time to time, to reasonable compensation for its services as agreed in accordance with a mutually agreed upon fee schedule dated on or around the date hereof. The Warrant Agent shall also be entitled to receive from time to time, on demand of the Warrant Agent, its reasonable and documented out-of-pocket expenses (including reasonable and documented counsel fees and other disbursements incurred in the preparation, delivery, negotiation, amendment, administration and execution of this Agreement and the exercise and performance of its duties hereunder) in connection with the services rendered hereunder by the Warrant Agent.

The Company also covenants and agrees to indemnify and to hold the Warrant Agent harmless against any loss, liability, damage, judgment, fine, penalty, claim, demand, settlement, cost or expense (including the reasonable fees and expenses of legal counsel), which may be paid, incurred or suffered by or to which it may become subject, arising from or out of, directly or indirectly, any claims or liability resulting from any action taken, suffered or omitted by the Warrant Agent in connection with the execution, acceptance, administration, exercise and performance of its duties under this Agreement, including the reasonable costs and expenses of defending against any claim of liability arising therefrom, directly or indirectly, or of enforcing its rights under this Agreement; provided, that such covenant and agreement does not extend to, and the Warrant Agent shall not be indemnified with respect to, such costs, expenses, losses and damages incurred or suffered by the Warrant Agent as a result of, or arising out of, the Warrant Agent’s gross negligence, bad faith, or willful misconduct (which gross negligence, bad faith, or willful misconduct must be determined by a final, non-appealable judgment of a court of competent jurisdiction); further provided, that, the Warrant Agent’s aggregate liability during any term of this Agreement whether in contract, or in tort, or otherwise, is limited to, and shall not exceed, the amounts paid under this Agreement by the Company to the Warrant Agent as fees and charges but not including reimbursable expenses, during the twelve months immediately preceding the event for which recovery from Warrant Agent is being sought.

 

A-121


Table of Contents

The Warrant Agent shall be authorized and protected and shall incur no liability for or in respect of any action taken, suffered or omitted to be taken by it in connection with its acceptance and administration of this Agreement and the exercise and performance of its duties hereunder in reliance upon any Warrant Certificate instrument of assignment or transfer, power of attorney, endorsement, affidavit, letter, notice, instruction, direction, consent, certificate, statement, or other paper or document believed by it to be genuine and to be duly signed, executed and, where necessary, guaranteed, verified or acknowledged, by the proper Person or Persons, or otherwise upon the advice of counsel. The Warrant Agent shall not be deemed to have knowledge of any event of which it was supposed to receive notice thereof hereunder, and the Warrant Agent shall be fully protected and shall incur no liability for failing to take action in connection therewith unless and until it has received such notice in writing.

Promptly after the receipt by the Warrant Agent of actual notice of any demand or claim or the commencement of any action, suit, proceeding or investigation (of which the Company is not a party), the Warrant Agent shall, if a claim in respect thereof is to be made against the Company, promptly notify the Company thereof in writing; provided that the failure to provide such notice shall not affect the rights of the Warrant Agent hereunder. The Company shall be entitled to participate at its own expense in the defense of any such claim or proceeding.

Promptly after the receipt by the Company of notice of any demand or claim or the commencement of any action, suit, proceeding or investigation, the Company shall, if a claim in respect thereof is to be made against the Warrant Agent, notify the Warrant Agent thereof in writing. The Warrant Agent shall be entitled, at the Company’s expense, to assume the defense of any such claim or proceeding.

The Company shall not, without the written consent of the Warrant Agent, effect the settlement or compromise of, or consent to the entry of any judgment with respect to, any pending or threatened action or claim in respect of which indemnification may be sought hereunder (whether or not the indemnified party is an actual or potential party to such action or claim) unless such settlement, compromise or judgment (i) includes an unconditional release of the indemnified party from all liability arising out of such action or claim and (ii) does not include a statement as to, or an admission of, fault, culpability or a failure to act, by or on behalf of any indemnified party. The Company shall not be required to indemnify the Warrant Agent for any amount paid or payable by the Warrant Agent in the settlement or compromise of, or entry into any judgment with respect to, any pending or threatened action or claim in respect of which indemnification or contribution may be sought hereunder without the written consent of the Company, which consent shall not be unreasonably withheld, conditioned or delayed.

From time to time, the Company may provide Warrant Agent with instructions concerning the services performed by the Warrant Agent hereunder. In addition, at any time Warrant Agent may apply to any officer of the Company for instruction, and may consult with legal counsel for Warrant Agent or Company with respect to any matter arising in connection with the services to be performed by the Warrant Agent under this Agreement. Warrant Agent and its agents and subcontractors shall not be liable and shall be indemnified by Company for any action taken or omitted by Warrant Agent in reliance upon any Company instructions or upon the advice or opinion of such counsel. Warrant Agent shall not be held to have notice of any change of authority of any person, until receipt of written notice thereof from Company.

Notwithstanding anything in this Agreement to the contrary, neither party to this Agreement shall be liable to the other party for any consequential, indirect, special, punitive or incidental damages under any provisions of this Agreement or for any consequential, indirect, punitive, special or incidental damages arising out of any act or failure to act hereunder even if that party has been advised of or has foreseen the possibility or likelihood of such damages.

This Section 12 shall survive the resignation or discharge of the Warrant Agent, the expiration of the Warrants or the termination of this Agreement.

 

A-122


Table of Contents

Section 13. Purchase or Consolidation or Change of Name of Warrant Agent. Any entity into which the Warrant Agent or any successor Warrant Agent may be merged or with which it may be consolidated, or any entity resulting from any merger or consolidation to which the Warrant Agent or any successor Warrant Agent shall be party, or any entity succeeding to the trust business of the Warrant Agent or any successor Warrant Agent, shall be the successor to the Warrant Agent under this Agreement without the execution or filing of any paper or any further act on the part of any of the parties hereto, provided that such Person would be eligible for appointment as a successor Warrant Agent under the provisions of Section 15. The purchase of all or substantially all of the Warrant Agent’s assets employed in the performance of the warrant agent activities shall be deemed a merger or consolidation for purposes of this Section 13.

Section 14. Duties of Warrant Agent. The Warrant Agent undertakes the duties and obligations imposed by this Agreement upon the following terms and conditions, by all of which the Company shall be bound:

(a) The Warrant Agent may consult with legal counsel (who may be legal counsel for the Company), and the opinion or advice of such counsel shall be full and complete authorization and protection to the Warrant Agent as to any action taken or omitted by it in the absence of bad faith and in accordance with such opinion or advice.

(b) Whenever in the performance of its duties under this Agreement, the Warrant Agent shall deem it necessary or desirable that any fact or matter be proved or established by the Company prior to taking or suffering any action hereunder, such fact or matter (unless other evidence in respect thereof be herein specifically prescribed) may be deemed to be conclusively proved and established by a certificate signed by an Officer and delivered to the Warrant Agent; and such certificate shall be full authentication and authorization to the Warrant Agent for any action taken or suffered in the absence of bad faith by it under the provisions of this Agreement in reliance upon such certificate.

(c) The Warrant Agent shall be liable hereunder only for its own gross negligence, bad faith or willful misconduct (which gross negligence, bad faith or willful misconduct must be determined by a final, non-appealable judgement of a court of competent jurisdiction), in the performance of the services under this Agreement.

(d) The Warrant Agent shall not be liable for or by reason of any of the statements of fact or recitals contained in this Agreement or in the Warrant Certificates or be required to verify the same, but all such statements and recitals are and shall be deemed to have been made by the Company only.

(e) The Warrant Agent shall not be under any responsibility in respect of the validity of this Agreement or the execution and delivery hereof (except the due execution hereof by the Warrant Agent) or in respect of the validity or execution of any Warrant Certificate; nor shall it be responsible for any breach by the Company of any covenant or condition contained in this Agreement or in any Warrant Certificate; nor shall it be responsible for the adjustment of the Exercise Price and/or the Number Issuable of any Warrant required under the provisions of Section 2 of the applicable Warrant Certificate or responsible for the manner, method or amount of any such change or the ascertaining of the existence of facts that would require any such adjustment or change (except with respect to the exercise of Warrants evidenced by Warrant Certificates after actual notice of any adjustment of the Exercise Price and/or the Number Issuable); nor shall it by any act hereunder be deemed to make any representation or warranty as to the authorization or reservation of any shares of Common Stock to be issued pursuant to this Agreement or any Warrant Certificate or as to whether any shares of Common Stock will, when issued, be duly authorized, validly issued and fully paid and nonassessable.

(f) The Company agrees that it will perform, execute, acknowledge and deliver or cause to be performed, executed, acknowledged and delivered all such further and other acts, instruments and assurances as may reasonably be required by the Warrant Agent for the carrying out or performing by the Warrant Agent of the provisions of this Agreement.

 

A-123


Table of Contents

(g) The Warrant Agent is hereby authorized to accept instructions with respect to the performance of its duties hereunder from an Officer, and to apply to such Officers for advice or instructions in connection with its duties, and it shall not be liable and shall be fully indemnified and held harmless for any action taken or suffered to be taken by it in the absence of bad faith in accordance with instructions of any such officer, provided Warrant Agent carries out such instructions without gross negligence, bad faith or willful misconduct (which gross negligence, bad faith, or willful misconduct must be determined by a final, non-appealable judgment of a court of competent jurisdiction).

(h) Under the terms of this Agreement, the Warrant Agent and any equity holder, director, officer or employee of the Warrant Agent may become pecuniarily interested in any transaction in which the Company may be interested, or contract with or lend money to the Company or otherwise act as fully and freely as though it were not Warrant Agent under this Agreement. Nothing herein shall preclude the Warrant Agent from acting in any other capacity for the Company or for any other legal entity.

(i) The Warrant Agent may execute and exercise any of the rights or powers hereby vested in it or perform any duty hereunder either itself or by or through its attorney or agents, and the Warrant Agent shall not be answerable or accountable for any act, omission, default, neglect or misconduct, absent gross negligence or willful misconduct of any such attorney or agents or for any loss to the Company, to the Holder, or any other Person resulting from any such act, omission, default, neglect or misconduct, absent gross negligence or willful misconduct in the selection and continued employment thereof (which gross negligence or willful misconduct must be determined by a final, non-appealable judgement of a court of competent jurisdiction).

(j) This Section 14 shall survive the resignation or discharge of the Warrant Agent, the expiration of the Warrants or the termination of this Agreement.

Section 15. Change of Warrant Agent. The Warrant Agent may resign and be discharged from its duties under this Agreement upon 30 days’ notice in writing mailed to the Company and to each transfer agent of the Common Stock by registered or certified mail, or via electronic delivery, and to the Holders of the Warrants by first-class mail. The Company may remove the Warrant Agent or any successor Warrant Agent upon 30 days’ notice in writing, mailed to the Warrant Agent or successor Warrant Agent, as the case may be, and to each transfer agent of the Common Stock by registered or certified mail, or via electronic delivery, and to the Holders of the Warrants by first-class mail. If the Warrant Agent shall resign or be removed or shall otherwise become incapable of acting, the Company shall appoint a successor to the Warrant Agent. If the Company shall fail to make such appointment within a period of 30 days after such removal or after it has been notified in writing of such resignation or incapacity by the resigning or incapacitated Warrant Agent or by the Holder of a Warrant, then the registered Holder of any Warrant may apply to any court of competent jurisdiction for the appointment of a new Warrant Agent. Any successor Warrant Agent, whether appointed by the Company or by such a court, shall be an entity organized and doing business under the laws of the United States or of a state thereof, in good standing, which is authorized under such laws to exercise trust powers and is subject to supervision or examination by federal or state authority and which has at the time of its appointment as Warrant Agent a combined capital and surplus of at least $50,000,000. After appointment, the successor Warrant Agent shall be vested with the same powers, rights, duties and responsibilities as if it had been originally named as Warrant Agent without further act or deed; but the predecessor Warrant Agent shall deliver and transfer to the successor Warrant Agent any property at the time held by it hereunder, and execute and deliver any reasonable further assurance, conveyance, act or deed necessary for the purpose without additional obligations or liability to predecessor Warrant Agent. Not later than the effective date of any such appointment, the Company shall file notice thereof in writing with the predecessor Warrant Agent and each transfer agent of the Common Stock, and mail a notice thereof in writing to the registered Holders of the Warrants. However, failure to give any notice provided for in this Section 15, or any defect therein, shall not affect the legality or validity of the resignation or removal of the Warrant Agent or the appointment of the successor Warrant Agent, as the case may be.

Section 16. Issuance of New Warrant Certificates. Notwithstanding any of the provisions of this Agreement or of the Warrants to the contrary, the Company may, at its option, issue new Warrant Certificates

 

A-124


Table of Contents

evidencing Warrants in such form as may be approved by the Board to reflect any adjustment or change in the Exercise Price and the number or kind or class of equity interests or other securities or property purchasable under the several Warrant Certificates to the extent any such adjustment or change is made in accordance with the terms of the Warrant Certificates.

Section 17. Holders of Warrants Not Deemed an Equityholder. Except as otherwise expressly provided in the Warrant Certificate, this Agreement or as required by applicable law, no Holder of any Warrant, solely with respect to such Warrant, shall be entitled to vote, receive dividends or distributions on, or be deemed for any purpose the holder of Common Stock or any other securities of the Company which may at any time be issuable on the exercise of such Warrant, nor shall anything contained herein or in any Warrant Certificate be construed to confer upon the Holder of any such Warrant, as such, any of the rights of an equityholder of the Company or any right to vote for the election of directors or upon any matter submitted to equityholders at any meeting thereof, or to give or withhold consent to any corporate action, or to receive notice of meetings or other actions affecting equityholders, or to receive dividends or distributions or subscription rights, or otherwise, until such Warrant shall have been exercised in accordance with the provisions thereof.

Section 18. Notices.

(a) Notices or demands authorized by this Agreement or the Warrants to be given or made in writing (i) by the Warrant Agent or by the Holder of any Warrant to or on the Company, (ii) subject to the provisions of Section 15, by the Company or by the Holder of any Warrant to or on the Warrant Agent or (iii) by the Company or the Warrant Agent to the Holder of any Warrant, may be delivered personally, delivered via e-mail or sent by registered or certified first-class mail, return receipt requested, or a nationally recognized overnight courier service to each recipient at the address of such recipient appearing below or the last known address on the transfer books of the Warrant Agent, as applicable, and shall be deemed given and effective (i) when delivered by hand, if delivered personally, (ii) at the time of transmission, if such notice or communication is delivered via e-mail at the e-mail address provided in this Section prior to 5:30 p.m. (New York City time) on any date, (iii) on the next Business Day after the date of transmission, if such notice or communication is delivered via e-mail at the e-mail address provided in this Section on a day that is not a Business Day or later than 5:30 p.m. (New York City time) on any Business Day, or (iv) on the date mailed, if sent by registered or certified first-class mail, return receipt requested, or a United States nationally recognized overnight courier service guaranteeing next Business Day delivery. For any notice delivered via e-mail to be deemed given or made, such notice must be followed by notice sent by overnight courier service to be delivered on the next Business Day following such email, unless the recipient of such email has acknowledged via return email receipt of such email.

If to the Company, to:

Calumet, Inc.

2780 Waterfront Parkway East Drive, Suite 200

Indianapolis, IN 46214

Attention: Greg Morical

Email: greg.morical@calumetspecialty.com

With a copy (which shall not constitute notice) to:

Gibson, Dunn & Crutcher LLP

811 Main Street, Suite 3000

Houston, TX 77002

Attention: Hillary H. Holmes

Email: HHolmes@gibsondunn.com

 

A-125


Table of Contents

If to the Warrant Agent, to:

Computershare Trust Company, N.A.

Computershare

150 Royall St., Suite 101

Canton, MA 02021

Attention: Client Services

Email: Gina.Brown2@computershare.com

(b) Any notice required to be delivered by the Company to the registered Holder of any Warrant may be given by the Warrant Agent on behalf of the Company.

Section 19. Supplements and Amendments.

(a) The Company and the Warrant Agent may from time to time agree to supplement or amend this Agreement and the Warrants without the approval of any Holders of Warrants in order to cure any ambiguity, to correct or supplement any provision contained herein which may be defective or inconsistent with any other provisions herein, or to make any other provisions or amendments with regard to matters or questions arising hereunder which the Company and the Warrant Agent may deem necessary or desirable and which shall not adversely affect the interests of the Holders of Warrants or be inconsistent with the terms of the Warrants (it being understood that any amendment or supplement to this Agreement or the Warrants that increases the Exercise Price or decreases the Number Issuable of any Warrants shall be deemed to adversely affect the interests of the Holders of Warrants).

(b) Except as otherwise provided in Section 19(a) or 19(c), this Agreement and the Warrants may be amended only by means of a written amendment signed by the Company, the Warrant Agent and the Holders of a majority of the outstanding Warrants. No supplement or amendment to this Agreement shall be effective unless duly executed by the Warrant Agent and the Company. Any amendment or modification of or supplement to this Agreement or the Warrants, any waiver of any provision of this Agreement, and any consent to any departure by the Company or any Holder from the terms of any provision of this Agreement or the Warrants shall be effective only in the specific instance and for the specific purpose for which such amendment, supplement, modification, waiver or consent has been made or given; provided, that, except as provided in Section 19(c), the Holders of a majority of the outstanding Warrants by written notice to the Warrant Agent may waive future compliance by the Company with any provision of this Agreement or the Warrants. In addition, any term of a specific Warrant may be amended or waived with the written consent of the Company and the Holder of such Warrant and the Warrant Agent.

(c) Notwithstanding the provisions of Section 19(b), the consent of each Holder of the Warrants shall be required for any amendment, supplement or modification to this Agreement or the Warrants or for a waiver of any provision thereof, in each case that would adversely affect the Holders of the Warrants, including but not limited to any amendment, supplement, modification or waiver that would:

(i) increase the Exercise Price;

(ii) reduce the term of the Warrants; or

(iii) decrease the number of shares of Common Stock, cash or other securities or property issuable upon exercise of the Warrants

except, in each case, for adjustments as set forth in the Warrant Certificate.

(d) It is not necessary for Holders to approve the particular form of any proposed amendment, supplement or waiver if their consent approves the substance thereof.

(e) An amendment, supplement or waiver under Section 19(b) or 19(c) will become effective when duly executed by the Warrant Agent after receipt by the Warrant Agent of written consents from the Holders of

 

A-126


Table of Contents

the requisite percentage of the outstanding Warrants. After an amendment, supplement or waiver under this Section 19 becomes effective, the Company will send to the Holders affected thereby a notice describing the amendment, supplement or waiver in reasonable detail. Any failure of the Company to send such notice, or any defect therein, will not, however, in any way impair or affect the validity of any such amendment, supplement or waiver.

(f) As a condition precedent to the Warrant Agent’s execution of any amendment or supplement, the Company shall deliver to the Warrant Agent a certificate from an Officer that states that the proposed amendment or supplement is in compliance with the terms of this Section 19. Notwithstanding anything in this Agreement to the contrary, the Warrant Agent may, but shall not be obligated to, enter into any supplement or amendment to this Agreement or a Warrant Certificate that adversely affects the Warrant Agent’s own rights, duties, immunities or obligations under this Agreement.

(g) After an amendment, supplement or waiver becomes effective under this Section 19, it will bind every Holder unless it is of the type requiring the consent of each Holder affected. If the amendment, supplement or waiver is of the type requiring the consent of each Holder affected, the amendment, supplement or waiver will bind each Holder that has consented to it and every subsequent Holder of a Warrant with respect to which consent was granted.

(h) If an amendment, supplement or waiver changes the terms of a Warrant, the Company or the Warrant Agent may require the Holder to deliver the affected Warrant Certificate, if any, to the Warrant Agent so that the Warrant Agent may place an appropriate notation of the changed terms on the Warrant and return it to the Holder, or exchange it for a new Warrant that reflects the changed terms. The Warrant Agent may also place an appropriate notation on any Warrant thereafter countersigned. However, the effectiveness of the amendment, supplement or waiver is not affected by any failure to annotate or exchange Warrants in this fashion or otherwise.

Section 20. Successors and Assigns. All covenants and provisions of this Agreement by or for the benefit of the Company or the Warrant Agent shall bind and inure to the benefit of their respective successors and assigns hereunder.

Section 21. Benefits of this Agreement. Nothing in this Agreement shall be construed to give any Person other than the Company, the Warrant Agent and the Holders of Warrants any legal or equitable right, remedy or claim under this Agreement; but this Agreement shall be for the sole and exclusive benefit of the Company, the Warrant Agent and the Holders of Warrants.

Section 22. Entire Agreement. This Agreement and the Warrant Certificate contain the entire agreement and understanding among the parties hereto with respect to the subject matter hereof, and supersede all prior and contemporaneous agreements, understandings, inducements and conditions, express or implied, oral or written, of any nature whatsoever with respect to the subject matter hereof. Notwithstanding anything to the contrary contained in this Agreement, in the event of inconsistency between any provision in this Agreement and any provision in a Warrant Certificate, as it may from time to time be amended, this Agreement shall prevail. The Company shall not amend any provisions of the Warrant Certificate without the prior consent of the Warrant Agent, not to be unreasonably withheld or delayed.

Section 23. Governing Law; Waiver of Jury Trial. This Agreement and any dispute arising hereunder or relating hereto shall be governed by, and construed in accordance with, the laws of the State of New York without giving effect to any provision or rule that would cause the application of laws of any jurisdictions other than the State of New York. THE COMPANY, THE WARRANT AGENT AND EACH HOLDER OF A WARRANT HEREBY IRREVOCABLY AND UNCONDITIONALLY WAIVE THEIR RIGHT TO TRIAL BY JURY IN ANY JUDICIAL PROCEEDING IN ANY COURT RELATING TO ANY DISPUTE, CONTROVERSY OR CLAIM WITH RESPECT TO THIS AGREEMENT.

 

A-127


Table of Contents

Section 24. Counterparts. This Agreement may be executed in any number of counterparts and each of such counterpart shall for all purposes be deemed to be an original, and all such counterparts shall together constitute but one and the same instrument. A signature to this Agreement transmitted electronically shall have the same authority, effect, and enforceability as an original signature.

Section 25. Captions. The captions of the sections of this Agreement have been inserted for convenience only and shall not control or affect the meaning or construction of any of the provisions hereof.

Section 26. Confidentiality. The Warrant Agent and the Company agree that all books, records, information and data pertaining to the business of the other party, including inter alia, personal, non-public information about the Holders, which are exchanged or received pursuant to the negotiation or the carrying out of this Agreement, including the fees for services hereunder, shall remain confidential, and shall not be voluntarily disclosed to any other person, except as may be required by law, including, without limitation, pursuant to subpoenas from state or federal government authorities (e.g., in divorce and criminal actions).

Section 27. Severability. In case any provision in this Agreement or in the Warrant is invalid, illegal or unenforceable, the validity, legality and enforceability of the remaining provisions will not in any way be affected or impaired thereby, provided that if such excluded provision shall affect the rights, immunities, liabilities, duties or obligations of the Warrant Agent, the Warrant Agent shall be entitled to resign immediately upon written notice to the Company.

Section 28. Force Majeure. Notwithstanding anything to the contrary contained herein, the Warrant Agent shall not be liable for any delays or failures in performance resulting from acts beyond its reasonable control including, without limitation, acts of God, epidemic, pandemic, terrorist acts, shortage of supply, breakdowns or malfunctions, interruptions or malfunction of computer facilities, or loss of data due to power failures or mechanical difficulties with information storage or retrieval systems, labor difficulties, war, or civil unrest.

[Signature pages to follow.]

 

A-128


Table of Contents

IN WITNESS WHEREOF, the parties hereto have caused this Agreement to be duly executed as of the day and year first above written.

 

CALUMET, INC.

By:

   

Name:

 

Title:

 

 

[Signature Page to Warrant Agreement]

A-129


Table of Contents
Computershare Inc.
Computershare Trust Company, N.A.

By:

   

Name:

 

Title:

 

 

[Signature Page to Warrant Agreement]

A-130


Table of Contents

EXHIBIT A

FORM OF WARRANT CERTIFICATE

[See attached]

 

A-131


Table of Contents

WARRANT NO.    

WARRANT TO PURCHASE

SHARES OF COMMON STOCK, PAR VALUE $0.01 PER SHARE,

OF

CALUMET, INC.

This warrant certificate (the “Warrant Certificate”) certifies that [warrant holder], a [   entity], or its registered assigns (the “Holder”), is the owner of [   ] Warrants (the “Warrants”), each of which entitles the Holder to purchase from Calumet, Inc., a Delaware corporation (the “Company”), one fully paid, duly authorized and non-assessable share of Common Stock, par value $0.01 per share, of the Company (the “Common Stock”), at any time or from time to time on or before 5:00 p.m., New York City time, on [●],1 at an exercise price of $20.00 per share (subject to adjustment in Section 2, the “Exercise Price”), all on the terms and subject to the conditions hereinafter set forth.

The number of shares of Common Stock issuable upon exercise of each such Warrant (the “Number Issuable”), which is initially one share of Common Stock, is subject to adjustment from time to time pursuant to the provisions of Section 2 of this Warrant Certificate.

The Warrants evidenced by this Warrant Certificate are part of a duly authorized issue of Warrants issued or to be issued pursuant to a Warrant Agreement, dated [●] (the “Warrant Agreement”), between the Company and Computershare, Inc., a Delaware corporation, and its affiliate, Computershare Trust Company, N.A., a federally chartered trust company, collectively, as warrant agent (or any successor warrant agent) (the “Warrant Agent”), which Warrant Agreement is hereby incorporated by reference in and made a part of this instrument and is hereby referred to for a description of the rights, limitation of rights, obligations, duties and immunities thereunder of the Warrant Agent, the Company and the Holders of the Warrants, including the Holder. Capitalized terms used herein but not otherwise defined shall have the meanings given them in Section 11 hereof.

Section 1. Exercise of Warrant. Subject to the last paragraph of this Section 1, the Warrants evidenced hereby may be exercised, in whole or in part, by the Holder at any time or from time to time on or before 5:00 p.m., New York City time, on [●]2, upon delivery to the Company at the registered office of the Company, of: (a) only if an original counterpart of this Warrant Certificate is actually physically delivered to the Holder, this Warrant Certificate or an affidavit of loss (accompanied by any indemnity, medallion guarantee or other undertaking or assurance reasonably requested from the Holder by the Company, its transfer agent (the “Transfer Agent”) or the Warrant Agent) if the Holder does not have possession of this Warrant Certificate at the time of exercise, (b) the form of exercise notice attached hereto as Exhibit A, properly completed and executed by the Holder hereof, which states that such Holder elects to exercise all or a specified number of Warrants evidenced hereby in accordance with the provisions of this Section 1 and specifies the name or names in which such Holder wishes the certificate(s) (if certificated) or book-entry interests for shares of Common Stock to be issued and (c) payment of the Exercise Price for the shares of Common Stock issuable upon exercise of such Warrants. Such Exercise Price shall be payable (i) by wire transfer or a certified or official bank check payable to the order of the Company or (ii) by electing (without the payment of the Exercise Price in cash) that the Company deduct from the number of shares of Common Stock otherwise to be delivered to the Holder upon exercise of the Warrants a number of shares of Common Stock equal to the quotient obtained by dividing (x) the aggregate Exercise Price to be paid by (y) the Fair Market Value of one share of Common Stock on the Business Day immediately preceding the day of exercise of the Warrant. An exercise of a Warrant in

 

1 

To be the third anniversary from the Issue Date.

2 

To be the third anniversary from the Issue Date.

 

A-132


Table of Contents

accordance with clause (ii) of the preceding sentence is herein referred to as a “Cashless Exercise,” and the Holder shall specify in the written notice provided pursuant to this Section 1 that it is electing to make a Cashless Exercise. The documentation and consideration, if any, delivered in accordance with clauses (a), (b) and (c) of this paragraph are collectively referred to herein as the “Warrant Exercise Documentation.” For federal income tax purposes, the Company and the Holders shall treat a Cashless Exercise as a reorganization under Section 368(a)(1)(E) of the Internal Revenue Code of 1986, as amended.

As promptly as practicable, and in any event within five Business Days after receipt of the Warrant Exercise Documentation, the Company shall: (a) (i) to the extent that the Transfer Agent is participating in The Depositary Trust Company (“DTC”) Fast Automated Securities Transfer Program, upon the request of the Holder of the Warrants, credit such aggregate number of shares of Common Stock to which such Holder is entitled pursuant to such exercise to such Holder’s or its designee’s balance account with DTC through its Deposit Withdrawal Agent Commission system, or (ii) deliver or cause to be delivered, if the Transfer Agent is not participating in the DTC Fast Automated Securities Transfer Program, the certificates, if certificated, or if not certificated then in book-entry form at the Transfer Agent, representing the number of validly issued, fully paid and non-assessable shares of Common Stock properly specified in the Warrant Exercise Documentation, (b) if applicable, deliver or cause to be delivered cash in lieu of any fraction of a share of Common Stock, as hereinafter provided, and (c) if less than the full number of Warrants evidenced hereby are being exercised, deliver or cause to be delivered a new warrant certificate or certificates, of like tenor, for the number of Warrants evidenced by this Warrant Certificate, less the number of Warrants then being exercised. Such exercise shall be deemed to have been made at the close of business on the date of delivery of all of the Warrant Exercise Documentation so that, to the extent permitted by applicable law, the Person entitled to receive shares of Common Stock upon such exercise shall be treated for all purposes as having become the record holder of such shares of Common Stock at such time. No such surrender shall be effective to constitute the Person entitled to receive such shares of Common Stock as the record holder thereof while the transfer books of the Company for Common Stock are closed for any purpose (but not for any period in excess of five days), but any such surrender of this Warrant Certificate for exercise during any period while such books are so closed shall become effective for exercise immediately upon the reopening of such books, as if the exercise had been made on the date this Warrant Certificate was surrendered and for the Number Issuable of shares of Common Stock specified in the Warrant Exercise Documentation and at the Exercise Price.

Any exercise of the Warrants evidenced hereby may be conditioned upon the occurrence of an event or transaction that is specified in a written notice of exercise provided by or on behalf of the Holder pursuant to this Section 1, provided that such conditional exercise is only permitted with respect to events for which notice was required to be provided to the Holder by or on behalf of the Company pursuant to Section 3 hereof. Such conditional exercise shall be deemed revoked if such event or transaction does not occur on the date, or within the dates, specified in the applicable notice provided by or on behalf of the Company pursuant to Section 3 hereof (if such a notice was provided). The Holder may rescind the exercise of the Warrant or Warrants at any time prior to the consummation of such transaction or event.

The Company shall pay all expenses in connection with, and all taxes and other governmental charges (other than income taxes of the Holder) that may be imposed in respect of, the issue or delivery of any shares of Common Stock issuable upon the exercise of the Warrants evidenced hereby. The Company shall not be required, however, to pay any tax or other charge imposed in connection with any transfer involved in the issue of any shares of Common Stock in any name other than that of the Holder.

In connection with the exercise of any Warrants evidenced hereby, no fractions of shares of Common Stock shall be issued, but in lieu thereof the Company shall pay a cash adjustment in respect of such fractional interest in an amount equal to such fractional interest multiplied by the Fair Market Value of a share of Common Stock on the Business Day immediately preceding the day of exercise. If more than one such Warrant shall be exercised by the Holder thereof at the same time, the number of full shares of Common Stock issuable on such exercise shall be computed on the basis of the total number of Warrants so exercised. The Company shall provide

 

A-133


Table of Contents

the Warrant Agent an initial funding of one thousand dollars ($1000) for the purpose of issuing cash in lieu of fractional shares. From time to time thereafter, the Warrant Agent may request additional funding to cover fractional payments. The Warrant Agent shall have no obligation to make fractional payments unless the Company shall have provided the necessary funds to pay in full all amounts due and payable with respect thereto.

Section 2. Adjustments.

(a) Adjustment of Number Issuable and/or the Exercise Price. In order to prevent dilution of the purchase rights granted under this Warrant, the Number Issuable upon exercise of this Warrant and the Exercise Price shall be subject to adjustment from time to time as provided in this Section 2 (in each case, after taking into consideration any prior adjustments pursuant to this Section 2). If, at any time as a result of the provisions of this Section 2, the Holder shall become entitled upon subsequent exercise to receive any shares of Equity Interests of the Company other than shares of Common Stock, the number of such other Equity Interests so receivable upon exercise of this Warrant shall thereafter be subject to adjustment from time to time in a manner and on terms as nearly equivalent as practicable to the provisions contained herein.

(b) Adjustment to Number Issuable Upon Dividend, Subdivision, Combination or Reclassification of Common Stock.

(i) If the Company shall, at any time or from time to time after the Issue Date and prior to the exercise in whole or expiration of this Warrant, (A) pay a dividend or make any other distribution upon the Common Stock of the Company payable in shares of Common Stock, or (B) subdivide (by any forward stock split, recapitalization or otherwise) its outstanding shares of Common Stock into a greater number of shares of Common Stock, then the Number Issuable upon the exercise of this Warrant immediately prior to any such dividend, distribution or subdivision shall be proportionately increased. If the Company shall, at any time or from time to time after the Issue Date and prior to the exercise in whole, or expiration of, this Warrant, combine (by combination, reverse stock split or otherwise) its outstanding Common Stock into a smaller number of shares of Common Stock, then the Number Issuable upon the exercise of this Warrant immediately prior to such combination shall be proportionately decreased. Any adjustment under this Section 2(b) shall become effective at the close of business on the date the dividend, distribution, subdivision or combination becomes effective.

(ii) If the Company shall, at any time or from time to time after the Issue Date and prior to the exercise in whole or expiration of this Warrant, issue by reclassification of its Common Stock any shares of its capital stock, then, (A) if the outstanding Common Stock shall be changed into a larger or smaller number of shares of Common Stock as part of such reclassification, such change shall be deemed to be a subdivision or combination, as the case may be, of the outstanding Common Stock for the purposes and within the meaning of Section 2(b)(i) and (B) if such reclassification entitles the holders of Common Stock to receive capital stock of the Company in respect of or in exchange for such holders’ shares of Common Stock, then, immediately after such reclassification, this Warrant shall thereafter be exercisable for the aggregate number and kind of shares of Equity Interests of the Company that the Holder would have been entitled to receive as a result of such reclassification had this Warrant been exercised immediately before the record date for such reclassification.

 

A-134


Table of Contents

(c) Adjustment for Rights Issue.

(i) If the Company, after the Issue Date and prior to the exercise in whole or expiration of this Warrant, distributes any rights, options or warrants to all holders of its shares of Common Stock entitling them for a period expiring within 45 days after the record date specified below to purchase Common Stock or securities convertible into, or exercisable or exchangeable for, Common Stock, at a price per share less than the Fair Market Value per share on that record date, then the Number Issuable upon the exercise of this Warrant shall be adjusted in accordance with the formula:

 

LOGO

where:

W’ = the adjusted Number Issuable upon exercise of the Warrant;

W = the Number Issuable upon exercise of the Warrant before the adjustment;

O = the number of shares of Common Stock outstanding on the applicable record date;

N = the number of additional shares of Common Stock issuable pursuant to such rights, options or warrants;

P = the price per share of the additional shares of Common Stock issuable pursuant to such rights, options or warrants; and

M = the Fair Market Value per share of Common Stock on the applicable record date.

(ii) The adjustment pursuant to this Section 2(c) shall be made successively whenever any such rights, options or warrants are issued and shall become effective immediately after the record date for the determination of stockholders entitled to receive the rights, options or warrants. If at the end of the period during which such rights, options or warrants are exercisable, not all rights, options or warrants shall have been exercised, the Number Issuable under the Warrant shall be immediately readjusted to what it would have been if “N” in the above formula had been the number of shares actually issued.

(d) Adjustments for Other Distributions.

(i) If the Company, after the Issue Date and prior to the exercise in whole or expiration of this Warrant, pays a cash distribution to all holders of its Common Stock or distributes to all holders of its Common Stock any shares of capital stock, evidences of indebtedness, or any assets or any rights, warrants or other securities, including, without limitation, securities of the Company or its subsidiaries (other than distributions to which Section 2(b), Section 2(c), Section 2(e) or Section 2(f) apply), then the Number Issuable upon the exercise of this Warrant shall be adjusted in accordance with the formula:

 

LOGO

where:

W’ = the adjusted Number Issuable upon exercise of the Warrant;

 

A-135


Table of Contents

W = the Number Issuable upon exercise of the Warrant before the adjustment;

M = the Fair Market Value per share of Common Stock on the applicable record date; and

F = the amount of cash or fair market value on the record date specified below of the evidences of indebtedness, assets, rights, warrants or other securities to be distributed in respect of one share of Common Stock as determined in good faith by the Board.

(ii) The adjustment pursuant to this Section 2(d) shall be made successively whenever any such distribution is made and shall become effective immediately after the record date for the determination of holders entitled to receive the distribution.

(e) Extraordinary Distributions. If the Company, after the Issue Date and prior to the exercise in whole or expiration of this Warrant, pays a cash distribution or dividend to all holders of its Common Stock in an amount per share in excess of 10% of the Closing Sale Price of the Common Stock on the Business Day immediately preceding the date of payment, then and in each such event the Holder, upon each exercise of this Warrant, shall be entitled to receive, in addition to the Number Issuable, the amount of cash which the Holder would have been entitled to receive if, immediately prior to the record date for such payment, the Holder had exercised the same portion of this Warrant as such aforementioned exercise. The Holder may set off the amount receivable with respect to all or a part of the shares of Common Stock issuable upon such exercise against its payment obligation for the Exercise Price therefor.

(f) MRL Spin-Off. Notwithstanding any other provision in this Warrant, if the Company effects an MRL Spin-Off after the Issue Date and prior to the exercise in whole or expiration of this Warrant, there shall be no adjustment to the Number Issuable upon exercise of this Warrant or to the Exercise Price, but instead, (i) the Company shall cause MRL SpinCo to reserve for issuance upon exercise of this Warrant the number of units of MRL SpinCo common Equity Interests the Holder of this Warrant would have been entitled to receive in the MRL Spin-Off had this Warrant been exercised in full immediately prior to the record date for the MRL Spin-Off, and (ii) upon exercise of this Warrant in accordance with Section 1 hereof, (A) the Company shall promptly provide notice of such exercise to MRL SpinCo and, promptly following receipt of such notice, MRL SpinCo shall issue to the Holder of this Warrant such number of units of MRL SpinCo common Equity Interests referred to in the immediately preceding clause (i) and (B) the Company shall issue to the Holder the Number Issuable. The number of units of MRL SpinCo common Equity Interests reserved for issuance and issuable pursuant to this Section 2(f) shall be appropriately adjusted to reflect any stock split, reverse stock split or stock dividend or other similar change in the MRL SpinCo common Equity Interests which may be made by MRL SpinCo following the MRL Spin-Off.

(g) Certain Repurchases of Common Stock.

(i) If the Company, after the Issue Date and prior to the exercise in whole or expiration of this Warrant, effects a Pro Rata Repurchase of Common Stock, then the number of shares of Common Stock issuable upon the exercise of this Warrant shall be adjusted in accordance with the formula:

 

LOGO

where:

W’ = the adjusted Number Issuable upon exercise of the Warrant;

W = the Number Issuable upon exercise of the Warrant before the adjustment;

 

A-136


Table of Contents

O = the number of shares of Common Stock outstanding immediately before such Pro Rata Repurchase;

N = the number of shares of Common Stock repurchased in connection with such Pro Rata Repurchase;

M = the Fair Market Value per share of Common Stock on the date of the first public announcement by the Company or any of its Affiliates of the intent to effect such Pro Rata Repurchase; and

F = the amount of cash or fair market value on the effective date of the Pro Rata Repurchase of the securities of the Company, evidences of indebtedness of the Company or any other Person or any other property distributed in connection with the Pro Rata Repurchase as determined in good faith by the Board.

(ii) The adjustment pursuant to this Section 2(g) shall be made successively whenever any such distribution is made and shall become effective immediately after the record date for the determination of holders entitled to receive the distribution.

(h) Dissolution, Liquidation or Winding Up. If, on or prior to the expiration of this Warrant, the Company (or any other Person controlling the Company) shall propose a voluntary or involuntary dissolution, liquidation or winding up of the affairs of the Company, the Holder of this Warrant shall receive upon exercise of the Warrant the kind and number of other securities or assets which the Holder would have been entitled to receive if the Holder had exercised this Warrant in full and acquired the then-applicable Number Issuable hereunder as a result of such exercise immediately prior to the time of such dissolution, liquidation or winding up and the right to exercise this Warrant shall terminate on the date on which the holders of record of Common Stock shall be entitled to exchange their shares of Common Stock for securities or assets deliverable upon such dissolution, liquidation or winding up.

(i) When De Minimis Adjustment May Be Deferred. The Company may defer an adjustment in the Number Issuable subject to a Warrant if such adjustment would require an increase or decrease of less than 1% of the then-applicable Number Issuable subject to a Warrant, except that all such deferred adjustments must be given effect immediately upon the earliest of the following: (1) when all such deferred adjustments would result in a change of at least 1% of the then-applicable Number Issuable; and (2) the exercise of any Warrant. All calculations under this Section 2 shall be made to the nearest 1/10,000th of a whole share of Common Stock, it being understood that no such rounding shall be made under Section 2(n) (and, in calculations made pursuant to such paragraph, the adjusted Number Issuable subject to a Warrant shall refer to such adjusted number before rounding).

(j) When No Adjustment Required. No adjustment need be made for a transaction referred to in Sections 2(b) through 2(e), if the Holder is to participate (without being required to exercise the Warrants) in the transaction on a basis and with notice that the Board and the Holder determine to be fair and appropriate in light of the basis and notice on which holders of Common Stock participate in the transaction. No adjustment need be made for (i) rights to purchase Common Stock pursuant to a Company plan for reinvestment of dividends or interest or (ii) the issuance or exercise of any Equity Interests or equity-based awards in accordance with any management or other employee incentive plan of the Company. To the extent the Warrants become convertible into cash, no adjustment need be made thereafter as to the cash, and interest will not accrue on the cash.

(k) Notice of Adjustment. Whenever the Number Issuable subject to the Warrant is adjusted, the Company shall provide the notices required by Section 3.

(l) Reorganization of Company. If, after the Issue Date and prior to the exercise in whole or expiration of this Warrant, the Company consolidates or merges with or into, or transfers all or substantially all its assets to, any Person, upon consummation of such transaction, the Warrants shall automatically become exercisable for the kind and amount of securities, cash or other assets which the Holder of this Warrant would have owned immediately after the consolidation, merger or transfer if the Holder had exercised this Warrant immediately

 

A-137


Table of Contents

before the effective date of the transaction, assuming that the Holder failed to exercise its rights of election, if any, as to the kind of amount of securities, cash or other assets receivable upon such a transaction. Concurrently with the consummation of such transaction, the Person formed by or surviving any such consolidation or merger if other than the Company, or the Person to which such transfer shall have been made, shall enter into a supplemental Warrant so providing and further providing for adjustments that shall be as nearly equivalent as may be practical to the adjustments provided for in this Section 2. The successor to the Company shall mail to the Holder a notice describing the supplemental Warrant. If the issuer of securities deliverable upon exercise of Warrants under the supplemental Warrant is an Affiliate of the formed, surviving or transferee Person, that issuer shall join in the supplemental Warrant. If this Section 2(l) applies to a transaction, Sections 2(b) through 2(h) and Section 2(n) shall not also apply to such transaction.

(m) Company Determination Final. Any determination that the Company or the Board must make pursuant to Sections 2(b) through 2(n) hereof is conclusive in the absence of manifest error or bad faith.

(n) Exercise Price in the Event of an Adjustment of the Number Issuable. Upon any adjustment of the Number Issuable subject to the Warrant pursuant to this Section 2, the Exercise Price per share of Common Stock subject to issuance upon exercise of the Warrant shall be adjusted concurrently thereto to equal the product of (a) $20.00 (or if the Exercise Price has been previously adjusted, then such as adjusted Exercise Price) times (b) a fraction, of which the numerator is the total number of shares of Common Stock subject to issuance upon the exercise of the Warrant before giving effect to the adjustment, and the denominator is the total number of shares of Common Stock subject to issuance upon the exercise of the Warrants as so adjusted. For the avoidance of doubt, in connection with any adjustment pursuant to Section (e) or (f), there shall be no adjustment to the exercise price under this Section (n).

(o) Form of Warrants. Irrespective of any adjustments in the Exercise Price or the number or kind of shares purchasable upon the exercise of the Warrants, Warrants theretofore or thereafter issued in certificated form may continue to express the same price and number and kind of shares as are stated in the Warrants initially issuable pursuant to this Warrant Certificate.

Section 3. Notices to Holders.

(a) Notice of Adjustment. Upon any adjustment of the Number Issuable subject to a Warrant and the Exercise Price pursuant to Section 2 hereof, the Company shall promptly thereafter cause to be given to the Holder written notice of such adjustments by email or by first-class mail, postage prepaid. Where appropriate, such notice may be given in advance and included as a part of the notice required to be mailed under the other provisions of this Section 3.

(b) Notice of Certain Events.

In case:

(i) the Company shall authorize the issuance to all holders of Common Stock of rights, options or warrants to subscribe for or purchase shares of Common Stock or of any other subscription rights or warrants;

(ii) the Company shall authorize the distribution to all holders of Common Stock evidences of its indebtedness or assets;

(iii) the Company shall authorize any Pro Rata Repurchase;

(iv) of any consolidation or merger to which the Company is a party, or of the transfer of all or substantially all assets of the Company, or of any reclassification or change of Common Stock issuable upon exercise of the Warrants, or any tender offer or exchange offer for shares of Common Stock by the Company;

 

A-138


Table of Contents

(v) of the voluntary or involuntary dissolution, liquidation or winding up of the Company; or

(vi) the Company proposes to take any action which would require an adjustment of the Number Issuable subject to a Warrant pursuant to Section 2 hereof;

then the Company shall cause to be given to the Holder, at least 10 days prior to any applicable record date, or promptly in the case of events for which there is no record date, by electronic mail, a notice stating (x) the date as of which the holders of record of Common Stock shall be entitled to receive any such rights, options, warrants or distribution are to be determined, (y) the initial expiration date set forth in any tender offer or exchange offer for Common Stock, or (z) the date on which any such consolidation, merger, conveyance, transfer, dissolution, liquidation or winding up is expected to become effective or consummated, and the date as of which it is expected that holders of record of Common Stock shall be entitled to exchange such shares for securities or other property, if any, deliverable upon such reclassification, consolidation, merger, conveyance, transfer, dissolution, liquidation or winding up. The failure to give the notice required by this Section 3 or any defect therein shall not affect the legality or validity of any distribution, right, option, warrant, consolidation, merger, conveyance, transfer, dissolution, liquidation or winding up, or the vote upon any action.

Section 4. Certain Covenants.

(a) Authorized Shares. The Company covenants and agrees that all shares of capital stock of the Company which may be issued upon the exercise of the Warrants evidenced hereby will, when issued, be duly authorized, validly issued and fully paid and non-assessable upon issuance and will be free and clear of all liens and will not be subject to any pre-emptive or similar rights. The Company shall at all times reserve and keep available solely for issuance upon the exercise of the Warrants, such number of its authorized but unissued shares of Common Stock as will from time to time be sufficient to permit the exercise of all outstanding Warrants, and shall take all action required to increase the authorized number of shares of Common Stock if at any time there shall be insufficient authorized but unissued shares of Common Stock to permit such reservation or to permit the exercise of all outstanding Warrants.

(b) No Impairment. The Company will not, by amendment of its charter or through reorganization, transfer of assets, consolidation, merger, dissolution, issue or sale of securities or any other voluntary action, avoid or seek to avoid the observance or performance of any of the terms of this Warrant, but will at all times in good faith assist in the carrying out of all such terms and in the taking of all such action as may be necessary or appropriate in order to protect the rights of the Holder of this Warrant against impairment. Without limiting the generality of the foregoing, the Company will (i) not increase the par value of any shares of Common Stock obtainable upon the exercise of this Warrant and (ii) take all such actions as may be necessary or appropriate in order that the Company may validly and legally issue fully paid and non-assessable shares of Common Stock upon the exercise of this Warrant.

Section 5. Registered Holder. The Person in whose name this Warrant Certificate is registered shall be deemed the owner hereof and of the Warrants evidenced hereby for all purposes. The Holder of this Warrant Certificate, solely in its capacity as such, shall not be entitled to any rights whatsoever as a stockholder of the Company, except as herein provided.

Section 6. Certain Transfer and Exercise Provisions. Any transfer of the rights represented by this Warrant Certificate shall be effected by (i) only if an original counterpart of this Warrant Certificate is actually physically delivered to the Holder, the surrender of this Warrant Certificate or provision of an affidavit of loss (accompanied by any indemnity, medallion guarantee or other undertaking or assurance reasonably requested from the Holder by the Company, its Transfer Agent or the Warrant Agent) if the Holder does not have possession of this Warrant Certificate at such time and (ii) delivery of the form of assignment attached hereto as Exhibit B, properly completed and executed by the Holder hereof, at the office of the Warrant Agent designated for such purposes. A party requesting transfer of Warrants must provide any evidence of authority that may be

 

A-139


Table of Contents

required by the Warrant Agent, including but not limited to, a signature guarantee from an eligible guarantor institution participating in a signature guarantee program approved by the Securities Transfer Association. Thereupon, the Company shall issue in the name or names specified by the Holder hereof and, in. Thereupon, the Company shall issue in the name or names specified by the Holder hereof and, in the event of a partial transfer, in the name of the Holder hereof, a new warrant certificate or certificates evidencing the right to purchase such number of shares of Common Stock as shall be equal to the then applicable Number Issuable.

Section 7. Denominations. The Company covenants that it will, at its expense, promptly upon surrender of this Warrant Certificate or an affidavit of loss in accordance with Section 8 at the registered office of the Company, execute and deliver to the Holder a new warrant certificate or certificates in denominations specified by such Holder for an aggregate number of Warrants equal to the number of Warrants evidenced by this Warrant Certificate.

Section 8. Replacement of Warrants. Upon receipt of evidence satisfactory to the Company and the Warrant Agent of the loss, theft, destruction or mutilation of this Warrant Certificate, absent notice to the Warrant Agent that such certificates have been acquired by a bona fide purchaser, and, in the case of loss, theft or destruction, upon delivery of an open penalty surety bond satisfactory to the Company, Warrant Agent, and Transfer Agent holding the Company, Warrant Agent, and Transfer Agent harmless, or, in the case of mutilation, at its option and upon surrender and cancellation thereof, the Warrant Agent will issue a new warrant certificate of like tenor for a number of Warrants equal to the number of Warrants evidenced by this Warrant Certificate.

Section 9. Governing Law. THIS WARRANT CERTIFICATE AND ANY DISPUTE OR CLAIM ARISING HEREUNDER OR RELATING HERETO SHALL BE CONSTRUED AND ENFORCED IN ACCORDANCE WITH, AND THE RIGHTS OF THE PARTIES SHALL BE GOVERNED BY, THE LAWS OF THE STATE OF NEW YORK APPLICABLE TO AGREEMENTS MADE AND TO BE PERFORMED ENTIRELY WITHIN SUCH STATE.

THE COMPANY AND THE HOLDER OF THIS WARRANT CERTIFICATE HEREBY IRREVOCABLY AND UNCONDITIONALLY WAIVE THEIR RIGHT TO TRIAL BY JURY IN ANY JUDICIAL PROCEEDING IN ANY COURT RELATING TO ANY DISPUTE, CONTROVERSY OR CLAIM WITH RESPECT TO THIS WARRANT CERTIFICATE.

Section 10. Rights Inure to Registered Holder. The Warrants evidenced by this Warrant Certificate will inure to the benefit of and be binding upon the Holder and the Company and their respective successors and permitted assigns. Nothing in this Warrant Certificate shall be construed to give to any Person other than the Company and the Holder any legal or equitable right, remedy or claim under this Warrant Certificate, and this Warrant Certificate shall be for the sole and exclusive benefit of the Company and such Holder. Nothing in this Warrant Certificate shall be construed to give the Holder any rights as a holder of shares of Common Stock until such time, if any, as the Warrants evidenced by this Warrant Certificate are exercised in accordance with the provisions hereof.

Section 11. Entire Agreement. The terms of this Warrant are to be read in conjunction with the applicable terms of the Warrant Agreement. In the event of an inconsistency between the terms of this Warrant and the Warrant Agreement, the terms of the Warrant Agreement shall prevail. The Company shall not amend any provisions of the Warrant Certificate without the prior consent of the Warrant Agent, not to be unreasonably withheld or delayed.

Section 12. Definitions. For the purposes of this Warrant Certificate, the following terms shall have the meanings indicated below:

Affiliate” means with respect to any specified Person, any other Person directly or indirectly Controlling, Controlled by or under direct or indirect common Control with such specified Person.

 

A-140


Table of Contents

Board” means the board of directors of the Company.

Business Day” means any day other than a Saturday, Sunday or a day on which banking institutions in the City of New York or at a place of payment are authorized by law, regulation or executive order to remain closed.

Cashless Exercise” has the meaning given it in Section 1.

Closing Sale Price” of the Common Stock means, as of any date, (a) the closing sale price per share (or if no closing sale price is reported, the average of the closing bid and ask prices or, if more than one in either case, the average of the average closing bid and the average closing ask prices) on such date as reported on the principal national securities exchange on which the Common Stock is traded or (b) if on any such day the Common Stock is not listed on a national securities exchange, the Fair Market Value.

Common Stock” means the shares of common stock, par value $0.01 per share, of the Company.

Company” has the meaning given it in the first paragraph hereof.

Control” means the possession, direct or indirect, of the power to direct or cause the direction of the management and the policies of a Person, whether through the ownership of voting securities, by contract or otherwise.

DTC” has the meaning given it in Section 1.

Equity Interests” means shares of capital stock, partnership interests, membership interests in a limited liability company, beneficial interests in a trust or other equity ownership interests in a Person, and any warrants, options or other rights entitling the holder thereof to purchase or acquire any such Equity Interest.

Exercise Price” has the meaning given it in the first paragraph hereof.

Fair Market Value” means, as of any particular date: (a) the VWAP Price of the Common Stock for such day on all domestic securities exchanges on which the Common Stock may at the time be listed; (b) if there have been no sales of the Common Stock on any such exchange on any such day, the average of the highest bid and lowest asked prices for the Common Stock on all such exchanges at the end of such day; (c) if on any such day the Common Stock is not listed on a domestic securities exchange, the VWAP Price of the Common Stock as quoted on the OTC Bulletin Board, the Pink OTC Markets or similar quotation system or association for such day; or (d) if there have been no sales of the Common Stock on the OTC Bulletin Board, the Pink OTC Markets or similar quotation system or association on such day, the average of the highest bid and lowest asked prices for Common Stock quoted on the OTC Bulletin Board, the Pink OTC Markets or similar quotation system or association at the end of the day; in each case, averaged over the 20 consecutive Business Days ending on the Business Day immediately prior to the day as of which “Fair Market Value” is being determined; provided that, if the Common Stock is listed on any domestic securities exchange, the term “Business Day” as used in this sentence means Business Days on which such exchange is open for trading. If at any time the Common Stock is not listed on any domestic securities exchange or quoted on the OTC Bulletin Board, the Pink OTC Markets or similar quotation system or association, the “Fair Market Value” of the Common Stock shall be the fair market value per share of Common Stock as determined in good faith by the Board.

Holder” has the meaning given it in the first paragraph hereof.

Issue Date” means [●].

MRL” means Montana Renewables, LLC, a Delaware limited liability company.

 

A-141


Table of Contents

MRL Spin-Off” means a distribution by the Company to all holders of its Common Stock of any common Equity Interests of MRL, any of MRL’s controlled affiliates or any direct or indirect parent of MRL in connection with the listing of such common Equity Interests on a national securities exchange.

MRL SpinCo” means the entity which has its common Equity Interests listed on a national securities exchange as a result of an MRL Spin-Off.

Number Issuable” has the meaning given it in the second paragraph hereof.

Officer” means the Chief Executive Officer, the Chief Operating Officer, the Chief Financial Officer, the President, the Treasurer, any Assistant Treasurer, the Controller, the Secretary, any Senior Vice President, any Vice President or any Assistant Vice President of the Company or any correlative position.

OTC Bulletin Board” means the Financial Industry Regulatory Authority OTC Bulletin Board electronic inter-dealer quotation system.

Person” means any individual, corporation, limited liability company, partnership, trust, incorporated or unincorporated association, joint venture, joint stock company, government (or an agency or political subdivision thereof) or other entity of any kind.

Pink OTC Markets” means the OTC Markets Group Inc. electronic inter-dealer quotation system, including OTCQX, OTCQB and OTC Pink.

Pro Rata Repurchase” means any purchase of shares of Common Stock by the Company or any subsidiary thereof pursuant to (i) any tender offer or exchange offer subject to Section 13(e) or 14(e) of the Exchange Act or Regulation 14E promulgated thereunder or (ii) any other offer available to substantially all holders of Common Stock, in the case of both (i) or (ii), whether for cash, Common Stock, other securities of the Company, evidences of indebtedness of the Company or any other Person or any other property (including, without limitation, Common Stock, other securities or evidences of indebtedness of a subsidiary), or any combination thereof, effected while this Warrant is outstanding. The “effective date” of a Pro Rata Repurchase shall mean the date of acceptance of shares of Common Stock for purchase or exchange by the Company under any tender or exchange offer that is a Pro Rata Repurchase or the date of purchase with respect to any Pro Rata Repurchase that is not a tender or exchange offer.

Transfer Agent” has the meaning given it in Section 1.

VWAP Price” as of a particular date means the volume-weighted average trading price, as adjusted for splits, combinations and other similar transactions, of a share of Common Stock (or, if applicable, a unit of common Equity Interests of another Person).

Warrant Agreement” shall mean that certain Warrant Agreement, dated as of [●], between the Company and Computershare Inc., a Delaware corporation, and its affiliate, Computershare Trust Company, N.A., a federally chartered trust company.

Warrant Certificate” has the meaning given it in the first paragraph hereof.

Warrant Exercise Documentation” has the meaning given it in Section 1.

Warrants” have the meaning given it in the first paragraph hereof.

Section 13. Notices. All notices, demands and other communications provided for or permitted hereunder shall be made in writing and shall be by registered or certified first-class mail, return receipt requested,

 

A-142


Table of Contents

United States nationally recognized overnight courier services, personal delivery or e-mail, (a) if to the Holder of a Warrant, at such Holder’s last known address appearing on the transfer books of the Warrant Agent; and (b) if to the Company or Warrant Agent, at the applicable registered office located at the address designated for notices in the Warrant Agreement, or such other address as shall have been furnished to the party given or making such notice, demand or other communication. All such notices and communications shall be deemed to have been duly given: when delivered by hand, if personally delivered; on the date mailed, if sent by registered or certified first-class mail, return receipt requested or a United States nationally recognized overnight courier service guaranteeing next Business Day delivery; and by email, (i) at the time of transmission, if such notice or communication is delivered prior to 5:30 p.m. (New York City time) on any date or (ii) the next Business Day after the date of transmission, if such notice or communication is delivered on a day that is not a Business Day or later than 5:30 p.m. (New York City time) on any Business Day. For any notice delivered via e-mail to be deemed given or made, such notice must be followed by notice sent by overnight courier service to be delivered on the next Business Day following such email, unless the recipient of such email has acknowledged via return email receipt of such email.

 

A-143


Table of Contents

IN WITNESS WHEREOF, the Company has caused this Warrant Certificate to be duly executed as of the Issue Date.

 

CALUMET, INC.

By:

   

Name:

   

Title:

   

Countersigned on [     ] by:

Computershare Inc.

Computershare Trust Company, N.A.

 

By:     

Name:

   

Title:

   

 

[Warrant Certificate Signature Page]

A-144


Table of Contents

Exhibit A to the Warrant Certificate

[Form of Exercise Notice]

Notice of Exercise

Date: [●]

 

To:

Calumet, Inc.

 

2780 Waterfront Parkway East Drive, Suite 200

Indianapolis, IN 46214

Email: Greg.Morical@calumetspecialty.com

 

Cc:

Gibson, Dunn & Crutcher LLP

 

811 Main Street, Suite 3000

Houston, TX 77002

Email: HHolmes@gibsondunn.com

 

Re:

Election to Purchase Common Stock

The undersigned Holder has the right under the Warrant Certificate, dated as of [•], 2024, by and between Calumet, Inc. and [HOLDER], to purchase the number of shares of Common Stock set forth below covered by such Warrant Certificate. Capitalized terms used herein but not otherwise defined shall have the meaning set forth in the Warrant Certificate. Upon payment of the applicable Exercise Price and surrender of the Warrant Certificate included herewith, the undersigned Holder hereby irrevocably, except as set forth in Section 3 of the Warrant Certificate, elects to exercise its right represented by the Warrant Certificate to purchase the number of shares of Common Stock set forth below, and requests that such shares be issued in the following name:

Name:                   

A new Warrant Certificate evidencing the remaining, unexercised Warrants, if any, should be issued in the name of the Holder.

Aggregate Number of Warrants to be Exercised (including Warrants to be surrendered as payment of the Exercise Price pursuant to Section 1 of the Warrant Certificate, if any):

 

Method of Payment of Exercise Price:

☐ Cashless Exercise

☐ Certified or Official Bank Check

☐ Wire Transfer

Aggregate Exercise Price (cash amount or Warrants to be surrendered as payment of the Exercise Price pursuant to Section 1 of the Warrant Certificate, if any):

 

[Remainder of the Page Left Intentionally Blank]

 

A-145


Table of Contents

IN WITNESS WHEREOF, the undersigned has executed this Notice of Exercise as of the date first set forth above.

 

Holder: []

By:

   

Name:

 

 

A-146


Table of Contents

Exhibit B to the Warrant Certificate

[Form of Assignment Form]

[To be executed upon assignment of Warrants]

The undersigned hereby assigns and transfers this Warrant Certificate1 to     whose Social Security Number or Tax ID Number is     and whose record address is    , and irrevocably appoints     as agent to transfer this security on the books of the Company. Such agent may substitute another to act for such agent.

The contact information of the assignee is as follows:

[●]

[Address]

[City, State, Zip]

Attention: [●]

Facsimile: [●]

Email: [●]

 

Signature:
  

Signature Guarantee:

 
Date:       
  

1   For partial assignment, indicate portion assigned.

 

A-147


Table of Contents

Annex A-1

FIRST AMENDMENT TO CONVERSION AGREEMENT

This FIRST AMENDMENT TO CONVERSION AGREEMENT (this “Amendment”), by and among CALUMET SPECIALTY PRODUCTS PARTNERS, L.P., a Delaware limited partnership (“CLMT”), CALUMET, INC., a Delaware corporation and a wholly owned subsidiary of CLMT (“NewCo”), CALUMET MERGER SUB I LLC, a Delaware limited liability company and a wholly owned subsidiary of NewCo (“Merger Sub I”), CALUMET MERGER SUB II LLC, a Delaware limited liability company and a wholly owned subsidiary of NewCo (“Merger Sub II”), CALUMET GP, LLC, a Delaware limited liability company and the general partner of CLMT (the “General Partner”), and each Person set forth on Schedule A attached hereto (collectively, the “Sponsor Parties,” and together with CLMT, NewCo, Merger Sub I, Merger Sub II and the General Partner, the “Parties”), is dated and effective as of April 17, 2024, and amends that certain Conversion Agreement (the “Agreement”), dated as of February 9, 2024, by and among the Parties. Unless otherwise provided, capitalized terms used herein but not defined herein shall have the meanings assigned to such terms in the Agreement.

RECITALS

WHEREAS, the Parties desire to enter into this Amendment to amend the Agreement on the terms and conditions set forth herein;

WHEREAS, Section 8.9 of the Agreement provides that any amendment to the Agreement requires (i) written agreement of the Parties and (ii) approval by the Conflicts Committee;

WHEREAS, pursuant to and in accordance with Section 8.9 of the Agreement, the Conflicts Committee has unanimously approved this Amendment; and

WHEREAS, upon the Conflicts Committee’s approval, the CLMT Board has unanimously approved this Amendment.

NOW THEREFORE, for good and valuable consideration, the receipt and sufficiency of which are hereby acknowledged, the Parties hereby agree as follows:

1. Amendments to the Agreement.

 

  (a)

Exhibit C (NewCo Bylaws) to the Agreement is hereby deleted in its entirety and replaced with the form of NewCo Bylaws attached hereto as Annex 1.

 

  (b)

Exhibit D (NewCo Charter) to the Agreement is hereby deleted in its entirety and replaced with the form of NewCo Charter attached hereto as Annex 2.

 

  (c)

Exhibit F (Stockholders Agreement) to the Agreement is hereby deleted in its entirety and replaced with the form of Stockholders Agreement attached hereto as Annex 3.

2. No Other Amendments. Except as amended hereby, the Agreement shall continue in full force and effect in accordance with its terms.

3. Governing Law. This Amendment shall be governed in all respects in accordance with the provisions of Section 8.7 of the Agreement.

4. Counterparts. This Amendment may be executed in one or more counterparts, each of which shall be deemed an original, and all of which, when taken together, shall be deemed one agreement. Delivery of an executed counterpart of a signature page to this Amendment by facsimile or other electronic image scan shall be effective as delivery of a manually executed counterpart to this Amendment.

 

A-1-1


Table of Contents

5. Miscellaneous. Sections 8.2 (Expenses), 8.3 (Notices), 8.4 (Successors and Assigns), 8.5 (No Third-Party Rights), 8.8 (Severability), 8.9 (Amendment or Modification; Waiver), and 8.10 (Specific Performance) of the Agreement are incorporated herein, mutatis mutandis.

[Signature page follows.]

 

A-1-2


Table of Contents

IN WITNESS WHEREOF, the Parties have executed this Amendment to Partnership Restructuring Agreement as of the date first written above.

 

CALUMET SPECIALTY PRODUCTS PARTNERS, L.P.
By:   Calumet GP, LLC, its general partner
By:  

/s/ Todd Borgmann

Name:   Todd Borgmann
Title:   Chief Executive Officer

[Signature page to Amendment to Conversion Agreement]

 

A-1-3


Table of Contents
CALUMET GP, LLC
By:  

/s/ Todd Borgmann

Name:   Todd Borgmann
Title:   Chief Executive Officer

[Signature page to Amendment to Conversion Agreement]

 

A-1-4


Table of Contents
CALUMET, INC.
By:  

/s/ Todd Borgmann

Name:   Todd Borgmann
Title:   President & Chief Executive Officer

[Signature page to Amendment to Conversion Agreement]

 

A-1-5


Table of Contents
CALUMET MERGER SUB I LLC
By:   Calumet, Inc., its sole member
By:  

/s/ Todd Borgmann

Name:   Todd Borgmann
Title:   President & Chief Executive Officer

[Signature page to Amendment to Conversion Agreement]

 

A-1-6


Table of Contents
CALUMET MERGER SUB II LLC
By:   Calumet, Inc., its sole member
By:  

/s/ Todd Borgmann

Name:   Todd Borgmann
Title:   President & Chief Executive Officer

[Signature page to Amendment to Conversion Agreement]

 

A-1-7


Table of Contents
THE HERITAGE GROUP

By:

 

/s/ Amy Schumacher

Name:

 

Amy Schumacher

Title:

 

Chief Executive Officer

[Signature page to Amendment to Conversion Agreement]

 

A-1-8


Table of Contents

 

/s/ Jennifer Straumins

  JENNIFER STRAUMINS

[Signature page to Amendment to Conversion Agreement]

 

A-1-9


Table of Contents

 

/s/ William Grube Jr.

  WILLIAM GRUBE JR.

[Signature page to Amendment to Conversion Agreement]

 

A-1-10


Table of Contents
IRREVOCABLE INTERVIVOS TRUST
NUMBER 12.27.73 FOR THE BENEFIT OF
FRED MEHLERT FEHSENFELD, JR. AND
HIS ISSUE U/A DATED DECEMBER 18, 2012
By:  

/s/ Fred M. Fehsenfeld, Jr.

Name:   Fred M. Fehsenfeld, Jr.
Title:   Trustee

[Signature page to Amendment to Conversion Agreement]

 

A-1-11


Table of Contents
MAGGIE FEHSENFELD TRUST NUMBER
106 12.30.74 FOR THE BENEFIT OF FRED
MEHLERT FEHSENFELD, JR. AND HIS
ISSUE U/A DATED DECEMBER 18, 2012
By:  

/s/ Fred M. Fehsenfeld, Jr.

Name:   Fred M. Fehsenfeld, Jr.
Title:   Trustee

[Signature page to Amendment to Conversion Agreement]

 

A-1-12


Table of Contents

SCHEDULE A

Sponsor Parties

The Heritage Group

Jennifer Straumins

William Grube Jr.

Irrevocable Intervivos Trust Number 12.27.73 for the Benefit of Fred Mehlert Fehsenfeld, Jr. and His Issue U/A Dated December 18, 2012

Maggie Fehsenfeld Trust Number 106 12.30.74 for the Benefit of Fred Mehlert Fehsenfeld, Jr. and His Issue U/A Dated December 18, 2012

 

A-1-13


Table of Contents

Annex 1

Exhibit C

NewCo Bylaws

 

A-1-14


Table of Contents

AMENDED AND RESTATED

BYLAWS

OF

CALUMET, INC.

(a Delaware corporation)

ARTICLE I

CORPORATE OFFICES

Section 1.1 Registered Office. The registered office of Calumet, Inc., a Delaware corporation (the “Corporation”), shall be fixed from time to time in the Certificate of Incorporation of the Corporation (as the same may be amended and/or restated from time to time, the “Certificate of Incorporation”).

Section 1.2 Other Offices. The Corporation may also have an office or offices, and keep the books and records of the Corporation, except as otherwise required by law, at such other place or places, either within or without the State of Delaware, as the Corporation may from time to time determine or the business of the Corporation may require.

ARTICLE II

MEETINGS OF STOCKHOLDERS

Section 2.1 Annual Meeting. The annual meeting of stockholders, for the election of directors and for the transaction of such other business as may properly come before the meeting, shall be held at such place, if any, either within or without the State of Delaware, on such date, and at such time as the Board of Directors of the Corporation (the “Board of Directors” or the “Board”) shall fix. The Board of Directors may postpone, reschedule or cancel any annual meeting of stockholders previously scheduled by the Board of Directors.

Section 2.2 Special Meeting.

Except as otherwise required by law, and except as otherwise provided for or fixed pursuant to the Certificate of Incorporation, including any certificate of designations relating to any series of Preferred Stock (each hereinafter referred to as a “Preferred Stock Designation”), a special meeting of the stockholders of the Corporation may be called at any time only by the Board of Directors and may not be called by any other person or persons. Only such business shall be conducted at a special meeting of stockholders as shall have been brought before the meeting by or at the direction of the Board of Directors.

Section 2.3 Notice of Stockholders’ Meetings.

(a) Whenever stockholders are required or permitted to take any action at a meeting, a notice of the meeting of stockholders shall specify the place, if any, date and time of the meeting of stockholders, the record date for determining the stockholders entitled to vote at the meeting (if such date is different from the record date for determining the stockholders entitled to notice of the meeting), and the means of remote communications, if any, by which stockholders and proxyholders may be deemed to be present in person and vote at such meeting. The notice shall be given not less than 10 nor more than 60 days before the date on which the meeting is to be held, to each stockholder entitled to vote at such meeting as of the record date for determining the stockholders entitled to notice of the meeting, except as otherwise provided by law, the Certificate of Incorporation (including any Preferred Stock Designation) or these Bylaws. In the case of a special meeting, the purpose or purposes for which the meeting is called also shall be set forth in the notice. Business transacted at a special meeting of stockholders shall be limited to the matters set forth in the notice of such meeting.

 

 

A-1-15


Table of Contents

(b) Except as otherwise required by law, notice may be given in writing directed to a stockholder’s mailing address as it appears on the records of the Corporation and shall be given: (i) if mailed, when notice is deposited in the U.S. mail, postage prepaid; and (ii) if delivered by courier service, the earlier of when the notice is received or left at such stockholder’s address.

(c) So long as the Corporation is subject to the Securities and Exchange Commission’s proxy rules set forth in Regulation 14A under the Securities Exchange Act of 1934, as amended (the “Exchange Act”), notice shall be given in the manner required by such rules. To the extent permitted by such rules, notice may be given by electronic transmission directed to the stockholder’s electronic mail address, and if so given, shall be given when directed to such stockholder’s electronic mail address unless the stockholder has notified the Corporation in writing or by electronic transmission of an objection to receiving notice by electronic mail or such notice is prohibited by Section 232(e) of the General Corporation Law of the State of Delaware (as the same exists or may hereafter be amended from time to time, the “DGCL”). If notice is given by electronic mail, such notice shall comply with the applicable provisions of Sections 232(a) and 232(d) of the DGCL.

(d) Notice may be given by other forms of electronic transmission with the consent of a stockholder in the manner permitted by Section 232(b) of the DGCL and shall be deemed given as provided therein.

(e) An affidavit that notice has been given, executed by the Secretary, Assistant Secretary (or other officer designated by the Board) or any transfer agent or other agent of the Corporation, shall be prima facie evidence of the facts stated in the notice in the absence of fraud. Notice shall be deemed to have been given to all stockholders who share an address if notice is given in accordance with the “householding” rules set forth in Rule 14a-3(e) under the Exchange Act and Section 233 of the DGCL.

(f) When a meeting is adjourned to another time or place (including an adjournment taken to address a technical failure to convene or continue a meeting using remote communication), notice need not be given of the adjourned meeting if the place, if any, date and time thereof, and the means of remote communications, if any, by which stockholders and proxyholders may be deemed to be present in person and vote at such adjourned meeting are: (i) announced at the meeting at which the adjournment is taken; (ii) displayed, during the time scheduled for the meeting, on the same electronic network used to enable stockholders and proxyholders to participate in the meeting by means of remote communication; or (iii) set forth in the notice of meeting given in accordance with Section 2.3(a); provided, however, that if the adjournment is for more than 30 days, a notice of the adjourned meeting shall be given to each stockholder of record entitled to vote at the meeting. If after the adjournment a new record date for stockholders entitled to vote is fixed for the adjourned meeting, the Board of Directors shall fix a new record date for notice of such adjourned meeting in accordance with Section 7.6(a), and shall give notice of the adjourned meeting to each stockholder of record entitled to vote at such adjourned meeting as of the record date fixed for notice of such adjourned meeting.

Section 2.4 Organization.

(a) Meetings of stockholders shall be presided over by the Chairperson of the Board, or in his or her absence, by the Chief Executive Officer (if separate) or another person designated by or in the manner provided by the Board of Directors. The Secretary, or in his or her absence, an Assistant Secretary, or in the absence of the Secretary and all Assistant Secretaries, a person whom the chairperson of the meeting shall appoint, shall act as secretary of the meeting and keep a record of the proceedings thereof.

(b) The date and time of the opening and the closing of the polls for each matter upon which the stockholders shall vote at a meeting of stockholders shall be announced at the meeting. The Board of Directors may adopt such rules and regulations for the conduct of any meeting of stockholders as it shall deem appropriate. Except to the extent inconsistent with such rules and regulations as adopted by the Board of Directors, the chairperson of the meeting shall have the authority to adopt and enforce such rules and regulations for the conduct of any meeting of stockholders and the safety of those in attendance as, in the judgment of the chairperson, are necessary, appropriate or

 

A-1-16


Table of Contents

convenient for the conduct of the meeting. Rules and regulations for the conduct of meetings of stockholders, whether adopted by the Board of Directors or by the chairperson of the meeting, may include, without limitation, establishing: (i) an agenda or order of business for the meeting; (ii) rules and procedures for maintaining order at the meeting and the safety of those present; (iii) limitations on attendance at or participation in the meeting to stockholders entitled to vote at the meeting, their duly authorized and constituted proxies, qualified representatives (including rules around who qualifies as such) and such other persons as the chairperson of the meeting shall permit; (iv) restrictions on entry to the meeting after the time fixed for the commencement thereof; (v) limitations on the time allotted for consideration of each agenda item and for questions and comments by participants; (vi) regulations for the opening and closing of the polls for balloting and matters which are to be voted on by ballot (if any); and (vii) procedures (if any) requiring attendees to provide the Corporation advance notice of their intent to attend the meeting. Subject to any rules and regulations adopted by the Board of Directors, the chairperson of the meeting may convene and, for any or no reason, from time to time, adjourn and/or recess any meeting of stockholders pursuant to Section 2.7. The chairperson of the meeting, in addition to making any other determinations that may be appropriate to the conduct of the meeting, shall declare that a nomination or other business was not properly brought before the meeting if the facts warrant (including if a determination is made that a nomination or other business was not made or proposed, as the case may be, in accordance with Section 2.10 of these Bylaws), and if such chairperson should so declare, such nomination shall be disregarded or such other business shall not be transacted.

Section 2.5 List of Stockholders. The Corporation shall prepare, no later than the 10th day before each meeting of stockholders, a complete list of the stockholders entitled to vote at the meeting; provided, however, that if the record date for determining the stockholders entitled to vote is less than 10 days before the date of the meeting, the list shall reflect the stockholders entitled to vote as of the 10th day before the meeting date. Such list shall be arranged in alphabetical order and shall show the address of each stockholder and the number of shares registered in the name of each stockholder. Nothing in this Section 2.5 shall require the Corporation to include electronic mail addresses or other electronic contact information on such list. Such list shall be open to the examination of any stockholder for any purpose germane to the meeting for 10 days ending on the day before the meeting date: (a) on a reasonably accessible electronic network, provided that the information required to gain access to such list is provided with the notice of meeting; or (b) during ordinary business hours at the principal place of business of the Corporation. In the event that the Corporation determines to make the list available on an electronic network, the Corporation may take reasonable steps to ensure that such information is available only to stockholders of the Corporation. Except as otherwise required by law, the stock ledger shall be the only evidence as to who are the stockholders entitled to examine the list of stockholders required by this Section 2.5 or to vote in person or by proxy at any meeting of stockholders.

Section 2.6 Quorum. Except as otherwise required by law, the Certificate of Incorporation (including any Preferred Stock Designation) or these Bylaws, at any meeting of stockholders, the holders of a majority of the voting power of the stock outstanding and entitled to vote at the meeting, present in person or represented by proxy, shall constitute a quorum for the transaction of business; provided, however, that where a separate vote by a class or series or classes or series is required, the holders of a majority of the voting power of the stock of such class or series or classes or series outstanding and entitled to vote on that matter, present in person or represented by proxy, shall constitute a quorum entitled to take action with respect to such matter. If a quorum is not present or represented at any meeting of stockholders, then the chairperson of the meeting, or the holders of a majority of the voting power of the stock present in person or represented by proxy at the meeting and entitled to vote thereon, shall have power to adjourn or recess the meeting from time to time in accordance with Section 2.7, until a quorum is present or represented. Subject to applicable law, if a quorum initially is present at any meeting of stockholders, the stockholders may continue to transact business until adjournment or recess, notwithstanding the withdrawal of enough stockholders to leave less than a quorum, but if a quorum is not present at least initially, no business other than adjournment or recess may be transacted.

Section 2.7 Adjourned or Recessed Meeting. Any annual or special meeting of stockholders, whether or not a quorum is present, may be adjourned or recessed for any or no reason from time to time by the chairperson of the meeting, subject to any rules and regulations adopted by the Board of Directors pursuant to Section 2.4(b).

 

A-1-17


Table of Contents

Any such meeting may be adjourned for any or no reason (and may be recessed if a quorum is not present or represented) from time to time by the holders of a majority of the voting power of the stock present in person or represented by proxy at the meeting and entitled to vote thereon. At any such adjourned or recessed meeting at which a quorum is present, any business may be transacted that might have been transacted at the meeting as originally called.

Section 2.8 Voting; Proxies.

(a) Except as otherwise required by law or the Certificate of Incorporation (including any Preferred Stock Designation), each holder of stock of the Corporation entitled to vote at any meeting of stockholders shall be entitled to one vote for each share of such stock held of record by such holder that has voting power upon the subject matter in question.

(b) Unless a different or minimum vote is required by law, the Certificate of Incorporation (including any Preferred Stock Designation), these Bylaws or any law, rule or regulation applicable to the Corporation or its securities, in which case such different or minimum vote shall be the applicable vote on such matter, at each meeting of stockholders at which a quorum is present, all corporate actions to be taken by vote of the stockholders shall be authorized by the affirmative vote of the holders of at least a majority of the voting power of the stock present in person or represented by proxy and entitled to vote on the subject matter, and where a separate vote by a class or series or classes or series is required, if a quorum of such class or series or classes or series is present, such act shall be authorized by the affirmative vote of the holders of at least a majority of the voting power of the stock of such class or series or classes or series present in person or represented by proxy and entitled to vote on the subject matter. Voting at meetings of stockholders need not be by written ballot.

(c) Every stockholder entitled to vote for directors, or on any other matter, shall have the right to do so either in person or by one or more persons authorized to act for such stockholder by proxy, but no such proxy shall be voted or acted upon after three years from its date, unless the proxy provides for a longer period. A proxy shall be irrevocable if it states that it is irrevocable and if, and only as long as, it is coupled with an interest sufficient in law to support an irrevocable power. A proxy may be made irrevocable regardless of whether the interest with which it is coupled is an interest in the stock itself or an interest in the Corporation generally. A stockholder may revoke any proxy which is not irrevocable by attending the meeting and voting in person or by delivering to the Secretary (or other officer designated by the Board) a revocation of the proxy or an executed new proxy bearing a later date.

Section 2.9 Submission of Information Regarding Director Nominees.

(a) As to each person whom a stockholder proposes to nominate for election or reelection as a director of the Corporation pursuant to Section 2.10, the stockholder must deliver to the Secretary (or other officer designated by the Board) at the principal executive offices of the Corporation the following information:

(i) a written representation and agreement, which shall be signed by the person proposed to be nominated and pursuant to which such person shall represent and agree that such person: (A) consents to being named as a nominee in a proxy statement and form of proxy relating to the meeting at which directors are to be elected and to serving as a director if elected, and currently intends to serve as a director for the full term for which such person is standing for election; (B) is not and will not become a party to any agreement, arrangement or understanding with, and has not given any commitment or assurance to, any person or entity: (1) as to how the person, if elected as a director, will act or vote on any issue or question, except as disclosed in such representation and agreement; or (2) that could limit or interfere with the person’s ability to comply, if elected as a director, with such person’s fiduciary duties under applicable law; (C) is not and will not become a party to any agreement, arrangement or understanding with any person or entity other than the Corporation with respect to any direct or indirect compensation, reimbursement or indemnification in connection with service or action as a director or nominee, except as disclosed in such representation and agreement; and (D) if elected as a director,

 

A-1-18


Table of Contents

will comply with all of the Corporation’s corporate governance policies and guidelines related to conflict of interest, confidentiality, stock ownership and trading policies and guidelines, and any other policies and guidelines applicable to directors (which will be provided within five business days following a request therefor);

(ii) all fully completed and signed questionnaires in the same form(s) required of the Corporation’s nominees (the “Questionnaires”). The Questionnaires will be provided by the Corporation within five business days following a request therefor; and

(iii)  a representation that each person whom a stockholder proposes to nominate for election or reelection as a director of the Corporation pursuant to Section 2.10 will provide to the Corporation such other information as the Corporation may reasonably request to determine whether such person can be considered an independent director.

(b) If a stockholder has submitted notice of an intent to nominate a candidate for election or re-election as a director pursuant to Section 2.10, all written and signed representations and agreements and all fully completed and signed Questionnaires described in Section 2.9(a) above shall be provided to the Corporation at the same time as such notice, and the additional information described in Section 2.9(a)(iii) above shall be provided to the Corporation promptly upon request by the Corporation, but in any event within five business days after such request (or by the day prior to the day of the annual meeting of stockholders, if earlier). All information provided pursuant to this Section 2.9 shall be deemed part of the stockholder’s notice submitted pursuant to Section 2.10.

(c) Notwithstanding the foregoing, if any information or communication submitted pursuant to this Section 2.9 is inaccurate or incomplete in any material respect (as determined by the Board of Directors (or any authorized committee thereof)) such information shall be deemed not to have been provided in accordance with this Section 2.9. Upon written request of the Secretary, the stockholder giving notice of an intent to nominate a candidate for election shall provide, within five business days after delivery of such request (or such longer period as may be specified in such request), (i) written verification, reasonably satisfactory to the Corporation, to demonstrate the accuracy of any information submitted and (ii) a written affirmation of any information submitted as of an earlier date. If such stockholder fails to provide such written verification or affirmation within such time period, the information as to which written verification or affirmation was requested may be deemed not to have been provided in accordance with this Section 2.9.

Section 2.10 Notice of Stockholder Business and Nominations.

(a) Annual Meeting.

(i) Nominations of persons for election to the Board of Directors and the proposal of business other than nominations to be considered by the stockholders may be made at an annual meeting of stockholders only: (A) pursuant to the Corporation’s notice of meeting (or any supplement thereto); (B) by or at the direction of the Board of Directors (or any authorized committee thereof); or (C) by any stockholder of the Corporation who is a stockholder of record at the time the notice provided for in this Section 2.10(a) is delivered to the Secretary (or other officer designated by the Board), who is entitled to vote at the meeting and who complies with the notice procedures set forth in this Section 2.10(a). For the avoidance of doubt, the foregoing clause (C) shall be the exclusive means for a stockholder to make nominations or propose other business at an annual meeting of stockholders (other than a proposal included in the Corporation’s proxy statement pursuant to and in compliance with Rule 14a-8 under the Exchange Act). Notwithstanding anything to the contrary contained in Section 2.9 or this Section 2.10, for as long as the THG Investor (as defined in Certificate of Incorporation) (including, for the avoidance of doubt, its Permitted Transferees (as defined in the Certificate of Incorporation) has nomination rights under the Certificate of Incorporation, the THG Investor (including, for the avoidance of doubt, its Permitted Transferees) shall not be subject to the notice procedures set forth in Section 2.9 or this Section 2.10 with respect to any THG Designee (as defined in the Certificate of Incorporation) nominated by the THG Investor at any annual or special meeting of stockholders pursuant to, and in accordance with, Section 5.2(c) of the Certificate of Incorporation.

 

 

A-1-19


Table of Contents

(ii) For nominations or other business to be properly brought before an annual meeting by a stockholder pursuant to clause (C) of the foregoing paragraph, the stockholder must have given timely notice thereof in writing to the Secretary (or other officer designated by the Board) and, in the case of business other than nominations, such business must be a proper subject for stockholder action. To be timely, a stockholder’s notice must be delivered to the Secretary (or other officer designated by the Board) at the principal executive offices of the Corporation not later than the close of business (as defined in Section 2.10(c)(iii) below) on the 90th day nor earlier than 5:00 pm Eastern Time the 120th day prior to the first anniversary of the preceding year’s annual meeting; provided, however, that in the event that the date of the annual meeting is more than 30 days before or more than 60 days after such anniversary date, or if no annual meeting was held or deemed to have been held in the preceding year, notice by the stockholder to be timely must be so delivered not earlier than the close of business on the 120th day prior to such annual meeting and not later than the close of business on the later of the 90th day prior to such annual meeting or the 10th day following the date on which public announcement (as defined in Section 2.10(c)(iii) below) of the date of such meeting is first made by the Corporation. In no event shall an adjournment or recess of an annual meeting, or a postponement of an annual meeting for which notice of the meeting has already been given to stockholders or a public announcement of the meeting date has already been made, commence a new time period (or extend any time period) for the giving of a stockholder’s notice as described above. A stockholder’s notice given in accordance with this Section 2.10 must contain the names of only the nominees for whom such stockholder (or beneficial owner, if any) intends to solicit proxies. For the avoidance of doubt, the number of nominees a stockholder may nominate for election at the annual meeting on its own behalf (or in the case of a stockholder giving the notice on behalf of a beneficial owner, the number of nominees a stockholder may nominate for election at the annual meeting on behalf of the beneficial owner) shall not exceed the number of directors to be elected at such annual meeting. Solely for purposes of this Section 2.10(a), the 2024 annual meeting of stockholders shall be deemed to have been held on [June 15, 2024]. Such stockholder’s notice shall set forth:

(A) as to each person whom the stockholder proposes to nominate for election or re-election as a director: (1) a written statement, not to exceed 500 words, in support of such person; (2) all information relating to such person that is required to be disclosed in solicitations of proxies for election of directors in an election contest, or is otherwise required, in each case pursuant to and in accordance with Regulation 14A under the Exchange Act; and (3) the information required to be submitted regarding nominees pursuant to Section 2.9 above, including, within the time period specified in Section 2.9(b) above, all fully completed and signed Questionnaires described in Section 2.9(a)(ii) above;

(B) as to any other business that the stockholder proposes to bring before the meeting, a brief description of the business desired to be brought before the meeting, the text of the proposal or business (including the text of any resolutions proposed for consideration and in the event that such business includes a proposal to amend the Bylaws of the Corporation, the language of the proposed amendment), the reasons for conducting such business at the meeting and any substantial interest (within the meaning of Item 5 of Schedule 14A under the Exchange Act) in such business of such stockholder and the beneficial owner (within the meaning of Section 13(d) of the Exchange Act), if any, on whose behalf the proposal is made, and if such stockholder or beneficial owner is an entity, any related person (as defined below);

(C) as to the stockholder giving the notice and the beneficial owner, if any, on whose behalf the nomination is made or the other business is proposed:

(1) the name and address of such stockholder, as they appear on the Corporation’s books, and the name and address of such beneficial owner;

(2) the class or series and number of shares of stock of the Corporation which are owned of record by such stockholder and such beneficial owner as of the date of the notice, and a representation that the stockholder will notify the Corporation in writing within five business days after the record date for such meeting of the class or series and number of shares of stock of the Corporation owned of record by the stockholder and such beneficial owner as of the record date for the meeting; and

 

 

A-1-20


Table of Contents

(3) a representation that the stockholder (or a qualified representative of the stockholder) intends to appear at the meeting to make such nomination or propose such business; and

(D) as to the stockholder giving the notice or, if the notice is given on behalf of a beneficial owner on whose behalf the nomination is made or the other business is proposed, as to such beneficial owner, and if such stockholder or beneficial owner is an entity, as to each individual who is a director, executive officer, general partner or managing member of such entity or of any other entity that has or shares control of such entity (any such individual or entity, a “related person”):

(1) the class or series and number of shares of stock of the Corporation which are beneficially owned (as defined in Section 2.10(c)(iii)below) by such stockholder or beneficial owner and by any related person as of the date of the notice, and a representation that the stockholder will notify the Corporation in writing within five business days after the record date for such meeting of the class or series and number of shares of stock of the Corporation beneficially owned by such stockholder or beneficial owner and by any related person as of the record date for the meeting;

(2) a description (which description shall include, in addition to all other information described in this clause (2), information identifying all parties thereto) of (x) any plans or proposals which such stockholder, beneficial owner, if any, or related person may have with respect to securities of the Corporation that would be required to be disclosed pursuant to Item 4 of Exchange Act Schedule 13D and (y) any agreement, arrangement or understanding with respect to the nomination or other business between or among such stockholder, beneficial owner, if any, or related person and any other person, including, without limitation any agreements that would be required to be disclosed pursuant to Item 5 or Item 6 of Exchange Act Schedule 13D (in the case of either clause (x) or (y), regardless of whether the requirement to file a Schedule 13D is applicable) and a representation that the stockholder will notify the Corporation in writing within five business days after the record date for such meeting of any such plans or proposals with respect to securities of the Corporation or any such agreement, arrangement or understanding in effect as of the record date for the meeting;

(3) a description (which description shall include, in addition to all other information described in this clause (3), information identifying all parties thereto) of any agreement, arrangement or understanding (including, without limitation, any option, warrant, forward contract, swap, contract of sale, or other derivative or similar agreement or short positions, profit interests, hedging or pledging transactions, voting rights, dividend rights, and/or borrowed or loaned shares), whether the instrument or agreement is to be settled with shares or with cash based on the notional amount or value of outstanding shares of stock, that has been entered into as of the date of the stockholder’s notice by, or on behalf of, such stockholder, beneficial owner, if any, or related person, the effect or intent of which is to mitigate loss, manage risk or benefit from changes in the share price of any class or series of the Corporation’s stock or maintain, increase or decrease the voting power of the stockholder, beneficial owner, if any, or related person with respect to securities of the Corporation, and a representation that the stockholder will notify the Corporation in writing within five business days after the record date for such meeting of any such agreement, arrangement or understanding in effect as of the record date for the meeting;

(4) a representation as to whether the stockholder, beneficial owner, if any, related person or any other participant (as defined in Item 4 of Schedule 14A under the Exchange Act) will engage in a solicitation with respect to such nomination or proposal and, if so, whether such solicitation will be conducted as an exempt solicitation under Rule 14a-2(b) of the Exchange Act, the name of each participant in such solicitation and (x) in the case of a proposal of business other than nominations, whether such person or group intends to deliver a proxy statement and form of proxy to holders of at least the percentage of the Corporation’s voting shares required under applicable law to carry the proposal, (y) in the case of any solicitation that is subject to Rule 14a-19 of the Exchange Act, confirming that such person or group will deliver, through means satisfying each of the conditions that would be applicable to the Corporation under either Exchange Act Rule 14a-16(a) or Exchange Act Rule 14a-16(n), a proxy statement and form of proxy to holders of at least 67% of the voting power of the Corporation’s stock entitled to vote generally in the election of directors; and

 

A-1-21


Table of Contents

(5) a representation that promptly after soliciting the holders of the Corporation’s stock referred to in the representation required under clause (a)(ii)(D)(4) of this Section 2.10, and in any event no later than the 10th day before such meeting of stockholders, such stockholder or beneficial owner will provide the Corporation with documents, which may take the form of a certified statement and documentation from a proxy solicitor, specifically demonstrating that the necessary steps have been taken to deliver a proxy statement and form of proxy to holders of such percentage of the Corporation’s stock.

(iii) Notwithstanding anything in Section 2.10(a)(ii) above or Section 2.10(b) below to the contrary, if the record date for determining the stockholders entitled to vote at any meeting of stockholders is different from the record date for determining the stockholders entitled to notice of the meeting, a stockholder’s notice required by this Section 2.10 shall set forth a representation that the stockholder will notify the Corporation in writing within five business days after the record date for determining the stockholders entitled to vote at the meeting, or by the opening of business on the date of the meeting (whichever is earlier), of the information required under this Section 2.10(a), and such information when provided to the Corporation shall be current as of the record date for determining the stockholders entitled to vote at the meeting.

(iv) This Section 2.10(a) shall not apply to a proposal proposed to be made by a stockholder if the stockholder has notified the Corporation of his or her intention to present the proposal at an annual or special meeting only pursuant to and in compliance with Rule 14a-8 under the Exchange Act and such proposal has been included in a proxy statement that has been prepared by the Corporation to solicit proxies for such meeting.

(v) Notwithstanding anything in this Section 2.10(a) to the contrary, in the event that the number of directors to be elected to the Board of Directors at an annual meeting is increased and there is no public announcement by the Corporation naming all of the nominees proposed by the Board of Directors to be elected at such meeting or specifying the size of the increased Board of Directors made by the Corporation at least 10 days prior to the last day a stockholder may deliver a notice in accordance with Section 2.10(a)(ii) above, a stockholder’s notice required by this Section 2.10(a) shall also be considered timely, but only with respect to nominees for any new positions created by such increase, if it shall be delivered to the Secretary (or other officer designated by the Board) at the principal executive offices of the Corporation not later than the close of business on the 10th day following the day on which such public announcement is first made by the Corporation.

(b) Special Meeting. Nominations of persons for election to the Board of Directors may be made at a special meeting of stockholders at which directors are to be elected pursuant to the Corporation’s notice of meeting: (i) by or at the direction of the Board of Directors (or any authorized committee thereof); or (ii) provided that the Board of Directors has determined that one or more directors are to be elected at such meeting, by any stockholder of the Corporation who is a stockholder of record at the time the notice provided for in this Section 2.10(b) is delivered to the Secretary (or other officer designated by the Board), who is entitled to vote at the meeting and upon such election and who delivers notice thereof in writing setting forth the information required by Section 2.10(a) above and provides the additional information required by Section 2.9 above. In the event the Corporation calls a special meeting of stockholders for the purpose of electing one or more directors to the Board of Directors, any stockholder entitled to vote in such election of directors may nominate a person or persons (as the case may be) for election to such position(s) as specified in the Corporation’s notice of meeting, if the notice required by this Section 2.10(b) shall be delivered to the Secretary (or other officer designated by the Board) at the principal executive offices of the Corporation not earlier than the close of business on the 120th day prior to such special meeting and not later than the close of business on the later of the 90th day prior to such special meeting or the 10th day following the date on which public announcement of the date of the special meeting and of the nominees proposed by the Board of Directors to be elected at such meeting is first made by the Corporation. A stockholder’s notice given in accordance with this Section 2.10(b) must contain the names of only the nominees for whom such stockholder (or beneficial owner, if any) intends to solicit proxies. For the avoidance of doubt, the number of nominees a stockholder may nominate for election at the special meeting on its own behalf (or in the case of a stockholder giving the notice on behalf of a beneficial owner, the number of nominees a stockholder may nominate for election at the special meeting on

 

A-1-22


Table of Contents

behalf of such beneficial owner) shall not exceed the number of directors to be elected at such special meeting. In no event shall an adjournment, recess or postponement of a special meeting commence a new time period (or extend any time period) for the giving of a stockholder’s notice as described above.

(c) General.

(i) Except as otherwise required by law, only such persons who are nominated in accordance with the procedures set forth in this Section 2.10 shall be eligible to be elected at any meeting of stockholders of the Corporation to serve as directors and only such other business shall be conducted at a meeting of stockholders as shall have been brought before the meeting in accordance with the procedures set forth in this Section 2.10. Notwithstanding any other provision of these Bylaws, a stockholder (and any beneficial owner on whose behalf a nomination is made or other business is proposed, and if such stockholder or beneficial owner is an entity, any related person) shall also comply with all applicable requirements of the Exchange Act and the rules and regulations promulgated thereunder with respect to the matters set forth in this Section 2.10; provided, however, that any references in these Bylaws to the Exchange Act or the rules and regulations promulgated thereunder are not intended to and shall not limit any requirements applicable to nominations or proposals as to any other business to be considered pursuant to this Section 2.10. The Chairperson of the Board, the chairperson of the meeting, or any other person designated by the Board shall determine whether a nomination or any other business proposed to be brought before the meeting was made or proposed, as the case may be, in accordance with the procedures set forth in this Section 2.10 (including whether a stockholder or beneficial owner provided all information and complied with all representations required under Section 2.9 or this Section 2.10 or complied with the requirements of Rule 14a-19 under the Exchange Act). If any proposed nomination or other business is not in compliance with this Section 2.10, including due to a failure to comply with the requirements of Rule 14a-19 under the Exchange Act, then except as otherwise required by law, the chairperson of the meeting shall declare that such nomination shall be disregarded or such other business shall not be transacted, notwithstanding that proxies and votes in respect of any such nomination or other business may have been received by the Corporation. In furtherance and not by way of limitation of the foregoing provisions of this Section 2.10, unless otherwise required by law, or otherwise determined by the Chairperson of the Board, the chairperson of the meeting or any other person designated by the Board, (A) if the stockholder does not provide the information required under Section 2.9 or Section 2.10 to the Corporation within the time frames specified herein or (B) if the stockholder (or a qualified representative of the stockholder) does not appear at the annual or special meeting of stockholders of the Corporation to present a nomination or other business, any such nomination shall be disregarded or such other business shall not be transacted, notwithstanding that proxies and votes in respect of any such nomination or other business may have been received by the Corporation. 

(ii) To be considered a qualified representative of a stockholder for purposes of these Bylaws, a person must be a duly authorized officer, manager or partner of such stockholder or authorized by a writing executed by such stockholder (or a reliable reproduction of the writing) delivered to the Corporation prior to the making of such nomination or proposal at such meeting (and in any event not fewer than five business days before the meeting) stating that such person is authorized to act for such stockholder as proxy at the meeting of stockholders.

(iii) For purposes of this Section 2.10, the “close of business” shall mean 6:00 p.m. local time at the principal executive offices of the Corporation on any calendar day, whether or not the day is a business day, and a “public announcement” shall mean disclosure in a press release reported by the Dow Jones News Service, Associated Press or a comparable national news service or in a document publicly filed by the Corporation with the Securities and Exchange Commission pursuant to Section 13, 14 or 15(d) of the Exchange Act. For purposes of clause (a)(ii)(D)(1) of this Section 2.10, shares shall be treated as “beneficially owned” by a person if the person beneficially owns such shares, directly or indirectly, for purposes of Section 13(d) of the Exchange Act and Regulations 13D and 13G thereunder or has or shares pursuant to any agreement, arrangement or understanding (whether or not in writing): (A) the right to acquire such shares (whether such right is exercisable immediately or only after the passage of time or the fulfillment of a condition or both); (B) the right

 

A-1-23


Table of Contents

to vote such shares, alone or in concert with others; provided, however, that a person shall not be deemed to beneficially own such shares if the right to vote such shares arises solely from a revocable proxy or consent given to such person in response to a public proxy or consent solicitation made pursuant to and in accordance with applicable rules and regulations promulgated under the Exchange Act; and/or (C) investment power with respect to such shares, including the power to dispose of, or to direct the disposition of, such shares. For the purposes of Section 2.10(a)(ii)(D), “control” (including the terms “controlling”, “controlled by” and “under common control with”), with respect to the relationship between or among two or more Persons, shall mean the possession, directly or indirectly, of the power to direct or cause the direction of the affairs or management of a Person, whether through the ownership of voting securities, as trustee or executor, by contract or otherwise.

(iv) Nothing in this Section 2.10 shall be deemed to affect any rights (A) of stockholders to request inclusion of proposals in the Corporation’s proxy statement pursuant to Rule 14a-8 promulgated under the Exchange Act or (B) of the holders of any series of Preferred Stock to elect directors pursuant to any applicable provisions of the Certificate of Incorporation (including any Preferred Stock Designation).

(v) Any stockholder directly or indirectly soliciting proxies from other stockholders must use a proxy card color other than white, which shall be reserved for the exclusive use for solicitation by the Board of Directors.

Section 2.11 No Action by Written Consent. Except as otherwise provided for or fixed pursuant to the Certificate of Incorporation (including any Preferred Stock Designation), any action required or permitted to be taken at any annual or special meeting of the stockholders of the Corporation may be taken only at an annual or special meeting of stockholders duly called and may not be taken by consent of the stockholders in lieu of such a meeting. Notwithstanding the foregoing, any action required or permitted to be taken by the holders of Preferred Stock, voting separately as a series or separately as a class with one of more other such series, may be taken without a meeting, without prior notice and without a vote, to the extent expressly so provided by the applicable Preferred Stock Designation related to such series of Preferred Stock.

Section 2.12 Inspectors of Election. Before any meeting of stockholders, the Corporation may, and shall if required by law, appoint one or more inspectors of election to act at the meeting and make a written report thereof. Inspectors may be employees of the Corporation. The Corporation may designate one or more persons as alternate inspectors to replace any inspector who fails to act. If no inspector or alternate is able to act at a meeting of stockholders, the chairperson of the meeting may, and shall if required by law, appoint one or more inspectors to act at the meeting. Each inspector, before entering upon the discharge of his or her duties, shall take and sign an oath faithfully to execute the duties of inspector with strict impartiality and according to the best of his or her ability. Inspectors need not be stockholders. No director or nominee for the office of director at an election shall be appointed as an inspector at such election.

Such inspectors shall:

(a) determine the number of shares outstanding and the voting power of each, the number of shares represented at the meeting, the existence of a quorum, and the validity of proxies and ballots;

(b) determine and retain for a reasonable period a record of the disposition of any challenges made to any determination by the inspectors;

(c) count and tabulate all votes and ballots; and

(d) certify their determination of the number of shares represented at the meeting, and their count of all votes and ballots.

Section 2.13 Meetings by Remote Communications. The Board of Directors may, in its sole discretion, determine that a meeting of stockholders shall not be held at any place, but may instead be held solely by means

 

A-1-24


Table of Contents

of remote communication in accordance with Section 211(a)(2) of the DGCL. If authorized by the Board of Directors in its sole discretion, and subject to such guidelines and procedures as the Board of Directors may adopt, stockholders and proxyholders not physically present at a meeting of stockholders may, by means of remote communication: (a) participate in a meeting of stockholders; and (b) be deemed present in person and vote at a meeting of stockholders whether such meeting is to be held at a designated place or solely by means of remote communication, provided that: (i) the Corporation shall implement reasonable measures to verify that each person deemed present and permitted to vote at the meeting by means of remote communication is a stockholder or proxyholder; (ii) the Corporation shall implement reasonable measures to provide such stockholders and proxyholders a reasonable opportunity to participate in the meeting and to vote on matters submitted to the stockholders, including an opportunity to read or hear the proceedings of the meeting substantially concurrently with such proceedings; and (iii) if any stockholder or proxyholder votes or takes other action at the meeting by means of remote communication, a record of such vote or other action shall be maintained by the Corporation.

Section 2.14 Delivery to the Corporation. Whenever this Article II requires one or more persons (including a record or beneficial owner of stock) to deliver a document or information (other than a document authorizing another person to act for a stockholder by proxy at a meeting of stockholders pursuant to Section 212 of the DGCL) to the Corporation or any officer, employee or agent thereof (including any notice, request, questionnaire, revocation, representation or other document or agreement), the Corporation shall not be required to accept delivery of such document or information unless the document or information is in writing exclusively (and not in an electronic transmission) and delivered exclusively by hand (including, without limitation, overnight courier service) or by certified or registered mail, return receipt requested. For the avoidance of doubt, the Corporation expressly opts out of Section 116 of the DGCL with respect to the delivery of information and documents (other than a document authorizing another person to act for a stockholder by proxy at a meeting of stockholders pursuant to Section 212 of the DGCL) to the Corporation required by this Article II.

ARTICLE III

DIRECTORS

Section 3.1 Powers. Except as otherwise required by the DGCL or as provided in the Certificate of Incorporation (including any Preferred Stock Designation), the business and affairs of the Corporation shall be managed by or under the direction of the Board of Directors. In addition to the powers and authorities these Bylaws expressly confer upon it, the Board of Directors may exercise all such powers of the Corporation and do all such lawful acts and things as are not by law or the Certificate of Incorporation (including any Preferred Stock Designation) required to be exercised or done by the stockholders.

Section 3.2 Number and Election. Except as otherwise provided for or fixed pursuant to the Certificate of Incorporation (including any Preferred Stock Designation), the Board of Directors shall consist of such number of directors as shall be determined from time to time solely by resolution adopted by the affirmative vote of a majority of the total number of directors then authorized. At any meeting of stockholders at which directors are to be elected, directors shall be elected by a plurality of the votes cast. Directors need not be stockholders unless so required by the Certificate of Incorporation (including any Preferred Stock Designation) or these Bylaws, wherein other qualifications for directors may be prescribed.

Section 3.3 Vacancies and Newly Created Directorships. Subject to the rights of the holders of any outstanding series of Preferred Stock, and unless otherwise required by law, newly created directorships resulting from any increase in the authorized number of directors and any vacancies in the Board of Directors resulting from death, resignation, retirement, disqualification, removal from office or other cause shall be filled only in the manner provided in and to the extent permitted under the Certificate of Incorporation and that certain Stockholders Agreement dated [  ].

 

A-1-25


Table of Contents

Section 3.4 Resignations and Removal.

(a) Any director may resign at any time upon notice given in writing or by electronic transmission to the Board of Directors, the Chairperson of the Board or the Secretary. Such resignation shall take effect upon delivery, unless the resignation specifies a later effective date or time or an effective date or time determined upon the happening of an event or events. Unless otherwise specified therein, the acceptance of such resignation shall not be necessary to make it effective.

(b)  Directors of the Corporation may only be removed from office in the manner provided in and to the extent permitted in the Certificate of Incorporation.

Section 3.5 Regular Meetings. Regular meetings of the Board of Directors shall be held at such place or places, within or without the State of Delaware, on such date or dates and at such time or times, as shall have been established by the Board of Directors and publicized among all directors. A notice of each regular meeting shall not be required.

Section 3.6 Special Meetings. Special meetings of the Board of Directors for any purpose or purposes may be called at any time by the Chairperson of the Board, the Chief Executive Officer (if separate) or a majority of the directors then in office. The person or persons authorized to call special meetings of the Board of Directors may fix the place, within or without the State of Delaware, date and time of such meetings. Except as otherwise provided in the Certificate of Incorporation, notice of each such meeting shall be given to each director, if by mail, addressed to such director at his or her residence or usual place of business, at least five days before the day on which such meeting is to be held, or shall be sent to such director by electronic transmission, or be delivered personally or by telephone, in each case at least 24 hours prior to the time set for such meeting. A notice of special meeting need not state the purpose of such meeting, and, unless indicated in the notice thereof, any and all business may be transacted at a special meeting.

Section 3.7 Remote Participation in Meetings. Members of the Board of Directors, or of any committee thereof, may participate in a meeting of such Board of Directors or committee by means of conference telephone or other communications equipment by means of which all persons participating in the meeting can hear each other, and such participation shall constitute presence in person at such meeting.

Section 3.8 Quorum and Voting. Except as otherwise required by law, the Certificate of Incorporation or these Bylaws, a majority of the of the total number of directors then authorized shall constitute a quorum for the transaction of business at any meeting of the Board of Directors, and the vote of a majority of the directors present at a duly held meeting at which a quorum is present shall be the act of the Board of Directors. The chairperson of the meeting or a majority of the directors present may adjourn the meeting to another time and place whether or not a quorum is present. Except as otherwise provided in the Certificate of Incorporation, at any adjourned meeting at which a quorum is present, any business may be transacted which might have been transacted at the meeting as originally called.

Section 3.9 Board of Directors Action by Written Consent Without a Meeting. Unless otherwise restricted by the Certificate of Incorporation or these Bylaws, any action required or permitted to be taken at any meeting of the Board of Directors, or any committee thereof, may be taken without a meeting, provided that all members of the Board of Directors or committee, as the case may be, consent in writing or by electronic transmission to such action. After an action is taken, the consent or consents relating thereto shall be filed with the minutes or proceedings of the Board of Directors or committee in the same paper or electronic form as the minutes are maintained. Any person (whether or not then a director) may provide, whether through instruction to an agent or otherwise, that a consent to action shall be effective at a future time (including a time determined upon the happening of an event), no later than 60 days after such instruction is given or such provision is made and such consent shall be deemed to have been given at such effective time so long as such person is then a director and did not revoke the consent prior to such time. Any such consent shall be revocable prior to its becoming effective.

 

A-1-26


Table of Contents

Section 3.10 Chairperson of the Board. The Chairperson of the Board shall preside at meetings of stockholders in accordance with Section 2.4(a) above and at meetings of directors and shall perform such other duties as the Board of Directors may from time to time determine. If the Chairperson of the Board is not present at a meeting of the Board of Directors, the Chief Executive Officer (if separate and serving as a director) or another director chosen by or in the manner provided by the Board of Directors shall preside.

Section 3.11 Rules and Regulations. The Board of Directors may adopt such rules and regulations not inconsistent with the provisions of law, the Certificate of Incorporation or these Bylaws for the conduct of its meetings and management of the affairs of the Corporation as the Board of Directors shall deem proper.

Section 3.12 Fees and Compensation of Directors. Unless otherwise restricted by the Certificate of Incorporation, directors may receive such compensation, if any, for their services on the Board of Directors and its committees, and such reimbursement of expenses, as may be fixed or determined by resolution of the Board of Directors.

Section 3.13 Emergency Bylaws. This Section 3.13 shall be operative during any emergency condition as contemplated by Section 110 of the DGCL (an “Emergency”), notwithstanding any different or conflicting provisions in these Bylaws, the Certificate of Incorporation or the DGCL. In the event of any Emergency, or other similar emergency condition, the director or directors in attendance at a meeting of the Board of Directors or a standing committee thereof shall constitute a quorum. Such director or directors in attendance may further take action to appoint one or more of themselves or other directors to membership on any standing or temporary committees of the Board of Directors as they shall deem necessary and appropriate. Except as the Board of Directors may otherwise determine, during any Emergency, the Corporation and its directors and officers, may exercise any authority and take any action or measure contemplated by Section 110 of the DGCL.

ARTICLE IV

COMMITTEES

Section 4.1 Committees of the Board of Directors. The Board of Directors may designate one or more committees, each such committee to consist of one or more of the directors of the Corporation, subject to the limitations set forth in the Certificate of Incorporation. The Board of Directors may designate one or more directors as alternate members of any committee to replace any absent or disqualified member at any meeting of the committee. In the absence or disqualification of a member of a committee, the member or members present at any meeting and not disqualified from voting, whether or not he, she or they constitute a quorum, may unanimously appoint another member of the Board of Directors to act at the meeting in the place of any such absent or disqualified member. Any such committee, to the extent permitted by law and provided in the resolution of the Board of Directors establishing such committee, shall have and may exercise all the powers and authority of the Board of Directors in the management of the business and affairs of the Corporation, and may authorize the seal of the Corporation to be affixed to all papers which may require it; but no such committee shall have the power or authority in reference to the following matters: (a) approving or adopting, or recommending to the stockholders, any action or matter (other than the election or removal of directors) expressly required by the DGCL to be submitted to stockholders for approval; or (b) adopting, amending or repealing any bylaw of the Corporation. All committees of the Board of Directors shall keep minutes of their meetings and shall report their proceedings to the Board of Directors when requested or required by the Board of Directors.

Section 4.2 Meetings and Action of Committees. Unless the Board of Directors provides otherwise by resolution, any committee of the Board of Directors may adopt, alter and repeal such rules and regulations not inconsistent with the provisions of law, the Certificate of Incorporation or these Bylaws for the conduct of its meetings as such committee may deem proper. Subject to the limitations set forth in the Certificate of Incorporation, a majority of the directors then serving on a committee shall constitute a quorum for the transaction of business by the committee except as otherwise required by law, the Certificate of Incorporation or these Bylaws and except as

 

A-1-27


Table of Contents

otherwise provided in a resolution of the Board of Directors; provided, however, that in no case shall a quorum be less than one-third of the directors then serving on the committee. Unless the Certificate of Incorporation, these Bylaws or a resolution of the Board of Directors requires a greater number, the vote of a majority of the members of a committee present at a meeting at which a quorum is present shall be the act of the committee.

ARTICLE V

OFFICERS

Section 5.1 Officers. Subject to the provisions of the Certificate of Incorporation, the officers of the Corporation shall include a Chief Executive Officer and a Secretary, who shall be elected by the Board of Directors. The Corporation may have such other officers as the Board of Directors or the Chief Executive Officer or another authorized officer may determine and appoint from time to time. Officers shall have such authority, functions or duties as set forth in these Bylaws or as determined by the Board of Directors or the Chief Executive Officer or another authorized officer. To the extent not so set forth or determined, each such officer shall have such authority, functions or duties as those that generally pertain to their respective offices, subject to the control of the Board of Directors. Each officer shall hold office until such person’s successor shall have been duly elected and qualified, or until such person’s earlier death, disqualification, resignation or removal. Any number of offices may be held by the same person; provided, however, that no officer shall execute, acknowledge or verify any instrument in more than one capacity if such instrument is required by law, the Certificate of Incorporation or these Bylaws to be executed, acknowledged or verified by two or more officers (other than stock certificates). The Board of Directors may require any officer, agent or employee to give security for the faithful performance of his or her duties. The Board of Directors may determine to leave any office vacant.

Section 5.2 Additional Positions and Titles. The Corporation may have assistants to officers, with such powers and duties as the Board of Directors, or the Chief Executive Officer or another authorized officer, may from time to time determine. Any officer or employee may be assigned any additional title, with such powers and duties, as the Board of Directors or an authorized officer may from time to time determine. Any persons appointed as assistant officers, and any persons upon whom such titles are conferred, shall not be deemed officers of the Corporation unless appointed by the Board of Directors or the Chief Executive Officer pursuant to Section 5.1.

Section 5.3 Compensation. The salaries of the officers of the Corporation and the manner and time of the payment of such salaries shall be fixed and determined by the Board of Directors or by a duly authorized officer and may be altered by the Board of Directors from time to time as it deems appropriate, subject to the rights, if any, of such officers under any contract of employment.

Section 5.4 Removal, Resignation and Vacancies. Subject to the provisions of the Certificate of Incorporation, any officer of the Corporation may be removed, with or without cause, by the Board of Directors or by a duly authorized officer, without prejudice to the rights, if any, of such officer under any contract to which he or she is a party. Any officer may resign at any time upon notice given in writing or by electronic transmission to the Corporation, without prejudice to the rights, if any, of the Corporation under any contract to which such officer is a party. Subject to the provisions of the Certificate of Incorporation, any vacancy occurring in any office of the Corporation may be filled by the Board of Directors or in accordance with Section 5.1 or Section 5.2, as applicable, by the Chief Executive Officer or another authorized officer or such office may be left vacant.

Section 5.5 Chief Executive Officer. The Chief Executive Officer shall have general supervision and direction of the business and affairs of the Corporation, shall be responsible for corporate policy and strategy, and shall report directly to the Board of Directors. Unless otherwise provided in these Bylaws or determined by the Board of Directors, all other officers of the Corporation shall report directly to the Chief Executive Officer or as otherwise determined by the Chief Executive Officer.

 

A-1-28


Table of Contents

Section 5.6 Secretary. The powers and duties of the Secretary shall include acting as Secretary at all meetings of the Board of Directors, of the committees of the Board of Directors and of the stockholders, and performing all other duties incident to the office of Secretary. The Secretary shall perform such other duties as the Board of Directors, the Chief Executive Officer or another authorized officer may from time to time determine. In the absence or disability of Secretary, the Assistant Secretary (if any) or another person appointed by the Board shall fill the role of Secretary.

Section 5.7 Checks; Drafts; Evidences of Indebtedness. From time to time, the Board of Directors shall determine the method, and designate (or authorize officers of the Corporation to designate) the person or persons who shall have authority, to sign or endorse all checks, drafts, other orders for payment of money and notes, bonds, debentures or other evidences of indebtedness that are issued in the name of or payable by the Corporation, and only the persons so authorized shall sign or endorse such instruments.

Section 5.8 Corporate Contracts and Instruments; How Executed. Except as otherwise provided in these Bylaws, the Board of Directors may determine the method, and designate (or authorize officers of the Corporation to designate) the person or persons who shall have authority to enter into any contract or execute any instrument in the name of and on behalf of the Corporation. Such authority may be general or confined to specific instances. Unless so authorized, or within the power incident to a person’s office or other position with the Corporation, no person shall have any power or authority to bind the Corporation by any contract or engagement or to pledge its credit or to render it liable for any purpose or for any amount.

Section 5.9 Action with Respect to Securities of Other Corporations or Entities. The Chief Executive Officer, or any other person or persons the Board of Directors or the Chief Executive Officer has delegated such authority, is authorized to vote, represent, and exercise on behalf of the Corporation all rights incident to any and all shares or other equity interests of any other corporation or entity or corporations or entities, standing in the name of the Corporation. The authority herein granted may be exercised either by such person directly or by any other person authorized to do so by proxy or power of attorney duly executed by the person having such authority.

Section 5.10 Delegation. The Board of Directors or an authorized officer may from time to time delegate the powers or duties of any officer to any other officers or agents, notwithstanding the foregoing provisions of this Article V.

ARTICLE VI

INDEMNIFICATION AND ADVANCEMENT OF EXPENSES

Section 6.1 Right to Indemnification.

(a) Each person who was or is a party or is threatened to be made a party to, or was or is otherwise involved in, any action, suit, arbitration, alternative dispute resolution mechanism, investigation, inquiry, judicial, administrative or legislative hearing, or any other threatened, pending or completed proceeding, whether brought by or in the right of the Corporation or otherwise, including any and all appeals, whether of a civil, criminal, administrative, legislative, investigative or other nature (hereinafter a “proceeding”), by reason of the fact that he or she is or was a director or an officer of the Corporation or while a director or an officer of the Corporation is or was serving at the request of the Corporation as a director, officer, employee, agent or trustee of another corporation or of a partnership, joint venture, trust or other enterprise, including service with respect to an employee benefit plan (hereinafter an “indemnitee”), or by reason of anything done or not done by him or her in any such capacity, shall be indemnified and held harmless by the Corporation to the fullest extent authorized by the DGCL, as the same exists or may hereafter be amended, against all expense, liability and loss (including attorneys’ fees, judgments, fines, ERISA excise taxes, penalties and amounts paid in settlement by or on behalf of the indemnitee) actually and reasonably incurred by such indemnitee in connection therewith, all on the terms

 

A-1-29


Table of Contents

and conditions set forth in these Bylaws; provided, however, that, except as otherwise required by law or provided in Section 6.4 with respect to suits to enforce rights under this Article VI, the Corporation shall indemnify any such indemnitee in connection with a proceeding, or part thereof, voluntarily initiated by such indemnitee (including claims and counterclaims, whether such counterclaims are asserted by such indemnitee or the Corporation in a proceeding initiated by such indemnitee) only if such proceeding, or part thereof, was authorized or ratified by the Board of Directors or the Board of Directors otherwise determines that indemnification or advancement of expenses is appropriate.

(b) To receive indemnification under this Article VI, an indemnitee shall submit a written request to the Secretary (or other officer designated by the Board) of the Corporation. Such request shall include documentation or information that is necessary to determine the entitlement of the indemnitee to indemnification and that is reasonably available to the indemnitee. Upon receipt by the Secretary (or other officer designated by the Board) of the Corporation of such a written request, unless indemnification is required by Section 6.3, the entitlement of the indemnitee to indemnification shall be determined by the following person or persons who shall be empowered to make such determination, as selected by the Board of Directors (except with respect to clause (v) of this Section 6.1(b)): (i) the Board of Directors by a majority vote of the directors who are not parties to such proceeding, whether or not such majority constitutes a quorum; (ii) a committee of such directors designated by a majority vote of such directors, whether or not such majority constitutes a quorum; (iii) if there are no such directors, or if such directors so direct, by independent legal counsel in a written opinion to the Board of Directors, a copy of which shall be delivered to the indemnitee; (iv) the stockholders of the Corporation; or (v) in the event that a change of control (as defined below) has occurred, by independent legal counsel in a written opinion to the Board of Directors, a copy of which shall be delivered to the indemnitee. The determination of entitlement to indemnification shall be made and, unless a contrary determination is made, such indemnification shall be paid in full by the Corporation not later than 60 days after receipt by the Secretary (or other officer designated by the Board) of the Corporation of a written request for indemnification. For purposes of this Section 6.1(b), a “change of control” will be deemed to have occurred if, with respect to any particular 24-month period, the individuals who, at the beginning of such 24-month period, constituted the Board of Directors (the “incumbent board”), cease for any reason to constitute at least a majority of the Board of Directors; provided, however, that any individual becoming a director subsequent to the beginning of such 24-month period whose election, or nomination for election by the stockholders of the Corporation, was approved by a vote of at least a majority of the directors then comprising the incumbent board shall be considered as though such individual were a member of the incumbent board, but excluding, for this purpose, any such individual whose initial assumption of office occurs as a result of an actual or threatened election contest with respect to the election or removal of directors or other actual or threatened solicitation of proxies or consents by or on behalf of a person other than the Board of Directors.

(c) Any reference to an officer of the Corporation in this Article VI shall be deemed to refer exclusively to the Chief Executive Officer, the Secretary and any officer of the Corporation (1) appointed by the Board of Directors or the Chief Executive Officer pursuant to Section 5.1 or (2) designated by the Board of Directors as such for purposes of Section 16 of the Exchange Act, and any reference to an officer of any other enterprise shall be deemed to refer exclusively to an officer appointed by the board of directors or equivalent governing body of such other enterprise pursuant to the certificate of incorporation and bylaws (or equivalent organizational documents) of such other enterprise. The fact that any person who is or was an employee of the Corporation or an employee of any other enterprise has been given or has used the title of “Vice President” or any other title that could be construed to suggest or imply that such person is or may be an officer of the Corporation or of such other enterprise shall not, by itself, result in such person being constituted as, or being deemed to be, an officer of the Corporation or of such other enterprise for purposes of this Article VI.

Section 6.2 Right to Advancement of Expenses. In addition to the right to indemnification conferred in Section 6.1, an indemnitee shall, to the fullest extent permitted by law, also have the right to be paid by the Corporation the expenses (including attorneys’ fees) incurred in defending any proceeding in advance of its final disposition (hereinafter an “advancement of expenses”); provided, however, that an advancement of expenses

 

A-1-30


Table of Contents

shall be made only upon delivery to the Corporation of an undertaking (hereinafter an “undertaking”), by or on behalf of such indemnitee, to repay all amounts so advanced if it shall ultimately be determined by final judicial decision of a court of competent jurisdiction from which there is no further right to appeal (hereinafter a “final adjudication”) that such indemnitee is not entitled to be indemnified for such expenses under this Article VI or otherwise.

Section 6.3 Indemnification for Successful Defense. Notwithstanding anything to the contrary, to the extent that an indemnitee has been successful on the merits or otherwise in defense of any proceeding (or in defense of any claim, issue or matter therein), such indemnitee shall be indemnified under this Section 6.3 against expenses (including attorneys’ fees) actually and reasonably incurred in connection with such defense. Indemnification under this Section 6.3 shall not be subject to satisfaction of a standard of conduct, and the Corporation may not assert the failure to satisfy a standard of conduct as a basis to deny indemnification or recover amounts advanced, including in a suit brought pursuant to Section 6.4 (notwithstanding anything to the contrary therein).

Section 6.4 Right of Indemnitee to Bring Suit. If a request for indemnification under Section 6.1 or Section 6.3 is not paid in full by the Corporation within 60 days, or if a request for an advancement of expenses under Section 6.2 is not paid in full by the Corporation within 20 days, after a written request has been received by the Secretary (or other officer designated by the Board), the indemnitee may at any time thereafter bring suit against the Corporation in a court of competent jurisdiction in the State of Delaware seeking an adjudication of entitlement to such indemnification or advancement of expenses. If successful in whole or in part in any such suit, or in a suit brought by the Corporation to recover an advancement of expenses pursuant to the terms of an undertaking, the indemnitee shall be entitled to be paid also the expense of prosecuting or defending such suit to the fullest extent permitted by law. In any suit brought by the indemnitee to enforce a right to indemnification hereunder (but not in a suit brought by the indemnitee to enforce a right to an advancement of expenses) it shall be a defense that the indemnitee has not met any applicable standard of conduct for indemnification set forth in Section 145(a) or Section 145(b) of the DGCL. Further, in any suit brought by the Corporation to recover an advancement of expenses pursuant to the terms of an undertaking, the Corporation shall be entitled to recover such expenses upon a final adjudication that the indemnitee has not met any applicable standard of conduct for indemnification set forth in Section 145(a) or Section 145(b) of the DGCL. Neither the failure of the Corporation (including its directors who are not parties to such action, a committee of such directors, independent legal counsel or its stockholders) to have made a determination prior to the commencement of such suit that indemnification of the indemnitee is proper in the circumstances because the indemnitee has met such applicable standard of conduct, nor an actual determination by the Corporation (including its directors who are not parties to such action, a committee of such directors, independent legal counsel or its stockholders) that the indemnitee has not met such applicable standard of conduct, shall create a presumption that the indemnitee has not met the applicable standard of conduct or, in the case of such a suit brought by the indemnitee, be a defense to such suit. In any suit brought by the indemnitee to enforce a right to indemnification or to an advancement of expenses hereunder, or brought by the Corporation to recover an advancement of expenses pursuant to the terms of an undertaking, the burden of proving that the indemnitee is not entitled to be indemnified, or to such advancement of expenses, under applicable law, this Article VI or otherwise shall be on the Corporation.

Section 6.5 Non-Exclusivity of Rights. The rights to indemnification and to the advancement of expenses conferred in this Article VI shall not be exclusive of any other right which any person may have or hereafter acquire under any law, agreement, vote of stockholders or disinterested directors, provisions of a certificate of incorporation or bylaws, or otherwise.

Section 6.6 Insurance. The Corporation may maintain insurance, at its expense, to protect itself and any director, officer, employee or agent of the Corporation or another corporation, partnership, joint venture, trust or other enterprise against any expense, liability or loss, whether or not the Corporation would have the power to indemnify such person against such expense, liability or loss under the DGCL.

 

 

A-1-31


Table of Contents

Section 6.7 Indemnification of Employees and Agents of the Corporation; Services at Subsidiaries. The Corporation may, to the extent and in the manner permitted by law, and to the extent authorized from time to time, grant rights to indemnification and to the advancement of expenses to any employee or agent of the Corporation. Any person serving as a director or officer of a subsidiary of the Corporation shall be entitled to the rights to indemnification conferred in this Article VI, and to the advancement of expenses, as defined in Section 6.2, with respect to his or her service at such subsidiary; provided, however, that the advancement of expenses to any person who is not an indemnitee as defined in Section 6.1(a) shall be at the discretion of the Corporation. Any director or officer of a subsidiary is deemed to be serving such subsidiary at the request of the Corporation, and the Corporation is deemed to be requesting such service. This Article VI shall, to the fullest extent permitted by law, supersede any conflicting provisions contained in the corporate governance documents of any other subsidiary of the Corporation. In addition, the Corporation may, to the extent and in the manner permitted by law, and to the extent authorized from time to time, grant rights to indemnification and to the advancement of expenses to individuals with respect to their service as an employee or agent of subsidiaries of the Corporation.

Section 6.8 Nature of Rights. The rights conferred upon indemnitees in this Article VI shall be contract rights and such rights shall continue as to an indemnitee who has ceased to be a director or officer and shall inure to the benefit of the indemnitee’s heirs, executors and administrators. Any amendment, alteration or repeal of this Article VI that adversely affects any right of an indemnitee or its successors shall be prospective only and shall not limit or eliminate any such right with respect to any proceeding involving any occurrence or alleged occurrence of any action or omission to act that took place prior to such amendment, alteration or repeal.

Section 6.9 Settlement of Claims. Notwithstanding anything in this Article VI to the contrary, the Corporation shall not be liable to indemnify any indemnitee under this Article VI for any amounts paid in settlement of any proceeding effected without the Corporation’s written consent, which consent shall not be unreasonably withheld.

Section 6.10 Subrogation. In the event of payment under this Article VI, the Corporation shall be subrogated to the extent of such payment to all of the rights of recovery of the indemnitee (excluding insurance obtained on the indemnitee’s own behalf), and the indemnitee shall execute all papers required and shall do everything that may be necessary to secure such rights, including the execution of such documents necessary to enable the Corporation effectively to bring suit to enforce such rights.

Section 6.11 Severability. If any provision or provisions of this Article VI shall be held to be invalid, illegal or unenforceable as applied to any person or entity or circumstance for any reason whatsoever, then, to the fullest extent permitted by law: (a) the validity, legality and enforceability of such provision in any other circumstance and of the remaining provisions of this Article VI (including, without limitation, all portions of any paragraph of this Article VI containing any such provision held to be invalid, illegal or unenforceable, that are not by themselves invalid, illegal or unenforceable) and the application of such provision to other persons or entities or circumstances shall not in any way be affected or impaired thereby; and (b) to the fullest extent possible, the provisions of this Article VI (including, without limitation, all portions of any paragraph of this Article VI containing any such provision held to be invalid, illegal or unenforceable, that are not themselves invalid, illegal or unenforceable) shall be construed so as to give effect to the intent of the parties that the Corporation provide protection to the indemnitee to the fullest extent set forth in this Article VI.

ARTICLE VII

CAPITAL STOCK

Section 7.1 Certificates of Stock. The shares of the Corporation may be certificated or uncertificated. Any certificates shall be in such form as shall be determined by the Board of Directors, and shall be numbered and entered in the books of the Corporation as they are issued. Every holder of stock represented by certificates shall

 

A-1-32


Table of Contents

be entitled to have a certificate signed by or in the name of the Corporation by any two authorized officers of the Corporation, which shall include, without limitation, the Chief Executive Officer, the Secretary, the President, the Chief Financial Officer, the Treasurer, the Controller, any Assistant Treasurer and Assistant Secretary, certifying the number of shares owned by such holder in the Corporation. Any or all such signatures may be facsimiles or otherwise electronic signatures. In case any officer, transfer agent or registrar who has signed or whose facsimile or otherwise electronic signature has been placed upon a certificate has ceased to be such officer, transfer agent or registrar before such certificate is issued, it may be issued by the Corporation with the same effect as if such person were such officer, transfer agent or registrar at the date of issue.

Section 7.2 Special Designation on Certificates. If the Corporation is authorized to issue more than one class of stock or more than one series of any class, then the powers, the designations, the preferences, and the relative, participating, optional or other special rights of each class of stock or series thereof and the qualifications, limitations or restrictions of such preferences and/or rights shall be set forth in full or summarized on the face or back of the certificate that the Corporation shall issue to represent such class or series of stock; provided, however, that, except as otherwise provided in Section 202 of the DGCL, in lieu of the foregoing requirements there may be set forth on the face or back of the certificate that the Corporation shall issue to represent such class or series of stock a statement that the Corporation will furnish without charge to each stockholder who so requests the powers, the designations, the preferences, and the relative, participating, optional or other special rights of each class of stock or series thereof and the qualifications, limitations or restrictions of such preferences and/or rights. Within a reasonable time after the issuance or transfer of uncertificated stock, the registered owner thereof shall be given a notice, in writing or by electronic transmission, containing the information required to be set forth or stated on certificates pursuant to this Section 7.2 or Section 151, 156, 202(a) or 218(a) of the DGCL or with respect to this Section 7.2 and Section 151 of the DGCL a statement that the Corporation will furnish without charge to each stockholder who so requests the powers, the designations, the preferences, and the relative, participating, optional or other special rights of each class of stock or series thereof and the qualifications, limitations or restrictions of such preferences and/or rights. Except as otherwise expressly provided by law, the rights and obligations of the holders of uncertificated stock and the rights and obligations of the holders of certificates representing stock of the same class and series shall be identical.

Section 7.3 Transfers of Stock. Transfers of shares of stock of the Corporation shall be made only on the books of the Corporation upon authorization by the registered holder thereof or by such holder’s attorney thereunto authorized by a power of attorney duly executed and filed with the Secretary (or other officer designated by the Board) or a transfer agent for such stock, and if such shares are represented by a certificate, upon surrender of the certificate or certificates for such shares properly endorsed or accompanied by a duly executed stock transfer power and the payment of any taxes thereon; provided, however, that the Corporation shall be entitled to recognize and enforce any lawful restriction on transfer. Transfers may also be made in any manner authorized by the Corporation (or its authorized transfer agent) and permitted by Section 224 of the DGCL.

Section 7.4 Lost Certificates. The Corporation may issue a new share certificate or uncertificated shares in the place of any certificate theretofore issued by it, alleged to have been lost, stolen or destroyed, and the Corporation may require the owner of the lost, stolen or destroyed certificate or the owner’s legal representative to give the Corporation a bond (or other adequate security) sufficient to indemnify it against any claim that may be made against it (including any expense or liability) on account of the alleged loss, theft or destruction of any such certificate or the issuance of such new certificate or uncertificated shares. The Board of Directors may adopt such other provisions and restrictions with reference to lost certificates, not inconsistent with applicable law, as it shall in its discretion deem appropriate.

Section 7.5 Registered Stockholders. The Corporation shall be entitled to recognize the exclusive right of a person registered on its books as the owner of shares to receive dividends, and to vote as such owner, and shall not be bound to recognize any equitable or other claim to or interest in such share or shares on the part of any other person, whether or not it shall have express or other notice thereof, except as otherwise required by law.

 

 

A-1-33


Table of Contents

Section 7.6 Record Date for Determining Stockholders.

(a) In order that the Corporation may determine the stockholders entitled to notice of any meeting of stockholders or any adjourned meeting, the Board of Directors may fix a record date, which record date shall not precede the date upon which the resolution fixing the record date is adopted by the Board of Directors, and which record date shall, unless otherwise required by law, not be more than 60 nor less than 10 days before the date of such meeting. If the Board of Directors so fixes a date, such date shall also be the record date for determining the stockholders entitled to vote at such meeting unless the Board of Directors determines, at the time it fixes such record date, that a later date on or before the date of the meeting shall be the date for making such determination. If no record date is fixed by the Board of Directors, the record date for determining stockholders entitled to notice of and to vote at a meeting of stockholders shall be at the close of business (as defined in Section 2.10(c)(iii) above) on the day next preceding the day on which notice is given, or, if notice is waived, at the close of business on the day next preceding the day on which the meeting is held. A determination of stockholders of record entitled to notice of or to vote at a meeting of stockholders shall apply to any adjourned meeting; provided, however, that the Board of Directors may fix a new record date for the determination of stockholders entitled to vote at the adjourned meeting, and in such case shall also fix as the record date for stockholders entitled to notice of such adjourned meeting the same or an earlier date as that fixed for determination of stockholders entitled to vote in accordance herewith at the adjourned meeting.

(b) In order that the Corporation may determine the stockholders entitled to receive payment of any dividend or other distribution or allotment of any rights, or entitled to exercise any rights in respect of any change, conversion or exchange of stock or for the purpose of any other lawful action, the Board of Directors may fix a record date, which record date shall not precede the date upon which the resolution fixing the record date is adopted by the Board of Directors, and which record date shall not be more than 60 days prior to such action. If no such record date is fixed, the record date for determining stockholders for any such purpose shall be at the close of business on the day on which the Board of Directors adopts the resolution relating thereto.

Section 7.7 Regulations. To the extent permitted by applicable law, the Board of Directors may make such additional rules and regulations as it may deem expedient concerning the issue, transfer and registration of shares of stock of the Corporation.

Section 7.8 Waiver of Notice. Whenever notice is required to be given under any provision of the DGCL or the Certificate of Incorporation or these Bylaws, a written waiver, signed by the person entitled to notice, or a waiver by electronic transmission by the person entitled to notice, whether before or after the time stated therein, shall be deemed equivalent to notice. Attendance of a person at a meeting shall constitute a waiver of notice of such meeting, except when the person attends a meeting for the express purpose of objecting at the beginning of the meeting, to the transaction of any business because the meeting is not lawfully called or convened. Neither the business to be transacted at, nor the purpose of, any regular or special meeting of the stockholders, the Board of Directors or a committee of the Board of Directors need be specified in any written waiver of notice or any waiver by electronic transmission unless so required by the Certificate of Incorporation or these Bylaws.

ARTICLE VIII

GENERAL MATTERS

Section 8.1 Fiscal Year. The fiscal year of the Corporation shall begin on the first day of January of each year and end on the last day of December of the same year, or shall extend for such other 12 consecutive months as the Board of Directors may designate.

Section 8.2 Corporate Seal. The Board of Directors may provide a suitable seal, containing the name of the Corporation, which seal shall be in the charge of the Secretary (or other officer designated by the Board). If and when so directed by the Board of Directors or a committee thereof, duplicates of the seal may be kept and used by the Treasurer or by an Assistant Secretary or Assistant Treasurer, if any.

 

A-1-34


Table of Contents

Section 8.3 Reliance upon Books, Reports and Records. Each director and each member of any committee designated by the Board of Directors shall, in the performance of his or her duties, be fully protected in relying in good faith upon the books of account or other records of the Corporation and upon such information, opinions, reports or statements presented to the Corporation by any of its officers or employees, or committees of the Board of Directors so designated, or by any other person as to matters which such director or committee member reasonably believes are within such other person’s professional or expert competence and who has been selected with reasonable care by or on behalf of the Corporation.

Section 8.4 Subject to Law and Certificate of Incorporation. All powers, duties and responsibilities provided for in these Bylaws, whether or not explicitly so qualified, are qualified by the Certificate of Incorporation (including any Preferred Stock Designation) and applicable law.

Section 8.5 Electronic Signatures, etc. Except as otherwise required by the Certificate of Incorporation (including as otherwise required by any Preferred Stock Designation) or these Bylaws (including, without limitation, as otherwise required by Section 2.14), any document, including, without limitation, any consent, agreement, certificate or instrument, required by the DGCL, the Certificate of Incorporation (including any Preferred Stock Designation) or these Bylaws to be executed by any officer, director, stockholder, employee or agent of the Corporation may be executed using a facsimile or other form of electronic signature to the fullest extent permitted by applicable law. All other contracts, agreements, certificates or instruments to be executed on behalf of the Corporation may be executed using a facsimile or other form of electronic signature to the fullest extent permitted by applicable law. The terms “electronic mail,” “electronic mail address,” “electronic signature” and “electronic transmission” as used herein shall have the meanings ascribed thereto in the DGCL.

ARTICLE IX

AMENDMENTS

Section 9.1 Amendments. In furtherance and not in limitation of the powers conferred by the laws of the State of Delaware, but subject to the terms of any series of Preferred Stock then outstanding and except as otherwise provided in the Certificate of Incorporation, the Board of Directors is expressly authorized to adopt, amend or repeal these Bylaws. Except as otherwise provided in the Certificate of Incorporation (including the terms of any Preferred Stock Designation that require an additional vote) or these Bylaws, the affirmative vote of at least 6623% of the voting power of the stock outstanding and entitled to vote thereon, voting together as a single class, shall be required for the stockholders to adopt, amend or repeal, or adopt any provision inconsistent with, any provision of these Bylaws; provided, however, that no Bylaws hereafter adopted by the stockholders shall invalidate any prior act of the Board that would have been valid if such Bylaws had not been adopted.

The foregoing Amended and Restated Bylaws were adopted by the Board of Directors on [●].

 

A-1-35


Table of Contents

Annex 2

Exhibit D

NewCo Charter

 

A-1-36


Table of Contents

AMENDED AND RESTATED

CERTIFICATE OF INCORPORATION

OF

CALUMET, INC.

(a Delaware corporation)

Calumet, Inc., a corporation organized and existing under the laws of the State of Delaware, does hereby certify as follows:

 

  1.

The name of the Corporation is Calumet, Inc.

 

  2.

The original certificate of incorporation was filed with the Secretary of State of the State of Delaware on January 8, 2024, under the name “Calumet, Inc.”.

 

  3.

This Amended and Restated Certificate of Incorporation (this “Certificate of Incorporation”) restates and amends the original certificate of incorporation of the Corporation. This Certificate of Incorporation has been duly adopted in accordance with Sections 228, 242 and 245 of the General Corporation Law of the State of Delaware (the “DGCL”).

 

  4.

The text of the original certificate of incorporation of the Corporation is hereby amended and restated to read in its entirety as follows:

ARTICLE I

NAME

The name of the Corporation is Calumet, Inc. (the “Corporation”).

ARTICLE II

AGENT

The address of the Corporation’s registered office in the State of Delaware is 1209 Orange Street, Wilmington, New Castle County, Delaware 19801. The name of its registered agent at such address is The Corporation Trust Company.

ARTICLE III

PURPOSE

The purpose of the Corporation is to engage in any lawful act or activity for which corporations may be organized under the DGCL.

ARTICLE IV

STOCK

Section 4.1 Authorized Stock. The total number of shares which the Corporation shall have authority to issue is [●], which shall be divided into two classes as follows: [●] shares of Common Stock, par value $0.01 per share (the “Common Stock”), and [●] shares of Preferred Stock, par value $0.01 per share (the “Preferred Stock”).

 

A-1-37


Table of Contents

Section 4.2 Common Stock.

(a) Voting. Each holder of Common Stock, as such, shall be entitled to one vote for each share of Common Stock held of record by such holder on all matters on which stockholders generally are entitled to vote; provided, however, that, except as otherwise required by applicable law, holders of Common Stock, as such, shall not be entitled to vote on any amendment to this Certificate of Incorporation, including any certificate of designations relating to any series of Preferred Stock (each hereinafter referred to as a “Preferred Stock Designation”), that relates solely to the terms of one or more outstanding series of Preferred Stock if the holders of such affected series are entitled, either separately or together with the holders of one or more other such series, to vote thereon pursuant to this Certificate of Incorporation (including any Preferred Stock Designation).

(b) Dividends. Subject to the rights of the holders of any outstanding series of Preferred Stock, the holders of shares of Common Stock shall be entitled to receive any dividends to the extent permitted by applicable law when, as and if declared by the board of directors of the Corporation (the “Board of Directors”).

(c) Liquidation. Upon the dissolution, liquidation or winding up of the Corporation, subject to the rights of the holders of any outstanding series of Preferred Stock, the holders of shares of Common Stock shall be entitled to receive the assets of the Corporation available for distribution to its stockholders ratably in proportion to the number of shares of Common Stock held by them.

Section 4.3 Preferred Stock. The Preferred Stock may be issued from time to time in one or more series. Subject to limitations prescribed by applicable law and the provisions of this Article IV (including any Preferred Stock Designation), the Board of Directors is hereby authorized to provide by resolution and by causing the filing of a Preferred Stock Designation for the issuance of the shares of Preferred Stock in one or more series, and to establish from time to time the number of shares to be included in each such series, and to fix the designations, powers, preferences, and relative, participating, optional or other rights, if any, and the qualifications, limitations or restrictions, if any, of the shares of each such series.

Section 4.4 No Class Vote on Changes in Authorized Number of Shares of Stock. Subject to the rights of the holders of any outstanding series of Preferred Stock, the number of authorized shares of Common Stock or Preferred Stock may be increased or decreased (but not below the number of shares thereof then outstanding) by the affirmative vote of a majority of the voting power of the stock outstanding and entitled to vote thereon irrespective of the provisions of Section 242(b)(2) of the DGCL.

Section 4.5 Reservation of Shares of Common Stock for Warrants. The Corporation shall at all times reserve and keep available out of its authorized and unissued shares of Common Stock the number of shares of Common Stock that are issuable in connection with the exercise of any and all outstanding warrants issued by the Corporation.

ARTICLE V

BOARD OF DIRECTORS

Section 5.1 Number. Subject to the rights of the holders of any outstanding series of Preferred Stock and subject to Section 5.3(c), the Board of Directors shall solely consist of such number of directors as shall be determined from time to time by resolution adopted by the affirmative vote of a majority of the total number of directors then authorized.

Section 5.2 Classification; Designation; Nomination; Vacancies.

(a) Except as may be otherwise provided with respect to directors elected by the holders of any series of Preferred Stock provided for or fixed pursuant to the provisions of Article IV (including any Preferred Stock

 

A-1-38


Table of Contents

Designation (the “Preferred Stock Directors”)), the Board of Directors shall be divided into three classes, designated Class I, Class II and Class III. Class I directors shall initially serve until the Corporation’s first annual meeting of stockholders following the effectiveness of this Section 5.2; Class II directors shall initially serve until the Corporation’s second annual meeting of stockholders following the effectiveness of this Section 5.2; and Class III directors shall initially serve until the Corporation’s third annual meeting of stockholders following the effectiveness of this Section 5.2. Upon the expiration of the initial term of each class of directors set forth in the preceding sentence of this Section 5.2(a), respectively, directors of such class shall be elected to hold office for a three-year term and until the election and qualification of their respective successors in office or until any such director’s earlier death, resignation, removal (in accordance with this Certificate of Incorporation), retirement or disqualification. In the case of any increase or decrease, from time to time, in the number of directors (other than Preferred Stock Directors), the number of directors in each class shall be fixed solely by the Board of Directors (as determined solely by the Board of Directors); provided, further, that the Board of Directors shall not change the class designation of the THG Designees (as defined below) without the prior written approval of the THG Stockholders (as defined below). Subject to the immediately preceding sentence and Section 5.2(c), the Board of Directors shall have the exclusive power to fix the number of directors in each class and is authorized to assign members of the Board of Directors already in office to Class I, Class II or Class III.

(b) Subject to the rights of the holders of any outstanding series of Preferred Stock and subject to Section 5.2(c) and Section 5.2(e), unless otherwise required by applicable law, newly created directorships resulting from any increase in the authorized number of directors and any vacancies in the Board of Directors resulting from death, resignation, retirement, disqualification, removal (in accordance with this Certificate of Incorporation) or other cause shall be filled solely by the affirmative vote of a majority of the remaining directors then in office, even though less than a quorum of the Board of Directors, or by the sole remaining director. Any director so chosen shall hold office until the next election of the class for which such director shall have been chosen and until his or her successor shall have been duly elected and qualified or until any such director’s earlier death, resignation, removal (in accordance with this Certificate of Incorporation), retirement or disqualification. No decrease in the authorized number of directors shall shorten the term of any incumbent director.

(c) In connection with the election of directors at each annual or special meeting of stockholders of the Corporation at which directors are to be elected, the THG Stockholders shall have the right, but not the obligation, to designate for nomination by the Corporation to the Board of Directors a number of designees equal to (in no case less than zero): (i) two directors so long as the THG Stockholders and their respective Affiliates collectively beneficially own 16.7% or more of the outstanding shares of Equity Securities (within the meaning of clause (i) of the definition of Equity Securities); and (ii) one director in the event that the THG Stockholders and their respective Affiliates collectively beneficially own less than 16.7% but more than 5% of the outstanding shares of Equity Securities (within the meaning of clause (i) of the definition Equity Securities), in each case of clause (i) and (ii), the directors to be nominated at such meeting shall be reduced by the number of THG Designees serving on the Board of Directors at such time who are not members of the class subject to election at such meeting of stockholders of the Corporation; provided, that the THG Stockholders shall permanently, and despite any later increase in their beneficial ownership, no longer be entitled to designate a director nominee at such time as the THG Stockholders and their respective Affiliates collectively beneficially own Common Stock representing less than 5% of the outstanding shares of Equity Securities (within the meaning of clause (i) of the definition of Equity Securities).

(d) With respect to any annual or special meeting of stockholders of the Corporation at which directors are to be elected, to the extent that the THG Stockholders have the right to designate a THG Designee pursuant to Section 5.2(c) at such annual or special meeting and subject to the laws of the State of Delaware (including with respect to fiduciary duties under Delaware law), each THG Designee (i) will be nominated and recommended by the Board of Directors to be elected as a director at such annual or special meeting of stockholders and included in the Corporation’s slate of nominees to be elected or appointed to the Board of Directors at such annual or special meeting of stockholders, (ii) will be recommended by the Board of Directors

 

A-1-39


Table of Contents

to the stockholders of the Corporation for a vote in favor of any such THG Designee, (iii) will be included in any proxy or consent solicitation statement of the Corporation or the Board of Directors in favor of any nominees for election or appointment to the Board of Directors and (iv) without limiting the foregoing, will receive the Corporation’s best efforts to cause such nominees who are THG Designees to be elected to the Board of Directors, including the Corporation providing at least as high a level of support for the election of such nominees as it provides to any other individual standing for election as a director.

(e) For so long as the THG Stockholders have the right to designate a THG Designee pursuant to Section 5.2(c), in the event that a vacancy is created at any time by the death, resignation, removal (in accordance with this Certificate of Incorporation), retirement or disqualification of any member of the Board of Directors designated by the THG Stockholders pursuant to Section 5.2(c), the vacancy so created shall be filled solely with a designee of the THG Stockholders (subject to the laws of the State of Delaware (including with respect to fiduciary duties under Delaware law)), and may not be filled with any other Person.

(f) In the event that the THG Stockholders shall cease to have the right to designate one or more director(s) pursuant to Section 5.2(c), the THG Designee(s) selected by the THG Stockholders shall continue to serve until his or her term expires at the next applicable annual meeting of stockholders of the Corporation or until his earlier death, resignation, removal, retirement or disqualification. In the event such THG Designee resigns, is removed or is not renominated for election (due to THG Stockholder ceasing to have the right to designate such THG Designee) in accordance with this Section 5.2(f), the directors remaining in office shall be entitled to decrease the size of the Board of Directors to eliminate such vacancy and no consent under Section 5.3(c)(ii) shall be required in connection with such decrease.

(g) Any director, or the entire Board of Directors (other than any Preferred Stock Director), may be removed from office at any time, but only for cause and only by the affirmative vote of at least 6623% of the voting power of the stock outstanding and entitled to vote on the election of directors, voting together as a single class. Notwithstanding the foregoing, whenever the holders of any class or series are entitled to elect one or more directors by this Certificate of Incorporation (including any Preferred Stock Designation), with respect to the removal without cause of a director or directors so elected, the vote of the holders of the outstanding shares of that class or series, and not the vote of the outstanding shares as a whole, shall apply.

(h) During any period when the holders of any series of Preferred Stock have the right to elect additional directors as provided for or fixed pursuant to the provisions of Article IV (including any Preferred Stock Designation), and upon commencement and for the duration of the period during which such right continues: (i) the then otherwise total authorized number of directors of the Corporation shall be increased by such number of directors that the holders of any series of Preferred Stock have a right to elect, and the holders of such Preferred Stock shall be entitled to elect the additional directors so provided for or fixed pursuant to said provisions; and (ii) each Preferred Stock Director shall serve until such Preferred Stock Director’s successor shall have been duly elected and qualified, or until such director’s right to hold such office terminates pursuant to said provisions, whichever occurs earlier, subject to his or her earlier death, resignation, removal, retirement or disqualification. Except as otherwise provided for or fixed pursuant to the provisions of Article IV (including any Preferred Stock Designation), whenever the holders of any series of Preferred Stock having such right to elect additional directors cease to have or are otherwise divested of such right pursuant to said provisions, the terms of office of all such Preferred Stock Directors elected by the holders of such Preferred Stock, or elected to fill any vacancies resulting from the death, resignation, removal, retirement or disqualification of such additional directors, shall forthwith terminate (in which case each such Preferred Stock Director shall cease to be qualified as a director and shall cease to be a director) and the total authorized number of directors of the Corporation shall be automatically reduced accordingly.

 

A-1-40


Table of Contents

Section 5.3 Powers.

(a) Except as otherwise required by the DGCL or as provided in this Certificate of Incorporation (including any Preferred Stock Designation, Section 5.2 and this Section 5.3) the business and affairs of the Corporation shall be managed by or under the direction of the Board of Directors.

(b) Except as required by applicable law, for so long as the THG Stockholders and their respective Affiliates collectively beneficially own 15% or more of the outstanding shares of Equity Securities (within the meaning of clause (i) of the definition Equity Securities), the attendance of at least one THG Designee shall be required to constitute a quorum of the Board of Directors (or any committee of the Board of Directors on which a THG Designee serves) for the transaction of business with respect to such action or decision unless each THG Designee provides notice in writing or by electronic transmission to the remaining members of the Board of Directors, the Chairman of the Board of Directors or the Secretary of the Corporation waiving his or her right to be included in the quorum at such meeting; provided, however, that this Section 5.3(b) shall not apply to any Board of Directors meeting or committee meeting necessary to address any catastrophe or other similar emergency condition for the Corporation or in the case of any other emergency (as defined in Section 110 of the DGCL). Notwithstanding the foregoing, if there is less than a quorum at any meeting of the Board of Directors (or any committee thereof on which any of the THG Designees serves), a majority of the directors of the Corporation present may adjourn the meeting to a time no earlier than five business days after written notice of such adjournment has been given to each director of the Corporation not then in attendance. If a THG Designee is not present at the next meeting following an adjournment, then the presence of a number of directors of the Corporation exceeding 50% of the entire Board of Directors (or exceeding 50% of the entire committee, as applicable) entitled to vote shall constitute a quorum for the next meeting.

(c) Until the earlier of (i) the THG Stockholders and their respective Affiliates first ceasing to collectively beneficially own at least 5% of the outstanding shares of Equity Securities (within the meaning of clause (i) of the definition Equities Securities), (ii) [●], 20271 and (iii) the termination of the Stockholders’ Agreement (as defined below), the following actions by the Corporation or any of its subsidiaries shall require the approval of the THG Stockholders, in addition to any approval by the stockholders of the Corporation or by the Board of Directors (or by the required governing body of any subsidiary of the Corporation as required by such subsidiary’s organizational documents) required by applicable law, this Certificate of Incorporation or the Bylaws of the Corporation (as amended and/or restated from time to time in accordance with the terms thereof and Section 10.2, the “Bylaws”):

(i) any amendment, modification or restatement of this Certificate of Incorporation or the Bylaws or the organizational documents of any subsidiary of the Corporation that is a “significant subsidiary” as defined in Rule 1-02 of Regulation S-X under the Exchange Act (as defined below);

(ii) any increase or decrease in the size of the Board of Directors;

(iii) terminating the employment of the Chief Executive Officer of the Corporation or hiring a new Chief Executive Officer of the Corporation, or removing the Chairperson of the Board of Directors or appointing a new Chairperson of the Board of Directors; and

(iv) initiating a voluntary liquidation, dissolution, receivership, bankruptcy or other insolvency proceeding involving the Corporation or any subsidiary of the Corporation that is a “significant subsidiary” as defined in Rule 1-02 of Regulation S-X under the Exchange Act.

 

 

1 

To be the third anniversary of the Closing Date.

 

A-1-41


Table of Contents

(d) For so long as the THG Stockholders have the right to designate a THG Designee pursuant to Section 5.2(c) and to the fullest extent permitted by applicable law (including with respect to fiduciary duties under Delaware law), each committee of the Board of Directors shall include at least one THG Designee; provided that the ability of any THG Designee to serve on a committee shall be subject to the Corporation’s obligation to comply with any applicable independence requirements of The Nasdaq Stock Market LLC (or such other securities exchange or interdealer quotation system on which shares of Common Stock are then listed or quoted), the Securities and Exchange Commission and state law (including with respect to fiduciary duties under Delaware law) as determined in good faith by the Board of Directors.

Section 5.4 Election; Annual Meeting of Stockholders.

(a) Written Ballot Not Required. The directors of the Corporation need not be elected by written ballot unless the Bylaws so provide.

(b) Notice. Advance notice of nominations for the election of directors, and of business other than nominations, to be proposed by stockholders for consideration at a meeting of stockholders of the Corporation shall be given in the manner and to the extent provided in or contemplated by the Bylaws.

(c) Annual Meeting. The annual meeting of stockholders, for the election of directors to succeed those whose terms expire and for the transaction of such other business as may properly come before the meeting, shall be held at such place, if any, either within or without the State of Delaware, on such date, and at such time as the Board of Directors shall fix. The Board of Directors may postpone, reschedule or cancel any annual meeting of stockholders previously scheduled by the Board of Directors.

ARTICLE VI

STOCKHOLDER ACTION

Except as otherwise provided for or fixed pursuant to the provisions of Article IV (including any Preferred Stock Designation) and subject to the Bylaws, any action required or permitted to be taken at any annual or special meeting of the stockholders of the Corporation may be taken only at an annual or special meeting of stockholders duly called and may not be taken by consent of the stockholders in lieu of such a meeting. Notwithstanding the foregoing, any action required or permitted to be taken by the holders of Preferred Stock, voting separately as a series or separately as a class with one or more other such series, may be taken without a meeting, without prior notice and without a vote, to the extent expressly so provided by the applicable Preferred Stock Designation related to such series of Preferred Stock.

ARTICLE VII

SPECIAL MEETINGS OF STOCKHOLDERS

Except as otherwise required by applicable law, and except as otherwise provided for or fixed pursuant to the provisions of Article IV (including any Preferred Stock Designation), a special meeting of the stockholders of the Corporation may be called at any time only by the Board of Directors, and may not be called by any other Person or Persons. The Board of Directors may postpone, reschedule or cancel any special meeting of stockholders previously scheduled by the Board of Directors. Only such business shall be conducted at a special meeting of stockholders as shall have been brought before the meeting by or at the direction of the Board of Directors.

ARTICLE VIII

BUSINESS COMBINATIONS WITH INTERESTED STOCKHOLDERS

Section 8.1 Opt Out. The Corporation hereby expressly elects that it shall not be governed by, or otherwise subject to, Section 203 of the DGCL.

 

A-1-42


Table of Contents

Section 8.2 Applicable Restrictions to Business Combinations. Notwithstanding the provisions of Section 8.1, the Corporation shall not engage in any business combination (as defined below), at any point in time at which any class of Common Stock is registered under Section 12(b) or 12(g) of the Exchange Act with any interested stockholder (as defined below) for a period of three years following the time that such stockholder became an interested stockholder, unless:

(a) prior to such time such stockholder became an interested stockholder, the Board of Directors approved either the business combination or the transaction which resulted in the stockholder becoming an interested stockholder;

(b) upon consummation of the transaction which resulted in the stockholder becoming an interested stockholder, the interested stockholder owned at least 85% of the voting stock (as defined below) of the Corporation outstanding at the time the transaction commenced, excluding for purposes of determining the voting stock outstanding (but not the outstanding voting stock owned by the interested stockholder) those shares owned by (i) persons who are directors and also officers and (ii) employee stock plans in which employee participants do not have the right to determine confidentially whether shares held subject to the plan will be tendered in a tender or exchange offer; or

(c) at or subsequent to such time, the business combination is approved by the Board of Directors and authorized at an annual or special meeting of stockholders, and not by written consent, by the affirmative vote of at least 6623% of the outstanding voting stock of the Corporation which is not owned by the interested stockholder.

Section 8.3 Certain Definitions. Notwithstanding anything to the contrary set forth in Section 14.1 and solely for purposes of this Article VIII:

(a) “affiliate” means a person that directly, or indirectly through one or more intermediaries, controls, or is controlled by, or is under common control with, another person.

(b) “associate,” when used to indicate a relationship with any person, means: (i) any corporation, partnership, unincorporated association or other entity of which such person is a director, officer or partner or is, directly or indirectly, the owner of 20% or more of any class of voting stock; (ii) any trust or other estate in which such person has at least a 20% beneficial ownership or as to which such person serves as trustee or in a similar fiduciary capacity; and (iii) any relative or spouse of such person, or any relative of such spouse, who has the same residence as such person.

(c) “business combination,” when used in reference to the Corporation and any interested stockholder of the Corporation, means:

(i) any merger or consolidation of the Corporation or any direct or indirect majority-owned subsidiary of the Corporation (A) with the interested stockholder, or (B) with any other corporation, partnership, unincorporated association or other entity if the merger or consolidation is caused by the interested stockholder and as a result of such merger or consolidation this Article VIII is not applicable to the surviving entity;

(ii) any sale, lease, exchange, mortgage, pledge, transfer or other disposition (in one transaction or a series of transactions), except proportionately as a stockholder of the Corporation, to or with the interested stockholder, whether as part of a dissolution or otherwise, of assets of the Corporation or of any direct or indirect majority-owned subsidiary of the Corporation which assets have an aggregate market value equal to 10% or more of either the aggregate market value of all the assets of the Corporation determined on a consolidated basis or the aggregate market value of all the outstanding stock of the Corporation;

 

 

A-1-43


Table of Contents

(iii) any transaction which results in the issuance or transfer by the Corporation or by any direct or indirect majority-owned subsidiary of the Corporation of any stock of the Corporation or of such subsidiary to the interested stockholder, except: (A) pursuant to the exercise, exchange or conversion of securities exercisable for, exchangeable for or convertible into stock of the Corporation or any such subsidiary which securities were outstanding prior to the time that the interested stockholder became such; (B) pursuant to a merger under Section 251(g) of the DGCL; (C) pursuant to a dividend or distribution paid or made, or the exercise, exchange or conversion of securities exercisable for, exchangeable for or convertible into stock of the Corporation or any such subsidiary which security is distributed, pro rata, to all holders of a class or series of stock of the Corporation subsequent to the time the interested stockholder became such; (D) pursuant to an exchange offer by the Corporation to purchase stock made on the same terms to all holders of said stock; or (E) any issuance or transfer of stock by the Corporation; provided, however, that in no case under items (C) through (E) of this subsection (iii) shall there be an increase in the interested stockholder’s proportionate share of the stock of any class or series of the Corporation or of the voting stock of the Corporation (except as a result of immaterial changes due to fractional share adjustments);

(iv) any transaction involving the Corporation or any direct or indirect majority-owned subsidiary of the Corporation which has the effect, directly or indirectly, of increasing the proportionate share of the stock of any class or series, or securities convertible into the stock of any class or series, of the Corporation or of any such subsidiary which is owned by the interested stockholder, except as a result of immaterial changes due to fractional share adjustments or as a result of any purchase or redemption of any shares of stock not caused, directly or indirectly, by the interested stockholder; or

(v) any receipt by the interested stockholder of the benefit, directly or indirectly (except proportionately as a stockholder of the Corporation), of any loans, advances, guarantees, pledges, or other financial benefits (other than those expressly permitted in subsections (i) through (iv) above) provided by or through the Corporation or any direct or indirect majority-owned subsidiary.

(d) “control,” including the terms “controlling,” “controlled by” and “under common control with,” means the possession, directly or indirectly, of the power to direct or cause the direction of the management and policies of a person, whether through the ownership of voting stock, by contract, or otherwise. A person who is the owner of 20% or more of the outstanding voting stock of a corporation, partnership, unincorporated association or other entity shall be presumed to have control of such entity, in the absence of proof by a preponderance of the evidence to the contrary. Notwithstanding the foregoing, a presumption of control shall not apply where such person holds voting stock, in good faith and not for the purpose of circumventing this Article VIII, as an agent, bank, broker, nominee, custodian or trustee for one or more owners who do not individually or as a group (as such term is used in Rule 13d-5 under the Exchange Act, as such Rule is in effect as of the date of this Certificate of Incorporation) have control of such entity.

(e) “interested stockholder” means any person (other than the Corporation or any direct or indirect majority-owned subsidiary of the Corporation) that either (i) is the owner of 15% or more of the outstanding voting stock of the Corporation, or (ii) is an affiliate or associate of the Corporation and was the owner of 15% or more of the outstanding voting stock of the Corporation at any time within the three-year period immediately prior to the date on which it is sought to be determined whether such person is an interested stockholder; and the affiliates and associates of such person; provided, however, that the term “interested stockholder” shall not include (A) any Principal Holder or Principal Holder Direct Transferee, (B) a stockholder that becomes an interested stockholder inadvertently and (x) as soon as practicable divests itself of ownership of sufficient shares so that such stockholder ceases to be an interested stockholder and (y) would not, at any time within the three-year period immediately prior to a business combination between the Corporation and such stockholder, have been an interested stockholder but for the inadvertent acquisition of ownership or (C) any person whose ownership of shares in excess of the 15% limitation set forth herein is the result of any action taken solely by the Corporation; provided, however, that such person specified in this clause (C) shall be an interested stockholder if thereafter such person acquires additional shares of voting stock of the Corporation, except as a result of further

 

A-1-44


Table of Contents

corporate action not caused, directly or indirectly, by such person. For the purpose of determining whether a person is an interested stockholder, the voting stock of the Corporation deemed to be outstanding shall include stock deemed to be owned by the person through application of the definition of “owner” below but shall not include any other unissued stock of the Corporation which may be issuable pursuant to any agreement, arrangement or understanding, or upon exercise of conversion rights, warrants or options, or otherwise. For the avoidance of doubt, for purposes of this Article VIII, the Board of Directors, in its sole discretion, shall determine whether a stockholder became an interested stockholder inadvertently.

(f) “owner,” including the terms “own” and “owned,” when used with respect to any stock, means a person that individually or with or through any of its affiliates or associates:

(i) beneficially owns such stock, directly or indirectly, for purposes of Section 13(d) of the Exchange Act and Regulations 13D and 13G thereunder;

(ii) has (A) the right to acquire such stock (whether such right is exercisable immediately or only after the passage of time) pursuant to any agreement, arrangement or understanding, or upon the exercise of conversion rights, exchange rights, warrants or options, or otherwise; provided, however, that a person shall not be deemed the owner of stock tendered pursuant to a tender or exchange offer made by such person or any of such person’s affiliates or associates until such tendered stock is accepted for purchase or exchange; or (B) the right to vote such stock pursuant to any agreement, arrangement or understanding; provided, however, that a person shall not be deemed the owner of any stock because of such person’s right to vote such stock if the agreement, arrangement or understanding to vote such stock arises solely from a revocable proxy or consent given in response to a proxy or consent solicitation made to 10 or more persons; or

(iii) has any agreement, arrangement or understanding for the purpose of acquiring, holding, voting (except voting pursuant to a revocable proxy or consent as described in clause (B) of subsection (ii) above), or disposing of such stock with any other person that beneficially owns, or whose affiliates or associates beneficially own, directly or indirectly, such stock.

(g) “Principal Holder Direct Transferee” means any person that acquires (other than in a registered public offering), directly from one or more of the Principal Holders, beneficial ownership of 15% or more of the then-outstanding voting stock of the Corporation.

(h) “Principal Holders” means (A) the THG Investor and its current and future affiliates (so long as any such respective affiliate remains an affiliate), (B) its and their related trusts, trustees and family members, (C) its and their respective successors and assigns and (D) any “group” of which any such person referred to in the foregoing clauses (A) through (C) is part under Rule 13d-5 of the Exchange Act; provided, however, that the term “Principal Holders” shall not include the Corporation or any of the Corporation’s direct or indirect subsidiaries.

(i) “stock” means, with respect to any corporation, capital stock and, with respect to any other entity, any equity interest.

(j) “voting stock” means stock of any class or series entitled to vote generally in the election of directors and, with respect to any entity that is not a corporation, any equity interest entitled to vote generally in the election of the governing body of such entity. Every reference in this Article VIII to a percentage or proportion of voting stock shall refer to such percentage or other proportion of the votes of such voting stock.

ARTICLE IX

EXISTENCE

The Corporation shall have perpetual existence.

 

A-1-45


Table of Contents

ARTICLE X

AMENDMENT

Section 10.1 Amendment of Certificate of Incorporation. Except as otherwise provided in this Certificate of Incorporation (including, without limitation, Section 5.3(c) and any provision of a Preferred Stock Designation that provides for a greater or lesser vote), the Corporation reserves the right at any time, and from time to time, to amend, alter, change or repeal any provision contained in this Certificate of Incorporation (including, without limitation, any Preferred Stock Designation), and other provisions authorized by the laws of the State of Delaware at the time in force may be added or inserted, in the manner now or hereafter prescribed by the laws of the State of Delaware, and all powers, preferences and rights of any nature conferred upon stockholders, directors or any other persons by and pursuant to this Certificate of Incorporation (including any Preferred Stock Designation) in its present form or as hereafter amended are granted subject to this reservation. Notwithstanding the foregoing and except as otherwise provided in this Certificate of Incorporation (including, Section 5.3(c) and any provision of a Preferred Stock Designation that provides for a greater or lesser vote) and in addition to any other vote required by applicable law, the affirmative vote of at least 6623% of the voting power of the stock outstanding and entitled to vote thereon, voting together as a single class, shall be required for the stockholders to adopt, amend or repeal, or adopt any provision inconsistent with, Article V, Article VI, Article VII, Article VIII, Article X, Article XI, Article XII, Article XIII and Section 14.1 of this Certificate of Incorporation. For the avoidance of doubt, but subject to the rights of the holders of any outstanding Preferred Stock and subject to Section 5.3(c), Section 242(d) of the DGCL shall apply to amendments to this Certificate of Incorporation.

Section 10.2 Amendment of Bylaws. In furtherance and not in limitation of the powers conferred by the laws of the State of Delaware, but subject Section 5.3(c), the Board of Directors is expressly authorized to adopt, amend or repeal the Bylaws. Notwithstanding the foregoing sentence, except as otherwise provided in this Certificate of Incorporation (including Section 5.3(c) and the terms of any Preferred Stock Designation that require an additional vote), the affirmative vote of at least 6623% of the voting power of the stock outstanding and entitled to vote thereon, voting together as a single class, shall be required for the stockholders to adopt, amend or repeal, or adopt any provision inconsistent with, any provision of the Bylaws; provided, however, that no Bylaws hereafter adopted by the stockholders shall invalidate any prior act of the Board of Directors that would have been valid if such Bylaws had not been adopted.

ARTICLE XI

COMPETITION AND CORPORATE OPPORTUNITIES

Section 11.1 General. In recognition and anticipation that (a) certain directors, principals, members, officers, associated funds, employees and/or other representatives of the THG Investor and its Affiliates may serve as directors, officers or agents of the Corporation, (b) the THG Investor and its Affiliates may now engage and may continue to engage in the same or similar activities or related lines of business as those in which the Corporation, directly or indirectly, may engage and/or other business activities that overlap with or compete with those in which the Corporation, directly or indirectly, may engage, and (c) members of the Board of Directors who are not employees of the Corporation (“Non-Employee Directors”) and their respective Affiliates may now engage and may continue to engage in the same or similar activities or related lines of business as those in which the Corporation, directly or indirectly, may engage and/or other business activities that overlap with or compete with those in which the Corporation, directly or indirectly, may engage, the provisions of this Article XI are set forth to regulate and define the conduct of certain affairs of the Corporation with respect to certain classes or categories of business opportunities as they may involve the THG Investor or its Affiliates, the Non-Employee Directors or their respective Affiliates and the powers, rights, duties and liabilities of the Corporation and its directors, officers and stockholders in connection therewith.

Section 11.2 Renunciation of Certain Corporate Opportunities; No Duty to Refrain. To the fullest extent permitted by applicable law, the Corporation hereby renounces any interest or expectancy in, or right to be

 

A-1-46


Table of Contents

offered an opportunity to participate in, any business opportunity which may be a corporate opportunity for (a) the THG Investor or any of its Affiliates or (b) any Non-Employee Director or his or her Affiliates (such Persons (as defined below) identified in (a) and (b) above being referred to, collectively, as “Identified Persons” and, individually, as an “Identified Person”) and the Corporation or any of its Affiliates. To the fullest extent permitted by applicable law, none of the Identified Persons shall have any duty to refrain from directly or indirectly (i) engaging in the same or similar business activities or lines of business in which the Corporation or any of its Affiliates now engages or proposes to engage or (ii) otherwise competing with the Corporation or any of its Affiliates, and, to the fullest extent permitted by applicable law, no Identified Person shall be liable to the Corporation or its stockholders or to any Affiliate of the Corporation for breach of any fiduciary duty solely by reason of the fact that such Identified Person engages in any such activities. In the event that any Identified Person acquires knowledge of a potential transaction or other business opportunity which may be a corporate opportunity for itself, herself or himself and the Corporation or any of its Affiliates, such Identified Person shall, to the fullest extent permitted by applicable law, have no duty to communicate or offer such transaction or other business opportunity to the Corporation or any of its Affiliates and, to the fullest extent permitted by applicable law, shall not be liable to the Corporation or its stockholders or to any Affiliate of the Corporation for breach of any fiduciary duty as a stockholder, director or officer of the Corporation solely by reason of the fact that such Identified Person pursues or acquires such corporate opportunity for itself, herself or himself, or offers or directs such corporate opportunity to another Person. Notwithstanding the foregoing and anything in this Section 11.2 to the contrary, the Corporation does not renounce its interest in any corporate opportunity offered to any Non-Employee Director if such opportunity is expressly offered in writing to such person solely in his or her capacity as a director or officer of the Corporation, and the provisions of Section 11.1 shall not apply to any such corporate opportunity.

Section 11.3 Opportunities Not Deemed Corporate Opportunities. In addition to and notwithstanding the foregoing provisions of this Article XI, a corporate opportunity shall not be deemed to be a potential corporate opportunity for the Corporation if it is a business opportunity that (a) the Corporation is neither financially or legally able, nor contractually permitted, to undertake, (b) from its nature, is not in the line of the Corporation’s business or is of no practical advantage to the Corporation or (c) is one in which the Corporation has no interest or reasonable expectancy.

Section 11.4 Notice and Consent. To the fullest extent permitted by applicable law, any Person purchasing or otherwise acquiring or holding any interest in any shares of capital stock of the Corporation shall be deemed to have notice of and to have consented to the provisions of this Article XI.

ARTICLE XII

LIABILITY OF DIRECTORS AND OFFICERS

Section 12.1 No Personal Liability. To the fullest extent permitted by the DGCL as the same exists or as may hereafter be amended, no director or officer of the Corporation shall be personally liable to the Corporation or its stockholders for monetary damages for breach of fiduciary duty as a director or officer, as applicable. All references in this Article XII to a director shall also be deemed to refer to such other person or persons, if any, who, pursuant to a provision set forth in this Certificate of Incorporation in accordance with Section 141(a) of the DGCL, exercise or perform any of the powers or duties otherwise conferred or imposed upon the Board of Directors by the DGCL.

Section 12.2 Amendment or Repeal. Any amendment, repeal or elimination of this Article XII, or the adoption of any provision of this Certificate of Incorporation inconsistent with this Article XII, shall not affect its application with respect to an act or omission by a director or officer occurring before such amendment, adoption, repeal or elimination.

 

A-1-47


Table of Contents

ARTICLE XIII

FORUM FOR ADJUDICATION OF DISPUTES; ENFORCEABILITY

Section 13.1 Forum. Unless the Corporation, in writing, selects or consents to the selection of an alternative forum: (a) the sole and exclusive forum for any complaint asserting any internal corporate claims (as defined below), to the fullest extent permitted by applicable law, and subject to applicable jurisdictional requirements, shall be the Court of Chancery of the State of Delaware (or, if the Court of Chancery does not have, or declines to accept, jurisdiction, another state court or a federal court located within the State of Delaware); and (b) the sole and exclusive forum for any complaint asserting a cause of action arising under the Securities Act, to the fullest extent permitted by applicable law, shall be the federal district courts of the United States of America. For purposes of this Article XIII, “internal corporate claims” means claims, including claims in the right of the Corporation that are based upon a violation of a duty by a current or former director, officer, employee or stockholder in such capacity, or as to which the DGCL confers jurisdiction upon the Court of Chancery. Any person or entity purchasing or otherwise acquiring or holding any interest in shares of stock of the Corporation shall be deemed to have notice of and consented to the provisions of this Article XIII.

Section 13.2 Enforceability. If any provision of this Certificate of Incorporation shall be held to be invalid, illegal or unenforceable as applied to any person or entity or circumstance for any reason whatsoever, then, to the fullest extent permitted by applicable law, the validity, legality and enforceability of such provision in any other circumstance and of the remaining provisions of this Certificate of Incorporation (including each portion of any sentence of this Article XIII containing any such provision held to be invalid, illegal or unenforceable that is not itself held to be invalid, illegal or unenforceable) and the application of such provision to other persons or entities or circumstances shall not in any way be affected or impaired thereby.

ARTICLE XIV

ADDITIONAL DEFINED TERMS

Section 14.1 Except as otherwise set forth in this Certificate of Incorporation, the following terms used in this Certificate of Incorporation shall have the following meanings:

Affiliate” shall mean, (i) with respect to any Person (other than the THG Investor or Non-Employee Director), an “affiliate” as defined in Rule 405 of the regulations promulgated under the Securities Act; (ii) in respect of a Non-Employee Director, any Person that, directly or indirectly, is controlled by such Non-Employee Director (other than the Corporation and any entity that is controlled by the Corporation) and (iii) with respect to the THG Investor, an “affiliate” as defined in Rule 405 of the regulations promulgated under the Securities Act, and its and their respective related trusts (including charitable trusts), trustees, family members, successors, and assigns and any investment fund, vehicle or holding company of which the THG Investor or an Affiliate of the THG Investor serves as the general partner, managing member or discretionary manager or advisor. For the avoidance of doubt, each of the following Persons shall constitute an Affiliate of the THG Investor for purposes of this Certificate of Incorporation: Calumet, Incorporated; Irrevocable Intervivos Trust Number 12.27.73 for the Benefit of Fred Mehlert Fehsenfeld, Jr. and His Issue U/A Dated December 18, 2012: 989,902; Maggie Fehsenfeld Trust Number 106 12.30.74 for the Benefit of Fred Mehlert Fehsenfeld, Jr. and His Issue U/A Dated December 18, 2012: 989,902; The Heritage Group Investment Company, LLC; James C Fehsenfeld Revocable Trust, Fred M Fehsenfeld Revocable Trust U/A 01/28/20; Suzanne M Fehsenfeld Revocable Trust U/A 01/28/20, and Paul James Schumacher & Amy Mae Schumacher Joint Account; and Kobe Foundation Inc.

beneficial owner” means, with respect to any security, any Person who directly or indirectly, through any contract, arrangement, understanding, relationship or otherwise, has or shares (i) voting power, which includes the power to vote, or to direct the voting of, such security or (ii) investment power, which includes the power to dispose, or to direct the disposition of, such security. The terms “beneficially own” and “beneficial ownership” shall have correlative meanings.

 

A-1-48


Table of Contents

control” (including the terms “controlling”, “controlled by” and “under common control with”), with respect to the relationship between or among two or more Persons, shall mean the possession, directly or indirectly, of the power to direct or cause the direction of the affairs or management of a Person, whether through the ownership of voting securities, as trustee or executor, by contract or otherwise.

Equity Securities” shall mean any and all shares of (i) Common Stock and any securities issued in respect thereof, or in substitution therefor, in connection with any stock split, dividend or combination, or any reclassification, recapitalization, merger, consolidation, exchange or other similar reorganization, (ii) Preferred Stock, and (iii) any equity securities (including Preferred Stock) convertible into, or exchangeable or exercisable for, any of the foregoing shares, and options, warrants or other rights to acquire any of the foregoing shares or other securities.

Exchange Act” shall mean the Securities Exchange Act of 1934, as amended from time to time, and the rules and regulations promulgated pursuant thereto.

Permitted Transferee” shall mean any Person that is an Affiliate of the THG Investor to whom the THG Investor or another Affiliate of the THG Investor Transfers Equity Securities of the Corporation in accordance with the terms hereof; provided, however, that such transferee shall agree in a writing to be bound by and to comply with all applicable provisions of the Stockholders’ Agreement.

Person” or “person” shall mean any individual, corporation, partnership, trust, joint stock company, business trust, unincorporated association, joint venture or other entity of any nature whatsoever.

Securities Act” shall mean the Securities Act of 1933, as amended from time to time, and the rules and regulations promulgated pursuant thereto.

Stockholders’ Agreement” shall mean the Stockholders’ Agreement, dated [●], by and among the Corporation and the THG Investor (as the same may be amended, supplemented, restated or otherwise modified from time to time).

THG Designee” shall mean any director designated by the THG Stockholders pursuant to Section 5.2(c).

THG Investor” shall mean The Heritage Group.

THG Stockholder” or “THG Stockholders” shall mean the THG Investor and its Permitted Transferees; provided that any reference to this Certificate of Incorporation to any action to be taken or consented to by the THG Stockholders under this Agreement (including any amendments or waivers of this Certificate of Incorporation under Article X) shall require only the approval of THG Stockholders holding at least a majority of the outstanding Common Stock held by the THG Stockholders in the aggregate.

Transfer” shall mean, directly or indirectly, to sell, transfer, assign, encumber, hypothecate or similarly dispose of, either voluntarily or involuntarily, or to enter into any contract, option or other arrangement or understanding with respect to the sale, transfer, assignment, encumbrance, hypothecation or similar disposition of, any shares of Equity Securities beneficially owned by a Person or any interest in any shares of Equity Securities beneficially owned by a Person.

Section 14.2 Construction. Whenever the context requires, the gender of all words used in this Certificate of Incorporation includes the masculine, feminine and neuter forms and the singular form of words shall include the plural and vice versa. All references to Articles, Sections and subsections refer to articles, sections and subsections of this Certificate of Incorporation. Whenever the words “include,” “includes” or “including” are used in this Certificate of Incorporation, they shall be deemed to be followed by the words “without limitation.”

[The remainder of this page has been intentionally left blank.]

 

A-1-49


Table of Contents

IN WITNESS WHEREOF, this Amended and Restated Certificate of Incorporation has been executed by a duly authorized officer of the Corporation on this [●] day of [●], [●].

 

By:

 

 

 

Name:

 
 

Title:

 

Signature Page to Amended and Restated Certificate of Incorporation

 

A-1-50


Table of Contents

Annex 3

Exhibit F

Stockholders Agreement

 

A-1-51


Table of Contents

 

 

STOCKHOLDERS’ AGREEMENT

of

CALUMET, INC.

Dated as of []

 

A-1-52


Table of Contents

TABLE OF CONTENTS

 

          Page  

ARTICLE I DEFINITIONS

     54  

SECTION 1.1.

   Definitions      54  

SECTION 1.2.

   Construction      56  

ARTICLE II CORPORATE GOVERNANCE

     57  

SECTION 2.1.

   Board of Directors      57  

SECTION 2.2.

   Permitted Disclosure      57  

ARTICLE III MISCELLANEOUS

     57  

SECTION 3.1.

   Action of the Stockholders      57  

SECTION 3.2.

   Termination      58  

SECTION 3.3.

   Amendments and Waivers      58  

SECTION 3.4.

   Successors, Assigns and Transferees      58  

SECTION 3.5.

   Rights of Third Parties      58  

SECTION 3.6.

   Notices      58  

SECTION 3.7.

   Further Assurances      59  

SECTION 3.8.

   Entire Agreement      59  

SECTION 3.9.

   Restrictions on Other Agreements; Bylaws      59  

SECTION 3.10.

   Delays or Omissions      59  

SECTION 3.11.

   Governing Law; Jurisdiction; Waiver of Jury Trial      60  

SECTION 3.12.

   Severability      60  

SECTION 3.13.

   Enforcement      60  

SECTION 3.14.

   Titles and Subtitles      60  

SECTION 3.15.

   No Recourse      60  

SECTION 3.16.

   Counterparts; Electronic Signatures      60  

SECTION 3.17.

   Effectiveness      61  

Exhibits

     
Exhibit A — Assignment and Assumption Agreement       

 

A-1-53


Table of Contents

STOCKHOLDERS’ AGREEMENT

THIS STOCKHOLDERS’ AGREEMENT (as the same may be amended from time to time in accordance with its terms, the “Agreement”) is entered into as of [●], by and among Calumet, Inc., a Delaware corporation (the “Company”), and The Heritage Group (the “THG Investor”).

RECITALS

WHEREAS, the Company entered into that certain Conversion Agreement, dated February 9, 2024 (the “Conversion Agreement”), by and among Calumet Specialty Products Partners, L.P., a Delaware limited partnership (“CLMT”), the Company, Calumet Merger Sub I LLC, a Delaware limited liability company and a wholly owned subsidiary of the Company (“Merger Sub I”), Calumet Merger Sub II LLC, a Delaware limited liability company and a wholly owned subsidiary of the Company (“Merger Sub II”), Calumet GP, LLC, a Delaware limited liability company and the general partner of CLMT (the “General Partner”), and the other parties to the Conversion Agreement;

WHEREAS, pursuant to the Conversion Agreement, (i) Merger Sub II shall merge with and into CLMT, with CLMT continuing as the surviving entity and as a subsidiary of the General Partner and the Company (the “CLMT Merger”), and (ii) immediately after the CLMT Merger, Merger Sub I shall merge with and into the General Partner, with the General Partner continuing as the surviving entity and a wholly owned subsidiary of the Company (together with the CLMT Merger and the other transactions contemplated by the Conversion Agreement, the “Conversion”);

WHEREAS, in connection with the Conversion, (i) each CLMT Common Unit (as defined in the Conversion Agreement) issued and outstanding as of immediately prior to the effective time of the CLMT Merger will be exchanged into the right to receive one share of Common Stock (as defined below) and (ii) each member of the General Partner will exchange its equity interests in the General Partner for Common Stock and warrants to purchase Common Stock; and

WHEREAS, in connection with, and effective upon, the date of completion of the Conversion (the “Closing Date”), the parties hereto desire to enter into this Agreement to govern certain of the THG Investor’s rights, duties and obligations with respect to its ownership of Common Stock after consummation of the Conversion.

NOW, THEREFORE, in consideration of the mutual covenants contained herein and other good and valuable consideration, the receipt and sufficiency of which are hereby acknowledged, the parties to this Agreement hereby agree as follows:

ARTICLE I

DEFINITIONS

SECTION 1.1. Definitions. Capitalized terms used herein shall have the following meanings:

Affiliate” shall have the meaning set forth in Article XIV of the Charter (but without reference to clause (ii) of the definition set forth therein).

Agreement” shall have the meaning set forth in the Preamble.

Applicable Law” means any applicable statute, law, regulation, ordinance, rule, judgment, rule of law (including common law), decree, permit, requirement, or other governmental restriction or any similar form of decision of, or any provision or condition issued under any of the foregoing by, or any determination by any

 

A-1-54


Table of Contents

Governmental Authority having or asserting jurisdiction over the matter or matters in question, whether now or hereafter in effect and in each case as amended (including all of the terms and provisions of the common law of such Governmental Authority), as interpreted and enforced at the time in question.

beneficial owner” shall have the meaning set forth in Article XIV of the Charter.

Board” shall mean the board of directors of the Company.

Business Day” means Monday through Friday of each week, except that a legal holiday recognized as such by the government of the United States of America or where federal banks are closed in the States of Delaware, Texas and New York shall not be regarded as a Business Day.

Bylaws” shall mean the Amended and Restated Bylaws of the Company, as in effect on the date hereof and as the same may be amended, supplemented or otherwise modified from time to time in accordance with the terms thereof and the terms of the Charter.

Charter” shall mean the Amended and Restated Certificate of Incorporation of the Company, as in effect on the date hereof and as the same may be amended, supplemented or otherwise modified from time to time in accordance with the terms thereof.

CLMT” shall have the meaning set forth in the Recitals.

CLMT Merger” shall have the meaning set forth in the Recitals.

Closing Date” shall have the meaning set forth in the Recitals.

Common Stock” shall mean the common stock, par value $0.01 per share, of the Company and any securities issued in respect thereof, or in substitution therefor, in connection with any stock split, dividend or combination, or any reclassification, recapitalization, merger, consolidation, exchange or other similar reorganization.

Company” shall have the meaning set forth in the Preamble.

control” shall have the meaning set forth in Article XIV of the Charter.

Conversion” shall have the meaning set forth in the Recitals.

Conversion Agreement” shall have the meaning set forth in the Recitals.

Credit Agreement” shall have the meaning set forth in SECTION 2.1.

Director” shall mean any member of the Board.

Equity Securities” shall have the meaning set forth in Article XIV of the Charter.

General Partner” shall have the meaning set forth in the Recitals.

Governmental Authority” means any applicable multinational, foreign, federal, state, local or other governmental statutory or administrative authority, regulatory body or commission or any court, tribunal or judicial or arbitral authority which has any jurisdiction over a matter.

Merger Sub I” shall have the meaning set forth in the Recitals.

 

A-1-55


Table of Contents

Merger Sub II” shall have the meaning set forth in the Recitals.

Necessary Action” means, with respect to a specified result, all actions (to the extent such actions are permitted by Applicable Law and, in the case of any action by the Company that requires a vote or other action on the part of the Board, to the extent such action is consistent with the fiduciary duties that the Company’s directors have in such capacity) necessary to cause such result, including (a) voting or providing a written consent or proxy with respect to shares of Common Stock or other securities entitled to vote with respect to such specified result, (b) causing the adoption of stockholders’ resolutions and amendments to the organizational documents of the Company, (c) causing members of the Board (to the extent such members were designated by the Person obligated to undertake the Necessary Action) to act (subject to any applicable fiduciary duties) in a certain manner or causing them to be removed in the event they do not act in such a manner, (d) executing agreements and instruments and (e) making or causing to be made, with governmental, administrative or regulatory authorities, all filings, registrations or similar actions that are required to achieve such result.

Permitted Transferee” shall have the meaning set forth in Article XIV of the Charter.

Person” shall mean any individual, corporation, partnership, trust, joint stock company, business trust, unincorporated association, joint venture or other entity of any nature whatsoever.

Registration Rights Agreement” shall mean the Registration Rights Agreement, dated as of [•], by and among the Company and the holders party thereto, as the same may be amended from time to time in accordance with its terms.

Stockholder” or “Stockholders” shall mean the THG Investor and its Permitted Transferees.

Subsidiary” shall mean, with respect to an entity, (i) any corporation of which a majority of the securities entitled to vote generally in the election of directors thereof, at the time as of which any determination is being made, are owned by such entity, either directly or indirectly, and (ii) any joint venture, general or limited partnership, limited liability company or other legal entity in which the entity is the record or beneficial owner, directly or indirectly, of a majority of the voting interests or the general partner.

THG Designee” shall have the meaning set forth in Article XIV of the Charter.

THG Investor” shall have the meaning set forth in the Preamble.

Transfer” shall mean, directly or indirectly, to sell, transfer, assign, encumber, hypothecate or similarly dispose of, either voluntarily or involuntarily, or to enter into any contract, option or other arrangement or understanding with respect to the sale, transfer, assignment, encumbrance, hypothecation or similar disposition of, any shares of Equity Securities beneficially owned by a Person or any interest in any shares of Equity Securities beneficially owned by a Person.

SECTION 1.2. Construction. Whenever the context requires, the gender of all words used in this Agreement includes the masculine, feminine and neuter forms and the singular form of words shall include the plural and vice versa. All references to Articles and Sections refer to articles and sections of this Agreement. Whenever the words “include,” “includes” or “including” are used in this Agreement, they shall be deemed to be followed by the words “without limitation.” This Agreement shall be construed without regard to any presumption or rule requiring construction or interpretation against the party drafting or causing any instrument to be drafted. Any percentage set forth herein shall be deemed to be automatically adjusted without any action on the part of any party hereto to take into account any stock split, stock dividend or similar transaction occurring after the date of this Agreement so that the rights provided to the Stockholders shall continue to apply to the same extent such rights would have applied absent such stock split, stock dividend or similar transaction.

 

A-1-56


Table of Contents

ARTICLE II

CORPORATE GOVERNANCE

SECTION 2.1. Board of Directors.

(a) The Company and the Stockholders agree that the Directors, including the THG Designees, will be appointed in a way that does not result in a Change of Control (as defined in the Credit Agreement) under the Third Amended and Restated Credit Agreement (the “Credit Agreement”), dated as of February 23, 2018, by and among Calumet Specialty Products Partners, L.P. and certain of its subsidiaries as Borrowers, certain of its subsidiaries as Guarantors, the Lenders, Bank of America, N.A., as Agent, JPMorgan Chase Bank, N.A and Wells Fargo Bank, N.A., as Co-Syndication Agents, as amended from time to time.

(b) Effective as of the Closing Date, the THG Designees shall initially be [●] and [●].

(c) In the event that a vacancy is created at any time by the death, resignation, removal (in accordance with the Charter), retirement or disqualification of any Director designated by the Stockholders pursuant to the Charter, the remaining Directors and the Company shall, to the fullest extent permitted by Applicable Law (including with respect to fiduciary duties under Delaware law), take all Necessary Action to cause the vacancy created thereby to be filled in accordance with Article V, Section 5.2(e) of the Charter as soon as possible unless the Stockholders have ceased to have the right under this Agreement to fill such vacancy, and the Company hereby agrees to take, to the fullest extent permitted by Applicable Law (including with respect to fiduciary duties under Delaware law), at any time and from time to time, all Necessary Action to accomplish the same, including calling a special meeting of the Board or the stockholders of the Company.

(d) The Company agrees, to the fullest extent permitted by Applicable Law (including with respect to fiduciary duties under Delaware law), to take, or cause to be taken, all Necessary Action to cause the election of each THG Designee to the Board, which such Necessary Action shall include the items set forth in Article V, Section 5.2(d) of the Charter. For the avoidance of doubt, the rights granted to the Stockholders to designate members of the Board are additive to, and not intended to limit in any way, the rights that the Stockholders may otherwise have to nominate, elect or remove directors under the Charter, the Bylaws or the Delaware General Corporation Law.

(e) The Company shall reimburse the THG Designee(s) for their reasonable out-of-pocket expenses incurred by them in connection with performing his or her duties as a member of the Board (or any committee thereof), including the reasonable out-of-pocket expenses incurred by such person for attending meetings of the Board (or any committee thereof), or in connection with their service on the board or other similar governing body of any Subsidiary of the Company (or any committee thereof). In addition, the THG Designee(s) shall be entitled to compensation consistent with the Director compensation received by other Directors, including any committee fees and equity awards. If the Company adopts a policy that Directors own a minimum amount of equity in the Company, the THG Designee(s) shall not be subject to such policy.

SECTION 2.2. Permitted Disclosure. Each THG Designee is permitted to disclose to the Stockholders information about the Company and its Affiliates that he or she receives as a result of being a Director, subject to his or her fiduciary duties under Delaware law and compliance with Applicable Law.

ARTICLE III

MISCELLANEOUS

SECTION 3.1. Action of the Stockholders. The Stockholders agree that any action to be taken or consented to by the Stockholders under this Agreement (including any amendments or waivers of this Agreement under Section 3.3) shall require only the approval of Stockholders holding at least a majority of the outstanding Common Stock held by the Stockholders in the aggregate.

 

A-1-57


Table of Contents

SECTION 3.2. Termination. Subject to the early termination of any provision as a result of an amendment to this Agreement agreed to by the Board and the Stockholders as provided under Section 3.3, (i) the provisions of Article II shall, with respect to each Stockholder, terminate as provided in the applicable Section of Article II, and (ii) this Article III shall not terminate. Nothing herein shall relieve any party from any liability for the breach of any of the agreements set forth in this Agreement.

SECTION 3.3. Amendments and Waivers. Except as otherwise provided herein, no modification, amendment, restatement, amendment and restatement, or waiver of any provision of this Agreement shall be effective without the approval of the Board and the Stockholders; provided, however, that any Stockholder may waive (in writing) the benefit of any provision of this Agreement with respect to itself for any purpose; provided, further, that any such modification, amendment, restatement, amendment and restatement or waiver that would disproportionately and adversely affect the rights of any Stockholder hereunder (in its capacity as a Stockholder) without similarly affecting the rights hereunder of all Stockholders (in their capacities as Stockholders) having the same rights or obligations under this Agreement to which such modification, amendment, restatement, amendment and restatement or waiver relates, as the case may be, shall not be effective as to such Stockholder without such Stockholder’s prior written consent. The failure of any party to enforce any of the provisions of this Agreement shall in no way be construed as a waiver of such provisions and shall not affect the right of such party thereafter to enforce each and every provision of this Agreement in accordance with its terms. Any written amendment, restatement, amendment and restatement, or waiver to this Agreement that receives the vote or consent of the Stockholders provided herein need not be signed by all Stockholders, but shall be effective in accordance with its terms and shall be binding upon all Stockholders.

SECTION 3.4. Successors, Assigns and Transferees. This Agreement shall bind and inure to the benefit of and be enforceable by the parties hereto and their respective successors and permitted assigns. This Agreement may not be assigned without the express prior written consent of the other parties hereto, and any attempted assignment, without such consents, will be null and void; provided, however, that the THG Investor shall be entitled to assign, in whole or in part, any of its rights hereunder to any of its Permitted Transferees without such prior written consent.

SECTION 3.5. Rights of Third Parties. The rights of the Stockholders pursuant to this Agreement are personal to the Stockholders and shall not be exercised by any Person. Except as may otherwise be expressly provided in this Agreement, this Agreement does not create any rights, claims or benefits inuring to any person that is not a party hereto nor create or establish any third party beneficiary hereto.

SECTION 3.6. Notices. All notices and other communications required or permitted under this Agreement shall be in writing and shall be deemed effectively given: (a) when delivered personally by hand to the party to be notified (with written confirmation of receipt), (b) when sent by e-mail (with written confirmation of transmission or if no failure to deliver message is generated), (c) when received or rejected by the addressee if sent by registered or certified mail, postage prepaid, return receipt requested, or (d) one Business Day following the day sent by reputable overnight courier (with written confirmation of receipt), in each case at the following addresses (or to such other address as a party may have specified by notice given to the other party pursuant to this provision):

 

  (i)

if to the Company, to:

Calumet, Inc.

2780 Waterfront Parkway East Drive, Suite 200

Indianapolis, Indiana 46214

Attention: Greg Morical

Email: greg.morical@calumetspecialty.com

With a copy (which shall not constitute notice) to:

Gibson, Dunn & Crutcher LLP

 

A-1-58


Table of Contents

811 Main Street Suite 3000

Houston, Texas 77002

Attention: Hillary H. Holmes

Email: HHolmes@gibsondunn.com

 

  (ii)

if to the Stockholders, to:

The Heritage Group

5400 W. 86th Street

Indianapolis, Indiana 46268

Attention: Amy Schumacher; David Rosen

Email: ams@thgrp.com; drosen@thgrp.com

With copies (which shall not constitute notice) to:

Kirkland & Ellis LLP

609 Main Street

Houston, Texas 77002

Attention: Sean T. Wheeler, P.C.; Debbie Yee, P.C.

Email: Sean.Wheeler@kirkland.com; debbie.yee@kirkland.com

SECTION 3.7. Further Assurances. At any time or from time to time after the date hereof, the parties agree to cooperate with each other, and at the request of any other party, to execute and deliver any further instruments or documents and to take all such further action as the other party may reasonably request in order to evidence or effectuate the consummation of the transactions contemplated hereby and to otherwise carry out the intent of the parties hereunder.

SECTION 3.8. Entire Agreement. This Agreement sets forth the entire understanding of the parties hereto with respect to the subject matter hereof. There are no agreements, representations, warranties, covenants or understandings with respect to the subject matter hereof or thereof other than those expressly set forth herein and therein. This Agreement supersedes all other prior agreements and understandings between the parties with respect to such subject matter.

SECTION 3.9. Restrictions on Other Agreements; Bylaws.

(a) Following the date hereof, no Stockholder shall enter into or agree to be bound by any stockholder agreements or arrangements of any kind with any Person with respect to any Equity Securities except pursuant to the agreements specifically contemplated herein and in the Conversion Agreement, the Registration Rights Agreement, the Warrant Agreement (as defined in the Conversion Agreement), and each of the other documents and agreements contemplated hereby and thereby.

(b) The Stockholder covenants and agrees to vote their Equity Securities and to cause its affiliates to vote any Equity Securities then owned by them to take any other action reasonably requested by the Company to amend the Company’s Bylaws so as to avoid any conflict with the provisions hereof.

SECTION 3.10. Delays or Omissions. It is agreed that no delay or omission to exercise any right, power or remedy accruing to any party, upon any breach, default or noncompliance by another party under this Agreement, shall impair any such right, power or remedy, nor shall it be construed to be a waiver of any such breach, default or noncompliance, or any acquiescence therein, or of or in any similar breach, default or noncompliance thereafter occurring. It is further agreed that any waiver, permit, consent or approval of any kind or character on the part of any party hereto of any breach, default or noncompliance under this Agreement or any waiver on such party’s part of any provisions or conditions of this Agreement, must be in writing and shall be effective only to the extent specifically set forth in such writing. All remedies, either under this Agreement, by law, or otherwise afforded to any party, shall be cumulative and not alternative.

 

A-1-59


Table of Contents

SECTION 3.11. Governing Law; Jurisdiction; Waiver of Jury Trial.

(a) This Agreement and any dispute, controversy or claim arising out of or relating to this Agreement shall be governed by, and construed and enforced in accordance with, the laws of the State of Delaware, applicable to contracts executed in and to be performed entirely within that State, without giving effect to principles or rules of conflict of laws.

(b) In any judicial proceeding involving any dispute, controversy or claim arising out of or relating to this Agreement, each of the parties unconditionally accepts the jurisdiction and venue of the Delaware Court of Chancery or, if the Delaware Court of Chancery does not have subject matter jurisdiction over this matter, the Superior Court of the State of Delaware (Complex Commercial Division) or, if jurisdiction over the matter is vested exclusively in federal courts, the United States District Court for the District of Delaware, and the appellate courts to which orders and judgments thereof may be appealed. In any such judicial proceeding, the parties agree that in addition to any method for the service of process permitted or required by such courts, to the fullest extent permitted by Applicable Law, service of process may be made by delivery provided pursuant to the directions in Section 3.6.

(c) EACH OF THE PARTIES HEREBY WAIVES TO THE FULLEST EXTENT PERMITTED BY APPLICABLE LAW TRIAL BY JURY IN ANY JUDICIAL PROCEEDING INVOLVING ANY DISPUTE, CONTROVERSY OR CLAIM ARISING OUT OF OR RELATING TO THIS AGREEMENT.

SECTION 3.12. Severability. Whenever possible, each provision of this Agreement shall be interpreted in such manner as to be effective and valid under Applicable Law, but if any provision of this Agreement is held to be invalid, illegal or unenforceable in any respect under any Applicable Law in any jurisdiction, such invalidity, illegality or unenforceability shall not affect any other provision or any other jurisdiction, but this Agreement shall be reformed, construed and enforced in such jurisdiction as if such invalid, illegal or unenforceable provision had never been contained herein.

SECTION 3.13. Enforcement. Each party hereto acknowledges that money damages would not be an adequate remedy in the event that any of the covenants or agreements in this Agreement are not performed in accordance with its terms, and it is therefore agreed that in addition to and without limiting any other remedy or right it may have, the non-breaching party will have the right to an injunction, temporary restraining order or other equitable relief in any court of competent jurisdiction enjoining any such breach and enforcing specifically the terms and provisions hereof.

SECTION 3.14. Titles and Subtitles. The titles of the sections and subsections of this Agreement are for convenience of reference only and are not to be considered in construing this Agreement.

SECTION 3.15. No Recourse. This Agreement may only be enforced against, and any claims or cause of action that may be based upon, arise out of or relate to this Agreement, or the negotiation, execution or performance of this Agreement, may be made only against the entities that are expressly identified as parties hereto, and no past, present or future Affiliate, director, officer, employee, incorporator, member, manager, partner, stockholder, agent, attorney or representative of any party hereto shall have any liability for any obligations or liabilities of the parties to this Agreement or for any claim based on, in respect of, or by reason of the transactions contemplated hereby.

SECTION 3.16. Counterparts; Electronic Signatures. This Agreement may be executed in any number of counterparts, each of which shall be an original, but all of which together shall constitute one instrument. The words “execution,” “signed,” “signature,” “delivery,” and words of like import in or relating to this Agreement or any document to be signed in connection with this Agreement shall be deemed to include electronic signatures, deliveries or the keeping of records in electronic form, each of which shall be of the same legal effect, validity or enforceability as a manually executed signature, physical delivery thereof or the use of a paper-based recordkeeping

 

A-1-60


Table of Contents

system, as the case may be, and the parties hereto consent to conduct the transactions contemplated hereunder by electronic means.

SECTION 3.17. Effectiveness. This Agreement shall become effective upon the Closing Date.

[Remainder of Page Intentionally Left Blank; Signatures follow]

 

A-1-61


Table of Contents

IN WITNESS WHEREOF, the parties hereto have executed this Stockholders’ Agreement as of the date set forth in the first paragraph hereof.

 

CALUMET, INC.
By:  

 

  Name:  
  Title:  

[Signature Page to Calumet, Inc. Stockholders’ Agreement]

 

A-1-62


Table of Contents
THE HERITAGE GROUP
By:  

 

  Name:   Amy Schumacher
  Title:   Chief Executive Officer

[Signature Page to Calumet, Inc. Stockholders’ Agreement]

 

A-1-63


Table of Contents

Exhibit A

Assignment and Assumption Agreement

Pursuant to the Stockholders’ Agreement, dated as of [●] (the “Stockholders’ Agreement”), among Calumet, Inc., a Delaware corporation (the “Company”), and The Heritage Group,       , (the “Transferor”) hereby assigns to the undersigned the rights that may be assigned thereunder, and the undersigned hereby agrees that, having acquired Equity Securities as permitted by the terms of the Stockholders’ Agreement, the undersigned shall assume the obligations of the Transferor under the Stockholders’ Agreement. Capitalized terms used but not defined herein shall have the meanings assigned to them in the Stockholders’ Agreement.

Listed below is information regarding the Equity Securities:

 

Number of Shares of
Common Stock

 

[Remainder of Page Intentionally Left Blank]

Exhibit A – Assignment and Assumption Agreement

 

A-1-64


Table of Contents

IN WITNESS WHEREOF, the undersigned has executed this Assumption Agreement as of      ,    .

 

[NAME OF TRANSFEROR]

 

Name:

Title:

[NAME OF TRANSFEREE]

 

Name:

Title:

 

Acknowledged by:
CALUMET, INC.
By:  

 

  Name:  
  Title:  

[Signature Page to Assignment and Assumption Agreement]

 

A-1-65


Table of Contents

Annex B

Execution Version

PARTNERSHIP RESTRUCTURING AGREEMENT

dated as of November 9, 2023,

among

CALUMET SPECIALTY PRODUCTS PARTNERS, L.P.,

CALUMET GP, LLC,

and

THE OTHER PARTIES HERETO

 

B-1


Table of Contents

TABLE OF CONTENTS

 

         Page  

ARTICLE I. DEFINITIONS

     B-4  

ARTICLE II. THE TRANSACTIONS

     B-8  

Section 2.01

  Conversion      B-8  

Section 2.02

  Ancillary Agreements      B-9  

ARTICLE III. CLOSING

     B-9  

Section 3.01

  Closing      B-9  

Section 3.02

  Closing Deliverables      B-9  

Section 3.03

  Effective Time of the Closing      B-9  

ARTICLE IV. REPRESENTATIONS AND WARRANTIES

     B-9  

Section 4.01

  Representations and Warranties Concerning the Sponsor Parties      B-9  

Section 4.02

  Representations and Warranties Concerning the CLMT Entities      B-11  

Section 4.03

  EXCLUSIVITY OF REPRESENTATIONS AND WARRANTIES      B-13  

ARTICLE V. CONDITIONS PRECEDENT

     B-13  

Section 5.01

  Conditions to Each Party’s Obligation to Effect the Transactions      B-13  

Section 5.02

  Conditions to CLMT’s Obligation to Effect the Transactions      B-14  

Section 5.03

  Conditions to Sponsor Parties’ Obligation to Effect the Transactions      B-14  

ARTICLE VI. COVENANTS

     B-15  

Section 6.01

  Interim Operations      B-15  

Section 6.02

  Preparation of the Registration Statement and Proxy Statement      B-17  

Section 6.03

  Regulatory Approvals      B-18  

Section 6.04

  Exchange Listing; Delisting      B-18  

Section 6.05

  Directors of NewCo      B-19  

Section 6.06

  Litigation      B-19  

Section 6.07

  Efforts      B-19  

Section 6.08

  Indemnification; D&O Insurance      B-19  

Section 6.09

  Tax Treatment      B-20  

Section 6.10

  Conflicts Committee      B-20  

Section 6.11

  Section 16 Matters      B-20  

Section 6.12

  Voting and Consent      B-20  

Section 6.13

  Public Announcements      B-20  

ARTICLE VII. TERMINATION; EFFECT OF TERMINATION

     B-21  

Section 7.01

  Termination      B-21  

Section 7.02

  Effect of Termination      B-21  

ARTICLE VIII. MISCELLANEOUS

     B-22  

Section 8.01

  Non-Survival of Representations, Warranties, Covenants and Agreements      B-22  

Section 8.02

  Expenses      B-22  

Section 8.03

  Notices      B-22  

Section 8.04

  Headings; References; Interpretation      B-23  

Section 8.05

  Successors and Assigns      B-23  

Section 8.06

  No Third-Party Rights      B-23  

Section 8.07

  Counterparts      B-24  

Section 8.08

  Applicable Law      B-24  

 

B-2


Table of Contents
         Page  

Section 8.09

  Severability      B-24  

Section 8.10

  Amendment or Modification; Waiver      B-24  

Section 8.11

  Integration      B-24  

Section 8.12

  Action of the Sponsor Parties      B-24  

LIST OF SCHEDULES AND EXHIBITS

 

Schedule A

     

Sponsor Parties

Exhibit A

     

Conversion Steps

Exhibit B

     

Summary of Governance Rights and Registration Rights

Exhibit C

     

Key Terms of Common Stock Warrants

 

B-3


Table of Contents

Annex B

PARTNERSHIP RESTRUCTURING AGREEMENT

This PARTNERSHIP RESTRUCTURING AGREEMENT, dated as of November 9, 2023 (this “Agreement”), is by and among CALUMET SPECIALTY PRODUCTS PARTNERS, L.P., a Delaware limited partnership (“CLMT”), CALUMET GP, LLC, a Delaware limited liability company and the general partner of CLMT (the “General Partner”), and each Person set forth on Schedule A attached hereto (collectively, the “Sponsor Parties”). Each of the foregoing is sometimes referred to herein individually as a “Party” and, collectively, as the “Parties.”

RECITALS

WHEREAS, the Conflicts Committee of the CLMT Board has (i) unanimously approved this Agreement and the transactions contemplated hereby, with such approval constituting “Special Approval” (as such term is defined in the CLMT Partnership Agreement) for all purposes of the CLMT Partnership Agreement, including Section 7.9 thereof, (ii) unanimously recommended to the CLMT Board that it approve this Agreement and the transactions contemplated hereby and (iii) if submitted for approval at the CLMT Special Meeting, unanimously recommended that the holders of CLMT Common Units approve the Conversion and Merger by CLMT Unitholder Approval;

WHEREAS, the CLMT Board has unanimously approved this Agreement and the transactions contemplated hereby; and

WHEREAS, the Parties desire to cause the transactions described in Article II to take place as set forth therein and in accordance with the terms thereof.

NOW, THEREFORE, in consideration of the mutual covenants, representations, warranties and agreements herein contained, the Parties agree as follows:

ARTICLE I.

DEFINITIONS

Capitalized terms used but not otherwise defined herein shall have the respective meanings ascribed to such terms below:

Affiliate” has the meaning set forth in the CLMT Partnership Agreement; provided, that, notwithstanding the foregoing, for purposes of this Agreement, none of the CLMT Entities shall be considered an Affiliate of the Sponsor Parties or any of their respective Affiliates (other than, for the avoidance of doubt, the CLMT Entities).

Ancillary Agreements” has the meaning set forth in Section 2.02.

Antitrust Laws” means the HSR Act, including the rules and regulations promulgated thereunder, and all other applicable Laws issued by a Governmental Authority that are designed or intended to prohibit, restrict or regulate actions having the purpose or effect of the monopolization or restraint of trade or the lessening of competition.

Applicable Law” or “Law” means any applicable statute, law, regulation, ordinance, rule, judgment, rule of law (including common law), decree, permit, requirement, or other governmental restriction or any similar form of decision of, or any provision or condition issued under any of the foregoing by, or any determination by any Governmental Authority having or asserting jurisdiction over the matter or matters in question, whether now or hereafter in effect and in each case as amended (including all of the terms and provisions of the common law of such Governmental Authority), as interpreted and enforced at the time in question.

 

B-4


Table of Contents

Business Day” means Monday through Friday of each week, except that a legal holiday recognized as such by the government of the United States of America or the States of Delaware, Texas and New York shall not be regarded as a Business Day.

Cause” means, with respect to a director, the occurrence of any of the following:

(a) the willful, intentional and material breach or the habitual and continued neglect by the director of his or her duties;

(b) the director’s willful and intentional violation of any state or federal laws, or the Organizational Documents of the General Partner or CLMT; or

(c) the director’s commission of any felony or a crime involving moral turpitude, or the director’s willful and intentional commission of a fraudulent or dishonest act.

Certificate of Merger” has the meaning set forth in Section 3.03.

Clean Air Act” means the Clean Air Act, 42 U.S.C. § 7401 et seq.

CLMT Board” means the board of directors of the General Partner.

CLMT Board Recommendation” has the meaning set forth in Section 6.02(c).

CLMT Common Unit” means a Common Unit (as such term is defined in the CLMT Partnership Agreement).

CLMT Entities” means, collectively, the General Partner, CLMT and its Subsidiaries.

CLMT General Partner Interest” means the General Partner Interest (as such term is defined in the CLMT Partnership Agreement).

CLMT IDR” means an Incentive Distribution Right (as such term is defined in the CLMT Partnership Agreement).

CLMT Interests” has the meaning set forth in Section 4.02(b).

CLMT Merger” has the meaning set forth in Exhibit A.

CLMT Partnership Agreement” means the First Amended and Restated Agreement of Limited Partnership of CLMT, dated as of January 31, 2006, as amended from time to time.

CLMT SEC Reports” means all periodic reports, current reports and registration statements, including exhibits and schedules, filed by CLMT with, or furnished by CLMT to, the SEC from January 1, 2022 until the date of this Agreement.

CLMT Special Meeting” means a special meeting of the Limited Partners, including any postponement, adjournments or recesses thereof.

CLMT Unitholder Approval” means the affirmative vote or consent of a Unit Majority, voting together as a single class at the CLMT Special Meeting, in favor of the approval of the Conversion Agreement and the CLMT Merger contemplated thereby, and any other required approvals related thereto.

Closing” has the meaning set forth in Section 3.01.

 

B-5


Table of Contents

Closing Date” has the meaning set forth in Section 3.01.

Code” means the Internal Revenue Code of 1986, as amended from time to time.

Conflicts Committee” means the conflicts committee of the CLMT Board.

Contract” means any written contract, agreement, indenture, instrument, note, bond, loan, lease, easement, mortgage, franchise, license agreement, binding bid or offer, binding term sheet or letter of intent or memorandum, commitment, letter of credit or any other legally binding arrangement, including any amendments or modifications thereof and waivers relating thereto.

Conversion” means the transactions specified on Exhibit A hereto.

Conversion Agreement” has the meaning set forth in Section 2.01.

Debt Agreement” means any indenture, mortgage, deed of trust, loan, credit or note purchase agreements, or sale-leaseback agreements, guaranties, bonds, letters of credit, or similar financial agreements or other agreements or instruments governing indebtedness.

DLLCA” means the Delaware Limited Liability Company Act, as amended from time to time.

DRULPA” means the Delaware Revised Uniform Limited Partnership Act, as amended from time to time.

D&O Insurance” has the meaning set forth in Section 6.08.

Effective Time” has the meaning set forth in Section 3.03.

Encumbrance” means any mortgage, pledge, charge, hypothecation, easement, right of purchase, security interest, deed of trust, encumbrance, interest, option, lien, right of first refusal, right of way, defect in title, encroachments or other restriction, whether or not imposed by operation of any Applicable Law, any voting trust or voting agreement, stockholder agreement or proxy.

Exchange Act” means the Securities Exchange Act of 1934, as amended from time to time, and the rules and regulations of the SEC promulgated thereunder.

GAAP” means generally accepted accounting principles in the United States of America.

Governmental Authority” means any applicable multinational, foreign, federal, state, local or other governmental statutory or administrative authority, regulatory body or commission or any court, tribunal or judicial or arbitral authority which has any jurisdiction over a matter.

GP Merger” has the meaning set forth in Exhibit A.

HSR Act” means the Hart-Scott-Rodino Antitrust Improvements Act of 1976, as amended, and the rules and regulations promulgated thereunder.

Indemnified Persons” has the meaning set forth in Section 6.08.

Knowledge” means the actual knowledge, after reasonable inquiry, of (a) with respect to CLMT, those individuals listed on Schedule 1.01(a) and (b) with respect to the Sponsor Parties, those individuals listed on Schedule 1.01(b).

Limited Partners” means the limited partners of CLMT.

 

B-6


Table of Contents

LTIP” means the Calumet GP, LLC Amended and Restated Long-Term Incentive Plan, as amended from time to time.

Material Adverse Effect” means, with respect to the CLMT Entities, any change, circumstance, effect or condition that, individually or in the aggregate, (i) is materially adverse to the assets, financial condition, results of operations, or business of the CLMT Entities, taken as a whole, or (ii) materially impedes the ability of such Person to consummate the Transactions, other than, in the case of clause (i) only, any change, circumstance, effect or condition (a) in the specialty products industries generally (including any change in the prices of crude oil, natural gas, natural gas liquids or other hydrocarbon products, industry margins or any regulatory changes or changes in Applicable Law), (b) in United States or global economic conditions or financial markets in general or (c) the announcement or pendency of this Agreement, the Transaction Documents or the matters contemplated hereby or thereby; provided, that in the case of clauses (a) and (b), the impact on the CLMT Entities is not disproportionately adverse as compared to others in the industries referred to in clause (a) of this definition generally.

Maximum Amount” has the meaning set forth in Section 6.08.

Merger Sub I” has the meaning set forth in Exhibit A.

Merger Sub II” has the meaning set forth in Exhibit A.

Mergers” has the meaning set forth on Exhibit A.

Nasdaq” means the Nasdaq Stock Market LLC.

NewCo” means the corporation to be incorporated by CLMT as set forth on Exhibit A.

NewCo Bylaws” means the form of the bylaws of NewCo that will be in effect from and after the Effective Time until subsequently amended or restated or otherwise modified.

NewCo Charter” means the form of the certificate of incorporation of NewCo that will be in effect from and after the Effective Time until subsequently amended or restated or otherwise modified.

NewCo Shares” means the common stock of NewCo.

Organizational Document” means (a) with respect to a corporation, the articles or certificate of incorporation and bylaws thereof together with any other governing agreements or instruments of such corporation or the shareholders thereof, each as amended, (b) with respect to a limited liability company, the certificate of formation and the operating or limited liability company agreement thereof, or any comparable governing instruments, each, as amended, (c) with respect to a partnership, the certificate of limited partnership and the limited partnership agreement thereof, each as amended, and (d) with respect to any other Person, the organizational, constituent or governing documents or instruments of such Person, each as amended.

Permit” means all franchises, grants, authorizations, licenses, permits, easements, certificates of need, variances, exemptions, consents, certificates, approvals and orders.

Person” means any individual, corporation, company, voluntary association, partnership, joint venture, trust, limited liability company, unincorporated organization, government or any agency, instrumentality or political subdivision thereof or any other form of entity.

Phantom Unit” has the meaning set forth in the LTIP.

Proxy Statement” has the meaning set forth in Section 4.01(d).

 

B-7


Table of Contents

Registration Rights Agreement” means the registration rights agreement to be entered into between the Sponsor Parties and the Company pursuant to which the registration rights contemplated on Exhibit B will be made available to the Sponsor Parties.

Registration Statement” has the meaning set forth in Section 4.01(d).

Release” means any actual spilling, leaking, pumping, pouring, releasing, emitting, emptying, discharging, injecting, escaping, dumping, disposing, depositing, dispersing, leaching or migrating into or through the indoor or outdoor environment.

SEC” means the United States Securities and Exchange Commission.

Securities Act” means the Securities Act of 1933, as amended from time to time, and the rules and regulations of the SEC promulgated thereunder.

Shareholders Agreement” means the shareholders agreement to be entered into between Newco and the Sponsor Parties that will set forth the governance rights of the Sponsor Parties contemplated on Exhibit B.

Sponsor Material Adverse Effect” means any change, circumstance, effect or condition that prevents or materially impedes the Sponsor Parties to consummating the Transactions.

Subsidiaries” has the meaning set forth in the CLMT Partnership Agreement.

Tax” or “Taxes” means all taxes, assessments, duties, levies, fees, imposts, unclaimed property and escheat obligations and other charges imposed by a Governmental Authority, including all income, franchise, profits, capital gains, capital stock, transfer, gross receipts, sales, use, transfer, service, occupation, ad valorem, property, excise, severance, windfall profit, premium, stamp, license, payroll, employment, social security, retirement, workers compensation, unemployment, disability, environmental, alternative minimum, add-on, recording, value-added, withholding (including backup withholding) and other taxes, assessments, duties, levies, imposts, customs, estimated or other similar charges of any kind whatsoever (whether payable directly or by withholding and whether or not requiring the filing of a Tax Return), and all estimated taxes, deficiency assessments, additions to tax, penalties, interests and additional amounts imposed by any Governmental Authority.

Tax Return” means any report, return, election, document, claim for refund, statement, information return, estimated Tax filing, declaration or other filing provided to any Governmental Authority with respect to Taxes, including any amendments thereto.

Termination Date” has the meaning set forth in Section 7.01(f).

Transaction Documents” means, collectively, this Agreement and the Ancillary Agreements.

Transaction Litigation” has the meaning set forth in Section 6.06.

Transactions” has the meaning set forth in Section 3.01.

Unit Majority” has the meaning set forth in the CLMT Partnership Agreement.

ARTICLE II.

THE TRANSACTIONS

Section 2.01 Conversion. The Parties hereto agree to negotiate and enter into an agreement to effect the Conversion, such agreement to be consistent in all material respects with the terms of this Agreement (the

 

B-8


Table of Contents

Conversion Agreement”), within three months from the date hereof, and to submit the Conversion Agreement and the CLMT Merger contemplated thereby and other matters related thereto that require approval of the Limited Partners at the CLMT Special Meeting to a vote of the Limited Partners in accordance with the CLMT Partnership Agreement and Section 6.02 hereto and, if CLMT Unitholder Approval is obtained in accordance with the CLMT Partnership Agreement, to effect the Conversion promptly after such approval.

Section 2.02 Ancillary Agreements. In connection with the negotiation and preparation of the Conversion Agreement, the applicable Parties agree to, or to cause their applicable Subsidiaries or Affiliates, as applicable, to negotiate and to approve and to attach as exhibits to the Conversion Agreement the following documents and/or agreements that will be entered into or will take effect in connection with effecting the Conversion (collectively, the “Ancillary Agreements”).

(a) The NewCo Bylaws, the NewCo Charter and a Shareholders Agreement to reflect the terms set forth on Exhibit B attached hereto.

(b) The Registration Rights Agreement to reflect the terms set forth on Exhibit C attached hereto.

ARTICLE III.

CLOSING

Section 3.01 Closing. The closing (the “Closing”) of the transactions contemplated by this Agreement (the “Transactions”) shall occur as soon as practicable after the satisfaction or waiver (if permitted hereunder) of all of the conditions set forth in Article V other than those conditions that by their nature are to be satisfied at the Closing (but subject to the fulfillment or waiver of such conditions at the Closing), at the office of Gibson, Dunn & Crutcher LLP at 811 Main Street, Suite 3000, Houston, TX 77002 (or remotely via the electronic exchange of executed documents), unless another date or place is mutually agreed upon in writing by the Parties. The date upon which the Closing occurs hereunder is referred to herein as the “Closing Date.”

Section 3.02 Closing Deliverables. At the Closing, each of the Parties shall deliver, or cause to be delivered, (a) counterparts of each Transaction Document (other than this Agreement) to which it (or any of its Subsidiaries or Affiliates) is a party duly executed by such Party and/or its applicable Subsidiary or Affiliate, as applicable, and (b) the certificates required to be delivered by such Party pursuant to Section 5.02(c) or Section 5.03(c), in each case, as applicable.

Section 3.03 Effective Time of the Closing. Subject to the provisions of this Agreement and the Conversion Agreement, on the Closing Date, the Parties shall cause a certificate of merger evidencing the CLMT Merger and a certificate of merger evidencing the GP Merger (each a “Certificate of Merger”) to be executed, acknowledged and filed with the Secretary of State of the State of Delaware as provided in the Conversion Agreement. The Transactions shall be effected upon the filing of the Certificate of Merger evidencing the GP Merger or at such later time as is agreed to by the Parties and specified in the Certificate of Merger (the time at which the Transactions are effected is herein referred to as the “Effective Time”).

ARTICLE IV.

REPRESENTATIONS AND WARRANTIES

Section 4.01 Representations and Warranties Concerning the Sponsor Parties. Except as disclosed in the correspondingly numbered section of the disclosure schedules delivered by the Sponsor Parties to CLMT simultaneously with the execution of this Agreement (it being agreed that disclosure of any item in any section or subsection of such disclosure schedules shall be deemed disclosure with respect to any other section or subsection of this Agreement to which the relevance of such item is reasonably apparent on its face, notwithstanding the omission of a cross-reference to such other section or subsection), each Sponsor Party, severally and not jointly, hereby represents and warrants to CLMT as follows with respect to such Sponsor Party:

 

B-9


Table of Contents

(a) Organization. Such Sponsor Party is an individual, limited partnership, limited liability company or trust, as applicable, and duly formed and validly existing and in good standing under the Laws of the State of Delaware or the jurisdiction of its formation, as applicable.

(b) Authorization. Such Sponsor Party has full power and authority to execute, deliver and perform each Transaction Document to which it is or will be a party. As applicable, the execution, delivery and performance by such Sponsor Party of each Transaction Document to which it is or will be a party and the consummation by such Sponsor Party of the transactions contemplated hereby and thereby, have been duly authorized by all necessary limited partnership, limited liability company or trust action as the case may be. Each Transaction Document executed or to be executed by such Sponsor Party has been, or when executed will be, duly executed and delivered by such Sponsor Party and constitutes, or when executed and delivered will constitute, a valid and legally binding obligation of such Sponsor Party, enforceable against such Sponsor Party in accordance with its terms, except to the extent that such enforceability may be limited by (i) applicable bankruptcy, insolvency, reorganization, moratorium, fraudulent conveyance or other similar Applicable Laws affecting creditors’ rights and remedies generally and (ii) equitable principles which may limit the availability of certain equitable remedies (such as specific performance) in certain instances.

(c) No Conflicts or Violations. As applicable, the execution, delivery and performance of this Agreement and the other Transaction Documents to which such Sponsor Party is or will be a party, and the consummation of the transactions contemplated hereby and thereby, do not: (i) violate or conflict with any provision of the Organizational Documents of such Sponsor Party; (ii) violate any Law applicable to such Sponsor Party; (iii) violate, result in a breach of, constitute (with due notice or lapse of time or both) a default or cause any obligation, penalty or premium to arise or accrue under any Contract to which such Sponsor Party is a party; (iv) result in the creation or imposition of any Encumbrance upon any of the properties or assets of such Sponsor Party; or (v) result in the cancellation, modification, revocation or suspension of any Permit of such Sponsor Party, except, in the case of clauses (ii) through (v), as would not, individually or in the aggregate, reasonably be expected to have a Sponsor Material Adverse Effect with respect to such Sponsor Party.

(d) Consents and Approvals. Except (i) as would not, individually or in the aggregate, reasonably be expected to have a Sponsor Material Adverse Effect with respect to such Sponsor Party or (ii) for any filings required for compliance with any applicable requirements of the federal securities Laws, any applicable state or other local securities Laws, any applicable requirements of a national securities exchange, including the filing with the SEC of the registration statement on Form S-4 to be filed by CLMT in connection with the Conversion (as amended or supplemented from time to time, the “Registration Statement”) and the proxy statement/prospectus constituting a part thereof (the “Proxy Statement”), any applicable Antitrust Laws and the filing of the Certificates of Mergers, neither such Sponsor Party’s execution and delivery of this Agreement and the other Transaction Documents to which such Sponsor Party is or will be a party, nor the performance by such Sponsor Party of its obligations hereunder or thereunder, requires the consent, approval, waiver or authorization of, or declaration, filing, registration or qualification with any Governmental Authority by such Sponsor Party.

(e) Ownership. Schedule 4.01(e) reflects the number of issued and outstanding equity interests of CLMT owned by each of the Sponsor Parties as of the date of this Agreement, without giving effect to the Transactions. Each Sponsor Party is the sole owner of the number of issued and outstanding equity interests of CLMT attributed to such Sponsor Party on Schedule 4.02(e), in each case, free and clear of all encumbrances (other than the transfer restrictions under applicable federal and state securities laws or as set forth in the Organizational Documents of CLMT).

(f) Absence of Litigation. There is no suit, litigation, arbitration, claim, action, audit, proceeding or, to the Knowledge of such Sponsor Party, investigation, in each case, pending or, to the Knowledge of such Sponsor Party, threatened in writing against such Sponsor Party relating to the transactions contemplated by the Transaction Documents or which, if adversely determined, would reasonably be expected to materially impair the ability of such Sponsor Party to perform its obligations and agreements under the Transaction Documents to which it is or will be a party or to consummate the transactions contemplated hereby and thereby.

 

B-10


Table of Contents

(g) Brokers and Finders. Except as set forth on Schedule 4.01(g) with respect to such Sponsor Party, no investment banker, broker, finder, financial advisor or other intermediary is entitled to any broker’s, finder’s, financial advisor’s or other similar based fee or commission in connection with the transactions contemplated by the Transaction Documents as a result of being engaged by such Sponsor Party.

(h) Information Supplied. Subject to the accuracy of the representations and warranties of the General Partner and CLMT set forth in Section 4.02, none of the information supplied (or to be supplied) in writing by or on behalf of the Sponsor Parties specifically for inclusion or incorporation by reference in (i) the Registration Statement will, at the time the Registration Statement, or any amendment or supplement thereto, is filed with the SEC or at the time it becomes effective under the Securities Act, contain any untrue statement of a material fact or omit to state any material fact required to be stated therein or necessary to make the statements therein not misleading, and (ii) the Proxy Statement will, on the date it is first mailed to the Limited Partners, and at the time of the CLMT Special Meeting, contain any untrue statement of a material fact or omit to state any material fact necessary in order to make the statements therein, in the light of the circumstances under which they are made, not misleading. Notwithstanding the foregoing, none of the Sponsor Parties makes any representation or warranty with respect to information supplied by or on behalf of CLMT or the General Partner for inclusion or incorporation by reference in any of the foregoing documents.

(i) Plan or Intention. The Sponsor Parties have no current plan or intention to sell, exchange or otherwise dispose of the NewCo Shares received in connection with the Conversion.

Section 4.02 Representations and Warranties Concerning the CLMT Entities. Except as disclosed (1) in the CLMT SEC Reports filed prior to the date hereof (excluding any disclosures set forth in any “risk factor” section of such CLMT SEC Reports or any other disclosures in such CLMT SEC Reports to the extent they are non-specific or primarily predictive, cautionary or forward looking in nature) or (2) in the correspondingly numbered section of the disclosure schedules delivered by CLMT to the Sponsor Parties simultaneously with the execution of this Agreement (it being agreed that disclosure of any item in any section or subsection of such disclosure schedules shall be deemed disclosure with respect to any other section or subsection of this Agreement to which the relevance of such item is reasonably apparent on its face, notwithstanding the omission of a cross-reference to such other section or subsection), the General Partner and CLMT hereby represent and warrant to the Sponsor Parties as follows:

(a) Organization. Each CLMT Entity is a limited partnership or limited liability company, as the case may be, duly formed and validly existing and in good standing under the Laws of the State of Delaware.

(b) Capitalization of CLMT. As of November 8, 2023, CLMT has no partnership or other equity interests outstanding other than (i) 79,967,363 CLMT Common Units, (ii) the CLMT IDRs, (iii) the CLMT General Partner Interest and (iv) the Phantom Units (collectively, the “CLMT Interests”). As of the date of this Agreement, all of the CLMT Interests (other than the Phantom Units) have been duly authorized and validly issued and are fully paid (to the extent required under the Organizational Documents of CLMT) and, other than the CLMT General Partner Interest, non-assessable (except to the extent such non-assessability is affected by Sections 17-303, 17-607 or 17-804 of the DRULPA).

(c) Capitalization of CLMT Entities. As of the date of this Agreement, the limited partner or limited liability company interests, as the case may be, of each CLMT Entity have been duly authorized and validly issued and are fully paid and non-assessable (except to the extent such non-assessability is affected by (i) Sections 17-303, 17-607 or 17-804 of the DRULPA with respect to limited partnerships or (ii) Sections 18-607 and 18-804 of the DLLCA with respect to limited liability companies, as applicable).

(d) Authorization. Each of the CLMT Entities that is or will be a party to a Transaction Document has full limited partnership or limited liability company, as applicable, power and authority to execute, deliver and perform such Transaction Document to which it is or will be a party, subject to obtaining the CLMT Unitholder Approval. The execution, delivery and performance by each of the CLMT Entities of the Transaction Documents

 

B-11


Table of Contents

to which it is or will be a party and the consummation by such CLMT Entities of the transactions contemplated hereby and thereby, have been duly authorized by all necessary limited partnership or limited liability company action as the case may be. Each Transaction Document executed or to be executed by a CLMT Entity has been, or when executed will be, duly executed and delivered by such CLMT Entity and constitutes, or when executed and delivered will constitute, a valid and legally binding obligation of such CLMT Entity, enforceable against such CLMT Entity in accordance with its terms, except to the extent that such enforceability may be limited by (i) applicable bankruptcy, insolvency, reorganization, moratorium, fraudulent conveyance or other similar Applicable Laws affecting creditors’ rights and remedies generally and (ii) equitable principles which may limit the availability of certain equitable remedies (such as specific performance) in certain instances.

(e) No Conflicts or Violations. The execution, delivery and performance of this Agreement and the other Transaction Documents to which any CLMT Entity is or will be a party, and the consummation of the transactions contemplated hereby and thereby, do not and will not: (i) assuming the CLMT Unitholder Approval is obtained, violate or conflict with any provision of the Organizational Documents of such CLMT Entity; (ii) violate any Law applicable to such CLMT Entity; (iii) violate, result in a breach of, constitute (with due notice or lapse of time or both) a default or cause any obligation, penalty or premium to arise or accrue under any Contract to which any CLMT Entity is a party; (iv) result in the creation or imposition of any Encumbrance upon any of the properties or assets of the CLMT Entities; or (v) result in the cancellation, modification, revocation or suspension of any Permit of any CLMT Entity, except, in the case of clauses (ii) through (v), as would not, individually or in the aggregate, reasonably be expected to have a Material Adverse Effect.

(f) Debt Agreements. None of the CLMT Entities is in breach or default under any Debt Agreement, and to CLMT’ Knowledge, no other Person that is a party thereto is in breach or default under any Debt Agreement. No event has occurred, to CLMT’s knowledge, which after notice or lapse of time, or both, would constitute a default under any Debt Agreement and no written notice of default or breach has been received or delivered by any CLMT Entity under any Debt Agreement, the resolution of which is outstanding as of the date hereof.

(g) Consents and Approvals. Except (i) as would not, individually or in the aggregate, reasonably be expected to have a Material Adverse Effect or (ii) for any filings required for compliance with any applicable requirements of the federal securities Laws, any applicable state or other local securities Laws, any applicable requirements of a national securities exchange, including the filing with the SEC of the Registration Statement and the Proxy Statement, any applicable Antitrust Laws and the filing of the Certificate of Mergers, neither the execution and delivery by any CLMT Entity of this Agreement and the other Transaction Documents to which any CLMT Entity is or will be a party, nor the performance by any CLMT Entity of its obligations hereunder or thereunder, requires the consent, approval, waiver or authorization of, or declaration, filing, registration or qualification with any Governmental Authority by such CLMT Entity.

(h) Approval of Transaction. The Conflicts Committee of the CLMT Board has approved the execution, delivery and performance of this Agreement and the Transactions and recommended that the CLMT Board approve this Agreement and the Transactions and the CLMT Board has approved this Agreement and the Transactions. The CLMT Board has approved the execution, delivery and performance of this Agreement and the Transactions.

(i) Opinion of Financial Advisor. The Conflicts Committee has received the opinion of Evercore Group L.L.C. to the effect that, as of the date of such opinion, and based upon and subject to the assumptions, qualifications, limitations and other matters set forth therein, the consideration to be issued to the Sponsor Parties in the GP Merger is fair, from a financial point of view, to CLMT and its unaffiliated unitholders.

(j) Absence of Litigation. There is no suit, litigation, arbitration, claim, action, audit, proceeding or, to the Knowledge of CLMT, investigation, in each case, pending or, to the Knowledge of CLMT, threatened in writing against any CLMT Entity relating to the transactions contemplated by the Transaction Documents or which, if adversely determined, would reasonably be expected to materially impair the ability of any of the CLMT Entities to perform its obligations and agreements under the Transaction Documents to which it is a party and to consummate the transactions contemplated hereby and thereby.

 

B-12


Table of Contents

(k) Absence of Certain Events. There has not been any (i) Law enacted or order or judgment issued by any Governmental Authority of competent jurisdiction relating to the availability of the small refinery exemption under the Renewable Fuel Standard provision of the Clean Air Act that would materially affect the business or operations of the CLMT Entities or (ii) material destruction, damage or loss to or affecting any of the assets or properties of any of the CLMT Entities.

(l) Brokers and Finders. Except for Evercore Group L.L.C., no investment banker, broker, finder, financial advisor or other intermediary is entitled to any broker’s, finder’s, financial advisor’s or other similar based fee or commission in connection with the transactions contemplated by the Transaction Documents as a result of being engaged by any CLMT Entity or any of their respective Affiliates.

(m) Information Supplied. Subject to the accuracy of the representations and warranties of the Sponsor Parties set forth in Section 4.01, none of the information supplied (or to be supplied) in writing by or on behalf of the CLMT Entities specifically for inclusion or incorporation by reference in (i) the Registration Statement will, at the time the Registration Statement, or any amendment or supplement thereto, is filed with the SEC or at the time it becomes effective under the Securities Act, contain any untrue statement of a material fact or omit to state any material fact required to be stated therein or necessary to make the statements therein not misleading, and (ii) the Proxy Statement will, on the date it is first mailed to the Limited Partners, and at the time of the CLMT Special Meeting, contain any untrue statement of a material fact or omit to state any material fact necessary in order to make the statements therein, in the light of the circumstances under which they are made, not misleading. Notwithstanding the foregoing, none of the CLMT Entities makes any representation or warranty with respect to information supplied by or on behalf of any Sponsor Party for inclusion or incorporation by reference in any of the foregoing documents.

Section 4.03 EXCLUSIVITY OF REPRESENTATIONS AND WARRANTIES. NOTWITHSTANDING THE DELIVERY OR DISCLOSURE BY ANY PARTY OR THEIR RESPECTIVE OFFICERS, MANAGERS, DIRECTORS, EMPLOYEES, AGENTS OR REPRESENTATIVES OF ANY DOCUMENTATION OR OTHER INFORMATION (INCLUDING ANY FINANCIAL PROJECTIONS OR OTHER SUPPLEMENTAL DATA), EXCEPT AS OTHERWISE EXPRESSLY SET FORTH IN THIS ARTICLE IV, EACH OF THE PARTIES EXPRESSLY DISCLAIMS ANY AND ALL REPRESENTATIONS OR WARRANTIES OF ANY KIND OR NATURE, EXPRESS OR IMPLIED, AS TO THE CONDITION, VALUE OR QUALITY OF THEIR RESPECTIVE BUSINESSES OR ASSETS, AND EACH OF THE PARTIES SPECIFICALLY DISCLAIMS ANY AND ALL REPRESENTATIONS OR WARRANTIES OF MERCHANTABILITY, USAGE, SUITABILITY OR FITNESS FOR ANY PARTICULAR PURPOSE WITH RESPECT TO ITS ASSETS, ANY PART THEREOF, THE WORKMANSHIP THEREOF, AND THE ABSENCE OF ANY DEFECTS THEREIN, WHETHER LATENT OR PATENT, IT BEING UNDERSTOOD THAT ANY ASSETS ACQUIRED BY VIRTUE OF THE TRANSACTIONS ARE BEING ACQUIRED “AS IS, WHERE IS” ON THE CLOSING DATE, AND IN THEIR PRESENT CONDITION.

ARTICLE V.

CONDITIONS PRECEDENT

Section 5.01 Conditions to Each Party’s Obligation to Effect the Transactions. The obligations of each of the Parties to effect the Transactions shall be subject to the fulfillment (or, to the extent permitted by Applicable Law, written waiver by each of CLMT and the Sponsor Parties on or prior to the Effective Time) of the following conditions:

(a) Conversion Agreement and Certificate of Merger. The Conversion Agreement shall have been duly executed and delivered by the parties thereto and the form of the Certificates of Merger shall have been agreed to between the Sponsor Parties and the Company.

(b) CLMT Unitholder Approval. The CLMT Unitholder Approval shall have been obtained at the CLMT Special Meeting in accordance with applicable Laws and the CLMT Partnership Agreement.

 

B-13


Table of Contents

(c) No Injunctions or Restraints. No Law, order issued by any Governmental Authority of competent jurisdiction or other legal restraint or prohibition preventing the consummation of any of the Transactions, declaring unlawful the Transactions or causing such Transactions to be rescinded shall be in effect.

(d) Registration Statement. The Registration Statement shall have been declared effective by the SEC under the Securities Act and no stop order suspending the effectiveness of the Registration Statement shall have been issued by the SEC and remain in effect and no proceedings for that purpose shall have been initiated (unless subsequently withdrawn).

(e) Nasdaq Listing. The NewCo Shares to be issued pursuant to the Conversion Agreement shall have been approved for listing on the Nasdaq, subject to official notice of issuance.

(f) Regulatory Approval. Any consent or approval of any Governmental Authority required to be obtained pursuant to any applicable Antitrust Law shall have been duly obtained and shall be in full force and effect, and all terminations or expirations of waiting periods imposed by any Governmental Authority necessary for the consummation of the Transactions, including under any Antitrust Law, shall have occurred.

Section 5.02 Conditions to CLMT’s Obligation to Effect the Transactions. The obligations of CLMT to, and to cause each of its Subsidiaries and Affiliates, as applicable, to, effect the Transactions shall be subject to the fulfillment (or, to the extent permitted by applicable Law, written waiver by CLMT) on or prior to the Effective Time of the following conditions:

(a) Bring Down of Representations and Warranties. The representations and warranties set forth in (i) Section 4.01 (other than those set forth in (A) Section 4.01(b), (B) Section 4.01(e) and (C) Section 4.01(g)) shall be true and correct in all respects as of the Closing Date as though made on and as of the Closing Date (other than any representations and warranties that are made on and as of a specified date, in which case such representations and warranties shall be true and correct as of the specified date), except to the extent that the facts, events and circumstances that cause such representations and warranties to not be true and correct as of such dates have not materially impeded or would not reasonably be expected to materially impede the ability of the Sponsor Parties to consummate any of the Transactions and have not had or would not reasonably be expected to have a Sponsor Material Adverse Effect (provided, that for the purposes of the foregoing clause, qualifications as to materiality and Sponsor Material Adverse Effect contained in such representations and warranties shall not be given effect); (ii) Section 4.01(e) is true and correct in all respects as of the Closing Date as though made on and as of the Closing Date, except for such inaccuracies as would not be material in amount or effect; and (iii) Section 4.02(b) and Section 4.01(g) are true and correct in all respects as of the Closing Date as though made on and as of the Closing Date.

(b) Performance of Covenants. The Sponsor Parties shall have performed and complied with, in all material respects, all covenants required by this Agreement to be performed or complied with by such Persons prior to the Closing Date.

(c) Closing Certificate. Prior to or at the Closing, the Sponsor Parties shall have delivered a certificate of an authorized officer or other authorized person of the Sponsor Parties, dated as of the Closing Date, to the effect that the conditions specified in Section 5.02(a) and Section 5.02(b) are satisfied.

Section 5.03 Conditions to Sponsor Parties’ Obligation to Effect the Transactions. The obligations of each of the Sponsor Parties to, and to cause their Affiliates, as applicable, to, effect the Transactions shall be subject to the fulfillment (or, to the extent permitted by Applicable Law, written waiver by the Sponsor Parties) on or prior to the Effective Time of the following conditions:

(a) Bring Down of Representations and Warranties. The representations and warranties set forth in (i) Section 4.01(h) (other than those set forth in (A) the first sentence of Section 4.02(b), (B) Section 4.02(d), (C) Section 4.02(f), (D) Section 4.02(h), (E) Section 4.02(k) and (F) Section 4.02(l)) shall be true and correct in all

 

B-14


Table of Contents

respects as of the Closing Date as though made on and as of the Closing Date (other than any representations and warranties that are made on and as of a specified date, in which case such representations and warranties shall be true and correct as of the specified date), except to the extent that the facts, events and circumstances that cause such representations and warranties to not be true and correct as of such dates have not had or would not reasonably be expected to have a Material Adverse Effect (provided, that for the purposes of the foregoing clause, qualifications as to materiality and Material Adverse Effect contained in such representations and warranties shall not be given effect); (ii) the first sentence of Section 4.02(b) are true and correct in all respects as of the Closing Date as though made on and as of the Closing Date (other than any representations and warranties that are made on and as of a specified date, in which case such representations and warranties shall be true and correct as of the specified date), except for such inaccuracies as would not be material in amount or effect; and (iii) Section 4.02(d), Section 4.02(f), Section 4.02(h), Section 4.02(k) and Section 4.02(l) are true and correct in all respects as of the Closing Date as though made on and as of the Closing Date (other than any representations and warranties that are made on and as of a specified date, in which case such representations and warranties shall be true and correct as of the specified date).

(b) Performance of Covenants. The CLMT Entities shall have performed and complied with, in all material respects, all covenants required by this Agreement to be performed or complied with by the CLMT Entities prior to Closing.

(c) Closing Certificate. Prior to or at the Closing, CLMT shall have delivered a certificate of an authorized officer or other authorized person of CLMT, dated as of the Closing Date, to the effect that the conditions specified in Section 5.03(a) and Section 5.03(b) are satisfied.

ARTICLE VI.

COVENANTS

Section 6.01 Interim Operations.

(a) Except (i) as required by Applicable Law, (ii) as otherwise expressly contemplated by this Agreement, (iii) as contemplated by the Conversion Agreement or the Conversion, (iv) as required by any Organizational Documents of such entities or (v) as consented to in writing by the Sponsor Parties (which consent shall not be unreasonably withheld, delayed or conditioned), during the period from the date of this Agreement until the earlier of the Effective Time or the termination hereof, each CLMT Entity shall (A) conduct its business in the ordinary course of business consistent with past practice, (B) use commercially reasonable efforts to maintain and preserve intact its business organization and the goodwill of those having business relationships with it, (C) use commercially reasonable efforts to keep in full force and effect all material Permits and all material insurance policies maintained by the CLMT Entities, other than changes to such policies made in the ordinary course of business, and (D) use commercially reasonable efforts to comply in all material respects with all applicable Laws.

(b) Without limiting the generality of the foregoing, during the period from the date of this Agreement until the earlier of the Effective Time and the termination hereof, except (A) as required by Applicable Law, (B) as otherwise expressly contemplated by this Agreement or the other Transaction Documents or (C) as set forth in Schedule 6.01(b), none of the CLMT Entities shall, without the prior written consent of the Sponsor Parties (which consent will not be unreasonably withheld, delayed or conditioned):

(i) adopt or propose any change to any of their Organizational Documents as in effect on the date of this Agreement;

(ii) other than the grant of awards under the LTIP or issuances of CLMT Common Units upon vesting or settlement of awards under the LTIP that are outstanding on the date of this Agreement or otherwise granted in compliance with this Agreement in the ordinary course of business consistent with past practices, issue, sell,

 

B-15


Table of Contents

pledge, dispose of, grant, transfer, encumber, or authorize the issuance, sale, pledge, disposition, grant, transfer, lease, license, guarantee or encumbrance of, any equity securities of the CLMT Entities, or securities convertible or exchangeable into or exercisable for any shares of such equity securities, or any options, warrants or other rights of any kind to acquire any equity securities or such convertible or exchangeable securities or interests;

(iii) split, combine or reclassify any of its equity securities or issue or authorize the issuance of any other securities in respect of, in lieu of or in substitution for its equity securities;

(iv) declare, set aside or pay any distributions in respect of any of their equity securities or split, combine or reclassify any of their equity securities, other than (A) cash distributions by any Subsidiary of CLMT to CLMT or another Subsidiary of CLMT in the ordinary course of business or (B) cash distributions to their respective equity holders required under their respective Organizational Documents;

(v) settle, propose to settle or compromise any action before a Governmental Authority if such settlement, proposed settlement or compromise (A) with respect to the payment of monetary damages, involves the payment of monetary damages that exceed $1,000,000 in the aggregate (together with all other settlements or compromises after the date of this Agreement), net of any amounts covered by insurance that the CLMT Entities expect to be promptly paid by the applicable insurer, (B) that imposes any material equitable or non-monetary relief, penalty or restriction on any CLMT Entity or (C) that would reasonably be expected to affect the rights or defenses available to any CLMT Entity in any related or similar claims that, individually or in the aggregate, are material to the CLMT Entities, taken as a whole;

(vi) recommend, propose, announce, adopt or vote to adopt a plan of complete or partial dissolution or liquidation, in each case, that would (A) prevent or materially impede or delay the ability of the Parties to satisfy any of the conditions to, or the consummation of, the transactions set forth in this Agreement or (B) adversely affect in a material way the rights of holders of the securities of any CLMT Entity;

(vii) except otherwise permitted under Section 6.01(b)(ix)(x), make any acquisition of any other Person, business or asset or make any loans, advances or capital contributions to, or investments in, any other Person with a value (including assumed debt, which term, for the avoidance of doubt, excludes any asset retirement obligations) in excess of $5,000,000 in the aggregate;

(viii) transfer, sell, lease, license, mortgage, pledge, surrender, encumber, divest, cancel or abandon or otherwise dispose of any of the CLMT Entities’ material assets, product lines or businesses, including any equity interests of any of the CLMT Entities, except (A) in connection with goods or services provided in the ordinary course of business and sales of obsolete assets, or (B) for sales, leases, licenses or other dispositions of assets with a fair market value not in excess of $1,000,000 in the aggregate;

(ix) except for (x) transactions solely between or among the Sponsor Parties and/or the CLMT Entities that will not result in any obligation or liability to any party other than the Sponsor Parties and/or the CLMT Entities, and (y) borrowings or loans permitted under the credit facilities of the CLMT Entities existing as of the date hereof, (A) incur, assume or guarantee any indebtedness for borrowed money, (B) issue, assume or guarantee any debt securities, (C) grant any option, warrant or right to purchase any debt securities, or (D) issue any securities convertible into or exchangeable for any debt securities of others, other than any such actions contemplated in (A) through (D), as would not, taken together, result in the incurrence or guarantee of indebtedness or issuance of debt securities with a value in excess of $1,000,000 in the aggregate;

(x) make any change to any of their accounting policies or procedures, except as required by changes after the date hereof in accordance with GAAP;

(xi) (A) change any material method of Tax accounting, (B) make, change or revoke any material Tax election, (C) settle or compromise any material liability for Taxes, (D) file any materially amended Tax Return, (E) enter into any written agreement with any Governmental Authority with respect to any material amount of

 

B-16


Table of Contents

Taxes, (F) surrender any right to claim a refund for any material amount of Taxes, or (G) consent to an extension of the statute of limitations applicable to any material Tax claim or assessment; or

(xii) agree, authorize or commit to do any of the foregoing.

(c) From the date of this Agreement until the Closing Date, each of CLMT Entities and Sponsor Parties shall promptly notify the other Parties in writing of (i) any event, condition or circumstance that could reasonably be expected to result in any of the conditions set forth in Article V not being satisfied at the Effective Time, and (ii) any material breach by the notifying Party of any covenant, obligation or agreement contained in this Agreement; provided, however, that the delivery of any notice pursuant to this Section 6.01(c) shall not limit or otherwise affect the remedies available hereunder to the notified Party.

Section 6.02 Preparation of the Registration Statement and Proxy Statement.

(a) Promptly following the date of the execution of the Conversion Agreement, each of the Sponsor Parties and the CLMT Entities shall cooperate in preparing and shall use its reasonable best efforts to cause to be filed with the SEC a mutually acceptable Registration Statement. The Registration Statement, when it becomes effective, will include all information required to be disclosed by CLMT. Each of the Sponsor Parties and the CLMT Entities shall use its reasonable best efforts to (i) have the Registration Statement declared effective under the Securities Act as promptly as practicable after such filing, (ii) ensure that the Registration Statement complies in all material respects with the applicable provisions of the Exchange Act and/or the Securities Act, and (iii) keep the Registration Statement effective for so long as necessary to complete the Transactions. Each of the Sponsor Parties and the CLMT Entities shall use its reasonable best efforts to cause the Proxy Statement to be mailed to the Limited Partners as promptly as practicable after the Registration Statement is declared effective under the Securities Act. Each of the Sponsor Parties and the CLMT Entities shall, as reasonably necessary in connection with preparation and filing of the Registration Statement, furnish all information concerning itself, its Affiliates and the holders of its equity interests to the other Parties, and each of the Sponsor Parties and the CLMT Entities shall provide such other Parties assistance as may be reasonably requested in connection with the preparation, filing and distribution of the Registration Statement and Proxy Statement, as applicable. Each of the Sponsor Parties and the CLMT Entities shall promptly notify the other Parties upon the receipt of any comments from the SEC or any request from the SEC for amendments or supplements to the Registration Statement, and shall, as promptly as practicable after receipt thereof, provide the other Parties with copies of all material correspondence between it and its representatives, on one hand, and the SEC, on the other hand, and all written comments and/or orders with respect to the Registration Statement received from the SEC and advise the other Parties of any oral comments with respect to the Registration Statement received from the SEC. Each of the Sponsor Parties and the CLMT Entities shall use its reasonable best efforts to respond as promptly as practicable to any comment from the SEC with respect to the Registration Statement. Prior to filing any amendment or supplement to the Registration Statement or responding to any comments of the SEC with respect thereto, each of the Sponsor Parties and the CLMT Entities shall cooperate and provide the other Parties a reasonable opportunity to review and comment on such document or response in advance (including the proposed final version of such document or response) and consider in good faith any comments provided by any of the Sponsor Parties or the CLMT Entities, as applicable, or any of their respective representatives with respect thereto, and no such amendment or supplement shall be filed without the prior approval of the Sponsor Parties and CLMT (which consent shall not be unreasonably withheld, conditioned or delayed). The Sponsor Parties shall advise CLMT, promptly after any of them receives notice thereof, of the time of effectiveness of the Registration Statement, the issuance of any stop order relating thereto or the suspension of the qualification of the NewCo Shares issuable in connection with the Transactions for offering or sale in any jurisdiction, and the Sponsor Parties and the CLMT Entities shall use their reasonable best efforts to have any such stop order or suspension lifted, reversed or otherwise terminated. The Sponsor Parties and the CLMT Entities shall also use their reasonable best efforts to take any other action required to be taken under the Securities Act, the Exchange Act, any applicable foreign or state securities or “blue sky” laws and the rules and regulations thereunder in connection with the issuance of the NewCo Shares in connection with the Conversion.

 

B-17


Table of Contents

(b) If, at any time prior to the date of effectiveness under the Securities Act (with respect to the Registration Statement), any Sponsor Party or any CLMT Entity discovers that any information relating to the Sponsor Parties, the CLMT Entities or any of their respective Affiliates, officers or directors, should be set forth in an amendment or supplement to the Registration Statement so that such document would not include any untrue statement of a material fact or omit to state a material fact required to be stated therein or necessary in order to make the statements made therein, in light of the circumstances under which they are made, not misleading, the Party that discovers such information shall as promptly as practicable notify the other Parties and an appropriate amendment or supplement describing such information shall be filed with the SEC as promptly as practicable after the other Parties have had a reasonable opportunity to review and comment thereon, and, to the extent required by Applicable Law, disseminated to the Limited Partners.

(c) CLMT shall, with the Sponsor Parties’ cooperation, as promptly as practicable after the Registration Statement is declared effective under the Securities Act, establish a record date for, duly call, give notice of, convene and hold the CLMT Special Meeting for the purpose of obtaining the CLMT Unitholder Approval. CLMT shall, through the CLMT Board and the Conflicts Committee, recommend to the Limited Partners approval of the Conversion (the “CLMT Board Recommendation”) and CLMT shall use its reasonable best efforts to obtain from the Limited Partners the CLMT Unitholder Approval. The Proxy Statement shall include the CLMT Board Recommendation. Notwithstanding anything in this Agreement to the contrary, CLMT may postpone or adjourn the CLMT Special Meeting (i) to solicit additional proxies for the purpose of obtaining the CLMT Unitholder Approval, (ii) for the absence of a quorum, and (iii) to the extent reasonably necessary to ensure that any supplement or amendment to the Proxy Statement that the Conflicts Committee or the CLMT Board has determined after consultation with outside legal counsel is necessary under applicable Laws is provided to the Limited Partners within the minimum amount of time reasonably practicable prior to the CLMT Special Meeting; provided, however, that in each case, without the written consent of any Sponsor Party (which shall not be unreasonably withheld, delayed or conditioned), CLMT shall not be permitted to postpone or adjourn the CLMT Special Meeting for more than 10 Business Days later than the most recently postponed or adjourned meeting or to a date after the date that is two Business Days prior to the Termination Date. CLMT shall adjourn the CLMT Special Meeting at the request of the Sponsor Parties (but in no event for more than 30 days from the date the CLMT Special Meeting was originally scheduled to convene and to no later than two Business Days prior to the Termination Date) (i) to solicit additional proxies for the purpose of obtaining the CLMT Unitholder Approval or (ii) for the absence of a quorum. Without the written consent of the Sponsor Parties (which shall not be unreasonably withheld, delayed or conditioned), no matter shall be submitted for action at the CLMT Special Meeting except the approval of the Conversion Agreement and the CLMT Merger contemplated thereby and other matters related thereto that require approval of the Limited Partners.

Section 6.03 Regulatory Approvals. Each of CLMT and the Sponsor Parties shall use its reasonable best efforts to file, as promptly as practicable after the execution of the Conversion Agreement, the notification and report forms required under the HSR Act. In the event that the Parties receive a request for information or documentary material pursuant to the HSR Act, the Parties will use their respective reasonable best efforts to respond to such request as promptly as practicable or as otherwise agreed by the Parties, and counsel for the Parties will closely cooperate during the entirety of any such request review process.

Section 6.04 Exchange Listing; Delisting.

(a) The General Partner and CLMT shall use their respective commercially reasonable efforts to (i) submit a proper notification to the Nasdaq regarding the listing of the NewCo Shares to be issued pursuant to the Conversion Agreement on the Nasdaq Global Select Market on or prior to the Closing Date, and (ii) take such actions so that prior to the Effective Date the NewCo Shares are approved for listing thereon, subject to official notice of issuance.

(b) Prior to the Closing, CLMT shall use reasonable best efforts to cause (x) the registration of the NewCo Shares under the Exchange Act and (b) the delisting of CLMT Common Units from the Nasdaq and the

 

B-18


Table of Contents

termination of the registration of the CLMT Common Units under the Exchange Act as soon as practicable following the Effective Time.

Section 6.05 Directors of NewCo. At or prior to Closing, the Sponsor Parties shall, and shall cause the CLMT Board to, take all actions necessary so that the board of directors of NewCo shall be comprised of the directors as set forth in Exhibit B.

Section 6.06 Litigation. In the event that any unitholder litigation related to the Transaction Documents or the Transactions is brought, or to CLMT’s Knowledge, threatened in writing, against CLMT and/or the members of the CLMT Board prior to the Effective Time (a “Transaction Litigation”), CLMT shall promptly notify the Sponsor Parties of any such Transaction Litigation and shall keep the Sponsor Parties reasonably informed with respect to the status thereof.

Section 6.07 Efforts. Subject to the terms and conditions set forth herein and to applicable legal requirements, each of the Parties shall cooperate and use its commercially reasonable efforts (unless another standard is expressly required under this Agreement) to take, or cause to be taken, all actions, and to do, or cause to be done, and to assist and cooperate with each other Party in doing, all things, necessary, proper or advisable to consummate and make effective, in the most expeditious manner practicable, the Transactions, including the satisfaction of the respective conditions set forth in Article V. Further, no Party shall take, or cause to be taken, any action or do, or cause to be done, anything that would reasonably be expected to materially impede or delay the Transactions, including the satisfaction of the respective conditions set forth in Article V.

Section 6.08 Indemnification; D&O Insurance.

(a) From and after the Effective Time, the Sponsor Parties shall cause NewCo to honor all rights to indemnification, advancement of expenses, elimination of liability and exculpation from liabilities for acts or omissions occurring at or prior to the Effective Time (including the Transactions) now existing in favor of the present and former directors and officers of the CLMT Entities (collectively, the “Indemnified Persons”) as provided in the Organizational Documents of the CLMT Entities and shall ensure that the Organizational Documents of NewCo (or its successor entities) shall, for a period of no less than six years following the Effective Time, contain provisions substantially no less advantageous with respect to indemnification, advancement of expenses, elimination of liability and exculpation of their present and former directors, officers, employees and agents than are set forth in the Organizational Documents of the CLMT Entities as of the date of this Agreement.

(b) For a period of not less than six years from and after the Effective Time, the Sponsor Parties shall cause NewCo to maintain for the benefit of the directors and officers of the CLMT Entities, as of the Effective Time, an insurance and indemnification policy that provides coverage for events occurring prior to the Effective Time (the “D&O Insurance”) that is substantially equivalent to and in any event not less favorable in the aggregate than the existing policies of the CLMT Entities or, if such substantially equivalent insurance coverage is unavailable, the best coverage that is reasonably available; provided, however, that in no event shall the annual cost of the D&O Insurance exceed 300% of the current annual premium paid by the CLMT Entities for such purpose (the “Maximum Amount”); provided, further, that if the cost of such insurance coverage exceeds such Maximum Amount, NewCo shall obtain a policy with the greatest coverage available for a cost not exceeding such Maximum Amount. If the Sponsor Parties so elect, then, in lieu of their obligations under this Section 6.08(b), they may (but shall be under no obligation to), prior to the Effective Time, cause CLMT to purchase a “tail policy” with respect to acts or omissions occurring or alleged to have occurred prior to the Effective Time that were committed or alleged to have been committed by such Indemnified Persons in their

capacity as such; provided, that in no event shall the cost of such policy exceed the Maximum Amount.

(c) The rights of any Indemnified Person under this Section 6.08 shall be in addition to any other rights such Indemnified Person may have under the Organizational Documents of the CLMT Entities, any indemnification agreements, or the DLLCA and DRULPA. The provisions of this Section 6.08 shall survive the consummation of

 

B-19


Table of Contents

the Transactions and are expressly intended to benefit each of the Indemnified Persons and their respective heirs and representatives. The Conversion Agreement shall provide that if NewCo or any of its successors or assigns (i) consolidates with or merges into any other Person, or (ii) transfers or conveys all or substantially all of their businesses or assets to any other Person, then, in each such case, to the extent necessary, a proper provision shall be made so that the successors and assigns of such entities shall assume the obligations set forth in this Section 6.08.

Section 6.09 Tax Treatment. The transactions contemplated by Article II and Exhibit A are intended to qualify as transactions described in Rev. Rul. 84-111, Situation 3 and Section 351 of the Code. The Parties agree to report such transactions in accordance with the foregoing sentence for all U.S. federal income, and any applicable state and local income or franchise, Tax purposes unless otherwise required to do so pursuant to a final determination within the meaning of Section 1313(a) of the Code or applicable state or local income Tax Law. Each Party agrees to take no action, which alone, or in combination with the actions of others, reasonably could be expected to prevent such transactions from qualifying as transactions described in Rev. Rul. 84-111, Situation 3 and Section 351 of the Code.

Section 6.10 Conflicts Committee. Prior to the earlier of the Effective Time and the termination of this Agreement, the CLMT Board shall not, and none of the Sponsor Parties shall cause the CLMT Board to, without the consent of a majority of the then-existing members of the Conflicts Committee, eliminate the Conflicts Committee, revoke or diminish the authority of the Conflicts Committee or remove or cause the removal of any director of the CLMT Board that is a member of the Conflicts Committee, either as a director or as a member of such committee. For the avoidance of doubt, this Section 6.10 shall not apply to the filling, in accordance with the provisions of governing documents of the General Partner, of any vacancies caused by the resignation, death or incapacity of any such director or the removal of a director for Cause.

Section 6.11 Section 16 Matters. Prior to the Effective Time, the Parties shall take all such actions as may be necessary or appropriate to cause the Transactions and any other dispositions of equity securities of CLMT or acquisitions of NewCo Shares (including derivative securities) in connection with the Transactions by any individual who is subject to the reporting requirements of Section 16(a) of the Exchange Act with respect to CLMT or who will become subject to such reporting requirements with respect to NewCo, to be exempt under Rule 16b-3 promulgated under the Exchange Act, to the extent permitted by applicable Law.

Section 6.12 Voting and Consent. Each Sponsor Party covenants and agrees that, until the earlier of the Effective Time and the termination of this Agreement, (i) at the CLMT Special Meeting or any other meeting of Limited Partners or any vote or consent of CLMT Interests in connection with a vote or consent of the Limited Partners, however called or obtained, such Sponsor Party will vote, or cause to be voted, or deliver or cause to be delivered a consent with respect to, all CLMT Interests then owned beneficially or of record by such Sponsor Party or any of its Subsidiaries, as of the record date for such meeting or consent, in favor of the approval of the Conversion Agreement and the CLMT Merger contemplated thereby and (ii) such Sponsor Party will not, and will cause each of its Subsidiaries not to, directly or indirectly, transfer, assign or otherwise dispose of any CLMT Interests owned by such Sponsor Party or its Subsidiaries, other than a transfer, assignment or disposition by and between such Sponsor Party and its Subsidiaries, any of its Affiliate or any trust or charitable organizations controlled by such Sponsor Party; provided, that any such Affiliate, trust or charitable organization agrees to be bound by the provisions of this Section 6.12. Each Sponsor Party consents to, and has caused or shall cause, to the extent necessary and to the extent permitted by the Organizational Documents thereof, each of its Subsidiaries to consent to, this Agreement and the Transactions, including the Conversion.

Section 6.13 Public Announcements. The CLMT Entities and the Sponsor Parties shall use reasonable best efforts to develop a communications plan and each Party shall use reasonable best efforts to ensure that all press releases and other public statements with respect to the Transactions, to the extent they have not been previously issued or disclosed, shall be consistent with such communications plan. Unless otherwise required by applicable Law or by obligations pursuant to any listing agreement with or rules of any securities exchange, the CLMT

 

B-20


Table of Contents

Entities and the Sponsor Parties shall use reasonable best efforts to consult with each other before issuing any press release or public statement with respect to the Transactions, including the Conversion, to the extent they have not been previously issued or disclosed. CLMT agrees to issue a press release mutually acceptable to the Sponsor Parties.

ARTICLE VII.

TERMINATION; EFFECT OF TERMINATION

Section 7.01 Termination. This Agreement may be terminated and the Transactions abandoned at any time prior to the Effective Time (it being understood that any termination by CLMT pursuant to this Article VII (other than a termination pursuant to Section 7.01(a)) shall not require the approval of the Conflicts Committee):

(a) by mutual written agreement of CLMT (which shall require prior approval by the Conflicts Committee) and the Sponsor Parties;

(b) by either CLMT or the Sponsor Parties if the CLMT Special Meeting shall have concluded and the CLMT Unitholder Approval shall not have been obtained;

(c) by either CLMT or the Sponsor Parties if any injunction or other order, decree, decision, determination or judgment permanently restraining, enjoining or otherwise prohibiting consummation of the Transactions shall become final and non-appealable or any Law that permanently makes consummation of the Transactions illegal or otherwise prohibited shall be in effect;

(d) by CLMT if there has been a breach of, or failure to perform, any representation, warranty, covenant or agreement made by the Sponsor Parties in this Agreement, such that the conditions set forth in Section 5.02(a) or Section 5.02(b) would not be satisfied and such breach or failure to perform is not curable or, if curable, is not cured by the earlier of (i) the Termination Date and (ii) 45 days following receipt by the Sponsor Parties of notice of such breach or failure from CLMT; provided that the right to terminate this Agreement pursuant to this Section 7.01(d) shall not be available if CLMT is itself in breach of any provision of this Agreement or has failed to perform any of its representations, warranties, covenants or agreements set forth in this Agreement, and which breach or failure to perform would result in the failure of the conditions set forth in Section 5.03(a) or Section 5.03(b);

(e) by the Sponsor Parties if there has been a breach of, or failure to perform, any representation, warranty, covenant or agreement made by the CLMT Entities in this Agreement, such that the conditions set forth in Section 5.03(a) or Section 5.03(b) would not be satisfied and such breach or failure to perform is not curable or, if curable, is not cured by the earlier of (i) the Termination Date and (ii) 45 days following receipt by CLMT of notice of such breach or failure from the Sponsor Parties; provided that the right to terminate this Agreement pursuant to this Section 7.01(e) shall not be available if any of the Sponsor Parties is itself in breach of any provision of this Agreement or has failed to perform any of its representations, warranties, covenants or agreements set forth in this Agreement, and which breach or failure to perform would result in the failure of the conditions set forth in Section 5.02(a) or Section 5.02(b); or

(f) by either CLMT or the Sponsor Parties if the Conversion has not been consummated prior to the date that is 180 days after the execution of the Conversion Agreement (the “Termination Date”); provided, however, that the Termination Date may be extended for an additional three months upon the mutual agreement of the Parties; provided, further that the right to terminate this Agreement pursuant to this Section 7.01(f) shall not be available if the failure of the Party so requesting termination to perform any covenant or obligation under this Agreement shall have been the primary cause of the failure of the Closing to occur on or prior to such date.

Section 7.02 Effect of Termination. In the event that this Agreement is terminated, this Agreement shall become null and void and no Party, or any Party’s Affiliates, Subsidiaries, directors, officers or employees, shall

 

B-21


Table of Contents

have any further obligation or any liability of any kind to any Person by reason of this Agreement, except for any liability arising out of or resulting from fraud or any willful or intentional breach of any covenant or agreement occurring prior to termination of the Agreement.

ARTICLE VIII.

MISCELLANEOUS

Section 8.01 Non-Survival of Representations, Warranties, Covenants and Agreements. None of the representations, warranties, covenants and agreements of the Parties in this Agreement or in any instrument delivered pursuant to this Agreement shall survive the Effective Time; provided, however, that this Section 8.01 shall not limit the enforceability of any covenant or agreement of the Parties in this Agreement or in any instrument delivered pursuant to this Agreement to the extent that such covenant or agreement contemplates performance after the Effective Time.

Section 8.02 Expenses. In the event that this Agreement is not terminated and the Closing occurs, each Party agrees that it shall be solely responsible for the payment of all costs and expenses incurred by such Party in connection with the consummation of the Transactions.

Section 8.03 Notices. All notices and demands provided for hereunder shall be in writing and shall be given by registered or certified mail, return receipt requested, electronic mail, air courier guaranteeing overnight delivery or personal delivery to the following addresses:

(a) If to the Sponsor Parties:

The Heritage Group

5400 W. 86th Street

Indianapolis, IN 46268

Attention: Amy Schumacher

Email: ams@thgrp.com

With copies (which shall not constitute notice) to:

Kirkland & Ellis LLP

609 Main Street

Houston, Texas 77002

Attention: Sean T. Wheeler

Email: Sean.Wheeler@kirkland.com

(b) If to any CLMT Entity:

Calumet Specialty Products Partners, L.P.

2780 Waterfront Parkway East Drive, Suite 200

Indianapolis, IN 46214

Attention: Greg Morical

Email: greg.morical@calumetspecialty.com

With a copy (which shall not constitute notice) to:

Gibson, Dunn & Crutcher LLP

811 Main Street Suite 3000

Houston, Texas 77002

 

B-22


Table of Contents

Attention: Hillary H. Holmes

Email: HHolmes@gibsondunn.com

(c) If to the Conflicts Committee:

Conflicts Committee of Calumet

Specialty Products Partners, L.P.

2780 Waterfront Pkwy. E. Dr

Indianapolis, IN 46214

Attention: Karen Twitchell, as Chairman

Email: karent@clmt.com

With a copy (which shall not constitute notice) to:

Hunton Andrews Kurth LLP

600 Travis Street Suite 4200

Houston, Texas 77002

Attention: G. Michael O’Leary

Email: moleary@HuntonAK.com

Section 8.04 Headings; References; Interpretation. All Article and Section headings in this Agreement are for convenience only and shall not be deemed to control or affect the meaning or construction of any of the provisions hereof. The words “hereof,” “herein” and “hereunder” and words of similar import, when used in this Agreement, shall refer to this Agreement as a whole, and not to any particular provision of this Agreement. All references herein to Articles and Sections shall, unless the context requires a different construction, be deemed to be references to the Articles and Sections of this Agreement. All personal pronouns used in this Agreement, whether used in the masculine, feminine or neuter gender, shall include all other genders, and the singular shall include the plural and vice versa. The use herein of the word “including” following any general statement, term or matter shall not be construed to limit such statement, term or matter to the specific items or matters set forth immediately following such word or to similar items or matters, whether or not non-limiting language (such as “without limitation,” “but not limited to” or other words of similar import) is used with reference thereto, but rather shall be deemed to refer to all other items or matters that could reasonably fall within the broadest possible scope of such general statement, term or matter.

Section 8.05 Successors and Assigns. This Agreement shall be binding upon and inure to the benefit of the Parties and their respective successors and assigns. No Party may assign either this Agreement or any of its rights, interests or obligations hereunder without the prior written approval of the other Parties.

Section 8.06 No Third-Party Rights. The provisions of this Agreement are intended to bind the Parties as to each other and are not intended to, and do not, create rights in any other Person or confer upon any other Person any benefits, rights or remedies, except as set forth in Section 6.08, and, except as set forth in Section 6.08, no Person is or is intended to be a third-party beneficiary of any of the provisions of this Agreement. Without limiting the generality of the foregoing, the Parties agree that their respective representations, warranties and covenants set forth in this Agreement are the product of negotiations among the Parties and are for the sole benefit of the Parties, in accordance with and subject to the terms of this Agreement, and no other Person has the right to rely upon the representations and warranties, or the right to enforce any covenants, set forth herein. Any inaccuracies in such representations and warranties are subject to waiver by the Parties in accordance with Section 8.10 without notice or liability to any other Person. In some instances, the representations and warranties in this Agreement may represent an allocation among the Parties of risks associated with particular matters regardless of the knowledge of any of the Parties. Consequently, Persons other than the Parties may not rely upon the representations and warranties in this Agreement as characterizations of actual facts or circumstances as of the date of this Agreement or as of any other date.

 

B-23


Table of Contents

Section 8.07 Counterparts. This Agreement may be executed in one or more counterparts, each of which shall be deemed an original, and all of which, when taken together, shall be deemed one agreement. Delivery of an executed counterpart of a signature page of this Agreement by facsimile or other electronic image scan shall be effective as delivery of a manually executed counterpart of this Agreement.

Section 8.08 Applicable Law. This Agreement shall be construed in accordance with and governed by the Laws of the State of Delaware, without regard to the principles of conflicts of law. EACH OF THE PARTIES AGREES THAT THIS AGREEMENT INVOLVES AT LEAST U.S. $100,000.00 AND THAT THIS AGREEMENT HAS BEEN ENTERED INTO IN EXPRESS RELIANCE UPON 6 Del. C. § 2708. EACH OF THE PARTIES IRREVOCABLY AND UNCONDITIONALLY AGREES (a) TO BE SUBJECT TO THE JURISDICTION OF THE COURTS OF THE STATE OF DELAWARE AND OF THE FEDERAL COURTS SITTING IN THE STATE OF DELAWARE, AND (b) TO THE EXTENT SUCH PARTY IS NOT OTHERWISE SUBJECT TO SERVICE OF PROCESS IN THE STATE OF DELAWARE, TO APPOINT AND MAINTAIN AN AGENT IN THE STATE OF DELAWARE AS SUCH PARTY’S AGENT FOR ACCEPTANCE OF LEGAL PROCESS AND TO NOTIFY THE OTHER PARTIES OF THE NAME AND ADDRESS OF SUCH AGENT.

Section 8.09 Severability. Whenever possible, each provision of this Agreement shall be interpreted in such manner as to be valid and effective under Applicable Law, but if any provision of this Agreement or the application of any such provision to any Person or circumstance shall be held invalid, illegal or unenforceable in any respect by a court of competent jurisdiction, such invalidity, illegality or unenforceability shall not affect any other provision hereof, and the Parties shall negotiate in good faith with a view to substitute for such provision a suitable and equitable solution in order to carry out, so far as may be valid and enforceable, the intent and purpose of such invalid, illegal or unenforceable provision.

Section 8.10 Amendment or Modification; Waiver. At any time prior to the Effective Time, any provision of this Agreement may be amended, supplemented or waived in any and all respects by, in the case of an amendment or supplement, the written agreement of the Parties and, in the case of a waiver, the written agreement by the Party against whom the waiver is to be effective; provided, however, that the CLMT Board may not take or authorize any such amendment, supplement or waiver unless it has been approved by the Conflicts Committee; provided, further, that there shall be no amendment or change to the provisions of this Agreement that under applicable Laws, the CLMT Partnership Agreement or stock exchange rule would require further approval by the Limited Partners, unless such amendment is submitted to a vote of the Limited Partners.

Section 8.11 Integration. This Agreement, each of the other Transaction Documents and each of the other instruments referenced herein and therein and in the exhibits attached hereto supersede all previous understandings or agreements among the Parties, whether oral or written, with respect to the subject matter of this Agreement, each of the other Transaction Documents and such other instruments. This Agreement, each of the other Transaction Documents and each of the other instruments contain the entire understanding of the Parties with respect to the subject matter hereof and thereof. There are no unwritten oral agreements between the Parties. No understanding, representation, promise or agreement, whether oral or written, is intended to be or shall be included in or from part of this Agreement unless it is contained in a written amendment hereto executed by the Parties after the date of this Agreement.

Section 8.12 Action of the Sponsor Parties. The Sponsor Parties agree that any action to be taken or consented to by the Sponsor Parties under this Agreement (including any termination by the Sponsor Parties under Article VII or any amendments or waivers of this Agreement under Section 8.10) shall require only the approval of Sponsor Parties holding at least a majority of the membership interests in the General Partner.

[Signature pages follow]

 

B-24


Table of Contents

IN WITNESS WHEREOF, the Parties caused this Agreement to be duly executed as of the date first above written.

 

CALUMET SPECIALTY PRODUCTS PARTNERS, L.P.
By:   Calumet GP, LLC, its general partner

By:

 

  /s/ Gregory J. Morical
Name:   Gregory J. Morical
Title:   Senior Vice President, General Counsel & Secretary

 

[Signature page to Partnership Restructuring Agreement]

B-25


Table of Contents
CALUMET GP, LLC

By:

 

  /s/ Gregory J. Morical
Name:   Gregory J. Morical
Title:   Senior Vice President, General Counsel & Secretary

 

[Signature page to Partnership Restructuring Agreement]

B-26


Table of Contents
THE HERITAGE GROUP

By:

 

  /s/ Amy Schumacher
Name:   Amy Schumacher
Title:   Chief Executive Officer

 

[Signature page to Partnership Restructuring Agreement]

B-27


Table of Contents
/s/ Jennifer Straumins
JENNIFER STRAUMINS

 

[Signature page to Partnership Restructuring Agreement]

B-28


Table of Contents
/s/ William Grube Jr.
WILLIAM GRUBE JR.

 

[Signature page to Partnership Restructuring Agreement]

B-29


Table of Contents

IRREVOCABLE INTERVIVOS TRUST NUMBER 12.27.73 FOR THE BENEFIT OF FRED MEHLERT FEHSENFELD, JR. AND HIS ISSUE U/A DATED DECEMBER 18, 2012

 

By:

 

  /s/ Amy Schumacher
Name:   Amy Schumacher
Title:   Trustee

 

[Signature page to Partnership Restructuring Agreement]

B-30


Table of Contents

MAGGIE FEHSENFELD TRUST NUMBER 106 12.30.74 FOR THE BENEFIT OF FRED MEHLERT FEHSENFELD, JR. AND HIS ISSUE U/A DATED DECEMBER 18, 2012

 

By:

 

  /s/ Amy Schumacher
Name:   Amy Schumacher
Title:   Trustee

 

[Signature page to Partnership Restructuring Agreement]

B-31


Table of Contents

SCHEDULE A

Sponsor Parties

The Heritage Group

Jennifer Straumins

William Grube Jr.

Irrevocable Intervivos Trust Number 12.27.73 for the Benefit of Fred Mehlert Fehsenfeld, Jr. and His Issue U/A Dated December 18, 2012

Maggie Fehsenfeld Trust Number 106 12.30.74 for the Benefit of Fred Mehlert Fehsenfeld, Jr. and His Issue U/A Dated December 18, 2012

 

B-32


Table of Contents

EXHIBIT A

Conversion Steps

 

1.

CLMT incorporates a wholly owned subsidiary, which is a new Delaware corporation (“NewCo”).

 

2.

NewCo forms two 100% owned Delaware limited liability companies (“Merger Sub I” and “Merger Sub II”).

 

3.

Merger Sub II merges with and into CLMT, with CLMT surviving as a subsidiary of the General Partner and of NewCo (the “CLMT Merger”).

 

4.

Immediately after the CLMT Merger, Merger Sub I merges with and into the General Partner, with the General Partner surviving as a wholly owned Subsidiary of NewCo (the “GP Merger,” together with the CLMT Merger, the “Mergers”).

 

5.

In the CLMT Merger, each CLMT Common Unit issued and outstanding immediately prior to the Effective Time (including, for the avoidance of doubt, any CLMT Common Units held by any Sponsor Party or its Affiliates) will be exchanged for one NewCo Share.

 

6.

In the GP Merger, the equity owners of the General Partner will exchange their equity interests in the General Partner for 5,500,000 NewCo Shares and 2,000,000 warrants to purchase NewCo Shares having the terms set forth in Exhibit C below.

 

7.

NewCo will assume the LTIP and amend the same as necessary to reflect the Mergers and exchange of common units for shares, and each holder of a Phantom Unit will exchange each Phantom Unit for one phantom unit in NewCo.

If, between the date of this Agreement and the Effective Time, the outstanding CLMT Common Units shall have been changed into a different number of units or a different class by reason of any distribution, subdivision, reorganization, reclassification, recapitalization, unit split, reverse unit split, combination or exchange, or any similar event shall have occurred, then the number of NewCo Shares to be issued as set forth above shall be equitably adjusted, without duplication, to proportionally reflect such change; provided that nothing in this paragraph shall be construed to permit CLMT to take any action with respect to its securities that is prohibited by the terms of this Agreement.

 

B-33


Table of Contents

EXHIBIT B

Summary of Governance Rights

GOVERNANCE

This term sheet (this “Term Sheet”) describes the principal terms of the post-conversion governance of the successor corporation (such corporation, “Calumet Corp.”) formed by Calumet Specialty Products Partners, L.P. (the “MLP”) pursuant to the terms of that certain Partnership Restructuring Agreement dated as of November 9, 2023 (the “Restructuring Agreement”). This Term Sheet is subject to, among other things, the negotiation of mutually satisfactory definitive documentation.

Board Rights

The board of directors of Calumet Corp. (the “Board”) will be comprised of nine directors divided into three classes. The Class I directors will serve until the first annual meeting after completion of the conversion (the “Conversion”), the Class II directors will serve until the second annual meeting after the Conversion and the Class III directors will serve until the third annual meeting after the Conversion. Thereafter, each director will serve a 3 year term. To the extent required under applicable rules and regulations of the SEC or the stock exchange on which the Calumet Corp. common stock will be listed for trading a majority of the members of the Board will be independent.

The Heritage Group, together with their affiliates, related trusts, trustees, family members, successors and assigns (“THG”) would designate all initial directors to the Board and allocate them among the classes prior to the Conversion. After the Conversion, (i) THG would have the right to nominate three directors to the Board (and all replacements thereof) until THG ceases to own at least 15% of the outstanding common stock of Calumet Corp., (ii) for so long as THG owned less than 15% but 10% or more of the outstanding common stock of Calumet Corp., THG would have the right to nominate two directors to the Board (and each replacement thereof) and (iii) at such time as THG ceases to own at least 10% of the outstanding common stock of Calumet Corp., THG shall not have the right to nominate any directors (the period from the effective date of the Conversion to the date THG ceases to own at least 10% of the outstanding common stock of Calumet Corp., the “Applicable Period”). The directors are intended to be approved in a way that does not result in a Change of Control under the Third Amended and Restated Credit Agreement, dated as of February 23, 2018, by and among Calumet Specialty Products Partners, L.P. and certain of its subsidiaries as Borrowers, certain of its subsidiaries as Guarantors, the Lenders, Bank of America, N.A., as Agent, JPMorgan Chase Bank, N.A and Wells Fargo Bank, N.A., as Co-Syndication Agents, as amended from time to time.

Subject to applicable rules and regulations of the SEC or the stock exchange, each committee of the Board would include at least one THG-designated director during the Applicable Period.

 

1

“Change of Control”—the occurrence of any of the following events:

 

(iv)

the first day on which a majority of the members of the Board of Directors of Calumet GP cease to be composed of individuals (i) who were members of that board on the date of this Agreement, (ii) whose election or nomination to that board was approved by individuals referred to in clause (i) above constituting at the time of such election or nomination at least a majority of that board or (iii) whose election or nomination to that board was approved by individuals referred to in clauses (i) and (ii) above constituting at the time of such election or nomination at least a majority of that board; or

Consent Rights

Each of the following actions would require the consent of THG until the earlier of (1) THG ceasing to own at least 5% of the outstanding common stock of Calumet Corp. and (2) the third anniversary of the Conversion.

 

   

Any amendment, modification or restatement of the organizational documents of Calumet Corp. or any of its significant subsidiaries;

 

B-34


Table of Contents
   

Any increase or decrease in the size of the Board;

 

   

Any appointment or removal of the Chairman of the Board or Chief Executive Officer of Calumet Corp.; and

 

   

Any liquidation, winding up or filing any petition in bankruptcy of Calumet Corp. or any of its significant subsidiaries.

Registration Rights

THG and the other members of the general partner of the MLP would receive customary registration rights covering its securities and those issuable upon exercise of any warrants, including:

 

   

Two demand registrations within any 12 month period, with a minimum offering size of $25 million;

 

   

Piggyback registration rights;

 

   

Resale shelf registration rights;

 

   

Lock-ups for primary offerings not to exceed 60 days;

 

   

Blackout periods not in excess of 45 days at any one time or 90 days during any 360 day period;

 

   

Holder selection of underwriters;

 

   

Reasonable and customary cooperation from management and Calumet Corp., including the provision of legal opinions, comfort letters and road show attendance;

 

   

Payment of underwriting expenses by Calumet Corp. (not exceeding the reasonable fees and expenses of one counsel to the selling holder(s) and selling expenses (i.e., underwriting discounts and commissions only) by the selling holder(s); and

 

   

Continuation of these rights until the registrable securities are actually sold.

 

B-35


Table of Contents

EXHIBIT C

Summary of Common Stock Warrants

SUMMARY INDICATIVE TERMS AND CONDITIONS

COMMON STOCK WARRANTS

This term sheet (this “Term Sheet”) describes the principal terms of the proposed common stock warrants to be issued by a successor corporation formed by Calumet Specialty Products Partners, L.P. (the “MLP”) pursuant to the terms of that certain Partnership Restructuring Agreement dated as of November 9, 2023 (the “Restructuring Agreement”). This Term Sheet is subject to, among other things, the negotiation of mutually satisfactory definitive documentation.

 

Issuer:    The successor corporation to the MLP formed pursuant to the Restructuring Agreement (“Calumet Corp”).
Holders:    The Heritage Group, together with their affiliates, related trusts, trustees, family members, all members of the MLP’s general partner, successors and assigns (the “Holders”).
Number of Warrants:    2,000,000 warrants (the “Warrants”) representing the right to purchase an equal number of shares of publicly traded common stock of Calumet Corp. The number and type of shares of common stock issuable upon exercise of the Warrants shall be equitably adjusted for stock splits, reclassifications, exchanges, reorganizations, mergers, extraordinary dividends of cash or securities and other customary events.
Issue Date:    The closing of the transactions contemplated under the Restructuring Agreement.
Exercise Period of Warrants:    Exercisable at any time, in whole or in part, prior to the third anniversary of the issue date.
Exercise Price of Warrants:    The exercise price per share of the Warrants shall be $20.00, subject to equitable adjustment for stock splits, reclassifications, exchanges, reorganizations, mergers, extraordinary dividends of cash or securities and other customary events.
Cashless Exercise:    Cashless exercise at the option of the Holder.
Registration Rights:    The Holders shall be entitled to customary registration rights under that certain registration rights to be entered into by the Holders and Calumet Corp. as contemplated by Exhibit B of the Restructuring Agreement.
Transfer Restrictions:    None, other than as required by law.
Other Terms:    Such terms as are customary for agreements of this type.
Governing Law:    Delaware.

 

B-36


Table of Contents

Annex B-1

Execution Version

FIRST AMENDMENT TO PARTNERSHIP RESTRUCTURING AGREEMENT

This AMENDMENT TO PARTNERSHIP RESTRUCTURING AGREEMENT (this “Amendment”), by and among CALUMET SPECIALTY PRODUCTS PARTNERS, L.P., a Delaware limited partnership (“CLMT”), CALUMET GP, LLC, a Delaware limited liability company and the general partner of CLMT (the “General Partner”), and each Person set forth on Schedule A attached hereto (collectively, the “Sponsor Parties,” and together with CLMT and the General Partner, the “Parties”) is dated and effective as of February 9, 2024, and amends that certain Partnership Restructuring Agreement (the “Agreement”), dated as of November 9, 2023, by and among the Parties. Unless otherwise provided, capitalized terms used herein but not defined herein shall have the meanings assigned to such terms in the Agreement.

RECITALS

WHEREAS, the Parties desire to enter into this Amendment to amend the Agreement on the terms and conditions set forth herein;

WHEREAS, Section 8.10 of the Agreement provides that any amendment to the Agreement requires (i) written agreement of the Parties and (ii) approval by the Conflicts Committee;

WHEREAS, pursuant to and in accordance with Section 8.10 of the Agreement, the Conflicts Committee has unanimously approved this Amendment; and

WHEREAS, upon the Conflicts Committee’s approval, the CLMT Board has unanimously approved this Agreement.

NOW THEREFORE, for good and valuable consideration, the receipt and sufficiency of which are hereby acknowledged, the Parties hereby agree as follows:

1. Amendments to the Agreement.

(a) The phrase “Merger by CLMT Unitholder Approval” is hereby deleted in its entirety from the end of the first whereas clause under the Recitals and replaced with “Mergers.”

(b) The definition of “CLMT Unitholder Approval” is hereby deleted in its entirety and replaced with the following:

““CLMT Unitholder Approval” means the affirmative vote or consent of a Unit Majority, voting together as a single class at the CLMT Special Meeting, in favor of the approval of (i) the Conversion Agreement, (ii) the classified structure of the NewCo board of directors, and (iii) if presented for vote at the CLMT Special Meeting, the supermajority voting provisions in the NewCo Bylaws and the NewCo Charter.”

(c) The definition of “Shareholders Agreement” is hereby deleted in its entirety and replaced with the following:

““Shareholders Agreement” means the shareholders agreement to be entered into between NewCo and The Heritage Group that will set forth the governance rights of The Heritage Group contemplated on Exhibit B.”

(d) Section 6.09 is hereby deleted in its entirety and replaced with the following:

 

B-1-1


Table of Contents

“Section 6.09 Tax Treatment. The transactions contemplated by Article II and Exhibit A are intended to qualify as transactions described in Section 351 of the Code. The Parties agree to report such transactions in accordance with the foregoing sentence for all U.S. federal income, and any applicable state and local income or franchise, Tax purposes unless otherwise required to do so pursuant to a final determination within the meaning of Section 1313(a) of the Code or applicable state or local income Tax Law. Each Party agrees to take no action, which alone, or in combination with the actions of others, reasonably could be expected to prevent such transactions from qualifying as transactions described in Section 351 of the Code.”

(e) The following is hereby added as the new Section 6.14:

“Section 6.14 NewCo Charter and NewCo Bylaws. Each of the Sponsor Parties hereby agrees and consents to any change to the NewCo Charter or NewCo Bylaws that results from the failure to obtain the approval of the Limited Partners on any proposal related to provisions in the NewCo Charter or NewCo Bylaws (other than the proposals identified in clause (iii) and (iv) of the definition of “CLMT Unitholder Approval”) added to the initial Registration Statement in connection with the resolution of comments from the SEC received on the Registration Statement.”

(f) The following is added as the first step under the heading “Conversion Steps” of Exhibit A:

“The General Partner files IRS Form 8832 to elect to be a corporation for Tax purposes effective prior to the effective time of the Mergers (as defined below).”

(g) The first two paragraphs under the heading “Board Rights” of Exhibit B are hereby deleted in their entirety and replaced with the following:

“The board of directors of Calumet Corp. (the “Board”) will be comprised of ten directors divided into three classes. The Class I directors will initially serve until Calumet Corp.’s 2025 annual meeting, the Class II directors will initially serve until Calumet Corp.’s 2026 annual meeting and the Class III directors will initially serve until Calumet Corp.’s 2027 annual meeting. Thereafter, each director will serve a 3 year term. To the extent required under applicable rules and regulations of the SEC or the stock exchange on which the Calumet Corp. common stock will be listed for trading a majority of the members of the Board will be independent.

The Heritage Group, together with their affiliates, related trusts, trustees, family members, successors and assigns (“THG”) would designate all initial directors to the Board and allocate them among the classes prior to the completion of the conversion (the “Conversion”). After the Conversion, (i) THG would have the right to nominate two directors to the Board (and all replacements thereof) until THG ceases to own at least 16.7% of the outstanding common stock of Calumet Corp., (ii) for so long as THG owned less than 16.7% but 5% or more of the outstanding common stock of Calumet Corp., THG would have the right to nominate one director to the Board (and any replacement thereof), and (iii) at such time as THG ceases to own at least 5% of the outstanding common stock of Calumet Corp., THG shall not have the right to nominate any directors (the period from the effective date of the Conversion to the date THG ceases to own at least 5% of the outstanding common stock of Calumet Corp., the “Applicable Period”). For so long as THG has a right to nominate directors, THG shall have the right to designate its directors as Class I, Class II or Class III. The directors are intended to be approved in a way that does not result in a Change of Control under the Third Amended and Restated Credit Agreement, dated as of February 23, 2018, by and among Calumet Specialty Products Partners, L.P. and certain of its subsidiaries as Borrowers, certain of its subsidiaries as Guarantors, the Lenders, Bank of America, N.A., as Agent, JPMorgan Chase Bank, N.A and Wells Fargo Bank, N.A., as Co-Syndication Agents, as amended from time to time.”

For the avoidance of doubt, footnote 1 in Exhibit B shall not be deleted and shall remain in full force and effect.

2. No Other Amendments. Except as amended hereby, the Agreement shall continue in full force and effect in accordance with its terms.

 

B-1-2


Table of Contents

3. Binding Effect. This Amendment shall be binding upon and inure to the benefit of the Parties and their respective successors and permitted assigns.

5. Governing Law. This Amendment shall be governed in all respects in accordance with the provisions of Section 8.08 of the Agreement.

6. Counterparts. This Amendment may be executed in two or more counterparts, each of which will be deemed to be an original copy of this Amendment and all of which, when taken together, will be deemed to constitute one and the same instrument. The exchange of a fully executed Amendment (in counterparts or otherwise) by electronic mail in “portable document format” (“.pdf”) form or by any other electronic means intended to preserve the original graphic and pictorial appearance of a document, shall be sufficient to bind the Parties to the terms and conditions of this Amendment.

[Signature page follows.]

 

 

B-1-3


Table of Contents

IN WITNESS WHEREOF, the Parties have executed this Amendment to Partnership Restructuring Agreement as of the date first written above.

 

CALUMET SPECIALTY PRODUCTS PARTNERS, L.P.
By:   Calumet GP, LLC, its general partner
By:   /s/ Todd Borgmann
Name:   Todd Borgmann
Title:   Chief Executive Officer

 

 

[Signature page to Amendment to Partnership Restructuring Agreement]

B-1-4


Table of Contents

 

CALUMET GP, LLC

By:

 

  /s/ Todd Borgmann
Name:   Todd Borgmann
Title:   Chief Executive Officer

 

[Signature page to Amendment to Partnership Restructuring Agreement]

B-1-5


Table of Contents

 

THE HERITAGE GROUP

By:

 

  /s/ Amy Schumacher
Name:   Amy Schumacher
Title:   Chief Executive Officer

 

[Signature page to Amendment to Partnership Restructuring Agreement]

B-1-6


Table of Contents

/s/ Jennifer Straumins

 

JENNIFER STRAUMINS

 

 

[Signature page to Amendment to Partnership Restructuring Agreement]

B-1-7


Table of Contents

/s/ William Grube Jr.

 

WILLIAM GRUBE JR.

 

 

[Signature page to Amendment to Partnership Restructuring Agreement]

B-1-8


Table of Contents
IRREVOCABLE INTERVIVOS TRUST NUMBER 12.27.73 FOR THE BENEFIT OF FRED MEHLERT FEHSENFELD, JR. AND HIS ISSUE U/A DATED DECEMBER 18, 2012

By:

 

  /s/ Fred M. Fehsenfeld
Name:   Fred M. Fehsenfeld
Title:   Trustee

 

[Signature page to Amendment to Partnership Restructuring Agreement]

B-1-9


Table of Contents

 

MAGGIE FEHSENFELD TRUST NUMBER 106 12.30.74 FOR THE BENEFIT OF FRED MEHLERT FEHSENFELD, JR. AND HIS ISSUE U/A DATED DECEMBER 18, 2012

By:

 

  /s/ Fred M. Fehsenfeld
Name:   Fred M. Fehsenfeld
Title:   Trustee

 

[Signature page to Amendment to Partnership Restructuring Agreement]

B-1-10


Table of Contents

SCHEDULE A

Sponsor Parties

The Heritage Group

Jennifer Straumins

William Grube Jr.

Irrevocable Intervivos Trust Number 12.27.73 for the Benefit of Fred Mehlert Fehsenfeld, Jr. and His Issue U/A Dated December 18, 2012

Maggie Fehsenfeld Trust Number 106 12.30.74 for the Benefit of Fred Mehlert Fehsenfeld, Jr. and His Issue U/A Dated December 18, 2012

 

B-1-11


Table of Contents

Annex C

CALUMET, INC.

AMENDED AND RESTATED LONG-TERM INCENTIVE PLAN

Section 1. Purpose and History of the Plan.

The Calumet, Inc. Long-Term Incentive Plan (the “Plan”) has been adopted and assumed by Calumet, Inc., a Delaware corporation (the “Company”). The Plan is intended to promote the interests of the Company and its Affiliates by providing to Employees, Consultants and Directors incentive compensation awards based on Shares to encourage superior performance and align the interests of such individuals with the Company’s shareholders. The Plan is also contemplated to enhance the ability of the Company and its Affiliates to attract and retain the services of individuals who are essential for the growth and profitability of the Company and its Affiliates and to encourage them to devote their best efforts to advancing the business of the Company and its Affiliates.

The Plan was originally adopted by Calumet GP, LLC, a Delaware limited liability corporation (“Calumet GP”) on January 24, 2006 and was subsequently amended and restated on December 10, 2015 and December 9, 2021 and [___], 2024, in each case, subject to approval by the unitholders of Calumet Specialty Products Partners, L.P. (the “Partnership”). On [___] (the “Effective Date”), simultaneously with the closing of the transactions contemplated by that certain Conversion Agreement, dated as of [___], 2024, by and among the Partnership, Calumet GP, the Company, and the other parties thereto (the “Conversion Agreement”), the Company assumed the Plan and the Awards outstanding hereunder.

Section 2. Definitions.

As used in the Plan, the following terms shall have the meanings set forth below:

Affiliate” means, with respect to any Person, any other Person that directly or indirectly through one or more intermediaries controls, is controlled by or is under common control with, the Person in question. As used herein, the term “control” means the possession, direct or indirect, of the power to direct or cause the direction of the management and policies of a Person, whether through ownership of voting securities, by contract or otherwise.

ASC Topic 718” means Accounting Standards Codification Topic 718, Compensation—Stock Compensation, or any successor accounting standard.

Award” means an Option, Other Cash-Based Award, Other Stock-Based Award, Restricted Stock Unit, Restricted Stock Award, or Substitute Award granted under the Plan, and shall include any DERs granted with respect to a Restricted Stock Unit, Other Cash-Based Award, or Other Stock-Based Award.

Award Agreement” means the written or electronic agreement by which an Award shall be evidenced.

Beneficial Owner” has the meaning ascribed to such term in Rule 13d-3 under the Exchange Act.

Board” means the Board of Directors of the Company.

Change of Control” means, and shall be deemed to have occurred upon, one or more of the following events:

(i) any “person” or “group”, within the meaning of those terms as used in Sections 13(d) and 14(d)(2) of the Exchange Act, other than an Affiliate, becomes the Beneficial Owner, by way of merger, consolidation, recapitalization, reorganization or otherwise, of fifty percent (50%) or more of the total voting power of the stock of the Company; provided that the provisions of this subsection (i) are not intended to apply to or include as a Change of Control any transaction that is specifically excepted from the definition of Change of Control under subsection (iii) below;

 

C-1


Table of Contents

(ii) a change in the composition of the Board such that, during any 12-month period, the individuals who, as of the beginning of such period, constitute the Board (the “Existing Board”) cease for any reason to constitute at least 50% of the Board; provided, however, that any individual becoming a member of the Board subsequent to the beginning of such period whose election, or nomination for election by the Company’s shareholders, was either (a) a result of the ordinary annual director elections or (b) approved by a vote of at least a majority of the Directors immediately prior to the date of such appointment or election, in each case, shall be considered as though such individual were a member of the Existing Board; provided further, that, notwithstanding the foregoing, no individual whose initial assumption of office occurs as a result of either an actual or threatened election contest (as such terms are used in Rule 14a-11 or Regulation 14A promulgated under the Exchange Act or successor statutes or rules containing analogous concepts) or other actual or threatened solicitation of proxies or consents by or on behalf of an individual, corporation, partnership, group, associate or other entity or Person other than the Board, shall in any event be considered to be a member of the Existing Board;

(iii) consummation of a merger, amalgamation or consolidation of the Company with any other corporation or other entity, or the issuance of voting securities in connection with such a transaction pursuant to applicable stock exchange requirements; provided that immediately following such transaction the voting securities of the Company outstanding immediately prior thereto do not continue to represent (either by remaining outstanding or by being converted into voting securities of the surviving entity of such transaction or parent entity thereof) 50% or more of the total voting power of the Company’s stock (or, if the Company is not the surviving entity of such merger or consolidation, 50% or more of the total voting power and total fair market value of the stock of such surviving entity or parent entity thereof); and provided, further, that such a transaction effected to implement a recapitalization of the Company (or similar transaction) in which no Person is or becomes the Beneficial Owner, directly or indirectly, of securities of the Company (not including in the securities beneficially owned by such Person any securities acquired directly from the Company or its Affiliates other than in connection with the acquisition by the Company or its Affiliates of a business) representing 50% or more of either the then-outstanding Shares or the combined voting power and total fair market value of the Company’s then-outstanding voting securities shall not be considered a Change of Control; or

(iv) the sale or other disposition, including by liquidation or dissolution, of all or substantially all of the assets of the Company in one or more transactions to any Person other than an Affiliate.

Notwithstanding the foregoing, with respect to any Award that is subject to Section 409A of the Internal Revenue Code, “Change of Control” shall have the meaning ascribed to such term in the regulations or other guidance issued with respect to Section 409A.

Committee” means the Board, the Compensation Committee of the Board or such other committee as may be appointed by the Board to administer the Plan.

Consultant” means an individual, including an advisor, who renders consulting services to the Company or any Affiliate that are not in connection with the offer and sale of the Company’s securities in a capital raising transaction and who does not directly or indirectly promote or maintain a market for the Company’s securities. For purposes of the Plan, in the case of a Consultant, references to employment shall be deemed to refer to such Consultant’s service in such capacity, but in no event shall the Plan or any action taken hereunder be construed to create an employer-employee relationship between any such Consultant and the Company or any of its Affiliates.

DER” means a dividend equivalent right, being an amount payable in cash or Shares, as determined by the Committee, equal to the dividends that would have been paid to the Participant if the Share with respect to which the Dividend Equivalent relates had been owned by the Participant.

Director” means a non-employee member of the Board.

Employee” means an employee of the Company or an Affiliate of the Company.

 

C-2


Table of Contents

Exchange Act” means the Securities Exchange Act of 1934, as amended.

Fair Market Value” means the closing sales price of a Share on the principal resale

securities exchange or other market in which trading in Shares occurs on the applicable date (or if there is no trading in the Shares on such date, on the next preceding date on which there was trading) as reported in The Wall Street Journal (or other reporting service approved by the Committee). If Shares are not traded on a national securities exchange or other market at the time a determination of fair market value is required to be made hereunder, the determination of fair market value shall be made in good faith by the Committee in such other manner as it may deem appropriate, and, to the extent applicable, in compliance with the requirements of Section 409A.

Incentive Stock Option” means an option representing the right to purchase Shares granted under the Plan that meets the requirements of Section 422 of the Code.

Non-Qualified Stock Option” means an option representing the right to purchase Shares granted under the Plan that is not an Incentive Stock Option.

Option” means an Incentive Stock Option or a Non-Qualified Stock Option.

Other Cash-Based Award” means an Award granted under the Plan, including cash awarded as a bonus or upon the attainment of specified performance criteria or otherwise as permitted under the Plan.

Other Stock-Based Award” means an Award (other than Options, Restricted Stock or Restricted Stock Units) granted under the Plan that may be denominated or payable in, valued in whole or in part by reference to, or otherwise based on, or related to, Shares or factors that may influence the value of Shares, including convertible or exchangeable debt securities, other rights convertible or exchangeable into Shares, purchase rights for Shares, or Awards with value and payment contingent upon performance of the Company or business units thereof or any other factors designated by the Committee.

Participant” means an Employee, Consultant or Director granted an Award under the Plan.

Person” means an individual or a corporation, limited liability company, partnership, joint venture, trust, unincorporated organization, association, governmental agency or political subdivision thereof or other entity.

Restricted Period” means the period established by the Committee with respect to an Award during which the Award remains subject to forfeiture and is not exercisable by or payable to the Participant, as the case may be.

Restricted Stock” means a Share granted under the Plan that is subject to a Restricted Period.

Restricted Stock Unit” means a contractual right granted under the Plan that is denominated in Shares. Each Restricted Stock Unit represents a right to receive the value of one Share (or a percentage of such value) in cash, Shares or a combination thereof. Awards of Restricted Stock Units may include the right to receive DERs. Each Phantom Unit that was outstanding under this Plan prior to the Effective Date was assumed by the Company on the Effective Date and converted into a Restricted Stock Unit hereunder in accordance with the terms of the Conversion Agreement.

Rule 16b-3” means Rule 16b-3 promulgated by the SEC under the Exchange Act or any successor rule or regulation thereto as in effect from time to time.

SEC” means the Securities and Exchange Commission, or any successor thereto.

Section 409A” means Section 409A of the Internal Revenue Code of 1986, as amended, and the Department of Treasury regulations and other interpretive guidance issued thereunder, including, without limitation, any such regulations or guidance that may be amended or issued after the Effective Date.

 

C-3


Table of Contents

Share” means a share of common stock of the Company, $0.01 par value per share, or such other class or kind of shares or other securities as may be applicable under Section 4(c).

Substitute Award” means an award granted pursuant to Section 6(d)(vii) of the Plan.

Section 3. Administration.

The Plan shall be administered by the Committee. A majority of the Committee shall constitute a quorum, and the acts of the members of the Committee who are present at any meeting thereof at which a quorum is present, or acts unanimously approved by the members of the Committee in writing, shall be the acts of the Committee. Subject to the following and applicable law, the Committee, in its sole discretion, may delegate any or all of its powers and duties under the Plan, including the power to grant Awards under the Plan, to any officer of the Company, subject to such limitations on such delegated powers and duties as the Committee may impose, if any. Upon any such delegation all references in the Plan to the “Committee”, other than in Section 7, shall be deemed to include such officer; provided, however, that such delegation shall not limit the officer’s right to receive Awards under the Plan. Notwithstanding the foregoing, any such officer may not grant Awards to, or take any action with respect to any Award previously granted to, himself or herself, a person who is an officer subject to Rule 16b-3 or a member of the Board. Subject to the terms of the Plan and applicable law, and in addition to other express powers and authorizations conferred on the Committee by the Plan, the Committee shall have full power and authority to: (i) designate Participants; (ii) determine the type or types of Awards to be granted to a Participant; (iii) determine the number of Shares to be covered by Awards; (iv) determine the terms and conditions of any Award; (v) determine whether, to what extent, and under what circumstances Awards may be settled, exercised, canceled, or forfeited; (vi) interpret and administer the Plan and any instrument or agreement relating to an Award made under the Plan; (vii) establish, amend, suspend, or waive such rules and regulations and appoint such agents as it shall deem appropriate for the proper administration of the Plan; and (viii) make any other determination and take any other action that the Committee deems necessary or desirable for the administration of the Plan. The Committee may correct any defect or supply any omission or reconcile any inconsistency in the Plan or an Award Agreement in such manner and to such extent as the Committee deems necessary or appropriate. Unless otherwise expressly provided in the Plan, all designations, determinations, interpretations, and other decisions under or with respect to the Plan or any Award shall be within the sole discretion of the Committee, may be made at any time and shall be final, conclusive, and binding upon all Persons, including the Company, any Affiliate, any Participant, and any beneficiary of any Award.

Section 4. Shares.

 

  (a)

Limits on Shares Deliverable. Subject to adjustment as provided in Section 4(c), from and after the Effective Date the number of Shares that may be issued with respect to Awards under the Plan is [____]. Shares delivered or withheld in satisfaction of the exercise or other purchase price of an Option or the tax withholding obligations associated with an Option will not be available for issuance pursuant to other Awards under the Plan; however; Shares delivered or withheld from any other Award in satisfaction of the tax withholding obligations associated with such Award shall not be considered to be Shares issued under the Plan for this purpose and will be available for issuance pursuant to other Awards. Substitute Awards shall not reduce the Shares available for issuance under the Plan. If any Award is forfeited, cancelled, exercised, or otherwise terminates or expires without the actual issuance of Shares pursuant to such Award, the Shares subject to such Award shall again be available for Awards under the Plan. There shall not be any limitation on the number of Awards that may be granted and paid in cash.

 

  (b)

Sources of Shares Deliverable Under Awards. Any Shares delivered pursuant to an Award shall consist, in whole or in part, of Shares that are authorized and unissued or Shares that were reacquired by the Company, including shares purchased in the open market, as determined by the Committee in its discretion.

 

C-4


Table of Contents
  (c)

Adjustments. With respect to any “equity restructuring” event that could result in an additional compensation expense to the Company pursuant to the provisions of ASC Topic 718 if adjustments to Awards with respect to such event were discretionary, the Committee shall equitably adjust the number and type of Shares (or other securities or property) covered by each outstanding Award and the terms and conditions, including the exercise price and performance criteria (if any), of such Award to equitably reflect such event and shall adjust the number and type of Shares (or other securities or property) with respect to which Awards may be granted under the Plan after such event. With respect to any other similar event that would not result in an accounting charge under ASC Topic 718 if the adjustment to Awards with respect to such event were subject to discretionary action, the Committee shall have complete discretion to adjust Awards and the number and type of Shares (or other securities or property) with respect to which Awards may be granted under the Plan in such manner as it deems appropriate with respect to such other event.

 

  (d)

Subject to adjustment as provided in Section 4(c), from and after the Effective Date the maximum number of Shares available for issuance with respect to Incentive Stock Options is [___]. To the extent that the aggregate Fair Market Value (determined at the time of grant) of Shares with respect to which Incentive Stock Options are exercisable for the first time by any Participant during any calendar year (under all plans of the Company and any Affiliates) exceeds $100,000 (or such other limit established in the Code) or otherwise does not comply with the rules governing Incentive Stock Options, the Options or portions thereof that exceed such limit (according to the order in which they were granted) or otherwise do not comply with such rules will be treated as Non-Qualified Stock Options, notwithstanding any contrary provision of the applicable Award Agreement(s).

Section 5. Eligibility.

Any Employee, Consultant or Director shall be eligible to be designated a Participant and receive an Award under the Plan.

Section 6. Awards.

 

  (a)

Options. The Committee shall have the authority to determine the Employees, Consultants and Directors to whom Options shall be granted, the number of Shares to be covered by each Option, the purchase price therefor and the Restricted Period and other conditions and limitations applicable to the exercise of the Option, including the following terms and conditions and such additional terms and conditions, as the Committee shall determine, that are not inconsistent with the provisions of the Plan. From and after the Effective Date, no DERs shall be granted with respect to an Award of Options under the Plan.

 

  (i)

Exercise Price. The exercise price per Share purchasable under an Option shall be determined by the Committee at the time the Option is granted but, except with respect to a Substitute Award, may not be less than the Fair Market Value of a Share as of the date of grant of the Option.

 

  (ii)

Time and Method of Exercise. The Committee shall determine the exercise terms and the Restricted Period with respect to an Option grant, which may include, without limitation, the provision for accelerated vesting up on the achievement of specified performance goals or other events, and the method or methods by which payment of the exercise price with respect thereto may be made or deemed to have been made, which may include, without limitation, cash, check acceptable to the Company, a “cashless-broker” exercise through procedures approved by the Company, withholding Shares to be acquired upon the Option exercise, or any combination of methods, having a Fair Market Value on the exercise date equal to the relevant exercise price.

 

  (iii)

Forfeitures. Except as otherwise provided in the terms of the Option grant, upon termination of a Participant’s employment with or consulting services to the Company and its Affiliates or membership on the Board, whichever is applicable, for any reason during the applicable Restricted

 

C-5


Table of Contents
  Period, all Options shall be forfeited by the Participant. The Committee may, in its discretion, waive in whole or in part such forfeiture with respect to a Participant’s Options.

 

  (iv)

Term of Options. The term of each Option shall be for such period as may be determined by the Committee, but such term may not exceed 10 years.

 

  (v)

Incentive Stock Options. The terms of each Incentive Stock Option granted under the Plan shall comply in all respects with the provisions of Section 422 of the Code. Incentive Stock Options may be granted only to employees of the Company or of a parent or subsidiary corporation (as defined in Section 424 of the Code).

 

  (b)

Restricted Shares and Restricted Stock Units. The Committee shall have the authority to determine the Employees, Consultants and Directors to whom Restricted Shares or Restricted Stock Units shall be granted, the number of Restricted Shares or Restricted Stock Units to be granted to each such Participant, the Restricted Period, the conditions under which the Restricted Shares or Restricted Stock Units may become vested or forfeited and such other terms and conditions as the Committee may establish with respect to such Awards.

 

  (i)

DERs. To the extent provided by the Committee, in its discretion, a grant of Restricted Stock Units may include a tandem DER grant, which may provide that such DERs shall be paid directly to the Participant, be credited to a bookkeeping account (with or without interest in the discretion of the Committee), deemed reinvested in additional Restricted Stock Units, or be subject to such other provisions or restrictions as determined by the Committee in its discretion. Except as otherwise provided in the terms of the Award Agreement governing the tandem Restricted Stock Unit Award, any such DERs shall be subject to the same vesting restrictions as the tandem Restricted Stock Unit Award and shall only be settled if and to the extent the underlying Restricted Stock Unit Award vests.

 

  (ii)

Dividends. A Participant shall generally have the rights and privileges of a shareholder with respect to Awards of Restricted Shares, including the right to vote such Restricted Shares and the right to receive dividends. Dividends paid by the Company with respect to the Restricted Shares shall be subject to the same forfeiture and other restrictions as the Restricted Shares and, such amounts shall be held (with or without interest as determined by the Committee in its sole discretion), until the Restricted Shares vest or are forfeited with the dividend being paid or forfeited at the same time, as the case may be.

 

  (iii)

Forfeitures. Except as otherwise provided in the terms of the Award Agreement governing Restricted Shares or Restricted Stock Units, upon termination of a Participant’s employment with or consulting services to the Company and its Affiliates or membership on the Board, whichever is applicable, for any reason during the applicable Restricted Period, all outstanding Restricted Shares and Restricted Stock Units awarded the Participant shall be automatically forfeited on such termination. The Committee may, in its discretion, waive in whole or in part such forfeiture with respect to a Participant’s Restricted Shares and/or Restricted Stock Units.

 

  (iv)

Lapse of Restrictions.

 

  (A)

Restricted Stock Units. Except as otherwise set forth in an Award Agreement, upon or as soon as reasonably practical following the vesting of each Restricted Stock Unit, but in no event following the date that is two and 12 months following the vesting event, and subject to the provisions of Section 8(b), the Participant shall be entitled to receive from the Company one Share or cash equal to the Fair Market Value of a Share, as determined by the Committee in its discretion.

 

  (B)

Restricted Shares. Upon or as soon as reasonably practical following the vesting of each Restricted Share, subject to satisfying the tax withholding obligations of Section 8(b), the Participant shall be entitled to have the restrictions removed from his or her Share certificate so that the Participant then holds an unrestricted Share.

 

C-6


Table of Contents
  (v)

Deferral of Restricted Stock Units. Notwithstanding any other provision in this Section 6(b), the Committee may provide for the deferral of a settlement of vested Restricted Stock Units. Deferred settlement may be required by the Committee or permitted at the election of the Participant on terms and conditions established by the Committee at the time of award of the Restricted Stock Unit and in accordance with the deferral provisions established for the Calumet, Inc. Executive Deferred Compensation Plan. Deferred settlement may include, without limitation, provisions for the payment or crediting of DERs during the deferral period.

 

  (c)

Other Cash-Based Awards and Other Stock-Based Awards. The Committee shall have the authority, subject to limitations under applicable law, to grant Other Cash-Based Awards (either independently or as an element of or supplement to any other Award under the Plan) and Other Stock-Based Awards, to determine the Employees, Consultants and Directors to whom Other Cash-Based Awards and Other Stock-Based Awards shall be granted, the Restricted Period, the conditions under which the Other-Cash Based Awards or Other Share-Based Awards may become vested or forfeited and such other terms and conditions as the Committee may establish with respect to such Awards. Shares delivered pursuant to an Award in the nature of a purchase right granted under this Section 6(c) shall be purchased for such consideration, and paid for at such times, by such methods and in such forms, including cash, Shares, other Awards, other property, net settlement, broker-assisted cashless exercise or any combination thereof, as the Committee shall determine; provided that the purchase price therefor shall not be less than the Fair Market Value of such Shares on the date of grant of such right.

 

  (d)

General.

 

  (i)

Awards May Be Granted Separately or Together. Awards may, in the discretion of the Committee, be granted either alone or in addition to, in tandem with, or in substitution for any other Award granted under the Plan or any award granted under any other plan of the Company or any Affiliate. Awards granted in addition to or in tandem with other Awards or awards granted under any other plan of the Company or any Affiliate may be granted either at the same time as or at a different time from the grant of such other Awards or awards.

 

  (ii)

Limits on Transfer of Awards.

 

  (A)

Except as provided in Paragraph (C) below, each Option shall be exercisable only by the Participant during the Participant’s lifetime, or by the person to whom the Participant’s rights shall pass by will or the laws of descent and distribution.

 

  (B)

Except as provided in Paragraph (C) below, no Award and no right under any such Award may be assigned, alienated, pledged, attached, sold or otherwise transferred or encumbered by a Participant and any such purported assignment, alienation, pledge, attachment, sale, transfer or encumbrance shall be void and unenforceable against the Company or any Affiliate.

 

  (C)

To the extent specifically provided by the Committee with respect to an Option, an Option may be transferred by a Participant without consideration to the Participant’s spouse, parents, children or grandchildren (including any adopted and stepchildren and grandchildren) or a trust for the benefit of one or more of such persons in which such persons have more than fifty percent (50%) of the beneficial interest or otherwise on such terms and conditions as the Committee may from time to time establish.

  (iii)

Share Certificates. All certificates for Shares or other securities of the Company delivered under the Plan pursuant to any Award or the exercise thereof shall be subject to such stop transfer orders and other restrictions as the Committee may deem advisable under the Plan or the rules, regulations, and other requirements of the SEC, any stock exchange upon which such Shares or other securities are then listed, and any applicable federal or state laws, and the Committee may cause a legend or legends to be inscribed on any such certificates to make appropriate reference to such restrictions.

 

C-7


Table of Contents
  (iv)

Consideration for Grants. Awards may be granted for such consideration, including services, as the Committee determines.

 

  (v)

Delivery of Shares or other Securities and Payment by Participant of Consideration. Notwithstanding anything in the Plan or any grant agreement to the contrary, delivery of Shares pursuant to the exercise or vesting of an Award may be deferred for any period during which, in the good faith determination of the Committee, the Company is not reasonably able to obtain Shares to deliver pursuant to such Award without violating applicable law or the applicable rules or regulations of any governmental agency or authority or securities exchange. No Shares or other securities shall be delivered pursuant to any Award until payment in full of any amount required to be paid pursuant to the Plan or the applicable Award grant agreement (including, without limitation, any exercise price or tax withholding) is received by the Company.

 

  (vi)

Prohibition on Repricing of Options. Subject to the provisions of Section 4(c) or Section 7(c), the terms of outstanding Award Agreements may not be amended without the approval of the Company’s shareholders so as to (A) reduce the per Share exercise price of any outstanding Options, (B) grant a new Option or other Award in substitution for, or upon the cancellation of, any previously granted Option that has the effect of reducing the exercise price thereof, (C) exchange any Option for Shares, cash or other consideration when the exercise price per Share under such Option exceeds the Fair Market Value of the underlying Shares, or (D) take any other action that would be considered a “repricing” of an Option under the listing standards of the applicable national securities exchange on which the Shares are then listed. Subject to Section 4(c) or Section 7(c), the Committee shall have the authority, without the approval of the Company’s shareholders, to amend any outstanding Award to increase the per Share exercise price of any outstanding Options or to cancel and replace any outstanding Options with the grant of Options having a per Share exercise price that is equal to or greater than the per Share exercise price of the original Options.

 

  (vii)

Substitute Awards. Awards may be granted under the Plan in substitution for similar assumed, canceled or forfeited awards held by individuals who become Employees, Consultants or Directors as a result of a merger, consolidation or acquisition by the Company or an Affiliate of another entity or the assets of another entity. Such Substitute Awards that are Options may have exercise prices less than the Fair Market Value of a Share on the date of such substitution.

 

  (viii)

Conditions and Restrictions Upon Securities Subject to Award. The Committee may provide that Shares issued upon exercise of an Option or otherwise subject to or issued under an Award shall be subject to such further agreements, restrictions, conditions or limitations as the Committee in its discretion may specify prior to the exercise of such Option or the grant, vesting or settlement of such Award, including conditions on vesting or transferability, forfeiture or repurchase provisions and method of payment for the Shares issued upon exercise, vesting or settlement of such Award (including the actual or constructive surrender of Shares already owned by the Participant) or payment of taxes arising in connection with an Award. Without limiting the foregoing, such restrictions may address the timing and manner of any resales by the Participant or other subsequent transfers by the Participant of any Shares issued under an Award, including (a) restrictions under an insider trading policy or pursuant to applicable law, (b) restrictions designed to delay and/or coordinate the timing and manner of sales by the Participant and holders of other Company equity compensation arrangements, (c) restrictions as to the use of a specified brokerage firm for such resales or other transfers and (d) provisions requiring Shares be sold on the open market or to the Company in order to satisfy tax withholding or other obligations.

Section 7. Amendment and Termination.

Except to the extent prohibited by applicable law:

 

  (a)

Amendments to the Plan. Except as required by the rules of the principal securities exchange on which the Shares are traded and subject to Section 7(b) below, the Board or the Committee may amend, alter,

 

C-8


Table of Contents
  suspend, discontinue, or terminate the Plan in any manner, including increasing the number of Shares available for Awards under the Plan, without the consent of any Participant, other holder or beneficiary of an Award, or any other Person.

 

  (b)

Amendments to Awards. Subject to Section 7(a), the Committee may waive any conditions or rights under, amend any terms of, or alter any Award theretofore granted, provided no change, other than pursuant to Section 7(c), in any Award shall materially reduce the benefit to a Participant without the consent of such Participant.

 

  (c)

Actions Upon the Occurrence of Certain Events. Upon the occurrence of any event described in Section 4(c) of the Plan, any Change of Control, any change in applicable law or regulation affecting the Plan or Awards thereunder, or any change in accounting principles affecting the financial statements of the Company, the Committee, in its sole discretion and on such terms and conditions as it deems appropriate, may take any one or more of the following actions in order to prevent dilution or enlargement of the benefits or potential benefits intended to be made available under the Plan or an outstanding Award:

 

  (i)

provide for either (A) the termination of any Award in exchange for an amount of cash, if any, equal to the amount that would have been attained upon the exercise of such Award or realization of the Participant’s rights (and, for the avoidance of doubt, if as of the date of the occurrence of such transaction or event the Committee determines in good faith that no amount would have been attained upon the exercise of such Award or realization of the Participant’s rights, then such Award may be terminated by the Company without payment) or (B) the replacement of such Award with other rights or property selected by the Committee in its sole discretion;

 

  (ii)

provide that such Award be assumed by the successor or survivor entity, or a parent or subsidiary thereof, or be exchanged for similar options, rights or awards covering the equity of the successor or survivor, or a parent or subsidiary thereof, with appropriate adjustments as to the number and kind of equity interests and prices;

 

  (iii)

make adjustments in the number and type of Shares (or other securities or property) subject to outstanding Awards, and in the number and kind of outstanding Awards or in the terms and conditions of (including the exercise price), and the vesting/performance criteria included in, outstanding Awards, or both;

 

  (iv)

provide that such Award shall be exercisable or payable, notwithstanding anything to the contrary in the Plan or the applicable Award Agreement; and

 

  (v)

provide that the Award cannot be exercised or become payable after such event, i.e., shall terminate upon such event.

Notwithstanding the foregoing, (i) with respect to any “equity restructuring” event that could result in an additional compensation expense to the Company pursuant to the provisions of ASC Topic 718, the provisions in Section 4(c) shall control to the extent they are in conflict with the discretionary provisions of this Section 7(c).

Section 8. General Provisions.

 

  (a)

No Rights to Award. No Person shall have any claim to be granted any Award under the Plan, and there is no obligation for uniformity of treatment of Participants. The terms and conditions of Awards need not be the same with respect to each recipient.

 

  (b)

Tax Withholding. Unless other arrangements have been made that are acceptable to the Company, the Company or any Affiliate is authorized to withhold from any Award, from any payment due or transfer made under any Award or from any compensation or other amount owing to a Participant the amount (in cash, Shares, Shares that would otherwise be issued pursuant to such Award or other property) of any applicable taxes payable in respect of the grant of an Award, its exercise, the lapse of restrictions

 

C-9


Table of Contents
  thereon, or any payment or transfer under an Award or under the Plan and to take such other action as may be necessary in the opinion of the Company to satisfy its withholding obligations for the payment of such taxes. Any determination made by the Committee to allow a Participant who is subject to Rule 16b-3 to pay taxes with Shares through net settlement or previously owned shares shall be approved by a committee made up of two or more “nonemployee directors” (as defined within Rule 16b-3) or the full Board. If such tax obligations are satisfied through the withholding of Shares that are otherwise issuable to the Participant pursuant to an Award (or through the surrender of Shares by the Participant to the Company), the maximum number of Shares that may be so withheld (or surrendered) shall be the number of Shares that have an aggregate Fair Market Value on the date of withholding or repurchase equal to the aggregate amount of such tax liabilities determined based on the greatest withholding rates for federal, state, foreign and/or local tax purposes, including payroll taxes, that may be utilized without creating adverse accounting treatment with respect to such Award, as determined by the Committee.

 

  (c)

No Right to Employment or Services. The grant of an Award shall not be construed as giving a Participant the right to be retained in the employ of the Company or any Affiliate, continue consulting services or to remain on the Board, as applicable. Furthermore, the Company or an Affiliate may at any time dismiss a Participant from employment or consulting free from any liability or any claim under the Plan, unless otherwise expressly provided in the Plan, any Award agreement or other agreement.

 

  (d)

Governing Law. The validity, construction, and effect of the Plan and any rules and regulations relating to the Plan shall be determined in accordance with the laws of the State of Delaware without regard to its conflict of laws principles.

 

  (e)

Severability. If any provision of the Plan or any Award is or becomes or is deemed to be invalid, illegal, or unenforceable in any jurisdiction or as to any Person or Award, or would disqualify the Plan or any Award under any law deemed applicable by the Committee, such provision shall be construed or deemed amended to conform to the applicable law, or if it cannot be construed or deemed amended without, in the determination of the Committee, materially altering the intent of the Plan or the Award, such provision shall be stricken as to such jurisdiction, Person or Award and the remainder of the Plan and any such Award shall remain in full force and effect.

 

  (f)

Other Laws. The Committee may refuse to issue or transfer any Shares or other consideration under an Award if, in its sole discretion, it determines that the issuance or transfer of such Shares or such other consideration might violate any applicable law or regulation, the rules of the principal securities exchange on which the Shares are then traded, or entitle the Company or an Affiliate to recover the same under Section 16(b) of the Exchange Act, and any payment tendered to the Company by a Participant, other holder or beneficiary in connection with the exercise of such Award shall be promptly refunded to the relevant Participant, holder or beneficiary.

 

  (g)

No Trust or Fund Created. Neither the Plan nor any Award shall create or be construed to create a trust or separate fund of any kind or a fiduciary relationship between the Company or any participating Affiliate and a Participant or any other Person. To the extent that any Person acquires a right to receive payments from the Company or any participating Affiliate pursuant to an Award, such right shall be no greater than the right of any general unsecured creditor of the Company or any participating Affiliate.

 

  (h)

No Fractional Shares. No fractional Shares shall be issued or delivered pursuant to the Plan or any Award, and the Committee shall determine whether cash, other securities, or other property shall be paid or transferred in lieu of any fractional Shares or whether such fractional Shares or any rights thereto shall be canceled, terminated, or otherwise eliminated.

 

  (i)

Headings. Headings are given to the Sections and subsections of the Plan solely as a convenience to facilitate reference. Such headings shall not be deemed in any way material or relevant to the construction or interpretation of the Plan or any provision thereof.

 

C-10


Table of Contents
  (j)

Facility Payment. Any amounts payable hereunder to any person under legal disability or who, in the judgment of the Committee, is unable to manage properly his financial affairs, may be paid to the legal representative of such person, or may be applied for the benefit of such person in any manner that the Committee may select, and the Company shall be relieved of any further liability for payment of such amounts.

 

  (k)

Gender and Number. Words in the masculine gender shall include the feminine gender, the plural shall include the singular and the singular shall include the plural.

 

  (l)

Compliance with Section 409A. Nothing in the Plan or any Award Agreement shall operate or be construed to cause the Plan or an Award to fail to comply with the requirements of Section 409A. The applicable provisions of Section 409A and the regulations and guidelines issued thereunder are hereby incorporated by reference and, with respect to an Award the Committee intended to comply with Section 409A, shall control over any Plan or Award Agreement provision in conflict therewith. Subject to any other restrictions or limitations contained herein, in the event that a “specified employee” (as defined under Section 409A) becomes entitled to a payment under an Award that constitutes a “deferral of compensation” (as defined under Section 409A) on account of a “separation from service” (as defined under Section 409A), to the extent required by Section 409A to avoid the imposition of additional taxes or penalties, such payment shall not occur until the date that is six months plus one day from the date of such separation from service (or the date of the individual’s death, if earlier). Any amount that is otherwise payable within the six-month period described herein will be aggregated and paid in a lump sum without interest.

 

  (m)

Clawback Policy. To the extent required by applicable law or any applicable securities exchange listing standards (including, without limitation, Section 10D of the Exchange Act and any rules promulgated thereunder), or as otherwise determined by the Committee, Awards and amounts paid or payable pursuant to or with respect to Awards shall be subject to the provisions of any applicable clawback policies or procedures adopted by the Company, which clawback policies or procedures may provide for forfeiture, repurchase and/or recoupment of Awards and amounts paid or payable pursuant to or with respect to Awards. Notwithstanding any provision of the Plan or any Award Agreement to the contrary, the Company reserves the right, without the consent of any Participant or beneficiary of any Award, to adopt any such clawback policies and procedures, including such policies and procedures applicable to the Plan or any Award Agreement with retroactive effect.

Section 9. Term of the Plan.

The Plan, as herein restated, shall be effective on the Effective Date and shall continue until the earliest of (i) the date terminated by the Board or the Committee, (ii) all Shares available under the Plan have been paid to Participants, or (iii) February 8, 2034. Unless otherwise expressly provided in the Plan or in an applicable Award Agreement, however, any Award granted prior to such termination, and the authority of the Board or the Committee to amend, alter, adjust, suspend, discontinue, or terminate any such Award or to waive any conditions or rights under such Award, shall extend beyond such termination date.

 

C-11


Table of Contents

Annex D

November 9, 2023

CONFIDENTIAL

The Conflicts Committee of the Board of Directors of Calumet GP, LLC,

The general partner of Calumet Specialty Products Partners, L.P.

2780 Waterfront Parkway East Drive

Indianapolis, Indiana 46214

Members of the Conflicts Committee:

We understand that Calumet Specialty Products Partners, L.P. (“Calumet” or the “Partnership”) proposes to enter into a Partnership Restructuring Agreement, dated as of the date hereof (the “Agreement”), with Calumet GP, LLC (the “General Partner”) and the “Sponsor Parties” named therein, pursuant to which, the parties thereto agree that they will, within three months from the date of the Agreement, negotiate and enter into an agreement (the “Conversion Agreement”) to effect the following: (a) Calumet will form a new corporation (“Calumet Corp.”); (b) Calumet Corp. will form two 100% owned limited liability companies (“Merger Sub I” and “Merger Sub II”); (c) Merger Sub I will merge with and into the General Partner, with the General Partner surviving as a wholly owned subsidiary of Calumet Corp. (the “GP Merger”); (d) Merger Sub II will merge with and into the Partnership, with the Partnership surviving as a subsidiary of Calumet Corp. (the “Partnership Merger”); (e) in the GP Merger, the equity owners of the General Partner will exchange their equity interests in the General Partner (which currently owns all of the Incentive Distribution Rights (“IDRs”) of the Partnership and a 2.0% economic general partner interest in the Partnership) for 5.5 million shares of common stock of Calumet Corp. (“Common Stock”) and warrants of Calumet Corp. to acquire 2.0 million shares of Common Stock, with an exercise price of $20.00 per share of Common Stock, cashless exercise at the option of the holder, and an exercise period of three-years following the issue date (the “Warrants;” such Common Stock and Warrants issuable by Calumet Corp., the “Consideration”); and (f) in the Partnership Merger, the holders of common units representing limited partner interests of the Partnership (“Common Units”) will exchange each Common Unit for one share of Common Stock (such transactions contemplated by the Agreement, the “Transaction”). Pursuant to the Agreement, the Partnership has also agreed that The Heritage Group, an affiliate of the General Partner, together with their affiliates, related trust, trustees, family members, successors and assigns will be granted certain governance rights in Calumet Corp. in connection with the closing of the Transaction. The terms and conditions of the Transaction are more fully set forth in the Agreement.

The Conflicts Committee of the Board of Directors of the General Partner (the “Conflicts Committee”) has asked us whether, in our opinion, the Consideration is fair, from a financial point of view, to the Partnership and the holders of Common Units other than any Transaction counterparty (including the General Partner) and its affiliates (such holders, the “Unaffiliated Holders”).

In connection with rendering our opinion, we have, among other things:

 

  (i)

reviewed certain publicly available historical operating and financial information relating to the Partnership that we deemed relevant, including as set forth in the Partnership’s Annual Report on Form 10-K for the year ended December 31, 2022, the Partnership’s Quarterly Report on Form 10- Q for the quarter ended June 30, 2023, and certain of the Partnership’s Current Reports on Form 8-K, in each case as filed with or furnished to the Securities and Exchange Commission;

 

  (ii)

reviewed certain internal projected financial data relating to the Partnership prepared and furnished to us by management of the Partnership, as approved for our use by the Partnership (the “Forecasts”);

 

  (iii)

discussed with management of the Partnership their assessment of the past and current operations of the Partnership, the current financial condition and prospects of the Partnership, and the Forecasts;

 

D-1


Table of Contents
  (iv)

reviewed certain published information regarding commodity prices;

 

  (v)

reviewed the reported prices and the historical trading activity of the Common Units;

 

  (vi)

analyzed the value of the Warrants to be issued in the Transaction;

 

  (vii)

performed discounted cash flow analyses on the Partnership and the IDRs based on forecasts and other data provided by management of the Partnership;

 

  (viii)

reviewed the financial metrics of certain historical transactions involving assets similar to the Incentive Distribution Rights and the General Partner Interest that we deemed relevant and compared such financial metrics to those implied by the Transaction;

 

  (ix)

compared certain metrics implied by the Transaction to the premiums paid to high-vote shareholders by low-vote shareholders in precedent dual class recapitalizations;

 

  (x)

compared the financial performance of the Partnership and its stock market trading multiples with those of certain other publicly traded companies and partnerships that we deemed relevant;

 

  (xi)

compared the financial performance of the Partnership and the valuation multiples relating to the Transaction with the financial terms, to the extent publicly available, of certain other transactions that we deemed relevant;

 

  (xii)

reviewed the financial terms and conditions of the draft Agreement dated November 9, 2023; and

 

  (xiii)

performed such other analyses and examinations, held such other discussions, and considered such other factors and information that we deemed appropriate.

For purposes of our analysis and opinion, we have assumed and relied upon the accuracy and completeness of the financial and other information publicly available, and all of the information supplied or otherwise made available to, discussed with, or reviewed by us, without any independent verification of such information (and have not assumed responsibility or liability for any independent verification of such information), and have further relied upon the assurances of the management of the Partnership that they are not aware of any facts or circumstances that would make such information inaccurate or misleading. With respect to the Forecasts, we have assumed with your consent that they have been reasonably prepared on bases reflecting the best currently available estimates and good faith judgments of management of the Partnership as to the future financial performance of the Partnership. We express no view as to the Forecasts or the assumptions on which they are based.

For purposes of our analysis and opinion, we have assumed, in all respects material to our analysis, that the final executed Agreement and such other documents relating to the Transaction will not differ from the draft Agreement and such other documents reviewed by us, that the representations and warranties of each party contained in the Agreement are true and correct, that each party will perform all of the covenants and agreements required to be performed by it under the Agreement and that all conditions to the consummation of the Transaction will be satisfied without waiver or modification thereof. Except as otherwise explicitly stated herein, we have assumed, in all respects material to our opinion, that the transactions contemplated by the Agreement (including the execution, delivery and applicable approvals of the Conversion Agreement) will be consummated as contemplated in the Agreement. We have assumed that any modification to the structure of the Transaction (including as may be set forth in the Conversion Agreement) will not vary in any respect material to our analysis. We have further assumed, in all respects material to our analysis, that all governmental, regulatory or other consents, approvals or releases necessary for the consummation of the Transaction will be obtained without any delay, limitation, restriction or condition that would have an adverse effect on the Partnership or the consummation of the Transaction or reduce the contemplated benefits of the Transaction to the Partnership or the Unaffiliated Holders.

We have relied, at the direction of the Conflicts Committee, upon the assessment of the General Partner as to (i) the potential impact on the Partnership of market and other trends and prospects for, and governmental,

 

D-2


Table of Contents

regulatory and legislative matters relating to or otherwise affecting, the oil and gas, specialty products and renewable fuels industry, including commodity pricing and supply and demand for oil, gas, specialty products and renewable fuels, (ii) the potential impact of the Transaction on the operations, results and prospects of the Partnership, and (iii) existing and future contracts and relationships, agreements and arrangements with third parties that are necessary and desirable for the operation of the Partnership. We have undertaken no independent analysis of any potential or actual litigation, regulatory action, possible unasserted claims or other contingent liabilities, to which the Partnership or its affiliates is or may be a party or is or may be subject. We also assumed, and management of the General Partner has confirmed for us, that there were no material changes in the liabilities, financial condition, results of operations, business or prospects of or relating to the Partnership since the date of the latest information relating to the Partnership made available to us.

We have not conducted a physical inspection of the properties or facilities of the Partnership and have not made or assumed any responsibility for making any independent valuation or appraisal of the assets or liabilities (including any contingent, derivative or other off-balance sheet assets and liabilities) of the Partnership, nor have we been furnished with any such valuations or appraisals, nor have we evaluated the solvency or fair value of the Partnership under any state or federal laws relating to bankruptcy, insolvency or similar matters. Our opinion is necessarily based upon information made available to us as of the date hereof and financial, economic, market and other conditions as they exist and as can be evaluated on the date hereof. It is understood that subsequent developments may affect this opinion and that we do not have any obligation to update, revise or reaffirm this opinion.

We have not been asked to pass upon, and express no opinion with respect to, any matter other than the fairness to the Partnership and the Unaffiliated Holders, from a financial point of view, of the Consideration. We do not express any view on, and our opinion does not address, the fairness of the proposed transaction to, or any consideration received in connection therewith by, the holders of any other class of securities, creditors or other constituencies of the Partnership, nor as to the fairness of the amount or nature of any compensation to be paid or payable to any of the officers, directors or employees of the Partnership, or any class of such persons, whether relative to the Consideration or otherwise. We have not been asked to, nor do we express any view on, and our opinion does not address, any other term or aspect of the Agreement or the Transaction, including, without limitation, the structure or form of the Transaction, or any term or aspect of any other agreement or instrument contemplated by the Agreement or entered into or amended in connection with the Agreement. Our opinion does not address the relative merits of the Transaction as compared to other business or financial strategies that might be available to the Partnership, nor does it address the underlying business decision of the Partnership to engage in the Transaction (including the effective conversion from a partnership to a C-corporation for tax purposes). Our opinion does not constitute a recommendation to the Conflicts Committee or to any other persons in respect of the Transaction, including as to how any holder of Common Units should vote or act in respect of the Transaction. We are not expressing any opinion as to the prices at which the Common Units will trade at any time, as to the potential effects of volatility in the credit, financial and stock markets on the Partnership or the Transaction or as to the impact of the Transaction on the solvency or viability of the Partnership or the ability of the Partnership to pay its obligations when they come due (or with respect to the Common Stock or impacts on Calumet Corp.). We express no view or opinion as to historical and projected distribution coverage ratios on Common Units or Common Stock, or the tax impact of the Transaction on any person or entity. Our opinion does not constitute a tax opinion and cannot be used by any taxpayer for the purpose of avoiding tax penalties. We (i) make no conclusion on the valuation or pricing for tax purposes or the effects of federal income tax laws on any party and (ii) have assumed that the Partnership’s intended tax treatment of the Transaction will be respected. Each person should seek legal, regulatory, accounting and tax advise based on his, her or its particular circumstances from independent advisors regarding the evaluation and impact of any transactions or matters described herein. Without limiting the generality of foregoing, our opinion does not reflect the impact of any regulatory action, unasserted claims or litigation to which the General Partner, the Partnership or their respective affiliates may be subject in the future. We are not legal, regulatory, accounting or tax experts and have assumed the accuracy and completeness of assessments by the Partnership and its advisors with respect to legal, regulatory, accounting and tax matters.

 

D-3


Table of Contents

We have acted as financial advisor to the Conflicts Committee in connection with the Transaction and will receive fees for our services, a portion of which were received upon execution of Evercore Group L.L.C.’s engagement letter dated August 30, 2023, a portion of which is payable upon rendering this opinion and a portion of which is contingent upon the consummation of the Transaction. The Partnership has also agreed to reimburse our expenses and to indemnify us against certain liabilities arising out of our engagement. During the two year period prior to the date hereof, Evercore Group L.L.C. and its affiliates have not been engaged to provide financial advisory or other services to the Partnership and we have not received any compensation from the Partnership during such period. In addition, during the two year period prior to the date hereof, Evercore Group L.L.C. and its affiliates have not been engaged to provide financial advisory or other services to the General Partner or its affiliates and we have not received any compensation from the General Partner or its affiliates during such period. We may provide financial advisory or other services to the Partnership or the General Partner in the future, and in connection with any such services we may receive compensation.

Evercore Group L.L.C. and its affiliates engage in a wide range of activities for our and their own accounts and the accounts of customers, including corporate finance, mergers and acquisitions, equity sales, trading and research, private equity, placement agent, asset management and related activities. In connection with these businesses or otherwise, Evercore Group L.L.C. and its affiliates and/or our or their respective employees, as well as investment funds in which any of them may have a financial interest, may at any time, directly or indirectly, hold long or short positions and may trade or otherwise effect transactions for their own accounts or the accounts of customers, in debt or equity securities, senior loans and/or derivative products or other financial instruments of or relating to the Partnership, the General Partner, potential parties to the Transaction and/or any of their respective affiliates or persons that are competitors, customers or suppliers of the Partnership or the General Partner.

Our financial advisory services and this opinion are provided for the information and benefit of the Conflicts Committee (in its capacity as such) in connection with its evaluation of the proposed Transaction. The issuance of this opinion has been approved by an Opinion Committee of Evercore Group L.L.C.

This opinion may not be disclosed, quoted, referred to or communicated (in whole or in part) to any third party for any purpose whatsoever except with our prior written approval, except the Partnership may reproduce this opinion in full in any document that is required to be filed with the U.S. Securities and Exchange Commission and required to be mailed by the Partnership to its unitholders relating to the Transaction.

Based upon and subject to the foregoing, it is our opinion that, as of the date hereof, the Consideration is fair, from a financial point of view, to the Partnership and the Unaffiliated Holders.

 

Very truly yours,
EVERCORE GROUP L.L.C.

By:

 

  /s/ Raymond B. Strong III
  Raymond B. Strong III
  Senior Managing Director

 

D-4


Table of Contents

LOGO

MMMMMMMMMMMM MMMMMMMMMMMMMM C123456789 000000000.000000 ext 000000000.000000 ext 000000000.000000 ext 000000000.000000 ext ENDORSEMENT_LINE______________ SACKPACK_____________ 000000000.000000 ext 000000000.000000 ext Your vote matters – here’s how to vote! MR A SAMPLE You may vote online or by phone instead of mailing this card. DESIGNATION (IF ANY) Votes submitted electronically must be ADD 1 000001 ADD 2 received by 11:59 p.m. (Eastern Time) on ADD 3 July 8, 2024 ADD 4 MMMMMMMMM ADD 5 Online ADD 6 Go to www.investorvote.com/CLMT or scan the QR code — login details are located in the shaded bar below. Phone Call toll free 1-800-652-VOTE (8683) within the USA, US territories and Canada Save paper, time and money! Using a black ink pen, mark your votes with an X as shown in this example. Sign up for electronic delivery at Please do not write outside the designated areas. www.investorvote.com/CLMT Special Meeting Proxy Card 1234 5678 9012 345 qIF VOTING BY MAIL, SIGN, DETACH AND RETURN THE BOTTOM PORTION IN THE ENCLOSED ENVELOPE. q A Proposals — The Board of Directors of Calumet GP, LLC recommend a vote FOR Proposals 1—5. + For Against Abstain For Against Abstain 1. Approval of the Conversion Agreement (including the Mergers), 2. Approval of the Classification of the Board of Directors of Calumet, dated February 9, 2024, by and among Calumet Specialty Products Inc., i.e., to approve the classification of the Board of Directors of Partners, L.P., Calumet, Inc., Calumet Merger Sub I LLC, Calumet Calumet, Inc. in accordance with the Amended and Restated Merger Sub II LLC, Calumet GP, LLC, and the other parties thereto, Certificate of Incorporation of Calumet, Inc., a copy of which is as amended by the First Amendment to the Conversion Agreement, attached as Annex 2 to Annex A-1 to the accompanying proxy dated April 17, 2024 (as amended, the “Conversion Agreement”), statement/prospectus. Approval of both Proposals 1 and 2 are copies of which are attached as Annex A and Annex A-1, conditions to consummating the Conversion (as defined in the respectively, to the accompanying proxy statement/prospectus. accompanying proxy statement/prospectus) under the Conversion Agreement. 3. Approval of the Exclusive Forum Provision, i.e., to approve the 4. Approval of the Calumet, Inc. Long-Term Incentive Plan, i.e., to inclusion of the exclusive Delaware forum provision in the approve the Calumet, Inc. Amended and Restated Long-Term Amended and Restated Certificate of Incorporation of Incentive Plan, a copy of which is attached as Annex C to the Calumet, Inc., to be in effect following the consummation of the accompanying proxy statement/prospectus, to be in effect Conversion. following the consummation of the Conversion. 5. Adjournment of the Special Meeting, i.e., to approve the adjournment of the special meeting to a later date or dates, if presented, to solicit additional proxies if there are not sufficient votes at the time of the special meeting to approve Proposals 1, 2, 3 and/or 4. C 1234567890    J N T MR A SAMPLE (THIS AREA IS SET UP TO ACCOMMODATE 140 CHARACTERS) MR A SAMPLE AND MR A SAMPLE AND MR A SAMPLE AND MR A SAMPLE AND MR A SAMPLE AND MMMMMM 1UPX 615039 MR A SAMPLE AND MR A SAMPLE AND MR A SAMPLE AND + 03ZTZF


Table of Contents

LOGO

Important notice regarding the Internet availability of proxy materials for the Special Meeting of Unitholders. The material is available at: www.investorvote.com/CLMT Small steps make an impact. Help the environment by consenting to receive electronic delivery, sign up at www.investorvote.com/CLMT qIF VOTING BY MAIL, SIGN, DETACH AND RETURN THE BOTTOM PORTION IN THE ENCLOSED ENVELOPE. q Proxy — Calumet Specialty Products Partners, L.P. + Notice of Special Meeting of Unitholders Proxy Solicited by Board of Directors of Calumet GP, LLC for Special Meeting of Unitholders — July 9, 2024 Gregory J. Morical and David A. Lunin, or any of them, each with the power of substitution, are hereby authorized to represent and vote the common units of the undersigned, with all the powers which the undersigned would possess if personally present, at the Special Meeting of Unitholders of Calumet Specialty Products Partners, L.P. to be held on July 9, 2024 at 10:00 a.m. Eastern Time at Courtyard by Marriott Indianapolis West-Speedway, 6315 Crawfordsville Road, Indianapolis, Indiana 46224 or at any postponement or adjournment thereof. This card, when properly executed and delivered, will be voted in the manner directed on the reverse side. If this proxy is properly executed and returned but no designation is made, the common units will be voted FOR Proposals 1-5. In their discretion, the Proxies are authorized to vote upon such other business as may properly come before the meeting or any postponement or adjournment thereof. (Items to be voted appear on reverse side) B Authorized Signatures — This section must be completed for your vote to count. Please date and sign below. Please sign exactly as name(s) appears hereon. Joint owners should each sign. When signing as attorney, executor, administrator, corporate officer, trustee, guardian, or custodian, please give full title. Date (mm/dd/yyyy) — Please print date below. Signature 1 — Please keep signature within the box. Signature 2 — Please keep signature within the box. C Non-Voting Items Change of Address — Please print new address below. Comments — Please print your comments below. +