UNITED STATES
SECURITIES AND EXCHANGE COMMISSION
Washington, D.C. 20549
FORM 20-F
(Mark One)
| ¨ | REGISTRATION STATEMENT PURSUANT TO SECTION 12(b) OR 12(g) OF THE SECURITIES EXCHANGE ACT OF 1934 |
| OR | |
| x |
ANNUAL REPORT PURSUANT TO SECTION 13 OR 15(d) OF THE SECURITIES EXCHANGE ACT OF 1934 For the fiscal year ended December 31, 2017 |
| OR | |
| ¨ |
TRANSITION REPORT PURSUANT TO SECTION 13 OR 15(d) OF THE SECURITIES EXCHANGE ACT OF 1934 For the transition period from __________ to ___________ |
| OR | |
| ¨ |
SHELL COMPANY REPORT PURSUANT TO SECTION 13 OR 15(d) OF THE SECURITIES EXCHANGE ACT OF 1934 Date of event requiring this shell company report ____________ |
Commission file number: 001-34602
DAQO NEW ENERGY CORP.
(Exact name of Registrant as specified in its charter)
N/A
(Translation of Registrant’s name into English)
Cayman Islands
(Jurisdiction of incorporation or organization)
666 Longdu Avenue
Wanzhou, Chongqing 404000
The People’s Republic of China
(Address of principal executive offices)
Ming Yang, Chief Financial Officer
Tel: +86-23 6486-6677
Fax: +86-23 6486-6688
666 Longdu Avenue
Wanzhou, Chongqing 404000
The People’s Republic of China
(Name, Telephone, E-mail and/or Facsimile number and Address of Company Contact Person)
Securities registered or to be registered pursuant to Section 12(b) of the Act:
|
Title of Each Class |
Name of Exchange on Which Registered | |
|
American depositary shares, each representing 25 ordinary shares Ordinary shares, par value US$0.0001 per share* |
New York Stock Exchange |
* Not for trading, but only in connection with the listing on New York Stock Exchange of the American depositary shares.
Securities registered or to be registered pursuant to Section 12(g) of the Act:
None
(Title of Class)
Securities for which there is a reporting obligation pursuant to Section 15(d) of the Act:
None
(Title of Class)
Indicate the number of outstanding shares of each of the issuer’s class the period covered by the annual report 270,918,702 ordinary shares, par value US$0.0001 per share, as of December 31, 2017.
Indicate by check mark if the registrant is a well-known seasoned issuer, as defined in Rule 405 of the Securities Act. Yes ¨ No x
If this report is an annual or transition report, indicate by check mark if the registrant is not required to file reports pursuant to Section 13 or 15(d) of the Securities Exchange Act of 1934. Yes ¨ No x
Indicate by check mark whether the registrant: (1) has filed all reports required to be filed by Section 13 or 15(d) of the Securities Exchange Act of 1934 during the preceding 12 months (or for such shorter period that the registrant was required to file such reports), and (2) has been subject to such filing requirements for the past 90 days. Yes x No¨
Indicate by check mark whether the registrant has submitted electronically and posted on its corporate Web site, if any, every Interactive Data File required to be submitted and posted pursuant to Rule 405 of Regulation S-T (§232.405 of this chapter) during the preceding 12 months (or for such shorter period that the registrant was required to submit and post such files). Yes x No¨
Indicate by check mark whether the registrant is a large accelerated filer, an accelerated filer, a non-accelerated filer, or an emerging growth company. See the definitions of “large accelerated filer,” “accelerated filer,” and “emerging growth company” in Rule 12b-2 of the Exchange Act.
| Large accelerated filer ¨ | Accelerated filer x | ||
| Non-accelerated filer ¨ | Emerging growth company ¨ |
Indicate by check mark which basis of accounting the registrant has used to prepare the financial statements included in this filing:
| U.S. GAAP x | International Financial Reporting Standards as issued by the International Accounting Standards Board¨ | Other ¨ |
If “Other” has been checked in response to the previous question, indicate by check mark which financial statement item the registrant has elected to follow. Item 17 ¨Item 18 ¨
If this is an annual report, indicate by check mark whether the registrant is a shell company (as defined in Rule 12b-2 of the Exchange Act). Yes ¨ No x
(APPLICABLE ONLY TO ISSUERS INVOLVED IN BANKRUPTCY PROCEEDINGS DURING THE PAST FIVE YEARS)
Indicate by check mark whether the registrant has filed all documents and reports required to be filed by Sections 12, 13 or 15(d) of the Securities Exchange Act of 1934 subsequent to the distribution of securities under a plan confirmed by a court. Yes ¨ No ¨
TABLE OF CONTENTS
| i |
Except where the context otherwise requires:
| · | “we,” “us,” “our company,” “our” or “Daqo Cayman” refers to Daqo New Energy Corp., its subsidiaries and, until December 30, 2013, its consolidated variable interest entity; |
| · | “ADSs” refers to our American depositary shares, each of which represents 25 ordinary shares. On December 21, 2012, we effected a change of the ADS to ordinary share ratio from one ADS representing five ordinary shares to one ADS representing 25 ordinary shares. The ratio change had the same effect as a 1-for-5 reverse ADS split; |
| · | “China” or “PRC” refers to the People’s Republic of China, excluding, for the purpose of this annual report only, Taiwan, Hong Kong and Macau; |
| · | “shares” or “ordinary shares” refers to our ordinary shares, par value $0.0001 per share; |
| · | “RMB” or “Renminbi” refers to the legal currency of China; |
| · | “$,” “US$,” “dollars” or “U.S. dollars” refers to the legal currency of the United States; and |
| · | “EUR” or “Euro” refers to the legal currency of the European Union. |
Our financial statements are expressed in U.S. dollars, which is our reporting currency. Certain of our financial data in this annual report on Form 20-F are translated into U.S. dollars solely for the reader’s convenience. Unless otherwise noted, all convenience translations from Renminbi to U.S. dollars in this annual report on Form 20-F were made at a rate of RMB6.5063 to US$1.00, the exchange rate set forth in the H.10 statistical release of the Board of Governors of the Federal Reserve System on December 29, 2017. We make no representation that any Renminbi or U.S. dollar amounts could have been, or could be, converted into U.S. dollars or Renminbi, as the case may be, at any particular rate, at the rate stated above, or at all.
This annual report on Form 20-F contains forward-looking statements that reflect our current expectations and views of future events. These forward looking statements are made under the “safe-harbor” provisions of the U.S. Private Securities Litigation Reform Act of 1995. Known and unknown risks, uncertainties and other factors may cause our actual results, performance or achievements to be materially different from those expressed or implied by the forward-looking statements.
You can identify some of these forward-looking statements by words or phrases such as “may,”“will,”“expect,”“anticipate,”“aim,”“estimate,”“intend,”“plan,”“believe,”“is/are likely to” or other similar expressions. We have based these forward-looking statements largely on our current expectations and projections about future events and financial trends that we believe may affect our financial condition, results of operations, business strategy and financial needs. These forward-looking statements include statements relating to:
| · | our business and operating strategies; |
| · | our expansion and capital expenditure plans; |
| · | our operations and business prospects; |
| · | our future business development, financial condition and results of operations; |
| · | competition in our industry; |
| · | the industry regulatory environment as well as the industry outlook generally; |
| · | future developments in the polysilicon manufacturing and photovoltaic and semiconductor industries; |
| · | fluctuations in general economic and business conditions in China; and |
| · | government subsidies and economic incentives for solar energy application. |
This annual report on Form 20-F also contains estimates, projections and statistical data related to the polysilicon markets and photovoltaic industry in several countries, including China. This market data speaks as of the date it was published and includes projections that are based on a number of assumptions and are not representations of fact. If any one or more of the assumptions underlying the market data proves to be incorrect, actual results may differ from the projections based on these assumptions. You should not place undue reliance on these forward-looking statements.
The forward-looking statements made in this annual report relate only to events or information as of the date on which the statements are made in this annual report. Except as required by U.S. federal securities law, we undertake no obligation to update or revise publicly any forward-looking statements, whether as a result of new information, future events or otherwise, after the date on which the statements are made or to reflect the occurrence of unanticipated events. You should read this annual report and the documents that we reference in this annual report and have filed as exhibits to this annual report, completely and with the understanding that our actual future results may be materially different from what we expect. Other sections of this annual report include additional factors which could adversely impact our business and financial performance. Moreover, we operate in an evolving environment. New risk factors emerge from time to time and it is not possible for our management to predict all risk factors, nor can we assess the impact of all factors on our business or the extent to which any factor, or combination of factors, may cause actual results to differ materially from those contained in any forward-looking statements. We qualify all of our forward-looking statements by these cautionary statements.
| 2 |
ITEM 1. IDENTITY OF DIRECTORS, SENIOR MANAGEMENT AND ADVISERS
Not applicable.
ITEM 2. OFFER STATISTICS AND EXPECTED TIMETABLE
Not applicable.
A. Selected Financial Data
The following selected data from the consolidated statement of operations for our company for the years ended December 31, 2015, 2016 and 2017 and the balance sheet data as of December 31, 2016 and 2017 have been derived from our audited consolidated financial statements included elsewhere in this annual report. Our selected data from the consolidated statement of operations for the years ended December 31, 2013 and 2014 and our consolidated balance sheet data as of December 31, 2013, 2014 and 2015 have been derived from our audited consolidated financial statements, which are not included in this annual report. We consolidated financial statements of Daqo New Material Co., Ltd., or Daqo New Material, from July 1, 2008 to December 30, 2013, because under Financial Accounting Standards Board Accounting Standards Codification 810-10-15, “Variable Interest Entities,” we were deemed to be Daqo New Material’s primary beneficiary for accounting purposes. As a result of the voluntary termination of our contractual arrangements with Daqo New Material, starting from December 31, 2013, Daqo New Material was de-consolidated from the balance sheet as of December 31, 2013.
The selected consolidated financial data should be read in conjunction with, and are qualified in their entirety by reference to, our consolidated financial statements and related notes, and “Item 5. Operating and Financial Review and Prospects” included elsewhere in this annual report. Our consolidated financial statements are prepared and presented in accordance with U.S. GAAP. Our historical results are not necessarily indicative of results to be expected in any future period.
| Year Ended December 31, | ||||||||||||||||||||
| 2013 | 2014 | 2015 | 2016 | 2017 | ||||||||||||||||
| (in thousands of US$, except share, per share and per ADS data) | ||||||||||||||||||||
| Consolidated Statement of Operations Data: | ||||||||||||||||||||
| Revenues | 109,000 | 182,572 | 182,041 | 229,101 | 352,852 | |||||||||||||||
| Cost of revenues (1) | (135,103 | ) | (139,309 | ) | (144,491 | ) | (148,673 | ) | (209,379 | ) | ||||||||||
| Gross profit (loss) | (26,103 | ) | 43,263 | 37,550 | 80,428 | 143,473 | ||||||||||||||
| Operating expenses (1) | (174,528 | ) | (11,228 | ) | (11,326 | ) | (14,979 | ) | (14,763 | ) | ||||||||||
| Income (loss) from operations | (200,631 | ) | 32,035 | 26,224 | 65,449 | 128,710 | ||||||||||||||
| Income (loss) before income taxes | (219,819 | ) | 16,649 | 14,185 | 51,282 | 111,187 | ||||||||||||||
| Income tax expense | (1,272 | ) | — | (1,138 | ) | (7,358 | ) | (17,332 | ) | |||||||||||
| Net income (loss) | (221,091 | ) | 16,649 | 13,047 | 43,924 | 93,855 | ||||||||||||||
| Net income (loss) attributable to non-controlling interest | (150,147 | ) | — | 91 | 430 | 1,014 | ||||||||||||||
| Net income (loss) attributable to Daqo New Energy shareholders | (70,944 | ) | 16,649 | 12,956 | 43,494 | 92,841 | ||||||||||||||
| Earnings (loss) per ADS (2) | ||||||||||||||||||||
| Basic | (10.25 | ) | 2.02 | 1.26 | 4.15 | 8.76 | ||||||||||||||
| Diluted | (10.25 | ) | 1.97 | 1.24 | 4.11 | 8.50 | ||||||||||||||
| Ordinary shares used to calculating earnings per ordinary share | ||||||||||||||||||||
| Basic – ordinary shares | 173,068,420 | 206,349,976 | 258,015,851 | 261,742,244 | 265,070,961 | |||||||||||||||
| Diluted – diluted shares | 173,068,420 | 211,353,643 | 261,411,933 | 264,817,755 | 272,926,319 | |||||||||||||||
Notes:
| (1) | Includes share-based compensation expenses in the amount of $1.9 million, $1.8 million, $3.7 million, $2.7 million and $4.2 million for the years ended December 31, 2013, 2014, 2015, 2016 and 2017, respectively. |
| (2) | One (1) ADS for twenty-five (25) ordinary shares. |
| 3 |
| Year Ended December 31, | ||||||||||||||||||||
| 2013 | 2014 | 2015 | 2016 | 2017 | ||||||||||||||||
| Other Financial and Operating Data: | ||||||||||||||||||||
| Polysilicon production volume (in MT) | 4,805 | 6,560 | 9,771 | 13,068 | 20,200 | |||||||||||||||
| Polysilicon sales volume (in MT)(1) | 4,283 | 5,972 | 8,234 | 10,883 | 17,950 | |||||||||||||||
| Unit cost of polysilicon sold (in $/kg)(2) | 17.02 | 13.68 | 11.23 | 9.38 | 8.84 | |||||||||||||||
Notes:
| (1) | The polysilicon sales volume here only refers to external sales. Internal sales to our in-house wafer facilities were 770 MT, 671 MT, 1,316 MT, 1,968 MT and 1,944 MT in 2013, 2014, 2015, 2016 and 2017, respectively. |
| (2) | The unit cost here only refers to the polysilicon made in Xinjiang facilities. |
The following table presents a summary of our consolidated balance sheet data as of the dates set forth below:
| As of December 31, | ||||||||||||||||||||
| 2013 | 2014 | 2015 | 2016 | 2017 | ||||||||||||||||
| (in thousands of US$) | ||||||||||||||||||||
| Consolidated Balance Sheet Data: | ||||||||||||||||||||
| Cash and cash equivalents | 7,831 | 7,068 | 14,490 | 15,987 | 60,677 | |||||||||||||||
| Restricted cash | 8,826 | 22,169 | 19,063 | 15,893 | 11,990 | |||||||||||||||
| Total current assets | 91,144 | 121,949 | 88,777 | 73,303 | 142,364 | |||||||||||||||
| Property, plant and equipment, net | 488,504 | 559,006 | 544,326 | 557,428 | 579,129 | |||||||||||||||
| Total assets | 610,200 | 710,131 | 660,851 | 656,709 | 748,783 | |||||||||||||||
| Short-term bank borrowings, including current portion of long-term borrowings | 118,871 | 159,804 | 123,937 | 105,980 | 99,300 | |||||||||||||||
| Total current liabilities | 299,124 | 396,068 | 275,394 | 249,750 | 216,513 | |||||||||||||||
| Long-term bank borrowings | 134,870 | 77,336 | 118,548 | 111,949 | 113,588 | |||||||||||||||
| Total liabilities | 472,873 | 503,363 | 419,195 | 384,979 | 354,255 | |||||||||||||||
| Total shareholders’ equity | 137,327 | 206,768 | 240,354 | 270,101 | 391,736 | |||||||||||||||
| Non-controlling interest | — | — | 1,302 | 1,629 | 2,792 | |||||||||||||||
| Total equity | 137,327 | 206,768 | 241,656 | 271,730 | 394,528 | |||||||||||||||
| Total liabilities and equity | 610,200 | 710,131 | 660,851 | 656,709 | 748,783 | |||||||||||||||
B. Capitalization and Indebtedness
Not applicable.
C. Reasons for the Offer and Use of Proceeds
Not applicable.
D. Risk Factors
Risks Related to Our Business
Our ability to maintain our growth and profitability depend on the demand for photovoltaic products and the development of photovoltaic technologies, among other things.
The solar industry is at a relatively early stage of development, and the extent of acceptance of photovoltaic products is uncertain. The photovoltaic industry does not have data as far back as the semiconductor industry or other more established industries, for which trends can be assessed more reliably from data gathered over a longer period of time. Demand for photovoltaic products may not develop or may develop to a lesser extent than we anticipate. Many factors may affect the viability of widespread adoption of photovoltaic technology and demand for photovoltaic products, including:
| · | decreases in government subsidies and incentives to support the development of the photovoltaic industry; |
| · | the international trade conflicts and the consequential imposed tariffs for solar photovoltaic, or PV, products, and other renewable energy sources and products; |
| 4 |
| · | relative cost-effectiveness, performance and reliability of photovoltaic products compared to conventional; |
| · | success of other alternative energy sources, such as wind power, hydroelectric power and biofuel; |
| · | fluctuations in economic and market conditions that affect the viability of conventional and other renewable energy sources, such as increases or decreases in the prices of oil and other fossil fuels; |
| · | the ability of photovoltaic product manufacturers to finance their business operations, expansions and other capital expenditures; |
| · | capital expenditures by end users of photovoltaic products, which tend to decrease when the economy slows down; and |
| · | deregulation or other regulatory actions affecting the electric power industry and the broader energy industry. |
In the event that photovoltaic technologies do not develop in a manner that increases the demand for polysilicon or demand for solar products does not expand as we expect, average selling prices may move downward as a result, and our future growth and profitability will be materially and adversely affected.
The imbalance between polysilicon supply and demand could cause polysilicon prices to decline and materially and adversely affect our profitability.
Our polysilicon sales prices are affected by a variety of factors, including global supply and demand conditions. Over the years, many polysilicon manufacturers have significantly increased their capacity to meet customer demand and continue to expand capacities in order to achieve economies of scale. However, the slow and uneven economic recovery from the global financial crisis as well as the significant decrease in global petroleum prices since their peak in mid-2008 have reduced or delayed the general demand for photovoltaic products. In late 2008 and 2009, newly available polysilicon supply and slowed global photovoltaic market growth resulted in an excess supply of polysilicon, which led to a significant decline in polysilicon prices. Although global photovoltaic demand recovered substantially from the second half of 2010 through the first half of 2011, the market price for polysilicon experienced another significant decline in the second half of 2011 due to excess supply and decreasing demand. In 2012, the market price for polysilicon continued to decline. As a result of the polysilicon supply and demand fluctuation, we reduced the selling price of our polysilicon and thus experienced a continued decrease in revenues derived from polysilicon in 2012. In 2013, global demand for polysilicon began to increase, and such trend continued into 2015. Nevertheless, the average selling price of polysilicon in China was under pressure since the fourth quarter of 2014 and through the whole year of 2015 due to rising polysilicon supply both from overseas and domestic polysilicon manufacturers. In the first half of 2016, average selling prices of polysilicon were relatively strong due to rush orders placed before China’s solar PV feed-in tariff adjustment went effective at the end of June 2016. In the second half of 2016, average selling prices of polysilicon declined due to decreasing demand. In 2017, the solar PV demand in China grew significantly to approximately 55 GW, and thus the average selling prices of polysilicon were relatively strong during the year. In 2018, we expect that there may be additional polysilicon supply capacities especially in the second half of the year, which could cause the average selling prices of polysilicon to decline again. If the imbalance between polysilicon supply and demand continues to exist, it could cause polysilicon prices to continue to decline and thus materially and adversely affect our profitability.
| 5 |
We may not be able to continue to receive the same level of support from Daqo Group Co., Ltd., or Daqo Group, a related party of ours, which may have a material adverse effect on our business and results of operations.
Since our inception, we have substantially benefited from financial support from Daqo Group, one of the largest electrical equipment manufacturers in China, and we expect to continue to benefit from Daqo Group in the foreseeable future. Please see “— We need a significant amount of cash to fund our future capital expenditure requirements and working capital needs; if we cannot obtain additional sources of liquidity when needed, our growth prospects and future profitability may be materially and adversely affected” below. In addition, Daqo Group has granted us a permanent and royalty-free license to use the “Daqo” brand, which is a well-recognized brand in the electrical industry in China. We have benefited from the strong brand recognition of “Daqo” in our business development efforts, as evidenced by our ability to secure major customers based in China within a short period after we commenced commercial production of polysilicon. Daqo Group has agreed in writing not to engage in the business of manufacturing, marketing or distributing polysilicon or any other solar power products anywhere in the world or compete in any manner with our businesses without our consent for an indefinite term. Daqo Group provides financial support to us to meet certain of our working capital requirements and obligations as they come due. However, we cannot assure you that we will continue to receive the same level of support, or any support at all, from Daqo Group in the future. If Daqo Group ceases to support us, our business, results of operations and prospects may be materially and adversely affected. In addition, any negative publicity associated with Daqo Group will likely have an adverse impact on our reputation, which could materially and adversely affect our business. In the event of any disagreements with Daqo Group, we may have to resort to legal proceedings in China to enforce our rights, which could be costly, time consuming and involve uncertain outcomes.
Historically we incurred substantial net losses in 2012 and 2013. Although we generated a profit in each fiscal year since 2014, we may experience future losses and may not be able to generate sufficient revenues in the future to sustain profitability.
As a result of the slump in the global demand for and sales price of polysilicon, we incurred a net loss of $115.6 million in 2012. Despite improvements in our revenue in 2013 compared to 2012, in 2013 we still incurred a net loss of $221.1 million including $158.4 million of fixed-asset impairment loss, compared to $115.6 million including $42.8 million of fixed-asset impairment loss in 2012.
We had net income of $16.7 million in 2014 as a result of our continuous cost reduction efforts and increased global demand for and sales price of polysilicon, as well as a decrease in depreciation expenses of approximately $18.7 million. Since January 1, 2014, we revised the estimate of the expected useful lives of the machinery and equipment from 10 years to 15 years, and the buildings and structures from 20 years to 30 years, which reduced depreciation expenses by approximately $18.7 million. We had net income of $13.0 million, $43.9 million and $93.9 million in 2015, 2016 and 2017, respectively, as a result of our expanded capacities, growing sales volume and our continuous cost reduction efforts for both polysilicon and wafer manufacturing operations. Although we generated a profit in fiscal years 2015, 2016 and 2017, we may not be able to sustain profitability and our cash flows may be negative again in the future. See “— Our revenues and results of operations have fluctuated and are likely to fluctuate in the future” below.
We had a significant working capital deficit as of December 31, 2017. Daqo Group provides financial support to us to meet certain of our working capital requirements and obligations as they become due. If we are not able to generate adequate operating cash flow or obtain adequate financial support from Daqo Group or from other sources, we will face the risk of not being able to continue as a going concern.
As of December 31, 2017, we had a working capital deficit (being our total consolidated current liabilities less our total consolidated current assets) of $74.1 million. In addition, we have made and may continue to make significant capital expenditures on our expansion project at our Xinjiang polysilicon facilities.
Our continuation as a going concern is dependent upon financial support from Daqo Group and our ability to continue to obtain other sources of financing. Daqo Group provides financial support to us to meet certain of our working capital requirements and obligations as they become due. On February 23, 2018, we obtained a letter of financial support from Daqo Group and certain of our other shareholders in which they have committed to provide us with sufficient funding to support our operations during the twelve months ending March 31, 2019. Further, the letter of financial support provides that Daqo Group will not require us to pay the amounts that we owed to Daqo Group and two of its subsidiaries, Xinjiang Daqo Investment Co., Ltd., or Xinjiang Daqo Investment and Daqo New Material, as of December 31, 2017, before April 1, 2019. In addition, Daqo Group will provide us with funding to support us to repay all the financial obligations already committed related to the expansion project at our Xinjiang facilities and we are not required to repay such amounts before April 1, 2019. Meanwhile, we have committed to Daqo Group that we will implement our expansion project based on our available financial resources. However, we can provide no assurances that Daqo Group and our shareholders will honor their undertakings under the letter of financial support. If Daqo Group or its subsidiaries were to be unable to honor their undertakings under the letter of financial support or if the industry reverses its current upward trend in demand, we will face significant pressure on our working capital and we will face the risk of not being able to continue as a going concern.
| 6 |
Our consolidated financial statements do not reflect any adjustments relating to recoverability and classification of recorded assets or the amounts and classification of liabilities or any other adjustments that might be necessary should we be unable to continue as a going concern. Our inability to continue as a going concern would materially and adversely affect our financial condition, results of operations and business prospects.
The reduction in or elimination of government subsidies and economic incentives for solar energy applications could cause demand for our products and our revenues to decline.
When upfront system costs are factored into cost per kilowatt hour, the current cost of solar power still exceeds the cost of traditional forms of energy in many locations. As a result, national and local governmental authorities in many countries, including China, have provided subsidies and economic incentives in the form of feed-in tariffs, rebates, tax credits and other incentives to distributors, system integrators and manufacturers of photovoltaic products to promote the use of solar energy and to reduce dependency on other forms of energy. We believe that the near-term growth of the market for solar energy applications depends in large part on the availability and size of government subsidies and economic incentives. The reduction or elimination of government subsidies and economic incentives may hinder the growth of this market or result in increased price competition for solar energy products, which could cause our revenues to decline. These government subsidies and economic incentives could be reduced or eliminated altogether. For example, China has announced several reductions in solar feed-in tariffs (“FITs”) since the release of the “Notice on Leveraging the Price for the Development of the Solar Energy Industry” in 2013. The most recent reduction in solar FITs was announced in December 2017 for solar power projects approved after January 1, 2018. The new FIT for solar power projects in Zone 1, 2 and 3 is reduced by RMB0.10 per KWh, to RMB0.55 per kWh, RMB0.65 per kWh and RMB0.75 per kWh, respectively. In 2016, global solar PV installations continued its growing trend and reached approximately 73 GW. In 2017, global solar PV installations grew significantly to approximately 100 GW. However, oil prices still hover low, and there are industry reports indicating that the growth rate of global PV installations may slow down in 2018. If the decrease in oil prices continues, government incentives provided to the solar industry in major markets may be reduced, which may result in a decrease in average selling prices of polysilicon. Reductions in, or elimination of, government subsidies and economic incentives for solar energy applications before the photovoltaic industry reaches the economies of scale necessary for solar power to become cost-effective in a non-subsidized market place could result in decreased demand for solar generation products and, as a result, for polysilicon, which could cause our revenues to decline.
Our limited operating history may not serve as an adequate basis to judge our future prospects and results of operations.
We have a limited operating history. We commenced polysilicon manufacturing in 2008 and wafer manufacturing in 2011. Several of our senior management and key employees have worked together at our company for only a relatively short period of time, and a number of our senior officers were promoted to their posts in October 2012. Our future success will depend on our ability to expand our manufacturing capacity significantly beyond its current level and further expand our customer base. To address these risks, we must, among other things, continue to respond to competition and volatile market developments, attract, retain and motivate qualified personnel, implement and successfully execute expansion plans and improve our technologies. We cannot assure you that we will be successful in addressing such risks.
| 7 |
Although we were profitable in 2011, we experienced significant decreases in revenue and incurred substantial net losses in 2012 and 2013. We had positive net income from 2014 to 2017. However, our limited operating history makes the prediction of future results of operations difficult, and therefore, it is unclear if we could sustain revenue growth or profitability in the future. Our business model, technology and ability to achieve satisfactory manufacturing yields for polysilicon at higher volumes are unproven. Compared to companies with a long and well-established operating history and companies operating in less volatile sectors, our results of operations are more susceptible to the impact of adverse operating environment and supply and demand risks.
Our revenues and results of operations have fluctuated and are likely to fluctuate in the future.
Fluctuations of our revenues and results of operations may occur on a quarterly and on an annual basis and may be due to a number of factors, many of which are beyond our control. These factors include, among others, fluctuation in the global average selling prices of photovoltaic products, fluctuation in the volume of our products shipped, changes in end-user demand for the photovoltaic products manufactured and sold by us or our customers, the gain or loss of significant customers, the availability of governmental subsidies or financial support and changes in our electricity, natural gas, raw material or labor costs. For example, although our revenue has improved since 2013 and we have regained profitability from 2014 to 2017, our revenues and results of operations may worsen again if one or more of these factors become unfavorable to our business.
Therefore, you should consider our future prospects in light of the risks and uncertainties experienced by early stage companies in a rapidly evolving and increasingly competitive market in China.
We need a significant amount of cash to fund our future capital expenditure requirements and working capital needs; if we cannot obtain additional sources of liquidity when needed, our growth prospects and future profitability may be materially and adversely affected.
We need a significant amount of cash to fund our operations. In particular, we will need substantial additional funding to finance our expansion project at our Xinjiang polysilicon facilities and our Chongqing wafer facilities to meet our working capital requirements and to repay any short-term or long-term bank borrowings when due. We will also require cash resources to fund our research and development activities in order to remain competitive on cost and technology.
We have relied in the past and expect in the next 12 months to continue to rely mainly on operating cash flows, renewal and roll-over of our bank credit facilities, and financial support from Daqo Group to finance our working capital, capital expenditures requirements and other commitments. The photovoltaic markets remain competitive, and payment collection in the solar photovoltaic industry remains challenging. Any delay or failure in collecting amounts owed from customers will adversely affect our company’s cash flow situation. In addition, future acquisitions, expansions, market changes or other developments may cause us to require additional financing. We expect to incur additional debt in the future. Our ability to obtain external financing in the future is subject to a number of uncertainties, including:
| · | our future financial condition, results of operations and cash flows; |
| · | general market conditions for financing activities by companies in our industry; |
| · | economic, political and other conditions in China and elsewhere; and |
| · | development and sustainability of global economic recovery. |
If we are unable to obtain funding in a timely manner or on commercially acceptable terms, or at all, our growth prospects and ability to maintain profitability may be materially and adversely affected.
We may not be successful in our efforts to continue to manufacture high quality polysilicon in a cost-effective manner.
The technology used to manufacture polysilicon is complex, requires costly equipment and is continuously being modified in an effort to improve yields and product performance. We may face significant challenges relating to high quality polysilicon production in the future. Microscopic impurities such as dust and other contaminants, difficulties in the manufacturing process, disruptions in the supply of utilities or defects in the key materials or tools used to manufacture polysilicon could interrupt manufacturing, reduce yields or cause a portion of the polysilicon to be rejected by our customers, which would materially and adversely affect our profitability. As a result of our continuous efforts to improve polysilicon production quality, approximately 35% of our polysilicon was suitable for selling to mono wafer applications in 2017, which requires higher quality as compared to multi wafer. We expect to increase this portion to approximately 59% and 69% in 2018 and 2019, respectively. We cannot assure you that we can continue to maintain the current level of high quality polysilicon production or achieve the expected increases in the portion of production suitable for selling to mono wafer applications in 2018 and 2019.
| 8 |
Our effective capacity and ability to produce high volumes of polysilicon depend on the cycle time for each batch of polysilicon. We may encounter problems in our manufacturing process or facilities as a result of, among other things, production failures, construction delays, human error, equipment malfunction or process contamination, all of which could seriously harm our operations. We are dependent on the availability of inexpensive electricity to keep our production costs down. We may experience production delays if any modifications we make in the manufacturing process to shorten production cycles are unsuccessful. Moreover, failure to achieve acceptable manufacturing levels may make our polysilicon costs uncompetitive, which could materially and adversely affect our business, financial condition and results of operations.
Further development in alternative polysilicon production technologies or other changes in the photovoltaic industry could render our production process too costly or obsolete, which could reduce our market share and cause our sales and profits to decline.
Although the vast majority of the polysilicon produced in the world utilizes the chemical vapor deposition process, or the “modified Siemens process,” several alternative production processes have been developed that may have significantly lower production costs. Compared with other polysilicon production processes, a disadvantage of the modified Siemens process is the large amount of electricity required. For example, REC, GCL and SMP currently operate or are constructing facilities that use the “fluidized bed reactor” method for producing polysilicon using saline (SiH4) as feed-in gas. Other polysilicon manufacturers are establishing facilities using upgraded metallurgical grade silicon process to produce solar-grade polysilicon. Moreover, some polysilicon manufacturers who are using “modified Siemens process” have adopted newer technologies such as Hydrochlorination, which could enable them to produce polysilicon in a more cost effective way compared to the traditional “modified Siemens process.”
Further developments in competing polysilicon production technologies may result in lower manufacturing costs or higher product performance than those achieved from the modified Siemens process, including the one we employ. We will need to invest significant financial resources in research and development to expand our market position, keep pace with technological advances in polysilicon production and effectively compete in the future. Failure to further refine our technology could make our production process too costly or obsolete, which could reduce our margins and market share, cause our revenues to decline and materially and adversely affect our results of operations.
Technological changes in the solar power industry could render our products uncompetitive or obsolete, which could reduce our market share and cause our sales and profits to decline.
The solar power industry is characterized by evolving technologies and standards. These technological evolutions and developments place increasing demands on the improvement of our products, such as polysilicon and wafers. Other companies may develop production technologies that enable them to produce silicon wafers of higher quality at a lower cost than our products. Technologies developed or adopted by others may prove more advantageous than ours for commercialization of solar power products and may render our products obsolete. As a result, we may need to invest significant resources in research and development to maintain our market position, keep pace with technological advances in the solar power industry, and effectively compete in the future. Our failure to further refine and enhance our products and processes or to keep pace with evolving technologies and industry standards could cause our products to become uncompetitive or obsolete, which could materially and adversely reduce our market share and affect our results of operations.
Alternative technologies in cell manufacturing may reduce the demand for polysilicon.
The vast majority of silicon-based photovoltaic cell manufacturers use chunk or granular polysilicon. However, alternative technologies have been commercialized. One such technology, thin-film cell production, uses little to no silicon in the production of solar cells. Although in general, thin-film solar cells are currently not as competitive as silicon-based solar cells in terms of efficiency and cost, thin-film solar cells have their own dominating niche markets, for example, the markets for the building integrated PV applications. If the demand for polysilicon is adversely affected by increased demand for, and improvements to, alternative technologies, our revenues and results of operations could be materially and adversely affected.
| 9 |
Our future commercial production and expansion project in Xinjiang, China may not be successful.
We finished construction of our Phase 2A polysilicon facilities in Shihezi, Xinjiang Uyghur Autonomous Region in September 2012 and successfully reached our targets in terms of capacity and cost structure by the end of the first quarter of 2013. The construction and installation of our Phase 2B expansion project was completed during the second quarter of 2015 and achieved full production capacity in the third quarter of 2015, which increased our polysilicon annual capacity from 6,150 MT to 12,150 MT. In January 2015, our Board of Directors approved our Phase 3A expansion project in Xinjiang. We completed the construction and installation of Phase 3A at the end of 2016 and commenced initial production in the first quarter of 2017. By the end of February 2017, we achieved full production capacity of 18,000 MT per annum. In August 2017, our Board of Directors approved our Phase 3B expansion project in Xinjiang. As of the end of 2017, we have already started initial construction works for Phase 3B Project. We expect to complete the entire Phase 3B project and begin pilot production in the first half of 2019 and reach full capacity of 30,000 MT by mid-2019. Although the Xinjiang location provides many strategic advantages, including lower electricity costs, we face a number of uncertainties in relation with our future commercial production and expansion project in Xinjiang.
As part of our expansion project, we decided to relocate existing machinery and equipment in our polysilicon facilities in Chongqing, with total book value of $84.2 million as of December 31, 2016, to our Xinjiang facilities. As of December 31, 2017, we had relocated machinery and equipment of approximately $63.9 million in book value. In 2015, 2016 and 2017, we incurred an impairment charge of $1.6 million, $0.2 million and $3.0 million, respectively, attributable to certain identified remaining assets in Chongqing that were not transferrable and could not be reutilized in our Xinjiang expansion project. With respect to our remaining machinery and equipment in Chongqing, if we fail to successfully relocate, reinstall or reutilize the remaining machinery and equipment in Chongqing in our future potential expansions, we may incur significant impairment losses related to such remaining assets of approximately $11.7 million in book value, and our operating results and financial condition may be materially and adversely affected as a result.
In addition, there are many risks associated with our future production in Xinjiang, any of which could cause significant disruption to production, including:
| · | being unable to complete our expansion plan as scheduled; |
| · | failure to successfully install equipment relocated from the Phase 1 polysilicon facilities in Chongqing; |
| · | being unable to fully ramp-up the newly added capacity or achieve our targets for cost and quality; |
| · | extremely cold temperatures; |
| · | lack of workers in Xinjiang experienced with polysilicon manufacturing; |
| · | difficulties in timely transporting products to our customers, most of whom are located in other areas of China that are a significant distance from Xinjiang; and |
| · | political or social unrest. |
One or more of these factors could harm our Xinjiang operations and consequently, could adversely affect our overall operating results.
Furthermore, under the letter of financial support we obtained from Daqo Group on February 23, 2018, we are required to immediately suspend the expansion project at our Xinjiang facilities if we do not have sufficient financial resources to continue the project after we repay all other financial obligations as they become due. See “— We had a significant working capital deficit as of December 31, 2017. Daqo Group provides financial support to us to meet certain of our working capital requirements and obligations as they become due. If we are not able to generate adequate operating cash flow or obtain adequate financial support from Daqo Group or from other sources, we will face the risk of not being able to continue as a going concern” above.
| 10 |
If we are unable to manage our expansion effectively, our business and financial results may be adversely affected.
Since 2013, we have experienced a period of growth and expansion in terms of production capacity and sales volume. We achieved a nameplate capacity of 6,150 MT in the first quarter of 2014 and further ramped up our nameplate capacity to 12,150 MT in the third quarter of 2015. Our polysilicon production for 2016 reached a record high of 13,068 MT, which surpassed our nameplate capacity of 12,150 MT per annum. In 2015, 2016 and 2017, we sold 8,234 MT, 10,883 MT and 17,950 MT, respectively, of polysilicon (excluding internal sales to our in-house wafer facilities). We completed the construction and installation of Phase 3A at the end of 2016 and commenced initial production of the Phase 3A project in the first quarter of 2017 and have achieved full production capacity. As of the end of 2017, we have already started initial construction works for Phase 3B Project. We expect to complete the entire Phase 3B project and begin pilot production in the first half of 2019 and reach full capacity of 30,000 MT by mid-2019. To accommodate our continued expansion, we anticipate that we will need to implement a variety of new and upgraded operational and financial systems, procedures and controls, including the improvement of our accounting and other internal management systems, all of which require substantial management efforts. We also will need to continue to expand, train, manage and motivate our workforce and manage our customer relationships. All of these endeavors will require substantial management efforts and skill and significant additional expenditures. We cannot assure you that we will be able to manage our growth effectively, and any failure to do so may have a material adverse effect on our business and financial results. Moreover, even if we do expand our polysilicon manufacturing capacity and our wafer business as planned, we may be unable to generate sufficient customer demand for our photovoltaic products to support our increased production levels or successfully integrate our polysilicon and wafer manufacturing businesses to achieve operational efficiency, which could adversely affect our business and results of operations.
Our future success depends substantially on our ability to significantly expand our polysilicon production capacity and output, and to relocate equipment to our Xinjiang facilities, which exposes us to a number of risks and uncertainties.
Our future success depends on our ability to significantly increase both polysilicon production capacity and output, and to relocate equipment to our Xinjiang facilities. If we fail to do so, we may not be able to benefit from economies of scale to reduce our costs per kilogram of polysilicon, to maintain our competitive position or to improve our profitability. Further, our expansion plans are dependent on the successful installation of the equipment that we are relocating to our Xinjiang facilities. Our ability to establish additional production capacity and increase output is subject to significant risks and uncertainties, including:
| · | the need to raise significant additional funds to purchase additional production equipment or to build additional manufacturing facilities, which we may not be able to obtain on commercially viable terms or at all; |
| · | cost overruns and delays as a result of a number of factors, many of which are beyond our control, such as increases in the price of electricity or problems with equipment delivery; |
| · | delays or denial of required approvals by relevant government authorities; |
| · | failure to obtain production inputs in sufficient quantities or at acceptable cost; |
| · | significant diversion of management’s attention and other resources; and |
| · | failure to execute our expansion plan effectively. |
| 11 |
We operate in an increasingly competitive market, and we may not be able to compete successfully with competitors who have greater resources than us.
The photovoltaic market is expected to become increasingly competitive. Our competitors include international polysilicon and wafer manufacturers, such as Hemlock, Wacker, OCI, REC, MEMC and Chinese domestic polysilicon and wafer manufacturers, such as GCL-Poly, Xinte Energy Co., Ltd., Asia Silicon Co., Ltd., China Silicon Corporation and Yongxiang Co., Ltd. There are also likely new entrants into the polysilicon manufacturing market in China, such as Xinjiang East Hope New Energy Ltd. and the joint venture formed by REC and Shanxi Youser. In addition, some solar cell and module manufacturers, including some of our existing and potential customers may have the intention of establishing polysilicon production or affiliate relationships with manufacturers of polysilicon. We compete with these in-house capabilities, which could limit our ability to expand our sales or even reduce our sales to our existing customers. Many of our competitors have substantially greater financial, technical, manufacturing and other resources than we do. Our competitors’ greater size and longer operating history provide them with a competitive advantage with respect to manufacturing costs because of their economies of scale and their ability to purchase raw materials at lower prices. Our competitors may have stronger relationships or may enter into exclusive relationships with some of our key customers. As a result, they may be able to respond more quickly to changing customer demands or to devote greater resources to the development, promotion and sales of polysilicon than we can. Failure to adapt to changing market conditions and to compete successfully with existing or new competitors may materially and adversely affect our financial condition and results of operations.
We depend on a limited number of customers and sales contracts for a significant portion of our revenues, and the loss of any customer or cancellation of any contract may cause significant fluctuations or declines in our revenues.
In 2015, 2016 and 2017, our top three customers in aggregate accounted for approximately 40.5%, 37.1% and 34.5% of our total revenues, respectively. We anticipate that our dependence on a limited number of customers will continue for the foreseeable future. Consequently, any one of the following events may cause material fluctuations or declines in our revenues:
| · | reduction, delay or cancellation of orders from one or more of our significant customers; |
| · | loss of one or more of our significant customers and failure to identify additional or replacement customers; and |
| · | failure of any of our significant customers to make timely payment for our products. |
Polysilicon production is energy-intensive, and if our energy costs rise or if our electricity and other utility supplies are disrupted, our results of operations will be materially and adversely affected.
The polysilicon production process, particularly the modified Siemens process that we use, is highly dependent on a constant supply of electricity and other utilities, such as steam, natural gas and water, to maintain the optimal conditions for polysilicon production. If electricity or other utility supplies are not maintained at the desired level, we may experience significant delays in the production of polysilicon. In the past, there were shortages in electricity supply in various regions across China, especially during peak seasons, such as in the summer. In addition, the uncommonly cold weather in China in the winter of 2010 resulted in a surge in natural gas demand, which in turn caused severe gas shortages in many regions, including Chongqing, where one of our polysilicon manufacturing sites is located. The local governmental authorities in the worst-hit areas took measures to reduce or restrict the amount of natural gas supplied to non-residential users. We primarily use natural gas for our in-house steam production and steam is critical for our manufacturing process. Although the natural gas shortage did not directly affect our operations, if shortages become more severe in the future, our natural gas supply may be reduced or suspended, which would significantly disrupt our manufacturing process. In addition to shortages, we are subject to potential risks of interruptions in energy supply due to power outages, equipment failure, weather conditions or other causes which could force us to cease production for a prolonged period of time. In the event that electricity or other utility supplies to our manufacturing facilities are disrupted, our business, results of operations and financial condition could be materially and adversely affected. Even if we have access to sufficient sources of electricity and other utilities, any significant increase in the costs of utilities could adversely affect our profitability, as we consume substantial amounts of electricity and other utilities in our manufacturing process. If electricity and other utility costs were to rise, our results of operations could be materially and adversely affected.
| 12 |
Our current indebtedness could adversely affect our business, financial condition and results of operations.
As of December 31, 2017, we had outstanding long-term bank borrowings, including current portion of long-term borrowings of $144.5 million with a weighted average interest rate of 5.9% and outstanding short-term bank borrowings of $68.4 million with a weighted average interest rate of 5.1%, and we expect to incur additional debt in the future. We borrowed the majority of these bank loans from China Construction Bank and Chongqing Rural Commercial Bank with guarantees from Daqo Group. We cannot assure you that we will be able to renew these borrowings when they become due or to obtain other loans or credits from other banks or other lenders on terms satisfactory to us or at all to satisfy the substantial capital expenditure requirements associated with our capacity expansion, whether on our own or with the continuing support from Daqo Group. In addition, the indebtedness could have an adverse effect on our future operations, including, among other things: (1) reducing the availability of our cash flow to fund our working capital, capital expenditures or other general corporate purposes as a result of interest or principal payments; (2) subjecting us to the risk of interest rate increases on our indebtedness which bears floating interest rates; and (3) placing us at a competitive disadvantage compared to our competitors that have less debt or are otherwise less leveraged. Any of these factors could have a material and adverse effect on our business, financial condition and results of operations.
We face risks and uncertainties expanding our business through alliances, joint ventures or acquisitions.
We may in the future, if presented with appropriate opportunities, acquire or invest in technologies, businesses or assets that are strategically important to our business or form alliances with key players in the photovoltaic industry to further expand our business. Such acquisitions and investments could expose us to potential risks, including risks associated with the assimilation of new operations, technologies and personnel, unforeseen or hidden liabilities, the inability to generate sufficient revenues to offset the costs and expenses of acquisitions, and potential loss of, or harm to, our relationships with employees, customers and suppliers as a result of integration of new businesses. Investments in new businesses may also divert our cash flow from servicing our debts and making necessary capital expenditures. In addition, we may incur impairment losses on our acquisitions and investments in equity securities. The diversion of our management’s attention and any difficulties encountered with respect to the acquisitions, investments or alliances or in the process of integration could have an adverse effect on our ability to manage our business. Furthermore, our experience in the polysilicon manufacturing industry may not be as relevant or applicable in downstream markets. We may also face intense competition from companies with greater experience or established presence in the targeted downstream markets or competition from our industry peers with similar expansion plans. Any failure to integrate any acquired businesses or joint ventures into our operations successfully and any material liabilities or potential liabilities of any acquired businesses or joint ventures that are not identified by us during our due diligence process for such acquisitions or investments could materially and adversely affect our business and financial condition.
If we are unable to operate effectively or operational disruptions occur, our business, results of operations and financial condition could be adversely affected.
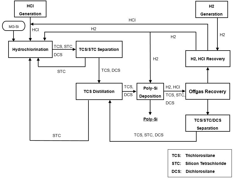
Production of polysilicon requires the use of volatile materials and chemical reactions sensitive to temperature and pressure and requires the use of external controls to maintain safety. For example, in the production of polysilicon, we use trichlorosilane, or TCS, which is a highly combustible substance if brought into contact with moisture in the air and is therefore potentially destructive and extremely dangerous if mishandled or used in uncontrolled circumstances. The occurrence of a catastrophic event involving TCS as a result of a natural disaster or human error at one of our polysilicon production facilities could threaten, disrupt or destroy a significant portion or all of our polysilicon production capacity at such facilities for a significant period of time. Additionally, the smooth operation of our polysilicon production facilities depends significantly on our ability to maintain temperatures and pressure at appropriate levels, the supply of steam at a consistent pressure level, the availability of adequate electricity and our ability to control the application of such electricity. Accordingly, mistakes in operating our equipment or an interruption in the supply of electricity or steam at our production facilities could result in the production of substandard polysilicon or substantial shortfalls in production, could reduce our production capacity for a significant period of time and could have negative effect on our customer relationships. In addition, we voluntarily shut down our manufacturing facilities from time to time on an as-needed basis for maintenance and quality check purposes. For example, in April 2013, we temporarily shut down our Phase 2 facilities in Xinjiang for periodic maintenance and technology improvements. In April 2014, we temporarily shut down our Phase 2 facilities in Xinjiang for periodic maintenance and preparation for the Hydrochlorination project. In May 2015, we conducted annual maintenance of the Xinjiang polysilicon facilities, which affected our polysilicon production for five days. In October 2016, we conducted annual maintenance and several technology improvement projects in our Xinjiang polysilicon facilities, and concurrently completed interconnections between our new and existing facilities in Xinjiang. In late September and early October of 2017, we conducted annual maintenance for our Xinjiang polysilicon facilities. The annual maintenance had been completed successfully with little impact to our production volume as expected by our original plan. The annual maintenance, construction, installation of new equipment and interconnection of facilities affected our polysilicon production for approximately three weeks. These abovementioned shutdowns have reduced and may further reduce the volume and increase the cost of polysilicon we produce. In addition, we may need to use hazardous equipment for our wafer manufacturing process. Such equipment requires skill and experience for safe operation. We could experience events such as equipment failures, explosions or fires due to employee errors, equipment malfunctions, accidents, and interruptions in electricity or water cooling supplies, natural disasters or other causes. In addition, such events could cause damage to properties, personal injuries or even deaths. As a result, we may in the future experience production curtailments or shutdowns or periods of reduced production. The occurrence of any such events or disruptions could result in loss of revenues and could also damage our reputation, any of which could have a material adverse effect on our business, operating results and financial condition.
| 13 |
Our operations are subject to natural disasters, adverse weather conditions, operating hazards, environmental incidents and labor disputes.
We may experience earthquakes, floods, mudslides, snowstorms, typhoon, power outages, labor disputes or similar events beyond our control that would affect our operations. Our manufacturing processes involve the use of hazardous equipment, including, but not limited to, furnaces, squaring machines and wire saws. We also use, store and generate volatile and otherwise dangerous chemicals and waste during our manufacturing processes, which are potentially destructive and dangerous if not properly handled or in the event of uncontrollable or catastrophic circumstances, including operating hazards, fires and explosions, natural disasters, adverse weather conditions and major equipment failures.
In addition, our polysilicon and wafer production and storage facilities are located in either Chongqing or Xinjiang, China. The occurrence of any natural disaster, unanticipated catastrophic event or unexpected accident in these locations could result in production curtailments, shutdowns or periods of reduced production, which could significantly disrupt our business operations, cause us to incur additional costs and affect our ability to deliver our products to our customers as scheduled, which may adversely affect our business, financial condition and results of operations. Moreover, such events could result in severe damage to property, personal injuries, fatalities, regulatory enforcement proceedings or in our being named as a defendant in lawsuits asserting claims for large amounts of damages, which in turn could lead to significant liabilities.
Occurrences of natural disasters, as well as accidents and incidents of adverse weather in or around either Chongqing or Xinjiang, China in the future may result in significant property damage, electricity shortages, disruption of our operations, work stoppages, civil unrest, personal injuries and, in severe cases, fatalities. Such incidents may result in damage to our reputation or cause us to lose all or a portion of our production capacity, and future revenue anticipated to be derived from the relevant facilities, any of which could have a material adverse effect on our business, operating results and financial condition.
Existing regulations and changes to these regulations may present technical, regulatory, economic and trade barriers to the purchase and use of photovoltaic products, which may significantly reduce demand for our products.
Photovoltaic products are subject to national and local regulations relating to building codes, safety, environmental protection, utility interconnection and metering, and other aspects of the electric utility industry. In a number of countries, including China, these regulations are being modified and may continue to be modified. The purchases of, or further investment in the research and development of, alternative energy sources, including photovoltaic technology, could be deterred by unfavorable regulations, which could result in a significant reduction in the potential demand for our products. For example, without a regulatory mandated exception for solar power systems, electric utility companies are often charged interconnection or standby fees for putting distributed power generation on the electric utility grid. These fees could increase the cost to end users of using photovoltaic products and make them less desirable. In addition, trade authorities in foreign countries may apply trade sanctions against photovoltaic product imports from China, if the foreign trade authorities determine that the export sales from China are in violation of fair trade practices. Such trade sanctions can result in significant additional duties, which may adversely affect our photovoltaic product demand, thereby harming our business, prospects, results of operations and financial condition.
| 14 |
We obtain certain production equipment from a limited number of suppliers, and if such equipment is not delivered on time, is damaged in shipment or is otherwise unavailable, our ability to deliver polysilicon on time will suffer, which in turn could result in cancellation of orders and loss of revenues.
Our operations and expansion plans depend on our ability to obtain a sufficient amount of equipment that meets our specifications on a timely basis. Some of our equipment used in polysilicon and wafer production is not readily available from alternative vendors and would be difficult to repair or replace if it were to become damaged or cease working. If any of these suppliers were to experience financial difficulties or go out of business, or if there were any damage to or a breakdown of our production equipment, our business would incur losses. In addition, a supplier’s failure to supply our ordered equipment in a timely manner, with adequate quality and on terms acceptable to us, could delay the capacity expansion of our manufacturing facilities and otherwise disrupt our production schedule or increase our costs of production. We have experienced significant delays in the delivery of our key equipment in the past. Failure to obtain equipment meeting our specifications could have a material adverse effect on our business, financial condition and results of operations. Furthermore, demand for polysilicon and wafer production equipment may result in significant increases in prices of such equipment or shortages in related components for our intended expansion. Any unexpected price increases could materially and adversely affect our financial condition and results of operations.
We have sourced and will continue to source some of our production equipment from Chinese manufacturers, and we cannot assure you that the China-sourced equipment will perform at the same level as our imported equipment or will meet our quality requirements.
We have purchased key equipment from Chinese and international suppliers. Compared to major international suppliers, our China-based suppliers generally have shorter operating histories and less experience in providing equipment for the polysilicon industry. We cannot assure you that the locally made equipment will perform at similar levels of quality and reliability as our imported equipment. In the event the China-sourced equipment does not perform as well as the imported equipment or does not perform at all, we may encounter disruption in our manufacture or deterioration of product quality, which in turn could materially and adversely affect our business, financial condition and results of operations.
Product defects could result in increased costs, decreased sales, and damage to our customer relationships and our reputation.
Our photovoltaic products may contain defects that are not detected until after it is shipped or processed by our customers. In the event our products are returned to us due to product defects, we would be required to replace the defective products promptly. If we deliver products with defects, or if there is a perception that our products are of substandard quality, we may incur substantially increased costs associated with termination of contracts and replacement of shipped products, and our credibility, market reputation and relationship with customers will be harmed and sales of our products may be materially and adversely affected.
Substantially all of our production, storage, administrative, and research and development facilities are located in either Chongqing or Xinjiang, China. Any damage or disruption at these facilities would have a material adverse effect on our financial condition and results of operations.
Substantially all of our production, storage, administrative, and research and development facilities are currently located in either Chongqing or Xinjiang, China. Natural disasters, such as fire, floods, typhoons, earthquakes, snow storms, or other unanticipated catastrophic events, including power interruption, telecommunications failures, equipment failures, explosions, break-ins, terrorist acts or war, could significantly disrupt our ability to manufacture our products and operate our business. If any of our production facilities or material equipment were to experience any significant damage or downtime, we would not be able to meet our production targets and our business would incur losses. Any damage or disruption at these facilities would have a material adverse effect on our business, financial condition and results of operations.
| 15 |
We rely on third party intellectual property for certain key aspects of our operations, which subjects us to the payment of license fees and potential disruption or delays in the production of our products.
While we continue to develop and pursue patent protection for our own technologies, we expect to continue to rely on third party license arrangements for certain key aspects of our operations. For instance, we license from third party Hydrochlorination process technology for our polysilicon production. See “Item 4. Information on the Company — B. Business Overview — Intellectual Property” for details of the contractual arrangements. The fees associated with such licenses could adversely affect our financial condition and operating results. If for any reason we are unable to license necessary technology on acceptable terms or at all, it may become necessary for us to develop alternative technology internally, which could be costly and delay or disrupt our production and therefore have a material adverse effect on our business and operating results.
Failure to protect our intellectual property rights may undermine our competitive position, and litigation to protect our intellectual property rights may be costly.
We rely primarily on trade secrets and other contractual restrictions to protect our intellectual property. Contractual arrangements, such as the confidentiality and non-competition agreements and terms between us and our research and development personnel, afford only limited protection and the actions we may take to protect our trade secrets and other intellectual property may not be adequate. In addition, we currently hold 75 patents and have 15 pending patent applications in China covering various aspects of the polysilicon and wafer manufacturing processes. However, we cannot assure you that our patent applications will be eventually issued with sufficiently broad coverage to protect our technology and products. Failure to protect our intellectual property and proprietary rights may undermine our competitive position. Third parties may infringe on or misappropriate our proprietary technologies or other intellectual property and proprietary rights and use them to compete against us, which could have a material adverse effect on our business, financial condition or operating results.
Policing unauthorized use of proprietary technology can be difficult and expensive. In particular, the laws and enforcement procedures of China and certain other countries are uncertain or do not protect intellectual property rights to the same extent as the laws and enforcement procedures of the United States do. See “— Risks Related to Doing Business in China — Uncertainties in the interpretation and enforcement of Chinese laws and regulations could limit the legal protection available to you and us” below. We may need to resort to court proceedings to enforce our intellectual property rights in the future. Litigation relating to our intellectual property might result in substantial costs and diversion of resources and management attention away from our business. An adverse determination in any such litigation will impair our intellectual property and proprietary rights and may harm our business, prospects and reputation.
We may be exposed to infringement or misappropriation claims by third parties, which, if determined adversely to us, could cause us to pay significant damage awards.
Although we are currently strengthening our research and development capability, to date, substantially all of the intellectual property used in our production process was developed by third parties. Our success will be jeopardized if we cannot use and develop our technology and know-how without infringing the intellectual property rights of third parties. The validity and scope of claims relating to photovoltaic technology patents involve complex scientific, legal and factual questions and analysis and, therefore, may be highly uncertain. We may be subject to litigation involving claims of patent infringement or violation of other intellectual property rights of third parties. The defense and prosecution of intellectual property suits, patent opposition proceedings, and related legal and administrative proceedings can be both costly and time-consuming and may significantly divert the efforts and resources of our technical and management personnel. An adverse determination in any such litigation or proceedings to which we may become a party could subject us to significant liability to third parties, require us to seek licenses from third parties, to pay ongoing royalties, or to redesign our manufacturing process or our products or subject us to injunctions prohibiting the manufacture and sale of our products or the use of our technologies. Protracted litigation could also result in our customers or potential customers deferring or limiting their purchase or use of our products until resolution of such litigation.
| 16 |
Our business depends substantially on the continuing efforts of our executive officers and key employees, and our business may be severely disrupted if we lose their services.
Our future success depends substantially on the continued services of our executive officers and key employees, especially Mr. Guangfu Xu, our chairman, and Mr. Longgen Zhang, our chief executive officer. If one or more of our executive officers or key employees were unable or unwilling to continue in their present positions, we might not be able to replace them easily, in a timely manner, or at all. Our business may be severely disrupted, our financial conditions and results of operations may be materially and adversely affected and we may incur additional expenses to recruit, train and retain personnel. If any of our executive officers or key employees join a competitor or form a competing company, we may lose customers, suppliers, know-how and key professionals and staff members. Each of our executive officers and key employees has entered into an employment agreement with us, which contains non-competition provisions. However, if any dispute arises between our executive officers and us, these agreements may not be enforceable in China, where these executive officers reside, in light of uncertainties with China’s legal system. See “— Risks Related to Doing Business in China — Uncertainties in the interpretation and enforcement of Chinese laws and regulations could limit the legal protection available to you and us” below.
Certain of our principal shareholders have substantial influence over our company and their interests may not be aligned with the interests of our other shareholders.
As of the date of this annual report, Messrs. Guangfu Xu, Xiang Xu and Dafeng Shi, our directors that are affiliated with Daqo Group, beneficially own a total of 92,291,042 or 34.12% of our ordinary shares, including shares that they had the right to acquire within 60 days. As a result of their high level of shareholding, these shareholders have substantial influence over our business, including decisions regarding mergers, consolidations and the sale of all or substantially all of our assets, election of directors and other significant corporate actions. These shareholders may take actions that are not in the best interest of us or our other shareholders. This concentration of ownership may discourage, delay or prevent a change in control of our company, which could deprive our other shareholders of an opportunity to receive a premium for their shares as part of a sale of our company and might reduce the price of our ADSs. These actions may be taken even if they are opposed by our other shareholders. These shareholders’ interests as beneficial owners of Daqo Group may not always be aligned with their interests as our shareholders. Should any conflict of interest arise, these shareholders may take actions not in the best interest of us and our other shareholders.
If we are unable to attract, train and retain qualified personnel, our business may be materially and adversely affected.
Our future success depends, to a significant extent, on our ability to attract, train and retain qualified personnel, particularly technical personnel with expertise in the photovoltaic industry. Since our industry is characterized by high demand and intense competition for talent, there can be no assurance that we will be able to attract or retain qualified technical staff or other highly skilled employees that we will need to achieve our strategic objectives. As we have a limited operating history and are in a stage of rapid growth, despite recent setbacks, our ability to train and integrate new employees into our operations may not meet the growing demands of our business. If we are unable to attract and retain qualified personnel, our business may be materially and adversely affected.
Compliance with environmental regulations can be expensive, and non-compliance with these regulations may result in adverse publicity and potentially significant monetary damages and fines.
As our manufacturing processes generate waste water and gas and other industrial wastes, we are required to comply with all applicable regulations regarding protection of the environment. We are in compliance with present environmental protection requirements in all material respects and have all the necessary environmental permits to conduct our business. However, if more stringent regulations are adopted in the future, the cost of compliance with these new regulations could be substantial. We cannot assure you that our pollution controls will always be effective and we may experience environmental non-compliance incidents. If we fail to comply with present or future environmental regulations, we may be required to pay substantial fines, suspend production or cease operations, which in turn would have a material adverse effect on our financial condition and results of operations.
| 17 |
The discontinuation of any of the preferential tax treatments or the financial incentives and grants currently available to us in China could adversely affect our overall results of operations.
Various Chinese governmental authorities have provided tax incentives to our subsidiaries in China. These incentives include income tax exemption or reduced enterprise income tax rates. For example, under the PRC Enterprise Income Tax Law, or the EIT Law, the statutory enterprise income tax rate is 25%. However, our Chinese subsidiary, Chongqing Daqo New Energy Co., Ltd., or Chongqing Daqo, as a “Chongqing Municipality High and New Technology Enterprise,” is entitled to a preferential enterprise income tax rate of 15%. The status is valid until 2017 and can be renewed for additional three-year terms upon Chongqing Daqo’s application and the government’s approval. We are in the process of renewing this status for Chongqing Daqo. Xinjiang Daqo New Energy Co., Ltd., or Xinjiang Daqo, another Chinese subsidiary of ours, obtained a High and New Technology Enterprise, or HNTE, certificate for a valid period of 3 years till 2019. During the year ended December 31, 2017, Xinjiang Daqo was entitled to a preferential tax rate of 15% because of its HNTE status. If there are significant changes in the business operations, manufacturing technologies or other criteria that cause the enterprise to no longer meet the criteria as a “high and new technology enterprise,” such status will be terminated from the year of such change. We cannot assure you that Chongqing Daqo or Xinjiang Daqo will continue to qualify as a “high and new technology enterprise” in future periods. Any increase in the enterprise income tax rate applicable to our Chinese subsidiaries or discontinuation or reduction of any of the preferential tax treatments or financial incentives currently enjoyed by our subsidiaries in China could adversely affect our business, operating results and financial condition.
The dividends we receive from our Chinese subsidiaries and our global income may be subject to Chinese tax under the EIT Law, which would have a material adverse effect on our results of operations; our foreign ADS holders may be subject to a Chinese withholding tax upon the dividends payable by us and Chinese tax on gains realized upon the sale or other disposition of our ADSs if we are classified as a Chinese “resident enterprise.”
Under the Chinese enterprise income tax laws and regulations, dividends, interests, rent, royalties and gains on transfers of property payable by a foreign-invested enterprise in China to its foreign investor who is a non-resident enterprise will be subject to a 10% withholding tax, unless such non-resident enterprise’s jurisdiction of incorporation has a tax treaty with China that provides for a reduced rate of withholding tax and such non-resident enterprise is the beneficial owner of the dividends, interests, rent, royalties and gain on transfers of property. The Cayman Islands, where Daqo Cayman is incorporated, does not have such a tax treaty with China.
Under the EIT Law, an enterprise established outside China with its “de facto management body” within China is considered a “resident enterprise” in China and will be subject to the Chinese enterprise income tax at the rate of 25% on its worldwide income. In April 2009, the Chinese State Administration of Taxation issued a circular to clarify criteria for determining the “resident enterprise” status of foreign companies which are controlled by PRC enterprises or PRC enterprise groups. Pursuant to the circular, to determine whether a company formed outside of mainland China and controlled by PRC enterprises or PRC enterprise groups incorporated in China should be treated as a Chinese resident enterprise, the tax authority will review factors such as the routine operation of the organizational body that effectively manages the enterprise’s production and business operations, locations of personnel holding decision-making power, location of finance and accounting functions and properties of the enterprise, and whether more than half of the directors or senior management personnel reside in China. Substantially all of our management members are based in China. However, it remains unclear how PRC tax authorities will classify an overseas company such as ours, which is controlled by PRC natural persons rather than PRC enterprises. If the Chinese tax authorities subsequently determine that Daqo Cayman should be classified as a resident enterprise, then our worldwide income will be subject to Chinese income tax, which may have a material adverse effect on our financial condition and results of operations. Notwithstanding the foregoing provision, the EIT Law also provides that, if a resident enterprise directly invests in another resident enterprise, the dividends received by the investing resident enterprise from the invested enterprise are exempted from income tax, subject to certain conditions. Therefore, if Daqo Cayman is classified as resident enterprise under the EIT Law, the dividends received from our Chinese subsidiaries may be exempted from withholding tax.
Moreover, if Daqo Cayman is classified as a “resident enterprise” in China, non-resident enterprise ADS holders may be subject to a 10% withholding tax (20% in the case of non-PRC individual ADS holders) upon dividends payable by us and 10% tax on gains realized upon the sale or other disposition of our ADSs (20% in the case of non-PRC individual ADS holders). Any such tax may reduce the returns on your investment in our ADSs.
| 18 |
We have limited insurance coverage. In particular, we do not have any product liability insurance or business interruption insurance.
As the insurance industry in China is still in an early stage of development, the product liability insurance and business interruption insurance available in China offer limited coverage compared to that offered in many other countries. We do not have any product liability insurance or business interruption insurance. Any business disruption or natural disaster could result in substantial costs and a diversion of resources, which would have a material adverse effect on our business and results of operations.
As with other photovoltaic product manufacturers, we are exposed to risks associated with product liability claims if the use of our photovoltaic products results in injury. Since our polysilicon products are made into electricity generating devices, it is possible that users could be injured or killed by devices that use our products as a result of product malfunctions, defects, improper installation or other causes. We only began commercial shipment of our photovoltaic products in July 2008 and, because of our limited operating history, we cannot predict whether product liability claims will be brought against us in the future or the effect of any resulting negative publicity on our business. The successful assertion of product liability claims against us could result in potentially significant monetary damages and require us to make significant payments.
We have granted, and may continue to grant, stock options and other share-based compensation in the future, which may materially impact our future results of operations.
We adopted our 2009 share incentive plan, or the 2009 Plan, and our 2014 share incentive plan, or the 2014 Plan, in August 2009 and December 2014, respectively, that permit the grant of stock options, restricted shares and restricted share units to employees, directors and consultants of our company. Under the 2009 Plan and the 2014 Plan, we may issue awards to purchase up to 15,000,000 and 21,000,000 ordinary shares, respectively. As of the date of this annual report, excluding expired or cancelled options, we have granted options to purchase a total of 23,398,541 of our ordinary shares and 12,653,992 restricted share units under these plans. In addition, we modified the exercise prices for certain outstanding options in January 2012, April 2013, January 2015 and September 2015 in order to provide additional incentives to our employees and directors pursuant to an express authorization under our share incentive plan, allowing our Board of Directors to approve a downward adjustment of the option exercise prices without our shareholders’ approval. As a result of these option grants, option re-pricings and potential future grants under the plans, we have incurred, and will incur in future periods, significant share-based compensation expenses. We account for compensation costs for all stock options using a fair-value based method and recognize expenses in our consolidated statement of income in accordance with the relevant rules in accordance with U.S. GAAP, which may have a material adverse effect on our net income. Moreover, the additional expenses associated with share-based compensation may reduce the attractiveness of such incentive plans to us. However, if we limit the scope of our share incentive plans, we may not be able to attract or retain key personnel who expect to be compensated with incentive shares or options.
Risks Related to Doing Business in China
Uncertainties in the global economy and the slowdown of the Chinese economy may adversely affect our business, results of operations and financial condition.
The global financial markets experienced significant disruptions in 2008 and the United States, Europe and other economies went into recession. The recovery from the lows of 2008 and 2009 was uneven and is facing new challenges, including the escalation of the European sovereign debt crisis since 2011 and the slowdown of the Chinese economy in the recent years. It is unclear whether the European sovereign debt crisis will be contained and whether the rate of growth of the Chinese economy will continue slowing down. There is considerable uncertainty over the long-term effects of the expansionary monetary and fiscal policies that have been adopted by the central banks and financial authorities of some of the world’s leading economies, including China’s. There have also been concerns over unrest in the Middle East and Africa, which have resulted in volatility in oil and other markets, and over the possibility of a war involving Iran. There have also been concerns about the economic effect of the territorial disputes involving China in Asia and the tensions in the relationship between China and Japan. Economic conditions in China are sensitive to global economic conditions. Any prolonged slowdown in the global or Chinese economy may have a negative impact on our business, results of operations and financial condition, and continued turbulence in the international markets may adversely affect our ability to access the capital markets to meet liquidity needs.
| 19 |
Since we derive substantially all of our revenues from customers in China, any prolonged slowdown in the Chinese economy may have a negative impact on our business, results of operations and financial condition in a number of ways. For example, our customers may reduce or delay spending with us, while we may have difficulty expanding our customer base fast enough, or at all, to offset the impact of decreased spending by our existing customers. In addition, to the extent we offer credit to any customer and such customer experiences financial difficulties due to the economic slowdown, we could have difficulty collecting payment from such customer.
Changes in China’s economic, political or social conditions or government policies could have a material adverse effect on our business and operations.
Substantially all of our assets are located in and substantially all of our revenues are currently sourced from China. Accordingly, our business, financial condition, results of operations and prospects may be influenced to a significant degree by political, economic and social conditions in China generally and by continued economic growth in China as a whole.
The Chinese economy differs from the economies of most developed countries in many respects, including the level of government involvement, level of development, growth rate, control of foreign exchange and allocation of resources. Although the Chinese government has implemented measures since the late 1970s emphasizing the utilization of market forces for economic reform, the reduction of state ownership of productive assets and the establishment of improved corporate governance in business enterprises, a substantial portion of productive assets in China is still owned by the Chinese government. In addition, the Chinese government continues to play a significant role in regulating industry development by imposing industrial policies. The Chinese government also exercises significant control over the Chinese economic growth through the allocation of resources, controlling payment of foreign currency-denominated obligations, setting monetary policy and providing preferential treatment to particular industries or companies.
While the Chinese economy has experienced significant growth over the past decades, growth has been uneven, both geographically and among various sectors of the economy. The Chinese government has implemented various measures to encourage economic growth and guide the allocation of resources. Some of these measures benefit the overall Chinese economy, but may also have a negative effect on us. For example, our operating results and financial condition may be adversely affected by government control over capital investments or changes in tax regulations that are applicable to us, and by government policies or guidance aimed at curtailing the perceived over-capacity of certain industry sectors, such as polysilicon, steel, concrete and wind power equipment. See “Item 4. Information on the Company — B. Business Overview — Regulation — Renewable Energy Law and Other Government Directives.” The Chinese government has implemented certain measures, including interest rate increases, to control the pace of economic growth. These measures may cause decreased economic activity in China, which could in turn reduce the demand for our products and materially and adversely affect our operating results and financial condition.
Uncertainties in the interpretation and enforcement of PRC laws and regulations could limit the legal protection available to you and us.
The Chinese legal system is a civil law system based on written statutes. Unlike common law systems, it is a system in which legal decisions have limited value as precedents. In the late 1970s, the Chinese government began to promulgate a comprehensive system of laws and regulations governing economic matters in general. The overall effect of legislation and rule-making over the past three decades has been to significantly increase the protections afforded to various forms of foreign or private-sector investment in China. Our Chinese operating subsidiary, Chongqing Daqo, is a foreign-invested enterprise and is subject to laws and regulations applicable to foreign-invested enterprises as well as various PRC laws and regulations generally applicable to companies in China. Our business is also subject to various industry policy, safety and environmental laws and regulations that affect our operations and production facility expansion plans, including those related to investment, project construction, building, zoning, fire prevention and work safety. These laws and regulations are still evolving, and their interpretation and enforcement involve uncertainties. In addition, due to the inconsistent regulatory enforcements in China, local Chinese governmental authorities have significant discretion in interpreting and implementing rules and regulations, and there is no assurance that the central government authorities will always agree with the interpretations and implementations of the local governmental authorities. Currently, we possess all material local governmental approvals relating to our operations and production capacity expansion plans. However, if a central government agency requires us to obtain its approval and if we fail to obtain such approval in a timely manner, or at all, we may be subject to the imposition of fines against us, or the suspension or cessation of our production capacity expansion plans. See “Item 4. Information on the Company — B. Business Overview — Regulation — Renewable Energy Law and Other Government Directives.” It may be more difficult to evaluate the outcome of any regulatory or legal proceedings and the level of legal protection we enjoy than in more developed legal systems. These uncertainties may impede our ability to continue our operations or planned capacity expansions, which, as a result, could materially and adversely affect our business and operations.
| 20 |
Chinese regulations relating to offshore investment activities by Chinese residents may increase the administrative burden we face and may subject our Chinese resident beneficial owners or employees to personal liabilities, limit our subsidiaries’ ability to increase its registered capital or distribute profits to us, limit our ability to inject capital into our Chinese subsidiaries, or may otherwise expose us to liability under PRC laws.
The State Administration of Foreign Exchange, or SAFE, has promulgated regulations that require Chinese residents and Chinese corporate entities to register with local branches of SAFE in connection with their direct or indirect offshore investment activities. These regulations may apply to our shareholders who are Chinese residents and may apply to any offshore acquisitions that we make in the future.
SAFE promulgated the Circular on Relevant Issues Concerning Foreign Exchange Control on Relating to Domestic Resident’s Offshore Investment and Financing and Roundtrip Investment through Special Purpose Vehicles, or SAFE Circular 37, in July 2014 that requires PRC residents or entities to register with SAFE or its local branch in connection with their establishment or control of any special purpose vehicles established for the purpose of overseas investment or financing. In addition, such PRC residents or entities must update their SAFE registrations when the offshore special purpose vehicle undergoes material events relating to any change of basic information (including change of such PRC citizens or residents, name and operation term), increases or decreases in investment amount, transfers or exchanges of shares, or mergers or divisions. SAFE Circular 37 is issued to replace the Notice on Relevant Issues Concerning Foreign Exchange Administration for PRC Residents Engaging in Financing and Roundtrip Investments via Overseas Special Purpose Vehicles, or SAFE Circular 75.
If a Chinese shareholder with a direct or indirect stake in an offshore parent company fails to make the required SAFE registration, the Chinese subsidiaries of such offshore parent company may be prohibited from making distributions of profit to the offshore parent and from paying the offshore parent proceeds from any reduction in capital, share transfer or liquidation in respect of the Chinese subsidiaries, and the offshore parent company may also be prohibited from injecting additional capital into its Chinese subsidiaries. Furthermore, failure to comply with the SAFE registration requirement described above may result in liability for the Chinese shareholders and the Chinese subsidiaries under PRC laws for foreign exchange registration evasion.
We have, up to the present, completed SAFE registration for all current beneficial shareholders of our company who are, to our knowledge, Chinese residents. However, we may not be fully informed of the identities of the beneficial owners of our company and we cannot assure you that all of our Chinese resident beneficial owners will comply with SAFE regulations. The failure of our beneficial owners who are Chinese residents to make any required registrations may subject us to fines and legal sanctions, and prevent us from making distributions or paying dividends, as a result of which our business operations and our ability to distribute profits to you could be materially and adversely affected.
Participants of our share incentive plan who are PRC individuals are required to register with SAFE, and the failure to so comply could subject us and such participants to penalties.
In February 2012, SAFE promulgated the Notice on the Administration of Foreign Exchange Matters for Domestic Individuals Participating in the Stock Incentive Plans of Overseas Listed Companies, or the Stock Option Notice. According to the Stock Option Notice, a PRC domestic qualified agent or the PRC subsidiary of such overseas listed company must file an application with SAFE or its local counterpart on behalf of PRC resident individuals who participate in stock incentive plans of overseas publicly listed companies to obtain approval for an annual allowance with respect to the purchase of foreign exchange in connection with the stock holding or share option exercises. Our company is an “overseas publicly listed company,” and therefore, we and participants of our share incentive plan who are PRC individuals are subject to these regulations.
| 21 |
We have completed registration for options and restricted share units granted as of the date of this annual report. For future option and restricted share unit grants, if our application is unsuccessful or our option plan participants who are PRC individuals fail to work with us to complete the registration, we or such persons may be subject to fines and legal sanctions. Any failure to comply with such regulations may subject us and the relevant participants of our share incentive plan to fines and legal sanctions and prevent us from being able to grant share incentives to our personnel, as a result of which our business operations may be adversely affected.
Chinese regulation of direct investment and loans by offshore holding companies to Chinese entities may delay or limit us from making additional capital contributions or loans to our Chinese subsidiaries.
Any capital contributions or loans that we, as an offshore entity, make to our Chinese subsidiaries are subject to Chinese regulations. For example, for each of our Chinese subsidiaries, the aggregate amount of our loans to the Chinese subsidiary cannot exceed product of the difference between the amount of its total investment and its registered capital as approved by the foreign investment regulatory authorities under relevant PRC laws, and the ratio of the paid-in capital to the committed registered capital, and the loans must be registered with the local branch of SAFE. For each foreign invested enterprise, such as Chongqing Daqo, when the Chinese foreign investment regulatory authorities approve the establishment of such foreign invested enterprise, the authorities approve the amounts of such enterprise’s registered capital, which represent the investors’ capital commitment in equity, and the amounts of its total investment, which represent the sum of its registered capital plus the amounts of its permitted loans. After the establishment of the foreign invested enterprise, the investors can seek regulatory approval to increase its registered capital and the total investment amounts, and upon approval, there will be increases in both amounts. There is a specific statutory guideline relating to the ratio of a foreign invested enterprise’s registered capital amount over total investment amount, and all foreign investment regulatory authorities in China must follow the ratio guideline when exercising their approval authority. However, there is no uniform statutory guideline applicable to all regulatory authorities regarding whether to approve the establishment of a new foreign invested enterprise or to approve any increase in the registered capital and total investment of an existing foreign invested enterprise. In practice, authorities consider factors such as overall governmental policies relating to the specific industry and demands in a particular industry and the approval usually takes one to three months depending on the locations of the foreign invested enterprises. The approved total investment amounts of Chongqing Daqo and Xinjiang Daqo are $286.0 million and $300.6 million, respectively. The registered capital of Chongqing Daqo is $96.0 million contributed by Daqo Cayman as the sole investor. The registered capital of Xinjiang Daqo is $101.0 million, of which $100.0 million was contributed by Daqo Cayman and $1.0 million was contributed by Xinjiang Daqo Investment Co., Ltd., an PRC entity that is a wholly-owned subsidiary of Daqo Group. As a result, the maximum permissible amounts that Chongqing Daqo and Xinjiang Daqo may borrow from Daqo Cayman are $190.0 million and $200.3 million, respectively. We may not make loans to Chongqing Daqo or Xinjiang Daqo in excess of the maximum amounts permissible unless we obtain government approval to increase their total investment amounts. In addition, any increases of our capital contributions to our Chinese subsidiaries beyond the previously authorized amount must be approved by the MOFCOM and the NDRC or their respective local counterparts. We cannot assure you that we will be able to obtain these approvals on a timely basis, or at all. If we fail to obtain such approvals, our ability to make equity contributions or provide loans to our Chinese subsidiaries or to fund their operations may be negatively affected, which could adversely affect our Chinese subsidiaries’ liquidity and their ability to fund their working capital and expansion projects and meet their obligations and commitments.
| 22 |
We rely principally on dividends and other distributions on equity paid by our wholly owned operating subsidiaries to fund any cash and financing requirements we may have, and any limitation on the ability of our operating subsidiaries to pay dividends to us could have a material adverse effect on our ability to borrow money or pay dividends.
As a holding company, we rely principally on dividends and other distributions on equity paid by our Chinese subsidiaries for our cash requirements, including funds necessary to service any debt we may incur. If our Chinese subsidiaries incur debt on their own behalf in the future, the instruments governing the debt may restrict their ability to pay dividends or make other distributions to us. Furthermore, relevant PRC laws and regulations permit payments of dividends by Chinese subsidiaries only out of their retained earnings, if any, determined in accordance with Chinese accounting standards and regulations. Under PRC laws and regulations, each of our Chinese subsidiaries is required to set aside a portion of its net income each year to fund a statutory surplus reserve until such reserve reaches 50% of its registered capital. This reserve is not distributable as dividends. As a result, our Chinese subsidiaries are restricted in their ability to transfer a portion of their net assets to us in the form of dividends, loans or advances. Limitation on the ability of our Chinese subsidiaries to pay dividends to us could materially and adversely limit our ability to borrow money outside of China or pay dividends to holders of our ADSs. See “— Risks Related to Our Business — The dividends we receive from our Chinese subsidiaries and our global income may be subject to Chinese tax under the EIT Law, which would have a material adverse effect on our results of operations; our foreign ADS holders may be subject to a Chinese withholding tax upon the dividends payable by us and Chinese tax on gains realized upon the sale or other disposition of our ADSs if we are classified as a Chinese ‘resident enterprise.’”
Fluctuations in exchange rates could result in foreign currency exchange losses.
The value of the RMB against the U.S. dollar and other currencies is affected by changes in China’s political and economic conditions and by China’s foreign exchange policies, among other things. In July 2005, the PRC government changed its decades-old policy of pegging the value of the RMB to the U.S. dollar, and the RMB appreciated more than 20% against the U.S. dollar over the following three years. Between July 2008 and June 2010, this appreciation halted and the exchange rate between the RMB and the U.S. dollar remained within a narrow band. Since June 2010, the RMB has fluctuated against the U.S. dollar, at times significantly and unpredictably. It is difficult to predict how market forces or PRC or U.S. government policy may impact the exchange rate between the RMB and the U.S. dollar in the future.
The financial records of our PRC subsidiaries are maintained in RMB, which is their functional currency. We are therefore exposed to fluctuations in the exchange rate between the U.S. dollar and RMB. We do not currently hedge, and have not historically hedged, our operational exposure to this foreign currency fluctuation. Our consolidated financial results are presented in U.S. dollars, and therefore, during times of a strengthening U.S. dollar versus RMB, our reported revenue and earnings that are denominated in RMB will be reduced because the RMB will translate into fewer U.S. dollars. In addition, assets and liabilities are translated at the exchange rates at the balance sheet date. Equity accounts are translated at historical exchange rates. Revenues, expenses, gains and losses are translated at average rate of exchange prevailing during the periods presented. Translation adjustments arising from the use of differing exchange rates from period to period are recorded as cumulative translation adjustments and are shown as a separate component of other comprehensive income in our statement of changes in equity and comprehensive income. Accordingly, changes in currency exchange rates will cause our revenues, expenses, gains and losses, shareholders’ equity, and comprehensive income to fluctuate, and such fluctuations may have an adverse effect on our financial condition and results of operations.
Furthermore, any significant depreciation of the RMB against the U.S. dollar may have a material adverse effect on the value of, and any dividends payable on, our ADSs and ordinary shares. If we decide to convert our RMB into U.S. dollars for the purpose of making payments for dividends on our ordinary shares or for other business purposes, depreciation of the RMB against the U.S. dollar would reduce the U.S. dollar amount available to us. On the other hand, to the extent that we need to convert U.S. dollars into RMB for our operations, appreciation of the RMB against the U.S. dollar would have an adverse effect on the RMB amount we receive from the conversion. In addition, the value of your investment in our ADSs will be affected by the exchange rate between U.S. dollar and RMB because the value of our business is effectively denominated in RMB, while the ADSs will be traded in U.S. dollars. Fluctuation in the value of the RMB in either direction could have a material adverse effect on the value of our company and the value of your investment.
| 23 |
Failure to maintain effective internal control over financial reporting could have a material and adverse effect on the trading price of our ADSs.
We are subject to the reporting obligations under the U.S. securities laws. In connection with the audit of our internal controls over financial reporting as of and for the year ended December 31, 2011, we and our independent registered public accounting firm identified three “material weaknesses” including (i) our lack of accounting resources and expertise necessary to comply with U.S. GAAP and the Securities and Exchange Commission, or the SEC, financial reporting and disclosure requirements, (ii) our lack of sufficient resources to perform thorough reviews of consolidated financial statements and related footnote disclosures during the period-end financial reporting and disclosure process, and (iii) our lack of sufficient processes, documentation and approval of related party transactions with affiliates. In 2012, we have made enhancements to our internal controls over financial reporting. Based on these actions taken and our testing and evaluation of the effectiveness of our internal controls, we have concluded the material weaknesses no longer existed as of December 31, 2013 to 2017. As of December 31, 2017, our management concluded that our internal control over financial reporting was effective. Our independent registered public accounting firm did not conduct an audit of our internal control over financial reporting for the years ended December 31, 2012 and 2013. For the years ended December 31, 2014, 2015, 2016 and 2017, our independent registered public accounting firm performed an audit of our internal control over financial reporting.
However, we cannot assure you that we will maintain effective internal control over financial reporting on an ongoing basis. If we fail to maintain effective internal controls over financial reporting, we will not be able to conclude and our independent registered public accounting firm will not be able to report that we have effective internal controls over financial reporting in accordance with the Sarbanes-Oxley Act of 2002 in our future annual report on Form 20-F covering the fiscal year in which this failure occurs. Effective internal control over financial reporting is necessary for us to produce reliable financial reports. Any failure to maintain effective internal controls over financial reporting could result in the loss of investor confidence in the reliability of our financial statements, which in turn could have a material and adverse effect on the trading price of our ADSs. Furthermore, we may need to incur additional costs and use additional management and other resources as our business and operations further expand or in an effort to remediate any significant control deficiencies that may be identified in the future.
Proceedings instituted by the SEC against five PRC-based accounting firms, including our independent registered public accounting firm, could result in financial statements being determined to not be in compliance with the requirements of the Exchange Act.
Starting in 2011 the Chinese affiliates of the “big four” accounting firms, including our independent registered public accounting firm, were affected by a conflict between U.S. and PRC laws. Specifically, for certain U.S.-listed companies operating and audited in mainland China, the SEC and the Public Company Accounting Oversight Board, or the PCAOB, sought to obtain from the Chinese firms access to their audit work papers and related documents. The firms were, however, advised and directed that under PRC laws, they could not respond directly to the US regulators on those requests, and that requests by foreign regulators for access to such papers in China had to be channeled through the China Securities Regulatory Commission, or the CSRC.
In late 2012 this impasse led the SEC to commence administrative proceedings under Rule 102(e) of its Rules of Practice and also under the Sarbanes-Oxley Act of 2002 against the Chinese accounting firms, including our independent registered public accounting firm. A first instance trial of the proceedings in July 2013 in the SEC’s internal administrative court resulted in an adverse judgment against the firms. The administrative law judge proposed penalties on the firms including a temporary suspension of their right to practice before the SEC, although that proposed penalty did not take effect pending review by the Commissioners of the SEC. On February 6, 2015, before a review by the Commissioner had taken place, the firms reached a settlement with the SEC. Under the settlement, the SEC accepts that future requests by the SEC for the production of documents will normally be made to the CSRC. The firms will receive matching Section 106 requests, and are required to abide by a detailed set of procedures with respect to such requests, which in substance require them to facilitate production via the CSRC. If they fail to meet specified criteria, the SEC retains authority to impose a variety of additional remedial measures on the firms depending on the nature of the failure. Remedies for any future noncompliance could include, as appropriate, an automatic six-month bar on a single firm’s performance of certain audit work, commencement of a new proceeding against a firm, or in extreme cases the resumption of the current proceeding against all four firms.
In the event that the SEC restarts the administrative proceedings, depending upon the final outcome, listed companies in the United States with major PRC operations may find it difficult or impossible to retain auditors in respect of their operations in the PRC, which could result in financial statements being determined to not be in compliance with the requirements of the Securities Exchange Act of 1934, as amended, or the Exchange Act, including possible delisting. Moreover, any negative news about any such future proceedings against these audit firms may cause investor uncertainty regarding China-based, United States-listed companies and the market price of our ADSs may be adversely affected.
| 24 |
If our independent registered public accounting firm were denied, even temporarily, the ability to practice before the SEC and we were unable to timely find another registered public accounting firm to audit and issue an opinion on our financial statements, our financial statements could be determined not to be in compliance with the requirements of the Exchange Act. Such a determination could ultimately lead to the delisting of our ordinary shares from the NYSE Global Market or deregistration from the SEC, or both, which would substantially reduce or effectively terminate the trading of our ADSs in the United States.
The audit report included in this annual report is prepared by an auditor who is not inspected by the Public Company Accounting Oversight Board and, as such, you are deprived of the benefits of such inspection.
Our independent registered public accounting firm that issues the audit reports included in this annual report, as an auditor of companies that are traded publicly in the United States and a firm registered with the PCAOB, is required by the laws of the United States to undergo regular inspections by the PCAOB to assess its compliance with the laws of the United States and professional standards. Because our auditors are located in the People’s Republic of China, a jurisdiction where the PCAOB is currently unable to conduct inspections without the approval of the Chinese authorities, our auditors are not currently inspected by the PCAOB.
Inspections of other firms that the PCAOB has conducted outside of China have identified deficiencies in those firms’ audit procedures and quality control procedures, which may be addressed as part of the inspection process to improve future audit quality. This lack of PCAOB inspections in China prevents the PCAOB from regularly evaluating our auditor’s audits and its quality control procedures. As a result, investors may be deprived of the benefits of PCAOB inspections.
The inability of the PCAOB to conduct inspections of auditors in China makes it more difficult to evaluate the effectiveness of our auditor’s audit procedures or quality control procedures as compared to auditors outside of China that are subject to PCAOB inspections. Investors may lose confidence in our reported financial information and procedures and the quality of our financial statements.
Restrictions on currency exchange under PRC laws may limit our ability to convert cash derived from our operating activities into foreign currencies and may materially and adversely affect the value of your investment.
Substantially all of our revenues and operating expenses are denominated in RMB. Under the relevant foreign exchange restrictions in China, conversion of the RMB is permitted, without the need for SAFE approval, for “current account” transactions, which includes dividends, trade, and service-related foreign exchange transactions. Conversion of the RMB for “capital account” transactions, which includes foreign direct investment and loans, is still subject to significant limitations and requires approvals from and registration with SAFE and other Chinese regulatory authorities. We cannot assure you that SAFE or other Chinese governmental authorities will not further limit or eliminate our ability to purchase foreign currencies in the future. Any existing and future restrictions on currency exchange in China may limit our ability to convert cash derived from our operating activities into foreign currencies to fund expenditures denominated in foreign currencies. If the foreign exchange restrictions in China prevent us from obtaining U.S. dollars or other foreign currencies as required, we may not be able to pay dividends in U.S. dollars or other foreign currencies to our shareholders, including holders of our ADSs. Furthermore, foreign exchange control in respect of the capital account transactions could affect our Chinese subsidiaries’ ability to obtain foreign exchange or conversion into RMB through debt or equity financing, including by means of loans or capital contributions from us.
We face risks related to health epidemics and other outbreaks.
Our business could be adversely affected by the effects of swine flu, avian flu, Severe Acute Respiratory Syndrome, or SARS or other epidemics or outbreaks. China reported a number of cases of SARS in April 2004. In 2006, 2007 and 2008, there were reports of occurrences of avian flu in various parts of China, including a few confirmed human cases and deaths. In April 2009, an outbreak of swine flu occurred in Mexico and the United States and human cases of swine flu were discovered in China and Hong Kong. In April 2013, there were reports of occurrences of avian flu in various parts of China, including a number of confirmed human cases and deaths. Any prolonged occurrence or recurrence of swine flu, avian flu, SARS, Ebola or other adverse public health developments in China or any of the major markets in which we do business may have a material adverse effect on our business and operations. These could include our ability to deliver our products within or outside of China, as well as temporary closure of our manufacturing facilities, or our customers’ facilities, leading to delayed or cancelled orders. Any severe travel or shipment restrictions and closures would severely disrupt our operations and adversely affect our business and results of operations.
| 25 |
Risks Related to Our ADSs
The trading prices of our ADSs have been and may continue to be volatile, which could result in substantial losses to investors.
The closing trading prices of our ADSs ranged from $18.31 to $60.67 in 2017, and may remain volatile in the future and could fluctuate widely due to factors beyond our control. This may happen because of broad market and industry factors, like the performance and fluctuation of the market prices of other companies with business operations located mainly in China that have listed their securities in the United States. A number of China-based companies, including many solar energy companies, have listed their securities on U.S. stock exchanges. The securities of some of these companies have experienced significant volatility, including price declines in connection with their initial public offerings. The trading performances of these Chinese companies’ securities after their offerings may affect the attitudes of investors toward Chinese companies listed in the United States in general and consequently may impact the trading performance of our ADSs, regardless of our actual operating performance.
In addition to market and industry factors, the price and trading volume for our ADSs may be volatile for factors specific to our own operations, including the following:
| · | variations in our revenues, earnings and cash flow; |
| · | announcements of our new investments, acquisitions, strategic partnerships, or joint ventures; |
| · | announcements of new products and expansions by us or our competitors; |
| · | announcements of sale of existing business segments; |
| · | fluctuations in market prices of or demand for our products; |
| · | changes in financial estimates by securities analysts; |
| · | changes in the ratio of ADSs vs. ordinary shares; |
| · | additions or departures of key personnel; and |
| · | potential litigation or regulatory investigations. |
Any of these factors may result in large and sudden changes in the volume and price at which our ADSs will trade. We cannot assure you that these factors will not occur in the future.
The sale or availability for sale of substantial amounts of our ADSs could adversely affect their market price.
Sales of substantial amounts of our ADSs in the public market or the perception that these sales could occur, could adversely affect the market price of our ADSs and could materially impair our ability to raise capital through equity offerings in the future. Our ADSs are freely tradable without restriction or further registration under the U.S. Securities Act of 1933, as amended, or the Securities Act, subject to the restrictions in Rule 144 and Rule 701 under the Securities Act. In addition, market sales of securities held by our significant shareholders or any other shareholder or the availability of these securities for future sale may adversely affect the market price of our ADSs.
Our Fourth Amended and Restated Memorandum and Articles of Association contain anti-takeover provisions that could have a material adverse effect on the rights of holders of our ordinary shares and ADSs.
Our Fourth Amended and Restated Memorandum and Articles of Association contain provisions to limit the ability of others to acquire control of our company or cause us to engage in change-of-control transactions. These provisions could have the effect of depriving our shareholders of an opportunity to sell their shares at a premium over prevailing market prices by discouraging third parties from seeking to obtain control of our company in a tender offer or similar transaction.
| 26 |
You may face difficulties in protecting your interests, and your ability to protect your rights through U.S. courts may be limited, because we are incorporated under Cayman Islands law.
We are an exempted company incorporated under the laws of the Cayman Islands. Our corporate affairs are governed by our memorandum and articles of association, as amended from time to time, the Companies Law of the Cayman Islands, as amended from time to time, and the common law of the Cayman Islands. The rights of shareholders to take actions against the directors, actions by minority shareholders and the fiduciary responsibilities of our directors to us under Cayman Islands law are to a large extent governed by the common law of the Cayman Islands. The common law of the Cayman Islands is derived in part from comparatively limited judicial precedent in the Cayman Islands as well as from the common law of England, the decisions of whose courts are of persuasive authority, but are not binding, on a court in the Cayman Islands. The rights of our shareholders and the fiduciary responsibilities of our directors under Cayman Islands law are not as clearly established as they would be under statutes or judicial precedent in some jurisdictions in the United States. In particular, the Cayman Islands has a less developed body of securities laws than the United States. Some U.S. states, such as Delaware, have more fully developed and judicially interpreted bodies of corporate law than the Cayman Islands. In addition, Cayman Islands companies may not have standing to initiate a shareholder derivative action in a federal court of the United States.
The Cayman Islands courts are also unlikely:
| · | to recognize or enforce against us judgments of courts of the United States based on certain civil liability provisions of U.S. securities laws; and |
| · | to impose liabilities against us, in original actions brought in the Cayman Islands, based on certain civil liability provisions of U.S. securities laws that are penal in nature. |
There is no statutory recognition in the Cayman Islands of judgments obtained in the United States, although the courts of the Cayman Islands will in certain circumstances recognize and enforce a non-penal judgment of a foreign court of competent jurisdiction without retrial on the merits.
As a result of all of the above, public shareholders may have more difficulty in protecting their interests in the face of actions taken by management, members of the board of directors or controlling shareholders than they would as public shareholders of a company incorporated in the United States.
Certain judgments obtained against us by our shareholders may not be enforceable.
We are a Cayman Islands company and all of our assets are located outside of the United States. Substantially all of our current operations are conducted in China. In addition, a majority of our current directors and officers are nationals and residents of countries other than the United States. Substantially all of the assets of these persons are located outside the United States. As a result, it may be difficult or impossible for you to bring an action against us or against these individuals in the United States in the event that you believe that your rights have been infringed under the United States federal securities laws or otherwise. Even if you are successful in bringing an action of this kind, the laws of the Cayman Islands and of China may render you unable to enforce a judgment against our assets or the assets of our directors and officers.
The voting rights of holders of ADSs are limited by the terms of the deposit agreement, and you may not be able to exercise your right to vote your ordinary shares.
As a holder of our ADSs, you will only be able to exercise the voting rights with respect to the underlying ordinary shares in accordance with the provisions of the deposit agreement. Under the deposit agreement, you must vote by giving voting instructions to the depositary. Upon receipt of your voting instructions, the depositary will vote the underlying ordinary shares in accordance with these instructions. You will not be able to directly exercise your right to vote with respect to the underlying shares unless you withdraw the shares. Under our Fourth Amended and Restated Memorandum and Articles of Association, the minimum notice period required for convening a general meeting is seven days. When a general meeting is convened, you may not receive sufficient advance notice to withdraw the shares underlying your ADSs to allow you to vote with respect to any specific matter. If we ask for your instructions, the depositary will notify you of the upcoming vote and will arrange to deliver our voting materials to you. We cannot assure you that you will receive the voting materials in time to ensure that you can instruct the depositary to vote your shares. In addition, the depositary and its agents are not responsible for failing to carry out voting instructions or for their manner of carrying out your voting instructions. This means that you may not be able to exercise your right to vote and you may have no legal remedy if the shares underlying your ADSs are not voted as you requested.
| 27 |
The depositary for our ADSs will give us a discretionary proxy to vote our ordinary shares underlying your ADSs if you do not vote at shareholders’ meetings, except in limited circumstances, which could adversely affect your interests.
Under the deposit agreement for the ADSs, if you do not vote, the depositary will give us a discretionary proxy to vote our ordinary shares underlying your ADSs at shareholders’ meetings unless:
| · | we have failed to timely provide the depositary with notice of meeting and related voting materials; |
| · | we have instructed the depositary that we do not wish a discretionary proxy to be given; |
| · | we have informed the depositary that there is substantial opposition as to a matter to be voted on at the meeting; |
| · | a matter to be voted on at the meeting would have a material adverse impact on shareholders; or |
| · | the voting at the meeting is to be made by a show of hands. |
The effect of this discretionary proxy is that if you do not vote at shareholders’ meetings, you cannot prevent our ordinary shares underlying your ADSs from being voted, except under the circumstances described above. This may make it more difficult for shareholders to influence the management of our company. Holders of our ordinary shares are not subject to this discretionary proxy.
You may not receive dividends or other distributions on our ordinary shares and you may not receive any value for them, if it is illegal or impractical to make them available to you.
The depositary of our ADSs has agreed to pay to you the cash dividends or other distributions it or the custodian receives on ordinary shares underlying our ADSs, after deducting its fees and expenses. You will receive these distributions in proportion to the number of ordinary shares your ADSs represent. However, the depositary is not responsible if it decides that it is unlawful or impractical to make a distribution available to any holders of ADSs. For example, it would be unlawful to make a distribution to a holder of ADSs if it consists of securities that require registration under the Securities Act but that are not properly registered or distributed under an applicable exemption from registration. The depositary may also determine that it is not feasible to distribute certain property through the mail. Additionally, the value of certain distributions may be less than the cost of mailing them. In these cases, the depositary may determine not to distribute such property. We have no obligation to register under U.S. securities laws any ADSs, ordinary shares, rights or other securities received through such distributions. We also have no obligation to take any other action to permit the distribution of ADSs, ordinary shares, rights or anything else to holders of ADSs. This means that you may not receive distributions we make on our ordinary shares or any value for them if it is illegal or impractical for us to make them available to you. These restrictions may cause a material decline in the value of our ADSs.
You may not be able to participate in rights offerings and may experience dilution of your holdings.
We may, from time to time, distribute rights to our shareholders, including rights to acquire securities. Under the deposit agreement, the depositary will not distribute rights to holders of ADSs unless the distribution and sale of rights and the securities to which these rights relate are either exempt from registration under the Securities Act with respect to all holders of ADSs, or are registered under the provisions of the Securities Act. The depositary may, but is not required to, attempt to sell these undistributed rights to third parties, and may allow the rights to lapse. We may be unable to establish an exemption from registration under the Securities Act, and we are under no obligation to file a registration statement with respect to these rights or underlying securities or to endeavor to have a registration statement declared effective. Accordingly, holders of ADSs may be unable to participate in our rights offerings and may experience dilution of their holdings as a result.
| 28 |
You may be subject to limitations on transfer of your ADSs.
Your ADSs are transferable on the books of the depositary. However, the depositary may close its books at any time or from time to time when it deems expedient in connection with the performance of its duties. The depositary may close its books from time to time for a number of reasons, including in connection with corporate events such as a rights offering, during which time the depositary needs to maintain an exact number of ADS holders on its books for a specified period. The depositary may also close its books in emergencies, and on weekends and public holidays. The depositary may refuse to deliver, transfer or register transfers of our ADSs generally when our share register or the books of the depositary are closed, or at any time if we or the depositary thinks it is advisable to do so because of any requirement of law or of any government or governmental body, or under any provision of the deposit agreement, or for any other reason.
We may be classified as a passive foreign investment company, or PFIC, for U.S. federal income tax purposes, which could subject U.S. investors in our ADSs or ordinary shares to adverse tax consequences.
A non-United States corporation, such as our company, will be classified as a PFIC, for United States federal income tax purposes, for any taxable year if either (i) 75% or more of its gross income consists of certain types of “passive” income or (ii) 50% or more of the value of its assets (determined on the basis of a quarterly average) produce or are held for the production of passive income. Based on our income and assets, we do not believe that we were a PFIC for the taxable year ended December 31, 2017 and do not anticipate becoming a PFIC in future taxable years, although there can be no assurance in this regard. Although we do not currently expect that our assets or activities will change in a manner that would cause us to become a PFIC for our current taxable year or the foreseeable future, there can be no assurance our business plans will not change in a manner that will affect our PFIC status. Because there are uncertainties in the application of the relevant rules and PFIC status is a fact-intensive determination made on an annual basis, no assurance can be given that we are not or will not become classified as a PFIC.
If we were to be classified as a PFIC in any taxable year, a U.S. Holder (as defined in “Item 10. Additional Information — E. Taxation — United States Federal Income Tax Considerations”) may incur significantly increased United States federal income tax on gain recognized on the sale or other disposition of the ADSs or ordinary shares and on the receipt of distributions on the ADSs or ordinary shares to the extent such gain or distribution is treated as an “excess distribution” under the United States federal income tax rules. Further, if we are classified as a PFIC for any year during which a U.S. Holder holds our ADSs or ordinary shares, we generally will continue to be treated as a PFIC for all succeeding years during which such U.S. Holder holds our ADSs or ordinary shares. See “Item 10. Additional Information — E. Taxation — United States Federal Income Tax Considerations — Passive Foreign Investment Company Considerations” and “ — Passive Foreign Investment Company Rules” for more information.”
We are a “foreign private issuer”, and have disclosure obligations that are different from those of U.S. domestic reporting companies; as a result, you should not expect to receive the same information about us at the same time when a U.S. domestic reporting company provides the information required to be disclosed.
We are a foreign private issuer and, as a result, we are not subject to the same requirements that are imposed upon U.S. domestic issuers by the SEC. Under the Exchange Act, we will be subject to reporting obligations that, to some extent, are more lenient and less frequent than those of U.S. domestic reporting companies. For example, we are not required to issue quarterly reports or proxy statements. We have 120 days to file our annual report with the SEC for the fiscal years ending on or after December 31, 2011. We are not required to disclose detailed individual executive compensation information that is required to be disclosed by U.S. domestic issuers. Further, our directors and executive officers are not required to report equity holdings under Section 16 of the Securities Act and are not subject to the insider short-swing profit disclosure and recovery regime. As a foreign private issuer, we are also exempt from the requirements of Regulation FD (Fair Disclosure) which, generally, are meant to ensure that select groups of investors are not privy to specific information about an issuer before other investors. We are, however, still subject to the anti-fraud and anti-manipulation rules of the SEC, such as Rule 10b-5 under the Exchange Act. Since many of the disclosure obligations imposed on us as a foreign private issuer are different than those imposed on U.S. domestic reporting companies, our shareholders should not expect to receive the same information about us and at the same time as the information received from, or provided by, U.S. domestic reporting companies.
| 29 |
If securities or industry analysts do not actively follow our business, or if they publish unfavorable research about our business, our ADS price and trading volume could decline.
The trading market for our ADS depends in part on the research and reports that securities or industry analysts publish about us or our business. If one or more of the analysts who covers us downgrades our ADSs or publishes unfavorable research about our business, our ADS price would likely decline. If one or more of these analysts ceases coverage of our company or fails to publish reports on us regularly, demand for our ADSs could decrease, which could cause our ADS price and trading to decline.
ITEM 4. INFORMATION ON THE COMPANY
A. History and Development of the Company
Our company was incorporated in Cayman Islands as Mega Stand International Limited in November 2007. We changed our corporate name to Daqo New Energy Corp. in August 2009.
We are a company limited by shares domiciled in the Cayman Islands. The corporate affairs of Daqo New Energy Corp. are governed by our Fourth Amended and Restated Memorandum and Articles of Association, the Companies Law (2016 Revision) of the Cayman Islands and the common law of the Cayman Islands.
In 2008, we established Chongqing Daqo as our wholly owned operating subsidiary in China. Through Chongqing Daqo, we focus primarily on the manufacture and sale of polysilicon and have expanded into wafer manufacturing. In addition to Chongqing Daqo, we established Nanjing Daqo New Energy Co., Ltd., or Nanjing Daqo, in 2007 in China, through which we conducted our module manufacturing business. In 2009, we established our wholly owned subsidiary Daqo Solar Energy North America, or Daqo North America, in California to promote our products in North America. In 2011, we established a wholly owned subsidiary, Daqo New Energy Holdings (Canada) Ltd., or Daqo Canada, to expand our operations in Canada. In 2011, to expand our polysilicon manufacturing capacity, we established another wholly owned subsidiary, Xinjiang Daqo, in China.
Daqo Group established Daqo New Material in 2006 in Chongqing, China. Although all of Daqo Group’s equity interest holders also beneficially own shares of Daqo Cayman, Daqo Group does not have any shareholding in our company. As of the date of this annual report, holders of equity interests in Daqo Group in aggregate beneficially own 47.8% of the outstanding ordinary shares of our company. Subsequent to the establishment of Chongqing Daqo in July 2008, Chongqing Daqo entered into a lease agreement with Daqo New Material to rent all of Daqo New Material’s land, production infrastructure, machinery, equipment, facilities, factories, buildings and other assets for polysilicon production. This lease was terminated on December 30, 2013. Under Financial Accounting Standards Board Accounting Standards Codification 810-10-15, “Variable Interest Entities,” we were deemed to be Daqo New Material’s primary beneficiary and Daqo New Material had been consolidated from July 1, 2008 to December 30, 2013.
We commenced commercial production at the Phase 1 polysilicon facilities in July 2008. Production at the Phase 1 polysilicon facilities used equipment and property of both us and Daqo New Material.
Even though we do not directly or indirectly hold any equity interests in Daqo New Material, under U.S. GAAP, Daqo New Material has been deemed to be our predecessor business from November 16, 2006 through June 30, 2008.
Under a non-competition agreement with us, Daqo Group has agreed not to engage in the business of manufacturing, marketing or distributing polysilicon or any other solar power products anywhere in the world or compete in any manner with our businesses without our consent for an indefinite term. Such related party transactions are subject to our audit committee’s review and approval. Under the non-competition agreement, we, through Daqo Cayman and Chongqing Daqo, are entitled to seek temporary restraining orders, injunctions or other equitable relief, in addition to monetary remedies specified in the agreement, if Daqo Group breaches its non-competition obligations. With the approval of our audit committee, we gave our consent to Daqo Group to enter the photovoltaic cell manufacturing business in China. Daqo Group incorporated the wholly owned subsidiary, Zhenjiang Daqo Solar Co., Ltd., or Zhenjiang Daqo, which started commercial production of photovoltaic cells in 2011.
| 30 |
On October 7, 2010, we listed our ADSs, each representing five ordinary shares of Daqo New Energy Corp., on the New York Stock Exchange, or the NYSE, under the symbol “DQ” in connection with an initial public offering. We issued a total of 9,200,000 ADSs at $9.50 per ADS in connection with our initial public offering.
In February 2011, we incorporated a wholly owned subsidiary, Xinjiang Daqo, in Shihezi Economic Development Area in Xinjiang Autonomous Region, China, to build our Phase 2A polysilicon production facilities. We finished construction of our Phase 2A polysilicon facilities in September 2012 and have engaged in commercial production at these facilities since the first quarter of 2013.
In April 2011, we incorporated a wholly owned subsidiary, Daqo Canada, to expand our operations in North America. Through Daqo Canada, we set up a joint venture with JNE Solar Inc., a party unrelated to us prior to this transaction, in Hamilton, Ontario. This joint venture was terminated in April 2012. We liquidated Daqo Canada in October 2013.
In September 2012, to focus on our core businesses of polysilicon and wafer production, we sold our 100% equity interest in our module business to Daqo Group for a consideration of $9.9 million. On December 21, 2012, we effected a change of the ADS to ordinary share ratio from one ADS representing five ordinary shares to one ADS representing 25 ordinary shares. The ratio change had the same effect as a 1-for-5 reverse ADS split.
In September 2012, we halted polysilicon production in order to begin maintenance and technology improvement projects at the Phase 1 polysilicon facilities with the primary objective of lowering the cost to produce polysilicon at these facilities. In conjunction with the production stoppage, a supplementary lease agreement with Daqo New Material was reached which reduced lease payments beginning in 2013 to approximately $0.
In the first quarter of 2013, we terminated Daqo North America, which was originally designed to promote our module products in North America. In the second quarter of 2013, we incurred fixed asset impairment charges related to the Phase 1 polysilicon facilities to reflect the market challenges that had an adverse effect on the profit-generating ability of the assets.
As of March 2013, we successfully reached our initial targets for both capacity and cost structure for our Xinjiang polysilicon facilities. As part of our efforts toward further improvement, we successfully completed a project to identify and reduce restrictions on our production throughput, or a “debottlenecking” project, prior to the end of 2013.
In November 2013, our Board of Directors approved our plan to further expand our capacity in Xinjiang from 6,150 MT to 12,150 MT, or the Phase 2B expansion, in order to take advantage of the enormous competitive advantage in electricity price in Xinjiang compared to that of Chongqing.
Since we will not continue the technology improvement project in our Phase 1 facilities and we plan to relocate the idle machinery and equipment from Phase 1 facilities in Chongqing to Phase 2 facilities in Xinjiang for the expansion project, we (i) ceased production at the Phase 1 polysilicon facilities in 2013 and 2014, (ii) started the relocation of certain machinery and equipment from the Phase 1 polysilicon facilities to Xinjiang and (iii) on December 30, 2013, signed an amendment to the supplementary lease agreement to terminate the lease, which resulted in the de-consolidation of Daqo New Material. To support the wafer manufacturing at Chongqing Daqo, a new lease agreement was entered into with Daqo New Material to lease a small portion of its facilities, including, but not limited to, the dining hall, part of the office buildings and portions of the employee dormitory, on January 1, 2014.
Following the completion of our Phase 2A and our capacity enhancement project for Phase 2A, we fully ramped up our nameplate polysilicon production capacity to 6,150 MT per annum in the first quarter of 2014.
| 31 |
We fully ramped up the full production capacity of our Phase 2B project to 12,150 MT per annum at the end of the third quarter of 2015, which reduced our average production cost (including depreciation) and cash cost (excluding depreciation) to $9.74/kg and $7.69/kg in the fourth quarter of 2015, respectively.
In January 2015, our Board of Directors approved our Phase 3A expansion project. We completed the construction and installation of Phase 3A at the end of 2016 and achieved full production capacity of 18,000 MT per annum in the first quarter of 2017. In August 2017, our Board of Directors approved Phase 3B expansion project. We expect to complete the entire Phase 3B project and begin pilot production in the first half of 2019 and reach full capacity of 30,000 MT by mid-2019. Upon the full operation of our Phase 3B expansion project, we expect to further reduce our production cost, benefiting from lower unit cost of electricity, new production processes and equipment with higher efficiencies, and greater economies of scale.
We are in the process of relocating certain machinery and equipment from our facilities in Chongqing to our Xinjiang facilities, which has reduced the capital expenditure requirements for our Phase 2B, 3A and 3B projects. In addition, we utilized approximately 81% of our current machinery and equipment as measured by its book value as of December 31, 2017, and have determined that the remaining machinery and equipment can be more efficiently and cost-effectively used in our potential future expansions, which will reduce our capital expenditure requirements in future expansions.
In November 2013, we achieved great progress in our wafer business by increasing our annual capacity from 36 million pieces to 72 million pieces. Since 2014, we have been running our wafer business in full capacity and improved the quality and efficiency for our wafer products. In May 2014, we established in-house slurry recovery system, which helps us lower the wafer production cost. In November 2015, we launched a wafer technology enhancement project at our Chongqing wafer facilities, which is expected to reduce our wafer manufacturing cost and increase our wafer capacity with a limited capital expenditure requirement. We upgraded our ingot furnaces from Generation 5 to Generation 6 directional solidification casting furnaces and increased our ingot output from approximately 500 kilograms per batch to approximately 800 kilograms per batch. We also increased our wafering capacity by improving efficiency of the existing wafering system and acquiring certain used wafering tools from the secondary market. By the end of the second quarter of 2016, we successfully completed this project and increased our annual wafer capacity from the 87 million pieces to approximately 100 million pieces. By the year end of 2017, we have successfully switched our slicing technology from traditional slurry wiresaws to diamond saws which enable us to significantly improve our manufacturing efficiency and lower processing cost.
In August 2015, our Board of Directors and the Audit Committee approved the restructuring plan of Xinjiang Daqo in order for it to meet certain PRC legal requirement for listing on the National Equities Exchange and Quotations, or the New Third Board, an emerging over-the-counter securities market in China. Pursuant to the restructuring plan, Xinjiang Daqo Investment subscribed for newly issued equity interest of Xinjiang Daqo representing 1% of the total outstanding equity of Xinjiang Daqo, which the restructuring was completed in December 2015. We are holding 99% of the outstanding equity interest of Xinjiang Daqo. In April 2016, Xinjiang Daqo has received approval to list its shares on the New Third Board. In June 2016, Xinjiang Daqo was listed on the New Third Board.
In December 2016, we adopted a dual Chinese name “大全新能源公司” at our annual general meeting, so that the name of our company is “Daqo New Energy Corp. 大全新能源公司.”
Our principal executive offices are located at 666 Longdu Avenue, Wanzhou, Chongqing 404000, People’s Republic of China, and our telephone number at that location is +86-23-6486-6666. Our registered office in the Cayman Islands is located at the offices of International Corporation Services Ltd., P.O. Box 472, 2nd Floor Harbor Place, Grand Cayman KY1-1106, Cayman Islands. Our agent for service of process in the United States is Law Debenture Corporate Services Inc., located at 400 Madison Avenue, 4th Floor, New York, NY 10017.
See “Item 5. Operating and Financial Review and Prospects — B. Liquidity and Capital Resources — Capital Expenditures” for a discussion of our capital expenditures.
B. Business Overview
Photovoltaics is one of the proven and most rapidly growing renewable energy sources in the world. Energy from the sun is converted into electricity primarily through the photovoltaic effect and, to a lesser extent, through concentrated solar thermal technologies.
| 32 |
We are a leading high-purity polysilicon manufacturer based in China. We utilize the chemical vapor deposition process, or the “modified Siemens process,” to produce polysilicon, and have fully implemented the closed loop system to produce high-quality polysilicon cost-effectively. We manufacture and sell high-purity polysilicon to photovoltaic product manufacturers, who further process our polysilicon into ingots, wafers, cells and modules for solar power solutions. Currently, our annual capacity for polysilicon is 18,000 MT in Xinjiang. We have successfully upgraded our off-gas treatment process from traditional Hydrogenation technology to Hydrochlorination technology. We improve our production efficiency and increase our output through technological improvements, adoption of process innovation and refinement as well as equipment enhancement. Actual production volume may exceed the production capacity due to operational improvements we may implement at our facilities in response to market conditions.
We have expanded to the downstream photovoltaic manufacturing businesses to establish facilities for wafer manufacturing. As of the end of 2017, our wafer manufacturing annual capacity is approximately 100 million pieces. We have reported wafer shipments in units of “million pieces” instead of “MW” since the first quarter of 2013. Improvements in wafer technology can cause watts per piece to increase, resulting in larger MW shipments without increases in the amount of wafer produced, and consequently we believe that the newly adopted unit more accurately presents our operating performance. Most of our wafer product is high efficiency wafer which represents approximately 4.5 watts per piece. The following diagram illustrates the value chain for the manufacture of crystalline-silicon based photovoltaic products:

Our operations are located in Chongqing and Xinjiang, which are in southwestern and northwestern China, respectively. The cost of doing business in western China is generally lower than the coastal areas of China. Specifically, in Xinjiang where our polysilicon facilities are located, the electricity rate is much lower than the coastal areas. Because of our strategic locations, we experience advantages in electricity and raw material costs over our competitors that are based in developed countries or in the coastal areas of China.
We impose rigorous quality control standards at various stages of our manufacturing process. We systematically test raw materials from our suppliers and test our inputs at each stage of our manufacturing process to ensure that they meet all technical specifications. With our strict quality control measures in our manufacturing and facility construction processes, we are able to produce high-quality polysilicon consistently at our facilities. In 2017, approximately 99.0% of our polysilicon met the solar grade I standard, the highest specification of the solar grade quality standard, and approximately 61.8% of our polysilicon met the electronic grade quality standard in China, which standard was updated in 2016. We currently sell polysilicon to China-based photovoltaic product manufacturers. The majority of our sales are made under framework contracts, with the prices to be determined at the time when specific sales orders are made. As of December 31, 2017, our major photovoltaic product customers included operating entities of Jinko Solar, Meike Silicon Energy, Longi, Konca Solar, Jinneng Clean Energy and JA Solar.
We commenced commercial production of wafers using our own polysilicon in July 2011. In November 2015, we launched a wafer technology enhancement project at our Chongqing wafer facilities, which is expected to reduce our wafer manufacturing cost and increase our wafer capacity with a limited capital expenditure requirement.
We upgraded our ingot furnaces from Generation 5 to Generation 6 directional solidification casting furnaces and increased our ingot output from approximately 500 kilograms per batch to approximately 800 kilograms per batch. We also increased our wafering capacity by improving efficiency of the existing wafering system and acquiring certain used wafering tools from the secondary market. By the end of the second quarter of 2016, we successfully completed this project and increased our annual wafer capacity from the 87 million pieces to approximately 100 million pieces. By the year end of 2017, we have successfully switched our slicing technology from traditional slurry wire saws to diamond saws, which enable us to significantly improve our manufacturing efficiency and lower processing cost.
| 33 |
In May 2010, we commenced commercial production of modules. We sold all of our module facilities in September 2012 to focus on our core businesses of polysilicon and wafer production. The operation of our downstream photovoltaic product manufacturing business involves risks and uncertainties, such as higher cost, lack of experience, financing, construction and operational uncertainties, potential competition and regulatory risks. See “Item 3. Key Information — D. Risk Factors — Risks Related to Our Business” for details.
Quarterly sales volume for polysilicon and wafer in 2017:
| First Quarter | Second Quarter | Third Quarter | Fourth Quarter | FY 2017 | ||||||||||||||||
| Sales Volume | ||||||||||||||||||||
| Polysilicon (MT) | 4,223 | 4,497 | 4,500 | 4,730 | 17,950 | |||||||||||||||
| Wafer (million pieces) | 22.3 | 27.0 | 26.4 | 22.3 | 98.0 | |||||||||||||||
Our Products
We manufacture and sell high-purity polysilicon to photovoltaic product manufactures, who further process the polysilicon into ingots, wafers, cells and modules for solar power solutions. We offer ready-to-use polysilicon, packaged to meet crucible stacking, pulling, and solidification needs. Our current annual capacity for polysilicon production is 18,000 MT. We are one of the best quality polysilicon makers in China. In 2017, approximately 99.0% of our polysilicon met the solar grade I standard, the highest specification of the solar grade quality standard, and approximately 61.8% of our polysilicon met the electronic grade quality standard in China, which standard was updated in 2016. In 2017, approximately 35% of our polysilicon was suitable for selling to mono wafer application which requires higher quality as compared to multi wafer. We expect to increase this portion to approximately 59% and 69% in 2018 and 2019, respectively, due to our continuous efforts in quality improvement.
In addition, we also offer high-quality wafers through our downstream photovoltaic product manufacturing business. As of the end of 2017, the annual capacity of our wafer facilities was approximately 100 million pieces. To meet the prevailing market demands, we produce both standard and high efficiency multi-crystalline wafers with dimensions of 156.75 millimeters x 156.75 millimeters and thickness of 180~200 microns. Our high efficiency wafers are produced through an innovative casting manufacturing process.
See “Item 5. Operating and Financial Review and Prospects — A. Operating Results — Components of Results of Operations — Revenues” for a breakdown of our net revenues by category of activity.
Manufacturing Process
Polysilicon
Modified Siemens Process
Three main technologies are used in polysilicon production: the Siemens process, the fluidized bed reactor process and the newly-developed and upgraded metallurgical grade silicon process. The Siemens process is an existing and well proven process technology predominantly used in high purity silicon feedstock production in the solar industry. The two other new technologies, the fluidized bed reactor process and the upgraded metallurgical grade silicon process, have the potential for lower cost production but are relatively new and less proven.
We use the modified Siemens process to produce polysilicon. The modified Siemens process includes three distinct steps: (1) TCS production; (2) distillation; and (3) deposition. In addition, we recover and recycle exhaust gas throughout the process in our closed loop manufacturing system. The diagram below describes our current general manufacturing process:
| 34 |
TCS production. The first step of the manufacturing process is to produce TCS from two widely available industrial raw materials: MG-Si and liquid chlorine. We generate TCS in-house through our integrated manufacturing process. TCS production includes two steps: hydrogen chloride synthesis, or HCl synthesis, and TCS synthesis. At the HCl synthesis step, liquid chlorine from a chlorine tank is vaporized to chlorine gas and sent to the HCl synthesis furnace, where it reacts with hydrogen to generate HCl. At the TCS synthesis step that follows, MG-Si powder is then sent to Hydrochlorination unit and reacted with HCl gas.
Distillation. Distillation is a method of separating mixtures based on differences in their boiling points. Raw TCS is purified through distillation to produce high purity TCS feedstock. The difference in boiling points of TCS and impurities such as boron, phosphorous, and metal halides allow for purification of TCS. It is critical to remove these impurities in this process to eliminate the possible causes of low performance in solar cells. In the distillation process, all by-product chemicals from vent gases are separated and further purified before being sent back to our production areas.
Deposition. The purified TCS from the distillation process is vaporized, mixed with hydrogen gas, and then fed into the deposition reactor. The mixed gas passes over heated silicon slim rods inside the deposition reactor. In the reactor, multiple pair slim rods are heated up to approximately 1,100°C and high purity silicon is deposited on the rods surface. The constant feeding of TCS and hydrogen gas allows for continuous silicon deposition until 150–200mm in diameter is achieved. At this point the deposition cycle is completed and the ultra-pure silicon is harvested.
| 35 |
Closed loop manufacturing system
We have implemented the modified Siemens process in a completely closed loop system. The closed loop system is an advanced polysilicon manufacturing process widely used by leading international polysilicon manufacturers. Compared to the open loop system, the closed loop system uses raw materials more efficiently, requires less electricity and produces less pollution. Manufacturing polysilicon generates an exhaust gas primarily consisting of hydrogen, HCl, and chlorosilanes. Using the vent gas recovery system, which combines condensers, distillation towers, adsorption beds and compressors, we are able to separate the exhaust stream from our manufacturing process into individual components that can be reused after further purification. For instance, a by-product of the deposition step is STC, which is a toxic chemical. Through a separate hydrochlorination process, we convert STC to TCS, so that we eliminate the costs related to STC disposal and reduce operational risks of STC treatment. Mixed chlorosilanes are recovered as a liquid stream suitable for separation where we can directly reuse TCS. Anhydrous HCl is recovered with high purity, suitable for use in TCS production. Recovered hydrogen typically contains contaminants of fewer than 10 parts per million and is recycled to the deposition reactors. Recycling significantly reduces costs related to waste disposal and the amount of raw materials we need to purchase for production.
Although the closed loop system has lower manufacturing costs than the open loop system, manufacturing facilities based on the open loop system can be built within a shorter period time with less initial capital investment for equipment. Most of polysilicon manufacturing facilities in China were traditionally built based on the open loop system. However, as the polysilicon market may face downward pricing pressure from time to time, we believe that an increasing number of China-based manufacturers are converting their open loop system to the closed loop system and many of them have completed such conversion. The full implementation of the closed loop system by other polysilicon manufacturers has diminished our competitive advantages provided by this system. Nevertheless, in August 2011, Chongqing Daqo entered into a Technology License and Transfer Agreement with GTAT Corporation, a Delaware company, under which GTAT granted us a license to use, in both our Chongqing and Xinjiang facilities, its Hydrochlorination TCS Production Technology and Chlorosilane Recovery/Waste Neutralization Technology.
We have successfully adopted in our Xinjiang polysilicon manufacturing facilities Hydrochlorination technology, a process which has seen increasing application in polysilicon manufacturing in recent years. It converts STC (STC) to TCS by reacting with metallurgical grade silicon powder. Using Hydrochlorination technology, chemical reactions take place under much higher pressure and at lower temperatures in comparison to the traditional hydrogenation process. As a result, it consumes less electricity and offers a higher STC/TCS conversion rate. In addition, the Hydrochlorination process also does not require fresh TCS production, which further reduces production costs.
To achieve high efficiency in our manufacturing process, we have also installed a distribution control system and a thermal energy recycling mechanism. The distribution control system enables tight quality control, reduces process related variations, and improves productivity. Our thermal energy recycling system allocates heat generated from our deposition reactors and hydrogenation reactors to many other production areas, such as distillation facilities for TCS purification and our refrigeration station to support a large number of condensers.
Wafer
We conducted our wafer business through tolling arrangements with third party wafer manufacturers in 2009 and 2010. In July 2011, we commenced commercial production of multi-crystalline silicon wafers at our wafer production facilities. In November 2015, we launched a wafer technology enhancement project at our Chongqing wafer facilities, which is expected to reduce our wafer manufacturing cost and increase our wafer capacity with a limited capital expenditure requirement. We upgraded our ingot furnaces from Generation 5 to Generation 6 directional solidification casting furnaces and increased our ingot output from approximately 500 kilograms per batch to approximately 800 kilograms per batch. We also increased our wafering capacity by improving efficiency of the existing wafering system and acquiring certain used wafering tools from the secondary market. By the end of the second quarter of 2016, we successfully completed this project and increased our annual wafer capacity from the 87 million pieces to approximately 100 million pieces. By the year end of 2017, we have successfully switched our slicing technology from traditional slurry wire saws to diamond saws, which enable us to significantly improve our manufacturing efficiency and lower processing cost. The manufacturing process of wafers typically consists of two major steps: ingot preparation and wafering. Multi-crystalline ingots are prepared by directional solidification in a casting furnace. Silicon ingots will then be shaped to the required sizes and sliced to wafers by wire saws.
| 36 |
Manufacturing Capacity
The following table sets forth our major installed approximate annual production capacity objectives as of the dates indicated and includes the expected date of initial commercial operation and fully ramped-up production of each expansion phase.
| Approximate Annual Production Capacity | Construction Period | Commercial Production Period | Fully Ramped-up Production | ||||
| Polysilicon: | ||||||||
| Phase 1A facilities(1)(2) | 1,500 MT | June 2007 – May 2008 | July 2008 – September 2012 | March 2009 | ||||
| Phase 1B facilities(1)(2) | 1,800 MT | May 2008 – May 2009 | December 2009 – September 2012 | January 2010 | ||||
| Capacity enhancement of Phase 1 facilities(1)(2) | 1,000 MT | December 2010 | December 2010 – September 2012 | December 2010 | ||||
| Phase 2A facilities(3) | 5,000 MT | Second quarter of 2011 – September 2012 | First quarter of 2013 – Present | March 2013 | ||||
| Capacity enhancement of Phase 2A facilities(3) | 1,150 MT | July 2013 – January 2014 | January 2014 – Present | First quarter of 2014 | ||||
| Phase 2B facilities(3) | 6,000 MT | April 2014 – June 2015 | July 2015 – Present | Third quarter of 2015 | ||||
| Phase 3A facilities(3) | 5,850 MT | July 2015 – December 2016 | First quarter of 2017 – Present | First quarter of 2017 | ||||
| Phase 3B facilities(3) | 13,000 MT | January 2018 – December 2018 | First half of 2019 | End of the second quarter of 2019 | ||||
| Wafer: | ||||||||
| Phase 1A facilities(1) | 35 million pieces | July 2010 – February 2011 | July 2011– Present | November 2011 | ||||
| Phase 1B facilities(1) | 37 million pieces | February 2011 – September 2011 | May 2013 – Present | November 2013 | ||||
| Capacity enhancement of Phase 1 facilities | 28 million pieces | November 2015 – June 2016 | Second quarter of 2016 | Third quarter of 2016 |
| Notes: |
| (1) | The facilities are located in Chongqing. |
| (2) | We halted polysilicon production at these facilities in September 2012 and ultimately determined to cease production in the second quarter of 2013. |
| (3) | The facilities are located in Xinjiang. |
| 37 |
We completed the construction and installation of Phase 3A at the end of 2016 and commenced initial production in the first quarter of 2017. By the end of February 2017, we achieved full production capacity of 18,000 MT per annum. In August 2017, our Board of Directors approved Phase 3B expansion project. We expect to complete the entire Phase 3B project and begin pilot production in the first half of 2019 and reach full capacity of 30,000 MT by mid-2019. Upon the full operation of our Phase 3B expansion project, we expect to further reduce our production cost, benefiting from lower unit cost of electricity, new production processes and equipment with higher efficiencies, and greater economies of scale. Our capacity expansion plan and technology improvement plan are preliminary and subject to risks and uncertainties that may be out of our control. See “Item 3. Key Information — D. Risk Factors — Risks Related to Our Business — Our future success depends substantially on our ability to significantly expand our polysilicon production capacity and output, and to relocate equipment to our Xinjiang facilities, which exposes us to a number of risks and uncertainties” and “Item 3. Key Information — D. Risk Factors — Risks Related to Our Business — If we are unable to manage our expansion effectively, our business and financial results may be adversely affected.”
Materials and Inputs Used in Production
Polysilicon
Raw materials required for our polysilicon manufacturing process primarily include metallurgical grade silicon, which is silicon of 95% to 99% purity, and liquid chlorine, two widely available industrial raw materials used in our in-house production of TCS, electricity and other utilities, and other significant inputs for production, such as argon gas, caustic soda and graphite parts. We produce liquid chlorine in our in-house facilities. This provides us with a reliable supply of liquid chlorine and also helps us to further reduce material costs.
The costs of electricity are significant in the production of polysilicon. The electricity costs in Chongqing are lower than those in coastal areas of China and those in developed countries due to Chongqing’s abundant hydroelectric resources. The costs of electricity in Xinjiang are approximately 50% lower than even those in Chongqing due to Xinjiang’s abundant coal resources. Shihezi, where our Xinjiang polysilicon facilities are located, enjoys additional advantages in the costs of electricity due to the independent regional electricity grid being operated and managed by the Eighth Division of the Xinjiang Production and Construction Corps. We also use other utilities, such as steam, water and natural gas, for our manufacturing process. Steam supply is important to the production of polysilicon. We use both a local supplier and our in-house capabilities to produce steam.
Wafer
Wafer manufacturing uses solar grade polysilicon as the primary raw material and consumables such as crucibles, wires and slurry. We utilize our in-house high quality polysilicon, as well as externally purchased polysilicon for high efficiency wafer production. We have established an in-house slurry recycling system to ensure the quality of re-used slurry and cut slurry cost significantly.
Equipment
The major polysilicon production equipment includes hydroelectrolysis devices, hydrochlorination synthesis furnaces, TCS synthesis furnaces, distillation towers, polysilicon deposition reactors, hydrogenation reactors, exhaust gas recovery units and distribution control systems. The major wafer production equipment includes crystal growing furnaces, crucible coating machines, squarers, wire saws, wet benches and testing tools.
We have close relationships with several of the world’s leading equipment manufacturers and work closely with selected equipment manufacturers to develop and build our production lines. In addition, we developed technical specifications for the design of our power supply systems and reactors and have engaged manufacturers to construct the equipment in accordance with our specifications. Our engineers work closely with our equipment suppliers to design our production facilities. Furthermore, to lower costs, we have purchased and will continue to purchase equipment that can be appropriately designed and manufactured by China-based suppliers. Our technical team is responsible for overseeing the installation of our manufacturing lines to optimize the interaction between the various individual components of the entire production process. They work together with our equipment suppliers’ technical teams on site at the time of installation.
| 38 |
Quality Assurance
We apply our quality control system at each stage of our manufacturing process, from raw materials procurement to production and delivery, in order to ensure a consistent quality of our products. We systematically inspect raw materials from our suppliers, such as MG-Si, liquid chlorine and various consumables for our polysilicon business and polysilicon for our wafer business. We also test our inputs in each stage of our production process to ensure the inputs meet all technical specifications.
We sample each lot of polysilicon harvested from the deposition reactors and keep the samples for product quality tracking purpose. We also set up a product tracking system to trace back all shipped products to the samples we keep and to our database, which contains detailed information of each shipment. We received the ISO 9001:2008 certification for our quality assurance system for both Chongqing and Xinjiang plants, which we believe demonstrates our technological capabilities and inspires customer confidence. In 2009, Chongqing Science and Technology Commission issued a three-year certificate to recognize our polysilicon as a high and new technology product. We have successfully renewed the certificate for Chongqing Daqo until November 2018 and will continue to apply for renewal of the certificate after its expiration. In 2014, Xinjiang Science and Technology Commission issued a three-year certificate to recognize our polysilicon as a high and new technology product. We have successfully renewed the certificate for Xinjiang Daqo to August 2020 and will continue to apply for renewal of the certificate upon its expiration. In addition, in 2014, both Chongqing Daqo and Xinjiang Daqo have been recognized for their compliance with the “Photovoltaic Manufacture Industry Standard” issued by the Ministry of Industry and Information Technology of the PRC.
For our wafer production, we inspect all critical incoming materials, such as feedstock silicon, crucible, slurry and wire to ensure they meet our wafer production requirement. Through manufacturing process, technical parameters such as minority lifetime, resistivity, geometry dimension and surface appearance will be checked at various points as part of in-process quality control. As a final product, each wafer is sent to an automatic inspection machine to be inspected against our product technical specifications.
In order to facilitate our production of photovoltaic products and ensure the quality of the finished product, we conduct analysis for raw materials, in-process products and finished products and monitor the environmental impact and safety throughout the production process.
Customers and Sales
We currently sell polysilicon and wafers to China-based photovoltaic product manufacturers. Our major customers include operating entities of Jinko Solar, Meike Silicon Energy, Longi, Konca Solar, Jinneng Clean Energy and JA Solar. We sell a substantial portion of our photovoltaic products to a limited number of customers. Our top three customers in aggregate accounted for 40.5%, 37.1% and 34.5% of our total revenues in 2015, 2016 and 2017, respectively.
The majority of our polysilicon sales are made under framework contracts. The framework contracts typically provide binding terms for the sales volumes of our polysilicon. The pricing terms are typically agreed upon between us and our customers based on the prevailing market prices when specific sales orders are made. We currently sell all of our wafer products on a spot pricing basis.
We have established nationwide marketing capability through our sales team in China. Each member of our sales team is dedicated to a particular region. Our sales team attends domestic and international industrial conferences and trade fairs and organizes advertising and public relations events. Our sales and marketing team works closely with both our research and development team and our production team to coordinate our ongoing supply and demand planning.
Research and Development
We believe that the continual development of our technology will be vital to maintaining our long-term competitiveness. We have one of the leading research and development teams among polysilicon manufacturers in China. Our research and development team consists of 388 experienced researchers and engineers. Our senior management team spearheads our research and development efforts and sets strategic directions for the advancement of our products and production processes, focusing on efforts to improve product quality, reduce manufacturing costs and broaden our product markets. In 2017, we completed 22 research and technology or process improvement projects to enhance our polysilicon and wafer manufacturing processes, and successfully registered 26 patents with the State Intellectual Property Office of the PRC.
| 39 |
Intellectual Property
Our intellectual property is an essential element of our business. We rely on patents, copyrights, trademarks, trade secrets and other intellectual property laws, as well as non-competition and confidentiality agreements with our employees, business partners and others, to protect our intellectual property rights.
As of the date of this annual report, we hold 83 patents and have 12 additional pending patent applications covering different aspects of the polysilicon manufacturing process. We also rely heavily on a combination of proprietary process engineering, trade secrets and employee contractual protections to establish and protect our intellectual property, as we believe that many crucial elements of our production processes involve proprietary know-how, technology or data that are not covered by patents or patent applications, including technical processes, equipment designs, algorithms and procedures. We have taken security measures to protect these elements. All of our research and development personnel have entered into confidentiality and proprietary information agreements with us. These agreements address intellectual property protection issues and require our employees to assign to us all of the inventions, designs and technologies that they develop when primarily utilizing our resources or when performing their duties during their employment.
While we continue to develop and pursue patent protection for our own technologies, we expect to continue implementing third party license arrangements on certain key aspects of our operation. For the risks associated with our reliance on certain third-party technologies, see “Item 3. Key Information — D. Risk Factors — Risks Related to Our Business — We rely on third party intellectual property for certain key aspects of our operations, which subjects us to the payment of license fees and potential disruption or delays in the production of our products.” In August 2011, Chongqing Daqo entered into a Technology License and Transfer Agreement with GTAT Corporation, a Delaware company, under which GTAT granted us a license to use its Hydrochlorination TCS Production Technology and Chlorosilane Recovery/Waste Neutralization Technology for our current polysilicon production and future polysilicon production expansions in both our Chongqing and Xinjiang facilities.
Most of our equipment supply contracts with international suppliers include an indemnification provision under which the supplier undertakes to indemnify us against actions, claims, demands, costs, charges, and expenses arising from or incurred by reason of any infringement or alleged infringement of patent, copyright, trade mark or trade name by the use of the equipment provided by the supplier. However, it is unclear whether we will be entitled to such indemnification in the event that we use the equipment supplied by such supplier in conjunction with other equipment not supplied by such supplier. In addition, many of our equipment supply contracts with China-based suppliers do not provide any intellectual property indemnification provisions. See “Item 3. Key Information — D. Risk Factors — Risks Related to Our Business — We may be exposed to infringement or misappropriation claims by third parties, which, if determined adversely to us, could cause us to pay significant damage awards.”
Competition
We face competition in China and in the international markets in which we have sales. The photovoltaic market is dominated by a few major manufacturers with a large number of small manufacturers competing for the remaining small portion of the market. We face competition mainly from top manufacturers who have succeeded in establishing a strong brand name with solar companies. For our polysilicon and wafer businesses, our major international competitors include Hemlock, Wacker, OCI, REC, MEMC and Chinese domestic polysilicon and wafer manufacturers, such as GCL-Poly, Xinte Energy Co., Ltd., Asia Silicon Co., Ltd., China Silicon Corporation and Yongxiang Co., Ltd. There are also likely new entrants into the polysilicon manufacturing market in China, such as Xinjiang East Hope New Energy Ltd. and the joint venture formed by REC and Shanxi Youser. In addition, some solar cell and module manufacturers might have the intention of establishing polysilicon production or affiliate relationships with manufacturers of polysilicon. We compete with these in-house capabilities, which could limit our ability to expand our sales. Furthermore, the demand for our polysilicon may be adversely affected by alternative technologies in cell manufacturing. The vast majority of silicon-based photovoltaic cell manufacturers currently use chunk or granular polysilicon. However, alternative technologies are being developed in cell manufacturing. For example, one such technology, thin-film cell production, uses little to no silicon in the production of solar cells. We believe that the solar cells made using thin-film technologies generally tend to have lower energy conversion efficiency than silicon-based solar cells. In addition, the manufacturing cost of silicon-based cells has been significantly reduced recently, which largely reduces or eliminates the historical cost advantage of thin-film cells. Based on our management’s industry knowledge, we believe silicon-based cells will remain the most widely used solar photovoltaic cells in the near future.
| 40 |
We believe that the key competitive factors in the market for photovoltaic products include:
| · | product quality; |
| · | price and cost competitiveness; |
| · | manufacturing technologies and efficiency; |
| · | manufacturing reliability; |
| · | economies of scale; and |
| · | reputation. |
We believe we differentiate ourselves from our competitors and capture market share in the polysilicon markets through our cost and price competitiveness, product quality, and manufacturing technologies and efficiency.
Regulation
This section sets forth a summary of the most significant regulations or requirements that affect our business activities in China.
Renewable Energy Law and Other Government Directives
China enacted the Renewable Energy Law in February 2005 and amended the law in December 2009. The amended Renewable Energy Law sets forth the national policy to encourage and support the development and use of solar and other renewable energy and its use for on-grid generation. The law also sets forth the national policy to encourage the installation and use of solar technologies in water-heating systems, heating and cooling systems, power generation systems and other energy utilization systems. In addition, the law provides financial incentives, such as national funding, preferential loans and tax preferences for the development of renewable energy projects.
In January 2006, the National Development and Reform Commission, or the NDRC, issued two implementing rules relating to the Renewable Energy Law that, among other things, provide general policies regarding the pricing of on-grid power generated by solar and other renewable energy.
In April 2015, the Ministry of Finance promulgated the Circular of the Ministry of Finance on Printing and Issuing the Interim Measures for Administration of Special Fund for the Development of Renewable Energies, or the New measures, which replaced the former measures promulgated on 16 June 2006. In accordance with related measures and regulations, the Chinese government shall provide certain government subsidies and financial incentives to support the development of the renewable energy industry, including the solar energy industry. The New measures further specified the distribution, use and administration of special fund for supporting renewable energies.
In September 2006, the Ministry of Housing and Urban-Rural Development (formerly the Ministry of Construction) and the Ministry of Finance also promulgated the Circular of the Ministry of Finance, the Ministry of Construction, on Printing and Issuing the Interim Measures for Administration of Special Fund for Construction Applied Renewable Energy Resources, which also emphasize the use and administration of the special fund for supporting renewable energies in construction industry. On March 8, 2011, the Ministry of Finance and Ministry of Housing and Urban-Rural Development jointly promulgated the Notice on Further Application of Renewable Energy in Building Construction, which aims to raise the percentage of renewable energy used in buildings.
In August 2007, the NDRC promulgated the Medium and Long-Term Development Plan for the Renewable Energy Industry. This plan sets forth national policy to provide financial allowance and preferential tax regulations for the renewable energy industry. A similar demonstration of the PRC government’s commitment to renewable energy was also set forth in the Thirteenth Five-Year Plan for Renewable Energy Development, which was promulgated by the NDRC in December 2016. The Outline of the Thirteenth Five-Year Plan for National Economic and Social Development of the PRC, which was approved by the National People’s Congress in March 2016, also demonstrates a commitment to promote the development of renewable energy to enhance the competitiveness of the renewable energy industry.
| 41 |
On July 24, 2011, the NDRC issued the Circular on Improving the On-Grid Price Policy for Photovoltaic Power, which aims to stimulate the photovoltaic power industry by regulating the price of photovoltaic power.
On July 4, 2013, the General Office of the State Council of China issued “Several opinions on promoting healthy development of Solar PV industry” which increased the aggregated target for PV installations as of 2015 from the previously announced 21 GW to 35 GW.
On September 16, 2013, the Ministry of Industry and Information Technology issued “Regulatory Requirements For the Solar PV Manufacturing Industry” and amended the Regulatory Requirements on March 25, 2015. The amended Regulatory Requirements set forth specific requirements for all sectors through the whole solar PV value chain regarding layout, scale, capacity, quality, efficiency, power consumption, environmental control and certain other elements of PV production, in order to further promote the structural adjustment and the transformation and upgrade of the PV industry, continue to strengthen industry supervision, and enhance the development of the industry. In January 2014, the National Energy Administration of China announced the PV installation target for 2014 to be 14 GW, which includes 8 GW for distributed PV systems and 6 GW for large scale PV power plants.
In March 2015, the National Energy Administration of China announced the PV installation target for 2015 to be 17.8 GW. In December 2015, the NDRC announced that it would cut the solar tariffs in Regions I-III to RMB 0.8/kWh, RMB 0.88/kWh and RMB 0.98/kWh from current RMB 0.9/kWh, RMB 0.95/kWh and RMB 1.0/kWh, respectively, representing reductions of 2% to 11%, effective January 1, 2016. At the same time, China Renewable Energy Fund surcharge fee increased from RMB 15/MWh to RMB 19/MWh.
In December 2016, the NDRC announced the solar power tariff revisions for 2017 as follows. First, in 2017, for solar power plants in resource zones I, II and III, the benchmark feed-in tariffs (FIT) will be lowered from RMB0.80/0.88/0.98/kWh in 2016 to RMB0.65/0.75/0.85/kWh, or by 19%/15%/13%. Second, the subsidy for distributed solar power plants will remain unchanged at RMB0.42/kWh. Third, for solar power projects registered prior to 2017 and eligible for fiscal subsidies, the FIT at the 2016 level will remain applicable if they are connected to the grid and in operation by June 30, 2017. Fourth, future solar power tariffs will be revised annually based on cost changes.
In December 2017, the NDRC announced the solar power tariff revisions for 2018. In 2018, for solar power plants in resource zones I, II and III, the benchmark feed-in tariffs (FIT) will be lowered from RMB0.65/0.75/0.85/kWh in 2017 to RMB0.55/0.65/0.75/kWh, or by 15%/13%/9%. The new rate for distributed-generation (DG) solar projects will be RMB0.37/kWh, which is about RMB 0.05/kWh lower than in 2017. However, the FIT rate will remain the same for all solar projects built under the Chinese government’s program to alleviate poverty in rural areas, at RMB0.42/kWh.
Environmental and Safety Regulations
We use, generate and discharge toxic, volatile or otherwise hazardous chemicals and wastes in our research and development and manufacturing activities. China enacted the Environmental Protection Law effective December 1989, which was also amended in 2014. In addition to the Environmental Protection Law, we are subject to a variety of specific laws and regulations in China related to the storage, use and disposal of hazardous materials, including laws and regulations governing water pollution, air pollution, solid waste pollution, noise pollution, hazardous chemicals, pollutant discharge fees and environmental impact appraisals. We are also subject to laws and regulations governing worker safety, work safety permits and occupational disease prevention. Our operation is subject to regulation and periodic monitoring by local environmental protection and work safety authorities.
Foreign Currency Exchange
Under various rules and regulations issued by SAFE and other relevant PRC government authorities, the RMB is convertible for current account items, such as trade related receipts and payments, interest and dividends. Capital account items, such as direct equity investments, loans and repatriation of investment, require the prior approval from SAFE or its local counterpart for conversion of RMB into a foreign currency, such as U.S. dollars, and remittance of the foreign currency outside the PRC.
| 42 |
Payments for transactions that take place within the PRC must be made in RMB. Unless otherwise approved, PRC companies must repatriate foreign currency payments received from abroad. Foreign-invested enterprises may retain foreign exchange in accounts with designated foreign exchange banks subject to a cap set by SAFE or its local counterpart. Unless otherwise approved, domestic enterprises must convert all of their foreign currency receipts into RMB. Recently, China is strengthening the supervisions on foreign currency exchange control.
Admission of Foreign Investment
The principal regulation governing foreign ownership of solar power businesses in the PRC is the Foreign Investment Industrial Guidance Catalogue. Under the current catalogue, which was amended in 2017 and became effective July 28, 2017, the solar power related business is classified as an “encouraged foreign investment industry.” Companies that operate in encouraged foreign investment industries and satisfy applicable statutory requirements are eligible for preferential treatment, including exemption from customs and input value added taxes, or VAT, and priority consideration in obtaining land use rights.
Foreign Exchange Registration of Offshore Investment by PRC Residents
Pursuant to SAFE Circular 75, issued in October 2005, and a series of implementation rules and guidance, including the circular relating to operating procedures that came into effect in July 2011, PRC residents, including PRC resident natural persons or PRC companies, must register with local branches of SAFE in connection with their direct or indirect offshore investment in an overseas special purpose vehicle, for the purposes of overseas equity financing activities, and to update such registration in the event of any significant changes with respect to that offshore company. SAFE promulgated the Circular on Relevant Issues Concerning Foreign Exchange Control on Domestic Residents’ Offshore Investment and Financing and Roundtrip Investment through Special Purpose Vehicles, or SAFE Circular 37, on July 4, 2014, which replaced the SAFE Circular 75. SAFE Circular 37 requires PRC residents to register with local branches of SAFE in connection with their direct establishment or indirect control of an offshore entity, for the purpose of overseas investment and financing, with such PRC residents’ legally owned assets or equity interests in domestic enterprises or offshore assets or interests, referred to in SAFE No. Circular 37 as a “special purpose vehicle.” The term “control” under SAFE Circular 37 is broadly defined as the operation rights, beneficiary rights or decision-making rights acquired by the PRC residents in the offshore special purpose vehicles or PRC companies by such means as acquisition, trust, proxy, voting rights, repurchase, convertible bonds or other arrangements. SAFE Circular 37 further requires amendment to the registration in the event of any changes with respect to the basic information of the special purpose vehicle, such as changes in a PRC resident individual shareholder, name or operation period; or any significant changes with respect to the special purpose vehicle, such as increase or decrease of capital contributed by PRC individuals, share transfer or exchange, merger, division or other material event. If the shareholders of the offshore holding company who are PRC residents do not complete their registration with the local SAFE branches, the PRC subsidiaries may be prohibited from distributing their profits and proceeds from any reduction in capital, share transfer or liquidation to the offshore company, and the offshore company may be restricted in its ability to contribute additional capital to its PRC subsidiaries. Moreover, failure to comply with SAFE registration and amendment requirements described above could result in liability under PRC laws for evasion of applicable foreign exchange restrictions. On February 13, 2015, SAFE promulgated a Notice on Further Simplifying and Improving Foreign Exchange Administration Policy on Direct Investment, or SAFE Notice 13, which became effective on June 1, 2015. Pursuant to SAFE Notice 13, entities and individuals are required to apply for foreign exchange registration of foreign direct investment and overseas direct investment, including those required under the SAFE Circular 37, with qualified banks, instead of SAFE. The qualified banks, under the supervision of SAFE, directly examine the applications and conduct the registration. The failure or inability of our PRC resident shareholders to comply with the registration procedures may subject the PRC resident shareholders to fines and legal sanctions, restrict our cross-border investment activities, or limit our PRC subsidiaries’ ability to distribute dividends to or obtain foreign exchange-dominated loans from our company. See “Item 3. Key Information — D. Risk Factors — Risks Related to Doing Business in China — Chinese regulations relating to offshore investment activities by Chinese residents may increase the administrative burden we face and may subject our Chinese resident beneficial owners or employees to personal liabilities, limit our subsidiaries’ ability to increase its registered capital or distribute profits to us, limit our ability to inject capital into our Chinese subsidiaries, or may otherwise expose us to liability under PRC laws.”
| 43 |
Regulations on Employee Stock Options Plans
In February 2012, SAFE promulgated the Notice on the Administration of Foreign Exchange Matters for Domestic Individuals Participating in the Stock Incentive Plans of Overseas Listed Companies, or the Stock Option Notice. According to the Stock Option Notice, a PRC domestic qualified agent or the PRC subsidiary of such overseas listed company must file an application with SAFE or its local counterpart on behalf of PRC resident individuals who participate in stock incentive plans of overseas publicly-listed companies to obtain approval for an annual allowance with respect to the purchase of foreign exchange in connection with the stock holding or share option exercises. Our company is an “overseas publicly-listed company,” and therefore, we and participants of our share incentive plan who are PRC individuals are subject to these regulations. We have completed the registration for the options granted as of the date of this annual report.
Seasonality
Due to our limited size, we do not expect our operating results and operating cash flows to be subject to seasonal variations. This pattern may change, however, as a result of growth, new market opportunities or new product introductions.
C. Organizational Structure
The following diagram illustrates our corporate structure, including our principal subsidiaries, as of the date of this annual report.

| Notes: |
| (1) | As of the date of this annual report, individual owners of Daqo Group beneficially hold equity interests in Daqo Cayman through ten personal holding companies incorporated in the British Virgin Islands. See “Item 6. Directors, Senior Management and Employees — E. Share Ownership.” |
| (2) | Indicates the respective shareholding percentage of the shareholders in Daqo Cayman. |
| 44 |
| (3) | Indicates jurisdiction of incorporation |
| (4) | Indicates companies within the listing group |
D. Property, Plants and Equipment
We are headquartered in Wanzhou, Chongqing, China, where we own several buildings with approximately 23,128 square meters of office and manufacturing space in total as of December 31, 2017. We have been granted land use rights to approximately 132,441 square meters of land on which our plants or offices are situated, and such land use rights are usually valid for a period of fifty years starting from the date of grant from the local government in Chongqing. Our Phase 2A, Phase 2B and Phase 3A production facilities in Xinjiang have approximately 146,834 square meters of office and manufacturing space in total as of December 31, 2017. Our Phase 3B production facilities in Xinjiang has a designated office and manufacturing space of 39,603 square meters. We have been granted land use rights to approximately 775,591 square meters of land on which our plants or offices are situated, and such land use rights are usually valid for a period of fifty years starting from the date of grant from the local government in Xinjiang. On January 1, 2014, Chongqing Daqo signed a five-year lease agreement with Daqo New Material for, among other things, office buildings and employee dormitories.
We believe that our existing facilities, together with our facilities under construction, are adequate for our current and foreseeable requirements. See “Item 5. Operating and Financial Review and Prospects — B. Liquidity and Capital Resources — Capital Expenditures” for a discussion of our capital expenditures.
Environmental and Safety Matters
Our manufacturing processes generate noise, waste water, gaseous wastes and other industrial wastes. We believe we are in compliance with all present national and local environmental protection requirements in all material respects and have all the necessary environmental permits to conduct our business in China. We process all our waste water and waste gas through various treatments so that they meet the respective national discharge standard. In addition, most of our solid waste can be reused and does not contain poisonous materials. We have established a pollution control system and installed various types of anti-pollution equipment in our facilities to reduce, treat, and where feasible, recycle the waste generated in our manufacturing process. However, we cannot assure you that our pollution controls will always be effective. See "Item 3. Key Information - D. Risk Factors - Risks related to Our Business - Compliance with environmental regulations can be expensive and non-compliance with these regulations may result in adverse publicity and potential significant monetary damages and fines."
We are required to undergo environmental protection and work safety acceptance inspections and obtain approval from relevant governmental authorities before our manufacturing lines are permitted to commence full production. Our production facilities are subject to various pollution control regulations with respect to noise and air pollution and the disposal of waste and other hazardous materials. We have obtained a pollutant discharge permit, a work safety permit for storage and use of hazardous chemicals and a permit for the use of atmospheric pressure containers we have installed.
Insurance
We maintain various insurance policies to safeguard against risks and unexpected events. We purchased property insurance and project construction insurance policies covering our inventory, equipment, vehicles, facilities, buildings and buildings under construction. These insurance policies cover losses due to fire, explosion and a wide range of human accidents. We also provide social security insurance including pension insurance, unemployment insurance, work-related injury insurance and medical insurance for our employees. We do not maintain business interruption insurance or general third-party liability insurance. We also do not have product liability insurance or key-man life insurance. See “Item 3. Key Information — D. Risk Factors — Risks Related to Our Business — We have limited insurance coverage. In particular, we do not have any product liability insurance or business interruption insurance.” We consider our insurance coverage to be in line with that of other manufacturing companies of similar size in China.
ITEM 4A. UNRESOLVED STAFF COMMENTS
None.
| 45 |
ITEM 5. OPERATING AND FINANCIAL REVIEW AND PROSPECTS
You should read the following discussion and analysis of our financial condition and results of operations in conjunction with the historical consolidated financial statements of our company for the years ended December 31, 2015, 2016 and 2017 and related notes included elsewhere in this annual report on Form 20-F. This discussion contains forward-looking statements that involve risks, uncertainties and assumptions. Our actual results and the timing of selected events could differ materially from those anticipated in these forward-looking statements as a result of various factors, including those set forth under “Risk Factors” and elsewhere in this annual report.
A. Operating Results
Overview
We are a leading high-purity polysilicon manufacturer based in China with an annual production capacity of 18,000 MT. We believe our production cost for polysilicon is one of the lowest and our product quality is one of the best in China. We have expanded to the downstream photovoltaic manufacturing business to establish facilities for wafer manufacturing. As of the end of 2017, our wafer manufacturing annual capacity was approximately 100 million pieces. We had 100 MW module production facilities in Nanjing, all of which we sold to Daqo Group in September 2012.
We strive to improve our polysilicon production efficiency and to increase our output through technological improvements, adoption of process innovation and refinement, as well as equipment enhancement. As a result of these initiatives, we produced 4,524 MT polysilicon in 2011. In 2012, our polysilicon output was 3,349 MT(1), which was less than 2011 due to the suspension of the Phase 1 polysilicon facilities and less than normal output in our Xinjiang facilities during the pilot production period in the fourth quarter of 2012. In 2013, we produced 4,805 MT polysilicon which was all contributed by our Xinjiang facilities. We conducted a “debottlenecking” project for our Xinjiang facilities and successfully completed the project and started pilot production in December 2013. We fully realized capacity of 6,150 MT and lower production costs to the level of $14 per kg in the first quarter of 2014. We fully ramped up our Phase 2B project to further increase the polysilicon production capacity in our Xinjiang facilities to 12,150 MT at the end of the third quarter of 2015. We have also successfully upgraded our off-gas treatment process from traditional Hydrogenation technology to Hydrochlorination technology. In 2015, we produced 9,771 MT polysilicon at an annual average production cost of $11.23/kg (including depreciation). In 2016, we produced 13,068 MT polysilicon at an annually average production cost of $9.38/kg (including depreciation). We completed the construction and installation of Phase 3A at the end of 2016 and commenced initial production in the first quarter of 2017. By the end of February 2017, we have achieved full production capacity of 18,000 MT per annum. In 2017, we produced 20,200 MT polysilicon at an annually average production cost of US$8.84/kg (including depreciation). In August 2017, our Board of Directors approved Phase 3B expansion project. We expect to complete the entire Phase 3B project and begin pilot production in the first half of 2019 and reach full capacity of 30,000 MT by mid-2019. Upon the full operation of our Phase 3B expansion project, we expect to further reduce our production cost, benefiting from lower unit cost of electricity, new production processes and equipment with higher efficiencies, and greater economies of scale.
We currently sell polysilicon to China-based photovoltaic product manufacturers. The majority of our sales are made under framework contracts, with the prices to be determined at the time when specific sales orders are made. As of December 31, 2017, our major photovoltaic product customers included operating entities of Jinko Solar, Meike Silicon Energy, Longi, Konca Solar, Jinneng Clean Energy and JA Solar.
We have expanded to the downstream photovoltaic manufacturing business to establish facilities for wafer manufacturing. Our Phase 1A wafer manufacturing facilities in Chongqing commenced commercial production with an annual capacity of 36 million pieces in July 2011. We gradually increased the utilization rate of our wafer facilities in 2013 and successfully expanded the capacity to 72 million pieces in November 2013. Since 2014, we have been running our wafer business in full capacity and improved the quality and efficiency for our wafer products. In May 2014, we established in-house slurry recovery system, which helps us to lower the wafer production cost. In November 2015, we launched a wafer technology enhancement project at our Chongqing wafer facilities, which is expected to reduce our wafer manufacturing cost and increase our wafer capacity with a limited capital expenditure requirement. We upgraded our ingot furnaces from Generation 5 to Generation 6 directional solidification casting furnaces and increased our ingot output from approximately 500 kilograms per batch to approximately 800 kilograms per batch. We also increased our wafering capacity by improving efficiency of the existing wafering system and acquiring certain used wafering tools from the secondary market. By the end of the second quarter of 2016, we successfully completed this project and increased our annual wafer capacity from the 87 million pieces to approximately 100 million pieces.
| 46 |
We have achieved substantial growth since we commenced commercial production of polysilicon in July 2008, though we experienced a significant downturn in terms of revenue and net income in 2012. In 2013, with the recovery of the solar PV market, we achieved an increase of 25.5% in our revenues compared to 2012. Our gross margin also improved from negative 43.1% in 2012 to negative 23.9% in 2013. We produced 9,771 MT, 13,068 MT and 20,200 MT of polysilicon and sold 8,234 MT(1), 10,883 MT(1) and 17,950 MT(1) in 2015, 2016 and 2017, respectively. We generated revenues from continuing operations of $182.0 million, $229.1 million and $352.9 million in 2015, 2016 and 2017, respectively. We achieved net income attributable to Daqo New Energy Corp. shareholders of $13.0 million, $43.5 million and $92.8 million in 2015, 2016 and 2017, respectively. We had a gross profit of $37.6 million, $80.4 million and $143.5 million in 2015, 2016 and 2017, respectively. Our gross margin increased from 20.6% in 2015, to 35.1% in 2016 and 40.7% in 2017.
Note:
| (1) | The polysilicon sales volume here only refers to the external sales. The internal sales to our in-house wafer facilities were 1,316 MT, 1,968 MT and 1,944 MT in 2015, 2016 and 2017, respectively. |
Key Factors Affecting Our Results of Operations
The following are key factors that affect our financial condition and results of operations and are important for understanding our business:
| · | demand for photovoltaic products, including government incentives to promote the usage of solar energy; |
| · | product prices; |
| · | our product mix; |
| · | our production capacity and utilization; and |
| · | our production costs, and in particular the cost of electricity |
Demand for photovoltaic products
Our business and revenue growth are, in part, dependent on the demand for photovoltaic products. The photovoltaic industry remains at a relatively early stage of development and it is uncertain whether solar energy will be widely adopted. Although demand for photovoltaic products has grown significantly over the past decade, the global economic slowdown and turmoil in the global financial markets, especially the European sovereign debt crisis that unfolded in 2010 and the slowdown of the Chinese economy, coupled with rapid declines in petroleum and natural gas prices, have made solar energy less cost competitive and less attractive as an alternative source of energy.
Demand for photovoltaic products is driven, in part, by government incentives that make the economic cost of solar power competitive with the cost of traditional and other forms of energy. We believe that the near-term growth of the market for solar energy applications depends in large part on the availability and size of government subsidies and economic incentives. Petroleum prices started to move downward in the second half of 2014 through the whole year of 2015. If the decrease in petroleum prices continues, government incentives provided to the solar industry in major markets may be reduced. Reduction in or elimination of government subsidies and economic incentives may hinder the growth of this market or result in lower sales prices for solar energy products, which could cause our revenues to decline.
Global solar PV installations in 2017 totaled approximately 100 GW, representing a 37% increase from 73GW in 2016. China continued to rank the largest solar PV market globally with total installations of 53 GW in 2017, with the United States, India and Japan ranking the top four globally in 2017. According to the latest solar PV market report from IHS, we may see a single digit growth in global solar PV market in 2018, and the solar PV market may grow even faster in 2019.
| 47 |
Product prices
The sales prices of our photovoltaic products are volatile and cannot always be predicted with certainty. Our sales prices declined from mid-2008 to the middle of 2010 due to industry-wide excess supply but stabilized in the third quarter of 2010 and increased marginally in the fourth quarter of 2010 due to end market demand. In 2011, our sales prices declined rapidly in the fourth quarter primarily due to excess supply in the market. The decline in sales prices continued throughout 2012. Our sales prices started to recover through 2013 due to improved demand and reduced inventory levels. The decline in the market price of polysilicon resulted in an approximately 7% decrease in the average selling price of our polysilicon from 2010 to 2011, a further 59.3% decrease from 2011 to 2012 and a further 23.3% decrease from 2012 to 2013. The market prices for polysilicon and wafer have improved significantly through 2013, albeit not sufficiently to reverse the year-on-year average decrease. In 2014, the average selling prices for polysilicon fluctuated in the range approximately from $20/kg to $22/kg. Our gross margin decreased from positive 37.6% in 2011 to negative 43.1% in 2012 and increased to negative 23.9% in 2013. In 2014, our gross margin improved to 23.7%. In 2015, our quarterly average selling prices for polysilicon decreased by 23.4% from $18.09/kg in the first quarter to $13.86/kg in the fourth quarter of 2015. Our average selling prices for wafers did not change significantly in 2015. In 2015, we achieved gross margin of 20.6% primarily due to significant cost reduction in both of our polysilicon slightly increased to $15.42/kg. In 2016, our gross margin was 35.1% primarily due to significant cost reduction in polysilicon. In 2017, our gross margin was 40.7% primarily due to continuously significant cost reduction in polysilicon along with increasing of selling prices.
Since September 1, 2014, the Chinese government has suspended the review of applications for importing solar grade polysilicon in the processing trade, according to an announcement jointly made by Ministry of Commerce and General Administration of Customs, or GAC, of the PRC in August 2014. All existing agreements approved prior to September 1, 2014 can continue to be performed until the contract terms expire. In addition, certain enterprises in the processing trade business that have been included in the supervisory network of the GAC are allowed to continue to import before the end of 2014. As a result, in the third and fourth quarters of 2014, foreign polysilicon manufacturers increased their supply of polysilicon into China to take advantage of the grace period before the suspension fully kicked in and exerted pressure on the average selling prices of polysilicon. In 2015, the volume of imported polysilicon was approximately 117,000 MT, increased from approximately 102,000 MT in 2014. In 2016, the volume of polysilicon imported into China was approximately 140,256 MT. In 2017, the volume of polysilicon imported into China was approximately 158,918 MT. Although we did see the polysilicon import volume directly from the United States to decline after the Chinese government’s suspension policy took effect, Taiwan became a transshipment hub for the United States made polysilicon and ranked the third largest region in terms of China’s polysilicon import volume. The import volume from Germany and South Korea, the two largest countries in terms of China’s polysilicon import volume, has not been materially impacted due to a price commitment agreement between Wacker (a polysilicon manufacturer in Germany) and the Chinese government, and low AD tariffs imposed on major South Korean polysilicon manufacturers. In November 2017, China raised the AD tariffs of polysilicon imported from many companies in South Korea. However, the impact was very limited. For instance, the biggest polysilicon exporter from South Korea, OCI Company Ltd.’s tariff rate raised from 2.4 percent to 4.4 percent. In 2017, the polysilicon imported from Korea, Germany, Taiwan and the United States accounted for 44.6%, 29.9%, 10.8% and 5.5% of the total import volume, respectively.
| 48 |
Company’s yearly polysilicon average selling prices vs. average spot prices* (VAT excluded):
* PV Insights spot prices are yearly averages based on PV Insights “PV Poly Silicon Weekly Spot Price” data
Product mix
The proportion of our revenues that are generated from the sales of other photovoltaic products, also referred to as product mix, affects our revenues and profitability. In addition to the revenues generated from sales of polysilicon, we also generated revenues from other products. In 2012, we generated revenue from sales of modules for the first three quarters of the year before we sold 100% of our equity interests of Nanjing Daqo, and we also generated revenue from sales of wafers produced in our facilities. In 2013, 2014, 2015 and 2016, we generated revenue from sales of polysilicon and wafers. For the year ended December 31, 2017, the revenues we generated from our two segments included sales of polysilicon and wafers, which accounted for 83.3% and 16.7% of our total revenues, respectively.
Our production capacity and utilization
In the near future, we plan to continue to focus on our core businesses to further improve our operation efficiency, cost structure and products quality by expanding our capacity, adopting new technologies and optimizing the manufacturing processes. For our polysilicon business, we ramped up production at the Phase 1B facilities to their full annual capacity of 1,800 MT in 2010. We expanded the aggregate capacity of our Phase 1A and Phase 1B facilities to 4,300 MT through a capital enhancement project in 2011. In September 2012, we halted the production of polysilicon in our Phase 1A and 1B facilities in Chongqing and ultimately determined to cease production in the second quarter of 2013. In September 2012, we successfully completed our Xinjiang Phase 2A facilities. At the end of 2016, we completed the construction and installation of Phase 3A and commenced initial production in the first quarter of 2017. By the end of the second quarter of 2017, Phase 3A facilities reached full production capacity. In August 2017, our Board of Directors approved Phase 3B expansion project. We expect to complete the entire Phase 3B project and begin pilot production in the first half of 2019 and reach full capacity of 30,000 MT by mid-2019. Our current annual capacity in our Xinjiang polysilicon facilities is 18,000MT. Upon the full operation of our Phase 3B expansion project, we expect to further reduce our production cost, benefiting from lower unit cost of electricity, new production processes and equipment with higher efficiencies, and greater economies of scale.
| 49 |
For our wafer business, the Phase 1A wafer manufacturing facilities in Chongqing commenced commercial production in July 2011 and reached the capacity of 36 million pieces in November 2011. We gradually increased the utilization rate of our wafer facilities in 2013 and successfully expanded the capacity to 72 million pieces in November 2013. In November 2015, we launched a wafer technology enhancement project at our Chongqing wafer facilities, which is expected to reduce our wafer manufacturing cost and increase our wafer capacity with a limited capital expenditure requirement. We upgraded our ingot furnaces from Generation 5 to Generation 6 directional solidification casting furnaces and increased our ingot output from approximately 500 kilograms per batch to approximately 800 kilograms per batch. We also increased our wafering capacity by improving efficiency of the existing wafering system and acquiring certain used wafering tools from the secondary market. By the end of the second quarter of 2016, we successfully completed this project and increased our annual wafer capacity from the 87 million pieces to approximately 100 million pieces. By the year end of 2017, we have successfully switched our slicing technology from traditional slurry wire saws to diamond saws which enable us to significantly improve our manufacturing efficiency and lower processing cost.
Our polysilicon production costs consist primarily of the costs of electricity and other utilities, raw materials, labor and depreciation. Currently electricity is the largest component of our polysilicon production costs. In our Phase 2 facilities in Xinjiang, because of the abundant coal resources, the local electricity rate is much lower than that in most areas in China. This cost advantage, along with our operational expertise, enables us to become one of the lowest cost producers around the globe. We plan to implement additional measures to reduce our production costs through technology, process and equipment improvement. For example, we fully ramped up our Phase 2B project at the end of the third quarter of 2015, which has increased the polysilicon production capacity in our Xinjiang facilities to 12,150 MT. We have also successfully upgraded our off-gas treatment process from traditional Hydrogenation technology to Hydrochlorination technology. As a result, we managed to reduce our production cost (including depreciation) and cash cost (excluding depreciation) to $9.74/kg and $7.69/kg, respectively, in the fourth quarter of 2015, a significant reduction compared to $12.98/kg and $10.60/kg as compared to the second quarter of 2015 before we started to ramp up the Phase 2B project. In 2016, we continued our efforts to improve manufacturing efficiency and optimize production processes through several R&D and technology improvement projects in our Xinjiang polysilicon facilities. As a result of our continuous cost reduction efforts, we successfully reduced our annual average polysilicon production cost (including depreciation) by 5.8% from $9.38/kg in 2016 to $8.84/kg in 2017 and achieved our historical low levels of unit electricity consumption and unit silicon metal consumption, our two biggest polysilicon manufacturing cost components, in December 2017. Effective cost-reduction measures will have a direct impact on our financial condition and results of operations.
Our wafer production costs consist primarily of the costs of polysilicon, other raw materials, labor and depreciation.
Indicative polysilicon production cost breakdown:

| 50 |
Components of Results of Operations
Revenues
Our revenues are primarily derived from the sale of polysilicon and secondarily by the sale of wafers. In 2015, the revenues we generated from the product sales of polysilicon and wafers accounted for 69.2%, and 30.8% of our total revenues, respectively. In 2016, the revenues we generated from the product sales of polysilicon and wafers accounted for 73.1% and 26.9% of our total revenues, respectively. In 2017, the revenues we generated from the product sales of polysilicon and wafers accounted for 83.3% and 16.7% of our total revenues, respectively. The percentage increase of the sales of polysilicon reflected increase of our polysilicon sales volume and improved average selling prices, or ASPs. We plan to continue to focus on our current businesses to further improve operation efficiency, cost structure and product quality. If we are successful in executing our expansion plans, we expect our polysilicon revenue to grow in relation to our total consolidated revenues.
We commenced polysilicon production in 2008. We produced 9,771 MT, 13,068 MT and 20,200 MT of polysilicon and sold 8,234 MT(1), 10,883 MT(1) and 17,950 MT(1) of polysilicon in 2015, 2016 and 2017, respectively. Our polysilicon selling prices are directly affected by global supply and demand conditions. Due to the global oversupply of polysilicon since late 2008 and the resulting pricing pressure, the average selling price of our polysilicon decreased by 28.5% in 2015 as compared to 2014. In 2016, the annual average selling price was relatively stable and increased by 0.9% as compared to 2015. In 2017, the annual average selling price was strongly supported by fast growing demand and increased by 6.4% as compared to 2016. We generated revenues of $182.0 million, $229.1 million and $352.9 million in 2015, 2016 and 2017, respectively. We achieved net income attributable to our shareholders of $13.0 million, $43.5 million and $92.8 million in 2015, 2016 and 2017, respectively. In 2015, our revenues included $125.9 million generated from sales of polysilicon and $56.1 million generated from sales of wafers. In 2016, our revenues included $167.5 million generated from sales of polysilicon and $61.6 million generated from sales of wafers. In 2017, our revenues included $294.1 million generated from sales of polysilicon and $58.8 million generated from sales of wafers.
We have entered into framework agreements with some of our customers. These contracts typically contain binding terms related to the sales volumes of our photovoltaic products during the contract term. The pricing terms are typically agreed upon between us and our customers based on the prevailing market prices when specific sales orders are placed. Such pricing determination method has caused, and is expected to continue to cause, fluctuations in our revenues and results of operations. In 2015, our top three customers, Jinko Solar, Jinneng Clean Energy and Meike Silicon Energy, accounted for approximately 19.3%, 11.2% and 10.0% of our total revenues, respectively, and the three customers in aggregate accounted for approximately 40.5% of our total revenues. In 2016, our top three customers, Jinko Solar, Meike Silicon Energy and Konca Solar, accounted for approximately 21.3%,8.6% and 7.3% of our total revenues, respectively, and the three customers in aggregate accounted for approximately 37.1% of our total revenues. In 2017, our top three customers, Jinko Solar, Longi and Meike Silicon Energy, accounted for approximately 12.3%, 11.1% and 11.1% of our total revenues, respectively, and the three customers in aggregate accounted for approximately 34.5% of our total revenues.
Note:
| (1) | The polysilicon sales volume here only refers to the external sales. The internal sales to our in-house wafer facilities were 1,316 MT, 1,968 MT and 1,944 MT in 2015, 2016 and 2017, respectively. |
Cost of revenues
Our cost of revenues primarily consists of:
| · | depreciation of property, plant and equipment; |
| · | electricity and other utilities, such as steam, water and natural gas; |
| · | raw materials, including metallurgical grade silicon, liquid chlorine, nitrogen, calcium oxide and hydrogen; and |
| 51 |
| · | direct labor, including salaries and benefits for personnel directly involved in production activities. |
Due to our capacity expansion, depreciation in absolute terms had increased significantly prior to 2014. Depreciation in absolute terms has decreased significantly in 2014, primarily as a result of our revision to the expected useful lives of fixed assets during the first quarter of 2014 and the deconsolidation of our former variable interest entity as of December 30, 2013. Along with the full ramp-up of Phase 2B polysilicon expansion project since August 2015, the depreciation in absolute terms increased significantly in 2015 and 2016 due to higher production volume. Depreciation in absolute terms continued to increase in 2017 as we fully ramped up Phase 3A polysilicon expansion project in the first quarter of 2017. Depreciation would resume its upward trend if we were to further expand our polysilicon production capacity or conduct technology improvement. We also expect that our total cost of revenues will increase as we increase our sales volume.
Operating expenses/income
Our operating expenses include selling, general and administrative expenses and research and development expenses, which are partially offset by other operating income as described below.
Selling, general and administrative expenses
Our selling, general and administrative expenses consist primarily of salaries and benefits for our administrative, finance and sales personnel, packaging and shipping costs, sales-related travel and entertainment expenses, other travel and corporate expenses, depreciation of equipment used for administrative purposes and professional expenses. All costs in connection with start-up activities, including costs incurred prior to commencement of production and corporate formation costs of Daqo Cayman, were expensed as incurred. We expect that the amount of our selling, general and administrative expenses will increase as we expand our polysilicon production capacity, increase our sales efforts, hire additional personnel, and incur professional expenses to support our operations as a listed company in the United States.
Research and development expenses
Our research and development expenses consist primarily of costs of raw materials used in research and development activities, salaries and employee benefits for research and development personnel, and equipment costs relating to the design, development, testing and enhancement of our production process. We expect our research and development expenses to increase in the future as we continue to hire additional research and development personnel and focus on improvement of process technologies for our products, and expand our polysilicon manufacturing business. Our research and development expenses in 2015, 2016 and 2017 primarily resulted from continuous technology improvement projects for polysilicon and wafer production.
Other operating income
Our other operating income reflects unrestricted government subsidies that we receive from time to time, including financial incentives from Chongqing and Xinjiang local government, which are unrestricted as to use and can be utilized by us in any manner we deem appropriate. We have utilized, and expect to continue to utilize, these subsidies to fund general operating expenses. We record unrestricted government subsidies as other operating income when we receive them. The amount and timing of subsidies cannot be predicted with certainty.
Fixed asset impairment loss
We recognized $158.4 million impairment loss for the long-lived assets of our polysilicon facilities in 2013. The impairment loss of long-lived assets of our polysilicon facilities recognized in 2013 reflected the impact of year-on-year market challenges and in particular reductions in average selling prices of our products in that year as described above, without similar reductions in costs of production, that have had an adverse effect on the profit-generating ability of these assets. No impairment loss of long-lived assets was recognized in 2014. We recognized an impairment loss of $1.6 million, $0.2 million and $3.0 million in 2015, 2016 and 2017, respectively, which was related to certain identified assets in Chongqing that were not transferrable and could not be reutilized in our Xinjiang expansion project.
| 52 |
Interest income and expense
Our interest income represents interest on our cash balances. Our interest expenses relate primarily to our short-term and long-term borrowings from banks, less capitalized interest expenses to the extent they relate to our capital expenditures.
Taxation
Cayman Islands tax
We are an exempted company incorporated in the Cayman Islands and are not subject to tax in this jurisdiction.
PRC tax
Our Chinese subsidiaries are foreign invested enterprises in China. Under the EIT Law which took effect as of January 1, 2008, the Chinese enterprise income tax rate is 25%. However, qualified enterprises located in central or western China may enjoy preferential tax rate under a series of national policies adopted to encourage investment in central and western China.
Under the EIT Law, an enterprise established outside of China with its “de facto management bodies” within China may be considered a resident enterprise for Chinese tax purposes and be subject to the enterprise income tax at the rate of 25% on its global income. The implementation rules of the EIT Law provide that the term “de facto management bodies” refers to management bodies which have material management and control over all aspects of the business, including production, operations, personnel, finance, and assets. It is unclear whether Chinese tax authorities would determine that, notwithstanding our status as the Cayman Islands holding company of our operating business in China, we should be classified as a resident enterprise. Currently, substantially all of our income is already China-source income subject to Chinese taxes. However, a portion of the net proceeds received from our initial public offering were deposited into interest bearing bank accounts.
Chongqing Daqo, our wholly owned Chinese subsidiary and a foreign-invested enterprise established in the central and western region in China, is entitled to a preferential income tax rate of 15% from the date of its establishment to December 31, 2010. Chongqing Daqo is qualified as a “Chongqing Municipality High and New Technology Enterprise,” which entitles it to a preferential income tax rate of 15%. Chongqing Daqo received its first qualification in November 2009 for a three-year period. The status was renewed in November 2015 for an additional three years until 2017 and the status can be renewed for additional three-year terms upon Chongqing Daqo’s application and the government’s approval. In November 2014, Xinjiang Daqo, another wholly owned Chinese subsidiary, obtained “High and New Technology Enterprise” certificate for a valid period of three years till 2016, which entitles it to enjoy the preferential income tax rate of 15%. We have successfully renewed the certificate for an additional three years until 2019 and will continue to apply for renewal of the certificate after its expiration.
Daqo New Material, formerly our consolidated variable interest entity and a domestic Chinese enterprise, was, during 2013, subject to an income tax rate of 25%. Starting from December 31, 2013, Daqo New Material was de-consolidated from the balance sheet as of December 31, 2013.
Under the EIT Law and implementation regulations issued by the State Council of China, dividends, interests, rent, royalties and gains on transfers of property payable by a foreign-invested enterprise in China to its foreign investor who is a non-resident enterprise will be subject to a 10% withholding tax, unless such non-resident enterprise’s jurisdiction of incorporation has a tax treaty with China that provides for a reduced rate of withholding tax and such non-resident enterprise is the beneficial owner of the dividends, interests, rent, royalties and gains on transfers of property. The Cayman Islands, where Daqo Cayman is incorporated, does not have such a tax treaty with China. However, we intend to reinvest all of Chongqing Daqo’s undistributed earnings into our capacity expansion and/or technology improvement and do not plan to distribute any of the earnings as dividends in the foreseeable future and, accordingly, we have not set aside provision for Chinese dividend withholding tax. If we do distribute these earnings in the form of dividends, we will be subject to the withholding tax at a rate of 10%.
| 53 |
Pursuant to the Interim Regulations on Value Added Tax and their implementation rules, all entities and individuals that are engaged in the sale of goods, the provision of repairs and replacement services or the importation of goods in China are generally required to pay value-added tax, or VAT, at a rate of 17% of the gross sales proceeds received, less any deductible VAT already paid or borne by the taxpayer. When exporting certain goods, excluding polysilicon currently, the exporter is entitled to VAT refund, which amount will be a portion of or all of the VAT that it has already paid or borne. For our sales of polysilicon products, we are subject to the 17% VAT without any VAT refunds for such sales.
Critical Accounting Policies
We prepare our consolidated financial statements in accordance with U.S. GAAP, which requires us to make judgments, estimates and assumptions that affect (1) the reported amounts of assets and liabilities, (2) disclosure of contingent assets and liabilities at the end of each reporting period, and (3) the reported amounts of revenues and expenses during each reporting period. We continually evaluate these estimates and assumptions based on historical experience, knowledge and assessment of current business and other conditions, and expectations regarding the future based on available information and reasonable assumptions, which together form a basis for making judgments about matters not readily apparent from other sources. Since the use of estimates is an integral component of the financial reporting process, actual results could differ from those estimates. Some of our accounting policies require higher degrees of judgment than others in their application. When reviewing our financial statements, you should consider (1) our selection of critical accounting policies, (2) the judgment and other uncertainties affecting the application of such policies, and (3) the sensitivity of reported results to changes in conditions and assumptions. We consider the policies discussed below to be critical to an understanding of our financial statements as their application places the most significant demands on the judgment of our management.
Property, plant and equipment
We reassess the reasonableness of the estimates of useful lives and residual values of long-lived assets when events or changes in circumstances indicate that the useful lives and residual values of a major asset or a major category of assets may not be reasonable. Factors that we consider in deciding when to perform an analysis of useful lives and residual values of long-lived assets include, but are not limited to, significant variance of a business or product line in relation to expectations, significant deviation from industry or economic trends, and significant changes or planned changes in the use of the assets. The analysis will be performed at the asset or asset category with reference to the assets’ conditions, current technologies, market, and future plan of usage and the useful lives of major competitors.
Revenue recognition
We generate revenues primarily from the sale of polysilicon and wafer and recognize revenues when all of the following conditions are met: persuasive evidence of an arrangement exists, the sales price is fixed and determinable, delivery of the products has occurred, title and risk of loss have transferred to customers and collectability of receivable is reasonably assured. Our polysilicon sales agreements with our customers typically do not contain product warranties except for return and replacement of defective products within a period ranging from 3 to 30 days from delivery. In addition, our agreements do not contain post-shipment obligations or any other return or credit provisions.
A majority of our sales contracts provide that title and risk of loss related to the products are transferred to our customers upon receipt. We may extend credit terms to our customers after assessing a number of factors to determine their credit worthiness.
Allowance for doubtful accounts
We conduct credit reviews for customers to whom we extend credit terms. We estimate the amount of accounts receivable that may not be collected based on the aging of our accounts receivable and specific evidence relating to the financial condition of our customers that may affect their ability to pay their balances.
| 54 |
Impairment of long-lived assets
We evaluate our long-lived assets for impairment whenever events or changes in circumstances indicate that the carrying amount of an asset group may not be recoverable. Factors that we consider in deciding when to perform an impairment review include, but are not limited to significant under-performance of a business or product line in relation to expectations, significant negative industry or economic trends, and significant changes or planned changes in the use of the assets. An impairment analysis is performed at the lowest level of identifiable independent cash flows for an asset or asset group. We make subjective judgments in determining the independent cash flows that can be related to a specific asset group based on the asset usage model and manufacturing capabilities. We measure the recoverability of assets that will continue to be used in the operations by comparing the carrying value of the asset group to the estimate of the related total future undiscounted cash flows. If an asset group’s carrying value is not recoverable through the related undiscounted cash flows, the impairment loss is measured by comparing the difference between the asset group’s carrying value and its fair value. We determine the fair value of an asset or asset group utilizing estimated future discounted cash flows and incorporate assumptions that it believes marketplace participants would utilize. The impairment charges for the years ended December 31, 2015, 2016 and 2017 were $1.6 million, $0.2 million and $3.0 million, respectively. In August 2014, our Board of Directors approved the launch of an early stage research of the Phase 3 expansion in our Xinjiang polysilicon facilities. After a comprehensive analysis of the capacity and comparability of the Chongqing machinery and equipment, we concluded that it would be more efficient to use part of the machinery and equipment in Phase 3, rather than using all of them in Phase 2 project. The change to the relocation plan indicated that the carrying amount of our polysilicon asset group may not be recoverable. We performed the technology feasibility and economic viability research, and the recoverability test, with the estimate of future cash flows by using certain significant assumptions, such as the estimated future selling prices of polysilicon, production costs and projected sales volumes. We estimated such significant assumptions with reference to the historical records, industry analysis reports, current indications of customer demand and management’s experience. As a result, we concluded that the estimated sum of the undiscounted cash flows expected to be generated from the use and eventual disposition of the polysilicon group were in substantial excess of the carrying amount, and no impairment was noted as of December 31, 2014. The impairment loss of $1.6 million, $0.2 million and $3.0 million incurred in 2015, 2016 and 2017, respectively, were related to certain identified assets in Chongqing that were not transferrable and could not be reutilized in our Xinjiang expansion project. Regarding the wafer asset group, there was no impairment indicator noted as of December 31, 2015, 2016 and 2017.
Share-based compensation expenses
We recognize share-based compensation in the statement of operations based on the fair value of equity awards on the date of the grant, with compensation expense recognized over the period in which the grantee is required to provide service to us in exchange for the equity award. We have made an estimate of expected forfeiture and is recognizing compensation costs only for those equity awards to vest. The share-based compensation expenses have been classified as either selling, general and administrative expenses or cost of sales, depending on the job functions of the grantees.
With respect to options granted on October 6, 2010, December 3, 2010, January 9, 2012, April 3, 2013, January 28, 2014, January 12, 2015 and July 6, 2015, we estimated the fair value of share options granted using the binomial option pricing model with the assistance of the independent appraiser, which requires the input of highly subjective assumptions, including the expected life of the share options, estimated forfeitures and the price volatility of the underlying shares. The assumptions used in calculating the fair value of share options represent management’s best estimates. As a result, if factors change and we use different assumptions, our share-based compensation expense could be materially different in the future. In addition, we estimate our expected forfeiture rate and recognize the expense only for those shares expected to vest. These estimates are based on past employee-retention rates. We will prospectively revise our estimated forfeiture rates based on actual history. Our compensation expense may change based on changes to our actual forfeitures of these share options.
On January 12, 2015, we modified the exercise price to $0.87 for a total number of 6,274,166 previously granted options, in order to provide appropriate incentives to certain of our employees and executive officers. The fair value of the options under revised terms was $0.55 and $0.52. The total incremental cost associated with the modification was $241,557, of which $60,107 was recognized immediately for the options vested prior to the date of the modification and the remaining share-based compensation charges of $181,470 are recognized over a weighted-average period of 2.91 years.
| 55 |
On September 9, 2015, we modified the exercise price to $0.59 for a total number of 12,569,166 options for five batches granted on Jan 28, 2014, Jan 12, 2015 and July 06, 2015, in order to provide appropriate incentives to certain of our employees and executive officers. The fair values of the options under revised terms were $0.38, $0.35, $0.38, $0.37 and $0.40, respectively. The total incremental cost associated with the modification was $282,581, of which $123,322 was recognized immediately for the options vested prior to the date of the modification and the remaining share-based compensation charges of $159,259 are recognized over a weighted-average period of 2.85 years.
Results of Operations
The following table sets forth a summary of our consolidated statements of operations for the periods. Our historical results presented below are not necessarily indicative of the results that may be expected for any future period.
| Year Ended December 31, | ||||||||||||
| 2015 US$ | 2016 US$ | 2017 US$ | ||||||||||
| Revenues | ||||||||||||
| Polysilicon | 125,916,457 | 167,530,309 | 294,073,020 | |||||||||
| Wafers | 56,124,511 | 61,570,902 | 58,779,131 | |||||||||
| Total revenue | 182,040,968 | 229,101,211 | 352,852,151 | |||||||||
| Cost of revenues | (144,491,083 | ) | (148,672,693 | ) | (209,379,466 | ) | ||||||
| Gross profit | 37,549,885 | 80,428,518 | 143,472,685 | |||||||||
| Operating expenses/income: | ||||||||||||
| Selling, general and administrative expenses | (12,603,824 | ) | (16,104,057 | ) | (17,664,471 | ) | ||||||
| Research and development expenses | (923,664 | ) | (4,001,438 | ) | (880,981 | ) | ||||||
| Other operating income | 3,824,881 | 5,325,336 | 6,769,704 | |||||||||
| Long-lived asset impairment | (1,622,588 | ) | (198,689 | ) | (2,987,668 | ) | ||||||
| Total operating expenses | (11,325,195 | ) | (14,978,848 | ) | (14,763,416 | ) | ||||||
| income from operations | 26,224,690 | 65,449,670 | 128,709,269 | |||||||||
| Interest expense | (13,173,958 | ) | (14,568,158 | ) | (18,005,329 | ) | ||||||
| Interest income | 493,995 | 407,996 | 487,230 | |||||||||
| Exchange (loss) gain | 640,678 | (7,422 | ) | (3,544 | ) | |||||||
| Income before income taxes | 14,185,405 | 51,282,086 | 111,187,626 | |||||||||
| Income tax expense | (1,137,821 | ) | (7,358,089 | ) | (17,332,226 | ) | ||||||
| Net income | 13,047,584 | 43,923,997 | 93,855,400 | |||||||||
| Net income attributable to noncontrolling interest | 90,695 | 430,241 | 1,014,272 | |||||||||
| Net income attributable to Daqo New Energy Corp.’s shareholders | 12,956,889 | 43,493,756 | 92,841,128 | |||||||||
Year Ended December 31, 2017 Compared to Year Ended December 31, 2016
Total revenues. Our total revenues increased by 54.0% from $229.1 million in 2016 to $352.9 million in 2017.
Revenue from product sales of polysilicon. The revenue derived from product sales of polysilicon was $294.1 million in 2017, representing an increase of 75.5% from $167.5 million in 2016. All of the polysilicon sold in 2017 and 2016 was manufactured in our Xinjiang facilities. During the first quarter of 2017, we successfully ramped up our Phase 3A expansion project, which increased our annual capacity from 12,150 MT to 18,000 MT. During the whole year of 2017, we were running our Xinjiang polysilicon facilities at full capacity. As a result, our annual polysilicon production volume increased by 54.6% from 13,068 MT in 2016 to 20,200 MT in 2017. Accordingly, our external polysilicon sales volume increased by 64.9% from 10,883 MT in 2016 to 17,950 MT in 2017. Moreover, our annual polysilicon average selling prices also improved from $15.42/kg in 2016 to $16.41/kg in 2017.
| 56 |
Revenue from product sales of wafers. The revenue derived from the sales of wafers were $58.8 million in 2017, representing a decrease of 4.5% from $61.6 million in 2016. Wafer sales volume was 98.0 million pieces in 2017, representing an increase of 18.4% from 82.8 million pieces in 2016. The decrease in wafer revenues as compared to 2016 was primarily due to lower ASPs.
Total Cost of revenues. Our cost of revenues increased by 40.8% from $148.7 million in 2016 to $209.4 million in 2017.
Cost of revenue from product sales of polysilicon. The cost of revenue from product sales of polysilicon was $153.4 million in 2017, increased by 59.3% from $96.3 million in 2016. Our polysilicon external sales volume increased by 64.9% from 10,883 MT in 2016 to 17,950 MT in 2017. The increase in cost of revenue from product sales of polysilicon was attributable to the increase in polysilicon external sales volume, to a lesser extent the reduction in average unit production cost of polysilicon.
Cost of revenue from product sales of wafers. The cost of revenue from product sales of wafers increased by 6.8% from $52.4 million in 2016 to $56.0 million in 2017. The increase was primarily due to higher sales volume partially offset by a lower unit cost in 2017 as compared to 2016. Our wafers sales volume increased by 18.4% from 82.8 million pieces in 2016 to 98.0 million pieces in 2017, but the wafers unit cost lowered by 6.4% in 2017.
Gross profit. We had a gross profit of $143.5 million in 2017, an increase of 78.4% from $80.4 million in 2016. Gross margin was 40.7% in 2017, compared to 35.1% in 2016. The improvement in gross profit and gross margin was primarily attributable to our polysilicon sector due to higher sales volume, increase of average selling prices and further decrease of unit cost mentioned above.
Gross profit from product sales of polysilicon. Excluding the idle cost related the Chongqing polysilicon facility, our polysilicon business had a gross profit of $143.1 million in 2017, representing an increase of 83.1% from $78.2 million in 2016. In 2017, we successfully reduced our annual polysilicon total production cost by 5.8% from $9.38/kg in 2016 to $8.84/kg in 2017 and increased our polysilicon external sales volume by 64.9% from 10,883 MT in 2016 to 17,950 MT in 2017. Moreover, our annual polysilicon average selling price also improved from $15.42/kg in 2016 to $16.41/kg in 2017.
Gross profit from product sales of wafers. Our wafer business had a gross profit of $2.8 million in 2017, representing a decrease of 69.6% from $9.2 million in 2016. Although our wafers sales volume increased by 18.4% from 82.8 million pieces in 2016 to 98.0 million pieces in 2017, our annual average selling prices of wafers products were lower in 2017 as compared to 2016.
Selling, general and administrative expenses. Our selling, general and administrative expenses were $17.7 million in 2017, compared to $16.1 million in 2016. The increase in selling, general and administrative expenses was primarily due to increased shipping cost, as a result of higher polysilicon shipping volume.
Research and development expenses. Our research and development expenses were $0.9 million in 2017, compared to $4.0 million in 2016. The research and development expenses vary from period to period reflecting the R&D activities that occur in such period.
Fixed asset impairment loss. We recognized $3.0 million and $0.2 million fixed assets impairment loss for our Chongqing polysilicon facilities in 2017 and 2016, respectively. The Company has relocated and will continue to relocate some of the Company’s temporarily idle polysilicon machinery and equipment in Chongqing to the Company’s Xinjiang polysilicon manufacturing facility. However, after further evaluations, some assets were identified as not transferrable and/or not able to be reutilized by its Xinjiang polysilicon manufacturing or expansion projects. Thus, such assets were recorded as the impairment loss of long-lived assets.
Other operating income. Other operating income was $6.8 million in 2017, compared to $5.3 million in 2016, and mainly consisted of unrestricted cash subsidies that we received from local government authorities, which varies from period to period at the discretion of the applicable local government authorities.
| 57 |
Net interest expense. Our net interest expenses were $17.5 million in 2017, compared to $14.2 million in 2016. The increase was primarily due to the decrease in capitalized interest expense.
Income tax expense. Income tax expenses were $17.3 million in 2017, compared to $7.4 million in 2016.
Net income attributable to our shareholders. As a result of the factors described above, we had net profit attributable to our shareholders of $92.8 million in 2017, an increase of 113.5% from $43.5 million in 2016.
Year Ended December 31, 2016 Compared to Year Ended December 31, 2015
Total revenues. Our total revenues increased by 25.9% from $182.0 million in 2015 to $229.1 million in 2016.
Revenue from product sales of polysilicon. The revenue derived from product sales of polysilicon was $167.5 million in 2016, representing an increase of 33.0% from $125.9 million in 2015. All of the polysilicon sold in 2016 was manufactured in our Xinjiang facilities, whereas most of the polysilicon sold in 2015 was contributed by our Xinjiang facilities. During the third quarter of 2015, we successfully ramped up our Phase 2B expansion project, which increased our annual capacity from 6,150 MT to 12,150 MT. During the whole year of 2016, we were running our Xinjiang polysilicon facilities at full capacity. As a result, our annual polysilicon production volume increased by 33.7% from 9,771 MT in 2015 to 13,068 MT in 2016. Accordingly, our external polysilicon sales volume increased by 32.2% from 8,234 MT in 2015 to 10,883 MT in 2016. Moreover, our annual polysilicon average selling prices also improved slightly from $15.29/kg in 2015 to $15.42/kg in 2016.
Revenue from product sales of wafers. The revenue derived from the sales of wafers were $61.6 million in 2016, an increase of 9.7% from $56.1 million in 2015. Wafer sales volume was 82.8 million pieces, an increase of 8.3% from 76.4 million pieces in 2015. The increase in wafer revenues as compared to 2015 was primarily due to higher sales volume.
Total Cost of revenues. Our cost of revenues increased by 2.9% from $144.5 million in 2015 to $148.7 million in 2016.
Cost of revenue from product sales of polysilicon. The cost of revenue from product sales of polysilicon was $96.3 million in 2016, including $6.9 million in idle cost related to Chongqing polysilicon facility. Although our polysilicon external sales volume increased by 33.7% from 9,771 MT in 2015 to 13,068 MT in 2016, our cost of revenue from product sales of polysilicon decreased by 1.4% from $97.7 million in 2015 to $96.3 million in 2016, as a result of the significant cost reduction effort, the success of our Phase 2B expansion and several technology improvement projects, which further reduced our production cost in our Xinjiang facilities.
Cost of revenue from product sales of wafers. The cost of revenue from product sales of wafers increased by 12.1% from $46.8 million in 2015 to $52.4 million in 2016. The increase was primarily due to higher sales volume partially offset by a lower unit cost in 2016 as compared to 2015.
Gross profit. We had a gross profit of $80.4 million in 2016, an increase of 114.2% from $37.6 million in 2015. Gross margin was 35.1% in 2016, compared to 20.6% in 2015. The improvement in gross profit and gross margin was primarily attributable to our polysilicon sector due to the slight increase of average selling prices and further decrease of unit cost mentioned above.
Gross profit from product sales of polysilicon. Excluding the idle cost related the Chongqing polysilicon facility, our polysilicon business had a gross profit of $78.2 million in 2016, representing an increase of 100.9% from $38.9 million in 2015. In 2016, we successfully reduced our annual polysilicon total production cost by 17.8% from $11.23/kg in 2015 to $9.38/kg in 2016 and increased our polysilicon external sales volume by 33.7% from 9,771 MT in 2015 to 13,068 MT in 2016. Moreover, our annual polysilicon average selling price also improved slightly from $15.29/kg in 2015 to $15.42/kg in 2016.
| 58 |
Gross profit from product sales of wafers. Our wafer business had a gross profit of $9.2 million in 2016, representing a decrease of 2.2% from $9.4 million in 2015. Although our wafers sales volume increased by 8.3% from 76.4 million pieces in 2015 to 82.8 million pieces in 2016, our annual average selling prices of wafers products were lower in 2016 as compared to 2015.
Selling, general and administrative expenses. Our selling, general and administrative expenses were $16.1 million in 2016, compared to $12.6 million in 2015. The increase in selling, general and administrative expenses was primarily due to increased shipping cost, as a result of higher polysilicon shipping volume and higher relocation and moving expenses related to the relocation of our idle polysilicon manufacturing equipment from Chongqing to Xinjiang, which amounted to $2.6 million in 2016, compared to nil in 2015.
Research and development expenses. Our research and development expenses were $4.0 million in 2016, compared to $0.9 million in 2015. The increase in research and development expenses primarily resulted from continuous research and development activities for cost deduction.
Fixed asset impairment loss. We recognized $0.2 million and $1.6 million fixed assets impairment loss for our Chongqing polysilicon facilities in 2016 and 2015, respectively. We are currently in the process of relocating and repurposing our temporarily idle polysilicon machinery and equipment in Chongqing to our Xinjiang polysilicon manufacturing facility. The impairment loss incurred was related to the identified relocation assets in Chongqing that were not transferrable and could not be reutilized in our Xinjiang polysilicon expansion project.
Other operating income. Other operating income was $5.3 million in 2016, compared to $3.8 million in 2015, and mainly consisted of unrestricted cash incentives that we received from local government authorities, which varies from period to period at the discretion of the applicable local government authorities.
Net interest expense. Our net interest expenses were $14.2 million in 2016, compared to $12.7 million in 2015. The increase was primarily due to the decrease in capitalized interest expense.
Income tax expense. Income tax expenses were $7.4 million in 2016, compared to $1.1 million in 2015.
Net income attributable to our shareholders. As a result of the factors described above, we had net profit attributable to our shareholders of $43.5 million in 2016, an increase of 236.7% from $13.0 million in 2015.
Recent Accounting Pronouncements
In May 2017, the FASB issued ASU 2017-09, Compensation — Stock Compensation (Topic 718): Scope of Modification Accounting, which amends the scope of modification accounting for share-based payment arrangements. The ASU provides guidance on the types of changes to the terms or conditions of share-based payment awards to which an entity would be required to apply modification accounting. The ASU is effective for all entities for annual periods, and interim periods within those annual periods, beginning after December 15, 2017. Early adoption is permitted. The Group is in the process of evaluating the impact on its consolidated financial statements upon adoption.
Inflation
In recent years, inflation in China has not materially impacted our results of operations. According to the National Bureau of Statistics of China, the year-over-year percent changes in the consumer price index for December 2015, 2016 and 2017 were increases of 1.6%, 2.1% and 1.6%, respectively. Although we have not been materially affected by inflation in the past, we may be affected if China experiences higher rates of inflation in the future.
B. Liquidity and Capital Resources
Liquidity
Our liquidity situation improved in 2017 as compared to 2016 and 2015. Overall, our cash and cash equivalents balance increased by $7.4 million, $1.5 million and $44.7 million in 2015, 2016 and 2017, respectively. Net cash provided by operating activities was $66.4 million, $98.7 million and $142.7 million in 2015, 2016 and 2017, respectively. Net cash used in investing activities was $74.1 million, $66.1 million and $63.1 million in 2015, 2016 and 2017, respectively. Net cash provided by financing activities was $15.2 million in 2015, and net cash used in financing activities was $30.3 million and $37.4 million in 2016 and 2017, respectively.
| 59 |
As of December 31, 2017, we believe that our cash, cash equivalents, cash flows from operating activities, financial support from Daqo Group and its affiliates, and continued support from financial institutions located in the PRC in the form of renewed and additional operating loans will be sufficient to meet our working capital, capital expenditure and repayment of bank borrowings needs that will arise in 2018 and beyond.
The following significant developments in 2017 have impacted our liquidity or are expected to impact our liquidity:
| · | During the year ended December 31, 2017, we experienced positive cash flow from operations of $142.7 million. We believe we will continue to generate positive operating cash flow in 2018. |
| · | For the year ended December 31, 2017, we generated an operating income of $128.7 million. We believe that we will continue to generate positive operating income in 2018. |
| · | As of December 31, 2017, our current liabilities exceeded our current assets by $74.1 million. Amounts due to related parties of $6.8 million are included as current liabilities. As part of the financial support Daqo Group and its affiliates provides to us, Daqo Group has indicated that they will not require us to repay our debt to them before April 1, 2019. While we had cash and cash equivalents of $60.7 million as of December 31, 2017, we had short-term bank borrowings (including current portion of our long-term debt) of $99.3 million all due within one year. The current portion of our long-term debt amounted to $30.9 million, such long-term debt being restricted to purchases of fixed assets and not expected to be renewed. |
| · | We completed the construction of our Phase 3A expansion project in December 2016. In addition to the equipment which is being relocated from the Phase 1 polysilicon facilities to Xinjiang facilities, the total capital expenditure for our Phase 3A expansion is expected to be approximately $89.0 million, of which $75.2 million had been spent as of December 31, 2017. During 2017, we had incurred expenses of $0.2 million in connection with relocation costs related to the machinery and equipment from Chongqing that has been installed at our Phase 3A facilities. |
As noted above, we believe cash flow from operating activities, combined with the financial support from Daqo Group and its affiliates, our existing cash and cash equivalents, operating loans, facilities currently available, and those expected to be renewed will be sufficient to satisfy our obligations when they come due.
The following plans and actions are being taken to effectively manage our liquidity:
| · | We performed a review of our cash flow forecasts for the twelve months period ending March 31, 2019, and believe that our operating cash flow will be positive during the twelve month period ending March 31, 2019. |
| · | We have been taking a number of cost reduction initiatives, including several technology improvement projects and Phase 3B polysilicon capacity expansion in Xinjiang. |
| · | On February 23, 2018, we obtained a letter of financial support from Daqo Group, which has committed to provide sufficient financial support to us to ensure that we have the funds required to satisfy our obligations as they come due during the twelve months ending March 31, 2019. Further, the support letter provides that Daqo Group will not require us to repay the amount owed to the Daqo Group and subsidiaries of Daqo Group before April 1, 2019, which amount totaled $6.1 million as of December 31, 2017. |
| · | As of December 31, 2017, we have available bank borrowing facilities of $2.3 million. While there can be no assurance that we will be able to refinance our short-term bank borrowings as they become due, historically, we have renewed or rolled over most of our short term bank loans upon the maturity of the loans and believe that we will continue to be able to do so. |
| 60 |
Based on the abovementioned factors, our management believes that adequate sources of liquidity will exist to fund our working capital and capital expenditures requirements, and to meet our short term debt obligations, other liabilities and commitments as they become due.
Cash Flows and Working Capital
Polysilicon production requires intensive capital investment. Due to our relatively short operating history, our financing has been primarily through sales of polysilicon, bank borrowings, financing from Daqo Group, and advances from customers. Furthermore, a substantial portion of our outstanding indebtedness is guaranteed by Daqo Group. In the future, we may rely upon Daqo Group to provide additional guarantees for our indebtedness or direct assistance if our cash on hand and cash flow from our operations are insufficient for our future capital needs. The following table sets forth a summary of our cash flows for the periods indicated:
| Year Ended December 31, | ||||||||||||
| 2015 | 2016 | 2017 | ||||||||||
| (in thousands of US$) | ||||||||||||
| Net cash provided by operating activities | 66,425 | 98,672 | 142,705 | |||||||||
| Net cash (used in) investing activities | (74,132 | ) | (66,123 | ) | (63,110 | ) | ||||||
| Net cash provided by (used in) financing activities | 15,242 | (30,278 | ) | (37,355 | ) | |||||||
| Effect of exchange rate changes | (114 | ) | (774 | ) | 2,450 | |||||||
| Net (decrease) / increase in cash and cash equivalents | 7,421 | 1,497 | 44,690 | |||||||||
| Cash and cash equivalents at the beginning of the year | 7,068 | 14,490 | 15,987 | |||||||||
| Cash and cash equivalents at the end of the year | 14,490 | 15,987 | 60,677 | |||||||||
| Supplemental disclosure of cash flow information: | ||||||||||||
| Interest paid | 13,285 | 14,216 | 18,031 | |||||||||
| Income taxes paid | 2,727 | 2,999 | 9,526 | |||||||||
| Supplemental schedule of non-cash investing activities: | ||||||||||||
| Purchases of property, plant and equipment included in accounts payable and notes payable | 52,523 | 62,275 | 25,426 | |||||||||
| Purchases of property, plant and equipment included in amount due to related parties | 263 | 3,351 | 1,826 | |||||||||
Our cash and cash equivalents increased by $7.4 million, $1.5 million and $44.7 million in 2015, 2016 and 2017, respectively. As of December 31, 2017, we had $12.0 million in restricted cash and $60.7 million in cash and cash equivalents. Restricted cash was primarily comprised of cash that we placed in our bank accounts as guarantee deposits for the banks’ issuance of short-term letters of credit and bank notes. Cash and cash equivalents consisted of cash on hand and demand deposits, which were unrestricted as to withdrawal and use and had maturities of three months or less.
As of December 31, 2017, we had a working capital deficit (total current assets less total current liabilities) of $74.1 million. We had cash, cash equivalents and restricted cash of $72.7 million and short-term and long-term borrowings of $99.3 million and $113.6 million, respectively, as of December 31, 2017. In addition, we have a total capital commitment of $39.9 million. As such, Daqo Group and its affiliates have indicated that they will provide sufficient financial funding to support the Company’s operation between January 1, 2018 and March 31, 2019, and we does not have to repay us this amount before April 1, 2019. In addition, as of December 31, 2017, we had unused committed and available project bank loan facilities of $2.3 million (RMB15 million) from China Everbright Bank.
In summary, our continuation as a going concern is dependent upon continued financial support from Daqo Group, our ability to continue to obtain other sources of financing and our operating cash flow in 2018. See “Item 3. Key Information — D. Risk Factors — Risks Related to Doing Business in China — We had a significant working capital deficit as of December 31, 2017. Daqo Group provides financial support to us to meet certain of our working capital requirements and obligations as they become due. If we are not able to generate adequate operating cash flow or obtain adequate financial support from Daqo Group or from other sources, we will face the risk of not being able to continue as a going concern.”
| 61 |
Operating Activities
Net cash provided by operating activities for the year ended December 31, 2017 was $142.7 million, primarily resulting from $354.7 million of cash we received from the sale of our products, partially offset by our payments for raw materials and utilities of $123.5 million, taxes paid of $45.3 million, employee salaries and welfare payments of $25.2 million and interest expense payments of $18.0 million. We generated positive operating cash flow in 2017. The improvement was primarily due to the expansion in our polysilicon manufacturing capacity and our continuous cost reduction efforts at our Xinjiang facilities.
Net cash provided by operating activities for the year ended December 31, 2016 was $98.7 million, primarily resulting from $245.2 million of cash we received from the sale of our products, partially offset by our payments for raw materials and utilities of $92.6 million, taxes paid of $16.2 million, employee salaries and welfare payments of $23.5 million and interest expense payments of $14.2 million. We generated positive operating cash flow in 2016. The improvement was primarily due to the expansion in our polysilicon manufacturing capacity and our continuous cost reduction efforts at our Xinjiang facilities.
Net cash provided by operating activities for the year ended December 31, 2015 was $66.4 million, primarily resulting from $210.0 million of cash we received from the sale of our products, our payments for raw materials and utilities of $101.8 million, taxes paid of $7.5 million, employee salaries and welfare payments of $21.0 million and interest expense payments of $13.3 million. We generated positive operating cash flow in 2015. The improvement was primarily due to the expansion in our polysilicon manufacturing capacity and our continuous cost reduction efforts at our Xinjiang facilities.
Investing Activities
Net cash used in investing activities for the year ended December 31, 2017 was $63.1 million, primarily resulting from payments for the purchase of property, plant and equipment in a total amount of $67.8 million, partially offset by the increase in restricted cash of $4.8 million that we placed in our bank accounts as guarantee deposits for the banks’ issuance of short term letters of credit and the notes in support of our purchases of property, plant and equipment.
Net cash used in investing activities for the year ended December 31, 2016 was $66.1 million, primarily resulting from payments for the purchase of property, plant and equipment in a total amount of $67.5 million, partially offset by the increase in restricted cash of $1.9 million that we placed in our bank accounts as guarantee deposits for the banks’ issuance of short term letters of credit and the notes in support of our purchases of property, plant and equipment.
Net cash used in investing activities for the year ended December 31, 2015 was $74.1 million, primarily resulting from payments for the purchase of property, plant and equipment in a total amount of $81.3 million offset by the increase of restricted cash of $15.7 million that we placed in our bank accounts as guarantee deposits for the banks’ issuance of short term letters of credit and the notes in support of our purchases of property, plant and equipment.
Financing Activities
Net cash used in financing activities for the year ended December 31, 2017 was $37.4 million, primarily resulting from the repayment of amounts due to related parties in the amount of $83.8 million partially offset by cash received from related parties in the amount of $63.2 million, and the repayment of bank borrowings in the amount of $111.0 million partially offset by proceeds received from by the bank borrowings in the amount of $92.0 million.
Net cash used in financing activities for the year ended December 31, 2016 was $30.3 million, primarily resulting from the repayment of amounts due to related parties in the amount of $148.5 million partially offset by cash received from related parties in the amount of $126.4 million, and the repayment of bank borrowings in the amount of $116.3 million partially offset by proceeds received from by the bank borrowings in the amount of $107.0 million.
| 62 |
Net cash provided by financing activities for the year ended December 31, 2015 was $15.2 million, primarily resulting from cash received from related parties in the amount of $246.0 million offset by the repayment of amounts due to related parties in the amount of $276.6 million, proceeds received from the bank borrowings and other borrowings in the amount of $237.0 million offset by the repayment of bank borrowing in the amount of $220.6 million, and net proceeds from a follow-on publish offering of our ADSs in February 2015 in the amount of $28.7 million.
Capital Expenditures
In 2015, we made capital expenditures of $42.7 million for the Phase 2B project and technology improvements at our polysilicon facilities in Xinjiang and $1.7 million for the Phase 3A expansion project for our polysilicon facilities in Xinjiang. In 2016, we also made capital expenditures of $52.5 million for the Phase 3A expansion project for our polysilicon facilities in Xinjiang. In 2017, we made capital expenditures of $21.0 million for the Phase 3A expansion project and $11.3 million for the Phase 3B expansion project for our polysilicon facilities in Xinjiang.
We are in the process of relocating certain machinery and equipment from our facilities in Chongqing to our Xinjiang facilities, which has reduced the capital expenditure requirements for our Phase 2B and 3A projects. In addition, we utilized approximately 81% of our current machinery and equipment as measured by its book value as of December 31, 2017, and have determined that the remaining machinery and equipment can be more efficiently and cost-effectively used in our potential future expansions, which will reduce our capital expenditure requirements in future expansions.
Our capital expenditures will increase in the future. We expect that the total capital expenditure for our Phase 3B expansion will be approximately $143.1 million, of which $11.3 million had been spent as of December 31, 2017. In the event that we conduct potential expansion projects in the future, we expect that completion of any such expansion projects will be subject to obtaining additional funding, and we intend to use cash generated from operating activities and take other actions to obtain alternative sources of financing, such as obtaining loan facilities from financial institutions, obtaining financial support from Daqo Group and its affiliates or entering into capital arrangements to meet our capital expenditure requirements. In contrast, the average unit production cost decreased from our Phase 1 to Phase 3B for the year ended December 31, 2017. The cost per unit in Phase 1, Phase 2A, Phase 2B, Phase 3A and Phase 3B was $114.0/kg, $56.8/kg, $26.7/kg, $16.5/kg and $11.9/kg for the year ended December 31, 2017. For additional information, see also “— Liquidity and Capital Resources” and “Item 4. Information on the Company — B. Business Overview — Manufacturing Capacity” in this annual report.
C. Research and Development, Patents and Licenses, Etc.
See “Item 4. Information on the Company — B. Business Overview — Research and Development.” See “Item 4. Information on the Company — B. Business Overview — Intellectual Property.”
D. Trend Information
Market Trends
Global solar PV installations in 2017 totaled approximately 100 GW, representing a 37% increase from 73 GW in 2016. China continued to rank as the largest solar PV market globally with total installations of 53 GW in 2017, with the United States, India and Japan ranking the top four globally in 2017. According to the latest solar PV market report from IHS, we may see a single digit growth in global solar PV market in 2018, and the solar PV market may grow even faster in 2019.
| 63 |
Operational Trends
We successfully completed the construction of our Phase 2A facilities in Xinjiang in September 2012 and fully ramped up capacity to 5,000 MT at our Phase 2A facilities prior to the end of March 2013. We also completed a “debottlenecking” project prior to the end of 2013, which increased our annual capacity to 6,150 MT. We fully ramped up capacity of our Phase 2B expansion project and expanded the production capacity at our Xinjiang polysilicon facilities to 12,150 MT. We have also successfully upgraded our off-gas treatment process from traditional Hydrogenation technology to Hydrochlorination technology. As a result, we lowered our production cost of polysilicon (including depreciation) and cash cost (excluding depreciation) to $9.74/kg and $7.69/kg, respectively, in the fourth quarter of 2015. In 2016, we continued to focus on polysilicon manufacturing improvement to further lower our cost structure. We achieved our record low cost structure in the third quarter of 2016, with production cost (including depreciation) and cash cost (excluding depreciation) of $8.66/kg and $6.88/kg, respectively. We completed the construction and installation of Phase 3A by the end of 2016 and commenced initial production in the first quarter of 2017. By the end of February 2017, we achieved full production capacity of 18,000 MT per annum. In August 2017, our board of directors approved Phase 3B expansion project. We expect to complete the entire Phase 3B project and begin pilot production in the first half of 2019 and reach full capacity of 30,000 MT by mid-2019. Upon the full operation of our Phase 3B expansion project, we expect to further reduce our production cost, benefiting from lower unit cost of electricity, new production processes and equipment with higher efficiencies, and greater economies of scale.
Since 2014, we have been running our wafer business in full capacity and improved the quality and efficiency for our wafer products. In May 2014, we established in-house slurry recovery system, which helps us to lower the wafer production cost. In November 2015, we launched a wafer technology enhancement project at our Chongqing wafer facilities, which is expected to reduce our wafer manufacturing cost and increase our wafer capacity with a limited capital expenditure requirement. We upgraded our ingot furnaces from Generation 5 to Generation 6 directional solidification casting furnaces and increased our ingot output from approximately 500 kilograms per batch to approximately 800 kilograms per batch. We also increased our wafering capacity by improving efficiency of the existing wafering system and acquiring certain used wafering tools from the secondary market. By the end of the second quarter of 2016, we successfully completed this project and increased our annual wafer capacity from the 87 million pieces to approximately 100 million pieces. By the year end of 2017, we have successfully switched our slicing technology from traditional slurry wire saws to diamond saws which enable us to significantly improve our manufacturing efficiency and lower processing cost.
Other than as disclosed elsewhere in this annual report, we are not aware of any trends, uncertainties, demands, commitments or events since the beginning of our fiscal year 2017 that are reasonably likely to have a material effect on our net revenues, income from operations, profitability, liquidity or capital resources, or that would cause the disclosed financial information to be not necessarily indicative of future operating results or financial condition.
E. Off Balance Sheet Commitments and Arrangements
We have not entered into any financial guarantees or other commitments to guarantee the payment obligations of third parties as of December 31, 2017. We have not entered into any derivative contracts. Furthermore, we do not have any retained or contingent interest in assets transferred to an unconsolidated entity that serves as credit, liquidity or market risk support to such entity. We do not have any variable interest in any unconsolidated entity that provides financing, liquidity, market risk or credit support to us or that engages in leasing, hedging or research and development services with us.
F. Tabular Disclosure of Contractual Obligations
The following table sets forth our contractual obligations and commercial commitments as of December 31, 2017:
| Payments due by Period | ||||||||||||||||||||
| Total | Less Than 1 Year | 1-3 Years | 3-5 Years | More Than 5 Years | ||||||||||||||||
| (in thousands of US$) | ||||||||||||||||||||
| Contractual obligations: | ||||||||||||||||||||
| Long-term debt(1)(2) | 144,487 | 30,899 | 69,794 | 39,974 | 3,820 | |||||||||||||||
| Interest payment on long-term debt(3) | 20,372 | 7,876 | 9,697 | 2,687 | 112 | |||||||||||||||
| Capital commitments(4) | 39,853 | 39,853 | — | — | — | |||||||||||||||
| Operating lease obligations(5) | 1,070 | 1,058 | 12 | — | — | |||||||||||||||
| Total obligations | 205,782 | 79,686 | 79,503 | 42,661 | 3,932 | |||||||||||||||
| 64 |
| Notes: |
| (1) | Excludes interest payments. |
| (2) | As of December 31, 2017, long-term bank loans including the current portion in the amount of $144.5 million, of which $3.1 million were guaranteed by Daqo Group. The rest of long-term loans in amount of $141.4 million were guaranteed by Daqo Group, Chongqing Daqo and three affiliated companies under Daqo Group. |
| (3) | All long-term bank borrowings are bearing the variable interests, which are based on the five-year long term interest rate issued by People’s Bank of China, and the interest payments are calculated based on the current interest rate in effect of each borrowing. |
| (4) | Represents commitments relating to our purchase of property, plant and equipment for our production capacity expansion, including payment commitments to our project contractors. |
| (5) | Represents Chongqing Daqo’s obligation under the lease agreement with Daqo New Material and Daqo Group until December 2018 and April 2019, respectively. |
G. Safe Harbor
This annual report on Form 20-F contains forward-looking statements. These statements are made under the “safe harbor” provisions of Section 21E of the Securities Exchange Act of 1934, as amended. These forward-looking statements can be identified by terminology such as “will,” “expects,” “anticipates,” “future,” “intends,” “plans,” “believes,” “estimates,” “may,” “intend,” “it is possible” “subject to” and similar statements. Among other things, the sections titled “Item 3. Key Information — D. Risk Factors” “Item 4. Information on the Company,” and “Item 5. Operating and Financial Review and Prospects,” as well as our strategic and operational plans, contain forward-looking statements. We may also make written or oral forward-looking statements in our filings with the Securities and Exchange Commission, in our annual report to shareholders, in press releases and other written materials and in oral statements made by our officers, directors or employees to third parties. Statements that are not historical facts, including statements about our beliefs and expectations, are forward-looking statements and are subject to change, and such change may be material and may have a material adverse effect on our financial condition and results of operations for one or more prior periods. Forward-looking statements involve inherent risks and uncertainties. A number of important factors could cause actual results to differ materially from those contained, either expressly or impliedly, in any forward-looking statement in this annual report on Form 20-F, including but not limited to the following: the demand for photovoltaic products and the development of photovoltaic technologies; global supply and demand for polysilicon; alternative technologies in cell manufacturing; our ability to significantly expand our polysilicon production capacity and output; and the reduction in or elimination of government subsidies and economic incentives for solar energy applications. All information provided in this annual report on Form 20-F and in the exhibits is as of the date of this annual report on Form 20-F, and we do not undertake any obligation to update any such information, except as required under applicable law.
ITEM 6. DIRECTORS, SENIOR MANAGEMENT AND EMPLOYEES
A. Directors and Executive Officers
The following table sets forth information regarding our directors and executive officers as of the date of this annual report.
|
Name |
Age |
Position/Title | ||
| Guangfu Xu | 75 | Chairman of the board of directors | ||
| Longgen Zhang | 54 | Chief executive officer and director | ||
| Xiang Xu | 47 | Director | ||
| Dafeng Shi | 46 | Director | ||
| Gongda Yao | 60 | Director | ||
| Fumin Zhuo | 66 | Independent director | ||
| Rongling Chen | 75 | Independent director | ||
| Minsong Liang | 49 | Independent director | ||
| Shuming Zhao | 65 | Independent director | ||
| Arthur Wong | 58 | Independent director | ||
| Ming Yang | 44 | Chief financial officer | ||
| Qiangmin Zhou | 50 | Chief technology officer | ||
| Shihua Su | 43 | Chief marketing officer |
| 65 |
Mr. Guangfu Xu is the chairman of our Board of Directors. Mr. Xu is principally responsible for formulating our strategic development objectives. Mr. Xu has been the chairman and general manager of Daqo Group since January 1984 and currently holds directorship positions with 27 subsidiaries and affiliated entities of Daqo Group. Mr. Xu has served as chairman of our board of directors since our incorporation in November 2007. Mr. Xu joined Xinba General Company, the predecessor entity of Daqo Group, in 1966 and has been instrumental in building Daqo Group from a small township and village enterprise to a leading manufacturer of electrical systems in China. Mr. Xu is a member of the Ninth People’s Congress of Jiangsu Province and the vice chairman of the Standing Committee of the Ninth Yangzhong City People’s Congress. Mr. Xu was named a National Township and Village Entrepreneur by the Ministry of Agriculture of China in 2001 and 2002 and a Pioneer in Electricity Industry in 2012. Mr. Xu graduated from secondary school in 1960.
Mr. Longgen Zhang is our chief executive officer. He has strong expertise across the global solar industry and financial markets. From 2008 to 2014, Mr. Zhang served as the chief financial officer of Jinko Solar (NYSE: JKS), a global leader in the solar industry that distributes solar products and sells solutions and services to a diversified international utility, commercial, and residential customers. Prior to that, Mr. Zhang served as a director and the chief financial officer of Xinyuan Real Estate (NYSE: XIN) from 2006 to 2008. Mr. Zhang served as the chief financial officer at Crystal Window and Door Systems, Ltd. in New York from 2002 to 2006. Currently, Mr. Zhang serves as a director of Jinko Solar and ZZ Capital International Limited (HKSE: 08295). Mr. Zhang received a master’s degrees in professional accounting and in business administration from West Texas A&M University and a bachelor’s degree in economic management from Nanjing University in China. Mr. Zhang is a member of American Institute of Certified Public Accountants.
Mr. Xiang Xu is one of our directors. Mr. Xu is also the vice chairman of the Board and president of Daqo Group and currently holds directorship positions with 25 subsidiaries of Daqo Group. Mr. Xu has served as a director of our Company since our incorporation in November 2007. Mr. Xu served as the general manager of Jiangsu Changjiang Electric Co., Ltd., a subsidiary of Daqo Group, from January 2000 through May 2006. Mr. Xu received his EMBA degree from Nanjing University in 2004. Mr. Xiang Xu is the son of Mr. Guangfu Xu.
Mr. Dafeng Shi is one of our directors. Mr. Shi had served as a director of our company since its initial public offering until October 2011 and was appointed again to be our director in February 2013. Mr. Shi has been the vice president for finance of Daqo Group since January 2006 and currently holds directorship positions with four subsidiaries and affiliated entities of Daqo Group. Prior to joining Daqo Group, Mr. Shi served as the vice president of Yangzhong Tianyuan Accounting Firm from 2000 to 2001. Mr. Shi received his bachelor’s degree in economic management from the Correspondence Institute of the Central Party School in 1997 and his associate degree in accounting from Nanjing University of Finance & Economics in 1992. Mr. Shi received his master degree of professional accountancy from The Chinese University of Hong Kong. Mr. Shi is a Certified Public Accountant in China.
Dr. Gongda Yao is one of directors. Dr. Yao has extensive experience in the electronic development and manufacturing industry. Dr. Yao had been working for the Company from August 2008 to January 2018 as chief executive officer and he resigned from the position of CEO in January 2018. Before joining in Daqo, Dr. Yao served as the vice president and China general manager for Applied Materials from October 2006 to July 2008. Dr. Yao was also the vice president and general manager of the Integrated Metal Business Unit of Novellus Systems from October 2005 to October 2006, and vice president of operations at Ciwest Semiconductor Company from April 2005 to October 2005. Before that, Dr. Yao worked for Applied Materials at various management positions for 11 years. Dr. Yao received his Ph.D. in materials science & engineering from the State University of New York at Stony Brook in 1992, his master's degree in materials science from Tongji University and the Chinese Academy of Science in 1984 and his bachelor's degree in theoretical physics from Shanghai University of Science and Technology in 1982. Dr. Yao holds more than 10 U.S. patents and has authored or co-authored more than 40 technical articles and papers.
| 66 |
Mr. Fumin Zhuo is one of our independent directors. Mr. Zhuo has served as our director since November 2009. He currently also serves as an independent director of three Hong Kong Stock Exchange-listed companies, including Shenwan Hongyuan (H.K.) Limited, SRE Group Ltd. and Sinopharm Group Co. Ltd., and of two Shanghai Stock Exchange-listed companies including China Enterprise Company Limited, East China Architecture Group Ltd., and of Hedy Holding Co. Ltd., a Shenzhen Stock Exchange-listed company. Mr. Zhuo has also served as non-executive director to Besunyen Holdings Company Limited, a company listed on the Hong Kong Stock Exchange. Mr. Zhuo has over two decades experience in investment and corporate management. Mr. Zhuo is currently a managing partner of Granite Global Ventures III L.L.C., a general partner of SIG Capital Limited and Chairman of Venture Star Investment (HK) Limited. Prior to joining SIG Capital Limited in July 2005, Mr. Zhuo served as the chairman and chief executive officer of Vertex China Investment Company, a company concentrating in investments in the Greater China region since July 2002. From 1995 to July 2002, Mr. Zhuo was the chief executive officer of Shanghai Industrial Holding Ltd. and the chairman of SIIC Medical Science & Technology (Group). Prior to that, starting in 1987 Mr. Zhuo served as chief assistant officer of the Shanghai Economic System Reform Committee. Mr. Zhuo has extensive experience in venture capital fund formation, mergers and acquisitions, and investment management. Mr. Zhuo received his master’s degree in economics from Fudan University and his bachelor’s degree in enterprise management from Shanghai Jiaotong University’s Electrical Engineering School.
Mr. Rongling Chen is one of our independent directors. Mr. Chen has served as our director since October 2010. He has served as Senior Advisor for ASML China since May 2015. He is also an independent director to Tianjin Zhonghuan Semiconductor Co., Ltd., a company listed on Shenzhen Stock Exchange. Between 2010 and 2012 Mr. Chen was a vice president of Applied Materials and chief administration officer of Applied Materials China. Mr. Chen was an executive advisor of IMEC, a leading advanced semiconductor R&D center based in Belgium, and also a senior advisor and chairman of China advisory board to SEMI, a global industry association serving the manufacturing supply chains for the microelectronic, display and photovoltaic industries. Mr. Chen started working for Applied Materials in 1984, and has served in various senior positions, including vice president, chairman of Applied Materials China and head of China marketing and corporate affairs, before retiring in 2012. Mr. Chen received his bachelor’s degree in semiconductor devices and materials from Zhe Jiang University.
Dr. Minsong Liang is one of our independent directors. Dr. Liang has served as our director since October 2011. Dr. Liang is currently a co-managing partner of CLA Partners, a boutique investment banking firm in China. Dr. Liang serves as an independent director to Yunnan International Trust & Investment Co., Ltd., a financial services company in China. Prior to joining CLA Partners, Dr. Liang has held various advisory positions at China Securities Regulatory Commission and State-owned Assets Management Commission of Yunnan Province. Dr. Liang received his Ph.D. in economics from the University of Michigan at Ann Arbor and J.D. from New York University School of Law. He received his bachelor’s degree in economics from Beijing University.
Mr. Shuming Zhao is one of our independent directors. Mr. Zhao has served as our director since October 2011. Mr. Zhao is senior professor and honorary dean of the School of Business, Nanjing University, China. In addition, Mr. Zhao is a distinguished visiting professor at the College of Business, the University of Missouri-St. Louis, USA; and visiting professor at Peter Drucker Graduate School of Management, Claremont Graduate University, USA. Mr. Zhao serves as independent directors of MFC Bancorp Ltd., a NYSE-listed company. Mr. Zhao received his bachelor’s degree in English language and literature from Nanjing University and a master’s degree in education and a Ph.D. in management, both from Claremont Graduate University, USA.
Mr. Arthur Wong is one of our independent directors. Mr. Wong has served as our director since December 2012. Mr. Wong is the Chief Financial Officer of Beijing Radio Cultural Transmission Company Limited. He currently serves as an independent director and Chairman of the Audit Committee of another US-listed companies, China Automotive Systems, Inc., and a Hong Kong Stock Exchange-listed company, Maple Leaf Educational Systems Limited. From 2008 to 2012, Mr. Wong served as Chief Financial Officer for Asia New-Energy, Nobao Renewable Energy and GreenTree Inns Hotel Management Group sequentially. From 1982 to 2008, Mr. Wong worked for Deloitte Touche Tohmatsu, in Hong Kong, San Jose and Beijing over various periods of time, most recently as a partner in the Beijing office. Mr. Wong received a bachelor’s degree in applied economics from the University of San Francisco and a higher diploma of accountancy from Hong Kong Polytechnic University. He is a member of the American Institute of Certified Public Accountants and the Hong Kong Institute of Certified Public Accountants.
Mr. Ming Yang is our chief financial officer. Mr. Yang has served as our chief financial officer since July 2015. Prior to joining us, Mr. Yang served as a management consultant at McKinsey & Company since May 2012, where he specialized in the cleantech and solar sectors and focused on such areas as corporate strategy, market strategy, performance management, and risk management. Prior to McKinsey & Company, Mr. Yang was vice president of business development and corporate communications at JA Solar Holdings Co., Ltd., a leading manufacturer of solar products based in China from 2009 to 2012, where he was responsible for corporate strategy, business development, strategic partnerships and investor relations. Prior to JA Solar, Mr. Yang was an analyst covering the renewable energy sector at Coatue Management, a multi-billion dollar hedge fund based in New York in 2008. From 2004 to 2007, Mr. Yang served as vice president and senior China analyst at Piper Jaffray, where he was a core member of the global cleantech team and covered the solar energy and semiconductor materials sectors. Mr. Yang holds an MBA degree from Cornell University and a bachelor’s degree in electrical engineering and computer science from the University of California, Berkeley.
| 67 |
Mr. Qiangmin Zhou is our chief technology officer. First joining us in 2007, Mr. Qiangmin Zhou served as the General Manager of the polysilicon business group until April 2013, when he resigned from us for personal reasons. Mr. Zhou rejoined us in June 2014 and served as the Chief Operations Officer until March 1, 2016. Mr. Zhou has over 25 years of experience in chemical and materials industry. Mr. Zhou holds a bachelor’s degree from Tianjin University of Science and Technology and an MBA degree from Chongqing University.
Mr. Shihua Su is our chief marketing officer. Mr. Su was formerly our interim financial officer from May 2015 to July 2015 and served as the general manager of our Xinjiang polysilicon manufacturing facilities from October 2012 to April 2015. He holds a master degree from Jiangsu University of Industrial Project Finance Management.
Composition of Board of Directors
Our board of directors consists of nine directors. A director is not required to hold any shares in our company by way of qualification. A director may vote with respect to any contract or transaction in which he or she is materially interested provided the nature of the interest is disclosed prior to its consideration. Subject to our Fourth Amended and Restated Memorandum and Articles of Association, the directors may exercise all the powers of our company to borrow money, mortgage his or her undertaking, property and uncalled capital, and issue debentures or other securities whether outright or as security for any debt, liability or obligation of our company or of any third party. We have a majority independent board and fully independent audit committee, compensation committee and nominating and corporate governance committee, and are in full compliance with applicable SEC and NYSE rules regarding the board and committee composition.
B. Compensation
In 2017, our aggregate payments of cash to directors or executive officers was approximately $1.6 million. See “— Share Incentive Plans.” Our PRC subsidiaries are and were required, as the case may be, by PRC law to make contributions equal to certain percentages of each employee’s salary for his or her pension insurance, medical insurance, housing fund, unemployment and other statutory benefits. We have accrued or set aside, in the aggregate, approximately $6.1 thousand for pension or similar retirement benefits for our executive officers and directors, as required under PRC laws, for the fiscal year ended December 31, 2017. Other than the aforementioned statutorily required contributions, we have not set aside or accrued any other amount to provide pension, retirement or other similar benefits to our executive officers and directors.
Share Incentive Plans
2009 Share Incentive Plan
In August 2009, we adopted the 2009 share incentive plan, or the 2009 Plan, to attract and retain the best available personnel, provide additional incentives to employees, directors and consultants, and promote the success of our business. Our Board of Directors has authorized the issuance of up to 15,000,000 ordinary shares upon the exercise of awards granted under the 2009 Plan. The following paragraphs summarize the terms of the 2009 Plan.
Plan Administration. Our Board of Directors, or a committee designated by our board or directors, will administer the plan. The committee or the full Board of Directors, as appropriate, will determine the provisions and terms and conditions of each award grant.
Types of Awards. The 2009 Plan provides for the grant of stock options, restricted shares and restricted share units to a participant pursuant to the Plan.
| 68 |
Award Agreement. Options and other stock purchase rights granted under our plan are evidenced by an award agreement, as applicable, that sets forth the terms, conditions and limitations for each grant.
Exercise Price. The exercise price subject to an option shall be determined by the plan administrator and set forth in the award agreement. The exercise price may be amended or adjusted in the absolute discretion of the plan administrator, the determination of which shall be final, binding and conclusive. To the extent not prohibited by applicable laws or any exchange rule, a downward adjustment of the exercise prices of options shall be effective without the approval of the shareholders or the approval of the affected participants.
Eligibility. We may grant awards to our employees, directors and consultants or those of any of our related entities, which include our subsidiaries or any entities in which we hold a substantial ownership interest.
Term of the Options. The term of each option grant shall be stated in the award agreement, provided that the term shall not exceed 10 years from the date of the grant.
Vesting Schedule. In general, the plan administrator determines, or the award agreement specifies, the vesting schedule.
Transfer Restrictions. Awards to purchase our ordinary shares may not be transferred in any manner by the participant other than by will or the laws of succession. An option award may be exercised during the lifetime of the optionee only by the optionee.
Termination of the Plan. Unless terminated earlier, the plan will terminate automatically in 2019. Our board of directors has the authority to amend or terminate the plan subject to shareholder approval to the extent necessary to comply with applicable law. However, no such action may (i) impair the rights of any participant unless agreed by the participant and the plan administrator or (ii) affect the plan administrator’s ability to exercise the powers granted to it under our plan.
2014 Share Incentive Plan
In December 2014, our shareholders adopted the 2014 share incentive plan, or the 2014 Plan, at our annual general meeting of the shareholders. Our shareholders have authorized the issuance of up to 21,000,000 ordinary shares underlying all options (including incentive share options, or ISOs), restricted shares and restricted share units granted to a participant under the plan, or the awards.
The following paragraphs summarize the terms of our 2014 Plan.
Plan Administration. Our Board of Directors, or a committee designated by our Board of Directors, will administer the plan. The committee or the full Board of Directors, as appropriate, will determine the provisions and terms and conditions of each award. Any grant or amendment of awards to any committee member requires an affirmative vote of a majority of the board members who are not on the committee.
Award Agreement. Awards granted under our 2014 Plan are evidenced by an award agreement that sets forth the terms, conditions and limitations for each award which may include the term of an award, the provisions applicable in the event the participant’s employment or service terminates, and our authority to unilaterally or bilaterally amend, modify, suspend, cancel or rescind an award.
Eligibility. We may grant awards to our employees, consultants, members of our Board of Directors and other individuals as determined, authorized and approved by the Board of Directors or the committee.
Acceleration of Awards upon Corporate Transactions. The outstanding awards will accelerate upon occurrence of a change-of-control corporate transaction in which the successor entity does not assume our outstanding awards under our 2014 Plan, provided that the plan participant remains an employee, consultant or member of our Board of Directors on the effective date of the corporate transaction. In such event, each outstanding award will become fully exercisable and all forfeiture restrictions on such award will lapse immediately prior to the specified effective date of the corporate transaction.
| 69 |
If the successor entity assumes our outstanding awards and later terminates the grantee’s employment or service without cause, the outstanding awards automatically will become fully vested and exercisable. The compensation committee may also, in its sole discretion, upon or in anticipation of a corporate transaction, accelerate awards, purchase the awards from the plan participants, replace the awards, or provide for the payment of the awards in cash.
Exercise Price and Term of Options Other than ISOs. Our Board of Directors, or a committee designated by our Board of Directors, will determine, amend or adjust the exercise price of options other than the ISOs, and determine the time or times at which, and the conditions to be satisfied before, such options may be exercised in whole or in part. Subject to any future amendment or modification to the plan, the term of any option other than an ISO granted under the 2014 Plan may not exceed ten years, subject to any amendment or modification of the plan.
Exercise Price and Term of ISOs. The exercise price per share of an ISO shall be equal to the fair market value on the date of grant. If, however, we grant an ISO to an individual, who, at the time of that grant, owns shares representing more than 10% of the voting power of all classes of our share capital, the exercise price cannot be less than 110% of the fair market value of our ordinary shares on the date of grant. The board or the committee will determine the time or times at which an ISO may be exercised in whole or in part, including exercise prior to vesting. The term may not exceed the earlier of ten years from the date of the grant, three months after a participant’s termination of employment as an employee, or one year after the date of a participant’s termination of employment or service on account of death or disability, except that five years is the maximum term of an ISO granted to an employee who holds more than 10% of the voting power of our share capital.
Restricted Shares and Restricted Share Unites. The board or the committee is also authorized to make awards of restricted shares and restricted share units. Except as otherwise determined by the board or the committee at the time of the grant of an award or thereafter, upon termination of employment or service during the applicable restriction period, restricted shares that are at the time subject to restrictions shall be forfeited or repurchased in accordance with the respective award agreements. At the time of grant for restricted share units, the board or the committee shall specify the date on which the restricted share units shall become fully vested and nonforfeitable, and may specify such conditions to vesting as it deems appropriate.
Amendment and Termination. The board or the committee may at any time amend, suspend or terminate our 2014 Plan. Amendments to our 2014 Plan are subject to shareholder approval, to the extent required by law, or by stock exchange rules or regulations. Unless terminated earlier, our 2014 Plan shall continue in effect for a term of ten years from the date of adoption.
As of the date of this annual report, excluding the expired and cancelled options, we have granted options to purchase a total of 28,207,985 of our ordinary shares, of which options to purchase a total of 7,644,316 ordinary shares are outstanding as of the date of the annual report, and 9,996,842 restricted share units, all of which are outstanding as of the date of the annual report, under these plans.
The following table summarizes the options granted to our senior executive officers, directors and to other individuals as a group since 2014, without giving effect to the options that were exercised or terminated, if any.
| Name | Number of Shares* | Exercise Price ($/Share) | Date of Grant | Date of Expiration | ||||||||||||
| Directors and officers as a group | 4,654,166 | $ | 0.59 | January 28, 2014 | January 27, 2024 | |||||||||||
| 6,185,625 | $ | 0.59 | January 12, 2015 | January 11, 2025 | ||||||||||||
| 1,000,000 | $ | 0.59 | July 6, 2015 | July 5, 2025 | ||||||||||||
| 9,879,992 | N/A | February 3, 2017 | February 2, 2027 | |||||||||||||
| Other individuals as a group | 1,530,000 | $ | 0.59 | January 28, 2014 | January 27, 2024 | |||||||||||
| 948,750 | $ | 0.59 | January 12, 2015 | January 11, 2025 | ||||||||||||
| 2,774,000 | N/A | February 3, 2017 | February 2, 2027 | |||||||||||||
| Total | 26,972,533 | |||||||||||||||
| * | “Number of Shares” refers to the number of ordinary shares that can be acquired upon exercise of the options; in the case of restricted share units, “Number of Shares” refers to the number of restricted share units and “Exercise Price” is marked as not application (N/A). “Number of Shares” includes options and restricted share units that were exercised or terminated, if any. |
| 70 |
C. Board Practices
Code of Business Conduct and Ethics
Our code of business conduct and ethics provides that our directors and officers are expected to avoid any action, position or interest that conflicts with the interests of our company or gives the appearance of a conflict. Directors and officers have an obligation under our code of business conduct and ethics to advance our company’s interests when the opportunity to do so arises.
Duties of Directors
Under Cayman Islands law, our directors have a fiduciary duty to act honestly, in good faith and with a view to our best interests. Our directors also have a duty to exercise the skill they actually possess and such care and diligence that a reasonably prudent person would exercise in comparable circumstances. In fulfilling their duty of care to us, our directors must ensure compliance with our memorandum and articles of association, as amended and restated from time to time. A shareholder has the right to seek damages if a duty owed by our directors is breached.
The functions and powers of our Board of Directors include, among other things:
| · | convening shareholders’ annual general meetings and reporting its work to shareholders at such meetings; |
| · | declaring dividends and distributions; |
| · | appointing officers and determining the term of office of officers; |
| · | subject to our Fourth Amended and Restated Memorandum and Articles of Association, exercising the borrowing powers of our company and mortgaging the property of our company; and |
| · | approving the transfer of shares of our company, including the registering of such shares in our share register. |
Terms of Directors and Executive Officers
Our officers are elected by and serve at the discretion of the board of directors. Our directors are not subject to a term of office and hold office until such time as they are removed from office in accordance with our Fourth Amended and Restated Memorandum and Articles of Association. A director will be removed from office automatically if, among other things, the director (1) becomes bankrupt or makes any arrangement or composition with his creditors; or (2) dies or becomes of unsound mind.
Committees of the Board of Directors
Audit Committee
Our Audit Committee consists of Mr. Arthur Wong, Mr. Rongling Chen and Dr. Minsong Liang, and is chaired by Mr. Wong. All of our Audit Committee members satisfy the “independence” requirements of Section 303A of the Corporate Governance Rules of the NYSE and meet the independence standards under Rule 10A-3 under the Securities Exchange Act of 1934, as amended. We have determined that Mr. Wong qualifies as an “audit committee financial expert.” The Audit Committee oversees our accounting and financial reporting processes and the audits of the financial statements of our company. The Audit Committee is responsible for, among other things:
| · | selecting our independent auditors and pre-approving all auditing and non-auditing services permitted to be performed by our independent auditors; |
| · | reviewing with our independent auditors any audit problems or difficulties and management’s response to such audit problems or difficulties; |
| 71 |
| · | reviewing and approving all proposed related party transactions, as defined in Item 404 of Regulation S-K under the Securities Act; |
| · | discussing the annual audited financial statements with management and our independent auditors; |
| · | reviewing major issues as to the adequacy of our internal controls and any special audit steps adopted in light of material control deficiencies; |
| · | annually reviewing and reassessing the adequacy of our audit committee charter; |
| · | such other matters that are specifically delegated to our audit committee by our board of directors from time to time; |
| · | meeting separately and periodically with management and our internal and independent auditors; and |
| · | reporting regularly to the full Board of Directors |
In 2017, our audit committee held meetings or passed resolutions by unanimous written consent four times.
Compensation Committee
Our Compensation Committee consists of Mr. Fumin Zhuo, Mr. Arthur Wong and Mr. Rongling Chen, and is chaired by Mr. Zhuo. All of our Compensation Committee members satisfy the “independence” requirements of Section 303A of the Corporate Governance Rules of the NYSE. Our Compensation Committee assists the board in reviewing and approving the compensation structure of our directors and executive officers, including all forms of compensation to be provided to our directors and executive officers. Members of the Compensation Committee are not prohibited from direct involvement in determining their own compensation. Our chief executive officer may not be present at any committee meeting during which his compensation is deliberated. The Compensation Committee is responsible for, among other things:
| · | approving and overseeing the compensation package for our executive officers; |
| · | reviewing and making recommendations to the board with respect to the compensation of our directors; |
| · | reviewing and approving corporate goals and objectives relevant to the compensation of our chief executive officer, evaluating the performance of our chief executive officer in light of those goals and objectives, and setting the compensation level of our chief executive officer based on this evaluation; and |
| · | reviewing periodically and making recommendations to the board regarding any long-term incentive compensation or equity plans, programs or similar arrangements, annual bonuses, employee pension and welfare benefit plans. |
In 2017, our Compensation Committee held meetings or passed resolutions by unanimous written consent once.
Corporate Governance and Nominating Committee
Our Corporate Governance and Nominating Committee consists of Mr. Shuming Zhao, Mr. Arthur Wong and Mr. Rongling Chen, and is chaired by Mr. Zhao. All of our Corporate Governance and Nominating Committee members satisfy the “independence” requirements of Section 303A of the Corporate Governance Rules of the NYSE. The Corporate Governance and Nominating Committee assists the board of directors in identifying individuals qualified to become our directors and in determining the composition of the board and its committees. The Corporate Governance and Nominating Committee is responsible for, among other things:
| · | identifying and recommending to the board nominees for election or re-election to the board, or for appointment to fill any vacancy; |
| 72 |
| · | reviewing annually with the board the current composition of the board in light of the characteristics of independence, age, skills, experience and availability of service to us; |
| · | identifying and recommending to the board the directors to serve as members of the board’s committees; |
| · | advising the board periodically with respect to significant developments in the law and practice of corporate governance as well as our compliance with applicable laws and regulations, and making recommendations to the board on all matters of corporate governance and on any corrective action to be taken; and |
| · | monitoring compliance with our code of business conduct and ethics, including reviewing the adequacy and effectiveness of our procedures to ensure proper compliance. |
In 2017, our Corporate Governance and Nominating Committee held meetings or passed resolutions by unanimous written consent once.
Interested Transactions
A director may vote in respect of any contract or transaction in which he or she is interested, provided that the nature of the interest of any directors in such contract or transaction is disclosed by him or her at or prior to its consideration and any vote on that matter.
Remuneration and Borrowing
The directors may determine remuneration to be paid to the directors. The compensation committee will assist the directors in reviewing and approving the compensation structure for the directors. Subject to our Fourth Amended and Restated Memorandum and Articles of Association, the directors may exercise all the powers of our company to borrow money and to mortgage or charge its undertaking, property and uncalled capital, and to issue debentures or other securities whether outright or as security for any debt obligations of our company or of any third party.
Qualification
There is no shareholding qualification for directors.
Employment Agreements
We have entered into an employment agreement with each of our executive officers. The terms of the employment agreements are substantially similar for each executive officer, except as noted below. We may terminate an executive officer’s employment for cause, at any time, without notice or remuneration, for certain acts of the officer including, but not limited to, a serious criminal act, willful misconduct to our detriment or a failure to perform agreed duties. We may terminate employment at any time without cause upon advance written notice to the executive. The executive may resign at any time if such resignation is approved by the board or an alternative arrangement with respect to the employment is agreed by the board.
Each executive officer has agreed to hold, both during and after the termination of his or her employment agreement, in strict confidence and not to use, except as required in the performance of his or her duties in connection with the employment or as compelled by law, any of our or our customers’ confidential information or trade secrets. Each executive officer also agrees to comply with all material applicable laws and regulations related to his or her responsibilities at our company as well as all material written corporate and business policies and procedures of our company.
Each executive officer has agreed to be bound by non-competition restrictions during the term of his or her employment and for two years following the termination of such employment agreement. Specifically, each executive officer has agreed not to (1) assume employment with or provide services as a director for any of our competitors who operate in a restricted area; (2) solicit or seek any business orders from our customers; or (3) seek directly or indirectly, to solicit the services of any of our employees.
| 73 |
D. Employees
As of December 31, 2017, we employed 1,702 employees, including 947 in manufacturing, 141 in equipment maintenance, 86 in quality assurance, 14 in purchasing, 370 in research and development, 10 in sales and marketing and 134 in general and administrative. In addition, we engaged independent contractors and temporary personnel from time to time. All of these employees and independent contractors are located at our facilities in Chongqing and Xinjiang, China. As of December 31, 2017, we employed approximately 48 temporary personnel through third-party contractors. We had a total of 1,624, 1,813 and 1,702 employees as of December 31, 2015, 2016 and 2017, respectively.
As required by regulations in China, we participate in various employee social security plans that are administered by municipal and provincial governments, including housing, pension, medical insurance and unemployment insurance. We are required under Chinese law to make contributions to the employee benefit plans at specified percentages of the salaries, bonuses and certain allowance of our employees, up to a maximum amount specified by the local government from time to time.
We typically enter into a standard confidentiality and employment agreement with our research and development personnel. These contracts involve a covenant that prohibits them from engaging in any activities that compete with our business within certain agreed period after the termination of their employment with us, and during such non-competition period.
We believe we maintain a good working relationship with our employees, and we have not experienced any material labor disputes or any difficulty in recruiting staff for our operations.
E. Share Ownership
The following table sets forth information with respect to the beneficial ownership of our ordinary shares, as of the date of this annual report, by:
| · | each of our directors and executive officers; and |
| · | each person known to us to own beneficially more than 5.0% of our ordinary shares. |
The calculations in the table below are based on 270,918,702 ordinary shares outstanding as of the date of this annual report.
Beneficial ownership is determined in accordance with the rules and regulations of the SEC. In computing the number of shares beneficially owned by a person and the percentage ownership of that person, we have included shares that the person has the right to acquire within 60 days of the date of this annual report, including through the exercise of any option, warrant or other right or the conversion of any other security. These shares, however, are not included in the computation of the percentage ownership of any other person.
| 74 |
| Ordinary Shares Beneficially Owned | ||||||||
| Number | % | |||||||
| Directors and Executive Officers: | ||||||||
| Guangfu Xu(1) | 43,787,500 | 16.2 | % | |||||
| Xiang Xu(2) | 41,158,958 | 15.2 | % | |||||
| Dafeng Shi(3) | 7,739,167 | 2.9 | % | |||||
| Longgen Zhang(4) | * | * | ||||||
| Gongda Yao(5) | * | * | ||||||
| Fumin Zhuo(6) | * | * | ||||||
| Rongling Chen(7) | * | * | ||||||
| Minsong Liang(8) | * | * | ||||||
| Shuming Zhao(9) | * | * | ||||||
| Arthur Wong(10) | * | * | ||||||
| Ming Yang(11) | * | * | ||||||
| Qiangmin Zhou(12) | * | * | ||||||
| Shihua Su(13) | * | * | ||||||
| All directors and executive officers as a group | 95,362,620 | 35.2 | % | |||||
| Principal Shareholders: | ||||||||
| Gold Intellect Limited(14) | 39,000,000 | 14.4 | % | |||||
| Duke Elite Limited(15) | 25,641,025 | 9.5 | % | |||||
| Numeric Investors LLC(16) | 15,536,150 | 5.9 | % | |||||
| Plenty China Limited(17) | 14,820,000 | 5.5 | % | |||||
| * | Beneficially owns less than 1% of our ordinary shares |
| Notes: |
| (1) | Consists of 39,000,000 shares held by Gold Intellect Limited, a British Virgin Islands company wholly owned and controlled by Mr. Guangfu Xu, and 3,687,500 shares issuable upon exercise of options held by Mr. Xu that are exercisable within 60 days of the date of this annual report. Mr. Guangfu Xu’s business address is c/o No. 11, Daquan Road, Xinba, Yangzhong, Jiangsu Province, PRC. Mr. Guangfu Xu is the chairman of the board of directors of our company and he is the father of Mr. Xiang Xu. |
| (2) | Consists of (i) 1,025,641 ADSs, representing 25,641,025 Ordinary Shares, beneficially owned by Duke Elite Limited, a British Virgin Islands company wholly owned and controlled by Mr. Xiang Xu, (ii) 14,820,000 shares held by Plenty China Limited, a British Virgin Islands company wholly owned and controlled by Mr. Xiang Xu, and (iii) 1,716,667 shares issuable upon exercise of options held by Mr. Xu that are exercisable within 60 days of the date of this annual report. Mr. Xiang Xu’s business address is c/o No. 11, Daquan Road, Xinba, Yangzhong, Jiangsu Province, PRC. Mr. Xiang Xu is a director of our company and he is the son of Mr. Guangfu Xu. |
| (3) | Consists of 5,449,584 shares held by Lucky Prosper Investments Limited, a British Virgin Islands company wholly owned and controlled by Mr. Dafeng Shi, and 1,716,667 shares issuable upon exercise of options held by Mr. Shi that are exercisable within 60 days of the date of this annual report. Mr. Dafeng Shi’s business address is c/o No. 11, Daquan Road, Xinba, Yangzhong, Jiangsu Province, PRC. Mr. Shi is a director of our company. |
| (4) | The business address of Mr. Zhang is No.666, Longdu Avenue, Wanzhou District, Chongqing City, PRC. |
| (5) | The business address of Dr.Yao is No.666, Longdu Avenue, Wanzhou District, Chongqing City, PRC. |
| (6) | The business address of Mr. Zhuo is Unit 3501, Two IFC, 8 Century Avenue, Pudong District, Shanghai, China. |
| (7) | The business address of Mr. Chen is No.585, Jianguoxi Road, Shanghai, PRC. |
| (8) | The business address of Mr. Liang is Room 806, Tower C, Vantone Center, No. 6 Chaoyangmenwai Street, Chaoyang District, Beijing, PRC. |
| (9) | The business address of Mr. Zhao is 2002 Anzhong Building, School of Business, Nanjing University, 16 Jinyin Jie, Nanjing, PRC. |
| (10) | The business address of Mr. Wong is Room 906, 16th Floor, Huamao Building, No. 89 Jianguo Road, Chaoyang District, Beijing, PRC. |
| (11) | The business address of Mr. Yang is No.666, Longdu Avenue, Wanzhou District, Chongqing City, PRC. |
| (12) | The business address of Mr. Zhou is No.666, Longdu Avenue, Wanzhou District, Chongqing City, PRC. |
| (13) | The business address of Mr. Su is No.666, Longdu Avenue, Wanzhou District, Chongqing City, PRC |
| (14) | Gold Intellect Limited is a company incorporated in the British Virgin Islands wholly owned by Mr. Guangfu Xu. Its principal office is at c/o 11 Daquan Road, Xinba, Yangzheng, Jiangsu Province, PRC. Mr. Guangfu Xu has the sole voting and dispositive power over the shares of our company held by Gold Intellect Limited. |
| (15) | Duke Elite Limited is a company incorporated in the British Virgin Islands wholly owned by Mr. Xiang Xu. Its principal office is at c/o 11 Daquan Road, Xinba, Yangzheng, Jiangsu Province, PRC. Mr. Xiang Xu has the sole voting and dispositive power over the shares of our company represented by ADSs held by Duke Elite Limited. |
| (16) | Based on the Schedule 13G filed on January 29, 2018. The business address of Numeric Investors LLC is 470 Atlantic Avenue, 6th Floor, Boston, MA 02210, the United States. |
| (17) | Plenty China Limited is a company incorporated in the British Virgin Islands wholly owned by Mr. Xiang Xu. Its principal office is at c/o 11 Daquan Road, Xinba, Yangzheng, Jiangsu Province, PRC. Mr. Xiang Xu has the sole voting and dispositive power over the shares of our company held by Plenty China Limited. |
| 75 |
To our knowledge, as of the date of this annual report, 179,214,040 ordinary shares, representing approximately 66.2% of our total outstanding shares (including 15,000,000 ordinary shares issued to it for bulk issuance of ADSs reserved for future issuances upon the exercise or vesting of awards granted under our Share Incentive Plans), were held by one record holder in the United States, which was JPMorgan Chase Bank, N.A., the depositary of our ADS program. The number of beneficial owners of our ADSs in the United States is likely to be much larger than the number of record holders of our ordinary shares in the United States. None of our directors or executive officers that are shareholders or principal shareholders has different voting rights from other shareholders. We are not aware of any arrangement that may, at a subsequent date, result in a change of control of our company.
ITEM 7. MAJOR SHAREHOLDERS AND RELATED PARTY TRANSACTIONS
A. Major Shareholders
Please refer to “Item 6. Directors, Senior Management and Employees — E. Share Ownership.”
B. Related Party Transactions
Related party transactions with Daqo Group
In 2015, our company received interest free loans of $15,043,550 from Daqo Group and repaid $20,217,257 during the same year.
In June 30, 2016, Chongqing Daqo entered into a three-year loan agreement with Daqo Group, which assumed the outstanding loans that were previously extended by Daqo Solar to Chongqing Daqo in the amount of $29,475,633 (RMB204.7 million), with an interest rate 20% above the three-year long term issued by People’s Bank of China. Pursuant to this loan agreement, Chongqing Daqo has the obligation to repay the principal and interest to Daqo Group instead of Daqo Solar starting from June 30, 2016. As of December 31, 2016, Chongqing Daqo had repaid $15,059,000 (RMB100 million) and was charged $850,380 interest expense. Our company also repaid $10,974,807 interest free loans in 2016. In addition, our company recorded $27,997 rental expenses in 2016 under the lease agreement with Daqo Group.
In 2017, Chongqing Daqo had repaid all the remaining $15,495,451( RMB104.7 million) and was charged $440,368 interest expense. Our company also received and repaid $2,696,513 interest free loans in 2017. In addition, our company recorded $37,756 rental expenses in 2017 under the lease agreement with Daqo Group.
Related party transactions with Zhenjiang Daqo
In 2015, our company sold $2,885,057 in wafers and $8,226,182 in polysilicon to Zhenjiang Daqo.
In 2016, our company sold $9,901,955 in wafers and OEM, and $1,292,242 in polysilicon to Zhenjiang Daqo, respectively.
In 2017, our company sold $13,442,273 in wafers to Zhenjiang Daqo.
Related party transactions with Daqo Solar
In 2015, our company received interest free loans of $127,060,826 from Daqo Solar and repaid $151,990,672 during the same year. Further, our company sold $783,705 in wafer to Daqo Solar.
In 2016, our company received interest free loans of $60,300,896 from Daqo Solar and repaid $68,766,506 during the same year.
In 2017, our company received interest free loans of $40,089,689 from Daqo Solar and repaid $40,388,195 during the same year.
Related party transactions with Xinjiang Daqo Investment
In 2015, our company received interest free loans of $72,946,700 from Xinjiang Daqo Investment and repaid $73,252,506 during the same year. In August 2015, the Board of Directors and the Audit Committee of our company approved the restructuring plan of Xinjiang Daqo in order for it to meet certain PRC legal requirement for listing on the National Equities Exchange and Quotations in China. Pursuant to the restructuring plan, Xinjiang Daqo Investment subscribed for newly issued equity interest of Xinjiang Daqo representing 1% of the total outstanding equity of Xinjiang Daqo, which restructuring was completed in December 2015.
| 76 |
In 2016, our company received interest free loans of $56,270,085 from Xinjiang Daqo Investment and repaid $38,715,449 during the same year.
In 2017, our company received interest free loans of $14,356,000 from Xinjiang Daqo Investment and repaid $14,356,000 during the same year.
Related party transactions with Nanjing Daqo
In 2015, our company received interest free loans of $13,456,861 from Nanjing Daqo and repaid $13,456,861 during the same year.
Related party transactions with Daqo New Material
In 2015, our company received interest free loans of $11,082,241 from Daqo New Material and repaid $11,285,114 during the same year. In addition, our company recorded $1,050,661 rental expenses in 2015 under the lease agreement with Daqo New Material.
In 2016, our company received interest free loans of $9,607,344 from Daqo New Material and repaid $12,262,592 during the same year. In addition, our company recorded $993,894 rental expenses in 2016 under the lease agreement with Daqo New Material.
In 2017, our company received interest free loans of $6,029,877 from Daqo New Material and repaid $10,818,493 during the same year. In addition, our company purchased fixed asset in the amount of $7,390,693 from Daqo New Material. And our company recorded $976,800 rental expenses in 2017 under the lease agreement with Daqo New Material.
Related party transactions with Chongqing Daqo Tailai
Chongqing Daqo Tailai Electric Co., Ltd., or Chongqing Daqo Tailai, is wholly owned by Daqo Group.
In 2015, our company purchased fixed asset and raw material in the amount of $375,528 and $9,938, respectively, from Chongqing Daqo Tailai. During the same year, our company received interest free loans in the amount of $6,367,640 from Chongqing Daqo Tailai and repaid $6,367,640. Our company sold fixed assets of $6,458 to Chongqing Daqo Tailai during the same year.
In 2016, our company purchased fixed asset in the amount of $3,534,248 from Chongqing Daqo Tailai. During the same year, our company received interest free loans in the amount of $222,517 from Chongqing Daqo Tailai and repaid $2,684,783 during the same year.
In 2017, our company purchased fixed asset in the amount of $715,361 from Chongqing Daqo Tailai.
Related party transactions with other subsidiaries of Daqo Group
In 2015, our company purchased fixed asset and raw material in the amount of $3,488,330 and $22,817, respectively, from other subsidiaries of Daqo Group and repaid interest free loans of $5,295 during the same year.
In 2016, our company purchased fixed asset and raw material in the amount of $2,120,768 and $129,219, respectively, from other subsidiaries of Daqo Group.
In 2017, our company purchased fixed asset and raw material in the amount of $80,240 and $17,651, respectively, from other subsidiaries of Daqo Group.
| 77 |
Related party transaction with Duke Elite Limited
In February 2015, Duke Elite Limited, a British Virgin Islands company wholly owned and controlled by Mr. Xiang Xu, a director of ours and president of Daqo Group, purchased 1,025,641 ADSs, representing 25,641,025 ordinary shares, in an underwritten follow-on offering of the ADSs of our company, at the same price, $19.50 per ADS, and on the same terms as the other ADSs offered in the offering.
Employment Agreements
See “Item 6. Directors, Senior Management and Employees — C. Board Practices — Employment Agreements.”
Share Incentives
See “Item 6. Directors, Senior Management and Employees — B. Compensation — Share Incentive Plans” for a description of stock options and other stock purchase rights we have granted to our directors, officers and other individuals as a group.
C. Interests of Experts and Counsel
Not applicable.
A. Consolidated Statements and Other Financial Information
See “Item 18. Financial Statements.”
Legal Proceedings
We are currently not a party to any material legal or administrative proceedings and we are not aware of any material legal or administrative proceedings threatened against us. We may from time to time be subject to various legal or administrative proceedings arising in the ordinary course of business.
Dividend Policy
We have not declared or paid any dividends on our ordinary shares or ADSs. We have no present plan to declare and pay any dividends on our shares or ADSs in the near future. We currently intend to retain our available funds and any future earnings to operate and expand our business.
We are a holding company incorporated in the Cayman Islands. We rely on dividends from our subsidiaries in China for our cash needs. Current PRC regulations restrict the ability of our subsidiaries to pay dividends to us. See “Item 3. Key Information — D. Risk Factors — Risks Related to Doing Business in China — We rely principally on dividends and other distributions on equity paid by our wholly owned operating subsidiaries to fund any cash and financing requirements we may have, and any limitation on the ability of our operating subsidiaries to pay dividends to us could have a material adverse effect on our ability to borrow money or pay dividends.”
Subject to our Fourth Amended and Restated Memorandum and Articles of Association and the applicable laws, our board of directors has complete discretion as to whether to recommend a distribution of dividends to shareholders, and any distribution is further subject to the approval of our shareholders. Even if our board of directors decides to recommend dividends, the form, frequency and amount will depend upon our future operations and earnings, capital requirements and surplus, general financial condition, contractual restrictions and other factors that our board of directors may deem relevant. If we pay dividends, we will pay our ADS holders to the same extent as holders of our ordinary shares, subject to the terms of the deposit agreement, including the fees and expenses payable thereunder. Cash dividends on our ADSs and ordinary shares, if any, will be paid in U.S. dollars.
| 78 |
B. Significant Changes
Except as disclosed elsewhere in this annual report, we have not experienced any significant changes since the date of our audited consolidated financial statements included in this annual report.
A. Offering and Listing Details
Our ADSs, each representing 25 ordinary shares, have been listed on the NYSE since October 7, 2010 and trade under the symbol “DQ.” Prior to December 21, 2012, each of our ADS represented five ordinary shares. We effected a change of the ADS to ordinary share ratio on December 21, 2012 from one ADS representing five ordinary shares to one ADS representing 25 ordinary shares. The ratio change had the same effect as a 1-for-5 reverse ADS split. The following table provides the high and low trading prices for our ADSs on the NYSE for the periods indicated. For ease of comparison, the ADS prices before December 21, 2012 have been retroactively adjusted to reflect the ADS to ordinary share ratio change that took effect on December 21, 2012.
| Trading Price | ||||||||
| High | Low | |||||||
| Annual High and Low | ||||||||
| 2013 | 49.59 | 4.02 | ||||||
| 2014 | 56.98 | 21.78 | ||||||
| 2015 | 31.79 | 11.02 | ||||||
| 2016 | 27.60 | 11.56 | ||||||
| 2017 | 63.96 | 18.01 | ||||||
| Quarterly Highs and Lows | ||||||||
| First Quarter of 2016 | 20.90 | 11.56 | ||||||
| Second Quarter of 2016 | 27.44 | 17.85 | ||||||
| Third Quarter of 2016 | 25.66 | 19.11 | ||||||
| Fourth Quarter of 2016 | 24.35 | 19.28 | ||||||
| First Quarter of 2017 | 27.13 | 18.05 | ||||||
| Second Quarter of 2017 | 24.25 | 18.01 | ||||||
| Third Quarter of 2017 | 30.80 | 19.60 | ||||||
| Fourth Quarter of 2017 | 63.96 | 28.59 | ||||||
| Monthly Highs and Lows | ||||||||
| September 2017 | 29.50 | 25.03 | ||||||
| October 2017 | 38.71 | 28.59 | ||||||
| November 2017 | 54.98 | 38.09 | ||||||
| December 2017 | 63.96 | 45.09 | ||||||
| January 2018 | 72.50 | 52.04 | ||||||
| February 2018 | 64.99 | 45.31 | ||||||
| March 2018 (through March 13) | 50.40 | 42.84 | ||||||
B. Plan of Distribution
Not applicable.
C. Markets
See “— A. Offering and Listing Details.”
D. Selling Shareholders
Not applicable.
| 79 |
E. Dilution
Not applicable.
F. Expenses of the Issue
Not applicable.
ITEM 10. ADDITIONAL INFORMATION
A. Share Capital
Not applicable.
B. Memorandum and Articles of Association
We are a Cayman Islands company and our affairs are governed by our memorandum and articles of association, as amended from time to time, and the Companies Law of the Cayman Islands, as amended from time to time, which is referred to as the Companies Law below. The following are summaries of material provisions of our Fourth Amended and Restated Memorandum and Articles of Association in effect as of the date of this annual report insofar as they relate to the material terms of our ordinary shares.
Board of Directors
We are managed by a Board of Directors which shall consist of no less than five members. Our Board of Directors currently consists of nine members. An appointment of a director may be in terms that the director shall automatically retire at the next or a subsequent annual general meeting.
Meetings of the Board of Directors may be convened at any time deemed necessary by any members of the board of directors in accordance with our Fourth Amended and Restated Memorandum and Articles of Association.
A meeting of the Board of Directors shall be competent to make lawful and binding decisions if a quorum is present. Under our Fourth Amended and Restated Memorandum and Articles of Association, the quorum necessary for the transaction of the business of our Board of Directors may be fixed by the Board of Directors and unless so fixed shall be a majority of the directors then in office. At any meeting of the directors, each director, be it by his presence or by his alternate, is entitled to one vote.
Questions arising at a meeting of the Board of Directors are required to be decided by simple majority votes of the members of the Board of Directors present or represented at the meeting. In the case of a tie vote, the chairman shall have a second or casting vote. Our Board of Directors may also pass resolutions without a meeting by unanimous written consent.
See also “Item 6. Directors, Senior Management and Employees — C. Board Practices — Duties of Directors” and “ — Terms of Directors and Executive Officers.”
Ordinary Shares
General
All of our outstanding ordinary shares are fully paid and non-assessable. Certificates representing the ordinary shares are issued in registered form. Our shareholders who are non-residents of the Cayman Islands may freely hold and vote their shares.
Dividend Rights
The holders of our ordinary shares are entitled to such dividends as may be declared by our Board of Directors subject to the Companies Law.
| 80 |
Voting Rights
Each ordinary share is entitled to one vote on all matters upon which the ordinary shares are entitled to vote. Voting at any meeting of shareholders is by show of hands unless a poll is demanded. A poll may be demanded by any one or more shareholders holding at least ten percent of the shares given a right to vote at the meeting, present in person or by proxy.
A quorum required for a meeting of shareholders consists of at least shareholders holding not less than an aggregate of one-third of all voting share capital of our company in issue present in person or by proxy and entitled to vote. Shareholders’ meetings may be held annually and may be convened by our board of directors on its own initiative or upon a request to the directors by shareholders holding in aggregate not less than one third of our share capital as at that date carries the right of voting at general meeting of our company. Advance notice of at least seven days is required for the convening of our annual general meeting and other shareholders meetings.
An ordinary resolution to be passed by the shareholders requires the affirmative vote of a simple majority of the votes attaching to the ordinary shares cast in a general meeting, while a special resolution requires the affirmative vote of no less than two-thirds of the votes cast attaching to the ordinary shares. A special resolution is required for important matters such as a change of name. Holders of the ordinary shares may effect certain changes by ordinary resolution, including alter the amount of our authorized share capital, consolidate and divide all or any of our share capital into shares of larger amount than our existing share capital, and cancel any shares.
Transfer of Shares
Subject to the restrictions of our Fourth Amended and Restated Memorandum and Articles of Association, as applicable, any of our shareholders may transfer all or any of his or her ordinary shares by an instrument of transfer in the usual or common form or any other form approved by our board.
Our Board of Directors may, in its absolute discretion, decline to register any transfer of any ordinary share which is not fully paid up or on which we have a lien. Our directors may also decline to register any transfer of any ordinary share unless (a) the instrument of transfer is lodged with us, accompanied by the certificate for the ordinary shares to which it relates and such other evidence as our Board of Directors may reasonably require to show the right of the transferor to make the transfer; (b) the shares conceded are free of any lien in favor of us; or (c) a fee of such maximum sum as the NYSE may determine to be payable, or such lesser sum as our board of directors may from time to time require, is paid to us in respect thereof.
If our directors refuse to register a transfer, they shall, within two months after the date on which the instrument of transfer was lodged, send to each of the transferor and the transferee notice of such refusal. The registration of transfers may, on 14 days’ notice being given by advertisement in such one or more newspapers or by electronic means, be suspended and the register closed at such times and for such periods as our board of directors may from time to time determine, provided, however, that the registration of transfers shall not be suspended nor the register closed for more than 30 days.
Liquidation
On a return of capital on winding up or otherwise (other than on conversion, redemption or purchase of shares), assets available for distribution among the holders of ordinary shares shall be distributed among the holders of the ordinary shares on a pro rata basis. If our assets available for distribution are insufficient to repay all of the paid-up capital, the assets will be distributed so that the losses are borne by our shareholders proportionately.
Redemption of Shares
Subject to the provisions of the Companies Law, we may issue shares on terms that are subject to redemption, at our option or at the option of the holders, on such terms and in such manner as may be determined by special resolution.
| 81 |
Variations of Rights of Shares
All or any of the special rights attached to any class of shares may, subject to the provisions of the Companies Law, be varied either with the written consent of the holders of a majority of the issued shares of that class or with the sanction of a special resolution passed at a general meeting of the holders of the shares of that class.
Inspection of Books and Records
Holders of our ordinary shares will have no general right under Cayman Islands law to inspect or obtain copies of our list of shareholders or our corporate records. However, we will provide our shareholders with annual audited financial statements. See “— H. Documents on Display.”
Limitations on the Right to Own Shares
There are no limitations on the right to own our shares.
Disclosure of Shareholder Ownership
There are no provisions in our amended and restated memorandum and articles of association governing the ownership threshold above which shareholder ownership must be disclosed.
Demand Registration Rights and Form F-3 Registration Rights
When we are eligible for registration on Form F-3, holders of at least 10% of our outstanding registrable securities have the right to request that we file registration statements under Form F-3 covering the offer and sale of their securities.
We, however, are not obligated to effect a demand registration or a Form F-3 registration if, among other things, (1) we notify the requesting holder of the registrable securities of our intention to make a public offering within 180 days, (2) the dollar amount of securities to be sold is of an aggregate price to the public of less than $5,000,000, or (3) we provide the requesting holders a certificate signed by our chief executive officer stating that in the good faith judgment of the board of directors the filing of such a registration statement will be materially detrimental to us and our shareholders. In the case of (3), we cannot exercise the deferral right more than once in any 12-month period.
No Sinking Fund
Our ordinary shares are not subject to sinking fund provisions.
C. Material Contracts
We have not entered into any material contracts other than in the ordinary course of business and other than those described in “Item 4. Information on the Company — B. Business Overview” or elsewhere in this annual report.
D. Exchange Controls
See “Item 4. Information on the Company — B. Business Overview — Regulation — Foreign Currency Exchange.”
E. Taxation
Cayman Islands Taxation
The Cayman Islands currently levies no taxes on individuals or corporations based upon profits, income, gains or appreciation and there is no taxation in the nature of inheritance tax or estate duty. There are no other taxes likely to be material to us levied by the Government of the Cayman Islands except for stamp duties which may be applicable on instruments executed in, or brought within the jurisdiction of the Cayman Islands. The Cayman Islands is not party to any double tax treaties. There are no exchange control regulations or currency restrictions in the Cayman Islands.
| 82 |
Chinese Taxation
Under the PRC tax laws effective prior to January 1, 2008, dividends paid to foreign investors by foreign-invested enterprises, such as dividends paid to us by our PRC subsidiaries, were exempt from PRC withholding tax. Under the PRC Enterprise Income Tax Law and its implementation rules effective on January 1, 2008, all domestic and foreign-invested companies in China are subject to a uniform enterprise income tax at the rate of 25% and dividends from a PRC subsidiary to its foreign parent company are subject to a withholding tax at the rate of 10%, unless such foreign parent company’s jurisdiction of incorporation has a tax treaty with China that provides for a reduced rate of withholding tax, or the tax is otherwise exempted or reduced pursuant to the PRC tax laws.
Under the EIT Law, enterprises organized under the laws of jurisdictions outside China with their “de facto management bodies” located within China are considered PRC resident enterprises and therefore are subject to PRC enterprise income tax at the rate of 25% on their worldwide income. Under the implementation rules of the EIT Law, “de facto management bodies” is defined as the bodies that have material and overall management and control over the business operations, personnel and human resources, finances and treasury, and acquisition and disposition of properties and other assets of an enterprise. In addition, a circular issued by the State Administration of Taxation on April 22, 2009 provides that a “foreign enterprise controlled by a PRC company or a PRC company group” will be classified as a “resident enterprise” with its “de facto management bodies” located within China if the following requirements are satisfied: (i) the senior management and core management departments in charge of its daily operations function mainly in the PRC; (ii) its financial and human resources decisions are subject to determination or approval by persons or bodies in the PRC; (iii) its major assets, accounting books, company seals, and minutes and files of its board and shareholders’ meetings are located or kept in the PRC; and (iv) more than half of the enterprise’s directors or senior management with voting rights reside in the PRC. However, it remains unclear how PRC tax authority will treat an overseas company controlled by PRC natural persons rather than PRC enterprises like Daqo Cayman. The criteria set forth above do not apply to Daqo Cayman directly because Daqo Cayman is currently beneficially owned by Chinese individuals and is not a “foreign enterprise controlled by a PRC company or a PRC company group” and accordingly, we do not believe that Daqo Cayman should be treated as a PRC resident enterprise under the relevant requirements. However, such criteria may be considered relevant in determining Daqo Cayman’s residence. Therefore, we cannot assure you that Daqo Cayman will not be deemed a PRC resident enterprise.
If Daqo Cayman were classified as a PRC resident enterprise under the EIT Law, enterprise ADS holders who are not Chinese residents may be subject to a 10% withholding tax (20% in the case of individual ADS holders who are not Chinese residents) upon dividends payable by Daqo Cayman, and 10% tax on gains realized upon the sale or other disposition of our ADSs (20% in the case of individual ADS holders who are not Chinese residents). In addition, the EIT law and regulations also provide that, if a resident enterprise directly invests in another resident enterprise, the dividends received by the investing resident enterprise from the invested resident enterprise are exempted from income tax, subject to certain conditions. Therefore, if Daqo Cayman is classified as resident enterprise under the EIT Law, the dividends we receive from our Chinese subsidiaries may be exempted from withholding tax.
United States Federal Income Tax Considerations
The following discussion is a summary of United States federal income tax considerations relating to the ownership and disposition of our ADSs or ordinary shares by U.S. Holders (as defined below) that hold ADSs or ordinary shares as “capital assets” (generally, property held for investment) under the United States Internal Revenue Code of 1986, as amended (the “Code”). This discussion is based upon existing U.S. federal income tax law as in effect on the date of this annual report, which is subject to differing interpretations or change, possibly with retroactive effect. This discussion does not address all aspects of United States federal income taxation that may be important to particular holders in light of their individual investment circumstances, including holders subject to special tax rules that differ significantly from those discussed below (for example, financial institutions, insurance companies, regulated investment companies, real estate investment trusts, broker-dealers, cooperatives, pension plans, partnerships and their partners, tax-exempt organizations (including private foundations), holders who are not U.S. Holders, holders who own (directly, indirectly, or constructively) 10% or more of our stock, holders that hold their ADSs or ordinary shares as part of a straddle, hedge, conversion, constructive sale, or other integrated transaction for United States federal income tax purposes, holders that are traders in securities that have elected the mark-to-market method of accounting, or holders that have a functional currency other than the United States dollar). In addition, this discussion does not address U.S. federal estate, gift, Medicare, or alternative minimum taxes, or any non-United States, state, or local tax considerations, relating to the ownership and disposition of our ADSs or ordinary shares. Each U.S. Holder is urged to consult its tax advisor regarding the United States federal, state, local, and non-United States income and other tax considerations with respect to the ownership and disposition of our ADSs or ordinary shares.
| 83 |
General
For purposes of this discussion, a “U.S. Holder” is a beneficial owner of our ADSs or ordinary shares that is, for United States federal income tax purposes, (i) an individual who is a citizen or resident of the United States, (ii) a corporation, or other entity taxable as a corporation for United States federal income tax purposes, created in, or organized under the law of the United States or any state thereof or the District of Columbia, (iii) an estate the income of which is includible in gross income for United States federal income tax purposes regardless of its source, or (iv) a trust (A) the administration of which is subject to the primary supervision of a United States court and which has one or more United States persons who have the authority to control all substantial decisions of the trust or (B) that has otherwise validly elected to be treated as a United States person under the Code.
If a partnership (or other entity treated as a partnership for United States federal income tax purposes) is a beneficial owner of our ADSs or ordinary shares, the tax treatment of a partner in the partnership will generally depend upon the status of the partner and the activities of the partnership. Partnerships and partners of a partnership holding our ADSs or ordinary shares are urged to consult their tax advisors regarding an investment in our ADSs or ordinary shares.
For United States federal income tax purposes, it is generally expected that a U.S. Holder of ADSs will be treated as the beneficial owner of the underlying shares represented by the ADSs. The remainder of this discussion assumes that a U.S. Holder of our ADSs will be treated in this manner. Accordingly, deposits or withdrawals of ordinary shares for ADSs will generally not be subject to United States federal income tax.
Passive Foreign Investment Company Considerations
A non-United States corporation, such as our company, will be classified as a “passive foreign investment company” (or a “PFIC”), for United States federal income tax purposes for any taxable year, if either (i) 75% or more of its gross income for such year consists of certain types of “passive” income or (ii) 50% or more of the value of its assets (determined on the basis of a quarterly average) produce or are held for the production of passive income. For this purpose, cash and assets readily convertible into cash are categorized as passive assets and the company’s goodwill and other unbooked intangibles are generally taken into account for determining the value of its assets. We will be treated as owning our proportionate share of the assets and earning our proportionate share of the income of any other corporation in which we own, directly or indirectly, more than 25% (by value) of the stock.
Based on our income and assets, we do not believe that we were a PFIC for the taxable year ended December 31, 2017and we do not anticipate becoming a PFIC in future taxable years, although there can be no assurance in this regard. Although we do not currently expect that our assets or activities will change in a manner that would cause us to become a PFIC for the foreseeable future, there can be no assurance our business plans will not change in a manner that will affect our PFIC status. Because there are uncertainties in the application of the relevant rules and PFIC status is a fact-intensive determination made on an annual basis, no assurance can be given that we are not or will not become classified as a PFIC.
The discussion below under “Dividends” and “Sale or Other Disposition of ADSs or Ordinary Shares” is written on the basis that we will not be classified as a PFIC for United States federal income tax purposes. The United States federal income tax rules that apply if we are classified as a PFIC for the current taxable year or any subsequent taxable year are generally discussed below under “Passive Foreign Investment Company Rules.”
| 84 |
Dividends
Subject to the PFIC rules discussed below, any cash distributions (including the amount of any taxes withheld) paid on ADSs or ordinary shares out of our current or accumulated earnings and profits, as determined under United States federal income tax principles, will generally be includible in the gross income of a U.S. Holder as dividend income on the day actually or constructively received by the depositary in the case of ADSs or by a U.S. Holder in the case of ordinary shares. Because we do not intend to determine our earnings and profits on the basis of United States federal income tax principles, any distribution paid will generally be reported as a “dividend” for United States federal income tax purposes. A non-corporate recipient will be subject to tax at the lower capital gain tax rate applicable to “qualified dividend income,” provided that certain conditions are satisfied, including that (1) the ADSs or ordinary shares, as applicable, are readily tradable on an established securities market in the United States, or if we are eligible for the benefits of a comprehensive tax treaty with the United States which the Secretary of Treasury of the United States determines is satisfactory for purposes of this provision and which includes an exchange of information program, (2) we are neither a passive foreign investment company nor treated as such with respect to you (as discussed below) for the taxable year in which the dividend was paid and the preceding taxable year, and (3) certain holding period requirements are met. Our ADSs are listed on the NYSE, which is an established securities market in the United States, and will be considered readily tradable on an established securities market for as long as the ADSs continue to be listed on the NYSE. There can be no assurance that our ADSs will be considered readily tradable on an established securities market in the United States in later years. Since we do not expect that our ordinary shares will be listed on an established securities market in the United States, it is unclear whether the dividends that we pay on our ordinary shares that are not backed by ADSs currently meet the conditions required for the reduced tax rate. However, in the event our company is deemed to be a PRC resident enterprise under the PRC Enterprise Income Tax Law (see “Chinese Taxation” above), we may be eligible for the benefits of the United States-PRC income tax treaty, which the Secretary of the Treasury of the United States has determined is satisfactory for purposes of qualified dividend income treatment and dividends paid with respect to our ADSs or ordinary shares, regardless of whether they are backed by our ADSs, will be treated as qualified dividend income. U.S. Holders are urged to consult their tax advisors regarding the availability of the reduced tax rate on dividends with respect to our ADSs or ordinary shares in their particular circumstances. Dividends received on the ADSs or ordinary shares are not expected to be eligible for the dividends-received deduction allowed to corporations.
Dividends will generally be treated as income from foreign sources for United States foreign tax credit purposes. In the event that we are deemed to be a PRC resident enterprise under the PRC Enterprise Income Tax Law (see “Chinese Taxation” above), a U.S. Holder may be subject to PRC withholding taxes on dividends paid on our ADSs or ordinary shares. A U.S. Holder may be eligible, subject to a number of complex limitations, to claim a foreign tax credit in respect of any foreign withholding taxes imposed on dividends received on ADSs or ordinary shares. A U.S. Holder who does not elect to claim a foreign tax credit for foreign tax withheld may instead claim a deduction for United States federal income tax purposes, in respect of such withholdings, but only for a year in which such U.S. Holder elects to do so for all creditable foreign income taxes. The rules governing the foreign tax credits are complex. Accordingly, each U.S. Holder is advised to consult with its tax advisor regarding the availability.
Sale or Other Disposition of ADSs or Ordinary Shares
Subject to the PFIC rules discussed below, a U.S. Holder will generally recognize capital gain or loss upon the sale or other disposition of ADSs or ordinary shares in an amount equal to the difference between the amount realized upon the disposition and the U.S. Holder’s adjusted tax basis in such ADSs or ordinary shares. Any capital gain or loss will be long-term if the ADSs or ordinary shares have been held for more than one year and will generally be United States-source gain or loss for United States foreign tax credit purposes. Long-term capital gain of noncorporate U.S. Holders is generally eligible for a reduced rate of tax. The deductibility of a capital loss may be subject to limitations. In the event that we are treated as a PRC resident enterprise under the PRC Enterprise Income Tax Law and gain from the disposition of ADSs or ordinary shares is subject to the tax in the PRC (see “Chinese Taxation” above), a U.S. Holder that is eligible for the benefits of the income tax treaty between the United States and the PRC may elect to treat the gain as PRC-source income. U.S. Holders are urged to consult with their tax advisors regarding the tax consequences if a foreign withholding tax is imposed on a disposition of our ADSs or ordinary shares, including the availability of a foreign tax credit under their particular circumstances.
| 85 |
Passive Foreign Investment Company Rules
If we are classified as a PFIC for any taxable year during which a U.S. Holder holds our ADSs or ordinary shares, and unless the U.S. Holder makes a mark-to-market election (as described below), the U.S. Holder will generally be subject to special tax rules that have a penalizing effect, regardless of whether we remain a PFIC, on (i) any excess distribution that we make to the U.S. Holder (which generally means any distribution paid during a taxable year to a U.S. Holder that is greater than 125 percent of the average annual distributions paid in the three preceding taxable years or, if shorter, the U.S. Holder’s holding period for the ADSs) or ordinary shares and (ii) any gain realized on the sale or other disposition, including a pledge, of ADSs or ordinary shares. Under these PFIC rules:
| · | such excess distribution or gain will be allocated ratably over the U.S. Holder’s holding period for the ADSs or ordinary shares; |
| · | the amount allocated to the current taxable year, and any taxable years in the U.S. Holder’s holding period prior to the first taxable year in which we were a PFIC (a “pre-PFIC year”), will be taxable as ordinary income; |
| · | the amount allocated to each prior taxable year, other than a pre-PFIC year, will be subject to tax at the highest tax rate in effect applicable to the U.S. Holder for each such year; and |
| · | an additional tax equal to the interest charge generally applicable to underpayments of tax will be imposed on the tax attributable to each prior taxable year, other than a pre-PFIC year. |
If we are a PFIC for any taxable year during which a U.S. Holder holds our ADSs or ordinary shares and any of our non-United States subsidiaries is also a PFIC, such U.S. Holder would be treated as owning a proportionate amount (by value) of the shares of the lower-tier PFIC for purposes of the application of these rules. Each U.S. Holder is advised to consult its tax advisors regarding the application of the PFIC rules to any of our subsidiaries.
A U.S. Holder of “marketable stock” in a PFIC may make a mark-to-market election with respect to our ADSs to elect out of the tax treatment discussed above, provided that the ADSs are regularly traded on the NYSE. We anticipate that the ADSs should qualify as being regularly traded on the NYSE, but no assurances may be given in this regard. If a U.S. Holder makes a mark-to-market election for the ADSs (but not our ordinary shares), such U.S. Holder will include in income for each year that we are treated as a PFIC with respect to such U.S. Holder an amount equal to the excess, if any, of the fair market value of the ADSs as of the close of the U.S. Holder’s taxable year over the U.S. Holder’s adjusted basis in such ADSs. A U.S. Holder will be allowed a deduction for the excess, if any, of the adjusted basis of the ADSs over their fair market value as of the close of the taxable year. However, deductions will be allowable only to the extent of any net mark-to-market gains on the ADSs included in a U.S. Holder’s income for prior taxable years. Amounts included in a U.S. Holder’s income under a mark-to-market election, as well as gain on the actual sale or other disposition of the ADSs, will be treated as ordinary income. Ordinary loss treatment will also apply to the deductible portion of any mark-to-market loss on the ADSs, as well as to any loss realized on the actual sale or disposition of the ADSs, to the extent that the amount of such loss does not exceed the net mark-to-market gains previously included for such ADSs. A U.S. Holder’s basis in the ADSs will be adjusted to reflect any such income or loss amounts resulting from the mark-to-market election.
Because a mark-to-market election cannot be made for equity interests in any lower-tier PFICs that we own, a U.S. Holder may continue to be subject to the PFIC rules with respect to its indirect interest in any investments held by us that are treated as an equity interest in a PFIC for United States federal income tax purposes.
We do not intend to prepare or provide the information that would enable a U.S. Holder to make a qualified electing fund election (“QEF Election”), which, if available, would result in tax treatment different from the general tax treatment for PFICs described above. Accordingly, each U.S. Holder should assume that the QEF Election will not be available.
If a U.S. Holder holds ADSs or ordinary shares in any year in which we are treated as a PFIC with respect to such U.S. Holder, the U.S. Holder would generally be required to file United States Internal Revenue Service Form 8621. U.S. Holders are urged to consult their tax advisors regarding the application of the PFIC rules to their investment in ADSs or ordinary shares.
| 86 |
Information Reporting
U.S. Holders may be subject to information reporting to the Internal Revenue Service with respect to dividends on and proceeds from the sale or other disposition of our ADSs or ordinary shares. Each U.S. Holder is advised to consult its tax advisor regarding the application of the United States information reporting rules and backup withholding rules to its particular circumstances. In addition, certain U.S. Holders may be subject to backup withholding in respect of such amounts if they do not provide their taxpayer identification numbers to the person from whom they receive payments. Non-U.S. Holders may be required to comply with applicable certification procedures to establish that they are not U.S. Holders in order to avoid the application of such information reporting requirements and backup withholding. The amount of any backup withholding from a payment to a U.S. or non-U.S. Holder will be allowed as a credit against the Holder’s U.S. federal income tax liability and may entitle the Holder to a refund, provided that the required information is timely furnished to the IRS.
In addition, U.S. Holders who hold “specified foreign financial assets,” including any financial accounts held at a non-U.S. “financial institution,” as well as stock of a non-U.S. corporation that is not held in an account maintained by a “financial institution,” and whose aggregate value of all foreign financial assets exceeds $50,000 during the tax year (or a higher dollar amount prescribed by the Internal Revenue Service) may be required to attach to their tax return for the year certain information relating to such specified foreign financial assets as required by the Internal Revenue Service. A U.S. Holder who fails to timely furnish the required information may be subject to penalties. Each U.S. Holder is advised to consult its tax advisor regarding its reporting obligations under this legislation.
F. Dividends and Paying Agents
Not applicable.
G. Statement by Experts
Not applicable.
H. Documents on Display
We are subject to the periodic reporting and other informational requirements of the Securities Exchange Act of 1934 or the Exchange Act. Under the Exchange Act, we are required to file reports and other information with the SEC. Specifically, we are required to file annually a Form 20-F (1) within six months after the end of each fiscal year, which is December 31, for fiscal years ending before December 15, 2011; and (2) within four months after the end of each fiscal year for fiscal years ending on or after December 15, 2011. The SEC maintains a website at www.sec.gov that contains reports, proxy and information statements, and other information regarding registrants that make electronic filings with the SEC using its EDGAR system. Copies of reports and other information, when filed, may also be inspected without charge and may be obtained at prescribed rates at the public reference facilities maintained by the SEC at 100 F Street, N.E., Room 1580, Washington, D.C. 20549. The public may obtain information regarding the Washington, D.C. Public Reference Room by calling the SEC at 1-800-SEC-0330. As a foreign private issuer, we are exempt from the rules under the Exchange Act prescribing the furnishing and content of quarterly reports and proxy statements, and officers, directors and principal shareholders are exempt from the reporting and short-swing profit recovery provisions contained in Section 16 of the Exchange Act.
We will furnish JP Morgan Chase Bank, N.A., the depositary of our ADSs, with our annual reports, which will include a review of operations and annual audited consolidated financial statements prepared in conformity with U.S. GAAP, and all notices of shareholders’ meetings and other reports and communications that are made generally available to our shareholders. The depositary will make such notices, reports and communications available to holders of ADSs and, upon our request, will mail to all record holders of ADSs the information contained in any notice of a shareholders’ meeting received by the depositary from us.
I. Subsidiary Information
For a listing of our subsidiaries, see “Item 4. Information on the Company — C. Organizational Structure.”
ITEM 11. QUANTITATIVE AND QUALITATIVE DISCLOSURES ABOUT MARKET RISK
Interest Rate Risk
Our exposure to interest rate risk primarily relates to interest expense incurred on our short-term and long-term borrowings and interest income generated by excess cash which is mostly held in interest-bearing bank deposits. We have not used any derivative financial instruments to manage our interest rate risk exposure. As of December 31, 2017, we had outstanding long-term bank borrowings of $144.5 million mostly bearing floating rates which are subject to adjustment every 12 months based upon the PRC government’s standard interest rate. The weighted average interest rate as of December 31, 2017 for the long-term bank borrowings was 5.9%. We are currently not engaged in any interest rate hedging activities. A hypothetical five percentage point increase in interest rates would have resulted in an increase of approximately $0.9 million in our interest expense for the year ended December 31, 2017.
| 87 |
Foreign Exchange Risk
Substantially all of our revenues and most of our expenses are denominated in RMB. Our exposure to foreign exchange risk primarily relates to (1) the Euro or U.S. dollar income or that we may generate in the future for sale of our photovoltaic products in the international market, (2) the U.S. dollar proceeds of a small portion of our initial public offering in October 2010, most or substantially all of which we expect to convert into RMB over time for the uses discussed under “Item 14. Material Modifications to the Rights of Security Holders Use of Proceeds” and (3) the U.S. dollar and Euro denominated equipment purchase prices that we need to pay from time to time. We believe the impact of foreign currency risk is not material and we have not used any forward contracts, currency borrowings or derivative instruments to hedge our exposure to foreign currency exchange risk. Although in general our exposure to foreign exchange risks should be limited, the value of your investment in our ADSs will be affected by the foreign exchange rate between U.S. dollars and RMB because the value of our business is effectively denominated in RMB, while we use the U.S. dollar as our functional and reporting currency and the ADSs will be traded in U.S. dollars. The value of the RMB against the U.S. dollar and other currencies is affected by, among other things, changes in China’s political and economic conditions and China’s foreign exchange policies.
To the extent that we need to convert U.S. dollars into RMB for our operations, acquisitions or other uses within China, appreciation of the RMB against the U.S. dollar would have an adverse effect on the RMB amount we receive from the conversion. To the extent that we seek to convert RMB into U.S. dollars, depreciation of the RMB against the U.S. dollar would have an adverse effect on the U.S. dollar amount we receive from the conversion. As of December 31, 2017, we had RMB-denominated cash, cash equivalents, and short-term investments of RMB 354.2 million and U.S. dollar-denominated cash, cash equivalents and short-term investments of $6.2 million. Assuming we had converted the U.S. dollar-denominated cash, cash equivalents and short-term investments of $6.2 million into RMB at the exchange rate of $1.00 for RMB6.5063 as of December 29, 2017, this cash, cash equivalents and short-term investments would have been RMB40.4 million. Assuming a 10% appreciation of the RMB against the U.S. dollar, this cash, cash equivalents and short-term investments would have decreased to RMB36.3 million.
ITEM 12. DESCRIPTION OF SECURITIES OTHER THAN EQUITY SECURITIES
A. Debt Securities
Not applicable.
B. Warrants and Rights
Not applicable.
C. Other Securities
Not applicable.
D. American Depositary Shares
Fees and Charges Our ADS Holders May Have to Pay
As an ADS holder, you will be required to pay the following service fees to the depositary bank:
The depositary may charge each person to whom ADSs are issued, including, without limitation, issuances against deposits of shares, issuances in respect of share distributions, rights and other distributions, issuances pursuant to a stock dividend or stock split declared by us or issuances pursuant to a merger, exchange of securities or any other transaction or event affecting the ADSs or deposited securities, and each person surrendering ADSs for withdrawal of deposited securities or whose ADSs are cancelled or reduced for any other reason, $5.00 for each 100 ADSs (or any portion thereof) issued, delivered, reduced, cancelled or surrendered, as the case may be. The depositary may sell (by public or private sale) sufficient securities and property received in respect of a share distribution, rights and/or other distribution prior to such deposit to pay such charge.
| 88 |
The following additional charges shall be incurred by the ADS holders, by any party depositing or withdrawing shares or by any party surrendering ADSs or to whom ADSs are issued (including, without limitation, issuance pursuant to a stock dividend or stock split declared by us or an exchange of stock regarding the ADSs or the deposited securities or a distribution of ADSs), whichever is applicable:
| · | a fee of $1.50 per ADR or ADRs for transfers of certificated or direct registration ADRs; |
| · | a fee of up to $0.05 per ADS for any cash distribution made pursuant to the deposit agreement; |
| · | a fee of up to $0.05 per ADS per calendar year (or portion thereof) for services performed by the depositary in administering the ADRs (which fee may be charged on a periodic basis during each calendar year and shall be assessed against holders of ADRs as of the record date or record dates set by the depositary during each calendar year and shall be payable in the manner described in the next succeeding provision); |
| · | reimbursement of such fees, charges and expenses as are incurred by the depositary and/or any of the depositary’s agents (including, without limitation, the custodian and expenses incurred on behalf of holders in connection with compliance with foreign exchange control regulations or any law or regulation relating to foreign investment) in connection with the servicing of the shares, the delivery of deposited securities or otherwise in connection with the depositary’s or its custodian’s compliance with applicable law, rule or regulation (which charge shall be assessed on a proportionate basis against holders as of the record date or dates set by the depositary and shall be payable at the sole discretion of the depositary by billing such holders or by deducting such charge from one or more cash dividends or other cash distributions); |
| · | a fee for the distribution of securities (or the sale of securities in connection with a distribution), such fee being in an amount equal to the fee for the execution and delivery of ADSs which would have been charged as a result of the deposit of such securities (treating all such securities as if they were shares) but which securities or the net cash proceeds from the sale thereof are instead distributed by the depositary to those holders entitled thereto; |
| · | stock transfer or other taxes and other governmental charges; |
| · | cable, telex and facsimile transmission and delivery charges incurred at your request in connection with the deposit or delivery of shares; |
| · | transfer or registration fees for the registration of transfer of deposited securities on any applicable register in connection with the deposit or withdrawal of deposited securities; and |
| · | expenses of the depositary in connection with the conversion of foreign currency into U.S. dollars. |
ADR holders must pay any tax or other governmental charge payable by the custodian or the depositary on any ADS or ADR, deposited security or distribution. If an ADR holder owes any tax or other governmental charge, the depositary may (i) deduct the amount thereof from any cash distributions, or (ii) sell deposited securities (by public or private sale) and deduct the amount owing from the net proceeds of such sale. In either case the ADR holder remains liable for any shortfall. Additionally, if any tax or governmental charge is unpaid, the depositary may also refuse to effect any registration, registration of transfer, split-up or combination of deposited securities or withdrawal of deposited securities until such payment is made. If any tax or governmental charge is required to be withheld on any cash distribution, the depositary may deduct the amount required to be withheld from any cash distribution or, in the case of a non-cash distribution, sell the distributed property or securities (by public or private sale) to pay such taxes and distribute any remaining net proceeds to the ADR holders entitled thereto.
| 89 |
We will pay all other charges and expenses of the depositary and any agent of the depositary (except the custodian) pursuant to agreements from time to time between us and the depositary. The depositary collects its fees for issuance and cancellation of ADSs directly from investors depositing shares or surrendering ADSs for the purpose of withdrawal or from intermediaries acting for them. The depositary collects fees for making distributions to investors by deducting those fees from the amounts distributed or by selling a portion of distributable property to pay the fees. The depositary may collect its annual fee for depositary services by deduction from cash distributions, or by directly billing investors, or by charging the book-entry system accounts of participants acting for them. The depositary may generally refuse to provide services to any holder until the fees and expenses owing by such holder for those services or otherwise are paid. The charges described above may be amended from time to time by agreement between us and the depositary.
Fees and Other Payments Made by the Depositary to Us
The depositary bank may reimburse us for certain expenses incurred by us in respect of the ADS program established pursuant to the deposit agreement, by making available a set amount or a portion of the depositary fees charged in respect of the ADS program or otherwise, upon such terms and conditions as we and the depositary bank may agree from time to time. For the year ended December 31, 2017, we received $56,019 from the depositary as reimbursement for our expenses incurred in connection with the establishment and maintenance of the ADS program. In December 2012, we instructed the depositary bank to change the ratio of shares of our company by each ADS from five shares to twenty five shares per ADS. In accordance with the agreement between our company and the depositary bank, the latter ceased any reimbursement and waiver, and charged “Termination/Revision Fees” of $1 million to our company.
ITEM 13. DEFAULTS, DIVIDEND ARREARAGES AND DELINQUENCIES
Not applicable.
ITEM 14. MATERIAL MODIFICATIONS TO THE RIGHTS OF SECURITY HOLDERS AND USE OF PROCEEDS
Not applicable.
ITEM 15. CONTROLS AND PROCEDURES
Disclosure Controls and Procedures
We maintain disclosure controls and procedures designed to provide reasonable assurance that information required to be disclosed in reports filed under the Exchange Act is recorded, processed, summarized and reported within the specified time periods and accumulated and communicated to our management, including our chief executive officer and chief financial officer, as appropriate to allow timely decisions regarding required disclosure. Our management, with the participation of our chief executive officer and chief financial officer, evaluated the effectiveness of our disclosure controls and procedures, as defined in Rules 13a-15(e) or 15d-15(e) promulgated under the Exchange Act, as of December 31, 2017. Based on that evaluation, our chief executive officer and chief financial officer concluded that, as of that date, our disclosure controls and procedures required by Rules 13a-15(b) or 15d-15(b) were effective as of December 31, 2017.
Management’s Report On Internal Control Over Financial Reporting
Our management is responsible for establishing and maintaining adequate internal control over financial reporting, as such term is defined in Rules 13a-15(f) and 15d-15(f) under the Exchange Act of 1934. Our internal control over financial reporting is a process designed to provide reasonable assurance regarding the reliability of financial reporting and the preparation of consolidated financial statements in accordance with U.S. GAAP. Because of its inherent limitations, a system of internal control over financial reporting may not prevent or detect misstatements. Projections of any evaluation of effectiveness to future periods are subject to the risk that controls may become inadequate because of changes in conditions, or that the degree of compliance with the policies and procedures may deteriorate.
| 90 |
Our management conducted an assessment of the effectiveness of our internal control over financial reporting as of December 31, 2017. In making this assessment, it used the criteria established within the Internal Control—Integrated Framework issued by the Committee of Sponsoring Organizations of the Treadway Commission (COSO) (2013 framework). Based on this assessment, our management has concluded that, as of December 31, 2017, our internal control over financial reporting was effective.
Deloitte Touche Tohmatsu Certified Public Accountants LLP, an independent registered public accounting firm, who audited our consolidated financial statements for the year ended December 31, 2017, has also audited the effectiveness of internal control over financial reporting as of December 31, 2017.
Report of Independent Registered Public Accounting Firm
TO THE BOARD OF DIRECTORS AND SHAREHOLDERS OF
DAQO NEW ENERGY CORP.:
Opinion on Internal Control over Financial Reporting
We have audited the internal control over financial reporting of Daqo New Energy Corp and its subsidiaries (the “Group”) as of December 31, 2017, based on criteria established in Internal Control—Integrated Framework (2013) issued by the Committee of Sponsoring Organizations of the Treadway Commission (COSO). In our opinion, the Group maintained, in all material respects, effective internal control over financial reporting as of December 31, 2017, based on criteria established in Internal Control — Integrated Framework (2013) issued by COSO.
We have also audited, in accordance with the standards of the Public Company Accounting Oversight Board (United States) (PCAOB), the consolidated financial statements and the related financial statement schedule included in Schedule I as of and for the year ended December 31, 2017 of the Group and our report dated March 16, 2018 expressed an unqualified opinion on those consolidated financial statements and financial statement schedule.
Basis for Opinion
The Group’s management is responsible for maintaining effective internal control over financial reporting and for its assessment of the effectiveness of internal control over financial reporting, included in the accompanying Management’s Annual Report on Internal Control over Financial Reporting. Our responsibility is to express an opinion on the Group’s internal control over financial reporting based on our audit. We are a public accounting firm registered with the PCAOB and are required to be independent with respect to the Group in accordance with the U.S. federal securities laws and the applicable rules and regulations of the Securities and Exchange Commission and the PCAOB.
We conducted our audit in accordance with the standards of the PCAOB. Those standards require that we plan and perform the audit to obtain reasonable assurance about whether effective internal control over financial reporting was maintained in all material respects. Our audit included obtaining an understanding of internal control over financial reporting, assessing the risk that a material weakness exists, testing and evaluating the design and operating effectiveness of internal control based on the assessed risk, and performing such other procedures as we considered necessary in the circumstances. We believe that our audit provide a reasonable basis for our opinion.
Definition and Limitations of Internal Control over Financial Reporting
A company’s internal control over financial reporting is a process designed to provide reasonable assurance regarding the reliability of financial reporting and the preparation of financial statements for external purposes in accordance with generally accepted accounting principles. A company’s internal control over financial reporting includes those policies and procedures that (1) pertain to the maintenance of records that, in reasonable detail, accurately and fairly reflect the transactions and dispositions of the assets of the company; (2) provide reasonable assurance that transactions are recorded as necessary to permit preparation of financial statements in accordance with generally accepted accounting principles, and that receipts and expenditures of the company are being made only in accordance with authorizations of management and directors of the company; and (3) provide reasonable assurance regarding prevention or timely detection of unauthorized acquisition, use, or disposition of the company’s assets that could have a material effect on the financial statements.
| 91 |
Because of its inherent limitations, internal control over financial reporting may not prevent or detect misstatements. Also, projections of any evaluation of effectiveness to future periods are subject to the risk that controls may become inadequate because of changes in conditions, or that the degree of compliance with the policies or procedures may deteriorate.
| /s/ DELOITTE TOUCHE TOHMATSU CERTIFIED PUBLIC ACCOUNTANTS LLP |
| Shanghai, China |
| March 16, 2018 |
Changes in Internal Control over Financial Reporting
There have not been any changes in our internal control over financial reporting in the year ended December 31, 2017, which have materially affected, or are reasonably likely to materially affect, our internal control over financial reporting.
ITEM 16A. AUDIT COMMITTEE FINANCIAL EXPERT
Our Board of Directors has determined that Mr. Arthur Wong, an independent director (under the standards set forth in Section 303A of the Corporate Governance Rules of the NYSE and Rule 10A-3 under the Exchange Act), and the chairman of our Audit Committee, is our Audit Committee financial expert.
Our Board of Directors has adopted a code of ethics that applies to our directors, officers, employees and agents, including certain provisions that specifically apply to our chief executive officer, chief financial officer, chief marketing officer, chief operating officer, chief technology officer, vice presidents and any other persons who perform similar functions for us. We have posted a copy of our code of business conduct and ethics on our website at http://dqsolar.investorroom.com/.
ITEM 16C. PRINCIPAL ACCOUNTANT FEES AND SERVICES
The following table sets forth the aggregate fees by categories specified below in connection with certain professional services rendered by Deloitte Touche Tohmatsu Certified Public Accountants LLP, our independent registered public accounting firm, for the periods indicated. We did not pay any other fees to our independent registered public accounting firm during the periods indicated below.
| Year Ended December 31, | ||||||||
| 2016 | 2017 | |||||||
| (in US$ thousands) | ||||||||
| Audit fees(1) | 885 | 870 | ||||||
| Tax fees(2) | — | — | ||||||
| (1) | “Audit fees” means the aggregate fees billed for professional services rendered by our independent registered public accounting firm for the audit of our annual financial statements and the review of our comparative interim financial statements. |
| (2) | “Tax fees” represents the aggregate fees billed for professional services rendered by our independent registered public accounting firm for tax compliance, tax advice, and tax planning. |
The policy of our audit committee is to pre-approve all audit and non-audit services provided by Deloitte Touche Tohmatsu Certified Public Accountants LLP, including audit services, audit-related services, tax services and other services as described above, other than those for de minimis services which are approved by the audit committee prior to the completion of the audit.
| 92 |
ITEM 16D. EXEMPTIONS FROM THE LISTING STANDARDS FOR AUDIT COMMITTEES
Not applicable.
ITEM 16E. PURCHASES OF EQUITY SECURITIES BY THE ISSUER AND AFFILIATED PURCHASERS
On August 26, 2015, our Board of Directors authorized a share repurchase program, whereby our company may repurchase up to US$10 million of our ordinary shares or ADSs from August 26, 2015 to August 25, 2016. The share repurchase program was publicly announced on August 26, 2015. The following table sets forth certain additional information about our repurchases made under this program since April 1, 2016 as of the date of this annual report.
| Total Number of ADSs Purchased | Average Price Paid per ADS ($) | Total Number of ADSs Purchased as Part of Publicly Announced Plans or Programs | Maximum Dollar Value of ADSs that May Yet be Purchased Under the Plans or Programs ($) | |||||||||||||
| April 1 — April 30, 2016 | — | — | 94,276 | 8,649,836 | ||||||||||||
| May 1 — May 31, 2016 | — | — | 94,276 | 8,649,836 | ||||||||||||
| June 1 — June 30, 2016 | — | — | 94,276 | 8,649,836 | ||||||||||||
| July 1 — July 31, 2016 | — | — | 94,276 | 8,649,836 | ||||||||||||
| August 1 — August 25, 2016 | — | — | 94,276 | 8,649,836 | ||||||||||||
| Total | — | — | 94,276 | 8,649,836 | ||||||||||||
ITEM 16F. CHANGE IN REGISTRANT’S CERTIFYING ACCOUNTANT
Not applicable.
ITEM 16G. CORPORATE GOVERNANCE
Certain corporate governance practices in the Cayman Islands, which is our home country, differ significantly from the NYSE corporate governance listing standards. For example, neither the Companies Law of the Cayman Islands nor our memorandum and articles of association requires a majority of our directors to be independent and we could include non-independent directors as members of our compensation committee and nominating committee, and our independent directors would not necessarily hold regularly scheduled meetings at which only independent directors are present. If we choose to follow home country practice, our shareholders may be afforded less protection than they otherwise would under the NYSE corporate governance listing standards applicable to U.S. domestic issuers.
Section 312.03(b) of the Corporate Governance Rules of the NYSE requires shareholder approval for the issuance of common stock, or of securities convertible into common stock, in any transaction or series of transactions to a “related party” (which term is defined as a director, officer or substantial security holder), a subsidiary, affiliate or other closely related person of such related party, or any company or entity in which a related party has a substantial direct or indirect interest, if the number of shares to be issued exceeds one percent of the number of shares outstanding prior to the issuance. Under the laws of our jurisdiction of incorporation or home country, the Cayman Islands, and our currently effective memorandum and articles of association, we are not required to obtain shareholder approval before issuing ordinary shares to a related party. In February 2015, we followed home country practice in connection with the offer and sale of 1,025,641 ADSs, representing 25,641,025 ordinary shares, to Duke Elite Limited, an affiliate of Mr. Xiang Xu, a director of ours and president of Daqo Group, pursuant to an underwritten follow-on offering, and at the same price and on the same terms as other ADSs offered and sold in the offering, without shareholder approval.
| 93 |
ITEM 16H. MINE SAFETY DISCLOSURE
Not applicable.
We have elected to provide financial statements pursuant to “Item 18. Financial Statements.”
The consolidated financial statements of Daqo New Energy Corp. are included at the end of this annual report.
| 94 |
|
Exhibit |
Description of Document |
| 95 |
|
Exhibit |
Description of Document |
| * | Filed with this annual report on Form 20-F |
| ** | Furnished with this annual report on Form 20-F |
| 96 |
SIGNATURES
The registrant hereby certifies that it meets all of the requirements for filing on Form 20-F and that it has duly caused and authorized the undersigned to sign this annual report on its behalf.
| DAQO NEW ENERGY CORP. | ||
| By: | /s/ Longgen Zhang | |
| Name: | Longgen Zhang | |
| Title: | Chief Executive Officer | |
Date: March 16, 2018
| 97 |
DAQO NEW ENERGY CORP.
INDEX TO CONSOLIDATED FINANCIAL STATEMENTS
| F-1 |
REPORT OF INDEPENDENT REGISTERED PUBLIC ACCOUNTING FIRM
TO THE BOARD OF DIRECTORS AND SHAREHOLDERS OF
DAQO NEW ENERGY CORP.:
Opinion on the Financial Statements
We have audited the accompanying consolidated balance sheets of Daqo New Energy Corp. and its subsidiaries (the “Group”) as of December 31, 2016, and 2017, the related consolidated statements of operations, comprehensive income (loss), changes in equity, and cash flows for each of the three years in the period ended December 31, 2017, and the related notes and the financial statement schedule listed in the Index at Schedule I (collectively referred to as the "financial statements"). In our opinion, the financial statements present fairly, in all material respects, the financial position of Daqo New Energy Corp. and its subsidiaries as of December 31, 2016, and 2017, and the results of their operations and their cash flows for each of the three years in the period ended December 31, 2017, in conformity with accounting principles generally accepted in the United States of America.
We have also audited, in accordance with the standards of the Public Company Accounting Oversight Board (United States) (PCAOB), the Group’s internal control over financial reporting as of December 31, 2017, based on the criteria established in Internal Control —Integrated Framework (2013) issued by the Committee of Sponsoring Organizations of the Treadway Commission and our report dated March 16, 2018 expressed an unqualified opinion on the Group’s internal control over financial reporting.
Basis for Opinion
These financial statements are the responsibility of the Group’s management. Our responsibility is to express an opinion on the financial statements based on our audits. We are a public accounting firm registered with the PCAOB and are required to be independent with respect to the Group in accordance with the U.S. federal securities laws and the applicable rules and regulations of the Securities and Exchange Commission and the PCAOB.
We conducted our audits in accordance with the standards of the PCAOB. Those standards require that we plan and perform the audit to obtain reasonable assurance about whether the financial statements are free of material misstatement, whether due to error or fraud. Our audit included performing procedures to assess the risks of material misstatement of the financial statements, whether due to error or fraud, and performing procedures that respond to those risks. Such procedures included examining, on a test basis, evidence regarding the amounts and disclosures in the financial statements. Our audit also included evaluating the accounting principles used and significant estimates made by management, as well as evaluating the overall presentation of the financial statements. We believe that our audits provide a reasonable basis for our opinion.
| /s/ DELOITTE TOUCHE TOHMATSU CERTIFIED PUBLIC ACCOUNTANTS LLP |
Shanghai, China
March 16, 2018
We have served as the Group's auditor since 2008.
| F-2 |
CONSOLIDATED BALANCE SHEETS
DECEMBER 31, 2016 AND 2017
(In U.S. dollars, except share and per share data)
| December 31, | ||||||||
| 2016 | 2017 | |||||||
| ASSETS: | ||||||||
| Current assets: | ||||||||
| Cash and cash equivalents | $ | 15,987,478 | $ | 60,676,605 | ||||
| Restricted cash | 15,893,467 | 11,989,559 | ||||||
| Accounts receivable, net of allowance for doubtful accounts of $10,163 and $7,993 as of December 31, 2016 and 2017, respectively | 4,836,499 | 2,971,930 | ||||||
| Note receivables | 13,025,552 | 27,285,503 | ||||||
| Prepaid expenses and other current assets | 8,027,667 | 8,182,567 | ||||||
| Advances to suppliers | 1,722,783 | 2,655,623 | ||||||
| Inventories | 12,280,700 | 19,603,324 | ||||||
| Amounts due from related parties | 1,528,712 | 8,997,439 | ||||||
| Total current assets | 73,302,858 | 142,362,550 | ||||||
| Property, plant and equipment, net | 557,427,884 | 579,128,691 | ||||||
| Prepaid land use rights, net | 24,809,809 | 25,888,850 | ||||||
| Deferred tax assets | 585,944 | 714,068 | ||||||
| Cost method investment | 581,581 | 687,074 | ||||||
| TOTAL ASSETS | $ | 656,708,076 | $ | 748,781,233 | ||||
| LIABILITIES: | ||||||||
| Current liabilities: | ||||||||
| Short-term bank borrowings, including current portion of long-term bank borrowings | $ | 105,980,320 | $ | 99,300,118 | ||||
| Accounts payable | 18,745,297 | 22,403,913 | ||||||
| Note payables | 25,732,489 | 16,876,869 | ||||||
| Advances from customers | 7,519,605 | 16,690,895 | ||||||
| Payables for purchases of property, plant and equipment | 51,322,901 | 25,144,073 | ||||||
| Accrued expenses and other current liabilities | 8,320,041 | 16,134,408 | ||||||
| Amounts due to related parties | 26,829,605 | 6,769,898 | ||||||
| Income tax payable | 5,300,163 | 13,191,205 | ||||||
| Total current liabilities | 249,750,421 | 216,511,379 | ||||||
| Long-term bank borrowings | 111,948,913 | 113,588,232 | ||||||
| Deferred government subsidies | 23,279,820 | 24,153,555 | ||||||
| Total liabilities | 384,979,154 | 354,253,166 | ||||||
Commitments and contingencies (Note 18)
| F-3 |
DAQO NEW ENERGY CORP.
CONSOLIDATED BALANCE SHEETS—(Continued)
DECEMBER 31, 2016 AND 2017
(In U.S. dollars, except share and per share data)
| December 31, | ||||||||
| 2016 | 2017 | |||||||
| EQUITY: | ||||||||
| Ordinary shares; | ||||||||
| $0.0001 par value 500,000,000 shares authorized as of December 31, 2016 and 2017; 279,214,103 shares issued as of December 31, 2016 and 2017 and 262,956,278 and 270,918,702 shares outstanding as of December 31, 2016 and 2017, respectively | 26,532 | 27,328 | ||||||
| Additional paid in capital | 240,111,533 | 247,076,428 | ||||||
| Retained Earnings | 40,432,352 | 133,273,480 | ||||||
| Accumulated other comprehensive income (loss) | (8,721,820 | ) | 13,107,187 | |||||
| Treasury shares, at cost (4,643,150 shares as of December 31, 2016 and 2017) | (1,748,836 | ) | (1,748,836 | ) | ||||
| Total shareholders’ equity | 270,099,761 | 391,735,587 | ||||||
| Non-controlling interest | 1,629,161 | 2,792,480 | ||||||
| Total equity | 271,728,922 | 394,528,067 | ||||||
| TOTAL LIABILITIES AND EQUITY | $ | 656,708,076 | $ | 748,781,233 | ||||
See notes to consolidated financial statements.
| F-4 |
CONSOLIDATED STATEMENTS OF OPERATIONS
FOR THE YEARS ENDED DECEMBER 31, 2015, 2016 AND 2017
(In U.S. dollars, except share and per share data)
| Year ended December 31, | ||||||||||||
| 2015 | 2016 | 2017 | ||||||||||
| Revenues | ||||||||||||
| Products | ||||||||||||
| - Sales to third parties | $ | 166,942,726 | $ | 217,907,014 | $ | 339,409,878 | ||||||
| - Sales to related parties | 9,069,816 | 10,900,252 | 13,442,273 | |||||||||
| Service fees | ||||||||||||
| - Sales to third parties | 3,203,298 | - | - | |||||||||
| - Sales to related parties | 2,825,128 | 293,945 | - | |||||||||
| Total revenues | 182,040,968 | 229,101,211 | 352,852,151 | |||||||||
| Total cost of revenues | (144,491,083 | ) | (148,672,693 | ) | (209,379,466 | ) | ||||||
| Gross profit | 37,549,885 | 80,428,518 | 143,472,685 | |||||||||
| Operating (expenses) income: | ||||||||||||
| Selling, general and administrative expenses | (12,603,824 | ) | (16,104,057 | ) | (17,664,471 | ) | ||||||
| Research and development expenses | (923,664 | ) | (4,001,438 | ) | (880,981 | ) | ||||||
| Other operating income, net | 3,824,881 | 5,325,336 | 6,769,704 | |||||||||
| Long-lived assets impairment | (1,622,588 | ) | (198,689 | ) | (2,987,668 | ) | ||||||
| Total operating expenses | (11,325,195 | ) | (14,978,848 | ) | (14,763,416 | ) | ||||||
| Income from operations | 26,224,690 | 65,449,670 | 128,709,269 | |||||||||
| Interest expense | (13,173,958 | ) | (14,568,158 | ) | (18,005,329 | ) | ||||||
| Interest income | 493,995 | 407,996 | 487,230 | |||||||||
| Exchange (loss) gain | 640,678 | (7,422 | ) | (3,544 | ) | |||||||
| Income before income taxes | 14,185,405 | 51,282,086 | 111,187,626 | |||||||||
| Income tax expense | (1,137,821 | ) | (7,358,089 | ) | (17,332,226 | ) | ||||||
| Net income | 13,047,584 | 43,923,997 | 93,855,400 | |||||||||
| Net income attributable to non-controlling interest | 90,695 | 430,241 | 1,014,272 | |||||||||
| Net income attributable to Daqo New Energy Corp. ordinary shareholders | $ | 12,956,889 | $ | 43,493,756 | $ | 92,841,128 | ||||||
| NET EARNINGS PER ORDINARY SHARE | ||||||||||||
| Basic—ordinary shares | $ | 0.05 | $ | 0.17 | $ | 0.35 | ||||||
| Diluted—ordinary shares | $ | 0.05 | $ | 0.16 | $ | 0.34 | ||||||
| ORDINARY SHARES USED IN CALCULATING EARNINGS PER ORDINARY SHARE | ||||||||||||
| Basic—ordinary shares | 258,015,851 | 261,742,244 | 265,070,961 | |||||||||
| Diluted—ordinary shares | 261,411,933 | 264,817,755 | 272,926,319 | |||||||||
See notes to consolidated financial statements.
| F-5 |
CONSOLIDATED STATEMENTS OF COMPREHENSIVE (LOSS) INCOME
FOR THE YEARS ENDED DECEMBER 31, 2015, 2016 AND 2017
(In U.S. dollars, except share and per share data)
| Year ended December 31, | ||||||||||||
| 2015 | 2016 | 2017 | ||||||||||
| Net income | $ | 13,047,584 | $ | 43,923,997 | $ | 93,855,400 | ||||||
| Other comprehensive income (loss): | ||||||||||||
| Foreign currency translation adjustments | (11,286,150 | ) | (17,605,240 | ) | 21,978,054 | |||||||
| Total other comprehensive income (loss) | (11,286,150 | ) | (17,605,240 | ) | 21,978,054 | |||||||
| Comprehensive income | 1,761,434 | 26,318,757 | 115,833,454 | |||||||||
| Comprehensive income attributable to non-controlling interest | 61,415 | 327,134 | 1,163,319 | |||||||||
| Comprehensive income attributable to Daqo New Energy Corp. ordinary shareholders | $ | 1,700,019 | $ | 25,991,623 | $ | 114,670,135 | ||||||
See notes to consolidated financial statements.
| F-6 |
CONSOLIDATED STATEMENTS OF CHANGES IN EQUITY
FOR THE YEARS ENDED DECEMBER 31, 2015, 2016 AND 2017
(In U.S. dollars, except share and per share data)
| Ordinary shares | Treasury shares | Additional paid in capital | Retained earnings
losses) | Accumulated other comprehensive income (loss) | Non- interest | Total | ||||||||||||||||||||||||||
| Number | $ | |||||||||||||||||||||||||||||||
| Balance at January 1, 2015 | 223,577,853 | 22,358 | (398,672 | ) | 203,125,494 | (16,018,293 | ) | 20,037,183 | — | 206,768,070 | ||||||||||||||||||||||
| Net income | — | — | — | — | 12,956,889 | — | 90,695 | 13,047,584 | ||||||||||||||||||||||||
| Other comprehensive loss | — | — | — | — | — | (11,256,870 | ) | (29,280 | ) | (11,286,150 | ) | |||||||||||||||||||||
| Share-based compensation | — | — | — | 3,687,951 | — | — | — | 3,687,951 | ||||||||||||||||||||||||
| Follow-on equity offering, net of issuance costs of $2,033,041 | 38,500,000 | 3,850 | — | 27,993,109 | — | — | — | 27,996,959 | ||||||||||||||||||||||||
| Options exercised | 1,115,625 | 112 | — | 275,671 | — | — | — | 275,783 | ||||||||||||||||||||||||
| Repurchase of ordinary shares | (2,356,900 | ) | — | (1,350,164 | ) | — | — | — | — | (1,350,164 | ) | |||||||||||||||||||||
| Capital injection from noncontrolling shareholders | — | — | — | 1,275,845 | — | — | 1,240,612 | 2,516,457 | ||||||||||||||||||||||||
| Balance at December 31, 2015 | 260,836,578 | 26,320 | (1,748,836 | ) | 236,358,070 | (3,061,404 | ) | 8,780,313 | 1,302,027 | 241,656,490 | ||||||||||||||||||||||
| Net income | — | — | — | — | 43,493,756 | — | 430,241 | 43,923,997 | ||||||||||||||||||||||||
| Other comprehensive loss | — | — | — | — | — | (17,502,133 | ) | (103,107 | ) | (17,605,240 | ) | |||||||||||||||||||||
| Share-based compensation | — | — | — | 2,702,089 | — | — | — | 2,702,089 | ||||||||||||||||||||||||
| Options exercised | 2,119,700 | 212 | — | 1,051,374 | — | — | — | 1,051,586 | ||||||||||||||||||||||||
| Balance at December 31, 2016 | 262,956,278 | 26,532 | (1,748,836 | ) | 240,111,533 | 40,432,352 | (8,721,820 | ) | 1,629,161 | 271,728,922 | ||||||||||||||||||||||
| Net income | — | — | — | — | 92,841,128 | — | 1,014,272 | 93,855,400 | ||||||||||||||||||||||||
| Other comprehensive income | — | — | — | — | — | 21,829,007 | 149,047 | 21,978,054 | ||||||||||||||||||||||||
| Share-based compensation | — | — | — | 4,200,273 | — | — | — | 4,200,273 | ||||||||||||||||||||||||
| Options exercised | 5,596,050 | 560 | — | 2,764,858 | — | — | — | 2,765,418 | ||||||||||||||||||||||||
| Restricted shares vested | 2,366,374 | 236 | — | (236 | ) | — | — | — | — | |||||||||||||||||||||||
| Balance at December 31, 2017 | 270,918,702 | 27,328 | (1,748,836 | ) | 247,076,428 | 133,273,480 | 13,107,187 | 2,792,480 | 394,528,067 | |||||||||||||||||||||||
See notes to consolidated financial statements.
| F-7 |
CONSOLIDATED STATEMENTS OF CASH FLOWS
FOR THE YEARS ENDED DECEMBER 31, 2015, 2016 AND 2017
(In U.S. dollars, except share and per share data)
| Year ended December 31, | ||||||||||||
| 2015 | 2016 | 2017 | ||||||||||
| Operating activities: | ||||||||||||
| Net income | $ | 13,047,584 | $ | 43,923,997 | $ | 93,855,400 | ||||||
| Adjustments to reconcile net income to net cash provided by operating activities: | ||||||||||||
| Long-lived assets impairment | 1,622,588 | 198,689 | 2,987,668 | |||||||||
| Share-based compensation | 3,687,951 | 2,702,089 | 4,200,273 | |||||||||
| Inventory write-down | 62,422 | — | — | |||||||||
| Reversal of allowance for doubtful accounts | (2,026,567 | ) | (1,053,041 | ) | (2,750 | ) | ||||||
| Depreciation of property, plant and equipment | 31,361,026 | 33,822,082 | 38,824,055 | |||||||||
| Loss on disposal of Property Plant and Equipment | 166,283 | 181,028 | 154,575 | |||||||||
| Deferred tax assets | (626,965 | ) | 445 | (85,302 | ) | |||||||
| Changes in operating assets and liabilities: | ||||||||||||
| Accounts receivable | (10,399,283 | ) | 14,890,598 | 2,112,239 | ||||||||
| Notes receivable | 36,898,166 | (2,634,860 | ) | (12,884,067 | ) | |||||||
| Prepaid expenses and other current assets | 30,465 | 3,415,637 | 898,903 | |||||||||
| Advances to suppliers | 264,361 | (761,045 | ) | (786,273 | ) | |||||||
| Inventories | (1,622,269 | ) | (2,258,281 | ) | (6,252,834 | ) | ||||||
| Amount due from related parties | 5,481,362 | (1,318,195 | ) | (6,739,322 | ) | |||||||
| Prepaid land use rights | 595,716 | 557,162 | 572,722 | |||||||||
| Other non-current assets | 161,657 | — | — | |||||||||
| Accounts payable | 1,452,811 | 2,386,015 | 2,304,987 | |||||||||
| Notes payable | (14,733,475 | ) | (1,403,994 | ) | 786,372 | |||||||
| Accrued expenses and other current liabilities | 59,045 | 260,879 | 6,983,599 | |||||||||
| Income tax payable | 940,732 | 4,420,313 | 7,253,601 | |||||||||
| Advances from customers | (2,051,000 | ) | (134,155 | ) | 8,342,112 | |||||||
| Amount due to related parties | 2,178,445 | 1,815,307 | 849,447 | |||||||||
| Deferred government subsidies | (124,842 | ) | (338,733 | ) | (671,011 | ) | ||||||
| Net cash provided by operating activities | 66,426,213 | 98,671,937 | 142,704,394 | |||||||||
| Investing activities: | ||||||||||||
| Purchases of property, plant and equipment | (81,364,037 | ) | (67,477,008 | ) | (67,836,778 | ) | ||||||
| Decrease in restricted cash | 2,121,603 | 1,935,536 | 4,791,347 | |||||||||
| Proceeds from disposition of Nanjing Daqo | 5,110,085 | — | — | |||||||||
| Purchase of cost method investment | — | (581,581 | ) | (63,793 | ) | |||||||
| Net cash used in investing activities | (74,132,349 | ) | (66,123,053 | ) | (63,109,224 | ) | ||||||
| Financing activities: | ||||||||||||
| Proceeds from related parties loans | 245,957,818 | 126,400,842 | 63,172,079 | |||||||||
| Repayment of related parties loans | (276,575,346 | ) | (148,463,137 | ) | (83,754,652 | ) | ||||||
| Proceeds from bank borrowings | 237,031,976 | 106,986,666 | 91,989,400 | |||||||||
| Repayment of bank borrowings | (220,611,404 | ) | (116,255,480 | ) | (111,000,000 | ) | ||||||
| Purchase and retirement of treasury shares | (1,350,164 | ) | — | — | ||||||||
| Proceeds from options exercised | 275,783 | 1,051,586 | 2,238,854 | |||||||||
| Proceeds from follow-on equity offering | 30,030,000 | — | — | |||||||||
| Insurance costs for follow-on equity offering | (2,033,041 | ) | — | — | ||||||||
| Capital injection from non-controlling shareholders | 2,516,457 | — | — | |||||||||
| Net cash provided by (used in) financing activities | 15,242,079 | (30,279,523 | ) | (37,354,319 | ) | |||||||
| Effect of exchange rate changes on cash and cash equivalents | (114,415 | ) | (771,894 | ) | 2,448,276 | |||||||
| Net increase in cash and cash equivalents | 7,421,528 | 1,497,467 | 44,689,127 | |||||||||
| Cash and cash equivalents at the beginning of the year | 7,068,483 | 14,490,011 | 15,987,478 | |||||||||
| Cash and cash equivalents at the end of the year | $ | 14,490,011 | $ | 15,987,478 | $ | 60,676,605 | ||||||
See notes to consolidated financial statements.
| F-8 |
DAQO NEW ENERGY CORP.
CONSOLIDATED STATEMENTS OF CASH FLOWS—(Continued)
FOR THE YEARS ENDED DECEMBER 31, 2015, 2016 AND 2017
(In U.S. dollars, except share and per share data)
| Year ended December 31, | ||||||||||||
| 2015 | 2016 | 2017 | ||||||||||
| Supplemental disclosure of cash flow information: | ||||||||||||
| Interest paid, net of capitalized interest | $ | 13,284,899 | $ | 14,215,745 | $ | 18,031,088 | ||||||
| Income taxes paid | $ | 2,726,825 | $ | 2,998,658 | $ | 9,526,485 | ||||||
| Supplemental schedule of non-cash investing activities: | ||||||||||||
| Accrued purchases of property, plant and equipment | $ | 52,786,103 | $ | 65,625,603 | $ | 27,251,832 | ||||||
See notes to consolidated financial statements.
| F-9 |
NOTES TO CONSOLIDATED FINANCIAL STATEMENTS
FOR THE YEARS ENDED DECEMBER 31, 2015, 2016 AND 2017
(In U.S. dollars, except share and per share data)
1. ORGANIZATION AND PRINCIPAL ACTIVITIES
Daqo New Energy Corp. (the “Company”) and its wholly owned subsidiaries, Chongqing Daqo New Energy Co., Ltd. (“Chongqing Daqo”) and Xinjiang Daqo New Energy Co., Ltd. (“Xinjiang Daqo”) are collectively referred to as the Group.
The Company was incorporated on November 22, 2007 in the Cayman Islands. Chongqing Daqo and Xinjiang Daqo were incorporated by the Company on January 14, 2008 and February 22, 2011, respectively, in the Peoples’ Republic of China (“PRC”).
The Group manufactures and sells polysilicon and wafers through Xinjiang Daqo and Chongqing Daqo.
In August 2015, Xinjiang Daqo issued stock representing 1% equity interest to Daqo Xinjiang Investment Co., Ltd. ("Xinjiang Daqo Investment"), an affiliated company which is 100% held by the Company’s ultimate parent company, Daqo Group Co., Ltd. (“Daqo Group”), for total cash proceeds of $2.5 million, which is based on the fair value of Xinjiang Daqo. Xinjiang Daqo Investment's equity interests in Xinjiang Daqo is presented as a non-controlling interest in the Group’s consolidated financial statements.
| F-10 |
DAQO NEW ENERGY CORP.
NOTES TO CONSOLIDATED FINANCIAL STATEMENTS—(Continued)
FOR THE YEARS ENDED DECEMBER 31, 2015, 2016 AND 2017
(In U.S. dollars, except share and per share data)
2. SUMMARY OF PRINCIPAL ACCOUNTING POLICIES
(a) Basis of presentation
The consolidated financial statements of the Group have been prepared in accordance with generally accepted accounting principles in the United States ("U.S. GAAP").
As of December 31, 2017, the Group's current liabilities exceed its current assets by $74.1 million. While the Group is in a working capital deficit position as of December 31, 2017, there is a decrease trend of the working capital deficit, due to the Group's ability to generate positive net income and positive cash flows from operations for four consecutive years with net income of $93.9 million and net operating cash inflow of $142.7 million in the current year. Based on the Group's review of its cash flows forecasts, the cash flows from operations are expected to be positive for the twelve month period after the date that the financial statements are issued. Furthermore, historically, the Group has renewed or rolled over most of its short-term bank borrowings upon maturity of the loans and believes it will continue to do so. Lastly, on February 23, 2018, the Group obtained a letter of financial support from Daqo Group which has committed to provide sufficient financial funding to support the Group's operations during the twelve months after the date that the financial statements are issued. Furthermore, the support letter provides that Daqo Group will not require the Group to pay the amount owed to the Daqo Group and subsidiaries of Daqo Group within twelve months after the date that the financial statements are issued.
Based on the above factors and plans, management believes that adequate sources of liquidity will exist to fund the Group's working capital and capital expenditures requirements, and to meet its short-term debt obligations, other liabilities and commitments as they become due during the twelve month period after the date that the financial statements are issued.
| F-11 |
DAQO NEW ENERGY CORP.
NOTES TO CONSOLIDATED FINANCIAL STATEMENTS—(Continued)
FOR THE YEARS ENDED DECEMBER 31, 2015, 2016 AND 2017
(In U.S. dollars, except share and per share data)
(b) Basis of consolidations
The consolidated financial statements include the financial statements of the Group. All intercompany transactions and balances have been eliminated upon consolidation.
(c) Use of estimates
The preparation of consolidated financial statements in accordance with U.S. GAAP requires management to make estimates and assumptions that affect the reported amounts of assets and liabilities and disclosure of contingent assets and liabilities as of the date of the consolidated financial statements and the amounts of revenues and expenses during the reporting period. Actual results could differ from these estimates. The Group bases its estimates on historical experience and various other factors believed to be reasonable under the circumstances, the results of which form the basis for making judgments about the carrying value of assets and liabilities that are not readily apparent from other sources. Management has made significant estimates in a variety of areas, including but not limited to allowance for doubtful accounts, useful lives and residual values of long-lived assets, impairment for long lived assets, valuation allowances for deferred tax assets, interest capitalization and certain assumptions used in the computation of share-based compensation and related forfeiture rates.
(d) Concentration of credit risk
Financial instruments that potentially expose the Group to concentrations of credit risk consist primarily of cash and cash equivalents, restricted cash, accounts receivable and notes receivable.
The Group places its cash and cash equivalents in various financial institutions in the PRC. The Group believes that no significant credit risk exists as these banks are principally government-owned financial institutions with high credit ratings.
Accounts receivable represent those receivables derived in the ordinary course of business. The Group conducts credit evaluations of customers to whom credit terms are extended. The Group establishes an allowance for doubtful accounts mainly based on aging of the receivables and other factors surrounding the credit risk of specific customers. Allowance for doubtful accounts is $10,163 and $7,993 as of December 31, 2016 and 2017, respectively, based on the aging of the receivables and the Group’s assessment of the customers’ credit risk.
The following customers accounted for 10% or more of accounts receivable:
| Accounts | December 31, | |||||||
| receivable | 2016 | 2017 | ||||||
| Customer A | $ | 1,368,956 | $ | 1,286,454 | ||||
| Customer B | $ | 1,576,400 | $ | 984,918 | ||||
| Customer C | $ | 1,294,342 | $ | 682,264 | ||||
From time to time, certain accounts receivable balances are settled in the form of notes receivable. As of December 31, 2016 and 2017, notes receivable represents bank acceptance drafts that are non-interest bearing and due within 6~12 months.
(e) Cash and cash equivalents
Cash and cash equivalents consist of cash on hand and demand deposits, which are unrestricted as to withdrawal and use, and which have maturities of three months or less when purchased.
| F-12 |
DAQO NEW ENERGY CORP.
NOTES TO CONSOLIDATED FINANCIAL STATEMENTS—(Continued)
FOR THE YEARS ENDED DECEMBER 31, 2015, 2016 AND 2017
(In U.S. dollars, except share and per share data)
(f) Restricted cash
Restricted cash of $15,893,467 and $11,989,559 as of December 31, 2016 and 2017, respectively, are restricted bank deposits for short-term letters of credit and notes issued by several banks for purchases of raw materials, plant and equipment. These deposits carry fixed interest rates and will be released when the related letters of credit or notes are settled by the Group. The Group considers the restricted cash balances as equivalent to an investment whose return of principal requires the satisfaction of conditions (i.e., settlement of letters of credit or notes) rather than a withdrawal demand. Therefore, deposits and withdrawals of principal balances in restricted cash accounts represent the creation or return of investment and, accordingly, the Group has presented such deposits and withdrawals as investing activities in the consolidated statements of cash flows.
(g) Allowance for Doubtful Accounts
The Group determines its allowance for doubtful accounts by actively monitoring the financial condition of its customers to determine the potential for any nonpayment of trade receivables. In determining its allowance for doubtful accounts, the Group also considers other economic factors, such as aging trends. The Group believes that its process of specific review of customers combined with overall analytical review provides an effective evaluation of ultimate collectability of trade receivables. Provisions for allowance for doubtful accounts are recorded as general and administrate expense in the consolidated statements of operations.
(h) Inventories
Inventories are stated at lower of cost or net realizable value. Costs are determined using weighted average costs. Costs comprise direct materials, direct labor and overhead costs incurred in bringing the inventories to their present location and condition. The Group writes down the cost of excess inventories to the estimated net realizable value based on historical and forecasted demand. Estimated net realizable value is measured as the estimated selling price of each class of inventory in the ordinary course of business less estimated costs of completion and disposal. The charges to inventory for the years ended December 31, 2015, 2016 and 2017 were $62,422, nil and nil, respectively.
(i) Property, plant and equipment
Property, plant and equipment are recorded at cost less accumulated depreciation. Depreciation is recognized on a straight-line basis over the following estimated useful lives:
| Buildings and plants | 30 years | |||
| Machinery and equipment | 15 years | |||
| Furniture, fixtures and equipment | 3-5 years | |||
| Motor vehicles | 6 years |
The Group reassesses the reasonableness of the estimates of useful lives and residual values of long-lived assets when events or changes in circumstances indicate that the useful lives and residual values of a major asset or a major category of assets may not be reasonable. Factors that the Group considers in deciding when to perform an analysis of useful lives and residual values of long-lived assets include, but are not limited to, significant variance of a business or product line in relation to expectations, significant deviation from industry or economic trends, and significant changes or planned changes in the use of the assets. The analysis will be performed at the asset or asset category with the reference to the assets’ conditions, current technologies, market, and future plan of usage and the useful lives of major competitors.
Costs incurred on construction are capitalized and transferred to property, plant and equipment upon completion, at which time depreciation commences.
Interest expense incurred for construction of property, plant, and equipment is capitalized as part of the costs of such assets. The Group capitalizes interest to the extent that expenditures to construct an asset have occurred and interest costs have been incurred. Interest expense capitalized for the years ended December 31, 2015, 2016 and 2017 was $2,825,879, $1,757,547 and $87,478, respectively.
| F-13 |
DAQO NEW ENERGY CORP.
NOTES TO CONSOLIDATED FINANCIAL STATEMENTS—(Continued)
FOR THE YEARS ENDED DECEMBER 31, 2015, 2016 AND 2017
(In U.S. dollars, except share and per share data)
(j) Prepaid land use rights
All land in the PRC is owned by the PRC government. The PRC government, according to PRC law, may sell the land use rights for a specified period of time. The Group’s land use rights in the PRC are stated at cost less recognized lease expenses. Lease expense is recognized over the term of the agreement on a straight-line basis. The Group recorded lease expenses of $595,716, $557,162 and $572,722, for the years ended December 31, 2015, 2016 and 2017, respectively.
(k) Impairment of long-lived assets
The Group evaluates its long-lived assets for impairment whenever events or changes in circumstances indicate that the carrying amount of an asset group may not be recoverable. Factors that the Group considers in deciding when to perform an impairment review include, but are not limited to significant under-performance of a business or product line in relation to expectations, significant negative industry or economic trends, and significant changes or planed changes in the use of the assets. An impairment analysis is performed at the lowest level of identifiable independent cash flows for an asset or asset group. The Group makes subjective judgments in determining the independent cash flows that can be related to a specific asset group based on the asset usage model and manufacturing capabilities. The Group measures the recoverability of assets that will continue to be used in the operations by comparing the carrying value of the asset group to the estimate of the related total future undiscounted cash flows. If an asset group’s carrying value is not recoverable through the related undiscounted cash flows, the impairment loss is measured by comparing the difference between the asset group’s carrying value and its fair value. The Group determines the fair value of an asset or asset group utilizing estimated future discounted cash flows and incorporates assumptions that it believes marketplace participants would utilize.
During each of the three years ended December 31, 2015, 2016 and 2017, the Group recorded impairment losses of $1,622,588, $198,689 and $2,987,668, respectively. The impairment losses incurred in years 2015, 2016 and 2017 were all related to the identified assets in Chongqing that were not transferrable and could not be reutilized by its Xinjiang expansion project. Please refer to Note 3 for further information.
(l) Revenue recognition
Product sales
The Group recognizes revenue when persuasive evidence of an arrangement exists, the sales price is fixed or determinable, delivery of the product has occurred, title and risk of loss have transferred to the customers and collectability of the receivable is reasonably assured. The majority of the sales contracts transfer title and risk of loss to customers upon receipt. Sales agreements for polysilicon and wafers typically do not contain product warranties except for return and replacement of defective products within a period generally ranging from 3 to 30 days from delivery. Sales agreements typically do not contain post-shipment obligations or other return or credit provisions.
Customers frequently pay for products prior to the delivery of the products. Advance payments are recorded as advances from customers.
Service revenue
The Group also provides OEM services to customers, such as the provision of service to process polysilicon into ingots and wafers. The Group recognizes revenue when there is persuasive evidence of an arrangement, the service has been rendered, the sales price is fixed or determinable and collectability is reasonably assured.
| F-14 |
DAQO NEW ENERGY CORP.
NOTES TO CONSOLIDATED FINANCIAL STATEMENTS—(Continued)
FOR THE YEARS ENDED DECEMBER 31, 2015, 2016 AND 2017
(In U.S. dollars, except share and per share data)
(m) Cost of revenues
Cost of revenues consists of production related costs including costs of silicon raw materials, electricity and other utilities, consumables, direct labor, overhead costs, depreciation of property, plant and equipment, and manufacturing waste treatment processing fees. Cost of revenues does not include shipping and handling expenses, therefore the Group's cost of revenues may not be comparable to other companies which include such expenses in their cost of revenues.
(n) Shipping and handling
Costs to ship products to customers are recorded as selling expenses in the consolidated statements of operations. Costs to ship products to customers were $2,708,962, $3,147,594 and $4,385,217, respectively for the years ended December 31, 2015, 2016 and 2017.
(o) Research and development expenses
Research and development expenses include materials and utilities consumed in research and development activities, payroll and related costs and depreciation of property and equipment associated with the research and development activities, which are expensed when incurred. The Group's research and development activities are mainly focused on technical improvement to improve the production volume,efficiency and lower unit cost.
(p) Government subsidies
The Group receives unrestricted cash subsidies from local government agencies. The government agencies, at their discretion, determine the amount of the subsidies with reference to fixed assets and land use right payments, value-added tax and income taxes paid, bank loan interest expenses paid or electricity consumed by the Group; however, these subsidies do not represent tax refunds or reimbursements of expenditures. The subsidies are unrestricted as to use and can be utilized by the Group in any manner it deems appropriate. The Group has utilized, and expects to continue to utilize, these subsidies to fund general operating expenses. The Group records unrestricted cash government subsidies as other operating income in the consolidated statements of operations. Unrestricted cash government subsidies received for the years ended December 31, 2015, 2016 and 2017 were $3,578,865, $4,742,635 and $6,668,867, respectively. Government grants related to fixed assets are recorded as long term liabilities and amortized on a straight-line basis over the useful life of the associated asset as an offset to depreciation expense. The Group received government grants related to fixed assets of $690,889, $323,769 and nil during the years ended December 31, 2015, 2016 and 2017, respectively.
(q) Income taxes
Deferred income taxes are recognized for temporary differences between the tax bases of assets and liabilities and their reported amount in the consolidated financial statements, net operating loss carry-forwards and credits by applying enacted tax rates applicable to future years. Deferred tax assets are reduced by a valuation allowance when, in the opinion of management, it is more likely than not that some portion or all of the deferred tax assets will not be realized. Current income taxes are provided in accordance with the laws of the relevant taxing authorities. Deferred tax assets and liabilities are measured using enacted rates expected to apply to taxable income in which temporary differences are expected to be realized or settled. The effect on deferred tax assets and liabilities of changes in tax rates is recognized in the statement of operations in the period of the enactment of the change.
| F-15 |
DAQO NEW ENERGY CORP.
NOTES TO CONSOLIDATED FINANCIAL STATEMENTS—(Continued)
FOR THE YEARS ENDED DECEMBER 31, 2015, 2016 AND 2017
(In U.S. dollars, except share and per share data)
(r) Share-based compensation
The Group recognizes share-based compensation in the consolidated statements of operations based on the fair value of equity awards on the date of the grant, with compensation expense recognized over the period in which the grantee is required to provide service to the Group in exchange for the equity award. The fair value of share options is determined using the Black-Scholes valuation model and the fair value of restricted share units ("RSUs") is determined with reference to the fair value of the underlying shares on the grant date. The Group has made an estimate of expected forfeiture and is recognizing compensation costs only for those equity awards expected to vest. The share-based compensation expenses have been categorized as either selling, general and administrative expenses or cost of sales, depending on the job functions of the grantees. For the years ended December 31, 2015, 2016 and 2017, the Group recognized share-based compensation expense of $3,687,951, $2,702,089 and $4,200,273, respectively, which was recognized in the statements of operations as follows:
| Year ended December 31, | ||||||||||||
| 2015 | 2016 | 2017 | ||||||||||
| Selling, general and administrative expenses | $ | 3,323,948 | $ | 2,501,957 | $ | 3,679,145 | ||||||
| Cost of sales | 364,003 | 200,132 | 521,128 | |||||||||
| Total | $ | 3,687,951 | $ | 2,702,089 | $ | 4,200,273 | ||||||
(s) Earnings per share
Basic earnings per ordinary share are computed by dividing the net income attributable to ordinary shares by the weighted average number of ordinary shares outstanding during the year.
Diluted earnings per share is calculated by dividing net income attributable to ordinary shareholders as adjusted for the effect of dilutive ordinary equivalent shares, if any, by the weighted average number of ordinary shares and dilutive ordinary share equivalents outstanding during the year. Diluted earnings per share is computed using the treasury stock method.
| F-16 |
DAQO NEW ENERGY CORP.
NOTES TO CONSOLIDATED FINANCIAL STATEMENTS—(Continued)
FOR THE YEARS ENDED DECEMBER 31, 2015, 2016 AND 2017
(In U.S. dollars, except share and per share data)
(t) Foreign currency translation
The reporting currency of the Group is the United States dollar (“U.S. dollar”). The functional currency of the Group is the U.S. dollar. Monetary assets and liabilities denominated in other currencies other than the U.S. dollar are translated into U.S. dollar at the rates of exchange in effect at the balance sheet dates. Transactions dominated in currencies other than the U.S. dollar during the year are converted into U.S. dollar at the applicable rates of exchange prevailing when the transactions occur. Transaction gains and losses are recorded in the statements of operations.
The financial records of the Group’s PRC subsidiaries are maintained in Chinese Renminbi (“RMB”), which is their functional currency. Assets and liabilities are translated at the exchange rates at the balance sheet date. Equity accounts are translated at historical exchange rates. Revenues, expenses, gains and losses are translated at average rate of exchange prevailing during the periods presented. Translation adjustments are reported as cumulative translation adjustments and are shown as a separate component of other comprehensive income in the statement of changes in equity and comprehensive income.
The RMB is not a freely convertible currency. The State Administration for Foreign Exchange of People’s Republic of China, under the authority of the People’s Bank of China, controls the conversion of RMB into foreign currencies. The value of the RMB is subject to changes in central government policies and to international economic and political developments affecting supply and demand in the China foreign exchange trading system market. The Group’s aggregate amount of cash and cash equivalents and restricted cash denominated in RMB amounted to $28,839,371 and $66,433,887 as of December 31, 2016 and 2017, respectively.
(u) Comprehensive income
Comprehensive income is the change in equity during a period from transactions and other events and circumstances from non-shareholder sources and included net income and foreign currency translation adjustments. As of December 31, 2015, 2016 and 2017, accumulated other comprehensive income (loss) was comprised entirely of foreign currency translation adjustments.
| F-17 |
DAQO NEW ENERGY CORP.
NOTES TO CONSOLIDATED FINANCIAL STATEMENTS—(Continued)
FOR THE YEARS ENDED DECEMBER 31, 2015, 2016 AND 2017
(In U.S. dollars, except share and per share data)
(v) Fair value of financial instruments
The Group estimates fair value of financial assets and liabilities as the price that would be received to sell an asset or paid to transfer a liability in an orderly transaction between market participants at the measurement date (also referred to as an exit price). The fair value measurement guidance establishes a hierarchy for inputs used in measuring fair value that gives the highest priority to observable inputs and the lowest priority to unobservable inputs. Valuation techniques used to measure fair value shall maximize the use of observable inputs.
| · | Level 1—Valuation techniques in which all significant inputs are unadjusted quoted prices from active markets for assets or liabilities that are identical to the assets or liabilities being measured. |
| · | Level 2—Valuation techniques in which significant inputs include quoted prices from active markets for assets or liabilities that are similar to the assets or liabilities being measured and/or quoted prices for assets or liabilities that are identical or similar to the assets or liabilities being measured from markets that are not active. Also, model-derived valuations in which all significant inputs and significant value drivers are observable in active markets are Level 2 valuation techniques. |
| · | Level 3—Valuation techniques in which one or more significant inputs or significant value drivers are unobservable. Unobservable inputs are valuation technique inputs that reflect the Group’s own assumptions about the assumptions that market participants would use to price an asset or liability. |
When available, the Group measures the fair value of financial instruments based on quoted market prices in active markets, valuation techniques that use observable market-based inputs or unobservable inputs that are corroborated by market data. Pricing information the Group obtains from third parties is internally validated for reasonableness prior to use in the consolidated financial statements. When observable market prices are not readily available, the Group generally estimates fair value using valuation techniques that rely on alternate market data or inputs that are generally less readily observable from objective sources and are estimated based on pertinent information available at the time of the applicable reporting periods. In certain cases, fair values are not subject to precise quantification or verification and may fluctuate as economic and market factors vary and the Group’s evaluation of those factors changes. Although the Group uses its best judgment in estimating the fair value of these financial instruments, there are inherent limitations in any estimation technique. In these cases, a minor change in an assumption could result in a significant change in its estimate of fair value, thereby increasing or decreasing the amounts of the Group’s consolidated assets, liabilities, shareholders’ equity and net income or loss.
The Group’s financial instruments include cash and cash equivalents, restricted cash, accounts receivable, note receivables other current assets, amount due from related parties, accounts payable, other current liabilities, payables for purchase of property, plant and equipment, amounts due to related parties and short-term and current portion of long-term bank borrowings. The carrying amounts of these short-term financial instruments approximate their fair values due to the short-term maturity of these instruments.
The Group’s long-term bank borrowing consists of floating rate loans. The fair value of long-term borrowings is measured using discounted cash flow technique based on current rates for comparable loans on the respective valuation date and it therefore considered a level 2 measurement. The long-term bank borrowings approximate their fair values because market interest rates have not fluctuated significantly since the commencement of loan contracts signed.
| F-18 |
DAQO NEW ENERGY CORP.
NOTES TO CONSOLIDATED FINANCIAL STATEMENTS—(Continued)
FOR THE YEARS ENDED DECEMBER 31, 2015, 2016 AND 2017
(In U.S. dollars, except share and per share data)
(w) Non-controlling interest
The Group classified the ownership interest in the consolidated entity held by a party other than the Group to non-controlling interest in the consolidated financial statements. It also reported the consolidated net income at amounts that include the amounts attributable to both the parent and the non-controlling interest on the face of the Consolidated Statements of Operations. Xinjiang Daqo Investment's equity interests in Xinjiang Daqo are presented as a non-controlling interest. The non-controlling interest was $1,629,161 and $2,792,480 as of December 31, 2016 and 2017, respectively.
(x) Treasury Shares
On July 9, 2012, the Company's Board of Directors authorized the Company to repurchase up to $5 million in aggregate value of its outstanding ordinary shares through open market or other legally permissible means prior to December 31, 2012 in accordance with applicable securities laws. During the years ended December 31, 2015, 2016 and 2017, the Company repurchased 2,356,900, nil and nil shares for a total purchase price of $1,350,164, nil and nil. The Company has legal title to the shares, and no other party has the voting rights associated with these shares.
(y) Cost-method investment
On February 17, 2016, Xinjiang Daqo entered into an agreement to invest in Syned Fire Safety Service Co., Ltd. ("Syned Fire Safety Services"), a company engaging in fire safety activities. Pursuant to the agreement, Xinjiang Daqo contributed a capital investment of $581,581 in cash, which represents 15.29% of the share capital of Syed Fire Safety Services and holds one of the seven seats on the board of the director of the investee. In October 2017, Xinjiang Daqo contributed an additional capital investment of $63,793 and its percentage of ownership remained the same. The Group accounts for the investment using the cost method as the Group is unable to exercise significant influence on the investee.
The Group reviews its investment in Syed Fire Safety Service to determine whether a decline in fair value below the carrying value, if any, is other-than-temporary. No impairment loss occurred during the years ended December 31, 2016 and 2017. Although assumptions used in estimates of fair value of the investment in Syed Fire Safety Service are management best estimates, such assumptions are, by nature, highly judgmental and may vary significantly from actual results.
(z) Adoption of New Accounting Pronouncement
In July 2015, the FASB issued ASU 2015-11, Simplifying the Measurement of Inventory (Topic 330), which applies to inventory that is measured using first-in, first-out ("FIFO") or average cost. Under the updated guidance, an entity should measure inventory that is within scope at the lower of cost and net realizable value, which is the estimated selling prices in the ordinary course of business, less reasonably predictable costs of completion, disposal and transportation. Subsequent measurement is unchanged for inventory that is measured using last-in, last-out ("LIFO"). This ASU is effective for annual and interim periods beginning after December 15, 2016, and should be applied prospectively with early adoption permitted at the beginning of an interim or annual reporting period. The Group adopted the ASU for the year ended December 31, 2017 and has already considered the impact on its consolidated financial statements and related disclosures and the effects upon adoption are not material.
In March 2016, the FASB issued ASU 2016-09, Improvements to Employee Share-Based Payment Accounting, which amends ASC Topic 718, Compensation – Stock Compensation. The objective of this amendment is part of the FASB’s Simplification Initiative as it applies to several aspects of the accounting for share-based payment transactions, including the income tax consequences, classification of awards as either equity or liabilities, and classification on the statement of cash flows. The effective date of the amendment is for fiscal years beginning after December 31, 2016 and interim periods within that reporting period. The Group adopted the ASU for the year ended December 31, 2017 and has already considered the impact on its consolidated financial statements and related disclosures and the effects upon adoption are not material.
| F-19 |
DAQO NEW ENERGY CORP.
NOTES TO CONSOLIDATED FINANCIAL STATEMENTS—(Continued)
FOR THE YEARS ENDED DECEMBER 31, 2015, 2016 AND 2017
(In U.S. dollars, except share and per share data)
(aa) Recent accounting pronouncements
In May 2014, the FASB issued ASU 2014-09, Revenue from Contracts with Customers. The standard provides companies with a single model for use in accounting for revenue arising from contracts with customers and supersedes current revenue recognition guidance, including industry-specific revenue guidance. The core principle of the model is to recognize revenue when control of the goods or services transfers to the customer. The new disclosure requirements will provide information about the nature, amount, timing and uncertainty of revenue and cash flows from revenue contracts with customers. The guidance is effective for annual and interim reporting periods beginning after December 15, 2017. Entities have the option of using either a full retrospective or modified retrospective approach to adopting this guidance.
We anticipate to implement this standard effective January 1, 2018 on a full retrospective basis. We have substantially completed our assessment of all revenue from existing contracts with customers. Our product sales consist of a single performance obligation that is satisfied at a point in time. Product revenue is recognized upon delivery, which is consistent with the previous revenue recognition guidance. Therefore, we do not anticipate that there will be a significant impact to our revenue recognition practices, internal controls, financial positions, results of operations or cash flows. The new standard will require us to provide more robust disclosures than required by previous guidance, including disclosures related to disaggregation of revenue into appropriate categories, performance obligations, and the judgments made in revenue recognition determinations.
In January 2016, the FASB issued ASU2016-01, Financial Instruments - Overall: Recognition and Measurement of Financial Assets and Financial Liabilities, which requires that most equity investments be measured at fair value, with subsequent changes in fair value recognized in net income. The ASU also impacts financial liabilities under the fair value option and the presentation and disclosure requirements for financial instruments. In addition, the FASB clarified guidance related to the valuation allowance assessment when recognizing deferred tax assets resulting from unrealized losses on available-for-sale debt securities. Entities will have to assess the realizability of such deferred tax assets in combination with the entities other deferred tax assets. ASU 2016-01 is effective for fiscal years beginning after December 15, 2017 and for interim periods within that reporting period. The Group has evaluated the impact on its consolidated financial statements upon adoption and the effect is not material.
In February 2016, the FASB issued ASU2016-02, Leases. This ASU requires lessees to recognize right-of-use assets and liabilities for operating leases, initially measured at the present value of the lease payments, on the balance sheet. In addition, it requires lessees to recognize a single lease cost, calculated so that the cost of the lease is allocated over the lease term, generally on a straight-line basis. The definition of a lease has been revised in regards to when an arrangement conveys the right to control the use of the identified asset under the arrangement which may result in changes to the classification of an arrangement as a lease. The ASU expands the disclosure requirements of lease arrangements. This ASU will become effective for the Group in the first quarter of fiscal year 2019, and requires adoption using a modified retrospective approach. The Group is in the process of evaluating the impact on its consolidated financial statements, as well as the impact of adoption on policies, practices and systems. As of December 31, 2017, the Group has $1.0 million of future minimum operating lease commitments that are not currently recognized on its consolidated balance sheets (Note 18). Therefore, the Group does not expect material changes to its consolidated balance sheets.
In June 2016, the FASB issued ASU 2016-13, Credit Losses, Measurement of Credit Losses on Financial Instruments. This ASU significantly changes how entities will measure credit losses for most financial assets and certain other instruments that are not measured at fair value through net income. The standard will replace today’s incurred loss approach with an expected loss model for instruments measured at amortized cost. Entities will apply the standard’s provisions as a cumulative-effect adjustment to retained earnings as of the beginning of the first reporting period in which the guidance is effective. This ASU is effective for public entities for annual and interim periods beginning after December 15, 2019. Early adoption is permitted for all entities for annual periods beginning after December 15, 2018, and interim periods therein. The Group is in the process of evaluating the impact on its consolidated financial statements upon adoption.
| F-20 |
DAQO NEW ENERGY CORP.
NOTES TO CONSOLIDATED FINANCIAL STATEMENTS—(Continued)
FOR THE YEARS ENDED DECEMBER 31, 2015, 2016 AND 2017
(In U.S. dollars, except share and per share data)
In August 2016, the FASB issued ASU 2016-15 which amends the guidance on the classification of certain cash receipts and payments in the statement of cash flows. This ASU is effective for annual and interim reporting periods beginning after December 15, 2017 and is applied retrospectively. Early adoption is permitted including adoption in an interim period. The Group will adopt this ASU on its effective date of January 1, 2018 and is in the process of evaluating the impact on its consolidated financial statements upon adoption.
In November 2016, the FASB issued ASU 2016-18, Statement of Cash Flows, Restricted Cash, which clarifies guidance on the classification and presentation of restricted cash in the statement of cash flows. ASU 2016-18 becomes effective for the Group on January 1, 2018. The adoption of this accounting pronouncement will impact the presentation of restricted cash in the Group’s Consolidated Statements of Cash Flows. The new guidance permits early adoption. The Group is in the process of evaluating the impact on its consolidated financial statements upon adoption.
In May 2017, the FASB issued ASU 2017-09, Compensation — Stock Compensation (Topic 718): Scope of Modification Accounting, which amends the scope of modification accounting for share-based payment arrangements. The ASU provides guidance on the types of changes to the terms or conditions of share-based payment awards to which an entity would be required to apply modification accounting. The ASU is effective for all entities for annual periods, and interim periods within those annual periods, beginning after December 15, 2017. Early adoption is permitted. The Group is in the process of evaluating the impact on its consolidated financial statements upon adoption.
| F-21 |
DAQO NEW ENERGY CORP.
NOTES TO CONSOLIDATED FINANCIAL STATEMENTS—(Continued)
FOR THE YEARS ENDED DECEMBER 31, 2015, 2016 AND 2017
(In U.S. dollars, except share and per share data)
3. EXIT and DISPOSAL ACTIVITIES
Relocation of Polysilicon Operations to Xinjiang
Starting 2013, the Group commenced a plan to expand the capacity at the Xinjiang plant and relocate significant production assets, with a carrying value of $144.7 million, from Chongqing Daqo to its Xinjiang plant. In connection with this relocation plan, the Group determined i) to cease a retooling project at its polysilicon production line located at Chongqing Daqo in the second quarter of 2013, and ii) it was more practical to relocate its machinery and equipment located at Chongqing Daqo, to Xinjiang as part of the Polysilicon Phase II Expansion Project plan.
In August 2014, the Board of Directors approved the Group to launch an early stage research for the Polysilicon Phase III Expansion Project in Xinjiang. After a comprehensive analysis of the capacity and comparability of the Chongqing machinery and equipment, the Group concluded that it would be more efficient to use part of the machinery and equipment in Phrase III, rather than using all of them in Phrase II Expansion Project. As a result, the Group has changed its original relocation plan and determined to utilize a portion of these machinery and equipment in Polysilicon Phase III Expansion Project in Xinjiang.
As originally planned, the Group has fully ramped up its Polysilicon Phase II Expansion Project since August 2015.The capacity of Xinjiang Daqo is increased from 6,150MT to 12,150MT. Additionally, in January 2015, the Board of Directors approved the first stage of Phase III Expansion Project. In November 2015, the Group together with a professional transport company reviewed all the remaining assets for the relocation preparation under the Phase III Expansion Project. Along with the complicated and comprehensive relocation preparation, the Group identified assets of $1.6 million that were not transferrable and could not be reutilized by its Xinjiang expansion project. Accordingly, an impairment charge of $1.6 million was recognized as of December 31, 2015. In late 2015, the polysilicon machinery and equipment in Chongqing of $1.1 million (equivalently RMB7.0 million) was relocated from Chongqing to Xinjiang. To keep these machinery and equipment in good condition in Chongqing, The Group spent approximately $0.3 million on a quarterly basis, including $0.2 million wages and $0.1 million electricity fees. During the year ended December 31, 2015, an additional $0.1 million relocation cost was incurred, which was recorded in selling, general and administrative expenses.
During the year ended December 31, 2016, the Group relocated additional machinery and equipment of $34.1 million from Chongqing to its Xinjiang plant for the first stage of Phase III Expansion Project, which had already completed the construction and installation of Phase 3A at the end of 2016 and has fully ramped up since February 2017 as planned. The capacity of Xinjiang Daqo increased from 12,150 MT to 18,000 MT. The Group identified assets of $0.2 million that were not transferrable and could not be reutilized by its Xinjiang expansion project in 2016. Accordingly, an impairment charge of $0.2 million was recognized during the year ended December 31, 2016. During the year ended December 31, 2016, an additional $2.6 million relocation cost was incurred, which was recorded in selling, general and administrative expenses.
In the year ended December 31, 2017, the Group relocated machinery and equipment of $0.2 million from Chongqing to its Xinjiang plant for technology improvement. In August 2017, the Board of Directors approved the Phase 3B Expansion Project for its polysilicon facilities in Xinjiang, which is expected to increase capacity from 18,000MT to 25,000 MT. By adopting additional technology improvement and debottlenecking projects, the Group may be able to further increase its capacity to 30,000 MT per annum by mid 2019. After a comprehensive analysis of the expansion projects and comparability of the remained machinery and equipment, the Group identified assets of $3.0 million that were not transferrable and could not be reutilized by Xinjiang expansion project in 2017. Accordingly, an impairment charge of $2,987,668 was recognized during the year.The remaining$11.7 million of the machinery and equipment are expected to be relocated to its Xinjiang plant as of December 31, 2017. During the year ended December 31, 2017, an additional $0.2 million relocation cost was incurred, which was recorded in selling, general and administrative expenses.
| F-22 |
DAQO NEW ENERGY CORP.
NOTES TO CONSOLIDATED FINANCIAL STATEMENTS—(Continued)
FOR THE YEARS ENDED DECEMBER 31, 2015, 2016 AND 2017
(In U.S. dollars, except share and per share data)
4. FOLLOW-ON EQUITY OFFERINGS
In February 2015, the Company issued 1,540,000 America depositary shares ("ADSs"), representing 38,500,000 ordinary shares, through a follow-on public offering. The proceeds, net of issuance cost of $2.0 million, were $28.0 million.
| F-23 |
DAQO NEW ENERGY CORP.
NOTES TO CONSOLIDATED FINANCIAL STATEMENTS—(Continued)
FOR THE YEARS ENDED DECEMBER 31, 2015, 2016 AND 2017
(In U.S. dollars, except share and per share data)
5. ALLOWANCE FOR DOUBTFUL ACCOUNTS
Along with the recovery of solar industry and continued legal actions, the Group was able to collect payments on its doubtful accounts, as such, allowance of $2,026,567, $1,053,041and $2,750 previously recorded have been reversed in 2015, 2016 and 2017 respectively.
Analysis of allowances for doubtful accounts is as follows:
| Year ended December 31, | ||||||||||||
| 2015 | 2016 | 2017 | ||||||||||
| Beginning of the year | $ | 3,189,110 | $ | 1,087,465 | $ | 10,163 | ||||||
| Reversal during the year | (2,026,567 | ) | (1,053,041 | ) | (2,750 | ) | ||||||
| Foreign exchange effect | (75,078 | ) | (24,261 | ) | 580 | |||||||
| Closing balance | $ | 1,087,465 | $ | 10,163 | $ | 7,993 | ||||||
6. PREPAID EXPENSE AND OTHER CURRENT ASSETS
Prepaid expense and other current assets consist of the following:
| December 31, | ||||||||
| 2016 | 2017 | |||||||
| Spare parts | $ | 5,732,914 | $ | 6,308,655 | ||||
| Prepaid value added tax (“VAT”) | 1,808,141 | 627,463 | ||||||
| Prepaid insurance fee | 259,650 | 333,425 | ||||||
| Others | 226,962 | 913,024 | ||||||
| Total | $ | 8,027,667 | $ | 8,182,567 | ||||
7. INVENTORIES
Inventories consist of the following:
| December 31, | ||||||||
| 2016 | 2017 | |||||||
| Raw materials | $ | 2,947,296 | $ | 6,087,516 | ||||
| Work-in-process | 4,878,905 | 7,693,833 | ||||||
| Finished goods | 4,454,499 | 5,821,975 | ||||||
| Total | $ | 12,280,700 | $ | 19,603,324 | ||||
Inventory write-down was $62,422, nil and nil for the years ended December 31, 2015, 2016 and 2017, respectively.
| F-24 |
DAQO NEW ENERGY CORP.
NOTES TO CONSOLIDATED FINANCIAL STATEMENTS—(Continued)
FOR THE YEARS ENDED DECEMBER 31, 2015, 2016 AND 2017
(In U.S. dollars, except share and per share data)
8. PROPERTY, PLANT AND EQUIPMENT, NET
Property, plant and equipment, net, consist of the following:
| December 31, | ||||||||
| 2016 | 2017 | |||||||
| Cost | ||||||||
| Buildings and plant | $ | 286,302,082 | $ | 325,775,766 | ||||
| Machinery and equipment | 371,703,665 | 464,556,735 | ||||||
| Furniture, fixtures and equipment | 21,355,517 | 26,701,699 | ||||||
| Motor vehicles | 334,025 | 356,560 | ||||||
| Less: Accumulated depreciation | (206,725,215 | ) | (260,287,516 | ) | ||||
| Property, plant and equipment, net | $ | 472,970,074 | $ | 557,103,244 | ||||
| Construction in process | 84,457,810 | 22,025,447 | ||||||
| Total | $ | 557,427,884 | $ | 579,128,691 | ||||
Depreciation expense was $31,361,026, $33,822,082 and $38,824,055 for the years ended December 31, 2015, 2016 and 2017, respectively.
Construction in process of $22.0 million as of December 31, 2017 was mostly related to the Phase 3B expansion project.
The Group recognized impairments for long-lived assets of $1,622,588, $198,689 and $2,987,668 during the years ended December 31, 2015, 2016 and 2017, respectively.
| F-25 |
DAQO NEW ENERGY CORP.
NOTES TO CONSOLIDATED FINANCIAL STATEMENTS—(Continued)
FOR THE YEARS ENDED DECEMBER 31, 2015, 2016 AND 2017
(In U.S. dollars, except share and per share data)
9. BORROWINGS
The Group’s bank borrowings consisted of the following:
| December 31, | ||||||||
| 2016 | 2017 | |||||||
| Short-term bank borrowings | $ | 55,582,070 | $ | 68,400,950 | ||||
| Long-term bank borrowings, current portion | 50,398,250 | 30,899,168 | ||||||
| Total borrowings, current | 105,980,320 | 99,300,118 | ||||||
| Long-term bank borrowings, non-current portion | 111,948,913 | 113,588,232 | ||||||
| Total | $ | 217,929,233 | $ | 212,888,350 | ||||
Short-term bank borrowings
All short-term bank borrowings are guaranteed by Daqo Group and its related parties. The weighted average interest rate on the short-term bank borrowing was 5.4%, 5.0% and 5.1% in the years ended December 31, 2015, 2016 and 2017.
Long-term bank borrowings
The long-term bank borrowings, including current portion, as of December 31, 2016 and 2017 are comprised of:
| December 31, | ||||||||
| 2016 | 2017 | |||||||
| Borrowing from Huaxia Bank | — | 3,074,200 | ||||||
| Borrowing from Bank of China | 33,118,850 | — | ||||||
| Borrowing from Chongqing Rural Commercial Bank | 129,228,313 | 141,413,200 | ||||||
| Total | $ | 162,347,163 | $ | 144,487,400 | ||||
| F-26 |
DAQO NEW ENERGY CORP.
NOTES TO CONSOLIDATED FINANCIAL STATEMENTS—(Continued)
FOR THE YEARS ENDED DECEMBER 31, 2015, 2016 AND 2017
(In U.S. dollars, except share and per share data)
On September 30, 2011, Xinjiang Daqo entered into a six-year long term facility agreement with Bank of China. Such borrowing is restricted to the purchase of fixed assets and has a maximum borrowing credit amounted to $115.3 million, bearing interest at standard five-year long term interest rate issued by People’s Bank of China plus 5%. The borrowing is guaranteed by Daqo Group, Daqo New Material, two affiliated companies under Daqo Group and Mr. Guangfu Xu. On June 30, 2014, an amendment to this credit facility was signed between Xinjiang Daqo and Bank of China, under which machinery and equipment with a total carrying amount of $61.3 million was pledged as collaterals for this credit facility. As of December 31, 2015, Xinjiang Daqo had drawn down the maximum credit of $115.3 million at an interest rate of 5.39% and repaid $44.6 million. The outstanding bank borrowing was $70.7 million as of December 31, 2015. During the year ended December 31, 2016, additional $35.4 million was repaid by Chongqing Daqo, and the outstanding bank borrowing was $35.4 million as of December 31, 2016. As of December 31, 2017, Xinjiang Daqo had repaid all the remaining $35.4 million and had no facility available for future draw down.
On June 25, 2015, Xinjiang Daqo entered into a six-year long term facility agreement with Chongqing Rural Commercial Bank. Such borrowing is restricted to renovation and extension project of polysilicon and has a maximum borrowing credit amounted to $96.1 million, with an interest rate of 20% above the five-year long term interest rate issued by People’s Bank of China. The borrowing is guaranteed by Daqo Group and four affiliated companies under Daqo Group. On May 30, 2016, an amendment to this credit facility was signed between Xinjiang Daqo and Chongqing Rural Commercial Bank, under which the borrowing is guaranteed by Chongqing Daqo, Daqo Group and three affiliated companies under Daqo Group. During the year ended December 31, 2015, Xinjiang Daqo drew down the maximum borrowing credit of $96.1 million at an interest rate of 5.9%. During the year ended December 31, 2016, Xinjiang Daqo had repaid $13.1 million. During the year ended December 31, 2017, Xinjiang Daqo had repaid $18.4 million. The outstanding bank borrowing was $64.6 million as of December 31, 2017. Xinjiang Daqo had no facility available for future draw down as of December 31, 2017. There is no financial covenants associated with the facility.
On May 30, 2016, Xinjiang Daqo entered into a seven-year long term facility agreement with Chongqing Rural Commercial Bank. Such borrowing is restricted to extension project of polysilicon Phase 3A and has a maximum credit amounted to $76.8 million, with an interest rate of 20% above the five-year long term interest rate issued by People’s Bank of China. The borrowing is guaranteed by Chongqing Daqo, Daqo Group and three affiliated companies under Daqo Group. As of December 31, 2016, Xinjiang Daqo had drawn down $54.9 million at an interest rate of 5.9%. As of December 31, 2017, Xinjiang Daqo had drawn down the remaining facility $21.9 million at an interest rate of 5.9%. Xinjiang Daqo had no facility available for future draw down as of December 31, 2017. There is no financial covenants associated with the facility.
On July 19, 2017, Chongqing Daqo entered into a two-year credit facility agreement with Huaxia Bank. Such borrowing is restricted to operating activities and has a maximum credit amount of $3.1 million, with an interest rate of 16% above the same period interest rate issued by People’s Bank of China. The borrowing is guaranteed by Daqo Group. Chongqing Daqo pledged its buildings and land use rights as collaterals for this credit facility. As of December 31, 2017, Chongqing Daqo drew down the maximum credit of $3.1million at an interest rate of 5.5% and had no facility available for future draw down. There is no financial covenants associated with the facility.
| F-27 |
DAQO NEW ENERGY CORP.
NOTES TO CONSOLIDATED FINANCIAL STATEMENTS—(Continued)
FOR THE YEARS ENDED DECEMBER 31, 2015, 2016 AND 2017
(In U.S. dollars, except share and per share data)
The weighted average interest rate in the years ended December 31, 2015, 2016 and 2017 for the Group’s long-term bank borrowings was 5.7%, 5.8% and 5.9%, respectively.
The principal maturities of these long-term bank borrowings as of December 31, 2017 are as follows:
| Year ending December 31, | Amount | |||
| 2018 | $ | 30,899,168 | ||
| 2019 | 35,972,752 | |||
| 2020 | 33,820,812 | |||
| 2021 | 24,598,212 | |||
| 2022 | 15,375,612 | |||
| 2023 | 3,820,844 | |||
| Total | $ | 144,487,400 | ||
10. ACCRUED EXPENSES AND OTHER CURRENT LIABILITIES
Accrued expenses and other current liabilities consist of the following:
| December 31, | ||||||||
| 2016 | 2017 | |||||||
| Accrued payroll and welfare | $ | 3,798,472 | $ | 5,608,653 | ||||
| Accrued professional fees | 374,944 | 406,887 | ||||||
| Other tax payables | 1,802,962 | 5,080,274 | ||||||
| Interest payable | 390,467 | 364,708 | ||||||
| Others | 1,953,196 | 4,673,886 | ||||||
| Total | $ | 8,320,041 | $ | 16,134,408 | ||||
| F-28 |
DAQO NEW ENERGY CORP.
NOTES TO CONSOLIDATED FINANCIAL STATEMENTS—(Continued)
FOR THE YEARS ENDED DECEMBER 31, 2015, 2016 AND 2017
(In U.S. dollars, except share and per share data)
11. FAIR VALUE MEASUREMENTS
Nonrecurring Fair Value Measurements
The following table displays assets and liabilities that were measured at fair value on a non-recurring basis after initial recognition:
| Year ended December 31, 2016 | ||||||||||||||||||||
| Description | Carrying amount | Quoted Prices in Active Markets for Identical Assets (Level 1) | Significant Other Observable Inputs (Level 2) | Significant Unobservable Inputs (Level 3) | Total Losses | |||||||||||||||
| Property, plant and equipment – cannot be relocated to Xinjiang plant (Note 3) | $ | 198,689 | $ | $ | $ | — | $ | 198,689 | ||||||||||||
| Year ended December 31, 2017 | ||||||||||||||||||||
| Description | Carrying amount | Quoted Prices in Active Markets for Identical Assets (Level 1) | Significant Other Observable Inputs (Level 2) | Significant Unobservable Inputs (Level 3) | Total Losses | |||||||||||||||
| Property, plant and equipment – cannot be relocated to Xinjiang plant (Note 3) | $ | 2,987,668 | $ | — | $ | 2,987,668 | ||||||||||||||
| F-29 |
DAQO NEW ENERGY CORP.
NOTES TO CONSOLIDATED FINANCIAL STATEMENTS—(Continued)
FOR THE YEARS ENDED DECEMBER 31, 2015, 2016 AND 2017
(In U.S. dollars, except share and per share data)
12. MAINLAND CHINA CONTRIBUTION PLAN AND PROFIT APPROPRIATION
(a) China Contribution Plan
Full time employees of the Group in the PRC participate in a government-mandated, multi-employer, defined contribution plan pursuant to which certain pension benefits, medical care, unemployment insurance, employee housing fund and other welfare benefits are provided to employees. PRC labor regulations require the Group to accrue for these benefits based on a certain percentage of the employees’ salaries. Contributions to defined contribution plans are expensed as incurred. During the years ended December 31, 2015, 2016 and 2017, the Group recognized expenses relating to its contribution to the government sponsored defined contribution plans of $4,087,334, $3,147,927 and $3,420,774, respectively.
(b) Statutory Reserves and Restricted Assets
Foreign invested enterprises in PRC are required under PRC laws to distribute its after-tax profits of the current year and draw 10 percent of the profits as the company's statutory common reserve. The company may stop drawing the profits if the aggregate balance of the common reserves has already accounted for over 50 percent of the company's registered capital. The common reserves shall be used for making up losses, expanding the production and business scale or increasing the registered capital of the company. As of December 31, 2015, 2016 and 2017, the Group's aggregate balance of the statutory common reserves was $17,720,748, $21,969,950 and $31,991,537 respectively.
In accordance with relevant PRC laws and regulations, the Group’s PRC subsidiaries are prohibited to make distribution of their registered capital and statutory reserves in the form of cash dividends, loans or advances and the related restricted portion amounted to $256,018,805 as of December 31, 2017.
| F-30 |
DAQO NEW ENERGY CORP.
NOTES TO CONSOLIDATED FINANCIAL STATEMENTS—(Continued)
FOR THE YEARS ENDED DECEMBER 31, 2015, 2016 AND 2017
(In U.S. dollars, except share and per share data)
13. INCOME TAXES
Cayman Islands Tax
The Company is incorporated in the Cayman Islands and is not subject to tax in this jurisdiction.
PRC Tax
The Company’s subsidiaries are registered in the PRC as foreign invested enterprises. Under the Laws of the People’s Republic of China on Enterprise Income Tax (the “EIT Law”) which are effective January 1, 2008, the statutory enterprise income tax rate is 25%.
Chongqing Daqo is a foreign invested enterprise located in Chongqing. In accordance with a PRC tax regulation which encourages investment in China’s southwest region, Chongqing Daqo is entitled to a preferential tax rate of 15% from its establishment through 2012. On November 19, 2012, Chongqing Daqo obtained a High and New Technology Enterprise (“HNTE”) certificate and renewed it on November 10, 2015, which is valid till 2017. During the years ended December 31, 2015, 2016 and 2017, Chongqing Daqo was entitled to a preferential tax rate of 15% because of its HNTE status.
Xinjiang Daqo is a foreign-invested enterprise established on February, 2012 located in Shihezi Economic Development Area in Xinjiang Autonomous Region. On November 25, 2014, Xinjiang Daqo obtained a HNTE certificate and renewed it on August28, 2017, which is valid till 2019. During the years ended December 31, 2015, 2016 and 2017, Xinjiang Daqo was entitled to a preferential tax rate of 15% because of its HNTE status.
Under the current EIT Law and implementation regulations issued by the PRC State Council, an income tax rate of 10% is applicable to interest and dividends payable to investors that are “non-resident enterprises”, which do not have an establishment or place of business in the PRC, or which have such establishment or place of business but the relevant income is not effectively connected with the establishment or place of business, to the extent such interest or dividends have their sources within the PRC. The Company's PRC subsidiaries' retained earnings have been and will be permanently reinvested to the PRC subsidiaries. Therefore, no dividend withholding tax was accrued.
| F-31 |
DAQO NEW ENERGY CORP.
NOTES TO CONSOLIDATED FINANCIAL STATEMENTS—(Continued)
FOR THE YEARS ENDED DECEMBER 31, 2015, 2016 AND 2017
(In U.S. dollars, except share and per share data)
Uncertainties exist with respect to how the current income tax law in the PRC applies to the Group’s overall operations, and more specifically, with regard to tax residency status. The EIT Law includes a provision specifying that legal entities organized outside of the PRC will be considered residents for Chinese Income tax purposes if the place of effective management or control is within the PRC. The implementation rules to the EIT Law provide that non-resident legal entities will be considered PRC residents if substantial and overall management and control over the manufacturing and business operations, personnel, accounting and properties, occurs within the PRC. Despite the present uncertainties resulting from the limited PRC tax guidance on the issue, the Group does not believe that the legal entities organized outside of the PRC within the Group should be treated as residents for EIT law purposes. If the PRC tax authorities subsequently determine that the Company and its subsidiaries registered outside the PRC should be deemed resident enterprises, the Company and its subsidiaries registered outside the PRC will be subject to the PRC income taxes, at a statutory income tax rate of 25%. The Group is not subject to any other uncertain tax position.
According to PRC Tax Administration and Collection Law, the statute of limitations is three years if the underpayment of taxes is due to computational errors made by the taxpayer or withholding agent. The statute of limitations will be extended five years under special circumstances, which are not clearly defined (but an underpayment of tax liability exceeding RMB0.1 million is specifically listed as a special circumstance). In the case of a related party transaction, the statute of limitations is ten years. There is no statute of limitations in the case of tax evasion. From inception to 2014, the Group’s PRC subsidiaries are subject to examination of the PRC tax authorities. The Company classifies interest and penalties associated with taxes as income tax expense. Such charges were immaterial in the years ended December 31, 2015, 2016 and 2017, respectively.
Income tax expenses comprise:
| Year ended December 31, | ||||||||||||
| 2015 | 2016 | 2017 | ||||||||||
| Current Tax Expenses | $ | 1,786,092 | $ | 7,357,623 | $ | 17,417,528 | ||||||
| Deferred Tax Expenses (Benefit) | (648,271 | ) | 466 | (85,302 | ) | |||||||
| Total | $ | 1,137,821 | $ | 7,358,089 | $ | 17,332,226 | ||||||
The principal components of deferred income tax assets are as follows:
| December 31, | ||||||||
| 2016 | 2017 | |||||||
| Net operating loss carried forward | $ | 20,039,534 | $ | 21,182,813 | ||||
| Allowance for doubtful accounts | 1,524 | 1,998 | ||||||
| Government grants related to assets | 217,661 | 211,707 | ||||||
| Long-lived assets impairment & depreciation | 18,113,967 | 19,618,474 | ||||||
| Others | 942,466 | 1,015,525 | ||||||
| Sub-total | 39,315,152 | 42,030,517 | ||||||
| Valuation Allowance | (38,729,208 | ) | (41,316,449 | ) | ||||
| Total | $ | 585,944 | $ | 714,068 | ||||
The changes of valuation allowance are as follows:
| Year ended December 31, | ||||||||||||
| 2015 | 2016 | 2017 | ||||||||||
| Beginning balance | $ | 50,109,751 | $ | 42,362,849 | $ | 38,729,208 | ||||||
| Reversal | (5,708,268 | ) | (932,833 | ) | (24,771 | ) | ||||||
| Foreign exchange effect | (2,038,634 | ) | (2,700,808 | ) | 2,612,012 | |||||||
| Ending Balance | $ | 42,362,849 | $ | 38,729,208 | $ | 41,316,449 | ||||||
| F-32 |
DAQO NEW ENERGY CORP.
NOTES TO CONSOLIDATED FINANCIAL STATEMENTS—(Continued)
FOR THE YEARS ENDED DECEMBER 31, 2015, 2016 AND 2017
(In U.S. dollars, except share and per share data)
The Group uses the asset and liability method to record related deferred tax assets and liabilities. The Group considers positive and negative evidences to determine whether some portion or all of the deferred tax assets will be more likely than not realized. This assessment considers, among other matters, the nature, frequency and severity of recent losses and forecasts of future profitability. These assumptions require significant judgement and the forecasts of future taxable income are consistent with the plans and estimates the Group is using to manage the underlying businesses. Valuation allowances are established for deferred tax assets based on a more likely than not threshold. The Group's ability to realize deferred tax assets depends on its ability to generate sufficient taxable income within the carry forward periods provided for in the tax law. The Group has provided a full valuation allowance for the deferred tax assets relating to Chongqing Daqo as of December 31, 2016 and December 31, 2017 in the amount of $38,729,208 and $41,316,449, respectively, as management is not able to conclude that the future realization of those net operating loss carry forwards and other deferred tax assets are more likely than not. As of December 31, 2017, the Group has a total operating loss carry forwards which is entirely relating to Chongqing Daqo of $84.7 million. These operating loss carry forwards are expected to be expired from 2018 to 2019.
The effective income tax rate of the Group is different from the expected PRC statutory rate as a result of the following items:
| Year ended December 31, | ||||||||||||
| 2015 | 2016 | 2017 | ||||||||||
| PRC Enterprise Income Tax | 25 | % | 25 | % | 25 | % | ||||||
| Preferential income tax rate of a subsidiary | (8 | )% | (10 | %) | (10 | %) | ||||||
| Additional tax deductions | (12 | )% | (1 | %) | (1 | %) | ||||||
| Different tax rate in other jurisdictions | 8 | % | 1 | % | 2 | % | ||||||
| Changes in valuation allowance | (3 | %) | (1 | %) | —% | |||||||
| Tax credits | (3 | )% | —% | —% | ||||||||
| Withhold tax | 1 | % | —% | —% | ||||||||
| Effective tax rate | 8 | % | 14 | % | 16 | % | ||||||
Xinjiang Daqo and Chongqing Daqo enjoy the preferential tax rate of 15%, which may be extended if the requirements of High and New Technology Enterprise are satisfied. The impact of the preferential tax rates decreased income taxes by $1.3 million, $5.2 million and $11.3 million for the years of 2015, 2016 and 2017, respectively. The benefit on net earnings per share was $0.01, $0.02 and $0.04 for the years of 2015, 2016 and 2017, respectively.
14. SHARE BASED COMPENSATION
In December 2014, The Company’s shareholders adopted the 2014 share incentive plan. The Company’s shareholders have authorized the issuance of up to 21,000,000 ordinary shares underlying all options (including incentive share options, or ISOs), restricted shares and restricted share units ("RSUs") granted to a participant under the plan, or the awards.
During the year ended December 31, 2015, the Company granted 8,134,375 share options to its officers, directors and employees at the weighted average grant date fair value of $0.59. No options were granted during the years ended December 31, 2016 and 2017.
On January 12, 2015, the Company modified the exercise price to $0.87 for a total number of 6,274,166 previously granted options, in order to provide appropriate incentives to the relevant employees and executive officers of the Group. The fair value of the options under revised terms was $0.55 and $0.52. The total incremental cost associated with the modification was $241,557, of which $60,107 was recognized immediately for the options vested prior to the date of the modification and the remaining share-based compensation charges of $181,470 are recognized over the remaining vesting period of the modified options.
On September 09, 2015, the Company modified the exercise price for a total number of 12,569,166 options granted before to $0.59, in order to provide appropriate incentives to the relevant employees and executive officers of the Company. The fair value of the options under revised terms for five batches granted on Jan 28, 2014, Jan 12, 2015 and July 06, 2015 was $0.38, $0.35, $0.38, $0.37 and $0.40, respectively. The total incremental cost associated with the modification was $282,581, of which $123,322 was recognized immediately for the options vested prior to the date of the modification and the remaining share-based compensation charges of $159,259 are recognized over the remaining vesting period of the modified options.
| F-33 |
DAQO NEW ENERGY CORP.
NOTES TO CONSOLIDATED FINANCIAL STATEMENTS—(Continued)
FOR THE YEARS ENDED DECEMBER 31, 2015, 2016 AND 2017
(In U.S. dollars, except share and per share data)
The Company utilized the Binomial option pricing model to evaluate the fair value of the stock options with reference to the closing price of the Company on the measurement dates.
The following assumptions were used in the Binomial option pricing model:
| Year Ended December 31, 2015 | ||||||||||||||||||||
| Options granted |
Average risk-free rate of return |
Exercise multiple |
Volatility rate |
Dividend yield |
Post- vesting forfeiture rate |
|||||||||||||||
| January 12, 2015 | 2.82% | 1.8-3 times | 93.0% | 0% | 5%-8% | |||||||||||||||
| July 06, 2015 | 3.20% | 3 times | 91.0% | 0% | 5% | |||||||||||||||
| September 09, 2015 | 2.94%-3.08% | 1.8-3 times | 91.0%-92.0% | 0% | 5%-8% | |||||||||||||||
The risk-free rate of return is based on the yield curve of China USD sovereign bond commensurate with the same maturity at the respective grant dates. The exercise multiple is estimated by reference to the proprietary research and empirical studies. The expected volatility is based on the average of historical daily annualized share price volatility of 6 comparable companies over a normalized period that commensurate with the option life of 10 years. The post-vesting forfeiture rate is based on the historical data and management’s best Estimation.
A summary of the aggregate option activity and information regarding options outstanding as of December 31, 2017 is as follows:
| Number of Options | Weighted Average Exercise Price | Weighted Average Remaining Contract Life | Aggregate Intrinsic Value | |||||||||||||
| Options outstanding on January 1, 2017 | 15,259,141 | 0.50 | ||||||||||||||
| Granted | — | — | ||||||||||||||
| Forfeited | (24,965 | ) | 0.59 | |||||||||||||
| Expired | (3,584 | ) | 0.59 | |||||||||||||
| Exercised | (5,596,050 | ) | 0.49 | |||||||||||||
| Options outstanding on December 31, 2017 | 9,634,542 | 0.50 | 5.59 | 18,935,239 | ||||||||||||
| Options vested or expected to vest on December 31, 2017 | 19,017,508 | 0.46 | 5.00 | 38,124,185 | ||||||||||||
| Options exercisable on December 31, 2017 | 8,282,615 | 0.48 | 5.34 | 16,408,217 | ||||||||||||
The share-based compensation expense related to stock options of approximately $3,687,951, $2,702,089 and $1,559,863 were recognized by the Group for the years ended December 31, 2015, 2016 and 2017, respectively.
As of December 31, 2017, there was $833,150in total unrecognized compensation cost related to non-vested stock options, which is expected to be recognized over a weighted-average period of 1.08years.
| F-34 |
DAQO NEW ENERGY CORP.
NOTES TO CONSOLIDATED FINANCIAL STATEMENTS—(Continued)
FOR THE YEARS ENDED DECEMBER 31, 2015, 2016 AND 2017
(In U.S. dollars, except share and per share data)
On February 3, 2017, the Company granted restricted share units ("RSUs") to acquire 12,653,992 ordinary shares to certain directors, executive officers and employees pursuant to the Daqo New Energy Corp. 2014 Share Incentive Plan. The RSUs will be vested quarterly in each of the next four years starting from May 6, 2017. The exercise price of these shares is nil per share.
The weighted average fair value of RSUs granted during the year ended December 31, 2017 was $0.98. The Company recorded compensation expenses based on the fair value of RSUs on the grant dates over the requisite service period of award using the straight line vesting attribution method.
A summary of the non-vested RSU activity in 2017 is as follows:
Number of RSUs | Weighted Average Grant Date Fair Value | |||||||
| Nonvested RSUs on January 1, 2017 | — | — | ||||||
| Granted | 12,653,992 | 0.98 | ||||||
| Vested | (2,366,374 | ) | 0.98 | |||||
| Forfeited | (46,875 | ) | 0.98 | |||||
| Nonvested RSUs on December 31, 2017 | 10,240,743 | 0.98 | ||||||
The share-based compensation expense related to RSUs of approximately $2,640,410 was recognized by the Group for the year ended December 31, 2017.
As of December 31, 2017, there was $9,713,940 in total unrecognized compensation cost related to nonvested RSUs, which is expected to be recognized over a weighted-average period of 3.17 years.
| F-35 |
DAQO NEW ENERGY CORP.
NOTES TO CONSOLIDATED FINANCIAL STATEMENTS—(Continued)
FOR THE YEARS ENDED DECEMBER 31, 2015, 2016 AND 2017
(In U.S. dollars, except share and per share data)
15. RELATED PARTY TRANSACTIONS AND BALANCES
| (1) | The relationships between the Group and related party are as follows: |
|
Name of the related party |
Relationship | |
| Daqo Group Co., Ltd. (“Daqo Group”) |
Daqo Group and the Group are controlled by same group of shareholders. | |
| Zhenjiang Daqo Solar Co. Ltd.(“Zhenjiang Daqo”) | An affiliated company which is 100% held by Daqo Group | |
| Daqo Solar Co. Ltd (“Daqo Solar”) | An affiliated company which is 100% held by Daqo Group | |
| Nanjing Daqo New Energy Co., Ltd.(“Nanjing Daqo”) | An affiliated company which was 100% held by the Group before September 28, 2012 and is 100% held by Daqo Group since September 28, 2012 | |
| Xinjiang Daqo Investment Co., Ltd. ("Xinjiang Daqo Investment") | An affiliated company which is 100% held by Daqo Group | |
| Daqo New Material Co., Ltd. ("Daqo New Material") |
An affiliated company which is 100% held by Daqo Group, and was consolidated by the Company as VIE on December 31, 2013 | |
| Chongqing Daqo Tailai Electric Co., Ltd. (“Chongqing Daqo Tailai”) | An affiliated company which is 100% held by Daqo Group | |
| Nanjing Daqo Transformer Systems Co., Ltd. (“Nanjing Daqo Transformer”) | An affiliated company which is 100% held by Daqo Group | |
| Jiangsu Daqo Changjiang Electric Co., Ltd. (“Jiangsu Daqo”) | An affiliated company which is 100% held by Daqo Group | |
| Nanjing Daqo Electric Co., Ltd. (“Nanjing Daqo Electric”) | An affiliated company which is 100% held by Daqo Group | |
| Zhenjiang Klockner-Moeller Electrical Systems Co., Ltd. (“Zhenjiang Moeller”) | An affiliated company which is 100% held by Daqo Group | |
| Nanjing Intelligent Apparatus Co., Ltd. (“Intelligent Apparatus”) | An affiliated company which is 100% held by Daqo Group | |
| Nanjing Intelligent Software Co., Ltd. (“Intelligent Software”) | An affiliated company which is 100% held by Daqo Group | |
| Shanghai Sailfar Electric Technology Co., Ltd. (“Daqo Sailfar”) | An affiliated company which is 100% held by Daqo Group | |
| Jiangsu Daquan High Voltage Switchgear Co., Ltd.( “Jiangsu Daquan High Voltage”) |
An affiliated company which is 75% held by Daqo Group
| |
| Jiangsu Daqo Kai-fan Electric Co., Ltd. ( “Jiangsu Daqo Kai-fan”) | An affiliated company which is 100% held by Daqo Group | |
| Zhenjiang Electric Equipment Co., Ltd. ( “Zhenjiang Electric”) | An affiliated company which is 100% held by Daqo Group | |
| Jiangsu Daqo ETE Electronic Systerm Co., Ltd.(“Jiangsu Daqo ETE Electronic”) | An affiliated company which is 75% held by Daqo Group | |
| Jiangsu Daquan Kai-fan Switchgear Co., Ltd (“Jiangsu Daquan Kai-fan Switchgear”) | An affiliated company which is 100% held by Daqo Group | |
| Nanjing Yidian Huichuang information technology Co., Ltd (“Nanjing Yidian”) | An affiliated company which is 100% held by Daqo Group |
| (2) | Related party balances: |
The balances due from related parties mainly included the amount due from Zhenjiang Daqo for sales of wafer and polysilicon. The balances are as follows:
| December 31, | ||||||||
| 2016 | 2017 | |||||||
| Amounts due from related parties | ||||||||
| Zhenjiang Daqo | $ | 1,449,824 | $ | 8,585,337 | ||||
| Others | 78,888 | 412,102 | ||||||
| Total | $ | 1,528,712 | $ | 8,997,439 | ||||
| F-36 |
DAQO NEW ENERGY CORP.
NOTES TO CONSOLIDATED FINANCIAL STATEMENTS—(Continued)
FOR THE YEARS ENDED DECEMBER 31, 2015, 2016 AND 2017
(In U.S. dollars, except share and per share data)
The balances due to related parties mainly included payables to Chongqing Daqo Tailai and Nanjing Daqo Transformer for purchases of machines for polysilicon expansion, and payables to Daqo New Material for rental expenses as of December 31, 2017.
The balances are payable on demand and are as follows:
| December 31, | ||||||||
| 2016 | 2017 | |||||||
| Amounts due to related parties | ||||||||
| Daqo Group | $ | 15,076,133 | $ | 6,075 | ||||
| Daqo New Material | 8,323,271 | 6,014,190 | ||||||
| Xinjiang Daqo Investment | 79,197 | 84,541 | ||||||
| Chongqing Daqo Tailai | 2,107,488 | 494,954 | ||||||
| Nanjing Daqo Transformer | 1,022,075 | 168,774 | ||||||
| Others | 221,441 | 1,364 | ||||||
| Total | $ | 26,829,605 | $ | 6,769,898 | ||||
| F-37 |
DAQO NEW ENERGY CORP.
NOTES TO CONSOLIDATED FINANCIAL STATEMENTS—(Continued)
FOR THE YEARS ENDED DECEMBER 31, 2015, 2016 AND 2017
(In U.S. dollars, except share and per share data)
The transactions with Daqo Group and its subsidiaries were as follows:
| Transaction | Year Ended December 31, | |||||||||||||
| Name of Related parties | Nature | 2015 | 2016 | 2017 | ||||||||||
| Daqo Group | Proceeds from interest free loans | 15,043,550 | — | 2,696,513 | ||||||||||
| Repayment of interest free loans | 20,217,257 | 10,974,807 | 2,696,513 | |||||||||||
| Repayment of interest bearing loan | — | 15,059,000 | 15,495,451 | |||||||||||
| Interest charged | — | 850,380 | 440,368 | |||||||||||
| Rental expense | — | 27,997 | 37,756 | |||||||||||
| Zhenjiang Daqo | Sales | 11,111,239 | 11,194,197 | 13,442,273 | ||||||||||
| Daqo Solar | Sales | 783,705 | — | — | ||||||||||
| Proceeds from interest free loans | 127,060,826 | 60,300,896 | 40,089,689 | |||||||||||
| Repayment of interest free loans | 151,990,672 | 68,766,506 | 40,388,195 | |||||||||||
| Nanjing Daqo | Proceeds from interest free loans | 13,456,861 | — | — | ||||||||||
| Repayment of interest free loans | 13,456,861 | — | — | |||||||||||
| Xinjiang Daqo Investment | Proceeds from interest free loans | 72,946,700 | 56,270,085 | 14,356,000 | ||||||||||
| Repayment of interest free loans | 73,252,506 | 38,715,449 | 14,356,000 | |||||||||||
| Daqo New Material | Proceeds from interest free loans | 11,082,241 | 9,607,344 | 6,029,877 | ||||||||||
| Repayment of interest free loans | 11,285,114 | 12,262,592 | 10,818,493 | |||||||||||
| Purchase-Fixed assets | — | — | 7,390,693 | |||||||||||
| Rental expense | 1,050,661 | 993,894 | 976,800 | |||||||||||
| Chongqing Daqo Tailai | Purchase-Fixed assets | 375,528 | 3,534,248 | 715,361 | ||||||||||
| Purchase-Raw material | 9,938 | — | — | |||||||||||
| Income from disposal of fixed assets | 6,458 | — | — | |||||||||||
| Proceeds from interest free loans | 6,367,640 | 222,517 | — | |||||||||||
| Repayment of interest free loans | 6,367,640 | 2,684,783 | — | |||||||||||
| Others subsidiaries under Daqo Group | Repayment of interest free loans | 5,296 | — | — | ||||||||||
| Purchase-Fixed assets | 3,488,330 | 2,120,768 | 80,240 | |||||||||||
| Purchase-Raw material | 22,817 | 129,219 | 17,651 | |||||||||||
| Total | Sales | $ | 11,894,944 | $ | 11,194,197 | $ | 13,442,273 | |||||||
| Income from disposal of fixed assets | $ | 6,458 | $ | — | $ | — | ||||||||
| Purchase-Fixed assets | $ | 3,863,858 | $ | 5,655,016 | $ | 8,186,294 | ||||||||
| Purchase-Raw material | $ | 32,755 | $ | 129,219 | $ | 17,651 | ||||||||
| Rental expense | $ | 1,050,661 | $ | 1,021,891 | $ | 1,014,556 | ||||||||
| Interest expense | $ | — | $ | 850,380 | 440,368 | |||||||||
| Proceeds from related parties loans | $ | 245,957,818 | $ | 126,400,842 | $ | 63,172,079 | ||||||||
| Repayment of related parties loans | $ | 276,575,346 | $ | 148,463,137 | $ | 83,754,652 | ||||||||
| F-38 |
DAQO NEW ENERGY CORP.
NOTES TO CONSOLIDATED FINANCIAL STATEMENTS—(Continued)
FOR THE YEARS ENDED DECEMBER 31, 2015, 2016 AND 2017
(In U.S. dollars, except share and per share data)
16. EARNINGS PER SHARE
The calculation of earnings per share is as follows:
| Year ended December 31, | ||||||||||||
| 2015 | 2016 | 2017 | ||||||||||
| Numerator used in basic and diluted earnings per share: | ||||||||||||
| Net income attributable to Daqo New Energy Corp. ordinary shareholders—basic and diluted | $ | 12,956,889 | $ | 43,493,756 | $ | 92,841,128 | ||||||
| Denominator used in basic and diluted earnings per share: | ||||||||||||
| Weighted average number of ordinary shares outstanding used in computing earnings per share-basic | 258,015,851 | 261,742,244 | 265,070,961 | |||||||||
| Plus: Dilutive effects of share options | 3,396,082 | 3,075,511 | 6,020,839 | |||||||||
| Dilutive effects of RSUs | - | - | 1,834,519 | |||||||||
| Weighted average number of ordinary shares outstanding used in computing earnings per share—diluted | 261,411,933 | 264,817,755 | 272,926,319 | |||||||||
| NET INCOME ATTRIBUTABLE TO DAQO NEW ENERGY CORP. PER ORDINARY SHARE—Basic | $ | 0.05 | $ | 0.17 | $ | 0.35 | ||||||
| NET INCOME ATTRIBUTABLE TO DAQO NEW ENERGY CORP. PER ORDINARY SHARE—Diluted | $ | 0.05 | 0.16 | 0.34 | ||||||||
Outstanding number of share options totaling of 12,563,541, 10,899,141 and 263,900 were excluded from the computation of diluted earnings per share as their effects would have been anti-dilutive for the years ended December 31, 2015, 2016 and 2017, respectively.
17. COMMITMENTS AND CONTINGENCIES
Capital commitments
As of December 31, 2017, commitments outstanding for the purchases of property, plant and equipment approximated $39.9 million, which will be due subsequent to receipt of the purchases.
Lease commitments
The operating lease commitments as of December 31, 2017 were principally for the housing rental from Daqo New Material and Daqo Group. The lease expense was $1,050,661, $1,024,970 and $1,014,556 for the years ended December 31, 2015, 2016 and 2017, respectively.
Future minimum lease payments are as follows:
| Year ending December 31 | ||||
| 2018 | $ | 1,058,012 | ||
| 2019 | 11,925 | |||
| Total | $ | 1,069,937 | ||
| F-39 |
DAQO NEW ENERGY CORP.
NOTES TO CONSOLIDATED FINANCIAL STATEMENTS—(Continued)
FOR THE YEARS ENDED DECEMBER 31, 2015, 2016 AND 2017
(In U.S. dollars, except share and per share data)
18. SEGMENT INFORMATION
The Group’s chief operating decision maker has been identified as the chief executive officer, who reviews consolidated results when making decisions about allocating resources and assessing performance of the Group. Following the further expansion of module business and entering into the wafer business in 2011, the Group operated and viewed its performance in three segments. However, on September 28, 2012, the module business was disposed. Therefore, only two segments remained in 2015, 2016 and 2017. Furthermore, the Group's chief operating decision maker is not provided with asset information by segment. As such, no asset information by segment is presented. The following tables summarized the Group’s revenue and cost generated from different revenue streams. Substantially all of its revenues are derived in the PRC. The Group’s long lived assets and operations are substantially all located in the PRC.
The following table summarizes the Group’s revenue by segment:
| Year ended December 31, 2015 | Polysilicon | Wafer | Elimination | Total | ||||||||||||
| Revenue – External | $ | 125,916,457 | 56,124,511 | - | 182,040,968 | |||||||||||
| Revenue - Intersegment | 23,485,364 | - | (23,485,364 | ) | - | |||||||||||
| Total Revenue | 149,401,821 | 56,124,511 | (23,485,364 | ) | 182,040,968 | |||||||||||
| Total Cost of revenue | 121,193,840 | 46,763,308 | (23,466,065 | ) | 144,491,083 | |||||||||||
| Gross Profit | $ | 28,207,981 | 9,361,203 | (19,299 | ) | 37,549,885 | ||||||||||
| Year ended December 31, 2016 | Polysilicon | Wafer | Elimination | Total | ||||||||||||
| Revenue – External | $ | 167,530,309 | 61,570,902 | - | 229,101,211 | |||||||||||
| Revenue - Intersegment | 28,688,793 | - | (28,688,793 | ) | - | |||||||||||
| Total Revenue | 196,219,102 | 61,570,902 | (28,688,793 | ) | 229,101,211 | |||||||||||
| Total Cost of revenue | 125,320,832 | 52,413,007 | (29,061,146 | ) | 148,672,693 | |||||||||||
| Gross Profit | $ | 70,898,270 | 9,157,895 | 372,353 | 80,428,518 | |||||||||||
| Year ended December 31, 2017 | Polysilicon | Wafer | Elimination | Total | ||||||||||||
| Revenue – External | $ | 294,073,020 | 58,779,131 | - | 352,852,151 | |||||||||||
| Revenue - Intersegment | 29,126,674 | - | (29,126,674 | ) | - | |||||||||||
| Total Revenue | 323,199,694 | 58,779,131 | (29,126,674 | ) | 352,852,151 | |||||||||||
| Total Cost of revenue | 181,595,921 | 55,992,555 | (28,209,010 | ) | 209,379,466 | |||||||||||
| Gross Profit | $ | 141,603,773 | 2,786,576 | (917,664 | ) | 143,472,685 | ||||||||||
The following customers individually accounted for 10% or more of revenues:
| Year ended December 31, | ||||||||||||||||
| 2015 | 2016 | 2017 | ||||||||||||||
| Customer A | $ | 35,094,472 | $ | 48,739,001 | $ | 43,258,204 | ||||||||||
| Customer B | * | * | $ | 39,219,089 | ||||||||||||
| Customer C | $ | 18,125,773 | * | $ | 39,099,677 | |||||||||||
| Customer D | $ | 20,465,558 | * | * | ||||||||||||
| Customer E | $ | 19,595,911 | * | * | ||||||||||||
| * | Represents less than 10% |
Total sales to the Group’s largest customers whose sales constitute over 10% of revenue accounted for approximately 51%, 21% and 34% of revenues for the years ended December 31, 2015, 2016 and 2017, respectively. The Group is substantially dependent upon the continued participation of these customers in order to maintain its total revenues. Significantly reduction in the Group’s dependence on these customers is likely to take time and there can be no assurance that the Group will succeed in reducing such dependence.
| F-40 |
FINANCIAL STATEMENT SCHEDULE I
DAQO NEW ENERGY CORP.
FINANCIAL INFORMATION OF PARENT COMPANY
BALANCE SHEET
DECEMBER 31, 2016 AND 2017
(In U.S. dollars, except share and per share data)
| December 31, | ||||||||
| 2016 | 2017 | |||||||
| ASSETS | ||||||||
| CURRENT ASSETS | ||||||||
| Cash and cash equivalents | $ | 2,943,502 | $ | 4,536,809 | ||||
| Prepaid expenses and other current assets | 223,559 | 700,064 | ||||||
| Total current assets | 3,167,061 | 5,236,873 | ||||||
| Investments in subsidiaries | 267,322,549 | 386,872,629 | ||||||
| TOTAL ASSETS | $ | 270,489,610 | $ | 392,109,502 | ||||
| LIABILITIES AND SHAREHOLDERS’ EQUITY | ||||||||
| CURRENT LIABILITIES | ||||||||
| Accrued expenses and other current liabilities | $ | 389,849 | $ | 373,915 | ||||
| Total current liabilities | 389,849 | 373,915 | ||||||
| EQUITY | ||||||||
| Ordinary shares ($0.0001 par value 500,000,000 shares authorized as of December 31, 2016 and 2017; 279,214,103 and 279,214,103 shares issued as of December 31, 2016 and 2017, respectively and 262,956,278 and 270,918,702 shares outstanding as of December 31, 2016 and 2017, respectively) | 26,532 | 27,328 | ||||||
| Additional paid in capital | 240,111,533 | 247,076,428 | ||||||
| Retained earnings | 40,432,352 | 133,273,480 | ||||||
| Accumulated other comprehensive income (loss) | (8,721,820 | ) | 13,107,187 | |||||
| Treasury shares | (1,748,836 | ) | (1,748,836 | ) | ||||
| Total shareholders’ equity | 270,099,761 | 391,735,587 | ||||||
| TOTAL LIABILITIES AND EQUITY | $ | 270,489,610 | $ | 392,109,502 | ||||
| F-41 |
FINANCIAL STATEMENT SCHEDULE I
DAQO NEW ENERGY CORP.
FINANCIAL INFORMATION OF PARENT COMPANY
STATEMENT OF OPERATIONS AND COMPREHENSIVE INCOME (LOSS)
FOR THE YEARS ENDED DECEMBER 31, 2015, 2016 AND 2017
(In U.S. dollars)
| Year ended December 31, | ||||||||||||
| 2015 | 2016 | 2017 | ||||||||||
| OPERATING EXPENSES | ||||||||||||
| General and administrative | $ | (4,142,634 | ) | $ | (3,175,482 | ) | $ | (4,987,820 | ) | |||
| Total operating expenses | (4,142,634 | ) | (3,175,482 | ) | (4,987,820 | ) | ||||||
| LOSS FROM OPERATION | (4,142,634 | ) | (3,175,482 | ) | (4,987,820 | ) | ||||||
| Interest income | 1,641 | - | - | |||||||||
| Exchange gain | 118,679 | - | - | |||||||||
| Income tax expense | (108,992 | ) | - | - | ||||||||
| NET LOSS BEFORE SHARE OF RESULTS OF SUBSIDIARIES | (4,131,306 | ) | (3,175,482 | ) | (4,987,820 | ) | ||||||
| Equity in earnings of subsidiaries | 17,088,195 | 46,669,238 | 97,828,948 | |||||||||
| Net income attributable to Daqo New Energy Corporation ordinary shareholders | $ | 12,956,889 | $ | 43,493,756 | $ | 92,841,128 | ||||||
| Other comprehensive (loss) income: | ||||||||||||
| Foreign currency translation adjustments | (11,256,870 | ) | (17,502,133 | ) | 21,829,007 | |||||||
| Total other comprehensive income (loss): | (11,256,870 | ) | (17,502,133 | ) | 21,829,007 | |||||||
| Comprehensive income | $ | 1,700,019 | $ | 25,991,623 | $ | 114,670,135 | ||||||
| F-42 |
FINANCIAL STATEMENT SCHEDULE I
DAQO NEW ENERGY CORP.
FINANCIAL INFORMATION OF PARENT COMPANY
STATEMENT OF CHANGES IN EQUITY
FOR YEARS ENDED DECEMBER 31, 2015, 2016 AND 2017
(In U.S. dollars, except share and per share data)
| Ordinary shares | Treasury shares | Additional capital | Retained (accumulated | Accumulated other | Total | |||||||||||||||||||||||
| Number | $ | |||||||||||||||||||||||||||
| Balance at January 1, 2015 | 223,577,853 | 22,358 | (398,672 | ) | 203,125,494 | (16,018,293 | ) | 20,037,183 | 206,768,070 | |||||||||||||||||||
| Net income | 12,956,889 | 12,956,889 | ||||||||||||||||||||||||||
| Other comprehensive loss | (11,256,870 | ) | (11,256,870 | |||||||||||||||||||||||||
| Share-based compensation | 3,687,951 | 3,687,951 | ) | |||||||||||||||||||||||||
| Option exercised | 1,115,625 | 112 | 275,671 | 275,783 | ||||||||||||||||||||||||
| Follow-on equity offering, net of issuance costs of $2,033,041 | 38,500,000 | 3,850 | 27,993,109 | 27,996,959 | ||||||||||||||||||||||||
| Repurchase of ordinary shares | (2,356,900 | ) | (1,350,164 | ) | (1,350,164 | |||||||||||||||||||||||
| Capital injection from non-controlling Shareholders | 1,275,845 | 1,275,845 | ||||||||||||||||||||||||||
| Balance at December 31, 2015 | 260,836,578 | 26,320 | (1,748,836 | ) | 236,358,070 | (3,061,404 | ) | 8,780,313 | 240,354,463 | |||||||||||||||||||
| Net income | 43,493,756 | 43,493,756 | ) | |||||||||||||||||||||||||
| Other comprehensive loss | (17,502,133 | ) | (17,502,133 | ) | ||||||||||||||||||||||||
| Share-based compensation | 2,702,089 | 2,702,089 | ||||||||||||||||||||||||||
| Option exercises | 2,119,700 | 212 | 1,051,374 | 1,051,586 | ||||||||||||||||||||||||
| Balance at December 31, 2016 | 262,956,278 | 26,532 | (1,748,836 | ) | 240,111,533 | 40,432,352 | (8,721,820 | ) | 270,099,761 | |||||||||||||||||||
| Net income | 92,841,128 | 92,841,128 | ||||||||||||||||||||||||||
| Other comprehensive income | 21,829,007 | 21,829,007 | ||||||||||||||||||||||||||
| Share-based compensation | 4,200,273 | 4,200,273 | ||||||||||||||||||||||||||
| Options exercised | 5,596,050 | 560 | 2,764,858 | 2,765,418 | ||||||||||||||||||||||||
| Restricted shares vested | 2,366,374 | 236 | (236 | ) | ||||||||||||||||||||||||
| Balance at December 31, 2017 | 270,918,702 | 27,328 | (1,748,836 | ) | 247,076,428 | 133,273,480 | 13,107,187 | 391,735,587 | ||||||||||||||||||||
| F-43 |
FINANCIAL STATEMENT SCHEDULE I
DAQO NEW ENERGY CORP.
FINANCIAL INFORMATION OF PARENT COMPANY
STATEMENT OF CASH FLOWS
FOR THE YEARS ENDED DECEMBER 31, 2015, 2016 AND 2017
(In U.S. dollars)
| Year ended December 31, | ||||||||||||
| 2015 | 2016 | 2017 | ||||||||||
| OPERATING ACTIVITIES | ||||||||||||
| Net income | $ | 12,956,889 | $ | 43,493,756 | $ | 92,841,128 | ||||||
| Equity in earnings of subsidiaries | (17,088,195 | ) | (46,669,238 | ) | (97,828,948 | ) | ||||||
| Share-based compensation | 3,687,951 | 2,702,089 | 4,200,273 | |||||||||
| Adjustments to reconcile net income to net cash used in operating activities: | ||||||||||||
| Prepaid expenses and other current assets | 11,099 | (29,976 | ) | 50,059 | ||||||||
| Changes in other current liabilities | (96,166 | ) | (58,806 | ) | 91,941 | |||||||
| Amount due to a related party | (286,526 | ) | — | — | ||||||||
| Income tax payable | 108,992 | (108,992 | ) | — | ||||||||
| Net cash used in operating activities | (705,956 | ) | (671,167 | ) | (645,547 | ) | ||||||
| INVESTING ACTIVITIES | ||||||||||||
| Capital contributed to subsidiaries | (33,256,774 | ) | — | — | ||||||||
| Disposition of minority interest in subsidiary | 5,110,085 | — | — | |||||||||
| Net cash used in investing activities | (28,146,689 | ) | — | — | ||||||||
| FINANCING ACTIVITIES | ||||||||||||
| Repurchase of ordinary shares | (1,350,164 | — | — | |||||||||
| Proceeds from follow-on equity offering | 30,030,000 | — | — | |||||||||
| Insurance cost for follow-on equity offering | (2,033,041 | ) | — | — | ||||||||
| Proceeds from options exercised | 275,783 | 1,051,586 | 2,238,854 | |||||||||
| Net cash provided by financing activities | 26,922,578 | 1,051,586 | 2,238,854 | |||||||||
| NET (DECREASE) INCREASE IN CASH AND CASH EQUIVALENTS | (1,930,067 | ) | 380,419 | 1,593,307 | ||||||||
| CASH AND CASH EQUIVALENTS AT BEGINNING OF PERIOD | 4,493,150 | 2,563,083 | 2,943,502 | |||||||||
| CASH AND CASH EQUIVALENTS AT END OF PERIOD | $ | 2,563,083 | $ | 2,943,502 | $ | 4,536,809 | ||||||
| F-44 |
FINANCIAL STATEMENT SCHEDULE I
DAQO NEW ENERGY CORP.
FINANCIAL INFORMATION OF PARENT COMPANY
Notes to Financial Information of Parent Company
| 1. | Schedule I has been provided pursuant to the requirements of Rule 12-04(a) and 5-04(c) of Regulation S-X, which require condensed financial information as to the financial position, changes in financial position and results of operations of a parent company as of the same dates and for the same periods for which audited consolidated financial statements have been presented when the restricted net assets of consolidated subsidiaries exceed 25 percent of consolidated net assets as of the end of the most recently completed fiscal year. |
| 2. | The condensed financial information of Daqo New Energy Corp has been prepared using the same accounting policies as set out in the accompanying consolidated financial statements except that the equity method has been used to account for investments in its subsidiaries. |
| 3. | Certain information and footnote disclosures normally included in financial statements prepared in accordance with U.S. GAAP have been condensed or omitted. The footnote disclosures contain supplemental information relating to the operations of the Company and, as such, these statements should be read in conjunction with the notes to the Consolidated Financial Statements of the Group. No dividend was paid by the Company's subsidiaries to their parent company in 2017. |
| 4. | As of December 31, 2017, there were no material contingencies, significant provisions of long-term obligations, and mandatory dividend or redemption requirements of redeemable shares or guarantees of the Company, except for those which have been separately disclosed in the Consolidated Financial Statement, if any. |
* * * * * *
| F-45 |