Please wait
Table of Contents

Filed Pursuant to Rule 424(b)(4)
Registration No. 333-259028

 

 

10,000,000 SHARES

 

 

LOGO

Common Stock

 

 

This is the initial public offering of shares of common stock of a.k.a. Brands Holding Corp. We are offering 10,000,000 shares of our common stock. No public market currently exists for our common stock. The initial public offering price is $11.00 per share.

We have been approved to list our common stock on the New York Stock Exchange (“NYSE”) under the symbol “AKA.”

We are an “emerging growth company” as the term is used in the Jumpstart Our Business Startups Act of 2012 (the “JOBS Act”) and, as such, have elected to comply with certain reduced public company reporting requirements. See “Prospectus Summary—Implications of Being an Emerging Growth Company.”

Immediately after this offering, assuming an offering size as set forth above, our principal stockholder, a holding company controlled by Summit Partners, will own approximately 57.4% of our outstanding common stock (or 56.7% of our outstanding common stock if the underwriters’ over-allotment option is exercised in full). As a result, we expect to be a “controlled company” within the meaning of the corporate governance standards of the NYSE. See “Management—Corporate Governance—Controlled Company Status.”

At our request, an affiliate of BofA Securities, Inc., a participating underwriter, has reserved for sale, at the initial public offering price, up to 700,000 of the shares offered by this prospectus for sale to some of our directors, officers, employees, business associates and related persons. See “Underwriting.”

 

 

Investing in our common stock involves risks. See “Risk Factors” beginning on page 21.

 

     Per
Share
     Total  

Price to the public

   $ 11.00000      $ 110,000,000  

Underwriting discounts and commissions

   $ 0.66000      $ 6,600,000  

Proceeds, before expenses, to us

   $ 10.34000      $ 103,400,000  

We have granted the underwriters a 30-day option to purchase up to 1,500,000 additional shares from us at the initial public offering price, less underwriting discounts and commissions. See “Underwriting” beginning on page 180 for additional information regarding underwriting compensation.

Neither the Securities and Exchange Commission (the “SEC”) nor any state securities commission has approved or disapproved of these securities or determined if this prospectus is truthful or complete. Any representation to the contrary is a criminal offense.

The underwriters expect to deliver the shares on or about September 24, 2021.

 

 

Joint Lead Book-running Managers

 

BofA Securities

  Credit Suisse   Jefferies

Book-running Managers

Wells Fargo Securities   KeyBanc Capital Markets    Cowen    Piper Sandler    Truist Securities

 

Co-Managers

Telsey Advisory Group   Loop Capital Markets

Prospectus dated September 21, 2021.


Table of Contents

LOGO

WE ARE a.k.a. BRANDS BETTER TOGETHER a.k.a.

 


Table of Contents

LOGO

OUR VISION
TO BE THE GLOBAL LEADER IN DIRECT-TO-CONSUMER FASHION FOR THE NEXT GENERATION OF CONSUMERS THROUGH A DYNAMIC PLATFORM OF DIGITALLY NATIVE BRANDS. a.k.a.

 


Table of Contents

LOGO

OUR MISSION TO ACCELERATE THE GROWTH OF OUR BRANDS SO THEY CAN FOCUS ON THE CUSTOMER. a.k.a.

 


Table of Contents

LOGO

Princess polly Culture kings REBDOLLS Petal+pup BETTER TOGETHER a.k.a.

 


Table of Contents

LOGO

Princess polly FASHION FORWARD, “WEAR IT THIS WEEKEND” a.k.a.

 


Table of Contents

LOGO

Culture kings ULTIMATE STREETWEAR DESTINATION a.k.a.

 


Table of Contents

LOGO

Petal+pup TREND-DRIVEN, FLIRTY, EVENT-READY, VERSATILE

 


Table of Contents

LOGO

REBDOLLS UNAPOLOGETIC FASHION FOR ALL SIZES

 


Table of Contents

TABLE OF CONTENTS

 

     Page  

PROSPECTUS SUMMARY

     1  

SUMMARY HISTORICAL FINANCIAL AND OTHER DATA

     17  

RISK FACTORS

     21  

FORWARD-LOOKING STATEMENTS

     66  

USE OF PROCEEDS

     68  

CAPITALIZATION

     70  

DIVIDEND POLICY

     72  

REORGANIZATION TRANSACTIONS

     73  

DILUTION

     77  

UNAUDITED PRO FORMA FINANCIAL INFORMATION

     79  

MANAGEMENT’S DISCUSSION AND ANALYSIS OF FINANCIAL CONDITION AND RESULTS OF OPERATIONS

     104  

BUSINESS

     132  

MANAGEMENT

     149  

EXECUTIVE COMPENSATION

     155  

PRINCIPAL STOCKHOLDERS

     167  

CERTAIN RELATIONSHIPS AND RELATED PARTY TRANSACTIONS

     169  

DESCRIPTION OF CAPITAL STOCK

     172  

DESCRIPTION OF INDEBTEDNESS

     178  

SHARES ELIGIBLE FOR FUTURE SALE

     182  

MATERIAL U.S. FEDERAL INCOME TAX CONSIDERATIONS FOR NON-U.S. HOLDERS

     185  

UNDERWRITING

     189  

LEGAL MATTERS

     200  

EXPERTS

     200  

WHERE YOU CAN FIND MORE INFORMATION

     200  

INDEX TO FINANCIAL STATEMENTS

     F-1  

Neither we nor the underwriters have authorized anyone to provide any information other than that contained or incorporated by reference in this prospectus or in any free writing prospectus prepared by or on behalf of us or to which we have referred you. We and the underwriters take no responsibility for, and can provide no assurance as to the reliability of, any other information that others may give you. We are offering to sell, and seeking offers to buy, shares of common stock only in jurisdictions where offers and sales are permitted. The information contained in this prospectus is accurate only as of the date of this prospectus, regardless of the time of delivery of this prospectus or of any sale of the common stock. Our business, financial condition, results of operations and prospects may have changed since such date.

For investors outside of the United States, neither we nor any of the underwriters have done anything that would permit this offering or possession or distribution of this prospectus in any jurisdiction where action for that purpose is required, other than in the United States. You are required to inform yourselves about, and to observe any restrictions relating to, this offering and the distribution of this prospectus outside of the United States.

Through and including October 16, 2021 (the 25th day after the date of this prospectus), all dealers effecting transactions in these securities, whether or not participating in this offering, may be required to deliver a prospectus. This is in addition to a dealer’s obligation to deliver a prospectus when acting as an underwriter and with respect to an unsold allotment or subscription.

 

i


Table of Contents

MARKET, RANKING AND OTHER INDUSTRY DATA

Unless otherwise indicated, information in this prospectus concerning economic conditions, our industry, our markets and our competitive position is based on a variety of sources, including information from independent industry analysts and publications, as well as our own estimates and research. Industry publications include Euromonitor, IBIS World and Invesp, among others.

Our estimates are derived from publicly available information released by third-party sources, data from our internal research and our knowledge of our industry, which we believe to be reasonable.

The independent industry publications used in this prospectus were not prepared on our behalf, and the sources cited in this prospectus have not consented to the inclusion of any data from their reports, nor have we sought consent from any of them. While we are not aware of any misstatements regarding any information presented in this prospectus, forecasts, assumptions, expectations, beliefs, estimates and projections involve risk and uncertainties and are subject to change based on various factors, including those described under the headings “Forward-Looking Statements” and “Risk Factors.”

TRADEMARKS

Princess Polly, Petal & Pup, Rebdolls and Culture Kings and other trademarks or service marks of a.k.a. Brands used in this prospectus are our property. All trade names, trademarks and service marks of other companies used in this prospectus are the property of the respective holders.

BASIS OF PRESENTATION

This prospectus contains the audited financial statements of our predecessor, Excelerate, L.P., for accounting purposes for the years ended December 31, 2019 and 2020, and unaudited condensed consolidated financial statements for the six months ended June 30, 2020 and 2021. Through a series of transactions that we will engage in immediately prior to the completion of this offering, which we refer to collectively as the “Reorganization Transactions,” a.k.a. Brands Holding Corp., through wholly-owned subsidiaries, will own all of the equity interests of Excelerate, L.P.

Our consolidated financial statements and other financial information include the financial results of all of our brands from the date we acquired each of our brands. We acquired 100% of the equity interests in Princess Polly Group Pty Ltd (“Princess Polly”) on July 2, 2018; we acquired a 66.67% interest in P&P Holdings GP, Limited (“Petal and Pup”) on August 9, 2019; and we acquired 100% of the equity interests in Rebdolls, Inc. (“Rebdolls”) on December 6, 2019. Our consolidated financial statements and other financial information in this prospectus include the consolidated financial results of each of those brands from the date of consummating the relevant acquisition and for all subsequent periods. As a result, (i) our consolidated financial statements and other financial information included in this prospectus for the year ended December 31, 2019 reflect the financial results of Princess Polly for the full year, as well as the financial results for each of Petal & Pup and Rebdolls for the portion of the year following the relevant date of acquisition, and (ii) our consolidated financial statements and other financial information included in this prospectus for the year ended December 31, 2020 reflect the financial results of Princess Polly, Petal & Pup and Rebdolls for the full year. In addition, we acquired a 55% interest in Culture Kings Group Pty Ltd (“Culture Kings”) on March 31, 2021. From the date of our acquisition of Culture Kings, its financial results have been included in our condensed consolidated financial results as of and for the six months ended June 30, 2021. The financial results of Culture Kings are not reflected in our consolidated financial results for any other period. However, we have included in this prospectus unaudited pro forma financial information which reflects, among other things, the pro forma impact of our acquisition of an interest in Culture Kings for the year ended December 31, 2020 and the six months ended June 30, 2021, reflecting the financial results of Culture Kings as if we had acquired it on January 1, 2020. See “Unaudited Pro Forma Consolidated Financial Information” for more information.

 

ii


Table of Contents

The unaudited pro forma consolidated financial data of a.k.a. Brands Holding Corp. presented in this prospectus have been derived from the application of pro forma adjustments to the historical consolidated financial statements of Excelerate, L.P. and its subsidiaries and Culture Kings Group Pty Ltd and its subsidiaries included elsewhere in this prospectus. These pro forma adjustments give effect to the Culture Kings’ Acquisition Adjustments, the Reorganization Transactions and the Financing Transactions as if each of these transactions had occurred on January 1, 2020 for both our unaudited pro forma consolidated statement of income for the year ended December 31, 2020, and for the six months ended June 30, 2021. See “Unaudited Pro Forma Consolidated Financial Data” for a complete description of the adjustments and assumptions underlying the unaudited pro forma consolidated financial data included in this prospectus.

References in this prospectus to (i) Pro Forma 2020, Pro Forma June 30, 2021, Pro Forma or “on a pro forma basis” are to our unaudited pro forma results of operations for the year ended December 31, 2020 or the six months ended June 30, 2021, as appropriate, (ii) our operating metrics on an “across a.k.a. Brands” basis assumes we owned all four of our brands for the entirety of the period presented and (iii) 2019 or 2020 are to our actual historical results of operations for the years ended December 31, 2019 and December 31, 2020, respectively. While we did not control all four of our brands until March 31, 2021, when we closed the Culture Kings Acquisition, we present certain operating and financial information across a.k.a. Brands because we believe it helps investors evaluate our operating performance, identify trends, formulate financial projections and make strategic decisions on a consolidated basis. Accordingly, we believe that the information presented across a.k.a. Brands may provide useful supplemental information to investors and others in understanding and evaluating our operating performance in the same manner as our management team.

Unless we state otherwise or the context otherwise requires, the terms “we,” “us,” “our,” “our business,” the “Company,” “a.k.a.” and similar references refer: (1) on or following the consummation of the Reorganization Transactions, including this offering, to a.k.a. Brands Holding Corp. and its consolidated subsidiaries, including Excelerate, L.P. and its consolidated subsidiaries, and (2) prior to the consummation of the Reorganization Transactions, to Excelerate, L.P. and its consolidated subsidiaries. The terms “our brands,” “across brands,” and similar references refer to Princess Polly, Petal & Pup, Rebdolls and Culture Kings, collectively. The term “our Principal Stockholder” refers to New Excelerate, L.P., an entity formed in anticipation of this offering that is controlled by funds associated with Summit Partners LP, or “Summit.”

We are a newly formed holding company that has had no business transactions or activities to date and had no assets or liabilities during the periods presented in this prospectus. Upon consummation of this offering and the application of net proceeds therefrom, our sole asset will be equity interests in Excelerate, L.P. Excelerate, L.P. is the predecessor of the issuer for financial reporting purposes and accordingly, this prospectus contains the historical financial statements of Excelerate, L.P. and its consolidated subsidiaries. a.k.a. Brands Holding Corp. will be the reporting entity following this offering.

 

iii


Table of Contents

PROSPECTUS SUMMARY

The following summary highlights information included elsewhere in this prospectus. This summary does not contain all of the information you should consider before investing in our common stock. You should read this entire prospectus carefully. In particular, you should read the sections entitled “Risk Factors” and “Management’s Discussion and Analysis of Financial Condition and Results of Operations” and the consolidated financial statements and accompanying notes included elsewhere in this prospectus before making an investment decision. Some of the statements in this prospectus constitute forward-looking statements. See “Forward-Looking Statements.” Our actual results may differ significantly from the results discussed in the forward-looking statements as a result of certain factors, including those set forth in “Risk Factors” and “Forward-Looking Statements.”

Our Company

Our Vision

To be the global leader in direct-to-consumer fashion for the next generation of consumers through a dynamic platform of digitally native brands.

Who We Are

Founded in 2018, a.k.a. is a portfolio of online fashion brands built for the next generation of consumers. Beginning with the acquisition of Princess Polly in 2018, we created a portfolio of complementary brands with our subsequent acquisitions of Petal & Pup and Rebdolls in 2019 and Culture Kings in 2021. We target high potential brands that we believe are at a pivotal point in their growth trajectory that we can add to our platform. Leveraging our proven track-record, industry expertise and operational synergies, we believe our brands can grow faster, reach broader audiences, achieve greater scale, and enhance their profitability. We believe we are disrupting the status quo and pioneering a new approach to fashion.

Through our portfolio of high-growth, digitally-focused global brands, we reach a broad audience across accessible price points and varied styles. Our current brands share a common focus on Millennial consumers (born between 1982 and 2000) and Gen Z consumers (born after 2000) who increasingly seek fashion inspiration on social media and primarily shop online and via mobile devices. Nimble by design, our innovative brands are launched and fueled on social media channels. They are customer-centric and have authentic relationships with their target audiences built through highly relevant social content and other digital engagement strategies. Leveraging innovative, data-driven insights, our brands introduce fresh content and high-quality merchandise daily. Our platform accelerates the growth and profitability of our existing brands, and we aim to continue expanding our portfolio. Simply put, we believe our brands are better together.


 

1


Table of Contents

LOGO

 

(1)

Reflects net sales of each brand as a percentage of net sales for Pro Forma 2020.

We Efficiently Acquire Customers Through Inspiring, Digital Content

Our brands engage with customers by releasing a stream of inspiring digital content at high frequency. We believe our content-rich narrative and authentic brand messaging drive organic traffic to our websites, efficiently generating demand, enhancing connectivity with customers and amplifying our brand communities. Our brands maintain relationships with approximately 13,000 influencers globally and utilize them to test and launch new products, gather customer feedback, increase brand awareness, and acquire new customers in a cost-effective manner. In 2020, across a.k.a. Brands, we received approximately 190 million site visits with over 70% on mobile, inspired more than 6 million followers on social media, and served more than 2.2 million active customers.

We Leverage Data-Driven Insights to Curate High-Quality, Affordable Fashion

Our brands aim to deliver constant newness and excitement by creating and curating on-trend and affordable fashion styles that customers love. We utilize real-time data and consumer insights to identify the latest trends and work with our global sourcing network and brand partners to quickly bring new, high-quality products to market. Our agile “test-and-repeat” merchandising model enables the flexibility to quickly react to customer


 

2


Table of Contents

demand and test product appeal without taking large initial inventory positions, yet still capture in-season demand. In 2020, across a.k.a. Brands we introduced 500 to 800 new styles each week.

We Drive Customer Loyalty by Creating Next-Generation Shopping Experiences

Our brands provide a seamless shopping experience for our customers – we offer fast shipping, our websites are easy to navigate with user-friendly search and checkout experiences across devices and we provide for easy returns. Additionally, our brands’ compelling merchandising strategy is anchored by a high proportion of exclusive styles that cannot be found elsewhere. More than 53% of our revenue is exclusive to a.k.a. Brands, which increases both demand and customer loyalty. Our customers’ satisfaction with the fit, quality, affordability and exclusivity of our styles is further reflected in our sales return rates across our brands, which at 11% for 2020, was well below the eCommerce average of approximately 30% according to Invesp, a consultancy specializing in conversion rate optimization.

Our Platform Creates Value by Driving Synergies Across the Portfolio

Innovation Hub and Knowledge Sharing

Our platform enables and encourages a network of cross-brand learnings to advance innovation and promote best practices – what accelerates profitable growth for one brand can accelerate profitable growth for others. Across our brands, we test and learn digital innovation and facilitate knowledge sharing and benchmarking of key performance metrics to improve growth, operational efficiency and profitability.

Operational Synergies

Our platform leverages a broad network of third-party service and technology providers, which allows us to implement the latest capabilities with limited upfront investment and quickly adopt innovations in the market. We utilize a combination of owned and third-party logistics and fulfillment assets, creating flexibility to support our high-growth brands. We customize our approach for each brand to allow for optimization and tailored growth tools, which sets us apart from other centralized platforms. For example, while we maintain a network of proven vendors across the portfolio, we allow our brands to take a tailored approach to which vendors they use. Additionally, through our a.k.a. platform and the scale it provides, we negotiate favorable rates with our vendors, providing our brands with attractive terms and enhancing overall profitability.

Deep Industry Expertise

Our brands have access to our highly-skilled leadership team, each of whom has a proven track-record and decades of experience building and scaling successful eCommerce businesses. We have deep expertise in the business of fashion, and we support our brands so they can focus on customer-facing priorities such as branding, merchandising and maintaining an authentic connection with customers.

We Promote Diversity and Practice Responsible Fashion

Our brands reflect the diversity and beauty of our customers and we continuously seek ways to expand the diversity in our brands, products and marketing. We believe diversity and sustainability align with our core value and drive better results. We operate responsibly and are committed to responsible fashion and sustainability through prioritization of transparency, fair labor practices and reduced waste.

Our Powerful Economic Model

We believe our platform is differentiated by its unique ability to attract and retain a wide range of Millennial and Gen Z consumers through authentic brand messaging and curated, on-trend fashion. In 2020, across a.k.a. Brands, we:

 

   

attracted approximately 190 million site visits, with 62% from unpaid sources


 

3


Table of Contents
   

grew our active customer base by 69% to 2.3 million, with 33% of customers being male and 67% being female

 

   

increased orders by 53% with a 14% higher average order value compared to 2019

 

   

delivered over 80% of net sales at full price

 

   

had a low sales return ratio of approximately 11%

 

   

achieved a customer lifetime value (“LTV”)/customer acquisition cost (“CAC”) ratio of approximately 8.0x for the 2017 customer cohort

We believe our robust growth and profitability validate our platform approach and asset-light business model. We grew revenue by 111% from 2019 to 2020 and achieved $385.0 million in Pro Forma net sales. We grew revenue by 167% in the six months ended June 30, 2021, as compared to the same period in the prior year and achieved $269.2 million in Pro Forma net sales. Compared to 2019, our gross margin expanded 401 basis points in 2020. For the six months ended June 30, 2021, as compared to the same period in the prior year, our gross margin expanded 72 basis points. We increased our net income by 10 times in 2020 compared to 2019 and expanded our net income margin by 545 basis points in 2020 compared to 2019 and by 217 basis points in Pro Forma 2020 compared to 2019. We increased our net income by 2 times in the six months ended June 30, 2021, as compared to the same period in the prior year, while our net income margin narrowed by 88 basis points over that same period. Additionally, we expanded our net income margin by 230 basis points in Pro Forma June 30, 2021 compared to the same period in the prior year. Our adjusted EBITDA increased by 3.3 times from 2019 to 2020 and adjusted EBITDA margin expanded by 507 basis points. Our adjusted EBITDA reached $68.0 million in Pro Forma 2020. During the six months ended June 30, 2021, as compared to the same period in the prior year, our adjusted EBITDA increased by 3.5 times and adjusted EBITDA margin expanded by 273 basis points. Our adjusted EBITDA reached $32.2 million in Pro Forma June 30, 2021.

Annual Metrics

 

LOGO


 

4


Table of Contents

Interim Metrics

LOGO

Market Opportunity

Large and Growing Global Apparel, Footwear and Accessories Industry

We primarily operate in the large and growing global apparel, footwear and accessories industry. According to Euromonitor, a consumer market research company, the industry grew to an annual spend of $1.7 trillion in retail sales in 2019 from $1.2 trillion in 2010, representing a compound annual growth rate (“CAGR”) of 3.8% over this time period. Although 2020 retail sales were negatively impacted by the COVID-19 pandemic, the industry is projected to grow at a 7.2% CAGR from 2020 to 2025. We believe the key factors driving growth within the global apparel, footwear and accessories industry include favorable demographic trends and desire for constant newness.

We operate primarily in the U.S. and in Australia, with 58% of our total 2020 revenue generated in the U.S., 31% in Australia and the remaining 11% from customers in other countries. On a pro forma basis, 36% of our total 2020 revenue was generated in the U.S., 52% in Australia and the remaining 12% from customers in other countries. During the six months ended June 30, 2021, 52% of our total revenue was generated in the U.S., 36% in Australia and the remaining 12% from customers in other countries. On a pro forma basis, during the six months ended June 30, 2021, 45% of our total revenue was generated in the U.S., 43% in Australia and the remaining 12% from customers in other countries.

Apparel, Footwear and Accessories Shopping has Been Rapidly Shifting Online

Consumers are increasingly turning to online channels to make purchases, driven by the growing Millennial and Gen Z populations and the increasing influence of social and digital media channels. According to Euromonitor, the global online apparel, footwear and accessories market was valued at approximately $300 billion in 2019, and is expected to reach $546 billion by 2025, representing a 10.5% CAGR, with online outpacing the growth of the overall market.

In the U.S., online spend was $94 billion in 2019 and is expected to reach $192 billion by 2025, representing a 12.7% CAGR. Online penetration of apparel, footwear and accessories in the U.S. has increased from 7.4% to 37.5% from 2010 to 2020, and Euromonitor expects online penetration to reach approximately 50% in the U.S. by 2025. The COVID-19 pandemic accelerated digital adoption across retail with online penetration of apparel, footwear and accessories expanding approximately 1,210 basis points in the U.S. during 2020.

Digital-Savvy Millennial and Gen Z Consumers Seeking the Next-Generation Shopping Experience

According to data from the United Nations, Millennial and Gen Z consumers, our primary target demographic today, account for 31.5% and 32.0% of the global population, respectively, making them a large


 

5


Table of Contents

and growing demographic group with significant economic influence. The U.S. Millennial and Gen Z population is also very diverse, collectively accounting for approximately 60% of the U.S. minority population. This growing, diverse base of young consumers is shaping the evolving retail landscape and differs from other generations given a focus on the following:

 

   

Aspire to express their individual style through fashion and desire for constant newness

 

   

Seek an emotional connection with brands through frequent interaction and shared values

 

   

Shop and explore content online more than older generations

 

   

Engage with social media and digital content from influencers as a primary source of inspiration and discovery to inform their purchasing decisions

 

   

Demand a higher accountability for brands and seek to purchase from companies that align with their values, including a focus on social responsibility, sustainability, diversity and inclusion.

Changing Landscape of Brands

Over the last decade, the retail landscape has transformed, as mall-based stores, including department stores and specialty retailers, rapidly shrank their footprints or closed altogether. According to IBISWorld, department store locations in the U.S. declined by approximately 30% to 6,000 in 2020 from 8,600 in 2011. We believe many specialty retailers also experienced similar declines during the same time period.

As consumers moved to online shopping platforms and as social media increasingly captured consumers’ time, a new generation of brands began building direct relationships with their customers through their own branded eCommerce sites, a limited number of owned stores and social media platforms. These direct channels allow brands to engage directly with consumers and build unique brand identities to appeal to specific target demographics. These factors, combined with Millennial and Gen Z consumers seeking brands that are unique and offer an emotional connection, gave rise to a fragmented landscape of digital and direct-to-consumer brands.

Our Competitive Strengths

Diversified Portfolio of Global Brands Targets Distinct Audiences and Expands Reach

We strategically acquired a portfolio of brands with strong followings from Millennial and Gen Z customers. The collective reach of our brands is diversified across age, gender, geography and life stage. Yet, each brand targets a distinct customer segment. The typical customer is a 15-25 year old woman for Princess Polly, a 25-34 year old woman for Petal+Pup, an 18-34 year old plus-sized diverse woman for Rebdolls, and an 18-35 year old male for Culture Kings. Each of our brands maintains their own identities and tailors brand messaging and products to their unique customer bases, creating authentic connections and driving strong loyalty. Additionally, our global footprint and portfolio of brands allows us to diversify from potential risks associated with a single brand or a single market, enhancing platform level returns.

Demand-led, Data-driven Merchandising Drives Speed to Market and Full Price Sell Through

Our brands utilize a data-driven approach to merchandising, identifying consumer demand trends and introducing relevant products with rapid speed-to-market. Princess Polly deploys a “test-and-repeat” model. The brand makes initial purchases of a wide variety of new products in small quantities, releasing a steady stream of new arrivals as frequently as daily and observes early signals on transaction and browsing patterns to quickly validate consumer appeal. This customer feedback loop allows Princess Polly to rapidly replenish successful styles and scale-back on less successful products.


 

6


Table of Contents

Additionally, our presence in the U.S. and Australia allows us to monitor seasonal trends across markets months and even seasons in advance. We leverage these data-driven demand insights from one hemisphere to inform purchasing decisions for the following season in the other hemisphere. Our on-trend offerings and short product cycle are designed to generate constant newness, encourage product discovery, drive online traffic and full price sell through. In 2020, the average order value across our brands increased by 14% and full price sell through reached 80%.

Exclusive Merchandise Drives Demand and Loyalty

The value proposition of our brands is further enhanced through a high portion of proprietary product that cannot be found elsewhere. In 2020, more than 80% of merchandise sold at Princess Polly was proprietary. In 2020, approximately 33% of products sold at Culture Kings were exclusive via owned brands, licensed brands, limited editions and brand collaborations. We believe the high portion of exclusive offerings generates excitement, anticipation and loyalty among customers, fuels traffic and demand, and differentiates us competitively. The strong margin profile of our proprietary assortment further improves overall profitability. Additionally, our brands standardize the sizing of their proprietary products and provide customers with better sizing guides, inspiring consumer confidence in quality and fit. In 2020, the sales return rate across a.k.a. Brands was 11%, which is significantly lower than the industry average. In 2020, repeat purchase rate across our brands reached approximately 60% and our gross profit margin increased by 401 basis points relative to 2019 (our gross profit margin for Pro Forma 2020 decreased by 169 basis points relative to 2019).

Inspirational Content Propels Customer Engagement and Efficient Marketing

Our brands drive continuous engagement with customers through inspiring digital content. We believe the quality and quantity of our content differentiates us from our competitors and seamlessly delivers each brand’s core messaging and lifestyle positioning. We often release fresh content as often as hourly across a variety of digital mediums. Our brands have built a community of over 6 million brand loyalists and enthusiasts across multiple social media channels, including Instagram, Facebook, YouTube and TikTok, and our brands constantly evolve their customer engagement strategy.

Additionally, our brands partner with an extensive network of approximately 13,000 influencers, focusing on those with small to medium, but loyal, followings. We believe these micro-influencers have a strong emotional connection with our brands and feature our products in a highly authentic way that resonates with customers. Our focus on micro-influencers is intended to create a more authentic relationship with customers, mitigate the risk from individual celebrity or macro influencer endorsements and achieve higher returns on our marketing investment. Our strong value proposition combined with our efficient marketing tactics results in low CAC and high LTV. In 2020, across a.k.a. Brands, approximately 60% of our brands’ website traffic originated from organic sources, which combined with highly efficient acquisition marketing spend, supports an industry-leading LTV/CAC of 8.0x in 2020 for our 2017 customer cohort.

Powerful Platform Accelerates Profitable Growth

Our brands operate independently but have access to a common platform. We believe this model balances scale-enabled cost savings with operational flexibility, facilitates low-risk innovation and accommodates the needs of our brands at various stages of growth. Our platform is designed to provide collective advantages and accelerate profitable growth in both existing and new markets and allows us to manage the brands at a portfolio level.

 

   

Asset-light, Third Party Approach Drives Operational Synergies While Maintaining Flexibility.


 

7


Table of Contents

We maintain a wide network of third-party vendors and suppliers across our sourcing, distribution, technology and back-office functions. We utilize common providers across brands where possible and leverage our scale to negotiate collectively to drive cost and operating synergies. As a result, our brands are able to focus on customer engagement, brand building and marketing, while benefiting from operational services at scaled pricing that the brands would be unlikely to obtain on a stand-alone basis. For instance, we have optimized our logistics and fulfillment capacity by utilizing a combination of owned assets and a network of third-party vendors, allowing for the flexibility to make real-time operational adjustments to accommodate the needs of our high-growth brands.

Our flexible and asset light approach to technology allows us to stay at the forefront of innovation in order to better serve our customers and enhance profitability. We aim to stay on the forefront of digital innovation by experimenting with emerging capabilities that enable our brands to enhance the customer experience in a cost-effective manner. Additionally, we are often early adopters of the latest innovations and are viewed as an attractive partner for leading technology platforms. For example, Princess Polly was an early retail partner of Afterpay, a digital payments platform that none of our major competitors were providing at the time. We consider the nimbleness enabled by our third-party technology a compelling advantage over our competitors who maintain proprietary technology platforms that require significant initial investment, ongoing maintenance costs and generally creates long lead times to deploy and leverage.

 

   

Testing of Innovative Solutions and Shared Best Practices. While our brands have broad autonomy to experiment with new operational solutions, at the platform level we identify best practices and facilitate the sharing of this knowledge across our brands. For instance, the “test-and-repeat” model first deployed by Princess Polly has been subsequently adopted by Petal & Pup. We also standardized operational and financial performance metrics so that our brands can benchmark against each other.

 

   

Highly Experienced Management Team. We assembled a highly experienced executive leadership team with deep and diversified eCommerce and fashion experience that spans from start-ups to Fortune 500 companies. Our a.k.a. Brands executive team complements our brand management teams by providing significant experience in scaling digital businesses over the last 20 years.

 

   

Next Generation Culture. While each of our brands celebrates its own unique culture and brand values, we collectively embrace a next generation mindset:

 

   

We are customer-led; focusing relentlessly on delivering a high-quality customer experience,

 

   

We move fast; executing on innovative ideas swiftly,

 

   

We are data driven; using data and analytics to make smarter decisions every day,

 

   

We are growth minded; testing and learning continuously in and across our brands,

 

   

We are diverse; celebrating and expanding the diversity of our customers and teams,

 

   

We act with integrity; when in doubt, we resort to the high standard.

Our Growth Strategies

We believe our global direct-to-consumer fashion brands are disrupting categories with strong fundamental growth and capitalizing on long-term global secular tailwinds. We intend to execute the following strategies to expand our platform and gain market share:

Grow our Brands Organically in our Existing Markets

 

   

Grow Brand Awareness and Acquire New Customers. We believe our brands are underpenetrated in the markets in which they operate. We think there is a significant opportunity to grow awareness of our brands


 

8


Table of Contents
 

due to the continued secular shift to eCommerce, as well as the strength of our highly efficient, data-driven marketing model. We intend to efficiently acquire new customers through continued investment in our content creation and social media capabilities, as well as through our network of approximately 13,000 influencers. Through continued investment in these initiatives, we believe we will be able to further appeal to our core demographic of Millennial and Gen Z consumers and increase our market share.

 

   

Leverage Customer Data Assets to Better Understand Behaviors and Optimize Value. We plan to continue to leverage customer data in a systematic way to deliver operational efficiencies across our platform, including improvements in our marketing strategies through better attribution, enhanced data-driven merchandising and product introduction, and increased retention through better customer targeting.

 

   

Expand Product Categories and Offerings. We believe our brands are well positioned to grow by expanding product styles and entering new categories that are complementary to our brands’ current offerings. Our brands aim to identify trends and evaluate opportunities leveraging digital capabilities, data-driven insights and a test-and-repeat merchandising model. We believe our brands have a significant opportunity to expand product ranges, increase average order value and broaden customer reach. We intend to continue to increase our mix of owned brands and exclusive offerings, which we believe generate significantly higher margins and drive traffic to our websites.

 

   

Continue to Increase Loyalty and Wallet Share. We intend to deepen customer relationships to improve customer retention and increase wallet share. We aim to achieve this by enhancing our user experience, improving engagement, refining our customer segmentation, increasing personalization, launching loyalty programs across our brands, and constantly introducing new styles, designer collaborations and exclusive items. Our authentic content and steady stream of new styles encourages deep connections with new and existing customers, driving customer retention rate of 63% in 2020 across a.k.a. Brands, and resulting in an attractive customer lifetime value.

 

   

Value Optimization. Our consumer-led, data-driven product innovation capabilities creates an opportunity for us to deepen customer loyalty as we better understand our customers’ purchasing behavior. We plan to leverage these insights to optimize pricing, increase average order value, or AOV, and maximize value to our brands and customers.

Grow through Acquisitions

Acquiring new brands is core to our strategy and an important driver of our future growth. Since our inception in 2018, we successfully acquired and integrated four brands onto our platform. We employ a corporate development team dedicated to the identification, evaluation and acquisition of brands, and we maintain a strong pipeline of potential targets which typically includes multiple acquisition opportunities at differing stages of evaluation.

We seek brands that diversify our portfolio through new demographics, markets or fashion tastes, which allows us to grow without cannibalizing our current brands. We seek direct-to-consumer brands with strong customer followings and a proven track record of operating profitably but need help scaling to further accelerate their growth. We look for talented and passionate teams who have proven abilities to leverage data, technology and content to grow. We seek asset-light brands that have the potential to benefit from the a.k.a. platform, expertise and resources. We look for brands with similar operating and financial characteristics as our existing brands. We are evaluating multiple opportunities for such acquisitions in the near term. We are not party to any definitive agreements in respect of any such acquisition targets, but it is possible discussions relating to one or more of these potential acquisitions could advance, and we could sign or complete any such transactions shortly after this offering.


 

9


Table of Contents

We believe our demonstrated ability to provide infrastructure, expertise and capital to scale brands and create significant value make us an attractive partner which provides us a competitive advantage in acquiring new brands.

Grow Internationally

We intend to leverage the strength of our brands and our ability to connect with customers to expand into new international markets beyond our core U.S. and Australian markets. Net sales to customers outside of the U.S. and Australia was $23 million across 196 countries and territories and represented 11% of total sales in 2020 (net sales to customers outside of the U.S. and Australia was $45 million across 209 countries and territories and represented 12% of total Pro Forma sales in 2020). For the six months ended June 30, 2021, net sales to customers outside of the U.S. and Australia was $26 million across 194 countries and territories and represented 12% of total sales (for Pro Forma June 30, 2021, net sales to customers outside of the U.S. and Australia was $33 million across 207 countries and territories and represented 12% of total Pro Forma June 30, 2021 sales).

We will continue to target markets that demonstrate strong social and digital media usage. We identified several markets in which we believe we can introduce one or more of our brands, such as expanding Culture Kings in Korea and Japan and Princess Polly in Canada, Europe and the U.K. We believe our experience growing the Princess Polly and Petal & Pup brands in the U.S. creates a proven roadmap to help us successfully introduce our brands globally.

Continue to Drive Efficiencies Across Our Platform

As we continue to scale organically and through acquisitions, we aim to improve operational performance across our platform and enhance profitability. We will also look for ways to reduce our input costs by leveraging our collective scale to negotiate improved terms with suppliers and vendors, including for raw materials, freight and shipping. As our brands grow and gain scale, we intend to invest in automation and process improvement within our operations to drive lower variable costs and improved profitability.

Summary of Risk Factors

There are a number of risks related to our business, this offering and our common stock that you should consider before you decide to participate in this offering. You should carefully consider all the information presented in the section entitled “Risk Factors” in this prospectus. Some of the principal risks related to our business include the following:

 

   

The recent coronavirus (COVID-19) global pandemic has adversely affected, and could in the future materially adversely affect, our business, financial condition and results of operations;

 

   

Rapidly-changing consumer preferences in the apparel, footwear and accessories industries expose us to the risk of lost sales, harmed customer relationships and diminished brand loyalty if we are unable to anticipate such changes;

 

   

Our future revenues and operating results will be harmed if we fail to acquire new customers, retain existing customers, and maintain average order value levels;

 

   

We face risks related to our growth strategy if we are unsuccessful in identifying brands to acquire, integrate and manage on our platform;

 

   

Our business and the success of our products could be harmed if we are unable to maintain our corporate integrity or the images and reputations of our brands;


 

10


Table of Contents
   

Economic downturns and market conditions could materially adversely affect our business, operating results, financial condition and growth prospects;

 

   

Our use of third-party suppliers and manufacturers that are primarily based in China exposes us to risks inherent in doing business there;

 

   

We face risks to our operating results if we fail to manage our inventory effectively;

 

   

We may not realize all of the anticipated benefits of the Culture Kings acquisition in the expected time frame or at all;

 

   

Changes in laws or regulations relating to data privacy and security that are applied adversely to us may have a material adverse effect on our reputation, results of operations, financial condition and cash flows; and

 

   

Changes in accounting standards and subjective assumptions, estimates and judgments by management related to complex accounting matters could significantly affect our financial results or financial condition.

After this offering, our Principal Stockholder will own approximately 57.4% of our common stock (or 56.7% of our common stock if the underwriters’ over-allotment option is exercised in full) and we will be a “controlled company” within the meaning of the rules of the NYSE. As a result, we will qualify for, and intend to rely on, exemptions from certain corporate governance requirements and you will not have the same protections as those afforded to stockholders of companies that are subject to such governance requirements.

These and other risks are more fully described in the section entitled “Risk Factors” in this prospectus. If any of these risks actually occurs, our business, financial condition, results of operations, cash flows and prospects could be materially and adversely affected. As a result, you could lose all or part of your investment in our common stock.

Refinancing of Our Existing Indebtedness

In connection with this offering, we anticipate entering into a new senior secured credit facility comprised of a $100 million five-year term loan and a $50 million five-year revolving credit facility. We intend to use borrowings under our new senior secured credit facility, together with a portion of the proceeds from this offering, to repay in full all outstanding amounts under our existing senior secured credit facility. See “Use of Proceeds.”

We expect that the $100 million new term loan will mature five years after closing and will require us to make amortized annual payments of 5% during the first year and second years, 7.5% during the third and fourth years and 10% during the fifth year with the balance of the loan due at maturity. Borrowings under the new term loan will accrue interest at LIBOR plus an applicable margin dependent upon our net leverage ratio. We expect the highest interest rate under the agreement will occur at a net leverage ratio of greater than 2.75x, yielding an interest rate of LIBOR plus 3.25%. The $50 million new revolver, which will mature five years after closing, will accrue interest at LIBOR plus an applicable margin dependent upon our net leverage ratio. We expect the highest interest rate under the agreement will occur at a net leverage ratio of greater than 2.75x, yielding an interest rate of LIBOR plus 3.25%. Additionally, we expect a margin fee of 25-35 basis points will be assessed on unused amounts under the new revolver, subject to adjustment based on our net leverage ratio.

We expect to enter into the new senior secured credit facility concurrently with, and as a condition to, the completion of this offering; however, there can be no assurance that we will be able to enter into the new senior secured credit facility on the terms described herein or at all.


 

11


Table of Contents

Our Principal Stockholder

Our Principal Stockholder is controlled by funds associated with Summit Partners. Founded in 1984, Summit Partners is a global alternative investment firm that is currently managing more than $23 billion in capital dedicated to growth equity, fixed income and public equity offerings. Summit invests across growth sectors of the economy and has invested in more than 500 companies in technology, healthcare and other growth industries. Summit maintains offices in North America and Europe and invests in companies around the world. See “Principal Stockholders.” On March 31, 2021, we purchased $25 million of senior subordinated notes from certain Summit debt funds as more fully described in “Description of Indebtedness - Existing Subordinated Notes.” Together with a portion of the proceeds from this offering and borrowings under our new term loan facility, we expect to repay all outstanding indebtedness due pursuant to our existing senior subordinated notes and terminate the underlying note purchase agreement.

In connection with this offering, we will enter into a Director Nomination Agreement with our Principal Stockholder. The Director Nomination Agreement will provide Summit with an independent right to designate the following number of nominees for election to our Board: (i) all of the nominees for election to our Board for so long as Summit beneficially owns at least 40% of the total number of shares of our common stock outstanding upon completion of this offering, as adjusted for any reorganization, recapitalization, stock dividend, stock split, reverse stock split, or similar changes in the Company’s capitalization (the “Original Amount”); (ii) a majority of the nominees for election to our Board for so long as Summit beneficially owns less than 40% but at least 30% of the Original Amount; (iii) 30% of the nominees for election to our Board for so long as Summit beneficially owns less than 30% but at least 20% of the Original Amount; (iv) 20% of the nominees for election to our Board for so long as Summit beneficially owns less than 20% but at least 10% of the Original Amount; and (v) one of the nominees for election to our Board for so long as Summit beneficially owns at least 5% of the Original Amount. In addition, Summit shall be entitled to designate the replacement for any of its Board designees whose Board service terminates prior to the end of the director’s term, regardless of our Principal Stockholder’s beneficial ownership at that time. Summit shall also have the right to have its designees participate on committees of our Board proportionate to its stock ownership, subject to compliance with applicable law and stock exchange rules. The Director Nomination Agreement will also prohibit us from increasing or decreasing the size of our Board without the prior written consent of Summit. This agreement will terminate at such time as our Principal Stockholder controls less than 5% of the voting power.

Our Corporate Information

We were incorporated in Delaware in May 2021 for purposes of becoming the issuer in this offering. Our principal executive offices are located at 100 Montgomery Street, Suite 1600, San Francisco, California 94104. Our telephone number at that location is 415-295-6085. Our website address is https://www.aka-brands.com. The reference to our website, here and elsewhere in this prospectus, is a textual reference only. We do not incorporate the information on or accessible through our website into this prospectus and you should not consider any information on, or that can be accessed through, our website as part of this prospectus. We are a holding company and all of our business operations are conducted through, and substantially all of our assets are held by, our subsidiaries.

Implications of Being an Emerging Growth Company

As a company with less than $1.07 billion in revenue during our last fiscal year, we qualify as an “emerging growth company,” as defined in the JOBS Act. An emerging growth company may take advantage of reduced reporting requirements that are otherwise applicable to public companies. These provisions include, but are not limited to:

 

   

not being required to comply with the auditor attestation requirements of Section 404 of the Sarbanes-Oxley Act of 2002, as amended (the “Sarbanes-Oxley Act”);


 

12


Table of Contents
   

reduced disclosure obligations regarding executive compensation in this prospectus, as well as our periodic reports, proxy statements and future registration statements; and

 

   

following this offering, exemptions from the requirements of holding a nonbinding advisory vote on executive compensation and obtaining stockholder approval of any golden parachute payments not previously approved.

We may take advantage of these provisions until the earlier of (1) the last day of the fiscal year following the fifth anniversary of the completion of this offering, (2) the last day of the fiscal year in which we have total annual gross revenue of at least $1.07 billion, (3) the date on which we are deemed to be a large accelerated filer (this means the market value of common stock that is held by non-affiliates exceeds $700.0 million as of the end of the second quarter of that fiscal year), or (4) the date on which we have issued more than $1.0 billion in non-convertible debt securities during the prior three-year period.

Organizational Structure

Following the pricing of this offering, we will complete a series of reorganization transactions (the “Reorganization Transactions”) that will, among other things, include:

 

   

the exchange by certain of our existing investors in our current holding company, Excelerate, L.P., of their equity interests for newly issued shares of our common stock;

 

   

the exchange by the current minority investors in Culture Kings of their minority interest for newly issued shares of our common stock, pursuant to which Culture Kings will become our wholly owned subsidiary; and

 

   

our buyout of the minority interest in Petal & Pup with a portion of the net proceeds of this offering, pursuant to which Petal & Pup will become our wholly owned subsidiary.

See “Reorganization Transactions” for a full discussion of these and other related transactions.

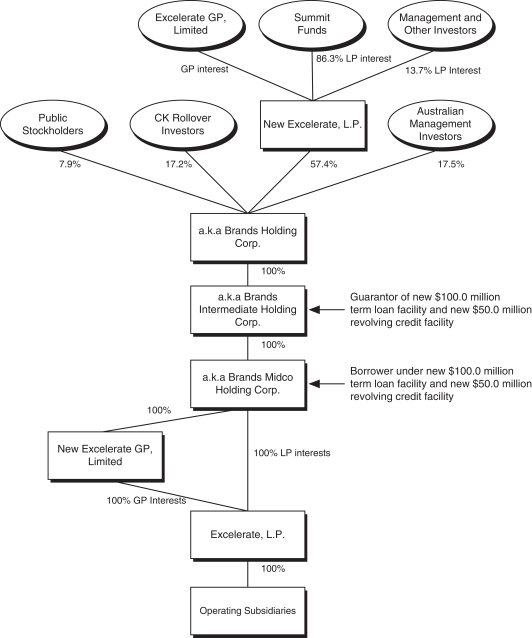
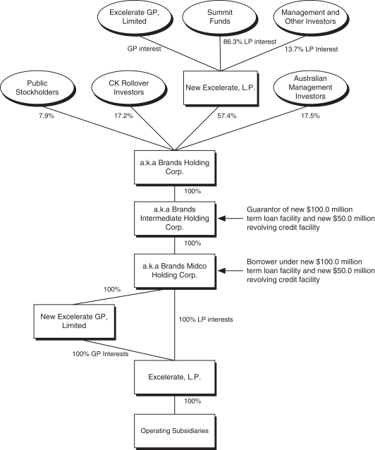
The following diagram depicts our anticipated organizational structure and principal indebtedness after giving effect to the Reorganization Transactions and Financing Transactions, our sale of 10,000,000 shares of common stock in this offering (assuming no exercise of the underwriters’ option to purchase additional shares of our common stock) at an initial public offering price of $11.00 per share, and the application of the net proceeds from this offering and borrowings under our new senior secured credit facility as described under the heading “Use of Proceeds.” This diagram is provided for illustrative purposes only and does not show all of our legal entities or ownership percentages of such entities.


 

13


Table of Contents

LOGO

 

*

GP interest means general partner interest.

**

LP interest means limited partner interest.

 

14


Table of Contents

THE OFFERING

 

Common stock offered by us    10,000,000 shares (11,500,000 shares if the underwriters exercise their option to purchase additional shares from us in full).
Common stock outstanding immediately after this offering    126,590,141 shares (128,090,141 shares if the underwriters exercise their option to purchase additional shares from us in full).
Option to purchase additional shares    The underwriters have the option to purchase up to an additional 1,500,000 shares from us, at the public offering price, less the underwriting discount, at any time within 30 days of the date of this prospectus.
Use of proceeds   

We expect to receive net proceeds from this offering of approximately $97.3 million (or $112.8 million if the underwriters exercise their option to purchase additional shares from us in full), after deducting underwriting discounts and estimated offering expenses payable by us.

   We intend to use the net proceeds from this offering, together with borrowings under our new senior secured credit facility, to repay in full all outstanding amounts under our existing senior secured credit facility and our existing subordinated notes and to repurchase minority interests in Petal & Pup. We intend to use any remaining net proceeds for working capital and general corporate purposes, including possible future acquisitions. See “Use of Proceeds.”
Controlled company    After this offering, assuming the offering size as set forth in this section, our Principal Stockholder will control approximately 57.4% of the voting power (or 56.7% of our common stock if the underwriters’ option to purchase additional shares is exercised in full) in us. As a result, we expect to be a controlled company within the meaning of the corporate governance standards of the NYSE. See “Management—Controlled Company Status.”
Directed share program    At our request, an affiliate of BofA Securities, Inc., a participating underwriter, has reserved for sale, at the initial public offering price, up to 700,000 of the shares offered by this prospectus for sale to some of our directors, officers, employees, business associates and related persons. If these persons purchase reserved shares, it will reduce the number of shares available for sale to the general public. Any reserved shares that are not so purchased will be offered by the underwriters to the general public on the same terms as the other shares offered by this prospectus. If purchased by our directors and officers, the shares will be subject to a 180-day lock-up restriction. See “Underwriting—Directed Share Program” for additional information.

 

15


Table of Contents
Dividend policy    We currently intend to retain all available funds and any future earnings to fund the development and growth of our business, and therefore we do not anticipate paying any cash dividends in the foreseeable future. In addition, our ability to pay dividends on our common stock will be limited by restrictions on the ability of our subsidiaries to pay dividends or make distributions to us under the terms of the agreements governing our indebtedness. See “Dividend Policy.”
Risk factors    See “Risk Factors” on page 21 and the other information in this prospectus for a discussion of the factors you should consider before you decide to invest in our common stock.
NYSE symbol for trading    We have been approved to list our common stock on the NYSE under the symbol “AKA.”

Unless otherwise indicated, all information in this prospectus relating to the number of shares of common stock outstanding immediately after this offering:

 

   

is based on 116,590,141 shares of our common stock outstanding on June 30, 2021, after giving effect to the Reorganization Transactions;

 

   

gives effect to the Reorganization Transactions and assumes the effectiveness of our amended and restated certificate of incorporation and amended and restated bylaws;

 

   

assumes (i) no exercise by the underwriters of their option to purchase up to 1,500,000 additional shares from us and (ii) the initial public offering price of $11.00 per share;

 

   

excludes an aggregate of 4,900,269 shares of our common stock reserved for issuance under the new 2021 Omnibus Incentive Plan that we adopted in connection with this offering as described in “Executive Compensation—2021 Omnibus Incentive Plan,” including (x) 708,464 shares of common stock issuable upon vesting and settlement of restricted stock units and (y) 216,146 shares of common stock issuable upon exercise of options to purchase common stock granted to certain of our employees in connection with this offering; and

 

   

excludes an aggregate of 1,225,067 shares of our common stock reserved for future issuance under our Employee Stock Purchase Plan which we adopted in connection with this offering.


 

16


Table of Contents

SUMMARY OF SELECTED HISTORICAL FINANCIAL AND OTHER DATA

The following tables set forth the summary consolidated historical financial data of our predecessor, Excelerate, L.P. You should read the information set forth below in conjunction with “Use of Proceeds,” “Capitalization,” “Management’s Discussion and Analysis of Financial Condition and Results of Operations” and our consolidated historical financial statements and notes thereto included elsewhere in this prospectus. Our historical results are not necessarily indicative of the results that may be expected in the future. The audited statements of operations for each of the years ended December 31, 2019 and 2020, set forth below are derived from the audited consolidated financial statements of Excelerate, L.P. (operating as a.k.a. Brands) included elsewhere in this prospectus. The unaudited statements of operations for each of the six months ended June 30, 2020 and 2021, set forth below are derived from the unaudited condensed consolidated financial statements of Excelerate, L.P. (operating as a.k.a. Brands) included elsewhere in this prospectus. The selected historical financial data of a.k.a. Brands Holding Corp. have not been presented because a.k.a. Brands Holding Corp. is a newly incorporated entity, has had no business transactions or activities to date and had no material assets or liabilities during the periods presented in this section. You should read the summary historical financial data below in conjunction with the section titled “Management’s Discussion and Analysis of Financial Condition and Results of Operation” and the financial statements and related notes included elsewhere in the prospectus.

The summary unaudited pro forma consolidated financial data for the year ended December 31, 2020, and for the six months ended June 30, 2021, are derived from the historical consolidated financial statements of Excelerate, L.P. (operating as a.k.a. Brands) included elsewhere in this prospectus and gives effect to the Culture Kings Acquisition as if it had occurred on January 1, 2020. The summary unaudited pro forma consolidated financial data for the year ended December 31, 2020, and for the six months ended June 30, 2021, also give effect to the Reorganization Transactions and Financing Transactions (as described in “Unaudited Pro Forma Consolidated Financial Information” and elsewhere in this Prospectus) as if they had occurred on January 1, 2020. The pro forma adjustments are based upon available data and certain estimates and assumptions we believe are reasonable. The summary unaudited pro forma consolidated financial data is for informational purposes only and does not purport to represent the results of operations or financial position that the Company would actually obtain if the transactions occurred at any date, nor does such data purport to project the results of operations for any future period.

 

    Year Ended December 31,  
Consolidated statements of operations data (in thousands):         2019                 2020           Pro Forma 2020  

Net sales

  $ 102,440     $ 215,916     $ 385,048  

Cost of sales

    46,575       89,515       181,584  
 

 

 

   

 

 

   

 

 

 

Gross profit

    55,865       126,401       203,464  

Operating expenses:

     

Selling

    28,091       58,313       92,376  

Marketing

    7,666       17,871       29,610  

General and administrative

    17,515       28,077       46,475  
 

 

 

   

 

 

   

 

 

 

Total operating expenses

    53,272       104,261       168,461  
 

 

 

   

 

 

   

 

 

 

Income from operations

    2,593       22,140       35,003  

Other expense, net

    (139     (485     (14,687
 

 

 

   

 

 

   

 

 

 

Income before income taxes

    2,454       21,655       20,316  

Provision for income tax

    (1,012     (6,850     (6,559
 

 

 

   

 

 

   

 

 

 

Net income

    1,442       14,805       13,757  

Net income attributable to noncontrolling interests

    (48     (471     —    
 

 

 

   

 

 

   

 

 

 

Net income attributable to Excelerate, L.P.

  $ 1,394     $ 14,334     $ 13,757  
 

 

 

   

 

 

   

 

 

 

 

17


Table of Contents
    Year Ended December 31,  
Consolidated statements of operations data (in thousands):         2019                 2020           Pro Forma 2020  

Net income per unit/share(1):

     

Basic

  $ 0.01     $ 0.13     $ 0.11  

Diluted

  $ 0.01     $ 0.13     $ 0.11  

Weighted average units/shares outstanding(2):

     

Basic

    101,200,399       114,028,628       120,568,124  

Diluted

    101,200,399       114,028,628       120,568,124  

 

(1)

Pro forma basic and diluted net income per unit/share is computed by dividing pro forma net income by pro forma weighted-average units/shares outstanding. For the year ended December 31, 2020, pro forma net income gives effect to the Culture Kings Acquisition Adjustments, the Reorganization Transactions and the Financing Transactions, each defined and described in “Unaudited Pro Forma Consolidated Financial Information” and elsewhere in this prospectus.

(2)

The calculation of the pro forma weighted-average units/shares outstanding gives effect to the Culture Kings Acquisition Adjustments, the Reorganization Transactions and the Financing Transactions as if they had occurred on January 1, 2020. See further detail in “Unaudited Pro Forma Consolidated Financial Information” and elsewhere in this prospectus.

 

     December 31,
2019
     December 31,
2020
 

Consolidated balance sheet data (in thousands):

     

Cash and cash equivalents

   $  5,472      $  26,259  

Total assets

     145,924        189,439  

Working capital

     11,219        24,241  

Members’ equity

     112,041        138,884  

 

     Six Months Ended June 30,  
     2020     2021     Pro Forma 2020     Pro Forma 2021  

Consolidated statements of operations data (in thousands):

        

Net sales

   $ 81,799     $ 218,006     $ 145,564     $  269,205  

Cost of sales

     36,606       95,984       77,071       114,304  
  

 

 

   

 

 

   

 

 

   

 

 

 

Gross profit

     45,193       122,022       68,493       154,901  

Operating expenses:

        

Selling

     24,028       58,277       37,399       69,895  

Marketing

     7,237       21,132       11,539       24,975  

General and administrative

     10,520       32,650       19,678       38,544  
  

 

 

   

 

 

   

 

 

   

 

 

 

Total operating expenses

     41,785       112,059       68,616       133,414  
  

 

 

   

 

 

   

 

 

   

 

 

 

Income (loss) from operations

     3,408       9,963       (123     21,487  

Interest expense and other, net

     (170     (4,278     (12,878     (2,226
  

 

 

   

 

 

   

 

 

   

 

 

 

Income (loss) before income taxes

     3,238       5,685       (13,001     19,261  

Benefit from (provision for) income tax

     (1,024     (1,706     3,779       (5,779
  

 

 

   

 

 

   

 

 

   

 

 

 

Net income (loss)

     2,214       3,979       (9,222     13,481  

Net income attributable to noncontrolling interests

     (70     (76     —         —    
  

 

 

   

 

 

   

 

 

   

 

 

 

Net income (loss) attributable to Excelerate, L.P.

   $ 2,144     $ 3,903     $ (9,222   $ 13,481  
  

 

 

   

 

 

   

 

 

   

 

 

 

 

18


Table of Contents
     Six Months Ended June 30,  
     2020      2021      Pro Forma 2020     Pro Forma 2021  

Net income (loss) per unit/share(1):

          

Basic

   $ 0.02      $ 0.03      $ (0.08   $ 0.11  

Diluted

   $ 0.02      $ 0.03      $ (0.08   $ 0.11  

Weighted average units/shares outstanding(2):

          

Basic

     113,886,416        126,969,861        118,709,045       123,574,464  

Diluted

     113,886,416        126,969,861        118,709,045       123,574,464  

 

(1)

Pro forma basic and diluted net income (loss) per unit is computed by dividing pro forma net income (loss) by pro forma weighted-average units outstanding. For the period ended June 30, 2021, pro forma net income gives effect to the Culture Kings Acquisition Adjustments, the Reorganization Transactions and the Financing Transactions, each defined and described in “Unaudited Pro Forma Consolidated Financial Information” and elsewhere in this prospectus.

(2)

The calculation of the pro forma weighted-average units outstanding gives effect to the Culture Kings Acquisition Adjustments, the Reorganization Transactions and the Financing Transactions as if they had occurred on January 1, 2020. See further detail in “Unaudited Pro Forma Consolidated Financial Information” and elsewhere in this prospectus.

 

     December 31, 2020      June 30, 2021      Pro forma 2021  

Consolidated balance sheet data (in thousands):

        

Cash and cash equivalents

   $  26,259      $  34,341      $  30,582  

Total assets

     189,439        636,087        631,953  

Working capital

     24,241        85,326        79,715  

Members’/Stockholders’ equity

     138,884        219,471        412,504  

Non-GAAP Financial Measures

Adjusted EBITDA does not represent net income or cash flow from operating activities as those terms are defined by generally accepted accounting principles in the United States (“GAAP”) and do not necessarily indicate whether cash flows will be sufficient to fund cash needs. Further, they may not be comparable to the measures for any subsequent fiscal year. Because other companies may calculate Adjusted EBITDA differently than we do, Adjusted EBITDA may not be comparable to similarly titled measures reported by other companies. Adjusted EBITDA has other limitations as analytical tools when compared to the use of net income, which we believe is the most directly comparable GAAP financial measure, including:

 

   

Adjusted EBITDA does not reflect the interest income or expense we incur;

 

   

Adjusted EBITDA does not reflect the provision of income tax expense;

 

   

Adjusted EBITDA does not reflect any attribution of costs to our operations related to our investments and capital expenditures through depreciation and amortization charges;

 

   

Adjusted EBITDA does not reflect any amortization expense associated with fair value adjustments from purchase price accounting, including intangibles or inventory step-up; and

 

   

Adjusted EBITDA does not reflect the cost of compensation we provide to our employees in the form of incentive equity awards.


 

19


Table of Contents

The following is a reconciliation of net income to Adjusted EBITDA (in thousands):

 

     Year Ended December 31,  
     2019      2020      Pro Forma
2020
 

Net income

   $ 1,442      $ 14,805      $ 13,757  

Add:

        

Other expense, net

     139        485        14,687  

Provision for income taxes

     1,012        6,850        6,559  

Depreciation and amortization expense

     6,227        6,762        31,592  

Equity-based compensation expense

     353        1,380        1,380  
  

 

 

    

 

 

    

 

 

 

Adjusted EBITDA

   $ 9,173      $ 30,282      $ 67,975  
  

 

 

    

 

 

    

 

 

 

 

     Six Months Ended June 30,  
     2020      2021      Pro Forma
2020
     Pro Forma
2021
 

Net income (loss)

   $  2,214      $  3,979      $ (9,222    $  13,481  

Add:

           

Other expense, net

     170        4,278        12,878        2,226  

Provision for (benefit from) income taxes

     1,024        1,706        (3,779      5,779  

Depreciation and amortization expense

     3,117        13,367        18,905        9,561  

Equity-based compensation expense

     419        1,132        419        1,132  
  

 

 

    

 

 

    

 

 

    

 

 

 

Adjusted EBITDA

   $ 6,944      $ 24,462      $ 19,201      $ 32,180  
  

 

 

    

 

 

    

 

 

    

 

 

 

 

20


Table of Contents

RISK FACTORS

Investing in our common stock involves a number of risks. Before you purchase our common stock, you should carefully consider the risks described below and the other information contained in this prospectus, including our consolidated financial statements and accompanying notes. If any of the following risks actually occurs, our business, prospects, financial condition, results of operation or cash flows could be materially adversely affected and the factors that we identify as risks to a particular aspect of our business could materially affect another aspect of our business or the company as a whole. The risks below are not the only risks we face. Additional risks and uncertainties not currently known to us or those we currently view to be immaterial may also materially affect our business, prospects, financial condition, results of operation or cash flows. In any such case, the trading price of our common stock could decline, and you could lose all or part of your investment.

Risks Relating to COVID-19

The recent coronavirus (COVID-19) global pandemic has adversely affected, and could in the future materially adversely affect, our business, financial condition and results of operations.

Our business has been, and will continue to be, impacted by the effects of the COVID-19 global pandemic. The pandemic has significantly increased economic and demand uncertainty globally, and caused record levels of unemployment in the U.S. and abroad. The economic uncertainty of the COVID-19 pandemic has led to a general decrease in consumer spending and decrease in consumer confidence. Our revenue, results of operations and cash flows depend on the overall demand for our products. Some of our customers have experienced and may continue to experience financial hardships, which has and may continue to adversely impact demand for our products. Mandates from governmental authorities to close businesses, limit travel and transportation, avoid large gatherings or to self-quarantine, as well as temporary closures and decreased operations at our suppliers’ facilities, have also negatively impacted our business. Reoccurring mandates in Australia to self-quarantine, limit travel and transportation and close certain businesses have negatively impacted our business, and may continue to negatively impact our business in the future. In particular, statements by certain governmental authorities suggest that such mandates may continue to reoccur for an indefinite period of time. Approximately 52% and 43% of our Pro Forma net sales for the year ended December 31, 2020 and the six months ended June 30, 2021, respectively, were derived from sales to customers in Australia, and as a result any ongoing mandates could adversely impact our results of operations. The impacts of the pandemic on us have included, and in the future could include:

 

   

volatility in demand for our products as a result of, among other things, the inability of customers to purchase our products due to financial hardship, unemployment, illness or out of fear of exposure to COVID-19, shifts in demand away from consumer discretionary products and reduced options for marketing and promotion of products or other restrictions in connection with the COVID-19 pandemic;

 

   

cancellations of in-person events, including weddings and festivals, such as Coachella, causing a reduction in demand for certain product categories;

 

   

increased materials and procurement costs as a result of scarcity of and/or increased prices for commodities and raw materials, and periods of reduced manufacturing capacity at our suppliers in response to the pandemic;

 

   

increased sea and air freight shipping costs as a result of increased levels of demand, reduced capacity, scrutiny or embargoing of goods produced in infected areas, port closures and other transportation challenges;

 

   

closures or other restrictions that limit capacity at our distribution facilities and restrict our employees’ ability to perform necessary business functions, including operations necessary for the design, development, production, sale, marketing, delivery and support of our products; and

 

   

failure of our suppliers and other third parties on which we rely to meet their obligations to us in a timely manner or at all, as a result of their own financial or operational difficulties, including business failure or insolvency, the inability to access financing in the credit and capital markets at reasonable rates or at all, collectability of existing receivables.

 

21


Table of Contents

All of these factors have contributed to, and we expect will continue to contribute to, reduced orders, increased product returns, increased order cancellations, lower revenues, higher discounts, increased inventories, decreased value of inventories, reduced sales through Culture Kings experiential stores and lower gross margins. Concern over the impact of the COVID-19 pandemic may delay purchasing by our customers and/or cause them to consider purchasing fewer or different products than originally anticipated. In response to these concerns, we may (1) decide to postpone or cancel planned investments in our business in response to changes in our business, or (2) experience difficulties in recruiting or retaining personnel, each of which may impact our ability to respond to our customers’ demands.

During the COVID-19 pandemic, we have implemented a number of measures designed to protect the health and safety of our workforce and position us to maintain our healthy financial position. These measures include restrictions on non-essential business travel, the institution of work-from-home policies and the implementation of strategies for workplace safety at our offices and facilities. We are following the guidance from public health officials and government agencies with respect to such facilities, including implementation of enhanced cleaning measures and social distancing guidelines. We may continue to incur increased costs for our operations during this pandemic that are difficult to predict with certainty. As a result, our business, results of operations, cash flows or financial condition may be affected and could continue to be adversely impacted in the future. There is no assurance the measures we have taken or may take in the future will be successful in managing the uncertainties caused by the COVID-19 pandemic. Governmental measures to try to contain the virus have impacted and may further impact all or portions of our workforce and operations, the behavior of our customers and the operations of our respective suppliers. There is no certainty that measures taken by us or by governmental authorities will be sufficient to mitigate the risks posed by the COVID-19 pandemic, and our ability to perform critical functions could be harmed.

The future impact of the COVID-19 pandemic will depend on a number of future developments, which are highly uncertain and cannot be predicted, including, but not limited to, the duration of the pandemic, the resurgence of cases, the acceptance and effectiveness of vaccines, the effects of the outbreak on our customers and suppliers and the measures adopted by local and federal governments. To add to the uncertainty, the nature of any economic recovery is unclear. Any increases in consumer discretionary spending related to government stimulus programs may be temporary, and consumer spending may decrease again if the government does not continue such stimulus programs. All of these factors could have a negative impact on our revenue, cash flows and results of operations and could have the effect of heightening many of the other risks described in this “Risk Factors” section.

Certain trends relating to the COVID-19 pandemic have positively impacted our business, but there can be no assurance that these impacts will be sustained through the remainder of the pandemic or in the future.

The stay-at-home restrictions imposed in response to the COVID-19 pandemic led many traditional brick-and-mortar retailers to temporarily close their stores, while online retailers, such as us, continued to operate. While we have benefited from increased sales as a result of a shift toward online shopping as customers stayed home, reduced sales through Culture Kings experiential stores has contributed to lower gross margins. We may not continue to benefit from this trend toward online shopping, however, after the pandemic subsides, and some or all of the increases in demand for our products during the pandemic may be temporary. It is difficult to ascertain with precision how much of our recent growth is attributable to the stay-at-home restrictions imposed in response to the COVID-19 pandemic, and there can be no assurances that these positive trends during the COVID-19 pandemic will be sustained through the remainder of the pandemic or in the future. If the positive impacts of the COVID-19 pandemic on our business are not sustained through the remainder of the pandemic or in the future, or if customers’ purchases decline more than expected, our results of operations would be adversely impacted.

 

22


Table of Contents

Risks Relating to Our Business and Strategy

The apparel, footwear and accessories industries are subject to rapid changes in consumer preferences, and if we do not accurately anticipate and promptly respond to changes in consumer preferences, we could lose sales, our relationships with customers could be harmed, and our brand loyalty could be diminished.

The apparel, footwear and accessories industries are subject to rapid changes in consumer preferences and tastes, which can make it difficult to anticipate demand for our products and forecast our financial results. We believe there are many factors that may affect the demand for our products, including:

 

   

seasonality, including the impact of anticipated and unanticipated weather conditions;

 

   

consumer acceptance of our existing products and acceptance of our new products, including our ability to develop new products that are private label or exclusive;

 

   

consumer demand for products of our competitors;

 

   

consumer perceptions of and preferences for our products and brands, including as a result of evolving ethical or social standards;

 

   

the extent to which consumers view certain of our products as substitutes for other products we manufacture;

 

   

publicity, including social media, related to us, our products, our brands, our marketing campaigns and our influencer endorsers;

 

   

the life cycle of our products and consumer replenishment behavior;

 

   

evolving fashion and lifestyle trends, and the extent to which our products reflect these trends;

 

   

brand loyalty; and

 

   

changes in consumer confidence and buying patterns, and other factors that impact discretionary income and spending.

Consumer demand for our products depends in part on brand loyalty and the continued strength of our brands, which in turn depends on our ability to anticipate, understand and promptly respond to the rapidly changing preferences and fashion tastes for apparel, footwear and accessories, as well as consumer spending patterns. As our brands and product offerings continue to evolve, it is necessary for our products to appeal to an even broader range of consumers whose preferences cannot be predicted with certainty. For example, many of our products include a fashion element and could go out of style quickly. Furthermore, we are dependent on consumer receptivity to our new products and to the marketing strategies we employ to promote those products. Consumers may not purchase new models and styles of apparel, footwear and accessories in the quantities projected or at all. If we fail to predict or react appropriately to changes in consumer preferences and fashion trends or fail to adapt to shifting spending patterns or demand, consumers may consider our brands and products to be outdated or unattainable or associate our brands and products with styles that are no longer popular, which may adversely affect our overall financial performance.

If we fail to acquire new customers, or fail to do so in a cost-effective manner, we may not be able to increase net sales or maintain profitability.

Our success depends on our ability to acquire customers in a cost-effective manner. In order to expand our customer base, we must appeal to and acquire customers who have historically used other means of commerce in shopping for apparel and may prefer alternatives to our offerings, such as traditional brick-and-mortar retailers or the websites of our competitors. If we fail to deliver a quality online experience, or if consumers do not perceive the products we offer to be of high value and quality, we may not be able to acquire new customers. Our marketing strategy includes using social media platforms as marketing tools and maintaining relationships with social media influencers. As social media platforms continue to rapidly evolve and new platforms develop we must continue to maintain a presence on these platforms and establish presences on new or emerging social media platforms. If marketing through social media influencers becomes less effective at engaging new

 

23


Table of Contents

customers, our ability to drive new growth may be negatively impacted, and marketing costs may increase materially, which would negatively impact sales and margins. We also seek to engage with our customers and build awareness of our brands through sponsoring unique events and experiences. These events may fail to promote awareness of our brands and products and may not generate a meaningful return on investment.

We also acquire and retain customers through retargeting, paid search/product listing ads, affiliate marketing, paid social, personalized email marketing, SMS text and mobile “push” communications through our mobile apps. Search engines frequently change the algorithms that determine the ranking and display of results of a user’s search and may make other changes to the way results are displayed, or may increase the costs of advertising, which can negatively affect the placement of our links and, therefore, reduce the number of our visits to our websites and social media channels, or make such marketing cost prohibitive. In addition, social media platforms typically require compliance with their privacy policies, which may be subject to change or new interpretation with limited ability to negotiate. If we are unable to cost-effectively use on-line marketing tools or if the social media platforms we use change their policies or algorithms, we may not be able to cost-effectively drive traffic to our websites, and our ability to acquire new customers could suffer. Conversely, if these on-line marketing tools are successful in driving traffic to our sites, they could cause the “runaway promo code effect” of pricing and promotional errors that are amplified by the wide dissemination to a larger consumer audience, which could adversely impact our operating results. If our marketing efforts are not successful in promoting awareness of our brands and products, driving customer engagement or attracting new customers, or if we are not able to cost-effectively manage our marketing expenses, our operating results will be adversely affected.

If we fail to retain existing customers, or fail to maintain average order value levels, we may not be able to maintain our revenue base and margins, which would have a material adverse effect on our business and operating results.

A significant portion of our net sales are generated from sales to existing customers, particularly those existing customers who are highly engaged and make frequent purchases of the merchandise we offer. If existing customers no longer find our offerings appealing, or if we are unable to timely update our offerings to meet current trends and customer demands, our existing customers may make fewer or smaller purchases in the future. A decrease in the number of our customers who make repeat purchases or a decrease in their spending on the merchandise we offer could negatively impact our operating results. Further, we believe that our future success will depend in part on our ability to increase sales to our existing customers over time, and if we are unable to do so, our business may suffer. If we fail to generate repeat purchases or maintain high levels of customer engagement and average order value, our growth prospects, operating results and financial condition could be materially adversely affected.

Our business depends on effective marketing and high customer traffic.

We have many initiatives in our marketing programs particularly with regard to our websites, mobile applications and our social media presence. If our competitors increase their spending on marketing, if our marketing expenses increase, if our marketing becomes less effective than that of our competitors, or if we do not adequately leverage technology and data analytics capabilities needed to generate concise competitive insight, we could experience a material adverse effect on our results of operations. Among other factors, (1) a failure to sufficiently innovate or maintain effective marketing strategies and (2) U.S. and foreign laws and regulations that make it more difficult or costly to digitally market, such as the European Union General Data Protection Regulation (“GDPR”) and the California Consumer Privacy Act of 2018 (“CCPA”), may adversely impact our ability to maintain brand relevance and drive increased sales.

Merchandise returns could harm our business.

We allow our customers to return products, subject to our return policy. If the rate of merchandise returns increases significantly or if merchandise return economics become less efficient, our business, financial condition and operating results could be harmed. Further, we may modify our policies relating to returns from time to time, which may result in customer dissatisfaction or an increase in the number of product returns. From time to time our products are also damaged in transit, which can increase return rates and harm our brand.

 

24


Table of Contents

We may be unsuccessful in identifying brands to acquire and in integrating and managing our acquisitions and investments to expand the number of brands on our platform.

We have acquired four businesses to date, and we intend to acquire or invest in additional companies to increase the number of brands in our platform. Any such business acquisitions and investments could be significant and could have a material impact on our business, financial condition and results of operations. We regularly identify and evaluate potential business acquisitions and investments, and we typically have a pipeline of acquisition and investment opportunities of different stages of evaluation. There are numerous risks associated with our acquisition strategy, including:

 

   

our inability to identify appropriate candidates for acquisition;

 

   

competition for acquisition targets driving up purchase prices;

 

   

disruption of our ongoing business, including loss of management focus on existing businesses;

 

   

problems retaining key personnel;

 

   

unanticipated operating losses and expenses of the businesses we acquire or in which we invest;

 

   

risks of losing a target company’s customer and other relationships;

 

   

the difficulty of completing acquisitions or investments and achieving anticipated benefits within expected timeframes, or at all;

 

   

the difficulty of integrating acquired brands on our platform, and unanticipated expenses related to their integration;

 

   

the difficulty of integrating another company’s accounting, financial reporting, management, information and data security, human resource, and other administrative systems to permit effective management, and the lack of control if such integration is delayed or not successfully implemented;

 

   

losses we may incur as a result of declines in the value of an acquisition or an investment or as a result of incorporating its financial performance into our financial results, and our dependence on its accounting, financial reporting, systems, controls and processes;

 

   

the risks associated with businesses we acquire or invest in, which may differ from or be more significant than the risks our existing businesses face;

 

   

potential unknown, unidentified or undisclosed liabilities or risks associated with a company we acquire or in which we invest; and

 

   

for foreign transactions, additional risks related to the integration of operations across different cultures and languages, and the economic, political and regulatory risks associated with specific countries.

We are evaluating multiple opportunities for such acquisitions in the near term and have signed non-binding letters of intent relating to several potential acquisitions. We are not party to any definitive agreements in respect of any such acquisition targets, but it is possible discussions relating to one or more of these potential acquisitions could advance and it is possible we could sign or complete any such transactions shortly after we complete this offering. We cannot assure you that we will become a party to any definitive agreements to consummate a transaction, or that if we do become a party to such agreements that we will be able to close the transactions and acquire the relevant target company.

In order to fund future acquisitions or investments, including any acquisitions that we may consummate shortly after this offering, we expect to issue additional equity securities, spend our cash or incur debt, which may only be available on unfavorable terms, if at all. Any such financing to fund future acquisitions or investments may change our leverage profile, potentially significantly.

In addition, any shares of our common stock or other equity linked securities that we issue in connection with an acquisition or investment could constitute a material portion of our then-outstanding shares of common stock, which could adversely affect the price of our common stock and result in significant dilution to your

 

25


Table of Contents

ownership interest. In addition, valuations supporting our acquisitions and strategic investments could change rapidly. We could determine that such valuations have experienced impairments or other-than-temporary declines in fair value which could adversely impact our financial results. We may record contingent liabilities and amortization expenses related to intangible assets as a result of acquisitions. Our growth prospects are dependent on our ability to identify and acquire additional brands and integrate them on our platform, and our failure to do so may negatively impact our future growth and, as a result, our results of operations.

We may not succeed in our growth strategy.

One of our key strategic objectives is growth, which we pursue organically and through acquisitions. In particular, we seek to grow by attracting new fashion brands to our platform, winning new customers to expand our market share, marketing our brands in new regions, building on economies of scale, leveraging our supply chain and information technology capabilities across our company and expanding our direct-to-consumer business and growing our eCommerce business. However, we may not be successful in growing our business. For example:

 

   

We may have difficulty completing acquisitions to expand our platform, and we may not be able to successfully integrate a newly acquired business or achieve the expected growth, cost savings or synergies from such integration, or it may disrupt our current business.

 

   

We may not be able to continue to evolve to meet our customers’ changing needs and expectations, and our existing customers may reduce their purchases of our products.

 

   

We may not successfully expand our market share by winning new customers.

 

   

Our brands may not be widely accepted in new countries or regions.

 

   

We may have difficulty recruiting, developing or retaining qualified employees.

 

   

We may not be able to manage our growth effectively, adapt our business model or develop relationships with customers or successfully operate our recently acquired Culture Kings stores.

 

   

We may not be able to scale the abilities of our supply chain operations to meet increased consumer demand, and we may not be able to offset rising materials, procurement and shipping costs with pricing actions or efficiency improvements.

 

   

Any new brands we acquire might cannibalize our existing brands and cause a decrease in sales of our existing brands.

 

   

We may not be able to complete dispositions of nonstrategic assets in the future.

We are also required to manage numerous relationships with various suppliers, vendors and other third parties. Changes in our suppliers, vendor base, distribution centers, information technology systems or internal controls and procedures may not be adequate to support our operations. If we are unable to manage the growth of our organization effectively, our business, financial condition and operating results may be adversely affected. If we fail to continue to develop and grow our business, our financial condition and results of operations and the value of your investment may be materially adversely affected.

Our growth plan contemplates expansion into new markets, and our efforts to expand may ultimately be unsuccessful.

Our growth plan includes introducing our brands globally, including in countries and regions where we have no or limited operating experience. Expanding into new countries and regions involves significant risk, particularly if we have no experience in marketing, selling and engaging with customers in the market. For example, there is no guarantee that the success of a brand in Australia will translate to the success of that brand in other countries, such as the U.S. Our efforts to expand into new countries and regions could fail for many

 

26


Table of Contents

reasons, including our failure to accurately or timely identify apparel trends in new markets, different consumer demand dynamics and lack of acceptance of new offerings by existing or new users, our failure to promote the new markets effectively, or negative publicity about us or our new markets. In addition, these initiatives may not drive increases in revenue, may require substantial investment and planning, and may bring us more directly into competition with companies that are better established, operate more effectively or have greater resources than we do. There is additional complexity associated with local laws, tariffs and shipping logistics in new countries where our brands do not have an established presence. Expanding into new markets will require additional investment of time and resources of our management and personnel. If we are unable to cost-effectively expand into new countries and regions, then our growth prospects and competitive position may be harmed and our business, results of operations, and financial condition may suffer.

We face risks from our international business.

Our current growth strategy includes plans to expand our digital marketing and grow our eCommerce and retail presence internationally over the next several years. As we seek to expand internationally, we face competition from more established retail competitors. Consumer demand and behavior, as well as cultural differences, and tastes and purchasing trends, may differ, and as a result, sales of our merchandise may not be successful, or the margins on those sales may not be in line with our expectations. Our ability to conduct business internationally may be adversely impacted by political, economic, and public health events (such as the COVID-19 pandemic), as well as the global economy. Any challenges that we encounter as we expand internationally may divert financial, operational and managerial resources from our existing operations, which could adversely impact our financial condition and results of operations.

The United Kingdom ceased to be a part of the European Union on December 31, 2020 (which is commonly referred to as “Brexit”). We face risks associated with the potential uncertainty and disruptions relating to Brexit, including the risk of additional regulatory and other costs and challenges and/or limitations on our ability to sell particular products. In particular, these uncertainties may affect the viability of our operations through compliance with changing regulatory and disclosure requirements, re-determining our importation policies, and regulations regarding subsidies of consumer-facing taxes. As a result, the ongoing uncertainty surrounding Brexit could have a material adverse effect on our business (including our European growth plans), results of operations, financial condition and cash flows.

In addition, we are increasingly exposed to foreign currency exchange rate risk with respect to our revenue, profits, assets and liabilities denominated in currencies other than the U.S. dollar.

Shipping is a critical part of our business and any interruptions in, or increased costs of, shipping could adversely affect our operating results.

We currently rely on third-party vendors for our inbound and outbound customer and freight. If we are not able to negotiate acceptable pricing and other terms with these vendors or they experience operational problems or other difficulties, it could negatively impact our customers’ experience. For example, shipping delays could delay delivery of products to our customers and increase the time it takes to process customer returns. Our ability to receive inventory and ship merchandise to customers may be negatively affected by weather, fire, flood, power loss, earthquakes, public health crises such as the COVID-19 pandemic, labor disputes, acts of war or terrorism, port closures, import and export tariffs, complex local laws and other factors. Reduced air traffic during the COVID-19 pandemic resulted in reduced cargo capacity on airplanes, which intensified the demand for shipping services and increased their prices. The ongoing impact of the pandemic is continuing to result in reduced cargo capacity on airplanes, and as a result we expect increased demand and prices for shipping services to continue. While we have been able to offset increased shipping prices to some extent, there can be no assurance that we will continue to be able to do so, or that prices for shipping services will not increase to a level that does not permit us to do so. In addition, in response to the COVID-19 pandemic, we operated, and expect to continue to operate, our U.S. and Australian distribution centers at reduced capacity and limited throughput for a period of time, which puts more pressure on delivery times. In the past, strikes at and closures of major international

 

27


Table of Contents

shipping ports have impacted our supply of inventory from our vendors. We are also subject to risks of damage or loss during delivery by our shipping vendors. If our merchandise is not delivered in a timely manner or is damaged or lost during the delivery process, our consumers could become dissatisfied and cease purchasing our products, which would adversely affect our business and operating results.

Our direct-to-consumer business model is subject to risks that could have an adverse effect on our results of operations.

We sell merchandise direct-to-consumer through our eCommerce sites. Our direct-to-consumer business model is subject to numerous risks that could have a material adverse effect on our results. Risks include, but are not limited to, (i) resellers purchasing private label and exclusive merchandise and reselling it outside of authorized distribution channels, (ii) failure of the systems that operate our eCommerce websites, and their related support systems, including computer viruses, (iii) theft of customer information, privacy concerns, telecommunication failures and electronic break-ins and similar disruptions, (iv) credit card fraud and (v) risks related to our supply chain and fulfillment operations. Risks specific to operating an eCommerce business also include (i) the ability to optimize the online experience and direct eCommerce channels to consumer needs, (ii) liability for copyright and trademark infringement, (iii) changing patterns of consumer behavior and (iv) competition from other eCommerce and brick-and-mortar retailers. Our failure to successfully respond to these risks might adversely affect our sales, as well as damage our reputation and brands.

Use of social media and influencers may materially and adversely affect our reputation or subject us to fines or other penalties.

We use third-party social media platforms as, among other things, marketing tools. For example, our brands maintain Instagram, Facebook, YouTube and TikTok accounts. We also maintain relationships with many of social media influencers and engage in sponsorship initiatives. As existing eCommerce and social media platforms continue to rapidly evolve and new platforms develop, we must continue to maintain a presence on these platforms and establish presences on new or emerging popular social media platforms. If we are unable to cost-effectively use social media platforms as marketing tools or if the social media platforms we use change their policies or algorithms, we may not be able to fully optimize such platforms, and our ability to maintain and acquire customers and our financial condition may suffer. Furthermore, as laws, regulations, policies governing platforms and public opinion rapidly evolve to govern the use of these platforms and devices, the failure by us, our employees, our network of social media influencers or third parties acting at our direction to abide by applicable laws, regulations and policies in the use of these platforms and devices or otherwise could subject us to regulatory investigations, class action lawsuits, liability, fines or other penalties and have a material adverse effect on our business, financial condition and operating results.

Our relationships with social media influencers and our sponsorship initiatives do not include any contractual commitments that they continue to be supportive of our brands or products, and there can be no assurance that they will continue to do so. For example, changes in fashion trends, consumer sentiment or public perceptions of our brands could adversely impact our relationships with social media influencers. Any negative publicity created by a social media influencer or participant in a sponsorship initiative who we formerly engaged or who is no longer supportive of our brands may reduce our sales, and may mean that we become more reliant on paid advertising and other paid promotions. The costs to enter into relationships with social media influencers or engage in sponsorship initiatives may also increase over time, which may also negatively impact our margins and results of operations.

In addition, an increase in the use of social media for product promotion and marketing may cause an increase in the burden on us to monitor compliance of such materials, and increase the risk that such materials could contain problematic product or marketing claims in violation of applicable regulations. For example, in some cases, the FTC has sought enforcement action where an endorsement has failed to clearly and conspicuously disclose a financial relationship or material connection between an influencer and an advertiser. We do not prescribe what our influencers post, and if we were held responsible for the content of their posts or

 

28


Table of Contents

their actions, we could be fined or forced to alter our practices, which could have an adverse impact on our business.

Negative commentary regarding us, our products or influencers who promote our brands and other third parties who are affiliated with us may also be posted on social media platforms and may be adverse to our reputation or business. Influencers with whom we maintain relationships could engage in behavior or use their platforms to communicate directly with our customers in a manner that reflects poorly on our brand and may be attributed to us or otherwise adversely affect us. Any such negative commentary could drive large-scale social movements against us, our products, or our brands and result in customer boycotts. It is not possible to prevent such behavior, and the precautions we take to detect this activity may not be effective in all cases. Our target consumers often value readily available information and often act on such information without further investigation and without regard to our accuracy. The harm may be immediate, without affording us an opportunity for redress or correction.

If our operating results differ significantly from our expectations or the expectations of securities analysts or investors, our stock price may decline.

If we fail to achieve our projected results or to meet the expectations of securities analysts or investors, our stock price may decline, and the decrease in the stock price may be disproportionate to the shortfall in our financial performance. Our short operating history as a holding company with a portfolio of newly acquired brands, and our continuing evolution as we acquire and integrate brands and enter new markets, may negatively affect our ability to forecast our consolidated operating results. If our future operating results are below the expectations of securities analysts or investors, or below any financial guidance we may provide to the market, our stock price may decline.

Our operating results fluctuate from period to period.

Our business experiences seasonal fluctuations in shipping rates, consumer demand, net sales and operating income, with a significant portion of net income typically realized in the spring and summer seasons. Historically, and consistent with the retail industry, this seasonality also impacts our working capital requirements, particularly with regard to inventory. Any decrease in sales or gross profit during this period, or in the availability of working capital needed in the months preceding this period, could have a more material adverse effect on our business, financial condition and results of operations than in other periods. Seasonal fluctuations also affect our inventory levels, as we usually order merchandise in advance of peak selling periods and sometimes before new fashion trends are confirmed by customer purchases. We must carry a significant amount of inventory, especially before the holiday selling periods. We must also carefully plan our inventory around Chinese New Year when inventory supply is constrained and materials and inbound freight costs are higher. If we are not successful in managing our inventory or fail to execute on our strategy, we may be forced to rely on markdowns or promotional sales to dispose of the excess inventory or we may not be able to sell the inventory at all, which could have a material adverse effect on our business, financial condition and results of operations.

Certain of our key operating metrics are subject to inherent challenges in measurement, and real or perceived inaccuracies in such metrics may harm our reputation and negatively affect our business.

We track certain key operating metrics using internal data analytics tools, which have certain limitations. In addition, we rely on data received from third parties, including third-party platforms, to track certain performance indicators. Data from both such sources may include information relating to fraudulent accounts and interactions with our sites or the social media accounts of our influencers (including as a result of the use of bots, or other automated or manual mechanisms to generate false impressions that are delivered through our sites or their accounts). We have only limited abilities to verify data from our sites or third parties, and perpetrators of fraudulent impressions may change their tactics and may become more sophisticated, which would make it still more difficult to detect such activity.

Our methodologies for tracking metrics may also change over time, which could result in changes to the metrics we report. If we undercount or overcount performance due to the internal data analytics tools we use or

 

29


Table of Contents

issues with the data received from third parties, or if our internal data analytics tools contain algorithmic or other technical errors, the data we report may not be accurate or comparable with prior periods. In addition, limitations, changes or errors with respect to how we measure data may affect our understanding of certain details of our business, which could affect our longer-term strategies. If our performance metrics are not accurate representations of the reach or monetization of our brand, if we discover material inaccuracies in our metrics or the data on which such metrics are based, or if we can no longer calculate any of our key performance metrics with a sufficient degree of accuracy and cannot find an adequate replacement for the metric, our business, financial condition and operating results could be adversely affected.

Our business and the success of our products could be harmed if we are unable to maintain our corporate integrity or the images and reputation of our brands.

Our success to date has been due in large part to the growth of our brands’ images and our customers’ connection to our brands. If we are unable to timely and appropriately respond to changing consumer demands, the names and images of our brands may be impaired. Even if we react appropriately to changes in consumer preferences, consumers may consider our brands’ images to be outdated or associate our brands with styles that are no longer popular.

In addition, brand value is based in part on consumer sentiment about merchandise quality and corporate integrity, including our ability to operate responsibly through our commitment to responsible fashion and sustainability. For example, in 2020, across a.k.a. Brands we introduced 500 to 800 new styles each week. A perception that introducing a high volume of styles and manufacturing and selling of fast fashion at scale results in lower quality or increased textile waste, or that we are not honoring our commitment to responsible fashion, could harm our reputation. Our reputation could also be adversely affected by negative consumer perception of our sourcing concentration in particular countries.

Negative perceptions of our product quality, product design, product components or materials, or customer service could harm our brand loyalty and the value of our business. The unauthorized resale of our merchandise outside of approved distribution channels, sales of counterfeit items on third-party websites and similar deviations from the brand identity could negatively affect consumers’ perception of our products and harm our reputation. In addition, negative claims or publicity regarding us, our products, our brands, our marketing campaigns, or our influencer endorsers, could adversely affect our reputation and sales regardless of whether such claims are accurate. Social media, which accelerates the dissemination of information, can increase the challenges of responding to negative perceptions or claims. In the past, many apparel companies have experienced periods of rapid growth in sales and earnings followed by periods of declining sales and losses. Our businesses may be similarly affected in the future. In addition, we have sponsorship contracts with a number of influencers and feature those individuals in our advertising and marketing efforts. Failure to continue to obtain or maintain high-quality sponsorships and endorsers could harm our business. In addition, actions taken by social media influencers or celebrity endorsers that harm their own reputations could adversely affect the images of our brands by association.

If consumers begin to have negative perceptions of our brands or our corporate integrity, whether or not warranted, our brand image would become tarnished and our products would become less desirable, which could have a material adverse effect on our business.

Our brand depends on the promotion of diversity and equality and the ability to promote responsible fashion from an ethically and sustainably-sourced supply chain. If we are unable to do so, damage to our brand and reputation could result or failure to expand our brand which would harm our business and results of operations.

Our customers and employees are increasingly focused on environmental, social and governance or “sustainability” practices. We will depend significantly on building and maintaining our brand and reputation for promoting diversity and equality and responsible fashion from an ethically- and sustainably-sourced supply chain

 

30


Table of Contents

to attract customers and employees and grow our business. If we are unable to, for instance, prioritize transparency among our employees, appropriately enforce fair labor practices, obtain our materials from ethical and sustainable suppliers or reduce waste, our brand and reputation could be significantly impaired, which could adversely affect our business, results of operations, and financial condition. Customer values could shift faster than we are able to adjust our merchandise proposition. For example, weather impacts from global warming could continue to intensify and fuel increased customer sentiment for apparel that is more sustainably produced. While we are increasing our mix of sustainable fabrics, it may not be fast enough to keep up with a rapidly shifting customer sentiment and value system that is being accelerated by the impacts of global warming. If we are unable to evolve with our customers’ and employees’ expectations and standards, our brand, reputation and customer and employee retention may be negatively impacted.

We could be required to collect additional sales taxes or be subject to other tax liabilities that may increase the costs our consumers would have to pay for our offering and adversely affect our operating results.

In general, we have not historically collected state or local sales, use or other similar taxes in any jurisdictions in which we do not have a tax nexus, in reliance on court decisions or applicable exemptions that restrict or preclude the imposition of obligations to collect such taxes with respect to online sales of our products. In addition, we have not historically collected state or local sales, use or other similar taxes in certain jurisdictions in which we do have a physical presence, in reliance on applicable exemptions. On June 21, 2018, the U.S. Supreme Court decided, in South Dakota v. Wayfair, Inc., that state and local jurisdictions may, at least in certain circumstances, enforce a sales and use tax collection obligation on remote vendors that have no physical presence in such jurisdiction. A number of states have already begun, or have positioned themselves to begin, requiring sales and use tax collection by remote vendors and/or by online marketplaces. The details and effective dates of these collection requirements vary from state to state. While we now collect, remit and report sales tax in all states that impose a sales tax, it is still possible that one or more jurisdictions may assert that we have liability for previous periods for which we did not collect sales, use or other similar taxes, and if such an assertion or assertions were successful it could result in substantial tax liabilities, including for past sales taxes and penalties and interest, which could materially adversely affect our business, financial condition and operating results.

Economic downturns and market conditions beyond our control could materially adversely affect our business, operating results, financial condition and prospects.

Our business depends on global economic conditions and their impact on consumer discretionary spending. Some of the factors that may negatively influence consumer spending include high levels of unemployment; higher consumer debt levels; reductions in net worth, declines in asset values, and related market uncertainty; home foreclosures and reductions in home values; fluctuating interest rates and credit availability; fluctuating fuel and other energy costs; fluctuating commodity prices; and general uncertainty regarding the overall future political and economic environment. We have experienced many of these factors due to the COVID-19 pandemic and related responses and have seen negative impacts on consumer demand as a result. Unstable market conditions make it difficult for us to accurately forecast and plan future business activities, and could cause our customers to reduce or delay their spending with us. Economic conditions in certain regions may also be affected by natural disasters, such as hurricanes, tropical storms, earthquakes, and wildfires; other public health crises; and other major unforeseen events. Consumer purchases of discretionary items, including the merchandise that we offer, generally decline during recessionary periods or periods of economic uncertainty, when disposable income is reduced or when there is a reduction in consumer confidence. Economic downturns or unstable market conditions may also cause customers to decrease their budgets, which could reduce their spending on our products and adversely affect our business, financial condition and results of operations. As we explore new countries to expand our business, economic downturns or unstable market conditions in any of those countries could result in our investments not yielding the returns we anticipate.

 

31


Table of Contents

Our business is exposed to the risks of foreign currency exchange rate fluctuations.

Our international businesses operate in functional currencies other than the U.S. dollar. A growing percentage of our total revenues (approximately 42% in 2020) is derived from markets outside the U.S. Changes in currency exchange rates affect the U.S. dollar value of prices at which we purchase products and incur costs outside the U.S. In addition, for most of our brands, the majority of products are sourced from suppliers located in China. Changes in foreign currency exchange rates could have an adverse impact on our financial condition, results of operations and cash flows.

We are also exposed to currency translation risk because the results of our Australian businesses are generally reported in local currency, which we then translate to U.S. dollars for inclusion in our financial statements. As a result, exchange rate changes between foreign currencies and the U.S. dollar affect the amounts we record for our foreign assets, liabilities, revenues and expenses, and could have a negative effect on our financial results. We expect that our exposure to foreign currency exchange rate fluctuations will grow as the relative contribution of our non-U.S. operations increases.

We may be adversely affected by weather conditions.

Our business is adversely affected by unseasonable weather conditions. A significant portion of the sales of our products is dependent in part on the weather and is likely to decline in years in which weather conditions do not favor the use of these products. For example, periods of unseasonably warm weather in the fall or winter can lead to reduced consumer spending that negatively impacts our business, which can, in turn, negatively affect orders in future seasons. In addition, abnormally harsh or inclement weather can also negatively impact consumer spending. Any and all of these risks may have a material adverse effect on our financial condition, results of operations or cash flows.

If we fail to retain key personnel or attract additional qualified personnel, effectively manage succession, or hire, develop, and motivate our employees, our business, financial condition, and operating results could be adversely affected.

Our success, including our ability to effectively anticipate and respond to changing style trends, depends in part on our ability to retain key personnel and attract additional qualified personnel for our executive team and on our merchandising, marketing and other teams.

Because of our short tenure as a holding company, our senior management team has limited history working together at a.k.a. Brands. We have also experienced changes in the composition of our senior management, including, most notably, our Chief Financial Officer, who joined us on April 8, 2021. We do not have long-term employment with any of our personnel, including our brand founders, and only have limited non-compete agreements for a term of fewer than three years. Senior employees have left us in the past and others may in the future, which we cannot necessarily anticipate and whom we may not be able to promptly replace. The loss of one or more of our key personnel or the inability to promptly identify a suitable successor to a key role could have an adverse effect on our business. Further, if any of our brand founders or other key personnel leave to join or create competing brands, our business may suffer additional adverse consequences. We do not currently maintain key-person life insurance policies on any member of our senior management team or other key employees.

We also face significant competition for personnel. To attract top talent, we have had to offer, and believe we will need to continue to offer, competitive compensation and benefits packages before we can validate the productivity of those employees. We may also need to increase our employee compensation levels in response to competition. We cannot be sure that we will be able to attract, retain and motivate a sufficient number of qualified personnel in the future, or that the compensation costs of doing so will not adversely affect our operating results. In addition, we may not be able to hire new employees quickly enough to meet our needs. If we fail to effectively manage our hiring needs or successfully integrate new hires, our efficiency, ability to meet

 

32


Table of Contents

forecasts, and employee morale, productivity and retention could suffer, which may have an adverse effect on our business, financial condition and operating results.

Increases in labor costs, including wages, could adversely affect our business, financial condition and results of operations.

Labor is a significant portion of our cost structure and is subject to many external factors, including unemployment levels, prevailing wage rates, minimum wage laws, potential collective bargaining arrangements, health insurance costs and other insurance costs and changes in employment and labor legislation or other workplace regulation. From time to time, legislative proposals are made to increase the federal minimum wage in the United States, as well as the minimum wage in California and a number of other states and municipalities, and to reform entitlement programs, such as health insurance and paid leave programs. As minimum wage rates increase or related laws and regulations change, we may need to increase not only the wage rates of our minimum wage employees, but also the wages paid to our other hourly or salaried employees. Any increase in the cost of our labor could have an adverse effect on our business, financial condition and results of operations or if we fail to pay such higher wages we could suffer increased employee turnover. Increases in labor costs could force us to increase prices, which could adversely impact our sales. If competitive pressures or other factors prevent us from offsetting increased labor costs by increases in prices, our profitability may decline and could have a material adverse effect on our business, financial condition and results of operations.

Fluctuations in wage rates and the price, availability and quality of raw materials and finished goods could increase costs.

Fluctuations in the price, availability and quality of fabrics, leather or other raw materials used by us in our manufactured products, or of purchased finished goods, could have a material adverse effect on our cost of goods sold or our ability to meet our customers’ demands. The prices we pay depend on demand and market prices for the raw materials used to produce them. The price and availability of such raw materials may fluctuate significantly, depending on many factors, including general economic conditions and demand, energy prices, weather patterns and public health issues (such as the current COVID-19 pandemic). Increased demand for raw materials with a limited supply, such as sustainably harvested cotton, could negatively impact our ability to meet our customers’ demands for certain products. Prices of purchased products also depend on wage rates in China and other geographic areas where our suppliers are located, as well as shipping and freight costs from those regions. Inflation can also have a long-term impact on us because increasing costs of materials and labor may impact our ability to maintain satisfactory margins. Similarly, a significant portion of our products are manufactured in China, and declines in the value of the U.S. dollar may result in higher reported procurement costs. In the future, we may not be able to offset cost increases with other cost reductions or efficiencies or to pass higher costs on to our customers. This could have a material adverse effect on our results of operations, liquidity and financial condition.

Our third-party suppliers and manufacturers are based primarily in China, which exposes us to risks inherent in doing business there.

We use third-party suppliers and manufacturers based primarily in China. We use only a limited number of suppliers. This sourcing concentration increases our dependence of these suppliers and exposes us to the risks of doing business in China. We may have greater risks than our peers due to the concentration of our suppliers and manufacturers in China. With the rapid development of the Chinese economy, the cost of labor has increased and may continue to increase in the future. Our results of operations will be materially and adversely affected if the labor costs of our third-party suppliers increase significantly. In addition, our suppliers may not be able to find a sufficient number of qualified workers due to the intensely competitive and fluid market for skilled labor in China.

Sourcing products from in China exposes us to political, legal and economic risks. In particular, the political, legal and economic climate in China, both nationally and regionally, is fluid and unpredictable. Our

 

33


Table of Contents

ability to operate in China may be adversely affected by changes in U.S., Australian and Chinese laws and regulations such as those related to, among other things, taxation, import and export tariffs, custom duties, environmental regulations, land use rights, intellectual property, currency controls, network security, sanctions, embargoes, employee benefits and other matters. In addition, we may not obtain or retain the requisite legal permits to continue to operate in China, and costs or operational limitations may be imposed in connection with obtaining and complying with such permits. In addition, Chinese trade regulations are in a state of flux, and we may become subject to other forms of taxation, tariffs and duties these jurisdictions. Furthermore, the third parties we rely on in China may disclose our confidential information or intellectual property to competitors or third parties, which could result in the illegal distribution and sale of counterfeit versions of our products. If any of these events occur, our business, financial condition and results of operations could be materially and adversely affected.

We purchase inventory in anticipation of sales, and if we are unable to manage our inventory effectively, our operating results could be adversely affected.

Our business requires us to manage large volume of inventory, including precise quantities across a large number of different products, effectively. We add new apparel, footwear and accessories styles to our sites every week, and we depend on our forecasts of demand to make purchasing decisions and manage our inventory of stock-keeping units (SKUs). Demand for products, however, can change significantly between the time inventory is ordered and the date of sale. Demand may be affected by, among other things, the COVID-19 pandemic, new trends, seasonality, new product launches, rapid changes in product cycles and pricing, product defects, promotions, changes in consumer spending patterns, changes in consumer tastes with respect to our products and other factors, political instability and social unrest, and our customers may not purchase products in the quantities that we expect.

It may be difficult to accurately forecast demand and determine appropriate levels of product. We generally do not have the right to return unsold products to our suppliers. If we fail to manage our inventory effectively or negotiate favorable credit terms with third-party suppliers, we may be subject to a heightened risk of inventory obsolescence, a decline in inventory values, and significant inventory write-downs or write-offs. In addition, if we are required to lower sale prices in order to reduce inventory levels or to pay higher prices to our suppliers, our profit margins might be negatively affected. Any failure to manage brand expansion or accurately forecast demand for brands could adversely affect our growth and our margins. Privacy concerns and regulatory restrictions regarding the collection, use and processing of data could limit our ability to identify and respond to trends and to manage inventory. In addition, our ability to meet customer demand may be negatively impacted by a shortage in inventory due to reduced inventory purchases or disruptions in the supply chain due to a number of factors, including the COVID-19 pandemic. Historically, a substantial portion of the products we source from third parties have been manufactured in China. The COVID-19 pandemic has impacted, and will continue to impact, our supply chain as manufacturers operated at reduced capacity and demand from the online retail channel outpaced capacity. We also experienced increased shipping costs and transport delays as a result of the COVID-19 pandemic and weather-related conditions. While we seek to further diversify our supply chain and sourcing, we may not be able to diversify in a cost effective manner, or at all, which may materially and adversely affect our business, financial condition and operating results. Our distribution centers have been running at reduced capacity as a result of social distancing and other mandates in response to the COVID-19 pandemic. All of these challenges in our supply chain have affected, and may in the future affect, the quality of our products, the volume of refunds and returns, our brand reputation and our customers’ satisfaction and loyalty.

If we have problems with our distribution system, our ability to deliver our products to the market could be adversely affected.

We rely on owned or independently-operated distribution facilities to warehouse and ship product to our customers. Our distribution system includes computer-controlled and automated equipment, which may be subject to a number of risks related to security or computer viruses, the proper operation of software and

 

34


Table of Contents

hardware, power interruptions or other system failures. Because substantially all of our products are distributed from a relatively small number of locations, our operations could also be interrupted and our inventory could be destroyed by earthquakes, floods, fires or other natural disasters or other events outside our control affecting our distribution centers. We maintain business interruption insurance under our property and cyber-insurance policies, but it may not adequately protect us from the adverse effects that could be caused by significant disruptions in our distribution facilities. In addition, our distribution capacity is dependent on the timely performance of services by third parties, including the transportation of product to and from our distribution facilities. If we encounter problems with our distribution system, our ability to meet customer expectations, manage inventory, complete sales and achieve operating efficiencies could be materially adversely affected.

If we experience problems with our distribution and warehouse management systems, our ability to meet customer expectations, manage inventory, complete sales transactions and achieve objectives for operating efficiencies could be adversely affected.

In the U.S., we rely on fulfillment centers in California and New Jersey, which are operated by our third-party logistics provider, for all of our product distribution. Our fulfillment centers include computer-controlled and automated equipment and rely on a warehouse management system to manage supply chain fulfillment operations, which means their operations are complicated and may be subject to a number of risks related to cybersecurity, the proper operation of software and hardware, electronic or power interruptions or other system failures. In addition, because most of our U.S. fulfilled products are distributed from two primary fulfillment centers, our operations could also be interrupted by labor difficulties, or by floods, fires or other natural disasters near our fulfillment centers. We maintain business interruption insurance, but it may not adequately protect us from the adverse effects that could result from significant disruptions to our distribution system, such as the long-term loss of customers or an erosion of our brand image. Moreover, if we or our third-party logistics provider are unable to adequately staff our fulfillment centers to meet demand or if the cost of such staffing is higher than historical or projected costs due to mandated wage increases, regulatory changes, hazard pay, international expansion or other factors, our results of operations could be harmed. In addition, operating fulfillment centers comes with potential risks, such as workplace safety issues and employment claims for the failure or alleged failure to comply with labor laws or laws respecting union organizing activities. Our distribution capacity is also dependent on the timely performance of services by third parties, including the shipping of our products to and from our California and New Jersey distribution facilities. We may need to operate additional fulfillment centers in the future to keep pace with the growth of our business, and we cannot assure you that we will be able to locate suitable facilities on commercially acceptable terms in accordance with our expansion plans, nor can we assure you that we will be able to recruit qualified managerial and operational personnel to support our expansion plans. If we encounter problems with our distribution and warehouse management systems, our ability to meet customer expectations, manage inventory and fulfillment capacity, complete sales transactions, fulfill orders in a timely manner and achieve objectives for operating efficiencies could be adversely affected, which could also harm our reputation and our relationship with our customers.

If we do not successfully optimize, operate and manage the expansion of the capacity of our fulfillment centers, our business, financial condition and results of operations could be harmed.

We anticipate the need to add additional fulfillment center capacity as our business continues to grow. If we continue to add fulfillment and warehouse capabilities, add products categories with different fulfillment requirements or change the mix in products that we sell, our fulfillment network will become increasingly complex and operating it will become more challenging. The expansion of our fulfillment center capacity may put pressure on our managerial, financial, operational and other resources. We cannot assure you that we will be able to locate suitable facilities on commercially acceptable terms in accordance with our expansion plans, nor can we assure you that we will be able to recruit qualified managerial and operational personnel to support our expansion plans. In addition, we may be required to expand our capacity sooner than we anticipate. If we are unable to secure new facilities for the expansion of our fulfillment operations, recruit qualified personnel to support any such facilities or effectively control expansion-related expenses, our order fulfillment and shipping times may be delayed and our business, financial condition and results of operations could be adversely affected.

 

35


Table of Contents

Risks Relating to the Culture Kings Acquisition

We may not realize all of the anticipated benefits of the Culture Kings acquisition on the expected time frame or at all.

The Culture Kings acquisition is the largest acquisition in our history (as measured by purchase price). The full benefits of the acquisition, including the anticipated sales or growth opportunities, may not be realized within the anticipated time frame, or at all. The risks that may impact our successful integration of Culture Kings into our business and platform include:

 

   

loss of Culture Kings’ brand identity as a result of becoming part of a larger company;

 

   

difficulties integrating operations and systems, for example, with respect to accounting and IT systems;

 

   

difficulties integrating company policies and cultures;

 

   

the failure to retain and assimilate Culture Kings’ employees; and

 

   

our lack of experience operating brick-and-mortar stores.

Uncertainty on employees, customers and suppliers about realizing the full benefits of the Culture Kings acquisition may expose us to financial and operational risks. These uncertainties may impair our ability to attract, retain and motivate key personnel and could cause our customers, suppliers and other business partners to delay or defer certain business decisions or to seek to change existing business relationships with us. The integration process will result in significant costs and may divert management attention and resources. We may also fail to realize the anticipated financial benefits from the Culture Kings acquisition. The occurrence of any of these events could have a material adverse effect on our operating results.

The acquisition of Culture Kings exposes us to additional business risks that could adversely affect our business.

The success of the Culture Kings acquisition will depend on our ability to successfully integrate Culture Kings into our platform and operations, and to market Culture Kings in the U.S., which may require significant investment. In addition, Culture Kings business introduces new risks to our platform. These risks include:

 

   

the Culture Kings brand may not resonate with customers in the U.S.;

 

   

Culture Kings may experience greater pricing competition in the U.S.;

 

   

Culture Kings’ sale of third-party brands exposes our platform to licensing risks;

 

   

Culture Kings’ joint venture agreements may expose us to risks related to jointly-owned intellectual property;

 

   

we may encounter difficulties opening brick-and-mortar stores and expanding our supply chain and distribution network for Culture Kings;

 

   

Culture Kings’ brick-and-mortar stores will expose us to premises liabilities, such as slip and falls, and may subject us to greater potential labor union activity; and

 

   

Culture Kings may be vulnerable to greater reputational risk from association with celebrity endorsements.

Failure to effectively manage these new risks and achieve the anticipated benefits of the acquisition could adversely affect our operations and our future growth prospects.

 

36


Table of Contents

Risks Relating to Laws and Regulation

Changes in laws or regulations relating to data privacy and security, or any actual or perceived failure by us to comply with such laws and regulations, or contractual or other obligations relating to data privacy and security, could lead to government enforcement actions (which could include civil or criminal penalties), private litigation or adverse publicity and could have a material adverse effect on our reputation, results of operations, financial condition and cash flows.

We are, and may increasingly become, subject to various laws, directives, industry standards and regulations, as well as contractual obligations, relating to data privacy and security in the jurisdictions in which we operate. The regulatory environment related to data privacy and security is increasingly rigorous, with new and constantly changing requirements applicable to our business, and enforcement practices are likely to remain uncertain for the foreseeable future. These laws and regulations may be interpreted and applied differently over time and from jurisdiction to jurisdiction, and it is possible that they will be interpreted and applied in ways that may have a material adverse effect on our results of operations, financial condition and cash flows.

In the U.S., various federal and state regulators, including governmental agencies like the Consumer Financial Protection Bureau and the Federal Trade Commission, have adopted, or are considering adopting, laws and regulations concerning personal information and data security and have prioritized privacy and information security violations for enforcement actions. Certain state laws may be more stringent or broader in scope, or offer greater individual rights, with respect to personal information than federal, international or other state laws, and such laws may differ from each other, all of which may complicate compliance efforts. For example, the California Consumer Privacy Act (“CCPA”), which increases privacy rights for California residents and imposes obligations on companies that process their personal information, went into effect on January 1, 2020. Among other things, the CCPA requires covered companies to provide new disclosures to California consumers and provide such consumers new data protection and privacy rights, including the ability to opt-out of certain data sharing arrangements of personal information, and the ability to access and delete personal information. The CCPA provides for civil penalties for violations, as well as a private right of action for certain data breaches that result in the loss of personal information. This private right of action may increase the likelihood of, and risks associated with, data breach litigation. Furthermore, in November 2020, California voters passed the California Privacy Rights Act of 2020 (“CPRA”). Effective beginning January 1, 2023, the CPRA imposes additional obligations on companies covered by the legislation and will significantly modify the CCPA, including by expanding California residents’ rights with respect to certain sensitive personal information. The CPRA also creates a new state agency that will be vested with authority to implement and enforce the CCPA and CPRA. Other states also plan to pass data privacy laws that are similar to the CCPA, CPRA, and GDPR (described below), further complicating the legal landscape. In addition, laws in all 50 U.S. states require businesses to provide notice to consumers (and, in some cases, to regulators) whose personal information has been accessed or acquired as a result of a data breach. State laws are changing rapidly and there is discussion in Congress of a new comprehensive federal data privacy law to which we would become subject if it is enacted, which may add additional complexity, variation in requirements, restrictions and potential legal risks, require additional investment of resources in compliance programs, impact strategies and the availability of previously useful data and could result in increased compliance costs or changes in business practices and policies.

We are also subject to international laws, regulations and standards in many jurisdictions, which apply broadly to the collection, use, retention, security, disclosure, transfer and other processing of personal information. For example, the GDPR, which became effective in May 2018, greatly increased the European Commission’s jurisdictional reach of its laws and adds a broad array of requirements for handling personal data. EU member states are tasked under the GDPR to enact, and have enacted, certain implementing legislation that adds to and/or further interprets the GDPR requirements and potentially extends our obligations and potential liability for failing to meet such obligations. The GDPR, together with national legislation, regulations and guidelines of the EU member states and the United Kingdom governing the processing of personal data, impose strict obligations and restrictions on the ability to collect, use, retain, protect, disclose, transfer and otherwise process personal data. In particular, the GDPR includes obligations and restrictions concerning data transparency

 

37


Table of Contents

and consent, the overall rights of individuals to whom the personal data relates, the transfer of personal data out of the European Economic Area (“EEA”) or the United Kingdom, security breach notifications and the security and confidentiality of personal data. The GDPR authorizes fines for certain violations of up to 4% of global annual revenue or €20 million, whichever is greater. Recent legal developments in Europe have created further complexity and uncertainty regarding transfers of personal data from the EEA and the United Kingdom to the United States. Most recently, in July 2020, the Court of Justice of the European Union (“CJEU”) invalidated the EU-U.S. Privacy Shield Framework (“Privacy Shield”) under which personal data could be transferred from the EEA to the United States. While the CJEU upheld the adequacy of standard contractual clauses, a standard form of contract approved by the European Commission as an adequate personal data transfer mechanism and potential alternative to the Privacy Shield, it made clear that reliance on them alone may not necessarily be sufficient in all circumstances. Further, the United Kingdom’s decision to leave the EU has created uncertainty with regard to data protection regulation in the United Kingdom. As of January 1, 2021, we are also subject to the UK GDPR and UK Data Protection Act of 2018, which retains the GDPR in the United Kingdom’s national law. These recent developments will require us to review and amend the legal mechanisms by which we make and/or receive personal data transfers. As supervisory authorities issue further guidance on personal data export mechanisms, including circumstances where the standard contractual clauses and other mechanisms cannot be used, and/or start taking enforcement action, we could suffer additional costs, complaints and/or regulatory investigations or fines, or if we are otherwise unable to transfer personal data between and among countries and regions in which we operate, it could affect the manner in which we do business, the geographical location or segregation of our relevant operations, and could adversely affect our financial results.

Although we are working to bring our data privacy and cybersecurity practices into compliance with the GDPR, CCPA and other privacy laws which apply to our business, we may not currently comply fully with all aspects of such laws. To the extent we are currently not in compliance with such laws, we may face increased legal, financial and regulatory risks. All of these evolving compliance and operational requirements impose significant costs, such as costs related to organizational changes, implementing additional protection technologies, training associates and engaging consultants, which are likely to increase over time. The burdens imposed by privacy and data security laws and regulations may also limit our ability to analyze customer data, reduce the efficiency of our marketing, lead to negative publicity or make it more difficult to meet expectations of or commitments to clients, any of which could harm our business. In addition, these laws could impact our ability to offer our products in certain locations. These costs, burdens, and potential liabilities could be compounded if other jurisdictions in the U.S. or abroad begin to adopt similar or more restrictive privacy and data security laws. Such restrictions may require us to modify our data processing practices and policies, distract management or divert resources from other initiatives and projects, all of which could have a material adverse effect on our results of operations, financial condition and cash flows. Any failure or perceived failure by us to comply with any applicable federal, state or similar foreign laws and regulations relating to data privacy and security, or even the perception that the privacy of personal information is not satisfactorily protected, could result in damage to our reputation and our relationship with our customers, as well as proceedings or litigation by governmental agencies or customers, including class action privacy litigation in certain jurisdictions, which could subject us to significant fines, sanctions, awards, penalties or judgments, any of which could result in costly investigations and litigation, civil or criminal penalties, operational changes, and negative publicity that could adversely affect our reputation, as well as our results of operations and financial condition.

Changes in accounting standards and subjective assumptions, estimates and judgments by management related to complex accounting matters could significantly affect our financial results or financial condition.

Generally accepted accounting principles and related accounting pronouncements, implementation guidelines and interpretations with regard to a wide range of matters that are relevant to our business, including but not limited to revenue recognition, leases, impairment of goodwill and intangible assets, inventory, income taxes and litigation, are highly complex and involve many subjective assumptions, estimates and judgments. Changes in these rules or their interpretation or changes in underlying assumptions, estimates or judgments could significantly change or increase volatility of our reported or expected financial performance or financial

 

38


Table of Contents

condition. Refer to Note 2, “Significant Accounting Policies,” in the Notes to our Consolidated Financial Statements included in this registration statement on Form S-1 for a description of recent accounting pronouncements.

Our suppliers may not comply with our legal and social compliance program requirements, which could adversely affect our reputation.

We have a supplier compliance program that is monitored on a regular basis by our buying offices. Our suppliers’ facilities are either certified as in compliance with our program, or areas of improvement are identified and corrective follow-up action is taken. All suppliers are required to follow applicable national labor laws, as well as international compliance standards regarding workplace safety, such as standards that require clean and safe working environments, clearly marked exits and paid overtime. We also require those vendors to follow sourcing guidelines, which include environmental, labor, health, and safety standards. We believe in protecting the safety and working rights of the people who manufacture the products we sell, while recognizing and respecting cultural and legal differences found throughout the world. We require our third-party suppliers to register through an online website and agree that they and their vendors will abide by certain standards and conditions of employment. If our third-party suppliers fail to comply with our social compliance program, our reputation may be adversely affected. From time to time, contractors or their subcontractors may not be in compliance with these standards or applicable local laws. Significant or continuing noncompliance with such standards and laws by one or more suppliers could have a negative impact on our reputation, could subject us to liability, and could have an adverse effect on our results of operations.

Our business is subject to federal, state, local and international laws and regulations regarding consumer protection, promotions, safety and other matters. The costs of compliance with, or the violation of, such laws and regulations by us or by independent suppliers who manufacture products for us could have an adverse effect on our operations and cash flows, as well as on our reputation.

Our business is subject to federal, state, local and international laws and regulations on a wide range of consumer protection, promotion and pricing of merchandise, safety and other matters. The merchandise we sell to our customers is subject to regulation by the Federal Consumer Product Safety Commission, the Federal Trade Commission and similar state and international regulatory authorities. For example, the Federal Trade Commission labeling regulations require us to accurately disclose, on our website and on every item of apparel, the country of origin for each item and the materials used in its manufacture. We are subject to risks related to the interpretation of state and local laws and regulations governing the collection and remittance of sales and use taxes, and laws and regulations governing pricing, promotions and sales. We could be adversely affected by costs of compliance with or violations of those laws and regulations. In addition, we require third-party suppliers to operate in compliance with applicable laws, rules and regulations regarding working conditions, safety, employment practices and environmental compliance, which could increase our costs due to the costs of compliance by those contractors.

Failure by us or our third-party suppliers to comply with such laws and regulations, as well as with ethical, social, product, labor and environmental standards, or related political considerations, could result in interruption of finished goods shipments to us, cancellation of orders by customers and termination of relationships. If one of our independent contractors violates labor or other laws, implements labor or other business practices or takes other actions that are generally regarded as unethical, it could jeopardize our reputation and potentially lead to various adverse consumer actions, including boycotts that may reduce demand for our merchandise. Damage to our reputation or loss of consumer confidence for any of these or other reasons could have a material adverse effect on our results of operations, financial condition and cash flows, as well as require additional resources to rebuild our reputation.

 

39


Table of Contents

Unfavorable changes or failure by us to comply with evolving internet and eCommerce regulations could substantially harm our business and operating results.

We are subject to general business regulations and laws as well as regulations and laws specifically governing the internet and eCommerce. These regulations and laws may involve taxes, privacy and data security, consumer protection, the ability to collect and/or share necessary information that allows us to conduct business on the internet, marketing communications and advertising, content protection, electronic contracts, or gift cards. Furthermore, the regulatory landscape impacting internet and eCommerce businesses is constantly evolving. For example, California’s Automatic Renewal Law requires companies to adhere to enhanced disclosure requirements when entering into automatically renewing contracts with consumers. As a result, a wave of consumer class action lawsuits was brought against companies that offer online products and services on a subscription or recurring basis. Any failure, or perceived failure, by us to comply with any of these laws or regulations could result in damage to our reputation, lost business, and proceedings or actions against us by governmental entities or others, which could impact our operating results.

Developments in labor and employment law and any unionizing efforts by employees could have a material adverse effect on our results of operations.

We face the risk that Congress, federal agencies or one or more states could approve legislation or regulations significantly affecting our businesses and our relationship with our employees and other individuals providing valuable services to us, such as our influencers and models. For example, the previously proposed federal legislation referred to as the Employee Free Choice Act would have substantially liberalized the procedures for union organization. None of our domestic employees are currently covered by a collective bargaining agreement, but any attempt by our employees to organize a labor union could result in increased legal and other associated costs. Additionally, given the National Labor Relations Board’s “speedy election” rule, our ability to timely and effectively address any unionizing efforts would be difficult. If we enter into a collective bargaining agreement with our domestic employees, the terms could materially adversely affect our costs, efficiency and ability to generate acceptable returns on the affected operations.

Federal and state wage and hour rules establish minimum salary requirements for employees to be exempt from overtime payments. For example, among other requirements, California law requires employers to pay employees who are classified as exempt from overtime a minimum salary of at least twice the minimum wage, which is currently $54,080 per year for executive, administrative and professional employees with employers that have 26 or more employees. Minimum salary requirements impact the way we classify certain employees, increases our payment of overtime wages and provision of meal or rest breaks, and increases the overall salaries we are required to pay to currently exempt employees to maintain their exempt status. As such, these requirements may have a material adverse effect on our business, financial condition and results of operations.

Further, the laws and regulations that govern the status and classification of independent contractors and other similar non-employee services providers are subject to change and divergent interpretations by various authorities, which can create uncertainty and unpredictability for us. For example, a new law in California, known as Assembly Bill 5, which took effect in January 2020, codifies and extends an employment classification test set forth by the California Supreme Court that established a new standard for determining employee or independent contractor status. The passage of this bill, and other similar initiatives throughout the United States, could lead to additional challenges to the classification of influencers and models, and a potential increase in claims, lawsuits, arbitration proceedings, administrative actions, government investigations and other legal and regulatory proceedings at the federal, state and municipal levels challenging the classification of any influencers or models as independent contractors. Such regulatory scrutiny or actions over such classification practices also may create different or conflicting obligations from one jurisdiction to another. Although we are currently not involved in any material legal actions and, to our knowledge, there have been no materials claims of misclassification made against us, the likelihood of misclassification claims in states like California has increased in light of laws such as Assembly Bill 5, and the results of any such litigation or arbitration are inherently unpredictable and legal proceedings related to such claims, individually or in the aggregate, could have a material

 

40


Table of Contents

impact on the Company’s business, financial condition and results of operations. Regardless of the outcome, litigation and arbitration of misclassification and wage and hour claims can have an adverse impact on us because of defense and settlement costs individually and in the aggregate, diversion of management resources and other factors, which could have a material adverse effect on our business, financial condition and results of operations.

Climate change and increased focus by governmental and non-governmental organizations, customers, consumers and investors on sustainability issues, including those related to climate change, may adversely affect our business and financial results and damage our reputation.

Our business and results of operations could be adversely affected by climate change and the adoption of new climate change laws, policies and regulations. Growing concerns about climate change and greenhouse gas emissions have led to the adoption of various regulations and policies, including the Paris Agreement negotiated at the 2015 United Nations Conference on Climate Change, which requires participating nations to reduce carbon emissions every five years beginning in 2023. Climate change may impact our business in numerous ways. For example, governments may impose new taxes to finance efforts to reduce the impact of climate change, any of which may increase shipping and freight costs and prices for our products. We also face the risk that governmental or non-governmental organizations may increase their focus on the fashion sector and implement greater environmental regulation on the fashion sector in the United States or the fashion sector in other markets. For example, the fashion industry’s process for dying fabrics uses large quantities of water, and the disposition of the waste water directly impacts the environment. Increased scrutiny and regulation of this practice may adversely affect our business.

Additionally, some scientists have concluded that increasing concentrations of greenhouse gases in the Earth’s atmosphere may produce climate changes that have significant physical effects, such as increased frequency and severity of storms, droughts, floods and other climatic events. Increased frequency of extreme weather could cause increased incidence of disruption to the production and distribution of our products and an adverse impact on consumer demand and spending. If any such climate changes were to occur, they could have an adverse effect on our financial condition and results of operations.

Changes to U.S., Australian or international trade policy, tariff and import/export regulations or our failure to comply with such regulations may have a material adverse effect on our reputation, business, financial condition and results of operations.

Changes in U.S., Australian or international social, political, regulatory and economic conditions or in laws and policies governing foreign trade, manufacturing, development and investment in the territories or countries where we currently sell our products or conduct our business, as well as any negative sentiment toward the U.S. or Australia as a result of such changes, could adversely affect our business. The U.S. and Australian governments have from time to time instituted or proposed changes in trade policies that include the negotiation or termination of trade agreements, the imposition of higher tariffs on imports into the U.S. and Australia, economic sanctions on individuals, corporations or countries, and other government regulations affecting trade between the U.S., Australia and other countries where we conduct our business. It may be time-consuming and expensive for us to alter our business operations in order to adapt to or comply with any such changes.

As a result of recent policy changes of the U.S. and Australian governments and recent U.S. and Australian government proposals, there may be greater restrictions and economic disincentives on international trade. The new tariffs and other changes in U.S. and Australian trade policy has in the past and could continue to trigger retaliatory actions by affected countries, and certain foreign governments have instituted or are considering imposing retaliatory measures on certain U.S. and Australian goods. We, similar to many other multinational corporations, do a significant amount of business that would be impacted by changes to the trade policies of the U.S., Australia, and foreign countries (including governmental action related to tariffs, international trade agreements, or economic sanctions). Such changes have the potential to adversely impact the U.S. and Australian

 

41


Table of Contents

economy or certain sectors thereof, our industry and the global demand for our products, and as a result, could have a material adverse effect on our business, financial condition and results of operations.

Our reliance on overseas manufacturing and supply partners, including vendors located in jurisdictions presenting an increased risk of bribery and corruption, exposes us to legal, reputational, and supply chain risk through the potential for violations of federal and international anti-corruption law.

We derive a significant portion of our merchandise for our owned brands from third-party manufacturing and supply partners in foreign countries and territories, including countries and territories perceived to carry an increased risk of corrupt business practices. The U.S. Foreign Corrupt Practices Act, or the FCPA, prohibits U.S. corporations and their representatives from offering, promising, authorizing or making payments to any foreign government official, government staff member, political party or political candidate in an attempt to obtain or retain business abroad. Likewise, the SEC, the U.S. Department of Justice, OFAC, the U.S. Department of State, as well as other foreign regulatory authorities continue to enforce economic and trade regulations and anti-corruption laws, across industries. U.S. trade sanctions relate to transactions with designated foreign countries and territories as well as specially targeted individuals and entities that are identified on U.S. and other government blacklists, and those owned by them or those acting on their behalf. Notwithstanding our efforts to conduct our operations in material compliance with these regulations, our international vendors could be determined to be our “representatives” under the FCPA, which could expose us to potential liability for the actions of these vendors under the FCPA. If we or our vendors were determined to have violated OFAC regulations, the FCPA, the U.K. Bribery Act of 2010, or any of the anti-corruption and anti-bribery laws in the countries and territories where we and our vendors do business, we could suffer severe fines and penalties, profit disgorgement, injunctions on future conduct, securities litigation, bans on transacting certain business, and other consequences that may have a material adverse effect on our business, financial condition and results of operations. In addition, the costs we may incur in defending against any anti-corruption investigations stemming from our or our vendors’ actions could be significant. Moreover, any actual or alleged corruption in our supply chain could carry significant reputational harms, including negative publicity, loss of good will, and decline in share price.

We depend upon third-party suppliers and manufacturers, making us vulnerable to supply disruptions and price fluctuations.

We rely on a number of third-party suppliers and manufacturers to provide our products, including one supplier that represents approximately 12% of our purchase orders. Our suppliers may encounter problems for a variety of reasons, including unanticipated demand from larger customers, equipment malfunction, environmental factors and public health emergencies including but not limited to the global COVID-19 pandemic, any of which could delay or impede their ability to meet our demand. Our reliance on these third-party suppliers also subjects us to other risks that could harm our business, including:

 

   

interruption of supply resulting from modifications to, or discontinuation of, a supplier’s operations;

 

   

delays in product shipments resulting from errors in manufacturing, defects or reliability issues from suppliers;

 

   

inability to obtain adequate supplies in a timely manner or on commercially reasonable terms;

 

   

difficulty locating and qualifying alternative suppliers, especially with respect to our 12% supplier;

 

   

the failure of our suppliers to comply with regulatory requirements, which could result in disruption of supply or increased expenses; and

 

   

inability of suppliers to fulfill orders and meet requirements due to financial hardships.

If we are unable to arrange for third-party supply or manufacturing of our products, or to do so on commercially reasonable terms, we may not be able to complete development of, market and sell our current or

 

42


Table of Contents

new products. Failure to meet customer orders could result in loss of customers or harm our ability to attract new customers, either of which could have a material and adverse effect on our business, financial condition, results of operations and growth.

Risks Relating to Our Intellectual Property Rights and Our Technology

We rely significantly on information technology. Any inadequacy, interruption, integration failure or security failure of this technology could harm our ability to effectively operate our business.

Our ability to effectively manage and operate our business depends significantly on information technology systems. We rely heavily on information technology to enable, track, and facilitate sales and inventory and manage our supply chain. We are also dependent on information technology, including the internet, for our direct-to-consumer sales, including our eCommerce operations and retail business credit card transaction authorization. Despite our preventative efforts, our systems and those of our third-party service providers may be vulnerable to damage, failure or interruption due to viruses, data security incidents, technical malfunctions, natural disasters or other causes, or in connection with upgrades to our system or the implementation of new systems. The failure of these systems to operate effectively, problems with transitioning to upgraded or replacement systems, difficulty in integrating new systems or systems of acquired businesses or a breach in security of these systems could adversely impact the operations of our business, including our reputation, management of inventory, ordering and replenishment of products, manufacturing and distribution of products, eCommerce operations, retail business credit card transaction authorization and processing, corporate email communications and our interaction with the public on social media.

A security breach or other disruption to our information technology systems could result in the loss, theft, misuse, unauthorized disclosure, or unauthorized access of customer, supplier, or sensitive company information or could disrupt our operations, which could damage our relationships with customers, suppliers or employees, expose us to litigation or regulatory proceedings, or harm our reputation, any of which could materially adversely affect our business, financial condition, or results of operations.

Our business involves the storage and transmission of a significant amount of personal, confidential, or sensitive information, including the personal information of our customers, credit card information, the personal information of our employees, information relating to customer preferences, and our proprietary financial, operational, and strategic information. The protection of this information is vitally important to us as the loss, theft, misuse, unauthorized disclosure, or unauthorized access of such information could lead to significant reputational or competitive harm, result in litigation involving us or our business partners, expose us to regulatory proceedings, and cause us to incur substantial liabilities, fines, penalties, or expenses. As a result, we believe our future success and growth depends, in part, on the ability of our key business processes and systems, including our information technology and global communication systems, to prevent the theft, loss, misuse, unauthorized disclosure, or unauthorized access of this personal, confidential, and sensitive information, and to respond quickly and effectively if data security incidents do occur. As with many businesses, we are subject to numerous data privacy and security risks, which may prevent us from maintaining the privacy of this information, result in the disruption of our business, and require us to expend significant resources attempting to secure and protect such information and respond to incidents, any of which could materially adversely affect our business, financial condition, or results of operations.

The frequency, intensity, and sophistication of cyber-attacks, ransom-ware attacks, and other data security incidents has significantly increased in recent years. As with many other businesses, we have experienced, and are continually at risk of being subject to, attacks and incidents. Due to the increased risk of these types of attacks and incidents, we expend significant resources on information technology and data security tools, measures, and processes designed to protect our information technology systems, as well as the personal, confidential, or sensitive information stored on or transmitted through those systems, and to ensure an effective response to any cyber-attack or data security incident. Whether or not these measures are ultimately successful, these

 

43


Table of Contents

expenditures could have an adverse impact on our financial condition and results of operations and divert management’s attention from pursuing our strategic objectives.

In addition, although we take the security of our information technology systems seriously, there can be no assurance that the security measures we employ will effectively prevent unauthorized persons from obtaining access to our systems and information. Despite the implementation of reasonable security measures by us and our third-party providers, our systems and information are susceptible to physical or electronic break-ins, security breaches from inadvertent or intentional actions of our employees, third-party service providers, contractors, consultants, business partners, and/or other third parties, from cyber-attacks by malicious third parties (including the deployment of harmful malware, ransomware, denial-of service attacks, social engineering, and other means to affect service reliability and threaten the confidentiality, integrity, and availability of information), or other data security incidents. These risks may be exacerbated in the remote work environment. In addition, because the techniques used to obtain unauthorized access to information technology systems are constantly evolving and becoming more sophisticated, they may not be recognized until launched, and can originate from a wide variety of sources, including outside groups such as external service providers, organized crime affiliates, terrorist organizations, or hostile foreign governments or agencies, we may be unable to anticipate these techniques or implement adequate preventive measures in response. Cyber-attacks or data security incidents could remain undetected for an extended period, which could potentially result in significant harm to our systems, as well as unauthorized access to the information stored on and transmitted by our systems. Even when a security breach is detected, the full extent of the breach may not be determined immediately. The costs to us to mitigate network security problems, bugs, viruses, worms, malicious software programs and security vulnerabilities could be significant and, while we have implemented security measures to protect our systems, our efforts to address these problems may not be successful. Further, despite our security efforts and training, our employees may purposefully or inadvertently cause security breaches that could harm our systems or result in the unauthorized disclosure of or access to information. Any measures we do take to prevent security breaches, whether caused by employees or third parties, have the potential to limit our ability to complete sales or ship products to our customers, harm relationships with our suppliers, or restrict our ability to meet our customers’ expectations with respect to their online or retail shopping experience.

A cyber-attack or other data security incident could result in the significant and protracted disruption of our business such that:

 

   

critical business systems become inoperable or require a significant amount of time or cost to restore;

 

   

key personnel are unable to perform their duties, communicate with employees, customers, or third-party partners;

 

   

it results in the loss, theft, misuse, unauthorized disclosure, or unauthorized access of customer, supplier, or company information;

 

   

we are prevented from accessing information necessary to conduct our business;

 

   

we are required to make unanticipated investments in equipment, technology or security measures;

 

   

customers cannot access our eCommerce websites, and customer orders may not be received or fulfilled;

 

   

we become subject to return fraud schemes, reselling schemes, and imposter sites schemes; or

 

   

we become subject to other unanticipated liabilities, costs, or claims.

If any of these events were to occur, it could have a material adverse effect on our financial condition and results of operations and result in harm to our reputation.

In addition, if a cyber-attack or other data incident results in the loss, theft, misuse, unauthorized disclosure, or unauthorized access of personal, confidential, or sensitive information belonging to our customers, suppliers,

 

44


Table of Contents

or employees, it could put us at a competitive disadvantage, result in the deterioration of our customers’ confidence in our brands, cause our suppliers to reconsider their relationship with our company or impose more onerous contractual provisions, and subject us to potential litigation, liability, fines, and penalties. While we maintain insurance coverage that may, subject to policy terms and conditions, cover certain aspects of the losses and costs associated with cyber-attacks and data incidents, such insurance coverage may be insufficient to cover all losses and would not, in any event, remedy damage to our reputation. In addition, we may face difficulties in recovering any losses from our provider and any losses we recover may be lower than we initially expect.

We are also reliant on the security practices of our third-party service providers, which may be outside of our direct control. The services provided by these third parties are subject to the same risk of outages, other failures and security breaches described above. If these third parties fail to adhere to adequate security practices, or experience a breach of their systems, the data of our employees, customers and business associates may be improperly accessed, used or disclosed. In addition, our providers have broad discretion to change and interpret the terms of service and other policies with respect to us, and those actions may be unfavorable to our business operations. Our providers may also take actions beyond our control that could harm our business, including discontinuing or limiting our access to one or more services, increasing pricing terms, terminating or seeking to terminate our contractual relationship altogether, or altering how we are able to process data in a way that is unfavorable or costly to us. Although we expect that we could obtain similar services from other third parties, if our arrangements with our current providers were terminated, we could experience interruptions in our business, as well as delays and additional expenses in arranging for alternative cloud infrastructure services. Any loss or interruption to our systems or the services provided by third parties would adversely affect our business, financial condition and results of operations.

Customer growth and activity on mobile devices depends upon effective use of mobile operating systems, networks and standards that we do not control.

Purchases using mobile devices by consumers generally, and by our customers specifically, have increased significantly in recent years, and we expect this trend to continue. To optimize the mobile shopping experience, we are dependent on our customers downloading our specific mobile applications for their particular device or accessing our sites from an internet browser on their mobile device. As new mobile devices and platforms are released, it is difficult to predict the problems we may encounter in developing applications for these alternative devices and platforms, and we may need to devote significant resources to the creation, support and maintenance of such applications. In addition, our future growth and our results of operations could suffer if we experience difficulties in the future in integrating our mobile applications into mobile devices, if problems arise with our relationships with providers of mobile operating systems or mobile application download stores, such as those of Apple Inc. or Google Inc., if our applications receive unfavorable treatment compared to competing applications, such as the order of our products in the Apple App Store, or if we face increased costs to distribute or have customers use our mobile applications. We are further dependent on the interoperability of our sites with popular mobile operating systems that we do not control, such as iOS and Android, and any changes in such systems that degrade the functionality of our sites or give preferential treatment to competitive products could adversely affect the usage of our sites on mobile devices. In the event that it is more difficult for our customers to access and use our sites on their mobile devices, or if our customers choose not to access or to use our sites on their mobile devices or to use mobile products that do not offer access to our sites, our customer growth could be harmed and our business, financial condition and operating results may be materially and adversely affected.

If the use of “cookie” tracking technologies is further restricted, regulated, or blocked, or if changes in technology cause cookies to become less reliable or acceptable as a means of tracking consumer behavior, the amount or accuracy of internet user information we collect would decrease, which could harm our business and operating results.

Cookies are small data files that are sent by websites and stored locally on an internet user’s computer or mobile device. We, and third parties who work on our behalf, collect data via cookies that is used to track the

 

45


Table of Contents

behavior of visitors to our sites, to provide a more personal and interactive experience, and to increase the effectiveness of our marketing. However, internet users can easily disable, delete, and block cookies directly through browser settings or through other software, browser extensions, or hardware platforms that physically block cookies from being created and stored.

Privacy regulations and policies by device operating systems, such as iOS or Android, restrict how we deploy our cookies and this could potentially increase the number of internet users that choose to proactively disable cookies on their systems. In the EU, the Directive on Privacy and Electronic Communications requires users to give their consent before cookie data can be stored on their local computer or mobile device. Users can decide to opt out of nearly all cookie data creation, which could negatively impact our operating results. We may have to develop alternative systems to determine our consumers’ behavior, customize their online experience, or efficiently market to them if consumers block cookies or regulations introduce additional barriers to collecting cookie data.

Third parties may claim that we are infringing, misappropriating or otherwise violating their intellectual property rights or those of others. Intellectual property-related litigation and proceedings are expensive and time consuming to defend, and, if resolved adversely, could materially adversely impact our business, financial condition and results of operations. Intellectual property-related claims could also cause us to lose access to third-party service providers that we rely upon in the conduct of our business.

Our commercial success depends on our avoiding infringement, misappropriation or other violations of the intellectual property rights of third parties. We have in the past, are currently and may in the future be subject to claims that some of our products are infringing, misappropriating or otherwise violating the trademarks, copyrights, patents or other intellectual property rights of third parties, which could be costly to defend and require us to pay damages. Such claims may be made by competitors seeking to obtain a competitive advantage or by other parties, including non-practicing entities with no relevant product revenue, and, therefore, our own intellectual property rights may provide little or no deterrence to these rights holders in bringing intellectual property rights claims against us. Additionally, some of our competitors have substantially greater resources than we do and are able to sustain the costs of complex intellectual property litigation to a greater degree and for longer periods of time than we could. Moreover, bringing or defending any such claim, regardless of merit, and whether successful or unsuccessful, could be expensive and time-consuming and have a negative effect on our business, reputation, results of operations and financial condition. The outcome of any litigation is inherently uncertain, and there can be no assurances that favorable final outcomes will be obtained in all cases. Furthermore, an adverse outcome of a dispute may result in an injunction requiring us to cease the commercialization of our products and could require us to pay substantial monetary damages, including treble damages and attorneys’ fees, if we are found to have willfully infringed a party’s intellectual property rights. Our liability insurance may not cover potential claims of this type adequately or at all. Further, we may be unable to successfully resolve these type of conflicts to our satisfaction and may be required to enter into costly license agreements, if available at all, be required to pay significant royalty, settlements costs or damages, required to rebrand our products and/or be prevented from selling some of our products. The terms of such a settlement or judgment may require us to cease some or all of our operations or pay substantial amounts to the other party. Even if we have an agreement to indemnify us against such costs, the indemnifying party may be unable or unwilling to uphold its contractual obligations. In addition, we may have to seek a license to continue practices found to be in violation of a third-party’s rights. If we are required, or choose to enter into royalty or licensing arrangements, such arrangements may not be available on reasonable terms, or at all, and may significantly increase our operating costs and expenses. Such arrangements may also only be available on a non-exclusive basis, such that third parties, including our competitors, could have access to use the same intellectual property to compete with us. We may also have to redesign our products so they do not infringe, misappropriate or otherwise violate third-party intellectual property rights, which may not be possible or may require substantial monetary expenditures and time, during which our products may not be available for commercialization or use. Such outcomes would increase our operating expenses, and if we cannot redesign our products in a noninfringing manner or obtain a license for any allegedly infringing aspect of our business, we may be forced to limit our

 

46


Table of Contents

product offerings, which could decrease our sales, reduce our operating margins and adversely affect our ability to compete effectively.

Additionally, such claims could result in third parties removing our allegedly infringed intellectual property, even if we are ultimately successful on the merit of the claims, in order to be shielded from legal liability under the Digital Millennium Copyright Act (“DMCA”). DMCA is intended, in part, to limit the liability of eligible service providers for caching, hosting or linking to, user content that include materials that infringe copyrights or other rights of others. Third parties that we rely upon in the operation of our business, including Shopify, our eCommerce and payments platform, rely on the protections provided by the DMCA in conducting their business. To protect their entitlement to the benefits of these protections, third parties, such as Shopify, have in the past threatened to deny us access to their services, and it is possible such third parties could deny us access to their services if we are alleged to infringe on the intellectual property rights of others, whether such claims are founded or unfounded, and the loss of such access could materially adversely affect our business. The loss of services of any third party that we rely on could adversely impact our ability to carry on our business, and could have a material adverse effect on our business, financial condition and results of operations. We could also be adversely impacted by future legislation and future judicial decisions altering the safe harbors of the DMCA or if international jurisdictions refuse to apply similar protections.

Failure to adequately establish, maintain, protect and enforce our intellectual property or proprietary rights, or prevent third parties from making unauthorized use of such rights, such as by counterfeiting of our products, could reduce sales and adversely affect the value of our brands.

Our intellectual property is an essential asset of our business. Our business could be significantly harmed if we are not able to establish, maintain, protect and enforce our intellectual property rights. We believe our competitive position is largely attributable to the value of our trademarks, trade dress, trade names, trade secrets, copyrights, and other intellectual property rights. For example, we rely on trademark protection to protect our rights to various marks as well as distinctive logos and other marks associated with our products and services. If our trademarks and trade names are not adequately protected, then we may not be able to build name recognition in our markets of interest and our business may be adversely affected. Effective trademark protection may not be available or may not be sought in every country in which our products are made available, and contractual disputes may affect the use of marks governed by private contract. Our registered or unregistered trademarks or trade names may be challenged, infringed, circumvented or declared generic or determined to be infringing on other marks. Further, at times, competitors may adopt trade names or trademarks similar to ours, thereby impeding our ability to build brand identity and possibly leading to market confusion. In addition, there could be potential trade name or trademark infringement claims brought by owners of other trademarks or trademarks that incorporate variations of our registered or unregistered trademarks or trade names. Over the long term, if we are unable to establish name recognition based on our trademarks and trade names, then we may not be able to compete effectively and our business may be adversely affected. Similarly, not every variation of a domain name may be available or be registered, even if available. The occurrence of any of these events could result in the erosion of our brands and limit our ability to market our brands using our various domain names, as well as impede our ability to effectively compete against competitors, any of which could materially adversely affect our business, financial condition and results of operations. We also rely on agreements under which we contract to own, or license rights to use, intellectual property developed by employees, contractors and other third parties. In addition, while we generally enter into confidentiality agreements with our employees and third parties to protect our trade secrets, know-how, business strategy and other proprietary information, such confidentiality agreements could be breached or otherwise may not provide meaningful protection for our trade secrets and know-how related to the design or manufacture of our products. Similarly, while we seek to enter into agreements with all of our employees who develop intellectual property during their employment to assign the rights in such intellectual property to us, we may fail to enter into such agreements with all relevant employees, such agreements may be breached or may not be self-executing, and we may be subject to claims that such employees misappropriated relevant rights from their previous employers. Accordingly, we cannot guarantee that the steps we have taken to protect our intellectual property will be adequate to prevent infringement,

 

47


Table of Contents

misappropriation or other violations of our intellectual property rights, that we have secured, or will be able to secure, appropriate permissions or protections for all of the intellectual property rights we use or claim rights to, or that third parties will not terminate our license rights. Furthermore, even if we are able to obtain and maintain any intellectual property rights, any such rights may be challenged, invalidated, circumvented, infringed, misappropriated or otherwise violated. Any challenge to our intellectual property rights could result in our intellectual property rights being narrowed in scope or declared invalid or unenforceable. If we fail to protect our intellectual property rights adequately, we may lose an important advantage in the markets in which we compete.

Although we take aggressive legal and other actions to pursue those who infringe on our intellectual property rights, we cannot guarantee that the actions we take will be adequate to protect our brands in the future, especially because some countries’ laws do not protect intellectual property rights to the same extent as U.S. and Australian laws. For example, effective patent, trademark, copyright and trade secret protection may be unavailable or limited in some of the countries in which we operate. Policing unauthorized use of our intellectual property may also be difficult, expensive, and time-consuming, particularly in such foreign countries where mechanisms for enforcement of intellectual property rights may be weak. We may not be able to detect unauthorized use of, or take appropriate steps to enforce, our intellectual property rights, or pursue all counterfeiters who may seek to benefit from our brands. Furthermore, intellectual property laws and our procedures and restrictions provide only limited protection and any of our intellectual property rights may be challenged, invalidated, circumvented, infringed or misappropriated. If we fail to adequately protect our intellectual property rights, it would allow our competitors to sell products that are similar to and directly competitive with our products, which could reduce sales of our products. In addition, any intellectual property lawsuits in which we are involved could cost a significant amount of time and money and distract management’s attention from operating our business, which may negatively impact our business and results of operations.

The success of our brands has also made us the target of counterfeiting and product imitation strategies. We continue to be vulnerable to such infringements despite our dedication of significant resources to the registration and protection of our intellectual property and to anti-counterfeiting efforts worldwide. If we fail to prevent counterfeiting or imitation of our products, we could lose opportunities to sell our products to consumers who may instead purchase a counterfeit or imitation product. In addition, if our products are associated with inferior products due to infringement by others of our intellectual property, it could adversely affect the value of our brands and trademarks or trade names.

In order to protect our intellectual property rights, we may be required to spend significant resources to monitor for infringement and protect these rights. Litigation may be necessary in the future to enforce our intellectual property rights and to protect our trade secrets, which could be costly, time consuming and distracting to management and could result in the impairment or loss of portions of our intellectual property. Furthermore, our efforts to enforce our intellectual property rights may be met with defenses, counterclaims and countersuits attacking the validity and enforceability of our intellectual property rights. Any court decision or settlement that prevents trademark protection of our brands, that allows a third-party to continue to sell products similar to our products, or that allows a manufacturer or distributor to continue to sell counterfeit versions of our products, could lead to intensified competition and a material reduction in our sales.

We are subject to payments-related risks.

We accept payments using a variety of methods, including credit card, debit card, credit accounts (including promotional financing), gift cards, direct debit from a customer’s bank account, consumer invoicing, physical bank check, cryptocurrencies, and payment upon delivery. For existing and future payment options we offer to our customers, we currently are subject to, and may become subject to additional, regulations and compliance requirements (including obligations to implement enhanced authentication processes that could result in significant costs and reduce the ease of use of our payments products), as well as fraud. For certain payment methods, including credit and debit cards, we pay interchange and other fees, which may increase over time and raise our operating costs and lower profitability. We rely on third parties to provide certain payment methods and

 

48


Table of Contents

payment processing services, including the processing of credit cards, debit cards, electronic checks, cryptocurrencies, and promotional financing. In each case, it could disrupt our business if these companies become unwilling or unable to provide these services to us. We are also subject to payment card association operating rules, including data security rules, certification requirements, and rules governing electronic funds transfers, which could change or be reinterpreted to make it difficult or impossible for us to comply. Failure to comply with these rules or requirements, could result in our being liable for card issuing banks’ costs, subject to fines and higher transaction fees, and loss of our ability to accept credit and debit card payments from our customers, process electronic funds transfers, or facilitate other types of online payments, and our business and operating results could be adversely affected.

Additionally, we have in the past incurred and may in the future incur losses from various types of fraud, including stolen credit card numbers, claims that a customer did not authorize a purchase, merchant fraud and customers who have closed bank accounts or have insufficient funds in open bank accounts to satisfy payments. Although we have measures in place to detect and reduce the occurrence of fraudulent activity in our marketplace, those measures may not always be effective. In addition to the direct costs of such losses, if the fraud is related to credit card transactions and becomes excessive, it could potentially result in us paying higher fees or losing the right to accept credit cards for payment. In addition, under current credit card practices, we are liable for fraudulent credit card transactions because we do not obtain a cardholder’s signature. Our failure to adequately prevent fraudulent transactions could damage our reputation, result in litigation or regulatory action and lead to expenses that could substantially impact our operating results.

In addition, we provide regulated services in certain jurisdictions because we enable customers to keep account balances with us and transfer money to third parties, and because we provide services to third parties to facilitate payments on their behalf. Jurisdictions subject us to requirements for licensing, regulatory inspection, bonding and capital maintenance, the use, handling, and segregation of transferred funds, consumer disclosures, maintaining or processing data, and authentication. We are also subject to or voluntarily comply with a number of other laws and regulations relating to payments, money laundering, international money transfers, privacy, data protection, data security, network security, consumer protection, and electronic fund transfers. If we were found to be in violation of applicable laws or regulations, we could be subject to additional requirements and civil and criminal penalties, or forced to cease providing certain services.

System interruptions that impair customer access to our sites or other performance failures in our technology infrastructure could damage our business, reputation and brand and substantially harm our business and results of operations.

The satisfactory performance, reliability and availability of our sites, transaction-processing systems and technology infrastructure are critical to our reputation and our ability to acquire and retain customers, as well as maintain adequate customer service levels.

If the facilities where the computer and communications hardware are located fail, or if our partners suffer an interruption or degradation of services at our main facility, we could lose customer data and miss order fulfillment deadlines, which could harm our business. Our partners’ systems and operations are vulnerable to damage or interruption from a variety of sources, including fire, flood, power loss, telecommunications or network failure, system malfunction, terrorist attacks, cyber-attacks, data loss, acts of war, break-ins, earthquakes and other natural disasters and similar events. In the event of a failure of our main facility, the failover to our back-up facility could take substantial time, during which time our sites could be completely shut down. Our partners’ back-up facilities are designed to support transaction volume at a level slightly above our average daily sales, but are not adequate to support spikes in demand. The back-up facilities may not process effectively during time of higher traffic to our sites, may process transactions more slowly and may not support all of our sites’ functionality.

We rely on our partners who use complex custom-built proprietary software in our technology infrastructure, which they seek to continually update and improve. Our partners may not always be successful in

 

49


Table of Contents

executing these upgrades and improvements, and the operation of our systems may be subject to failure. In particular, our partners have in the past and may in the future experience slowdowns or interruptions in some or all of our sites when they are updating them, and new technologies or infrastructures may not be fully integrated with existing systems on a timely basis, or at all. Additionally, if our partners expand their use of third-party services, including cloud-based services, our technology infrastructure may be subject to increased risk of slowdown or interruption as a result of integration with such services and/or failures by such third parties, which are out of our and their control. Our net sales depend on the number of visitors who shop on our sites and the volume of orders we can handle. Unavailability of our sites or reduced order fulfillment performance would reduce the volume of goods sold and could also materially adversely affect consumer perception of our brand. Our partners may experience periodic system interruptions from time to time. In addition, continued growth in our transaction volume, as well as surges in online traffic and orders associated with promotional activities or seasonal trends in our business, place additional demands on our partners’ technology platforms and could cause or exacerbate slowdowns or interruptions. If there is a substantial increase in the volume of traffic on our sites or the number of orders placed by customers, our partners will be required to further expand, scale and upgrade their technology, transaction processing systems and network infrastructure. There can be no assurance that our partners will be able to accurately project the rate or timing of increases, if any, in the use of our sites or expand, scale and upgrade our technology, systems and infrastructure to accommodate such increases on a timely basis. In order to remain competitive, our partners must continue to enhance and improve the responsiveness, functionality and features of our sites, which is particularly challenging given the rapid rate at which new technologies, customer preferences and expectations and industry standards and practices are evolving in the eCommerce industry. Accordingly, our partners redesign and enhance various functions on our sites on a regular basis, and we may experience instability and performance issues as a result of these changes.

Any slowdown or failure of our sites and the underlying technology infrastructure could harm our business, reputation and our ability to acquire, retain and serve our customers, which could materially adversely affect our results of operations and our business interruption insurance may not be sufficient to compensate us for the losses that could occur.

Significant disruption during our live events may adversely affect our business.

We operate and host numerous live events each year, many of which are attended by a large number of people. There are many risks that are inherent in large gatherings of people, including the risk of an actual or threatened terrorist act, fire, explosion, protests, shooting incidents and riots, and other safety or security issues, any one of which could result in injury or death to attendees and/or damage to the facilities at which such an event is hosted, and the risk of a COVID-19 “superspreader” event. While we maintain insurance policies, they may be insufficient to reimburse us for all losses or all types of claims that may be caused by such an event. Moreover, if there were a public perception that the safety or security measures are inadequate at the events we host, whether or not the case, it could result in reputational damage and a decline in future attendance at events hosted by us. Any one of these things could harm our business.

We are subject to risks related to holding cryptocurrencies and accepting cryptocurrencies as a form of payment.

We have in the past, and may in the future, accept bitcoin or other cryptocurrencies from our customers as a form of deposit on our platform. Cryptocurrencies are not considered legal tender or backed by any government and have experienced price volatility, technological glitches and various law enforcement and regulatory interventions. The use of cryptocurrency such as bitcoin has been prohibited or effectively prohibited in some countries. If we fail to comply with any such prohibitions that may be applicable to us, we could face regulatory or other enforcement actions and potential fines and other consequences.

Cryptocurrencies have in the past and may in the future experience periods of extreme volatility. Fluctuations in the value of any cryptocurrencies that we hold may also lead to fluctuations in the value of our

 

50


Table of Contents

common stock. In addition, there is substantial uncertainty regarding the future legal and regulatory requirements relating to cryptocurrency or transactions utilizing cryptocurrency. For instance, governments may in the near future curtail or outlaw the acquisition, use or redemption of cryptocurrencies. In such case, ownership of, holding or trading in cryptocurrencies may then be considered illegal and subject to sanction. These uncertainties, as well as future accounting and tax developments, or other requirements relating to cryptocurrency, could have a material adverse effect on our business.

Risks Relating to Our Organizational Structure

We have a short operating history as a holding company and, as a result, our past results may not be indicative of future operating performance.

We have a short operating history that may not develop in a manner favorable to our business. Our relatively short operating history as a holding company makes it difficult to assess our future performance, as we may face difficulties in forecasting and managing the financial information of a group of our distinct brands. You should consider our business and prospects in light of the risks and difficulties we may encounter.

Our future success will depend in large part upon our ability to, among other things:

 

   

cost-effectively acquire new customers and engage with existing customers;

 

   

overcome the impacts of the COVID-19 pandemic;

 

   

increase our market share and successfully expand our offering and geographic reach, including through acquisitions;

 

   

increase customer awareness of our brands and maintain our reputation;

 

   

anticipate and respond to macroeconomic changes;

 

   

anticipate and respond to changing style trends and consumer preferences;

 

   

manage our inventory effectively;

 

   

compete effectively;

 

   

avoid interruptions in our business from IT downtime, cybersecurity breaches, or labor stoppages;

 

   

effectively manage our growth;

 

   

hire, integrate, and retain talented people at all levels of our organization;

 

   

maintain the quality of our IT infrastructure;

 

   

develop new features to enhance the customer experience; and

 

   

retain our existing merchandise suppliers and attract new suppliers.

If we fail to address the risks and difficulties that we face, including those associated with the challenges listed above as well as those described elsewhere in this “Risk Factors” section, our business and our operating results will be adversely affected. Our limited operating experience, combined with the rapidly evolving nature of the industry in which we operate, substantial uncertainty concerning how our industry may develop, and other factors beyond our control, reduces our ability to accurately forecast quarterly or annual revenue.

Our decentralized brand management structure could negatively impact our business.

We cannot be certain that our brand management structure will be adequate to support our operations as they expand. In order to maintain the identity of each of our brands, we utilize a decentralized brand structure which places significant control and decision-making powers in the hands of the management of each of our brands. This contributes to the risk that we may be slower or less able to identify or react to problems affecting

 

51


Table of Contents

key business matters than we would in a more centralized environment. The lack of timely access to information may also impact the quality of decision making by management. For example, our ability to coordinate and utilize resources depends on effective communications and processes among our brands. As a result, the ability to internally communicate, coordinate and execute business strategies, plans and tactics may be negatively impacted by our increasing size and complexity. Our decentralized organization can also result in our brands assuming excessive risk without appropriate guidance from our centralized legal, accounting, safety, tax, treasury and insurance functions. Future growth could also impose significant additional responsibilities on members of our senior management, and we cannot be certain that we will be able to recruit, integrate and retain new senior level managers and executives. To the extent that we are unable to manage our growth effectively or are unable to attract and retain additional qualified management, we may not be able to expand our operations or execute our business plan.

Our management team has limited experience managing a public company.

Our management team has limited experience managing a publicly traded company, interacting with public company investors, and complying with the increasingly complex laws pertaining to public companies. Our management team may not successfully or efficiently manage our transition to being a public company subject to significant regulatory oversight and reporting obligations under the federal securities laws and the continuous scrutiny of securities analysts and investors. These new obligations and constituents will require significant attention from our senior management and could divert their attention away from the day-to-day management of our business, which could adversely affect our business, operating results, and financial condition.

If we cannot maintain our corporate culture as we grow and mature as a public company, our business may be harmed.

We believe that our corporate culture has been a critical component to our success and that our culture creates an environment that drives our employees and perpetuates our overall business strategy. We have invested substantial time and resources in building our team and we expect to continue to hire aggressively as we expand, including with respect to our international operations. As we grow and mature as a public company and grow internationally, we may find it difficult to maintain our corporate culture or the culture of our individual brands. Any failure to preserve our culture or the culture of our brands could negatively affect our future success, including our ability to recruit and retain personnel and effectively focus on and pursue our business strategy.

Risks Relating to our Indebtedness

Any indebtedness we may incur in the future could adversely affect our business and growth prospects.

We intend to enter into a new credit facility concurrently with the completion of this offering. Any indebtedness we may incur under our new credit facility, or any other indebtedness we may incur in the future, could require us to divert funds identified for other purposes for debt service and impair our liquidity position. If we cannot generate sufficient cash flow from operations to service our debt, we may need to refinance our debt, dispose of assets or issue equity to obtain necessary funds. We do not know whether we will be able to take any of these actions on a timely basis, on terms satisfactory to us or at all.

Our new credit facility, or any future credit facility or other indebtedness we may enter into, may have important consequences, including:

 

   

limiting funds otherwise available for financing our capital expenditures by requiring us to dedicate a portion of our cash flows from operations to the repayment of debt and the interest on this debt;

 

   

limiting our ability to incur additional indebtedness;

 

   

limiting our ability to capitalize on significant business opportunities;

 

   

making us more vulnerable to rising interest rates; and

 

   

making us more vulnerable in the event of a downturn in our business.

 

52


Table of Contents

Our level of indebtedness may place us at a competitive disadvantage to our competitors that are not as highly leveraged. Fluctuations in interest rates can increase borrowing costs. Increases in interest rates may directly impact the amount of interest we are required to pay and reduce earnings accordingly. In addition, developments in tax policy, such as the disallowance of tax deductions for interest paid on outstanding indebtedness, could have an adverse effect on our liquidity and our business, financial conditions and results of operations. Further, our new credit facility will likely contain customary affirmative and negative covenants and certain restrictions on operations that could impose operating and financial limitations and restrictions on us, including restrictions on our ability to enter into particular transactions and to engage in other actions that we may believe are advisable or necessary for our business.

We expect to use cash flow from operations to meet current and future financial obligations, including funding our operations, debt service requirements and capital expenditures. The ability to make these payments depends on our financial and operating performance, which is subject to prevailing economic, industry and competitive conditions and to certain financial, business and other factors beyond our control.

Despite current indebtedness levels and restrictive covenants, we may still be able to incur substantially more indebtedness or make certain restricted payments, which could further exacerbate the risks associated with our substantial indebtedness.

We may be able to incur significant additional indebtedness in the future. Although the financing documents that will govern our new credit facility will likely contain restrictions on the incurrence of additional indebtedness and liens, these restrictions will likely be subject to a number of important qualifications and exceptions, and the additional indebtedness and liens incurred in compliance with these restrictions could be substantial.

The financing documents that will govern our new credit facility may permit us to incur certain additional indebtedness, including liabilities that do not constitute indebtedness as may be defined in such financing documents. We may also consider investments in joint ventures or acquisitions, which may increase our indebtedness. In addition, the financing documents that will govern our new credit facility will not restrict our Principal Stockholder from creating new holding companies that may be able to incur indebtedness without regard to the restrictions set forth in the financing documents governing our new credit facility. If additional new debt is added to our currently anticipated indebtedness levels, the related risks that we face could intensify.

We may not be able to generate sufficient cash flow to service all of our indebtedness, and may be forced to take other actions to satisfy our obligations under such indebtedness, which may not be successful.

Our ability to make scheduled payments or to refinance outstanding debt obligations depends on our financial and operating performance, which will be affected by prevailing economic, industry and competitive conditions and by financial, business and other factors beyond our control. We may not be able to maintain a sufficient level of cash flow from operating activities to permit us to pay the principal, premium, if any, and interest on the our indebtedness. Any failure to make payments of interest and principal on our outstanding indebtedness on a timely basis would likely result in a reduction of our credit rating, which would also harm our ability to incur additional indebtedness.

If our cash flows and capital resources are insufficient to fund our debt service obligations, we may be forced to reduce or delay capital expenditures, sell assets, seek additional capital or seek to restructure or refinance our indebtedness. Any refinancing of our indebtedness could be at higher interest rates and may require us to comply with more onerous covenants. These alternative measures may not be successful and may not permit us to meet our scheduled debt service obligations. In the absence of such cash flows and resources, we could face substantial liquidity problems and might be required to sell material assets or operations to attempt to meet our debt service obligations. The financing documents that will govern our new credit facility will likely include certain restrictions on our ability to conduct asset sales and/or use the proceeds from asset sales for

 

53


Table of Contents

general corporate purposes. We may not be able to consummate these asset sales to raise capital or sell assets at prices and on terms that we believe are fair and any proceeds that we do receive may not be adequate to meet any debt service obligations then due. If we cannot meet our debt service obligations, the holders of our indebtedness may accelerate such indebtedness and, to the extent such indebtedness is secured, foreclose on our assets. In such an event, we may not have sufficient assets to repay all of our indebtedness.

The terms of the financing documents that will govern our new credit facility may restrict our current and future operations, particularly our ability to respond to changes or to take certain actions.

The financing documents that will govern our new credit facility will likely contain a number of restrictive covenants that impose significant operating and financial restrictions on us and may limit our ability to engage in acts that may be in our long-term best interests, including restrictions on our ability to:

 

   

incur additional indebtedness or other contingent obligations;

 

   

create or incur liens;

 

   

make investments, acquisitions, loans and advances;

 

   

wind up, consolidate, merge, liquidate or dissolve;

 

   

sell, lease, transfer or otherwise dispose of our assets, including capital stock of our subsidiaries;

 

   

pay dividends on our equity interests or make other payments in respect of capital stock;

 

   

engage in transactions with our affiliates;

 

   

make payments in respect of indebtedness secured on a junior lien basis, unsecured indebtedness and subordinated debt;

 

   

modify organizational documents in a manner that is materially adverse to the lenders under the new credit facility;

 

   

enter into burdensome agreements with negative pledge clauses or restrictions on subsidiary distributions;

 

   

materially alter the business we conduct; and

 

   

change our fiscal year.

You should read the discussion under the heading “Description of Indebtedness” for further information about these covenants.

We expect that the restrictive covenants in the financing documents governing our new credit facility will require us to maintain specified financial ratios and satisfy other financial condition tests. Our ability to meet those financial ratios and tests can be affected by events beyond our control.

A breach of the covenants or restrictions under the financing documents that will govern our new credit facility could result in an event of default under such documents. Such a default may allow the creditors to accelerate the related debt, which may result in the acceleration of any other debt to which a cross-acceleration or cross-default provision applies. In the event the holders of our indebtedness accelerate the repayment, we may not have sufficient assets to repay that indebtedness or be able to borrow sufficient funds to refinance it. Even if we are able to obtain new financing, it may not be on commercially reasonable terms or on terms acceptable to us. As a result of these restrictions, we may:

 

   

be limited in how we conduct our business;

 

   

be unable to raise additional debt or equity financing to operate during general economic conditions;

 

   

experience business downturns; or

 

   

be unable to compete effectively or to take advantage of new business opportunities.

 

54


Table of Contents

These restrictions, along with restrictions that may be contained in agreements evidencing or governing other future indebtedness, may affect our ability to grow in accordance with our growth strategy.

We may be unable to refinance our indebtedness.

We may need to refinance all or a portion of our indebtedness before maturity. We cannot assure you that we will be able to refinance any of our indebtedness on commercially reasonable terms, or at all. There can be no assurance that we will be able to obtain sufficient funds to enable us to repay or refinance our debt obligations on commercially reasonable terms, or at all.

Changes in the method of determining LIBOR, or the replacement of LIBOR with an alternative reference rate, may adversely affect interest expense related to outstanding debt.

Borrowings under our Credit Facilities bear interest at the London Interbank Offered Rate (“LIBOR”) plus an applicable margin. On July 27, 2017, the Financial Conduct Authority in the United Kingdom, which regulates LIBOR, announced that it intends to phase out LIBOR as a benchmark by the end of 2021. It is unclear whether new methods of calculating LIBOR will be established such that it continues to exist after 2021. Our Credit Facilities, which have terms that extend beyond 2021, provide for a mechanism to establish an alternate rate of interest upon the occurrence of certain events related to the phase-out of any applicable interest rate. The overall financial markets may be disrupted as a result of the phase-out or replacement of LIBOR. Uncertainty as to the nature of such potential phase-out and alternative reference rates or disruption in the financial market could have a material adverse effect on our cost of capital, financial condition, cash flows and results of operations.

A lowering or withdrawal of the ratings assigned to our debt securities by rating agencies may increase our future borrowing costs and reduce our access to capital.

Our debt currently has a non-investment grade rating, and any rating assigned could be lowered or withdrawn entirely by a rating agency if, in that rating agency’s judgment, future circumstances relating to the basis of the rating, such as adverse changes, so warrant. Any future lowering of our ratings likely would make it more difficult or more expensive for us to obtain additional debt financing.

Our failure to raise additional capital or generate cash flows necessary to expand our operations and invest in the future could reduce our ability to compete successfully and harm our results of operations.

We may need to raise additional funds, and we may not be able to obtain additional debt or equity financing on favorable terms or at all. If we raise additional equity financing, you may experience significant dilution of your ownership interests. If we raise additional debt financing, we may be required to accept terms that restrict our ability to incur additional indebtedness, force us to maintain specified liquidity or other ratios or restrict our ability to pay dividends or make acquisitions. If we need additional capital and cannot raise it on acceptable terms, or at all, we may not be able to, among other things:

 

   

invest in our business and continue to expand our sales and marketing efforts;

 

   

hire, train and retain employees;

 

   

respond to competitive pressures or unanticipated working capital requirements; or

 

   

pursue acquisition opportunities, including new brands, the inability of which could adversely impact the execution of our growth strategy.

Risks Related to This Offering and Ownership of Our Common Stock

Summit controls us, and its interests may conflict with ours or yours in the future.

Immediately following this offering, our Principal Stockholder will beneficially own approximately 57.4% of our common stock (or 56.7% if the underwriters exercise in full their option to purchase additional shares)

 

55


Table of Contents

which means that, based on its percentage voting power held after the offering, our Principal Stockholder will control the vote of all matters submitted to a vote of our Board or shareholders, which will enable it to control the election of the members of the Board and all other corporate decisions. In addition, our bylaws will provide that our Principal Stockholder will have the right to designate the Chairman of the Board for so long as it beneficially owns at least 30% or more of the voting power of the then outstanding shares of our common stock then entitled to vote generally in the election of directors. Even when it ceases to own shares of our common stock representing a majority of the total voting power, for so long as it continues to own a significant portion of our common stock, Summit will still be able to significantly influence the composition of our Board, including the right to designate the Chairman of our Board, and the approval of actions requiring shareholder approval. Accordingly, for such period of time, Summit will have significant influence with respect to our management, business plans, and policies, including the appointment and removal of our officers, decisions on whether to raise future capital and decisions on whether to amend our certificate of incorporation and bylaws, which govern the rights attached to our common stock. In particular, for so long as Summit continues to own a significant percentage of our common stock, Summit will be able to cause or prevent a change of control of us or a change in the composition of our Board, including the selection of the Chairman of our Board, and could preclude any unsolicited acquisition of us. The concentration of ownership could deprive you of an opportunity to receive a premium for your shares of common stock as part of a sale of us and ultimately might affect the market price of our common stock.

In addition, in connection with this offering, we will enter into a Director Nomination Agreement with our Principal Stockholder that provides Summit the right to designate the following number of nominees for election to our Board: (i) all of the nominees for election to our Board for so long as Summit beneficially owns at least 40% of the total number of shares of our common stock outstanding upon completion of this offering, as adjusted for any reorganization, recapitalization, stock dividend, stock split, reverse stock split, or similar changes in the Company’s capitalization (the “Original Amount”); (ii) a majority of the nominees for election to our Board for so long as Summit beneficially owns less than 40% but at least 30% of the Original Amount; (iii) 30% of the nominees for election to our Board for so long as Summit beneficially owns less than 30% but at least 20% of the Original Amount; (iv) 20% of the nominees for election to our Board for so long as Summit beneficially owns less than 20% but at least 10% of the Original Amount; and (v) one of the nominees for election to our Board for so long as Summit beneficially owns at least 5% of the Original Amount, which could result in representation on our Board that is disproportionate to Summit’s beneficial ownership. See “Certain Relationships and Related Party Transactions— Director Nomination Agreement” for more details with respect to the Director Nomination Agreement.

Summit and its affiliates engage in a broad spectrum of activities, including investments in the services industry generally. In the ordinary course of their business activities, Summit and its affiliates may engage in activities where their interests conflict with our interests or those of our other shareholders, such as investing in or advising businesses that directly or indirectly compete with certain portions of our business or are suppliers or customers of ours. Our certificate of incorporation will provide that none of Summit, any of its affiliates or any director who is not employed by us (including any non-employee director who serves as one of our officers in both his director and officer capacities) will have any duty to refrain from engaging, directly or indirectly, in the same business activities or similar business activities or lines of business in which we operate. Summit also may pursue acquisition opportunities that may be complementary to our business, and, as a result, those acquisition opportunities may not be available to us. In addition, Summit may have an interest in pursuing acquisitions, divestitures and other transactions that, in its judgment, could enhance its investment, even though such transactions might involve risks to you.

An active trading market for our common stock may not develop.

Prior to this offering, there has been no public market for our common stock. The initial public offering price for our common stock was determined through negotiations among us, our Principal Stockholder and the underwriters and may not be indicative of the market price of our common stock after this offering. If you

 

56


Table of Contents

purchase shares of our common stock, you may not be able to resell those shares at or above the initial public offering price. We cannot predict the extent to which investor interest in us will lead to the development of an active trading market on the NYSE or how liquid that market might become. An active public market for our common stock may not develop or be sustained after this offering. If an active public market does not develop or is not sustained, it may be difficult for you to sell your shares of common stock at a price that is attractive to you, or at all.

Our stock price may be volatile or may decline regardless of our operating performance, and you may not be able to resell your shares at or above the initial public offering price.

After this offering, the market price for our common stock is likely to be volatile, in part because our shares have not been traded publicly. In addition, the market price of our common stock may fluctuate significantly in response to a number of factors, many of which we cannot control, including those described under “—Risks Related to Our Business” and the following:

 

   

changes in financial estimates by any securities analysts who follow our common stock, our failure to meet these estimates or failure of those analysts to initiate or maintain coverage of our common stock;

 

   

downgrades by any securities analysts who follow our common stock or publications of these analysts of inaccurate or unfavorable research about our business;

 

   

future sales of our common stock by our officers, directors and significant stockholders;

 

   

market conditions or trends in our industry or the economy as a whole;

 

   

investors’ perceptions of our prospects;

 

   

announcements by us of significant contracts, acquisitions, joint ventures or capital commitments; and

 

   

changes in key personnel.

In addition, the stock markets have experienced extreme price and volume fluctuations that have affected and continue to affect the market prices of equity securities of many companies. In the past, stockholders have instituted securities class action litigation following periods of market volatility. If we were involved in securities litigation, we could incur substantial costs, and our resources and the attention of management could be diverted from our business.

Our future operating results may fluctuate significantly and our current operating results may not be a good indication of our future performance. Fluctuations in our quarterly financial results could affect our stock price in the future.

Our revenues and operating results have historically varied from period-to-period and we expect that they will continue to do so as a result of a number of factors, many of which are outside of our control. If our quarterly financial results or our predictions of future financial results fail to meet the expectations of securities analysts and investors, our stock price could be negatively affected. Any volatility in our quarterly financial results may make it more difficult for us to raise capital in the future or pursue acquisitions that involve issuances of our stock. Our operating results for prior periods may not be effective predictors of future performance.

Factors associated with our industry, the operation of our business and the markets for our products and services may cause our quarterly financial results to fluctuate, including:

 

   

the highly competitive nature of our industry;

 

   

shortages of skilled labor and increased labor costs;

 

   

actions of suppliers, customers and competitors, including merger and acquisition activities and financial failures; and

 

   

cost of compliance with government laws and regulations.

 

57


Table of Contents

Any one of the factors above or the cumulative effect of some of the factors referred to above may result in significant fluctuations in our quarterly financial and other operating results, including fluctuations in our key metrics. The variability and unpredictability could result in our failing to meet our internal operating plan or the expectations of securities analysts or investors for any period. If we fail to meet or exceed such expectations for these or any other reasons, the market price of our shares could fall substantially and we could face costly lawsuits, including securities class action suits.

Our actual results of operations may differ materially from the unaudited pro forma financial data included in this prospectus.

The unaudited pro forma financial data included in this prospectus are not necessarily indicative of what our actual results of operations would have been for the year ended December 31, 2020 or for the six months ended June 30, 2021 had the Culture Kings acquisition been completed on the date indicated, nor are they necessarily indicative of future results of operations for any future period. The unaudited pro forma financial data have been derived from our audited and unaudited financial statements and Culture Kings’ audited financial statements and accounting records, and reflect assumptions and adjustments that are based upon estimates that are subject to change. The purchase price allocation for the Culture Kings acquisition as of the closing date of March 31, 2021 is preliminary and may change upon completion of the determination of the fair value of assets acquired and liabilities assumed, and the final purchase price allocation may be different from that reflected in the pro forma purchase price allocation presented in this prospectus. Accordingly, the final acquisition accounting adjustments may differ materially from the pro forma adjustments reflected in this prospectus, and other factors not presented in such unaudited pro forma financial data may adversely affect our financial condition or results of operations.

We have identified material weaknesses in our internal control over financial reporting in connection with the preparation of our financial statements for the fiscal years ended December 31, 2019 and 2020, and may identify additional material weaknesses in the future that may cause us to fail to meet our reporting obligations or result in material misstatements of our financial statements. If we fail to remediate our material weakness or if we fail to establish and maintain an effective system of internal control over financial reporting, we may not be able to accurately report our financial results, meet our reporting obligations, or prevent fraud. Failure to comply with requirements to design, implement and maintain effective internal controls or any inability to report and file our financial results accurately and timely could harm our business and adversely impact the trading price of our securities.

We are not currently required to comply with the rules of the SEC implementing Section 404 of the Sarbanes-Oxley Act of 2002 the (“Sarbanes-Oxley Act”) and therefore we and our independent registered public accounting firm were not required to, and did not, make a formal assessment of the effectiveness of our internal control over financial reporting for that purpose. Upon becoming a public company, we will be required to comply with the SEC’s rules implementing Sections 302 and 404 of the Sarbanes-Oxley Act, which will require management to certify financial and other information in our SEC reports and provide an annual management report on the effectiveness of control over financial reporting. We will not be required to make our first annual assessment of our internal control over financial reporting pursuant to Section 404 until the year following our first annual report required to be filed with the SEC. As an emerging growth company, our independent registered public accounting firm will generally not be required to attest to the effectiveness of our internal control over financial reporting pursuant to Section 404 until we are no longer an emerging growth company (but in no case earlier than the year following our first annual report required to be filed with the SEC).

Our management has not completed an assessment of the effectiveness of our internal control over financial reporting, and our independent registered public accounting firms have not conducted an audit of our internal control over financial reporting. In connection with the preparation of our financial statements as of and for the years ended December 31, 2019 and 2020, we identified certain control deficiencies in the design and implementation of our internal control over financial reporting that constituted material weaknesses. A material weakness is a deficiency, or a combination of deficiencies, in internal control over financial reporting such that

 

58


Table of Contents

there is a reasonable possibility that a material misstatement of our financial statements will not be prevented or detected on a timely basis. Our evaluation was based on the Committee of Sponsoring Organizations of the Treadway Commission (“COSO”) Internal Control — Integrated Framework (2013).

The material weaknesses identified by management relate to the following:

 

   

We have not sufficiently designed, implemented and documented internal controls at the entity level and across the key business and financial processes to allow us to achieve complete, accurate and timely financial reporting.

 

   

We have not designed and implemented controls to maintain appropriate segregation of duties in our manual and IT based business processes.

 

   

We have insufficient resources with the appropriate knowledge and experience in our accounting function related to GAAP and the SEC reporting requirements of a U.S. domestic registrant to enable us to design and maintain an effective financial reporting process.

As of the date of this prospectus these remain material weaknesses. We cannot assure you that the measures that we have taken, and that will be taken, to remediate these material weaknesses will, in fact, remedy the material weaknesses or will be sufficient to prevent future material weaknesses from occurring. We also cannot assure you that we have identified all of our existing material weaknesses. Material weaknesses may still exist when we report on the effectiveness of our internal control over financial reporting as required under Section 404 of the Sarbanes-Oxley Act after the completion of this offering. In addition, prior acquisitions, such as the Culture Kings Acquisition, and future acquisitions may present challenges in implementing appropriate internal controls. Any future material weaknesses in internal control over financial reporting could result in material misstatements in our financial statements.

The presence of material weaknesses could result in financial statement errors which, in turn, could lead to errors in our financial reports or delays in our financial reporting, which could require us to restate our financial statements or result in our auditors issuing a qualified audit report. Moreover, any future disclosures of additional material weaknesses, or errors as a result of those weaknesses, could result in a negative reaction in the financial markets if there is a loss of confidence in the reliability of our financial reporting.

As part of our plan to remediate these material weaknesses we have implemented a number of measures to address the material weaknesses that have been identified including: (i) establishing effective monitoring and oversight controls for non-recurring and complex transactions to ensure the accuracy and completeness of our company’s consolidated financial statements and related disclosures, (ii) implementing formal processes and controls to identify, monitor and mitigate segregation of duties conflicts, (iii) improving our IT systems and monitoring of the IT function, (iv) hiring additional accounting and financial reporting personnel with SEC reporting experience and (v) expanding the capabilities of existing accounting and financial reporting personnel through continuous training and education in the accounting and reporting requirements under SEC rules and regulations.

Remediating material weaknesses will absorb management time and will require us to incur additional expenses, which could have a negative effect on the trading price of our shares. In order to establish and maintain effective disclosure controls and procedures and internal controls over financial reporting, we will need to expend significant resources and provide significant management oversight. Developing, implementing and testing changes to our internal controls may require specific compliance training of our directors and employees, entail substantial costs in order to modify our existing accounting systems, take a significant period of time to complete and divert management’s attention from other business concerns. These changes may not, however, be effective in establishing and maintaining adequate internal controls.

It is possible that, had we and our independent registered public accounting firm performed a formal assessment of the effectiveness of our internal control over financial reporting in accordance with the provisions of the Sarbanes-Oxley Act, additional material weaknesses may have been identified.

 

59


Table of Contents

If either we are unable to conclude that we have effective internal controls over financial reporting or our independent registered public accounting firm is unable to provide us with an unqualified report on the effectiveness of our internal controls over financial reporting as required by Section 404(b) of the Sarbanes-Oxley Act, investors may lose confidence in our reported financial information, the price of our common stock could decline and we may be subject to litigation or regulatory enforcement actions. In addition, if we are unable to meet the requirements of Section 404 of the Sarbanes-Oxley Act, we may not be able to remain listed on the NYSE.

We will have broad discretion in the use of proceeds from this offering, and we may invest or spend the proceeds of this offering in ways with which you may not agree or in ways which may not yield a return.

Our management will have considerable discretion in the application of the net proceeds, and you will not have the opportunity, as part of your investment decision, to assess whether the proceeds are being used effectively. The net proceeds may be invested with a view towards long-term benefits for our stockholders and this may not increase our results of operations or market value. The failure by our management to apply these funds effectively could require us to raise additional capital and may adversely affect the return on your investment. See “Use of Proceeds” for additional information.

The requirements of being a public company with common stock listed on the NYSE will increase certain of our costs and require significant management focus.

We will not have any equity securities listed on a national securities exchange until the consummation of this offering. As a public company with common stock listed on the NYSE, our legal, accounting and other expenses associated with compliance-related and other activities will increase. For example, in connection with this offering, we will create new board of directors committees and appoint one or more independent directors to comply with the corporate governance requirements of the NYSE. Costs to obtain director and officer liability insurance will contribute to our increased costs. As a result of the associated liability, it may be more difficult for us to attract and retain qualified persons to serve on our board of directors or as executive officers. Advocacy efforts by stockholders and third parties may also prompt even more changes in governance and reporting requirements, which could further increase our compliance costs. In addition, as a result of becoming a public company, our management will be responsible for establishing and maintaining adequate internal controls over financial reporting, as well as compiling the system and processing documentation necessary to perform the evaluation of such internal controls in compliance with Section 404(b) of the Sarbanes-Oxley Act. Compliance costs will increase particularly after we are no longer an emerging growth company.

Future sales of our common stock, or the perception in the public markets that these sales may occur, may depress our stock price.

Sales of substantial amounts of our common stock in the public market after this offering, or the perception that these sales could occur, could adversely affect the price of our common stock and could impair our ability to raise capital through the sale of additional shares. Upon completion of this offering, 126,590,141 shares of our common stock (or 128,090,141 shares of our common stock if the underwriters exercise their option to purchase additional shares from us in full) will be outstanding. The shares of common stock offered in this offering will be freely tradable without restriction under the Securities Act, except for any shares of our common stock that may be held or acquired by our directors, executive officers and other affiliates, as that term is defined in the Securities Act, the transfer of which will be restricted under the Securities Act. Securities held by our affiliates may not be sold in the public market unless the sale is registered under the Securities Act or an exemption from registration is available.

We have agreed that we will not (i) offer, pledge, sell, contract to sell, sell any option or contract to purchase, purchase any option or contract to sell, grant any option, right or warrant to purchase or otherwise dispose of, directly or indirectly, or file with the SEC a registration statement under the Securities Act relating to

 

60


Table of Contents

(other than a registration statement on Form S-8), any shares of our common stock or securities convertible into or exchangeable or exercisable for any shares of our common stock, or publicly disclose the intention to make any offer, sale, pledge, disposition or filing, or (ii) enter into any swap or other arrangement that transfers all or a portion of the economic consequences associated with the ownership of any shares of common stock or any such other securities (regardless of whether any of these transactions are to be settled by the delivery of shares of common stock or such other securities, in cash or otherwise), in each case without the prior written consent of BofA Securities, Inc. for a period of 180 days after the date of this prospectus, other than the shares of our common stock to be sold hereunder, any share based awards issued under company stock plans and any shares of our common stock issued upon the exercise of options granted under company stock plans. BofA Securities, Inc., in its sole discretion, may waive such restrictions in whole or in part at any time with or without notice. See “Underwriting.”

All of our shares of common stock outstanding as of the date of this prospectus may be sold in the public market by existing stockholders beginning 181 days after the date of this prospectus (subject to extension in certain circumstances), subject to applicable volume and other limitations imposed under federal securities laws. See “Shares Eligible for Future Sale” for a more detailed description of the restrictions on selling shares of our common stock after this offering.

After this offering, subject to any lock-up restrictions described above with respect to certain holders, holders of approximately 116,590,141 shares of our common stock will have the right to require us to register the sales of their shares under the Securities Act, under the terms of an agreement between us and the holders of these securities. See “Shares Eligible for Future Sale—Registration Rights” for a more detailed description of these rights.

In the future, we may also issue our securities in connection with acquisitions or investments. The amount of shares of our common stock issued in connection with an acquisition or investment could constitute a material portion of our then-outstanding shares of our common stock.

For as long as we are an emerging growth company, we will not be required to comply with certain reporting requirements, including disclosure about our executive compensation that apply to other public companies.

We are an “emerging growth company,” as defined in the JOBS Act. As such, we are eligible to take advantage of certain exemptions from various reporting requirements that are applicable to other public companies that are not “emerging growth companies,” including, but not limited to, (1) not being required to comply with the auditor attestation requirements of Section 404(b) of the Sarbanes-Oxley Act, (2) reduced disclosure obligations regarding executive compensation in our periodic reports and proxy statements and (3) exemptions from the requirements of holding a non-binding advisory vote on executive compensation and of shareholder approval of any golden parachute payments not previously approved. If we choose not to comply with the auditor attestation requirements of Section 404 of the Sarbanes-Oxley Act, our auditors will not be required to attest to the effectiveness of our internal controls over financial reporting. As a result, investors may become less comfortable with the effectiveness of our internal controls and the risk that material weaknesses or other deficiencies in our internal control go undetected may increase. If we choose to provide reduced disclosures in our periodic reports and proxy statements while we are an emerging growth company, investors would have access to less information and analysis about our executive compensation, which may make it difficult for investors to evaluate our executive compensation practices. We cannot predict if investors will find our common stock less attractive as a result of our taking advantage of these exemptions and as a result, there may be a less active trading market for our common stock and our stock price may be more volatile.

We could remain an “emerging growth company” for up to five years or until the earliest of (a) the last day of the first fiscal year in which our annual gross revenue exceeds $1.07 billion, (b) the date that we become a “large accelerated filer” as defined in Rule 12b-2 under the Securities Exchange Act of 1934, as amended (the

 

61


Table of Contents

“Exchange Act”), which would occur if the market value of our common stock that is held by non-affiliates exceeds $700 million as of the last business day of our most recently completed second fiscal quarter, and (c) the date on which we have issued more than $1 billion in non-convertible debt securities during the preceding three-year period.

Upon listing of our shares on the NYSE, we will be a “controlled company” within the meaning of the rules of the NYSE and, as a result, we will qualify for, and intend to rely on, exemptions from certain corporate governance requirements. You will not have the same protections as those afforded to stockholders of companies that are subject to such governance requirements.

After completion of this offering, our Principal Stockholder will control a majority of the voting power of our outstanding common stock. As a result, we will be a “controlled company” within the meaning of the corporate governance standards of the NYSE. Under these rules, a company of which more than 50% of the voting power for the election of directors is held by an individual, group or another company is a “controlled company” and may elect not to comply with certain corporate governance requirements, including:

 

   

the requirement that a majority of our Board consist of independent directors;

 

   

the requirement that we have a nominating and corporate governance committee that is composed entirely of independent directors with a written charter addressing the committee’s purpose and responsibilities;

 

   

the requirement that we have a compensation committee that is composed entirely of independent directors with a written charter addressing the committee’s purpose and responsibilities; and

 

   

the requirement for an annual performance evaluation of the nominating and corporate governance and compensation committees.

Following this offering, we intend to utilize these exemptions. As a result, we may not have a majority of independent directors on our Board, our Compensation Committee and Nominating and Corporate Governance Committee may not consist entirely of independent directors and our Compensation Committee and Nominating and Corporate Governance Committee may not be subject to annual performance evaluations. Accordingly, you will not have the same protections afforded to stockholders of companies that are subject to all of the corporate governance requirements of the NYSE.

Anti-takeover provisions in our certificate of incorporation documents and Delaware law might discourage or delay acquisition attempts for us that you might consider favorable.

In addition to our Principal Stockholder’s beneficial ownership of 57.4% of our common stock after this offering (or 56.7%, if the underwriters exercise in full their option to purchase additional shares), our certificate of incorporation and bylaws will contain provisions that may make the acquisition of the Company more difficult without the approval of our board of directors. These provisions:

 

   

authorize the issuance of undesignated preferred stock, the terms of which may be established and the shares of which may be issued without stockholder approval, and which may include super voting and special approval, dividend or other rights or preferences superior to the rights of the holders of common stock;

 

   

prohibit stockholder action by written consent at any time when Summit controls, in the aggregate, less than 35% in voting power of our outstanding common stock;

 

   

provide that the board of directors is expressly authorized to make, alter or repeal our bylaws;

 

   

establish advance notice requirements for nominations for elections to our board of directors or for proposing matters that can be acted upon by stockholders at stockholder meetings; provided, however, at any time when Summit controls, in the aggregate, at least 10% in voting power of our outstanding common stock entitled to vote generally in the election of directors, such advance notice procedure will not apply to Summit;

 

62


Table of Contents
   

establish a classified board of directors, as a result of which our board of directors will be divided into three classes, with each class serving for staggered three-year terms, which prevents stockholders from electing an entirely new board of directors at an annual meeting;

 

   

provide that, at any time when Summit controls, in the aggregate, less than 40% in voting power of our stock entitled to vote generally in the election of directors, directors may only be removed for cause, and only by the affirmative vote of holders of at least 66 2/3% in voting power of all the then-outstanding shares of our stock entitled to vote thereon, voting together as a single class;

 

   

prohibit stockholders from calling special meetings of stockholders; provided, however, at any time when Summit controls, in the aggregate, at least 35% in voting power of our outstanding common stock, special meetings of our stockholders shall also be called by our Board or the Chairman of our Board at the written request of Summit; and

 

   

require the approval of holders of at least 66 2/3% of the outstanding shares of our voting common stock to amend certain provisions of our certificate of incorporation and for stockholders to amend our bylaws.

Our certificate of incorporation will also contain a provision that provides us with protections similar to Section 203 of the Delaware General Corporation Law (the “DGCL”), and will prevent us from engaging in a business combination with a person (excluding our Principal Stockholder and its transferees) who acquires at least 15% of our common stock for a period of three years from the date such person acquired such common stock, unless board or stockholder approval is obtained prior to the acquisition. These anti-takeover provisions and other provisions under Delaware law could discourage, delay or prevent a transaction involving a change in control of the Company, even if doing so would benefit our stockholders. These provisions could also discourage proxy contests and make it more difficult for you and other stockholders to elect directors of your choosing and to cause us to take other corporate actions you desire. For a further discussion of these and other such anti-takeover provisions, see “Description of Capital Stock—Provisions.”

Any issuance of preferred stock could make it difficult for another company to acquire us or could otherwise adversely affect holders of our common stock, which could depress the price of our common stock.

Our board of directors has the authority to issue preferred stock and to determine the preferences, limitations and relative rights of shares of preferred stock and to fix the number of shares constituting any series and the designation of such series, without any further vote or action by our stockholders. Our preferred stock could be issued with voting, liquidation, dividend and other rights superior to the rights of our common stock. The potential issuance of preferred stock may delay or prevent a change in control of us, discouraging bids for our common stock at a premium over the market price, and adversely affect the market price and the voting and other rights of the holders of our common stock.

Our certificate of incorporation will designate the Court of Chancery of the State of Delaware as the exclusive forum for certain litigation that may be initiated by our shareholders and the federal district courts of the United States as the exclusive forum for litigation arising under the Securities Act, which could limit our shareholders’ ability to obtain a favorable judicial forum for disputes with us.

Pursuant to our certificate of incorporation to be effective in connection with the closing of this offering, unless we consent in writing to the selection of an alternative forum, the Court of Chancery of the State of Delaware will be the sole and exclusive forum for (1) any derivative action or proceeding brought on our behalf, (2) any action asserting a claim of breach of a fiduciary duty owed by any of our directors, officers or other employees to us or our shareholders, (3) any action asserting a claim against us arising pursuant to any provision of the DGCL, our certificate of incorporation or our bylaws or (4) any other action asserting a claim against us that is governed by the internal affairs doctrine; provided that for the avoidance of doubt, the forum selection provision that identifies the Court of Chancery of the State of Delaware as the exclusive forum for certain

 

63


Table of Contents

litigation, including any “derivative action”, will not apply to suits to enforce a duty or liability created by Securities Act, the Exchange Act or any other claim for which the federal courts have exclusive jurisdiction. Our certificate of incorporation will also provide that unless we consent in writing to the selection of an alternative forum, the federal district courts of the United States shall be the exclusive forum for the resolutions of any complaint asserting a cause of action arising under the Securities Act.

Moreover, Section 22 of the Securities Act creates concurrent jurisdiction for federal and state courts over all claims brought to enforce any duty or liability created by the Securities Act or the rules and regulations thereunder and our certificate of incorporation will also provide that, unless we consent in writing to the selection of an alternative forum and to the fullest extent permitted by law, the federal district courts of the United States shall be the exclusive forum for the resolution of any complaint asserting a cause of action arising under the Securities Act. While there can be no assurance that federal or state courts will follow the holding of the Delaware Supreme Court or determine that our federal forum provision should be enforced in a particular case, application of our federal forum provision means that suits brought by our stockholders to enforce any duty or liability created by the Securities Act must be brought in federal court and cannot be brought in state court.

Section 27 of the Exchange Act creates exclusive federal jurisdiction over all claims brought to enforce any duty or liability created by the Exchange Act or the rules and regulations thereunder and our certificate of incorporation will provide that neither the exclusive forum provision nor our federal forum provision applies to suits brought to enforce any duty or liability created by the Exchange Act. Accordingly, actions by our stockholders to enforce any duty or liability created by the Exchange Act or the rules and regulations thereunder must be brought in federal court. Our stockholders will not be deemed to have waived our compliance with the federal securities laws and the regulations promulgated thereunder.

Our certificate of incorporation will further provide that any person or entity purchasing or otherwise acquiring any interest in shares of our capital stock is deemed to have notice of and consented to the provisions of our certificate of incorporation described above. See “Description of Capital Stock — Exclusive Forum”. The forum selection clause in our certificate of incorporation may have the effect of discouraging lawsuits against us or our directors and officers and may limit our shareholders’ ability to obtain a favorable judicial forum for disputes with us. If the enforceability of our forum selection provisions were to be challenged, we may incur additional costs associated with resolving such challenge. While we currently have no basis to expect any such challenge would be successful, if a court were to find our forum selection provisions to be inapplicable or unenforceable with respect to one or more of these specified types of actions or proceedings, we may incur additional costs associated with having to litigate in other jurisdictions, which could have an adverse effect on our business, financial condition, results of operations, cash flows, and prospects and result in a diversion of the time and resources of our employees, management, and board of directors.

If you purchase shares of common stock sold in this offering, you will incur immediate and substantial dilution.

If you purchase shares of common stock in this offering, you will incur immediate and substantial dilution in the amount of $11.15 per share because the initial public offering price of $11.00 is substantially higher than the pro forma net tangible book value per share of our outstanding common stock. Dilution results from the fact that the initial public offering price per share of the common stock is substantially in excess of the book value per share of common stock attributable to the existing stockholders for the presently outstanding shares of common stock. In addition, you may also experience additional dilution upon future equity issuances or the exercise of stock options to purchase common stock granted to our employees and directors under our management incentive plan. See “Dilution.”

 

64


Table of Contents

Because we do not intend to pay cash dividends in the foreseeable future, you may not receive any return on investment unless you are able to sell your common stock for a price greater than your purchase price.

The continued operation and expansion of our business will require substantial funding. Accordingly, we do not anticipate that we will pay any cash dividends on shares of our common stock for the foreseeable future. Any determination to pay dividends in the future will be at the discretion of our board of directors and will depend upon results of operations, financial condition, contractual restrictions, including those under our senior secured credit facilities, any potential indebtedness we may incur, restrictions imposed by applicable law and other factors our board of directors deems relevant. Accordingly, if you purchase shares in this offering, realization of a gain on your investment will depend on the appreciation of the price of our common stock, which may never occur.

If securities or industry analysts do not publish research or reports about our business, if they adversely change their recommendations regarding our common stock or if our results of operations do not meet their expectations, the price of our common stock and trading volume could decline.

The trading market for our common stock will be influenced by the research and reports that industry or securities analysts publish about us or our business. We do not have any control over these analysts. If one or more of these analysts cease coverage of our Company or fail to publish reports on us regularly, we could lose visibility in the financial markets, which in turn could cause the price of our common stock or trading volume to decline. Moreover, if one or more of the analysts who cover us downgrades our common stock, or if our results of operations do not meet their expectations, the price of our common stock could decline.

We are a holding company and conduct all of our operations through our subsidiaries.

We are a holding company and derive all of our operating income from our subsidiaries. All of our assets are held by our direct and indirect subsidiaries. We rely on the earnings and cash flows of our subsidiaries, which are paid to us by our subsidiaries in the form of dividends and other payments or distributions, to meet our debt service obligations. The ability of our subsidiaries to pay dividends or make other payments or distributions to us will depend on their respective operating results and may be restricted by, among other things, the laws of their jurisdiction of organization (which may limit the amount of funds available for the payment of dividends and other distributions to us), the terms of existing and future indebtedness and other agreements of our subsidiaries and the covenants of any future outstanding indebtedness we or our subsidiaries incur.

 

65


Table of Contents

FORWARD-LOOKING STATEMENTS

All statements other than statements of historical facts contained in this prospectus, including statements regarding our future results of operations and financial position, or that describe our plans, goals, intentions, objectives, strategies, expectations, beliefs and assumptions, are forward-looking statements. The words “believe,” “may,” “might,” “will,” “estimate,” “continue,” “anticipate,” “intend,” “expect,” “project,” “plan,” “objective,” “could,” “would,” “should” and similar expressions are intended to identify forward-looking statements. We have based these forward-looking statements largely on our current expectations and projections about future events and financial trends that we believe may affect our financial condition, results of operations, business strategy, short-term and long-term business operations and objectives, and financial needs. We caution that the forward-looking statements in this prospectus are subject to a number of known and unknown risks, uncertainties and assumptions that may cause our actual results, performance or achievements to be materially different from any future results, performances or achievements expressed or implied by the forward-looking statements. Factors that could contribute to these differences include, among other things:

 

   

The continuation of the COVID-19 pandemic may cause disruptions to our operations, customer demand, and our suppliers’ ability to meet our needs;

 

   

Rapidly-changing consumer preferences in the apparel, footwear and accessories industries expose us to the risk of lost sales, harmed customer relationships, and diminished brand loyalty if we are unable to anticipate such changes;

 

   

Our failure to acquire new customers, retain existing customers, or maintain average order value levels;

 

   

The effectiveness of our marketing and our level of customer traffic;

 

   

Merchandise return rates;

 

   

Our success in identifying brands to acquire, integrate and manage on our platform or unable to expand into new markets;

 

   

The global nature of our business exposes us to numerous risks that could materially adversely affect our consolidated financial condition and results of operations;

 

   

Our use of social media platforms and influencer sponsorship initiatives could adversely affect our reputation or subject us to fines or other penalties;

 

   

Certain of our key operating metrics are subject to inherent challenges in measurement, and real or perceived inaccuracies in such metrics may harm our reputation and negatively affect our business;

 

   

We could be required to collect additional sales taxes or be subject to other tax liabilities that may increase the costs our consumers would have to pay for our offering and adversely affect our operating results;

 

   

Economic downturns and market conditions beyond our control could materially adversely affect our business, operating results, financial condition and prospects;

 

   

Fluctuations between non-U.S. currencies and the U.S. dollar could materially impact our results of operations;

 

   

Our ability to attract and retain highly qualified personnel;

 

   

Fluctuations in wage rates and the price, availability and quality of raw materials and finished goods could increase costs;

 

   

Interruptions in or increased costs of shipping and distribution could affect our ability to deliver our products to the market and impair our operating results; and

 

   

The other factors set forth under “Risk Factors.”

 

66


Table of Contents

Moreover, we operate in a very competitive and rapidly changing environment, and new risks emerge from time-to-time. It is not possible for our management to predict all risks, nor can we assess the impact of all factors on our business or the extent to which any factor, or combination of factors, may cause actual results to differ materially from those contained in any forward-looking statements we may make. In light of these risks, uncertainties and assumptions, the forward-looking events and circumstances discussed in this prospectus may not occur, and actual results could differ materially and adversely from those anticipated or implied in the forward-looking statements.

You should not rely upon forward-looking statements as predictions of future events. Although we believe that the expectations reflected in the forward-looking statements are reasonable, we cannot guarantee that the future results, levels of activity, performance or events and circumstances reflected in the forward-looking statements will be achieved or occur. Moreover, neither we nor any other person assumes responsibility for the accuracy and completeness of the forward-looking statements. We undertake no obligation to update publicly any forward-looking statements for any reason after the date of this prospectus to conform these statements to actual results or changes in our expectations, unless otherwise required by law.

 

67


Table of Contents

USE OF PROCEEDS

We estimate that the net proceeds from our issuance and sale of 10,000,000 shares of common stock (or 11,500,000 shares of common stock if the underwriters exercise their option to purchase additional shares in full) in this offering will be approximately $97.3 million (or $112.8 million if the underwriters exercise their option to purchase additional shares in full), after deducting underwriting discounts and commissions and estimated offering expenses payable by us.

We intend to use the net proceeds from this offering, together with borrowings under our new senior secured credit facility, to repay in full all outstanding amounts under our existing senior secured credit facility and our existing subordinated notes and to repurchase minority interests in P&P Holdings, LP currently owned by the P&P Minority Investors. We intend to use any remaining net proceeds for working capital and general corporate purposes, including possible future acquisitions. Pending application, we intend to invest the net proceeds of this offering in short-term, interest-bearing, investment-grade securities or money market accounts.

The following table sets forth the estimated uses of the proceeds of (i) this offering, based upon the initial public offering price of $11.00 per share, and assuming no exercise of the underwriters’ option to purchase additional shares of our common stock, and (ii) borrowings under our new senior secured credit facility and our existing subordinated notes. Actual amounts may vary from these estimates.

 

Source of funds

    

Use of funds

 

(in thousands)

        

Common stock offered hereby

   $ 110,000     

Repayment of our existing senior secured credit facility(2)

   $ 143,536  

Borrowings under our new senior secured credit facility, net of issuance costs(1)

     98,750     

Repayment of our existing subordinated notes(3)

     27,471  
     

Repurchase of equity interests in P&P Holdings, LP(4)

     16,434  
     

Estimated fees and expenses(5)

     13,364  
     

Working capital and general corporate purposes

     7,945  
  

 

 

       

 

 

 

Total sources

   $ 208,750     

Total uses

   $ 208,750  
  

 

 

       

 

 

 

 

(1)

In connection with this offering, we intend to replace our existing senior secured credit facility with a new senior secured credit facility. The entry into the new senior secured credit facility is expected to occur concurrently with, and is conditioned upon, the completion of this offering, and we expect to borrow the full amount of the new $100.0 million term loan facility at such time. See “Description of Indebtedness—New Senior Secured Credit Facility.”

(2)

Represents the repayment of $137.1 million of borrowings and the payment of a prepayment premium of $3.8 million plus $2.7 million of accrued and unpaid interest. The existing senior secured credit facility matures on March 31, 2027. As of June 30, 2021, the interest rate on outstanding borrowings under the senior secured credit facility was 8.50%.

(3)

Represents the repayment of $25 million aggregate principal amount of our existing subordinated notes and the payment of a prepayment premium of $0.8 million plus $1.7 million of accrued and unpaid interest. The existing subordinated notes accrue interest at an annual rate of 16.0% and mature on September 30, 2027.

(4)

Represents the payment of AUD $22.8 million (USD $16.4 million translated using an exchange rate of 1 AUD = 0.72 USD) in cash to fund the acquisition of the remaining 27.3% of equity interests in P&P Holdings, LP currently owned by the P&P Minority Investors. Following the completion of this purchase, P&P Holdings, LP will be our wholly-owned subsidiary. See “Reorganization Transactions—The Reorganization Transactions—Petal & Pup Minority Interest Buy Out.”

 

68


Table of Contents
(5)

Includes $6.6 million of underwriting discounts and commissions, $6.1 million of estimated offering expenses and $0.6 million of financing costs payable in connection with this offering.

 

69


Table of Contents

CAPITALIZATION

The following table describes our cash and cash equivalents, total long-term debt and consolidated capitalization as of June 30, 2021 on (1) an actual basis, (2) a pro forma basis, after giving effect to the Reorganization Transactions and the Financing Transactions, each as defined and described in “Unaudited Pro Forma Consolidated Financial Information” and elsewhere in this prospectus, and (3) a pro forma as adjusted basis, as further adjusted to reflect the sale of 10,000,000 shares of common stock in this offering as further described under the caption “The Offering,” to the extent not otherwise included in the pro forma adjustments described above, at the initial public offering price of $11.00 per share, after deducting the underwriting discounts and commissions and estimated expenses of this offering.

You should read the following table in conjunction with the sections entitled “Use of Proceeds,” “Unaudited Pro Forma Consolidated Financial Information,” “Management’s Discussion and Analysis of Financial Condition and Results of Operations” and our consolidated financial statements and related notes included elsewhere in this prospectus.

 

     June 30, 2021  
     Actual     Pro
Forma
    Pro Forma
As Adjusted
 

(in thousands, except unit and share data)

      

Cash and cash equivalents

   $ 34,341     $ 30,582     $ 38,527  
  

 

 

   

 

 

   

 

 

 

Debt:

      

Existing senior secured credit facility(1)

   $ 131,412     $ —       $ —    

Existing subordinated notes - related party

     25,693       —         —    

New senior secured credit facility(2)

     —         98,750       98,750  
  

 

 

   

 

 

   

 

 

 

Total debt

     157,105       98,750       98,750  
  

 

 

   

 

 

   

 

 

 

Members’ / stockholders’ equity:

      

Members’ units

     190,866       —         —    

Preferred stock, $0.001 par value, no shares authorized, issued or outstanding, actual; no shares authorized and no shares issued or outstanding, pro forma; 50,000,000 shares authorized and no shares issued or outstanding, pro forma as adjusted

     —         —         —    

Common stock, $0.001 par value, no shares authorized, issued or outstanding, actual; 500,000,000 shares authorized and 124,865,251 shares issued and outstanding, pro forma; 500,000,000 shares authorized and 126,590,141 shares issued and outstanding, pro forma as adjusted(3)

     —         125       127  

Noncontrolling interest

     10,019       —         —    

Accumulated other comprehensive income

     (1,314     (1,314     (1,314

Additional paid-in-capital(4)

     1,859       406,752       418,531  

Retained earnings

     18,041       6,941       6,941  
  

 

 

   

 

 

   

 

 

 

Total members’ / stockholders’ equity

     219,471       412,504       424,285  
  

 

 

   

 

 

   

 

 

 

Total capitalization

   $ 376,576     $ 511,254     $ 523,035  
  

 

 

   

 

 

   

 

 

 

 

(1)

The existing senior secured credit facility includes a $25 million revolving credit facility. We had $131.4 million of borrowings outstanding and $12.0 million of availability under the revolving credit facility as of June 30, 2021. We intend to repay all outstanding indebtedness under our existing senior secured credit facility at the closing of this offering. See “Use of Proceeds.”

(2)

Concurrently with the consummation of this offering, we intend to enter into a new senior secured credit facility, which we expect will consist of a five-year $100 million senior secured term loan facility and a five-year $50 million senior secured revolving credit facility. The entry into the new senior secured credit facility is expected to occur concurrently with, and is conditioned upon, the completion of this offering. We expect to borrow the full amount of the new $100.0 million term loan facility concurrently with the

 

70


Table of Contents
  completion of this offering, and we expect to have $50.0 million of available borrowing capacity under the new revolving credit facility upon completion of this offering.
(3)

The pro forma total shares issued and outstanding is equal to (i) the 94,780,338 shares issued to the equity owners and incentive unit holders of Excelerate, L.P.; plus (ii) the 21,809,804 shares issued to the CK Rollover Investors in exchange for their remaining 45% equity interests in CK Holdings L.P.; plus (iii) the 6,685,783 shares related to the Financing Transactions; plus (iv) the 1,589,326 shares related to the repurchase of the remaining 27.3% of the equity interests in P&P Holdings, LP held by the P&P Minority Investors. The pro forma as adjusted total shares issued and outstanding is equal to (i) the pro forma total shares issued and outstanding of 124,865,251; plus (ii) the total shares to be issued in connection with this offering of 10,000,000; less (iii) the 8,275,109 shares to be issued from this offering already reflected in the pro forma total shares, of which (a) 6,685,783 shares related to the Financing Transactions and (b) 1,589,326 shares related to the repurchase of the remaining 27.3% of the equity held by the P&P Minority Investors. Refer further to Note 6(1)(A)(c) of the “Unaudited Pro Forma Consolidated Financial Information.”

(4)

The increase from the pro forma to the pro forma as adjusted balance reflects the additional paid-in capital of $109.9 million in connection with this offering, net of $6.6 million of underwriters fees and commissions, $6.1 million of offering expenses, and net of $69.1 million of additional paid-in capital reflected in the pro forma balance for the Financing Transactions and $16.4 million of additional paid-in capital for the repurchase of 27.3% of the equity held by the P&P Minority Investors reflected in the pro forma balance sheet.

 

71


Table of Contents

DIVIDEND POLICY

We currently intend to retain all available funds and any future earnings to fund the development and growth of our business, and therefore we do not anticipate paying any cash dividends in the foreseeable future. In addition, our ability to pay dividends on our common stock will be limited by restrictions on the ability of our subsidiaries to pay dividends or make distributions to us under the terms of the agreements governing our indebtedness. Any future determination to pay dividends will be at the discretion of our board of directors, subject to compliance with covenants in current and any future agreements governing our indebtedness, and will depend upon our results of operations, financial condition, capital requirements and other factors that our board of directors deems relevant.

In addition, since we are a holding company, substantially all of the assets shown on our consolidated balance sheet are held by our subsidiaries. Accordingly, our earnings, cash flow and ability to pay dividends are largely dependent upon the earnings and cash flows of our subsidiaries and the distribution or other payment of such earnings to us in the form of dividends.

 

72


Table of Contents

REORGANIZATION TRANSACTIONS

a.k.a. Brands Holding Corp. was formed as a Delaware corporation on May 20, 2021 to be the issuer of common stock in this offering.

Excelerate, L.P., a Cayman limited partnership, has historically been the holding company of the entities that has owned and operated the a.k.a. businesses. The equity interests of Excelerate, L.P. are currently owned by affiliates of Summit, certain other investors and certain of our executive officers and directors and other members of management.

Pre-Reorganization Steps

In connection with the completion of this offering, the parties will complete an internal reorganization pursuant to which (i) the Summit Funds, the management investors and the other investors (excluding those investors affiliated with the Bryett family or the Beard family (the “Australian Management Investors”)) exchange their limited partnership interests (including, without limitation, incentive units in Excelerate, L.P.) in Excelerate, L.P. for limited partnership interests in New Excelerate, L.P., a newly formed Cayman limited partnership formed to become the holder of these investors’ investment in the a.k.a. businesses and (ii) New Excelerate, L.P. will become a limited partner of Excelerate, L.P. and the Australian Management Investors will retain their limited partnership interests in Excelerate, L.P. Prior to the completion of this offering, Excelerate, L.P. will own 100% of the equity interests in our Princess Polly and Rebdolls businesses, 66.67% of the equity interests in our Petal & Pup business and 55% of the equity interests in our Culture Kings business.

a.k.a. Brands Holdings Corp. currently has three redeemable shares outstanding, two of which are held by New Excelerate, L.P. and one of which is held by Bryett Enterprises Trust. It is anticipated these shares will be redeemed for $1 each upon consummation of the Reorganization Transactions.

 

73


Table of Contents

The diagram below shows our corporate structure following the steps described above and immediately prior to the Reorganization Transactions. This diagram is provided for illustrative purposes only and does not show all of our legal entities.

 

LOGO

The Reorganization Transactions

The Reorganization Transactions includes the following transactions, each of which is expected to occur following the effective date of the registration statement of which this prospectus forms a part and prior to the closing of this offering:

New Excelerate, L.P. Reorganization. Following the effective date of the registration statement of which this prospectus forms a part and prior to the closing of this offering, New Excelerate, L.P. and the Australian

 

74


Table of Contents

Management Investors will transfer their interests in Excelerate, L.P. and New Excelerate GP LP to a.k.a. Brands Holding Corp. in exchange for stock in a.k.a. Brands Holdings Corp. As a result, Excelerate, L.P. will become a wholly-owned subsidiary of a.k.a. Brands Holding Corp., and New Excelerate, L.P. and the Australian Management Investors will own interests in a.k.a. Brands Holding Corp. in the same proportion as their previous interests in Excelerate, L.P., based on the value that would be assigned to their interests in Excelerate, L.P. if there were a sale of Excelerate, L.P. based on the value of Excelerate, L.P. implied by the public offering price of $11.00 per share.

Culture Kings Minority Interest Exchange. As a result of the Culture Kings acquisition, Excelerate, L.P. indirectly owns 55% of the equity interests in CK Holdings, LP, which wholly owns our Culture Kings business. The remaining 45% of the equity interests in CK Holdings, LP are held by certain minority investors (the “CK Rollover Investors”). Immediately following the New Excelerate, L.P. reorganization and prior to closing of this offering, we will complete a series of transactions in which the CK Rollover Investors will effectively exchange their interests in CK Holdings, LP for newly issued shares of our common stock. The number of shares of a.k.a. Brands Holding Corp. to be issued in exchange for the minority interests will be determined based on the relative agreed valuations of CK Holdings LP and the consolidated a.k.a. group at the time of the offering. Accordingly, we will issue 21,809,804 shares to the CK Rollover Investors, based on a per share valuation of $12.29 as determined by the relative valuation of CK Holdings LP and the consolidated a.k.a. group at the time of this offering, assuming the initial public offering price of $11.00 per share. Following the completion of the exchange, CK Holdings, LP will be our wholly-owned subsidiary.

Petal & Pup Minority Interest Buy Out. Excelerate, L.P. has historically owned 66.67% of the equity interests in P&P Holdings, LP, which operates our Petal & Pup business. The remaining 33.34% of the equity interests in P&P Holdings, LP were historically held by certain minority investors (the “P&P Minority Investors”). On August 19, 2021, we repurchased approximately 6% of the equity held by the P&P Minority Investors for AUD $5,000,000. In connection with the completion of this offering, we intend to use a portion of the net proceeds of this offering to fund the acquisition of the remaining 27.3% of equity interests in P&P Holdings, LP currently owned by the P&P Minority Investors for approximately AUD $22.8 million. Following the completion of this repurchase, P&P Holdings, LP will be our wholly-owned subsidiary.

 

75


Table of Contents

The diagram below illustrates our corporate structure immediately following completion of the Reorganization Transactions, the Financing Transactions and this offering:

 

 

LOGO

The preceding diagram assumes that the underwriters will not exercise their overallotment option. If the underwriters exercise their overallotment option in full, New Excelerate, L.P. would own 56.7% of our common stock, the CK Rollover Investors would own 17.0% of our common stock, the Australian Management Investors would own 17.3% of our common stock and purchasers of our common stock in this offering would own 9.0% of our common stock.

 

76


Table of Contents

DILUTION

If you invest in our common stock, your ownership interest will be immediately diluted to the extent of the difference between the initial public offering price per share of our common stock and the pro forma net tangible book value per share of our common stock after this offering. Dilution results from the fact that the initial public offering price per share of the common stock is substantially in excess of the pro forma book value per share of common stock attributable to the existing owners for shares of common stock.

After giving effect to the Culture Kings Acquisition, the Reorganization Transactions and the Financing Transactions, our pro forma net tangible book deficit as of June 30, 2021 was $(27.3) million, or $(0.22) per share of common stock. Net tangible book deficit per share represents the amount of our total tangible assets, which we define as total assets, less goodwill and intangible assets, less total liabilities, divided by the number of shares of common stock outstanding.

After giving effect to the sale of the 10,000,000 shares of common stock offered by us in this offering, less estimated underwriting discounts and commissions and estimated offering expenses, our pro forma as adjusted net tangible book deficit as of June 30, 2021 would have been approximately $(19.3) million, or $(0.15) per share of common stock. Such pro forma as adjusted net tangible book deficit as of June 30, 2021 of approximately $(19.3) million is calculated by summing the pro forma net tangible book deficit as of June 30, 2021 of $(27.3) million and the $7.9 million of proceeds from this offering intended to be used for working capital and general corporate purposes, as described in the “Use of Proceeds” section. This represents an immediate increase in pro forma as adjusted net tangible book value to our existing owners of $0.07 per share and an immediate dilution to new investors in this offering of $11.15 per share. The following table illustrates this pro forma as adjusted per share dilution in net tangible book value to new investors.

 

Initial public offering price per share

      $ 11.00  

Pro forma net tangible book deficit per share as of June 30, 2021

     (0.22   

Increase per share attributable to the purchasers in this offering

     0.07     
  

 

 

    

Pro forma as adjusted net tangible book deficit per share after this offering

        (0.15
     

 

 

 

Dilution per share to the purchasers in this offering

      $ 11.15  
     

 

 

 

The following table summarizes as of June 30, 2021, on the same pro forma basis, the number of shares of common stock purchased from us, the total consideration paid and the average price per share paid by the existing owners and by the purchasers in this offering, based upon the initial public offering price of $11.00 per share, and before deducting estimated underwriting discounts and commissions and offering expenses payable by us:

 

     Shares of Common
Stock Purchased
    Total Consideration     Average
Price Per
Share
 
     Number      Percent     Amount      Percent  
                  (in thousands)               

Existing owners

     116,590,141        92.1   $ 308,657        73.7   $ 2.65  

Purchasers in this offering

     10,000,000        7.9     110,000        26.3   $ 11.00  
  

 

 

    

 

 

   

 

 

    

 

 

   

Total

     126,590,141        100.0   $ 418,657        100.0  
  

 

 

    

 

 

   

 

 

    

 

 

   

Except as otherwise indicated, the discussion and tables above assume no exercise of the underwriters’ option to purchase additional shares of common stock from us. If the underwriters’ option to purchase additional shares of common stock is exercised in full, our existing owners would own approximately 91.0% and the

 

77


Table of Contents

purchasers in this offering would own approximately 9.0% of the total number of shares of our common stock outstanding after this offering. If the underwriters exercise in full their option to purchase additional shares of common stock, the pro forma as adjusted net tangible book deficit per share after this offering on such date would have been $(0.03) per share, and the dilution in the pro forma as adjusted net tangible book value per share to the purchasers in this offering would have been $11.03 per share.

 

78


Table of Contents

UNAUDITED PRO FORMA CONSOLIDATED FINANCIAL INFORMATION

The following unaudited pro forma consolidated financial statements and related notes present the historical consolidated financial information for Excelerate, L.P. (operating as a.k.a. Brands) and Culture Kings Group Pty Ltd., a company incorporated and registered in Australia, and its wholly owned subsidiaries (“Culture Kings”), after giving effect to the acquisition of a 55% ownership interest in Culture Kings, which was completed on March 31, 2021 (the “Culture Kings Acquisition”), as well as the other transactions described below that are expected to occur in connection with, or in anticipation of, the closing of this offering.

The unaudited pro forma financial information is presented to illustrate the estimated effects of the Culture Kings Acquisition and the associated financing, which are collectively referred to as the “Acquisition Adjustments,” all of which occurred as of March 31, 2021 at the close of the acquisition. Additionally, the estimated effects of the exchange of ownership interests in a.k.a. Brands Holding Corp.’s predecessor entities, Excelerate, L.P. and New Excelerate, L.P., for newly issued shares of our common stock, as well as the acquisition of the 45% noncontrolling interest in Culture Kings and the acquisition of the 33% noncontrolling interest in Petal & Pup, L.P. (“Petal & Pup”) are illustrated (all such reorganization events collectively referred to as “Reorganization Transactions” as defined and further detailed under the caption “Reorganization Transactions” found elsewhere in this prospectus). Finally, the impacts of the repayment of debt initially raised in relation to the Culture Kings Acquisition and the issuance of new debt, contingent upon the successful completion of this offering, are included (the debt transactions are collectively referred to as “Financing Transactions”). The unaudited pro forma consolidated statements of operations for the year ended December 31, 2020 and for the six months ended June 30, 2020 and 2021 (each a “pro forma statement of operations”) give effect to the Acquisition Adjustments, the Reorganization Transactions and the Financing Transactions as if they had occurred on January 1, 2020. The unaudited pro forma consolidated balance sheet as of June 30, 2021 (the “pro forma balance sheet”) gives effect to the Reorganization Transactions and the Financing Transactions as if they had occurred on June 30, 2021. The pro forma financial information should be read in conjunction with the accompanying notes.

As it relates to the Culture Kings Acquisition, the following unaudited pro forma statements of operations give pro forma effect to:

 

   

Share capital and debt raised by Excelerate, L.P. and debt raised by Polly Holdco Pty Ltd., both wholly-owned subsidiaries of a.k.a., to fund the Culture Kings Acquisition through its subsidiary, CK Holdings LP (Cayman).

 

   

The acquisition of a 55% interest in Culture Kings by Excelerate, L.P. and the associated preliminary fair value adjustments.

The pro forma statements of operations information relating to the Culture Kings Acquisition were prepared using the acquisition method of accounting in accordance with ASC 805, Business Combinations (“ASC 805”). Under the acquisition method of accounting, a.k.a. recorded assets acquired and liabilities assumed from Culture Kings at their respective acquisition date fair values, including the identifiable intangible assets, on the closing date. The pro forma statements of operations record the preliminary allocation of purchase price as if it had occurred on January 1, 2020. The determination of the fair value of the identifiable assets of the Culture Kings business and the allocation of the estimated consideration to these identifiable assets and liabilities is preliminary and is pending finalization of various estimates, inputs and analyses, which are expected to be complete in the second half of 2021. Since this pro forma financial information has been prepared based on preliminary estimates of consideration and fair values, including the identifiable intangibles, the actual amounts eventually recorded for the Culture Kings Acquisition may differ materially from the information herein.

 

79


Table of Contents

The Acquisition Adjustments are described in the notes to the unaudited pro forma consolidated financial statements and principally include the following:

 

   

adjustments to the historical financial statements of Culture Kings to convert the historical financial statements from IFRS as issued by the IASB to US GAAP;

 

   

adjustments to conform the financial statement presentation of Culture Kings to be consistent with a.k.a.’s financial statement presentation;

 

   

adjustments to translate Culture Kings financial information from its functional currency of the Australian dollar to a.k.a’s reporting currency of the U.S. dollar; and

 

   

adjustments to reflect the preliminary allocation of the purchase price to the acquired assets and liabilities as a result of the Culture Kings Acquisition as provided in ASC 805, which is based upon a preliminary estimate of fair values using the assumptions set forth in the notes to the Pro Forma Financial Information which is not final.

The Reorganization Transactions are described under the caption “Reorganization Transactions” elsewhere in this prospectus and the notes to the unaudited pro forma consolidated financial statements and include the following, all of which are contingent upon the successful completion of this offering:

 

   

the exchange of previous ownership interests in Excelerate, L.P. and New Excelerate, L.P. for shares of our common stock;

 

   

the acquisition of the 45% noncontrolling interest in Culture Kings, by exchange of shares held by the holders of Culture Kings’ noncontrolling interest for shares of our common stock;

 

   

the acquisition of the 33% noncontrolling interest in Petal & Pup for cash, of which 6% was acquired on August 19, 2021 for AUD $5,000,000 and the remaining 27.3% as funded by a portion of the net proceeds from this offering.

The Financing Transactions are described in the notes to the unaudited pro forma consolidated financial statements and include the following, both of which are contingent upon the successful completion of this offering:

 

   

the repayment of debt issued in relation to the Culture Kings Acquisition, as funded in part by a portion of the net proceeds from this offering and the issuance of new debt;

 

   

our entering into the new senior secured facility.

The unaudited pro forma financial information has been prepared for informational purposes only to reflect the Culture Kings Acquisition and the Acquisition Adjustments for the pro forma statements of operations and the Reorganization Transactions and the Financing Transactions for both the pro forma balance sheet and statements of operations, and is not indicative of what a.k.a.’s financial position and results of operations would have been had the respective transactions occurred on the dates noted above, nor does it project the financial position and results of operations of the combined company following the respective transactions.

The unaudited pro forma consolidated financial statements were prepared in accordance with Article 11 of SEC Regulation S-X as amended by the final rule, Release No. 33-10786 “Amendments to Financial Disclosures about Acquired and Disposed Businesses” as adopted by the SEC on May 21, 2020. Release No. 33-10786 replaces the existing pro forma adjustment criteria with simplified requirements to depict the accounting for the transaction (the Acquisition Adjustments) and present the reasonably estimable synergies and other transaction effects that have occurred or are reasonably expected to occur (“Management’s Adjustments”). With respect to the Culture Kings Acquisition, we have elected not to present Management’s Adjustments and only present the Acquisition Adjustments in the unaudited pro forma consolidated statements of operations. The Acquisition Adjustments presented in the unaudited pro forma consolidated statements of operations have been identified and presented to provide relevant information necessary to assist in understanding the post-combination company upon consummation of the Culture Kings Acquisition.

As a public company, we will be implementing additional procedures and processes for the purpose of addressing the standards and requirements applicable to public companies. We expect to incur additional annual

 

80


Table of Contents

expenses related to these steps and, among other things, additional directors’ and officers’ liability insurance, director fees, reporting requirements of the SEC, transfer agent fees, hiring additional accounting, legal and administrative personnel, increased auditing, tax and legal fees, stock exchange listing fees and similar expenses. We have not included any pro forma adjustments relating to these costs. Additionally, the proceeds received from and the shares issued in this offering are included in the pro forma financial information only to the extent they are required to fund the Reorganization Transactions or the Financing Transactions.

This unaudited pro forma financial information should be read together with a.k.a.’s and Culture Kings’ financial statements and related notes, “Management’s Discussion and Analysis of Financial Condition and Results of Operations” and other financial information included elsewhere in this prospectus.

Future operating results may differ materially from the unaudited pro forma consolidated financial information presented below due to various factors including those described under the captions “Risk Factors” and “Forward-Looking Statements” and elsewhere in this prospectus.

All amounts are in thousands of U.S. dollars, except where noted otherwise.

 

81


Table of Contents

Unaudited Pro Forma Consolidated Balance Sheet

as of June 30, 2021

(in thousands)

 

     Historical
a.k.a.
    Reorganization
Transactions
and Financing
Transactions
    Note    Pro
Forma
a.k.a.
 

Assets

       6A   

Current assets

         

Cash and cash equivalents

   $ 34,341   $ (3,759   (b)    $ 30,582

Restricted cash

     2,235     —            2,235

Accounts receivable

     3,380     —            3,380

Inventory, net

     99,702     —            99,702

Prepaid expenses and other current assets

     16,769     —            16,769
  

 

 

   

 

 

      

 

 

 

Total current assets

     156,427     (3,759        152,668
  

 

 

   

 

 

      

 

 

 

Property, plant and equipment, net

     12,423     —            12,423

Operating lease right-of-use assets

     26,501     —            26,501

Intangible assets, net

     94,339     —            94,339

Goodwill

     345,442     —            345,442

Other assets

     955     (375   (f)      580  
  

 

 

   

 

 

      

 

 

 

Total assets

   $ 636,087   $ (4,134 )      $ 631,953
  

 

 

   

 

 

      

 

 

 

Liabilities and Members’ / Stockholders’ Equity

         

Current liabilities

         

Accounts payable

   $ 19,322   $ —        $ 19,322

Accrued liabilities

     32,414     —            32,414  

Sales returns reserve

     3,692     —            3,692

Deferred revenue

     7,066     —            7,066

Income taxes payable

     —         —            —    

Operating leases liabilities, current

     5,743     —            5,743

Current portion of long-term debt

     2,864     1,852     (g)      4,716  
  

 

 

   

 

 

      

 

 

 

Total current liabilities

     71,101     1,852          72,953
  

 

 

   

 

 

      

 

 

 

Long-term debt

     128,548     (34,514   (g)      94,034  

Long-term debt, related party

     25,693     (25,693   (g)      —    

Operating lease liabilities

     20,890     —            20,890

Other long-term liabilities

     1,208     —            1,208

Deferred income taxes, net

     30,364     —            30,364
  

 

 

   

 

 

      

 

 

 

Total liabilities

     277,804     (58,355        219,449  
  

 

 

   

 

 

      

 

 

 

Commitments and contingencies

         

Redeemable noncontrolling interests

     138,812     (138,812   (b)      —    

Members’ / stockholders’ equity

         

Units

     190,866     (190,866   (a)      —    

Common stock, par value $0.001 per share; 500,000,000 shares authorized; 124,865,251 shares issued and outstanding, pro forma

     —         125     (a)      125  

Retained earnings

     18,041     (11,100   (h)      6,941  

Noncontrolling interest

     10,019       (10,019   (b)      —    

Accumulated other comprehensive loss

     (1,314     —            (1,314

Additional paid-in capital

     1,859     404,893     (c)      406,752  
  

 

 

   

 

 

      

 

 

 

Total members’/stockholders’ equity

     219,471     193,033          412,504  
  

 

 

   

 

 

      

 

 

 

Total liabilities and members’/stockholders’ equity

   $ 636,087   $ (4,134 )      $ 631,953
  

 

 

   

 

 

      

 

 

 

See accompanying notes to unaudited pro forma consolidated financial statements

 

82


Table of Contents

Unaudited Pro Forma Consolidated Statement of Operations

For The Year Ended December 31, 2020

(in thousands, except unit and per unit data)

 

     Historical
a.k.a
    As Adjusted
Historical
Culture Kings
Group
    Acquisition
Adjustment
    Note    Reorganization
Transactions
and Financing
Transactions
    Note    Combined  
           Note 4(A)           5(A)          6B       

Net sales

   $ 215,916     $ 169,132     $ —          $ —          $ 385,048  

Cost of sales

     89,515       76,974       15,095     (a)      —            181,584  
  

 

 

   

 

 

   

 

 

      

 

 

      

 

 

 

Gross profit

     126,401       92,158       (15,095        —            203,464  

Operating expenses:

              —         

Selling

     58,312       34,064       —            —            92,376  

Marketing

     17,871       11,739       —            —            29,610  

General and administrative

     28,077       10,349       8,049     (b)      —            46,475  
  

 

 

   

 

 

   

 

 

      

 

 

      

 

 

 

Total operating expenses

     104,260       56,152       8,049          —            168,461  
  

 

 

   

 

 

   

 

 

      

 

 

      

 

 

 

Income from operations

     22,141       36,006       (23,144        —            35,003  

Interest expense

     (334     (8     (15,581   (c)      11,947     (i)      (3,976

Other income (expense), net

     (152)       841       —            (11,400)     (j)      (10,711)  
  

 

 

   

 

 

   

 

 

      

 

 

      

 

 

 

Income before income taxes

     21,655       36,839       (38,725        547          20,316  

Provision for income tax

     (6,850)       (11,163)       11,618     (d)      (164)     (k)      (6,559)  
  

 

 

   

 

 

   

 

 

      

 

 

      

 

 

 

Net income

     14,805       25,676       (27,107        383          13,757  

Net income attributable to noncontrolling interests

     (471     —         (4,264   (e)      4,735     (d)      —    
  

 

 

   

 

 

   

 

 

      

 

 

      

 

 

 

Net income attributable to Excelerate, L.P.

   $ 14,334     $ 25,676     $ (31,371      $ 5,118        $ 13,757  
  

 

 

   

 

 

   

 

 

      

 

 

      

 

 

 

Other comprehensive income

                

Foreign currency translation

     11,355       —         —            —            11,355  
  

 

 

   

 

 

   

 

 

      

 

 

      

 

 

 

Total comprehensive income

     26,160       25,676       (27,107        383          25,112  

Comprehensive income attributable to noncontrolling interest

     (1,256     —         (4,264        5,520     (d)      —    
  

 

 

   

 

 

   

 

 

      

 

 

      

 

 

 

Comprehensive income attributable to Excelerate, L.P.

   $ 24,904     $ 25,676     $ (31,371      $ 5,903        $ 25,112  
  

 

 

   

 

 

   

 

 

      

 

 

      

 

 

 

Earnings per unit/share:

                

Basic

   $ 0.13                 $ 0.11  

Diluted

   $ 0.13                 $ 0.11  

Weighted average units/shares outstanding:

                

Basic

     114,028,628         25,746,282     (f)      (19,206,786   (e)      120,568,124  

Diluted

     114,028,628         25,746,282     (f)      (19,206,786   (e)      120,568,124  

See accompanying notes to unaudited pro forma consolidated financial statements

 

83


Table of Contents

Unaudited Pro Forma Consolidated Statement of Operations

For The Six Months Ended June 30, 2020

(in thousands, except unit and per unit data)

 

     Historical
a.k.a
    Translated
Reclassified/
Historical
Culture Kings
     Acquisition
Adjustment
    Note    Reorganization
Transactions
and Financing
Transactions
    Note    Combined  
           Note 4(B)            5(B)          7       

Net sales

   $ 81,799     $ 63,765      $ —          $ —          $ 145,564  

Cost of sales

     36,606       29,497        10,968     (a)      —            77,071  
  

 

 

   

 

 

    

 

 

      

 

 

      

 

 

 

Gross profit

     45,193       34,268        (10,968        —            68,493  

Operating expenses:

               —         

Selling

     24,028       13,371        —            —            37,399  

Marketing

     7,237       4,302        —            —            11,539  

General and administrative

     10,520       5,133        4,025     (b)      —            19,678  
  

 

 

   

 

 

    

 

 

      

 

 

      

 

 

 

Total operating expenses

     41,785       22,806        4,025          —            68,616  
  

 

 

   

 

 

    

 

 

      

 

 

      

 

 

 

Income (loss) from operations

     3,408       11,462        (14,993        —            (123

Interest income (expense)

     (170     530        (7,791   (c)      5,953     (c)      (1,478

Other income (expense), net

     —         —          —            (11,400)     (d)      (11,400
  

 

 

   

 

 

    

 

 

      

 

 

      

 

 

 

Income (loss) before income taxes

     3,238       11,992        (22,784        (5,447        (13,001

(Provision for) benefit from income tax

     (1,024)       (3,666)        6,835     (d)      1,634     (e)      3,779  
  

 

 

   

 

 

    

 

 

      

 

 

      

 

 

 

Net income (loss)

     2,214       8,326        (15,949        (3,813        (9,222

Net (income) loss attributable to noncontrolling interests

     (70     —          976     (e)      (906   (a)      —    
  

 

 

   

 

 

    

 

 

      

 

 

      

 

 

 

Net income (loss) attributable to Excelerate, L.P.

   $ 2,144     $ 8,326      $ (14,973      $ (4,719      $ (9,222
  

 

 

   

 

 

    

 

 

      

 

 

      

 

 

 

Other comprehensive income (loss):

                 

Foreign currency translation

     (6,960     —          —            —            (6,960
  

 

 

   

 

 

    

 

 

      

 

 

      

 

 

 

Total comprehensive (loss) income

     (4,746     8,326        (15,949        (3,813        (16,182

Comprehensive loss (income) attributable to noncontrolling interest

     760       —          976          (1,736   (a)      —    
  

 

 

   

 

 

    

 

 

      

 

 

      

 

 

 

Comprehensive (loss) income attributable to Excelerate, L.P.

   $ (3,986   $ 8,326      $ (14,973      $ (5,549      $ (16,182
  

 

 

   

 

 

    

 

 

      

 

 

      

 

 

 

Earnings (loss) per unit:

                 

Basic

   $ 0.02                  $ (0.08

Diluted

   $ 0.02                  $ (0.08

Weighted average units outstanding:

                 

Basic

     113,886,416          25,746,282     (f)      (20,923,653   (b)      118,709,045  

Diluted

     113,886,416          25,746,282     (f)      (20,923,653   (b)      118,709,045  

See accompanying notes to unaudited pro forma consolidated financial statements

 

84


Table of Contents

Unaudited Pro Forma Consolidated Statement of Operations

For The Six Months Ended June 30, 2021

(in thousands, except unit and per unit data)

 

     Historical
a.k.a
    As Adjusted
Historical
Culture
Kings 
    Acquisition
Adjustments
    Note     Reorganization
Transactions
and Financing
Transactions
    Note     Combined  
           Note 4(C)           5(C)           8        

Net sales

   $ 218,006     $ 51,199     $ —         $ —         $ 269,205  

Cost of sales

     95,984       24,576       (6,256     (a )      —           114,304  
  

 

 

   

 

 

   

 

 

     

 

 

     

 

 

 

Gross profit

     122,022       26,623       6,256         —           154,901  
  

 

 

   

 

 

   

 

 

     

 

 

     

 

 

 

Operating expenses:

              

Selling

     58,277       11,618       —           —           69,895  

Marketing

     21,132       3,843       —           —           24,975  

General and administrative

     32,650       3,882       2,012       (b )      —           38,544  
  

 

 

   

 

 

   

 

 

     

 

 

     

 

 

 

Total operating expenses

     112,059       19,343       2,012         —           133,414  
  

 

 

   

 

 

   

 

 

     

 

 

     

 

 

 

Income from operations

     9,963       7,280       4,244         —           21,487  

Interest expense and other, net

     (4,278     (95     (3,895     (c )      6,042       (c )      (2,226
  

 

 

   

 

 

   

 

 

     

 

 

     

 

 

 

Income before income taxes

     5,685       7,185       349         6,042         19,261  

Provision for income tax

     (1,706     (2,156     (105     (d )      (1,812     (d )      (5,779
  

 

 

   

 

 

   

 

 

     

 

 

     

 

 

 

Net income

     3,979       5,029       244         4,229         13,481  
  

 

 

   

 

 

   

 

 

     

 

 

     

 

 

 

Net income attributable to noncontrolling interests

     (76     —         (3,600     (e )      3,676       (a )      —    
  

 

 

   

 

 

   

 

 

     

 

 

     

 

 

 

Net income (loss) attributable to Excelerate, L.P.

   $ 3,903     $ 5,029     $ (3,356     $ 7,905       $ 13,481  
  

 

 

   

 

 

   

 

 

     

 

 

     

 

 

 

Other comprehensive income (loss)

              

Foreign currency translation

     (11,099     —         —           —           (11,099
  

 

 

   

 

 

   

 

 

     

 

 

     

 

 

 

Total comprehensive (loss) income

     (7,120     5,029       244         4,229         2,382  

Comprehensive loss attributable to noncontrolling interest

     3,870       —         (3,600       (270     (a )      —    
  

 

 

   

 

 

   

 

 

     

 

 

     

 

 

 

Comprehensive (loss) income attributable to Excelerate, L.P.

   $ (3,250   $ 5,029     $ (3,356     $ 3,959       $ 2,382  
  

 

 

   

 

 

   

 

 

     

 

 

     

 

 

 

Earnings per unit/share:

              

Basic

   $ 0.03               $ 0.11  

Diluted

   $ 0.03               $ 0.11  

Weighted average units/shares outstanding:

              

Basic

     126,969,861         12,873,141       (f )      (16,268,538     (b )      123,574,464  

Diluted

     126,969,861         12,873,141       (f )      (16,268,538     (b )      123,574,464  

See accompanying notes to unaudited pro forma consolidated financial statements.

 

85


Table of Contents

NOTES TO UNAUDITED PRO FORMA CONSOLIDATED FINANCIAL STATEMENTS

(tabular amounts in thousands, except unit and per unit data, ratios, or as noted)

NOTE 1. Description of Transactions and Basis of Presentation

On March 31, 2021, pursuant to a share sale agreement, a.k.a., through its subsidiary CK Holdings, LP, acquired a 55% ownership stake in Culture Kings. The previous shareholders of Culture Kings retained a 45% noncontrolling interest in Culture Kings by receipt of an equity interest in CK Holdings, LP. The company recognized goodwill as the excess of the fair value of the total purchase consideration and noncontrolling interests over the net fair value of the identifiable assets acquired and the liabilities assumed. The purchase consideration consisted of AUD $307.4 million (USD $235.9 million) cash consideration, subject to working capital adjustments, and noncontrolling interest with a fair value of AUD $186.0 million (USD $142.7 million).

As contemplated by this offering and the new senior secured credit facility expected to be entered into contingent upon the completion of this offering, a.k.a. intends to acquire the 45% noncontrolling interest ownership in Culture Kings, acquire the 33% noncontrolling interest in Petal & Pup and repay the debt issued in relation to the acquisition of Culture Kings.

The pro forma financial information has been compiled using a.k.a.’s historical information and accounting policies in addition to the expected impact of the Reorganization Transactions and the Financing Transactions. The accounting policies of Culture Kings vary materially from those of a.k.a. During preparation of the pro forma statements of operations, a.k.a.’s management has performed a preliminary analysis to identify where material differences in accounting policies may occur, together with converting the accounting policies from IFRS, which are used in the preparation of the audited financial statements of Culture Kings, to US GAAP. a.k.a. management will conduct a final review of Culture King’s accounting policies in order to determine if further differences require adjustments or reclassification of Culture King’s results of operations, assets and liabilities to conform with a.k.a. Brands accounting policies and classifications. As a result of this review, a.k.a. management may identify differences that, when adjusted or reclassified, could have a material impact on this pro forma financial information. Refer to Note 4 for adjustments made to the historical audited financial statements of Culture Kings.

The pro forma balance sheet gives effect to the Reorganization Transactions and the Financing Transactions as if they had been completed on June 30, 2021. The pro forma statements of operations give effect to the Acquisition Adjustments, the Reorganization Transactions and the Financing Transactions as if they had occurred on January 1, 2020.

NOTE 2. Preliminary Purchase Price Allocation

The following table sets forth a preliminary allocation of the total consideration to the identifiable tangible and intangible assets acquired and liabilities assumed of Culture Kings based on Culture Kings’ unaudited condensed consolidated statement of financial position as of the date of acquisition, March 31, 2021, with the excess recorded to goodwill.

 

Estimated purchase consideration:

  

Cash purchase consideration, net of cash acquired of $8,831

   $ 227,053  

Fair value of noncontrolling interest

     142,717  
  

 

 

 

Total consideration

   $  369,770  
  

Identifiable net assets acquired:

  

Account receivable, net

   $ 625  

Inventory(a)

     62,937  

Prepaid expenses and other current assets

     4,800  

Property, plant and equipment, net

     8,048  

Intangible assets, net(b)

     73,209  

Operating lease right-of-use assets

     24,299  

Accounts payable

     (13,449

 

86


Table of Contents

Deferred revenue

     (141

Income taxes payable

     (1,778

Other current liabilities

     (2,533

Operating lease liabilities

     (24,299

Deferred income taxes, net

     (25,439

Accrued liabilities-non-current

     (1,058
  

 

 

 

Net assets acquired

     105,221  
  

 

 

 

Goodwill

   $ 264,549  
  

 

 

 

The preliminary purchase price allocation includes significant judgments, assumptions and estimates to determine the fair value of assets acquired and liabilities assumed. The valuations involving the most significant assumptions, estimates and judgment are:

(a)                Inventory was adjusted by $15.1 million to step-up inventory cost to estimated fair value. The fair value of the inventory was determined utilizing the Net Realizable Value Method (“NRV”), which was based on the expected selling price of the inventory to customers adjusted for related disposal costs and a profit allowance for the post-acquisition selling effort.

(b)                The estimated annual amortization expense of acquired intangible assets used to derive the amortization expense included in the unaudited pro forma consolidated statements of operations for the year ended December 31, 2020, and for the six months ended June 30, 2020 and 2021, are as follows:

 

     Estimated Fair Value      Annual
Amortization
Expense
     Estimated Useful
Life in Years
 

Brand names

   $ 68,354      $ 6,835        10 years  

Customer relationships

     4,855        1,214        4 years  
  

 

 

       

Total

   $ 73,209        
  

 

 

       

Brand names are valued using a relief from royalty approach, which estimates the license fee that would need to be paid by Culture Kings if it was deprived of the brand names and domain names, and instead had to pay a license fee for their use. The fair value is the present value of the expected future license fee cash flows.

Customer relationship intangible assets are valued using the multi-period excess earnings method, which is the present value of the projected cash flows that are expected to be generated by the existing intangible asset after reduction by an estimated fair rate of return on contributory assets required to generate the customer relationship revenues. Key assumptions included discounted cash flow, estimated life cycle and customer attrition rates.

NOTE 3. Financing Transactions

Funding the Acquisition of Culture Kings

To fund the acquisition of Culture Kings, on March 31, 2021, Excelerate, L.P. issued partnership units in exchange for $82.7 million in cash. In addition, Polly Holdco Pty Ltd., a wholly owned subsidiary of a.k.a. (“Polly”), entered into a debt agreement with an affiliate of Fortress Credit Corp, comprised of a $125 million term-loan facility (the “Term Loan”) and $25 million revolving credit facility. Polly also issued $25 million of senior subordinated notes (the “Senior Subordinated Notes”) to certain debt funds of Summit Partners, an affiliate of Excelerate, L.P. The Term Loan and Senior Subordinated Notes combined provided the Company with $144.1 million, net of loan fees of approximately $5.9 million.

 

87


Table of Contents

Key terms and conditions of the financing are:

 

   

The $125 million Term Loan matures on March 31, 2027 and requires us to make amortized quarterly payments equal to 0.75% of the original principal amount, for an aggregate annual amount of 3.0%. Borrowings under the Term Loan accrue interest, at the option of the borrower, at an adjusted LIBOR plus 7.5% or ABR plus 6.5%, subject to adjustment based on achieving certain total net secured leverage ratios and is subject to a minimum LIBOR threshold of 1.0% per annum. A prepayment premium of 3% of the principal amount of the Term Loan is required to terminate the loan in the first year and prior to its maturity. The Term Loan also includes financial covenants that require a.k.a. to maintain a net secured leverage ratio less than a specified maximum that decreases over time and begins at 4.5 to 1.

 

   

The $25 million revolving credit facility, which matures on March 31, 2027, accrues interest, at the option of the borrower, at an adjusted LIBOR plus 7.5% or ABR plus 6.5%, subject to adjustment based on achieving certain total net secured leverage ratios.

 

   

The Senior Subordinated Notes accrue interest at an annual interest rate of 16.0% and mature on September 30, 2027. The Senior Subordinated Notes must be repaid upon an IPO or other qualifying change of control event and a prepayment premium of 3% of the principal amount of the Senior Subordinated Notes is required to terminate the loan prior to its maturity. The Senior Subordinated Notes also include financial covenants that require a.k.a. to maintain a net secured leverage ratio less than a specified maximum that decreases over time and begins at 4.95 to 1.

Total debt payments in the amount of $3.8 million are due within the next 12 months, and accordingly are classified as long-term debt due within one year on our balance sheet. The remaining outstanding debt of $140.4 million is classified as long-term debt on our balance sheet and is expressed net of unamortized debt costs of $5.9 million.

No amounts were drawn on our revolving credit facility as a result of the transaction. Annualized interest expense of $14.6 million has been calculated assuming the aforementioned debt was issued on January 1, 2020, and amortized debt costs of $1.0 million, have been reflected as an increase to interest expense in the pro forma statements of operations.

We incurred debt issuance costs of $6.9 million, of which $1.0 million relates to our revolving credit facility, which have been capitalized and included in prepaid and other current assets as deferred financing costs and are amortized over the life of the facility, or 6 years. The remaining $5.9 million of debt issuance costs relating to our Term Loan and Senior Subordinated Notes are presented net of our outstanding debt in long term debt on our balance sheet. Debt issuance costs are amortized over the life of the outstanding debt, using the effective interest rate method.

Repayment and Issuance Upon Close of this Offering

Contingent upon the close of this offering, certain subsidiaries of a.k.a Brands will enter into a new senior secured credit facility inclusive of a $100 million term loan (the “new term loan”) and a $50 million revolving line of credit (the “new revolver”).

The expected key terms and conditions of the financing are:

 

   

The $100 million new term loan will mature five years after closing and require us to make amortized annual payments of 5% during the first year and second years, 7.5% during the third and fourth years and 10% during the fifth year with the balance of the loan due at maturity. Borrowings under the new term loan will accrue interest at LIBOR plus an applicable margin dependent upon our net leverage ratio. The highest interest rate under the agreement will occur at a net leverage ratio of greater than 2.75x, yielding an interest rate of LIBOR plus 3.25%.

 

   

The $50 million new revolver, which will mature five years after closing, will accrue interest at LIBOR plus an applicable margin dependent upon our net leverage ratio. The highest interest rate under the agreement will occur at a net leverage ratio of greater than 2.75x, yielding an interest rate of LIBOR

 

88


Table of Contents
 

plus 3.25%. Additionally, a margin fee of 25-35 basis points will be assessed on unused amounts under the new revolver, subject to adjustment based on our net leverage ratio.

We anticipate incurring $1.875 million of debt issuance costs in relation to the new senior credit facility. Of this, $0.625 million relates to the new revolver and will be capitalized and included in prepaid and other current assets as deferred financing costs to be amortized over the life of the facility, or 5 years. The remaining $1.25 million of debt issuance costs relates to the new term loan and will be presented net of our outstanding debt in long term debt on our balance sheet. Debt issuance costs will be amortized over the life of the outstanding debt, using the effective interest rate method. These borrowings, together with a portion of the net proceeds from this offering, will be used to repay the Term Loan and revolving credit facility from Fortress, as well as the Senior Subordinated Notes and to fund the acquisitions of noncontrolling interests.

NOTE 4. Pro Forma Reclassification Adjustments

Culture Kings’ results of operations for the period of April 1, 2021 to June 30, 2021 are included in a.k.a.’s unaudited condensed consolidated balance sheet as of June 30, 2021 and in a.k.a.’s unaudited condensed consolidated statement of operations for the six months ended June 30, 2021. In the pro forma financial statements, certain adjustments have been made to Culture Kings’ audited consolidated statement of profit or loss and other comprehensive income for the year ended December 31, 2020 and the unaudited condensed consolidated statements of profit or loss and other comprehensive income for the six months ended June 30, 2020, and for the three months ended March 31, 2021, to present and classify expenses into costs of sales, selling and distribution, marketing and general and administrative expenses financial statement line items consistent with the presentation in the a.k.a. audited financial statements.

In addition, certain adjustments have been made to Culture Kings’ audited consolidated statement of profit or loss and other comprehensive income for the year ended December 31, 2020 and unaudited condensed consolidated statements of operations for the six months ended June 30, 2020, and for the three months ended March 31, 2021 to convert the accounting policies from IFRS to US GAAP.

The pro forma financial statements have been adjusted to include the following:

 

  A.

Adjustments to Reclassify the Year Ended December 31, 2020 Consolidated Statement of Profit or Loss and Other Comprehensive Income to a.k.a. Presentation and Convert the Accounting Policies from IFRS to US GAAP

Unaudited Pro Forma Consolidated Statement of Profit or Loss and Other Comprehensive Income

For the Year Ended December 31, 2020

(in thousands)

 

     Culture
Kings
(As Reported)
     Reclassification
Adjustments
    Reclassified
Historical
Culture
Kings
     Translated
Reclassified/
Historical
Culture
Kings
     US GAAP
Adjustments
    Adjusted
Historical
Culture
Kings
 
     AUD      AUD (i)     AUD      USD (ii)      USD (iii)     USD  

Net sales

   $ 243,687    $ (121   $ 243,566    $ 169,132    $ —     $ 169,132  

Cost of sales

     127,113      (16,263     110,850      76,974      —       76,974
  

 

 

    

 

 

   

 

 

    

 

 

    

 

 

   

 

 

 

Gross profit

     116,574      16,142     132,716      92,158      —       92,158

Operating expenses:

               

Selling

     —        49,056     49,056      34,064      —       34,064

Marketing

     16,629      276     16,905      11,739      —       11,739

General and administrative

     41,897      (25,857     16,040      11,138      (789     10,349

Occupancy expenses

     5,537      (5,537     —        —        —       —  

Travel and entertainment expenses

     247      (247     —        —        —       —  
  

 

 

    

 

 

   

 

 

    

 

 

    

 

 

   

 

 

 

Total operating expenses

     64,310      17,691     82,001      56,941      (789     56,152

 

89


Table of Contents
     Culture
Kings
(As Reported)
    Reclassification
Adjustments
    Reclassified
Historical
Culture
Kings
    Translated
Reclassified/
Historical
Culture
Kings
    US GAAP
Adjustments
    Adjusted
Historical
Culture
Kings
 
     AUD     AUD (i)     AUD     USD (ii)     USD (iii)     USD  

Income from operations

         50,715     35,217     789     36,006

Other gains and losses

     1,103     (1,103     —       —       —       —  

Finance income

     17     (17     —       —       —       —  

Finance costs

     (1,536     1,536     —       —       —       —  

Interest expense

     —       (11     (11     (8     —       (8

Other income, net

     67     1,144     1,211     841     —       841
  

 

 

   

 

 

   

 

 

   

 

 

   

 

 

   

 

 

 

Income before income taxes

     51,915     —       51,915     36,050     789     36,839

Income tax expense

     (15,734     —       (15,734     (10,926     (237     (11,163
  

 

 

   

 

 

   

 

 

   

 

 

   

 

 

   

 

 

 

Net income

     36,181     —       36,181     25,124     552     25,676

Net income attributable to noncontrolling interest

     (6     6     —       —       —       —  
  

 

 

   

 

 

   

 

 

   

 

 

   

 

 

   

 

 

 

Net income attributable to Excelerate, L.P

     36,175     6     36,181     25,124     552     25,676

Other comprehensive income

            

Foreign currency translation

     —       —       —       —       —       —  
  

 

 

   

 

 

   

 

 

   

 

 

   

 

 

   

 

 

 

Total comprehensive income

   $ 36,181   $ —     $ 36,181   $ 25,124   $ 552   $ 25,676  
  

 

 

   

 

 

   

 

 

   

 

 

   

 

 

   

 

 

 

 

(i)

This column reflects adjustments made to reclassify amounts to conform with a.k.a.’s financial statement presentation. Accordingly, there is no impact on net income.

(ii)

The functional currency for Culture King’s historical financial statements is the Australian dollar whereas the functional currency for a.k.a. is the U.S. dollar. To combine the statement of operations of Culture Kings with a.k.a., the adjusted historical financial statements of Culture Kings have been translated into U.S. dollars. The statement of operations was translated using the average exchange rate during 2020, which was 1 AUD = 0.6944 USD.

(iii)

These adjustments convert the accounting for leases in the historical financial statements of Culture Kings from IFRS to US GAAP. The adjustment reduces operating lease and depreciation expense in the current year in the amount of $0.8 million. Also reflects the tax impact of the adjustment at the statutory tax rate of 30% effective in Australia.

 

90


Table of Contents
  B.

Adjustments to Reclassify the Six Months Ended June 30, 2020 Condensed Consolidated Statement of Profit or Loss and Other Comprehensive Income to a.k.a. Presentation and Convert the Accounting Policies from IFRS to US GAAP

Unaudited Pro Forma Condensed Consolidated Statement of Profit or Loss and Other Comprehensive Income

For the Six Months Ended June 30, 2020

(in thousands)

 

     Culture
Kings
(As Reported)
    Reclassification
Adjustments
    Reclassified
Historical
Culture
Kings
    Translated
Reclassified/
Historical
Culture
Kings
 
     AUD     AUD (i)     AUD     USD (ii)  

Net sales

   $ 97,158   $ (44   $ 97,114   $ 63,765

Cost of sales

     51,644     (6,720     44,924     29,497
  

 

 

   

 

 

   

 

 

   

 

 

 

Gross profit

     45,514     6,676     52,190     34,268

Operating expenses:

        

Selling

     —         20,364     20,364     13,371

Marketing

     6,405     147     6,552     4,302

General and administrative

     18,001     (10,184     7,817     5,133

Occupancy expenses

     2,702     (2,702     —         —    

Travel and entertainment expenses

     167     (167     —         —    
  

 

 

   

 

 

   

 

 

   

 

 

 

Total operating expenses

     27,275     7,458     34,733     22,806

Income from operations

         17,457     11,462

Other gains and losses

     723     (723     —         —    

Finance income

     17     (17     —         —    

Finance costs

     (786     786     —         —    

Other income, net

     69     737     806     530
  

 

 

   

 

 

   

 

 

   

 

 

 

Income before income taxes

     18,263     —         18,263     11,992

Income tax expense

     (5,583     —         (5,583     (3,666
  

 

 

   

 

 

   

 

 

   

 

 

 

Net income

     12,680     —         12,680     8,326

Net income attributable to noncontrolling interest

     (1     1     —          
  

 

 

   

 

 

   

 

 

   

 

 

 

Net income attributable to Excelerate, L.P.

     12,679     1     12,680     8,326

Other comprehensive income

        

Foreign currency translation

     —         —         —         —    
  

 

 

   

 

 

   

 

 

   

 

 

 

Total comprehensive income

   $ 12,680   $ —     $ 12,680   $ 8,326
  

 

 

   

 

 

   

 

 

   

 

 

 

 

(i)

This column reflects adjustments made to reclassify amounts to conform with the a.k.a.’s financial statement presentation. Accordingly, there is no impact on net income.

(ii)

The functional currency for Culture King’s historical financial statements is the Australian dollar whereas the functional currency for a.k.a. is the U.S. dollar. To combine the statement of operations for the six months ended June 30, 2020 of Culture Kings with a.k.a., the adjusted historical financial statements of Culture Kings have been translated into U.S. dollars. The statement of operations was translated using the average exchange rate during the six months ended June 30, 2020, which was 1 AUD = 0.6566.

 

91


Table of Contents
  C.

Adjustments to Reclassify the Three Months Ended March 31, 2021 Condensed Consolidated Statement of Profit or Loss and Other Comprehensive Income to a.k.a. Presentation and Convert the Accounting Policies from IFRS to US GAAP

Unaudited Pro Forma Condensed Consolidated Statement of Profit or Loss and Other Comprehensive Income

For the Three Months Ended March 31, 2021

(in thousands)

 

     Culture
Kings
(As Reported)
    Reclassification
Adjustments
    Reclassified
Historical
Culture
Kings
    Translated
Reclassified/
Historical
Culture
Kings
 
     AUD     AUD (i)     AUD     USD (ii)  

Net sales

   $ 66,317     $ (92   $ 66,225     $ 51,199  

Cost of sales

     37,985       (6,196     31,789       24,576  
  

 

 

   

 

 

   

 

 

   

 

 

 

Gross profit

     28,332       6,104       34,436       26,623  

Operating expenses:

        

Selling

     —         15,028       15,028       11,618  

Marketing

     4,881       90       4,971       3,843  

General and administrative

     12,008       (6,987     5,021       3,882  

Occupancy expenses

     1,647       (1,647     —         —    

Travel and entertainment expenses

     34       (34     —         —    
  

 

 

   

 

 

   

 

 

   

 

 

 

Total operating expenses

     18,570       6,450       25,020       19,343  

Income from operations

         9,416       7,280  

Other gains and losses

     (131     131       —         —    

Finance income

     8       (8     —         —    

Finance costs

     (350     350       —         —    

Interest expense

     —         (5     (5     (3

Other income (expense), net

     4       (122     (118     (92
  

 

 

   

 

 

   

 

 

   

 

 

 

Income before income taxes

     9,293       —         9,293       7,185  

Income tax expense

     (2,788     —         (2,788     (2,156
  

 

 

   

 

 

   

 

 

   

 

 

 

Net income

     6,505       —         6,505       5,029  

Net income attributable to noncontrolling interest

     (2     2       —         —    
  

 

 

   

 

 

   

 

 

   

 

 

 

Net income attributable to Excelerate, L.P

     6,503       2       6,505       5,029  

Other comprehensive income

        

Foreign currency translation

     —         —         —         —    
  

 

 

   

 

 

   

 

 

   

 

 

 

Total comprehensive income

   $ 6,505     $ —       $ 6,505     $ 5,029  
  

 

 

   

 

 

   

 

 

   

 

 

 

 

(i)

This column reflects adjustments made to reclassify amounts to conform with the a.k.a.’s financial statement presentation. Accordingly, there is no impact on net income.

(ii)

The functional currency for Culture King’s historical financial statements is the Australian dollar whereas the functional currency for a.k.a. is the U.S. dollar. To combine the statement of operations for the three months ended March 31, 2021 of Culture Kings with a.k.a., the adjusted historical financial statements of Culture Kings have been translated into U.S. dollars. The statement of operations was translated using the average exchange rate during the three months ended March 31, 2021, which was 1 AUD = 0.7731 USD.

 

92


Table of Contents

NOTE 5. Pro Forma Acquisition Adjustments

 

  A.

Adjustments to the Unaudited Pro Forma Consolidated Statement of Operations - Annual

 

(a)

Reflects the non-recurring incremental cost of sales recognized related to the fair value adjustments related to the inventory acquired resulting in an increase to cost of sales of $15.1 million.

 

(b)

Includes the estimated incremental amortization expense related to fair value adjustments for the identified acquired brands and customer relationships resulting in an increase to general and administrative expenses of $8.0 million.

 

(c)

Reflects the pro forma increase in interest expense of $14.6 million as described in Note 3, as well as the amortization of loan issuance costs of $1.0 million, resulting in an increase to total interest expense of $15.6 million.

 

(d)

Reflects the tax impact of adjustments at the statutory tax rate of 30% effective in Australia.

 

(e)

Reflects the net profit attributable to the noncontrolling interest in Culture Kings.

 

(f)

Reflects 25.7 million Series A partnership units issued by Excelerate, L.P. to fund the acquisition of Culture Kings.

 

  B.

Adjustments to the Unaudited Pro Forma Condensed Consolidated Statement of Operations - For the Six Months Ended June 30, 2020

 

(a)

Reflects the non-recurring incremental cost of sales recognized in the six months ended June 30, 2020, related to the fair value adjustments on acquired inventory equal to $11.0 million. Remaining unamortized amounts are recognized on a pro forma basis in subsequent months.

 

(b)

Includes the estimated incremental amortization expense related to fair value adjustments for the identified acquired brands and customer relationships resulting in an increase to general and administrative expenses of $4.0 million, or six months of amortization of intangibles acquired in the acquisition of Culture Kings, as described in Note 2.

 

(c)

Reflects the pro forma increase in interest expense of $14.6 million as described in Note 3, as well as the amortization of loan issuance costs of $1.0 million, resulting in an increase to total interest expense of $15.6 million, of which six months’ impact of $7.8 million is included here. For illustrative purposes, a 125 basis points increase in the interest rate on the Term Loan would result in a $1.6 million annual increase in interest expense, and a 125 basis points decrease in the interest rate on the Term Loan would result in a $1.6 million annual decrease in interest expense.

 

(d)

Reflects the tax impact of adjustments at the statutory tax rate of 30% effective in Australia.

 

(e)

Reflects the net profit attributable to the noncontrolling interest in Culture Kings.

 

(f)

Reflects the 25.7 million Series A partnership units which were issued by Excelerate, L.P. to fund the acquisition of Culture Kings.

 

  C.

Adjustments to the Unaudited Pro Forma Condensed Consolidated Statement of Operations - For the Six Months ended June 30, 2021

 

(a)

Reflects the reversal of the recognition of the incremental cost of sales in the three months ended June 30, 2021, related to the fair value adjustments of the acquired inventory, for a total of $6.3 million. The original total fair value adjustment, on a pro forma basis, would have been recognized over the first eight months of 2020.

 

(b)

Includes the estimated incremental amortization expense related to fair value adjustments for the identified acquired brands and customer relationships resulting in an increase to general and administrative expenses of $2.0 million, or three months of amortization of intangibles acquired in the acquisition of Culture Kings, as described in Note 2.

 

93


Table of Contents
(c)

Reflects the pro forma increase in interest expense of $14.6 million as described in Note 3, as well as the amortization of loan issuance costs of $1.0 million, resulting in an increase to total interest expense of $15.6 million, of which the impact of $3.9 million is included here.

 

(d)

Reflects the tax impact of adjustments at the statutory tax rate of 30% effective in Australia.

 

(e)

Reflects the net profit attributable to the noncontrolling interest in Culture Kings.

 

(f)

Reflects the weighted average amount of 25.7 million Series A partnership units, or 12.9 million units, which were issued by Excelerate, L.P. to fund the acquisition of Culture Kings and not already included in the historical a.k.a. results.

NOTE 6. Reorganization Transactions and Financing Transactions - Annual

1. Reorganization Transactions

 

  A.

Adjustments to the Unaudited Pro Forma Consolidated Balance Sheet

 

(a)

Reflects the net difference in units/shares after the exchange of the previous members’ units to shares of our common stock. $190.9 million in members’ units were converted into $0.125 million in shares of our common stock, at a par value of $0.001 per share. The remaining value of the issued shares is reflected in Note 6(1)(A)(c) below.

 

(b)

Reflects both the acquisition of Petal & Pup’s 33% noncontrolling interest and the acquisition of Culture Kings’ 45% noncontrolling interest. On August 19, 2021, we repurchased approximately 6% of the equity held by the P&P Minority Investors for AUD $5.0 million (USD $3.8 million), which is reflected as a reduction in cash and cash equivalents. The acquisition of the remaining 27.3% of equity held by the P&P Minority Investors is funded by a portion of the net proceeds from this offering.

 

(c)

Reflects the shares of our common stock to the extent that they will be used to (1) exchange for ownership interests in New Excelerate, L.P., (2) acquire noncontrolling interests and (3) repay certain borrowings. 94,780,338 shares will be issued to the equity owners and incentive unit holders of Excelerate, L.P. and New Excelerate, L.P. in exchange for their equity in such entities, in the same proportion as their interests in Excelerate, L.P. The 94,780,338 shares issued is equal to the sum of the historical number of members’ units and incentive units outstanding at June 30, 2021 of 139,914,123 and 14,820,805, respectively, multiplied by a share split factor of 61.25% pursuant to a share split being effected in anticipation of this offering. The historical carrying value of the members’ units was $190.9 million and upon the exchange into shares, $190.8 million will be recorded to additional paid-in-capital and the remaining $0.125 million will be reflected in common stock, par value (refer to Note 6(1)(A)(a) above). 21,809,804 shares will be issued to the owners of the noncontrolling interest in CK Holdings, LP in exchange for the transfer of their noncontrolling interest to CK Bidco Pty, Ltd. (a wholly-owned entity of a.k.a.) based on $11.00 per share, as determined by the relative valuation of CK Holdings LP and the consolidated a.k.a. group at the time of this offering. The carrying value of the redeemable non-controlling interest, $138.8 million, is recorded to additional paid-in-capital upon the issuance of the shares. 1,589,326 shares will be issued in this offering and the cash proceeds, a total of $16.4 million, from such shares will be paid to the holders of the Petal & Pup noncontrolling interest to acquire their remaining 27.3% noncontrolling interest, which is reflected as an increase to additional paid-in-capital. The total amount of consideration issued to the P&P Minority Investors of $20.1 million, which includes the $16.4 million of shares issued and the $3.7 million of cash paid as per Note 6(1)(A)(b), exceeds the carrying value of the non-controlling interest by $10.1 million and this excess was recorded as a reduction to additional paid-in-capital. Finally, 6,685,783 shares will be required to be issued in this offering to supplement the net proceeds received from the new term loan of $98.75 million in order to repay the combined $162.8 million owed to Fortress and Summit to repay the Term Loan, the revolving credit facility and the Senior Subordinated Notes, the $4.5 million prepayment premium associated with the repayment of those borrowings and $0.625 million of deferred financing costs on the new revolver. The value of such shares is based on the initial public offering price, and calculated to yield $69.1 million, which is reflected as an increase to additional paid-in-capital. See Note 9 for a tabular presentation of pro forma shares issued and outstanding as of June 30, 2021.

 

94


Table of Contents
  B.

Adjustments to the Unaudited Pro Forma Consolidated Statement of Operations

 

(d)

Reflects the removal of net income attributable to the noncontrolling interests in Culture Kings and Petal & Pup of $4.7 million and the removal of comprehensive income attributable to the noncontrolling interests in Culture Kings and Petal & Pup of $5.5 million, respectively.

 

(e)

Reflects shares of our common stock to the extent used (1) in exchange for the units held by the owners of Excelerate, L.P. and New Excelerate, L.P., (2) to acquire noncontrolling interests and (3) to repay certain borrowings. 90,483,211 shares will be issued to the equity owners and incentive unit holders of Excelerate, L.P. and New Excelerate, L.P. for all of their equity interests in such entities, in the same proportion as their interests in Excelerate L.P. The 90,483,211 shares issued is equal to the sum of (i) the historical weighted average units outstanding of 114,028,628; (ii) the 25,746,282 units issued by Excelerate, L.P. to fund the acquisition of Culture Kings (refer to Note 5(A)(f)); and (iii) the historical weighted average incentive units outstanding of 7,944,686; all multiplied by a share split factor of 61.25% pursuant to a share split being effected in anticipation of this offering. 21,809,804 shares will be issued to the owners of the noncontrolling interest in CK Holdings, LP in exchange for the transfer of their noncontrolling interest to CK Bidco Pty, Ltd. based on $11.00 per share, as determined by the relative valuation of CK Holdings LP and the consolidated a.k.a. group at the time of this offering. 1,589,326 shares will be issued and the cash proceeds, a total of $16.4 million, from such shares will be paid to the holders of the Petal & Pup noncontrolling interest to acquire their remaining 27.3% noncontrolling interest. Finally, 6,685,783 shares will be required to be issued in this offering to supplement the net proceeds received from the new term loan of $98.75 million in order to repay the combined $162.8 million owed to Fortress and Summit, the $4.5 million prepayment premium associated with the repayment of those borrowings and $0.625 million of deferred financing costs on the new revolver. The value of such shares in this offering is based on derived using the initial public offering price and calculated to yield $69.1 million. See Note 9 for a tabular presentation of pro forma weighted average shares outstanding, basic and diluted, for the year ended December 31, 2020.

2. Financing Transactions

 

  A.

Adjustments to the Unaudited Pro Forma Consolidated Balance Sheet

 

(f)

Reflects the net difference between the deferred financing costs related to the revolving credit facility with Fortress and the new revolver. The repayment of the Fortress revolving credit facility reduced deferred financing costs by $1.0 million. Deferred financing costs related to the new revolver equal $0.625 million. Refer to Note 3.

 

(g)

Reflects the net impact of the repayment of the Fortress Term Loan and the Senior Subordinated Notes and the issuance of the new term loan. The repayment reduced the current portion of long-term debt by $2.9 million and long-term debt by $154.2 million, all of which was borrowed either from Fortress or Summit as described in Note 3. The reduction of existing debt included $162.8 million of principal and $5.7 million of capitalized debt issuance costs. The debt issuance costs are expensed at time of repayment and are reflected as an adjustment to Retained Earnings. Repayment will occur upon the issuance of shares under this offering and the close of the new term loan contingent upon this offering. The recorded value of the new term loan was $98.75 million, which is net of debt issuance costs of $1.25 million, and of which $4.7 million is classified as current.

 

(h)

Reflects the following adjustments to Retained Earnings: (i) recognition of $5.7 million of capitalized debt issuance costs in expense upon repayment of the Fortress Term Loan and the Senior Subordinated Notes as described in Note 3; (ii) recognition of the $4.5 million prepayment premium associated with the early repayment of the Term Loan and the Senior Subordinated Notes as described in Note 3; and (iii) the recognition of $1.0 million deferred financing costs related to the revolving credit facility with Fortress expensed at time of repayment.

 

95


Table of Contents
  B.

Adjustments to the Unaudited Pro Forma Consolidated Statement of Operations

 

(i)

Reflects the pro forma decrease in interest expense of $11.9 million. This decrease in interest expense represents the net impact of repaying the borrowings incurred to acquire Culture Kings and the creation of the new term loan to be entered into upon the closing of this offering as if both had occurred on January 1, 2020. The decrease consists of (i) a $15.6 million reduction in interest expense and amortization of debt issuance costs related due to the repayment of the borrowings used to fund the Culture Kings Acquisition in March 2021 and (ii) a $3.2 million increase in interest expense and $0.4 million increase in amortization of debt issuance costs related to the new term loan and new revolver. For illustrative purposes, a 125 basis points increase in the interest rate on the new term loan would result in a $1.2 million increase in interest expense, and a 125 basis points decrease in the interest rate on the new term loan would result in a $1.2 million decrease in interest expense.

 

(j)

Reflects both (i) the $4.5 million prepayment premium associated with the early repayment of the Term Loan and the Senior Subordinated Notes as described in Note 3 and (ii) the recognition of $6.9 million of unamortized debt issuance costs upon repayment of such borrowings.

 

(k)

Reflects the tax impact of adjustments at the statutory tax rate of 30% effective in Australia.

NOTE 7. Reorganization Transactions and Financing Transactions - Six Months Ended June 30, 2020

1. Reorganization Transactions

Adjustments to the Unaudited Pro Forma Consolidated Statement of Operations

 

(a)

Reflects the removal of net income attributable to the noncontrolling interests in Culture Kings and Petal & Pup of $0.9 million and the removal of comprehensive loss attributable to the noncontrolling interests in Culture Kings and Petal & Pup of $1.7 million.

 

(b)

Reflects shares of our common stock to the extent used (1) in exchange for the units held by the owners of Excelerate, L.P. and New Excelerate, L.P., (2) to acquire noncontrolling interests and (3) to repay certain borrowings. 88,624,132 shares will be issued to the equity owners and incentive unit holders of Excelerate, L.P. and New Excelerate, L.P. for all of their equity interests in such entities, in the same proportion as their interests in Excelerate L.P. The 88,624,132 shares issued is equal to the sum of (i) the historical weighted average units outstanding of 113,886,416; (ii) the 25,746,282 units issued by Excelerate, L.P. to fund the acquisition of Culture Kings (refer to Note 5(B)(f)); and (iii) the historical weighted average incentive units outstanding of 5,051,834; all multiplied by a share split factor of 61.25% pursuant to a share split being effected in anticipation of this offering. 21,809,804 shares will be issued to the owners of the noncontrolling interest in CK Holdings, LP in exchange for the transfer of their noncontrolling interest to CK Bidco Pty, Ltd. based on $11.00 per share, as determined by the relative valuation of CK Holdings LP and the consolidated a.k.a. group at the time of this offering. 1,589,326 shares will be issued in this offering and the cash proceeds, a total of $16.4 million, from such shares will be paid to the holders of the Petal & Pup noncontrolling interest to acquire their remaining 27.3% noncontrolling interest. Finally, 6,685,783 shares will be required to be issued in this offering to supplement the net proceeds received from the new term loan of $98.75 million in order to repay the combined $162.8 million owed to Fortress and Summit, the $4.5 million prepayment premium associated with the repayment of those borrowings and $0.625 million of deferred financing costs on the new revolver. The value of such shares is based on the initial public offering price and calculated to yield $69.1 million. See Note 9 for a tabular presentation of pro forma weighted average shares outstanding, basic and diluted, for the six months ended June 30, 2020.

2. Financing Transactions

Adjustments to the Unaudited Pro Forma Consolidated Statement of Operations

 

(c)

Reflects the pro forma decrease in interest expense of $6.0 million. This decrease in interest expense represents the net impact of repaying the borrowings incurred to acquire Culture Kings and the creation of the new term loan to be entered into upon the closing of this offering as if both had occurred on January 1,

 

96


Table of Contents
  2020. The decrease consists of (i) a $7.8 million reduction in interest expense and amortization of debt issuance costs related due to the repayment of the borrowings used to fund the Culture Kings Acquisition in March 2021, and (ii) a $1.6 million increase in interest expense and $0.2 million increase in amortization of debt issuance costs related to the new term loan and new revolver. For illustrative purposes, a 125 basis points increase in the interest rate on the new term loan would result in a $0.6 million increase in interest expense, and a 125 basis points decrease in the interest rate on the new term loan would result in a $0.6 million decrease in interest expense.

 

(d)

Reflects both (i) the $4.5 million prepayment premium associated with the early repayment of the Term Loan and the Senior Subordinated Notes as described in Note 3 and (ii) the recognition of $6.9 million of unamortized debt issuance costs upon repayment of such borrowings.

 

(e)

Reflects the tax impact of adjustments at the statutory tax rate of 30% effective in Australia.

NOTE 8. Reorganization Transactions and Financing Transactions - Six Months Ended June 30, 2021

1. Reorganization Transactions

Adjustments to the Unaudited Pro Forma Consolidated Statement of Operations

 

(a)

Reflects the removal of net income attributable to the noncontrolling interests in Culture Kings and Petal & Pup of $3.7 million and the removal of comprehensive loss attributable to the noncontrolling interests in Culture Kings and Petal & Pup of $0.3 million.

 

(b)

Reflects shares of our common stock to the extent used (1) in exchange for the units held by the owners of Excelerate, L.P. and New Excelerate, L.P., (2) to acquire noncontrolling interests and (3) to repay certain borrowings. 93,489,551 shares will be issued to the equity owners and incentive unit holders of Excelerate, L.P. and New Excelerate, L.P. for all of their equity interests in such entities, in the same proportion as their interests in Excelerate L.P. The 93,489,551 shares issued is equal to the sum of (i) the historical weighted average units outstanding of 126,969,861; (ii) the weighted average amount of 12,873,141 units issued by Excelerate, L.P. to fund the acquisition of Culture Kings (refer to Note 5(C)(f)); and (iii) the historical weighted average incentive units outstanding of 12,784,635; all multiplied by a share split factor of 61.25% pursuant to a share split being effected in anticipation of this offering. 21,809,804 shares will be issued to the owners of the noncontrolling interest in CK Holdings, LP in exchange for the transfer of their noncontrolling interest to CK Bidco Pty, Ltd. based on $11.00 per share as determined by the relative valuation of CK Holdings LP and the consolidated a.k.a. group at the time of this offering. 1,589,326 shares will be issued in this offering and the cash proceeds, a total of $16.4 million, from such shares will be paid to the holders of the Petal & Pup noncontrolling interest to acquire their remaining 27.3% noncontrolling interest. Finally, 6,685,783 shares will be required to be issued in this offering to supplement the net proceeds received from the new term loan of $98.75 million in order to repay the combined $162.8 million owed to Fortress and Summit, the $4.5 million prepayment premium associated with the repayment of those borrowings and $0.625 million of deferred financing costs on the new revolver. The value of such shares is based on the initial public offering price and calculated to yield $69.1 million. See Note 9 for a tabular presentation of pro forma weighted average shares outstanding, basic and diluted, for the six months ended June 30, 2021.

2. Financing Transactions

Adjustments to the Unaudited Pro Forma Consolidated Statement of Operations

 

(c)

Reflects the pro forma decrease in interest expense of $6.0 million. This decrease in interest expense represents the net impact of repaying the borrowings incurred to acquire Culture Kings and the creation of the new term loan to be entered into upon the closing of this offering as if both had occurred on January 1, 2020. The decrease consists of (i) a $7.8 million reduction in interest expense and amortization of debt issuance costs related due to the repayment of the borrowings used to fund the Culture Kings Acquisition in March 2021, and (ii) a $1.6 million increase in interest expense and $0.2 million increase in amortization of

 

97


Table of Contents
  debt issuance costs related to the new term loan and new revolver. For illustrative purposes, a 125 basis points increase in the interest rate on the new term loan would result in a $0.6 million increase in interest expense, and a 125 basis points decrease in the interest rate on the new term loan would result in a $0.6 million decrease in interest expense.

 

(d)

Reflects the tax impact of adjustments at the statutory tax rate of 30% effective in Australia.

NOTE 9. Calculation of Common Stock and Weighted Average Shares Outstanding

As a result of the Reorganization Transactions and the Financing Transactions, an adjustment is made to common stock in the unaudited pro forma consolidated balance sheet and adjustments are made to weighted average shares outstanding in the unaudited pro forma consolidated statements of operations, with each such adjustment further described in Note 6, Note 7 and Note 8, as appropriate. Below is a tabular presentation of the reconciliation to the common stock and weighted average shares outstanding adjustments, with all inputs further described in Note 6, Note 7 and Note 8, as appropriate, or derived directly from our unaudited pro forma consolidated balance sheet or unaudited pro forma consolidated statements of operations.

 

    Balance Sheet     Statements of Operations  
    June 30,
2021
    For the Year Ended
December 31,

2020
    For the Six Months
Ended June 30,
2020
    For the Six Months
Ended June 30,
2021
 
    Note 6(1)(A)(c)     Note 6(1)(B)(e)     Note 7(1)(b)     Note 8(1)(b)  

Members units

    139,914,123       114,028,628       113,886,416       126,969,861  

Units issued to acquire Culture Kings (pro forma)

    —         25,746,282       25,746,282       12,873,141  

Incentive units (1)

    14,820,805       7,944,686       5,051,834       12,784,635  
 

 

 

   

 

 

   

 

 

   

 

 

 

Total Excelerate, L.P. equity and incentive shares

    154,734,928       147,719,596       144,684,532       152,627,637  

Share split factor (2)

    61.25     61.25     61.25     61.25

Excelerate, L.P. equity and incentive shares (post-split) (2)

    94,780,338       90,483,211       88,624,132       93,489,551  

Shares issued to owners of CK Holdings, LP noncontrolling interests to acquire CK

    21,809,804       21,809,804       21,809,804       21,809,804  

Shares issued for cash to acquire remaining Petal & Pup noncontrolling interests

    1,589,326       1,589,326       1,589,326       1,589,326  

Shares issued to complete the Financing Transactions

    6,685,783       6,685,783       6,685,783       6,685,783  
 

 

 

   

 

 

   

 

 

   

 

 

 

Total common stock/weighted shares outstanding

    124,865,251       120,568,124       118,709,045       123,574,464  

Total historical a.k.a., as adjusted historical Culture Kings Group and Acquisition Adjustments

      139,774,910       139,632,698       139,843,002  
   

 

 

   

 

 

   

 

 

 

Adjustment to pro forma balance sheet/statement of operations

      (19,206,786     (20,923,653     (16,268,538
   

 

 

   

 

 

   

 

 

 

 

98


Table of Contents
(1)

As described in the “Reorganization Transactions” section elsewhere in this Prospectus, all previous ownership interests in Excelerate, L.P., including incentive units, will be exchanged for shares of our common stock. As a result, the weighted average amount of incentive units is included as an adjustment to the pro forma common stock/weighted average shares outstanding. In our historical financial statements, we had not included the dilutive impact of incentive units as the partnership’s undistributed or distributed earnings had not exceeded the incentive units’ thresholds for any periods presented.

(2)

The share split factor is approximate. When applying the share split factor to the outstanding Excelerate, L.P. equity and incentive units, the aggregate post-split number of shares held by New Excelerate may be impacted by rounding.

 

99


Table of Contents

SELECTED CONSOLIDATED FINANCIAL DATA

The following tables set forth the selected consolidated historical financial data of a.k.a. Brands. Excelerate, L.P. is the predecessor of a.k.a. Brands Holding Corp. for financial reporting purposes. You should read the information set forth below in conjunction with “Use of Proceeds,” “Capitalization,” “Unaudited Pro Forma Consolidated Financial Information,” “Management’s Discussion and Analysis of Financial Condition and Results of Operations” and our consolidated historical financial statements and notes thereto included elsewhere in this prospectus. Our historical results are not necessarily indicative of the results that may be expected in the future. The audited statement of operations and cash flows data for each of the years ended December 31, 2019 and 2020 set forth below are derived from the audited consolidated financial statements of Excelerate, L.P. (operating as a.k.a. Brands) included elsewhere in this prospectus. The selected historical financial data of a.k.a. Brands Holding Corp. has not been presented because a.k.a. Brands Holding Corp. is a newly incorporated entity, has had no business transactions or activities to date and had no material assets or liabilities during the periods presented in this section. You should read the selected historical financial data below in conjunction with the section titled “Management’s Discussion and Analysis of Financial Condition and Results of Operation” and the financial statements and related notes included elsewhere in the prospectus.

The selected unaudited pro forma consolidated financial data for the year ended December 31, 2020 is derived from the historical consolidated financial statements of Excelerate, L.P. (operating as a.k.a. Brands) included elsewhere in this prospectus and gives effect to the Culture Kings Acquisition as if it had occurred on January 1, 2020. The selected unaudited pro forma consolidated financial data is for informational purposes only and does not purport to represent the results of operations that the Company would actually obtain if the transactions occurred at any date, nor does such data purport to project the results of operations for any future period.

 

     Year Ended December 31,  
Consolidated statements of operations data (in
thousands):
   2019      2020      Pro Forma 2020  

Net sales

   $ 102,440      $ 215,916      $ 385,048  

Cost of sales

     46,575        89,515        181,584  
  

 

 

    

 

 

    

 

 

 

Gross profit

     55,865        126,401        203,464  

Operating expenses

        

Selling

     28,091        58,313        92,376  

Marketing

     7,666        17,871        29,610  

General and administrative

     17,515        28,077        46,475  
  

 

 

    

 

 

    

 

 

 

Total operating expenses

     53,272        104,261        168,461  
  

 

 

    

 

 

    

 

 

 

Income from operations

     2,593        22,140        35,003  

Other expense, net

     (139      (485      (14,687
  

 

 

    

 

 

    

 

 

 

Income before income taxes

     2,454        21,655        20,316  

Provision for income tax

     (1,012      (6,850      (6,559
  

 

 

    

 

 

    

 

 

 

Net income

     1,442        14,805        13,757  

Net income attributable to noncontrolling interests

     (48      (471      —    
  

 

 

    

 

 

    

 

 

 

Net income attributable to Excelerate, L.P

   $ 1,394      $ 14,334      $ 13,757  
  

 

 

    

 

 

    

 

 

 

Earnings per unit/share:

        

Basic

   $ 0.01      $ 0.13      $ 0.11  

Diluted

   $ 0.01      $ 0.13      $ 0.11  

Weighted average units/shares outstanding:

        

Basic

     101,200,399        114,028,628        120,568,124  

Diluted

     101,200,399        114,028,628        120,568,124  

 

100


Table of Contents
     December 31,
2019
     December 31,
2020
 

Consolidated balance sheet data (in thousands):

     

Cash and cash equivalents

   $ 5,472      $ 26,259  

Total assets

     145,924        189,439  

Working capital

     11,219        24,241  

Members’ equity

     112,041        138,884  

 

     Six Months Ended June 30,  
     2020      2021      Pro Forma
2020
     Pro Forma
2021
 

Consolidated statements of operations data (in thousands):

           

Net sales

   $ 81,799      $ 218,006      $ 145,564      $ 269,205

Cost of sales

     36,606        95,984        77,071        114,304
  

 

 

    

 

 

    

 

 

    

 

 

 

Gross profit

     45,193        122,022        68,493        154,901

Operating expenses

           

Selling

     24,028        58,277        37,399        69,895

Marketing

     7,237        21,132        11,539        24,975

General and administrative

     10,520        32,650        19,678        38,544
  

 

 

    

 

 

    

 

 

    

 

 

 

Total operating expenses

     41,785        112,059        68,616        133,414
  

 

 

    

 

 

    

 

 

    

 

 

 

Income (loss) from operations

     3,408        9,963        (123      21,487

Other expense, net

     (170      (4,278      (12,878      (2,226
  

 

 

    

 

 

    

 

 

    

 

 

 

Income (loss) before income taxes

     3,238        5,685        (13,001      19,261  

Benefit from (provision for) income tax

     (1,024      (1,706      3,779        (5,779
  

 

 

    

 

 

    

 

 

    

 

 

 

Net income (loss)

     2,214        3,979        (9,222      13,481  

Net income attributable to noncontrolling interests

     (70      (76      —          —    
  

 

 

    

 

 

    

 

 

    

 

 

 

Net income (loss) attributable to Excelerate, L.P

   $ 2,144      $ 3,903      $ (9,222    $ 13,481  
  

 

 

    

 

 

    

 

 

    

 

 

 

Earnings (loss) per unit/share:

           

Basic

   $ 0.02      $ 0.03      $ (0.08    $ 0.11  

Diluted

   $ 0.02      $ 0.03      $ (0.08    $ 0.11  

Weighted average units/shares outstanding:

           

Basic

     113,886,416        126,969,861        118,709,045        123,574,464  

Diluted

     113,886,416        126,969,861        118,709,045        123,574,464  

 

     December 31,
2020
     June 30,
2021
     Pro Forma 2021  

Consolidated balance sheet data (in thousands):

        

Cash and cash equivalents

   $ 26,259      $ 34,341    $ 30,582

Total assets

     189,439        636,087      631,953  

Working capital

     24,241        85,326      79,715  

Members’ equity

     138,884        219,471      412,504  

 

101


Table of Contents

Non-GAAP Financial Measures

In addition to our results determined in accordance with GAAP, we monitor the following non-GAAP financial measures to evaluate our operating performance, identify trends, formulate financial projections and make strategic decisions on a consolidated basis. Accordingly, we believe that non-GAAP financial information, when taken collectively, may provide useful supplemental information to investors and others in understanding and evaluating our results of operations in the same manner as our management team. The non-GAAP financial measures are presented for supplemental informational purposes only. They should not be considered a substitute for financial information presented in accordance with GAAP, and may be different from similarly-titled non-GAAP measures used by other companies. A reconciliation is provided below for each non-GAAP financial measure to the most directly comparable financial measure stated in accordance with GAAP. Investors are encouraged to review the related GAAP financial measures and the reconciliation of these non-GAAP financial measures to their most directly comparable GAAP financial measures.

Adjusted EBITDA

Adjusted EBITDA does not represent net income or cash flow from operating activities as those terms are defined by generally accepted accounting principles in the United States (“GAAP”) and do not necessarily indicate whether cash flows will be sufficient to fund cash needs. Further, they may not be comparable to the measures for any subsequent fiscal year. Because other companies may calculate EBITDA and Adjusted EBITDA differently than we do, Adjusted EBITDA may not be comparable to similarly titled measures reported by other companies. Adjusted EBITDA has other limitations as an analytical tool when compared to the use of net income, which we believe is the most directly comparable GAAP financial measure, including:

 

   

Adjusted EBITDA does not reflect the interest income or expense we incur;

 

   

Adjusted EBITDA does not reflect the provision of income tax expense;

 

   

Adjusted EBITDA does not reflect any attribution of costs to our operations related to our investments and capital expenditures through depreciation and amortization charges;

 

   

Adjusted EBITDA does not reflect any amortization expense associated with fair value adjustments from purchase price accounting, including intangibles or inventory step-up; and

 

   

Adjusted EBITDA does not reflect the cost of compensation we provide to our employees in the form of incentive equity awards.

The following tables reflect a reconciliation of Adjusted EBITDA to net income, the most directly comparable financial measure prepared in accordance with GAAP:

 

     Year Ended December 31,  
In thousands        2019             2020         Pro Forma 2020  

Net income

   $ 1,442     $ 14,805     $ 13,757  

Add:

      

Other expense, net

     139       485       14,687  

Provision for income tax

     1,012       6,850       6,559  

Depreciation and amortization expense

     6,227       6,762       31,592  

Equity-based compensation expense

     353       1,380       1,380  
  

 

 

   

 

 

   

 

 

 

Adjusted EBITDA

   $ 9,173     $ 30,282     $ 67,975  
  

 

 

   

 

 

   

 

 

 

Net income margin

     1     7     4

Adjusted EBITDA margin

     9     14     18

 

102


Table of Contents
     Six Months Ended June 30,  
In thousands        2020             2021         Pro
Forma
2020
    Pro
Forma
2021
 

Net income (loss)

   $ 2,214     $ 3,979     $ (9,222   $ 13,481  

Add:

        

Other expense, net

     170       4,278       12,878       2,226  

Provision for (benefit from) income tax

     1,024       1,706       (3,779     5,779  

Depreciation and amortization expense

     3,117       13,367       18,905       9,561  

Equity-based compensation expense

     419       1,132       419       1,132  
  

 

 

   

 

 

   

 

 

   

 

 

 

Adjusted EBITDA

   $ 6,944     $ 24,462     $ 19,201     $ 32,180  
  

 

 

   

 

 

   

 

 

   

 

 

 

Net income (loss) margin

     3     2     (6 %)      5

Adjusted EBITDA margin

     8     11     13     12

Free Cash Flow

We calculate free cash flow as net cash provided by operating activities reduced by purchases of property and equipment, including capitalized software development costs. Management believes free cash flow is a useful measure of liquidity and an additional basis for assessing our ability to generate cash. There are limitations related to the use of free cash flow as an analytical tool, including: other companies may calculate free cash flow differently, which reduces its usefulness as a comparative measure; and free cash flow does not reflect our future contractual commitments nor does it represent the total residual cash flow for a given period.

The following tables present a reconciliation of free cash flow to net cash provided by operating activities, the most directly comparable financial measure prepared in accordance with GAAP:

 

     Years Ended December 31,  
         2019              2020      

Net cash provided by operating activities

   $ 511      $ 21,712  

Less: purchases of property and equipment

     (1,031      (1,328
  

 

 

    

 

 

 

Free cash flow

   $ (520    $ 20,384  
  

 

 

    

 

 

 

 

     Six Months Ended June 30,  
         2020              2021      

Net cash provided by operating activities

   $ 11,600      $ 7,480  

Less: purchases of property and equipment

     (574      (3,361
  

 

 

    

 

 

 

Free cash flow

   $ 11,026      $ 4,119  
  

 

 

    

 

 

 

Our free cash flow has fluctuated over time primarily as a result of timing of inventory purchases to support our rapid growth. While we have strong long-term relationships with our manufacturers, we usually pay for our inventory in advance. This supports our test and repeat buying model and helps with our ability to move new designs we receive from our suppliers into production and then into inventory in as few as 30-45 days. Our operating model requires a low level of capital expenditure.

 

103


Table of Contents

MANAGEMENT’S DISCUSSION AND ANALYSIS OF FINANCIAL

CONDITION AND RESULTS OF OPERATIONS

You should read the following discussion and analysis of our financial condition and results of operations together with the consolidated financial statements and related notes that are included elsewhere in this prospectus. This discussion contains forward-looking statements based upon current plans, expectations and beliefs that involve risks and uncertainties. Our actual results may differ materially from those anticipated in these forward-looking statements because of various factors, including those set forth in the sections captioned “Risk Factors” and “Forward-Looking Statements” and in other parts of this prospectus. Our fiscal year ends on December 31.

References in this discussion and analysis of our financial condition and results of operations to (i) Pro Forma 2020 and Pro Forma June 30, 2021 are to our unaudited pro forma results of operations for the year ended December 31, 2020, and the six months ended June 30, 2021, respectively, and give effect to our acquisition of a controlling interest in Culture Kings, the Reorganization Transactions and the other adjustments described in “Unaudited Pro Forma Financial Information,” (ii) our operating metrics on an “across a.k.a. Brands” basis assumes we owned all four of our brands for the entirety of a given period presented and (iii) 2019 or 2020 are to our actual historical results of operations for the years ended December 31, 2019 and December 31, 2020, respectively.

Overview

Founded in 2018, a.k.a. is a portfolio of fashion brands built for the next generation of consumers. We target high-potential brands that we believe are at a pivotal point in their growth trajectory that we can integrate into our platform. Through our portfolio of high-growth, digitally-focused global brands, we reach a broad audience across accessible price points and varied styles. Our current brands all share a common focus on Millennial and Gen Z consumers who seek fashion inspiration on social media and primarily shop online and via mobile devices. Nimble by design, our innovative brands are launched and fueled on social media channels. They are customer-centric and have authentic and engaging relationships with their target audiences through highly relevant social content and other digital marketing strategies. Leveraging innovative, data-driven insights, our brands introduce fresh content and high-quality merchandise daily. Our platform accelerates the growth and profitability of our existing brands, and we aim to continue expanding our portfolio. Simply put, our brands are better together.

We founded a.k.a. with a focus on Millennial and Gen Z audiences who primarily shop for fashion on social media. We have since built a portfolio of four high-growth digital brands with distinct fashion offerings and consumer followings:

 

   

In July 2018, we acquired a controlling interest in Princess Polly, an Australian fashion brand focusing on fun, trendy dresses, tops, shoes and accessories with slim fit, body-confident and trendy fashion designs. The brand targets a female customer between the ages of 15 and 25. Princess Polly has successfully expanded in the U.S., growing U.S. sales by 161% in 2020 as compared to 2019, and U.S. sales have continued to grow through the twelve months ended June 30, 2021.

 

   

In August 2019, we acquired a controlling interest in Petal & Pup, an Australian fashion brand offering an assortment of trendy, flattering and feminine styles and dresses for special occasions. The brand targets female customers typically in their 20s or 30s, with more than half of customers in the 18-34-year-old age bracket. Since joining a.k.a., Petal & Pup has successfully expanded in the U.S., which was the brand’s fastest growing market in 2020, and U.S. sales have continued to grow through the twelve months ended June 30, 2021.

 

   

In December 2019, we acquired U.S.-based Rebdolls. The brand offers apparel with a full range of sizes from 0 to 32 and emphasizes size inclusivity. The typical customer is a diverse woman between the ages of 18 and 34.

 

104


Table of Contents
   

In March 2021, we acquired a controlling interest in Culture Kings, an Australia-based premium online retailer of streetwear apparel, footwear, headwear and accessories. The brand targets male consumers between the ages of 18 and 35 who are fashion conscious, highly social and digitally focused.

Across a.k.a. Brands for 2020, we attracted over 2.2 million active customers (a 69% increase from 2019), received 4.7 million orders (a 53% increase from 2019), increased average order value from $71 to $81 (an approximately 14% increase from 2019), retained 75% of the 2019 and prior cohorts’ net sales, delivered over 80% of net sales at full price, and achieved a customer lifetime value (“LTV”)/customer acquisition cost (“CAC”) ratio of approximately 8.0x for the 2017 customer cohort. We experienced a sales return rate of approximately 11% of sales in 2020. Across a.k.a. Brands for the six months ended June 30, 2021, we attracted nearly 1.8 million active customers (a 67% increase from the six months ended June 30, 2020), received 3.0 million orders (a 66% increase from the six months ended June 30, 2020) and increased average order value from $80 to $89 (an approximately 11% increase from the six months ended June 30, 2020).

In addition, our brands demonstrated rapid growth and strong profitability and free cash flow generation. Our annual financial results discussed below represent the consolidated results of Princess Polly, Petal & Pup and Rebdolls for all of 2020 while 2019 only includes the results of Petal & Pup and Rebdolls from their dates of acquisition, August 2019 and December 2019, respectively. Our financial results for the six months ended June 30, 2021 includes three months of Culture Kings operations from the date of their acquisition, March 31, 2021.

In 2020 as compared to 2019, we:

 

   

Increased net sales to $215.9 million from $102.4 million, representing 111% year-over-year growth

 

   

Expanded gross margin by 401 basis points to 59% from 55%

 

   

Increased net income to $14.8 million from $1.4 million and net income margin to 7% from 1%

 

   

Increased Adjusted EBITDA to $30.3 million from $9.2 million, representing an Adjusted EBITDA margin of 14% in 2020

 

   

Increased cash flow from operations to $21.7 million from $0.5 million

In March 2021, we acquired a controlling interest in Culture Kings, which significantly increased the size of our overall business. In Pro Forma 2020:

 

   

Our net sales reached $385.0 million, representing 276% year-over-year growth from 2019

 

   

Our net income was $13.8 million, representing a net income margin of 4%

 

   

Our Adjusted EBITDA was $68.0 million, representing an Adjusted EBITDA margin of 18%

In the six months ended June 30, 2021, which includes one quarter of Culture Kings results from March 31, 2021, the date of acquisition, as compared to the six months ended June 30, 2020, we:

 

   

Increased net sales to $218.0 million from $81.8 million, representing 167% year-over-year growth

 

   

Expanded gross margin by 72 basis points to 56% from 55%

 

   

Increased net income to $4.0 million from $2.2 million, while experiencing a slight decrease in net income margin to 2% from 3%

 

   

Increased Adjusted EBITDA to $24.5 million from $6.9 million, representing an Adjusted EBITDA margin of 11% in the six months ended June 30, 2021

 

   

Decreased cash flow from operations to $7.5 million from $11.6 million

 

105


Table of Contents

On March 31, 2021, we acquired a controlling interest in Culture Kings, which significantly increased the size of our overall business. In Pro Forma June 30, 2021:

 

   

Our net sales reached $269.2 million, representing 229% year-over-year growth from the six months ended June 30, 2020

 

   

Our net income was $13.5 million, representing a net income margin of 5%

 

   

Our Adjusted EBITDA was $32.2 million, representing an Adjusted EBITDA margin of 12%

See “Non-GAAP Financial Measures” for information regarding Adjusted EBITDA and Adjusted EBITDA margin, including a reconciliation to the most directly comparable financial measures prepared in accordance with GAAP.

Key Operating and Financial Metrics

Operating Metrics

We use the following metrics to assess the progress of our business, make decisions on where to allocate capital, time and technology investments and assess the near-term and longer-term performance of our business.

The following table sets forth our key operating metrics on an actual basis and on an across a.k.a. Brands basis for each period presented.

 

    Year Ended December 31,     Six Months Ended June 30,  
(in thousands, other than dollar figures)   2019     2020     2020     2021  

Active customers

    917       1,443       1,149       2,890  

Active customers across a.k.a. Brands

    1,358       2,292       1,729       2,890  

Average order value

  $ 62     $ 75     $ 71     $ 86  

Average order value across a.k.a. Brands

  $ 71     $ 81     $ 80     $ 89  

Number of orders

    1,651       2,890       1,160       2,546  

Number of orders across a.k.a. Brands

    3,098       4,737       1,831       3,035  

Active Customers

We view the number of active customers as a key indicator of our growth, the value proposition and consumer awareness of our brand, and their desire to purchase our products. In any particular period, we determine our number of active customers by counting the total number of unique customer accounts who have made at least one purchase in the preceding 12-month period, measured from the last date of such period.

Average Order Value

We define average order value as net sales in a given period divided by the total orders placed in that period. Average order value may fluctuate as we expand into new categories or geographies or as our assortment changes.

 

106


Table of Contents

Key Financial Metrics

The following table sets forth our key financial metrics on an actual basis for the years ended December 31, 2019 and 2020, and on a pro forma basis for the year ended December 31, 2020.

 

     Year Ended December 31,  
     2019     2020     Pro Forma 2020  

Gross margin

     55     59     53

Net income (in thousands)

   $ 1,442     $ 14,805     $ 13,757  

Net income margin

     1     7     4

Adjusted EBITDA (in thousands)

   $ 9,173     $ 30,282     $ 67,975  

Adjusted EBITDA margin

     9     14     18

Net cash provided by operating activities (in thousands)

   $ 511     $ 21,712    

Free cash flow (in thousands)

   $ (520   $ 20,384    

The following table sets forth our key financial metrics on an actual basis for the six months ended June 30, 2020 and 2021, and on a pro forma basis for the six months ended June 30, 2021.

 

     Six Months Ended June 30,  
     2020     2021     Pro Forma 2021  

Gross margin

     55     56     58

Net income (in thousands)

   $ 2,214     $ 3,979     $ 13,481  

Net income margin

     3     2     5

Adjusted EBITDA (in thousands)

   $ 6,944     $ 24,462     $ 32,180  

Adjusted EBITDA margin

     8     11     12

Net cash provided by operating activities (in thousands)

   $ 11,600     $ 7,480    

Free cash flow (in thousands)

   $ 11,026     $ 4,119    

Adjusted EBITDA, Adjusted EBITDA Margin and free cash flow are non-GAAP measures. See “Non-GAAP Financial Measures” for information regarding our use of Adjusted EBITDA, Adjusted EBITDA margin and free cash flow and their reconciliation to net income, net income margin and net cash provided by operating activities, respectively.

Gross Profit

We define gross profit as net sales less cost of sales. Cost of sales consists of our purchase price for merchandise sold to customers and includes import duties and other taxes, freight-in, defective merchandise returned from customers, receiving costs, inventory write-offs and other miscellaneous shrinkage.

Gross Margin

Gross margin is gross profit expressed as a percentage of net sales. Our gross margin has historically fluctuated and may continue to fluctuate from period to period based on a number of factors, including the mix of the product offerings, cost of finished goods, transportation costs to our distribution centers and percentage of exclusive assortment we sell as well as our ability to reduce costs, in any given period.

Adjusted EBITDA and Adjusted EBITDA Margin

Adjusted EBITDA and Adjusted EBITDA margin are key measures used by management to evaluate our operating performance, generate future operating plans and make strategic decisions regarding the allocation of

 

107


Table of Contents

capital. Adjusted EBITDA is a non-GAAP financial measure that we calculate as net income before other expense, net, taxes, depreciation and amortization, equity-based compensation expense and transaction costs.

Adjusted EBITDA Margin is Adjusted EBITDA expressed as a percentage of net sales.

Free Cash Flow

Free cash flow is a non-GAAP financial measure that we calculate as net cash provided by operating activities less net cash used in capital expenditures. We view free cash flow as an important indicator of our liquidity because it measures the amount of cash we generate.

Factors Affecting Our Performance

Brand Awareness

Our ability to promote our brands and maintain brand awareness and loyalty is critical to our success. We have a significant opportunity to continue to grow awareness and loyalty to our brands through word of mouth, brand marketing and performance marketing. We have leveraged performance marketing to deliver our growth. We plan to continue to invest in performance marketing and increase our investment in brand awareness across our brands to drive our future growth. Failure to successfully promote our brands and maintain brand awareness would have an adverse impact to our operating results.

Customer Acquisition

To continue to grow our business profitably, we intend to acquire new customers and retain our existing customers at a reasonable cost. Failure to continue attracting customers efficiently and profitably would adversely impact our profitability and operating results. To measure the effectiveness of our marketing spend, we analyze customer acquisition cost, or “CAC,” and customer lifetime value, or “LTV.” We define CAC as all marketing expenses, divided by the number of customers who placed their first order in the relevant period. We define LTV as the cumulative contribution profit attributable to a particular customer cohort, which we define as all our customers who made their initial purchase with any one of our brands between January 1 and December 31 of the cohort year. We define contribution profit as gross profit less selling expenses. Selling expenses represent the costs incurred for fulfillment expenses and selling and distribution expenses. We measure how profitably we acquire new customers by comparing the LTV of a particular customer cohort with the CAC attributable to such cohort.

To illustrate our brands’ successful customer acquisition strategy, we have included a comparison of the LTV of the 2017 cohort to the CAC for those customers. This comparison includes the consolidated view of CAC and LTV for Princess Polly, Petal & Pup, Rebdolls and Culture Kings as if we had owned these brands from January 1, 2017, although we did not have control over all four brands until March 2021. While these metrics are non-GAAP, we believe they provide an important view of the customer trends of each brand. While performance may vary across cohorts, we chose the 2017 cohort because it provides the longest view of customer activity. In 2017, the four brands spent approximately $5.1 million in marketing to acquire 477,000 new customers in the 2017 cohort resulting in an approximately $11 CAC for that cohort. As illustrated in the chart below, this cohort generated a contribution profit of approximately $26 per customer on the first order. Furthermore, the LTV of the 2017 cohort has increased over time driven by repeat purchases, increased AOV and improving contribution margins. As a result, the LTV across a.k.a. Brands for the 2017 customer cohort was approximately $86 after three years, 8.0 times the $11 cost of acquiring those customers, which we believe demonstrates the ability of our brands to acquire customers efficiently and profitably.

 

108


Table of Contents

LOGO

 

(1)

Ratios calculated using the numbers in this chart may not agree to those presented in the table below due to rounding.

We have also compared the LTV to CAC ratio for the 2017, 2018 and 2019 cohorts across one-year, two-year and three-year periods below to illustrate the effectiveness of the brands’ customer acquisition over time. We believe that the trends reflected by these cohorts are illustrative of the value of our brands’ customer base.

 

     LTV/CAC  
      1 year      2 years      3 years  

2017 Cohort

     4.8        6.6        8.0  

2018 Cohort

     3.4        4.7     

2019 Cohort

     3.1        

Customer Retention

Our results are driven not only by the ability of our brands to acquire customers, but also by their ability to retain customers and encourage repeat purchases. Unexpected changes in customer behavior or purchasing patterns could lead to lower customer retention rates and negative impact to our net sales and operating results.

We monitor retention across our entire customer base. While we did not have control over all four brands until 2021, each of our brands have always aimed to attract and convert visitors into active customers and foster relationships that drive repeat purchases. In 2020, our brands retained 75% of the 2019 and prior cohorts’ net sales, including 91% of the 2019 net sales generated by 2018 and prior cohorts. This cohort behavior demonstrates a trend, as depicted in the graph below, of the ability of our brands to retain customers and increase their customers’ spend as they place orders more frequently. The chart below illustrates the spending behavior of the customer cohorts over time.

 

109


Table of Contents

LOGO

Impact of COVID-19

With the onset of the COVID-19 pandemic, the ability to purchase through eCommerce channels became increasingly important to consumers, as many businesses, including brick-and-mortar retail stores, were ordered to close and people were required to stay at home. While demand for our products improved during this time period, the extent of this heightened demand remains uncertain. We believe the pandemic has accelerated the awareness of our brands and a shift in purchasing decisions that will continue to drive future growth. As in-store shopping begins to regain momentum across the world, the growing awareness of our brand and future sales growth may begin to slow.

Certain of our manufacturers experienced delays and shut-downs due to the COVID-19 pandemic, which caused delays on shipments of products. In order to manage the impact of these disruptions and meet our customers’ expectations, we increased our use of more expensive air freight during portions of 2020 and 2021, which increased our cost of goods sold. In addition, the ongoing impact of the pandemic is continuing to result in reduced cargo capacity on airplanes, and as a result we expect increased demand and prices for shipping services to continue. As a result, we expect to continue to make increased use of more expensive air freight, which will continue to result in increased cost of goods. While we have been able to offset increased shipping prices to some extent to date, there can be no assurance that we will continue to be able to do so, or that prices for shipping services will not increase to a level that does not permit us to do so. Other impacts of the pandemic on us have included, and in the future could include:

 

   

volatility in demand for our products as a result of, among other things, the inability of customers to purchase our products due to financial hardship, unemployment, illness or out of fear of exposure to COVID-19, shifts in demand away from consumer discretionary products and reduced options for marketing and promotion of products or other restrictions in connection with the COVID-19 pandemic;

 

   

cancellations of in-person events, including weddings and festivals, such as Coachella, causing a reduction in demand for certain product categories;

 

110


Table of Contents
   

increased materials and procurement costs as a result of scarcity of and/or increased prices for commodities and raw materials, and periods of reduced manufacturing capacity at our suppliers in response to the pandemic;

 

   

increased sea and air freight shipping costs as a result of unprecedented levels of demand, reduced capacity, scrutiny or embargoing of goods produced in infected areas, port closures and other transportation challenges;

 

   

closures or other restrictions that limit capacity at our distribution facilities and restrict our employees’ ability to perform necessary business functions, including operations necessary for the design, development, production, sale, marketing, delivery and support of our products; and

 

   

failure of our suppliers and other third parties on which we rely to meet their obligations to us in a timely manner or at all, as a result of their own financial or operational difficulties, including business failure or insolvency, the inability to access financing in the credit and capital markets on satisfactory terms or at all, and collectability of existing receivables.

All of these factors have contributed to, and we expect will continue to contribute to, reduced orders, increased product returns, increased order cancellations, lower revenues, higher discounts, increased inventories, decreased value of inventories, reduced sales through Culture Kings experiential stores and lower gross margins.

Components of Our Results of Operations

Net Sales

Net sales consist primarily of sales of apparel, footwear and accessories. We recognize product sales at the time control is transferred to the customer, which is when the product is shipped. Net sales represent the sales of these items and shipping revenue when applicable, net of estimated returns and promotional discounts. Net sales are primarily driven by growth in the number of our active customers, the frequency with which customers purchase and average order value.

Cost of Sales

Cost of sales consists of our purchase price for merchandise sold to customers and includes import duties and other taxes, freight-in, defective merchandise returned from customers, inventory write-offs and other miscellaneous shrinkage. Cost of sales is primarily driven by growth in orders placed by customers, the mix of the product available for sale on our sites and transportation costs related to inventory receipts from our vendors. We expect our cost of sales to fluctuate as a percentage of net sales depending on how we choose to manage our inventory and merchandise mix.

Gross Profit

We define gross profit as net sales less cost of goods sales. Cost of sales consists of our purchase price for merchandise sold to customers and includes import duties and other taxes, freight-in, defective merchandise returned from customers, inventory write-offs and other miscellaneous shrinkage.

Gross Margin

Gross margin is gross profit expressed as a percentage of net sales. Our gross margin has fluctuated historically and may continue to fluctuate from period to period based on a number of factors, including the mix of the product offerings, cost of finished goods, price promotions and percentage of exclusive assortment we sell as well as our ability to reduce costs, in any given period.

Selling Expenses

Selling expenses represent the costs incurred for fulfillment expenses and selling and distribution expenses. Fulfillment expenses consist of costs incurred in operating and staffing a third-party fulfillment center, including

 

111


Table of Contents

costs associated with inspecting and warehousing inventories and picking, packaging and preparing customer orders for shipment. Selling expenses consist primarily of shipping and other transportation costs incurred delivering merchandise to customers and from customers returning merchandise, merchant processing fees and packaging. We expect selling expenses to increase in absolute dollars as we increase our net sales.

Marketing Expenses

Marketing expenses consist primarily of targeted online performance marketing costs, such as retargeting, paid search/product listing ads, affiliate marketing, paid social, search engine optimization, personalized email marketing and mobile “push” communications through our apps. Marketing expenses also include our spend on brand marketing channels, including cash compensation to influencers and other forms of online and offline marketing. Marketing expenses are primarily related to growing and retaining our customer base, building a.k.a. Brands and building our owned brand presence. We make opportunistic investments in marketing and expect marketing expenses to increase in absolute dollars as we continue to scale our business but should remain consistent over time as a percentage of net sales. Failure to effectively attract customers on a cost-efficient basis would adversely impact our profitability and operating results.

General and Administrative Expenses

General and administrative expenses consist primarily of payroll and related benefit costs and equity-based compensation expense for our employees involved in general corporate functions including merchandising, marketing, studio and technology, as well as costs associated with the use by these functions of facilities and equipment, such as depreciation, rent and other occupancy expenses. General and administrative expenses are primarily driven by increases in headcount required to support business growth and meeting our obligations as a public company. Over time we expect general and administrative expenses to increase in absolute dollars as we continue to grow our business.

IPO-Related Expenses

As a public company, we will be implementing additional procedures and processes for the purpose of addressing the standards and requirements applicable to public companies. In particular, we expect our accounting, legal and personnel-related expenses and directors’ and officers’ insurance costs to increase as we establish more comprehensive compliance and governance functions, establish, maintain and review internal controls over financial reporting in accordance with the Sarbanes-Oxley Act, and prepare and distribute periodic reports in accordance with SEC rules. Our financial statements following this offering will reflect the impact of these expenses.

As discussed in our consolidated financial statements included elsewhere in this prospectus, upon the effectiveness of the registration statement of which this prospectus forms a part, we expect to recognize stock-based compensation expense in selling, marketing and general administration expenses of approximately $4.07 million related to certain performance and market-based incentive stock units.

Other Expense, Net

Other expense, net consists primarily of interest expense and other fees associated with our line of credit, as well as foreign currency gains and losses.

Provision for Income Taxes

We are subject to income taxes in the United States and foreign jurisdictions in which we do business. Foreign jurisdictions have different statutory tax rates than those in the United States. Additionally, certain of our foreign earnings may also be taxable in the United States. Accordingly, our effective tax rate is subject to significant variation due to several factors, including variability in our pre-tax and taxable income and loss and

 

112


Table of Contents

the mix of jurisdictions to which they relate, intercompany transactions, changes in how we do business, acquisitions, investments, tax audit developments, changes in our deferred tax assets and liabilities, foreign currency gains and losses, changes in statutes, regulations, case law, and administrative practices, principles, and interpretations related to tax, including changes to the global tax framework, competition, and other laws and accounting rules in various jurisdictions, and relative changes of expenses or losses for which tax benefits are not recognized. Additionally, our effective tax rate can vary based on the amount of pre-tax income.

Noncontrolling Interest

Amounts attributable to noncontrolling interests in the Company’s less than wholly-owned subsidiaries are presented as net income attributable to noncontrolling interest in our consolidated statements of income.

We own a 66.7% interest in Petal & Pup and a 55% interest in Culture Kings. Noncontrolling interest is part of the net results of operations and of net assets of a subsidiary attributable to interests which are not owned directly or indirectly by us. It is measured at the noncontrolling owners’ share of the fair value of the subsidiaries’ identifiable assets and liabilities at the date of acquisition by us and the noncontrolling owners’ share of changes in equity since the date of acquisition. Following the Reorganization Transactions and upon completion of this offering, all four of our brands will be wholly owned by us. Consequently, we do not expect a noncontrolling interest on account of our four brands to be reflected in our consolidated financial statements in future periods.

Results of Operations - Annual

The following tables set forth our results of operations for the periods presented and express the relationship of certain line items as a percentage of net sales for those periods. The period-to-period comparison of financial results is not necessarily indicative of future results. In addition to the period-to-period comparison of actual results, we have provided a supplemental discussion of our results of operations for the year ended December 31, 2020 on a pro forma basis compared to our actual results for the year ended December 31, 2019. The unaudited pro forma consolidated statement of operations information gives effect to our acquisition of a controlling interest in Culture Kings, the Reorganization Transactions and the other adjustments set forth in “Unaudited Pro Forma Financial Information.”

 

     Year Ended December 31,  
In thousands    2019      2020      Pro Forma
2020
 

Net sales

   $ 102,440      $ 215,916      $ 385,048  

Cost of sales

     46,575        89,515        181,584  
  

 

 

    

 

 

    

 

 

 

Gross profit

     55,865        126,401        203,464  

Operating expenses:

        

Selling

     28,091        58,313        92,376  

Marketing

     7,666        17,871        29,610  

General and administrative

     17,515        28,077        46,475  
  

 

 

    

 

 

    

 

 

 

Total operating expenses

     53,272        104,261        168,461  
  

 

 

    

 

 

    

 

 

 

Income from operations

     2,593        22,140        35,003  

Other expense, net

     (139      (485      (14,687
  

 

 

    

 

 

    

 

 

 

Income before income taxes

     2,454        21,655        20,316  

Provision for income tax

     (1,012      (6,850      (6,559
  

 

 

    

 

 

    

 

 

 

Net income

     1,442        14,805        13,757  

Net income attributable to noncontrolling interests

     (48      (471      —    
  

 

 

    

 

 

    

 

 

 

Net income attributable to Excelerate L.P.

   $ 1,394      $ 14,334      $ 13,757  
  

 

 

    

 

 

    

 

 

 

 

113


Table of Contents
     Year Ended December 31,  
         2019             2020         Pro Forma
    2020    
 

Net sales

         100         100         100

Cost of sales

     45     41     47
  

 

 

   

 

 

   

 

 

 

Gross profit

     55     59     53

Operating expenses:

      

Selling

     27     27     24

Marketing

     7     8     8

General and administrative

     17     13     12
  

 

 

   

 

 

   

 

 

 

Total operating expenses

     52     48     44
  

 

 

   

 

 

   

 

 

 

Income from operations

     3     10     9

Other expense, net

     0     0     (4 %) 
  

 

 

   

 

 

   

 

 

 

Income before income taxes

     2     10     5

Provision for income tax

     (1 %)      (3 %)      (2 %) 
  

 

 

   

 

 

   

 

 

 

Net income

     1     7     4

Net income attributable to noncontrolling interests

     0     0     0
  

 

 

   

 

 

   

 

 

 

Net income attributable to Excelerate, L.P.

     1     7     4
  

 

 

   

 

 

   

 

 

 

Comparison of the Years Ended December 31, 2019 and 2020

Net Sales

 

     Years Ended December 31,  
     2019      2020      Pro Forma
2020
 

Net sales

   $ 102,440      $ 215,916      $ 385,048  

Net sales increased by $113.5 million, or 111%, in 2020 compared to 2019. The overall increase in net sales was primarily driven by a 75% increase in the number of orders we processed in 2020 compared to 2019, driving an increase in net sales of $92.5 million, of which $0.7 million related to a slightly higher order frequency from our active customers. Additionally, an increase in our average order value of 21%, from $62 in 2019 to $75 in 2020 drove a $21.0 million increase in net sales. The increase in the number of orders was largely driven by the growth of Princess Polly in the U.S. which launched in late-2019, as well as the acquisition of Petal & Pup and Rebdolls. The higher order frequency from our active customers was due to increasing brand awareness and the impact of the COVID-19 pandemic driving customers to our website. The increase in our average order value was due to the implementation of targeted price increases. Fiscal 2020 includes a full year of operations of Petal & Pup and Rebdolls, or $26.6 million and $4.4 million of net sales, respectively, while 2019 includes $9.5 million and $0.1 million of net sales for Petal & Pup and Rebdolls from their dates of acquisition, August 2019 and December 2019, respectively.

Net sales increased by $282.6 million, or 276%, in Pro Forma 2020 compared to 2019. The increase in net sales was driven by our acquisition of Culture Kings, which accounted for 44% of our net sales for Pro Forma 2020. Timing and extent of international expansion efforts and investments may impact the rate of net sales growth in the future.

 

114


Table of Contents

Cost of Sales

 

     Years Ended December 31,  
     2019     2020     Pro Forma
2020
 

Cost of sales

   $ 46,575     $ 89,515     $ 181,584  

Percent of net sales

     45     41     47

Cost of sales increased by $42.9 million, or 92%, in 2020 compared to 2019. This increase was primarily driven by a 75% increase in the total number of orders in 2020, as compared to 2019. The decrease in cost of sales as a percentage of net sales was due to the implementation of targeted price increases and a higher mix of exclusive offerings which have a higher gross margin rate than other items we sell. The targeted price increases drove a 21% increase in our average order value. Sales of exclusive offerings, as a percent of sales, grew by 5% primarily due to the focus on growing Princess Polly’s private label offerings. Fiscal 2020 includes a full year of operations of Petal & Pup and Rebdolls, or $10.3 million and $1.9 million of cost of sales, respectively, while 2019 includes $3.7 million and $0.1 million of cost of sales for Petal & Pup and Rebdolls from their dates of acquisition, August 2019 and December 2019, respectively.

Cost of sales increased by $135.0 million, or 290%, in Pro Forma 2020 compared to 2019. The incremental increase in cost of sales from our actual results was driven by our acquisition of Culture Kings. Cost of sales as a percent of revenue increased with the acquisition of Culture Kings due to a $15.1 million non-cash adjustment to the fair value the Culture Kings inventory as part of our purchase accounting. Additionally, Culture Kings’ product mix has a lower percentage of exclusive products which have a higher gross margin rate than other items we sell.

Gross Profit

 

     Years Ended December 31,  
     2019     2020     Pro Forma
2020
 

Gross profit

   $ 55,865     $ 126,401     $ 203,464  

Gross margin

     55     59     53

Gross profit increased by $70.5 million, or 126%, in 2020 compared to 2019. This increase was primarily driven by a significant increase in net sales and an improvement in our gross margin. The increase in gross margin was due to the implementation of targeted price increases and a higher mix of exclusive offerings which have a higher gross margin rate than other items we sell. The targeted price increases drove a 21% increase in our average order value. Sales of exclusive offerings, as a percent of sales, grew by 5% primarily due to the focus on growing Princess Polly’s private label offerings. Fiscal 2020 includes a full year of operations of Petal & Pup and Rebdolls, or $16.3 million and $2.4 million of gross profit, respectively, while 2019 only includes $5.8 million and no gross profit for Petal & Pup and Rebdolls from their dates of acquisition, August 2019 and December 2019, respectively.

Gross profit increased by $147.6 million, or 264%, in Pro Forma 2020 compared to 2019. This incremental increase was driven by our acquisition of Culture Kings. Our gross margins decreased with the acquisition of Culture Kings due to a $15.1 million non-cash adjustment to the fair value of the Culture Kings inventory as part of our purchase accounting. Our gross margins may decrease further depending upon certain growth initiatives, including investments or other expansion efforts.

 

115


Table of Contents

Selling Expenses

 

     Years Ended December 31,  
     2019     2020     Pro Forma
2020
 

Selling

   $ 28,091     $ 58,313     $ 92,376  

Percent of net sales

     27     27     24

Selling expenses increased by $30.2 million, or 108%, in 2020 compared to 2019. This increase was driven by the 75% increase in the number of orders shipped in 2020 compared to 2019. As a percentage of net sales, selling expenses were flat in 2020 compared to 2019. Fiscal 2020 includes a full year of operations of Petal & Pup and Rebdolls, or $6.6 million and $0.9 million of selling expenses, respectively, while 2019 only includes $2.3 million of selling expenses for Petal & Pup from its date of acquisition, August 2019. Rebdolls had an insignificant amount of selling expenses in 2019 as it was acquired in December 2019.

Selling expenses increased by $64.3 million, or 229%, in Pro Forma 2020 compared to 2019. The incremental increase was driven by our acquisition of Culture Kings. The decrease in selling expenses as a percentage of net sales was due to a higher percentage of Culture Kings’ sales from customers in Australia, where our products ship at a cheaper rate. Shipping to customers in the U.S., whether from Australia or from a facility in the U.S., is at least 50% more expensive on average due to distance or shipping upgrades. As Culture Kings’ sales grow in the U.S., our selling expenses as a percent of net sales may increase.

Marketing Expenses

 

     Years Ended December 31,  
     2019     2020     Pro Forma
2020
 

Marketing

   $ 7,666     $ 17,871     $ 29,610  

Percent of net sales

     7     8     8

Marketing expenses increased by $10.2 million, or 133%, in 2020 compared to 2019. The increase in marketing expenses in dollars and as a percentage of net sales was driven by increased marketing investment to acquire customers and retain existing customers to generate higher net sales, particularly in the U.S. where we spent more to grow awareness of our brands. Fiscal 2020 includes a full year of operations of Petal & Pup and Rebdolls, or $4.7 million and $0.6 million of marketing expenses, respectively, while 2019 only includes $1.3 million of marketing expenses for Petal & Pup from its date of acquisition, August 2019. Rebdolls had an insignificant amount of marketing expenses in 2019 as it was acquired in December 2019.

Marketing expenses increased by $21.9 million, or 286%, in Pro Forma 2020 compared to 2019. The increase in marketing expenses in dollars and as a percentage of net sales was driven by increased marketing investment to acquire customers and retain existing customers to generate higher net sales, particularly in the U.S. where we spent more to grow awareness of our brands.. Our marketing expenses, as a percent of net sales, may increase in the future if we further invest in marketing to expand awareness of our brands.

General and Administrative Expenses

 

     Years Ended December 31,  
     2019     2020     Pro Forma
2020
 

General and administrative

   $ 17,515     $ 28,077     $ 46,475  

Percent of net sales

     17     13     12

General and administrative expenses increased by $10.6 million, or 60%, in 2020 compared to 2019. The increase was primarily driven by a $6.4 million increase in salaries and related benefits and equity-based

 

116


Table of Contents

compensation expense related to increases in our headcount across functions to support business growth. The decrease in general and administrative expenses as a percentage of net sales resulted primarily from an increase in efficiencies gained from our rapid sales growth in 2020. Fiscal 2020 includes a full year of operations of Petal & Pup and Rebdolls, or $2.6 million and $1.2 million of general and administrative expenses, respectively, while 2019 only includes $1.5 million and $0.1 million of general and administrative expenses for Petal & Pup and Rebdolls from their dates of acquisition, August 2019 and December 2019, respectively.

General and administrative expenses increased by $29.0 million, or 165%, in Pro Forma 2020 compared to 2019. This incremental increase was driven by our acquisition of Culture Kings. The incremental decrease in general and administrative expenses as a percent of net sales was due to an increase in efficiencies gained from our rapid sales growth in 2020 and Culture Kings’ slightly more efficient operations.

Other expense, net

 

     Years Ended December 31,  
         2019         2020     Pro Forma
2020
 

Other expense, net

   $ (139   $ (485   $ (14,687

Percent of net sales

     0     0     (4 )% 

Other expense, net increased by $14.5 million in our Pro Forma 2020 results due to the $4.5 million premium associated with the early repayment of the debt raised to complete the acquisition of our controlling interest in Culture Kings, the recognition of $6.9 million of unamortized debt issuance costs upon repayment of such borrowings and $3.6 million of interest expense related to a new $100 million term loan entered into concurrently with the completion of this offering.

Provision for income tax

 

     Years Ended December 31,  
     2019     2020     Pro Forma
2020
 

Provision for income tax

   $ (1,012   $ (6,850   $ (6,559

Percent of net sales

     (1 %)      (3 %)      (2 %) 

Provision for income tax increased by $5.8 million, or 577% in 2020 compared to 2019. This increase was driven by an increase in our income before income taxes.

Provision for income tax increased by $5.5 million, or 548% in Pro Forma 2020 compared to 2019. The incremental increase was driven by our acquisition of Culture Kings.

 

117


Table of Contents

Results of Operations—Interim

The following tables set forth our results of operations for the periods presented and express the relationship of certain line items as a percentage of net sales for those periods. The period-to-period comparison of financial results is not necessarily indicative of future results. In addition to the period-to-period comparison of actual results, we have provided a supplemental discussion of our results of operations for the six months ended June 30, 2021 on a pro forma basis compared to our actual results for the six months ended June 30, 2020. The unaudited pro forma consolidated statement of operations information gives effect to our acquisition of a controlling interest in Culture Kings, effective March 31, 2021, the Reorganization Transactions and the other adjustments set forth in “Unaudited Pro Forma Financial Information.”

 

     Six Months Ended June 30,  

In thousands

   2020      2021      Pro Forma 2020      Pro Forma 2021  

Net sales

   $ 81,799    $ 218,006    $ 145,564      $ 269,205

Cost of sales

     36,606      95,984      77,071        114,304
  

 

 

    

 

 

    

 

 

    

 

 

 

Gross profit

     45,193      122,022      68,493        154,901

Operating expenses:

           

Selling

     24,028      58,277      37,399        69,895

Marketing

     7,237      21,132      11,539        24,975

General and administrative

     10,520      32,650      19,678        38,544
  

 

 

    

 

 

    

 

 

    

 

 

 

Total operating expenses

     41,785      112,059      68,616        133,414
  

 

 

    

 

 

    

 

 

    

 

 

 

Income (loss) from operations

     3,408      9,963      (123      21,487

Other expense, net

     (170      (4,278      (12,878      (2,226
  

 

 

    

 

 

    

 

 

    

 

 

 

Income (loss) before income taxes

     3,238      5,685      (13,001      19,261  

Benefit from (provision for) income tax

     (1,024      (1,706      3,779        (5,779
  

 

 

    

 

 

    

 

 

    

 

 

 

Net income (loss)

     2,214      3,979      (9,222      13,481  

Net income attributable to noncontrolling interests

     (70      (76      —          —    
  

 

 

    

 

 

    

 

 

    

 

 

 

Net income (loss) attributable to Excelerate L.P.

   $ 2,144    $ 3,903      (9,222    $ 13,481  
  

 

 

    

 

 

    

 

 

    

 

 

 

 

     Six Months Ended June 30,  
     2020     2021     Pro Forma 2020     Pro Forma 2021  

Net sales

     100     100     100     100

Cost of sales

     45     44     53     42
  

 

 

   

 

 

   

 

 

   

 

 

 

Gross profit

     55     56     47     58

Operating expenses:

        

Selling

     29     27     26     26

Marketing

     9     10     8     9

General and administrative

     13     15     14     14
  

 

 

   

 

 

   

 

 

   

 

 

 

Total operating expenses

     51     51     47     50
  

 

 

   

 

 

   

 

 

   

 

 

 

Income (loss) from operations

     4     5     0     8

Other expense, net

     0     (2 %)      (9 %)      (1 %) 
  

 

 

   

 

 

   

 

 

   

 

 

 

Income (loss) before income taxes

     4     3     (9 %)      7

Benefit from (provision for) income tax

     (1 %)      (1 %)      3     (2 %) 
  

 

 

   

 

 

   

 

 

   

 

 

 

Net income (loss)

     3     2     (6 %)      5

Net income attributable to noncontrolling interests

     0     0     0     0
  

 

 

   

 

 

   

 

 

   

 

 

 

Net income (loss) attributable to Excelerate, L.P.

     3     2     (6 %)      5
  

 

 

   

 

 

   

 

 

   

 

 

 

 

118


Table of Contents

Comparison of the Six Months Ended June 30, 2020 and 2021

Net Sales

 

     Six Months Ended June 30,  
     2020      2021      Pro Forma 2021  

Net sales

   $ 81,799    $ 218,006    $ 269,205

Net sales increased by $136.2 million, or 167%, for the six months ended June 30, 2021 compared to the same period in 2020. The overall increase in net sales was primarily driven by a 119% increase in the number of orders we processed in 2021 compared to 2020, driving an increase in sales of $118.6 million, of which $1.3 million related to a slightly higher order frequency from our active customers. Additionally, an increase in our average order value of 21%, from $71 in 2020 to $86 in 2021, also contributed $17.6 million to the overall increase in net sales. The increase in the number of orders was largely driven by the growth of Princess Polly in the U.S. and the acquisition of Culture Kings on March 31, 2021. The increase in our average order value was primarily due to the implementation of targeted price increases in our Princess Polly brand. The six months ended June 30, 2021 includes one quarter of operations of Culture Kings, or $58.3 million of net sales, from the date of its acquisition, March 31, 2021.

Net sales increased by $187.4 million, or 229%, for the Pro Forma six months ended June 30, 2021 compared to the same period in 2020. The incremental increase in net sales was due to our acquisition of Culture Kings, which added $51.2 million of net sales to the Pro Forma six months ended June 30, 2021. Timing and extent of international expansion efforts and investments may impact the rate of net sales growth in the future.

Cost of Sales

 

     Six Months Ended June 30,  
     2020     2021     Pro Forma 2021  

Cost of sales

   $ 36,606   $ 95,984   $ 114,304

Percent of net sales

     45     44     42

Cost of sales increased by $59.4 million, or 162%, for the six months ended June 30, 2021 compared to the same period in 2020. This increase was primarily driven by a 119% increase in the total number of orders in 2021, as compared to 2020, which includes the impact of one quarter of operations of Culture Kings, or $32.7 million of cost of sales, from the date of its acquisition, March 31, 2021. The decrease in cost of sales as a percentage of net sales was primarily due to a higher mix of exclusive offerings which have a higher gross margin rate than other items we sell, partially offset by the impact of the fair value increase in inventory acquired in the Culture Kings acquisition, which will disproportionately increase cost of sales until it is sold through. Sales of exclusive offerings, as a percent of sales, grew by 10% primarily due to the focus on growing Princess Polly’s private label offerings.

Cost of sales increased by $77.7 million, or 212%, for the Pro Forma six months ended June 30, 2021 compared to the same period in 2020. The incremental increase in cost of sales from our actual results was driven by our acquisition of Culture Kings. Cost of sales as a percentage of net sales decreased primarily due to a higher mix of exclusive offerings which have a higher gross margin rate than other items we sell.

Gross Profit

 

     Six Months Ended June 30,  
     2020     2021     Pro Forma 2021  

Gross profit

   $ 45,193   $ 122,022   $ 154,901

Gross margin

     55     56     58

 

119


Table of Contents

Gross profit increased by $76.8 million, or 170%, for the six months ended June 30, 2021 compared to the same period in 2020. This increase was primarily driven by a significant increase in net sales and a slight improvement in our gross margin. The increase in gross margin was primarily due to a higher mix of exclusive offerings which have a higher gross margin rate than other items we sell. Sales of exclusive offerings, as a percent of sales, grew by 10% primarily due to the focus on growing Princess Polly’s private label offerings.

Gross profit increased by $109.7 million, or 243%, for the Pro Forma six months ended June 30, 2021 compared to the same period in 2020. This incremental increase was driven by our acquisition of Culture Kings. Our gross margins increased compared to our actual results due to a higher mix of exclusive offerings which have a higher gross margin rate than other items we sell. However, our gross margins may decrease in future periods depending upon certain growth initiatives, including investments or other expansion efforts.

Selling Expenses

 

     Six Months Ended June 30,  
     2020     2021     Pro Forma 2021  

Selling

   $ 24,028   $ 58,277   $ 69,895

Percent of net sales

     29     27     26

Selling expenses increased by $34.2 million, or 143%, for the six months ended June 30, 2021 compared to the same period in 2020. This increase was driven by the 119% increase in the number of orders shipped for Princess Polly, Petal & Pup and Rebdolls in 2021 compared to 2020, and one quarter of operations of Culture Kings, or $14.6 million of selling expenses, from the date of its acquisition, March 31, 2021. The decrease in selling expenses as a percentage of net sales was due to a higher percentage of Culture Kings’ sales from customers in Australia, where our products ship at a cheaper rate. Shipping to customers in the U.S., whether from Australia or from a facility in the U.S., is more expensive on average due to distance or shipping upgrades.

Selling expenses increased by $45.9 million, or 191%, for the Pro Forma six months ended June 30, 2021 compared to the same period in 2020. The incremental increase was driven by our acquisition of Culture Kings. The incremental decrease in selling expenses as a percentage of net sales was due to a higher percentage of Culture Kings’ sales from customers in Australia, where our products ship at a cheaper rate. As Culture Kings’ sales grow in the U.S., our selling expenses as a percent of net sales may increase.

Marketing Expenses

 

     Six Months Ended June 30,  
     2020     2021     Pro Forma 2021  

Marketing

   $ 7,237   $ 21,132   $ 24,975

Percent of net sales

     9     10     9

Marketing expenses increased by $13.9 million, or 192%, for the six months ended June 30, 2021 compared to the same period in 2020. The increase in marketing expenses was driven by increased marketing investment to acquire customers and retain existing customers to generate higher net sales and one quarter of operations of Culture Kings, or $6.2 million of selling expenses, from the date of its acquisition, March 31, 2021. The increase in marketing expenses as a percentage of net sales was primarily due to Culture Kings’ higher rate of advertising spend as they tested new marketing opportunities.

Marketing expenses increased by $17.7 million, or 245%, for the Pro Forma six months ended June 30, 2021 compared to the same period in 2020. The increase was driven by our acquisition of Culture Kings.

 

120


Table of Contents

General and Administrative Expenses

 

     Six Months Ended June 30,  
     2020     2021     Pro Forma 2021  

General and administrative

   $ 10,520   $ 32,650   $ 38,544

Percent of net sales

     13     15     14

General and administrative expenses increased by $22.1 million, or 210%, for the six months ended June 30, 2021 compared to the same period in 2020. The increase was primarily driven by a $8.9 million increase in salaries and related benefits and equity-based compensation expense related to increases in our headcount across functions to support business growth, one quarter of operations of Culture Kings, or $6.4 million of general and administrative expenses, from the date of its acquisition, March 31, 2021, and $3.3 million in additional professional service fees primarily to assist in IPO preparation. The increase in general and administrative expenses as a percentage of net sales resulted primarily from additional salaries and related benefits and equity-based compensation expense from corporate hires as well as additional professional service fees primarily to assist in IPO preparation.

General and administrative expenses increased by $28.0 million, or 266%, for the Pro Forma six months ended June 30, 2021 compared to the same period in 2020. This incremental increase was driven by our acquisition of Culture Kings. The slight increase in general and administrative expenses as a percentage of net sales resulted primarily from additional salaries and related benefits and equity-based compensation expense from corporate hires, slightly offset by Culture Kings’ rate of general and administrative expenses, which is more in line with our other Brands.

Interest expense and other, net

 

     Six Months Ended June 30,  
     2020     2021     Pro Forma 2021  

Interest expense and other, net

   $ (170   $ (4,278   $ (2,226

Percent of net sales

     0     (2 )%      (1 )% 

Interest expense and other, net increased by $4.1 million for the six months ended June 30, 2021 compared to the same period in 2020, primarily due to annualized interest expense of $14.6 million and amortization of debt issuance costs of $1.0 million related to the debt raised to complete the acquisition of Culture Kings.

Interest expense and other, net increased by $2.1 million for the Pro Forma six months ended June 30, 2021 compared to the same period in 2020 primarily due to interest expense related to a new $100 million term loan entered into concurrently with the completion of this offering.

Provision for income tax

 

     Six Months Ended June 30,  
     2020     2021     Pro Forma 2021  

Provision for income tax

   $ (1,024   $ (1,706   $ (5,779

Percent of net sales

     (1 %)      (1 %)      (2 %) 

Provision for income tax increased by $0.7 million, or 67% for the six months ended June 30, 2021 compared to the same period in 2020. This increase was due to an increase in our income before income taxes, which was driven by an increase in net sales.

Provision for income tax increased by $4.8 million, or 464% for the Pro Forma six months ended June 30, 2021 compared to the same period in 2020. The incremental increase was driven by our acquisition of Culture Kings.

 

121


Table of Contents

Quarterly Results of Operations

The following tables set forth selected unaudited quarterly results of operations for the eight quarters ended June 30, 2021, as well as the percentage that each line item represents of net sales. The information for each of these quarters has been prepared on the same basis as the audited annual consolidated financial statements included elsewhere in this prospectus and in the opinion of management, includes all adjustments, which include only normal recurring adjustments, necessary for the fair statement of our consolidated results of operations for these periods. This data should be read in conjunction with our audited and unaudited consolidated financial statements and related notes included elsewhere in this prospectus. Our quarterly results of operations will vary in the future. These quarterly operating results are not necessarily indicative of our operating results for any future period.

 

    Three Months Ended  
In thousands   Sep 30,
    2019    
    Dec 31,
    2019    
    Mar 31,
    2020    
    Jun 30,
    2020    
    Sep 30,
    2020    
    Dec 31,
    2020    
    Mar 31,
    2021    
    Jun 30,
    2021    
 

Net sales

  $ 30,341   $ 33,765   $ 35,006   $ 46,793   $ 63,336   $ 70,781   $ 68,779   $ 149,227

Cost of sales

    14,226     14,749     15,842     20,764     24,831     28,078     28,191     67,793
 

 

 

   

 

 

   

 

 

   

 

 

   

 

 

   

 

 

   

 

 

   

 

 

 

Gross profit

    16,115     19,016     19,164     26,029     38,505     42,703     40,588     81,434

Operating expenses:

               

Selling

    8,169     10,321     10,620     13,408     15,707     18,577     18,254     40,023

Marketing

    2,237     3,146     4,079     3,158     4,602     6,032     6,224     14,908

General and administrative

    4,423     5,981     4,503     6,017     7,307     10,250     13,430     19,220
 

 

 

   

 

 

   

 

 

   

 

 

   

 

 

   

 

 

   

 

 

   

 

 

 

Total operating expenses

    14,829     19,448     19,202     22,583     27,616     34,859     37,908     74,151
 

 

 

   

 

 

   

 

 

   

 

 

   

 

 

   

 

 

   

 

 

   

 

 

 

Income (loss) from operations

    1,286     (432     (38     3,446     10,889     7,844     2,680     7,283

Interest expense and other income (expense), net

    9     162     (56     (114     (220     (96     (123     (4,155
 

 

 

   

 

 

   

 

 

   

 

 

   

 

 

   

 

 

   

 

 

   

 

 

 

Income (loss) before income taxes

    1,295     (270     (94     3,332     10,669     7,748     2,557     3,128

(Provision for) benefit from income tax

    (534     111     30     (1,054     (3,375     (2,451     (767     (939
 

 

 

   

 

 

   

 

 

   

 

 

   

 

 

   

 

 

   

 

 

   

 

 

 

Net income (loss)

    761     (159     (64     2,278     7,294     5,297     1,790     2,189

Net income (loss) attributable to noncontrolling interests

    —         (48     2     (72     (232     (169     (318     242
 

 

 

   

 

 

   

 

 

   

 

 

   

 

 

   

 

 

   

 

 

   

 

 

 

Net income (loss) attributable to Excelerate L.P.

  $ 761   $ (207   $ (62   $ 2,206   $ 7,062   $ 5,128   $ 1,472   $ 2,431
 

 

 

   

 

 

   

 

 

   

 

 

   

 

 

   

 

 

   

 

 

   

 

 

 

 

    Three Months Ended  
    Sep 30,
    2019    
    Dec 31,
    2019    
    Mar 31,
    2020    
    Jun 30,
    2020    
    Sep 30,
    2020    
    Dec 31,
    2020    
    Mar 31,
    2021    
    Jun 30,
    2021    
 

Net sales

    100     100     100     100     100     100     100     100

Cost of sales

    47     44     45     44     39     40     41     45
 

 

 

   

 

 

   

 

 

   

 

 

   

 

 

   

 

 

   

 

 

   

 

 

 

Gross profit

    53     56     55     56     61     60     59     55

Operating expenses:

               

Selling

    27     31     30     29     25     26     27     27

Marketing

    7     9     12     7     7     9     9     10

General and administrative

    15     18     13     13     12     14     20     13
 

 

 

   

 

 

   

 

 

   

 

 

   

 

 

   

 

 

   

 

 

   

 

 

 

Total operating expenses

    49     58     55     48     44     49     55     50
 

 

 

   

 

 

   

 

 

   

 

 

   

 

 

   

 

 

   

 

 

   

 

 

 

Income (loss) from operations

    4     (1 %)      0     7     17     11     4     5

Interest expense and other income (expense), net

    0     0     0     0     0     0     0     (3 %) 
 

 

 

   

 

 

   

 

 

   

 

 

   

 

 

   

 

 

   

 

 

   

 

 

 

Income (loss) before income taxes

    4     (1 %)      0     7     17     11     4     2

 

122


Table of Contents
    Three Months Ended  
    Sep 30,
    2019    
    Dec 31,
    2019    
    Mar 31,
    2020    
    Jun 30,
    2020    
    Sep 30,
    2020    
    Dec 31,
    2020    
    Mar 31,
    2021    
    Jun 30,
    2021    
 

(Provision for) benefit from income tax

    (2 %)      0     0     (2 %)      (5 %)      (3 %)      (1 %)      (1 %) 
 

 

 

   

 

 

   

 

 

   

 

 

   

 

 

   

 

 

   

 

 

   

 

 

 

Net income (loss)

    3     0     0     5     12     7     3     1

Net income (loss) attributable to noncontrolling interests

    0     0     0     0     0     0     0     0
 

 

 

   

 

 

   

 

 

   

 

 

   

 

 

   

 

 

   

 

 

   

 

 

 

Net income (loss) attributable to Excelerate L.P.

    3     (1 %)      0     5     11     7     2     2
 

 

 

   

 

 

   

 

 

   

 

 

   

 

 

   

 

 

   

 

 

   

 

 

 

Quarterly Trends and Seasonality

Net Sales, Cost of Sales and Gross Profit

Net sales have generally increased sequentially quarter-to-quarter as we have made acquisitions (Petal & Pup in August 2019, and Rebdolls in December 2019 and Culture Kings on March 31, 2021) and launched our brands in the U.S. (Princess Polly and Petal & Pup), all while successfully gaining and retaining customers.

Our quarterly cost of sales and gross profit have fluctuated quarter-to-quarter primarily due to the quarterly fluctuations in net sales and targeted price increases in late 2020.

Operating Expenses

Selling expenses have increased sequentially in each period presented above primarily due to an increase in shipping and fulfillment costs to support the increase in number of orders.

Marketing expenses have generally increased sequentially quarter-to-quarter as we have continued to scale our marketing efforts together with the growth of our business.

General and administrative expenses have generally increased sequentially quarter-to-quarter as we have continued to increase our headcount to support business growth. In the fourth quarter of 2019, there were certain one-time expenses related to the restructuring of our entities and one-time bonuses to certain employees.

Seasonality

We typically achieve our largest quarterly sales in the fourth fiscal quarter. In fiscal year 2019, our net sales in the first, second, third and fourth quarters represented 17%, 20%, 30% and 33%, respectively, of our total net sales for the year. In fiscal year 2020, our net sales in the first, second, third and fourth quarters represented 16%, 22%, 29% and 33%, respectively, of our total net sales for the year. Sales are typically higher during the months of November and December driven by higher holiday season spending.

 

123


Table of Contents

Quarterly Adjusted EBITDA and Adjusted EBITDA Margin

The following table sets forth a reconciliation of net income (loss) to adjusted EBITDA for the eight fiscal quarters ended June 30, 2021:

 

     Three Months Ended  
In thousands    Sep 30,
2019
    Dec 31,
2019
    Mar 31,
2020
    Jun 30,
2020
    Sep 30,
2020
    Dec 31,
2020
    Mar 31,
2021
    Jun 30,
2021
 

Net income (loss)

   $ 761   $ (159   $ (64   $ 2,278   $ 7,294   $ 5,297   $ 1,790   $ 2,189

Add (deduct):

                

Other expense (income), net

     (9     (162     56     114     220     96     123     4,155

Income tax provision (benefit)

     534     (111     (30     1,054     3,375     2,451     767     939

Depreciation and amortization expense

     1,382     1,916     1,449     1,654     1,697     1,962     2,566     10,790

Equity-based compensation expense

     118     87     122     297     418     542     523     609
  

 

 

   

 

 

   

 

 

   

 

 

   

 

 

   

 

 

   

 

 

   

 

 

 

Adjusted EBITDA

   $ 2,786   $ 1,571   $ 1,533   $ 5,397   $ 13,004   $ 10,348   $ 5,769   $ 18,682

Net income margin

     3     0     0     5     12     7     3     1

Adjusted EBITDA margin

     9     5     4     12     21     15     8     13

Liquidity and Capital Resources

As of December 31, 2020 and June 30, 2021, we had $26.3 million and $34.3 million, respectively, of cash and cash equivalents. Since our inception, we have financed our operations and capital expenditures primarily through cash flows generated by operations, private sales of equity securities or the incurrence of debt. Since inception and as of December 31, 2020 and June 30, 2021, we have raised a total of $108.2 million and $190.9 million, respectively, from the sale of equity units, net of costs and expenses associated with such financings.

As of December 31, 2020 and June 30, 2021, most of our cash was held for working capital purposes. We believe that our existing cash, together with cash generated from operations and available borrowing capacity under our line of credit, will be sufficient to meet our anticipated cash needs for at least the next 12 months. However, our liquidity assumptions may prove to be incorrect, and we could exhaust our available financial resources sooner than we currently expect. We may seek to borrow funds under our line of credit or raise additional funds at any time through equity, equity-linked or debt financing arrangements. Our future capital requirements and the adequacy of available funds will depend on many factors, including those described in the section of this prospectus captioned “Risk Factors.” We may not be able to secure additional financing to meet our operating requirements on acceptable terms, or at all. The inability to raise capital if needed would adversely affect our ability to achieve our business objectives.

Senior Secured Credit Facilities

On March 31, 2021, we entered into our existing senior secured credit facilities with syndicated lenders and an affiliate of Fortress Credit Corp as administrative agent that provides us with up to $25.0 million aggregate principal in revolver borrowings and a $125 million senior secured term loan facility that we used in financing our acquisition of Culture Kings. The $125 million senior term loan requires us to make amortized quarterly payments equal to 0.75% of the original principal amounts, for an annual aggregate amount of 3.0%. Borrowings under the credit agreement accrue interest, at the option of the borrower, at an adjusted LIBOR plus 7.5% or ABR plus 6.5%, subject to adjustment based on achieving certain total net secured leverage ratios. Obligations

 

124


Table of Contents

under the senior credit facilities are secured by all capital stock of CK Holdco Pty Ltd, CK Bidco Pty Ltd, Polly Holdco Pty Ltd, Polly Bidco Pty Ltd, Princess Polly Group Pty Ltd, Princess Polly IP Pty Ltd, Princess Polly Online Pty Ltd, Excelerate US, Inc., Princess Polly USA, Inc., EXRB Purchaser Inc., Rebdolls Inc., and our minority interest in Culture Kings. In connection with this offering, we plan to enter into a new senior secured credit facility. We plan to use borrowings under this new credit facility, together with a portion of the proceeds from this offering, to repay the existing credit facilities in full. See “Description of Indebtedness—New Senior Secured Credit Facility.”

Lines of Credit

On November 6, 2018, we entered into a line of credit with Commonwealth Bank of Australia in the amount of $7 million under the subsidiary Princess Polly Bidco Pty. The line of credit was amended on August 1, 2019 to increase the facility amount to $15.6 million. Borrowings under the credit agreement accrue an interest rate of AU Screen Rate (ASX) + 3.25% per annum. Obligations under the credit agreement were secured by cash, inventory and other liquid assets. As of December 31, 2020, the amount outstanding was $6.2 million. The facility was repaid and terminated as of February 28, 2021.

On December 31, 2019, we entered into a line of credit with Bank of America in the amount of $0.5 million under the subsidiary Rebdoll, Inc. The line of credit is guaranteed by Excelerate, L.P. Borrowings under the credit agreement accrue an interest rate of LIBOR + 2.25%. As of December 31, 2020, the amount outstanding was $0.2 million. The outstanding borrowings were repaid and the line of credit was terminated as of February 28, 2021.

On October 25, 2019, we entered into a line of credit with Moneytech in the amount of $2.8 million under the subsidiary Petal & Pup Pty Ltd. Borrowings under the credit agreement accrue an interest rate of 7.27%. As of December 31, 2020, there were no outstanding draws on the line of credit.

Historical Cash Flows - Annual

 

     Years Ended December 31,  
     2019      2020  

Net cash provided by operating activities

   $ 511      $ 21,712  

Net cash used in investing activities

     (21,828      (2,379

Net cash provided by financing activities

     20,583        1,240  

Net Cash Provided by Operating Activities

Cash from operating activities consists primarily of net income adjusted for certain non-cash items, including depreciation, equity-based compensation, the effect of changes in working capital and other activities.

In 2020, net cash provided by operating activities increased $21.2 million. This was attributable to a $13.4 million increase in net income, a $5.7 million decrease in cash used for inventory and a $2.7 million decrease in cash used for prepaid expenses when compared to the prior year. The decrease in cash used for inventory and prepaid expenses from 2019 to 2020 was due to the launch of the Princess Polly brand in the U.S. in 2019, requiring buildup of inventory and securing warehouse space.

Net Cash Used in Investing Activities

Our primary investing activities have consisted of acquisitions to support our overall business growth and investments in our fulfillment centers and our internally developed software to support our infrastructure. Purchases of property and equipment may vary from period to period due to timing of the expansion of our operations.

 

125


Table of Contents

In 2020, net cash used in investing activities decreased $19.4 million. This was attributable to the decrease in cash used to acquire businesses, as in 2019, a.k.a. acquired Petal & Pup.

Net Cash Provided by Financing Activities

Our financing activities have historically consisted of cash proceeds received from the issuance of borrowings, cash used to pay down borrowings or cash received in exchange for partner units.

In 2020, net cash provided by financing activities decreased $19.3 million. This was attributable to a decrease of $21.7 million in proceeds from the issuance of partner units to fund the acquisition of Petal & Pup, partially offset by a $2.4 million increase in cash used to repay lines of credit.

Historical Cash Flows - Interim

 

     Six Months Ended June 30,  
          2020                2021       

Net cash provided by operating activities

   $ 11,600      $ 7,480  

Net cash used in investing activities

     (574      (229,105

Net cash (used in) provided by financing activities

     (513      231,515  

Net Cash Provided by Operating Activities

Cash from operating activities consists primarily of net income adjusted for certain non-cash items, including depreciation, amortization, equity-based compensation, the effect of changes in working capital and other activities.

During the six months ended June 30, 2021, as compared to the six months ended June 30, 2020, net cash provided by operating activities decreased $4.1 million. This was attributable primarily to a $17.6 million increase in inventory to support our growth and expansion in the U.S. market, primarily offset by the timing of accruals. Growth in the business and preparation for a.k.a.’s initial public offering were the primary drivers of the accrual balances.

Net Cash Used in Investing Activities

Our primary investing activities have consisted of acquisitions to support our overall business growth and investments in our fulfillment centers and our internally developed software to support our infrastructure. Purchases of property and equipment may vary from period to period due to timing of the expansion of our operations.

During the six months ended June 30, 2021, as compared to the six months ended June 30, 2020, net cash used in investing activities increased $228.5 million. This was attributable to the acquisition of Culture Kings in March 2021.

Net Cash Provided by Financing Activities

Our financing activities have historically consisted of cash proceeds received from the issuance of borrowings, cash used to pay down borrowings or cash received in exchange for partner units.

During the six months ended June 30, 2021, as compared to the six months ended June 30, 2020, net cash provided by financing activities increased $232.0 million. This was primarily attributable to debt issuances that yielded $144.1 million in proceeds, net of issuance costs, and $82.2 million in additional proceeds from the issuance of partner units. Proceeds from both the issuances of debt and partner units were used to fund the acquisition of Culture Kings in March 2021.

 

126


Table of Contents

Off Balance Sheet Arrangements

We did not have any off-balance sheet arrangements in 2019 and 2020 or during the six months ended June 30, 2021.

Contractual Obligations

As of December 31, 2020, we leased various offices under operating lease agreements that expire from April 2022 to January 2027. The terms of the lease agreements provide for rental payments on a graduated basis. We recognize rent expense on a straight-line basis over the lease periods. We do not have any material capital lease obligations and most of our property, equipment and software have been purchased with cash. We have no material long-term purchase obligations outstanding with any vendors or third parties. Our future minimum payments under non-cancelable operating leases for equipment and office facilities are as follows as of December 31, 2020:

 

     Total      Less Than
1 Year
     1-3 Years      3-5 Years      More Than
5 Years
 

Operating lease obligations

   $ 4,824      $ 1,365      $ 2,396      $   492      $   571  

Inventory purchase obligations

   $ 11,740      $ 11,740        —          —          —    
  

 

 

    

 

 

    

 

 

    

 

 

    

 

 

 

Total

   $ 16,564      $ 13,105      $ 2,396      $ 492      $ 571  
  

 

 

    

 

 

    

 

 

    

 

 

    

 

 

 

The contractual commitment amounts in the table above are associated with agreements that are enforceable and legally binding. Inventory purchase obligations represent open purchase orders for the materials and merchandise at the end of the fiscal year. These purchase orders can be impacted by various factors, including the timing of issuing orders and the timing of shipment of orders. The table does not include obligations under agreements that we can cancel without a significant penalty.

Contingent Consideration

In connection with our acquisition of Rebdoll, Rebdoll’s former owners are eligible to earn contingent consideration of up to $0.5 million in the aggregate upon achieving certain annual performance targets over the two years following our acquisition. The performance targets were not achieved at the close of the first anniversary and accordingly, no amounts were paid in connection with the first installment. Calculation of performance targets and payment of the second installment, which is not connected to the first installment, are due on December 6, 2021. The fair value of the contingent consideration as of the acquisition date and as of December 31, 2020 was estimated to be approximately $0.1 million, which was included in the purchase consideration on the date of the acquisition. Changes, if any, in the fair value of the contingent consideration, subsequent to the acquisition date, will be recognized in general and administrative expenses in the statement of operations. To date there has been no change in the contingent consideration payable.

Critical Accounting Policies

We believe that the following accounting policies involve a high degree of judgment and complexity. Accordingly, these are the policies we believe are the most critical to aid in fully understanding and evaluating our financial condition and results of our operations. Refer to Note 2 to our consolidated financial statements as of and for the years ended December 31, 2019 and 2020, included elsewhere in this prospectus for a description of our other significant accounting policies. The preparation of our financial statements in conformity with GAAP requires us to make estimates and judgments that affect the amounts reported in those financial statements and accompanying notes. Although we believe that the estimates we use are reasonable, due to the inherent uncertainty involved in making those estimates, actual results reported in future periods could differ from those estimates.

 

127


Table of Contents

Revenue Recognition

Our primary source of revenues is from sales of fashion apparel primarily through our digital platforms and stores. We determine revenue recognition through the following steps in accordance with Topic 606:

 

   

identification of the contract, or contracts, with a customer;

 

   

identification of the performance obligations in the contract;

 

   

determination of the transaction price;

 

   

allocation of the transaction price to the performance obligations in the contract; and

 

   

recognition of revenue when, or as, we satisfy a performance obligation.

Revenue is recognized upon shipment when control of the promised goods or services is transferred to our customers, in an amount that reflects the consideration we expect to be entitled to in exchange for those goods or services. Our revenue is reported net of sales returns and discounts. We estimate our liability for product returns based on historical return trends and an evaluation of current economic and market conditions. We record the expected customer refund liability as a reduction to revenue, and the expected inventory right of recovery as a reduction of cost of goods sold. If actual return costs differ from previous estimates, the amount of the liability and corresponding revenue are adjusted in the period in which such costs occur.

Inventory

Inventories are stated at the lower of cost and net realizable value. Cost is determined using the specific identification method. Cost of inventory includes import duties and other taxes and transport and handling costs to deliver the inventory to our distribution centers. We write down inventory where it appears that the carrying cost of the inventory may not be recovered through subsequent sale of the inventory. We analyze the quantity of inventory on hand, the quantity sold in the past year, the anticipated sales volume, the expected sales price and the cost of making the sale when evaluating the value of our inventory. If the sales volume or sales price of specific products declines, additional write-downs may be required.

Equity-based Compensation

We have granted equity-based awards consisting primarily of incentive units in Excelerate, L.P. to employees. Equity-based compensation expense related to equity-based awards is recognized based on the fair value of the awards granted. We estimate the fair value of each equity award granted using the Black-Scholes option pricing model. The Black-Scholes option pricing model requires the input of highly subjective assumptions, including the fair value of the underlying partnership units, the risk-free interest rate, the expected volatility of the price of our partnership units, the expected dividend yield of our partnership units and the expected term of the equity award. The assumptions used to determine the fair value of the equity awards represent management’s best estimates. These estimates involve inherent uncertainties and the application of management’s judgment. The related equity-based compensation expense is recognized on a straight-line basis over the requisite service period of the awards, which is generally four years. We account for forfeitures as they occur. If factors change and different assumptions are used, our equity-based compensation expense could be materially different in the future. These assumptions and estimates are as follows:

 

   

Fair Value of Partnership Unit. As our common stock is not publicly traded, the fair value was determined by our board of directors, with input from management and valuation reports prepared by third-party valuation specialists and management as described below under “—Partnership Units Valuations.”

 

   

Risk-Free Interest Rate. The risk-free interest rate for the expected term of the equity award was based on the U.S. Treasury yield curve in effect at the time of the grant.

 

   

Expected Volatility. As we do not have a trading history for our common stock, the expected volatility was estimated by taking the average historic price volatility for industry peers, consisting of several public companies in our industry which are either similar in size, stage of life cycle or financial leverage, over a period equivalent to the expected term of the awards.

 

128


Table of Contents
   

Expected Dividend Yield. We have never declared or paid any cash dividends and do not currently plan to pay cash dividends in the foreseeable future. As a result, an expected dividend yield of zero percent was used.

 

   

Expected Term. There is no stated term of the incentive units. The pay-off will be determined when the limited partnership proceeds are distributed. As such, the expected term was estimated based upon the expected partnership distribution date.

We will continue to use judgment in evaluating the assumptions related to our equity-based compensation on a prospective basis. As we continue to accumulate additional data related to our partnership units, we may refine our estimation process, which could materially impact our future equity-based compensation expense.

Partnership Units Valuations

Prior to our initial public offering, given the absence of a public trading market of our partnership units, and in accordance with the American Institute of Certified Public Accountants Accounting and Valuation Guide, Valuation of Privately-Held Company Equity Securities Issued as Compensation, our board of directors exercised reasonable judgment and considered numerous and subjective factors to determine the best estimate of fair value of our partnership units at key grant dates, including:

 

   

third-party valuations of our partnership units;

 

   

our results of operations, financial position and capital resources;

 

   

industry outlook;

 

   

the lack of marketability of our partnership units;

 

   

the fact that the incentive unit grants involve illiquid securities in a private company;

 

   

the likelihood of achieving a liquidity event, such as an initial public offering or a sale of our company, given prevailing market conditions;

 

   

the history and nature of our business, industry trends and competitive environment; and

 

   

general economic outlook, including economic growth, inflation and unemployment, interest rate environment and global economic trends.

In valuing our partnership units, the fair value of our business, or enterprise value, was determined using a combination of the market approach and income approach. The market approach estimates value based on a comparison of the subject company to comparable public companies in a similar line of business. From the comparable companies, a representative market value multiple is determined and then applied to the subject company’s financial results to estimate the value of the subject company. The income approach estimates value based on the expectation of future cash flows, which are then discounted to present value.

For each valuation, the enterprise value was then allocated to the partnership units using the Option Pricing Model, or “OPM.” The OPM allocates a company’s equity value among various capital investors, taking into account any liquidation preferences, participation rights, dividend policy and conversion rights. The use of OPM is appropriate when the range of possible future outcomes is difficult to predict and can result in a highly speculative forecast.

Application of these approaches involves the use of estimates, judgment and assumptions that are highly complex and subjective, such as those regarding our expected future revenues, expenses, cash flows, discount rates and market multiples, the selection of comparable companies and the probability of possible future events. Changes in any or all of these estimates and assumptions, or the relationships between those assumptions, impact our valuations as of each valuation date and may have a material impact on the valuation of our partnership units.

Following this offering, it will not be necessary to estimate the fair value of our partnership units, as the shares will be traded in the public market, and the fair value of our partnership units will be based on the closing price as reported by the New York Stock Exchange.

 

129


Table of Contents

Income Taxes

Income taxes are accounted for under the asset and liability method. Deferred tax assets and liabilities are recognized for the future tax consequences attributable to differences between the financial statement carrying amounts of existing assets and liabilities and their respective tax bases and are recorded net on the face of the balance sheet. Deferred tax assets and liabilities are measured using enacted tax rates expected to apply to taxable income in the years in which those temporary differences are expected to be recovered or settled. The effect on deferred tax assets and liabilities of a change in tax rates is recognized in income in the period that includes the enactment date. We recognize the effect of income tax positions only if those positions are more likely than not of being sustained. Recognized income tax positions are measured at the largest amount that is greater than 50% likely of being realized. Changes in recognition or measurement are reflected in the period in which the change in judgment occurs.

Deferred tax assets are recognized to the extent it is believed that these assets are more likely than not to be realized. In assessing the realizability of deferred tax assets, management considers whether it is more likely than not that some portion or all the deferred tax assets will not be realized. The ultimate realization of deferred tax assets is dependent upon the generation of future taxable income during the periods in which those temporary differences become deductible. Management considers the scheduled reversal of deferred tax liabilities (including the impact of available carryback and carryforward periods), projected future taxable income and tax-planning strategies in making this assessment. Based upon the level of historical taxable income and projections for future taxable income over the periods in which the deferred tax assets are deductible, management believes it is more likely than not that we will realize the benefits of these deductible differences, net of the valuation allowance. The amount of the deferred tax asset considered realizable, however, could be reduced in the near term if estimates of future taxable income during the carryforward period are reduced.

Internal Control over Financial Reporting

A material weakness is a deficiency, or a combination of deficiencies, in internal control over financial reporting such that there is a reasonable possibility that a material misstatement of our financial statements will not be prevented or detected on a timely basis. In connection with the audit of our 2019 and 2020 consolidated financial statements, we and our independent registered public accounting firm identified a material weakness in our internal controls in 2019 and 2020 related to the lack of controls and processes to allow us to achieve complete, accurate and timely financial reporting, a lack of appropriate segregation of duties in our manual and IT based business processes and insufficient resources with the appropriate knowledge and experience in our accounting function to enable us to design and maintain an effective financial reporting process. During 2021, we have taken steps to address these material weaknesses and continue to implement our remediation plan, which we believe will address their underlying causes. We have hired additional personnel with requisite skills in both technical accounting and internal control over financial reporting. In addition, we have engaged external advisors to provide financial accounting assistance in the short term and to evaluate and document the design and operating effectiveness of our internal controls and assist with the remediation and implementation of our internal controls as required. We are evaluating the longer-term resource needs of our various financial functions.

Please see “Risk Factors—We have identified material weakness in our internal control over financial reporting and if we fail to remediate this weakness and maintain proper and effective internal controls, our ability to produce accurate and timely consolidated financial statements could be impaired, which could harm our operating results, our ability to operate our business and investors’ views of us.”

Quantitative and Qualitative Disclosures about Market Risk

We have operations both within the United States and internationally, and we are exposed to market risks in the ordinary course of our business, including the effects of foreign currency fluctuations, interest rate changes and inflation. Information relating to quantitative and qualitative disclosures about these market risks is set forth below.

 

130


Table of Contents

Interest Rate Sensitivity

Cash and cash equivalents were held primarily in cash deposits. The fair value of our cash and cash equivalents would not be significantly affected by either an increase or decrease in interest rates due mainly to the short-term nature of these instruments. Interest on any line of credit borrowings incurred pursuant to the credit described above would accrue at a floating rate based on a formula tied to certain market rates at the time of incurrence; however, we do not expect that any change in prevailing interest rates will have a material impact on our results of operations.

Foreign Currency Risk

We are exposed to fluctuations in currency exchange rates as a result of our operations in countries other than the U.S., principally related to our significant operations in Australia. For fiscal year 2020, movements in currency exchange rates and the related impact on the translation of the balance sheets resulted in the $11.4 million net gain in the currency translation category of accumulated other comprehensive loss.

Additionally, a portion of our sales and costs are earned and incurred, respectively, in USD for subsidiaries that use the AUD as its functional currency. These sales and costs generate a foreign currency exposure. Furthermore, we have various assets and liabilities, primarily cash and intercompany receivables and payables, denominated in USD where the functional currency is AUD. These balance sheet items are subject to re-measurement which may create fluctuations in other expense, net within our consolidated results of operations. For fiscal year 2020, movements in currency exchange rates resulted in $0.2 million net loss in other expense, net.

Inflation

Currently, we do not believe that inflation has had a material effect on our business, financial condition or results of operations. We continue to monitor the impact of inflation to minimize its effects through sourcing and pricing strategies, productivity improvements and cost reductions. If our costs were to become subject to significant inflationary pressures, we may not be able to fully offset such higher costs through price increases. Our inability or failure to do so could harm our business, financial condition and results of operations.

Recent Accounting Pronouncements

Refer to Note 2 to our consolidated financial statements included elsewhere in this prospectus for additional information regarding recent accounting pronouncements.

 

131


Table of Contents

BUSINESS

Our Vision

To be the global leader in direct-to-consumer fashion for the next generation of consumers through a dynamic platform of digitally native brands.

Who We Are

Founded in 2018, a.k.a. is a portfolio of fashion brands built for the next generation of consumers. Beginning with the acquisition of Princess Polly in 2018, we created a portfolio of complementary brands with our subsequent acquisitions of Petal & Pup and Rebdolls in 2019 and Culture Kings in 2021. We target high-potential brands that we believe are at a pivotal point in their growth trajectory that we can integrate into our platform. Leveraging our proven track-record, industry expertise and operational synergies, we believe our brands can grow faster, reach broader audiences, achieve greater scale and enhance their profitability. We believe we are disrupting the status quo and pioneering a new approach to fashion.

Through our portfolio of high-growth, digitally-focused global brands, we reach a broad audience across accessible price points and varied styles. Our current brands all share a common focus on Millennial and Gen Z consumers who seek fashion inspiration on social media and primarily shop online and via mobile devices. Nimble by design, our innovative brands are launched and fueled on social media channels. They are customer-centric and have authentic and engaging relationships with their target audiences through highly relevant social content and other digital marketing strategies. Leveraging innovative, data-driven insights, our brands introduce fresh content and high-quality merchandise daily. Our platform accelerates the growth and profitability of our existing brands, and we aim to continue expanding our portfolio. Simply put, our brands are better together.

 

132


Table of Contents

LOGO

 

  (1)

Reflects net sales of each brand as a percentage of net sales for 2020 assuming we owned all of our four brands for all of 2020.

We Efficiently Acquire Customers Through Inspiring, Digital Content

Our brands engage with customers by releasing a stream of inspiring digital content at high frequency. We believe our content-rich narrative and authentic brand messaging drives organic traffic to our websites, efficiently generating demand, enhancing connectivity with customers and amplifying our brand communities. Our brands maintain relationships with approximately 13,000 influencers globally and utilize them to test and launch new products, gather customer feedback, increase brand awareness and acquire new customers in a cost-effective manner. In 2020, across a.k.a. Brands, we received approximately 190 million site visits with over 70% on mobile, inspired more than 6 million followers on social media and served more than 2.2 million active customers.

We Leverage Data-Driven Insights to Curate High-Quality, Affordable Fashion

Our brands aim to deliver constant newness and excitement by creating and curating on-trend and affordable fashion styles that customers love. We utilize real-time data and consumer insights to identify the latest trends and work with our global sourcing network and brand partners to quickly bring new, high-quality products to market. Our agile “test-and-repeat” merchandising model enables the flexibility to quickly react to customer demand and test product appeal without taking large initial inventory positions, yet still capture in-season demand. In 2020, across a.k.a. Brands we introduced 500 to 800 new styles each week.

We Drive Customer Loyalty by Creating Next-Generation Shopping Experiences

Our brands provide a seamless shopping experience for our customers – we offer fast shipping, our websites are easy to navigate with user-friendly search and checkout experiences across devices and we provide for easy

 

133


Table of Contents

returns. Additionally, our brands’ compelling merchandising strategy is anchored by a high proportion of exclusive styles that cannot be found elsewhere. More than 53% of our revenue is derived from products exclusive to a.k.a. Brands, which increases both demand and customer loyalty. Our customers’ satisfaction with the fit, quality, affordability and exclusivity of our styles is further reflected in our sales return rates across our brands, which was well below industry average in 2020 at approximately 11%.

Our Platform Creates Value by Driving Synergies Across the Portfolio

Innovation Hub and Knowledge Sharing

Our platform enables and encourages a network of cross-brand learnings to advance innovation and promote best practices – what accelerates profitable growth for one brand can accelerate profitable growth for others. Across our brands, we test and learn digital innovation and facilitate knowledge sharing and benchmarking of key performance metrics to improve growth, operational efficiency and profitability.

Operational Synergies

Our platform leverages a broad network of third-party service and technology providers, which allows us to implement the latest capabilities with limited upfront investment and quickly adopt innovations in the market. We utilize a combination of owned and third-party logistics and fulfillment assets, creating flexibility to support our high-growth brands. We customize our approach for each brand to allow for optimization and tailored growth tools, which sets us apart from other centralized platforms. For example, while we maintain a network of proven vendors across the portfolio, we allow our brands to take a tailored approach to which vendors they use. Additionally, through our a.k.a. platform and the scale it provides, we negotiate favorable rates with our vendors, providing our brands with attractive terms and enhancing overall profitability.

Deep Industry Expertise

Our brands have access to our highly-skilled leadership team, each of whom has a proven track-record and decades of experience building and scaling successful eCommerce businesses. We have deep expertise in the business of fashion, and we support our brands so they can focus on customer-facing priorities such as branding, merchandising and maintaining an authentic connection with customers.

We Promote Diversity and Practice Responsible Fashion

Our brands reflect the diversity and beauty of our customers and we continuously seek ways to expand the diversity in our brands, products and marketing. We believe diversity and sustainability align with our core value and drive better results. We operate responsibly and are committed to responsible fashion and sustainability through prioritization of transparency, fair labor practices and reduced waste.

Our Powerful Economic Model

We believe our platform is differentiated by its unique ability to attract and retain a wide range of Millennial and Gen Z consumers through authentic brand messaging and curated, on-trend fashion. In 2020, across a.k.a. Brands, we:

 

   

attracted approximately 190 million site visits, with 62% from unpaid sources

 

   

grew our active customer base by 69% from 2019, who placed 53% more orders at 14% higher average order value compared to 2019

 

   

delivered over 80% of net sales at full price

 

   

had a low sales return ratio of approximately 11%

 

134


Table of Contents
   

achieved a customer lifetime value (“LTV”)/customer acquisition cost (“CAC”) ratio of approximately 8.0x for the 2017 customer cohort

We believe our robust growth and profitability validate our platform approach and asset-light business model. We grew revenue by 111% from 2019 to 2020 and achieved $385.0 million in Pro Forma net sales. We grew revenue by 167% in the six months ended June 30, 2021, as compared to the same period in the prior year and achieved $269.2 million in Pro Forma net sales. Compared to 2019 our gross margin expanded 401 basis points in 2020. For the six months ended June 30, 2021, as compared to the same period in the prior year, our gross margin expanded 72 basis points. We increased our net income by 10 times in 2020 compared to 2019 and expanded our net income margin by 545 basis points in 2020 compared to 2019 and by 217 basis points in Pro Forma 2020 compared to 2019. We increased our net income by 2 times in the six months ended June 30, 2021, as compared to the same period in the prior year, and narrowed our net income margin by 88 basis points over that same period while expanding our net income margin by 230 basis points in Pro Forma June 30, 2021 compared to the same period in the prior year. Our adjusted EBITDA increased by 3.3 times from 2019 to 2020 and adjusted EBITDA margin expanded by 507 basis points. Our adjusted EBITDA reached $68.0 million in Pro Forma 2020. During the six months ended June 30, 2021, as compared to the same period in the prior year, our adjusted EBITDA increased by 3.5 times and adjusted EBITDA margin expanded by 273 basis points. Our adjusted EBITDA reached $32.2 million in Pro Forma June 30, 2021.

Annual Metrics

 

LOGO

Interim Metrics

 

LOGO

 

135


Table of Contents

Industry Overview

Large and Growing Global Apparel, Footwear and Accessories Industry

We primarily operate in the large and growing global apparel, footwear and accessories industry. According to Euromonitor, a consumer market research company, the industry grew to an annual spend of $1.7 trillion in retail sales in 2019 from $1.2 trillion in 2010, representing a CAGR of 3.8% over this time period. Although 2020 retail sales were negatively impacted by the COVID-19 pandemic, the industry is projected to grow at a 7.2% CAGR from 2020 to 2025. Though we ship our products globally, we operate primarily in two geographies, the U.S. and Australia. The U.S. apparel, footwear and accessories market has grown from $302 billion in 2010 to $370 billion in 2019, representing a CAGR of 2.3% over that time period. The market is expected to grow at a 6.7% CAGR from 2020 to 2025. The Australian apparel, footwear and accessories market has grown from $13.7 billion in 2010 to $16.6 billion in 2019, representing a 2.2% CAGR. The market is expected to grow at a 5.9% CAGR from 2020 to 2025. We believe the key factors driving growth within the global apparel, footwear and accessories industry include favorable demographic trends and desire for constant newness.

Apparel, Footwear and Accessories Shopping has Been Rapidly Shifting Online

Consumers are increasingly turning to online channels to make purchases, driven by the growing Millennial and Gen Z populations and the increasing influence of social and digital media channels. According to Euromonitor, the global online apparel, footwear and accessories market was valued at approximately $300 billion in 2019, and is expected to reach $546 billion by 2025, representing a 10.5% CAGR, with online outpacing the growth of the overall market.

In the U.S., online spend was $94 billion in 2019 and is expected to reach $192 billion by 2025, representing a 12.7% CAGR. Online penetration of apparel, footwear and accessories in the U.S. has increased from 7.4% to 37.5% from 2010 to 2020, and Euromonitor expects online penetration to reach approximately 50% in the U.S. by 2025. The COVID-19 pandemic accelerated digital adoption across retail with online penetration of apparel, footwear and accessories expanding approximately 1,210 basis points in the U.S. during 2020.

Digital-Savvy Millennial and Gen Z Consumers Seeking the Next-Generation Shopping Experience

According to data from the United Nations, Millennial and Gen Z consumers, our primary target demographic today, account for 31.5% and 32.0% of the global population, respectively, making them a large and growing demographic group with significant economic influence. The U.S. Millennial and Gen Z population is also very diverse, collectively accounting for approximately 60% of the U.S. minority population. This growing, diverse base of young consumers is shaping the evolving retail landscape and differs from other generations given a focus on the following:

 

   

Aspire to express their individual style through fashion and desire for constant newness

 

   

Seek an emotional connection with brands through frequent interaction and shared values

 

   

Shop and explore content online more than older generations

 

   

Engage with social media and digital content from influencers as a primary source of inspiration and discovery to inform their purchasing decisions

 

   

Creative Agency Composed found in November 2019 that approximately 60% of U.S. Gen Z shoppers utilize Instagram to discover new brands and products

 

   

According to the Global Web Index, Millennials and Gen Z worldwide spend approximately 2.5 hours daily on average on social media, or over 7 years of their lives based on WHO’s estimate on global life expectancy

 

   

Demand a higher accountability for brands and seek to purchase from companies that align with their values, including a focus on social responsibility, sustainability, diversity and inclusion.

 

136


Table of Contents
   

5WPR’s 2020 Consumer Culture Report found in November 2019 that approximately 83% of Millennials want to buy from companies that align with their belief and values

Changing Landscape of Brands

Over the last decade, the retail landscape has transformed, as mall-based stores, including department stores and specialty retailers, rapidly shrank their footprints or closed all together. According to IBISWorld, department store locations in the U.S. declined by approximately 30% to 6,000 in 2020 from 8,600 in 2011. In addition to department store closures, we believe many specialty retailers also experienced similar declines during the same time period. Offline retailers, as a whole, did not keep up with changing consumer preferences, such as the shift to online shopping, and carry high fixed costs associated with their large store footprints which become increasingly less profitable. These pressures led to store closures in recent years that we believe creates available market share for new, primarily digital competitors.

As consumers moved to online shopping platforms and as social media increasingly captured consumers’ time, a new generation of brands began building direct relationships with their customers through their own branded eCommerce sites, a limited number of owned stores and social media platforms. These direct channels allow brands to engage directly with consumers and build unique brand identities to appeal to specific target demographics. These factors, combined with Millennial and Gen Z consumers seeking brands that are unique and offer an emotional connection, gave rise to a fragmented landscape of digital and direct-to-consumer brands.

The Attractive Streetwear Industry

With our recent acquisition of Culture Kings, we entered the growing, global streetwear market, which was estimated to be $185 billion in 2019. Streetwear, which is primarily comprised of footwear, T-shirts and other apparel and accessory items, has gained an almost cult-like following among consumers. This is particularly true for Gen Z, which is estimated to be the largest group of Streetwear shoppers, with approximately 60% of shoppers under the age of 25.

Growing demand for Streetwear is driven by product exclusivity and versatility, as well the broader casualization of fashion. The anticipation of limited opportunity to buy drives scarcity value, offering a unique avenue for self-expression among consumers. These unique attributes of Streetwear give it a cache or “cool” factor among consumers which is driving outsized industry growth.

Our Competitive Strengths

Diversified Portfolio of Global Brands Targets Distinct Audiences and Expands Reach

We strategically acquired a portfolio of brands with strong followings from Millennial and Gen Z customers. The collective reach of our brands is diversified across age, gender, geography and life stage. Yet, each brand targets a distinct customer segment. The typical customer is a 15-25 year old woman for Princess Polly, a 25-40 year old woman for Petal+Pup, an 18-34 year old plus-sized diverse woman for Rebdolls and an 18-35 year old male for Culture Kings. Each of our brands maintains their own identities and tailors brand messaging and products to their unique customer bases, creating authentic connections and driving strong loyalty. Additionally, our global footprint and portfolio of brands allows us to diversify from potential risks associated with a single brand or a single market, enhancing platform level returns.

Demand-led, Data-driven Merchandising Drives Speed to Market and Full Price Sell Through

Our brands utilize a data-driven approach to merchandising, identifying consumer demand trends and introducing relevant products with rapid speed-to-market. Princess Polly deploys a “test-and-repeat” model. The brand makes initial purchases of a wide variety of new products in small quantities, releasing a steady stream of

 

137


Table of Contents

new arrivals as frequently as daily and observes early signals on transaction and browsing patterns to quickly validate consumer appeal. This customer feedback loop allows Princess Polly to rapidly replenish successful styles and scale-back on less successful products.

Additionally, our presence in the U.S. and Australia allows us to monitor seasonal trends across markets months and even seasons in advance. We leverage these data-driven demand insights from one hemisphere to inform purchasing decisions for the following season in the other hemisphere. Our on-trend offerings and short product cycle are designed to generate constant newness, encourage product discovery, drive online traffic and full price sell through. In 2020, the average order value across our brands increased by 14% and full price sell through reached 80%.

The value proposition of our brands is further enhanced through a high portion of proprietary product that cannot be found elsewhere. In 2020, more than 80% of merchandise sold at Princess Polly was proprietary. In 2020, approximately 33% of products sold at Culture Kings were exclusive via owned brands, licensed brands, limited editions and brand collaborations. We believe the high portion of exclusive offerings generates excitement, anticipation and loyalty among customers, fuels traffic and demand, and differentiates us competitively. The strong margin profile of our proprietary assortment further improves overall profitability. Additionally, our brands standardize the sizing of their proprietary products and provide customers with better sizing guides, inspiring consumer confidence in quality and fit. In 2020, the sales return rate across a.k.a. Brands was 11%, which is significantly lower than industry average. In 2020, repeat purchase rate across our brands reached approximately 60% and our gross profit margin increased by 401 basis points relative to 2019 (our gross profit margin for Pro Forma 2020 decreased by 169 basis points relative to 2019). For the six months ended June 30, 2021, as compared to the same period in the prior year, our gross profit margin increased by 72 basis points (our gross profit margin for Pro Forma June 30, 2021 increased by 229 basis points as compared to the same period in the prior year).

Inspirational Content Propels Customer Engagement and Efficient Marketing

Our brands drive continuous engagement with customers through inspiring digital content. We believe the quality and quantity of our content differentiates us from our competitors and seamlessly delivers each brand’s core messaging and lifestyle positioning. We release fresh content as often as hourly across a variety of digital mediums. Our brands have built a community of over 6 million brand loyalists and enthusiasts across multiple social media channels, including Instagram, Facebook, YouTube and TikTok, and our brands constantly evolve their customer engagement strategy.

Additionally, our brands partner with an extensive network of approximately 13,000 influencers, focusing on those with small to medium, but loyal, followings. We believe these micro-influencers have a strong emotional connection with our brands and feature our products in a highly authentic way that resonates with customers. Our focus on micro-influencers is intended to create a more authentic relationship with customers, mitigate the risk from individual celebrity or macro influencer endorsements and achieve higher returns on our marketing investment. Our strong value proposition combined with our efficient marketing tactics results in low CAC and high LTV. In 2020, across a.k.a. Brands, approximately 60% of our brands’ website traffic originated from organic sources, which combined with highly efficient acquisition marketing spend, supports an industry-leading LTV/CAC of 8.0x in 2020 for our 2017 customer cohort.

Powerful Platform Accelerates Profitable Growth

Our brands operate independently but have access to a common platform. We believe this model balances scale-enabled cost savings with operational flexibility, facilitates low-risk innovation and accommodates the needs of our brands at various stages of growth. Our platform is designed to provide collective advantages and accelerate profitable growth in both existing and new markets and allows us to manage the brands at a portfolio level.

 

   

Asset-light, third party approach drives operational synergies while maintaining flexibility.

 

138


Table of Contents

We maintain a wide network of third-party vendors and suppliers across our sourcing, distribution, technology and back-office functions. We utilize common providers across brands where possible and leverage our scale to negotiate collectively to drive cost and operating synergies. As a result, our brands are able to focus on customer engagement, brand building and marketing, while benefiting from operational services at scaled pricing that the brands would be unlikely to obtain on a stand-alone basis. For instance, we have optimized our logistics and fulfillment capacity by utilizing a combination of owned assets and a network of third-party vendors, allowing for the flexibility to make real-time operational adjustments to accommodate the needs of our high-growth brands.

Our flexible and asset light approach to technology allows us to stay at the forefront of innovation in order to better serve our customers and enhance profitability. We aim to stay on the forefront of digital innovation by experimenting with emerging capabilities that enable our brands to enhance the customer experience in a cost-effective manner. Additionally, we are often early adopters of the latest innovations and are viewed as an attractive partner for leading technology platforms. For example, Princess Polly was an early retail partner of Afterpay, a digital payments platform that none of our major competitors were providing at the time. We consider the nimbleness enabled by our third-party technology a compelling advantage over our competitors who maintain proprietary technology platforms that require significant initial investment, ongoing maintenance costs and generally creates long lead times to deploy and leverage.

 

   

Testing of innovative solutions and shared best practices. While our brands have broad autonomy to experiment with new operational solutions, at the platform level we identify best practices and facilitate the sharing of this knowledge across our brands. For instance, the “test-and-repeat” model first deployed by Princess Polly has been subsequently adopted by Petal & Pup. We also standardized operational and financial performance metrics so that our brands can benchmark against each other.

 

   

Highly Experienced Management Team. We assembled a highly experienced executive leadership team with deep and diversified eCommerce and fashion experience that spans from start-ups to Fortune 500 companies. Our a.k.a. Brands executive team complements our brand management teams by providing significant experience in scaling digital businesses over the last 20 years.

 

   

Next Generation Culture. While each of our brands celebrates its own unique culture and brand values, we collectively embrace a next generation mindset:

 

   

We are customer-led; focusing relentlessly on delivering a high-quality customer experience,

 

   

We move fast; executing on innovative ideas swiftly,

 

   

We are data driven; using data and analytics to make smarter decisions every day,

 

   

We are growth minded; testing and learning continuously in and across our brands,

 

   

We are diverse; celebrating and expanding the diversity of our customers and teams,

 

   

We act with integrity; when in doubt, we resort to the high standard.

Our Growth Strategies

We believe our global direct-to-consumer fashion brands are disrupting categories with strong fundamental growth and capitalizing on long-term global secular tailwinds. We intend to execute the following strategies to expand our platform and gain market share:

Grow our Brands Organically in our Existing Markets

 

   

Grow Brand Awareness and Acquire New Customers. We believe our brands are underpenetrated in the markets in which they operate. We think there is a significant opportunity to grow awareness of our brands due to the continued secular shift to eCommerce, as well as the strength of our highly efficient, data-driven

 

139


Table of Contents
 

marketing model. We intend to efficiently acquire new customers through continued investment in our content creation and social media capabilities, as well as through our network of approximately 13,000 influencers. Through continued investment in these initiatives, we believe we will be able to further appeal to our core demographic of Millennial and Gen Z consumers and increase our market share.

 

   

Leverage Customer Data Assets to Better Understand Behaviors and Optimize Value: We plan to continue to leverage customer data in a systematic way to deliver operational efficiencies across our platform, including improvements in our marketing strategies through better attribution, enhanced data-driven merchandising and product introduction, and increased retention through better customer targeting.

 

   

Expand Product Categories and Offerings. We believe our brands are well positioned to grow by expanding product styles and entering new categories that are complementary to our brands’ current offerings. Our brands aim to identify trends and evaluate opportunities leveraging digital capabilities, data-driven insights and a test-and-repeat merchandising model. We believe our brands have a significant opportunity to expand product ranges, increase average order value and broaden customer reach. We intend to continue to increase our mix of owned brands and exclusive offerings, which we believe generate significantly higher margins and drive traffic to our websites.

 

   

Continue to Increase Loyalty and Wallet Share. We intend to deepen customer relationships to improve customer retention and increase wallet share. We aim to achieve this by enhancing our user experience, improving engagement, refining our customer segmentation, increasing personalization, launching loyalty programs across our brands and constantly introducing new styles, designer collaborations and exclusive items. Our authentic content and steady stream of new styles encourages deep connections with new and existing customers, driving customer retention rate of 63% in 2020 across a.k.a. Brands, and resulting in an attractive customer lifetime value.

 

   

Value Optimization. Our consumer-led, data-driven product innovation capabilities creates an opportunity for us to deepen customer loyalty as we better understand our customers’ purchasing behavior. We plan to leverage these insights to optimize pricing, increase AOV and maximize value to our brands and customers.

Grow through Acquisitions

Acquiring new brands is core to our strategy and an important driver of our future growth. Since our inception in 2018, we successfully acquired and integrated four brands onto our platform. We employ a corporate development team dedicated to the identification, evaluation and acquisition of brands, and we maintain a strong pipeline of potential targets which typically includes multiple acquisition opportunities at differing stages of evaluation.

We seek brands that diversify our portfolio through new demographics, markets or fashion tastes, which allows us to grow without cannibalizing our current brands. We seek direct-to-consumer brands with strong customer followings and a proven track record of operating profitably but need help scaling to further accelerate their growth. We look for talented and passionate teams who have proven abilities to leverage data, technology and content to grow. We seek asset-light brands that have the potential to benefit from the a.k.a. platform, expertise and resources. We look for brands with similar operating and financial characteristics as our existing brands. We are evaluating multiple opportunities for such acquisitions in the near term and have signed non-binding letters of intent relating to several potential acquisitions. We are not party to any definitive agreements in respect of any such acquisition targets, but it is possible discussions relating to one or more of these potential acquisitions could advance rapidly and we could sign or complete any such transactions shortly after this offering.

We believe our demonstrated ability to provide infrastructure, expertise and capital to scale brands and create significant value make us an attractive partner which provides us a competitive advantage in acquiring new brands.

 

140


Table of Contents

Grow Internationally

We intend to leverage the strength of our brands and our ability to connect with customers to expand into new international markets beyond our core U.S. and Australian markets. Net sales to customers outside of the U.S. and Australia was $23 million across 196 countries and territories and represented 11% of total sales in 2020 (net sales to customers outside of the U.S. and Australia was $45 million across 209 countries and territories and represented 12% of total Pro Forma sales in 2020). For the six months ended June 30, 2021, net sales to customers outside of the U.S. and Australia was $26 million across 194 countries and territories and represented 12% of total sales (for Pro Forma June 30, 2021, net sales to customers outside of the U.S. and Australia was $33 million across 207 countries and territories and represented 12% of total Pro Forma June 30, 2021 sales).

We will continue to target markets that demonstrate strong social and digital media usage. We identified several markets in which we believe we can introduce one or more of our brands, such as expanding Culture Kings in Korea and Japan and Princess Polly in Canada, Europe and the U.K. We believe our experience growing the Princess Polly and Petal & Pup brands in the U.S. creates a proven roadmap to help us successfully introduce our brands globally.

Continue to Drive Efficiencies Across Our Platform

As we continue to scale organically and through acquisitions, we aim to improve operational performance across our platform and enhance profitability. We will also look for ways to reduce our input costs by leveraging our collective scale to negotiate improved terms with suppliers and vendors, including for raw materials, freight and shipping. As our brands grow and gain scale, we intend to invest in automation and process improvement within our operations to drive lower variable costs and improved profitability.

Our Brands

The a.k.a. Brands platform consists of four differentiated brands, Princess Polly, Culture Kings, Petal & Pup and Rebdolls.

Princess Polly: Founded in Australia in 2010, Princess Polly joined the a.k.a. Brands platform in July 2018. With a tagline of “Wear It This Weekend,” Princess Polly focuses on providing fun dresses, tops, shoes and accessories with slim fit, body-confident and trendy fashion designs. The brand operates exclusively online and targets a female customer between the ages of 15 and 25, who value the brand’s high quality assortment, compelling price points and free and fast shipping. Princess Polly customers are inspired by the constant stream of inspirational social media content and the fresh, new and affordable merchandise arriving daily. The brand has an Instagram following of over 2 million and generated approximately 8.3 million monthly visits to the Princess Polly websites in 2020. Since joining the a.k.a. Brands platform, Princess Polly has experienced rapid growth and increasing brand awareness in the United States. In 2020, net revenue in the United States grew by 161% and accounted for approximately 62% of the brand’s total net revenue.

Culture Kings: Founded in Australia in 2008, Culture Kings joined the a.k.a. Brands platform in March 2021. Culture Kings is a premium multi-channel retailer of streetwear apparel, footwear, headwear and accessories. The brand offers its customers a curated assortment from over one hundred leading third-party streetwear brands, as well as a large and growing portfolio of owned brands and exclusive products that embody the relationship between music, sport, art and fashion. The brand targets male consumers between the ages of 18 and 35 who are fashion conscious, highly social and digitally focused. More than 50% of Culture Kings’ products are exclusive and approximately 80% of its sales are made online. Culture Kings engages with customers through a combination of compelling, online and offline marketing strategies that leverage the latest in music, fashion, art and celebrities to create brand hype and product excitement. Culture Kings currently has eight experiential stores. It has an Instagram following of approximately 1.1 million and generates approximately 5.6 million monthly visits to the brand’s website.

 

141


Table of Contents

The brand also operates eight experiential concept stores in major cities in Australia that serve as a powerful customer acquisition tool, and provide customers a unique and immersive brand experience. The stores feature engaging in-store designs and product displays, store fronts designed by best-in-class graffiti artists, exclusive product releases including promotional products only available in-store, and event-driven in-store activations. The stores host a variety of public events and creative activities designed to instill feelings and emotions of excitement such as sneaker vending machine, basketball shooting competitions, live DJ sessions and appearances of global celebrities and tastemakers, including athletes and on-trend music artists. The brand creates digital content based on the events and activities in-store and publishes them online, generating further hype on social media. The unique in-store experience generates excitement and anticipation, driving demand and traffic online and offline, and creating customer affiliation with the Culture Kings brands, not just the products sold.

 

LOGO

Petal & Pup: Founded in Australia in 2015, Petal & Pup joined the a.k.a. Brands platform in August 2019. The brand operates exclusively online and offers an assortment of trendy, flattering, feminine styles and dresses for special occasions. The brand targets female customers typically in their 20s or 30s, with more than half of customers in the 18-34-year-old age bracket. In 2019, Petal & Pup expanded to the United States, which is now its fastest growing geography. It has an Instagram following of approximately 748,000 and generated more than 1.2 million monthly visits to the brand’s website in 2020.

Rebdolls: Founded in New Jersey in 2014, Rebdolls joined the a.k.a. Brands platform in December 2019. The brand offers apparel with a full range of sizes from 0 to 32 with an emphasis on size inclusivity. Rebdolls targets the underserved market of diverse, plus-sized women and believes that now more than ever the world needs more diversity in fashion. The typical Rebdolls customer is a diverse woman between the ages of 18 and 34. The brand has approximately 382,000 highly engaged followers on Instagram and generated approximately 0.28 million monthly visits in 2020.

Merchandising

Our brands offer a broad yet curated assortment of clothing, footwear, headwear and accessories. Collectively, we serve both female and male customers who wear our products for a wide range of occasions. A high proportion of our offerings, or over 53% across a.k.a. Brands, are proprietary and exclusive. Owned brand offerings represented 54% of total net revenues in 2020 and typically delivers a higher gross margin than that of third-party brands. The range and exclusivity of our offerings serve the diverse needs of our customers, generate excitement and promote loyalty.

 

142


Table of Contents

Our brands utilize data analytics to inform the development and curation of on-trend fashion offerings. We work with a network of suppliers to achieve rapid speed-to-market. For example, Princess Polly collects and analyzes data on purchasing patterns, conversion rates and social media signals to quickly identify best-selling products and new potential product trends in the market. The brand then makes small initial purchases of inventory and observes market signals before quickly replenishing selective winning styles often “in season” to further capitalize on their popularity. This model has also been adopted by Petal & Pup since 2020 and is being implemented for Culture Kings and Rebdolls.

In addition, the global and dual-hemisphere presence of our brands allow us the flexibility to leverage the geographic advantages inherent in our platform, including the offsetting seasons across hemispheres. We have the capability to monitor and identify emerging trends in each market and season, and then quickly introduce them across geographies. Additionally, we stock inventory in both Australia and the U.S., which enables us to carry relevant, in-season merchandise. We have the ability to manage end-of-season inventory by shipping across markets where the merchandise is in-season, enhancing our inventory productivity and further encouraging full price sell through.

Sourcing

We source our products from a network of international suppliers. Our supplier base includes 271 suppliers across 14 different countries as of May 31, 2021.

We have strong long-term relationships with our manufacturers, but we do not have any long-term commitments requiring us to purchase minimum volumes from any supplier or manufacturer. We seek to leverage our collective scale and use the same suppliers for our brands, where possible, in order to obtain more favorable terms from our suppliers. Our network of third party suppliers allows us to be capital efficient and nimble, giving us the ability to move new designs we receive from our suppliers into production and then into inventory in as few as 30-45 days, as compared to up to 9 months for traditional apparel brands.

We strategically establish sourcing relationships to ensure a constant supply of high quality, low cost inventory with a number of our suppliers exclusively manufacturing for our brands. Although we have our own design team, a number of suppliers have the capability to produce concepts and designs with no obligation for our brands to purchase. With less seasonal demand for our products, we offer our manufacturing partners predictable and consistent growth in inventory purchases throughout the year.

Customer Experience

A vast majority of our customers shop through our websites and mobile sites. All of our brands maintain mobile applications, offering more convenience for mobile shoppers. In fiscal year 2020, mobile accounted for approximately 60% of online page views across our brands. Our online shopping portals are designed to offer convenient navigation and feature editorial product pictures which facilitate product discovery and selection. Our brands’ websites and mobile platforms are based on responsive web design principles, which aim to make web pages render well on a variety of devices and window or screen sizes. These websites and mobile platforms employ technologies to create a compelling, easy-to-use shopping experience for our consumers.

 

143


Table of Contents

LOGO

Due to the high proportion of proprietary and exclusive products, we are able to standardize the sizing of our products, thereby providing better size consistency for customers. Princess Polly offers an interactive sizing tool for customers, reducing the need to purchase the same styles in multiple sizes and returning the products that do not fit. Culture Kings serves a customer base consisting of primarily male customers, who tend to return merchandise less frequently. Across a.k.a. Brands, return ratio was approximately 11% in fiscal year 2020, compared to the eCommerce average of approximately 30% according to Invesp, a consultancy specializing in conversion rate optimization, driving convenience for customers and cost savings on shipping and logistics for a.k.a.

We foster customer loyalty by offering a convenient customer experience and customer care services throughout the initial transaction, fulfillment, shipping and return processes. We have eight fulfillment centers and warehouses. Our customer service team, who interact with our customers primarily through email or instant-message, addresses questions relating to orders, deliveries and returns, and also answers questions regarding fit, color, size and other style matters to ensure customer satisfaction. Across our four websites, customers can use multiple payment methods and pay in multiple currencies. While we do not extend direct credit to our customers, we do offer third-party payment alternatives that allow our customers to make installment payments. Our inventory tracking system enables our customers to receive real-time updates regarding the status of their orders. We offer free shipping and easy returns to all of our customers and our efficient operations allow us to send a high percentage of orders on the same day, subject to certain cut-off times being met. For shipping to and from certain countries, we have worked with our delivery partners to create dedicated “shipping lanes” that have resulted in faster service and lower costs. We are also able to ship to and service customers almost anywhere in the world.

Our Marketing Approach

We grow brand awareness, acquire new customers and drive traffic through a combination of brand and performance marketing strategies which generate traffic through both unpaid and paid sources.

Unpaid Marketing

Our unpaid marketing sources can be characterized in two categories, organic and free channels. Organic traffic, which accounts for more than 60% of total traffic, is driven by direct traffic to our brands’ websites as well as customer discovery of our brands through organic search, our social media accounts and word of mouth, including other customers’ unpaid promotion of our brands on their social media accounts. We also generate

 

144


Table of Contents

traffic through other unpaid sources, which we characterize as free marketing, including personalized email marketing, SMS and mobile “push” communications through our apps. In 2020, unpaid traffic accounted for approximately 62% of total.

Brand Marketing

Our brands seek to create an authentic voice that resonates with our customers. We update our websites and social channels daily with a consistent flow of fresh and authentic editorial content created by our in-house team and our network of influencers to engage our customers and drive online traffic. For example, Princess Polly posts nine times a day on Instagram and six times a day on Instagram Stories, on average. We aim to be an early adopter of social media channels that our customers engage with by quickly adapting marketing strategies and producing channel-specific content. To date, we have built a community of over 6 million followers across multiple social media channels, including Instagram, Facebook, YouTube and TikTok.

Princess Polly partners with an extensive network of approximately 10,000 influencers globally. The brand focuses on influencers with small and mid-sized followings, who tend to have an emotional connection with our brand and feature our products in an authentic way that resonates with our customers. In some cases, the brand partners with emerging influencers to create dedicated content for them to publish to their audience. The brand monitors the performance and effectiveness of its influencer network. We believe our influencer strategy not only creates a deeper relationship with our customers, but also diversifies the potential risk associated with individual celebrity or macro influencer endorsements. Leveraging learnings from Princess Polly, Culture Kings also began its own social media marketing program recently and has achieved early success.

Culture Kings complements online marketing with eight highly experiential retail stores in Australia. The stores feature a variety of public events and host creative activities that combine music, sports, art and fashion to engage our customers. The digital content created based on in-store activities further drives online traffic. We believe this event-driven retail strategy cultivates a unique emotional connection directly with the Culture Kings brand, not just the products it sells. Based on an internal customer survey of 728 customers conducted in November 2020. Approximately 40% of Culture Kings customers in Australia made their first purchase after visiting a retail store.

Our recently introduced VIP and Loyalty programs focus on customer retention and drive increased customer lifetime value. While in the early stages, Princess Polly’s loyalty program has already attracted over 1.1 million members since it launched in 2020. Through these programs we communicate directly with our top customers, providing them an exclusive experience with unique discounts, incentives, early product look features and access to events.

Performance Marketing

While brand marketing is central to our marketing strategy, approximately 60-65% of our marketing expense is devoted to performance marketing efforts. We acquire and retain customers through retargeting, paid search/product listing ads, affiliate marketing and paid social. At Culture Kings, our google analytics strategy allows us to efficiently list highly anticipated product drops. This strategy drives customer acquisition while we then largely focus retention efforts through our other marketing channels.

Our Technology Infrastructure

Our next-generation brands are built on a modern, flexible and scalable technology infrastructure which leverages a broad network of best-in-class, third-party technology providers. We then combine that customized presentation layer with the backend engine from Shopify, which is a proven and industry leading eCommerce solution. By pairing our own in-house technology with cloud software, we have been able to create a truly differentiated user experience that we can adjust as necessary while also leveraging engineering talent from some

 

145


Table of Contents

of the best SaaS companies in the world to scale rapidly and efficiently. Our cloud-based, SaaS native strategy allows us to adopt innovative, dynamic technology and capabilities with limited upfront investment and nimbly adopt market-leading technologies as they are introduced. We consider this to be a key differentiating factor compared to traditional retail proprietary technology stacks and for which switching to a more agile cloud-based SaaS solution could be too costly and risky.

Our technology infrastructure integrates seamlessly across our organization, connecting in a way that allows constant iteration and improvement. We leverage highly customizable solutions to provide customers optimal improved experiences, while limiting the costs and time required of custom bespoke solutions. This approach allows us to easily test new capabilities on a limited and low-cost basis, analyze and learn from the results, and then roll out more broadly if successful. We are leveraging our technology infrastructure to accelerate our scale and growth and drive efficiencies in areas spanning marketing, merchandising, customer experience, supply chain, operations and administration.

People & Culture

We promote a holistic approach to building our team and have created a culture that is inclusive, diverse and high performing. We seek out and hire team members who bring specialized expertise while being able to work across functions and disciplines. Our culture promotes accountability, empowers team members to drive the business forward daily, stresses a bias toward action and embraces the individuality of each team member.

Attracting, motivating and retaining passionate talent at all levels is vital to continuing our success. We actively look for talented people across multiple geographies and promote a “work from anywhere” approach, which allows us to maintain a lean physical footprint and employ offices as team collaboration hubs. We continuously work to improve the team member experience to drive retention and engagement. None of our employees are represented by a labor union or covered by a collective bargaining agreement.

As of December 31, 2020, across a.k.a. Brands, we had 1,124 full-time employees. Approximately 92% of the Company’s workforce is located in Australia, with the remaining 8% located in the United States. On a limited basis, we may use temporary personnel to supplement our workforce as business needs arise. We are proud to have a diverse workforce, with 62% of our global team identifying as female and 53% of our United States team identifying as a member of a diverse community as of December 31, 2020.

Seasonality

We typically achieve our largest quarterly revenues in the fourth fiscal quarter. In fiscal year 2020, our net revenues in the first, second, third and fourth quarters represented 16%, 22%, 29% and 33%, respectively, of our total net revenues for the year. In fiscal year 2019, our net revenues in the first, second, third and fourth quarters represented 17%, 20%, 30% and 33%, respectively, of our total net revenues for the year. Revenues are typically higher during the months of November and December driven by higher holiday season spending.

Competition

We compete in the rapidly evolving online and offline retail markets generally. Our primary competitors include:

 

   

eCommerce companies that market apparel, shoes and accessories (in particular, other digitally-native direct-to-consumer brands) as well as eCommerce websites of traditional retailers

 

   

In-person stores such as local, national and global department stores, discount chains, specialty retailers and fashion boutiques

We believe our highly tailored product offering, including exclusive styles, product quality, relevance, convenience and ease of use provide a favorable consumer experience. With an AOV of $81 in 2020 across a.k.a.

 

146


Table of Contents

Brands, we believe our price point falls in the middle of the range relative to lower-priced and premium peers and is accessible across a large audience of consumers. Further, we believe we are well-positioned within the competitive retail industry given our digital focus as consumers rapidly shift to shopping online.

Intellectual Property

We primarily protect our intellectual property through the trademark, copyright and trade secret laws of Australia and the United States. As of December 31, 2020, we owned approximately 31 trademark registrations, approximately 42 trademark applications and approximately 17 Internet domain names. Although we have not sought copyright registration for our technology or works to date, we rely on common law copyright and trade secret protections in relation to our proprietary technology, products and the content displayed on our websites, including our photography and fabric prints that we design. Our trademarks, including domain names, are material to our business and brand identity.

In addition to the protections provided by our intellectual property rights, we enter into confidentiality agreements with our employees, consultants, contractors and business partners. We further control the use of our technology and intellectual property through provisions in both our client terms of use on our website and in our vendor terms and conditions.

Sustainability and Responsible Fashion

a.k.a. Brands promotes sustainable, responsible and inclusive fashion and does so by focusing on four key areas: ethical sourcing, sustainable products, protecting the planet and equality and community.

Ethical sourcing: we aim to promote a safe and respected environment for workers who make our products and protect their human rights. For example, in 2021 Princess Polly became a participant of the United Nations Global Compact, and aligned our Earth Club mission with the United Nations Sustainable Development Goals (SDGs). Princess Polly’s program is built on 6 dimensions (Human Rights Policy, Code of Conduct, Ethical Sourcing Guidelines, Child and Force Labour Policy, Manufacturing and Packaging Guidelines, and Animal Welfare Policy), and aims to create adherence with suppliers and awareness with customers. Princess Polly requires all suppliers to adhere to its Human Rights Policy and requires all production factories to register with the Supplier Ethical Data Exchange (SEDEX). We work closely with our manufacturing partners to ensure a high standard of working conditions. Currently, 100% of Princess Polly products are produced in factories that have a valid SEDEX Members Ethical Trade audit. We are devoted to making continual progress towards our commitments and being transparent along the way, as well as extending the best practice of ethical sourcing to our other brands.

Sustainable products: we design products that put people, animals and the planet first. To that end, we aim to use sustainable materials for our products. At Princess Polly we use six main materials in all products including polyester, cotton, viscose, metals, nylon and acrylic. We are committed to working with our supply chain to source lower-impact alternatives for each of these materials, and to certify our factories to create lower-impact products. As part of this initiative, in February 2021 we released our first Princess Polly Earth Club Edit made from lower-impact materials, including organically grown cotton and recycled polyurethane. We are aiming to have over 20% of our products made with lower-impact materials by 2022, 60% by 2025, and 100% before 2030.

Protect the planet: by promoting circularity and improving the environmental impact of our packaging, business operations and factories. Our business model limits waste generation in our supply chain. Our real-time, demand-driven and automated ordering system allows production to track demand as accurately as possible. This high velocity, low wastage strategy allows us to avoid wastefulness.

Equality and community: We are committed to instilling an inclusive culture and promoting diversity across our brands. As such, we aim to represent the diversity of our customers in our marketing and offer the right

 

147


Table of Contents

product to serve their unique demand. Our brands Rebdolls and Culture Kings address the traditionally underserved yet fast-growing markets of plus-size female and men’s fashion, respectively. Rebdolls carries sizes 0 to 32 and approximately 70% of its customers are Black. 56% of Culture Kings’ customers are men and we believe a majority of its customers are ethnic minorities.

Properties

We lease two offices in Los Angeles, California, one office in Newark, New Jersey, three offices in Queensland, Australia, and our corporate headquarters is located at 100 Montgomery Street, Suite 1600, San Francisco, California 94104 (approximately 4,867 square feet). We lease and operate three distribution centers in Australia, but use third parties in the United States. The three distribution centers have lease terms expiring from April 2022 to September 2024. All have sufficient renewal periods. Culture Kings leases and operates seven physical retail stores in Australia. The seven retail stores have lease terms expiring from January 2023 to August 2031.

Legal Proceedings

We are subject to legal proceedings which arise in the ordinary course of business. In the opinion of management, the amount of ultimate liability with respect to these legal proceedings will not have a material adverse impact on our financial position or results of operations and cash flows. While we currently believe that the ultimate outcome of such legal proceedings, individually and in the aggregate, will not have a material adverse effect on our financial position or results of operations, litigation is subject to inherent uncertainties. If an unfavorable ruling were to occur, there exists the possibility of a material adverse impact on our results of operations in the period in which the ruling occurs. The estimate of the potential impact from such legal proceedings on our financial position or results of operations could change in the future.

Government Regulation

Our business is subject to a number of domestic and foreign laws and regulations that affect companies conducting business on the Internet, many of which are still evolving and could be interpreted in ways that could harm our business. These laws and regulations include federal and state consumer protection laws and regulations (including the General Data Protection Regulation in the European Union), which address, among other things, the processing of payments, privacy, data protection, information security, sending of commercial email and other laws regarding unfair and deceptive trade practices. We are also subject to laws and regulations governing the accessibility of our websites, including under the Americans with Disabilities Act.

Our business is also subject to additional laws and regulations, including restrictions on imports from, exports to, and services provided to persons located in certain countries and territories, as well as foreign laws and regulations addressing topics such as advertising and marketing practices, customs duties and taxes and consumer rights, any of which might apply by virtue of our operations in foreign countries and territories or our contacts with consumers in such foreign countries and territories.

In addition, apparel, shoes and accessories sold by us are also subject to regulation by governmental agencies in Australia, New Zealand and the United States, as well as various other federal, state, local and foreign regulatory authorities. These laws and regulations principally relate to the ingredients, proper labeling, advertising, marketing, manufacture, licensing requirements, flammability testing, safety, shipment and disposal of our products. We are also subject to laws, rules and regulations relating to the operations of our stores and warehouses.

We are also subject to environmental laws, rules and regulations. Similarly, apparel, shoes and accessories sold by us are also subject to import regulations in the United States and other countries concerning the use of wildlife products for commercial and non-commercial trade. We do not estimate any significant capital expenditures for environmental control matters either in the current fiscal year or in the near future.

For more information about laws and regulations applicable to our business, see “Risk Factors–Risks Relating to Laws and Regulation.”

 

148


Table of Contents

MANAGEMENT

Below is a list of the names, ages, positions and a brief account of the business experience of the individuals who serve as our executive officers, directors and director nominees who are expected to become directors prior to completion of this offering:

 

Name

  

Age

  

Position(s)

Jill Ramsey    49    Chief Executive Officer and Director
Ciaran Long    49    Chief Financial Officer
John Gonneville    30    Vice President of Strategy and M&A
Michael Trembley    43    Chief Information Officer and Senior Vice President of Operations
Jonathan Harvey    39    Senior Vice President of People
Wesley Bryett   

40

   Director Nominee
Christopher Dean    47    Director Nominee (Chairman)
Matthew Hamilton    37    Director Nominee
Myles McCormick    49    Director Nominee
Kelly Thompson    51    Director Nominee

Executive Officers

Jill Ramsey joined us in May 2020 as our CEO and currently serves as the sole director of a.k.a. Brands Holding Corp. Prior to joining the company, Ms. Ramsey served as Chief Product and Digital Revenue Officer at Macy’s, Inc. from December 2017 to April 2020, where she led macys.com and the Macy’s mobile app. During her tenure, she drove a transformational change toward a more digital, agile, data and customer centric culture. Prior to Macy’s, she served as a Vice President of Merchandising at eBay from November 2015 to December 2017, where she led all eBay vertical businesses (excluding automotive) and merchandising support functions. Ms. Ramsey also spent 15 years at Walmart in eCommerce, leading merchandising across various categories. Ms. Ramsey serves on the Board of Directors for Flexco, a global manufacturer of conveyor belt products. She also serves on their Governance and Compensation Committees. We believe that Ms. Ramsey’s previous directorship experience and her extensive leadership experience in the fashion, eCommerce, and merchandising industry qualifies her to serve as a director on the board. Ms. Ramsey holds an MBA in eCommerce and Strategy from Northwestern University, Kellogg School of Management, and received a B.A. in English Language and Literature from the University of Chicago.

Ciaran Long joined us in April 2021 as our CFO. Mr. Long is a strategic leader with over 20 years of experience developing and managing high performance, cross-functional teams geared toward driving organizational growth and change. Immediately prior to joining a.k.a. Brands, Mr. Long served as Chief Financial Officer at Samsclub.com, a multi-billion-dollar omnichannel business, and Vice President of Finance for Membership, Marketing and Supply Chain at Sam’s Club, a division of Walmart, since November 2017. During his seven-year tenure at Walmart, Inc. he held numerous leadership positions within Walmart’s eCommerce division between September 2014 and 2021, including Vice President Finance – Merchandising, and Vice President of Finance – Supply Chain, Customer Care and Payments. Mr. Long joined Walmart after Co-founding CleanGrow, a company that developed new sensor technology to measure key water quality parameters, where he managed the company from April 2009 to August 2014. Mr. Long is a qualified Irish Chartered Accountant.

John Gonneville has been a part of our team since 2018 as a member of the co-founding team at Summit. In July 2020, he joined us full-time as VP of Strategy and M&A. As an investor at Summit, he focused on consumer and eCommerce and deployed over $300 million of equity in proprietary deals. Mr. Gonneville played an integral role in our formation, including identifying and executing the investments in Princess Polly, Petal & Pup and Rebdolls. Before joining Summit, Mr. Gonneville began his career at Barclays Investment Bank, where he advised on capital raising and M&A transactions from 2014 to 2016. Mr. Gonneville holds a B.S. in Finance and Information Systems from Boston College.

 

149


Table of Contents

Michael Trembley joined us in September 2020 as CIO & SVP of Operations. Mr. Trembley brings more than 20 years of experience in leveraging technology platforms and leading operations in eCommerce, retail and digital consumer services. Prior to joining a.k.a., Mr. Trembley served as Vice President of Product Management at Macy’s from April 2018 to March 2020, where he led the evolution and scaling of merchant and vendor technology platforms and was the business and operations owner for drop-ship and marketplace businesses. Before Macy’s, he spent thirteen years at Walmart in a variety of roles between January 2005 and March 2018. Most recently, Mr. Trembley served as the Vice President of Marketplace and Partner Services for Walmart, where he led the strategy, platform development and operations of the third-party marketplace and drop-ship businesses from March 2017 to March 2018. Mr. Trembley currently serves as Board Advisor to Brand3P, helping leading brands deploy eCommerce and marketplaces retail strategies. He received a B.S. in Business Administration from the University of Arizona, Eller College of Management.

Jonathan Harvey joined us as SVP & Head of People in June 2019. Mr. Harvey has global experience spanning multiple formats with overall accountability for human resources strategy, employee relations, union avoidance/relations programs, training design & implementation, leadership development, performance management, talent acquisition & retention (all levels), compensation planning, benefits administration, change management, executive coaching, human resource information systems and global human resources support. Previously, Mr. Harvey served as Vice President of Human Resources and Customer Care at Fashion Nova from January 2017 to May 2019, where he helped the organization scale from less than 100 employees to over 1,200. Prior to that, Mr. Harvey served as the VP of HR for Bluestem Brands/Orchard Brands between March 2015 and January 2017. Mr. Harvey’s experience extends over 15 years, which included progressive HR leadership roles at various brands and retailers, including Body Central, Forever 21, CVS/Long Drugs, and Target. Mr. Harvey holds a Bachelor of Business Administration, Human Resources Concentration, from Southern New Hampshire University and a B.A. in Human Resources, Hospitality Management and Communications from California State Polytechnic University, Pomona.

Director Nominees

Wesley Bryett is expected to serve on our Board upon the completion of this offering. Mr. Bryett co-founded the Princess Polly online business in 2010 with Eirin Bryett. He has served as the company’s co-CEO since its founding. Prior to founding Princess Polly, Mr. Bryett founded a web consultancy firm, New Business Media, where he worked from 2004 until 2010. We believe Mr. Bryett’s extensive executive leadership experience in the fashion and eCommerce industries qualifies him to serve as a director on the board. Mr. Bryett holds a Bachelor of Information Technology Degree from Griffith University Australia.

Christopher Dean is expected to serve as the Chairman of our Board upon the completion of this offering and has served as a Managing Director at Summit since 2001, where he co-leads the Growth Products & Services team. Mr. Dean currently serves on the boards of Brooklinen, Champion Windows, EngageSmart, FORMA Brands, Quay Australia, Salient Partners, ShipMonk and Vestmark Financial. His prior directorships include Focus Financial Partners (NYSE: FOCS), Investor Management Services (acquired by RealPage, NASDAQ: RP), optionsXpress (NASDAQ: OXPS, acquired by Charles Schwab, NYSE: SCHW), Progressive Finance (acquired by Aaron’s, NYSE: AAN), PSC Info Group (acquired by Roark Capital), Senior Home Care (acquired by Oaktree Capital) and Sun Trading (acquired by Hudson Trading). Prior to his time at Summit, Mr. Dean worked for Morgan Stanley, J.H. Whitney & Co. and Sun Microsystems. We believe Mr. Dean’s prior directorship experience and his deep knowledge of the Company’s business, strengths and opportunities qualifies him to serve as a director of the board. Mr. Dean holds a B.A. from the University of Notre Dame and an MBA from Harvard Business School.

Matthew Hamilton is expected to serve on our Board upon the completion of this offering. Mr. Hamilton has served as a Managing Director at Summit Partners since 2005, where he is focused on consumer-ecommerce, financial technology and services. His investment and board experience includes EngageSmart, Flow Traders (Euronext: FLOW), Focus Financial Partners (acquired by KKR and Stone Point Capital), FORMA Brands,

 

150


Table of Contents

Patriot Growth Insurance Services, Progressive Finance (acquired by Aaron’s), Quay Australia, Salient Partners, Snap Finance, Solo Stove, Telerik (acquired by Progress Software) and Vestmark Financial. Prior to his time at Summit, Mr. Hamilton worked for Senator Olympia Snowe in the United States Senate from 2003 to 2005. We believe Mr. Hamilton’s directorship experience qualifies him to serve as a director of the board. Mr. Hamilton holds a B.A. in Economics from Colby College.

Myles McCormick is expected to serve on our Board upon the completion of this offering and brings over a decade of experience in the fashion and beauty industry. Since August 2019, Mr. McCormick has served as CEO of FORMA Brands, an incubator, accelerator and curator of next-generation beauty brands. Prior to becoming the CEO of FORMA, Mr. McCormick co-founded Elevate BrandPartners with Summit Partners, and served as the company’s chairman and CEO from August 2016 to August 2019. In this capacity, Mr. McCormick led early investments in Morphe Cosmetics and Quay Australia. Prior to forming Elevate, he served as CFO, COO and CEO of Bare Escentuals between December 2004 and March 2012, where he was credited with leading the company through a $1.8 billion acquisition by Shiseido of Japan. Prior to joining Bare Escentuals, Mr. McCormick was the CFO of The Gymboree Corporation, a public children’s specialty retailer. Mr. McCormick also sits on the boards of FORMA Brands and Quay Australia. We believe Mr. McCormick’s extensive executive leadership experience in the fashion and beauty industries qualifies him to serve as a director on the board. Mr. McCormick holds a B.S. in Economics from California Polytechnic State University, San Luis Obispo and an MBA from Notre Dame de Namur University.

Kelly Thompson is expected to serve on our Board upon the completion of this offering. Ms. Thompson currently serves on the Board of Directors for Turtle Beach Corporation, a leader in gaming accessories, and is a member of the Nominating & Governance Committee, a position she has held since August 2019. She also serves on the Board of Directors for First Hawaiian, Inc., a publicly traded bank holding company headquartered in Honolulu, Hawaii, and its wholly owned bank subsidiary, First Hawaiian Bank. Additionally, she serves on the Board of Directors for Bolt Threads, a sustainable biomaterial solutions company based in the San Francisco Bay Area. Previously, Ms. Thompson served as SVP and COO at Samsclub.com, during which time she served as a member of the Sam’s Club Leadership Committee and was responsible for a multi-billion-dollar omnichannel P&L as well as the “Digital” strategic workstream. Prior to that, Ms. Thompson served as Senior Vice President, Global Category Development for Walmart eCommerce and Senior Vice President, Merchandising, Planning and Marketplace for Walmart.com for 8 years. Additionally, she spent 10 years in key merchandising leadership roles at Gap, Inc. We believe Ms. Thompson’s directorship experience, coupled with her leadership experience in high growth eCommerce roles, qualify her to serve as a director on the board. Ms. Thompson holds a B.S. in Biology/Animal Physiology and Neuroscience from the University of California, San Diego.

Controlled Company Status

After completion of this offering, our Principal Stockholder will control a majority of our outstanding common stock. As a result, we will be a “controlled company.” Under NYSE rules, a company of which more than 50% of the voting power for the election of directors is held by an individual, group or another company is a “controlled company” and may elect not to comply with certain NYSE corporate governance requirements, including the requirements that, within one year of the date of the listing of our common stock:

 

   

we have a board that is composed of a majority of “independent directors,” as defined under the rules of such exchange;

 

   

we have a compensation committee that is composed entirely of independent directors; and

 

   

we have a nominating and corporate governance committee that is composed entirely of independent directors.

Following this offering, we intend to rely on this exemption. As a result, we may not have a majority of independent directors on our Board. In addition, our Compensation and Nominating and Corporate Governance

 

151


Table of Contents

Committees may not consist entirely of independent directors or be subject to annual performance evaluations. Accordingly, you may not have the same protections afforded to stockholders of companies that are subject to all of the NYSE corporate governance requirements.

Director Independence

Our Board affirmatively determined that Christopher Dean, Matthew Hamilton, Myles McCormick and Kelly Thompson are independent for purposes of all applicable NYSE listing standards. Our Board has also determined that Myles McCormick and Kelly Thompson are “independent” under the heightened independence standards for audit committee service and the heightened independence standards for purposes of compensation committee service.

Classification of Board of Directors

Our certificate of incorporation will provide that our board of directors will be divided into three classes of directors, with the classes as nearly equal in number as possible. Upon completion of this offering, our directors will be divided among the three classes as follows:

 

   

class I directors, who will be Matthew Hamilton and Christopher Dean, whose initial term will expire at the first annual meeting of the stockholders occurring after this offering;

 

   

class II directors, who will be Kelly Thompson and Wesley Bryett, whose initial term will expire at the second annual meeting of the stockholders occurring after this offering; and

 

   

class III directors, who will be Myles McCormick and Jill Ramsey, whose initial term will expire at the third annual meeting of the stockholders occurring after this offering.

Directors in a particular class will be elected for three-year terms at the annual meeting of stockholders in the year in which their terms expire. As a result, only one class of directors will be elected at each annual meeting of our stockholders, with the other classes continuing for the remainder of their respective three-year terms. Each director’s term continues until the election and qualification of his or her successor, or his or her earlier death, resignation or removal.

Board Committees

Upon completion of this offering, our board of directors will have three standing committees: an Audit Committee, a Compensation Committee and a Nominating and Corporate Governance Committee. Each of the committees will report to the board of directors as they deem appropriate, and as the board of directors may request. The expected composition, duties and responsibilities of these committees are set forth below. In the future, our board of directors may establish other committees, as it deems appropriate, to assist it with its responsibilities.

Audit Committee

The Audit Committee is responsible for, among other matters: (1) appointing, compensating, retaining, overseeing and terminating our independent registered public accounting firm; (2) reviewing our independent registered public accounting firm’s independence from management; (3) reviewing with our independent registered public accounting firm the scope of their audit; (4) approving all audit and permissible non-audit services to be performed by our independent registered public accounting firm; (5) overseeing the financial reporting process and discussing with management and our independent registered public accounting firm the interim and annual consolidated financial statements that we file with the SEC; (6) our selection and application of accounting principles, accounting policies, financial reporting processes and controls and compliance with applicable legal and regulatory requirements; (7) establishing procedures for the confidential anonymous

 

152


Table of Contents

submission of concerns regarding questionable accounting, internal controls or auditing matters; (8) reviewing and approving related party transactions; and (9) reviewing and discussing policies and guidelines with respect to risk assessment and risk management.

Upon completion of this offering, our Audit Committee will consist of Myles McCormick, Christopher Dean and Matthew Hamilton, with Mr. McCormick serving as chair of the committee. The SEC rules and NYSE rules require us to have one independent Audit Committee member upon the listing of our common stock on the NYSE, a majority of independent directors within 90 days of the date of this prospectus and all independent Audit Committee members within one year of the date of this prospectus. Our board of directors has affirmatively determined that Mr. McCormick meets the definition of “independent director” for purposes of serving on the Audit Committee under applicable SEC and NYSE rules, and we intend to comply with these independence requirements within the time periods specified. In addition, Mr. McCormick will qualify as our “audit committee financial expert,” as such term is defined in Item 407 of Regulation S-K.

Our board of directors will adopt a new written certificate of incorporation for the Audit Committee, which will be publicly available on our website at www.aka-brands.com upon the completion of this offering.

Compensation Committee

The Compensation Committee will be responsible for, among other matters: (1) reviewing and approving executive officer compensation goals, objectives and plans; (2) reviewing and recommending the compensation of our directors; (3) reviewing and approving employment agreements, severance arrangements and change in control agreements/provisions between us and our executive officers; and (4) administering our stock plans and other incentive compensation plans.

Upon completion of this offering, our Compensation Committee will consist of Myles McCormick, Christopher Dean and Matthew Hamilton, with Mr. Hamilton serving as chair of the committee. The SEC rules and NYSE rules require us to have one independent Compensation Committee member upon the listing of our common stock on the NYSE, a majority of independent directors within 90 days of the date of this prospectus and all independent Compensation Committee members within one year of the date of this prospectus. Our board of directors has affirmatively determined that Messrs. McCormick, Dean and Hamilton meet the definition of “independent director” for purposes of serving on the Compensation Committee under applicable SEC and NYSE rules, and we intend to comply with these independence requirements within the time periods specified. Our board of directors will adopt a new written certificate of incorporation for the Compensation Committee, which will be publicly available on our website at www.aka-brands.com upon the completion of this offering.

Nominating and Corporate Governance Committee

The Nominating and Corporate Governance Committee will be responsible for, among other matters: (1) identifying individuals qualified to become members of our board of directors, consistent with criteria approved by our board of directors; (2) overseeing the organization of our board of directors to discharge the Board’s duties and responsibilities properly and efficiently; (3) identifying best practices and recommending corporate governance principles; and (4) developing and recommending to our board of directors a set of corporate governance guidelines and principles applicable to us.

Upon completion of this offering, our Nominating and Corporate Governance Committee will consist of Christopher Dean, Kelly Thompson and Jill Ramsey, with Mr. Dean serving as chair of the committee. The SEC rules and NYSE rules require us to have one independent Nominating and Corporate Governance Committee member upon the listing of our common stock on the NYSE, a majority of independent directors within 90 days of the date of this prospectus and all independent Nominating and Corporate Governance Committee members within one year of the date of this prospectus. Our board of directors has affirmatively determined that Mr. Dean and Ms. Thompson meet the definition of “independent director” for purposes of serving on the Nominating and

 

153


Table of Contents

Corporate Governance Committee under applicable SEC and NYSE rules, and we intend to comply with these independence requirements within the time periods specified.

Our board of directors will adopt a written charter for the Nominating and Corporate Governance Committee, which will be publicly available on our website at www.aka-brands.com upon the completion of this offering.

Compensation Committee Interlocks and Insider Participation

Myles McCormick, Christopher Dean and Matthew Hamilton will be members of our Compensation Committee, and none of them is or has been our officer or employee. New Excelerate, L.P. is the principal stockholder of the Company. For a description of the transactions between us and Summit Partners, see “Certain Relationships and Related Transactions.” Apart from these relationships, no member of the Compensation Committee has any relationship that would be required to be reported under Item 404 of Regulation S-K. No member of the Compensation Committee serves or served during the fiscal year as a member of the board of directors or compensation committee of a company that has one or more executive officers serving as a member of our board of directors or Compensation Committee.

Code of Conduct

We have adopted a code of conduct and ethics that applies to our directors, officers and employees, including our principal executive officer and our principal financial and accounting officer. The code of conduct and ethics will be publicly available on our website at www.aka-brands.com. If we make any substantive amendments, or grant any waiver from a provision of the code of conduct to our chief executive officer, chief financial officer or principal accounting officer, we will disclose the nature of such amendment or waiver on our website or in a current report on Form 8-K.

 

154


Table of Contents

EXECUTIVE COMPENSATION

The following section provides compensation information pursuant to the scaled disclosure rules applicable to “emerging growth companies” under the rules of the SEC and may contain statements regarding future individual and company performance targets and goals. These targets and goals are disclosed in the limited context of the Company’s executive compensation program and should not be understood to be statements of management’s expectations or estimates of results or other guidance. We specifically caution investors not to apply these statements to other contexts.

Our “named executive officers” for 2020, who consist of our principal executive officer, our two other most highly compensated executive officers and two additional individuals who would have been our two other most highly compensated executive officers but for the fact that they were not serving as our executive officers as of the end of 2020, are:

 

   

Jill Ramsey, our Chief Executive Officer(1);

 

   

Jonathan Harvey, our Senior Vice President of People;

 

   

Michael Trembley, our Chief Information Officer and SVP of Operations;

 

   

Shih-Fong Wang, our former Chief Financial Officer(2); and

 

   

Donald Allen, our former Chief Information Officer(3).

 

(1)

In May 2020, Ms. Ramsey was appointed as our Chief Executive Officer.

(2)

On December 4, 2020, Ms. Wang ceased to serve as our Chief Financial Officer.

(3)

On September 25, 2020, Mr. Allen ceased to serve as our Chief Information Officer.

Objectives of Our Compensation Program; How We Set Compensation

Our compensation objectives have been to recruit and retain a talented team of employees to grow and develop our business, and to reward those employees for accomplishments related to our growth and development.

Historically, we have not had a compensation committee, and the board of directors of a.k.a. Brands determined the compensation for our Chief Executive Officer and, based on the recommendations of our Chief Executive Officer, the rest of our management team. In setting compensation, our Chief Executive Officer and the board of directors of a.k.a. Brands did not seek to allocate long-term and current compensation, or cash and non-cash compensation, in any particular percentage. Instead, they reviewed each element of compensation independently and determined the appropriate amount for each element, as discussed below. Neither management nor the board of directors of a.k.a. Brands engaged a compensation consultant during 2020. We believe our historical compensation-setting processes have been effective for a privately-held company, but we expect our Compensation Committee to reevaluate our compensation-setting processes following this offering. See “—Our Anticipated Executive Compensation Program Following this Offering.”

2020 Elements of Compensation

The key elements of compensation for our named executive officers in 2020 were base salary, annual cash bonuses and incentive equity awards. Annual cash bonuses and incentive equity awards represent the performance-based elements of our compensation program. Set forth below is a summary of these key elements of compensation.

Base Salaries

Each of our named executive officers receives a base salary. Base salary is a key, fixed element of each named executive officer’s compensation and is intended to recognize the named executive officer’s experience,

 

155


Table of Contents

skills, knowledge and responsibilities. Each named executive officer’s base salary for 2020 is set forth in the table below.

 

Name

   Annual Base Salary Rate
($)
 

Jill Ramsey

     565,000  

Jonathan Harvey

     236,250  

Michael Trembley

     325,000  

Shih-Fong Wang

     268,500  

Donald Allen

     278,500  

Annual Cash Bonuses

Each of our named executive officers had the opportunity to earn an annual cash bonus for 2020. Each named executive officer’s target annual cash bonus opportunity for 2020 is set forth in the table below.

 

Name

   Target Annual Cash Bonus
(% of Annual Base Salary)
 

Jill Ramsey

     77  

Jonathan Harvey

     40  

Michael Trembley

     40  

Shih-Fong Wang

     40  

Donald Allen

     40  

Other Benefits

We maintain a 401(k) plan, which is a tax-qualified retirement savings plan, and make matching contributions thereunder in an amount equal to 100% of the first 5% of an employee’s eligible pay contributions (up to the annual compensation limits). Each of our named executive officers is eligible to participate in our 401(k) plan.

2020 Summary Compensation Table

The following table sets forth the cash and other compensation that we paid to our named executive officers, or that was otherwise earned by our named executive officers, for their services in all capacities during 2020.

 

Name and Principal Position

   Year      Salary
($)
     Equity
Awards
($)(1)
     Non-Equity
Incentive Plan
Compensation
($)(2)
     All Other
Compensation
($)(3)
     Total
($)
 

Jill Ramsey

Chief Executive Officer

     2020        371,973        6,589,955        377,339        20,427        7,359,694  

Jonathan Harvey

Senior Vice President of People

     2020        249,387        —          122,850        19,936        392,173  

Michael Trembley

Chief Information Officer and SVP of Operations

     2020        94,950        1,986,305        50,436        84        2,131,775  

Shih-Fong Wang

Former Chief Financial Officer

     2020        267,134        —          107,400        48,314        422,848  

Donald Allen

Former Chief Information Officer

     2020        222,717        —          —          120,487        343,204  

 

(1)

The amounts reported in the Equity Awards column represent the grant date fair value of the incentive units of Excelerate, L.P. (the “Incentive Units”) granted to the named executive officers, as computed in

 

156


Table of Contents
  accordance with the Financial Accounting Standards Board Accounting Standards Codification Topic 718. The Incentive Units are intended to constitute “profits interests” for U.S. federal income tax purposes. Despite the fact that the Incentive Units do not require the payment of an exercise price, they are most similar economically to stock options. Accordingly, they are classified as “options” under the definition provided in Item 402(a)(6)(i) of Regulation S-K as an instrument with an “option-like feature.” The assumptions used in calculating the grant date fair value of the Incentive Units reported in the Equity Awards column are set forth in Note F-12 to the consolidated financial statements included elsewhere in this prospectus. The amounts reported in this column reflect the accounting cost for these Incentive Units and do not correspond to the actual economic value that may be received by the named executive officers for such Incentive Units.
(2)

The amounts reported in the Non-Equity Incentive Plan Compensation column reflect annual and discretionary bonuses paid to the named executive officers under their respective employment agreements with respect to the fiscal year ended December 31, 2020. See the section titled “Employment Agreements” below for additional details.

(3)

The amounts reported in the All Other Compensation column are detailed in the table below:

 

Name

   Year      401(k)
Match
($)(a)
     Benefit
Premiums
($)(b)
     Vacation
Payout

($)(c)
     Severance
($)(d)
     Total
($)
 

Jill Ramsey

     2020        —          20,427        —          —          20,427  

Jonathan Harvey

     2020        12,671        7,265        —          —          19,936  

Michael Trembley

     2020        —          84        —          —          84  

Shih-Fong Wang

     2020        4,549        9,744        23,694        10,327        48,314  

Donald Allen

     2020        14,250        27,007        14,961        64,269        120,487  

 

(a)

The amounts reported in the 401(k) Match column reflect the 401(k) plan matching contributions made on behalf of the named executive officers during the fiscal year ended December 31, 2020. See the section titled “2020 Elements of Compensation—Other Benefits” above for additional information regarding 401(k) plan contributions.

(b)

The amounts reported in the Benefit Premiums column reflect payments for premiums for the following benefits for each named executive officer: life insurance and accidental death and dismemberment insurance, an employee assistance program, short-term disability insurance and long-term disability insurance.

(c)

The amounts reported in the Vacation Payout column reflect payments in lieu of accrued but unused vacation time, which were paid to Ms. Wang, following her December 4, 2020 termination, and Mr. Allen, following his September 25, 2020 termination.

(d)

The amounts reported in the Severance column reflect severance payments made to Ms. Wang, following her December 4, 2020 termination, and Mr. Allen, following his September 25, 2020 termination. See the section titled “Payments Upon Termination” below for additional information regarding Ms. Wang’s and Mr. Allen’s severance payments.

Pursuant to the Reorganization, holders of Incentive Units will exchange their existing Incentive Units of Excelerate, L.P. for incentive units of New Excelerate, L.P. with the same terms and conditions. See “Reorganization Transactions” and “Unaudited Pro Forma Financial Information” for more information.

Employment Agreements

We are party to employment agreements with each of Ms. Ramsey, Mr. Harvey and Mr. Trembley. The employment agreements with Ms. Ramsey and Mr. Trembley were entered into on April 21, 2020 and on October 15, 2020, respectively, and have initial employment terms of four years and five years, respectively, and the employment agreement with Mr. Harvey was entered into on June 1, 2019 and has an initial employment term of five years. Each employment agreement provides for automatic annual renewals following the end of the initial employment term, unless either party provides at least 60 days’ prior notice of non-renewal, but also may

 

157


Table of Contents

be terminated at any time by either party prior to the end of the employment term. The employment agreements provide, among other things: (i) the annual base salaries for Ms. Ramsey, Mr. Harvey and Mr. Trembley, currently set at $565,000, $236,250 and $325,000, respectively (subject to increases from time to time in the sole discretion of the board of directors of a.k.a. Brands); (ii) a target annual performance bonus opportunity for Ms. Ramsey, Mr. Harvey and Mr. Trembley, currently set at 77%, 40% and 40% of the named executive officer’s annual base salary, respectively; (iii) a grant of Incentive Units (as described below); and (iv) eligibility to participate in any employee benefit plans that we may have in effect from time to time for our executive-level personnel.

The employment agreements provide certain severance benefits to each named executive officer upon his or her termination of employment by us without “cause” or, in the case of Ms. Ramsey, by her for “good reason” or due to the Company’s non-renewal of her employment agreement term (as such terms are defined in the applicable employment agreement and summarized below). For a description of such severance benefits, see the section titled “—Payments Upon Termination of Employment” below.

The employment agreements subject each named executive officer to the following restrictive covenants: (i) perpetual confidentiality, (ii) assignment of intellectual property, (iii) non-competition during his or her employment, (iv) non-disparagement during his or her employment (provided, that, the non-disparagement covenant in Ms. Ramsey’s employment agreement is mutual), (v) non-solicitation of our customers, suppliers, licensees, licensors and other business relations during his or her employment and (vi) non-solicitation of our employees and independent contractors during his or her employment and for a period of one year following termination of such employment.

We entered into a transition agreement with Ms. Wang on October 14, 2020, pursuant to which her employment with us terminated on December 4, 2020. For a description of this transition agreement, see the section titled “—Payments Upon Termination of Employment” below.

We entered into a separation agreement with Mr. Allen effective on October 10, 2020, pursuant to which his employment with us terminated on September 25, 2020. For a description of this severance agreement, see the section titled “—Payments Upon Termination of Employment” below.

Outstanding Equity Awards at 2020 Fiscal Year-End

The following table shows, for each of the named executive officers, all equity awards that were outstanding as of December 31, 2020 under the Excelerate, L.P. Second Amended & Restated Agreement of Exempted Limited Partnership (the “LPA”).

 

Name

   Grant Date    Vested
Incentive
Units (#)
    Unvested
Incentive
Units (#)
    Option
exercise price

($)(6)
   Option
expiration
date(6)

Jill Ramsey

   5/4/2020      —         6,511,813 (1)    N/A    N/A

Jonathan Harvey

   6/3/2019      92,773       236,741 (2)    N/A    N/A

Michael Trembley

   9/14/2020      —         1,097,406 (3)    N/A    N/A

Shih-Fong Wang

   9/24/2018      261,287 (4)      —       N/A    N/A

Donald Allen

   6/24/2019      257,597 (5)      —       N/A    N/A

 

(1)

On May 4, 2020, Ms. Ramsey was granted 6,511,813 Incentive Units pursuant to an Incentive Unit agreement, 3,907,087 of which are subject to time vesting and 2,604,726 of which are subject to performance vesting, in each case, subject to Ms. Ramsey’s continued employment on the applicable vesting date. The time-vesting Incentive Units vest as follows: (i) 976,771 Incentive Units vested on May 4, 2021, (ii) an additional 81,658 Incentive Units vest on each one-month anniversary of May 4, 2021 for the immediately subsequent 35 months and (iii) the remaining 72,286 Incentive Units vest on May 4, 2024. Any unvested time-vesting Incentive Units accelerate upon a “sale transaction.” Ms. Ramsey’s performance-vesting Incentive Units vest in full upon a “liquidity event” in connection with which certain investors receive “investor returns” equal to or greater than 3.0 times.

(2)

On June 3, 2019, Mr. Harvey was granted 329,514 Incentive Units pursuant to an Incentive Unit agreement, 247,135.5 of which are subject to time vesting and 82,378.5 of which are subject to performance vesting, in

 

158


Table of Contents
  each case, subject to Mr. Harvey’s continued employment on the applicable vesting date. The time-vesting Incentive Units vest as follows: (i) 61,783 Incentive Units vested on June 3, 2020, (ii) an additional 5,165 Incentive Units vest on each one-month anniversary of June 3, 2020 for the immediately subsequent 35 months and (iii) the remaining 4,577.5 Incentive Units vest on June 3, 2023. Any unvested time-vesting Incentive Units accelerate upon a “sale transaction.” Mr. Harvey’s performance-vesting Incentive Units vest in full upon a “liquidity event” in connection with which certain investors receive “investor returns” equal to or greater than 3.0 times.
(3)

On September 14, 2020, Mr. Trembley was granted 1,097,406 Incentive Units pursuant to an Incentive Unit agreement, 823,054 of which are subject to time-vesting and 274,352 of which are subject to performance-vesting, in each case, subject to Mr. Trembley’s continued employment of the applicable vesting date. The time-vesting Incentive Units vest as follows: (i) 205,763 Incentive Units vest on September 14, 2021, (ii) an additional 17,201 Incentive Units vest on each one-month anniversary of September 14, 2021 for the immediately subsequent 35 months and (iii) the remaining 15,256 Incentive Units vest on September 14, 2024. Any unvested time-vesting Incentive Units accelerate upon a “sale transaction.” Mr. Trembley’s performance-vesting Incentive Units vest in full upon a “liquidity event” in which certain investors receive “investor returns” equal to or greater than 3.0 times.

(4)

As of Ms. Wang’s termination date, 1,063,916 Incentive Units had vested. All of Ms. Wang’s unvested time-vesting Incentive Units and all of the performance-vesting Incentive Units were forfeited upon her termination. Pursuant to the terms of Ms. Wang’s transition agreement, Ms. Wang was permitted to retain 261,287 vested Incentive Units following her termination, and the Company agreed to repurchase the remaining 802,634 of Ms. Wang’s vested Incentive Units within 11 months following her termination on December 4, 2020 at repurchase price equal to $1.43 per Incentive Unit.

(5)

As of Mr. Allen’s termination date, 257,597 Incentive Units had vested. All of Mr. Allen’s unvested time-vesting Incentive Units and all of the performance-vesting Incentive Units were forfeited upon his termination. Pursuant to the terms of Mr. Allen’s separation agreement, the Company waived its right to elect to repurchase with respect to all of Mr. Allen’s vested Incentive Units.

(6)

The Incentive Units are not traditional options; therefore, there is no exercise price or option expiration date associated therewith.

Pursuant to the Reorganization, holders of Incentive Units will exchange their existing Incentive Units of Excelerate, L.P. for incentive units of New Excelerate, L.P. with the same terms and conditions. See “Reorganization Transactions” and “Unaudited Pro Forma Financial Information” for more information.

Payments Upon Termination of Employment

The employment agreements for Ms. Ramsey, Mr. Harvey and Mr. Trembley each provide for the payment of severance benefits upon certain terminations of employment, specifically, upon termination of a named executive officer’s employment by us without “cause” (as defined below) or, in the case of Ms. Ramsey, upon her resignation for good reason (as defined below) or our non-renewal of her employment agreement term. Both Ms. Wang and Mr. Allen received severance payments following their terminations, pursuant to a transition agreement and a separation agreement, respectively.

Ms. Ramsey

In the event of a termination of Ms. Ramsey’s employment by the Company without “cause,” due to her resignation for “good reason” or due to the Company’s non-renewal of the term of her employment agreement (each, a “Qualifying Termination”), Ms. Ramsey is entitled to the following: (i) payment of any earned but unpaid base salary through her termination date, (ii) payment in lieu of any accrued but unused paid time off as of her termination date, (iii) 12 months of continued base salary payments, (iv) payment of any annual performance bonus for a previous (and completed) performance period that is earned but unpaid as of her termination date, and (v) reimbursement for the COBRA premiums for herself and any eligible dependents for 12 months following her termination date. The continued base salary payments described under clause (iii) above

 

159


Table of Contents

are subject to Ms. Ramsey’s timely execution and non-revocation of a general release of claims in favor of the Company and continued compliance with certain restrictive covenant obligations set forth in her employment agreement.

For Ms. Ramsey, “cause” means one or more of the following: (i) the indictment for, conviction of, or plea of guilty or nolo contendere to (a) a felony (other than a driving offense related solely to driving in excess of the speed limit), (b) any other crime involving moral turpitude or (c) any crime involving misappropriation, embezzlement or fraud with respect to the Company, Excelerate, L.P. or any of their respective subsidiaries, customers or suppliers; (ii) misconduct that would reasonably be expected to cause the Company, Excelerate, L.P. or any of their respective subsidiaries substantial public disgrace or disrepute or economic harm; (iii) repeated refusal to perform duties consistent with her employment agreement as lawfully directed by the board of directors of a.k.a. Brands, including, without limitation, (a) Ms. Ramsey’s persistent neglect of duty or chronic unapproved absenteeism (other than due to her “disability”) or (b) Ms. Ramsey’s refusal to comply with any lawful directive or policy of the board of directors of a.k.a. Brands; (iv) any act or knowing omission aiding or abetting a competitor, supplier or customer of the Company, Excelerate, L.P. or any of their respective subsidiaries to the disadvantage or detriment of the Company, Excelerate, L.P. or any of their respective subsidiaries; (v) breach of fiduciary duty, gross negligence or willful misconduct with respect to the Company, Excelerate, L.P. or any of their respective subsidiaries; (vi) use of alcohol, drugs or other similar substances that materially impairs Ms. Ramsey’s ability to perform her duties under her employment agreement; or (vii) any other material breach by Ms. Ramsey of her employment agreement or any other agreement between Ms. Ramsey and the Company, Excelerate, L.P. or any of their respective subsidiaries, subject to the Company’s ten-day cure period.

For Ms. Ramsey, “good reason” means the occurrence of any of the following without Ms. Ramsey’s written consent: (i) a material reduction in her base salary or target annual bonus, other than as a part of and in proportion to a reduction in compensation affecting employees of the Company, or its successor entity, generally and in no event to exceed 10%; (ii) a material adverse change in her title, authority, responsibilities or duties; or (iii) the Company’s requirement that she relocate her primary work location to a location that is more than 30 miles from its then current location. For “good reason” to be established, (a) Ms. Ramsey must provide written notice to the chairman or lead director of the a.k.a. Board of Directors within 30 days of the first occurrence of any such event; (b) the Company must fail to materially remedy such event within 30 days after its receipt of such written notice and (c) Ms. Ramsey’s resignation must be effective not later than 30 days after the expiration of such cure period.

Messrs. Harvey and Trembley

In the event of a termination of the named executive officer’s employment by the Company without “cause,” the employment agreements with Messrs. Harvey and Trembley provide for the following severance benefits: (i) payment of any earned but unpaid base salary through his termination date, (ii) payment in lieu of any accrued but unused paid time off as of his termination date, (iii) four months of continued base salary payments and (iv) payment of any earned but unpaid annual or discretionary performance bonus for any fiscal year ending on or prior to his termination date. The continued base salary payments described under clause (iii) above are subject to the respective named executive officer’s timely execution and non-revocation of a general release of claims in favor of the Company and continued compliance with certain restrictive covenant obligations set forth in his employment agreement.

For Messrs. Harvey and Trembley, “cause” means one or more of the following: (i) commission of or plea of nolo contendere to a felony or other crime involving moral turpitude or the commission of any crime involving misappropriation, embezzlement or fraud with respect to the Company, Excelerate, L.P. or any of their respective subsidiaries, customers or suppliers, (ii) conduct that would reasonably be expected to cause the Company, Excelerate, L.P. or any of their respective subsidiaries substantial public disgrace or disrepute or economic harm, (iii) repeated failure to perform duties consistent with the named executive officer’s employment agreement as

 

160


Table of Contents

reasonably directed by the board of directors of a.k.a. Brands, including (a) persistent neglect of duty or chronic unapproved absenteeism (other than due to the named executive officer’s “disability”) or (b) refusal to comply with any lawful directive or policy of the board of directors of a.k.a. Brands, (iv) any act or knowing omission aiding or abetting a competitor, supplier or customer of the Company, Excelerate, L.P. or any of their respective subsidiaries to the disadvantage or detriment of the Company, Excelerate, L.P. or any of their respective subsidiaries, (v) breach of fiduciary duty, gross negligence or willful misconduct with respect to the Company, Excelerate, L.P. or any of their respective subsidiaries, (vi) addiction to alcohol, drugs or other similar substances that impairs performance or (vii) any other material breach of his employment agreement or of any other agreement between him and the Company, Excelerate, L.P. or any of their respective subsidiaries, subject to the Company’s 30-day cure period.

Ms. Wang

Ms. Wang’s transition agreement provided for continued base salary and standard benefits through December 4, 2020. As of December 4, 2020, her termination date, Ms. Wang’s transition agreement also provided for the following: (i) payment of any accrued but unpaid wages as of her termination date, (ii) payment in lieu of any accrued but unused paid time off as of her termination date, (iii) the full amount of her target annual bonus for fiscal year 2020 (i.e., $105,000), (iv) 12 months of continued base salary payments and (v) 12 months of subsidies for continued COBRA coverage for herself and her eligible dependents, if any. The payments described in clauses (iii) through (v) above were subject to Ms. Wang’s timely execution and non-revocation of a general release of claims in favor of the Company and continued compliance with certain restrictive covenant obligations. Ms. Wang’s transition agreement also provided for her entitlement to retain 261,287 of her vested Incentive Units, and pursuant to an addendum to such transition agreement, Excelerate, L.P. repurchased 802,634 vested Incentive Units held by Ms. Wang at a repurchase price of $1.43 per Incentive Unit.

Mr. Allen

Mr. Allen’s separation agreement provided for the following: (i) payment of any accrued but unpaid wages as of his termination date, (ii) payment in lieu of any accrued but unused paid time off as of his termination date, (iii) six months of continued base salary payments and (iv) six months of subsidies for continued COBRA coverage for himself and his eligible dependents, if any. The payments described in clauses (iii) and (iv) above were subject to Mr. Allen’s timely execution and non-revocation of a general release of claims in favor of the Company and continued compliance with certain restrictive covenant obligations.

Payments upon a Change in Control

Under the Incentive Unit agreements entered into by each of Ms. Ramsey, Mr. Harvey and Mr. Trembley, in the event of a “liquidity event” (as defined in the LPA), each named executive officer’s unvested performance-vesting Incentive Units will vest if, and only if, certain investors realize “investor returns” equal to or greater than 3.0 times, subject to the named executive officer’s continued employment on the applicable vesting date. In the event of a “sale transaction” (as defined in the Incentive Unit agreements), each named executive officer’s unvested time-vesting Incentive Units will fully accelerate, subject to the named executive officer’s continued employment on the applicable vesting date.

For purposes of the Incentive Unit agreements, “liquidity event” means (i) a Sale of Excelerate L.P. (as defined in the LPA), (ii) the dissolution, liquidation or winding-up of Excelerate, L.P. or any of its subsidiaries holding a majority of their consolidated assets (but excluding any such dissolution, liquidation or winding up of a subsidiary in an internal reorganization) or (iii) the initial public offering or listing of Excelerate, L.P. or any of its subsidiaries on any national securities exchange or substantially equivalent market (including any Rule 144A market or exchange sponsored private market).

For purposes of the Incentive Unit agreements, “sale transaction” means a sale of all or substantially all of the equity of Excelerate, L.P. or a sale of all or substantially all of the assets of Excelerate, L.P. (on a consolidated basis taken as a whole, including, for clarity, all or substantially all of the equity interests of Excelerate, L.P.’s subsidiaries).

 

161


Table of Contents

The consummation of this offering will not constitute a liquidity event or sale transaction for purposes of the Incentive Units. Pursuant to the Reorganization, holders of Incentive Units will exchange their existing Incentive Units of Excelerate, L.P. for incentive units of New Excelerate, L.P. with the same terms and conditions. See “Reorganization Transactions” and “Unaudited Pro Forma Financial Information” for more information.

2020 Director Compensation

With respect to the fiscal year ended December 31, 2020, Myles McCormick and Kelly Thompson, our non-employee directors, received compensation serving as directors on the board of a.k.a. Brands, as set forth below. Mr. McCormick is not party to any contract with us that relates to his service on the board of a.k.a. Brands. Ms. Thompson is party to a letter agreement with us, dated as of November 18, 2019, which sets forth her compensation for services rendered on the board of a.k.a. Brands at the rate of $25,000 per year and provides for an initial grant of Incentive Units and an opportunity to invest up to $500,000 in Excelerate, L.P. through purchase of our “ordinary units.”

 

Name

   Fees Earned or Paid
in Cash

($)
     All Other
Compensation

($)
     Total
($)
 

Myles McCormick

     —          —          —    

Kelly Thompson

     25,008        —          25,008  

On January 15, 2019, Mr. McCormick was granted 1,098,382 Incentive Units pursuant to an Incentive Unit agreement, 549,191 of which are subject to time vesting and 549,191 of which are subject to performance vesting, in each case, subject to Mr. McCormick’s continued service on the applicable vesting date. The time-vesting Incentive Units vest as follows: (i) 137,297 Incentive Units vested on January 15, 2020, (ii) an additional 11,478 Incentive Units vest on each one-month anniversary of January 15, 2020 for the immediately subsequent 35 months and (iii) the remaining 10,164 Incentive Units vest on January 15, 2023. Any unvested time-vesting Incentive Units accelerate upon a “sale transaction.” Mr. McCormick’s performance-vesting Incentive Units vest in full upon a “liquidity event” in connection with which certain investors receive “investor returns” equal to or greater than 3.0 times.

In December of 2019, Ms. Thompson was granted 520,238 Incentive Units pursuant to an Incentive Unit agreement, 260,119 of which are subject to time vesting and 260,119 of which are subject to performance vesting, in each case, subject to Ms. Thompson’s continued service on the applicable vesting date. The time-vesting Incentive Units vest as follows: (i) 65,029 Incentive Units vested on November 22, 2020, (ii) an additional 5,436 Incentive Units vest on each one-month anniversary of November 22, 2020 for the immediately subsequent 35 months and (iii) the remaining 4,830 Incentive Units vest on November 22, 2023. Any unvested time-vesting Incentive Units accelerate upon a “sale transaction.” Ms. Thompson’s performance-vesting Incentive Units vest in full upon a “liquidity event” in connection with which certain investors receive “investor returns” equal to or greater than 3.0 times.

As noted above, the consummation of this offering will not constitute a liquidity event or sale transaction for purposes of the Incentive Units. Pursuant to the Reorganization, holders of Incentive Units will exchange their existing Incentive Units of Excelerate, L.P. for incentive units of New Excelerate, L.P. with the same terms and conditions. See “Reorganization Transactions” and “Unaudited Pro Forma Financial Information” for more information.

Non-Employee Director Compensation Policy

In connection with this offering, our Compensation Committee approved a new non-employee director compensation policy to apply following this offering, which will consist of: (i) an annual cash retainer in the amount of $50,000 in cash and an annual incentive equity grant in the form of RSUs having a grant date fair

 

162


Table of Contents

value of $100,000, with such RSUs to vest over a four-year period from the date of grant, subject to the terms and conditions to be established by the Compensation Committee at the time of grant; (ii) an annual committee member cash retainer (in the amount of (a) $15,000 for the Audit Committee, (b) $10,000 for the Compensation Committee and (c) $7,500 for the Nominating and Corporate Governance Committee), with any annual committee member cash retainer to be incremental to the annual cash retainer payable to such director for his or her service on the board; and (iii) an additional annual cash retainer in the amount of $20,000 for the Chairman of our board or the lead director, as appropriate.

Our Anticipated Executive Compensation Program Following This Offering

Following this offering, our Compensation Committee will determine the appropriate compensation plans and programs for our executives, including our named executive officers. Our Compensation Committee will review and evaluate our executive compensation plans and programs to ensure they are aligned with our compensation philosophy. We expect the compensation plans and arrangements for our named executive officers that will generally become effective upon completion of this offering will consist of an annual base salary, a short-term annual incentive component, a long-term equity incentive component and a health and retirement benefits component.

Employee Stock Purchase Plan

Prior to the consummation of this offering, we anticipate that our Board will adopt, and our stockholders will approve, an Employee Stock Purchase Plan (the “ESPP”). The following description of the ESPP is based on the form we anticipate will be adopted, but since the ESPP has not yet been adopted, the provisions remain subject to change. As a result, the following description is qualified in its entirety by reference to the final ESPP once adopted, a copy of which is in substantially final form has been filed as an exhibit to the registration statement of which this prospectus is a part. Defined terms used in this section that are not otherwise defined herein will have the meaning set forth in the ESPP.

The ESPP includes two components: a “Section 423 Component” and a “Non-Section 423 Component.” The Section 423 Component is intended to qualify as an “employee stock purchase plan” under Section 423 of the Code and will be administered, interpreted and construed in a manner consistent with the requirements of Section 423 of the Code. In addition, the ESPP will authorize the grant of options under the Non-Section 423 Component, which need not qualify as options granted pursuant to an “employee stock purchase plan” under Section 423 of the Code; such options granted under the Non-Section 423 Component will be granted pursuant to separate offerings containing such sub-plans, appendices, rules or procedures as may be adopted by the administrator of the ESPP and designed to achieve tax, securities laws or other objectives for eligible employees and any Designated Company in locations outside of the United States. Except as otherwise provided or determined by the ESPP administrator, the Non-Section 423 Component will operate and be administered in the same manner as the Section 423 Component. Offerings intended to be made under the Non-Section 423 Component will be designated as such by the ESPP administrator at or prior to the time of such Offering.

Shares Available for Awards; Administration

A total of 1,225,067 shares of our common stock will initially be reserved for issuance under the ESPP. In addition, the number of shares available for issuance under the ESPP will be increased annually on January 1 of each calendar year beginning in 2022 and ending in and including 2031, by an amount equal to the lesser of (A) 1% of the shares outstanding on the final day of the immediately preceding calendar year and (B) such smaller number of shares as is determined by our Board. The ESPP will be administered by the Board or our Compensation Committee.

 

163


Table of Contents

Eligibility

We expect that all of our employees will be eligible to participate in the ESPP, with certain exclusions as determined by the ESPP administrator. However, an employee may not be granted rights to purchase stock under our ESPP if the employee, immediately after the grant, would own (directly or through attribution) stock possessing 5% or more of the total combined voting power of all classes of our stock.

Grant of Rights

Under the ESPP, participants will be offered the option to purchase shares of our common stock at a discount during one or more offering periods, which may be successive or overlapping and will be selected by the ESPP administrator in its sole discretion with respect to which options shall be granted to participants. No offering will commence prior to the date on which our registration statement on Form S-8 is filed with the SEC in respect of the ESPP. The ESPP administrator will designate the terms and conditions of each offering in writing, including the Offering Period and the Purchase Period, and may change the duration and timing of offering periods in its discretion. However, in no event may such an offering period be longer than 27 months in length.

Option Price

The option purchase price will be 85% of the lesser of the fair market value of a share of our common stock on (a) the applicable grant date and (b) the applicable exercise date, or such other price determined by the administrator.

ESPP Amendment and Termination

The Board may amend, suspend or terminate the ESPP at any time. However, stockholder approval will be obtained for any amendment that increases the aggregate number or changes the type of shares that may be sold pursuant to rights under the ESPP or changes the corporations or classes of corporations whose employees are eligible to participate in the ESPP.

2021 Omnibus Incentive Plan

Prior to the consummation of this offering, we anticipate that our Board will adopt, and our stockholders will approve, the 2021 Plan, pursuant to which employees, consultants and directors of our company and our affiliates performing services for us, including our executive officers, will be eligible to receive awards. We anticipate that the 2021 Plan will provide for the grant of stock options, stock appreciation rights, restricted stock, restricted stock units, bonus stock, dividend equivalents, other stock-based awards, substitute awards, annual incentive awards and performance awards intended to align the interests of participants with those of our stockholders. The following description of the 2021 Plan is based on the form we anticipate will be adopted, but since the 2021 Plan has not yet been adopted, the provisions remain subject to change. As a result, the following description is qualified in its entirety by reference to the final 2021 Plan once adopted, a copy of which in substantially final form has been filed as an exhibit to the registration statement of which this prospectus is a part.

Share Reserve

In connection with its adoption by the Board and approval by our stockholders, we will reserve shares of our common stock for issuance under the 2021 Plan as described below. In addition, the following shares of our common stock will again be available for grant or issuance under the 2021 Plan:

 

   

shares subject to awards granted under the 2021 Plan that are subsequently forfeited or cancelled;

 

   

shares subject to awards granted under the 2021 Plan that otherwise terminate without shares being issued; and

 

   

shares surrendered, cancelled or exchanged for cash (but not shares surrendered to pay the exercise price or withholding taxes associated with the award).

 

164


Table of Contents

Administration

The 2021 Plan will be administered by our Compensation Committee. The Compensation Committee has the authority to construe and interpret the 2021 Plan, grant awards and make all other determinations necessary or advisable for the administration of the plan. Awards under the 2021 Plan may be made subject to “performance conditions” and other terms.

Our employees, consultants and directors, and employees, consultants and directors of our affiliates, will be eligible to receive awards under the 2021 Plan. The Compensation Committee will determine who will receive awards, and the terms and conditions associated with such award.

Term

The 2021 Plan will terminate ten years from the date our Board approves the plan, unless it is terminated earlier by our Board.

Award Forms and Limitations

The 2021 Plan authorizes the award of stock awards, performance awards and other cash-based awards. An aggregate of 4,900,269 shares (the “Share Reserve”) will be available for issuance under awards granted pursuant to the 2021 Plan. For stock options that are intended to qualify as incentive stock options (“ISOs”) under Section 422 of the Code, the maximum number of shares subject to ISO awards shall be 4,900,269. The Share Reserve will automatically increase on January 1st of each calendar year beginning with calendar year 2022 and ending with a final increase on January 1, 2031, in an amount equal to 1% of the total number of shares of common stock outstanding on December 31st of the immediately preceding calendar year. The Compensation Committee may provide that there will be no January 1st increase in the Share Reserve for any such year or that the increase in the Share Reserve for any such year will be a smaller number of shares of common stock than would otherwise occur pursuant to the preceding sentence.

Stock Options

The 2021 Plan provides for the grant of ISOs only to our employees. All options other than ISOs may be granted to our employees, directors and consultants. The exercise price of each option to purchase stock must be at least equal to the fair market value of our common stock on the date of grant. The exercise price of ISOs granted to 10% or more stockholders must be at least equal to 110% of that value. Options granted under the 2021 Plan may be exercisable at such times and subject to such terms and conditions as the Compensation Committee determines. The maximum term of options granted under the 2021 Plan is 10 years (five years in the case of ISOs granted to 10% or more stockholders).

Stock Appreciation Rights

Stock appreciation rights (“SARs”) provide for a payment, or payments, in cash or common stock, to the holder based upon the difference between the fair market value of our common stock on the date of exercise and the stated exercise price of the SARs. The exercise price must be at least equal to the fair market value of our common stock on the date the SAR is granted. SARs may vest based on time or achievement of performance conditions, as determined by the Compensation Committee in its discretion.

Restricted Stock and Restricted Stock Units

The Compensation Committee may grant awards consisting of shares of our common stock subject to restrictions on sale and transfer and restricted stock units (“RSUs”). The price (if any) paid by a participant for a restricted stock award or RSU will be determined by the Compensation Committee. Unless otherwise determined

 

165


Table of Contents

by the Compensation Committee at the time of award, vesting will cease on the date the participant no longer provides services to us and unvested shares or units will be forfeited to or repurchased by us. The Compensation Committee may condition the grant or vesting of shares of restricted stock or RSUs on the achievement of performance conditions and/or the satisfaction of a time-based vesting schedule.

Performance Awards

A performance award is an award that becomes payable upon the attainment of specific performance goals. A performance award may become payable in cash or in shares of our common stock. These awards are subject to forfeiture prior to settlement due to termination of a participant’s employment or failure to achieve the performance conditions.

IPO Grants

In connection with this offering, we expect that our Board will grant awards of RSUs and options under the 2021 Plan to certain of our employees other than our named executive officers, representing an aggregate of 924,610 shares of our common stock. This amount represents 708,464 RSUs and 216,146 options that we will issue to certain employees other than our named executive officers in connection with the completion of this offering, with the RSUs and options subject to such awards vesting in 25% installments on each of the first four anniversaries of the grant date (such that 100% of the RSUs and options are vested on the fourth anniversary of the grant date). The actual number of shares of our common stock subject to these awards may change. These awards are expected to be granted following the filing of the registration statement on Form S-8 relating to the 2021 Plan. Each award will be subject to the terms and conditions of the 2021 Plan and an award agreement that we will enter into with the applicable grantee.

 

166


Table of Contents

PRINCIPAL STOCKHOLDERS

The following table contains information about the beneficial ownership of our common stock as of September 13, 2021, after giving effect to the Reorganization Transactions and immediately prior to and after the consummation of this offering, by:

 

   

each person, or group of persons, who beneficially owns more than 5% of our capital stock;

 

   

each of our named executive officers;

 

   

each of our directors, director nominees; and

 

   

all directors, director nominees and executive officers as a group.

Each stockholder’s percentage ownership before the offering is based on 116,590,141 shares of our common stock outstanding as of September 13, 2021, as adjusted to give effect to the Reorganization Transactions. The table below excludes any purchases that may be made through our directed share program or otherwise in this offering. See “Underwriting—Directed Share Program.” Each stockholder’s percentage ownership after this offering is based on 126,590,141 shares of our common stock outstanding immediately after the completion of the Reorganization Transactions, the Financing Transactions and this offering, assuming no exercise of the underwriters’ option to purchase additional shares. We have granted the underwriters an option to purchase up to 1,500,000 additional shares of our common stock.

Beneficial ownership for the purposes of the following table is determined in accordance with the rules and regulations of the SEC. These rules generally provide that a person is the beneficial owner of securities if such person has or shares the power to vote or direct the voting thereof, or to dispose or direct the disposition thereof or has the right to acquire such powers within 60 days. Common stock subject to options that are currently exercisable or exercisable within 60 days of September 13, 2021 are deemed to be outstanding and beneficially owned by the person holding the options. These shares, however, are not deemed outstanding for the purposes of computing the percentage ownership of any other person. Except as disclosed in the footnotes to this table and subject to applicable community property laws, we believe that each stockholder identified in the table possesses sole voting and investment power over all shares of common stock shown as beneficially owned by the stockholder.

 

167


Table of Contents

Unless otherwise indicated, the address of each of the individuals named below is c/o a.k.a. Brands Holding Corp., 100 Montgomery Street, Suite 1600, San Francisco, California 94104.

 

    Shares Beneficially Owned
Prior to the Offering
    Shares Beneficially Owned
After the Offering
 

Name

  Number of
Shares
    Percentage
of Total
Outstanding
Shares
    Number of
Shares
    No Exercise of
Underwriters’
Option
    Full Exercise of
Underwriters’
Option
 
                      Percentage     Percentage  

5% Stockholders:

         

New Excelerate, L.P. (1)

    72,644,324       62.3     72,644,324       57.4     56.7

Beard Entities (2)

    23,354,629       20.0     23,354,629       18.4     18.2

Bryett Enterprises Trust (3)

    20,591,189       17.7     20,591,189       16.3     16.1

Named Executive Officers, Directors and Director Nominees:

         

Jill Ramsey

    —         —         —         —         —    

Ciaran Long

    —         —         —         —         —    

Myles McCormick

    —         —         —         —         —    

Kelly Thompson

    —         —         —         —         —    

Christopher Dean

    —         —         —         —         —    

Matthew Hamilton

    —         —         —         —         —    

Wesley Bryett

    20,591,189       17.7     20,591,189       16.3     16.1

All Executive Officers, Directors and Director Nominees as a Group (10 Persons)

    20,591,189       17.7     20,591,189       16.3     16.1

 

*

Represents beneficial ownership of less than 1% of our outstanding shares of common stock.

(1)

Represents 72,644,324 shares of common stock held directly by New Excelerate L.P., the voting and disposition of which is controlled by Summit Partners, L.P. Summit Partners, L.P. is (i) the sole shareholder of Summit Partners GE IX AIV, Ltd., which is the general partner of Summit Partners GE IX AIV, L.P., which is the general partner of Summit Partners Growth Equity Fund IX-B AIV, L.P. (“Summit IX-B”) and (ii) the sole member of Summit Partners GE IX, LLC, which is the general partner of Summit Partners GE IX, L.P., which is the general partner of Summit Partners Growth Equity Fund IX-A AIV, L.P (“Summit IX-A”). Summit IX-A and Summit IX-B have equal ownership of the outstanding capital stock of Excelerate GP, Ltd. Excelerate GP, Ltd. is the general partner of New Excelerate L.P. Summit Partners, L.P., through a two-person investment committee, currently comprised of Peter Y. Chung and Charles J. Fitzgerald, has voting and dispositive authority over the shares beneficially owned by each of these entities and therefore beneficially owns such shares. Mr. Chung and Mr. Fitzgerald disclaim beneficial ownership of the shares held directly by New Excelerate, L.P. The address for each of these entities is 222 Berkeley Street, 18th Floor, Boston, MA 02116.

(2)

Represents 23,354,629 shares of common stock held of record by (i) TF Apparel Discretionary Trust, established by deed dated October 28, 2009 (the “TF Apparel Trust”), (ii) The Simon Beard Family Trust, established by deed dated October 28, 2009 (the “Simon Beard Trust”), and (iii) The Tah-nee Aleman Family Trust, established by deed dated October 28, 2009 (the “Tah-nee Aleman Trust” and, together with the TF Apparel Trust and the Simon Beard Trust, the “Beard Entities”). Beard Trading Pty Ltd ACN 600 219 856 (the “Trustee”) is the sole trustee of each of the Beard Entities, respectively. Simon Andrew Beard is the principal of each of the Beard Entities, respectively. Tah-nee Beard is the sole director and secretary and the sole shareholder of the Trustee. Tah-nee Beard has sole voting and dispositive power over 23,354,629 shares of common stock held of record by the Beard Entities.

(3)

Represents 20,591,189 shares of common stock held of record by The Bryett Enterprises Trust. The Bryett Enterprises Trust’s primary beneficiaries are Eirin Bryett and Wesley Bryett and The Bryett Enterprises Trust is 100% owned by the Bryett Enterprises Pty Ltd., whose sole director is Wesley Bryett and whose two shareholders are Eirin Bryett and Wesley Bryett. Wesley Bryett has sole voting and dispositive power over 20,591,189 shares of common stock held of record by The Bryett Enterprises Trust.

 

168


Table of Contents

CERTAIN RELATIONSHIPS AND RELATED PARTY TRANSACTIONS

Approval Policies

Following this offering, we expect that our Audit Committee will be responsible for the review, approval and ratification of “related person transactions” between us and any related person. Under SEC rules, a related person is an officer, director, nominee for director or beneficial holder of more than of 5% of any class of our voting securities since the beginning of the last fiscal year or an immediate family member of any of the foregoing. In the course of its review and approval or ratification of a related-person transaction, the Audit Committee will consider:

 

   

the nature of the related person’s interest in the transaction;

 

   

the material terms of the transaction, including the amount involved and type of transaction;

 

   

the importance of the transaction to the related person and to our Company;

 

   

whether the transaction would impair the judgment of a director or executive officer to act in our best interest and the best interest of our stockholders; and

 

   

any other matters the Audit Committee deems appropriate.

Any member of the Audit Committee who is a related person with respect to a transaction under review will not be able to participate in the deliberations or vote on the approval or ratification of the transaction. However, such a director may be counted in determining the presence of a quorum at a meeting that considers the transaction.

Other than compensation agreements and other arrangements which are described under “Executive Compensation,” and the transactions described below, since January 1, 2018, there has not been, and there is not currently proposed, any transaction or series of similar transactions to which we were or will be a party in which the amount involved exceeded or will exceed $120,000 and in which any related person had or will have a direct or indirect material interest.

Registration Rights Agreement

In connection with this offering we intend to enter into a Registration Rights Agreement with certain of our equity holders, including Summit and the Australian Management Investors. Under the Registration Rights Agreement, we have granted these members registration rights subject to customary terms, conditions and limitations.

Demand Registrations

Under the Registration Rights Agreement, Summit is able to require us to file an unlimited number of registration statements under the Securities Act to register all or a portion of its registrable securities and in which we shall pay all registration expenses. In addition, Summit is able to require us to file an unlimited number of short-form registration statements under the Securities Act to register all or a portion of their registrable securities and in which we shall pay all registration expenses. Each such request is referred to as a “Demand Registration.” Upon the fourth anniversary following the pricing of this offering, the Australian Management Investors will be entitled to one Demand Registration.

Piggyback Registrations

Under the Registration Rights Agreement, if at any time we propose to register any of our equity securities under the Securities Act (other than a Demand Registration and in certain other cases), we are required to notify each holder of registrable securities of its right to participate in such registration (a “Piggyback Registration”)

 

169


Table of Contents

and include their registrable securities to the extent set forth in the Registration Rights Agreement. We will bear all expenses of the holders of registrable securities in connection with Piggyback Registrations.

Expenses of Registration

We are required to bear the registration expenses (other than underwriting discounts) incident to any registration in accordance with the Registration Rights Agreement, including the reasonable fees of counsel chosen by the holders of registrable securities.

Indemnification of Officers and Directors

Upon completion of this offering, we intend to enter into indemnification agreements with each of our officers, directors and director nominees. The indemnification agreements will provide the officers and directors with contractual rights to indemnification, expense advancement and reimbursement, to the fullest extent permitted under Delaware law. Additionally, we may enter into indemnification agreements with any new directors or officers that may be broader in scope than the specific indemnification provisions contained in Delaware law. Insofar as indemnification for liabilities arising under the Securities Act may be permitted to our officers and directors pursuant to the foregoing agreements, we have been advised that, in the opinion of the SEC, such indemnification is against public policy as expressed in the Securities Act, and is therefore unenforceable.

Director Nomination Agreement

In connection with this offering, we will enter into a Director Nomination Agreement with our Principal Stockholder. The Director Nomination Agreement will provide Summit with an independent right to designate the following number of nominees for election to our Board: (i) all of the nominees for election to our Board for so long as Summit beneficially owns at least 40% of the total number of shares of our common stock outstanding upon completion of this offering, as adjusted for any reorganization, recapitalization, stock dividend, stock split, reverse stock split, or similar changes in the Company’s capitalization (the “Original Amount”); (ii) a majority of the nominees for election to our Board for so long as Summit beneficially owns less than 40% but at least 30% of the Original Amount; (iii) 30% of the nominees for election to our Board for so long as Summit beneficially owns less than 30% but at least 20% of the Original Amount; (iv) 20% of the nominees for election to our Board for so long as Summit beneficially owns less than 20% but at least 10% of the Original Amount; and (v) one of the nominees for election to our Board for so long as Summit beneficially owns at least 5% of the Original Amount. In addition, Summit shall be entitled to designate the replacement for any of its Board designees whose Board service terminates prior to the end of the director’s term, regardless of our Principal Stockholder’s beneficial ownership at that time. Summit shall also have the right to have its designees participate on committees of our Board proportionate to its stock ownership, subject to compliance with applicable law and stock exchange rules. The Director Nomination Agreement will also prohibit us from increasing or decreasing the size of our Board without the prior written consent of Summit. This agreement will terminate at such time as our Principal Stockholder controls less than 5% of the voting power.

Stockholders Agreement

On June 23, 2021, we entered into a stockholders agreement that will become effective upon the closing of this offering (the “Stockholders Agreement”) with our Principal Stockholder and certain of our equity holders (the “Founder Investors”). The Stockholders Agreement provides that a Founder Investor may only sell shares of common stock acquired prior to the closing of this offering contemporaneously with sales of common stock by our Principal Stockholder or by Summit in either a public or private sale to unaffiliated third parties. In connection with any such sale, a Founder Investor is generally entitled to sell up to a number of shares of our common stock equal to the aggregate number of shares of common stock held by such Founder Investor multiplied by a fraction, the numerator of which is the aggregate number of shares being sold by our Principal Stockholder or by Summit in such sale and the denominator of which is the aggregate number of shares of

 

170


Table of Contents

common stock held by our Principal Stockholder or by Summit immediately prior to such sale. The Stockholders Agreement will terminate upon the earlier to occur of the fourth anniversary of this offering or such date as our Principal Stockholder and Summit no longer hold any shares of our common stock.

Petal & Pup Minority Equity Repurchase

In connection with this offering, we have entered into an agreement (the “Repurchase Agreement”) whereby we have the option, but not the obligation, extending through the time of this offering, to repurchase all outstanding units of P&P Holdings, L.P. from the P&P Minority Investors; provided that, upon the consummation of this offering, we have the obligation to repurchase all outstanding units from the P&P Minority Investors. On August 19, 2021, we repurchased approximately 6% of the equity held by the P&P Minority Investors for AUD $5 million, and upon completion of this offering, we will repurchase the remaining equity held by the P&P Minority Investors for approximately AUD $22.8 million.

Agreement with Culture Kings Minority Equityholders

In connection with this offering, we will enter into an agreement with the minority unit holders of CK Holdings L.P. to contribute their interests in CK Holdings, LP to CK Bidco Pty. Ltd. in exchange for 21,809,804 newly issued shares of our common stock equal to the value of the shares of CK Holdings, L.P. and its subsidiaries at the time of this offering. CK Bidco Pty. Ltd. will acquire the newly issued shares of our common stock in exchange for issuance of a loan note to us for the value of the shares of CK Holdings, L.P. and its subsidiaries at the time of the offering, which then will be contributed to CK Bidco Pty. Ltd. and cancelled in connection with this offering. Following the completion of this exchange, CK Holdings, LP will become our wholly-owned subsidiary.

Directed Share Program

At our request, an affiliate of BofA Securities, Inc., a participating Underwriter, has reserved for sale, at the initial public offering price, up to 700,000 of the shares offered by this prospectus for sale to some of our directors, officers, employees, business associates and related persons. If purchased by our directors and officers. the shares will be subject to a 180-day lock-up restriction.

Existing Subordinated Notes

On March 31, 2021, we purchased $25 million of senior subordinated notes from certain Summit debt funds as more fully described in “Description of Indebtedness — Existing Subordinated Notes.” Together with a portion of the proceeds from this offering and borrowings under our new term loan facility, we expect to repay all outstanding indebtedness due pursuant to our existing senior subordinated notes and terminate the underlying note purchase agreement. See also “Use of Proceeds” for further detail.

Series A Partnership Units Issuance

In order to fund the Culture Kings Acquisition, on March 31, 2021, Excelerate, L.P., our Principal Stockholder, issued Series A partnership units for $82.7 million in cash, of which $59.4 million was subscribed by affiliates of Summit Partners, a related party of Excelerate, L.P.

 

171


Table of Contents

DESCRIPTION OF CAPITAL STOCK

The following summary of certain provisions of our capital stock does not purport to be complete and is subject to our amended and restated certificate of incorporation and our amended and restated bylaws and the provisions of applicable law. Copies of our amended and restated certificate of incorporation and our amended and restated bylaws will be filed as exhibits to the registration statement, of which this prospectus is a part.

Certain provisions of our amended and restated certificate of incorporation and our amended and restated bylaws summarized below may be deemed to have an anti-takeover effect and may delay or prevent a tender offer or takeover attempt that a stockholder might consider in its best interest, including those attempts that might result in a premium over the market price for the shares of common stock.

General

At or prior to the consummation of this offering, we will file our certificate of incorporation, and we will adopt our bylaws. Our certificate of incorporation will authorize capital stock consisting of:

 

   

500,000,000 shares of common stock, par value $0.001 per share; and

 

   

50,000,000 shares of preferred stock, with a par value per share that may be established by the board of directors in the applicable certificate of designations.

As of June 30, 2021, on a pro forma basis after giving effect to the Reorganization Transactions, there would have been 116,590,141 shares of our common stock outstanding, held by five stockholders, and no shares of our preferred stock outstanding.

We are selling 10,000,000 shares of common stock in this offering (11,500,000 shares if the underwriters exercise in full their option to purchase additional shares of our common stock). All shares of our common stock outstanding upon consummation of this offering will be fully paid and non-assessable.

Common Stock

Holders of shares of our common stock are entitled to one vote for each share held of record on all matters submitted to a vote of stockholders. The holders of our common stock do not have cumulative voting rights in the election of directors.

Holders of shares of our common stock will vote as a single class on all matters presented to our stockholders for their vote or approval, except for certain amendments to our certificate of incorporation described below or as otherwise required by applicable law or the certificate of incorporation.

Holders of shares of our common stock are entitled to receive dividends when and if declared by our board of directors out of funds legally available therefor, subject to any statutory or contractual restrictions on the payment of dividends and to any restrictions on the payment of dividends imposed by the terms of any outstanding preferred stock.

Upon our dissolution or liquidation or the sale of all or substantially all of our assets, after payment in full of all amounts required to be paid to creditors and to the holders of preferred stock having liquidation preferences, if any, the holders of shares of our common stock will be entitled to receive pro rata our remaining assets available for distribution.

Holders of shares of our common stock do not have preemptive, subscription, redemption or conversion rights. There will be no redemption or sinking fund provisions applicable to the common stock.

 

172


Table of Contents

Preferred Stock

Upon the consummation of this offering and the effectiveness of our certificate of incorporation, the total of our authorized shares of preferred stock will be 50,000,000 shares. Upon the consummation of this offering, we will have no shares of preferred stock outstanding.

Under the terms of our certificate of incorporation that will become effective upon the consummation of this offering, our board of directors is authorized to direct us to issue shares of preferred stock in one or more series without stockholder approval. Our board of directors has the discretion to determine the rights, preferences, privileges and restrictions, including voting rights, dividend rights, conversion rights, redemption privileges and liquidation preferences, of each series of preferred stock.

The purpose of authorizing our board of directors to issue preferred stock and determine its rights and preferences is to eliminate delays associated with a stockholder vote on specific issuances. The issuance of preferred stock, while providing flexibility in connection with possible acquisitions, future financings and other corporate purposes, could have the effect of making it more difficult for a third-party to acquire, or could discourage a third-party from seeking to acquire, a majority of our outstanding voting stock. Additionally, the issuance of preferred stock may adversely affect the holders of our common stock by restricting dividends on the common stock, diluting the voting power of the common stock or subordinating the liquidation rights of the common stock. As a result of these or other factors, the issuance of preferred stock could have an adverse impact on the market price of our common stock.

Forum Selection

Our certificate of incorporation will provide that unless we consent in writing to the selection of an alternative forum, the Court of Chancery of the State of Delaware will, to the fullest extent permitted by applicable law, be the sole and exclusive forum for (1) any derivative action or proceeding brought on our behalf; (2) any action asserting a claim of breach of a fiduciary duty owed by any of our directors, officers or other employees to us or our stockholders; (3) any action asserting a claim against us, any director or our officers or employees arising pursuant to any provision of the DGCL, our certificate of incorporation or our bylaws; or (4) any action asserting a claim against us, any director or our officers or employees that is governed by the internal affairs doctrine, except, as to each of clauses (1) through (4) above, for any claim as to which the Court of Chancery determines that there is an indispensable party not subject to the jurisdiction of the Court of Chancery (and the indispensable party does not consent to the personal jurisdiction of the Court of Chancery within 10 days following such determination), which is vested in the exclusive jurisdiction of a court or forum other than the Court of Chancery, or for which the Court of Chancery does not have subject matter jurisdiction. For the avoidance of doubt, the forum selection provision that identifies the Court of Chancery of the State of Delaware as the exclusive forum for certain litigation, including any “derivative action,” will not apply to suits to enforce a duty or liability created by the Securities Act, the Exchange Act or any other claim for which the federal courts have exclusive jurisdiction.

Anti-takeover Provisions

Our certificate of incorporation and our bylaws will contain provisions that may delay, defer or discourage another party from acquiring control of us. We expect that these provisions, which are summarized below, will discourage coercive takeover practices or inadequate takeover bids. These provisions are also designed to encourage persons seeking to acquire control of us to first negotiate with the board of directors, which we believe may result in an improvement of the terms of any such acquisition in favor of our stockholders. However, they also give the board of directors the power to discourage acquisitions that some stockholders may favor.

 

173


Table of Contents

Action by Written Consent, Special Meeting of Stockholders and Advance Notice Requirements for Stockholder Proposals

Our certificate of incorporation will provide that stockholder action can be taken only at an annual or special meeting of stockholders and cannot be taken by written consent in lieu of a meeting at any time when Summit controls, in the aggregate, less than 35% in voting power of our outstanding common stock. Our certificate of incorporation and bylaws will also provide that, except as otherwise required by law, special meetings of the stockholders can be called only pursuant to a resolution adopted by a majority of the directors or by the Chairman of our Board. Stockholders will not be permitted to call a special meeting; provided, however, at any time when Summit controls, in the aggregate, at least 35% in voting power of our outstanding common stock, special meetings of our stockholders shall also be called by our Board or the Chairman of our Board at the written request of Summit or to require the board of directors to call a special meeting. In addition, our amended and restated bylaws require advance notice procedures for stockholder proposals to be brought before an annual meeting of the stockholders, including the nomination of directors; provided, however, at any time when Summit controls, in the aggregate, at least 10% in voting power of our stock entitled to vote generally in the election of directors, such advance notice procedure will not apply to Summit. Stockholders at an annual meeting may only consider the proposals specified in the notice of meeting or brought before the meeting by or at the direction of the board of directors, or by a stockholder of record on the record date for the meeting, who is entitled to vote at the meeting and who has delivered a timely written notice in proper form to our secretary, of the stockholder’s intention to bring such business before the meeting. These provisions could have the effect of delaying until the next stockholder meeting any stockholder actions, even if they are favored by the holders of a majority of our outstanding voting securities.

Classified Board

Our certificate of incorporation will provide that our board of directors will be divided into three classes of directors, with the classes as nearly equal in number as possible. As a result, approximately one-third of our board of directors will be elected each year. The classification of directors will have the effect of making it more difficult for stockholders to change the composition of our board.

Removal of Directors; Vacancies

Our certificate will provide that, at any time when (a) Summit beneficially owns at least 40% in voting power, directors may be removed with or without cause by a majority stockholder vote or (b) Summit controls less than 40% in voting power of our outstanding common stock, all directors, including those nominated by Summit, may only be removed for cause, and only by the affirmative vote of holders of at least 66 2/3% in voting power of all the then-outstanding shares of capital stock of the company entitled to vote thereon, voting together as a single class. In addition, our certificate of incorporation will provide that any newly-created directorship on the board of directors that results from an increase in the number of directors and any vacancy occurring on the board of directors shall be filled only by a majority of the directors then in office, although less than a quorum, or by a sole remaining director.

Supermajority Approval Requirements

 

Our certificate and bylaws will provide that our Board is expressly authorized to make, alter, amend, change, add to, rescind or repeal, in whole or in part, our bylaws without a stockholder vote in any matter not inconsistent with the laws of the State of Delaware and our certificate. Any amendment, alteration, rescission or repeal of our bylaws by our stockholders will require the affirmative vote of the holders of at least 66 2/3% in voting power of all the then-outstanding shares of stock of the company entitled to vote thereon, voting together as a single class.

The DGCL provides generally that the affirmative vote of a majority of the outstanding shares entitled to vote thereon, voting together as a single class, is required to amend a corporation’s certificate of incorporation, unless the certificate requires a greater percentage.

 

174


Table of Contents

Our certificate will provide that the following provisions in our certificate may be amended, altered, repealed or rescinded only by the affirmative vote of the holders of at least 66 2/3% (as opposed to a majority threshold) in voting power of all the then-outstanding shares of stock entitled to vote thereon, voting together as a single class:

 

   

the provision requiring a 66 2/3% supermajority vote for stockholders to amend our bylaws;

 

   

the provisions providing for a classified board of directors;

 

   

the provisions regarding resignation and removal of directors;

 

   

the provisions regarding competition and corporate opportunities;

 

   

the provisions regarding entering into business combinations with interested stockholders;

 

   

the provisions regarding stockholder action by written consent;

 

   

the provisions regarding calling special meetings of stockholders;

 

   

the provisions regarding filling vacancies on the Board and newly created directorships;

 

   

the provisions eliminating monetary damages for breaches of fiduciary duty by a director; and

 

   

the amendment provision requiring that the above provisions be amended only with a 66 2/3% supermajority vote.

See “Risk Factors—Risks Related to this Offering and Ownership of our Common Stock—Anti-takeover provisions in our certificate of incorporation documents and Delaware law might discourage or delay acquisition attempts for us that you might consider favorable.”

Delaware Anti-Takeover Statute

Upon completion of this offering, we will not be subject to the provisions of Section 203 of the DGCL. In general, Section 203 prohibits a publicly held Delaware corporation from engaging in a “business combination” with an “interested stockholder” for a three-year period following the time that the person becomes an interested stockholder, unless the business combination is approved in a prescribed manner. A “business combination” includes, among other things, a merger, asset or stock sale or other transaction resulting in a financial benefit to the interested stockholder. An “interested stockholder” is a person who, together with affiliates and associates, owns, or did own within three years prior to the determination of interested stockholder status, 15% or more of the corporation’s voting stock.

Under Section 203, a business combination between a corporation and an interested stockholder is prohibited unless it satisfies one of the following conditions: (1) before the stockholder became an interested stockholder, the board of directors approved either the business combination or the transaction which resulted in the stockholder becoming an interested stockholder; (2) upon consummation of the transaction which resulted in the stockholder becoming an interested stockholder, the interested stockholder owned at least 85% of the voting stock of the corporation outstanding at the time the transaction commenced, excluding for purposes of determining the voting stock outstanding, shares owned by persons who are directors and also officers, and employee stock plans, in some instances; or (3) at or after the time the stockholder became an interested stockholder, the business combination was approved by the board of directors and authorized at an annual or special meeting of the stockholders by the affirmative vote of at least two-thirds of the outstanding voting stock which is not owned by the interested stockholder.

A Delaware corporation may “opt out” of these provisions with an express provision in its original charter or an express provision in its charter or bylaws resulting from a stockholders’ amendment approved by at least a majority of the outstanding voting shares.

 

175


Table of Contents

We intend to opt out of Section 203; however, our certificate of incorporation will contain similar provisions providing that we may not engage in certain “business combinations” with any “interested stockholder” for a three-year period following the time that the stockholder became an interested stockholder, unless:

 

   

prior to such time, our board approved either the business combination or the transaction which resulted in the stockholder becoming an interested stockholder;

 

   

upon consummation of the transaction that resulted in the stockholder becoming an interested stockholder, the interested stockholder owned at least 85% of our voting stock outstanding at the time the transaction commenced, excluding certain shares; or

 

   

at or subsequent to that time, the business combination is approved by our board and by the affirmative vote of holders of at least 66 2/3% of our outstanding voting stock that is not owned by the interested stockholder.

Under certain circumstances, this provision will make it more difficult for a person who would be an “interested stockholder” to effect various business combinations with the Company for a three-year period. This provision may encourage companies interested in acquiring the Company to negotiate in advance with our board because the stockholder approval requirement would be avoided if our board approves either the business combination or the transaction which results in the stockholder becoming an interested stockholder. These provisions also may have the effect of preventing changes in our board and may make it more difficult to accomplish transactions which stockholders may otherwise deem to be in their best interests.

Our certificate of incorporation will provide that our Principal Stockholder, and any of its direct or indirect transferees and any group as to which such persons are a party, do not constitute “interested stockholders” for purposes of this provision.

Limitations on Liability and Indemnification of Officers and Directors

Our certificate of incorporation and bylaws will provide indemnification for our directors and officers to the fullest extent permitted by the DGCL. Prior to the consummation of this offering, we intend to enter into indemnification agreements with each of our directors that may, in some cases, be broader than the specific indemnification provisions contained under Delaware law. In addition, as permitted by Delaware law, our certificate of incorporation includes provisions that eliminate the personal liability of our directors for monetary damages resulting from breaches of certain fiduciary duties as a director. The effect of this provision is to restrict our rights and the rights of our stockholders in derivative suits to recover monetary damages against a director for breach of fiduciary duties as a director, except that a director will be personally liable for:

 

   

any breach of his duty of loyalty to us or our stockholders;

 

   

acts or omissions not in good faith or which involve intentional misconduct or a knowing violation of law;

 

   

any transaction from which the director derived an improper personal benefit; or

 

   

improper distributions to stockholders.

These provisions may be held not to be enforceable for violations of the federal securities laws of the United States.

Corporate Opportunity Doctrine

Delaware law permits corporations to adopt provisions renouncing any interest or expectancy in certain opportunities that are presented to the corporation or its officers, directors or stockholders. Our certificate of

 

176


Table of Contents

incorporation will, to the maximum extent permitted from time to time by Delaware law, renounce any interest or expectancy that we have in, or right to be offered an opportunity to participate in, specified business opportunities that are from time to time presented to certain of our officers, directors or stockholders or their respective affiliates, other than those officers, directors, stockholders or affiliates acting in their capacity as our employee or director. Our certificate of incorporation will provide that, to the fullest extent permitted by law, any director or stockholder who is not employed by us or our affiliates will not have any duty to refrain from (1) engaging in a corporate opportunity in the same or similar lines of business in which we or our affiliates now engage or propose to engage or (2) otherwise competing with us or our affiliates. In addition, to the fullest extent permitted by law, in the event that any director or stockholder, other than directors or stockholders acting in their capacity as our director or as a stockholder, acquires knowledge of a potential transaction or other business opportunity which may be a corporate opportunity for itself or himself or its or his affiliates or for us or our affiliates, such person will have no duty to communicate or offer such transaction or business opportunity to us or any of our affiliates and they may take any such opportunity for themselves or offer it to another person or entity. In our certificate of incorporation, we will not renounce our interest in any business opportunity that is expressly offered to an employee director or employee in his or her capacity as a director or employee of the Company. To the fullest extent permitted by law, no business opportunity will be deemed to be a potential corporate opportunity for us unless we would be permitted to undertake the opportunity under our certificate of incorporation, we have sufficient financial resources to undertake the opportunity and the opportunity would be in line with our business.

Dissenters’ Rights of Appraisal and Payment

Under the DGCL, with certain exceptions, our stockholders will have appraisal rights in connection with a merger or consolidation of the Company. Pursuant to the DGCL, stockholders who properly request and perfect appraisal rights in connection with such merger or consolidation will have the right to receive payment of the fair value of their shares as determined by the Delaware Court of Chancery.

Stockholders’ Derivative Actions

Under the DGCL, any of our stockholders may bring an action in our name to procure a judgment in our favor, also known as a derivative action, provided that the stockholder bringing the action is a holder of our shares at the time of the transaction to which the action relates or such stockholder’s stock thereafter devolved by operation of law.

Transfer Agent and Registrar

The transfer agent and registrar for our common stock will be American Stock Transfer & Trust Company, LLC. Its address is 6201 15th Avenue Brooklyn, NY 11219.

Listing

We have been approved to list our common stock on the NYSE under the trading symbol “AKA.”

 

177


Table of Contents

DESCRIPTION OF INDEBTEDNESS

Existing Senior Secured Credit Facilities

On March 31, 2021, we entered into a credit agreement with an affiliate of Fortress Credit Corp as administrative agent that provides us with up to $25.0 million aggregate principal in revolver borrowings and a $125.0 million senior secured term loan funded at closing, the proceeds of which were used to finance our acquisition of Culture Kings. Together with a portion of the proceeds from this offering and borrowings under our new term loan facility, we expect to repay all outstanding indebtedness under our existing senior secured credit facilities and terminate the related credit agreements.

Interest rates and fees

Borrowings under the credit agreement accrue interest, at the option of the borrower, at an adjusted LIBOR plus 7.5% or ABR plus 6.5%, subject to one step-down based on achievement of a certain total net secured leverage ratio.

The revolver is subject to a 0.50% per annum fee on the undrawn portion of the commitments thereunder. We also pay the administrative agent an annual agency fee.

Voluntary prepayments

We are able to voluntarily prepay outstanding loans under our senior secured credit facilities, subject to certain notice, denomination and priority requirements and customary call premiums.

Mandatory prepayments

Our senior secured credit facilities require us to prepay, subject to certain exceptions, the term loan with certain net proceeds, subject to certain exceptions and subject to a prepayment premium equal to 3% of the term loan principal if repaid within one year of closing.

Final maturity and amortization

Our senior secured credit facility matures on March 31, 2027 and requires quarterly amortization payments equal to approximately 0.75% of the original principal amount. The revolver does not amortize.

Guarantors

All obligations under our senior secured credit facility are unconditionally guaranteed by substantially all of our existing and future direct and indirect wholly-owned subsidiaries, other than our Culture Kings subsidiaries, our Petal & Pup subsidiaries and certain other excluded subsidiaries.

Security

All obligations under our senior secured credit facilities are secured, subject to permitted liens and other exceptions, by first-priority perfected security interests in substantially all of our and the guarantors’ assets.

Certain covenants, representations and warranties

The credit agreement governing our senior secured credit facility contains customary representations and warranties, affirmative covenants, reporting obligations and negative covenants. The negative covenants restrict us and our subsidiaries’ abilities among other things, to (subject to certain exceptions set forth in the credit agreement):

 

   

incur additional indebtedness or other contingent obligations;

 

   

create liens;

 

178


Table of Contents
   

make investments, acquisitions, loans and advances;

 

   

consolidate, merge, liquidate or dissolve;

 

   

sell, transfer or otherwise dispose of our assets;

 

   

pay dividends on our equity interests or make other payments in respect of capital stock;

 

   

materially alter the business we conduct;

 

   

enter into transactions with our affiliates;

 

   

enter into agreements restricting our or our subsidiaries’ ability to repay certain intercompany loans or advances or create liens for the benefit of the lenders;

 

   

prepay, redeem, repurchase or refinance our other indebtedness;

 

   

amend or modify our organizational documents; and

 

   

maintain a maximum amount of capital expenditures per fiscal year.

We believe the negative covenants and exceptions contained in the credit agreement are appropriately tailored to our current and future business plans, and we do not expect such covenants will significantly restrict our ability to execute our intended growth strategy, including potential acquisitions.

Financial covenant

The senior secured credit facility requires that we maintain a maximum total net leverage ratio of 5.25 to 1.00 and a maximum secured net leverage ratio of 4.50 to 1.00 through December 31, 2021, 4.00 to 1.00 through December 31, 2022 and 3.50 to 1.00 thereafter, each determined in accordance with the terms of the credit agreement governing our senior secured credit facility, as of the last day of any fiscal quarter. In the event that we fail to comply with the financial covenant, we will have the option to make certain equity contributions, directly or indirectly, to cure any non-compliance with such covenant, subject to certain other conditions and limitations.

Events of default

The lenders under the senior secured credit facility are permitted to accelerate the loans and terminate commitments thereunder or exercise other remedies upon the occurrence of certain customary events of default, subject to certain grace periods and exceptions. These events of default include, among others, payment defaults, cross-defaults to certain material indebtedness, covenant defaults, material inaccuracy of representations and warranties, certain events of bankruptcy, material judgments, material defects with respect to lenders’ perfection on the collateral, invalidity of subordination provisions of the subordinated debt and changes of control.

Existing Subordinated Notes

On March 31, 2021, we entered into a note purchase agreement with certain debt funds of Summit Partners that purchased $25.0 million of unsecured notes at closing, the proceeds of which were used to partially finance our acquisition of Culture Kings. The notes are subordinated in right of payment to our senior secured credit facilities. Together with a portion of the proceeds from this offering and borrowings under our new term loan facility, we expect to repay all outstanding indebtedness due pursuant to our existing senior subordinated notes and terminate the underlying note purchase agreement.

Interest rates

The notes under the note purchase agreement accrue interest at a rate of 16.0%, which is payable-in-kind. 5.0% of such interest may be paid in cash if the total secured net leverage ratio is less than 3.25 to 1.00.

 

179


Table of Contents

Voluntary prepayments

We are able to voluntarily prepay the outstanding principal of the notes under the note purchase agreement, subject to certain notice, denomination and priority requirements and customary call premiums.

Mandatory prepayments

The note purchase agreement requires us to prepay, subject to certain exceptions, the outstanding principal of the notes with certain net proceeds, subject to certain exceptions and subject to a prepayment premium equal to 3% of the principal amount of the notes if repaid within one year of closing.

Final maturity and amortization

The principal amount of the notes and any accrued but unpaid interest will be payable in cash on September 30, 2027.

Guarantors

All obligations under the note purchase agreement are unconditionally guaranteed by the guarantors under our senior secured credit facilities.

Certain covenants, representations and warranties

The note purchase agreement contains customary representations and warranties, affirmative covenants, reporting obligations and negative covenants that are generally consistent with those under the senior secured credit facilities with a 10% cushion to all thresholds and baskets in the credit agreement.

We believe the negative covenants and exceptions contained in the note purchase agreement are appropriately tailored to our current and future business plans, and we do not expect such covenants will significantly restrict our ability to execute our intended growth strategy, including potential acquisitions.

Financial covenant

The note purchase agreement requires that we maintain a maximum total net leverage ratio of 5.775 to 1.00 and a maximum secured net leverage ratio of 4.95 to 1.00 through December 31, 2021, 4.40 to 1.00 through December 31, 2022 and 3.85 to 1.00 thereafter, each determined in accordance with the terms of the note purchase agreement, as of the last day of any fiscal quarter. In the event that we fail to comply with the financial covenant, we will have the option to make certain equity contributions, directly or indirectly, to cure any non-compliance with such covenant, subject to certain other conditions and limitations.

Events of default

The purchasers of the notes are permitted to accelerate the notes or exercise other remedies upon the occurrence of certain customary events of default, subject to certain grace periods and exceptions. These events of default include, among others, payment defaults, cross-defaults to certain material indebtedness, covenant defaults, material inaccuracy of representations and warranties, certain events of bankruptcy, material judgments and changes of control.

Line of Credit

In October 25, 2019, we entered into a line of credit with Moneytech in the amount of $2.8 million under the subsidiary Petal & Pup Pty Ltd. Borrowings under the credit agreement accrue an interest rate of 7.27%. As of December 31, 2020, there were no outstanding draws on the line of credit.

 

180


Table of Contents

On November 6, 2018, we entered into a line of credit with Commonwealth Bank of Australia in the amount of $7 million under the subsidiary Princess Polly Bidco Pty. The line of credit was amended on August 1, 2019 to increase the facility amount to $15.4 million. Borrowings under the credit agreement accrue an interest rate of AU Screen Rate (ASX) plus 3.25% per annum. Obligations under the credit agreement were secured by cash, inventory and other liquid assets. As of December 31, 2020, the amount outstanding was $6.2 million. The facility was repaid and terminated as of February 28, 2021.

On December 31, 2019, we entered into a line of credit with Bank of America in the amount of $0.5 million under the subsidiary Rebdoll, Inc. The line of credit is guaranteed by Excelerate, L.P. Borrowings under the credit agreement accrue an interest rate of LIBOR plus 2.25%. As of December 31, 2020, the amount outstanding was $0.2 million. The line of credit was repaid and terminated as of February 28, 2021.

New Senior Secured Credit Facility

In connection with this offering, we anticipate entering into the new senior secured credit facilities comprised of a $100 million five (5)-year term loan, and the new revolver, comprised of a $50 million five (5)-year revolving credit facility. Together with a portion of the proceeds from this offering and borrowings under the new term loan facility, we expect to repay all outstanding indebtedness under our existing senior secured credit facilities and terminate the related credit agreements. We expect to enter into the new credit facilities concurrently with, and as a condition to, the completion of this offering; however, there can be no assurance that we will be able to enter into the new credit facilities on the terms described herein or at all.

We expect the $100 million new term loan will mature five years after closing and will require us to make amortized annual payments of 5% during the first year and second years, 7.5% during the third and fourth years and 10% during the fifth year with the balance of the loan due at maturity. We anticipate borrowings under the new term loan will accrue interest at LIBOR plus an applicable margin dependent upon our net leverage ratio and the highest interest rate under the agreement will occur at a net leverage ratio of greater than 2.75x, yielding an interest rate of LIBOR plus 3.25%. We expect the $50 million new revolver, which we anticipate will mature five years after closing, will accrue interest at LIBOR plus an applicable margin dependent upon our net leverage ratio. We expect the highest interest rate under the agreement will occur at a net leverage ratio of greater than 2.75x, yielding an interest rate of LIBOR plus 3.25%. Additionally, we expect a margin fee of 25-35 basis points to be assessed on unused amounts under the new revolver, subject to adjustment based on our net leverage ratio.

Guarantors

All obligations under our new senior secured credit facility are unconditionally guaranteed by substantially all of our existing and future direct and indirect wholly-owned subsidiaries, subject to customary carveouts for certain other excluded subsidiaries.

Security

All obligations under our new senior secured credit facility are secured, subject to permitted liens and other customary exceptions, by first-priority perfected security interests in substantially all of our and the guarantors’ assets (including stock pledges of equity interests owned by such entities, subject to customary exceptions).

 

181


Table of Contents

SHARES ELIGIBLE FOR FUTURE SALE

Prior to this offering, there has been no public market for our common stock. Future sales of substantial amounts of our common stock in the public market, or the perception that such sales may occur, could adversely affect the prevailing market price of our common stock. No prediction can be made as to the effect, if any, future sales of shares, or the availability of shares for future sales, will have on the market price of our common stock prevailing from time to time.

Sale of Restricted Shares

Upon completion of this offering, we will have 126,590,141 shares of common stock (or 128,090,141 shares of our common stock if the underwriters exercise their option to purchase additional shares in full) outstanding. Of these shares of common stock, the 10,000,000 shares of common stock (or 11,500,000 shares if the underwriters exercise their option to purchase additional shares in full) being sold in this offering, will be freely tradable without restriction under the Securities Act, except for any such shares which may be acquired by an “affiliate” of ours, as that term is defined in Rule 144 promulgated under the Securities Act (“Rule 144”), which shares will be subject to the volume limitations and other restrictions of Rule 144 described below. The remaining 116,590,141 shares of common stock held by our existing stockholders upon completion of this offering will be “restricted securities,” as that term is defined in Rule 144, and may be resold only after registration under the Securities Act or pursuant to an exemption from such registration, including, among others, the exemptions provided by Rule 144 and Rule 701 under the Securities Act, which rules are summarized below. These remaining shares of common stock held by our existing stockholders upon completion of this offering will be available for sale in the public market (after the expiration of the lock-up agreements described below) only if registered or if they qualify for an exemption from registration under Rule 144 or Rule 701 under the Securities Act, as described below.

Rule 144

In general, under Rule 144 as currently in effect, beginning 90 days after the date of this prospectus, persons who are not one of our affiliates at any time during the three months preceding a sale may sell shares of our common stock beneficially held upon the earlier of (1) the expiration of a six-month holding period, if we have been subject to the reporting requirements of the Exchange Act and have filed all required reports for at least 90 days prior to the date of the sale or (2) a one-year holding period.

At the expiration of the six-month holding period, a person who was not one of our affiliates at any time during the three months preceding a sale would be entitled to sell an unlimited number of shares of our common stock provided current public information about us is available, and a person who was one of our affiliates at any time during the three months preceding a sale would be entitled to sell within any three-month period a number of shares of common stock that does not exceed the greater of the following:

 

   

1% of the number of shares of our common stock then outstanding, which will equal approximately 1,265,901 shares immediately after this offering; and

 

   

the average weekly trading volume of our common stock on the NYSE during the four calendar weeks preceding the filing of a notice on Form 144 with respect to the sale.

At the expiration of the one-year holding period, a person who was not one of our affiliates at any time during the three months preceding a sale would be entitled to sell an unlimited number of shares of our common stock without restriction. A person who was one of our affiliates at any time during the three months preceding a sale would remain subject to the volume restrictions described above.

Sales under Rule 144 by our affiliates are also subject to manner of sale provisions and notice requirements and to the availability of current public information about us.

 

182


Table of Contents

Rule 701

In general and subject to the expiration of the applicable lock-up restrictions, under Rule 701 promulgated under the Securities Act, any of our employees, directors or officers who purchased shares from us in connection with a qualified compensatory stock or option plan or other written agreement before the effective date of this offering, or who purchased shares from us after that date upon the exercise of options granted before that date, are eligible to resell such shares in reliance upon Rule 144 beginning 90 days after the date of this prospectus. If such person is not an affiliate, the sale may be made under Rule 144 without compliance with the holding periods of Rule 144 and subject only to the manner-of-sale restrictions of Rule 144. If such a person is an affiliate, the sale may be made under Rule 144 without compliance with its one-year minimum holding period, but subject to the other Rule 144 restrictions.

Stock Plans

We intend to file one or more registration statements on Form S-8 under the Securities Act to register shares of our common stock issued or reserved for issuance under the 2021 Omnibus Incentive Plan. The first such registration statement is expected to be filed soon after the date of this prospectus and will automatically become effective upon filing with the SEC. Accordingly, shares registered under such registration statement will be available for sale in the open market following the effective date, unless such shares are subject to vesting restrictions with us, Rule 144 restrictions applicable to our affiliates or the lock-up restrictions described below.

Stockholders Agreement

On June 23, 2021, we entered into a stockholders agreement to become effective upon the closing of this offering (the “Stockholders Agreement”) with our Principal Stockholder and certain of our equity holders (the “Founder Investors”). The Stockholders Agreement provides that a Founder Investor may only sell shares of common stock acquired prior to the closing of this offering contemporaneously with sales of common stock by our Principal Stockholder or by Summit in either a public or private sale to unaffiliated third parties. In connection with any such sale, a Founder Investor is generally entitled to sell up to a number of shares of our common stock equal to the aggregate number of shares of common stock held by such Founder Investor multiplied by a fraction, the numerator of which is the aggregate number of shares being sold by our Principal Stockholder or by Summit in such sale and the denominator of which is the aggregate number of shares of common stock held by our Principal Stockholder or by Summit immediately prior to such sale. The Stockholders Agreement will terminate upon the earlier to occur of the fourth anniversary of this offering or such date as our Principal Stockholder and Summit no longer hold any shares of our common stock.

Lock-up Agreements

We have agreed that we will not (i) offer, pledge, sell, contract to sell, sell any option or contract to purchase, purchase any option or contract to sell, grant any option, right or warrant to purchase or otherwise dispose of, directly or indirectly, or file with the SEC a registration statement under the Securities Act relating to (other than a registration statement on Form S-8), any shares of our common stock or securities convertible into or exchangeable or exercisable for any shares of our common stock, or publicly disclose the intention to make any offer, sale, pledge, disposition or filing, or (ii) enter into any swap or other arrangement that transfers all or a portion of the economic consequences associated with the ownership of any shares of common stock or any such other securities (regardless of whether any of these transactions are to be settled by the delivery of shares of common stock or such other securities, in cash or otherwise), in each case without the prior written consent of BofA Securities, Inc., for a period of 180 days after the date of this prospectus, other than the shares of our common stock to be sold hereunder, any share based awards issued under our stock plans and any shares of our common stock issued upon the exercise of options granted under our stock plans. BofA Securities, Inc., in its sole discretion, may waive such restrictions in whole or in part at any time with or without notice. For additional information, see “Underwriting.” The holders of our common stock outstanding immediately prior to this offering (after giving effect to the Reorganization Transactions) have executed similar lock-up agreements.

 

183


Table of Contents

Registration Rights

Upon completion of this offering, the holders of an aggregate of 116,590,141 shares of our common stock, or their transferees, will be entitled to certain rights with respect to the registration of their shares under the Securities Act. Except for shares purchased by affiliates, registration of their shares under the Securities Act would result in these shares becoming freely tradable without restriction under the Securities Act immediately upon effectiveness of the registration, subject to the expiration of the lock-up period described under “Underwriting” in this prospectus. See “Certain Relationships and Related Party Transactions—Registration Rights Agreement” for more information.

 

184


Table of Contents

MATERIAL U.S. FEDERAL INCOME TAX CONSIDERATIONS FOR NON-U.S. HOLDERS

The following is a summary of material U.S. federal income tax consequences to non-U.S. holders, as defined below, of the purchase, ownership and disposition of shares of our common stock. This summary is limited to non-U.S. holders of shares of our common stock that purchase such shares in this offering and will hold such shares as “capital assets” within the meaning of Section 1221 of the Code (generally, property held for investment).

For purposes of this discussion, a “non-U.S. holder” is a beneficial owner of shares of our common stock that, for U.S. federal income tax purposes, is not any of the following:

 

   

an individual who is a citizen or resident of the United States;

 

   

a corporation (or any other entity treated as a corporation for U.S. federal income tax purposes) created or organized in or under the laws of the United States, any state thereof or the District of Columbia;

 

   

an estate the income of which is subject to U.S. federal income taxation regardless of its source; or

 

   

a trust if it (1) is subject to the primary supervision of a court within the United States and one or more U.S. persons have the authority to control all substantial decisions of the trust or (2) has a valid election in effect under applicable U.S. Treasury regulations to be treated as a U.S. person for U.S. federal income tax purposes.

This summary is based upon provisions of the Code, U.S. Treasury regulations promulgated under the Code, rulings and other administrative pronouncements, and judicial decisions, all as of the date hereof. These authorities may be subject to differing interpretations and may be changed, perhaps retroactively, so as to result in U.S. federal income tax consequences different from those summarized below. This summary does not address all aspects of U.S. federal income taxation and does not deal with non-U.S., state, local, alternative minimum, estate and gift, the Medicare contribution tax on net investment income or other tax considerations that may be relevant to non-U.S. holders in light of their particular circumstances. In addition, this summary does not describe the U.S. federal income tax consequences applicable to you if you are subject to special treatment under U.S. federal income tax laws (including, but not limited to, if you are a U.S. expatriate or subject to the U.S. anti-inversion rules, a bank or other financial institution, an insurance company, a tax-exempt organization, a broker, dealer, or trader in securities or currencies, a regulated investment company, a real estate investment trust, a “controlled foreign corporation,” a “passive foreign investment company,” a partnership or other pass-through entity for U.S. federal income tax purposes (or an investor in such a pass-through entity), a person who acquired shares of our common stock as compensation or otherwise in connection with the performance of services, or a person who has acquired shares of our common stock as part of a straddle, hedge, conversion transaction, synthetic security or other integrated investment). We cannot assure you that a change in law will not significantly alter the tax considerations described in this summary.

We have not and will not seek any rulings from the IRS, regarding the matters discussed below. There can be no assurance that the IRS will not take positions concerning the tax consequences of the ownership or disposition of shares of our common stock that differ from those discussed below.

In addition, this discussion does not address the tax treatment of partnerships (including any entity or arrangement treated as a partnership for U.S. federal income tax purposes) or other entities that are transparent for U.S. federal income tax purposes or persons who hold their common stock through partnerships or other entities that are transparent for U.S. federal income tax purposes. In the case of a holder that is classified as a partnership for U.S. federal income tax purposes, the tax treatment of a person treated as a partner in such partnership for U.S. federal income tax purposes generally will depend on the status of the partner, the activities of the partner and the partnership and certain determinations made at the partner level. A person treated as a partner in a partnership or who holds their stock through another transparent entity should consult his, her or its tax advisor regarding the tax consequences of the ownership and disposition of our common stock through a partnership or other transparent entity, as applicable.

 

185


Table of Contents

THIS DISCUSSION IS FOR INFORMATIONAL PURPOSES ONLY AND IS NOT TAX ADVICE. INVESTORS SHOULD CONSULT THEIR TAX ADVISORS WITH RESPECT TO THE APPLICATION OF THE U.S. FEDERAL INCOME TAX LAWS TO THEIR PARTICULAR SITUATIONS AS WELL AS ANY TAX CONSEQUENCES OF THE PURCHASE, OWNERSHIP AND DISPOSITION OF OUR COMMON STOCK ARISING UNDER THE U.S. FEDERAL ESTATE OR GIFT TAX LAWS OR UNDER THE LAWS OF ANY STATE, LOCAL OR NON-U.S. TAXING JURISDICTION OR UNDER ANY APPLICABLE INCOME TAX TREATY.

Dividends

In general, cash distributions on shares of our common stock will constitute dividends for U.S. federal income tax purposes to the extent paid from our current or accumulated earnings and profits, as determined under U.S. federal income tax principles. To the extent any such distributions exceed both our current and our accumulated earnings and profits, they will first be treated as a return of capital reducing your tax basis in our common stock, but not below zero, and thereafter will be treated as gain from the sale of stock, the treatment of which is discussed under “—Gain on Disposition of Shares of Common Stock.”

Subject to the discussions below under “—Information Reporting and Backup Withholding” and “—Additional Withholding Tax on Payments Made to Foreign Accounts,” dividends paid to a non-U.S. holder generally will be subject to U.S. federal withholding tax at a 30% rate, or such lower rate as may be specified by an applicable income tax treaty unless the dividends are effectively connected with the non-U.S. holder’s conduct of a trade or business in the United States, in which case the gain will be subject to tax in the manner described below under “—Effectively Connected Income.” A non-U.S. holder of shares of our common stock who wishes to claim the benefit of an applicable treaty for dividends generally will be required to furnish a valid IRS Form W-8BEN or Form W-8BEN-E (or other applicable form) certifying eligibility for the lower treaty rate.

A non-U.S. holder of shares of our common stock eligible for a reduced rate of U.S. withholding tax pursuant to an income tax treaty may obtain a refund of any excess amounts withheld by timely filing an appropriate claim for refund with the IRS. Non-U.S. Holders should consult their tax advisors regarding their entitlement to benefits under any applicable income tax treaty.

Gain on Disposition of Shares of Common Stock

Subject to the discussions below under “—Information Reporting and Backup Withholding” and “—Additional Withholding Tax on Payments Made to Foreign Accounts,” any gain realized by a non-U.S. holder on the sale or other disposition of shares of our common stock generally will not be subject to U.S. federal income tax unless:

 

   

that gain is effectively connected with the non-U.S. holder’s conduct of a trade or business in the United States (and, if required by an applicable income tax treaty, is attributable to a U.S. permanent establishment maintained by the non-U.S. holder), in which case the gain will be subject to tax in the manner described below under “—Effectively Connected Income”;

 

   

the non-U.S. holder is an individual who is present in the United States for 183 days or more in the taxable year of such sale or other disposition, and certain other conditions are met; or

 

   

our common stock constitutes a U.S. real property interest by reason of our status as a U.S. real property holding corporation (“USRPHC”) for U.S. federal income tax purposes and certain other requirements are met.

Except as otherwise provided by an applicable income tax treaty, an individual non-U.S. holder described in the second bullet point above will be subject to a 30% tax on any gain derived from the sale or disposition, which may be offset by certain U.S. source capital losses provided that the non-U.S. holder has timely filed U.S. federal income tax returns with respect to such losses, even though the individual is not considered a resident of the United States under the Code.

 

186


Table of Contents

With respect to the third bullet point above, we believe we are not and, although no assurance can be given, do not anticipate becoming a USRPHC for U.S. federal income tax purposes. If we are, or become, a USRPHC, then, as long as our common stock is regularly traded on an established securities market, any gain from the sale or other taxable disposition of our common stock will not be subject to the 15% withholding tax on the disposition of a U.S. real property interest unless a non-U.S. holder owns more than 5% of all our outstanding common stock at any time within the time period described above. You should consult your tax advisor about the consequences that could result if we are, or become, a USRPHC.

Effectively Connected Income

If a dividend received on our common stock, or gain from a sale or other taxable disposition of our common stock, is treated as effectively connected with a non-U.S. holder’s conduct of a trade or business in the United States (and, if required by an applicable income tax treaty, is attributable to such non-U.S. holder’s U.S. permanent establishment), such non-U.S. holder will generally be exempt from withholding tax on any such dividend and any gain realized on such a disposition, provided such non-U.S. holder complies with certain certification requirements (generally on IRS Form W-8ECI). Instead such non-U.S. holder will generally be subject to U.S. federal income tax on a net income basis on any such gains or dividends in the same manner as if such holder were a U.S. person (as defined under the Code) unless an applicable income tax treaty provides otherwise. In addition, a non-U.S. holder that is a foreign corporation may be subject to a branch profits tax at a rate of 30% (or a lower rate provided by an applicable income tax treaty) on such holder’s earnings and profits for the taxable year that are effectively connected with such holder’s conduct of a trade or business in the United States (and, if required by an applicable income tax treaty, are attributable to such holder’s U.S. permanent establishment), subject to adjustments.

Information Reporting and Backup Withholding

The amount of dividends paid to each non-U.S. holder, and the tax withheld with respect to such dividends generally will be reported annually to the IRS and to each such holder, regardless of whether withholding was reduced or eliminated by an applicable tax treaty. Copies of the information returns reporting such dividends and withholding may also be made available to the tax authorities in the country in which the non-U.S. holder resides or is established under the provisions of an applicable income tax treaty or agreement.

A non-U.S. holder generally will be subject to backup withholding for dividends paid to such holder unless such holder certifies under penalty of perjury (usually on an IRS Form W-8BEN, Form W-8BEN-E, W-8ECI or other applicable form) that it is a non-U.S. holder (and the payor does not have actual knowledge or reason to know that such holder is a U.S. person as defined under the Code), or such holder otherwise establishes an exemption. Information reporting and, depending on the circumstances, backup withholding will apply to the proceeds of a sale of shares of our common stock within the United States or conducted through certain U.S.-related financial intermediaries, unless the beneficial owner certifies under penalty of perjury that it is a non-U.S. holder (and the payor does not have actual knowledge or reason to know that the beneficial owner is a United States person as defined under the Code), or such owner otherwise establishes an exemption.

Backup withholding is not an additional tax. Any amounts withheld under the backup withholding rules may be allowed as a refund or a credit against a non-U.S. holder’s U.S. federal income tax liability provided the required information is timely furnished to the IRS.

FATCA Withholding

Under the Foreign Account Tax Compliance Act provisions of the Code and related U.S. Treasury guidance (“FATCA”), a withholding tax of 30% will be imposed in certain circumstances on payments of dividends on our common stock, and gross proceeds from the sale or other disposition of our common stock. However, on December 13, 2018, the U.S. Department of the Treasury released proposed regulations (which may be relied upon by taxpayers until final regulations are issued), which eliminate FATCA withholding on the gross proceeds from a sale or other disposition of our common stock. In the case of payments made to a “foreign financial

 

187


Table of Contents

institution” (such as a bank, a broker, an investment fund or, in certain cases, a holding company), as a beneficial owner or as an intermediary, this tax generally will be imposed, subject to certain exceptions, unless such institution (i) has agreed to (and does) comply with the requirements of an agreement with the United States (an “FFI Agreement”) or (ii) is required by (and does comply with) applicable foreign law enacted in connection with an intergovernmental agreement between the United States and a foreign jurisdiction (an “IGA”), in either case to, among other things, collect and provide to the U.S. tax authorities or other relevant tax authorities certain information regarding U.S. account holders of such institution, and, in either case, such institution provides the withholding agent with a certification as to its FATCA status. In the case of payments made to a foreign entity that is not a financial institution (as a beneficial owner), the tax generally will be imposed, subject to certain exceptions, unless such entity provides the withholding agent with a certification as to its FATCA status and, in certain cases, (i) certifies that it does not have any “substantial” U.S. owners (generally, any specified U.S. person that directly or indirectly owns more than a specified percentage of such entity) or (ii) identifies its substantial U.S. owners. If our common stock is held through a foreign financial institution that has agreed to comply with the requirements of an FFI Agreement, such foreign financial institution (or, in certain cases, a person paying amounts to such foreign financial institution) generally will be required, subject to certain exceptions, to withhold tax on certain payments made to (i) a person (including an individual) that fails to provide any required information or documentation or (ii) a foreign financial institution that has not agreed to comply with the requirements of an FFI Agreement and is not subject to similar requirements under applicable foreign law enacted in connection with an IGA. Similar withholding requirements may apply to foreign financial institutions that are subject to FATCA requirements pursuant to applicable foreign law enacted in connection with an IGA. Each non-U.S. holder should consult its tax advisor regarding the application of FATCA to the ownership and disposition of our common stock.

THE SUMMARY OF MATERIAL U.S. FEDERAL INCOME TAX CONSIDERATIONS ABOVE FOR NON-U.S. HOLDERS IS INCLUDED FOR GENERAL INFORMATION PURPOSES ONLY. POTENTIAL PURCHASERS OF OUR COMMON STOCK ARE URGED TO CONSULT THEIR TAX ADVISORS TO DETERMINE THE U.S. FEDERAL, STATE, LOCAL AND NON-U.S. TAX CONSIDERATIONS OF PURCHASING, OWNING AND DISPOSING OF OUR COMMON STOCK.

 

188


Table of Contents

UNDERWRITING

BofA Securities, Inc., Credit Suisse Securities (USA) LLC and Jefferies LLC are acting as representatives of each of the underwriters named below. Subject to the terms and conditions set forth in an underwriting agreement among us and the underwriters, we have agreed to sell to the underwriters, and each of the underwriters has agreed, severally and not jointly, to purchase from us, the number of shares of common stock set forth opposite its name below.

 

Underwriter

   Number of Shares  

BofA Securities, Inc.

     3,000,000  

Credit Suisse Securities (USA) LLC

     2,500,000  

Jefferies LLC

     1,500,000  

Wells Fargo Securities, LLC

     800,000  

KeyBanc Capital Markets Inc.

     700,000  

Piper Sandler & Co.

     425,000  

Cowen and Company, LLC

     425,000  

Truist Securities, Inc.

     425,000  

Telsey Advisory Group LLC

     200,000  

Loop Capital Markets LLC

     25,000  
  

 

 

 

Total

     10,000,000  
  

 

 

 

Subject to the terms and conditions set forth in the underwriting agreement, the underwriters have agreed, severally and not jointly, to purchase all of the shares sold under the underwriting agreement if any of these shares are purchased. If an underwriter defaults, the underwriting agreement provides that the purchase commitments of the non-defaulting underwriters may be increased or the underwriting agreement may be terminated.

We have agreed to indemnify the underwriters against certain liabilities, including liabilities under the Securities Act, or to contribute to payments the underwriters may be required to make in respect of those liabilities.

The underwriters are offering the shares, subject to prior sale, when, as and if issued to and accepted by them, subject to approval of legal matters by their counsel, including the validity of the shares, and other conditions contained in the underwriting agreement, such as the receipt by the underwriters of officer’s certificates and legal opinions. The underwriters reserve the right to withdraw, cancel or modify offers to the public and to reject orders in whole or in part.

Commissions and Discounts

The representatives have advised us that the underwriters propose initially to offer the shares to the public at the public offering price set forth on the cover page of this prospectus and to dealers at that price less a concession not in excess of $0.39600 per share. After the initial offering, the public offering price, concession or any other term of the offering may be changed.

The following table shows the public offering price, underwriting discount and proceeds before expenses to us. The information assumes either no exercise or full exercise by the underwriters of their option to purchase additional shares.

 

            Total  
     Per Share      Without Option      With Option  

Public offering price

   $ 11.00000      $ 110,000,000      $ 126,500,000  

Underwriting discount

   $ 0.66000      $ 6,600,000      $ 7,590,000  

Proceeds, before expenses, to us

   $ 10.34000      $ 103,400,000      $ 118,910,000  

 

189


Table of Contents

The expenses of the offering, not including the underwriting discount, are estimated at $6.1 million and are payable by us. We have agreed to reimburse the underwriters for expenses of up to $50,000 relating to clearance of this offering with the Financial Industry Regulatory Authority (“FINRA”) and expenses incurred in connection with the directed share program. In addition, the underwriters have agreed to reimburse certain of our expenses in connection with this offering.

Option to Purchase Additional Shares

We have granted an option to the underwriters, exercisable for 30 days after the date of this prospectus, to purchase up to 1,500,000 additional shares at the public offering price, less the underwriting discount. If the underwriters exercise this option, each will be obligated, subject to conditions contained in the underwriting agreement, to purchase a number of additional shares proportionate to that underwriter’s initial amount reflected in the above table.

Directed Share Program

At our request, an affiliate of BofA Securities, Inc., a participating Underwriter, has reserved for sale, at the initial public offering price, up to 700,000 of the shares offered by this prospectus for sale to some of our directors, officers, employees, business associates and related persons. If these persons purchase reserved shares it will reduce the number of shares available for sale to the general public. Any reserved shares that are not so purchased will be offered by the underwriters to the general public on the same terms as the other shares offered by this prospectus. We have agreed to indemnify the underwriters against certain liabilities and expenses, including liabilities under the Securities Act, in connection with the sale of such reserved shares. If purchased by our directors and officers, the shares will be subject to a 180-day lock-up restriction.

No Sales of Similar Securities

We, our executive officers and directors and our other existing stockholders have agreed not to sell or transfer any common stock or securities convertible into, exchangeable for, exercisable for, or repayable with common stock, for 180 days after the date of this prospectus (the “Lock-Up Period”) without first obtaining the written consent of BofA Securities, Inc. Specifically, we and these other persons have agreed, with certain limited exceptions, not to directly or indirectly:

 

   

offer, pledge, sell or contract to sell any common stock,

 

   

sell any option or contract to purchase any common stock,

 

   

purchase any option or contract to sell any common stock,

 

   

grant any option, right or warrant for the sale of any common stock,

 

   

otherwise dispose of or transfer any common stock or securities convertible into or exercisable or exchangeable for common stock,

 

   

request or demand that we file or make a confidential submission of a registration statement related to the common stock, or

 

   

enter into any swap or other agreement or any transaction that transfers, in whole or in part, the economic consequence of ownership of any common stock whether any such swap or transaction is to be settled by delivery of shares or other securities, in cash or otherwise.

In the case of our executive officers and directors and our other existing holders (the “Lock-Up Parties”), these lock-up agreements apply to our common stock and to securities convertible into or exchangeable or exercisable for our common stock, whether owned now or acquired later by such Lock-Up Party or for which such Lock-Up Party later acquires the power of disposition. Further, any shares of our common stock purchased in this offering pursuant to the directed share program by our directors or executive officers will also be subject to these lock-up agreements.

 

190


Table of Contents

Subject to certain limitations, the lock-up restrictions described in the foregoing paragraphs applicable to the Lock-Up Parties are subject to specified exceptions, including the following:

 

  i)

in transactions relating to common stock acquired in open market transactions following this offering or in a public offering, provided no filing under Section 16 of the Exchange Act is required or voluntarily made in connection with subsequent sales of such common stock;

 

  ii)

as a bona fide gift or gifts made not for value provided that each donee or transferee, provided each done or transferee execute and deliver to the representatives of the underwriters a lock-up letter in the form of the lock-up agreement as set forth in the underwriting agreement and no filing under Section 16 of the Exchange Act is required or voluntarily made during the Lock-Up Period (other than a filing on Form 5 that clearly indicates in the footnotes the nature and conditions of such transfer and that the securities subject to such transfer remain subject to the lock-up restrictions);

 

  iii)

(a) as a result of the operation of law through estate, other testamentary document or intestate succession, (b) to any immediate family member of the Lock-Up Party or any trust for the direct or indirect benefit of the Lock-Up Party or any immediate family member and (c) subject to certain additional limitations, pursuant to a qualified domestic order or in connection with a divorce settlement, provided that in each case the shares remain subject to the lock-up restrictions, provided further that that in each case no public announcement or filing is required or is voluntarily made during the Lock-Up Period except, in the case of clause (c), if the Lock-Up Party is required to file a report under Section 16 of the Exchange Act reporting a reduction in beneficial ownership of shares of Common Stock during the Lock-Up Period, the report includes a statement to the effect that such transfer occurred by operation of law or by court order, including pursuant to a domestic order or in connection with a divorce settlement;

 

  iv)

pursuant to an order of a court or regulatory agency or to comply with any regulations related to the Lock-Up party’s ownership of our common stock, provided that any filing under Section 16 of the Exchange Act reporting a reduction in beneficial ownership of shares of Common Stock states that such transfer is pursuant to an order of a court or regulatory agency or to comply with any regulations related to the ownership of common stock unless such a statement would be prohibited by any applicable law, regulation or order of a court or regulatory authority;

 

  v)

to (a) a partner, member, stockholder or other equityholder, as the case may be, of a Lock-Up Party that is a partnership, limited liability company, corporation or entity, (b) any wholly-owned subsidiary of the Lock-Up Party, (c) an affiliate of the Lock-Up Party or (d) if a transferee referred to in clauses (a) through (c) is not a natural person, any direct or indirect partner, member, shareholder or equityholder of such transferee until the common stock or securities convertible into or exercisable or exchangeable for common stock come to be held by a natural person provided that (i) each transferee or distributee signs and delivers to the representatives of the underwriters a lock up agreement in the form as set forth in the underwriting agreement, except that with respect to any related series of transfers or distributions to transferees or distributees that are deemed to occur simultaneously, only the ultimate transferee or distributee is required to sign and deliver such a lock-up agreement, and (ii) no filing by the undersigned under Section 16 of the Exchange Act, reporting a reduction in beneficial ownership of shares of common stock, is voluntarily made (other than a filing on a Form 5 that clearly indicates in the footnotes the nature and conditions of such transfer and that the securities subject to such transfer remain subject to the lock-up restrictions);

 

  vi)

the exercise or settlement of stock options, restricted stock units or other equity awards pursuant to any plan or agreement described in this prospectus granting such an award to an employee or other service provider of ours or our affiliates (and any related transfer to us of common stock necessary to generate such amount of cash needed for the payment of taxes, including estimated taxes, due as a result of such settlement or exercise whether by means of a “net settlement” or “cashless basis”), provided that any remaining common stock received upon such exercise or settlement are subject to the lock-up restrictions, and provided further if the Lock-Up Party is required to file a report under Section 16 of

 

191


Table of Contents
  the Exchange Act during the Lock-Up Period in connection with any such transfer to the Company, the Lock-Up Party includes a statement in any such report to the effect that (a) such transfer is in connection with the vesting or settlement of restricted stock units or incentive units, or the “net” or “cashless” exercise of options or other rights to purchase shares of Common Stock, as applicable and (b) the transaction was only with the Company, and no other public announcement or filing is required or voluntarily made during the Lock-Up Period;

 

  vii)

dispositions to us upon exercise of our right to repurchase or reacquire the Lock-Up Party’s common stock in the event such Lock-Up Party ceases to provide services to us pursuant to agreements in effect on the date of this prospectus, provided that any filing under Section 16 of the Exchange Act relating to such disposition clearly indicates in the footnotes that the shares were repurchased or reacquired by the Company, and no other public announcement or filing is required or voluntarily made during the Lock-Up Period;

 

  viii)

transfers of common stock pursuant to a bona fide third party tender offer, merger, consolidation or other similar transaction made to all holders of common stock involving a change of our control, which occurs after the consummation of this offering, is open to all holders of our capital stock and has been approved by our board of directors, provided that if such change of control is not consummated, such shares remain subject to the lock-up restrictions;

 

  ix)

if permitted by us, the establishment of a trading plan on behalf of the Lock-Up Party pursuant to Rule 10b5-1 under the Exchange Act for the transfer of common stock, provided that such plan does not provide for the transfer of common stock during the Lock-Up Period and to the extent a public announcement or filing under the Exchange Act, if any, is required regarding the establishment of such plan, such announcement or filing includes a statement to the effect that no transfer of shares of Common Stock may be made under such plan during the Lock-Up Period, and no other public announcement or filing is voluntarily made during the Lock-Up Period;

 

  x)

the transfer, conversion, reclassification, redemption or exchange of any securities pursuant to the reorganization transactions described in this prospectus provided that any common stock or securities convertible into or exercisable or exchangeable for common stock received in the reorganization transactions (unless sold or to be sold in this offering) remain subject to the lock-up restrictions and that to the extent a public announcement or filing under the Exchange Act, if any, is required of or voluntarily made regarding the transfer, conversion, reclassification, redemption or exchange, the announcement or filing includes a statement to the effect that such transfer, conversion, reclassification, redemption or exchange, occurred pursuant to the reorganization transactions and no transfer of common stock or other securities received upon exchange may be made during the Lock-Up Period (unless sold or to be sold in this offering);

 

  xi)

the transfer of the Lock-Up Party’s common stock pursuant to the terms of the underwriting agreement entered into in connection with this offering and to the underwriters; and

 

  xii)

the transfer of the Lock-Up Party’s common stock to us or any of our subsidiaries in the manner described in “Use of Proceeds.”

In addition, subject to certain limitations the lock-up restrictions applicable to us are subject to specified exceptions, including the following:

 

  i)

the common stock to be in this offering;

 

  ii)

any common stock issued by us upon the exercise of an option, warrant, or vesting of any restricted stock units, or the conversion of a security outstanding on the date of this prospectus and described in this prospectus;

 

  iii)

any common stock issued or options to purchase common stock or restricted stock units covering common stock granted pursuant to existing employee benefit plans or equity incentive plans of ours described in this prospectus;

 

192


Table of Contents
  iv)

any common stock issued, options to purchase common stock granted, or restricted stock units covering common stock granted pursuant to any non-employee director stock plan or dividend reinvestment plan described in this prospectus;

 

  v)

the filing by us of a registration statement on Form S-8 with respect to the registration of securities to be offered under any employee benefit or equity incentive plans of ours that are described in this prospectus; and

 

  vi)

the sale or issuance of or entry into an agreement to sell or issue common stock or other securities issued in connection with any (1) merger, (2) acquisition of securities, businesses, properties or other assets, (3) joint venture or (4) strategic alliance or relationship, provided that the aggregate number of shares issued do not exceed 10.0% of the total number of outstanding common stock immediately following the issuance and sale securities in this offering;

provided that the recipient of common stock or securities issued pursuant to (ii), (iii), (iv) or (v) during the Lock-Up Period executes and delivers to the representatives a lock-up letter in the form of the lock-up agreement as set forth in the underwriting agreement.

BofA Securities, Inc., in its sole discretion, may release the common stock and other securities subject to the lock-up restrictions described above in whole or in part at any time.

Listing

We have been approved to list our common stock on the NYSE under the symbol “AKA.” Before this offering, there has been no public market for our common stock. The initial public offering price was determined through negotiations among us and the representatives. In addition to prevailing market conditions, the factors considered in determining the initial public offering price were

 

   

the valuation multiples of publicly traded companies that the representatives believe to be comparable to us,

 

   

our financial information,

 

   

the history of, and the prospects for, our company and the industry in which we compete,

 

   

an assessment of our management, its past and present operations, and the prospects for, and timing of, our future revenues,

 

   

the present state of our development, and

 

   

the above factors in relation to market values and various valuation measures of other companies engaged in activities similar to ours.

An active trading market for the shares may not develop. It is also possible that after the offering the shares will not trade in the public market at or above the initial public offering price.

The underwriters do not expect to sell more than 5% of the shares in the aggregate to accounts over which they exercise discretionary authority.

Price Stabilization, Short Positions and Penalty Bids

Until the distribution of the shares is completed, SEC rules may limit underwriters and selling group members from bidding for and purchasing our common stock. However, the representatives may engage in transactions that stabilize the price of the common stock, such as bids or purchases to peg, fix or maintain that price.

 

193


Table of Contents

In connection with this offering, the underwriters may purchase and sell our common stock in the open market. These transactions may include short sales, purchases on the open market to cover positions created by short sales and stabilizing transactions. Short sales involve the sale by the underwriters of a greater number of shares than they are required to purchase in the offering. “Covered” short sales are sales made in an amount not greater than the underwriters’ option to purchase additional shares described above. The underwriters may close out any covered short position by either exercising their option to purchase additional shares or purchasing shares in the open market. In determining the source of shares to close out the covered short position, the underwriters will consider, among other things, the price of shares available for purchase in the open market as compared to the price at which they may purchase shares through the option granted to them. “Naked” short sales are sales in excess of such option. The underwriters must close out any naked short position by purchasing shares in the open market. A naked short position is more likely to be created if the underwriters are concerned that there may be downward pressure on the price of our common stock in the open market after pricing that could adversely affect investors who purchase in the offering. Stabilizing transactions consist of various bids for or purchases of shares of common stock made by the underwriters in the open market prior to the completion of the offering.

The underwriters may also impose a penalty bid. This occurs when a particular underwriter repays to the underwriters a portion of the underwriting discount received by it because the representatives have repurchased shares sold by or for the account of such underwriter in stabilizing or short covering transactions.

Similar to other purchase transactions, the underwriters’ purchases to cover the syndicate short sales may have the effect of raising or maintaining the market price of our common stock or preventing or retarding a decline in the market price of our common stock. As a result, the price of our common stock may be higher than the price that might otherwise exist in the open market. The underwriters may conduct these transactions on the NYSE, in the over-the-counter market or otherwise.

Neither we nor any of the underwriters make any representation or prediction as to the direction or magnitude of any effect that the transactions described above may have on the price of our common stock. In addition, neither we nor any of the underwriters make any representation that the representatives will engage in these transactions or that these transactions, once commenced, will not be discontinued without notice.

Electronic Distribution

In connection with the offering, certain of the underwriters or securities dealers may distribute prospectuses by electronic means, such as e-mail.

Other Relationships

Some of the underwriters and their affiliates have engaged in, and may in the future engage in, investment banking and other commercial dealings in the ordinary course of business with us or our affiliates. They have received, or may in the future receive, customary fees and commissions for these transactions. We expect certain of the underwriters or their affiliates will be lenders under our new senior secured credit facility.

In addition, in the ordinary course of their business activities, the underwriters and their affiliates may make or hold a broad array of investments and actively trade debt and equity securities (or related derivative securities) and financial instruments (including bank loans) for their own account and for the accounts of their customers. Such investments and securities activities may involve securities and/or instruments of ours or our affiliates. The underwriters and their affiliates may also make investment recommendations and/or publish or express independent research views in respect of such securities or financial instruments and may hold, or recommend to clients that they acquire, long and/or short positions in such securities and instruments.

Notice to Prospective Investors in the European Economic Area

In relation to each member state of the European Economic Area (each, a “relevant state”), no shares of common stock have been offered or will be offered pursuant to this offering to the public in that relevant state prior

 

194


Table of Contents

to the publication of a prospectus in relation to the shares that has been approved by the competent authority in that relevant state or, where appropriate, approved in another relevant state and notified to the competent authority in that relevant state, all in accordance with the Prospectus Regulation, except that offers of shares may be made to the public in that relevant state at any time under the following exemptions under the Prospectus Regulation:

 

   

to any legal entity which is a qualified investor as defined under the Prospectus Regulation;

 

   

to fewer than 150 natural or legal persons (other than qualified investors as defined under the Prospectus Regulation), or

 

   

in any other circumstances falling within Article 1(4) of the Prospectus Regulation,

provided that no such offer of shares shall require the Company or any representative to publish a prospectus pursuant to Article 3 of the Prospectus Regulation or supplement a prospectus pursuant to Article 23 of the Prospectus Regulation.

For the purposes of this provision, the expression an “offer to the public” in relation to any shares in any relevant state means the communication in any form and by any means of sufficient information on the terms of the offer and any shares to be offered so as to enable an investor to decide to purchase or subscribe for any shares, and the expression “Prospectus Regulation” means Regulation (EU) 2017/1129.

We have not authorized and do not authorize the making of any offer of shares through any financial intermediary on their behalf, other than offers made by the underwriters with a view to the final placement of the shares as contemplated in this prospectus. Accordingly, no purchaser of the shares, other than the underwriters, is authorized to make any further offer of the shares on behalf of us or the underwriters.

Notice to Prospective Investors in the United Kingdom

In relation to the United Kingdom, no shares of common stock have been offered or will be offered pursuant to this offering to the public in the United Kingdom prior to the publication of a prospectus in relation to the shares that either (i) has been approved by the Financial Conduct Authority, or (ii) is to be treated as if it had been approved by the Financial Conduct Authority in accordance with the transitional provision in Regulation 74 of the Prospectus (Amendment etc.) (EU Exit) Regulations 2019, except that offers of shares may be made to the public in the United Kingdom at any time under the following exemptions under the UK Prospectus Regulation:

 

   

to any legal entity which is a qualified investor as defined in Article 2 of the UK Prospectus Regulation;

 

   

to fewer than 150 natural or legal persons (other than qualified investors as defined in Article 2 of the UK Prospectus Regulation); or

 

   

in any other circumstances falling within section 86 of the Financial Services and Markets Act 2000 (“FSMA”),

provided that no such offer of shares shall require the Company or any representative to publish a prospectus pursuant to section 85 of the FSMA or supplement a prospectus pursuant to Article 23 of the UK Prospectus Regulation.

For the purposes of this provision, the expression an “offer to the public” in relation to any shares in any relevant state means the communication in any form and by any means of sufficient information on the terms of the offer and any shares to be offered so as to enable an investor to decide to purchase or subscribe for any shares, and the expression “UK Prospectus Regulation” means Regulation (EU) 2017/1129 as it forms part of domestic law by virtue of the European Union (Withdrawal) Act 2018.

We have not authorized and do not authorize the making of any offer of shares through any financial intermediary on their behalf, other than offers made by the underwriters with a view to the final placement of the

 

195


Table of Contents

shares as contemplated in this prospectus. Accordingly, no purchaser of the shares, other than the underwriters, is authorized to make any further offer of the shares on behalf of us or the underwriters.

In addition, in the United Kingdom, this document is being distributed only to, and is directed only at, and any offer subsequently made may only be directed at persons who are “qualified investors” (as defined in Article 2 of the UK Prospectus Regulation) (i) who have professional experience in matters relating to investments falling within Article 19(5) of the Financial Services and Markets Act 2000 (Financial Promotion) Order 2005, as amended, or the Order, and/or (ii) who are high net worth companies (or persons to whom it may otherwise be lawfully communicated) falling within Article 49(2)(a) to (d) of the Order (all such persons together being referred to as “relevant persons”) or otherwise in circumstances which have not resulted and will not result in an offer to the public of the shares in the United Kingdom within the meaning of the FSMA.

Any person in the United Kingdom that is not a relevant person should not act or rely on the information included in this document or use it as basis for taking any action. In the United Kingdom, any investment or investment activity that this document relates to may be made or taken exclusively by relevant persons.

Notice to Prospective Investors in Switzerland

The shares may not be publicly offered in Switzerland and will not be listed on the SIX Swiss Exchange (“SIX”) or on any other stock exchange or regulated trading facility in Switzerland. This document has been prepared without regard to the disclosure standards for issuance prospectuses under art. 652a or art. 1156 of the Swiss Code of Obligations or the disclosure standards for listing prospectuses under art. 27 ff. of the SIX Listing Rules or the listing rules of any other stock exchange or regulated trading facility in Switzerland. Neither this document nor any other offering or marketing material relating to the shares or the offering may be publicly distributed or otherwise made publicly available in Switzerland.

Neither this document nor any other offering or marketing material relating to the offering, the Company, the shares have been or will be filed with or approved by any Swiss regulatory authority. In particular, this document will not be filed with, and the offer of shares will not be supervised by, the Swiss Financial Market Supervisory Authority (“FINMA”), and the offer of shares has not been and will not be authorized under the Swiss Federal Act on Collective Investment Schemes (“CISA”). The investor protection afforded to acquirers of interests in collective investment schemes under the CISA does not extend to acquirers of shares.

Notice to Prospective Investors in the Dubai International Financial Centre

This prospectus relates to an Exempt Offer in accordance with the Offered Securities Rules of the Dubai Financial Services Authority (“DFSA”). This prospectus is intended for distribution only to persons of a type specified in the Offered Securities Rules of the DFSA. It must not be delivered to, or relied on by, any other person. The DFSA has no responsibility for reviewing or verifying any documents in connection with Exempt Offers. The DFSA has not approved this prospectus nor taken steps to verify the information set forth herein and has no responsibility for the prospectus. The shares to which this prospectus relates may be illiquid and/or subject to restrictions on their resale. Prospective purchasers of the shares offered should conduct their own due diligence on the shares. If you do not understand the contents of this prospectus you should consult an authorized financial advisor.

Notice to Prospective Investors in Australia

No placement document, prospectus, product disclosure statement or other disclosure document has been lodged with the Australian Securities and Investments Commission (“ASIC”), in relation to the offering. This prospectus does not constitute a prospectus, product disclosure statement or other disclosure document under the Corporations Act 2001 (the “Corporations Act”), and does not purport to include the information required for a prospectus, product disclosure statement or other disclosure document under the Corporations Act.

 

196


Table of Contents

Any offer in Australia of the shares may only be made to persons (the “Exempt Investors”) who are “sophisticated investors” (within the meaning of section 708(8) of the Corporations Act), “professional investors” (within the meaning of section 708(11) of the Corporations Act) or otherwise pursuant to one or more exemptions contained in section 708 of the Corporations Act so that it is lawful to offer the shares without disclosure to investors under Chapter 6D of the Corporations Act.

The shares applied for by Exempt Investors in Australia must not be offered for sale in Australia in the period of 12 months after the date of allotment under the offering, except in circumstances where disclosure to investors under Chapter 6D of the Corporations Act would not be required pursuant to an exemption under section 708 of the Corporations Act or otherwise or where the offer is pursuant to a disclosure document which complies with Chapter 6D of the Corporations Act. Any person acquiring shares must observe such Australian on-sale restrictions.

This prospectus contains general information only and does not take account of the investment objectives, financial situation or particular needs of any particular person. It does not contain any securities recommendations or financial product advice. Before making an investment decision, investors need to consider whether the information in this prospectus is appropriate to their needs, objectives and circumstances, and, if necessary, seek expert advice on those matters.

Notice to Prospective Investors in Hong Kong

The shares of common stock have not been offered or sold and will not be offered or sold in Hong Kong, by means of any document, other than (a) to “professional investors” as defined in the Securities and Futures Ordinance (Cap. 571) of Hong Kong and any rules made under that Ordinance; or (b) in other circumstances which do not result in the document being a “prospectus” as defined in the Companies Ordinance (Cap. 32) of Hong Kong or which do not constitute an offer to the public within the meaning of that Ordinance. No advertisement, invitation or document relating to the shares of common stock has been or may be issued or has been or may be in the possession of any person for the purposes of issue, whether in Hong Kong or elsewhere, which is directed at, or the contents of which are likely to be accessed or read by, the public of Hong Kong (except if permitted to do so under the securities laws of Hong Kong) other than with respect to shares of common stock which are or are intended to be disposed of only to persons outside Hong Kong or only to “professional investors” as defined in the Securities and Futures Ordinance and any rules made under that Ordinance.

Notice to Prospective Investors in Japan

The shares of common stock have not been and will not be registered under the Financial Instruments and Exchange Law of Japan (Law No. 25 of 1948, as amended) and, accordingly, will not be offered or sold, directly or indirectly, in Japan, or for the benefit of any Japanese Person or to others for re-offering or resale, directly or indirectly, in Japan or to any Japanese Person, except in compliance with all applicable laws, regulations and ministerial guidelines promulgated by relevant Japanese governmental or regulatory authorities in effect at the relevant time. For the purposes of this paragraph, “Japanese Person” shall mean any person resident in Japan, including any corporation or other entity organized under the laws of Japan.

Notice to Prospective Investors in Singapore

This prospectus has not been registered as a prospectus with the Monetary Authority of Singapore. Accordingly, the shares of common stock were not offered or sold or caused to be made the subject of an invitation for subscription or purchase and will not be offered or sold or caused to be made the subject of an invitation for subscription or purchase, and this prospectus or any other document or material in connection with the offer or sale, or invitation for subscription or purchase, of the shares of common stock, has not been circulated or distributed, nor will it be circulated or distributed, whether directly or indirectly, to any person in

 

197


Table of Contents

Singapore other than (i) to an institutional investor (as defined in Section 4A of the Securities and Futures Act (Chapter 289) of Singapore, as modified or amended from time to time (the “SFA”)) pursuant to Section 274 of the SFA, (ii) to a relevant person (as defined in Section 275(2) of the SFA) pursuant to Section 275(1) of the SFA, or any person pursuant to Section 275(1A) of the SFA, and in accordance with the conditions specified in Section 275 of the SFA, or (iii) otherwise pursuant to, and in accordance with the conditions of, any other applicable provision of the SFA.

Where the shares of common stock are subscribed or purchased under Section 275 of the SFA by a relevant person which is:

 

  (a)

a corporation (which is not an accredited investor (as defined in Section 4A of the SFA)) the sole business of which is to hold investments and the entire share capital of which is owned by one or more individuals, each of whom is an accredited investor; or

 

  (b)

a trust (where the trustee is not an accredited investor) whose sole purpose is to hold investments and each beneficiary of the trust is an individual who is an accredited investor,

securities or securities-based derivatives contracts (each term as defined in Section 2(1) of the SFA) of that corporation or the beneficiaries’ rights and interest (howsoever described) in that trust shall not be transferred within six months after that corporation or that trust has acquired the shares of common stock pursuant to an offer made under Section 275 of the SFA except:

 

  (a)

to an institutional investor or to a relevant person, or to any person arising from an offer referred to in Section 275(1A) or Section 276(4)(i)(B) of the SFA;

 

  (b)

where no consideration is or will be given for the transfer;

 

  (c)

where the transfer is by operation of law; or

 

  (d)

as specified in Section 276(7) of the SFA.

Notice to Prospective Investors in Canada

The shares of common stock may be sold only to purchasers purchasing, or deemed to be purchasing, as principal that are accredited investors, as defined in National Instrument 45-106 Prospectus Exemptions or subsection 73.3(1) of the Securities Act (Ontario), and are permitted clients, as defined in National Instrument 31-103 Registration Requirements, Exemptions and Ongoing Registrant Obligations. Any resale of the shares of common stock must be made in accordance with an exemption from, or in a transaction not subject to, the prospectus requirements of applicable securities laws.

Securities legislation in certain provinces or territories of Canada may provide a purchaser with remedies for rescission or damages if this prospectus (including any amendment thereto) contains a misrepresentation, provided that the remedies for rescission or damages are exercised by the purchaser within the time limit prescribed by the securities legislation of the purchaser’s province or territory. The purchaser should refer to any applicable provisions of the securities legislation of the purchaser’s province or territory for particulars of these rights or consult with a legal advisor.

Pursuant to section 3A.3 (or, in the case of securities issued or guaranteed by the government of a non-Canadian jurisdiction, section 3A.4) of National Instrument 33-105 Underwriting Conflicts (NI 33-105), the underwriters are not required to comply with the disclosure requirements of NI 33-105 regarding underwriter conflicts of interest in connection with this offering.

Notice to Prospective Investors in Israel

This document does not constitute a prospectus under the Israeli Securities Law, 5728-1968, (Israeli Securities Law), and has not been filed with or approved by the Israel Securities Authority. In Israel, this

 

198


Table of Contents

prospectus is being distributed only to, and is directed only at, and any offer of the shares of common stock is directed only at, (i) a limited number of persons in accordance with the Israeli Securities Law and (ii) investors listed in the first addendum (the “Addendum”), to the Israeli Securities Law, consisting primarily of joint investment in trust funds, provident funds, insurance companies, banks, portfolio managers, investment advisors, members of the Tel Aviv Stock Exchange, underwriters, venture capital funds, entities with equity in excess of NIS 50 million and “qualified individuals,” each as defined in the Addendum (as it may be amended from time to time), collectively referred to as qualified investors (in each case, purchasing for their own account or, where permitted under the Addendum, for the accounts of their clients who are investors listed in the Addendum). Qualified investors are required to submit written confirmation that they fall within the scope of the Addendum, are aware of the meaning of same and agree to it.

 

199


Table of Contents

LEGAL MATTERS

Kirkland & Ellis LLP, Chicago, Illinois will pass upon the validity of the common stock offered hereby on our behalf. Kirkland & Ellis LLP has from time to time represented Summit Partners and some of their respective affiliates in connection with various legal matters. The underwriters are represented by Davis Polk & Wardwell LLP.

EXPERTS

The consolidated financial statements of Excelerate, L.P. as of December 31, 2019 and 2020 and for each of the two years in the period ended December 31, 2020 included in this prospectus have been so included in reliance upon the report of PricewaterhouseCoopers, an independent registered public accounting firm, given on the authority of said firm as experts in auditing and accounting.

The consolidated financial statements of Culture Kings Group Pty Ltd as of January 1, 2019, December 31, 2019 and December 31, 2020 and for each of the two years in the period ended December 31, 2020 included in this prospectus have been so included in reliance upon the report of PricewaterhouseCoopers, an independent registered public accounting firm, given on the authority of said firm as experts in auditing and accounting.

WHERE YOU CAN FIND MORE INFORMATION

We have filed with the SEC a registration statement on Form S-1, including exhibits, under the Securities Act with respect to the shares of our common stock offered hereby. This prospectus, which constitutes a part of the registration statement, does not contain all of the information set forth in the registration statement or the exhibits filed therewith. For further information with respect to us and the common stock offered hereby, reference is made to the registration statement and the exhibits filed therewith. Statements contained in this prospectus regarding the contents of any contract or any other document that is filed as an exhibit to the registration statement are not necessarily complete, and each such statement is qualified in all respects by reference to the full text of such contract or other document filed as an exhibit to the registration statement. Such materials may be accessed electronically by means of the SEC’s home page on the Internet at www.sec.gov and our website at www.aka-brands.com. Please note that our website address is provided as an inactive textual reference only. The information contained on, or accessible through, our website is not part of this prospectus and is therefore not incorporated by reference.

As a result of this offering, we will become subject to the information and reporting requirements of the Exchange Act, and, in accordance with this law, will file periodic reports, proxy statements and other information with the SEC. Upon completion of this offering, you may access these materials on our website free of charge as soon as practicable after they are electronically filed with, or furnished to, the SEC.

 

200


Table of Contents

INDEX TO FINANCIAL STATEMENTS

 

EXCELERATE, L.P.

  

AUDITED CONSOLIDATED FINANCIAL STATEMENTS

  

REPORT OF INDEPENDENT REGISTERED PUBLIC ACCOUNTING FIRM

     F-2  

CONSOLIDATED BALANCE SHEETS

     F-3  

CONSOLIDATED STATEMENTS OF INCOME

     F-4  

CONSOLIDATED STATEMENTS OF COMPREHENSIVE INCOME

     F-5  

CONSOLIDATED STATEMENTS OF CHANGES IN MEMBERS’ EQUITY

     F-6  

CONSOLIDATED STATEMENTS OF CASH FLOWS

     F-7  

NOTES TO CONSOLIDATED FINANCIAL STATEMENTS

     F-8  

CULTURE KINGS GROUP PTY LTD

  

AUDITED CONSOLIDATED FINANCIAL STATEMENTS

  

REPORT OF INDEPENDENT AUDITOR

     F-34  

CONSOLIDATED STATEMENT OF PROFIT OR LOSS AND OTHER COMPREHENSIVE INCOME

     F-35  

CONSOLIDATED STATEMENT OF FINANCIAL POSITION

     F-36  

CONSOLIDATED STATEMENT OF CHANGES IN EQUITY

     F-37  

CONSOLIDATED STATEMENT OF CASH FLOWS

     F-38  

NOTES TO THE FINANCIAL STATEMENTS

     F-39  

EXCELERATE, L.P.

  

UNAUDITED CONDENSED CONSOLIDATED FINANCIAL STATEMENTS

  

CONDENSED CONSOLIDATED BALANCE SHEETS AS OF DECEMBER 31, 2020 AND JUNE 30, 2021

     F-72  

CONDENSED CONSOLIDATED STATEMENTS OF INCOME FOR THE SIX MONTHS ENDED JUNE 30, 2020 AND 2021

     F-73  

CONDENSED CONSOLIDATED STATEMENTS OF COMPREHENSIVE INCOME FOR THE SIX MONTHS ENDED JUNE 30, 2020 AND 2021

     F-74  

CONDENSED CONSOLIDATED STATEMENTS OF CHANGES IN MEMBERS’ EQUITY FOR THE SIX MONTHS ENDED JUNE 30 2020 AND 2021

     F-75  

CONDENSED CONSOLIDATED STATEMENTS OF CASH FLOWS FOR THE SIX MONTHS ENDED JUNE 30 2020 AND 2021

     F-76  

NOTES TO CONDENSED CONSOLIDATED FINANCIAL STATEMENTS

     F-77  

 

F-1


Table of Contents

REPORT OF INDEPENDENT REGISTERED PUBLIC ACCOUNTING FIRM

To the Board of Directors and Members of Excelerate, L.P.

Opinion on the Financial Statements

We have audited the accompanying consolidated balance sheets of Excelerate, L.P. and its subsidiaries (the “Partnership”) as of December 31, 2020 and 2019, and the related consolidated statements of income, comprehensive income, changes in members’ equity and cash flows for each of the two years in the period ended December 31, 2020 including the related notes (collectively referred to as the “consolidated financial statements”). In our opinion, the consolidated financial statements present fairly, in all material respects, the financial position of the Partnership as of December 31, 2020 and 2019, and the results of its operations and its cash flows for each of the two years in the period ended December 31, 2020 in conformity with accounting principles generally accepted in the United States of America.

Basis for Opinion

These consolidated financial statements are the responsibility of the Partnership’s management. Our responsibility is to express an opinion on the Partnership’s consolidated financial statements based on our audits. We are a public accounting firm registered with the Public Company Accounting Oversight Board (United States) (PCAOB) and are required to be independent with respect to the Partnership in accordance with the U.S. federal securities laws and the applicable rules and regulations of the Securities and Exchange Commission and the PCAOB.

We conducted our audits of these consolidated financial statements in accordance with the standards of the PCAOB. Those standards require that we plan and perform the audit to obtain reasonable assurance about whether the consolidated financial statements are free of material misstatement, whether due to error or fraud.

Our audits included performing procedures to assess the risks of material misstatement of the consolidated financial statements, whether due to error or fraud, and performing procedures that respond to those risks. Such procedures included examining, on a test basis, evidence regarding the amounts and disclosures in the consolidated financial statements. Our audits also included evaluating the accounting principles used and significant estimates made by management, as well as evaluating the overall presentation of the consolidated financial statements. We believe that our audits provide a reasonable basis for our opinion.

/s/ PricewaterhouseCoopers

Melbourne, Australia

June 23, 2021, except for the effects of the revisions discussed in Note 2 to the consolidated financial statements, as to which the date is August 23, 2021

We have served as the Partnership’s auditor since 2021.

 

F-2


Table of Contents

EXCELERATE, L.P.

CONSOLIDATED BALANCE SHEETS

(in thousands)

 

     December 31,  
     2019     2020  

Assets

    

Current assets:

    

Cash and cash equivalents

   $ 5,472     $ 26,259  

Restricted cash

     319       840  

Accounts receivable

     284       1,183  

Inventory, net

     22,632       33,124  

Income taxes receivable

     115       —    

Prepaid expenses and other current assets

     1,397       4,080  
  

 

 

   

 

 

 

Total current assets

     30,219       65,486  
  

 

 

   

 

 

 

Property, plant and equipment, net

     1,031       2,121  

Operating lease right-of-use assets

     1,955       4,477  

Intangible assets, net

     32,498       29,102  

Goodwill

     80,221       88,253  
  

 

 

   

 

 

 

Total assets

   $ 145,924     $ 189,439  
  

 

 

   

 

 

 

Liabilities and members’ equity

    

Current liabilities:

    

Accounts payable

   $ 7,237     $ 4,689  

Accrued liabilities

     6,251       18,169  

Sales returns reserve

     2,585       3,517  

Deferred revenue

     2,463       4,165  

Income taxes payable

     —         3,118  

Operating lease liabilities, current

     464       1,234  

Current portion of long-term debt

     —         6,353  
  

 

 

   

 

 

 

Total current liabilities

     19,000       41,245  
  

 

 

   

 

 

 

Long-term debt

     5,274       —    

Operating lease liabilities

     1,491       3,262  

Other long-term liabilities

     49       144  

Deferred income taxes, net

     8,069       5,904  
  

 

 

   

 

 

 

Total liabilities

     33,883       50,555  
  

 

 

   

 

 

 

Commitments and contingencies (Note 15)

    

Members’ equity:

    

Units

     107,747       108,197  

Retained earnings (accumulated deficit)

     (196     14,138  

Non-controlling interest

     8,727       9,983  

Accumulated other comprehensive income (loss)

     (4,731     5,839  

Additional paid-in capital

     494       727  
  

 

 

   

 

 

 

Total members’ equity

     112,041       138,884  
  

 

 

   

 

 

 

Total liabilities and members’ equity

   $ 145,924     $ 189,439  
  

 

 

   

 

 

 

The accompanying notes are an integral part of these consolidated financial statements

 

F-3


Table of Contents

EXCELERATE, L.P.

CONSOLIDATED STATEMENTS OF INCOME

(in thousands, except unit and per unit data)

 

     Year Ended December 31,  
     2019     2020  

Net sales

   $ 102,440     $ 215,916  

Cost of sales

     46,575       89,515  
  

 

 

   

 

 

 

Gross profit

     55,865       126,401  

Operating expenses:

    

Selling

     28,091       58,313  

Marketing

     7,666       17,871  

General and administrative

     17,515       28,077  
  

 

 

   

 

 

 

Total operating expenses

     53,272       104,261  
  

 

 

   

 

 

 

Income from operations

     2,593       22,140  

Other expense, net

     (139     (485
  

 

 

   

 

 

 

Income before income taxes

     2,454       21,655  

Provision for income tax

     (1,012     (6,850
  

 

 

   

 

 

 

Net income

     1,442       14,805  

Net income attributable to noncontrolling interests

     (48     (471
  

 

 

   

 

 

 

Net income attributable to Excelerate, L.P.

   $ 1,394     $ 14,334  
  

 

 

   

 

 

 

Earnings per unit

    

Basic

   $ 0.01     $ 0.13  

Diluted

   $ 0.01     $ 0.13  

Weighted average units outstanding:

    

Basic

     101,200,399       114,028,628  

Diluted

     101,200,399       114,028,628  

The accompanying notes are an integral part of these consolidated financial statements

 

F-4


Table of Contents

EXCELERATE, L.P.

CONSOLIDATED STATEMENTS OF COMPREHENSIVE INCOME

(in thousands)

 

     Year Ended December 31,  
     2019     2020  

Net income

   $ 1,442     $ 14,805  

Other comprehensive income:

    

Currency translation

     244       11,355  
  

 

 

   

 

 

 

Total comprehensive income

     1,686       26,160  

Comprehensive income attributable to noncontrolling interests

     (413     (1,256
  

 

 

   

 

 

 

Comprehensive income attributable to Excelerate, L.P.

   $ 1,273     $ 24,904  
  

 

 

   

 

 

 

The accompanying notes are an integral part of these consolidated financial statements.

 

F-5


Table of Contents

EXCELERATE, L.P.

CONSOLIDATED STATEMENTS OF CHANGES IN MEMBERS’ EQUITY

(in thousands, except unit data)

 

     Members’ Units      Additional
Paid-In
Capital
    Accumulated
Other
Comprehensive
Income (Loss)
    Retained
Earnings
(Accumulated
Deficit)
    Noncontrolling
Interest
     Total
Members’
Equity
 
     Units      Amount  

Balance as of December 31, 2018

     93,362,500      $ 85,583      $ 141     $ (4,610   $ (1,590   $ —        $ 79,524  

Issuance of units

     20,398,838        22,164        —         —         —         —          22,164  

Equity-based compensation

     —          —          353       —         —         —          353  

Cumulative translation adjustment

     —          —          —         (121     —         365        244  

Noncontrolling interest from acquisition

     —          —          —         —         —         8,314        8,314  

Net income

     —          —          —         —         1,394       48        1,442  
  

 

 

    

 

 

    

 

 

   

 

 

   

 

 

   

 

 

    

 

 

 

Balance as of December 31, 2019

     113,761,338        107,747        494       (4,731     (196     8,727        112,041  

Issuance of units

     406,504        450        —         —         —         —          450  

Equity-based compensation

     —          —          1,380       —         —         —          1,380  

Repurchase of incentive units

     —          —          (1,147     —         —         —          (1,147

Cumulative translation adjustment

     —          —          —         10,570       —         785        11,355  

Net income

     —          —          —         —         14,334       471        14,805  
  

 

 

    

 

 

    

 

 

   

 

 

   

 

 

   

 

 

    

 

 

 

Balance as of December 31, 2020

     114,167,842      $ 108,197      $ 727     $ 5,839     $ 14,138     $ 9,983      $ 138,884  
  

 

 

    

 

 

    

 

 

   

 

 

   

 

 

   

 

 

    

 

 

 

The accompanying notes are an integral part of these consolidated financial statements.

 

F-6


Table of Contents

EXCELERATE, L.P.

CONSOLIDATED STATEMENTS OF CASH FLOWS

(in thousands)

 

     Year Ended December 31,  
     2019     2020  

Cash flows from operating activities:

    

Net income

   $ 1,442     $  14,805  

Adjustments to reconcile net income to net cash provided by operating activities:

    

Depreciation expense

     467       353  

Amortization expense

     5,760       6,409  

Equity-based compensation

     353       1,380  

Deferred income taxes, net

     (1,705     (2,908

Changes in operating assets and liabilities:

    

Accounts receivable

     (47     (833

Inventory

     (15,059     (9,375

Prepaid expenses and other current assets

     (2,707     20  

Accounts payable

     5,115       (2,776

Income taxes payable

     (1,567     3,688  

Accrued liabilities

     6,398       8,417  

Returns reserve

     945       863  

Deferred revenue

     1,133       1,493  

Lease liabilities

     (161     (55

Foreign currency remeasurement gain

     144       231  
  

 

 

   

 

 

 

Net cash provided by operating activities

     511       21,712  

Cash flows from investing activities:

    

Acquisition of businesses, net of cash acquired

     (20,425     (600

Purchase of intangible assets

     (372     (451

Purchases of property and equipment

     (1,031     (1,328
  

 

 

   

 

 

 

Net cash used in investing activities

     (21,828     (2,379

Cash flows from financing activities:

    

Proceeds from (repayments of) line of credit

     (1,581     790  

Proceeds from issuance of units

     22,164       450  
  

 

 

   

 

 

 

Net cash provided by financing activities

     20,583       1,240  

Effect of exchange rate changes on cash, cash equivalents and restricted cash

     482       735  
  

 

 

   

 

 

 

Net (decrease) increase in cash, cash equivalents and restricted cash

     (252     21,308  

Cash, cash equivalents and restricted cash at beginning of period

     6,043       5,791  

Cash, cash equivalents and restricted cash at end of period

   $ 5,791     $ 27,099  
  

 

 

   

 

 

 

Reconciliation of cash, cash equivalents, and restricted cash:

    

Cash and cash equivalents

   $ 5,472     $ 26,259  

Restricted cash

     319       840  
  

 

 

   

 

 

 

Total cash, cash equivalents, and restricted cash

   $ 5,791     $ 27,099  
  

 

 

   

 

 

 

Supplemental disclosure of cash flow information:

    

Interest paid

   $ 334     $ 278  

Income taxes paid, net of refund

     4,431       4,875  

Supplemental disclosure of non-cash investing activities:

    

Consideration payable in connection with a business acquisition

   $ 728     $ —    

Right of use asset additions under operating leases

   $ 233     $ 2,740  

The accompanying notes are an integral part of these consolidated financial statements

 

F-7


Table of Contents

EXCELERATE, L.P.

NOTES TO CONSOLIDATED FINANCIAL STATEMENTS

(tabular amounts in thousands, except unit and per unit data, ratios, or as noted)

Note 1. Description of Business

Excelerate, L.P. (the “Partnership” or “Excelerate”), which operates under the name a.k.a. (“a.k.a. Brands” or “a.k.a.”), is an online fashion retailer focused on acquiring and accelerating the growth of next-generation, digitally native fashion brands targeting Gen Z and Millennial customers.

The Partnership is headquartered in San Francisco, California, with buying, studio, marketing, fulfillment and administrative functions primarily in Australia and the United States.

In anticipation of the Partnership’s planned initial public offering (the “IPO”), a reorganization will be undertaken to cause Excelerate, L.P. to become a wholly-owned subsidiary of a newly created entity, a.k.a. Brands Holding Corp. a.k.a. Brands Holding Corp was formed on May 20, 2021 and will be the issuer of the common stock in the IPO. Prior to the reorganization, the investors in Excelerate, L.P. will exchange their limited partnership interests in Excelerate, L.P. for limited partnership interests in New Excelerate, L.P., and New Excelerate, L.P. will become a limited partner of Excelerate, L.P. Immediately prior to the pricing of the IPO, the General Partner of Excelerate, L.P., New Excelerate, L.P. will transfer its interests in Excelerate, L.P. to a.k.a. Brands Holding Corp., in exchange for stock in a.k.a Brands Holding Corp. As a result, Excelerate, L.P. will become a wholly-owned subsidiary of a.k.a Brands Holding Corp.

Note 2. Significant Accounting Policies

Principles of Consolidation and Basis of Presentation

The accompanying consolidated financial statements have been prepared in accordance with accounting principles generally accepted in the United States of America (“GAAP”). The accompanying consolidated financial statements include the balances of Excelerate, L.P., and all of its wholly-owned subsidiaries and subsidiaries in which the Partnership has a controlling interest. All intercompany transactions and balances have been eliminated in consolidation.

Revisions to Financial Statements

Reclassifications

In the years ended December 31, 2019 and 2020, the Partnership reclassified certain operating expenses within the consolidated statements of income. The reclassifications related to a change in policy wherein no labor would be allocated to marketing expenses. This change was made to present marketing expenses on the same basis as is used to monitor these costs internally. These changes had no impact on the Partnership’s previously reported consolidated net income, financial position or cash flows for the years ended December 31, 2019 and 2020. For the years ended December 31, 2019 and 2020, respectively, $1.7 million and $5.0 million was reclassified from marketing expenses to general and administrative expenses.

Immaterial Errors

The Partnership corrected for immaterial errors in each of the years ended December 31, 2019 and 2020. For the year ended December 31, 2019, 1) mapping errors were corrected by reclassifying $1.0 million from selling expenses and $0.8 million from marketing expenses to general and administrative expenses in the consolidated statements of income, and 2) an error was corrected by reclassifying $0.4 million from accumulated other comprehensive income to noncontrolling interest in the consolidated balance sheets. For the year ended December 31, 2020, 1) mapping errors were corrected by reclassifying $2.4 million from selling expenses to marketing and general and administrative expenses, respectively, in the amount of $1.5 million and $0.9 million, 2) certain corporate salaries had inadvertently been recorded to cost of sales and was corrected by reclassifying $1.3 million from cost of sales to general and administrative expenses in the consolidated statements of income, and 3) an error was corrected by reclassifying $1.2 million from accumulated other comprehensive income to

 

F-8


Table of Contents

noncontrolling interest in the consolidated balance sheets. These changes had no impact on the Partnership’s previously reported consolidated net income, financial position or cash flows for the years ended December 31, 2019 and 2020.

The Partnership does not believe that these reclassifications and errors were material to the consolidated financial statements in any period presented.

Use of Estimates

The preparation of consolidated financial statements in conformity with GAAP requires management to make estimates and assumptions that affect the reported amounts of assets and liabilities, revenues and expenses, and related disclosures of contingent assets and liabilities in the consolidated financial statements and accompanying notes. Actual results could materially differ from those estimates. On an ongoing basis, the Partnership evaluates items subject to significant estimates and assumptions. As of December 31, 2020, the effects of the ongoing COVID-19 pandemic on our business, results of operations and financial condition continue to evolve. As a result, many of our estimates and assumptions require increased judgment and carry a higher degree of variability and volatility. The accounting estimates and assumptions that may be most impacted by this higher degree of variability and volatility are our sales returns reserve and goodwill impairment testing.

Concentration of Credit Risk

Financial instruments that subject Excelerate to credit risk consist of cash and cash equivalents, restricted cash, and accounts receivable. Although the Partnership’s deposits held with banks may exceed the amount of federal insurance provided on such deposits, the Partnership has not experienced any losses in such accounts. The Partnership is exposed to credit risk in the event of a default by the financial institutions holding its cash and cash equivalents for the amounts reflected on the consolidated balance sheets.

As of December 31, 2019 and 2020, the Partnership had $3.1 million and $10.9 million, respectively (amount stated in United States dollars equivalent of the foreign currencies) in banks outside of the United States.

Cash and Cash Equivalents

Excelerate considers all highly liquid investments purchased with an original maturity (at date of purchase) of three months or less to be the equivalent of cash. Cash equivalents, which consist primarily of money market accounts and restricted cash are carried at cost, which approximates fair value.

Restricted Cash

Restricted cash primarily relates to letters of credit which are held as collateral under various lease agreements. Restricted cash is presented separately from cash and cash equivalents on the accompanying consolidated balance sheets.

Accounts Receivable

Accounts receivable consists of trade accounts receivable relating to the credit card receivables arising from the sale of products to customers through the Partnership’s digital platforms. Trade accounts receivable is reported net of an allowance for doubtful accounts. The Partnership had no allowance for doubtful accounts as of December 31, 2019 and 2020.

Inventory, Net

Inventories consists of finished goods and are accounted for using an average cost method. Inventory is valued at the lower of cost or net realizable value. Cost of inventory includes import duties and other taxes and transport and handling costs. The Partnership records a provision for excess and obsolete inventory to adjust the carrying value of inventory based on assumptions regarding future demand for the Partnership’s products.

 

F-9


Table of Contents

Lower of cost or net realizable value is evaluated by considering obsolescence, excess levels of inventory, deterioration and other factors. The Partnership analyzes the quantity of inventory on hand, the quantity sold in the past year, the anticipated sales volume, the expected sales price and the cost of making the sale when evaluating the net realizable value of its inventory. If the sales volume or sales price of specific products declines, additional write-downs may be required. Excess and obsolete inventory is charged to cost of goods sold in the period the write-down is estimated.

The Partnership recorded a write-down of inventory of $0.8 million and $0.7 million as of December 31, 2019 and 2020, respectively.

Prepaid Expenses and Other Current Assets

Prepaid expenses and other current assets consist primarily of advance payments on inventory to be delivered from vendors, prepaid packaging and insurance.

Property and Equipment, Net

Property and equipment are recorded at cost, net of accumulated depreciation. Repair and maintenance costs are expensed as incurred.

Depreciation is calculated using the straight-line method over the estimated useful lives of the assets, which range from three to five years.

 

    

Estimated useful life (years)

Furniture and fixtures    5
Machinery and equipment    5
Computer equipment and capitalized software    3
Buildings and leasehold improvements    Shorter of the lease term or the estimated life of the assets

Upon the sale or disposal of property and equipment, the cost and related accumulated depreciation and amortization are removed from the consolidated balance sheets and the resulting gain or loss is reflected in general and administrative expense in the consolidated statements of income and comprehensive income.

The Partnership has incurred costs related to the development of the Partnership’s websites. The Partnership capitalizes these website development costs, as applicable, in accordance with ASC Subtopic 350-50, Intangibles—Goodwill and Other—Website Development Costs (“ASC 350-50”). ASC 350-50 requires that costs incurred during the website development stage be capitalized. Capitalized website costs include salary and benefit costs for Partnership employees and contractors that develop the website. When the development phase is substantially complete and the website is ready for its intended purpose, capitalized costs are amortized using the straight-line method over the three-year useful life.

Business Combinations

The Partnership accounts for business combinations using the acquisition method and accordingly, the identifiable assets acquired, the liabilities assumed, and any noncontrolling interest in the acquiree are recorded at their acquisition date fair values. Goodwill is recorded as the difference, if any, between the aggregate consideration paid for an acquisition and the fair value of the acquired net tangible and intangible assets. Goodwill recorded in an acquisition is assigned to applicable reporting units based on expected revenues or expected cash flows. Identifiable intangible assets with finite lives are amortized over their useful lives. Amortization of intangible assets is recorded in general and administrative expense.

While the Partnership uses its best estimates and assumptions as a part of the determination of fair value to accurately value assets acquired, liabilities assumed and any noncontrolling interest on the business combination date, the Partnership’s estimates and assumptions are inherently subject to refinement. As a result, during the

 

F-10


Table of Contents

preliminary determination of fair value, which may be up to one year from the business combination date, the Partnership may record adjustments to the assets acquired or liabilities assumed subsequent to the completion of the determination of fair value in the Partnership’s operating results in the period in which the adjustments were determined.

Noncontrolling interest is part of the aggregate consideration paid for an acquisition. It is measured at the minorities’ share of the fair value of the subsidiaries’ identifiable assets and liabilities at the date of acquisition by Excelerate, subject to possible adjustments for up to one year from the business combination date, and the minorities’ share of changes in equity since the date of acquisition.

The Partnership also incurs acquisition-related and other expenses including legal, banking, accounting and other advisory fees of third parties which are recorded as general and administrative expenses as incurred.

The results of operations of acquired businesses are included in the consolidated financial statements from the acquisition date.

Goodwill, Intangible Assets and Other Long-Lived Assets

Assets acquired and liabilities assumed are measured at fair value as of the acquisition date. Goodwill, which has an indefinite useful life, represents the excess of cost over fair value of the net assets acquired. As of December 31, 2019 and 2020, the Partnership had goodwill of $80.2 million and $88.3 million, respectively.

Goodwill represents the excess of the purchase price over the fair value of net assets, including the amount assigned to identifiable intangible assets. The primary drivers that generate goodwill are the value of synergies between the acquired entities and the Partnership and the acquired assembled workforce, neither of which qualifies as a separately identifiable intangible asset.

Goodwill is tested for impairment at least annually, in the fourth quarter and whenever changes in circumstances indicate an impairment may exist. The goodwill impairment test is performed at the reporting unit level, which is generally at the level of or one level below an operating segment. Generally, a qualitative assessment is first performed to determine whether a quantitative goodwill impairment test is necessary. If the management determines, after performing an assessment based on the qualitative factors, that the fair value of the reporting unit is more likely than not less than the carrying amount, or that a fair value of the reporting unit substantially in the excess of the carrying amount cannot be assured, then a quantitative goodwill impairment test would be required. The quantitative test for goodwill impairment is performed by determining the fair value of the related reporting units. Fair value is measured based on the discounted cash flow method, relative market-based approaches, and relief-from-royalty approaches. An impairment charge is recorded equal to any shortfall between the fair value of a reporting unit and its carrying value.

No goodwill impairment was recorded for the years ended December 31, 2019 and 2020.

Impairment of Long-Lived Assets

The Partnership reviews long-lived assets for possible impairment whenever events or changes in circumstances indicate the carrying amount may not be recoverable. This determination includes evaluation of factors such as future asset utilization and future net undiscounted cash flows expected to result from the use of the assets. If circumstances require a long-lived asset or asset group be tested for possible impairment, the Partnership first compares undiscounted cash flows expected to be generated by that asset group to its carrying amount. If the carrying amount of the long-lived asset or asset group is not recoverable on an undiscounted cash flow basis, an impairment is recognized to the extent that the carrying amount exceeds its fair value.

The Partnership’s identifiable intangible assets are typically comprised of customer relationships, brand names and acquired core website software. The cost of identifiable assets with finite lives is generally amortized on a straight-line basis over the assets’ respective estimated useful lives, which range from two to ten years.

 

F-11


Table of Contents

No impairment losses were recognized during the years ended December 31, 2019 and 2020.

Leases

The Partnership generally leases office and warehouse facilities under non-cancellable agreements. Upon each agreement’s commencement date, the Partnership determines if the agreement is part of an arrangement that is or that contains a lease, determines the lease classification and recognizes right-of-use assets and lease liabilities for all leases with the exception of leases with terms of 12 months or less. The Partnership accounts for lease and non-lease components as a single lease component. Operating lease right-of-use assets are classified in operating lease right-of-use assets in the consolidated balance sheets. Operating lease liabilities are classified as other current liabilities and long-term operating lease liabilities based on when lease payments are due. The Partnership’s lease payments consist primarily of fixed rental payments for the right to use the underlying leased assets over the lease terms as well as payments for common-area-maintenance and administrative services. As of December 31, 2019 and 2020, the Partnership did not have material finance lease arrangements.

Lease liabilities and their corresponding right-of-use assets are recorded based on the present value of lease payments over the expected term of the lease commencement date. As most of the Partnership’s leases do not provide an implicit rate, the Partnership uses an estimated incremental borrowing rate (“IBR”) based on the information available at the commencement date of the respective lease to determine the present value of future payments. The determination of the IBR requires judgment and is primarily based on publicly available information for companies within the same industry and with similar credit profiles. The Partnership adjusts the rate for the impact of collateralization, the lease term and other specific terms included in each lease arrangement. The IBR is determined at the lease commencement and is subsequently reassessed upon a modification to the lease arrangement. The right-of-use asset also includes any lease payments made prior to the commencement date and excludes lease incentives and initial direct costs incurred.

Lease expense for minimum lease payments on operating leases is recognized on a straight-line basis over the lease term. Lease terms may include options to extend or terminate the lease when it is reasonably certain that the Partnership will exercise that option.

The Partnership reviews right-of-use assets for impairment whenever events or changes in circumstances indicate that the carrying amount of the right-of-use asset may not be recoverable. When such events occur, the Partnership compares the carrying amount of the right-of-use asset to the undiscounted expected future cash flows related to the right-of-use asset. If the comparison indicates that an impairment exists, the amount of the impairment is calculated as the difference between the excess of the carrying amount over the fair value of the right-of-use asset. If a readily determinable market price does not exist, fair value is estimated using discounted expected cash flows attributable to the right-of-use asset.

Income Taxes

Income taxes are accounted for under the asset and liability method. Deferred tax assets and liabilities are recognized for the future tax consequences attributable to differences between the financial statement carrying amounts of existing assets and liabilities and their respective tax bases and are recorded net on the face of the balance sheet. Deferred tax assets and liabilities are measured using enacted tax rates expected to apply to taxable income in the years in which those temporary differences are expected to be recovered or settled. The effect on deferred tax assets and liabilities of a change in tax rates is recognized in income in the period that includes the enactment date.

Deferred tax assets are recognized to the extent it is believed that these assets are more likely than not to be realized. In assessing the realizability of deferred tax assets, management considers whether it is more likely than not that some portion or all of the deferred tax assets will not be realized. The ultimate realization of deferred tax assets is dependent upon the generation of future taxable income during the periods in which those temporary

 

F-12


Table of Contents

differences become deductible. Management considers the scheduled reversal of deferred tax liabilities (including the impact of available carry back and carry forward periods), projected future taxable income and tax planning strategies in making this assessment. Based upon the level of historical taxable income and projections for future taxable income over the periods in which the deferred tax assets are deductible, management believes it is more likely than not that the Partnership will realize the benefits of these deductible differences, net of the valuation allowance. The amount of the deferred tax asset considered realizable, however, could be reduced in the near term if estimates of future taxable income during the carry forward period are reduced.

The Partnership uses a two-step approach to recognizing and measuring uncertain tax positions. The first step is to evaluate the tax position for recognition by determining if the weight of available evidence indicates that it is more likely than not that the position will be sustained on audit, including resolution of related appeals and litigation processes, if any. The second step is to measure the largest amount of tax benefit as the largest amount that is more likely than not to be realized upon settlement.

Changes in recognition or measurement are reflected in the period in which the change in judgment occurs. As of December 31, 2020, there are no known uncertain tax positions.

Equity-based Compensation

Equity-Based Compensation

The Partnership has granted equity-based awards consisting primarily of incentive units to employees. These incentive units have no voting rights and participate in distributions from Excelerate, L.P., but only after investors receive their return of capital plus a specified threshold amount per unit. The Partnership has determined that the incentive units are equity-based compensation awards.

Equity-based compensation expense related to these equity-based awards is recognized based on the grant date fair value of the awards. The Partnership estimates the fair value of each incentive unit award granted using the Black-Scholes option pricing model which treats the incentive units as implicit call options with exercise prices determined based on their respective rights to participate in distributions. The Black-Scholes option pricing model requires the input of highly subjective assumptions, including the fair value of the underlying incentive unit, the risk-free interest rate, the expected volatility of the price of our units, the expected dividend yield and the expected term of the unit. The assumptions used to determine the fair value of the unit awards represent management’s best estimates. These estimates involve inherent uncertainties and the application of management’s judgment. These assumptions and estimates are as follows:

 

   

Fair Value of units. As our units are not publicly traded, the fair value was determined by our board of directors, with input from management and valuation reports prepared for management as described below under “Partnership Units Valuations.”

 

   

Risk-Free Interest Rate. The risk-free interest rate for the expected term of the options was based on the U.S. Treasury yield curve in effect at the time of the grant.

 

   

Expected Volatility. As the Partnership does not have a trading history for our units, the expected volatility was estimated by taking the average historic price volatility for industry peers, consisting of several public companies in our industry which are either similar in size, stage of life cycle or financial leverage, over a period equivalent to the expected term of the awards.

 

   

Expected Dividend Yield. The Partnership has never declared or paid any cash dividends and does not currently plan to pay cash dividends in the foreseeable future. As a result, an expected dividend yield of zero percent was used.

 

   

Expected Term. There is no stated term of the incentive units. The pay-off will be determined when the limited partnership proceeds are distributed. As such, the expected term was estimated based upon the expected partnership distribution date.

 

F-13


Table of Contents

The Partnership will continue to use judgment in evaluating the assumptions related to its equity-based compensation on a prospective basis. As the Partnership continues to accumulate additional data related to its units, the Partnership may refine its estimation process, which could materially impact its future equity-based compensation expense.

For awards that vest based on continuous service, equity-based compensation expense is recognized on a straight-line basis over the requisite service period of the awards, which is generally four years. The Partnership accounts for forfeitures as they occur.

The Partnership’s performance-based incentive units vest upon the satisfaction of both a performance and market condition. The performance condition is satisfied upon the occurrence of a liquidity event, defined as a change of control transaction or an initial public offering, and is not deemed probable until it occurs. The market condition is satisfied upon the initial investor in Excelerate, L.P. receiving an aggregate return equal to three times its aggregate investment. The Partnership determined the grant date fair value of the performance-based incentive units using the Black-Scholes option pricing model, modified to allow for vesting only if the value at the distribution date is at or above the performance threshold. As of December 31, 2019 and 2020, the performance condition was not probable to occur and therefore no equity-based compensation expense was recognized for the Partnership’s performance-based incentive units. If and when the performance condition is deemed probable to occur, the Partnership will record cumulative incentive unit-based compensation at that date.

Partnership Units Valuations

Given the absence of a public trading market of our units, and in accordance with the American Institute of Certified Public Accountants Accounting and Valuation Guide, Valuation of Privately-Held Company Equity Securities Issued as Compensation, our board of directors exercised reasonable judgment and considered numerous and subjective factors to determine the best estimate of fair value of our units at each grant date, including:

 

   

valuations of our units;

 

   

our results of operations, financial position and capital resources;

 

   

industry outlook;

 

   

the lack of marketability of our units;

 

   

the fact that the incentive unit grant involves illiquid securities in a private company;

 

   

the likelihood of achieving a liquidity event, such as an initial public offering or a sale of our company, given prevailing market conditions;

 

   

the history and nature of our business, industry trends, and competitive environment; and

 

   

general economic outlook, including economic growth, inflation and unemployment, interest rate environment and global economic trends.

In valuing our units, the fair value of our business, or enterprise value, was determined using an equal weighting combination of the market approach and income approach. The market approach estimates value based on a comparison of the subject company to comparable public companies in a similar line of business. From the comparable companies, a representative market value multiple is determined and then applied to the subject company’s financial results to estimate the value of the subject company. The income approach estimates value based on the expectation of future cash flows, which are then discounted to present value.

For each valuation, the enterprise value was then allocated to the incentive units using the Option Pricing Model (the “OPM”). The OPM allocates a company’s equity value among various capital investors, taking into account participation rights, dividend policy and conversion rights. The use of OPM is appropriate when the range of possible future outcomes is difficult to predict and can result in a highly speculative forecast.

 

F-14


Table of Contents

Application of these approaches involves the use of estimates, judgment and assumptions that are highly complex and subjective, such as those regarding our expected future revenues, expenses, cash flows, discount rates and market multiples, the selection of comparable companies and the probability of possible future events. Changes in any or all of these estimates and assumptions, or the relationships between those assumptions, impact our valuations as of each valuation date and may have a material impact on the valuation of our member units.

Employee Benefit Programs

The Partnership has a 401(k) defined contribution plan covering eligible employees. Participants may contribute a percentage of their pre-tax earnings annually, subject to limitations imposed by the Internal Revenue Service.

The Partnership matches contributions, subject to Internal Revenue Service limitations, and contributions vest immediately.

The Partnership’s short-term obligations, which represent wages and salaries for vacation days earned, non-monetary benefits and accumulated sick leaves that are expected to settle wholly within 12 months after the end of the period in which the employees render the related service, are recognized in respect of employee services up to the end of the reporting period and are measured at the amounts expected to be paid when the liabilities are settled. The liabilities are included in accrued liabilities in the consolidated balance sheets.

The Partnership’s foreign subsidiaries have long service leave and annual leave obligations which are not expected to settle wholly within 12 months after the end of the period in which the employees render the related service. They are therefore measured as the present value of expected future payments to be made in respect of services provided by employees up to the end of the reporting period using the projected unit credit method. Consideration is given to expected future wage and salary levels, experience of employee departures and periods of service. Expected future payments are discounted using market yields at the end of the reporting period of corporate bonds with terms and currencies that match, as closely as possible, the estimated future cash outflows. Remeasurements as a result of experience adjustments and changes in actuarial assumptions are recognized in profit or loss. The obligations are presented as current liabilities in the consolidated balance sheets, if the entity does not have an unconditional right to defer settlement for at least twelve months after the reporting date, regardless of when the actual settlement is expected to occur.

The Partnership’s foreign subsidiaries make superannuation contributions (currently 9.50% of the employee’s average ordinary salary) to the employee’s defined contribution superannuation plan of choice in respect of employee services rendered during the year. These superannuation contributions are recognized as an expense in the same period when the related employee services are received. The group’s obligation with respect to employee’s defined contributions entitlements is limited to its obligation for any unpaid superannuation guarantee contributions.

Foreign Currencies

The functional currency for Excelerate, L.P. and its United States and Cayman subsidiaries is the United States dollar, while the functional currency for the Partnership’s Australian subsidiaries is the Australian dollar. For those subsidiaries, the assets and liabilities are translated into U.S dollars at the exchange rates in effect at the balance sheet date for assets and liabilities and an average rate for each period for revenues and expenses. Translation adjustments are recorded as a component of accumulated other comprehensive income in the consolidated statement of members’ equity.

Transactions denominated in a currency other than the functional currency of the entity involved give rise to foreign currency remeasurement gains and losses, which are included in “other expense, net” on the consolidated statements of income. Foreign currency transaction losses were $0.1 million and $0.2 million for the years ended December 31, 2019 and 2020, respectively.

 

F-15


Table of Contents

Comprehensive Income

Comprehensive income is composed of two components: net income and other comprehensive income. Other comprehensive income refers to revenue, expenses, gains and losses that under GAAP are recorded as an element of members’ equity but are excluded from net income. The Partnership’s other comprehensive income consists of foreign currency translation adjustments from those subsidiaries not using the U.S. dollar as their functional currency. The Partnership has disclosed other comprehensive income as a component of members’ equity.

Revenue Recognition

Revenue is primarily derived from the sale of apparel merchandise through the Partnership’s online websites and, when applicable, shipping revenue.

Revenue is recognized in an amount that reflects the consideration expected to be received in exchange for products. To determine revenue recognition for contracts with customers in accordance with Revenue from Contracts with Customers (Topic 606), the Partnership recognizes revenue from the commercial sales of products and contracts by applying the following five steps: (1) identification of the contract, or contracts, with the customer; (2) identification of the performance obligations in the contract; (3) determination of the transaction price; (4) allocation of the transaction price to the performance obligations in the contract; and (5) recognition of revenue when, or as, the Partnership satisfies its performance obligation. A contract is created with the customer at the time the order is placed by the customer, which creates a single performance obligation. The Partnership recognizes revenue for its single performance obligation at the time control of the product passes to the customer, which is when the goods are transferred to a third-party common carrier. In addition, the Partnership has elected to treat shipping and handling as fulfillment activities and not a separate performance obligation.

Net sales from product sales includes shipping charged to the customer and is recorded net of taxes collected from customers, which are recorded in other current liabilities and are remitted to governmental authorities. Cash discounts earned by the customers at the time of purchase and estimates for sales return allowances are deducted from gross revenue in determining net sales.

The Partnership generally provides refunds for goods returned within 30 to 45 days from the original purchase date. A returns reserve is recorded by the Partnership based on historical refund experience with a corresponding reduction of sales and cost of sales. The returns reserve was $2.6 million and $3.5 million as of December 31, 2019 and 2020, respectively.

The following table presents a summary of the Partnership’s sales return reserve for the years ended December 31, 2019 and 2020:

 

     December 31,  
     2019      2020  

Beginning balance

   $ 1,775      $ 2,585  

Returns

     (23,083      (36,796

Allowance

     23,893        37,728  
  

 

 

    

 

 

 

Ending balance

   $ 2,585      $ 3,517  
  

 

 

    

 

 

 

The Partnership also issues online credits in lieu of cash refunds or exchanges and sells gift cards. Store credits issued and proceeds from the issuance of gift cards are recorded as deferred revenue and recognized as revenue when the online credit or gift cards are redeemed or, upon inclusion in online credit and gift card breakage estimates. Breakage estimates are determined based on prior historical experience. Gift card breakage is recognized proportionally with gift card redemptions in net sales. Gift cards sold to customers do not lose value over periods of inactivity and the Partnership is not required by law to remit the value of unredeemed gift cards to the jurisdictions in which it operates.

 

F-16


Table of Contents

Revenue recognized in net sales on breakage of online credit and gift cards for the year ended December 31, 2019 and 2020 was $0.4 million and $0.7 million, respectively.

The Partnership recognized $0.4 million and $2.4 million of revenue for the year ended December 31, 2019 and 2020, respectively, that was included in deferred revenue at the beginning of the respective periods.

The following table presents the disaggregation of the Partnership’s net revenues by geography, based on customer address, for the years ended December 31, 2019 and 2020:

 

     December 31,  
     2019      2020  

United States

   $ 45,280      $ 125,179  

Australia

     47,176        67,850  

Rest of world

     9,984        22,887  
  

 

 

    

 

 

 

Total

   $ 102,440      $ 215,916  
  

 

 

    

 

 

 

Cost of Sales

Cost of sales consists of the purchase price of merchandise sold to customers and includes import duties and other taxes, freight-in, defective merchandise returned from customers, inventory write-offs and other miscellaneous shrinkage.

Selling Expenses

Selling expenses consist of costs incurred in operating and staffing the fulfillment centers, costs attributable to inspecting and warehousing inventory, picking, packaging and preparing customer orders for shipment, customer service, shipping and other transportation costs incurred delivering merchandise to customers and customers returning merchandise, merchant processing fees and shipping supplies. The amount of shipping and handling costs included in selling and distribution is $16.7 million and $34.1 million for the years ended December 31, 2019, and 2020, respectively.

Marketing

Marketing expenses are expensed as incurred and consist primarily of targeted online performance marketing costs, such as display advertising, retargeting, paid search/product listing ads, affiliate marketing, paid social, search engine optimization, personalized email marketing, social media advertising and mobile “push” communications through the Partnership’s apps. Marketing expenses also include the Partnership’s spend on brand marketing channels, including cash compensation to influencers, events and other forms of online and offline marketing. Marketing expenses are primarily related to growing and retaining the customer base.

Marketing includes advertising expense, which is expensed as incurred, of $2.9 million and $8.0 million for the years ended December 31, 2019 and 2020, respectively.

General and Administrative

General and administrative expenses consist primarily of payroll and related benefit costs and equity-based compensation expense for employees involved in general corporate functions including merchandising, marketing and technology, as well as costs associated with the use by these functions of facilities and equipment, including depreciation, rent and other occupancy expenses.

 

F-17


Table of Contents

Other Expense, Net

Other expense, net, consists primarily of interest expense of $0.3 million in each of the years ended December 31, 2019 and 2020, and foreign currency losses of $0.1 million and $0.2 million for the years ended December 31, 2019 and 2020, respectively.

Earnings per Unit

The Partnership uses the two-class method in calculating earnings per unit when it issues securities other than Series A units that contractually entitle the holder to participate in distributions and earnings of the Partnership. The Partnership has issued incentive units that, once vested, participate in its distributions and earnings after the Series A units receive their return of capital plus a specified threshold amount per unit. As neither the partnership’s undistributed or distributed earnings have exceeded the incentive unit’s thresholds for any periods presented, no earnings were allocated to incentive units in the computation of basic and diluted earnings per unit.

The Partnership presents both basic and diluted earnings per unit amounts.

Basic earnings per unit is computed by dividing the net income attributable to Series A units by the weighted-average number of units outstanding during the period.

Diluted earnings per unit represents net income divided by the weighted-average number of units outstanding, inclusive of the effect of dilutive units and contingently issuable units. We had no potentially dilutive securities for any periods presented.

Fair Value Measurements

The Partnership utilizes valuation techniques that maximize the use of observable inputs and minimize the use of unobservable inputs to the extent possible. The Partnership determines fair value based on assumptions that market participants would use in pricing an asset or liability in the principal or most advantageous market. The carrying amounts for the Partnership’s cash and cash equivalents, accounts receivable, accounts payable, line of credit and accrued liabilities approximate fair value due to their short-term maturities. When considering market participant assumptions in fair value measurements, the following fair value hierarchy distinguishes between observable and unobservable inputs, which are categorized in one of the following levels:

 

   

Level 1 Inputs: Unadjusted quoted prices in active markets for identical assets or liabilities.

 

   

Level 2 Inputs: Other than quoted prices included in Level 1 inputs that are observable for the asset or liability, either directly or indirectly, for substantially the full-term of the asset or liability.

 

   

Level 3 Inputs: Unobservable inputs for the asset or liability used to measure fair value to the extent that observable inputs are not available, thereby allowing for situations in which there is little, if any, market activity for the asset or liability at measurement date.

The Partnership considers all highly liquid investments purchased with a maturity of three months or less to be cash equivalents. The Partnership held cash in operating accounts as of December 31, 2019 and 2020.

Certain Risks and Concentrations

The Partnership is subject to certain risks, including dependence on third-party technology providers and hosting services for website servers, exposure to risks associated with online commerce security, credit card fraud, as well as the interpretation of state and local laws and regulations in regard to the collection and remittance of sales and use taxes. The Partnership does not have significant customer or vendor concentrations.

 

F-18


Table of Contents

Segment Information

Operating segments are defined as components of an entity for which separate financial information is available and is regularly reviewed by the Chief Operating Decision Maker (“CODM”) in deciding how to allocate resources and in assessing performance. The Partnership has determined that its three brands are each an operating segment. The Partnership has aggregated its operating segments into one reportable segment based on the similar nature of products sold, production, merchandising and distribution processes involved, target customers and economic characteristics.

Recently Adopted Accounting Pronouncements

The Partnership adopted ASU No. 2016-20, Leases (ASC 842) effective January 1, 2019,ASU 2014-09, Revenue from Contracts with Customer (Topic 606), ASU 2018-15, Intangibles—Goodwill and Other—Internal-Use Software (Subtopic 350-40): Customer’s Accounting for Implementation Costs Incurred in a Cloud Computing Arrangement That Is a Service Contract and ASU No. 2016-13, Financial Instruments-Credit Losses, effective January 1, 2019.

In August 2018, the FASB issued ASU No. 2018-13, Fair Value Measurement (Topic 820): Disclosure Framework—Changes to the Disclosure Requirements for Fair Value Measurement, which amended its conceptual framework to improve the effectiveness of disclosures around the amount of, and reasons for, transfers between Level 1 and Level 2 of the fair value hierarchy. This guidance also adds new disclosure requirements for Level 3 measurements. The Partnership adopted this guidance on January 1, 2020, and the adoption did not have a material impact on its consolidated financial statements.

In June 2018, the FASB issued ASU No. 2018-07, Compensation—Stock Compensation (Topic 718): Improvements to Non-employee Share-Based Payment Accounting, which is intended to reduce cost and complexity and to improve financial reporting for non-employee stock-based payments. This update expands the scope of ASC Topic 718 to include stock-based payments issued to nonemployees for goods or services, aligning the accounting for stock-based payments to nonemployees and employees. The Partnership early adopted this update on January 1, 2019, using the modified retrospective approach, and the impact on its consolidated financial statements was not material.

In January 2017, the FASB issued ASU No. 2017-01, Business Combinations—Clarifying the Definition of a Business. The purpose of the ASU is to add guidance to assist entities with evaluating whether transactions should be accounted for as acquisitions (or disposals) of assets or businesses. The ASU provides a screen to determine when an integrated set of assets and activities is not a business. The ASU also provides a framework to assist entities in evaluating whether both an input and a substantive process are present. ASU 2017-01 was effective for the Partnership beginning in 2019. The adoption did not have a material impact on the consolidated financial statements.

In January 2017, the FASB issued ASU No. 2017-04, Simplifying the Test for Goodwill Impairment. The ASU amended existing guidance to simplify the subsequent measurement of goodwill by eliminating Step 2 from the goodwill impairment test by comparing the fair value of a reporting unit with its carrying amount and recognizing an impairment charge for the amount by which the carrying amount exceeds the reporting unit’s fair value, not to exceed the total amount of goodwill allocated to that reporting unit. The amendments were effective beginning in 2020. The adoption did not have a material impact on the consolidated financial statements.

In February 2016, the FASB issued ASC 842, which establishes a comprehensive new lease accounting model. The guidance requires lessees, at the commencement date, to recognize a right-of-use asset and a lease liability for virtually all leases except those that meet the definition of a short-term lease. The guidance also introduces new disclosure requirements for leasing arrangements. The Partnership elected to early adopt ASC 842 on January 1, 2019, applying the modified retrospective approach under the optional transition method of not

 

F-19


Table of Contents

adjusting its comparative period financial statements prescribed by ASU 2018-11 at the adoption date. The adoption did not impact the Partnership’s beginning accumulated deficit. For information regarding the impact of ASC 842 adoption, see “Significant Accounting Policies—Leases” (above) and Note 16—“Leases.”

In August 2018, the FASB issued ASU 2018-15, Intangibles—Goodwill and Other—Internal-Use Software (Subtopic 350-40): Customer’s Accounting for Implementation Costs Incurred in a Cloud Computing Arrangement That Is a Service Contract. This update requires capitalization of the implementation costs incurred in a hosting arrangement that is a service contract with the requirements for capitalizing implementation costs incurred to develop or obtain internal-use software. Further, the standard also requires the Partnership to expense the capitalized implementation costs of a hosting arrangement over the term of the hosting arrangement. The Partnership adopted this standard effective January 1, 2019. The adoption did not have a material impact on the consolidated financial statements.

In June 2016, the FASB issued ASU No. 2016-13, Financial Instruments-Credit Losses, which provides new authoritative guidance with respect to the measurement of credit losses on financial instruments. This update changes the impairment model for most financial assets and certain other instruments by introducing a current expected credit loss (“CECL”) model. The CECL model is a more forward-looking approach based on expected losses rather than incurred losses, requiring entities to estimate and record losses expected over the remaining contractual life of an asset. The Partnership adopted this standard effective January 1, 2019. The adoption did not have a material impact on the consolidated financial statements.

New Accounting Pronouncements Not Yet Adopted

In December 2019, the FASB issued ASU 2019-12, Income Taxes (Topic 740): Simplifying the Accounting for Income Taxes. This standard simplifies the accounting for income taxes by eliminating certain exceptions to the guidance in Topic 740 related to the approach for intraperiod tax allocation, the methodology for calculating income taxes in an interim period, and the recognition of deferred tax liabilities for outside basis differences. The guidance also simplifies aspects of the accounting for franchise taxes and enacted changes in tax laws or rates and clarifies the accounting for transactions that result in a step-up in the tax basis of goodwill and the allocation of consolidated income taxes to separate financial statements of entities not subject to income tax. ASU 2019-12 will be effective for the Partnership on January 1, 2022. Upon adoption, the Partnership must apply certain aspects of this standard retrospectively for all periods presented while other aspects are applied on a modified retrospective basis through a cumulative-effect adjustment to accumulated deficit as of the beginning of the fiscal year of adoption. The Partnership is currently evaluating the impact of this update on its consolidated financial statements and related disclosures.

In March, 2020, the FASB issued ASU 2020-04, Reference Rate Reform (ASC 848): Facilitation of the Effects of Reference Rate Reform on Financial Reporting. The pronouncement provides companies with guidance to ease the process of migrating away from LIBOR and other interbank offered rates to new reference rates. ASC 848 contains optional expedients and exceptions for applying GAAP to contracts, hedging relationships, and other transactions affected by reference rate reform, subject to meeting certain criteria that reference LIBOR or another reference rate expected to be discontinued. The Partnership is currently evaluating the impact of this update on its consolidated financial statements and related disclosures.

Note 3. Acquisitions

Petal & Pup Limited

On August 9, 2019, the Partnership acquired 66.7% of the share capital of Petal & Pup Limited (“Petal & Pup”) for an aggregate cash consideration of AUD $29.4 million, net of cash acquired of AUD $3.1 million (US $19.9 million, net of cash acquired of $2.1 million) and consideration payable of AUD $0.9 million (US $0.6 million).

 

F-20


Table of Contents

The acquisition expanded the Partnership’s customer following and products into online apparel for female customers in their twenties or thirties and provides the Partnership with an Australian brand that can be expanded into the North American market.

The estimated fair values of assets acquired, liabilities assumed and noncontrolling interest as of the date of the acquisition, are as follows:

 

Trade receivables

   $ 6  

Inventory

     630  

Prepaid expenses and other current assets

     78  

Property, plant and equipment

     93  

Operating lease right-of-use assets

     430  

Intangible assets

     7,695  

Trade and other payables

     (1,218

Deferred tax liability

     (2,272

Current tax liabilities

     (407

Operating lease liabilities

     (430
  

 

 

 

Total net assets acquired

     4,605  

Fair value of noncontrolling interest

     (8,314

Goodwill

     24,214  
  

 

 

 

Total purchase price, net of cash acquired of $2,109

   $ 20,505  
  

 

 

 

The acquisition was accounted for as a business combination. The following table summarizes the identifiable intangible assets acquired as of the date of the acquisition:

 

     Fair Value at
Acquisition Date
     Amortization
Period
 

Brand

   $ 5,112        10 years  

Customer relationships

     2,583        4 years  
  

 

 

    

Total intangible assets

   $ 7,695     
  

 

 

    

The fair value of the noncontrolling interest is determined by measuring the fair value of the subsidiaries’ identifiable assets and liabilities at the date of acquisition, adjusted for a discount to factor the non-marketable, noncontrolling holding.

The results of operations of Petal & Pup are included in the Partnership’s consolidated results beginning August 9, 2019. Total net sales of $9.4 million and net income attributable to Excelerate of less than $0.1 million of Petal & Pup are included in the accompanying consolidated statement of income for the year ended December 31, 2019. Goodwill of $24.2 million, none of which is deductible for tax purposes, represents the excess purchase price over the estimated fair value assigned to tangible and identifiable intangible assets acquired and liabilities assumed. The goodwill arising from the acquisition consists largely of anticipated synergies related to combining with the Partnership’s existing operations.

Total acquisition costs incurred by the Partnership in connection with the purchase primarily related to third-party legal, accounting and tax diligence fees, were $0.7 million. These costs are recorded in general and administrative expenses in the consolidated statement of income during the year ended December 31, 2019.

Rebdolls

On December 6, 2019, the Partnership acquired 100% of the share capital of Rebdolls, Inc. (“Rebdolls”), a New Jersey corporation, for $0.6 million, which consisted of upfront cash consideration of $0.5 million and the

 

F-21


Table of Contents

fair value of contingent consideration of $0.1 million. Changes, if any, in the fair value of the contingent consideration, subsequent to the acquisition date, will be recognized in general and administrative expenses in the statement of operations in the period in which the fair value estimate is adjusted. To date there has been no change in the fair value of contingent consideration.

The acquisition provides the Partnership with a brand that offers apparel with a full range of sizes from 0 to 32 with an emphasis on size inclusivity, focused on female customers age 18 to 34.

As part of the purchase price allocation, the Partnership recorded $0.1 million in inventory, $0.1 million in identifiable intangible assets and $0.5 million in goodwill.

The results of operations of Rebdolls, Inc. are included in the Partnership’s consolidated results beginning December 6, 2019. Total net sales of $0.1 million in 2019 and net loss attributable to Excelerate of $0.2 million are included in the accompanying consolidated statement of income for the year ended December 31, 2019. The acquisition costs incurred for this purchase agreement were immaterial.

Note 4. Prepaid Expenses and Other Current Assets

Prepaid expenses and other current assets are comprised of the following:

 

     December 31,  
     2019      2020  

Security deposits

   $ 216      $ 334  

Inventory prepayments

     1,132        3,722  

Other

     49        24  
  

 

 

    

 

 

 

Total prepaid expenses and other current assets

   $ 1,397      $ 4,080  
  

 

 

    

 

 

 

Note 5. Property, Plant and Equipment, Net

Property, plant and equipment, net is comprised of the following:

 

     December 31,  
     2019      2020  

Furniture and fixtures

   $ 413      $ 411  

Machinery and equipment

     205        185  

Computer equipment and capitalized software

     427        753  

Leasehold improvements

     813        2,020  
  

 

 

    

 

 

 

Total property and equipment

     1,858        3,369  

Less accumulated depreciation

     (827      (1,248
  

 

 

    

 

 

 

Total property and equipment, net

   $ 1,031      $ 2,121  
  

 

 

    

 

 

 

Total depreciation and amortization expense for the years ended December 31, 2019 and 2020 was $0.5 million and $0.4 million, respectively.

Note 6. Goodwill

The carrying value of goodwill as of December 31, 2019 and 2020, was $80.2 million and $88.3 million, respectively. No goodwill impairment was recorded for the years ended December 31, 2019 and 2020.

 

F-22


Table of Contents

The goodwill of the acquired companies is primarily related to expected improvements in technology performance and functionality, as well as sales growth from future product and service offerings and new customers, together with certain intangible assets that do not qualify for separate recognition. The goodwill of acquired companies is generally not deductible for tax purposes.

The following table summarizes goodwill activity in 2019 and 2020:

 

     Consolidated
Goodwill
 

Balance as of January 1, 2019

   $ 55,577  

Acquisitions (Note 3)

     24,701  

Changes in foreign currency translation

     (57
  

 

 

 

Balance as of December 31, 2019

     80,221  

Changes in foreign currency translation

     8,032  
  

 

 

 

Balance as of December 31, 2020

   $ 88,253  
  

 

 

 

Note 7. Intangible Assets

The gross amounts and accumulated amortization of acquired identifiable intangible assets with finite useful lives as of December 31, 2019 and 2020, included in intangible assets, net in the accompanying consolidated balance sheets, are as follows:

 

     December 31,  
     Useful life      Weighted
Average
Amortization
Period 2019
     2019     Weighted
Average
Amortization
Period 2020
     2020  

Customer relationships

     4 years        2.8 years      $ 15,629       1.8 years      $ 17,100  

Brands

     10 years        8.8 years        24,258       7.8 years        26,680  

Website design and software system

     3 years        2.5 years        483       2.4 years        903  

Trademarks

     5 years        4.7 years        22       4.5 years        103  
        

 

 

      

 

 

 

Total intangible assets

           40,392          44,786  

Less accumulated amortization

           (7,894        (15,684
        

 

 

      

 

 

 

Total intangible assets, net

         $ 32,498        $ 29,102  
        

 

 

      

 

 

 

Amortization of acquired intangible assets with finite useful lives is included in general and administrative expenses and was $5.8 million and $6.4 million for the years ended December 31, 2019 and 2020, respectively.

Future estimated amortization expense for acquired identifiable intangible assets is as follows:

 

     Amortization Expense  

Year ending December 31:

  

2021

   $ 7,077  

2022

     6,033  

2023

     3,197  

2024

     2,683  

2025

     2,683  

Thereafter

     7,429  
  

 

 

 

Total amortization expense

   $ 29,102  
  

 

 

 

 

F-23


Table of Contents

Note 8. Debt

Princess Polly Operating Line of Credit

The Partnership’s subsidiary Princess Polly has an operating line of credit (the “Facility”) up to a maximum of AUD $20.0 million (USD $15.4 million), which is guaranteed by Polly Bidco Pty Ltd. and Polly Holdco Pty Ltd, each subsidiaries of Excelerate, L.P. (“Princess Polly Group”). The assets of the Princess Polly Group have been pledged as security under the Facility which have a book value of $42.6 million.

The Facility may be used to make cash draws, procure letters of credit instruments and for the provision of ancillary facilities. The Facility is due November 2021. As of December 31, 2020, the Partnership had drawn AUD $8.0 million (USD $6.2 million) on the Facility and had USD $0.8 million drawn in letters of credit (USD $0.3 million at December 31, 2019) which are held as collateral under various custom bonds agreements.

Amounts drawn on the Facility accrue interest at the Commonwealth Bank of Australia bank rate in effect on the date of the draw plus 3.25%. The Facility also charges commitment fees of 1.63% per annum calculated on the daily balance of the available Facility. The commitment fees are payable on a quarterly basis. The commitment fees accrued as of December 31, 2020 were AUD $0.2 million.

The Facility agreement contains various restrictive covenants, including financial covenants that include maintenance of interest coverage ratio of a minimum of 4.00 to 1.00, and gross leverage ratios not to exceed 1.50 to 1.00 and net working capital ratio of less than 1.90 to 1.00, as defined under the Facility agreement. As of December 31, 2019 and 2020, the Princess Polly Group was in compliance with all financial and restrictive covenants.

The Facility matures in November 2021 and is therefore classified as a current liability as of December 31, 2020.

Rebdolls Revolving Line of Credit

As of December 31, 2020, Rebdolls had a revolving line of credit for a maximum of $0.5 million with Bank of America, N.A. The assets of Rebdolls have been pledged as security under this line of credit, which have a historical book value of $0.6 million.

Amounts drawn under this line of credit bear interest at LIBOR plus 2.25%. As of December 31, 2020, Rebdolls had an outstanding balance of $0.2 million. The loan was fully repaid on February 28, 2021, at the date of its maturity.

Total Debt and Interest

Outstanding debt consisted of the following:

 

     December 31,  
     2019      2020  

Bank loans - flexible rate loan

   $ 5,332      $ 6,385  

Capitalized debt issuance costs

     (58      (32

Total debt

     5,274        6,353  

Less current portion

     —          (6,353
  

 

 

    

 

 

 

Total long-term debt

   $ 5,274      $ —    
  

 

 

    

 

 

 

Interest expense totaled $0.3 million and $0.2 million for the years ended December 31, 2019 and 2020, respectively, which included the amortization of debt issuance costs.

 

F-24


Table of Contents

Note 9. Leases

The Partnership leases office and warehouse facilities under various non-cancellable operating lease agreements (real estate leases). Real estate leases have remaining lease terms of approximately 1 to 5 years, which represent the non-cancellable periods of the leases and include extension options that the Partnership determined are reasonably certain to be exercised. The Partnership excludes extension options that are not reasonably certain to be exercised from the lease terms, ranging from approximately 6 months to 3 years. Lease payments consist primarily of fixed rental payments for the right to use the underlying leased assets over the lease terms as well as payments for common area maintenance and administrative services. The Partnership often receives customary incentives from landlords, such as reimbursements for tenant improvements and rent abatement periods, which effectively reduce the total lease payments owed for these leases. Leases are classified as operating or financing at commencement. The Partnership does not have any material financing leases.

Operating lease right-of-use assets and liabilities on the consolidated balance sheets represent the present value of the remaining lease payments over the remaining lease terms. The Partnership does not allocate lease payments to non-lease components; therefore, fixed payments for common-area-maintenance and administrative services are included in the operating lease right-of-use assets and liabilities. The Partnership uses the incremental borrowing rate to calculate the present value of the lease payments, as the implicit rates in the leases are not readily determinable. Operating lease costs consist primarily of the fixed lease payments included in the operating lease liabilities and are recorded on a straight-line basis over the lease terms.

As of December 31, 2020, the maturities of the operating lease liabilities and the weighted average remaining lease term and discount rate were as follows:

 

2021

   $ 1,359  

2022

     1,291  

2023

     1,094  

2024

     335  

2025

     114  

Thereafter

     271  
  

 

 

 

Total remaining lease payments

     4,464  

Less: imputed interest

     275  
  

 

 

 

Total operating lease liabilities

     4,189  

Less: current portion

     (1,234
  

 

 

 

Long-term operating lease liabilities

   $ 2,955  

Weighted-average remaining lease term

     3.9 years  

Weighted-average discount rate

     3.6

Rent expense was $0.3 million and $0.6 million for the years ended December 31, 2019 and 2020, respectively, and has been allocated to selling, marketing and general and administrative expenses based on employee headcount. The interest portion of lease expense was $0.1 million for each of the years ended December 31, 2019 and 2020, respectively.

Note 10. Income Taxes

Income from continuing operations before income taxes consisted of the following:

 

     Year Ended December 31,  
     2019      2020  

United States

   $ 589      $ 8,360  

Foreign

     1,865        13,295  
  

 

 

    

 

 

 

Income from continuing operations before income taxes

   $  2,454      $  21,655  

 

F-25


Table of Contents

The components of the provision for income taxes consisted of the following:

 

     Year Ended December 31,  
     2019      2020  

Current:

     

Federal

   $ 257      $ 2,108  

State

     47        310  

Foreign

     2,642        7,099  
  

 

 

    

 

 

 

Total

     2,946        9,517  

Deferred:

     

Federal

     105        117  

State

     (1      (17

Foreign

     (2,038      (2,767
  

 

 

    

 

 

 

Total

     (1,934      (2,667
  

 

 

    

 

 

 

Income tax expense

   $ 1,012      $ 6,850  
  

 

 

    

 

 

 

The provision for income taxes differs from the tax computed using the statutory U.S. federal income tax rate of 21% as a result of the following items:

 

     Year Ended December 31,  
     2019      2020  

Tax expense at U.S. statutory rate

   $ 515      $ 4,548  

State income taxes, net of federal benefit

     36        246  

Permanent differences

     2,802        467  

Foreign tax rate differential

     210        1,536  

Other

     (2,551      53  
  

 

 

    

 

 

 

Income tax expense

   $   1,012      $   6,850  

The foreign tax rate differential relates to differences between the income tax rates in effect in the foreign countries in which the Partnership operates, in particular Australia where the corporate tax rate is 30%.

The components of net deferred tax assets (liabilities) were as follows:

 

     Year Ended December 31,  
     2019      2020  

Deferred tax assets:

     

Transaction costs

   $ 640      $ 466  

Accruals and reserves

     1,187        1,962  

Lease liabilities

     600        894  

State Taxes

     13        64  

Foreign exchange gains / losses

     —          373  

Net operating loss carryforwards

     54        135  
  

 

 

    

 

 

 

Subtotal

     2,494        3,894  

Less: Valuation allowance

     (15      (144
  

 

 

    

 

 

 

Total deferred tax assets

     2,479        3,750  

Deferred tax liabilities:

     

Property, plant & equipment

     (222      (439

Intangible assets

     (9,495      (8,378

Right of use assets

     (573      (745

Inventory

     (66      (70

Other

     (192      (22
  

 

 

    

 

 

 

Total deferred tax liabilities

     (10,548      (9,654
  

 

 

    

 

 

 

Net deferred liabilities

   $ (8,069    $ (5,904
  

 

 

    

 

 

 

 

F-26


Table of Contents

As of December 31, 2020, the Partnership had $0.6 million in federal net operating loss carryforwards that have no expiration date and $0.2 million in state net operating loss carryforwards which begin to expire in 2040. The Partnership has recorded an insignificant valuation allowance as of December 31, 2019 and a valuation allowance of approximately $0.1 million as of December 31, 2020, related mainly to U.S. net operating loss carryforwards.

The Partnership had gross deferred tax assets of $2.5 million and $3.7 million and gross deferred tax liabilities of $10.5 million and $9.7 million at December 31, 2019 and 2020, respectively. Management has determined the gross deferred tax assets are realizable, with the exception of certain U.S. net operating losses discussed above.

The Partnership has not provided deferred taxes on unremitted earnings attributable to foreign subsidiaries that have been considered permanently reinvested. As of December 31, 2020, the unremitted earnings from these operations were approximately $12.9 million.

As of December 31, 2019 and 2020, the Partnership had no uncertain tax positions.

The Partnership is subject to taxation in the United States, Cayman Islands and Australia. For U.S. federal income tax purposes, 2017 and later tax years remain open for examination by the tax authorities under the normal three-year statute of limitations. For major U.S. states, 2016 and later tax years remain open for examination by the tax authorities under a four-year statute of limitations. For Australia, 2016 and subsequent tax years remain subject to examination.

Tax Contingencies

The Partnership is subject to income taxes in the United States and Australia. Significant judgment is required in evaluating the Partnership’s tax positions and determining the provision for income taxes. During the ordinary course of business, the Partnership considers tax positions for which the ultimate tax determination is uncertain for the purpose of determining whether a reserve is required, despite the Partnership’s belief that the tax positions are fully supportable. To date the Partnership has not established a reserve provision because the Partnership believes that all tax positions are highly certain.

Note 11. Accrued Liabilities

Accrued liabilities consisted of the following:

 

     December 31,  
         2019              2020      

Accrued salaries and other benefits

   $ 933      $ 3,295  

Accrued freight costs

     1,004        5,012  

Sales tax payable

     1,827        5,718  

Accrued marketing costs

     488        959  

Accrued professional services

     812        281  

Other accrued liabilities

     1,187        2,904  
  

 

 

    

 

 

 

Total accrued liabilities

   $ 6,251      $ 18,169  
  

 

 

    

 

 

 

Note 12. Equity-based Compensation

The 2018 Stock and Incentive Compensation Plan, as restated, allows for the issuance of time-based incentive units and performance-based incentive units. The total incentive pool size under the plan is 16,475,735 units. As of December 31, 2020, 3,952,666 units remained available for future grants under the 2018 Plan.

 

F-27


Table of Contents

These incentive units participate in distributions from Excelerate, L.P., but only after investors receive their return of capital plus a specified threshold amount per unit. The Partnership has determined that the incentive units are equity-based compensation awards. The assumptions that the Partnership used to determine the grant date fair value of incentive units granted were as follows, presented on a weighted-average basis:

 

     December 31,  
     2019     2020  

Risk free interest rate

     2.08     0.24

Expected volatility

     50     50

Expected dividend yield

     0     0

Expected term (in years)

     4.21       3.14  

The following table summarizes time-based unit activity under the 2018 Plan during 2019 and 2020:

 

     Number of
Units
     Weighted
Average Grant
Date Fair

value
     Weighted
Average
Participation
Threshold
     Aggregate
Intrinsic Value of
Outstanding Units
 

Balance as of January 1, 2019

     1,960,784      $ 0.47      $ 0.99      $ 102  

Granted

     2,055,928        0.48        1.05     

Vested

     (612,745      0.47        0.99     
  

 

 

    

 

 

    

 

 

    

 

 

 

Balance as of December 31, 2019

     3,403,967        0.48        1.02        2,218  

Granted

     5,507,644        1.37        1.27     

Vested

     (1,200,934      0.47        1.02     

Forfeited/Repurchased

     (1,463,051      0.45        1.02     
  

 

 

    

 

 

    

 

 

    

 

 

 

Balance as of December 31, 2020

     6,247,626      $ 1.27      $ 1.24      $ 23,688  

Vested as of December 31, 2019

     612,745        0.47        0.99        32  

Vested as of December 31, 2020

     1,010,045        0.47        1.03        4,045  

As of December 31, 2020, there was $7.0 million of total unrecognized compensation cost related to unvested time-based incentive units which is expected to be recognized over a weighted average period of 3 years.

Performance and market vesting conditions

The Partnership’s performance-based incentive units vest upon the satisfaction of both a performance and market condition. The performance condition is satisfied upon the occurrence of a liquidity event, defined as a change of control transaction or an initial public offering and is not deemed probable until it occurs. The market condition is satisfied upon the initial investor in Excelerate, L.P. receiving an aggregate return equal to three times its aggregate investment. The Partnership determined the grant date fair value of the performance-based incentive units using the Black-Scholes option pricing model, modified to allow for vesting only if the value at the distribution date is at or above the performance threshold. As of December 31, 2019 and 2020, the performance condition was not probable to occur and therefore no equity-based compensation was recognized for the Partnership’s performance-based incentive units. If and when the performance condition is deemed probable to occur, the Partnership will record cumulative equity-based compensation expense as of that date.

As of December 31, 2019 and 2020, total unrecognized equity-based compensation cost related to these performance-based incentive units was approximately $0.8 million and $4.1 million, respectively.

 

F-28


Table of Contents

The following table summarizes performance-based unit activity under the 2018 Plan during 2019 and 2020:

 

     Number of Units      Weighted
Average Grant
Date Fair

value
     Weighted
Average
Participation
Threshold
     Aggregate
Intrinsic Value of
Outstanding Units
 

Balance as of January 1, 2019

     980,392      $ 0.31      $ 0.99      $ 51  

Granted

     1,341,980        0.34        1.03     
  

 

 

    

 

 

    

 

 

    

 

 

 

Balance as of December 31, 2019

     2,322,372        0.33        1.02        1,534  

Granted

     3,394,379        1.09        1.24     

Forfeited

     (1,254,987      0.30        1.01     
  

 

 

    

 

 

    

 

 

    

 

 

 

Balance as of December 31, 2020

     4,461,764        0.91        1.19        17,137  

Vested as of December 31, 2019

     —          —          —          —    

Vested as of December 31, 2020

     —          —          —          —    

Total equity-based compensation expense was $0.5 million and $1.4 million for the years ended December 31, 2019 and 2020, respectively, and has been included in general and administrative expense in the consolidated statements of income.

During the year ended December 31, 2020, the Partnership entered into a transition agreement with a former executive whereby all unvested Incentive Units were forfeited upon her termination. Pursuant to the terms of this transition agreement, the former executive retained 261,287 vested Incentive Units following her termination. As permitted by the original terms of the Incentive Units, the Partnership exercised its right to repurchase the former executive’s remaining 802,634 vested Incentive Units for total cash consideration of $1.1 million payable within 11 months following her termination. The consideration payable was deducted from additional paid-in capital as it did not exceed the fair value of the repurchased Incentive Units as of the date of repurchase.

Note 13. Members’ Units

Excelerate, L.P. is an exempted limited partnership organized on June 21, 2018, under the partnership laws of the Cayman Islands to provide management of the business and affairs of the partnership. The Partnership commenced operations on June 21, 2018. The General Partner is Excelerate GP, Limited, a Cayman Islands exempted company.

The Excelerate, L.P. partnership is authorized to issue an unlimited number of Series A units. For so long as any of the Series A units remain outstanding, the Series A units will rank senior to any incentive units and any other class, group or series of units or other equity securities.

Ownership by unitholders of Series A units and incentive units shall entitle each unitholder to allocations of profit and losses and other items and distributions of cash and other property and no limited partner shall be liable for obligations in excess of its capital contribution and profits, if any, net of distributions.

All holders of Series A units are entitled to distributions, in accordance with terms and conditions of the partnership agreement. Distributions are made first to holders of Series A units, ratably among such holders, until the aggregate unreturned capital with respect to each such holder’s Series A units have been reduced to zero. Thereafter, distributions are made to holders of Series A units and to holders of incentive units pro rata, provided that, for the holders of incentive units, the amount of distributions reach a specified participation threshold as set forth in the respective incentive unit agreement. Holders of incentive units do not participate in distributions until the participation threshold has been met for their incentive unit.

 

F-29


Table of Contents

The following table summarizes the Series A units issued and outstanding:

 

Balance as of January 1, 2019

     93,362,500  

Issuance of Series A units in connection with Princess Polly

     19,769,946  

Issuance of Series A units in connection with Rebdolls

     628,892  
  

 

 

 

Balance as of December 31, 2019

     113,761,338  

Issuance of Series A units to Limited Partners

     406,504  
  

 

 

 

Balance as of December 31, 2020

     114,167,842  

Note 14. Earnings Per Unit

The following table sets forth the computation of basic and diluted earnings per unit and a reconciliation of the weighted average number of units outstanding:

 

     Year Ended December 31  
     2019      2020  

Numerator:

     

Net income available to Limited Partners and General Partners, basic and diluted

   $ 1,394      $ 14,334  

Denominator:

     

Weighted-average units, basic and diluted

     101,200,399        114,028,628  

Earnings per unit, basic and diluted

   $ 0.01      $ 0.13  

The Partnership also had performance-based incentive units outstanding as of December 31, 2020, which include a performance-based vesting condition satisfied upon the occurrence of a liquidity event, defined as a change of control transaction or an IPO. Since the necessary conditions for the vesting of the performance-based incentive units had not been satisfied as of December 31, 2019 or December 31, 2020, the Partnership excluded the performance-based incentive units from the calculation of diluted earnings per unit for the years ended December 31, 2019 and 2020.

Note 15. Commitments and Contingencies

Contingencies

The Partnership records a loss contingency when it is probable that a liability has been incurred and the amount of the loss can be reasonably estimated. The Partnership also discloses material contingencies when it believes a loss is not probable but reasonably possible. Accounting for contingencies requires us to use judgment related to both the likelihood of a loss and the estimate of the amount or range of loss. Although the Partnership cannot predict with assurance the outcome of any litigation or tax matters, it does not believe there are currently any such actions that, if resolved unfavorably, would have a material impact on the Partnership’s operating results, financial position or cash flows.

Indemnifications

In the ordinary course of business, the Partnership may provide indemnifications of varying scope and terms to vendors, directors, officers and other parties with respect to certain matters. The Partnership has not incurred any material costs as a result of such indemnifications and has not accrued any liabilities related to such obligations in the consolidated financial statements.

 

F-30


Table of Contents

Note 16. Subsequent events

The Partnership has evaluated subsequent events occurring through June 23, 2021, the date that these financial statements were originally available to be issued, and determined the following subsequent events occurred that would require disclosure in these financial statements.

Acquisition of Culture Kings Group Cayman Islands

On March 31, 2021, pursuant to a share sale agreement, a.k.a., through its subsidiary CK Holdings LP, acquired 55% of the outstanding share capital of Culture Kings Group Pty Ltd. (“Culture Kings”). The purchase price consisted of AUD $305.8 million (USD $232.5 million) in cash consideration, subject to working capital adjustments. In connection with the acquisition, CK Holdings LP issued units to the previous shareholders of Culture Kings, with a fair value of AUD $186.0 million (USD $141.4 million), resulting in a 45% noncontrolling ownership interest.

Culture Kings is focused on street apparel aimed at the young adult age group and has a combination of online fronts as well as online sales based in Australia and expands the Partnership’s consumer market to include male consumers and further expansion in the United States.

For financial reporting purposes, the transaction will be accounted for using the acquisition method of accounting and accordingly the Partnership will measure its acquired assets and liabilities assumed at fair value and recognized goodwill as of the acquisition date, which was measured as the excess of the consideration paid over the fair values of the identifiable assets acquired and liabilities assumed. The transaction did not result in a change in the tax basis of the assets and liabilities acquired. The goodwill is expected to be non-deductible for tax purposes.

The initial accounting for the business combination is preliminary, accordingly the final fair value of assets and liabilities assumed at the date of the acquisition is subject to change.

The preliminary estimated fair values of assets acquired, and liabilities assumed, as of the date of the acquisition, are as follows:

 

Account receivable, net

   $ 620  

Inventory

     62,355  

Prepaid expenses and other current assets

     4,755  

Property, plant and equipment, net

     7,123  

Intangible assets, net

     72,532  

Operating lease right-of-use assets

     23,704  

Accounts payable

     (13,325

Deferred revenue

     (140

Income taxes payable

     (1,762

Other current liabilities

     (2,509

Operating lease liabilities

     (23,704

Deferred income taxes, net

     (25,681

Accrued liabilities- non-current

     (1,045
  

 

 

 

Net assets acquired

     102,923  

Fair value of noncontrolling interest

     (141,397

Goodwill

     262,191  
  

 

 

 

Total purchase price, net of cash acquired of $8,749

   $ 223,717  

 

F-31


Table of Contents

Total acquisition costs incurred by a.k.a. in connection with its purchase of Culture Kings, primarily related to third-party legal, accounting and tax diligence fees, were $1.8 million. These costs will be recorded in general and administrative expenses in the consolidated statements of income in the period in which they were incurred.

The noncontrolling interest in Culture Kings contains a put right whereby the minority investors can cause CK Holdings LP to purchase all of their units at a per unit price equal to six times the EBITDA of CK Holdings LP, calculated as of the twelve-month period ending on the end of the most recent fiscal quarter. The put right is only exercisable after December 31, 2023. In accordance with ASC 810, Consolidation, as this put right is redeemable outside of a.k.a.’s control, the noncontrolling interest will be classified outside the permanent equity section of the Partnership’s consolidated balance sheets.

2021 Debt Financing and Issuance of Partnership Units

To fund the acquisition of Culture Kings, on March 31, 2021, Excelerate, L.P. issued Series A partnership units in exchange for $82.7 million in cash. In addition, Polly Holdco Pty Ltd., a wholly owned subsidiary of a.k.a. (“Polly”), entered into a debt agreement with a syndicated group, with an affiliate of Fortress Credit Corp as administrative agent, consisting of a $125.0 million term-loan facility and $25.0 million revolving credit facility.

Polly also issued $25.0 million in senior subordinated notes to certain debt funds of Summit Partners, a related party of Excelerate, L.P. The combined term loan and senior subordinated notes provided the Partnership with $144.1 million, net of loan fees of approximately $5.9 million.

Key terms and conditions of each facility are as follows:

 

   

The $125.0 million term loan matures on March 31, 2027 and requires the Partnership to make amortized quarterly payments in aggregate annual amounts equal to 0.8% of the original principal amount. Borrowings under the credit agreement accrue interest, at the option of the borrower, at an adjusted LIBOR plus 7.5% or Alternative Base Rate (“ABR”) plus 6.5%, subject to adjustment based on achieving certain total net secured leverage ratios and subject to a minimum LIBOR threshold of 1.0% per annum.

 

   

The $25.0 million revolving credit facility, which matures on March 31, 2027, accrues interest, at the option of the borrower, at an adjusted LIBOR plus 7.5% or ABR plus 6.5%, subject to adjustment based on achieving certain total net secured leverage ratios. Total loan debt issuance costs of $1.0 million related to the revolving credit facility were incurred. These costs will be included in prepaid and other assets and amortized over the term of the facility.

 

   

The senior subordinated notes accrue interest at an annual interest rate of 16.0% and are repayable at the Partnership’s discretion until maturity on September 30, 2027.

Subsequent to December 31, 2020, $13.0 million has been drawn on the revolving credit facility, as a result of the Culture Kings acquisition transaction.

The Partnership incurred debt issuance costs of $6.9 million, of which $1.0 million relates to the revolving credit facility, which will be capitalized and included in prepaid and other current assets as deferred financing costs and will be amortized over the life of the facility, or 6 years. The remaining $5.9 million of debt issuance costs relating to the term loan and senior subordinated notes will be presented net of the outstanding debt and will be amortized over the life of the outstanding debt, using the effective interest rate method.

 

F-32


Table of Contents

Related Party Transactions

The Partnership’s $25.0 million senior subordinated notes were issued on March 31, 2021 to a related party, Summit Partners. Summit Partners is a global investment firm who has a majority ownership interest in Excelerate, L.P.

Deferred Offering Costs

Deferred offering costs, which consist primarily of direct and incremental legal, accounting and other fees related to the Partnership’s proposed IPO, are capitalized in prepaid expenses and other current assets on the consolidated balance sheet. The deferred offering costs will be offset against IPO proceeds upon the consummation of an IPO. In the event the planned IPO is terminated, the deferred offering costs will be expensed. Deferred offering costs through June 18, 2021 were $1.4 million.

 

F-33


Table of Contents

Report of Independent Auditors

To the Director of Culture Kings Group Pty Ltd

We have audited the accompanying consolidated financial statements of Culture Kings Group Pty Ltd and its subsidiaries, which comprise the consolidated statement of financial position as at December 31, 2020, December 31, 2019 and January 1, 2019, and the related consolidated statement of profit or loss and other comprehensive income, of changes in equity and of cash flows for each of the two years in the period ended December 31, 2020.

Management’s Responsibility for the Consolidated Financial Statements

Management is responsible for the preparation and fair presentation of the consolidated financial statements in accordance with International Financial Reporting Standards as issued by the International Accounting Standards Board; this includes the design, implementation, and maintenance of internal control relevant to the preparation and fair presentation of consolidated financial statements that are free from material misstatement, whether due to fraud or error.

Auditors’ Responsibility

Our responsibility is to express an opinion on the consolidated financial statements based on our audits. We conducted our audits in accordance with auditing standards generally accepted in the United States of America. Those standards require that we plan and perform the audit to obtain reasonable assurance about whether the consolidated financial statements are free from material misstatement.

An audit involves performing procedures to obtain audit evidence about the amounts and disclosures in the consolidated financial statements. The procedures selected depend on our judgment, including the assessment of the risks of material misstatement of the consolidated financial statements, whether due to fraud or error. In making those risk assessments, we consider internal control relevant to the Company’s preparation and fair presentation of the consolidated financial statements in order to design audit procedures that are appropriate in the circumstances, but not for the purpose of expressing an opinion on the effectiveness of the Company’s internal control. Accordingly, we express no such opinion. An audit also includes evaluating the appropriateness of accounting policies used and the reasonableness of significant accounting estimates made by management, as well as evaluating the overall presentation of the consolidated financial statements. We believe that the audit evidence we have obtained is sufficient and appropriate to provide a basis for our audit opinion.

Opinion

In our opinion, the consolidated financial statements referred to above present fairly, in all material respects, the financial position of Culture Kings Group Pty Ltd and its subsidiaries as of December 31, 2020, December 31, 2019 and January 1, 2019, and the results of their operations and their cash flows for each of the two years in the period ended December 31, 2020 in accordance with International Financial Reporting Standards as issued by the International Accounting Standards Board.

/s/ PricewaterhouseCoopers

Melbourne, Australia

June 23, 2021

 

F-34


Table of Contents

Culture Kings Group Pty Ltd

ACN 627 007 970

Consolidated Statement of Profit or Loss and Other Comprehensive Income

For the years ended 31 December 2019 and 2020

 

            31 December
2019
    31 December
2020
 
     Note      AU$     AU$  

Revenue

     6      $ 149,711,791     $ 243,687,043  

Cost of sales

        (82,222,113     (127,112,759

Marketing expenses

     7        (7,523,286     (16,629,428

Occupancy expenses

     8        (6,419,822     (5,537,003

Administration and operating costs

     9        (35,129,799     (41,897,451

Travel and entertainment expenses

        (773,808     (246,632

Other income

        686,244       67,457  

Other expenses

        (456,933     (742

Other gains and losses

     10        518,234       1,102,726  

Finance income

        272,965       17,223  

Finance costs

     11        (1,681,408     (1,535,911

Profit before income tax

        16,982,065       51,914,523  
     

 

 

   

 

 

 

Income tax expense

     12        (5,335,348     (15,734,193
     

 

 

   

 

 

 

Profit for the year

      $ 11,646,717     $ 36,180,330  
     

 

 

   

 

 

 

Other Comprehensive Income, net of tax

        —         —    
     

 

 

   

 

 

 

Total Comprehensive Income for the year

      $ 11,646,717     $ 36,180,330  
     

 

 

   

 

 

 

Total Comprehensive Income attributable to:

       

Owners of the Company

        11,646,786       36,174,500  

Non-controlling interests

        (69     5,830  
     

 

 

   

 

 

 

Total Comprehensive Income for the year

      $ 11,646,717     $ 36,180,330  
     

 

 

   

 

 

 

The above Consolidated Statement of Profit or Loss and Other Comprehensive Income should be read in conjunction with the accompanying notes.

 

F-35


Table of Contents

Culture Kings Group Pty Ltd

ACN 627 007 970

Consolidated Statement of Financial Position

As at 1 January 2019 and 31 December 2019 and 2020

 

            1 January
2019
     31 December
2019
    31 December
2020
 
Assets    Note      AU$      AU$     AU$  

Current assets

          

Cash and cash equivalents

     29      $ 21,687,588      $ 31,022,967     $ 26,498,750  

Trade and other receivables

        1,660,238        780,494       350,166  

Inventories

     16        28,112,130        35,302,418       51,889,524  

Current tax asset

        211,569        —         —    

Other assets

     17        1,604,716        3,436,624       3,741,599  
     

 

 

    

 

 

   

 

 

 

Total current assets

        53,276,241        70,542,503       82,480,039  
     

 

 

    

 

 

   

 

 

 

Non-current assets

          

Property, plant and equipment

     14        9,972,014        10,967,244       9,482,524  

Intangible assets

     15        61,123        137,961       409,312  

Right of use assets

     13        36,064,412        30,719,626       26,116,379  

Other assets

     17        —          —         60  

Financial assets

     18        1,599,353        1,850,290       1,922,790  

Deferred tax assets

     22        1,554,230        1,976,739       3,004,700  
     

 

 

    

 

 

   

 

 

 

Total non-current assets

        49,251,132        45,651,860       40,935,765  
     

 

 

    

 

 

   

 

 

 

Total Assets

      $ 102,527,373      $ 116,194,363     $ 123,415,804  
     

 

 

    

 

 

   

 

 

 

Liabilities

          

Current liabilities

          

Trade and other payables

     19      $ 7,175,552      $ 10,207,129     $ 19,697,757  

Provisions

     20        588,475        774,648       964,817  

Lease liabilities

     23        3,946,770        4,515,804       5,156,714  

Current tax liabilities

        —          1,401,557       1,926,681  

Other liabilities

     24        3,340,673        6,535,835       10,075,777  

Borrowings

     21        20,189,717        18,361,867       14,701,293  

Dividend payable

     26        126,000        35,226,000       10,010,000  
     

 

 

    

 

 

   

 

 

 

Total current liabilities

        35,367,187        77,022,840       62,533,039  
     

 

 

    

 

 

   

 

 

 

Non-current liabilities

          

Provisions

     20        991,398        971,822       1,224,866  

Lease liabilities

     23        35,370,554        30,854,750       26,142,618  
     

 

 

    

 

 

   

 

 

 

Total non-current liabilities

        36,361,952        31,826,572       27,367,484  
     

 

 

    

 

 

   

 

 

 

Total Liabilities

        71,729,139        108,849,412       89,900,523  
     

 

 

    

 

 

   

 

 

 

Net Assets

      $ 30,798,234      $ 7,344,951     $ 33,515,281  
     

 

 

    

 

 

   

 

 

 

Equity

          

Issued capital

     25      $ 1      $ 145,100,001     $ 145,100,001  

Common control reserve

     28        378,500        (144,721,500     (144,721,500

Retained earnings

        30,419,733        6,966,519       33,131,019  
     

 

 

    

 

 

   

 

 

 

Equity attributable to owners of the Company

        30,798,234        7,345,020       33,509,520  

Non-controlling interests

        —          (69     5,761  
     

 

 

    

 

 

   

 

 

 

Total Equity

      $ 30,798,234      $ 7,344,951     $ 33,515,281  
     

 

 

    

 

 

   

 

 

 

The above Consolidated Statement of Financial Position should be read in conjunction with the accompanying notes.

 

F-36


Table of Contents

Culture Kings Group Pty Ltd

ACN 627 007 970

Consolidated Statement of Changes in Equity

For the years ended 31 December 2019 and 2020

 

31 December 2019   Note     Issued capital
AU$
    Common control
reserve AU$
    Retained
Earnings AU$
    Non-controlling
interest AU$
    Total Equity AU$  

Balance at 1 January 2019 previous - GAAP

    28     $ 1     $ 378,500     $ 31,175,091     $ —       $ 31,553,592  

Impact of IFRS adoption

      —         —         (755,358       (755,358

Balance at 1 January 2019 - post adoption

      1       378,500       30,419,733       —         30,798,234  

Transaction with owners in their capacity as owners

           

Issue of shares in common control transaction

    28       145,100,000       (145,100,000     —         —         —    

Dividends paid or declared

    26       —         —         (35,100,000     —         (35,100,000

Total comprehensive income

           

Profit after income tax expense for the year

      —         —         11,646,786       (69     11,646,717  
   

 

 

   

 

 

   

 

 

   

 

 

   

 

 

 

Total comprehensive income for the year

      —         —         11,646,786       (69     11,646,717  
   

 

 

   

 

 

   

 

 

   

 

 

   

 

 

 

Balance at 31 December 2019

    $ 145,100,001     $ (144,721,500   $ 6,966,519     $ (69   $ 7,344,951  
   

 

 

   

 

 

   

 

 

   

 

 

   

 

 

 

 

31 December 2020   Note     Issued capital
AU$
    Common control
reserve AU$
    Retained
Earnings AU$
    Non-controlling
interest AU$
    Total Equity AU$  

Balance at 1 January 2020

    $ 145,100,001     $ (144,721,500   $ 6,966,519     $ (69   $ 7,344,951  

Transaction with owners in their capacity as owners

           

Dividends paid or declared

    26       —         —         (10,010,000     —         (10,010,000

Total comprehensive income

           

Profit after income tax expense for the year

      —         —         36,174,500       5,830       36,180,330  
   

 

 

   

 

 

   

 

 

   

 

 

   

 

 

 

Total comprehensive income for the year

      —         —         36,174,500       5,830       36,180,330  
   

 

 

   

 

 

   

 

 

   

 

 

   

 

 

 

Balance at 31 December 2020

    $ 145,100,001     $ (144,721,500   $ 33,131,019     $ 5,761     $ 33,515,281  
   

 

 

   

 

 

   

 

 

   

 

 

   

 

 

 

The above Consolidated Statement of Changes in Equity should be read in conjunction with the accompanying notes.

 

F-37


Table of Contents

Culture Kings Group Pty Ltd

ACN 627 007 970

Consolidated Statement of Cash Flows

For the years ended 31 December 2019 and 2020

 

     Note      31 December
2019
AU$
    31 December
2020
AU$
 

Cash flows from operating activities

       

Receipts from customers

      $ 165,855,560     $ 265,321,525  

Payments to suppliers, employees and others

        (141,709,256     (208,762,160

Finance costs paid

        (1,681,408     (1,535,911

Interest received

        272,965       17,223  

Income taxes paid

        (4,144,731     (16,237,030
     

 

 

   

 

 

 

Net cash inflow from operating activities

     29        18,593,130       38,803,647  

Cash flows from investing activities

       

Payments for property, plant and equipment

        (3,652,540     (889,322

Payments for intangibles

        (155,806     (334,690

Proceeds from sale of property, plant and equipment

        578,152       37,073  
     

 

 

   

 

 

 

Net cash outflow from investing activities

        (3,230,194     (1,186,939

Cash flows from financing activities

       

Loan repayments

        (2,080,787     (38,357,194

Repayment of lease liabilities

        (3,946,770     (3,783,731
     

 

 

   

 

 

 

Net cash outflow from financing activities

     29        (6,027,557     (42,140,925

Net increase (decrease) in cash and cash equivalents

        9,335,379       (4,524,217

Cash and cash equivalents at beginning of year

        21,687,588       31,022,967  
     

 

 

   

 

 

 

Cash and cash equivalents at end of year

     29      $ 31,022,967     $ 26,498,750  
     

 

 

   

 

 

 

The above Consolidated Statement of Cash Flows should be read in conjunction with the accompanying notes.

 

F-38


Table of Contents

Culture Kings Group Pty Ltd

ACN 627 007 970

Notes to the Financial Statements

For the years ended 31 December 2019 and 2020

NOTE 1: General information

Culture Kings Group Pty Ltd is a proprietary company limited by shares, incorporated and registered in Australia. The address of the Company’s registered office is shown below.

 

Registered office    Principal place of business
39 Kerry Road    39 Kerry Road
Archerfield QLD 4108    Archerfield QLD 4108
Australia    Australia

These financial statements are presented in Australian Dollars (AU$) and are rounded to the nearest dollar, unless otherwise noted.

During the year, COVID-19 was declared by the World Health Organization as a global pandemic on 11 March 2020. This did not have a significant impact on the results from operations of the Group. Culture Kings stores across the country were closed at staggered times from March to December 2020, depending on the nature of restrictions in each state of operations. The impact of the closed stores was compensated by increased trading through the online platform.

At the date of this report the COVID-19 pandemic continues to disrupt local and global economies and related supply chains. The Group continues to experience no significant impact on trading operations arising from the pandemic. As the situation remains fluid any future impacts on the operations of the Group cannot be reliably estimated.

NOTE 2: First time adoption of IFRS

The Group has not previously been required to prepare general purpose financial statements (GPFS). Therefore, the Group’s financial statements for the year ended 31 December 2020 are the first GPFS issued by the Group that comply with International Financial Reporting Standards as issued by the International Accounting Standards Board (IFRS).

In preparing the financial statements for the year ended 31 December 2020, the Group applied IFRS 1 First-time Adoption (IFRS 1), with a transition date of 1 January 2019. There was no material change in recognition or measurement of balances due to the adoption of IFRS 1 on the financial position, financial performance and cash flows of the Group, as compared to the historical accounting standards used by the Group, other than the adoption of IFRS 16 at 1 January 2019 as disclosed in the Statement of Changes in Equity and Note 13. As there were no other material measurement differences the financial statements do not include any other IFRS 1 first- time adoption reconciliations.

The Group has applied IFRS 16 Leases from 1 January 2019 using the modified retrospective approach under which the cumulative effect of AU$755,358 is recognised in retained earnings on the date of application. This cumulative effect is the net of $2,173,829 for the derecognition of old lease related balances, $3,252,912 for the recognition of new lease balances, and $323,715 of net deferred income tax adjustments relating to these changes. The Group holds buildings and equipment leases that are negotiated on an individual basis and contain a wide range of different terms and conditions. On transition to IFRS 16, the Group has elected not to reassess whether a contract is or contains a lease at the date of initial application and has relied up on the assessment made under IAS 17. In addition, the following practical expedients permitted by the standard have been applied:

 

   

the use of a single discount rate for a portfolio of leases with reasonably similar characteristics;

 

F-39


Table of Contents
   

the accounting for operating leases with a remaining life of less than one year as at 1 January 2019 as a short term lease; and

 

   

the use of hindsight in determining the lease term where the contract contains options to extend or terminate the lease.

The Group has not applied any exemptions under IFRS 1, other than the exemptions available on adoption of IFRS 16 noted above.

The significant accounting policies used in the preparation and presentation of these financial statements are provided below and have been applied consistently across all periods presented.

The financial statements are based on historical costs, except for certain financial instruments, which have been measured at fair value.

 

(a)

New and revised IFRS Standards in issue but not yet effective

At the date of authorisation of these financial statements, the Group has not applied the following new and revised IFRS Standards that have been issued but are not yet effective:

 

   

IFRS 10 and IAS 28 (amendments) Sale or Contribution of Assets between an Investor and its Associate or Joint Venture

 

   

Amendments to IAS 1 Classification of Liabilities as Current or Non-current

 

   

Amendments to IFRS 3 Reference to the Conceptual Framework

 

   

Amendments to IAS 16 Property, Plant and Equipment—Proceeds before Intended Use

 

   

Amendments to IFRS 16 COVID-19 rent concession amendment—extension

 

   

Amendments to IAS 37 Onerous Contracts - Cost of Fulfilling a Contract

 

   

Annual Improvements to IFRS Standards 2018-2020 Cycle

 

   

Amendments to IFRS 1 First-time Adoption of International Financial Reporting Standards, IFRS 9 Financial Instruments, IAS 12 Income Taxes, IFRS 16 Leases, and IAS 41 Agriculture

Management do not expect that the adoption of the Standards listed above will have a material impact on the financial statements of the Group in future periods.

NOTE 3: Statement of compliance

These financial statements are general purpose financial statements which have been prepared in accordance with IFRS.

The financial statements comprise the consolidated financial statements of the Group. For the purposes of preparing the consolidated financial statements, the Company is a for-profit entity.

NOTE 4: Significant Accounting Policies

 

(a)

Common-control business combination

A business combination involving entities or businesses under common-control is a business combination in which all of the combining entities or businesses are ultimately controlled by the same party or parties both before and after the business combination, and that the control is not transitory.

IFRS 3 Business Combinations specifically excludes common control business combinations from its guidance, allowing management to apply the acquisition method or the predecessor method of accounting.

 

F-40


Table of Contents

Management has adopted the predecessor method to account for these acquisitions. The amounts recognised are the carrying values from the combining entities at the date of the transaction. Since these companies were under common control since 1 January 2019, the Group has been presented on a combined basis from the earliest reporting period included in these financial statements.

 

(b)

Basis of preparation of combined/consolidated financial statements

The financial statements are a combination of both combined financial statements and consolidated financial statements.

On 1 July 2019, Culture Kings Group Pty Ltd acquired 100% of the share capital of the following companies (the “reorganisation”):

 

   

TF Apparel Pty Ltd

 

   

Culture Kings Pty Ltd

 

   

Culture Kings Brisbane Pty Ltd

 

   

Culture Kings Gold Coast Pty Ltd

 

   

Culture Kings Sydney Pty Ltd

 

   

Culture Kings Melbourne Pty Ltd

 

   

Culture Kings Perth Pty Ltd

 

   

TF Intellectual Property Pty Ltd

Although the reorganisation was not completed until 1 July 2019, the directors of the Group considered that it is meaningful to present the combined financial position and results of operations of the Group from 1 January 2019, as all the companies comprising the Group were beneficially owned and controlled by the same shareholders before and after the reorganisation.

The consolidated financial statements incorporate the financial statements of the Group and entities (including structured entities) controlled by the Group and its subsidiaries. Refer to note 29 for the list of controlled entities. Control is achieved when the Group:

 

   

has power over the investee

 

   

is exposed, or has rights, to variable returns from its involvement with the investee; and

 

   

has the ability to use its power to affect its returns.

The Group reassesses whether or not it controls an investee if facts and circumstances indicate that there are changes to one or more of the three elements of control listed above. Consolidation of a subsidiary begins when the Group obtains control over the subsidiary and ceases when the Group loses control of the subsidiary. Specifically, income and expenses of a subsidiary acquired or disposed of during the year are included in the Consolidated Statement of Profit or Loss and Other Comprehensive Income from the date the Group gains control until the date when the Group ceases to control the subsidiary. All intragroup assets and liabilities, equity, income, expenses and cash flows relating to transactions between members of the Group are eliminated in full consolidation. Refer to note 30 for treatment of the common control transaction.

 

(c)

Business Combinations

Business Combinations

Acquisitions of businesses other than common control business combinations are accounted for using the acquisition method. The consideration transferred is measured as the fair value of the assets acquired, shares issued or liabilities incurred or assumed at the date of exchange. Acquisition-related costs are expensed in the period the costs are incurred. The consideration transferred also includes the fair value of any asset or liability resulting from a contingent consideration arrangement.

 

F-41


Table of Contents

At the acquisition date, identifiable assets acquired and liabilities and contingent liabilities assumed in a business combination are measured initially at their fair values. The excess of the consideration transferred, amount of any non-controlling interest in the acquired entity, over the net fair value of the Group’s share of the identifiable net assets acquired is recognised as goodwill.

The Group recognises any non-controlling interest, in the acquired entity on an acquisition-by-acquisition basis either affair value or at the non-controlling interests’ proportionate share of the acquired entity’s net identifiable assets. Non-controlling interests in the results and equity of subsidiaries are shown separately in the Consolidated Statement of Profit or Loss and Other Comprehensive Income, Consolidated Statement of Financial Position and Consolidated Statement of Changes in Equity.

If the initial accounting for a business combination is incomplete by the end of the reporting period in which the combination occurs, the Group reports provisional amounts for the items for which the accounting is incomplete. Those provisional amounts are adjusted during the measurement period ((which cannot exceed one year from the acquisition date), or additional assets or liabilities are recognised, to reflect new information obtained about facts and circumstances that existed as of the acquisition date that, if known, would have affected the amounts recognised as of that date.

 

(d)

Revenue

The Group recognises revenue from the following major sources:

 

   

sale of apparel goods to customers through online platforms

 

   

shipping revenue on sales made on online platforms

 

   

sale of apparel goods to customers in-stores across Australia.

Revenue is measured at the fair value of the consideration received or receivable. Amounts disclosed as revenue are net of discounts, returns, trade allowances, rebates and amounts collected on behalf of third parties. Revenue from the sale of goods is recognised when the Group has transferred control of the goods to a customer.

For online sales, the performance obligation is satisfied when control of the product passes to the customer, which is when the goods are transferred to a third party carrier. For retail store sales, the performance obligation is satisfied at the point when the goods are provided to the customer in exchange of the consideration.

Goods are sold to the end customer with a right of return within a reasonable period at the Group’s discretion and in accordance with legislative requirements. A refund liability (included in Other Current Liabilities) and a right of return asset (included in Other Current Assets) is recognised for the goods expected to be returned, with a corresponding adjustment to revenue from sale of goods and cost of goods sold. The assumptions and the estimated amount of returns are based on historical evidence and are reassessed at the end of each reporting period.

Shipping revenue generated through online sales is treated as a separate performance obligation, with the Group being the principal for this performance obligation. Shipping revenue is recognised over the time to delivery.

Revenue from the sale of gift cards is recognised when the gift cards are redeemed for goods supplied. The Group also recognises breakage revenue from gift cards, which is reflective of the customer’s unexercised rights (residual gift card balances) which are not expected to be redeemed, proportionately with gift card redemptions in revenue.

All revenue is stated exclusive of the amount of goods and services tax (GST).

 

F-42


Table of Contents
(e)

Cash and cash equivalents

Cash and cash equivalents include cash on hand, deposits held at call with banks and other short-term, highly liquid investments with original maturities of three months or less.

 

(f)

Inventories

Inventories are measured at the lower of cost and net realisable value. Net realisable value represents the estimated selling price in the ordinary course of business less the estimated costs necessary to make the sale. The cost of inventories are determined on a weighted average basis and includes costs associated with freight, import duties and other costs directly associated with the acquisition of inventory.

 

(g)

Property, plant and equipment

Each class of property, plant and equipment is carried at cost less, where applicable, any accumulated depreciation and impairment losses.

Plant and equipment

Plant and equipment are measured on the cost basis less accumulated depreciation and impairment losses.

The cost of fixed assets constructed within the Group includes the cost of materials, direct labour, borrowing costs and an appropriate proportion of fixed and variable overheads.

Subsequent costs are included in the asset’s carrying amount or recognised as a separate asset, as appropriate, only when it is probable that future economic benefits associated with the item will flow to the Group and the cost of the item can be measured reliably. All other repairs and maintenance are charged to the Statement of Profit or Loss and Other Comprehensive Income during the financial period in which they are incurred.

Depreciation

The useful lives for each class of depreciable assets are:

 

  Leasehold improvements    4-15 years
  Furniture and fittings    8 - 20 years
  Plant and equipment    3 - 20 years
  Motor vehicles    8-15 years
  Computers and hardware    2 - 5 years

The assets’ residual values and useful lives are reviewed, and adjusted if appropriate, at each balance date. For all leasehold and leased assets, the useful life reflects the term of the lease.

Gains and losses on disposals are determined by comparing proceeds with the carrying amount.

These gains and losses are included in the consolidated statement of profit or loss and other comprehensive income.

An item of property, plant and equipment is derecognised upon disposal or when no future economic benefits are expected to arise from the continued use of the assets.

 

(h)

Financial instruments

Financial assets and financial liabilities are recognised when the Group becomes a party to the contractual provisions of the instrument. Financial assets and financial liabilities are initially measured affair value, net of

 

F-43


Table of Contents

transaction costs, with the exception of financial assets and financial liabilities affair value through profit or loss, where transaction costs are recognised immediately in profit or loss.

Financial assets and financial liabilities are initially measured at fair value, except for trade receivables that do not have a significant financing component which are measured at transaction price. Transaction costs that are directly attributable to the acquisition or issue of financial assets and financial liabilities (other than financial assets and financial liabilities at fair value through profit or loss) are added to or deducted from the fair value of the financial assets or financial liabilities, as appropriate, on initial recognition. Transaction costs directly attributable to the acquisition of financial assets or financial liabilities at fair value through profit or loss are recognised immediately in profit or loss.

All recognised financial assets are measured subsequently in their entirety at either amortised cost or fair value, depending on the classification of the financial assets.

Fair value measurements

Fair value is the price that would be received to sell an asset or paid to transfer a liability in an orderly transaction between market participants at the measurement date, regardless of whether that price is directly observable or estimated using another valuation technique. In estimating the fair value of an asset or a liability, the Group takes into account the characteristics of the asset or liability at the measurement date.

In addition, for financial reporting purposes, fair value measurements are categorised into Level 1, 2 or 3 based on the degree to which the inputs to the fair value measurements are observable and the significance of the inputs to the fair value measurement in its entirety, which are described as follows:

 

   

Level 1 inputs are quoted prices (unadjusted) in active markets for identical assets or liabilities that the entity can access at the measurement date;

 

   

Level 2 inputs are inputs, other than quoted prices included within Level 1, that are observable for the asset or liability, either directly or indirectly;

 

   

Level 3 inputs are unobservable inputs for the asset or liability.

Financial assets

Trade receivables, loans and other receivables are non-derivative financial assets with fixed/determinable payments that are not quoted in an active market are measured subsequently in their entirety at either amortised cost or fair value, depending on the classification of the financial assets. The classification depends on whether the objective of the entity’s business model is to hold financial assets in order to collect contractual cash flows (business model test) and whether the contractual terms of the cash flows give rise on specified dates to cash flows that are solely payments of principal and interest (cash flow test).

Trade and other receivables are held for collection of contractual cash flows where those cash flows represent solely payments of principal and interest are measured at amortised cost. Interest income from these financial assets is included in finance income using the effective interest rate method.

Classification of financial assets

Debt instruments that meet the following conditions are measured subsequently at amortised cost:

 

   

the financial asset is held within a business model whose objective is to hold financial assets in order to collect contractual cash flows; and

 

   

the contractual terms of the financial asset give rise on specified dates to cash flows that are solely payments of principal and interest on the principal amount outstanding.

 

F-44


Table of Contents
   

Debt instruments that meet the following conditions are measured subsequently at fair value through other comprehensive income (FVTOCI):

 

   

the financial asset is held within a business model whose objective is achieved by both collecting contractual cash flows and selling the financial assets; and

 

   

the contractual terms of the financial asset give rise on specified dates to cash flows that are solely payments of principal and interest on the principal amount outstanding.

By default, all other financial assets are measured subsequently at fair value through profit or loss (FVTPL).

Amortised cost and effective interest method

The effective interest method is a method of calculating the amortised cost of a debt instrument and of allocating interest income over the relevant period.

For financial assets other than purchased or originated credit-impaired financial assets (i.e. assets that are credit-impaired on initial recognition), the effective interest rate is the rate that exactly discounts estimated future cash receipts (including all fees and points paid or received that form an integral part of the effective interest rate, transaction costs and other premiums or discounts) excluding expected credit losses, through the expected life of the debt instrument, or, where appropriate, a shorter period, to the gross carrying amount of the debt instrument on initial recognition.

The amortised cost of a financial asset is the amount at which the financial asset is measured at initial recognition minus the principal repayments, plus the cumulative amortisation using the effective interest method of any difference between that initial amount and the maturity amount, adjusted for any loss allowance. The gross carrying amount of a financial asset is the amortised cost of a financial asset before adjusting for any loss allowance.

Interest income is recognised using an effective interest rate method applicable to the financial assets. Interest income is recognised using the effective interest method for debt instruments measured subsequently at amortised cost and at FVTOCI.

Derecognition of financial assets

The Group derecognises a financial asset only when the contractual rights to the cash flows from the asset expire, or when it transfers the financial asset and substantially all the risks and rewards of ownership of the asset to another entity. If the Group neither transfers nor retains substantially all the risks and rewards of ownership and continues to control the transferred asset, the Group recognises its retained interest in the asset and an associated liability for amounts it may have to pay. If the Group retains substantially all the risks and rewards of ownership of a transferred financial asset, the Group continues to recognise the financial asset and also recognises a collateralised borrowing for the proceeds received. On derecognition of a financial asset measured at amortised cost, the difference between the asset’s carrying amount and the sum of the consideration received and receivable is recognised in profit or loss.

Financial liabilities and equity

Classification as debt or equity

Debt and equity instruments are classified as either financial liabilities or as equity in accordance with the substance of the contractual arrangements and the definitions of a financial liability and an equity instrument.

Equity instruments

An equity instrument is any contract that evidences a residual interest in the assets of an entity after deducting all of its liabilities. Equity instruments issued by the Group are recognised at the proceeds received, net of direct issue costs. Repurchase of the Company’s own equity instruments is recognised and deducted directly in

 

F-45


Table of Contents

equity. No gain or loss is recognised in profit or loss on the purchase, sale, issue or cancellation of the Company’s own equity instruments.

Financial liabilities

All financial liabilities are measured subsequently at amortised cost using the effective interest method or at FVTPL.

Financial liabilities measured subsequently at amortised cost

Financial liabilities that are not contingent consideration of an acquirer in a business combination, held-for trading, or designated as at FVTPL, are measured subsequently at amortised cost using the effective interest method.

The effective interest method is a method of calculating the amortised cost of a financial liability and of allocating interest expense over the relevant period. The effective interest rate is the rate that exactly discounts estimated future cash payments (including all fees and points paid or received that form an integral part of the effective interest rate, transaction costs and other premiums or discounts) through the expected life of the financial liability, or (where appropriate) a shorter period, to the amortised cost of a financial liability.

Derecognition of financial liabilities

The Group derecognises financial liabilities when, and only when, the Group’s obligations are discharged, cancelled or have expired. The difference between the carrying amount of the financial liability derecognised and the consideration paid and payable is recognised in profit or loss.

Impairment

The Group will recognise a loss allowance for expected credit losses on financial assets measured at amortised cost. The amount of expected credit losses is updated at each reporting date to reflect changes in credit risk since initial recognition of the respective financial instrument.

 

(i)

Income tax Current tax

The tax currently payable is based on taxable profit for the year. Taxable profit differs from net profit as reported in profit or loss because it excludes items of income or expense that are taxable or deductible in other years and it further excludes items that are never taxable or deductible. The Group’s liability for current tax is calculated using tax rates that have been enacted or substantively enacted by the end of the reporting period.

A provision is recognised for those matters for which the tax determination is uncertain but it is considered probable that there will be a future outflow of funds to a tax authority. The provisions are measured at the best estimate of the amount expected to become payable. The assessment is based on the judgement of tax professionals within the Company supported by previous experience in respect of such activities and in certain cases based on specialist independent tax advice.

Deferred tax

Deferred tax is the tax expected to be payable or recoverable on differences between the carrying amounts of assets and liabilities in the financial statements and the corresponding tax bases used in the computation of taxable profit, and is accounted for using the liability method. Deferred tax liabilities are generally recognised for all taxable temporary differences and deferred tax assets are recognised to the extent that it is probable that taxable profits will be available against which deductible temporary differences can be utilised. Such assets and liabilities are not recognised if the temporary difference arises from the initial recognition (other than in a business combination and on initial recognition of lease liabilities and right of use assets under IFRS 16) of other assets and liabilities in a transaction that affects neither the taxable profit nor the accounting profit. In addition, a deferred tax liability is not recognised if the temporary difference arises from the initial recognition of goodwill.

 

F-46


Table of Contents

The carrying amount of deferred tax assets is reviewed at each reporting date and reduced to the extent that it is no longer probable that sufficient taxable profits will be available to allow all or part of the asset to be recovered.

Deferred tax is calculated at the tax rates that are expected to apply in the period when the liability is settled or the asset is realised based on tax laws and rates that have been enacted or substantively enacted at the reporting date.

The measurement of deferred tax liabilities and assets reflects the tax consequences that would follow from the manner in which the Group expects, at the end of the reporting period, to recover or settle the carrying amount of its assets and liabilities.

Deferred tax assets and liabilities are offset when there is a legally enforceable right to set off current tax assets against current tax liabilities and when they relate to income taxes levied by the same taxation authority and the Group intends to settle its current tax assets and liabilities on a net basis.

Current tax and deferred tax for the year

Current and deferred tax are recognised in profit or loss, except when they relate to items that are recognised in other comprehensive income or directly in equity, in which case, the current and deferred tax are also recognised in other comprehensive income or directly in equity respectively. Where current tax or deferred tax arises from the initial accounting for a business combination, the tax effect is included in the accounting for the business combination.

 

(j)

Tax consolidation

Culture Kings Group Pty Ltd and its wholly-owned Australian resident entities are members of a tax-consolidated group, which formed on 1 July 2019, under Australian tax law. Culture Kings Group Pty Ltd is the head entity within the tax- consolidated group. In addition to its own current and deferred tax amounts, the company also recognises the current tax liabilities and assets and deferred tax assets arising from unused tax losses and relevant tax credits of the members of the tax-consolidated group.

Amounts payable or receivable under the tax-funding arrangement between the Company and the entities in the tax consolidated group are determined using a ‘separate taxpayer within group’ approach to determine the tax contribution amounts payable or receivable by each member of the tax-consolidated group. This approach results in the tax effect of transactions being recognised in the legal entity where that transaction occurred, and does not tax effect transactions that have no tax consequences to the group. The same basis is used for tax allocation within the tax-consolidated group.

 

(k)

Impairment of assets

At each reporting date, the Group reviews the carrying amounts of its property, plant and equipment and intangible assets to determine whether there is any indication that those assets have suffered an impairment loss. If any such indication exists, the recoverable amount of the asset is estimated to determine the extent of the impairment loss (if any). Where the asset does not generate cash flows that are independent from other assets, the Group estimates the recoverable amount of the cash-generating unit to which the asset belongs. When a reasonable and consistent basis of allocation can be identified, corporate assets are also allocated to individual cash-generating units, or otherwise they are allocated to the smallest group of cash-generating units for which a reasonable and consistent allocation basis can be identified.

Recoverable amount is the higher of fair value less costs of disposal and value in use. In assessing value in use, the estimated future cash flows are discounted to their present value using a pre-tax discount rate that reflects current market assessments of the time value of money and the risks specific to the asset for which the estimates of future cash flows have not been adjusted.

 

F-47


Table of Contents

If the recoverable amount of an asset (or cash-generating unit) is estimated to be less than its carrying amount, the carrying amount of the asset (or cash-generating unit) is reduced to its recoverable amount. An impairment loss is recognised immediately in profit or loss.

Where an impairment loss subsequently reverses, the carrying amount of the asset (or cash-generating unit) is increased to the revised estimate of its recoverable amount, but so that the increased carrying amount does not exceed the carrying amount that would have been determined had no impairment loss been recognised for the asset (or cash-generating unit) in prior years.

 

(l)

Intangible assets

Intangible assets with finite lives that are acquired separately are carried at cost less accumulated amortisation and accumulated impairment losses. Amortisation is recognised on a straight-line basis over their estimated useful lives. The estimated useful life and amortisation method are reviewed at the end of each reporting period, with the effect of any changes in estimate being accounted for on a prospective basis. Intangible assets with indefinite useful lives that are acquired separately are carried at cost less accumulated impairment losses.

The useful lives used for each class of amortisable assets are:

 

Software    3 years
Intellectual property    5 -10 years

An intangible asset is derecognised on disposal, or when no future economic benefits are expected from use or disposal. Gains or losses arising from derecognition of an intangible asset, measured as the difference between the net disposal proceeds and the carrying amount of the asset, are recognised in profit or loss when the asset is derecognised.

 

(m)

Leases

The Group assesses whether a contract is or contains a lease, at inception of the contract. The Group recognises a right-of- use asset and a corresponding lease liability with respect to all lease arrangements in which it is the lessee, except for short-term leases (defined as leases with a lease term of 12 months or less) and leases of low value assets (such as tablets and personal computers, small items of office furniture and telephones). For these leases, the Group recognises the lease payments as an operating expense on a straight-line basis over the term of the lease unless another systematic basis is more representative of the time pattern in which economic benefits from the leased assets are consumed.

The lease liability is initially measured at the present value of the lease payments that are not paid at the commencement date, discounted by using the rate implicit in the lease. If this rate cannot be readily determined, the Group uses its incremental borrowing rate.

Lease payments included in the measurement of the lease liability comprise:

 

   

Fixed lease payments (including in-substance fixed payments), less any lease incentives receivable

 

   

Variable lease payments that depend on an index or rate, initially measured using the index or rate at the commencement date

 

   

The amount expected to be payable by the lessee under residual value guarantees

 

   

The exercise price of purchase options, if the lessee is reasonably certain to exercise the options

 

   

Payments of penalties for terminating the lease, if the lease term reflects the exercise of an option to terminate the lease.

 

F-48


Table of Contents

The lease liability is presented as a separate line in the Consolidated Statement of Financial Position.

The lease liability is subsequently measured by increasing the carrying amount to reflect interest on the lease liability (using the effective interest method) and by reducing the carrying amount to reflect the lease payments made.

The Group remeasures the lease liability (and makes a corresponding adjustment to the related right-of-use asset) whenever:

 

   

The lease term has changed or there is a significant event or change in circumstances resulting in a change in the assessment of exercise of a purchase option, in which case the lease liability is remeasured by discounting the revised lease payments using a revised discount rate

 

   

The lease payments change due to changes in an index or rate or a change in expected payment under a guaranteed residual value, in which cases the lease liability is remeasured by discounting the revised lease payments using an unchanged discount rate (unless the lease payments change is due to a change in a floating interest rate, in which case a revised discount rate is used)

 

   

A lease contract is modified and the lease modification is not accounted for as a separate lease, in which case the lease liability is remeasured based on the lease term of the modified lease by discounting the revised lease payments using a revised discount rate at the effective date of the modification.

The Group did not make any such adjustments during the periods presented.

The right-of-use assets comprise the initial measurement of the corresponding lease liability, lease payments made at or before the commencement day, less any lease incentives received, any initial direct costs and restoration costs. They are subsequently measured at cost less accumulated depreciation and impairment losses. Right-of-use assets are depreciated over the shorter period of lease term and useful life of the underlying asset. If a lease transfers ownership of the underlying asset or the cost of the right-of-use asset reflects that the Group expects to exercise a purchase option, the related right-of-use asset is depreciated over the useful life of the underlying asset. The depreciation starts at the commencement date of the lease.

The right-of-use assets are presented as a separate line in the Consolidated Statement of Financial Position.

The Group applies IAS 36 Impairment of Assets to determine whether a right-of-use asset is impaired and accounts for any identified impairment loss as described in the ‘Property, plant and equipment’ policy.

Variable rents that do not depend on an index or rate are not included in the measurement the lease liability and the right- of-use asset. The related payments are recognised as an expense in the period in which the event or condition that triggers those payments occurs and are included in the line “Other expenses” in profit or loss.

For a contract that contains a lease component and one or more additional lease or non-lease components, the Group allocates the consideration in the contract to each lease component on the basis of the relative stand-alone price of the lease component and the aggregate stand-alone price of the non-lease components.

A make good provision is recognised to reflect the cost to remediate the asset into a state acceptable by the lessor. It is initially measured at the present value of the future commitment discounted by using the risk free discount rate.

 

(n)

Employee benefits

A liability is recognised for benefits accruing to employees in respect of wages and salaries and annual leave in the period the related service is rendered.

 

F-49


Table of Contents

Liabilities recognised in respect of short-term employee benefits are measured at their nominal values using the remuneration expected to apply at the time of settlement.

Liabilities recognised in respect of long term employee benefits are measured as the present value of the estimated future cash flows to be made by the Group in respect of services provided to employees up to the reporting date.

Superannuation contributions are expensed as incurred.

 

(o)

Provisions

Provisions are recognised when the Group has a present obligation (legal or constructive) as a result of a past event, it is probable that the Group will be required to settle the obligation, and reliable estimate can be made of the amount of the obligation.

The amount recognised as a provision is the best estimate of the consideration required to settle the present obligation at the end of the reporting period, taking into account the risks and uncertainties surrounding the obligation. When a provision is measured using the cash flows estimated to settle the present obligation, its carrying amount is the present value of those cash flows (where the effect of the time value of money is material).

When some or all of the economic benefits required to settle a provision are expected to be recovered from a third party, a receivable is recognised as an asset if it is virtually certain that reimbursement will be received and the amount of the receivable can be reliably measured.

Restoration provisions

Provisions for the costs to restore leased premises to their original condition, as required by the terms and conditions of the lease, are recognised when the obligation is incurred, either at the commencement date or as a consequence of having used the underlying asset during a particular period of the lease, at the directors’ best estimate of the expenditure that would be required to restore the assets. Estimates are regularly reviewed and adjusted as appropriate for new circumstances.

 

(p)

Foreign currencies

In preparing the financial statements of the Group entities, transactions in currencies other than the entity’s functional currency (foreign currencies) are recognised at the rates of exchange prevailing on the dates of the transactions. At each reporting date, monetary assets and liabilities that are denominated in foreign currencies are retranslated at the rates prevailing at that date.

For the purpose of presenting consolidated financial statements, the assets and liabilities of the Group’s foreign operations are translated at exchange rates prevailing on the reporting date. Income and expense items are translated at the average exchange rates for the period, unless exchange rates fluctuate significantly during that period, in which case the exchange rates at the date of transactions are used.

Nonmonetary items that are measured in terms of historical cost in a foreign currency are not retranslated. Exchange differences are recognised in profit or loss in the period in which they arise.

 

(q)

Goods and services tax (GST)

Revenues, expenses and assets are recognised net of the amount of GST, except where the amount of GST incurred is not recoverable from a tax authority. In these circumstances the GST is recognised as part of the cost of acquisition of the asset or as part of an item of the expense. Receivables and payables in the consolidated statement of financial position are shown inclusive of GST.

 

F-50


Table of Contents

Cash flows are presented in the consolidated statement of cash flows on a gross basis, except for the GST component of investing and financing activities, which are disclosed as operating cash flows.

 

(r)

Comparatives

The comparative information presented reflects the year ended 31 December 2019, and balances at the transition date of 1 January 2019.

 

(s)

Going concern

The directors have, at the time of approving the financial statements, a reasonable expectation that the Group have adequate resources to continue in operational existence for the foreseeable future. Thus they continue to adopt the going concern basis of accounting in preparing the financial statements.

NOTE 5: Critical accounting estimates and judgements

In the application of the Group’s accounting policies, management is required to make judgements, estimates and assumptions about carrying values of net assets and liabilities that are not readily apparent from other sources. The estimates and associated assumptions are based on historical experience and other factors that are considered to be relevant. Actual results may differ from these estimates.

The estimates and underlying assumptions are reviewed on an ongoing basis. Revisions to accounting estimates are recognised in the period in which the estimate is revised if the revision affects only that period, or in the period of the revision and future periods if the revision affects both current and future periods. The disclosure of critical judgements in applying the Group’s accounting policies, and key sources of estimation uncertainty have been included below.

Key estimate - net realisable value of inventories

Determining the net realisable value of inventories relies on key assumptions that require the use of management judgement. These key assumptions are the variables affecting the expected selling price and are reviewed annually. Any changes in the value of inventories as a result of changes in the net realisable value in a particular year will be recognised in cost of goods sold in the consolidated statement of profit or loss or other comprehensive income.

Key estimate - provision for obsolescence and shrinkage

The provision for obsolescence and shrinkage requires key estimates and judgements associated with the loss of inventory associated with shrinkage or obsolescence. In assessing the adequacy of the provision at year end management considers historical trends and results of annual inventory counts.

Key estimate - leases

The measurement and recognition of right of use assets and lease liabilities on commencement of a lease includes judgement in relation to the lease term, including options to renew, lease modifications and the incremental borrowing rate applied. The lease term commences upon the start date of the lease with the residual useful life being the residual term which would encompass any options which the Group are reasonably certain to exercise. The incremental borrowing rate is estimated as the rate of interest that it would have to pay a lender over a similar term, with similar security to obtain the funds necessary to obtain an asset of similar value in a similar economic environment. This assessment is reviewed on an annual basis for changes in estimate.

 

F-51


Table of Contents

NOTE 6: Revenue

The Group derives its revenue from contracts with customers for the transfer of goods or services at a point in time.

 

     Note      31 December 2019
AU$
     31 December 2020  

Revenue from sale of goods through online platforms

      $ 86,690,839      $ 182,949,716  

Revenue from sale of goods in-stores across Australia

        59,800,221        53,044,353  

Shipping revenue

        3,220,731        7,692,974  
     

 

 

    

 

 

 
      $ 149,711,791      $ 243,687,043  
     

 

 

    

 

 

 

Disaggregated by timing of revenue

        

Goods transferred at a point in time

      $ 146,491,060      $ 235,994,069  

Services transferred over time

        3,220,731        7,692,974  
     

 

 

    

 

 

 
      $ 149,711,791      $ 243,687,043  
     

 

 

    

 

 

 

NOTE 7: Marketing expense

 

     Note      31 December 2019
AU$
     31 December 2020  

Social media marketing

      $ 3,771,091      $ 9,123,785  

Marketing platforms

        2,329,213        5,553,249  

Other marketing expenses

        1,422,982        1,952,394  
     

 

 

    

 

 

 
      $ 7,523,286      $ 16,629,428  
     

 

 

    

 

 

 

NOTE 8: Occupancy Expense

 

     Note      31 December 2019
AU$
     31 December 2020  

Depreciation on right of use assets

      $ 5,344,786      $ 5,278,009  

Other occupancy expenses

        1,075,036        1,130,459  

Gain relating to waiver of lease payments

        —          (871,465
     

 

 

    

 

 

 
      $ 6,419,822      $ 5,537,003  
     

 

 

    

 

 

 

NOTE 9: Administration and operating costs

 

     Note      31 December 2019
AU$
     31 December 2020  

Merchant fees

      $ 3,249,925      $ 6,253,636  

Packaging

        899,994        1,552,158  

Professional, consultant and admin services

        3,168,084        5,296,044  

Employee expense

     9(a)        23,300,789        23,847,607  

Depreciation and amortisation

        2,158,126        2,364,913  

Other administration and operating costs

        2,352,881        2,583,093  
     

 

 

    

 

 

 
      $ 35,129,799      $ 41,897,451  
     

 

 

    

 

 

 

 

F-52


Table of Contents
(a)

Employee expense

 

     Note      31 December 2019
AU$
     31 December 2020  

Superannuation contributions

      $ 1,786,184      $ 1,867,138  

Salaries and wages expense

        19,689,103        21,112,275  

Payroll tax

        1,029,905        434,417  

Other employee related expenses

        795,597        433,777  
     

 

 

    

 

 

 
      $ 23,300,789      $ 23,847,607  
     

 

 

    

 

 

 

NOTE 10: Other gains and losses

 

     Note      31 December 2019
AU$
     31 December 2020
AU$
 

Net foreign exchange gains

      $ 518,234      $ 1,138,121  

Gain/(loss) on disposal of property, plant and equipment

        —          (35,395
  

 

 

    

 

 

    

 

 

 
      $ 518,234      $ 1,102,726  
  

 

 

    

 

 

    

 

 

 

The foreign exchange gains/losses arose on the unhedged monetary items denominated in foreign currencies.

NOTE 11: Finance Costs

 

     Note      31 December 2019
AU$
     31 December 2020
AU$
 

Interest on lease liabilities

     13      $ 1,603,965      $ 1,431,488  

Other finance costs

        77,443        104,423  
     

 

 

    

 

 

 
      $ 1,681,408      $ 1,535,911  
     

 

 

    

 

 

 

NOTE 12: Income tax

 

     Note      31 December 2019
AU$
     31 December 2020
AU$
 

Current Income tax expense:

        

Current year

      $ 5,740,000      $ 16,721,066  

Adjustments in respect of prior years

        17,857        41,088  
     

 

 

    

 

 

 
        5,757,857        16,762,154  
     

 

 

    

 

 

 

Deferred tax:

     22        (422,509      (1,027,961
     

 

 

    

 

 

 

Effect of temporary differences

        (422,509      (1,027,961
     

 

 

    

 

 

 

Income tax expense

      $ 5,335,348      $ 15,734,193  
     

 

 

    

 

 

 

The standard rate of corporation tax applied to reported profit is 30 per cent (2019: 30 per cent).

 

F-53


Table of Contents

The charge for the year can be reconciled to the profit before tax as follows:

 

     Note      31 December 2019
AU$
     31 December 2020
AU$
 

Profit before tax on continuing operations

      $ 16,982,065      $ 51,914,523  

Tax at the Australian corporation tax rate of 30 per cent (2019: 30 per cent)

        5,094,620        15,574,357  

Tax effect of expenses that are not deductible in determining taxable profit

        222,871        118,748  

Adjustments in respect of prior years

        17,857        41,088  
  

 

 

    

 

 

    

 

 

 
      $ 5,335,348      $ 15,734,193  
  

 

 

    

 

 

    

 

 

 

All tax is payable in Australia.

NOTE 13: Leases

 

     Right of use assets
(Property)

AU$
     Right of use assets
(Equipment)

AU$
     Total
AU$
 

Cost

  

At 1 Jan 2019 - previous GAAP

     —          —          —    

Impact of IFRS adoption

   $ 45,086,411      $ 288,063      $ 45,374,474  

Additions

     —          —          —    

Disposals

     —          —          —    
  

 

 

    

 

 

    

 

 

 

At 31 Dec 2019

     45,086,411        288,063        45,374,474  
  

 

 

    

 

 

    

 

 

 

Additions

     674,762        —          674,762  

Disposals

     (2,354,678      —          (2,354,678
  

 

 

    

 

 

    

 

 

 

At 31 Dec 2020

   $ 43,406,495      $ 288,063      $ 43,694,558  
  

 

 

    

 

 

    

 

 

 

Accumulated Depreciation

  

At 1 Jan 2019 - previous GAAP

     —          —          —    

Impact of IFRS adoption

   $ 9,227,018      $ 83,044        9,310,062  

Depreciation for the year

     5,287,174        57,612        5,344,786  

Disposals

     —          —          —    
  

 

 

    

 

 

    

 

 

 

At 31 Dec 2019

     14,514,192        140,656        14,654,848  
  

 

 

    

 

 

    

 

 

 

Depreciation for the year

     5,220,396        57,613        5,278,009  

Disposals

     (2,354,678      —          (2,354,678
  

 

 

    

 

 

    

 

 

 

At 31 Dec 2020

   $ 17,379,910      $ 198,269      $ 17,578,179  
  

 

 

    

 

 

    

 

 

 

Carrying value

  

At 1 Jan 2019

   $ 35,859,393      $ 205,019      $ 36,064,412  

At 31 Dec 2019

     30,572,219        147,407        30,719,626  

At 31 Dec 2020

     26,026,585        89,794        26,116,379  

The Group leases several assets including properties (retail store space) and equipment (predominantly forklifts). The average lease term is 8 years (2019: 8 years).

Management has elected to apply the practical expedient available in Covid-19-Related Rent Concessions (Amendment to IFRS 16) which enables rent concessions from COVID19 not to be treated as lease modifications.

 

F-54


Table of Contents

The waiver of lease payments of AU$871,465 has been credited to Occupancy expense in the Statement of Profit or Loss and Other Comprehensive Income. The Group has derecognised the part of the lease liability that has been extinguished by the forgiveness of lease payments, consistent with the requirements of IFRS 9:3.3.1.

 

     31 December 2019
AU$
     31 December 2020
AU$
 

Amounts recognised in profit and loss

     

Depreciation expense on right-of-use assets

   $ 5,344,786      $ 5,278,009  

Interest expense on lease liabilities

     1,603,965        1,431,488  

Expense relating to short-term leases

     132,289        117,485  

Expense relating to leases of low value assets

     —          42,136  

Gain relating to waiver of lease payments

     —          (871,465

The total cash outflow for leases in 2020 was AU$5,215,220 (2019: AU$5,550,735).

Some of the property leases in which the Group is the lessee contain variable lease payment terms that are linked to sales generated from the leased stores. For the years ended 31 December 2020 and 2019, no variable payments were made. The Group expects the ratio of fixed to variable lease payments to remain constant in future years. The variable payments depend on sales and consequently on the overall economic development over the next few years. Taking into account the development of sales expected over the next 2 years, variable rent expenses are expected to continue to present a similar proportion of store sales in future years.

Contracts may contain both lease and non-lease components. For property leases for which the Group is the lessee, it has elected not to separate lease and non-lease components and instead accounts for these as a single lease component.

 

F-55


Table of Contents

NOTE 14: Property, plant and equipment

 

     Leasehold
improvements
AU$
    Furniture
and fittings
AU$
    Plant and
equipment AU$
   

Motor
vehicles

AU$

    Computers &
Hardware AU$
    Other
Equipment
AU$
    Capital
Work in
Progress
AU$
   

Total

AU$

 

Cost

  

At 1 Jan 2019

   $ 9,807,714     $ 534,366     $ 1,857,257     $ 207,671     $ 1,818,168     $ 467,145     $ 295,967     $ 14,988,288  

Additions

     2,476,842       353,758       228,976       89,492       319,919       17,905       182,103       3,668,995  

Transfers from WIP

     55,000       —         6,053       —         1,236       —         (78,744     (16,455

Disposals

     (15,295     (100,590     (439,070     —         (4,160     (485,050     (224,512     (1,268,677
  

 

 

   

 

 

   

 

 

   

 

 

   

 

 

   

 

 

   

 

 

   

 

 

 

At 31 Dec 2019

     12,324,261       787,534       1,653,216       297,163       2,135,163       —         174,814       17,372,151  
  

 

 

   

 

 

   

 

 

   

 

 

   

 

 

   

 

 

   

 

 

   

 

 

 

Additions

     49,570       24,072       351,408       —         255,967       —         208,305       889,322  

Transfers from WIP

     —         17,697       218,872       —         24,596       —         (261,165     —    

Disposals

     (491     (25,911     (27,776     (120,436     (17,602     —         (16,597     (208,813
  

 

 

   

 

 

   

 

 

   

 

 

   

 

 

   

 

 

   

 

 

   

 

 

 

At 31 Dec 2020

   $ 12,373,340     $ 803,392     $ 2,195,720     $ 176,727     $ 2,398,124     $ —       $ 105,357     $ 18,052,660  
  

 

 

   

 

 

   

 

 

   

 

 

   

 

 

   

 

 

   

 

 

   

 

 

 

Accumulated Depreciation

  

At 1 Jan 2019

   $ 3,228,942     $ 109,861     $ 552,841     $ 114,074     $ 828,080     $ 182,476     $ —       $ 5,016,274  

Depreciation for the year

     1,257,416       92,958       367,965       17,218       264,192       79,409       —         2,079,158  

Disposals

     (10,977     (70,098     (346,129     —         (1,436     (261,885     —         (690,525
  

 

 

   

 

 

   

 

 

   

 

 

   

 

 

   

 

 

   

 

 

   

 

 

 

At 31 Dec 2019

     4,475,381       132,721       574,677       131,292       1,090,836       —         —         6,404,907  
  

 

 

   

 

 

   

 

 

   

 

 

   

 

 

   

 

 

   

 

 

   

 

 

 

Depreciation for the year

     1,413,516       66,698       257,759       21,961       541,639       —         —         2,301,573  

Disposals

     (37     (12,631     (13,697     (101,026     (8,953     —         —         (136,344
  

 

 

   

 

 

   

 

 

   

 

 

   

 

 

   

 

 

   

 

 

   

 

 

 

At 31 Dec 2020

   $ 5,888,860     $ 186,788     $ 818,739     $ 52,227     $ 1,623,522     $ —       $ —       $ 8,570,136  
  

 

 

   

 

 

   

 

 

   

 

 

   

 

 

   

 

 

   

 

 

   

 

 

 

Carrying value

  

At 1 Jan 2019

   $ 6,578,772     $ 424,505     $ 1,304,416     $ 93,597     $ 990,088     $ 284,669     $ 295,967     $ 9,972,014  

At 31 Dec 2019

     7,848,880       654,813       1,078,539       165,871       1,044,327       —         174,814       10,967,244  

At 31 Dec 2020

     6,484,480       616,604       1,376,981       124,500       774,602       —         105,357       9,482,524  

 

F-56


Table of Contents

NOTE 15: Intangible assets

 

    

Software

AU$

     Intellectual
property
AU$
    

Total

AU$

 

Cost

        

At 1 Jan 2019

   $ 687,274      $ 87,802      $ 775,076  

Additions

     10,776        128,575        139,351  

Transfers from WIP

     16,455        —          16,455  

Disposals

     (4,291      (8,324      (12,615
  

 

 

    

 

 

    

 

 

 

At 31 Dec 2019

     710,214        208,053        918,267  
  

 

 

    

 

 

    

 

 

 

Additions

     —          334,690        334,690  

Transfers from WIP

     —          —          —    

Disposals

     (45,871      —          (45,871
  

 

 

    

 

 

    

 

 

 

At 31 Dec 2020

   $ 664,343      $ 542,743      $ 1,207,086  
  

 

 

    

 

 

    

 

 

 

Accumulated Amortisation

        

At 1 Jan 2019

   $ 661,199      $ 52,754      $ 713,953  

Amortisation for the year

     25,484        53,484        78,968  

Disposals

     (4,292      (8,323      (12,615
  

 

 

    

 

 

    

 

 

 

At 31 Dec 2019

     682,391        97,915        780,306  
  

 

 

    

 

 

    

 

 

 

Amortisation for the year

     19,180        44,160        63,340  

Disposals

     (45,872      —          (45,872
  

 

 

    

 

 

    

 

 

 

At 31 Dec 2020

   $ 655,699      $ 142,075      $ 797,774  
  

 

 

    

 

 

    

 

 

 

Carrying value

        

At 1 Jan 2019

   $ 26,075      $ 35,048      $ 61,123  

At 31 Dec 2019

     27,823        110,138        137,961  

At 31 Dec 2020

     8,644        400,668        409,312  

NOTE 16: Inventories

 

     Note      1 January
2019

AU$
     31 December
2019

AU$
     31 December
2020

AU$
 

Raw materials

      $ 1,364,465      $ 1,303,668      $ 3,060,168  

Work in progress

        —          29,703        50,027  

Finished goods

        27,270,187        34,322,853        49,522,906  

Provision for obsolescence and shrinkage

        (522,522      (353,806      (743,577
     

 

 

    

 

 

    

 

 

 
   $ 28,112,130      $ 35,302,418      $ 51,889,524  
     

 

 

    

 

 

    

 

 

 

The cost of inventories recognised as an expense during the year in respect of continuing operations was AU$108,228,412 (2019: AU$71,969,425). The cost of inventories recognised as an expense includes AU$1,531,430 (2019: AU$1,766,765) in respect of write-downs of inventory for shrinkage.

NOTE 17: Other Assets

 

Current    Note      1 January
2019

AU$
     31 December
2019

AU$
     31 December
2020

AU$
 

Prepayments

      $ 1,517,752      $ 3,293,417      $ 3,527,341  

Right of return asset

        43,214        134,706        205,255  

 

F-57


Table of Contents
Current    Note      1 January
2019

AU$
     31 December
2019

AU$
     31 December
2020

AU$
 

Employee advances

        —          2,000        120  

Deposits paid

        43,750        6,501        8,883  
     

 

 

    

 

 

    

 

 

 
        1,604,716        3,436,624        3,741,599  
     

 

 

    

 

 

    

 

 

 

Non-current

           

Investments

     (i      —          —          60  
     

 

 

    

 

 

    

 

 

 
        —          —          60  
      $ 1,604,716      $ 3,436,624      $ 3,741,659  
     

 

 

    

 

 

    

 

 

 

 

(i)

Investments relate to the 50% interest in Dxxm Life IP Pty Ltd. Dxxm Life IP Pty Ltd was incorporated, and the 50% interest acquired on 28 May 2020.

NOTE 18: Financial assets

 

Non-current    Note     

1 January
2019

AU$

    

31 December
2019

AU$

    

31 December
2020

AU$

 

Security deposits

     (i    $ 1,599,353      $ 1,850,290      $ 1,922,790  
     

 

 

    

 

 

    

 

 

 
      $ 1,599,353      $ 1,850,290      $ 1,922,790  
     

 

 

    

 

 

    

 

 

 

 

(i)

Security deposits relate to guarantees paid on leased premises.

NOTE 19: Trade and other payables

 

     Note      1 January
2019

AU$
     31 December
2019

AU$
     31 December
2020

AU$
 

Trade payables

      $ 4,244,465      $ 6,740,194      $ 12,148,532  

Accrued expenses

        985,801        644,978        2,262,064  

Accrued payroll

        679,586        1,136,135        1,628,321  

GST payable

        1,060,443        1,628,557        3,584,919  

Other payables

        205,257        57,265        73,921  
     

 

 

    

 

 

    

 

 

 
      $ 7,175,552      $ 10,207,129      $ 19,697,757  
     

 

 

    

 

 

    

 

 

 

Trade payables and accruals principally comprise amounts outstanding for trade purchases and ongoing costs. For most suppliers no interest is charged on the trade payables for the first 30 days from the date of the invoice, with many offering discounts for early payment. The Group commonly settles invoices early to take advantage of these early payment offers. Management considers that the carrying amount of trade payables approximates to their fair value.

NOTE 20: Provisions

 

                   1 January
2019

AU$
     31 December
2019

AU$
     31 December
2020

AU$
 

Annual Leave

      $ 550,225      $ 627,981      $ 873,882  

Long service leave

        —          27,958        52,685  

Restoration provision

     (i      38,250        118,709        38,250  
     

 

 

    

 

 

    

 

 

 
        588,475        774,648        964,817  

Non-current

           

Long service leave

        150,229        210,851        280,075  

Restoration provision

     (i      841,169        760,971        944,791  
     

 

 

    

 

 

    

 

 

 
        991,398        971,822        1,224,866  
     

 

 

    

 

 

    

 

 

 
      $ 1,579,873      $ 1,746,470      $ 2,189,683  
     

 

 

    

 

 

    

 

 

 
(i)

The restoration provision relates to the estimated costs to restore the leased premises to their original condition as required under the lease agreements.

 

F-58


Table of Contents

Reconciliation of movement during the year

 

     Provision for
Restoration
AU$
 

At 1 January 2020

   $ 879,680  

Additional provision in the year

     183,820  

Utilisation of provision

     (80,459
  

 

 

 

At 31 December 2020

   $ 983,041  
  

 

 

 

Current

   $ 38,250  

Non-current

     944,791  
  

 

 

 
   $ 983,041  
  

 

 

 

NOTE 21: Borrowings

 

     Note     1 January 2019
AU$
     31 December
2019
AU$
     31 December
2020
AU$
 

Related party loan payable

     31  (a)    $ 20,189,717      $ 18,361,867      $ 14,701,293  
    

 

 

    

 

 

    

 

 

 
     $ 20,189,717      $ 18,361,867      $ 14,701,293  
    

 

 

    

 

 

    

 

 

 

The borrowings balance is a related party loan payable with Beard Holdings Pty Ltd. Refer to note 31 for a detailed list of related parties. The Director’s strategy is to require repayment, to the extent that sufficient funds are available as and when funds are required by looking at funding requirements at the Group. There are currently no formal agreements in place between the entities. No interest is charged on this loan.

NOTE 22: Deferred tax assets (liabilities)

Deferred tax assets and liabilities are offset when there is a legally enforceable right to set off current tax assets against current tax liabilities and when they relate to income taxes levied by the same taxation authority and the Group intends to settle its current tax assets and liabilities on a net basis. The following is the analysis of the deferred tax balances (after offset) for financial reporting purposes:

 

     1 January
2019
AU$
     31 December
2019
AU$
     31 December
2020
AU$
 

Deferred tax assets

   $ 12,378,491      $ 11,244,532      $ 10,870,448  

Deferred tax liabilities

     (10,824,261      (9,267,793      (7,865,748
  

 

 

    

 

 

    

 

 

 
   $ 1,554,230      $ 1,976,739      $ 3,004,700  
  

 

 

    

 

 

    

 

 

 

Deferred tax assets comprise temporary differences attributable to:

 

     1 January 2019
AU$
     31 December
2019
AU$
     31 December 2020
AU$
 

Forex revaluations

   $ —        $ 601      $ 47,398  

Property, plant, equipment and software

     20,935        —          189,220  

Employee benefits

     210,136        260,038        361,993  

Non-employee provisions and accruals

     341,774        335,202        671,570  

Amortising deductions

     3,405        34,517        195,568  

Intangibles

     7,044        3,008        14,900  

Leases

     11,795,197        10,611,166        9,389,799  
  

 

 

    

 

 

    

 

 

 
   $ 12,378,491      $ 11,244,532      $ 10,870,448  
  

 

 

    

 

 

    

 

 

 

 

F-59


Table of Contents

Deferred tax liabilities comprise temporary differences attributable to:

 

     1 January 2019
AU$
     31 December 2019
AU$
     31 December 2020
AU$
 

Other financial assets

   $ (4,937    $ (19,983    $ (30,834

Right of Use Assets

     (10,819,324      (9,215,887      (7,834,914

Property, plant, equipment and software

     —          (31,923      —    
  

 

 

    

 

 

    

 

 

 
   $ (10,824,261    $ (9,267,793    $ (7,865,748
  

 

 

    

 

 

    

 

 

 

NOTE 23: Lease liabilities

Contractual Maturity Analysis

 

     1 January 2019
AU$
     31 December 2019
AU$
     31 December 2020
AU$
 

Year 1

   $ 6,396,378      $ 5,936,685      $ 5,550,735  

Year 2

     6,487,281        6,091,878        5,936,685  

Year 3

     6,233,591        6,332,781        6,130,174  

Year 4

     3,584,374        6,233,591        6,294,485  

Year 5

     3,571,124        3,584,374        6,233,591  

Onwards

     10,086,330        13,657,454        17,241,827  
  

 

 

       

Less: unearned interest

     (5,059,746      (6,466,209      (8,070,173

Lease liabilities

        

Current

   $ 5,156,714      $ 4,515,804      $ 3,946,770  

Non-current

     26,142,618        30,854,750        35,370,554  
  

 

 

    

 

 

    

 

 

 
   $ 31,299,332      $ 35,370,554      $ 39,317,324  
  

 

 

    

 

 

    

 

 

 

The Group does not face a significant liquidity risk with regard to its lease liabilities. Lease liabilities are monitored within the Group’s finance function. Refer to note 13 for further details.

NOTE 24: Other liabilities

 

            1 January 2019
AU$
     31 December 2019
AU$
     31 December 2020
AU$
 

Contract Liability

     (i    $ 1,575,457      $ 4,630,987      $ 7,393,551  

Gift cards

     (ii      1,689,617        1,658,710        2,287,504  

Exchanges and returns

     (iii      75,599        246,138        394,722  
     

 

 

    

 

 

    

 

 

 
      $ 3,340,673      $ 6,535,835      $ 10,075,777  
     

 

 

    

 

 

    

 

 

 

 

(i)

A contract liability is recognised when payments from customers have been received, however, orders have not been dispatched therefore the performance obligation has not yet been satisfied.

 

(ii)

Gift cards are considered a prepayment for goods or services to be delivered in the future, which creates a performance obligation for the Group. The Group recognises a liability for the amount received in advance for the gift card and recognises revenue when the customer redeems the gift card and the Group fulfills the performance obligation related to the transaction. The Group recognises breakage revenue from gift cards, which is reflective of the customer’s unexercised rights (residual gift card balances) which are not expected to be redeemed, proportionately with gift card redemptions in revenue.

 

(iii)

Goods are sold to the end customer with a right of return within a reasonable period at the Group’s discretion and in accordance with legislative requirements. A refund liability (included above) and a right of return asset (included in Other Current Assets) is recognised for the goods expected to be returned, with a corresponding adjustment to revenue from sale of goods and cost of goods sold. The assumptions and the estimated amount of returns are based on historical evidence and are reassessed at the end of each reporting period.

 

F-60


Table of Contents

NOTE 25: Issued capital

 

     1 January 2019
AU$
     31 December 2019
AU$
     31 December 2020
AU$
 

Fully paid ordinary share

   $ 145,100,001      $ 145,100,001      $ 1  

On 1 July 2019, the company issued AU$145,100,000 worth of shares (1,000 ordinary shares). Fully paid ordinary shares carry one vote per share and carry the right to dividends.

 

     1 January 2019
AU$
     31 December 2019
AU$
     31 December 2020
AU$
 

Fully paid ordinary share

   $ 1,001      $ 1,001      $ 1  

NOTE 26: Dividends

Dividends declared

 

            31 December 2019
AU$
     31 December 2020
AU$
 

Dividends declared to shareholders of the Group:

        

Ordinary share (2019: AU$35,065 per share, 2020: AU$10,000 per share)

     (i    $ 35,100,000      $ 10,010,000  
     

 

 

    

 

 

 
      $ 35,100,000      $ 10,010,000  
     

 

 

    

 

 

 

 

(i)

Dividend declared in the controlled entities prior to 1 July 2019 has been divided by the number of shares in the parent entity to derive the dividend per share.

Cash was issued in the payment of prior year dividends in the current year, the payment reduced dividends payable to the shareholders of the Group.

Dividends paid during the year were 100% franked.

NOTE 27: Controlled entities

The consolidated financial statements include the following controlled entities:

 

Name of controlled entity

   Primary activity    Place of
incorporation
   31 December 2019
$ of shares held
    31 December 2020
$ of shares held
 

TF Apparel Pty Ltd

   Trading    Australia      100     100

Culture Kings Pty Ltd

   Trading    Australia      100     100

Culture Kings Brisbane Pty Ltd

   Trading    Australia      100     100

Culture Kings Gold Coast Pty Ltd

   Trading    Australia      100     100

Culture Kings Sydney Pty Ltd

   Trading    Australia      100     100

Culture Kings Melbourne Pty Ltd

   Trading    Australia      100     100

Culture Kings Perth Pty Ltd

   Trading    Australia      100     100

TF Intellectual Property Pty Ltd

   Trading    Australia      100     100

Baseline IP Pty Ltd

   Trading    Australia      —         100

Pyra IP Pty Ltd

   Trading    Australia      —         80

Culture Kings NZ Limited

   Trading    New Zealand      —         100

 

F-61


Table of Contents

Baseline IP Pty Ltd was incorporated on 22 August 2019 and the 100% ownership acquired on 10 December 2020. Pyra IP Pty Ltd was incorporated on 11 December 2019, and the 80% ownership was acquired on 25 March 2020.

NOTE 28: Common control business combination

On 1 July 2019, Culture Kings Group Pty Ltd acquired 100% of the share capital of the following companies:

 

   

TF Apparel Pty Ltd

 

   

Culture Kings Pty Ltd

 

   

Culture Kings Brisbane Pty Ltd

 

   

Culture Kings Gold Coast Pty Ltd

 

   

Culture Kings Sydney Pty Ltd

 

   

Culture Kings Melbourne Pty Ltd

 

   

Culture Kings Perth Pty Ltd

 

   

TF Intellectual Property Pty Ltd

IFRS 3 Business Combinations specifically excludes common control business combinations from its guidance, allowing management to apply the acquisition method or the predecessor method of accounting. Management has adopted the predecessor method to account for these acquisitions. Since these companies were under common control since 1 January 2019, the net assets of the Group have been presented on a combined basis from the earliest reporting period included in these financial statements. The amounts recognised are the carrying values of the assets and liabilities of the combining entities at 1 January 2019. The Group has included the results of all combining companies in the Consolidated Statement of Profit or Loss and Other Comprehensive Income for the year ended 31 December 2019 rather than including them only from the date of the common control transaction and has reflected the new equity structure of Culture Kings Group Pty Ltd from 1 January 2019 in doing so. This gives rise to a difference on consolidation, called the common control reserve.

The common control transaction occured on 1 July 2019 and was satisfied by the issue of 1,000 shares with a fair value of AU$145,100,000. The issue of these shares has been reflected in the Statement of Changes in Equity at the time the transaction took place.

The impact to equity of the combination at 1 January 2019 is shown in the table below:

 

Share capital

   $ 378,501      $ (378,500   $ 1  

Common control reserve

            378,500       378,500  

Retained earnings (i)

     30,798,233              30,798,233  

 

(i)

Retained earnings presented above is after the adoption of IFRS, refer to Note 2.

 

F-62


Table of Contents

NOTE 29: Note to the Consolidated Statement of Cash Flows

Reconciliation of cash flows from operations with profit after income tax

 

    

31 December

2019

AU$

   

31 December

2020

AU$

 

Net profit after tax for the year

   $ 11,646,717     $ 36,180,330  

Adjustments to profit after tax

    

Non-cash:

    

Depreciation and amortisation expense

     7,502,912       7,642,922  

Gain (loss) on disposal of property, plant and equipment

           35,395  

Provision for inventory obsolescence

     (168,715     389,771  

Gain relating to waiver of lease payments

           (871,465

Other income

     (600,000      

Changes in assets and liabilities

    

Assets:

    

(Increase) decrease in trade and other receivables

     1,479,744       (169,672

Increase in inventories

     (7,021,572     (16,976,877

Increase in other assets

     (1,829,908     (306,855

Increase in deferred tax assets

     (422,509     (1,027,961

Liabilities:

    

Increase in trade payables and other payables

     3,031,577       9,490,568  

Increase in provisions

     166,597       352,425  

Increase in current tax liabilities/receivables

     1,613,126       525,124  

Increase in other liabilities

     3,195,162       3,539,942  
  

 

 

   

 

 

 

Net cash inflow from operating activities

   $ 18,593,130     $ 38,803,647  
  

 

 

   

 

 

 

Reconciliation to cash and cash equivalents

For the purposes of the Consolidated Statement of Cash Flows, cash and cash equivalents include cash on hand and in banks, net of outstanding bank overdrafts. Cash and cash equivalents at the end of the reporting period are reconciled to the Consolidated Statement of Financial Position as follows:

 

    

31 December

2019

AU$

    

31 December

2020

AU$

 

Cash and cash equivalents

   $ 31,022,967      $ 26,498,750  

Changes in liabilities arising from financing activities

The table below details changes in the Group’s liabilities arising from financing activities, including both cash and non-cash changes. Liabilities arising from financing activities are those for which cash flows were, or future cash flows will be, classified in the Group’s consolidated cash flow statement as cash flows from financing activities.

 

          1 Jan     New leases     Financing cash
flows
    Noncash
transactions
          31 Dec  
    Note    

AU$

   

AU$

   

AU$

   

AU$

                

AU$

 

2019

             

2019 Borrowings

    21     $ 20,189,717     $     $ (2,080,787   $ 252,937       $ 18,361,867  

Dividend payable

      126,000                   31,100,000         31,226,000  

Lease liabilities

    23       39,317,324             (3,946,770             35,370,554  
   

 

 

   

 

 

   

 

 

   

 

 

     

 

 

 

Total liabilities from financing

    $ 59,633,041     $     $ (6,027,557   $ 31,352,937       $ 84,958,421  
   

 

 

   

 

 

   

 

 

   

 

 

     

 

 

 

 

F-63


Table of Contents
          1 Jan     New leases     Financing cash
flows
    Noncash
transactions
          31 Dec  
    Note    

AU$

   

AU$

   

AU$

   

AU$

                

AU$

 

2020

             

2020 Borrowings

    21     $ 18,361,867     $     $ (38,357,194   $ 34,696,620       (i   $ 14,701,293  

Dividend payable

      35,226,000                   (25,216,000     (ii     10,010,000  

Lease liabilities

    23       35,370,554       583,974       (3,783,731     (871,465       31,299,332  
   

 

 

   

 

 

   

 

 

   

 

 

     

 

 

 

Total liabilities from financing

    $ 88,958,421     $ 583,974     $ (42,140,925   $ 8,609,155       $ 56,010,625  
   

 

 

   

 

 

   

 

 

   

 

 

     

 

 

 

 

(i)

The non cash transactions in Borrowings predominantly comprises AU$35,226,000 transferred from Dividend payable as a result of a resolution from the shareholders to convert the payable into a loan to Beard Holdings Pty Ltd.

 

(ii)

The non cash transactions in Dividend payable is the net of AU$10,010,000 dividends declared in 2020 but not paid and the opening Dividend payable balance of AU$35,226,000 being converted into a loan to Beard Holdings Pty Ltd following resolution from the shareholders.

NOTE 30: Parent entity information

The accounting policies of the parent entity, which have been applied in determining the financial information shown below, are the same as those applied in the consolidated financial statements except as set out below. See note 4 for a summary of the significant accounting policies relating to the Group.

Investments in subsidiaries

Investments in subsidiaries are accounted for at cost. Dividends received from subsidiaries are recognised in profit or loss when a right to receive the dividend is established (provided that it is probable that the economic benefits will flow to the Parent and the amount of income can be measured reliably).

Tax consolidation

The Company and its wholly-owned Australian resident entities are members of a tax-consolidated group under Australian tax law. The Company is the head entity within the tax-consolidated group. In addition to its own current and deferred tax amounts, the Company also recognises the current tax liabilities and assets and deferred tax assets arising from unused tax losses and relevant tax credits of the members of the tax- consolidated group.

Amounts payable or receivable under the tax-funding arrangement between the Company and the entities in the tax consolidated group are determined using a ‘separate taxpayer within group’ approach to determine the tax contribution amounts payable or receivable by each member of the tax-consolidated group. This approach results in the tax effect of transactions being recognised in the legal entity where that transaction occurred, and does not tax effect transactions that have no tax consequences to the group. The same basis is used for tax allocation within the tax-consolidated group.

 

F-64


Table of Contents

Financial Position

 

    

As at 31

December 2019

   

As at 31

December 2020

 
     AU$     AU$  

Assets

    

Current assets

   $ 203     $ 10,001,730  

Non-current assets

     145,102,000       145,117,000  
  

 

 

   

 

 

 

Total assets

   $ 145,102,203     $ 155,118,730  
  

 

 

   

 

 

 

Liabilities

    

Current liabilities

   $ (2,675   $ (10,013,255

Non-current liabilities

            
  

 

 

   

 

 

 

Total liabilities

     (2,675     (10,013,255
  

 

 

   

 

 

 

Net assets

   $ 145,099,528     $ 145,105,475  
  

 

 

   

 

 

 

 

    

As at 31

December 2019

   

As at 31

December 2020

 
     AU$     AU$  

Equity

    

Issued capital

     (145,100,001     (145,100,001

Retained earnings

     473       (5,474
  

 

 

   

 

 

 

Total equity

     (145,099,528     (145,105,475
  

 

 

   

 

 

 

Financial performance

    

Profit (loss) for the year

     473       (10,015,947

Other comprehensive income

            
  

 

 

   

 

 

 

Total comprehensive income (loss)

     473       (10,015,947
  

 

 

   

 

 

 

There are no contingent liabilities or commitments for the acquisition of property, plant and equipment by the parent entity as at 31 December 2020.

NOTE 31: Related party transactions

 

Related Party

  

Nature of relationship

Simon Beard    Shareholder
Beard Trading Pty Ltd    Shareholder
Beard Holdings Pty Ltd    Associate
TF Apparel Discretionary Trust    Associate
Simon Beard Family Trust    Associate
Tah-nee Aleman Family Trust    Associate

 

(a)

Related party loans

Balances and transactions between the Company and its subsidiaries, which are related parties, have been eliminated on consolidation and are not disclosed in this note. Transactions between the Group and its associates/joint ventures are disclosed below.

Amounts owed to related parties

 

    

31 December 2019

AU$

    

31 December 2020

AU$

 

Beard Holdings Pty Ltd

   $ 18,361,867      $ 14,701,293  
  

 

 

    

 

 

 
   $ 18,361,867      $ 14,701,293  
  

 

 

    

 

 

 

 

F-65


Table of Contents

There are currently no formal agreements in place with Beard Holdings Pty Ltd. No interest is charged on this loan. The Director’s strategy is to require repayment, to the extent that sufficient funds are available as and when funds are required by looking at funding requirements at the Group.

 

(b)

Remuneration of key management personnel

Key management personnel:

 

   

Simon Beard

No amounts have been paid to key management personnel for the years ended 31 December 2019 and 2020.

NOTE 32: Capital risk management

 

(a)

Financial risk management objectives

The Group’s treasury function provides services to the business, coordinates access to domestic and international financial markets, monitors and manages the financial risks relating to the operations of the Group through internal risk reports which analyses exposures by degree and magnitude of risks. These risks include market risk (including currency risk, interest rate risk and price risk), credit risk and liquidity risk.

 

(b)

Market risk

The Group’s activities expose it primarily to the financial risks of changes in foreign currency exchange rates. The Group does not enter into derivatives to hedge their exposure. There has been no change to the Group’s exposure to market risks or the manner in which these risks are managed and measured.

 

(c)

Classes and categories of financial instruments and their fair value

Fair value hierarchy levels 1 to 3 are based on the degree to which the fair value is observable:

 

   

Level 1 fair value measurements are those derived from quoted prices (unadjusted) in active markets for identical assets or liabilities;

 

   

Level 2 fair value measurements are those derived from inputs other than quoted prices included within Level 1 that are observable for the asset or liability, either directly (i.e. as prices) or indirectly (i.e. derived from prices); and

 

   

Level 3 fair value measurements are those derived from valuation techniques that include inputs for the asset or liability that are not based on observable market data (unobservable inputs).

The fair value hierarchy of all financial instruments held by the Group have been categorised as Level 1 and the fair value of all the financial instruments approximate their carrying value.

 

(d)

Foreign currency risk management

The Group undertakes transactions denominated in foreign currencies; consequently, exposures to exchange rate fluctuations arise. The Group is mainly exposed to the currency of US Dollars on the supply side and New Zealand Dollars on the demand side.

 

     Liabilities     Assets  
     31 December 2019     31 December 2020     31 December 2019      31 December 2020  

United States Dollar

     (515,568     (1,109,458     1,942,608        3,526,447  

New Zealand Dollar

     (239,169     (1,454,183     132,163        1,002,609  

Great British Pound

           (57,911     53,202        258,117  

Euro

           (5,337             

 

F-66


Table of Contents

The sensitivity analysis below shows the impact that a reasonably possible change in foreign exchange rates over a year would have on profit after tax, based solely on the Group’s foreign exchange risk exposures existing at the balance sheet date. A five percent strengthening of the Australian dollar against these currency would have increased/(decreased) equity and profit before tax by the amounts shown below. This analysis assumes that all other variables remain constant. A five percent weakening of the Australian dollar against these currencies would have the equal but opposite impact on equity and profit before tax, on the basis that all other variables remain constant.

 

     December 31, 2019      December 31, 2020  
     Effect on profit
before tax
     Effect on equity      Effect on profit
before tax
     Effect on equity  

United States Dollar

     16,404        23,434        (24,767      (35,382

New Zealand Dollar

     4,130        5,900        18,754        26,791  

Great British Pound

     (2,678      (3,826      1,568        2,240  

Euro

     —          —          187        267  

 

(e)

Commodity price risk

Commodity price risk in the Group primarily arises from price fluctuations and the availability of apparel inventory. Supplier activities are evaluated regularly to align with Group expectations about the price changes; ensuring the most cost-effective strategies are applied.

 

(f)

Liquidity risk management

Ultimate responsibility for liquidity risk management rests with the directors. The Group manages liquidity risk by maintaining adequate reserves, and by continuously monitoring forecast and actual cash flows.

 

(g)

Liquidity and interest risk tables

The following tables detail the Group’s remaining contractual maturity for its non-derivative financial liabilities with agreed repayment periods. The tables have been drawn up based on the undiscounted cash flows of financial liabilities based on the earliest date on which the Group can be required to pay. The table includes both interest and principal cash flows. To the extent that interest cash flows are floating rate, the undiscounted amount is derived from interest rate curves at the reporting date.

The contractual maturity is based on the earliest date on which the Group may be required to pay. Borrowings are not included in this disclosure as there is no contractual term for the borrowings (refer note 21).

31 December 2019

 

    

Less than 1 month

AU$

    

1-3 months

AU$

 

Trade and other payable

   $ 5,932,822      $ 807,372  

Accruals

     —          644,978  

Other payables

     57,265        —    
  

 

 

    

 

 

 
   $ 5,990,087      $ 1,452,350  
  

 

 

    

 

 

 

 

F-67


Table of Contents

31 December 2020

 

    

Less than 1 month

AU$

    

1-3 months

AU$

 

Trade and other payable

   $ 7,294,500      $ 4,854,032  

Accruals

     —          2,262,064  

Other payables

     73,921        —    
  

 

 

    

 

 

 
   $ 7,368,421      $ 7,116,096  
  

 

 

    

 

 

 

 

(h)

Capital risk management

The Group manages its capital to ensure it will be able to continue as a going concern while maximising the return to shareholders through optimisation of the debt and equity balance. At 31 December 2020, the Group has no external debt (2019: nil).

 

(i)

Gearing ratio

The gearing ratio at the year-end is as follows:

 

    

December 31, 2019

AU$

    

December 31, 2020

AU$

 

Debt

   $ (53,732,421    $ (46,000,625

Cash and cash equivalents

     31,022,967        26,498,750  
  

 

 

    

 

 

 

Net debt

   $ (22.709.454    $ (19,501,875
  

 

 

    

 

 

 

Equity

   $ 7,344,951      $ 33,515,281  

Net debt to equity ratio

     (3.1      (0.6

Debt is defined as borrowings and lease liabilities as detailed in notes 21 and 23.

Equity includes all capital and reserves of the Group that are managed as capital.

NOTE 33: Contingent liabilities

The Group has no contingent liabilities at 31 December 2020 or any contractual commitments for the acquisition of material property, plant or equipment.

NOTE 34: Operating Segments

Information reported to the CEO and Director for the purposes of resource allocation and assessment of segment performance is focused on how the Group interacts with the customer. On this basis, management has identified two reportable segments, Online and Stores. The Group’s reportable segments under IFRS 8 are therefore as follows:

 

Online    The online platform offers Culture Kings’ curated selection of over 100 leading brands from around the world, including exclusive pieces that can’t be found anywhere else, to the global market. Culture Kings currently have specific Australia, New Zealand and American websites.
Stores    Stores are located throughout Australia and offer the customer a premium retail experience. Each Culture Kings Store is designed to be interactive with

 

F-68


Table of Contents
   basketball courts and live DJs. They are an entirely new streetwear experience, which set the peak for retail spaces worldwide with a mind- blowing futuristic aesthetic and filled with the most sought-after and exclusive streetwear pieces.

 

(a)

Segment revenues and profits

Year ended 31 December 2019

 

    

Online

AU$

    

Stores

AU$

    

Unallocated

AU$

    

Consolidated

AU$

 

Revenue

   $ 89,911,570      $ 59,800,221      $ —        $ 149,711,791  

Cost of sales

     (55,707,519      (26,514,594      —          (82,222,113

Operating expenses

     (22,567,822      (21,651,094      (6,084,732      (50,303,648

Finance and other income

     709,684        180,413        587,346        1,477,443  

Finance costs

     (128,898      (1,474,556      (77,954      (1,681,408
  

 

 

    

 

 

    

 

 

    

 

 

 

Profit before tax

     12,217,015        10,340,390        (5,575,340      16,982,065  
  

 

 

    

 

 

    

 

 

    

 

 

 

Income tax

              (5,335,348
  

 

 

    

 

 

    

 

 

    

 

 

 

Profit after tax

            $ 11,646,717  
  

 

 

    

 

 

    

 

 

    

 

 

 

Year ended 31 December 2020

 

    

Online

AU$

    

Stores

AU$

    

Unallocated

AU$

    

Consolidated

AU$

 

Revenue

   $ 190,642,690      $ 53,044,353      $ —        $ 243,687,043  

Cost of sales

     (103,908,428      (23,204,331      —          (127,112,759

Operating expenses

     (39,389,287      (17,648,687      (7,308,677      (64,346,651

Finance and other income

     1,140,566        14,579        67,656        1,222,801  

Finance costs

     (96,956      (1,330,639      (108,316      (1,535,911
  

 

 

    

 

 

    

 

 

    

 

 

 

Profit before tax

     48,388,585        10,875,275        (7,349,337      51,914,523  
  

 

 

    

 

 

    

 

 

    

 

 

 

Income tax

              (15,734,193
  

 

 

    

 

 

    

 

 

    

 

 

 

Profit after tax

            $ 36,180,330  
  

 

 

    

 

 

    

 

 

    

 

 

 

Segment gross profit represents the profit earned by each segment without allocation of the share of central administration costs including operation of the head office and distribution centre. Operating expenses for the segment include allocation of indirect costs based on direct employee employee costs in each segment. This is the measure reported to the Group’s Director for the purpose of resource allocation and assessment of segment performance.

 

(b)

Segment assets

 

     31 December 2019
AU$
     31 December 2020
AU$
 

Online

   $ 32,591,948      $ 49,012,873  

Stores

     46,247,630        40,398,344  
  

 

 

    

 

 

 

Total segment assets

     78,839,578        89,411,217  
  

 

 

    

 

 

 

Unallocated assets

     37,354,785        34,004,587  
  

 

 

    

 

 

 

Consolidated total assets

   $ 116,194,363      $ 123,415,804  
  

 

 

    

 

 

 

 

F-69


Table of Contents

For the purposes of monitoring segment performance and allocating resources between segments the Group’s Director monitors the tangible assets, inventories and financial assets attributable to each segment. All assets are allocated to reportable segments with the exception of cash, intangible assets, investments in associates, receivables, prepayments, deposits and tax assets.

Segment assets in the online segment include central administration assets used for operation of the head office and distribution centre.

 

(c)

Other segment information

 

    

31 December 2019

AU$

    

31 December 2020

AU$

 

Depreciation and amortization

     

Online

   $ 1,036,044      $ 1,084,166  

Stores

     6,083,674        6,197,368  

Unallocated

     383,194        361,388  
  

 

 

    

 

 

 

Total

   $ 7,502,912      $ 7,642,922  
  

 

 

    

 

 

 

Additions to non-current assets

     

Online

   $ 540,232      $ 625,847  

Stores

     3,112,308        938,237  

Unallocated

     155,806        334,690  
  

 

 

    

 

 

 

Total

   $ 3,808,346      $ 1,898,774  
  

 

 

    

 

 

 

 

*

The amounts includes additions to intangible assets, right of use assets and property, plant and equipment.

 

(d)

Geographical information

The Group’s revenue from external customers and information about its segment assets (non-current assets excluding financial instruments, deferred tax assets and other financial assets) by geographical location are detailed below:

 

    

31 December 2019

AU$

    

31 December 2020

AU$

 

Revenue from external customers

     

Australia

   $ 128,403,774      $ 194,817,701  

New Zealand

     18,645,842        30,996,881  

United States

     1,990,693        16,535,980  

Rest of the world

     671,482        1,336,480  
  

 

 

    

 

 

 
   $ 149,711,791      $ 243,687,043  
  

 

 

    

 

 

 

Non-Current assets

     

Australia

   $ 41,824,831      $ 36,008,215  
  

 

 

    

 

 

 
   $ 41,824,831      $ 36,008,215  
  

 

 

    

 

 

 

For the purposes of monitoring segment performance and allocating resources between segments the Group’s Director monitors the tangible, intangible and financial assets attributable to each segment. Assets used jointly by reportable segments are included in the unallocated column.

 

(e)

Information about major customers

Due to the nature of retail, no single customer contributed 10 per cent or more to the Group’s revenue in either 2019 or 2020.

 

F-70


Table of Contents
(f)

Revenues from major products and services

The Group’s revenues are disaggregated by its major products and services and disclosed in note 6. Given the nature of the Group’s business, no single product is considered to be a major product.

NOTE 35: Subsequent events

In February 2021, the Director entered into a binding contract for sale of a majority shareholding in the Group with a.k.a. Brands Inc. The transaction settled on 31 March 2021. This transaction is expected to help Culture Kings grow globally.

In April 2021, the Group closed its Southport store. This store closure is not expected to have a significant impact on financial results in future years.

No other matters or circumstances have arisen since the end of the year which have significantly affected or may significantly affect the operations of the Group, the results of those operations or the state of affairs of the Group in future years.

NOTE 36: Approval of financial statements

The financial statements were authorised for issue on June 23, 2021 by the Director.

 

F-71


Table of Contents

EXCELERATE, L.P.

CONDENSED CONSOLIDATED BALANCE SHEETS

(in thousands)

(unaudited)

 

     December 31,
2020
     June 30,
2021
 

Assets

     

Current assets:

     

Cash and cash equivalents

   $ 26,259    $ 34,341

Restricted cash

     840      2,235

Accounts receivable

     1,183      3,380

Inventory, net

     33,124      99,702

Prepaid expenses and other current assets

     4,080      16,769
  

 

 

    

 

 

 

Total current assets

     65,486      156,427
  

 

 

    

 

 

 

Property, plant and equipment, net

     2,121      12,423

Operating lease right-of-use assets

     4,477      26,501

Intangible assets, net

     29,102      94,339

Goodwill

     88,253      345,442

Other assets

     —          955
  

 

 

    

 

 

 

Total assets

   $ 189,439    $ 636,087
  

 

 

    

 

 

 

Liabilities and members’ equity

     

Current liabilities:

     

Accounts payable

   $ 4,689    $ 19,322

Accrued liabilities

     18,169      32,414

Sales returns reserve

     3,517      3,692

Deferred revenue

     4,165      7,066

Income taxes payable

     3,118      —    

Operating lease liabilities, current

     1,234      5,743

Current portion of long-term debt

     6,353      2,864
  

 

 

    

 

 

 

Total current liabilities

     41,245      71,101
  

 

 

    

 

 

 

Long-term debt

     —          128,548

Long-term debt, related party

     —          25,693

Operating lease liabilities

     3,262      20,890

Other long-term liabilities

     144      1,208

Deferred income taxes, net

     5,904      30,364
  

 

 

    

 

 

 

Total liabilities

     50,555      277,804
  

 

 

    

 

 

 

Commitments and contingencies (Note 15)

     

Redeemable noncontrolling interests

     —          138,812

Members’ equity:

     

Units

     108,197      190,866

Retained earnings

     14,138      18,041

Noncontrolling interest

     9,983      10,019  

Accumulated other comprehensive income (loss)

     5,839      (1,314

Additional paid-in capital

     727      1,859
  

 

 

    

 

 

 

Total members’ equity

     138,884      219,471
  

 

 

    

 

 

 

Total liabilities and members’ equity

   $ 189,439    $ 636,087
  

 

 

    

 

 

 

The accompanying notes are an integral part of these condensed consolidated financial statements

 

F-72


Table of Contents

EXCELERATE, L.P.

CONDENSED CONSOLIDATED STATEMENTS OF INCOME

(in thousands, except unit and per unit data)

(unaudited)

 

     Six Months Ended June 30,  
     2020     2021  

Net sales

   $ 81,799   $ 218,006

Cost of sales

     36,606     95,984
  

 

 

   

 

 

 

Gross profit

     45,193     122,022

Operating expenses:

    

Selling

     24,028     58,277

Marketing

     7,237     21,132

General and administrative

     10,520     32,650
  

 

 

   

 

 

 

Total operating expenses

     41,785     112,059
  

 

 

   

 

 

 

Income from operations

     3,408     9,963

Interest expense and other, net

     (170     (4,278
  

 

 

   

 

 

 

Income before income taxes

     3,238     5,685

Provision for income tax

     (1,024     (1,706
  

 

 

   

 

 

 

Net income

     2,214     3,979

Net income attributable to noncontrolling interests(1)

     (70     (76
  

 

 

   

 

 

 

Net income attributable to Excelerate, L.P.

   $ 2,144   $ 3,903
  

 

 

   

 

 

 

Net profit per unit:

    

Basic

   $ 0.02   $ 0.03

Diluted

   $ 0.02   $ 0.03

Weighted average units outstanding:

    

Basic

     113,886,416     126,969,861

Diluted

     113,886,416     126,969,861

 

(1)

Includes amounts attributable to redeemable noncontrolling interests.

The accompanying notes are an integral part of these condensed consolidated financial statements

 

F-73


Table of Contents

EXCELERATE, L.P.

CONDENSED CONSOLIDATED STATEMENTS OF COMPREHENSIVE LOSS

(in thousands)

(unaudited)

 

     Six Months Ended June 30,  
           2020                 2021        

Net income

   $ 2,214   $ 3,979

Net income attributable to noncontrolling interests(1)

     (70     (76
  

 

 

   

 

 

 

Net income attributable to Excelerate, L.P.

     2,144     3,903
  

 

 

   

 

 

 

Other comprehensive loss:

    

Currency translation

     (6,960     (11,099

Other comprehensive loss attributable to noncontrolling interests(1)

     830     3,946
  

 

 

   

 

 

 

Other comprehensive loss attributable to Excelerate, L.P.

     (6,130     (7,153
  

 

 

   

 

 

 

Total comprehensive loss

     (4,746     (7,120

Comprehensive loss attributable to noncontrolling interests(1)

     760     3,870
  

 

 

   

 

 

 

Comprehensive loss attributable to Excelerate, L.P.

   $ (3,986   $ (3,250
  

 

 

   

 

 

 

 

(1)

Includes amounts attributable to redeemable noncontrolling interests.

The accompanying notes are an integral part of these condensed consolidated financial statements

 

F-74


Table of Contents

EXCELERATE, L.P.

CONDENSED CONSOLIDATED STATEMENTS OF CHANGES IN MEMBERS’ EQUITY

(in thousands, except unit data)

(unaudited)

 

    Members’ Units     Additional
Paid-In
Capital
    Accumulated
Other
Comprehensive
Loss
    Retained
Earnings
(Accumulated
Deficit)
    Noncontrolling
Interest
    Total
Members’
Equity
 
    Units     Amount  

Balance as of December 31, 2019

    113,761,338   $ 107,747   $ 494   $ (4,731   $ (196   $ 8,727   $ 112,041

Issuance of units

    406,504     450     —         —         —         —         450

Equity-based compensation

    —         —         419     —         —         —         419

Cumulative translation adjustment

    —         —         —         (6,130     —         (830     (6,960

Net income

    —         —         —         —         2,144     70     2,214
 

 

 

   

 

 

   

 

 

   

 

 

   

 

 

   

 

 

   

 

 

 

Balance as of June 30, 2020

    114,167,842     108,197     913     (10,861     1,948     7,967     108,164

 

    Members’ Units     Additional
Paid-In
Capital
    Accumulated
Other
Comprehensive
Income (Loss)
    Retained
Earnings
    Noncontrolling
Interest
    Total
Members’
Equity
 
    Units     Amount  

Balance as of December 31, 2020

    114,167,842   $ 108,197   $ 727   $ 5,839   $ 14,138   $ 9,983   $ 138,884

Issuance of units

    25,746,282     82,669     —         —         —         —         82,669

Equity-based compensation

    —         —         1,132     —         —         —         1,132

Cumulative translation adjustment

    —         —         —         (7,153     —         (535     (7,688

Net income

    —         —         —         —         3,903     571     4,474
 

 

 

   

 

 

   

 

 

   

 

 

   

 

 

   

 

 

   

 

 

 

Balance as of June 30, 2021

    139,914,124     190,866     1,859     (1,314     18,041     10,019       219,471

The accompanying notes are an integral part of these condensed consolidated financial statements

 

F-75


Table of Contents

EXCELERATE, L.P.

CONDENSED CONSOLIDATED STATEMENTS OF CASH FLOWS

(in thousands)

(unaudited)

 

     Six Months Ended June 30,  
           2020                 2021        

Cash flows from operating activities:

    

Net income

   $ 2,214   $ 3,979

Adjustments to reconcile net income to net cash provided by operating activities:

    

Depreciation expense

     249     870

Amortization expense

     2,868     6,231  

Amortization of inventory fair value adjustment

     —         6,266  

Amortization of debt issuance costs

     —         247

Non-cash interest expense

       693

Non-cash operating lease expense

     577     3,064

Equity-based compensation

     419     1,132

Deferred income taxes, net

     (1,360     (2,109

Changes in operating assets and liabilities:

    

Accounts receivable

     (667     (1,602

Inventory

     6,106     (11,490

Prepaid expenses and other current assets

     (1,225     (5,755

Accounts payable

     1,584     1,354

Accrued liabilities

     1,847     14,056

Returns reserve

     (875     2

Deferred revenue

     (730     2,857

Income taxes payable

     920     (8,587

Lease liabilities

     (553     (2,950

Foreign currency remeasurement gain

     226     (778
  

 

 

   

 

 

 

Net cash provided by operating activities

     11,600     7,480

Cash flows from investing activities:

    

Acquisition of businesses, net of cash acquired

     —         (225,744

Purchases of property and equipment

     (574     (3,361
  

 

 

   

 

 

 

Net cash used in investing activities

     (574     (229,105

Cash flows from financing activities:

    

Proceeds from line of credit, net of issuance costs

     100     12,045

Repayment of line of credit

     (1,063     (6,364

Proceeds from issuance of debt, net of issuance costs

     —         144,103

Repayment of debt

     —         (938

Proceeds from issuance of units

     450     82,669
  

 

 

   

 

 

 

Net cash provided by financing activities

     (513     231,515

Effect of exchange rate changes on cash, cash equivalents and restricted cash

     (608     (413
  

 

 

   

 

 

 

Net (decrease) increase in cash, cash equivalents and restricted cash

     9,905     9,477

Cash, cash equivalents and restricted cash at beginning of period

     5,791     27,099
  

 

 

   

 

 

 

Cash, cash equivalents and restricted cash at end of period

   $ 15,696   $ 36,576
  

 

 

   

 

 

 

Reconciliation of cash, cash equivalents, and restricted cash:

    

Cash and cash equivalents

   $ 15,378   $ 34,341

Restricted cash

     318     2,235
  

 

 

   

 

 

 

Total cash, cash equivalents, and restricted cash

   $ 15,696   $ 36,576
  

 

 

   

 

 

 

The accompanying notes are an integral part of these condensed consolidated financial statements

 

F-76


Table of Contents

EXCELERATE, L.P.

NOTES TO CONDENSED CONSOLIDATED FINANCIAL STATEMENTS

(tabular amounts in thousands, except unit and per unit data, ratios, or as noted)

(unaudited)

Note 1. Description of Business

Excelerate, L.P. (the “Partnership” or “Excelerate”), which operates under the name a.k.a. (“a.k.a. Brands” or “a.k.a.”), is an online fashion retailer focused on acquiring and accelerating the growth of next-generation, digitally native fashion brands targeting Gen Z and Millennial customers.

The Partnership is headquartered in San Francisco, California, with buying, studio, marketing, fulfillment and administrative functions primarily in Australia and the United States.

In anticipation of the Partnership’s planned initial public offering (the “IPO”), a reorganization will be undertaken to cause Excelerate, L.P. to become a wholly-owned subsidiary of a newly created entity, a.k.a. Brands Holding Corp. a.k.a. Brands Holding Corp was formed on May 20, 2021 and will be the issuer of the common stock in the IPO. Prior to the reorganization, the investors in Excelerate, L.P. will exchange their limited partnership interests in Excelerate, L.P. for limited partnership interests in New Excelerate, L.P., and New Excelerate, L.P. will become a limited partner of Excelerate, L.P. Immediately prior to the pricing of the IPO, the General Partner of Excelerate, L.P., New Excelerate, L.P. will transfer its interests in Excelerate, L.P. to a.k.a. Brands Holding Corp., in exchange for stock in a.k.a. Brands Holding Corp. As a result, Excelerate, L.P. will become a wholly-owned subsidiary of a.k.a. Brands Holding Corp.

Note 2. Significant Accounting Policies

Principles of Consolidation and Basis of Presentation

Our unaudited condensed consolidated interim financial statements have been prepared in accordance with Article 10 of the Securities and Exchange Commission’s Regulation S-X. As permitted under those rules, certain footnotes or other financial information that are normally required by generally accepted accounting principles in the United States (“GAAP”), can be condensed or omitted. These financial statements have been prepared on the same basis as our annual financial statements and, in the opinion of management, reflect all adjustments, consisting only of normal recurring adjustments, which are necessary for the fair statement of our financial information. The accompanying unaudited condensed consolidated financial statements and related financial information should be read in conjunction with the audited consolidated financial statements and the related notes thereto for the year ended December 31, 2020. These interim results are not necessarily indicative of the results to be expected for the fiscal year ending December 31, 2021 or for any other interim period or for any other future year. The accompanying condensed consolidated financial statements include the balances of Excelerate, L.P., and all of its wholly-owned subsidiaries and subsidiaries in which the Partnership has a controlling interest. All intercompany transactions and balances have been eliminated in consolidation.

Use of Estimates

The preparation of condensed consolidated financial statements in conformity with GAAP requires management to make estimates and assumptions that affect the reported amounts of assets and liabilities, revenues and expenses, and related disclosures of contingent assets and liabilities in the condensed consolidated financial statements and accompanying notes. Actual results could materially differ from those estimates. On an ongoing basis, the Partnership evaluates items subject to significant estimates and assumptions. As of June 30, 2021, the effects of the ongoing COVID-19 pandemic on our business, results of operations and financial condition continue to evolve. As a result, many of our estimates and assumptions require increased judgment and carry a higher degree of variability and volatility. The accounting estimates and assumptions that may be most impacted by this higher degree of variability and volatility are our sales returns reserve and goodwill impairment testing.

 

F-77


Table of Contents

Deferred Offering Costs

Deferred offering costs, which consist primarily of direct and incremental legal, accounting and other fees related to the Partnership’s proposed IPO, are capitalized in prepaid expenses and other current assets on the condensed consolidated balance sheet. The deferred offering costs will be offset against IPO proceeds upon the consummation of an IPO. In the event the planned IPO is terminated, the deferred offering costs will be expensed. As of June 30, 2021, the Partnership capitalized $2.5 million of deferred offering costs. No offering costs were deferred as of December 31, 2020.

Noncontrolling Interests

The Partnership’s net income attributable to noncontrolling interests in the accompanying condensed consolidated statements of income relate to both noncontrolling interest reflected within equity and redeemable noncontrolling interests reflected outside of equity in the accompanying condensed consolidated balance sheets.

Redeemable noncontrolling interests relate to the interests in certain of our consolidated entities that are not wholly owned by us. As these redeemable noncontrolling interests provide for redemption features not solely within our control, we classify such interests outside of permanent equity in the accompanying condensed consolidated balance sheets. Accordingly, we record the carrying amount at the greater of the initial carrying amount (increased or decreased for the noncontrolling interest’s share of net income or loss and distributions) or the redemption value.

Refer to Note 3 for additional information about the Partnership’s noncontrolling interests.

Revenue Recognition

The Partnership generally provides refunds for goods returned within 30 days to 45 days from the original purchase date. A returns reserve is recorded by the Partnership based on historical refund experience with a corresponding reduction of sales and cost of sales. The returns reserve was $3.5 million and $3.7 million as of December 31, 2020 and June 30, 2021, respectively.

The following table summarizes the activity in the Partnership’s sales return reserve:

 

     Sales Return
Reserve
 

Balance as of December 31, 2019

   $ 2,585

Returns

     (36,796

Allowance

     37,728
  

 

 

 

Balance as of December 31, 2020

     3,517

Returns

     (34,366

Allowance

     34,541
  

 

 

 

Balance as of June 30, 2021

   $ 3,692
  

 

 

 

The Partnership also issues online credits in lieu of cash refunds or exchanges and sells gift cards. Store credits issued and proceeds from the issuance of gift cards are recorded as deferred revenue and recognized as revenue when the online credit or gift cards are redeemed or, upon inclusion in online credit and gift card breakage estimates. Breakage estimates are determined based on prior historical experience. Gift card breakage is recognized proportionally with gift card redemptions in net sales. Gift cards sold to customers do not lose value over periods of inactivity and the Partnership is not required by law to remit the value of unredeemed gift cards to the jurisdictions in which it operates.

Revenue recognized in net sales on breakage of online credit and gift cards for the six months ended June 30, 2020 and 2021, was insignificant.

 

F-78


Table of Contents

The following table presents the disaggregation of the Partnership’s net revenues by geography, based on customer address:

 

     Six Months Ended June 30,  
     2020      2021  

United States

   $ 45,433    $ 114,035

Australia

     26,073      78,332

Rest of world

     10,293      25,639
  

 

 

    

 

 

 

Total

   $ 81,799    $ 218,006
  

 

 

    

 

 

 

Segment Information

Operating segments are defined as components of an entity for which separate financial information is available and is regularly reviewed by the Chief Operating Decision Maker (“CODM”) in deciding how to allocate resources and in assessing performance. The Partnership has determined that its four brands are each an operating segment. The Partnership has aggregated its operating segments into one reportable segment based on the similar nature of products sold, production, merchandising and distribution processes involved, target customers and economic characteristics.

Recently Adopted Accounting Pronouncements

In August 2018, the FASB issued ASU No. 2018-13, Fair Value Measurement (Topic 820): Disclosure Framework—Changes to the Disclosure Requirements for Fair Value Measurement, which amended its conceptual framework to improve the effectiveness of disclosures around the amount of, and reasons for, transfers between Level 1 and Level 2 of the fair value hierarchy. This guidance also adds new disclosure requirements for Level 3 measurements. The Partnership adopted this guidance on January 1, 2020, and the adoption did not have a material impact on its consolidated financial statements.

In January 2017, the FASB issued ASU No. 2017-04, Simplifying the Test for Goodwill Impairment. The ASU amended existing guidance to simplify the subsequent measurement of goodwill by eliminating Step 2 from the goodwill impairment test by comparing the fair value of a reporting unit with its carrying amount and recognizing an impairment charge for the amount by which the carrying amount exceeds the reporting unit’s fair value, not to exceed the total amount of goodwill allocated to that reporting unit. The amendments were effective beginning in 2020. The adoption did not have a material impact on the consolidated financial statements.

New Accounting Pronouncements Not Yet Adopted

In December 2019, the FASB issued ASU 2019-12, Income Taxes (Topic 740): Simplifying the Accounting for Income Taxes. This standard simplifies the accounting for income taxes by eliminating certain exceptions to the guidance in Topic 740 related to the approach for intraperiod tax allocation, the methodology for calculating income taxes in an interim period, and the recognition of deferred tax liabilities for outside basis differences. The guidance also simplifies aspects of the accounting for franchise taxes and enacted changes in tax laws or rates and clarifies the accounting for transactions that result in a step-up in the tax basis of goodwill and the allocation of consolidated income taxes to separate financial statements of entities not subject to income tax. ASU 2019-12 will be effective for the Partnership on January 1, 2022. Upon adoption, the Partnership must apply certain aspects of this standard retrospectively for all periods presented while other aspects are applied on a modified retrospective basis through a cumulative-effect adjustment to accumulated deficit as of the beginning of the fiscal year of adoption. The Partnership is currently evaluating the impact of this update on its consolidated financial statements and related disclosures.

In March, 2020, the FASB issued ASU 2020-04, Reference Rate Reform (ASC 848): Facilitation of the Effects of Reference Rate Reform on Financial Reporting. The pronouncement provides companies with

 

F-79


Table of Contents

guidance to ease the process of migrating away from LIBOR and other interbank offered rates to new reference rates. ASC 848 contains optional expedients and exceptions for applying GAAP to contracts, hedging relationships and other transactions affected by reference rate reform, subject to meeting certain criteria that reference LIBOR or another reference rate expected to be discontinued. The Partnership is currently evaluating the impact of this update on its consolidated financial statements and related disclosures.

Note 3. Acquisitions

Acquisition of Culture Kings Group Cayman Islands

On March 31, 2021, pursuant to a share sale agreement, a.k.a., through its subsidiary CK Holdings LP, acquired a 55% ownership stake in Culture Kings. The previous shareholders of Culture Kings retained a 45% noncontrolling interest in Culture Kings by receipt of an equity interest in CK Holdings, LP. The company recognized goodwill as the excess of the fair value of the total purchase consideration and noncontrolling interests over the net fair value of the identifiable assets acquired and the liabilities assumed. The purchase price consisted of AUD $307.4 million (USD $235.9 million) in cash consideration, subject to working capital adjustments, and noncontrolling interest with a fair value of AUD $186.0 million (USD $142.7 million).

Culture Kings is focused on street apparel aimed at the young adult age group and has a combination of online fronts as well as online sales based in Australia and expands the Partnership’s consumer market to include male consumers and further expansion in the United States.

The following table sets forth the preliminary allocation of the total consideration to the identifiable tangible and intangible assets acquired and liabilities assumed, as of the date of the acquisition, with the excess recorded to goodwill:

 

Estimated purchase consideration:

  

Cash purchase consideration, net of cash acquired of $8,831

   $ 227,053

Fair value of noncontrolling interest

     142,717
  

 

 

 

Total consideration

   $ 369,770

Identifiable net assets acquired:

  

Account receivable, net

   $ 625

Inventory(a)

     62,937

Prepaid expenses and other current assets

     4,800

Property, plant and equipment, net

     8,048

Intangible assets, net(b)

     73,209

Operating lease right-of-use assets

     24,299

Accounts payable

     (13,449

Deferred revenue

     (141

Income taxes payable

     (1,778

Other current liabilities

     (2,533

Operating lease liabilities

     (24,299

Deferred income taxes, net

     (25,439

Accrued liabilities- non-current

     (1,058
  

 

 

 

Net assets acquired

     105,221
  

 

 

 

Goodwill

   $ 264,549
  

 

 

 

The cash purchase consideration is subject to working capital adjustments that will be concluded before the one-year anniversary of the close of the transaction. The preliminary purchase price allocation includes

 

F-80


Table of Contents

significant judgments, assumptions and estimates to determine the fair value of assets acquired and liabilities assumed. The valuations involving the most significant assumptions, estimates and judgment are:

(a) Inventory was adjusted by $15.1 million to step-up inventory cost to estimated fair value. The fair value of the inventory was determined utilizing the net realizable value method, which was based on the expected selling price of the inventory to customers adjusted for related disposal costs and a profit allowance for the post-acquisition selling effort.

(b) The fair value of the acquired intangible assets was determined with the assistance of a valuation specialist and include:

 

     Estimated Fair
Value
     Annual
Amortization
Expense
     Estimated Useful
Life in Years

Brand names

   $ 68,354    $ 6,835    10 years

Customer relationships

     4,855      1,214    4 years
  

 

 

       

Total

   $ 73,209      
  

 

 

       

Brand names are valued using a relief from royalty approach, which estimates the license fee that would need to be paid by Culture Kings if it was deprived of the brand names and domain names, and instead had to pay a license fee for their use. The fair value is the present value of the expected future license fee cash flows.

Customer relationship intangible assets are valued using the multi-period excess earnings method, which is the present value of the projected cash flows that are expected to be generated by the existing intangible asset after reduction by an estimated fair rate of return on contributory assets required to generate the customer relationship revenues. Key assumptions included discounted cash flow, estimated life cycle and customer attrition rates.

Total acquisition costs incurred by a.k.a. in connection with its purchase of Culture Kings, primarily related to third-party legal, accounting and tax diligence fees, were $2.3 million. These costs are recorded in general and administrative expenses in the condensed consolidated statement of income during the six months ended June 30, 2021.

Goodwill of $264.5 million, none of which is deductible for tax purposes, represents the excess purchase price over the estimated fair value assigned to tangible and identifiable intangible assets acquired and liabilities assumed. The goodwill arising from the acquisition consists largely of anticipated synergies related to combining with a.k.a.’s existing operations.

The fair value of the noncontrolling interest was determined by measuring the fair value of the subsidiaries’ identifiable assets and liabilities at the date of acquisition, adjusted for a discount to factor the non-marketable, noncontrolling holding.

The noncontrolling interest in Culture Kings contains a put right whereby the minority investors can cause CK Holdings LP to purchase all of their units at a per unit price equal to six times the EBITDA of CK Holdings LP, calculated as of the twelve-month period ending on the end of the most recent fiscal quarter. The put right is only exercisable after December 31, 2023. In accordance with ASC 810, Consolidation, as this put right is redeemable outside of a.k.a.’s control, the noncontrolling interest will be classified outside the permanent equity section of the Partnership’s condensed consolidated balance sheets as “redeemable noncontrolling interests.”

 

F-81


Table of Contents

Since the date of acquisition, March 31, 2021, the results of Culture Kings have been included in a.k.a.’s consolidated results. The following amounts are included in the accompanying condensed consolidated statement of income for the six months ended June 30, 2021:

 

     Six Months Ended
June 30, 2021
 

Net sales

   $ 58,258

Net income

     (3,429

The unaudited pro forma financial information below is presented to illustrate the estimated effects of the acquisition of Culture Kings and the associated financing as if they had occurred on January 1, 2020:

 

     For the Six Months Ended  
     June 30, 2020      June 30, 2021  

Net sales

   $ 149,235    $ 269,205
  

 

 

    

 

 

 

Net income (loss) attributable to Excelerate, L.P.

   $ (4,239    $ 5,576
  

 

 

    

 

 

 

Earnings (loss) per unit:

     

Basic

   $ (0.03    $ 0.04

Diluted

   $ (0.03    $ 0.04

The pro forma information was prepared using the acquisition method of accounting in accordance with ASC 805, Business Combinations. Since this pro forma financial information has been prepared based on preliminary estimates of consideration and fair values, including the identifiable intangibles, the actual amounts eventually recorded for the Culture Kings Acquisition may differ materially from the information herein. The unaudited pro forma financial information has been prepared for informational purposes only and is not indicative of what a.k.a.’s results of operations would have been had the transactions occurred on January 1, 2020, nor does it project the results of operations of the combined company following the transaction.

Note 4. Prepaid Expenses and Other Current Assets

Prepaid expenses and other current assets are comprised of the following:

 

     December 31,
2020
     June 30,
2021
 

Security deposits

   $ 334    $ 512

Inventory prepayments

     3,722      8,910

Deferred offering costs

     —          2,523

Income taxes receivable

     —          3,474

Other

     24      1,350
  

 

 

    

 

 

 

Total prepaid expenses and other current assets

   $ 4,080    $ 16,769
  

 

 

    

 

 

 

 

F-82


Table of Contents

Note 5. Property, Plant and Equipment, Net

Property, plant and equipment, net is comprised of the following:

 

     December 31,
2020
     June 30,
2021
 

Furniture and fixtures

   $ 411    $ 1,020  

Machinery and equipment

     185      313  

Computer equipment and capitalized software

     753      1,709  

Leasehold improvements

     2,020      11,383  
  

 

 

    

 

 

 

Total property and equipment

     3,369      14,425  

Less accumulated depreciation

     (1,248      (2,002
  

 

 

    

 

 

 

Total property and equipment, net

   $ 2,121    $ 12,423
  

 

 

    

 

 

 

Total depreciation and amortization expense for the six months ended June 30, 2020 and 2021, was $0.2 million and $0.9 million, respectively.

Note 6. Goodwill

The carrying value of goodwill as of December 31, 2020 and June 30, 2021, was $88.3 million and $345.4 million, respectively. No goodwill impairment was recorded for the year ended December 31, 2020 or the six months ended June 30, 2021.

The goodwill of the acquired companies is primarily related to expected improvements in technology performance and functionality, as well as sales growth from future product and service offerings and new customers, together with certain intangible assets that do not qualify for separate recognition. The goodwill of acquired companies is generally not deductible for tax purposes.

The following table summarizes goodwill activity:

 

     Consolidated
Goodwill
 

Balance as of December 31, 2020

   $ 88,253

Acquisitions (Note 3)

     264,549

Changes in foreign currency translation

     (7,360
  

 

 

 

Balance as of June 30, 2021

   $ 345,442
  

 

 

 

 

F-83


Table of Contents

Note 7. Intangible Assets

The gross amounts and accumulated amortization of acquired identifiable intangible assets with finite useful lives as of December 31, 2020 and June 30, 2021, included in intangible assets, net in the accompanying condensed consolidated balance sheets, are as follows:

 

            December 31, 2020     June 30, 2021  
     Useful life      Weighted
Average
Amortization
Period 2020
     2020     Weighted
Average
Amortization
Period 2021
     2021  

Customer relationships

     4 years        1.8 years      $ 17,100     2.6 years      $ 22,985

Brands

     10 years        7.8 years        26,680     9.2 years        91,233

Website design and software system

     3 years        2.4 years        903     1.1 years        1,644

Trademarks

     5 years        4.5 years        103     4.0 years        118
        

 

 

      

 

 

 

Total intangible assets

           44,786        115,980

Less accumulated amortization

           (15,684        (21,641
        

 

 

      

 

 

 

Total intangible assets, net

         $ 29,102      $ 94,339
        

 

 

      

 

 

 

Amortization of acquired intangible assets with finite useful lives is included in general and administrative expenses and was $2.9 million and $6.2 million for the six months ended June 30, 2020 and 2021, respectively.

Future estimated amortization expense for acquired identifiable intangible assets is as follows:

 

Year ending December 31:

  

Remainder of 2021

   $ 7,884

2022

     13,172

2023

     11,021

2024

     10,473

2025

     9,698

Thereafter

     42,091
  

 

 

 

Total amortization expense

   $ 94,339
  

 

 

 

Note 8. Debt

Princess Polly Operating Line of Credit

The Partnership’s subsidiary Princess Polly had an operating line of credit (the “Facility”) up to a maximum of AUD $20.0 million, which was guaranteed by Polly Bidco Pty Ltd. and Polly Holdco Pty Ltd, each subsidiaries of Excelerate, L.P. (“Princess Polly Group”). The assets of the Princess Polly Group had been pledged as security under the Facility.

The Facility was available to be used to make cash draws, procure letters of credit instruments and for the provision of ancillary facilities. The Facility was due November 2021, however, the outstanding balance under the Facility was fully repaid and terminated in February 2021.

Rebdolls Revolving Line of Credit

Until February 28, 2021, Rebdolls had a revolving line of credit with a maximum of $0.5 million with Bank of America, N.A. The assets of Rebdolls had been pledged as security under this line of credit. The outstanding balance under the line of credit was fully repaid on February 28, 2021, at the date of its maturity.

 

F-84


Table of Contents

2021 Debt Financing for Culture Kings Acquisition

To fund the acquisition of Culture Kings (refer to Note 3 for additional information), on March 31, 2021, Polly Holdco Pty Ltd., a wholly owned subsidiary of a.k.a. (“Polly”), entered into a debt agreement with a syndicated group, with Fortress Credit Corp as administrative agent, consisting of a $125.0 million term-loan facility and $25.0 million revolving credit facility.

Polly also issued $25.0 million in senior subordinated notes to certain debt funds of Summit Partners, a related party of Excelerate, L.P. The combined term loan and senior subordinated notes provided the Partnership with $144.1 million, net of loan fees of approximately $5.9 million.

Key terms and conditions of each facility are as follows:

 

   

The $125.0 million term loan matures on March 31, 2027 and requires the Partnership to make amortized quarterly payments equal to 0.8% of the original principal amount, for an aggregate annual amount of 3.0%. Borrowings under the credit agreement accrue interest, at the option of the borrower, at an adjusted LIBOR plus 7.5% or Alternative Base Rate (“ABR”) plus 6.5%, subject to adjustment based on achieving certain total net secured leverage ratios and subject to a minimum LIBOR threshold of 1.0% per annum. A premium of 3% of the principal amount of the term loan is required to terminate the loan in the first year and prior to its maturity. The term loan also includes financial covenants that require a.k.a. to maintain a net secured leverage ratio less than a specified maximum that decreases over time and begins at 4.5 to 1.

 

   

The $25.0 million revolving credit facility, which matures on March 31, 2027, accrues interest, at the option of the borrower, at an adjusted LIBOR plus 7.5% or ABR plus 6.5%, subject to adjustment based on achieving certain total net secured leverage ratios. Total debt issuance costs of $1.0 million related to the revolving credit facility were incurred. These costs are included in prepaid and other assets and are being amortized over the term of the facility.

 

   

The senior subordinated notes accrue interest at an annual interest rate of 16.0% and are repayable at the Partnership’s discretion until maturity on September 30, 2027. The senior subordinated notes must be repaid upon an IPO or other qualifying change of control event and a premium of 3% of the principal amount of the senior subordinated notes is required to terminate the loan prior to its maturity. The senior subordinated notes also include financial covenants that require a.k.a. to maintain a net secured leverage ratio less than a specified maximum that decreases over time and begins at 4.95 to 1.

As of June 30, 2021, $13.0 million has been drawn on the revolving credit facility.

The Partnership incurred debt issuance costs of $6.9 million, of which $1.0 million relates to the revolving credit facility, which will be capitalized and included in prepaid and other current assets as deferred financing costs and will be amortized over the life of the facility, or 6 years. The remaining $5.9 million of debt issuance costs relating to the term loan and senior subordinated notes will be presented net of the outstanding debt and will be amortized over the life of the outstanding debt, using the effective interest rate method.

 

F-85


Table of Contents

Total Debt and Interest

Outstanding debt consisted of the following:

 

     December 31,
2020
     June 30,
2021
 

Bank loans - flexible rate loan

   $ 6,385    $ —  

Term loan

     —          124,063

Revolving credit facility

     —          13,000

Senior subordinated notes - related party

     —          25,693

Capitalized debt issuance costs

     (32      (5,651
  

 

 

    

 

 

 

Total debt

     6,353      157,105

Less current portion

     (6,353      (2,864
  

 

 

    

 

 

 

Total long-term debt

   $ —      $ 154,241
  

 

 

    

 

 

 

Interest expense totaled $0.2 million and $4.2 million for the six months ended June 30, 2020 and 2021, respectively, which included the amortization of debt issuance costs.

Note 9. Leases

The Partnership leases office and warehouse facilities under various non-cancellable operating lease agreements (real estate leases). Real estate leases have remaining lease terms of approximately 1 to 10 years, which represent the non-cancellable periods of the leases and include extension options that the Partnership determined are reasonably certain to be exercised. The Partnership excludes extension options that are not reasonably certain to be exercised from the lease terms, ranging from approximately 6 months to 3 years. Lease payments consist primarily of fixed rental payments for the right to use the underlying leased assets over the lease terms as well as payments for common area maintenance and administrative services. The Partnership often receives customary incentives from landlords, such as reimbursements for tenant improvements and rent abatement periods, which effectively reduce the total lease payments owed for these leases. Leases are classified as operating or financing at commencement. The Partnership does not have any material financing leases.

Operating lease right-of-use assets and liabilities on the consolidated balance sheets represent the present value of the remaining lease payments over the remaining lease terms. The Partnership uses the incremental borrowing rate to calculate the present value of the lease payments, as the implicit rates in the leases are not readily determinable. Operating lease costs consist primarily of the fixed lease payments included in the operating lease liabilities and are recorded on a straight-line basis over the lease terms.

As of June 30, 2020 and 2021, short-term leases were not material.

The Partnership’s operating lease costs were as follows:

 

     Six Months Ended June 30,  
         2020              2021      

Operating lease costs

   $ 599      $ 2,146  

Variable lease costs

     54        177  
  

 

 

    

 

 

 

Total lease costs

   $ 653      $ 2,323  
  

 

 

    

 

 

 

The Partnership does not have any sublease income and the Partnership’s lease agreements do not contain any residual value guarantees or material restrictive covenants.

 

F-86


Table of Contents

Supplemental cash flow information relating to the Partnership’s operating leases was as follows:

 

     Six Months Ended June 30,  
         2020              2021      

Cash paid for operating lease liabilities

   $ 599      $ 2,015  

Operating lease right-of-use assets obtained in exchange for new operating lease liabilities

     —          70  

Other information relating to the Partnership’s operating leases was as follows:

 

     December 31,
2020
    June 30,
2021
 

Weighted-average remaining lease term

     3.9 years       6.2 years  

Weighted-average discount rate

     3.6     3.7

As of June 30, 2021, the maturities of the Partnership’s operating lease liabilities were as follows:

 

Remainder of 2021

   $ 3,295  

2022

     6,490  

2023

     6,097  

2024

     3,056  

2025

     2,835  

Thereafter

     8,141  
  

 

 

 

Total remaining lease payments

     29,914  

Less: imputed interest

     (3,281
  

 

 

 

Total operating lease liabilities

     26,633  

Less: current portion

     (5,743
  

 

 

 

Long-term operating lease liabilities

   $ 20,890  
  

 

 

 

Note 10. Income Taxes

For interim reporting periods, the Partnership’s provision for income taxes is calculated using its annualized estimated effective tax rate for the year. This rate is based on its estimated full year income and the related income tax expense for each jurisdiction in which the Partnership operates. The effective tax rate can be affected by changes in the geographical mix, permanent differences and the estimate of full year pretax accounting income. This rate is adjusted for the effects of discrete items occurring in the period.

Note 11. Accrued Liabilities

Accrued liabilities consisted of the following:

 

     December 31,
2020
     June 30,
2021
 

Accrued salaries and other benefits

   $ 3,295    $ 7,807

Accrued freight costs

     5,012      6,181

Sales tax payable

     5,718      10,514

Accrued marketing costs

     959      2,717

Accrued professional services

     281      3,090

Other accrued liabilities

     2,904      2,105
  

 

 

    

 

 

 

Total accrued liabilities

   $ 18,169    $ 32,414
  

 

 

    

 

 

 

 

F-87


Table of Contents

Note 12. Equity-based Compensation

The 2018 Stock and Incentive Compensation Plan, as amended, (the “2018 Plan”) allows for the issuance of time-based incentive units and performance-based incentive units. The total incentive pool size under the plan is 16,475,735 units. As of June 30, 2021, 1,659,800 units remained available for future grants under the 2018 Plan.

These incentive units participate in distributions from Excelerate, L.P., but only after investors receive their return of capital plus a specified threshold amount per unit. The Partnership has determined that the incentive units are equity-based compensation awards.

The assumptions that the Partnership used to determine the grant date fair value of incentive units granted were as follows, presented on a weighted-average basis:

 

     Six Months Ended June 30,  
     2020     2021  

Risk free interest rate

     0.27     0.10

Expected volatility

     50     45

Expected dividend yield

     0     0

Expected term (in years)

     3.24       1.41  

The following table summarizes time-based unit activity under the 2018 Plan:

 

     Number of
Units
     Weighted
Average Grant
Date Fair

Value
     Weighted
Average
Participation
Threshold
     Aggregate
Intrinsic Value of
Outstanding Units
 

Balance as of December 31, 2020

     6,247,626    $ 1.27    $ 1.24    $ 23,688

Granted

     2,168,203      0.98      6.21   

Vested

     (1,236,399      1.04      1.13   

Forfeited/Repurchased

     —          —          —       
  

 

 

    

 

 

    

 

 

    

 

 

 

Balance as of June 30, 2021

     7,179,430      1.22      2.77      22,648
  

 

 

          

Vested as of June 30, 2021

     2,242,617           
  

 

 

          

As of June 30, 2021, there was $8.0 million of total unrecognized compensation cost related to unvested time-based incentive units which is expected to be recognized over a weighted average period of 3 years.

Performance and market vesting conditions

The Partnership’s performance-based incentive units vest upon the satisfaction of both a performance and market condition. The performance condition is satisfied upon the occurrence of a liquidity event, defined as a change of control transaction or an initial public offering and is not deemed probable until it occurs. The market condition is satisfied upon the initial investor in Excelerate, L.P. receiving an aggregate return equal to three times its aggregate investment. The Partnership determined the grant date fair value of the performance-based incentive units using the Black-Scholes option pricing model, modified to allow for vesting only if the value at the distribution date is at or above the performance threshold. As of June 30, 2021, the performance condition was not probable to occur and therefore no equity-based compensation was recognized for the Partnership’s performance-based incentive units. If and when the performance condition is deemed probable to occur, the Partnership will record cumulative equity-based compensation expense as of that date.

As of June 30, 2021, total unrecognized equity-based compensation cost related to these performance-based incentive units was approximately $5.0 million.

 

F-88


Table of Contents

The following table summarizes performance-based unit activity under the 2018 Plan:

 

     Number of
Units
     Weighted
Average Grant
Date Fair

Value
     Weighted
Average
Participation
Threshold
     Aggregate
Intrinsic Value of
Outstanding Units
 

Balance as of December 31, 2020

     4,461,764    $ 0.91    $ 1.19    $ 17,137

Granted

     932,124      1.01      6.09   
  

 

 

    

 

 

    

 

 

    

 

 

 

Balance as of June 30, 2021

     5,393,888      0.93      2.04      20,921
  

 

 

          

Total equity-based compensation expense was $0.4 million and $1.1 million for the six months ended June 30, 2020 and 2021, respectively, and has been included in general and administrative expense in the condensed consolidated statements of income.

Note 13. Members’ Units

Excelerate, L.P. is an exempted limited partnership organized on June 21, 2018, under the partnership laws of the Cayman Islands. The Partnership commenced operations on June 21, 2018. The General Partner is Excelerate GP, Limited, a Cayman Islands exempted company.

The Excelerate, L.P. partnership is authorized to issue an unlimited number of Series A units. For so long as any of the Series A units remain outstanding, the Series A units will rank senior to any incentive units and any other class, group or series of units or other equity securities.

Ownership by unitholders of Series A units and incentive units shall entitle each unitholder to allocations of profit and losses and other items and distributions of cash and other property and no limited partner shall be liable for obligations in excess of its capital contribution and profits, if any, net of distributions.

All holders of Series A units are entitled to distributions, in accordance with terms and conditions of the partnership agreement. Distributions are made first to holders of Series A units, ratably among such holders, until the aggregate unreturned capital with respect to each such holder’s Series A units have been reduced to zero. Thereafter, distributions are made to holders of Series A units and to holders of incentive units pro rata, provided that, for the holders of incentive units, the amount of distributions reach a specified participation threshold as set forth in the respective incentive unit agreement. Holders of incentive units do not participate in distributions until the participation threshold has been met for their incentive unit.

The following table summarizes the Series A units issued and outstanding:

 

Balance as of December 31, 2020

     114,167,842

Issuance of Series A units in connection with Culture Kings Acquisition

     25,746,282
  

 

 

 

Balance as of June 30, 2021

     139,914,124
  

 

 

 

 

F-89


Table of Contents

Note 14. Earnings Per Unit

The following table sets forth the computation of basic and diluted earnings per unit and a reconciliation of the weighted average number of units outstanding:

 

     Six Months Ended June 30,  
     2020      2021  

Numerator:

     

Net income available to Limited Partners and General Partners, basic and diluted

   $ 2,144    $ 3,903

Denominator:

     

Weighted-average units, basic and diluted

     113,886,416      126,969,861

Earnings per unit, basic and diluted

   $ 0.02    $ 0.03

The Partnership also had performance-based incentive units outstanding as of June 30, 2021, which include a performance-based vesting condition satisfied upon the occurrence of a liquidity event, defined as a change of control transaction or an IPO. Since the necessary conditions for the vesting of the performance-based incentive units had not been satisfied as of June 30, 2020 or June 30, 2021, the Partnership excluded the performance-based incentive units from the calculation of diluted earnings per unit for the six months ended June 30, 2020 and 2021.

Note 15. Commitments and Contingencies

Contingencies

The Partnership records a loss contingency when it is probable that a liability has been incurred and the amount of the loss can be reasonably estimated. The Partnership also discloses material contingencies when it believes a loss is not probable but reasonably possible. Accounting for contingencies requires us to use judgment related to both the likelihood of a loss and the estimate of the amount or range of loss. Although the Partnership cannot predict with assurance the outcome of any litigation or tax matters, it does not believe there are currently any such actions that, if resolved unfavorably, would have a material impact on the Partnership’s operating results, financial position or cash flows.

Indemnifications

In the ordinary course of business, the Partnership may provide indemnifications of varying scope and terms to vendors, directors, officers and other parties with respect to certain matters. The Partnership has not incurred any material costs as a result of such indemnifications and has not accrued any liabilities related to such obligations in the consolidated financial statements.

Note 16. Related Party Transactions

The Partnership may enter into transactions with related parties from time to time.

Issuance of Partnership Units and Debt Financing

In connection with the acquisition of Culture Kings (refer to Note 3 for additional information):

 

   

On March 31, 2021, Excelerate, L.P. issued Series A partnership units in exchange for $59.4 million in cash to affiliates of Summit Partners, a related party of Excelerate, L.P.

 

   

On March 31, 2021, Excelerate, L.P. issued Series A partnership units in exchange for $5.0 million in cash to Bryett Enterprises Pty Ltd., a related party of Excelerate, L.P.

 

   

On March 31, 2021, Polly Holdco Pty Ltd., a wholly owned subsidiary of Excelerate, L.P., issued $25.0 million in senior subordinated notes to Summit Partners (refer to Note 8 for additional information)

Summit Partners is a global investment firm who has a majority ownership interest in Excelerate, L.P.

 

F-90


Table of Contents

Note 17. Subsequent events

The Partnership has evaluated subsequent events occurring through August 23, 2021, the date that these financial statements were originally available to be issued, and determined there were no subsequent events that would require disclosure in these financial statements.

 

F-91


Table of Contents

 

 

 

LOGO